JP7575615B2 - Intake structure of an internal combustion engine - Google Patents

Intake structure of an internal combustion engine Download PDF

Info

Publication number
JP7575615B2
JP7575615B2 JP2023550939A JP2023550939A JP7575615B2 JP 7575615 B2 JP7575615 B2 JP 7575615B2 JP 2023550939 A JP2023550939 A JP 2023550939A JP 2023550939 A JP2023550939 A JP 2023550939A JP 7575615 B2 JP7575615 B2 JP 7575615B2
Authority
JP
Japan
Prior art keywords
intake
passage
tumble
valve
intake passage
Prior art date
Legal status (The legal status is an assumption and is not a legal conclusion. Google has not performed a legal analysis and makes no representation as to the accuracy of the status listed.)
Active
Application number
JP2023550939A
Other languages
Japanese (ja)
Other versions
JPWO2023053378A1 (en
JPWO2023053378A5 (en
Inventor
一紀 菊池
Current Assignee (The listed assignees may be inaccurate. Google has not performed a legal analysis and makes no representation or warranty as to the accuracy of the list.)
Honda Motor Co Ltd
Original Assignee
Honda Motor Co Ltd
Priority date (The priority date is an assumption and is not a legal conclusion. Google has not performed a legal analysis and makes no representation as to the accuracy of the date listed.)
Filing date
Publication date
Application filed by Honda Motor Co Ltd filed Critical Honda Motor Co Ltd
Publication of JPWO2023053378A1 publication Critical patent/JPWO2023053378A1/ja
Publication of JPWO2023053378A5 publication Critical patent/JPWO2023053378A5/ja
Application granted granted Critical
Publication of JP7575615B2 publication Critical patent/JP7575615B2/en
Active legal-status Critical Current
Anticipated expiration legal-status Critical

Links

Images

Classifications

    • FMECHANICAL ENGINEERING; LIGHTING; HEATING; WEAPONS; BLASTING
    • F02COMBUSTION ENGINES; HOT-GAS OR COMBUSTION-PRODUCT ENGINE PLANTS
    • F02BINTERNAL-COMBUSTION PISTON ENGINES; COMBUSTION ENGINES IN GENERAL
    • F02B31/00Modifying induction systems for imparting a rotation to the charge in the cylinder
    • F02B31/04Modifying induction systems for imparting a rotation to the charge in the cylinder by means within the induction channel, e.g. deflectors
    • FMECHANICAL ENGINEERING; LIGHTING; HEATING; WEAPONS; BLASTING
    • F02COMBUSTION ENGINES; HOT-GAS OR COMBUSTION-PRODUCT ENGINE PLANTS
    • F02BINTERNAL-COMBUSTION PISTON ENGINES; COMBUSTION ENGINES IN GENERAL
    • F02B31/00Modifying induction systems for imparting a rotation to the charge in the cylinder
    • F02B31/04Modifying induction systems for imparting a rotation to the charge in the cylinder by means within the induction channel, e.g. deflectors
    • F02B31/06Movable means, e.g. butterfly valves
    • FMECHANICAL ENGINEERING; LIGHTING; HEATING; WEAPONS; BLASTING
    • F02COMBUSTION ENGINES; HOT-GAS OR COMBUSTION-PRODUCT ENGINE PLANTS
    • F02MSUPPLYING COMBUSTION ENGINES IN GENERAL WITH COMBUSTIBLE MIXTURES OR CONSTITUENTS THEREOF
    • F02M35/00Combustion-air cleaners, air intakes, intake silencers, or induction systems specially adapted for, or arranged on, internal-combustion engines
    • F02M35/10Air intakes; Induction systems
    • FMECHANICAL ENGINEERING; LIGHTING; HEATING; WEAPONS; BLASTING
    • F02COMBUSTION ENGINES; HOT-GAS OR COMBUSTION-PRODUCT ENGINE PLANTS
    • F02MSUPPLYING COMBUSTION ENGINES IN GENERAL WITH COMBUSTIBLE MIXTURES OR CONSTITUENTS THEREOF
    • F02M35/00Combustion-air cleaners, air intakes, intake silencers, or induction systems specially adapted for, or arranged on, internal-combustion engines
    • F02M35/10Air intakes; Induction systems
    • F02M35/104Intake manifolds
    • F02M35/108Intake manifolds with primary and secondary intake passages
    • YGENERAL TAGGING OF NEW TECHNOLOGICAL DEVELOPMENTS; GENERAL TAGGING OF CROSS-SECTIONAL TECHNOLOGIES SPANNING OVER SEVERAL SECTIONS OF THE IPC; TECHNICAL SUBJECTS COVERED BY FORMER USPC CROSS-REFERENCE ART COLLECTIONS [XRACs] AND DIGESTS
    • Y02TECHNOLOGIES OR APPLICATIONS FOR MITIGATION OR ADAPTATION AGAINST CLIMATE CHANGE
    • Y02TCLIMATE CHANGE MITIGATION TECHNOLOGIES RELATED TO TRANSPORTATION
    • Y02T10/00Road transport of goods or passengers
    • Y02T10/10Internal combustion engine [ICE] based vehicles
    • Y02T10/12Improving ICE efficiencies

Landscapes

  • Engineering & Computer Science (AREA)
  • Chemical & Material Sciences (AREA)
  • Combustion & Propulsion (AREA)
  • Mechanical Engineering (AREA)
  • General Engineering & Computer Science (AREA)
  • Characterised By The Charging Evacuation (AREA)
  • Cylinder Crankcases Of Internal Combustion Engines (AREA)

Description

本発明は、吸気通路を複数に分ける仕切部が設けられる内燃機関の吸気構造に関する。 The present invention relates to an intake structure for an internal combustion engine in which a partition is provided to divide the intake passage into multiple sections.

スロットル弁の下流側の吸気通路が、仕切部により複数の通路に分けられる内燃機関の吸気構造が種々提案されている。例えば、特許文献1の内燃機関の吸気構造では、スロットル弁の下流側にタンブル弁を設け、そのタンブル弁の下流側にインレットパイプから吸気ポートへと続けて仕切部である仕切板部を設け、この仕切板部により吸気通路を上下の下側副通路と上側主流路とに仕切ることが行われる。下側副通路がタンブル流路となり、タンブル弁は上側主流路を実質的に開閉するものである。Various intake structures for internal combustion engines have been proposed in which the intake passage downstream of the throttle valve is divided into multiple passages by a partition. For example, in the intake structure for an internal combustion engine disclosed in Patent Document 1, a tumble valve is provided downstream of the throttle valve, and a partition plate portion, which is a partition portion, is provided downstream of the tumble valve from the inlet pipe to the intake port, and this partition plate portion divides the intake passage into an upper and lower lower auxiliary passage and an upper main passage. The lower auxiliary passage becomes the tumble passage, and the tumble valve essentially opens and closes the upper main passage.

また、特許文献2が開示する内燃機関では、スロットル弁の下流側に吸気制御弁が設けられ、更にその下流側の吸気通路に、吸入空気の流れ方向に沿った横板状部材が配設されている。横板状部材の数が1つのときと、2つ以上のときの内燃機関が開示されている。特許文献2の記載によれば、横板状部材を複数形成し、内燃機関の運転条件に応じた吸気制御弁の開度を決定することで、吸気制御弁の中間開度においても吸入空気の流れを乱さず、安定したガス流動を生成させる。In addition, in the internal combustion engine disclosed in Patent Document 2, an intake control valve is provided downstream of the throttle valve, and a horizontal plate-shaped member is arranged in the intake passage further downstream of that, along the flow direction of the intake air. Internal combustion engines with one horizontal plate-shaped member and two or more horizontal plate-shaped members are disclosed. According to the description in Patent Document 2, by forming multiple horizontal plate-shaped members and determining the opening degree of the intake control valve according to the operating conditions of the internal combustion engine, the flow of intake air is not disturbed even at an intermediate opening degree of the intake control valve, and a stable gas flow is generated.

日本国特許第6714764号公報Japanese Patent No. 6714764 日本国特開2006-77590号公報Japanese Patent Application Publication No. 2006-77590

ところで、内燃機関を好適に作動させるためには、その内燃機関の運転状態に応じた吸入空気量を確保することと、燃焼効率を高めるためにタンブル流などの渦流を燃焼室で好適に生じさせることとの両立が望まれる。しかし、例えば特許文献2の構成では、スロットル弁に加えて吸気制御弁を設けることが必須であり、タンブル流を生じさせるときなどに吸気制御弁を様々な角度に精度よく調整することが必要不可欠である。これは吸気制御弁の構造の複雑化の方向にあり、課題を有する。In order to operate an internal combustion engine optimally, it is desirable to ensure both an intake air volume appropriate to the operating state of the engine and optimally generate vortex flows such as tumble flow in the combustion chamber to improve combustion efficiency. However, for example, in the configuration of Patent Document 2, it is essential to provide an intake control valve in addition to a throttle valve, and it is essential to precisely adjust the intake control valve to various angles when generating a tumble flow. This leads to a more complex structure of the intake control valve, which poses problems.

本発明の目的は、吸気通路が仕切部により分けられるように構成された内燃機関において、スロットル弁の他に構造の複雑な吸気制御弁を必要とすることなしに、運転状態に応じた吸入空気量の確保とタンブル性能の確保との両立を可能にする構成を提供することにある。The object of the present invention is to provide a configuration in an internal combustion engine in which the intake passage is divided by a partition, which makes it possible to ensure both the amount of intake air according to the operating conditions and tumble performance without requiring an intake control valve with a complex structure in addition to the throttle valve.

上記目的を達成するために、本発明の一態様は、
スロットル弁の下流側の吸気通路を、タンブル流を発生させるためのタンブル流路となる第1吸気通路と、該第1吸気通路の第1方向側に位置する第2吸気通路とに仕切る主仕切部と、
前記第1吸気通路に第3吸気通路と、該第3吸気通路の前記第1方向側に第4吸気通路とを形成するように設けられる副仕切部と、
を備え、
前記スロットル弁の弁軸は前記第1方向及び前記吸気通路の吸気流れ方向に交差し、
前記副仕切部の上流端は、前記吸気流れ方向において、前記主仕切部の上流端よりも上流側に延び、
前記スロットル弁は、所定微小開度を含む複数の開度に開くことができるように構成されている
ことを特徴とする内燃機関の吸気構造
を提供する。
In order to achieve the above object, one aspect of the present invention is to
a main partition portion that partitions an intake passage downstream of the throttle valve into a first intake passage that serves as a tumble flow passage for generating a tumble flow and a second intake passage located on a first direction side of the first intake passage;
a sub-partition portion provided in the first intake passage to define a third intake passage and a fourth intake passage on the first direction side of the third intake passage;
Equipped with
a valve axis of the throttle valve intersects the first direction and the intake air flow direction of the intake passage,
an upstream end of the sub-partition portion extends upstream of an upstream end of the main partition portion in the intake air flow direction;
The present invention provides an intake structure for an internal combustion engine, wherein the throttle valve is configured to be capable of opening to a plurality of opening degrees including a predetermined small opening degree.

上記構成によれば、スロットル弁の下流側の吸気通路をタンブル流を発生させるためのタンブル流路となる第1吸気通路と、第2吸気通路とに仕切る主仕切部と、第1吸気通路に、第3吸気通路と第4吸気通路とを形成するように設けられる副仕切部が備えられる。したがって、内燃機関の運転状態に応じてそれらの1つ、複数又は全てを使用することで、運転状態に応じた吸入空気量を確保することができる。また、スロットル弁の弁軸は上記第1方向及び吸気通路の吸気流れ方向に交差し、副仕切部の上流端は、吸気流れ方向において、主仕切部の上流端よりも上流側に延び、スロットル弁は、所定微小開度を含む複数の開度に開くことができるように構成されている。したがって、スロットル弁が所定微小開度に開いたとき、第3吸気通路に吸気の流れを促すことができ、タンブル性能を確保することができる。そして、上記構成では、スロットル弁の操作でタンブル流を実現できるので、構造の複雑な吸気制御弁を必ずしも必要としない。According to the above configuration, the intake passage downstream of the throttle valve is provided with a main partition that partitions the first intake passage into a tumble flow passage for generating a tumble flow and a second intake passage, and a sub-partition that is provided in the first intake passage to form a third intake passage and a fourth intake passage. Therefore, by using one, more than one, or all of them depending on the operating state of the internal combustion engine, it is possible to ensure the amount of intake air according to the operating state. In addition, the valve shaft of the throttle valve intersects with the first direction and the intake flow direction of the intake passage, the upstream end of the sub-partition extends upstream of the upstream end of the main partition in the intake flow direction, and the throttle valve is configured to be able to open to a plurality of openings including a predetermined small opening. Therefore, when the throttle valve opens to a predetermined small opening, it is possible to promote the flow of intake air to the third intake passage, and tumble performance can be ensured. And, in the above configuration, since the tumble flow can be realized by operating the throttle valve, an intake control valve with a complex structure is not necessarily required.

好ましくは、前記スロットル弁が前記所定微小開度に開いているとき、該スロットル弁の弁体と吸気通路壁面との間に第1の隙間部及び第2の隙間部が形成され、前記第1の隙間部は、前記スロットル弁の前記弁軸を間に挟んで、前記第2の隙間部の反対側に位置する。この構成により、スロットル弁が所定微小開度に開いているとき、第3吸気通路に吸気の流れを好適に促すことができる。Preferably, when the throttle valve is open to the predetermined small opening, a first gap and a second gap are formed between the valve body of the throttle valve and the wall surface of the intake passage, and the first gap is located on the opposite side of the second gap across the valve shaft of the throttle valve. With this configuration, when the throttle valve is open to the predetermined small opening, the flow of intake air can be favorably promoted to the third intake passage.

好ましくは、前記第1の隙間部及び前記第2の隙間部のそれぞれは前記主仕切部の厚さ以下の隙間幅を有する。この構成により、スロットル弁が所定微小開度に開いているとき、第3吸気通路に吸気の流れをより好適に促すことができる。Preferably, each of the first gap and the second gap has a gap width equal to or less than the thickness of the main partition. With this configuration, when the throttle valve is opened to a predetermined small opening, the flow of intake air into the third intake passage can be more effectively promoted.

好ましくは、前記スロットル弁の前記弁軸は前記第1方向及び前記吸気通路の吸気流れ方向に直交する。この構成により、スロットル弁が所定微小開度に開いているとき、吸気の流れをより好適に第3吸気通路に促すことができる。Preferably, the valve axis of the throttle valve is perpendicular to the first direction and the intake air flow direction of the intake passage. With this configuration, when the throttle valve is open to a predetermined small opening, the flow of intake air can be more suitably urged into the third intake passage.

好ましくは、前記第2吸気通路の断面積と前記第4吸気通路の断面積の和は、前記第3吸気通路の断面積よりも大きく、前記第2吸気通路を開閉可能である吸気制御弁が更に設けられている。第2吸気通路の断面積と第4吸気通路の断面積の和を第3吸気通路の断面積よりも大きくすることにより、スロットル弁が所定微小開度に開いているとき、第2吸気通路及び第4吸気通路側に一旦流れた吸気の流れを、第3吸気通路により好適に促すことができる。また、吸気制御弁を設けることで、例えばスロットル弁が所定微小開度に開いているときに第2吸気通路を閉じて、第3吸気通路への吸気の流れをより一層促すことができる。Preferably, the sum of the cross-sectional areas of the second intake passage and the fourth intake passage is larger than the cross-sectional area of the third intake passage, and an intake control valve capable of opening and closing the second intake passage is further provided. By making the sum of the cross-sectional areas of the second intake passage and the fourth intake passage larger than the cross-sectional area of the third intake passage, when the throttle valve is opened to a predetermined small opening, the flow of intake air that once flowed to the second intake passage and the fourth intake passage side can be more suitably promoted to the third intake passage. In addition, by providing an intake control valve, for example, the second intake passage can be closed when the throttle valve is opened to a predetermined small opening, and the flow of intake air to the third intake passage can be further promoted.

好ましくは、前記吸気制御弁の設置位置における前記第2吸気通路の断面は略円形である。この構成により、閉弁時の吸気制御弁による第2吸気通路の閉塞の度合いをより容易に高めることができる。Preferably, the cross section of the second intake passage at the installation position of the intake control valve is substantially circular. This configuration makes it easier to increase the degree of occlusion of the second intake passage by the intake control valve when the valve is closed.

好ましくは、前記第2吸気通路において前記主仕切部の上流端と前記吸気制御弁の設置位置との間に、吸気流れ方向において下流側に向けて断面積が小さくなる先細り部が設けられている。この構成により、第2吸気通路への吸気の流れをより好適に滑らかにすることができる。Preferably, a tapered portion having a cross-sectional area that decreases toward the downstream side in the intake flow direction is provided in the second intake passage between the upstream end of the main partition and the installation position of the intake control valve. This configuration makes it possible to more suitably smooth the flow of intake air into the second intake passage.

前記第1吸気通路にレゾネータが連通しているとよい。この構成により、第1吸気通路からの吸気の流動を高め、よってタンブル流を強化することができる。It is preferable that a resonator is connected to the first intake passage. This configuration increases the flow of intake air from the first intake passage, thereby strengthening the tumble flow.

好ましくは、前述の吸気構造は、前記第3吸気通路と前記第4吸気通路とが合流する合流部であって、該合流部を介して前記第1吸気通路は前記第2吸気通路に合流する、合流部を更に備える。この構成により、第3吸気通路と第4吸気通路とを備える第1吸気通路からの吸気に強い指向性を持たせることができ、タンブル性能を更に確保することができる。Preferably, the intake structure further includes a junction where the third intake passage and the fourth intake passage join, and the first intake passage joins the second intake passage through the junction. This configuration allows the intake from the first intake passage, which includes the third intake passage and the fourth intake passage, to have a strong directivity, and further ensures tumble performance.

好ましくは、前記第3吸気通路及び前記第4吸気通路の断面積の和よりも、前記合流部の上流側端部よりも下流側の流れ方向に直交する断面での面積が小さくなるように、前記合流部は区画形成されている。この構成により、第3吸気通路からの吸気と第4吸気通路からの吸気とが合流部で合流して第2吸気通路に流れるとき、吸気の流速を速い状態に保つことが可能になる。Preferably, the junction is partitioned so that the area of a cross section perpendicular to the flow direction downstream of the upstream end of the junction is smaller than the sum of the cross-sectional areas of the third and fourth intake passages. With this configuration, when the intake air from the third intake passage and the intake air from the fourth intake passage join at the junction and flow into the second intake passage, it is possible to maintain a high flow rate of the intake air.

好ましくは、前記第2吸気通路からの吸気よりも、前記合流部を介しての前記第1吸気通路からの吸気が小さい進入角で燃焼室に流入するように、前記合流部は区画形成されている。この構成により、第1吸気通路を通った吸気が強い指向性を持ったまま燃焼室に導入可能になるため、燃焼室で強いタンブル流を発生させることができる。Preferably, the confluence is partitioned so that the intake air from the first intake passage through the confluence flows into the combustion chamber at a smaller angle of approach than the intake air from the second intake passage. This configuration allows the intake air that has passed through the first intake passage to be introduced into the combustion chamber with strong directionality, thereby generating a strong tumble flow in the combustion chamber.

本発明の上記態様によれば、上記構成を備えるので、吸気通路が仕切部により分けられるように構成された内燃機関において、スロットル弁の他に構造の複雑な吸気制御弁を必要とすることなしに、運転状態に応じた吸入空気量の確保とタンブル性能の確保との両立を図ることが可能になる。 According to the above aspect of the present invention, since the above configuration is provided, in an internal combustion engine in which the intake passage is divided by a partition, it is possible to ensure both the intake air volume according to the operating conditions and the tumble performance without requiring an intake control valve with a complex structure in addition to the throttle valve.

本発明の一実施形態に係る内燃機関の概略構成を示す断面図である。1 is a cross-sectional view showing a schematic configuration of an internal combustion engine according to an embodiment of the present invention. 図1の内燃機関における吸気系の立体モデルを示す図である。FIG. 2 is a diagram showing a three-dimensional model of an intake system in the internal combustion engine of FIG. 1 . 図1の内燃機関における主流路の一部と主仕切部の上流端側の部分との断面図である。2 is a cross-sectional view of a part of a main flow passage and an upstream end side part of a main partition portion in the internal combustion engine of FIG. 1 . 図3に示す主流路の一部を上流側からみた図である。4 is a view of a part of the main flow path shown in FIG. 3 as viewed from the upstream side. 図1の内燃機関における吸気系の立体モデルであり、吸気制御弁であるタンブル弁が閉じて、スロットル弁が所定微小開度に開いているときの図である。FIG. 2 is a three-dimensional model of the intake system in the internal combustion engine of FIG. 1 when a tumble valve, which is an intake control valve, is closed and a throttle valve is opened to a predetermined small opening degree. 図1の内燃機関における吸気系の立体モデルであり、タンブル弁が閉じて、スロットル弁が所定微小開度よりも大きな開度に開いているときの図である。FIG. 2 is a three-dimensional model of the intake system in the internal combustion engine of FIG. 1 when the tumble valve is closed and the throttle valve is opened to an opening degree larger than a predetermined small opening degree. 図1の内燃機関における吸気系の立体モデルであり、タンブル弁及びスロットル弁が共に全開に開いているときの図である。FIG. 2 is a three-dimensional model of the intake system in the internal combustion engine of FIG. 1 when a tumble valve and a throttle valve are both fully open. 図1の内燃機関における、スロットル弁下流側かつタンブル弁下流側の吸気通路の部分及び排気ポートを含む立体モデルをシリンダ軸線に直交するとともに吸気流れ方向に直交する方向からみた図である。2 is a view of a three-dimensional model including a portion of an intake passage downstream of a throttle valve and a tumble valve and an exhaust port in the internal combustion engine of FIG. 1, viewed in a direction perpendicular to the cylinder axis and perpendicular to the intake air flow direction. 図8の立体モデルのIXA-IXA線に沿った位置での断面図である。9 is a cross-sectional view of the three-dimensional model of FIG. 8 taken along line IXA-IXA. 図8の立体モデルのIXB-IXB線に沿った位置での断面図である。9 is a cross-sectional view of the three-dimensional model of FIG. 8 taken along line IXB-IXB. 図8の立体モデルのIXC-IXC線に沿った位置での断面図である。9 is a cross-sectional view of the three-dimensional model of FIG. 8 taken along line IXC-IXC. バタフライ弁による吸気の流れを説明するための図である。FIG. 4 is a diagram for explaining the flow of intake air through a butterfly valve. バタフライ弁による吸気の流れを説明するための更なる図である。FIG. 13 is a further diagram for explaining the flow of intake air through the butterfly valve. 図1の内燃機関における、スロットル弁周囲での吸気の流れを説明するための図である。2 is a diagram for explaining the flow of intake air around a throttle valve in the internal combustion engine of FIG. 1 . FIG. 図1の内燃機関におけるスロットル弁周囲での吸気の流れのシミュレーションの結果を示す図である。FIG. 2 is a diagram showing the results of a simulation of the flow of intake air around a throttle valve in the internal combustion engine of FIG. 1 . 図13のシミュレーションモデルにおけるXIVA-XIVA線に沿った位置での吸気通路の断面図である。14 is a cross-sectional view of the intake passage at a position along line XIVA-XIVA in the simulation model of FIG. 13. 図13のシミュレーションモデルにおけるXIVB-XIVB線に沿った位置での吸気通路の断面図である。14 is a cross-sectional view of the intake passage at a position along line XIVB-XIVB in the simulation model of FIG. 13. 図1の内燃機関の吸気構造の変形例を示す図である。FIG. 2 is a diagram showing a modified example of the intake structure of the internal combustion engine of FIG. 1 .

以下、本発明に係る実施形態を添付図に基づいて説明する。同一の部品(又は構成)には同一の符号を付してあり、それらの名称及び機能も同じである。したがって、それらについての詳細な説明は繰返さない。Hereinafter, an embodiment of the present invention will be described with reference to the attached drawings. Identical parts (or configurations) are given the same reference numerals, and their names and functions are also the same. Therefore, detailed descriptions thereof will not be repeated.

本発明の一実施形態に係る内燃機関10の概略構成を図1に示す。図1は、内燃機関10のシリンダブロック12のシリンダボア12bの軸線(シリンダ軸線)Cに沿った、内燃機関10の断面図である。The schematic configuration of an internal combustion engine 10 according to one embodiment of the present invention is shown in Figure 1. Figure 1 is a cross-sectional view of the internal combustion engine 10 taken along the axis C of the cylinder bore 12b of the cylinder block 12 of the internal combustion engine 10 (cylinder axis).

シリンダブロック12のシリンダボア12b内を往復動するピストン15は、クランクケース部16のクランク軸17のクランクピンと、コネクティングロッド18により連結されている。シリンダブロック12のシリンダボア12b内に摺動自在に嵌合されるピストン15の頂面15aと、頂面15aが対向するシリンダヘッド14の燃焼室天井面14aとの間には燃焼室20が構成される。A piston 15 that reciprocates within a cylinder bore 12b of the cylinder block 12 is connected to a crank pin of a crankshaft 17 of a crankcase portion 16 by a connecting rod 18. A combustion chamber 20 is formed between a top surface 15a of the piston 15 that is slidably fitted within the cylinder bore 12b of the cylinder block 12 and a combustion chamber ceiling surface 14a of the cylinder head 14 that faces the top surface 15a.

内燃機関10は、SOHC型式の2バルブシステムを採用しており、シリンダヘッド14に動弁機構22が設けられている。動弁機構22を覆うように、シリンダヘッド14にはシリンダヘッドカバー24が重ねられて被せられる。シリンダヘッドカバー24内の動弁機構22に動力伝達を行うため、図示しない無端状のカムチェーンが、クランクケース部16、シリンダブロック12、シリンダヘッド14のクランク軸方向の一方側に設けられた図示しないカムチェーン室を通って、カム軸26とクランク軸17との間に架設され、カム軸26はクランク軸17に同期して1/2の回転速度で回転する。なお、シリンダヘッド14においてカムチェーン室と反対側(クランク軸方向の他方側)から燃焼室20内に向かって点火プラグ(不図示)が嵌挿されている。The internal combustion engine 10 employs a two-valve system of the SOHC type, and the cylinder head 14 is provided with a valve train 22. A cylinder head cover 24 is placed over the cylinder head 14 to cover the valve train 22. To transmit power to the valve train 22 in the cylinder head cover 24, an endless cam chain (not shown) is installed between the camshaft 26 and the crankshaft 17, passing through a cam chain chamber (not shown) provided on one side of the crankshaft direction of the crankcase 16, the cylinder block 12, and the cylinder head 14, and the camshaft 26 rotates at half the rotational speed of the crankshaft 17 in synchronization with the crankshaft 17. An ignition plug (not shown) is inserted into the combustion chamber 20 from the opposite side of the cam chain chamber (the other side of the crankshaft direction) in the cylinder head 14.

シリンダヘッド14において、燃焼室天井面14aに開口した吸気弁口28と排気弁口30からは、各々吸気ポート32と排気ポート34が互いに上下に離れる方向に湾曲しながら延出して形成される。吸気ポート32の上流端は、シリンダヘッド14の上方に向けて開口し、インレットパイプ36と接続して、連続した吸気通路38が構成され、インレットパイプ36の上流側に、スロットルボディ40が接続される。In the cylinder head 14, an intake port 32 and an exhaust port 34 are formed by extending from the intake valve port 28 and exhaust valve port 30, which open into the combustion chamber ceiling surface 14a, while curving upward and downward away from each other. The upstream end of the intake port 32 opens toward the top of the cylinder head 14 and connects to an inlet pipe 36 to form a continuous intake passage 38, and a throttle body 40 is connected to the upstream side of the inlet pipe 36.

排気ポート34の下流端は、シリンダヘッド14の下方に向けて開口し、排気管42に連結される。排気管42の下流側には、排気浄化装置及び消音装置が設けられ得る。The downstream end of the exhaust port 34 opens downwardly into the cylinder head 14 and is connected to an exhaust pipe 42. An exhaust purification device and a silencer may be provided downstream of the exhaust pipe 42.

シリンダヘッド14における吸気ポート32の湾曲外壁部32aに一体に円筒状の吸気弁ガイド44が嵌着されている。吸気弁ガイド44に摺動可能に支持された吸気弁46が、吸気ポート32の燃焼室20に臨む吸気弁口28を開閉する。A cylindrical intake valve guide 44 is fitted integrally to the curved outer wall portion 32a of the intake port 32 in the cylinder head 14. An intake valve 46 slidably supported by the intake valve guide 44 opens and closes the intake valve opening 28 of the intake port 32 facing the combustion chamber 20.

また、シリンダヘッド14における排気ポート34の湾曲外壁部34aに一体に嵌着された排気弁ガイド48に摺動可能に支持された排気弁50が、排気ポート34の燃焼室20に臨む排気弁口30を開閉する。In addition, an exhaust valve 50 slidably supported on an exhaust valve guide 48 integrally fitted to the curved outer wall portion 34a of the exhaust port 34 in the cylinder head 14 opens and closes the exhaust valve opening 30 of the exhaust port 34 facing the combustion chamber 20.

吸気弁46及び排気弁50はその傘部46a、50aが、いずれも燃焼室20に臨む吸気弁口28、排気弁口30を閉じるように、弁ばねにより上方に付勢されている。カム軸26の吸気カム、排気カムに当接揺動する吸気ロッカアーム56、排気ロッカアーム58によって、吸気弁46、排気弁50のステムエンド46b、50bが押し下げられて、所定のタイミングで吸気弁46、排気弁50が開弁し、吸気ポート32と燃焼室20、また、排気ポート34と燃焼室20が連通し、所定のタイミングの吸気、排気がなされる。The intake valve 46 and the exhaust valve 50 are biased upward by a valve spring so that their umbrella portions 46a, 50a close the intake valve port 28 and the exhaust valve port 30 that face the combustion chamber 20. The stem ends 46b, 50b of the intake valve 46 and the exhaust valve 50 are pushed down by the intake rocker arm 56 and the exhaust rocker arm 58, which swing against the intake cam and the exhaust cam of the camshaft 26, respectively, and the intake valve 46 and the exhaust valve 50 open at a predetermined timing, connecting the intake port 32 and the combustion chamber 20, and the exhaust port 34 and the combustion chamber 20, and allowing intake and exhaust to occur at a predetermined timing.

内燃機関10の吸気ポート32の上流端には、インシュレ-タ60を介してインレットパイプ36が接続して、連続した吸気通路38が構成され、インレットパイプ36の上流側に、スロットルボディ40が接続される。スロットルボディ40は、内燃機関10の燃焼室20に連なる吸気通路38の一部を構成する断面略円形の吸気路40aを有し、その上流側は、図示しないエアクリーナ装置に接続している。An inlet pipe 36 is connected to the upstream end of the intake port 32 of the internal combustion engine 10 via an insulator 60 to form a continuous intake passage 38, and a throttle body 40 is connected to the upstream side of the inlet pipe 36. The throttle body 40 has an intake passage 40a with a roughly circular cross section that forms part of the intake passage 38 leading to the combustion chamber 20 of the internal combustion engine 10, and its upstream side is connected to an air cleaner device (not shown).

スロットルボディ40は、その吸気路40aの吸気の流れ方向と垂直、すなわち吸気路40aの中心軸線と直角に交差する弁軸つまりスロットル弁軸40bによってスロットルボディ40内に回転自在に軸支されて、吸気路40aの流路面積を可変制御し、吸気路40aを開閉し得るスロットル弁40cを備えている。スロットル弁40cはバタフライ式のもので、スロットル弁軸40bと、スロットル弁軸40bに固定される共に一体的に回転する円盤状の弁体40dとを有している。The throttle body 40 is provided with a throttle valve 40c that is rotatably supported within the throttle body 40 by a valve shaft, i.e., a throttle valve shaft 40b, that intersects perpendicularly with the flow direction of the intake air in the intake passage 40a, i.e., at a right angle with the central axis of the intake passage 40a, and that can variably control the flow area of the intake passage 40a and open and close the intake passage 40a. The throttle valve 40c is of the butterfly type and has the throttle valve shaft 40b and a disk-shaped valve body 40d that is fixed to the throttle valve shaft 40b and rotates integrally therewith.

スロットル弁40cは運転者の操作等により、図1において時計回りに開弁方向に回動可能となっているとともに、図示しない復帰ばねにより、弁体40dはそれの縁部が吸気路40aの内壁面に当接する全閉位置に位置するように、閉弁方向に反時計回りに付勢されている。なお、スロットル弁40cのこの開弁方向と閉弁方向とはそれぞれ逆向きであってもよい。 Throttle valve 40c can be rotated in the opening direction clockwise in Fig. 1 by the driver's operation, etc., and a return spring (not shown) urges valve body 40d counterclockwise in the closing direction so that the edge of valve body 40d is in the fully closed position where it abuts on the inner wall surface of intake passage 40a. Note that the opening and closing directions of throttle valve 40c may be opposite to each other.

以上のような内燃機関10において、燃焼室20でのより好ましい燃焼を得るために燃焼室20において燃料・空気混合気のタンブル渦流つまりタンブル流、すなわち縦回転を与えるための吸気構造Sが構成されている。すなわち、吸気通路38は、インレットパイプ36から吸気ポート32へと続く仕切部62によって、吸気流れ方向に沿って分割され、通った吸気が燃焼室20内でタンブル流を発生するように構成されたタンブル流路64と、タンブル流路64を除く主流路66とに仕切られている。タンブル流路64が第1吸気通路に相当し、主流路66が第2吸気通路に相当する。なお、タンブル流路64は副通路と称されてもよい。In the internal combustion engine 10 as described above, an intake structure S is configured to provide a tumble vortex, i.e., tumble flow, i.e., vertical rotation, of the fuel-air mixture in the combustion chamber 20 in order to obtain more favorable combustion in the combustion chamber 20. That is, the intake passage 38 is divided along the intake flow direction by a partition 62 continuing from the inlet pipe 36 to the intake port 32, and is divided into a tumble flow passage 64 configured so that the intake air that passes through generates a tumble flow in the combustion chamber 20, and a main flow passage 66 excluding the tumble flow passage 64. The tumble flow passage 64 corresponds to the first intake passage, and the main flow passage 66 corresponds to the second intake passage. The tumble flow passage 64 may also be called a secondary passage.

更に、タンブル流路64に、仕切部72が主にインレットパイプ36から吸気ポート32へと続くように設けられている。仕切部72を設けることで、タンブル流路64に、2つの吸気通路68、70が区画形成される。2つの吸気通路68、70の一方は第1タンブル流路68であり、それらの他方は第2タンブル流路70である。第1タンブル流路68は第3吸気通路に相当し、第2タンブル流路70は第4吸気通路に相当する。 Furthermore, a partition 72 is provided in the tumble passage 64 so as to continue mainly from the inlet pipe 36 to the intake port 32. By providing the partition 72, two intake passages 68, 70 are partitioned in the tumble passage 64. One of the two intake passages 68, 70 is the first tumble passage 68, and the other is the second tumble passage 70. The first tumble passage 68 corresponds to the third intake passage, and the second tumble passage 70 corresponds to the fourth intake passage.

ここでは、タンブル流路64と主流路66とを仕切る仕切部62を主仕切部と称し、タンブル流路64の第1タンブル流路68と第2タンブル流路70とを仕切る仕切部72を副仕切部と称する。主仕切部62は吸気の流れ方向に板状に延在し、副仕切部72も主仕切部62に沿って、例えば略平行に、吸気の流れ方向に板状に延在する。主仕切部62は吸気通路38を実質的に上下方向において二分するように、ここでは流れ方向に延びる中心軸線上に実質的に延びるように設けられている。また、副仕切部72はタンブル流路64を実質的に上下方向において二分するように、ここでは流れ方向に延びるタンブル流路64の中心軸線上に実質的に延びるように設けられている。これにより、吸気通路38に、主仕切部62によって仕切られたタンブル流路64と主流路66が形成され、そのタンブル流路64に、副仕切部72によって第1タンブル流路68と、第1タンブル流路68よりも主流路66よりのつまり第1タンブル流路68と主流路66との間に位置する第2タンブル流路70とが形成される。ここでは、前述のように、主仕切部62は吸気通路38を実質的に上下方向において二分するように延び、かつ、副仕切部72はタンブル流路64を実質的に上下方向において二分するように延びるので、主流路66の断面積は、第1タンブル流路68の断面積よりも明らかに大きく、また第2タンブル流路70の断面積よりも明らかに大きい。よって、当然に、主流路66の断面積と第2タンブル流路70の断面積との和は、第1タンブル流路68の断面積よりも明らかに大きい。なお、主仕切部62及び副仕切部72のそれぞれは、例えば上下方向のいずれかに偏るように設けられてもよい。Here, the partition 62 separating the tumble flow passage 64 and the main flow passage 66 is referred to as the main partition, and the partition 72 separating the first tumble flow passage 68 and the second tumble flow passage 70 of the tumble flow passage 64 is referred to as the sub-partition. The main partition 62 extends in a plate-like manner in the flow direction of the intake air, and the sub-partition 72 also extends in a plate-like manner in the flow direction of the intake air, for example, approximately parallel to the main partition 62. The main partition 62 is provided so as to substantially bisect the intake passage 38 in the vertical direction, here substantially extending on the central axis extending in the flow direction. The sub-partition 72 is provided so as to substantially bisect the tumble flow passage 64 in the vertical direction, here substantially extending on the central axis of the tumble flow passage 64 extending in the flow direction. As a result, the intake passage 38 is formed with a tumble passage 64 and a main passage 66 separated by the main partition portion 62, and the tumble passage 64 is formed with a first tumble passage 68 and a second tumble passage 70 located closer to the main passage 66 than the first tumble passage 68, that is, between the first tumble passage 68 and the main passage 66, by the sub-partition portion 72. As described above, the main partition portion 62 extends so as to substantially divide the intake passage 38 in half in the vertical direction, and the sub-partition portion 72 extends so as to substantially divide the tumble passage 64 in half in the vertical direction, so that the cross-sectional area of the main passage 66 is obviously larger than the cross-sectional area of the first tumble passage 68 and is also obviously larger than the cross-sectional area of the second tumble passage 70. Therefore, the sum of the cross-sectional areas of the main passage 66 and the second tumble passage 70 is obviously larger than the cross-sectional area of the first tumble passage 68. In addition, each of the main partition 62 and the sub-partition 72 may be provided so as to be biased toward either the top or bottom direction.

なお、主流路66の断面積と第2タンブル流路70の断面積との和SA1と、第1タンブル流路68の断面積SA2との比(SA1:SA2)は、8:2~7:3に設定されるとよい。しかし、その比は、その範囲に限定されない。The ratio (SA1:SA2) of the sum SA1 of the cross-sectional area of the main flow path 66 and the cross-sectional area of the second tumble flow path 70 to the cross-sectional area SA2 of the first tumble flow path 68 is preferably set to 8:2 to 7:3. However, the ratio is not limited to this range.

吸気通路38の主仕切部62によって仕切られた下側部分がタンブル流路64、上側部分が主流路66となり、タンブル流路64の副仕切部72によって仕切られた下側部分が第1タンブル流路68、上側部分が第2タンブル流路70となるが、本明細書においてはそれらはその上下配置に限定されない。なお、本明細書において、吸気通路38などについての「上」、「下」とは、シリンダ軸線C方向においてクランク軸17側からシリンダヘッド14ないしシリンダヘッドカバー24側の方向を「上」又は「上」方向、この「上」方向とは逆向きの方向つまりシリンダヘッド14側からクランク軸17側の方向を「下」又は「下」方向といい、空間上の絶対的な「上」、「下」の意味ではない。本明細書では、この「上」又は「上」方向は第1方向に相当し、「下」又は「下」方向は第2方向に相当する。ただし、この関係が逆になり、この「上」又は「上」方向が第2方向に対応し、「下」又は「下」方向が第1方向に対応するようになることも可能である。The lower part of the intake passage 38 separated by the main partition 62 becomes the tumble passage 64, the upper part becomes the main passage 66, the lower part of the tumble passage 64 separated by the sub-partition 72 becomes the first tumble passage 68, and the upper part becomes the second tumble passage 70, but in this specification they are not limited to the up-down arrangement. In this specification, "up" and "down" for the intake passage 38, etc. refer to the direction from the crankshaft 17 side to the cylinder head 14 or cylinder head cover 24 side in the cylinder axis C direction as the "up" or "up" direction, and the direction opposite to this "up" direction, that is, the direction from the cylinder head 14 side to the crankshaft 17 side as the "down" or "down" direction, and do not mean absolute "up" and "down" in space. In this specification, this "up" or "up" direction corresponds to the first direction, and the "down" or "down" direction corresponds to the second direction. However, it is possible for this relationship to be reversed, with the "up" or "up" direction corresponding to the second direction and the "down" or "down" direction corresponding to the first direction.

主仕切部62は、スロットル弁40cから吸気流れ方向Fに第1所定間隔離れた位置から吸気ポート32にまで連続して延びている。同様に、副仕切部72は、スロットル弁40cから吸気流れ方向Fに第2所定間隔離れた位置から吸気ポート32にまで連続して延びている。図1から明らかなように、副仕切部72の上流端72aは、吸気流れ方向Fにおいて、主仕切部62の上流端62aよりも上流側に延びている。つまり、副仕切部72の上流端72aつまりその端縁72atは、吸気流れ方向Fにおいて、主仕切部62の上流端62aつまりその縁部62atよりも上流側に位置している。ここでは、副仕切部72の上流側はインレットパイプ36とスロットルボディ40との間の接続管77にまで延びている。同じく、主仕切部62の上流側はインレットパイプ36とスロットルボディ40との間の接続管77にまで延びている。なお、接続管77を設けずに、主仕切部62と副仕切部72は形成されてもよい。なお、主仕切部62の下流端62bは、副仕切部72の下流端72bよりも下流側に延びていて、下流端62bの下流端縁62btは吸気流れ方向Fにおいて下流端72bの下流端縁72btよりも下流側に位置する。The main partition 62 extends continuously from a position spaced apart from the throttle valve 40c by a first predetermined distance in the intake flow direction F to the intake port 32. Similarly, the sub-partition 72 extends continuously from a position spaced apart from the throttle valve 40c by a second predetermined distance in the intake flow direction F to the intake port 32. As is clear from FIG. 1, the upstream end 72a of the sub-partition 72 extends upstream of the upstream end 62a of the main partition 62 in the intake flow direction F. In other words, the upstream end 72a of the sub-partition 72, i.e., its edge 72at, is located upstream of the upstream end 62a of the main partition 62, i.e., its edge 62at, in the intake flow direction F. Here, the upstream side of the sub-partition 72 extends to the connecting pipe 77 between the inlet pipe 36 and the throttle body 40. Similarly, the upstream side of the main partition portion 62 extends to a connecting pipe 77 between the inlet pipe 36 and the throttle body 40. It is noted that the main partition portion 62 and the sub-partition portion 72 may be formed without providing the connecting pipe 77. It is noted that the downstream end 62b of the main partition portion 62 extends downstream of the downstream end 72b of the sub-partition portion 72, and the downstream edge 62bt of the downstream end 62b is located downstream of the downstream edge 72bt of the downstream end 72b in the intake flow direction F.

前述のように、スロットル弁40cの弁軸40bは、吸気通路38のうちの吸気路40aの吸気流れ方向Fと直交する。図1では、上下方向が紙面に平行であり、スロットル弁40cの弁軸40bは紙面に直交する。したがって、スロットル弁40cの弁軸40bは、吸気の流れ方向Fと交差するとともに、上下方向、例えば第1方向と交差する。特に、ここでは、スロットル弁40cの弁軸40bは、第1方向などの上下方向及び吸気通路38の吸気流れ方向Fに直交する。As mentioned above, the valve shaft 40b of the throttle valve 40c is perpendicular to the intake flow direction F of the intake passage 40a of the intake passage 38. In FIG. 1, the up-down direction is parallel to the paper, and the valve shaft 40b of the throttle valve 40c is perpendicular to the paper. Therefore, the valve shaft 40b of the throttle valve 40c intersects with the intake flow direction F and also intersects with the up-down direction, e.g., the first direction. In particular, here, the valve shaft 40b of the throttle valve 40c is perpendicular to the up-down direction, e.g., the first direction, and the intake flow direction F of the intake passage 38.

上記主流路66には、タンブル弁76が設けられている。ここでは、タンブル弁76は、インレットパイプ36に設けられているが、上記接続管77に設けられてもよい。タンブル弁76は、主流路66の吸気流れ方向と垂直、すなわち主流路66の中心軸線と直角に交差する弁軸76bによってインレットパイプ36内に回転自在に軸支されて、主流路66を開閉することができるように構成されている。タンブル弁76はバタフライ式のもので、弁軸76bと、この弁軸76bに固定される共に一体的に回転する略円盤状の弁体76cとを有している。このように、タンブル弁76は弁軸76bと一体的に回転する単一の弁部材である弁体76cを備えて構成されている。ただし、ここではタンブル弁76の弁軸76bはスロットル弁軸40bと平行であるが、平行でなくてもよい。なお、タンブル弁76は、タンブル制御弁、TCVなどとも称され得、本発明の吸気制御弁に相当する。A tumble valve 76 is provided in the main flow passage 66. Here, the tumble valve 76 is provided in the inlet pipe 36, but it may be provided in the connecting pipe 77. The tumble valve 76 is supported rotatably in the inlet pipe 36 by a valve shaft 76b that intersects perpendicularly with the intake flow direction of the main flow passage 66, i.e., at a right angle with the central axis of the main flow passage 66, so that it can open and close the main flow passage 66. The tumble valve 76 is of a butterfly type, and has a valve shaft 76b and a substantially disk-shaped valve body 76c that is fixed to the valve shaft 76b and rotates integrally therewith. In this way, the tumble valve 76 is configured with a valve body 76c that is a single valve member that rotates integrally with the valve shaft 76b. However, here, the valve shaft 76b of the tumble valve 76 is parallel to the throttle valve shaft 40b, but it does not have to be parallel. The tumble valve 76 may also be called a tumble control valve, TCV, etc., and corresponds to the intake control valve of the present invention.

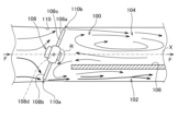
ここで、内燃機関10の吸気系、特に下流側の吸気系の立体モデルM1を図2に示す。図2は立体モデルM1の(上下方向に直交する)左右方向からの図であり、図1の紙面奥側からの図である。図2は、吸気弁46のバルブ軸線46cに直交する方向であって主仕切部62の延在方向及び副仕切部72の延在方向に対して直交する方向から立体モデルM1をみた図である。立体モデルM1では、スロットル弁40cと、タンブル弁76が表されている。また、図3に、主流路66の一部と主仕切部62の上流端62a側の部分との、吸気流れ方向に沿った断面図を示す。更に、図4に、図3に示す主流路66の一部を上流側からみた図を示す。 Here, a three-dimensional model M1 of the intake system of the internal combustion engine 10, particularly the downstream side of the intake system, is shown in FIG. 2. FIG. 2 is a view of the three-dimensional model M1 from the left-right direction (perpendicular to the up-down direction), and is a view from the back side of the paper surface of FIG. 1. FIG. 2 is a view of the three-dimensional model M1 from a direction perpendicular to the valve axis 46c of the intake valve 46 and perpendicular to the extension direction of the main partition section 62 and the extension direction of the sub-partition section 72. The three-dimensional model M1 shows the throttle valve 40c and the tumble valve 76. FIG. 3 shows a cross-sectional view along the intake flow direction of a part of the main flow passage 66 and a part on the upstream end 62a side of the main partition section 62. Furthermore, FIG. 4 shows a view of a part of the main flow passage 66 shown in FIG. 3 from the upstream side.

図3及び図4に示すように、主流路66の上流端側は、吸気流れ方向において上流側から下流側に進むにしたがって先細りになる先細り部66aを有する。先細り部66aは、主流路66において主仕切部62の上流端62aとタンブル弁76の設置位置との間に位置し、吸気流れ方向において下流側に向けて断面積が小さくなる部分である。この先細り部66aを形成するように、主仕切部62の上流端62aはその端縁62at側で最も薄く、下流側に向けて肉厚が増すように形成されている(図3参照)。なお、先細り部66aの上流側は、図4に示すように略D型である。先細り部66aの下流側には断面が略円形の円形通路部66bが直接つながっている。主流路66を開閉可能である吸気制御弁であるタンブル弁76の設置位置は、この円形通路部66bに定められている。したがって、スロットル弁40cと同様に、タンブル弁76は、弁軸76bに固定される共に一体的に回転する円盤状の弁体76cを備える。このタンブル弁76は、以下のECU80により、全開及び全閉のいずれかの開度に選択的に制御されるものであり、その構造又は構成は簡易である。なお、先細り部66a及び円形通路部66bは接続管77において形成されているが、インレットパイプ36に形成されてもよい。3 and 4, the upstream end of the main flow passage 66 has a tapered portion 66a that tapers from the upstream side to the downstream side in the intake flow direction. The tapered portion 66a is located in the main flow passage 66 between the upstream end 62a of the main partition portion 62 and the installation position of the tumble valve 76, and is a portion in which the cross-sectional area becomes smaller toward the downstream side in the intake flow direction. In order to form this tapered portion 66a, the upstream end 62a of the main partition portion 62 is formed so that it is thinnest at its end edge 62at side and the thickness increases toward the downstream side (see FIG. 3). The upstream side of the tapered portion 66a is approximately D-shaped as shown in FIG. 4. The downstream side of the tapered portion 66a is directly connected to a circular passage portion 66b with a cross section of approximately circular. The installation position of the tumble valve 76, which is an intake control valve that can open and close the main flow passage 66, is determined in this circular passage portion 66b. Thus, like the throttle valve 40c, the tumble valve 76 has a disk-shaped valve body 76c fixed to a valve shaft 76b and rotating therewith. The tumble valve 76 is selectively controlled to either a fully open or fully closed position by an ECU 80 (described below), and has a simple structure or configuration. Although the tapered portion 66a and the circular passage portion 66b are formed in the connecting pipe 77, they may also be formed in the inlet pipe 36.

なお、図1から理解できるように、スロットル弁40cが全閉位置にあるとき、弁軸40bを中心として、吸気流れ方向Fにおいて、スロットル弁40cの弁体40dの下側に位置する一端側半体40fは、上流側に位置し、一端側半体76fの下流側において、対応する吸気通路38の内壁面38aの部分と鋭角をなす。また、このとき、弁軸40bを中心として、吸気流れ方向Fにおいて、スロットル弁40cの弁体40dの上側に位置する他端側半体40gは、下流側に位置し、他端側半体40gの下流側において、対応する内壁面38aの部分と鈍角をなす。この角度関係は、スロットル弁40cがわずかに開く所定微小開度にあるとき同様に成立する。 As can be seen from FIG. 1, when the throttle valve 40c is in the fully closed position, the one-end half 40f located below the valve body 40d of the throttle valve 40c is located on the upstream side in the intake flow direction F around the valve shaft 40b, and forms an acute angle with the corresponding part of the inner wall surface 38a of the intake passage 38 on the downstream side of the one-end half 76f. Also, at this time, the other-end half 40g located above the valve body 40d of the throttle valve 40c is located on the downstream side in the intake flow direction F around the valve shaft 40b, and forms an obtuse angle with the corresponding part of the inner wall surface 38a on the downstream side of the other-end half 40g. This angular relationship is also established when the throttle valve 40c is at a predetermined small opening angle where it is slightly open.

内燃機関10では、燃料噴射弁78、79が設けられている。燃料噴射弁78は、スロットル弁40c及びタンブル弁76の下流側に設けられている。ここでは、燃料噴射弁78は、主流路66に臨むようにインレットパイプ36に設けられ、吸気ポート32に向けて燃料を噴射するように設けられている。より具体的には、燃料噴射弁78は主流路66を介して吸気弁46に向けて燃料を噴射するように設けられている。この燃料噴射弁78からの燃料噴射量及びその噴射タイミングは、スロットル弁40c及びタンブル弁76のそれぞれの制御と関連付けて制御される。The internal combustion engine 10 is provided with fuel injection valves 78, 79. The fuel injection valve 78 is provided downstream of the throttle valve 40c and the tumble valve 76. Here, the fuel injection valve 78 is provided in the inlet pipe 36 so as to face the main flow passage 66, and is provided to inject fuel toward the intake port 32. More specifically, the fuel injection valve 78 is provided to inject fuel toward the intake valve 46 via the main flow passage 66. The amount of fuel injected from this fuel injection valve 78 and its injection timing are controlled in association with the control of the throttle valve 40c and the tumble valve 76, respectively.

また、もう一つの燃料噴射弁79はスロットル弁40cの下流側かつ副仕切部72の上流側の吸気通路に燃料を噴射するように設けられている。この燃料噴射弁79からの燃料噴射量及びその噴射タイミングは、燃料噴射弁78からの燃料噴射量及びその噴射タイミングと同様に、又は、燃料噴射弁78からの燃料噴射量及びその噴射タイミングと関連付けて制御され得る。Another fuel injection valve 79 is provided to inject fuel into the intake passage downstream of the throttle valve 40c and upstream of the sub-partition 72. The fuel injection amount and injection timing from this fuel injection valve 79 can be controlled in the same way as the fuel injection amount and injection timing from the fuel injection valve 78, or in association with the fuel injection amount and injection timing from the fuel injection valve 78.

内燃機関10を制御するECU(電子制御ユニット)80は、所謂コンピュータとしての構成を備え、吸気制御部82及び燃料噴射制御部84を備えている。ECU80は、エンジン回転速度センサ、エンジン負荷センサなどの各種センサからの出力に基づいて内燃機関10の運転状態を解析して、吸気制御部82により、スロットル弁40c及びタンブル弁76の各作動を制御する。なお、スロットル弁40cはECU80により任意の開度に開くことができ、図5から図7に示す開度に制御され得る。また、ECU80は、解析した内燃機関10の運転状態に基づいて、燃料噴射制御部84により、燃料噴射弁78、79の各作動を制御する。なお、ECU80には、これらの制御のためのプログラム及び各種データが記憶されている。The ECU (electronic control unit) 80 that controls the internal combustion engine 10 has a so-called computer configuration and includes an intake control unit 82 and a fuel injection control unit 84. The ECU 80 analyzes the operating state of the internal combustion engine 10 based on the output from various sensors such as an engine rotation speed sensor and an engine load sensor, and controls the operation of the throttle valve 40c and the tumble valve 76 using the intake control unit 82. The throttle valve 40c can be opened to any opening degree by the ECU 80, and can be controlled to the opening degrees shown in Figures 5 to 7. The ECU 80 also controls the operation of the fuel injection valves 78, 79 using the fuel injection control unit 84 based on the analyzed operating state of the internal combustion engine 10. The ECU 80 stores programs and various data for these controls.

ここで、スロットル弁40c及びタンブル弁76の制御について図5から図7に基づいて説明する。なお、図5から図7はそれぞれ、図2に示す立体モデルM1においてスロットル弁40c及びタンブル弁76の各開度を調整したものである。Here, the control of the throttle valve 40c and the tumble valve 76 will be explained with reference to Figures 5 to 7. Note that Figures 5 to 7 show the three-dimensional model M1 shown in Figure 2 with the throttle valve 40c and the tumble valve 76 adjusted in opening degree.

例えば内燃機関10の運転状態が低負荷領域にあるとき、ECU80は、タンブル流路64から、特に第1タンブル流路68から、より好ましくは第1タンブル流路68のみから実質的に吸気を吸入させるように、タンブル弁76を閉じ、スロットル弁40cを所定微小開度に制御する(図5参照)。これにより、図5に矢印で模式的に示すように吸気の流れが促され、低負荷領域に即した吸入空気量を確保するとともに、第1タンブル流路68からの吸気で燃焼室20にタンブル流を形成させる。第1タンブル流路68は比較的断面積が小さいため、低負荷領域に即した吸入空気量でも流速を早くすることができ、強いタンブル流を形成することができる。ここでは、内燃機関10の運転状態が低負荷領域にあるとき、燃料噴射弁78、79からの燃料噴射は空燃比がリーンになるように制御されるが、タンブル流を形成することで効果的に燃焼を生じさせることができる。なお、図5に示すとき、図5に矢印で模式的に示すように吸気の流れが促されるが、この流れについては後述する。For example, when the internal combustion engine 10 is in a low load region, the ECU 80 closes the tumble valve 76 and controls the throttle valve 40c to a predetermined small opening so that the intake air is substantially drawn from the tumble passage 64, particularly from the first tumble passage 68, and more preferably only from the first tumble passage 68 (see FIG. 5). This promotes the flow of intake air as shown diagrammatically by the arrows in FIG. 5, ensuring the amount of intake air appropriate for the low load region, and forming a tumble flow in the combustion chamber 20 with the intake air from the first tumble passage 68. Since the first tumble passage 68 has a relatively small cross-sectional area, the flow rate can be increased even with the amount of intake air appropriate for the low load region, and a strong tumble flow can be formed. Here, when the internal combustion engine 10 is in a low load region, the fuel injection from the fuel injection valves 78, 79 is controlled so that the air-fuel ratio is lean, but by forming a tumble flow, combustion can be effectively generated. In addition, when shown in FIG. 5, the flow of intake air is promoted as diagrammatically shown by arrows in FIG. 5, and this flow will be described later.

また、例えば内燃機関10の運転状態が中負荷領域にあるとき、ECU80は、第1タンブル流路68及び第2タンブル流路70つまりタンブル流路64から吸気を吸入させるように、タンブル弁76を閉じ、スロットル弁40cを所定微小開度よりも大きな開度に制御する(図6参照)。なお、このときのスロットル弁40cは、全開よりは小さな開度に制御されるが、全開に制御されてもよい。これにより、図6に矢印で模式的に示すように吸気の流れが促され、中負荷領域に即した吸入空気量を確保するとともに、第1及び第2タンブル流路68、70からの吸気で燃焼室20にタンブル流を形成させる。第1及び第2タンブル流路68、70からの吸気でタンブル流を形成するため、低負荷領域より多くの吸入空気量が必要な中負荷領域においても必要な吸入空気量を確保しつつ、強いタンブル流を形成することができる。ここでは、内燃機関10の運転状態が中負荷領域にあるとき、燃料噴射弁78、79からの燃料噴射は空燃比がリーンになるように制御されるが、タンブル流を形成することで効果的に燃焼を生じさせることができる。 For example, when the internal combustion engine 10 is in a medium load region, the ECU 80 closes the tumble valve 76 and controls the throttle valve 40c to an opening larger than a predetermined small opening so that intake air is drawn from the first tumble passage 68 and the second tumble passage 70, i.e., the tumble passage 64 (see FIG. 6). The throttle valve 40c at this time is controlled to an opening smaller than the full opening, but may be controlled to the full opening. This promotes the flow of intake air as shown diagrammatically by the arrows in FIG. 6, ensuring an intake air volume appropriate for the medium load region, and forming a tumble flow in the combustion chamber 20 with the intake air from the first and second tumble passages 68, 70. Since the tumble flow is formed with the intake air from the first and second tumble passages 68, 70, a strong tumble flow can be formed while ensuring the necessary intake air volume even in the medium load region where a larger intake air volume is required than in the low load region. Here, when the operating state of the internal combustion engine 10 is in the medium load region, the fuel injection from the fuel injection valves 78, 79 is controlled so that the air-fuel ratio is lean, but combustion can be effectively caused by forming a tumble flow.

更に、例えば内燃機関10の運転状態が高負荷領域にあるとき、ECU80は、第1タンブル流路68及び第2タンブル流路70を含むタンブル流路64並びに主流路66から吸気を吸入させるように、タンブル弁76を開き、ここでは全開に開き、スロットル弁40cを全開など所定微小開度よりも大きな開度に制御する(図7参照)。これにより、図7に矢印で模式的に示すように吸気の流れが生じ、高負荷領域に即した吸入空気量を確保するとともに、第1及び第2タンブル流路68、70からの吸気で燃焼室20に好ましくはタンブル流を、そうでなくても好適な筒内流速を実現させる。ここでは、内燃機関10の運転状態が高負荷領域にあるとき、燃料噴射弁78、79からの燃料噴射は空燃比がストイキになるように制御され、更に好適な筒内流速を実現することでより効果的に燃焼を生じさせることができる。 Furthermore, for example, when the operating state of the internal combustion engine 10 is in the high load region, the ECU 80 opens the tumble valve 76, fully opening here, and controls the throttle valve 40c to an opening degree larger than a predetermined small opening degree, such as fully opening, so that intake air is drawn in from the tumble passage 64 including the first tumble passage 68 and the second tumble passage 70 and the main passage 66 (see FIG. 7). As a result, an intake air flow is generated as shown diagrammatically by the arrows in FIG. 7, and the intake air volume according to the high load region is secured, and the intake air from the first and second tumble passages 68, 70 preferably creates a tumble flow in the combustion chamber 20, or otherwise realizes a suitable in-cylinder flow velocity. Here, when the operating state of the internal combustion engine 10 is in the high load region, the fuel injection from the fuel injection valves 78, 79 is controlled so that the air-fuel ratio becomes stoichiometric, and furthermore, by realizing a suitable in-cylinder flow velocity, more effective combustion can be generated.

例えば、内燃機関10の運転状態が高負荷領域にあるとき、前述のように、タンブル弁76を開き、スロットル弁40cを開くことで、タンブル流路64及び主流路66から吸気を吸入させる。このときに、主流路66からの吸気により吸入空気量をより多くし、かつ、タンブル流路64からの吸気によるタンブル性能をより好適に確保可能にするように、内燃機関10の吸気構造Sは更なる構成及び形状を有する。以下、更に説明する。なお、タンブル流路64からの吸気によるタンブル性能をより好適に確保可能にする以下の構成、例えば合流部86による作用効果は、タンブル弁76が閉じられているときにも成立する。For example, when the operating state of the internal combustion engine 10 is in the high load region, as described above, the tumble valve 76 is opened and the throttle valve 40c is opened to draw in intake air from the tumble passage 64 and the main passage 66. At this time, the intake structure S of the internal combustion engine 10 has a further configuration and shape so that the intake air volume is increased by the intake from the main passage 66 and the tumble performance by the intake from the tumble passage 64 can be more suitably ensured. This will be explained further below. Note that the effect of the following configuration, for example the junction section 86, which makes it possible to more suitably ensure the tumble performance by the intake from the tumble passage 64, is achieved even when the tumble valve 76 is closed.

タンブル流路64の下流側には合流部86が区画形成されている。合流部86は、第1タンブル流路68及び第2タンブル流路70がその下流側で合流する個所に設けられている。そして、合流部86を介してタンブル流路64は主流路66に合流する。合流部86は、シリンダヘッド14に形成されている。ここでは、合流部86は吸気ポート32の一部として形成されている。A junction section 86 is defined and formed downstream of the tumble flow passage 64. The junction section 86 is provided at the point where the first tumble flow passage 68 and the second tumble flow passage 70 join downstream. The tumble flow passage 64 then joins the main flow passage 66 via the junction section 86. The junction section 86 is formed in the cylinder head 14. Here, the junction section 86 is formed as part of the intake port 32.

ここで、図8に、スロットル弁40c及びタンブル弁76の下流側の吸気通路38の部分及び排気ポート34の排気通路を含む立体モデルM2を示す。図8はシリンダ軸線Cに直交するとともに吸気流れ方向Fに直交する方向からの立体モデルM2の図である。図8のIXA-IXAに沿った位置での立体モデルM2の断面図を図9Aに示し、図8のIXB-IXB線に沿った位置での立体モデルM2の断面図を図9Bに示し、図8のIXC-IXC線に沿った位置での立体モデルM2の断面図を図9Cに示す。図8のIXA-IXA線は吸気ポート32の上流端近傍を通り、図8のIXB-IXB線は副仕切部72の下流端縁近傍を通り、図8のIXC-IXC線は主仕切部62の下流端縁の近傍を通る。これらのIXA-IXA線からIXC-IXC線は、いずれも、図8においてシリンダ軸線Cに平行である。8 shows a three-dimensional model M2 including the portion of the intake passage 38 downstream of the throttle valve 40c and the tumble valve 76 and the exhaust passage of the exhaust port 34. FIG. 8 shows the three-dimensional model M2 from a direction perpendicular to the cylinder axis C and perpendicular to the intake flow direction F. FIG. 9A shows a cross-sectional view of the three-dimensional model M2 at a position along IXA-IXA in FIG. 8, FIG. 9B shows a cross-sectional view of the three-dimensional model M2 at a position along line IXB-IXB in FIG. 8, and FIG. 9C shows a cross-sectional view of the three-dimensional model M2 at a position along line IXC-IXC in FIG. 8. Line IXA-IXA in FIG. 8 passes near the upstream end of the intake port 32, line IXB-IXB in FIG. 8 passes near the downstream edge of the sub-partition 72, and line IXC-IXC in FIG. 8 passes near the downstream edge of the main partition 62. All of these lines IXA-IXA to IXC-IXC are parallel to the cylinder axis C in FIG.

図9A及び図9Bにおいて、第1タンブル流路68と第2タンブル流路70とは概ね同じ形状及びサイズを有する。このように、第1タンブル流路68と第2タンブル流路70とのそれぞれは、その吸気流れ方向においてその形状又はサイズが大きく変わることなく、滑らかに上流側から下流側に至る。そして、第1タンブル流路68と第2タンブル流路70とは合流部86につながる。合流部86は、主仕切部62の下流端62bの縁部つまり下流端縁62btよりも下流側で主流路66につながる(図1及び図8参照)。この構成により、第1タンブル流路68と第2タンブル流路70とは副仕切部72の下流端72bの縁部つまり下流端縁72btよりも下流側の合流部86を経て、主流路66につながることになる。よって、タンブル流路64の第1タンブル流路68と第2タンブル流路70を通った吸気に指向性を強く持たせることができる。9A and 9B, the first tumble flow passage 68 and the second tumble flow passage 70 have approximately the same shape and size. In this way, the first tumble flow passage 68 and the second tumble flow passage 70 smoothly reach from the upstream side to the downstream side without changing their shape or size significantly in the intake flow direction. The first tumble flow passage 68 and the second tumble flow passage 70 are connected to the junction 86. The junction 86 is connected to the main flow passage 66 downstream of the edge of the downstream end 62b of the main partition 62, i.e., the downstream edge 62bt (see Figs. 1 and 8). With this configuration, the first tumble flow passage 68 and the second tumble flow passage 70 are connected to the main flow passage 66 via the junction 86 downstream of the edge of the downstream end 72b of the sub-partition 72, i.e., the downstream edge 72bt. Therefore, the intake air that has passed through the first tumble passage 68 and the second tumble passage 70 of the tumble passage 64 can be given strong directionality.

図8において、合流部86において吸気流れ方向に延びるように定められる線L1が直角に近い角度θ1でシリンダ軸線Cに交わるのに対して、主流路66の下流端において流れ方向に延びるように定められる線L2が角度θ1よりも小さな角度θ2でシリンダ軸線Cに交わる。このように、主流路66からの吸気よりも、合流部86を介してのタンブル流路64からの吸気が小さい進入角で燃焼室20に流入するように、合流部86は区画形成されている。この構成により、タンブル流路64を通った吸気が強い指向性を持ったまま燃焼室20に導入可能になり、例えば燃焼室20で強いタンブル流を発生させることができる。なお、ここでいう進入角とは、燃焼室20に向けて流入する吸気の燃焼室20への流入の角度であり、例えばシリンダ軸線Cに直交するとともに吸気流れ方向に直交する方向からみた図8においてシリンダ軸線Cとの間でなす角度が大きいほど進入角は小さいということになる。8, a line L1 that is determined to extend in the intake flow direction at the confluence 86 intersects with the cylinder axis C at an angle θ1 close to a right angle, while a line L2 that is determined to extend in the flow direction at the downstream end of the main flow path 66 intersects with the cylinder axis C at an angle θ2 smaller than the angle θ1. In this way, the confluence 86 is partitioned so that the intake air from the tumble flow path 64 via the confluence 86 flows into the combustion chamber 20 at a smaller approach angle than the intake air from the main flow path 66. With this configuration, the intake air that has passed through the tumble flow path 64 can be introduced into the combustion chamber 20 while maintaining a strong directivity, and for example, a strong tumble flow can be generated in the combustion chamber 20. The approach angle here refers to the angle of the intake air flowing toward the combustion chamber 20 into the combustion chamber 20. For example, the larger the angle between the intake air and the cylinder axis C in FIG. 8 viewed from a direction perpendicular to the cylinder axis C and perpendicular to the intake flow direction, the smaller the approach angle.

更に、図1及び図8から明らかなように、タンブル流路64は、下側に凸の湾曲形状を有するように区画形成され、主流路66は、上側に凸の湾曲形状を有するように区画形成されている。この構成により、上述のように、タンブル流路64からの吸気をより小さな進入角で燃焼室20に導くことが可能になり、また、主流路66からの吸気をより効果的に燃焼室20に導くことが可能になる。1 and 8, the tumble flow passage 64 is defined to have a curved shape that is convex downward, and the main flow passage 66 is defined to have a curved shape that is convex upward. With this configuration, as described above, it becomes possible to guide the intake air from the tumble flow passage 64 to the combustion chamber 20 at a smaller approach angle, and it becomes possible to guide the intake air from the main flow passage 66 to the combustion chamber 20 more effectively.

図9Bに、合流部86の上流側端部に第1タンブル流路68及び第2タンブル流路70が連通するところが示されている。ここで、参考までに、図9Bに、第1タンブル流路68の断面68A、第2タンブル流路70の断面70A、及び、合流部86の上流側端部86uに定められる仮想面のつまりこの仮想面での断面の1つの辺TA1を示す。第1タンブル流路68の断面68Aの上下方向の長さ及び第2タンブル流路70の断面70Aの上下方向の長さのそれぞれよりも、合流部86の上流側端部86uの辺TA1の方が明らかに長い。このように、第1タンブル流路68及び第2タンブル流路70の各々の断面積(図9Bの面積S1、S2)が、合流部86の上流側端部86uの断面積S3(辺TA1により一部が区画形成される断面の面積)より小さいように、合流部86は区画形成されている(S1<S3、S2<S3)。この構成により、第1タンブル流路68からの吸気と第2タンブル流路70からの吸気とが合流部86に好適に流入可能である。より詳細には、第1タンブル流路68及び第2タンブル流路70に吸気が流れている場合、合流部86の断面積が第1タンブル流路68及び第2タンブル流路70それぞれの断面積より大きいため、合流部86で吸入空気量が制限されにくく、例えば中負荷領域の運転領域に即した吸入空気量を確保することができる。9B shows the first tumble flow path 68 and the second tumble flow path 70 communicating with the upstream end of the junction 86. For reference, FIG. 9B shows the cross section 68A of the first tumble flow path 68, the cross section 70A of the second tumble flow path 70, and an imaginary plane defined at the upstream end 86u of the junction 86, i.e., one side TA1 of the cross section on this imaginary plane. The side TA1 of the upstream end 86u of the junction 86 is clearly longer than the vertical length of the cross section 68A of the first tumble flow path 68 and the vertical length of the cross section 70A of the second tumble flow path 70. In this manner, the junction 86 is partitioned so that the cross-sectional areas (areas S1, S2 in FIG. 9B) of the first tumble passage 68 and the second tumble passage 70 are smaller than the cross-sectional area S3 (area of a cross section partially partitioned by side TA1) of the upstream end 86u of the junction 86 (S1<S3, S2<S3). With this configuration, the intake air from the first tumble passage 68 and the intake air from the second tumble passage 70 can suitably flow into the junction 86. More specifically, when the intake air flows through the first tumble passage 68 and the second tumble passage 70, the cross-sectional area of the junction 86 is larger than the cross-sectional areas of the first tumble passage 68 and the second tumble passage 70, so that the intake air amount is less likely to be restricted at the junction 86, and it is possible to ensure the intake air amount appropriate for an operating range, for example, a medium load range.

また、例えば、図9Cの辺TA2の方が図9Bの辺TA1よりも短い。つまり、下流側に至るに従い、例えば図9Bの辺TA1の箇所よりも図9Cの断面箇所で、タンブル流路64の合流部86の断面積が小さくなる傾向にある。このように、内燃機関10では、合流部86は、該合流部86の上流側端部から下流側に向けて概ね先細りするように区画形成されている。この構成により、第1タンブル流路68及び第2タンブル流路70の断面積の和(例えば断面68Aの面積S1と断面70Aの面積S2の和)よりも、合流部86の上流側端部86uよりも下流側の流れ方向に直交する断面での面積(断面積)が小さくなる。これにより、第1タンブル流路68からの吸気と第2タンブル流路70からの吸気とが合流部86で合流して主流路66に流れ込むとき、吸気の流速を速い状態に保つことが可能になる。したがって、タンブル流路64からの吸気は、速い流速で燃焼室20内に流入し、好ましくはタンブル流を形成することができる。なお、第1タンブル流路68及び第2タンブル流路70の断面積の和よりも、合流部86の上流側端部よりも下流側の流れ方向に直交する断面での面積を小さくすることは、先細り以外の手段により実現されてもよい。 Also, for example, side TA2 in FIG. 9C is shorter than side TA1 in FIG. 9B. That is, the cross-sectional area of the junction 86 of the tumble flow passage 64 tends to become smaller at the cross-sectional location in FIG. 9C than at the cross-sectional location in FIG. 9B, for example, at the side TA1 in FIG. 9B, as it approaches the downstream side. In this way, in the internal combustion engine 10, the junction 86 is partitioned so as to taper from the upstream end of the junction 86 toward the downstream side. With this configuration, the area (cross-sectional area) of the cross section perpendicular to the flow direction downstream of the upstream end 86u of the junction 86 is smaller than the sum of the cross-sectional areas of the first tumble flow passage 68 and the second tumble flow passage 70 (for example, the sum of the area S1 of the cross section 68A and the area S2 of the cross section 70A). This makes it possible to maintain the flow velocity of the intake air high when the intake air from the first tumble flow passage 68 and the intake air from the second tumble flow passage 70 join at the junction 86 and flow into the main flow passage 66. Therefore, the intake air from the tumble passage 64 flows into the combustion chamber 20 at a high flow velocity, and preferably forms a tumble flow. Note that making the area of the cross section perpendicular to the flow direction downstream of the upstream end of the junction 86 smaller than the sum of the cross-sectional areas of the first tumble passage 68 and the second tumble passage 70 may be achieved by means other than tapering.

さて、前述のように、スロットル弁40cが所定微小開度に開かれるときについて説明する。図5に示すように、スロットル弁40cが所定微小開度に開かれているとき、スロットル弁40cの弁体40dと吸気通路壁面38aとの間に2つの隙間部G1、G2が形成される。図5の下側の隙間部(第1の隙間部)G1は、スロットル弁40cの弁体40dの下側に位置する一端側半体40fと、対応する吸気通路38の内壁面38aの部分との間に形成される。このとき、一端側半体40fは、弁軸40bを中心として、吸気流れ方向Fにおいて、上流側に位置し、一端側半体76fの下流側において、対応する吸気通路38の内壁面38aの部分と鋭角αをなす。図5の上側の隙間部(第2の隙間部)G2は、スロットル弁40cの弁体40dの上側に位置する他端側半体40gと、対応する吸気通路38の内壁面38aの部分との間に形成され、スロットル弁40cの弁軸40bを間に挟んで、第1の隙間部G1の反対側に位置する。このとき、他端側半体40gは、弁軸40bを中心として、吸気流れ方向Fにおいて、下流側に位置し、他端側半体40gの下流側において、対応する内壁面38aの部分と鈍角βをなす。なお、図5に示す所定微小開度にあるとき、スロットル弁40cの弁体40dは傾斜しているので、吸気流れ方向Fにおいて、第1の隙間部G1は、第2の隙間部G2よりも上流側に位置する。Now, as mentioned above, the case where the throttle valve 40c is opened to a predetermined small opening will be described. As shown in FIG. 5, when the throttle valve 40c is opened to a predetermined small opening, two gaps G1 and G2 are formed between the valve body 40d of the throttle valve 40c and the intake passage wall surface 38a. The lower gap (first gap) G1 in FIG. 5 is formed between the one end half 40f located below the valve body 40d of the throttle valve 40c and the corresponding part of the inner wall surface 38a of the intake passage 38. At this time, the one end half 40f is located upstream in the intake flow direction F with the valve shaft 40b as the center, and forms an acute angle α with the corresponding part of the inner wall surface 38a of the intake passage 38 downstream of the one end half 76f. The upper gap (second gap) G2 in Fig. 5 is formed between the other end half 40g located above the valve body 40d of the throttle valve 40c and the corresponding part of the inner wall surface 38a of the intake passage 38, and is located on the opposite side of the first gap G1 with the valve shaft 40b of the throttle valve 40c in between. At this time, the other end half 40g is located downstream in the intake flow direction F with the valve shaft 40b as the center, and forms an obtuse angle β with the corresponding part of the inner wall surface 38a downstream of the other end half 40g. Note that when the throttle valve 40c is at the predetermined small opening shown in Fig. 5, the valve body 40d of the throttle valve 40c is inclined, so that the first gap G1 is located upstream of the second gap G2 in the intake flow direction F.

第1の隙間部G1及び第2の隙間部G2のそれぞれは主仕切部62の厚さ以下の隙間幅を有する。なお、主仕切部62の厚さとは、吸気流れ方向に延びる主仕切部62の平均の厚さであるとよい。具体的には、第1の隙間部G1及び第2の隙間部G2のそれぞれは3mm以下の隙間幅(0<隙間幅≦3mm)、より好ましくは2mm以下の隙間幅を有するとよい(0<隙間幅≦2mm)。ここでは、副仕切部72も主仕切部62とほぼ同じ厚さを有するように形成されている。つまり、本実施形態では、第1の隙間部G1及び第2の隙間部G2のそれぞれは副仕切部72の厚さ以下の隙間幅を有する。なお、第1の隙間部G1は図1及び図3において最大幅を有し、その左右(図1及び図3で紙面に直交する向き)に進むにしたがい隙間幅が小さくなるように形成されるとよい。同様に、第2の隙間部G2は図1及び図3において最大幅を有し、その左右に進むにしたがい隙間幅が小さくなるように形成されるとよい。なお、第1の隙間部G1及び第2の隙間部G2のそれぞれは、これらの幅に限定されるものではなく、以下に説明する作用効果を奏するように設計されて形成されるとよい。Each of the first gap G1 and the second gap G2 has a gap width equal to or less than the thickness of the main partition 62. The thickness of the main partition 62 is preferably the average thickness of the main partition 62 extending in the intake flow direction. Specifically, each of the first gap G1 and the second gap G2 has a gap width equal to or less than 3 mm (0 < gap width ≦ 3 mm), more preferably equal to or less than 2 mm (0 < gap width ≦ 2 mm). Here, the sub-partition 72 is also formed to have approximately the same thickness as the main partition 62. In other words, in this embodiment, each of the first gap G1 and the second gap G2 has a gap width equal to or less than the thickness of the sub-partition 72. The first gap G1 has the maximum width in FIG. 1 and FIG. 3, and the gap width is preferably formed so that it becomes smaller as it moves to the left and right (in the direction perpendicular to the paper surface in FIG. 1 and FIG. 3). 1 and 3, the second gap G2 may be formed so as to have a maximum width and to have a smaller width toward the left and right. Note that the first gap G1 and the second gap G2 are not limited to these widths, and may be designed and formed so as to achieve the effects described below.

この隙間部G1、G2を設けることによる作用効果について説明する前に、まず、図10及び図11に基づいて関連する現象を以下説明する。なお、図10及び図11に基づく以下の説明と同様の説明は、特開2019-23459号公報にて詳しく記載している。Before describing the effects of providing the gaps G1 and G2, the related phenomenon will be described below with reference to Figures 10 and 11. Note that a similar explanation to the following explanation with reference to Figures 10 and 11 is described in detail in JP 2019-23459 A.

図10は、吸気通路100に、タンブル流路102と主流路104とに仕切る仕切部106を設け、仕切部106の上流側にバタフライ弁108を設けたときに、そのバタフライ弁108が徐開しているとき(わずかに開いている状態にあるとき)の吸気の流れを模式的に示す図である。図11は、図10に示すバタフライ弁108の徐開時の主にその下流側の圧力を示す図である。 Figure 10 is a diagram showing the intake air flow when a butterfly valve 108 is gradually opened (slightly open) when a partition 106 is provided in the intake passage 100 to separate the tumble flow path 102 and the main flow path 104, and a butterfly valve 108 is provided upstream of the partition 106. Figure 11 is a diagram showing the pressure mainly downstream of the butterfly valve 108 shown in Figure 10 when it is gradually opened.

バタフライ弁108は、図10において時計回りRに開弁方向に回動可能となっているとともに、図示しない復帰ばねにより、その弁体108aの回動する一端側半体108bが吸気通路100を区画形成する内壁面110に当接するとともに、回動する他端側半体108cが同内壁面110に当接する全閉位置に位置するように、閉弁方向に反時計回りに付勢されている。The butterfly valve 108 can rotate in the clockwise direction R in FIG. 10 in the valve opening direction, and is biased counterclockwise in the valve closing direction by a return spring (not shown) so that the rotating one end half 108b of the valve body 108a abuts against the inner wall surface 110 that defines the intake passage 100, and the rotating other end half 108c abuts against the same inner wall surface 110 in the fully closed position.

全閉状態のバタフライ弁108の一端側半体108bは、吸気流れ方向Fの下流側における吸気通路100の内壁面110との当接角が鋭角であり、その他端側半体108cは、吸気流れ方向Fの下流側における吸気通路100の内壁面110の当接角が鈍角である。換言すると、バタフライ弁108は傾斜しており、その一端側半体108bは、弁軸108dを中心にして、吸気通路100の上流側に位置し、バタフライ弁108の他端側半体108cは、吸気通路100の下流側に位置する。そのような状態の全閉位置から、図10及び図11に示すようにバタフライ弁108が徐開位置になると、吸気は、吸気通路100の上流側から、一端側半体108bと吸気通路100を区画形成する内壁面110との間に形成される間隙(以下、鈍角側間隙)110a、及び、他端側半体108cと内壁面110との間に形成される間隙(以下、鋭角側間隙)110bを通り、下流側に流れる。なお、このとき、図11に示すように、バタフライ弁108の一端側半体108bと吸気通路100の内壁面110とのなす角α1は鋭角であり、その他端側半体108cと吸気通路100の内壁面110とのなす角β1は鈍角である。In the fully closed state, one end half 108b of the butterfly valve 108 forms an acute contact angle with the inner wall surface 110 of the intake passage 100 downstream of the intake flow direction F, and the other end half 108c forms an obtuse contact angle with the inner wall surface 110 of the intake passage 100 downstream of the intake flow direction F. In other words, the butterfly valve 108 is inclined, with one end half 108b located upstream of the intake passage 100 around the valve shaft 108d, and the other end half 108c of the butterfly valve 108 located downstream of the intake passage 100. 10 and 11, when the butterfly valve 108 moves from the fully closed position to the gradually opened position, the intake air flows from the upstream side of the intake passage 100 to the downstream side through a gap (hereinafter, obtuse angle gap) 110a formed between the one end half 108b and the inner wall surface 110 that defines the intake passage 100, and a gap (hereinafter, acute angle gap) 110b formed between the other end half 108c and the inner wall surface 110. At this time, as shown in FIG. 11, the angle α1 between the one end half 108b of the butterfly valve 108 and the inner wall surface 110 of the intake passage 100 is an acute angle, and the angle β1 between the other end half 108c and the inner wall surface 110 of the intake passage 100 is an obtuse angle.

このとき、図11に示すように、鈍角側間隙110aと鋭角側間隙110bの直下流領域部112には強い負圧が生じるとともに(図11中の黒色部)、バタフライ弁108の弁軸108dを含むバタフライ弁108の下流側範囲に広い負圧域114(図11中の、点ハッチング部)が発生する。すなわち、図11に示されるように、バタフライ弁108の下流側の吸気流路100の部分を、吸気流れ方向Fに沿ってバタフライ弁108の弁軸108dと略平行な面を有する仕切部106により、断面面積が大、小となる2つの流路102、104に仕切り、断面面積が大きい側の流路104を他端側半体108cの下流側に、断面面積の小さい側の流路102を一端側半体108bの下流側に配置すると、バタフライ弁108の徐開時にバタフライ弁108を通過し断面面積の大きい流路104側に流れる吸気の勢いが衰えやすくなり、勢いを失った断面面積の大きい流路104に流れた吸気は、バタフライ弁108の一端側半体108bと他端側半体108cの各端部の直下流部112(図11の黒色部)に発生する負圧に誘引され、上流側に逆流する。そして、逆流した吸気は、断面面積の小さい流路102側の一端側半体108bの直下流部112に発生する負圧に誘引された後、バタフライ弁108を通過した吸気とともに断面面積の小さい流路102に流れ込み、流路102を流れる吸気が増大する。At this time, as shown in Figure 11, a strong negative pressure is generated in the area 112 immediately downstream of the obtuse angle side gap 110a and the acute angle side gap 110b (black area in Figure 11), and a wide negative pressure area 114 (dotted hatched area in Figure 11) is generated in the downstream range of the butterfly valve 108, including the valve stem 108d of the butterfly valve 108. That is, as shown in FIG. 11, the portion of the intake flow passage 100 downstream of the butterfly valve 108 is partitioned into two flow passages 102, 104 of large and small cross-sectional area by a partition 106 having a surface that is approximately parallel to the valve axis 108d of the butterfly valve 108 along the intake flow direction F, and the flow passage 104 with the larger cross-sectional area is located downstream of the other end half 108c, and the flow passage 102 with the smaller cross-sectional area is located downstream of the one end half 108b. When the butterfly valve 108 is slowly opened, the momentum of the intake air that passes through the butterfly valve 108 and flows into the flow passage 104 with the larger cross-sectional area tends to weaken, and the intake air that has lost momentum and flowed into the flow passage 104 with the larger cross-sectional area is attracted to the negative pressure generated in the portions 112 (black portions in FIG. 11) immediately downstream of each end of the one end half 108b and the other end half 108c of the butterfly valve 108, and flows back upstream. The backflowing intake air is attracted to the negative pressure generated in the immediate downstream portion 112 of the one end half 108b on the side of the flow path 102 with the smaller cross-sectional area, and then flows into the flow path 102 with the smaller cross-sectional area together with the intake air that has passed through the butterfly valve 108, and the amount of intake air flowing through the flow path 102 increases.

したがって、断面面積の大きい流路104を主流路とし、断面面積の小さい流路102をタンブル流路とする、すなわち、主流路104の断面面積をタンブル流路102の断面面積より大きく設定することで、一旦主流路104に流れた吸気をタンブル流路102に導くことができる。すなわち、主流路104の断面面積をタンブル流路102の断面面積より大きく設定すれば、タンブル流路102を流れる吸気を強化することができる。Therefore, by making the flow passage 104 with the larger cross-sectional area the main flow passage and the flow passage 102 with the smaller cross-sectional area the tumble flow passage, i.e., by setting the cross-sectional area of the main flow passage 104 larger than the cross-sectional area of the tumble flow passage 102, the intake air that once flows into the main flow passage 104 can be guided to the tumble flow passage 102. In other words, by setting the cross-sectional area of the main flow passage 104 larger than the cross-sectional area of the tumble flow passage 102, the intake air flowing through the tumble flow passage 102 can be strengthened.

ここで、本発明の上記実施形態の説明に戻る。前述のように、スロットル弁40cが図5に示す所定微小開度にあるとき、スロットル弁40cの弁軸40bは上下方向及び吸気通路38の吸気流れ方向Fに直交するので、スロットル弁40cの弁体40dの一端側半体40fのすぐ下流側に第1タンブル流路68が位置している。そして、副仕切部72の上流端72aは主仕切部62の上流端62aよりも上流側に延在している。この副仕切部72に着目して、副仕切部72の上側の主流路66の断面積と第2タンブル流路70の断面積の和は、副仕切部72の第1タンブル流路68の断面積よりも明らかに大きい。なお、ここでは、スロットル弁40cは所定微小開度にあるとき傾斜しており、弁軸40bを中心として、吸気流れ方向Fにおいて、スロットル弁40cの弁体40dの下側に位置する一端側半体40fは、上流側に位置し、対応する壁面とその下流側において鋭角αをなし、スロットル弁40cの弁体40dの上側に位置する他端側半体76gは、下流側に位置し、対応する壁部とその下流側において鈍角βをなす。よって、図10のバタフライ弁108と、タンブル流路102と、主流路104とを、それぞれ、本実施形態におけるスロットル弁40cと、第1タンブル流路68と、主流路66及び第2タンブル流路70とに対応付けることができる。したがって、スロットル弁40cを前述のように所定微小開度に開くことで、本実施形態の内燃機関の吸気構造Sでは、図5に基づいて説明した吸気の流れ(図5の矢印参照)を実現できる。 Now, we return to the description of the above embodiment of the present invention. As described above, when the throttle valve 40c is at a predetermined small opening shown in FIG. 5, the valve shaft 40b of the throttle valve 40c is perpendicular to the vertical direction and the intake flow direction F of the intake passage 38, so that the first tumble flow passage 68 is located immediately downstream of the one end half 40f of the valve body 40d of the throttle valve 40c. The upstream end 72a of the sub-partition 72 extends upstream of the upstream end 62a of the main partition 62. Focusing on this sub-partition 72, the sum of the cross-sectional area of the main flow passage 66 above the sub-partition 72 and the cross-sectional area of the second tumble flow passage 70 is clearly larger than the cross-sectional area of the first tumble flow passage 68 of the sub-partition 72. In this embodiment, the throttle valve 40c is inclined when it is at a predetermined small opening, and the one end half 40f located below the valve body 40d of the throttle valve 40c is located on the upstream side in the intake flow direction F with the valve shaft 40b as the center, and forms an acute angle α with the corresponding wall surface on the downstream side, and the other end half 76g located above the valve body 40d of the throttle valve 40c is located on the downstream side, and forms an obtuse angle β with the corresponding wall portion on the downstream side. Therefore, the butterfly valve 108, the tumble passage 102, and the main passage 104 in FIG. 10 can be respectively associated with the throttle valve 40c, the first tumble passage 68, the main passage 66, and the second tumble passage 70 in this embodiment. Therefore, by opening the throttle valve 40c to the predetermined small opening as described above, the intake structure S for an internal combustion engine of this embodiment can realize the intake flow described based on FIG. 5 (see the arrows in FIG. 5).

つまり、図12に模式的に示すように、図1の内燃機関10の吸気構造Sによれば、スロットル弁40cが図5に示すのと同じ所定微小開度にあるとき、第1の隙間部G1、及び、第2の隙間部G2が上記のように形成される。第2の隙間部G2を通過した吸気は主に主流路66側に一旦流れ得るが、その一部好ましくはその全部はタンブル流路64側に戻り、第1の隙間部G1を通過した吸気とともに、第1タンブル流路68を流れるようになる。このように、所定微小開度にあるスロットル弁40cを下流側に流れた吸気は、第1タンブル流路68に入り、結局はタンブル流路64に流れる(図12の矢印参照)。That is, as shown in FIG. 12, according to the intake structure S of the internal combustion engine 10 of FIG. 1, when the throttle valve 40c is at the same predetermined small opening as shown in FIG. 5, the first gap G1 and the second gap G2 are formed as described above. The intake air that passes through the second gap G2 can mainly flow to the main flow passage 66 side, but a part of it, preferably all of it, returns to the tumble flow passage 64 side and flows through the first tumble flow passage 68 together with the intake air that passed through the first gap G1. In this way, the intake air that flows downstream of the throttle valve 40c at the predetermined small opening enters the first tumble flow passage 68 and eventually flows into the tumble flow passage 64 (see the arrow in FIG. 12).

この内燃機関10の吸気構造Sによる流れをシミュレーションした結果を図13に示す。図13のXIVA-XIVA線に沿った通路断面形状を図14Aに示し、図13のXIVB-XIVB線に沿った通路断面形状を図14Bに示す。図14Aの位置は、上記先細り部66aのすぐ上流側の位置に概ね相当し、図14Bの位置は上記円形通路部66bの位置に相当する。The results of a simulation of the flow through the intake structure S of this internal combustion engine 10 are shown in Figure 13. The cross-sectional shape of the passage along line XIVA-XIVA in Figure 13 is shown in Figure 14A, and the cross-sectional shape of the passage along line XIVB-XIVB in Figure 13 is shown in Figure 14B. The position in Figure 14A roughly corresponds to the position immediately upstream of the tapered portion 66a, and the position in Figure 14B corresponds to the position of the circular passage portion 66b.

このシミュレーションでは、スロットル弁40cを所定微小開度に開き、タンブル弁76を完全に閉じたモデルを用いた。図13中、黒色部分は最も圧力が低い部分であり、第1の隙間部G1の下流側及び第2の隙間部G2の下流側に生じた。そして、このシミュレーションで第2の隙間部G2を通過した吸気は矢印FAのように、副仕切部72の上側の主流路66及び第2タンブル流路70側に一旦は向かいうるが、第1タンブル流路68に流れた。In this simulation, a model was used in which the throttle valve 40c was opened to a predetermined small opening and the tumble valve 76 was completely closed. In Figure 13, the black parts are the parts with the lowest pressure, and they occurred downstream of the first gap G1 and downstream of the second gap G2. In this simulation, the intake air that passed through the second gap G2 may initially head toward the main passage 66 and the second tumble passage 70 above the sub-partition 72, as shown by arrow FA, but then flows into the first tumble passage 68.

以上説明した内燃機関10の吸気構造Sでは、第1タンブル流路68及び第2タンブル流路70を含むタンブル流路64と主流路66とが形成される。したがって、内燃機関の運転状態に応じてそれらの1つ、複数又は全てを使用することで、運転状態に応じた吸入空気量を確保することができる。In the intake structure S of the internal combustion engine 10 described above, a tumble passage 64 including a first tumble passage 68 and a second tumble passage 70 and a main passage 66 are formed. Therefore, by using one, more than one or all of them depending on the operating state of the internal combustion engine, it is possible to ensure the amount of intake air according to the operating state.

そして、スロットル弁40cの弁軸40bは上下方向及び吸気通路38の吸気流れ方向Fに交差し、スロットル弁40cは、所定微小開度を含む複数の開度に開くことができる。したがって、スロットル弁40cが所定微小開度に開かれるとき、スロットル弁40cと吸気通路壁面38cとの間に形成される第1の隙間部G1は第1タンブル流路68側に位置し、スロットル弁40cと吸気通路壁面38cとの間に形成される第2の隙間部G2は主流路66側に位置することになる。更に、副仕切部72の上流端72aは、吸気流れ方向Fにおいて、主仕切部62の上流端62aよりも上流側に延びている。よって、第2の隙間部G2を通過した吸気は第1タンブル流路68側に促され、そこを流れることが可能になる。よって、タンブル性能を確保することができる。 The valve shaft 40b of the throttle valve 40c crosses the vertical direction and the intake flow direction F of the intake passage 38, and the throttle valve 40c can be opened to a plurality of openings including a predetermined small opening. Therefore, when the throttle valve 40c is opened to a predetermined small opening, the first gap G1 formed between the throttle valve 40c and the intake passage wall surface 38c is located on the first tumble flow path 68 side, and the second gap G2 formed between the throttle valve 40c and the intake passage wall surface 38c is located on the main flow path 66 side. Furthermore, the upstream end 72a of the sub-partition 72 extends upstream of the upstream end 62a of the main partition 62 in the intake flow direction F. Therefore, the intake air that has passed through the second gap G2 is urged toward the first tumble flow path 68 side and can flow there. Therefore, the tumble performance can be ensured.

スロットル弁40cが所定微小開度に開かれるときのそのような逆流現象(例えば図10から図12に基づく上記説明参照)はタンブル弁76を設けない場合にも成立する。その上で、内燃機関10の吸気構造Sでは、タンブル弁76を設け、例えば内燃機関10の運転状態が低・中負荷の運転領域にあるときにタンブル弁76を閉じ、タンブル流路64により好適に吸気を流すことを可能にする。このように、上記構成の内燃機関10の吸気構造Sでは、主流路66を開閉するタンブル弁76が設けられるが、それは全開及び全閉に開かれるのみであり、その構造又は構成は複雑ではない。Such a backflow phenomenon when the throttle valve 40c is opened to a predetermined small opening (see, for example, the above explanation based on Figures 10 to 12) occurs even when the tumble valve 76 is not provided. In addition, the intake structure S of the internal combustion engine 10 is provided with a tumble valve 76, and when the operating state of the internal combustion engine 10 is in the low to medium load operating range, for example, the tumble valve 76 is closed, allowing the intake air to flow more suitably through the tumble flow passage 64. In this way, the intake structure S of the internal combustion engine 10 configured as described above is provided with a tumble valve 76 that opens and closes the main flow passage 66, but it is only opened fully open and fully closed, and its structure or configuration is not complicated.

また、上記吸気構造Sでは、スロットル弁40cの弁軸40bは上下方向及び吸気通路38の吸気流れ方向Fに直交する。したがって、スロットル弁40cが所定微小開度に開かれるとき、第1の隙間部G1を第1タンブル流路68側に好適に位置づけることができ、第2の隙間部G2を主流路66側に位置づけることができる。よって、より好適に、そのときに、第1タンブル流路68に第2の隙間部G2を介した吸気の流れを促すことができる。 In addition, in the above-mentioned intake structure S, the valve shaft 40b of the throttle valve 40c is perpendicular to the vertical direction and the intake flow direction F of the intake passage 38. Therefore, when the throttle valve 40c is opened to a predetermined small opening, the first gap G1 can be suitably positioned on the first tumble passage 68 side, and the second gap G2 can be suitably positioned on the main passage 66 side. Therefore, at that time, it is possible to more suitably promote the flow of intake air through the second gap G2 to the first tumble passage 68.

更に、タンブル弁76の設置位置における主流路66の円形通路部66bの断面は略円形である。よって、閉弁時のタンブル弁76による主流路66の閉塞の度合いをより容易に高めることができる。また、主流路66において主仕切部62の上流端62aとタンブル弁76の設置位置との間に、吸気流れ方向Fにおいて下流側に向けて断面積が小さくなる先細り領域つまり先細り部66aが設けられている。この構成により、主流路66への吸気の流れをより好適に滑らかにすることができる。 Furthermore, the cross section of the circular passage portion 66b of the main flow path 66 at the installation position of the tumble valve 76 is approximately circular. This makes it easier to increase the degree of blockage of the main flow path 66 by the tumble valve 76 when the valve is closed. Also, a tapered region, or tapered portion 66a, whose cross-sectional area decreases toward the downstream side in the intake flow direction F, is provided in the main flow path 66 between the upstream end 62a of the main partition portion 62 and the installation position of the tumble valve 76. This configuration makes it possible to more suitably smooth the flow of intake air into the main flow path 66.

そして、上記吸気構造Sは、前述の合流部86を備える。例えばスロットル弁40cが所定微小開度に制御されるとき、吸気が第2タンブル流路70に流れても、その吸気は、そのときに吸気を流すことが主目的とされる第1タンブル流路68の吸気と合流部86で合流し、燃焼室20に吸入される。よって、このとき、第2タンブル流路70を流れる吸気を含むタンブル流路64からの吸気に強い指向性を持たせることができ、燃焼室20でのタンブル流を好適に強化することができ、タンブル性能を更に確保することができる。 The intake structure S is provided with the aforementioned junction 86. For example, when the throttle valve 40c is controlled to a predetermined small opening, even if the intake air flows into the second tumble passage 70, the intake air merges with the intake air of the first tumble passage 68, whose main purpose at that time is to flow the intake air, at the junction 86 and is drawn into the combustion chamber 20. Therefore, at this time, the intake air from the tumble passage 64, including the intake air flowing through the second tumble passage 70, can be given strong directionality, the tumble flow in the combustion chamber 20 can be suitably strengthened, and the tumble performance can be further ensured.

なお、副仕切部は1つに限定されず、複数であってもよい。複数の副仕切部をタンブル流路64に設けることで、タンブル流路64を、上記第1タンブル流路68に対応する第3吸気通路及び上記第2タンブル流路70に対応する第4吸気通路を含む3つ以上の吸気通路つまり吸気通路部分に分けることが可能になる。この分けられた複数の吸気通路部分は、上述の第1及び第2タンブル流路68、70と同様に合流部86を介して主流路66につながり、燃焼室20につながるとよい。なお、この場合、複数の副仕切部は上下方向に離してタンブル流路64に設けられ得る。The number of sub-partitions is not limited to one, and may be multiple. By providing multiple sub-partitions in the tumble flow passage 64, it becomes possible to divide the tumble flow passage 64 into three or more intake passages, i.e., intake passage portions, including a third intake passage corresponding to the first tumble flow passage 68 and a fourth intake passage corresponding to the second tumble flow passage 70. The divided multiple intake passage portions may be connected to the main flow passage 66 via a junction 86, similar to the first and second tumble flow passages 68, 70, and then to the combustion chamber 20. In this case, multiple sub-partitions may be provided in the tumble flow passage 64 spaced apart in the vertical direction.

また、上記内燃機関10の吸気通路を、特にスロットル弁40cの下流側の吸気通路を区画形成する各種部材は主に鋳造により作製されるとよい。これにより、下側に凸のタンブル流路64及び上側に凸の主流路66など種々の形状を実現することが可能である。なお、鋳造以外の方法により、吸気通路を区画形成する部材が作製されることを本開示は排除するものではない。 In addition, it is preferable that the various components that define the intake passage of the internal combustion engine 10, particularly the intake passage downstream of the throttle valve 40c, are mainly manufactured by casting. This makes it possible to realize various shapes, such as a tumble passage 64 that is convex downward and a main passage 66 that is convex upward. Note that this disclosure does not exclude the manufacture of components that define the intake passage by methods other than casting.

なお、図15に示すように、タンブル流路64にレゾネータ90が連通するように設けられるとよい。図15では、レゾネータ90は、連通路92を区画形成する連通管94を介して、タンブル流路64のうちの第1タンブル流路68に連通されている。しかし、レゾネータ90は、第2タンブル流路70に連通されてもよい。このようにレゾネータ90をタンブル流路64に直接的につなげることで、スロットル弁40cが所定微小開度にあるときなど、スロットル弁40cよりも下流側の吸気通路において吸気行程での吸気弁開弁時前に滞留する吸気の量が比較的少ないとき、レゾネータ90内の空気を吸気として用いることができるので(図15の矢印参照)、タンブル流路64を介して燃焼室20に供給することができる吸気気の量を増やすことができる。したがって、タンブル流路64にレゾネータ90を連通させることで、タンブル流路64からの吸気の流動を高め、よって燃焼室20でのタンブル流を強化することができる。 As shown in FIG. 15, the resonator 90 may be provided so as to communicate with the tumble passage 64. In FIG. 15, the resonator 90 is connected to the first tumble passage 68 of the tumble passage 64 through a communication pipe 94 that defines a communication passage 92. However, the resonator 90 may be connected to the second tumble passage 70. By directly connecting the resonator 90 to the tumble passage 64 in this manner, when the amount of intake air remaining in the intake passage downstream of the throttle valve 40c before the intake valve opens during the intake stroke is relatively small, such as when the throttle valve 40c is at a predetermined small opening, the air in the resonator 90 can be used as intake air (see the arrow in FIG. 15), so that the amount of intake air that can be supplied to the combustion chamber 20 via the tumble passage 64 can be increased. Therefore, by connecting the resonator 90 to the tumble passage 64, the flow of the intake air from the tumble passage 64 can be increased, and the tumble flow in the combustion chamber 20 can be strengthened.

以上、本発明に係る実施形態及びその変形例について説明したが、本発明はそれらに限定されない。本願の請求の範囲によって定義される本発明の精神及び範囲から逸脱しない限り、種々の置換、変更が可能である。Although the embodiments and their modifications according to the present invention have been described above, the present invention is not limited thereto. Various substitutions and modifications are possible without departing from the spirit and scope of the present invention as defined by the claims of this application.

なお、上記実施形態の内燃機関の吸気構造では、第1タンブル流路の上側つまり第1方向側に第2タンブル流路を形成し、これらを含むタンブル流路の上側つまり第1方向側に主流路を設けた。しかし、前述のように、第1タンブル流路の下側に第2タンブル流路を形成し、これらを含むタンブル流路の下側に主流路を設けてもよい。ただし、このとき、スロットル40cは図1に相当する図面において、上下反転されて逆向きにされるとよい。なお、図1の上記吸気構造Sにおいて、スロットル弁40cの傾きを上下で逆にすることを、本開示は許容する。このときにも、図5、図10から図12に基づいて説明した上記作用効果を同様に生じさせることができる。In the intake structure of the internal combustion engine of the above embodiment, the second tumble passage is formed above the first tumble passage, i.e., on the first direction side, and the main passage is provided above the tumble passage including these, i.e., on the first direction side. However, as described above, the second tumble passage may be formed below the first tumble passage, and the main passage may be provided below the tumble passage including these. In this case, however, the throttle 40c may be inverted upside down and oriented in the opposite direction in the drawing corresponding to FIG. 1. In addition, the present disclosure allows the inclination of the throttle valve 40c to be reversed upside down in the intake structure S of FIG. 1. In this case, the above-mentioned action and effect described based on FIG. 5, FIG. 10 to FIG. 12 can be similarly produced.

10…内燃機関、12…シリンダブロック、14…シリンダヘッド、15…ピストン
20…燃焼室、28…吸気弁口、30…排気弁口、32…吸気ポート、34…排気ポート
38…吸気通路、40…スロットルボディ、40c…スロットル弁、46…吸気弁、50…排気弁
62…仕切部(主仕切部)、64…タンブル流路(第1吸気通路)
66…主流路(第2吸気通路)、68…第1タンブル流路(第3吸気通路)
70…第2タンブル流路(第4吸気通路)、72…仕切部(副仕切部)
76…タンブル弁(吸気制御弁)、86…合流部、90…レゾネータ
S…吸気構造、G1…第1の隙間部、G2…第2の隙間部
10... internal combustion engine, 12... cylinder block, 14... cylinder head, 15... piston
20... combustion chamber, 28... intake valve port, 30... exhaust valve port, 32... intake port, 34... exhaust port
38...intake passage, 40...throttle body, 40c...throttle valve, 46...intake valve, 50...exhaust valve
62: Partition portion (main partition portion), 64: Tumble flow passage (first intake passage)
66: main passage (second intake passage), 68: first tumble passage (third intake passage)
70: second tumble flow passage (fourth intake passage), 72: partition portion (sub-partition portion)
76: tumble valve (intake control valve), 86: junction portion, 90: resonator S: intake structure, G1: first gap portion, G2: second gap portion

Claims (11)

スロットル弁(40c)の下流側の吸気通路(38)を、タンブル流を発生させるためのタンブル流路となる第1吸気通路(64)と、該第1吸気通路の第1方向側に位置する第2吸気通路(66)とに仕切る主仕切部(62)と、
前記第1吸気通路(64)に第3吸気通路(68)と、該第3吸気通路の前記第1方向側に第4吸気通路(70)とを形成するように設けられる副仕切部(72)と、
前記第2吸気通路(66)を開閉可能である吸気制御弁(76)と
を備え、
前記スロットル弁(40c)の弁軸(40b)は前記第1方向及び前記吸気通路の吸気流れ方向に交差し、
前記副仕切部(72)の上流端(72a)は、前記吸気流れ方向において、前記主仕切部(62)の上流端よりも上流側に延び、
前記スロットル弁(40c)は、所定微小開度を含む複数の開度に開くことができるように構成されていて、
前記第2吸気通路(66)において前記主仕切部(62)の上流端(62a)と前記吸気制御弁(76)の設置位置との間に、吸気流れ方向において下流側に向けて断面積が小さくなる先細り部(66a)が設けられている
ことを特徴とする内燃機関(10)の吸気構造(S)。
a main partition section (62) that partitions an intake passage (38) downstream of a throttle valve (40c) into a first intake passage (64) that serves as a tumble flow passage for generating a tumble flow, and a second intake passage (66) located on a first direction side of the first intake passage;
a sub-partition portion (72) provided in the first intake passage (64) so as to form a third intake passage (68) and a fourth intake passage (70) on the first direction side of the third intake passage;
an intake control valve (76) capable of opening and closing the second intake passage (66),
a valve shaft (40b) of the throttle valve (40c) intersects the first direction and the intake air flow direction of the intake passage,
an upstream end (72a) of the sub-partition portion (72) extends upstream of the upstream end of the main partition portion (62) in the intake air flow direction;
The throttle valve (40c) is configured to be able to open to a plurality of opening degrees including a predetermined small opening degree,
An intake structure (S) for an internal combustion engine (10), characterized in that a tapered section (66a) whose cross-sectional area decreases toward the downstream side in the intake flow direction is provided in the second intake passage (66) between the upstream end (62a) of the main partition section (62) and the installation position of the intake control valve (76).
前記スロットル弁(40c)が前記所定微小開度に開いているとき、該スロットル弁(40c)の弁体(40d)と吸気通路壁面(38a)との間に第1の隙間部(G1)及び第2の隙間部(G2)が形成され、
前記第1の隙間部(G1)は、前記スロットル弁(40c)の前記弁軸(40b)を間に挟んで、前記第2の隙間部(G2)の反対側に位置する
ことを特徴とする請求項1に記載の内燃機関(10)の吸気構造(S)。
When the throttle valve (40c) is opened to the predetermined small opening degree, a first gap (G1) and a second gap (G2) are formed between a valve body (40d) of the throttle valve (40c) and an intake passage wall surface (38a),
The intake structure (S) of an internal combustion engine (10) as described in claim 1, characterized in that the first gap portion (G1) is located on the opposite side of the second gap portion (G2) with the valve shaft (40b) of the throttle valve (40c) sandwiched therebetween.
前記第1の隙間部(G1)及び前記第2の隙間部(G2)のそれぞれは前記主仕切部(62)の厚さ以下の隙間幅を有する
ことを特徴とする請求項2に記載の内燃機関(10)の吸気構造(S)。
The intake structure (S) of an internal combustion engine (10) according to claim 2, characterized in that each of the first gap portion (G1) and the second gap portion (G2) has a gap width equal to or less than the thickness of the main partition portion (62).
前記スロットル弁(40c)の前記弁軸(40b)は前記第1方向及び前記吸気通路の吸気流れ方向に直交する
ことを特徴とする請求項2又は請求項3に記載の内燃機関の吸気構造(S)。
4. The intake structure (S) for an internal combustion engine according to claim 2, wherein the valve shaft (40b) of the throttle valve (40c) is perpendicular to the first direction and the intake air flow direction of the intake passage.
前記第2吸気通路(66)の断面積と前記第4吸気通路(70)の断面積の和は、前記第3吸気通路(68)の断面積よりも大きい、
ことを特徴とする請求項1から請求項4のいずれか一項に記載の内燃機関(10)の吸気構造(S)。
The sum of the cross-sectional area of the second intake passage (66) and the cross-sectional area of the fourth intake passage (70) is greater than the cross-sectional area of the third intake passage (68).
An intake structure (S) for an internal combustion engine (10) according to any one of claims 1 to 4.
前記吸気制御弁(76)の設置位置における前記第2吸気通路(66)の断面は略円形である
ことを特徴とする請求項1から5のいずれか一項に記載の内燃機関(10)の吸気構造(S)。
6. The intake structure (S) of an internal combustion engine (10) according to claim 1, wherein a cross section of the second intake passage (66) at an installation position of the intake control valve (76) is substantially circular.
(削除)(delete) 前記第1吸気通路(64)にレゾネータ(90)が連通している
ことを特徴とする請求項1から6のいずれか一項に記載の内燃機関(10)の吸気構造(S)。
7. The intake structure (S) of an internal combustion engine (10) according to claim 1, wherein a resonator (90) is connected to the first intake passage (64).
前記第3吸気通路(68)と前記第4吸気通路(70)とが合流する合流部(86)であって、該合流部(86)を介して前記第1吸気通路(64)は前記第2吸気通路(66)に合流する、合流部(86)
を更に備える
ことを特徴とする請求項1から6、8のいずれか一項に記載の内燃機関(10)の吸気構造(S)。
a junction (86) where the third intake passage (68) and the fourth intake passage (70) join, and the first intake passage (64) joins the second intake passage (66) through the junction (86);
The intake structure (S) of an internal combustion engine (10) according to any one of claims 1 to 6 and 8, further comprising:
前記第3吸気通路(68)及び前記第4吸気通路(70)の断面積(S1、S2)の和よりも、前記合流部(86)の上流側端部(86u)よりも下流側の流れ方向に直交する断面での面積が小さくなるように、前記合流部(86)は区画形成されている
ことを特徴とする請求項9に記載の内燃機関(10)の吸気構造(S)。
The intake structure (S) of an internal combustion engine (10) as described in claim 9, characterized in that the junction (86) is partitioned so that the area of a cross section perpendicular to the flow direction downstream of the upstream end (86u) of the junction (86) is smaller than the sum of the cross-sectional areas (S1, S2) of the third intake passage (68) and the fourth intake passage (70).
前記第2吸気通路(66)からの吸気よりも、前記合流部(86)を介しての前記第1吸気通路(64)からの吸気が小さい進入角で燃焼室(20)に流入するように、前記合流部(86)は区画形成されている
ことを特徴とする請求項9又は請求項10に記載の内燃機関(10)の吸気構造(S)。
The intake structure (S) of an internal combustion engine (10) as described in claim 9 or claim 10, characterized in that the junction portion (86) is partitioned so that the intake air from the first intake passage (64) through the junction portion (86) flows into the combustion chamber (20) at a smaller approach angle than the intake air from the second intake passage (66).
JP2023550939A 2021-09-30 2021-09-30 Intake structure of an internal combustion engine Active JP7575615B2 (en)

Applications Claiming Priority (1)

Application Number Priority Date Filing Date Title
PCT/JP2021/036225 WO2023053378A1 (en) 2021-09-30 2021-09-30 Air intake structure for internal combustion engine

Publications (3)

Publication Number Publication Date
JPWO2023053378A1 JPWO2023053378A1 (en) 2023-04-06
JPWO2023053378A5 JPWO2023053378A5 (en) 2024-05-14
JP7575615B2 true JP7575615B2 (en) 2024-10-29

Family

ID=85781600

Family Applications (1)

Application Number Title Priority Date Filing Date
JP2023550939A Active JP7575615B2 (en) 2021-09-30 2021-09-30 Intake structure of an internal combustion engine

Country Status (2)

Country Link
JP (1) JP7575615B2 (en)
WO (1) WO2023053378A1 (en)

Citations (5)

* Cited by examiner, † Cited by third party
Publication number Priority date Publication date Assignee Title
JP2000291452A (en) 1999-04-08 2000-10-17 Aisan Ind Co Ltd Intake air amount controller of internal combustion engine
JP2006077760A (en) 2005-07-21 2006-03-23 Nissan Motor Co Ltd Intake method and intake structure of internal combustion engine
JP2011179427A (en) 2010-03-02 2011-09-15 Toyota Motor Corp Combustion control device of internal combustion engine
WO2017154782A1 (en) 2016-03-09 2017-09-14 本田技研工業株式会社 Internal combustion engine intake structure
JP2019023459A (en) 2017-07-05 2019-02-14 本田技研工業株式会社 Intake structure of internal combustion engine

Family Cites Families (1)

* Cited by examiner, † Cited by third party
Publication number Priority date Publication date Assignee Title
JPH09119317A (en) * 1995-10-27 1997-05-06 Nissan Motor Co Ltd Intake control device for internal combustion engine

Patent Citations (5)

* Cited by examiner, † Cited by third party
Publication number Priority date Publication date Assignee Title
JP2000291452A (en) 1999-04-08 2000-10-17 Aisan Ind Co Ltd Intake air amount controller of internal combustion engine
JP2006077760A (en) 2005-07-21 2006-03-23 Nissan Motor Co Ltd Intake method and intake structure of internal combustion engine
JP2011179427A (en) 2010-03-02 2011-09-15 Toyota Motor Corp Combustion control device of internal combustion engine
WO2017154782A1 (en) 2016-03-09 2017-09-14 本田技研工業株式会社 Internal combustion engine intake structure
JP2019023459A (en) 2017-07-05 2019-02-14 本田技研工業株式会社 Intake structure of internal combustion engine

Also Published As

Publication number Publication date
JPWO2023053378A1 (en) 2023-04-06
WO2023053378A1 (en) 2023-04-06

Similar Documents

Publication Publication Date Title
JP5925878B2 (en) Intake device for internal combustion engine
JP3494284B2 (en) Intake port structure of 4-stroke cycle internal combustion engine
JPS58187519A (en) Intake device of engine
JP7403708B2 (en) Internal combustion engine intake structure
JP7575615B2 (en) Intake structure of an internal combustion engine
JP4032906B2 (en) Multi-cylinder engine intake system
JP7606629B2 (en) Intake structure of an internal combustion engine
JP7600426B2 (en) Intake system for internal combustion engine
JP6748782B2 (en) Intake structure of internal combustion engine
JP7561079B2 (en) Intake structure of an internal combustion engine
JP4252670B2 (en) Engine intake passage structure
JP7600425B2 (en) Intake system for internal combustion engine
US8997713B2 (en) Throttle body configured to provide turbulent air flow to a combustion chamber of an engine, and engine including same
JPH0377379B2 (en)
JPS5830095Y2 (en) Internal combustion engine intake passage structure
JP7736941B2 (en) Intake structure of an internal combustion engine
JP3244908B2 (en) Engine intake control device
WO2023188249A1 (en) Air intake structure for internal combustion engine
WO2022176860A1 (en) Intake structure for internal combustion engine
JP3320775B2 (en) Engine intake control device
JP4950975B2 (en) Intake device for multi-cylinder internal combustion engine
EP3832084B1 (en) Internal combustion engine
JP3747586B2 (en) Intake control device for internal combustion engine
JP2024105739A (en) Intake system for internal combustion engine
JP3116840B2 (en) Intake control device for internal combustion engine

Legal Events

Date Code Title Description
A524 Written submission of copy of amendment under article 19 pct

Free format text: JAPANESE INTERMEDIATE CODE: A527

Effective date: 20240208

A621 Written request for application examination

Free format text: JAPANESE INTERMEDIATE CODE: A621

Effective date: 20240216

TRDD Decision of grant or rejection written
A01 Written decision to grant a patent or to grant a registration (utility model)

Free format text: JAPANESE INTERMEDIATE CODE: A01

Effective date: 20241015

A61 First payment of annual fees (during grant procedure)

Free format text: JAPANESE INTERMEDIATE CODE: A61

Effective date: 20241017

R150 Certificate of patent or registration of utility model

Ref document number: 7575615

Country of ref document: JP

Free format text: JAPANESE INTERMEDIATE CODE: R150