JP7553405B2 - 調理器の蓋開閉装置 - Google Patents
調理器の蓋開閉装置 Download PDFInfo
- Publication number
- JP7553405B2 JP7553405B2 JP2021085792A JP2021085792A JP7553405B2 JP 7553405 B2 JP7553405 B2 JP 7553405B2 JP 2021085792 A JP2021085792 A JP 2021085792A JP 2021085792 A JP2021085792 A JP 2021085792A JP 7553405 B2 JP7553405 B2 JP 7553405B2
- Authority
- JP
- Japan
- Prior art keywords
- receiving portion
- operation button
- pressing
- receiving
- hook member
- Prior art date
- Legal status (The legal status is an assumption and is not a legal conclusion. Google has not performed a legal analysis and makes no representation as to the accuracy of the status listed.)
- Active
Links
- 238000010411 cooking Methods 0.000 title claims description 17
- 239000011347 resin Substances 0.000 claims description 7
- 229920005989 resin Polymers 0.000 claims description 7
- 230000005540 biological transmission Effects 0.000 description 21
- 238000010438 heat treatment Methods 0.000 description 11
- 210000000078 claw Anatomy 0.000 description 4
- 241000209094 Oryza Species 0.000 description 3
- 235000007164 Oryza sativa Nutrition 0.000 description 3
- 235000009566 rice Nutrition 0.000 description 3
- 230000008602 contraction Effects 0.000 description 2
- 230000005611 electricity Effects 0.000 description 2
- 238000004519 manufacturing process Methods 0.000 description 2
- 230000001154 acute effect Effects 0.000 description 1
- 230000002542 deteriorative effect Effects 0.000 description 1
- 239000004973 liquid crystal related substance Substances 0.000 description 1
- 239000002184 metal Substances 0.000 description 1
- 238000012986 modification Methods 0.000 description 1
- 230000004048 modification Effects 0.000 description 1
- 230000000149 penetrating effect Effects 0.000 description 1
- 238000002834 transmittance Methods 0.000 description 1
Images
Landscapes
- Cookers (AREA)
Description
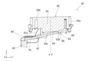
15 鍋
20 本体
21 胴体
22 底体
23 肩体
23a 開口部
23b ヒンジ受部
24 収容部
25 加熱部
26 温度センサ
30 蓋体
31 蓋本体
32 蓋カバー
32a 露出孔
33 ヒンジ軸
34 内蓋
34a 蒸気孔
35 ダクト部材
36 蒸気口部材
37 表示部
38 入力部
40 蓋開閉装置
42 軸受部
43 貫通孔
45 取付孔
45a 突片
45b ガイド筒
46 係止穴
50 操作ボタン
50a 筒部
50b 端壁部
50c フランジ部
50d ストッパ部
50e ガイド凸部
51 押圧部(第1押圧部)
51a 主部(第1主部)
51b 傾斜部(第1傾斜部)
52 押圧部(第2押圧部)
52a 主部(第2主部)
52b 傾斜部(第2傾斜部)
53 押圧部(第3押圧部)
53a 端板部
53b 側板部
53c 傾斜部(第3傾斜部)
54 押圧部(第4押圧部)
56 コイルスプリング
60 フック部材
61 フックベース
61a 軸部
62 係止片
62a 腕部
62b 係止爪部
63 操作受部
64 基部
65 受部(第1受部)
66 受部(第2受部)
67 受部(第3受部)
67a 傾斜部
69 付勢バネ
70 カバー部材
Ra 回転軸
BL 第1基準線
A 取付孔の軸線(第2基準線)
B 操作ボタンの軸線
S1 第1の受部と傾斜部の間の最小部分の隙間
S2 第2の受部と傾斜部の間の最小部分の隙間
S3 第4の押圧部と基部の間の隙間
X 幅方向(第2方向)
Y 前後方向(第3方向)
Z 高さ方向(第1方向)
Claims (8)
- 本体及び前記本体に開閉可能に取り付けられた蓋体のうちの一方の部材に、第1方向へ直動可能に取り付けられる操作ボタンと、
前記操作ボタンに対して前記第1方向上に位置するように前記一方の部材内に配置された操作受部を有し、前記操作ボタンによる前記操作受部の押圧によって、前記第1方向と交差する第2方向に延びる回転軸まわりに係止位置から係止解除位置へ回動するフック部材と
を備え、
前記操作受部は、
前記第2方向、及び前記第1方向と前記第2方向の双方に対して交差する第3方向に沿って延びる板状の第1受部と、
前記第1受部に対して前記第2方向の両側に隣接して設けられ、前記第3方向に延びる第1基準線に対する傾斜角度が、前記第1基準線に対する前記第1受部の傾斜角度と異なる一対の第2受部と
を備え、
前記操作ボタンは、
前記第1受部を押圧可能な第1傾斜部を有し、前記第1方向及び前記第3方向に沿って延びる板状の第1押圧部と、
前記第2受部を押圧可能な第2傾斜部を有し、前記第1押圧部に対して前記第2方向の両側に間隔をあけて設けられた板状で一対の第2押圧部と
を備える、
調理器の蓋開閉装置。 - 前記第1受部と前記第1傾斜部の間の最小部分の隙間は、前記第2受部と前記第2傾斜部の間の最小部分の隙間以下である、請求項1に記載の調理器の蓋開閉装置。
- 前記第1受部は、前記第3方向の一方側から他方側に向けて、前記操作ボタンに次第に近づくように傾斜するとともに、前記第2受部は、前記第3方向の前記一方側から前記他方側に向けて、前記操作ボタンから次第に離れるように傾斜しており、
前記第1傾斜部は、前記第1受部に沿って傾斜するとともに、前記第2傾斜部は、前記第2受部に沿って傾斜している、
請求項1又は2に記載の調理器の蓋開閉装置。 - 前記フック部材が前記係止位置にあるとき、前記第1基準線に対する前記第1受部の傾斜角度は、前記第1基準線に対する前記第1傾斜部の傾斜角度よりも小さく、前記第1基準線に対する前記第2受部の傾斜角度は、前記第1基準線に対する前記第2傾斜部の傾斜角度よりも小さい、請求項3に記載の調理器の蓋開閉装置。
- 前記操作受部は、前記第1受部及び前記第2受部に対して前記第3方向の一方側に連なる基部を備え、
前記フック部材が前記係止解除位置にあるとき、前記第1押圧部は前記操作受部の前記基部を押圧可能な第1主部を有し、前記第2押圧部は前記操作受部の前記基部を押圧可能な第2主部を有する、
請求項1から4のいずれか1項に記載の調理器の蓋開閉装置。 - 前記操作受部は、前記基部の前記第1受部とは反対側に設けられ、前記操作ボタンに向けて突出する第3受部を備え、
前記操作ボタンは、前記操作受部に向けて突出し、前記第3受部を押圧可能な第3押圧部を備え、
前記第3受部と前記第3押圧部はそれぞれ、前記第3方向の一方側から他方側に向けて前記基部から次第に離れるように傾斜した傾斜部を含む、
請求項5に記載の調理器の蓋開閉装置。 - 前記操作ボタンは、前記一対の第2押圧部の前記第1押圧部とは反対側にそれぞれ、第1方向及び前記第2方向に沿って延び、前記第1方向に延びる第2基準線に対して前記第2方向へ前記操作ボタンが傾いたときに、前記基部を押圧可能な板状で一対の第4押圧部を有し、
前記フック部材が前記係止位置にあるとき、前記第4押圧部と前記基部の間の隙間は、前記第1主部と前記基部の間の隙間、及び前記第2主部と前記基部の間の隙間のいずれよりも大きい、
請求項5又は6に記載の調理器の蓋開閉装置。 - 前記操作ボタンは、前記第1方向から見て円形状であり、厚みが0.5mm以上4.0mm以下の樹脂成形品である、請求項1から7のいずれか1項に記載の調理器の蓋開閉装置。
Priority Applications (1)
| Application Number | Priority Date | Filing Date | Title |
|---|---|---|---|
| JP2021085792A JP7553405B2 (ja) | 2021-05-21 | 2021-05-21 | 調理器の蓋開閉装置 |
Applications Claiming Priority (1)
| Application Number | Priority Date | Filing Date | Title |
|---|---|---|---|
| JP2021085792A JP7553405B2 (ja) | 2021-05-21 | 2021-05-21 | 調理器の蓋開閉装置 |
Publications (2)
| Publication Number | Publication Date |
|---|---|
| JP2022178765A JP2022178765A (ja) | 2022-12-02 |
| JP7553405B2 true JP7553405B2 (ja) | 2024-09-18 |
Family
ID=84239236
Family Applications (1)
| Application Number | Title | Priority Date | Filing Date |
|---|---|---|---|
| JP2021085792A Active JP7553405B2 (ja) | 2021-05-21 | 2021-05-21 | 調理器の蓋開閉装置 |
Country Status (1)
| Country | Link |
|---|---|
| JP (1) | JP7553405B2 (ja) |
Citations (2)
| Publication number | Priority date | Publication date | Assignee | Title |
|---|---|---|---|---|
| US20020038804A1 (en) | 2000-06-26 | 2002-04-04 | Thierry Gourand | Cover locking device |
| JP2020192075A (ja) | 2019-05-28 | 2020-12-03 | タイガー魔法瓶株式会社 | 開閉機構 |
Family Cites Families (1)
| Publication number | Priority date | Publication date | Assignee | Title |
|---|---|---|---|---|
| JP6812084B2 (ja) * | 2018-07-31 | 2021-01-13 | 象印マホービン株式会社 | 調理器 |
-
2021
- 2021-05-21 JP JP2021085792A patent/JP7553405B2/ja active Active
Patent Citations (2)
| Publication number | Priority date | Publication date | Assignee | Title |
|---|---|---|---|---|
| US20020038804A1 (en) | 2000-06-26 | 2002-04-04 | Thierry Gourand | Cover locking device |
| JP2020192075A (ja) | 2019-05-28 | 2020-12-03 | タイガー魔法瓶株式会社 | 開閉機構 |
Also Published As
| Publication number | Publication date |
|---|---|
| JP2022178765A (ja) | 2022-12-02 |
Similar Documents
| Publication | Publication Date | Title |
|---|---|---|
| EP1862741B1 (en) | Door assembly for a cooking apparatus | |
| EP1403586B1 (en) | Water supply tank unit attached to a heating apparatus | |
| JP7553405B2 (ja) | 調理器の蓋開閉装置 | |
| JP2001244064A (ja) | 電子レンジ | |
| JP3842026B2 (ja) | ビルトインコンロ | |
| KR100399139B1 (ko) | 전자렌지 | |
| CN115918258A (zh) | 烹饪器具 | |
| JP4948308B2 (ja) | 組込式加熱調理器 | |
| JP6067546B2 (ja) | 調理器 | |
| JP2025025989A (ja) | 圧力調理器 | |
| JP5073237B2 (ja) | 加熱調理器 | |
| EP4009343B1 (en) | Switch element, household appliance unit with switch element, and household appliance | |
| TWI905439B (zh) | 加熱炊具 | |
| JP2020018417A (ja) | 調理器 | |
| JP7488461B2 (ja) | 圧力式調理器 | |
| JP3782806B2 (ja) | 炊飯器 | |
| JP6489975B2 (ja) | 要素部材の取付構造 | |
| JP6649225B2 (ja) | 加熱調理器 | |
| JP7677870B2 (ja) | レバー補助具、加熱調理装置、及び、レバー | |
| US20250264223A1 (en) | Door latch for an appliance | |
| JP2020192063A (ja) | 容器体 | |
| KR20250107664A (ko) | 조리기기 | |
| JP2001340212A (ja) | 炊飯ジャーの蓋 | |
| JP4383243B2 (ja) | ガス調理器における点火操作機構 | |
| KR20250032993A (ko) | 착탈식 핸들 부착 조리기 |
Legal Events
| Date | Code | Title | Description |
|---|---|---|---|
| A621 | Written request for application examination |
Free format text: JAPANESE INTERMEDIATE CODE: A621 Effective date: 20240201 |
|
| TRDD | Decision of grant or rejection written | ||
| A977 | Report on retrieval |
Free format text: JAPANESE INTERMEDIATE CODE: A971007 Effective date: 20240826 |
|
| A01 | Written decision to grant a patent or to grant a registration (utility model) |
Free format text: JAPANESE INTERMEDIATE CODE: A01 Effective date: 20240827 |
|
| A61 | First payment of annual fees (during grant procedure) |
Free format text: JAPANESE INTERMEDIATE CODE: A61 Effective date: 20240905 |
|
| R150 | Certificate of patent or registration of utility model |
Ref document number: 7553405 Country of ref document: JP Free format text: JAPANESE INTERMEDIATE CODE: R150 |
