JP7463557B2 - べーパーチャンバ要素 - Google Patents

べーパーチャンバ要素 Download PDF

Info

Publication number
JP7463557B2
JP7463557B2 JP2022568676A JP2022568676A JP7463557B2 JP 7463557 B2 JP7463557 B2 JP 7463557B2 JP 2022568676 A JP2022568676 A JP 2022568676A JP 2022568676 A JP2022568676 A JP 2022568676A JP 7463557 B2 JP7463557 B2 JP 7463557B2
Authority
JP
Japan
Prior art keywords
vapor chamber
chamber element
bending
plate
bent
Prior art date
Legal status (The legal status is an assumption and is not a legal conclusion. Google has not performed a legal analysis and makes no representation as to the accuracy of the status listed.)
Active
Application number
JP2022568676A
Other languages
English (en)
Other versions
JP2023526028A (ja
Inventor
ジェネヴィエーヴ テレーズ マーティン
ジャン ホン ユー
デレク ティーキンク
Current Assignee (The listed assignees may be inaccurate. Google has not performed a legal analysis and makes no representation or warranty as to the accuracy of the list.)
Signify Holding BV
Original Assignee
Signify Holding BV
Priority date (The priority date is an assumption and is not a legal conclusion. Google has not performed a legal analysis and makes no representation as to the accuracy of the date listed.)
Filing date
Publication date
Application filed by Signify Holding BV filed Critical Signify Holding BV
Publication of JP2023526028A publication Critical patent/JP2023526028A/ja
Application granted granted Critical
Publication of JP7463557B2 publication Critical patent/JP7463557B2/ja
Active legal-status Critical Current
Anticipated expiration legal-status Critical

Links

Images

Classifications

    • FMECHANICAL ENGINEERING; LIGHTING; HEATING; WEAPONS; BLASTING
    • F21LIGHTING
    • F21VFUNCTIONAL FEATURES OR DETAILS OF LIGHTING DEVICES OR SYSTEMS THEREOF; STRUCTURAL COMBINATIONS OF LIGHTING DEVICES WITH OTHER ARTICLES, NOT OTHERWISE PROVIDED FOR
    • F21V29/00Protecting lighting devices from thermal damage; Cooling or heating arrangements specially adapted for lighting devices or systems
    • F21V29/50Cooling arrangements
    • F21V29/51Cooling arrangements using condensation or evaporation of a fluid, e.g. heat pipes
    • FMECHANICAL ENGINEERING; LIGHTING; HEATING; WEAPONS; BLASTING
    • F28HEAT EXCHANGE IN GENERAL
    • F28DHEAT-EXCHANGE APPARATUS, NOT PROVIDED FOR IN ANOTHER SUBCLASS, IN WHICH THE HEAT-EXCHANGE MEDIA DO NOT COME INTO DIRECT CONTACT
    • F28D15/00Heat-exchange apparatus with the intermediate heat-transfer medium in closed tubes passing into or through the conduit walls ; Heat-exchange apparatus employing intermediate heat-transfer medium or bodies
    • F28D15/02Heat-exchange apparatus with the intermediate heat-transfer medium in closed tubes passing into or through the conduit walls ; Heat-exchange apparatus employing intermediate heat-transfer medium or bodies in which the medium condenses and evaporates, e.g. heat pipes
    • FMECHANICAL ENGINEERING; LIGHTING; HEATING; WEAPONS; BLASTING
    • F21LIGHTING
    • F21VFUNCTIONAL FEATURES OR DETAILS OF LIGHTING DEVICES OR SYSTEMS THEREOF; STRUCTURAL COMBINATIONS OF LIGHTING DEVICES WITH OTHER ARTICLES, NOT OTHERWISE PROVIDED FOR
    • F21V29/00Protecting lighting devices from thermal damage; Cooling or heating arrangements specially adapted for lighting devices or systems
    • F21V29/50Cooling arrangements
    • F21V29/502Cooling arrangements characterised by the adaptation for cooling of specific components
    • F21V29/503Cooling arrangements characterised by the adaptation for cooling of specific components of light sources
    • FMECHANICAL ENGINEERING; LIGHTING; HEATING; WEAPONS; BLASTING
    • F21LIGHTING
    • F21VFUNCTIONAL FEATURES OR DETAILS OF LIGHTING DEVICES OR SYSTEMS THEREOF; STRUCTURAL COMBINATIONS OF LIGHTING DEVICES WITH OTHER ARTICLES, NOT OTHERWISE PROVIDED FOR
    • F21V29/00Protecting lighting devices from thermal damage; Cooling or heating arrangements specially adapted for lighting devices or systems
    • F21V29/50Cooling arrangements
    • F21V29/502Cooling arrangements characterised by the adaptation for cooling of specific components
    • F21V29/508Cooling arrangements characterised by the adaptation for cooling of specific components of electrical circuits
    • FMECHANICAL ENGINEERING; LIGHTING; HEATING; WEAPONS; BLASTING
    • F21LIGHTING
    • F21YINDEXING SCHEME ASSOCIATED WITH SUBCLASSES F21K, F21L, F21S and F21V, RELATING TO THE FORM OR THE KIND OF THE LIGHT SOURCES OR OF THE COLOUR OF THE LIGHT EMITTED
    • F21Y2115/00Light-generating elements of semiconductor light sources
    • F21Y2115/10Light-emitting diodes [LED]

Landscapes

  • Engineering & Computer Science (AREA)
  • General Engineering & Computer Science (AREA)
  • Life Sciences & Earth Sciences (AREA)
  • Sustainable Development (AREA)
  • Physics & Mathematics (AREA)
  • Thermal Sciences (AREA)
  • Mechanical Engineering (AREA)
  • Cooling Or The Like Of Semiconductors Or Solid State Devices (AREA)
  • Electroluminescent Light Sources (AREA)

Description

本発明は、べーパーチャンバ要素(vapor chamber element)に関する。本発明は、更に、曲がった(bent)べーパーチャンバ要素を供給するための方法に関する。本発明は、更に、曲がったべーパーチャンバ要素に関する。本発明は、更に、前記曲がったべーパーチャンバ要素を有するデバイスに関する。
べーパーチャンバは、当技術分野においては知られている。例えば、US2010226138A1は、ランプガードと、ランプガードの底部に取り付けられるLEDユニットと、ランプガードに取り付けられ、基部(base)、べーパーチャンバ、及びLEDユニットに取り付けられる2つの放熱要素を有する放熱デバイスとを含む道路灯ホルダ構造を記載している。べーパーチャンバは、基部に取り付けられる加熱セクションと、加熱セクションの両側からそれぞれ上方に曲げられ、延ばされる2つの伝熱セクションと、2つの伝熱セクションの各々から横方向に曲げられ、延ばされる凝縮セクションと、加熱基部を有する2つの放熱要素と、加熱基部に配置される放熱フィンとを含む。2つの加熱基部は、それぞれ、べーパーチャンバの2つの伝熱セクションの外側に取り付けられ、べーパーチャンバの2つの凝縮セクションは、ランプガードの上部の内周に取り付けられる。
例えばLED照明との関連においては、電子部品のコンパクト化が、ますます重要になってきている可能性がある。小型化の要求により、次世代の電子部品に対しては新しい技術及びソリューションが求められる可能性がある。
従来技術は、ハウジング内の、ドライバなどの電子部品であって、ハウジング内のそれ以外の空きスペースは熱界面材料(thermal interface material)で埋められる電子部品について述べている場合がある。しかしながら、ポリマ系複合材料及び黒鉛型熱界面材料などの熱界面材料は、一般に、400W/mKの最大熱伝導率を有する場合がある。
15000乃至27000W/mKの範囲内の熱伝導率を持つべーパーチャンバは可能である可能性があるように思われる。しかしながら、べーパーチャンバは、デバイスの小型化には容易には適さない可能性がある。とりわけ、べーパーチャンバは、最大熱交換が達成され得る平面構成、又は例えば10mmなどの曲げ半径を持つ曲がった構成のいずれかに制限される可能性があり、このことは、デバイスの小型化を妨げる可能性がある。とりわけ、従来技術のべーパーチャンバは、デバイスの小型化に適したより小さい曲げ半径で曲げられる場合、潰れる(collapse)可能性がある。
従って、代替べーパーチャンバを提供することが、本発明の或る態様であり、前記代替べーパーチャンバは、好ましくは、更に、上記の不利な点のうちの1つ以上を少なくとも部分的に取り除く。本発明は、従来技術の不利な点のうちの少なくとも1つを解消若しくは改善すること、又は有用な代替手段を提供することを目的とし得る。
従って、本発明は、第1態様においては、べーパーチャンバ要素を提供する。前記べーパーチャンバ要素は、間に(「べーパーチャンバ」とも呼ばれる)チャンバを備える第1プレート及び第2プレートを有してもよく、特に、前記チャンバは、(前記第1プレートと前記第2プレートとの間に)第1高さ(H1)を有する。前記べーパーチャンバ要素は、(前記第1プレートと前記第2プレートとの間の)前記第1高さ(H1)の少なくとも一部に架橋する架橋要素(bridging element)を更に有してもよい。実施形態においては、前記べーパーチャンバ要素は、第1軸(A)に沿って構成される複数のセクションを有してもよい。前記複数のセクションは、特に、(i)第1体積分率Vの架橋要素を有する曲げセクション、及び/又は(ii)第2体積分率Vの架橋要素を有する基本セクション、特に、少なくとも2つの基本セクションを有してもよい。特定の実施形態においては、2≦V/Vである。更なる実施形態においては、前記曲げセクションは、少なくとも2つの基本セクションの間に構成されてもよい。
本発明の(「VC」とも呼ばれる)べーパーチャンバは、小さな曲げ半径を持つべーパーチャンバが得られ得るという利点を提供し得る。とりわけ、前記曲げセクションは、相対的に頑丈である可能性があり、このことは、前記べーパーチャンバを曲げること、特に相対的に小さい曲げ半径で曲げることを容易にし得る。特に、前記架橋要素の局所的な密度の増大が、曲げる際の前記チャンバの潰れを防止し得る。とりわけ、従来技術のべーパーチャンバは、小さい半径で曲げられている間に潰れる可能性がある。本発明のべーパーチャンバは、前記べーパーチャンバ内の異なるセクションにより潰れを防止するよう構成されることができ、(曲げるための)前記曲げセクションは、局所的に増大された密度の架橋要素を有することによって、更なる構造的支持を有する。
本発明は、特定の実施形態においては、べーパーチャンバ要素であって、前記べーパーチャンバ要素が、間にチャンバを備える第1プレート及び第2プレートを有し、前記チャンバが、第1高さ(H1)を有し、前記べーパーチャンバ要素が、前記第1高さ(H1)の少なくとも一部に架橋する架橋要素を更に有し、前記べーパーチャンバ要素が、第1軸(A)に沿って構成される複数のセクションを有し、前記複数のセクションが、(i)第1体積分率Vの架橋要素を有する曲げセクションと、(ii)第2体積分率Vの架橋要素を有する基本セクションとを有し、2≦V/Vであるべーパーチャンバ要素を提供し得る。
従って、本発明は、べーパーチャンバ要素を提供し得る。べーパーチャンバは、当技術分野においては知られており、(同様に当技術分野においては知られている)ヒートパイプと本質的に同じ原理に基づき得る。どちらのシステムも、「二相(two-phase)デバイス」として知られている。どちらの二相デバイスも、筐体 (管又は平面形状) の内壁に適用されるウィック(wick)構造 (焼結粉末、網目スクリーン、及び/又は溝) を含み得る。前記デバイスには、(例えば、銅製デバイスの場合)水又は(例えば、アルミニウム製デバイスの場合)アセトンなどの液体が加えられる場合があり、前記デバイスは、真空封止(vacuum seal)される場合がある。前記ウィックは、前記液体を前記デバイス全体にわたって分散させ得る。しかしながら、前記二相デバイスの或る領域に熱が加えられる場合、液体は、蒸気に変わり、より低い圧力の領域に移動し、前記より低い圧力の領域において、前記蒸気は、冷え、液体の形態に戻り、そうすると、前記液体は、(前記ウィックによる)毛細管作用によって熱源に戻る。一般的なウィック構造は、焼結ウィックタイプであり得る。なぜなら、焼結ウィックタイプは、電力処理能力及び重力に逆らう能力の点で高度な汎用性を提供するからである。網目スクリーンウィックは、ヒートパイプ又はべーパーチャンバを焼結ウィックと比較して薄くすることを可能にし得る。また、溝付きウィックが適用され得る。溝は、蒸発及び凝縮に役立つ内部フィン構造の役割を果たし得る。前記ヒートパイプと前記べーパーチャンバとの間の違いは、前記ヒートパイプは、本質的にロッド状の形状を有し得るのに対して、前記べーパーチャンバは、一般に、(最大5mmのような)短い相対距離にある2つの本質的に平面のプレートを含み得ることであり得る。更に、前記ベーパーチャンバの場合、ホットスポットは相対的に自由に選ばれ得るのに対して、ヒートパイプの場合、高温側と低温側とがある。
実施形態においては、前記べーパーチャンバ要素は、特に間にチャンバを備える、第1プレート及び第2プレートを有してもよい。前記第1プレート及び前記第2プレートは、特に平行に配設され得る。
前記第1プレート及び前記第2プレートの材料は、銅、ステンレス鋼、アルミニウム及びチタンから成るグループから選択され得る。従って、実施形態においては、前記第1プレートは、銅、ステンレス鋼、アルミニウム及びチタンを含むグループから選択される材料を有し得る。更なる実施形態においては、前記第2プレートは、銅、ステンレス鋼、アルミニウム及びチタンを含むグループから選択される材料を有し得る。特に、両方のプレートが、同じ材料から成ってもよい。特定の実施形態においては、合金などの材料の組み合わせも適用され得る。
とりわけ、実施形態においては、前記第1プレートのかなりの部分及び前記第2プレートのかなりの部分にわたって、前記プレートは平行に構成され得る。例えば、前記第1プレートの面積の少なくとも90%のような、少なくとも80%などの、少なくとも50%にわたって、及び前記第2プレートの面積の少なくとも90%のような、少なくとも80%などの、少なくとも50%にわたって、前記プレートは平行に構成され得る。従って、前記第1プレートのかなりの部分及び前記第2プレートのかなりの部分にわたって、前記「第1高さ」、即ち、前記プレート間の距離は、本質的に変化しない場合がある。前記第1プレート及び前記第2プレートは、特に、角丸矩形のような、(同じ)矩形に近似し得る。
更なる実施形態においては、前記第1プレート及び前記第2プレートは、単一のプレートから成形され得る。とりわけ、単一のプレートが、特に距離H1で分離される、前記第1プレート及び前記第2プレートを供給するよう、曲げられていてもよい。
更なる実施形態においては、前記第1プレート及び前記第2プレートは、2つの別々のプレートであってもよい。とりわけ、前記第1プレート及び前記第2プレートは、閉じたチャンバを供給するよう、それらの縁端部において溶接されてもよい。更なる実施形態においては、前記べーパーチャンバ要素は、(「トッププレート(top plat)」とも呼ばれる)前記第1プレートと、(「ボトムプレート(bottom plate)」とも呼ばれる)前記第2プレートとに架橋する複数のサイドプレート(side plate)を更に有してもよく、前記チャンバは、前記第1プレートと、前記第2プレートと、前記複数のサイドプレートとの間に配設される。前記べーパーチャンバ要素、特に前記プレートによって画定される前記チャンバは、丸みを帯びた(入)隅を備える直方体のような、直方体、特にバーに近い形状を有し得る。
実施形態においては、前記チャンバは、第1高さ(H1)、特に前記第1プレートと前記第2プレートとの間の平均距離を有してもよい。とりわけ、前記第1プレート及び前記第2プレートは、本質的に平行に配設され得るので、前記第1高さH1は、前記チャンバ全体にわたって本質的に一定であり得る。特定の実施形態においては、前記第1高さ(H1)は、50μm乃至5mmの範囲から選択され得る。実施形態においては、前記第1高さは、最大で1mmであり得る。 前記第1高さは、0.4mm以下、例えば、少なくとも250μmなどの、200乃至400μmのような、100乃至400μmの範囲内であってもよい。
実施形態においては、前記べーパーチャンバ要素は、前記第1高さ(H1)の少なくとも一部に架橋する架橋要素を更に有する。前記架橋要素は、前記べーパーチャンバ要素、特に前記チャンバを支え得る。とりわけ、実施形態においては、前記架橋要素は、前記第1プレートと前記第2プレートとを接続してもよく、それによって、前記べーパーチャンバ要素の安定性(又は「剛性」)を向上させる。実施形態においては、前記架橋要素は、特に(支持)柱(column)を有してもよい。実施形態においては、前記柱は、巨大(massive)である。更に他の実施形態においては、前記柱は、中空であってもよい。
前記べーパーチャンバ要素は、特に、第1軸(A)に沿って構成される複数のセクションを有してもよい。とりわけ、前記チャンバが、前記第1軸(A)に沿って複数のセクションに区切られ得る。前記セクションは、特に、非重複であり得る。前記セクションは、特に、前記第1軸(A)に垂直な複数の平面によって(本質的に)画定されてもよく、各セクションは、前記平面の間にチャンバの一部を有し、即ち、一般に、前記複数のセクションは、単一の次元に沿って配設される。従って、実施形態においては、前記チャンバは、少なくとも2つのセクション、更により特には、少なくとも2つのセクション(であって、前記少なくとも2つのセクションのうちの少なくとも1つが曲げセクションである少なくとも2つのセクション;下記も参照)によって画定され得る。
各セクションは、容積を有し得る。前記セクションの総容積は、前記べーパーチャンバの容積です。前記セクションは、ウィック構造、架橋要素を囲んでもよく、冷却剤(液体及び/又は気体)の少なくとも一部を受け入れ得ることに留意されたい(下記も参照)。
前記複数セクションは、曲げセクションを含み得る。前記曲げセクションは、特に、曲げるために構成されることができ、即ち、前記べーパーチャンバ要素は、前記曲げセクションにおいて曲げられるよう構成され得る。従って、前記セクションのうちの少なくとも1つは、曲げセクションである。
曲げセクションは、前記ベーパーチャンバ要素の、前記ベーパーチャンバ要素が曲げられことができる又は曲げられている部分である。
とりわけ、前記曲げセクションは、第1体積分率Vの架橋要素を有し得る。「体積分率の架橋要素」という語句は、本明細書においては、特に、前記チャンバの一部である前記セクションの、架橋要素を有する割合を指すことがある。とりわけ、各セクションは、架橋要素、ウィック構造、及び空き空間(open space)に分けられることができ、前記空き空間は、動作中、特に、液体及び/又は気体を含み得る。
前記複数のセクションは、(各々が)第2体積分率Vの架橋要素を有する基本セクション、特に、少なくとも2つの基本セクションを更に含み得る。
とりわけ、実施形態においては、2≦V/Vなどの、1.5≦V/Vであり、特に、5≦V/Vなどの、3≦V/Vである。特定の実施形態においては、前記基本セクションは、V=0の第2体積分率を有してもよい。従って、V/Vはゼロであってもよい。しかしながら、一般に、前記基本セクションは、ゼロでない体積分率Vを有し得る。従って、更なる実施形態においては、V/V≦20などの、V/V≦50であり、特に、V/V≦5などの、V/V≦10である。従って、前記曲げセクションは、前記基本セクションよりも実質的に高い体積分率の架橋要素を有し得る。
各曲げセクションは、n1個の架橋要素を囲み得る。更に、各基本セクションは、n2個のブリッジ要素を含み得る。特に、n1≧10且つn2≧10である。
実施形態においては、前記曲げセクションは、特に、2つの基本セクションの間に構成され得る。
前記チャンバは、前記第1プレートと前記第2プレートとの間の(平均)距離によって画定されるような(第1)高さを有し得る。前記チャンバは、前記(第1)高さ(H1)に垂直な(第1)長さ(L1)及び(第1)幅(W1)を有し得る。従って、実施形態においては、各セクションは(また)、前記(第1)幅(W1)を有し得る。
前記べーパーチャンバ要素は、前記第1長さ(L1)を画定する第1チャンバ端部及び第2チャンバ端部を含み得る。一般に、前記チャンバは、前記高さよりかなり大きい長さ及び幅を有する。更に、一般に、前記チャンバは、本質的に矩形である断面を有する。前記べーパーチャンバ要素、特に前記チャンバは、伸長軸を有し得る。前記伸長軸は、特に、軸であって、前記軸に沿って前記べーパーチャンバの前記長さが画定され得る軸であり得る。従って、前記べーパーチャンバ要素は、特に前記第1軸(A)が(前記べーパーチャンバ要素の)長手方向軸である、長手方向軸を持つ細長い形状を有し得る。
更に、一般に、前記高さは、前記チャンバの前記長さ及び/又は前記幅よりもはるかに小さい可能性がある。従って、特定の実施形態においては、前記第1長さ(L1)と前記第1高さ(H1)とが、L1/H1≧20などの、L1/H1≧10の範囲から選択される比率、10乃至10,000の範囲から選択されるような比率を有し得る。その代わりに、又は加えて、特定の実施形態においては、前記第1幅(W1)と前記第1高さ(H1)とが、W1/H1≧20などの、W1/H1≧10の範囲から選択される比率、10乃至10,000の範囲から選択されるような比率を有し得る。更なる実施形態においては、前記第1軸(A)は、前記べーパーチャンバ要素の長さを画定する第1長さ(L1)を有し、前記べーパーチャンバ要素は、(前記第1軸(A)に垂直な)第1幅(W1)を有し、0.2≦L1/W1≦5である。
実施形態においては、前記第1長さL1は、例えば、4乃至15cm、例えば5乃至12cmの範囲内などの、2乃至20cmの範囲から選択されるような、2乃至40cmなどの、1乃至50cmの範囲から選択され得る。同様に、このことは前記第1幅に当てはまり得る。一般に、実施形態においては、前記第1幅は、前記第1長さより小さい可能性がある。
前記チャンバの容積は、少なくとも約1mm、更により特に少なくとも約1cmであり得る。実施形態においては、前記チャンバの容積は、最大で約25cm、更により特に最大で約10cmであり得る。
実施形態においては、前記第1プレート及び前記第2プレートは、(それぞれ)特に300乃至2000μmのような、100乃至2000μmなどの、50乃至5000μmの範囲から独立して選択される第1厚さ(d)及び第2厚さ(d)を有してもよい。「独立して選択される」という語句及び同様の語句は、関連する要素に対して同じ値のパラメータが選ばれる実施形態を指すことがあり、即ち、これらの実施形態においては、両方のプレートが同じ厚さを有することがあるが、関連する要素に対して異なる値のパラメータが選ばれる実施形態を指すこともあり、即ち、これらの実施形態においては、両方のプレートが、示されている範囲から選択される厚さを有し得るが、それらは異なる厚さを有し得る。更に、実施形態においては、前記第1厚さ及び前記第2厚さは、前記第1プレート及び/又は前記第2プレートにわたって変化する場合もある。
前記第1プレート及び前記第2プレートの厚さ、並びに前記プレート間の空間は、本質的に前記べーパーチャンバ要素の厚さを画定し得る。従って、実施形態においては、前記べーパーチャンバ要素は、d=d+d+H1である、要素厚さdを有し得る。
実施形態においては、前記第1体積分率Vは、0.05乃至0.5の範囲から、特に、0.15乃至0.3の範囲からなどの、0.1乃至0.4の範囲から選択され得る。
一般に、前記架橋要素を有する体積分率が高ければ高いほど、(対応する)セクションは強くなり得る。しかしながら、架橋要素を有する体積分率が高ければ高いほど、前記べーパーチャンバの高温側と低温側との間の気体及び/又は液体の移動の減少をもたらす可能性があり、このことは、前記べーパーチャンバによって提供される熱交換、特に冷却に悪影響をもたらす可能性がある。従って、前記べーパーチャンバの安定性と冷却能力との間にはトレードオフが存在し得る。
とりわけ、前記べーパーチャンバ要素が単一の位置において曲げられるべきである実施形態においては、前記べーパーチャンバ要素が曲げられるべきである位置に曲げセクションが配設されるような前記べーパーチャンバ要素が供給されることができ、前記べーパーチャンバ要素、特に前記チャンバの残りの部分は、基本セクション、即ち、特に2つの基本セクションを含み得る。前記べーパーチャンバ要素が複数の位置において曲げられるべきである更なる実施形態においては、前記べーパーチャンバ要素は、前記べーパーチャンバ要素が曲げられるべきである前記複数の位置に配設される複数のn個の曲げセクションを含むことができ、前記べーパーチャンバ要素、特に前記チャンバの残りの部分は、基本セクション、即ち、少なくとも基本セクションのような、特に少なくともn-1個の基本セクション、又は特にn+1個の基本セクションを含み得る。
従って、基本セクションを含む実施形態においては、前記架橋要素を含む前記体積分率に関する前述のトレードオフが対処され得る。とりわけ、前記ベーパーチャンバ要素は、曲げる際の前記べーパーチャンバ要素の潰れを防止するために、前記曲げセクションにおいて局所的に、(前記基本セクションと比較して)追加の架橋要素を含むことができ、前記基本セクションにおいて、前記べーパーチャンバ要素内の液体及び/又は気体の移動を容易にしながら、通常動作中の安定性のために十分な架橋要素を含み得る。
実施形態においては、前記べーパーチャンバ要素は、前記曲げセクションにおいて曲げるよう構成され得る。とりわけ、前記曲げセクションは、前記曲げセクションが、曲げ半径r、特に内側曲げ半径rbi、又は外側曲げ半径rboで曲げられることができるように構成されてもよく、前記曲げ半径rは、≦2mmなどの、≦3mmであり、特に、≦1mmなどの、≦1.5mmである。
「曲げ半径」という用語は、本明細書においては、特に、曲がっている部分を最もよく近似する円の半径を指すことがある。前記曲がっている部分は、特に、円周の、少なくとも20%、特に少なくとも45%などの、少なくとも10%に対応し得る。特定の実施形態においては、前記曲がっている部分は、円周の約25%に対応する可能性があり、即ち、前記べーパーチャンバ要素は、約90°の曲げ角αで曲げられ得る。更なる実施形態においては、前記曲がっている部分は、円周の約50%に対応する可能性があり、即ち、前記べーパーチャンバ要素は、約180°の曲げ角αで曲げられ得る。特に、曲げられるのは、45°又は90°又は180°にわたってであり得るが、他の角度も可能であり得る。プレート状の要素を曲げると、前記プレートは、内側の曲がっている部分と、外側の曲がっている部分とを供給することがあり、前記外側の曲がっている部分は、特に前記プレート状の要素の厚さに依存して、(わずかに)より大きな曲げ半径を有することがある。従って、前記曲げ半径は、特に、内側曲げ半径を指すことがある。更に他の特定の実施形態においては、「曲げ半径」という用語は、特に、外側曲げ半径を指すことがある。
従って、実施形態においては、前記べーパーチャンバ要素は、前記曲げセクションにおいて曲げられることができ、前記曲げセクションは、曲げ半径rを有し、前記曲げ半径r≦2mmである。
実施形態においては、前記架橋要素は、前記第1高さの少なくとも70%、特に、100%を含む少なくとも90%などの、前記第1高さH1の少なくとも50%に架橋し得る。とりわけ、前記架橋要素は、前記第1プレートと前記第2プレートとを接続することができ、即ち、前記第1プレートと前記第2プレートとが(少なくとも)前記架橋要素を介して接続され得る。従って、前記架橋要素は、少なくとも0.5*H1、より特に少なくとも0.7*H1、更により特に少なくとも約0.9*H1の高さを有し得る。
実施形態においては、前記架橋要素は、金属製架橋要素である。例えば、前記架橋要素は、銅製要素であってもよい。その代わりに、又は加えて、前記架橋要素は、セラミック製架橋要素であってもよい。その代わりに、又は加えて、前記架橋要素は、プラスチック製架橋要素であってもよい。前記プラスチック製架橋要素は、(べーパーチャンバでの使用に)適切なガラス転移温度を有し、前記べーパーチャンバ内の液体と(本質的に)反応しないプラスチックを含むことは、当業者には明らかであるだろう。
更なる実施形態においては、前記架橋要素は、(金属製)柱を有してもよい。とりわけ、前記柱は、球、プレート、及び円柱から成るグループから選択される形状を有してもよい。
前記柱は、実施形態においては、円形の断面を有してもよい。他の実施形態においては、前記柱は、正方形の断面を有してもよい。更に他の実施形態においては、前記柱は、n角形の断面を有してもよく、nは、六角形(n=6)、又は八角形(n=8)のような、少なくとも5である。
特に、実施形態においては、前記架橋要素は、球に近い形状を有してもよい。球の形状は、良好な安定性を提供しながら、前記べーパーチャンバ要素の構成にとりわけ便利であり得る。
前記架橋要素が球の形状を有する実施形態においては、前記架橋要素の直径は、特に、0.8*H乃至Hの範囲から特に選択され得る。とりわけ、球状の前記架橋要素の直径は、前記第1高さであってもよい。
前記架橋要素が円柱形の形状を有する実施形態においては、前記円柱の高さは、特に、前記第1高さHと平行に配設され得る。更に、前記円柱の直径は、特に、0.8*H乃至Hの範囲から特に選択され得る。とりわけ、円柱形の前記架橋要素の直径は、前記第1高さと等しくてもよい。
従って、前記架橋要素は、約0.8*H乃至Hの範囲から選択される円相当径(equivalent circular diameter)を有してもよい。(不規則な形状の)2次元形状の円相当径(又はECD)は、相当面積の円の直径である。例えば、辺aを備える正方形の円相当径は、2*a*SQRT(1/π)である。円の場合、直径は円相当径と同じである。xy平面内の、直径Dを備える円が、領域のサイズを変えずに、(前記xy平面内で)任意の他の形状に歪まされると、その形状の円相当径はDとなる。しかしながら、前記架橋要素は、約0.8*H乃至Hの範囲から選択されるような、より大きい円相当径を持つ断面を有することもある。特に、前記架橋要素は、約0.2*W1以下の、更により特に最大で0.05*W1の円相当径を持つ断面を有してもよい。
前記架橋要素がプレート形状を有する実施形態においては、前記プレートは、特に(意図した)流れの方向に配置され得る。従って、前記流れの方向は、前記プレートの長さの方向に選ばれる。
実施形態においては、前記架橋要素は、波形要素によって提供されている。従って、実施形態においては、前記べーパーチャンバは、前記架橋要素から成り得る、又は架橋要素と前記架橋要素間のコネクタ要素とから成り得る、波形要素などの、要素を囲んでもよい。特定の実施形態においては、前記架橋要素は、波形構造を形成し得る、接続された要素である。
特に、前記架橋要素は、実施形態においては、前記ウィック構造から延在してもよい。例えば、実施形態においては、前記ウィック構造は、最大で0.25*H1などの、最大で0.4*H1の高さを有し得る。
従って、実施形態においては、前記ウィック構造は、前記曲げセクション及び/又は前記基本セクション内、特に前記曲げセクション内、又は特に基本セクション内に配設され得る。
前記柱は、前記第1軸に関して、1つ又は2つの隣接する柱を有してもよく、即ち、前記第1軸に関して最初及びと最後の柱は、単一の隣接する柱を有するのに対して、他の全ての柱は、2つの隣接する柱を有する。前記架橋要素の体積分率がセクションのタイプに依存し得るので、隣接する柱までの前記第1軸(A)に沿った最長距離もセクションのタイプに依存し得る(又はセクションのタイプを示し得る)。「最長距離」という用語は、本明細書においては、特に、柱の、その2つの隣接する柱までの前記第1軸(A)に沿った2つの距離のうちの長い方を指すことがある。単一の隣接する柱しか持たない柱に関しては、「最長距離」という用語は、その隣接する列までの距離を指す。各距離は、特に、前記柱と、隣接する柱との間の最短距離であり得る。
従って、実施形態においては、前記曲げセクション内の柱は、第1最長柱距離Cを有することができるのに対して、前記基本セクション内の柱は、第2最長柱距離Cを有することができ、C≧2*Cであり、特に、C≧5*Cなどの、C≧3*Cである。
更なる実施形態においては、前記柱、特に前記曲げセクション内の前記柱は、円相当径dを有してもよく、前記曲げセクション内の前記柱は、C≦2*d、特にC≦1.5*dの第1最長柱距離を有する。とりわけ、Cは、0.5*d乃至2*dの範囲から、特に0.75*d乃至1.5*dの範囲から選択され得る。
更なる実施形態においては、前記チャンバは、ウィック構造を有してもよい。とりわけ、前記チャンバ、特に前記ウィック構造は、前記第1プレートに関連付けられる、特に前記第1プレートと物理的に接触して配設される第1ウィック構造、及び/又は前記第2プレートに関連付けられる、特に前記第2プレートと物理的に接触して配設される第2ウィック構造とを有してもよい。
更なる実施形態においては、前記ウィック構造は、前記架橋要素(の少なくとも一部)を含んでもよく、即ち、前記架橋要素は、少なくとも部分的に前記ウィック構造によって構成されてもよい。
実施形態においては、前記曲げセクションが、前記第1軸に沿った曲げ長さlを有し得る。前記曲げ長さは、特に、前記曲がっている部分を供給するのに十分であるよう選択され得る。前記曲げ長さlは、特に、望まれる前記曲がっている部分に基づいて選択され得る。とりわけ、所望の前記曲がっている部分の角度が大きければ大きいほど、前記所望の曲がっている部分を得ることを容易にするためには前記曲げ長さlは大きくなり得る。同様に、前記ベーパーチャンバ要素の厚さが大きければ大きいほど、特定の角度を達成するためには、必要とされる前記曲げ長さlは大きくする必要があり得る。従って、実施形態においては、l≧π*(r+d)/(360/α)であり、rは、曲げ半径であり、αは、曲げ角である。
更なる実施形態においては、前記曲げセクションは、前記曲がっている部分に隣接する隣接支持サブセクションを供給するよう構成されてもよい。従って、前記曲げセクション131は、前記曲がっている部分を供給するよう構成される曲げサブセクション132と、前記曲げサブセクション134の両側に配設される2つの支持サブセクション134とを有してもよい。とりわけ、各支持サブセクションは、5*d乃至10*dの範囲などの、3*d乃至20*dの範囲から選択される支持長さlsを有してもよい。従って、前記曲げ長さlは、特に、π*(r+d)/(360/α)+2*5*dなどの、少なくともπ*(r+d)/(360/α)+2*3*dであり得る。更なる実施形態においては、前記曲げ長さlは、特に、π*(r+d)/(360/α)+2*3*d乃至π*(r+d)/(360/α)+2*20*dの範囲から選択されてもよく、又は特に、π*(r+d)/(360/α)+2*5*d乃至π*(r+d)/(360/α)+2*10*dの範囲から選択されてもよい。
従って、特定の実施形態においては、前記べーパーチャンバ要素は、要素厚さdを有し、前記曲げセクションは、曲げ角α及び曲げ半径rを有する曲がっている部分を供給するよう構成され、前記曲げセクションは、(前記第1軸(A)に沿った)曲げ長さlを有し、前記曲げ長さlは、π*(r+d)/(360/α)+2*5*d乃至π*(r+d)/(360/α)+2*10*dの範囲から選択される。(前記第1軸(A)に沿った)前記曲げ長さlは、特に、前記曲がっている部分が作成される前に画定され得ることは、当業者には明らかであるだろう。とりわけ、実施形態においては、前記曲げ半径は、前記曲がっている部分における内側プレートの曲がっている部分における内側半径であってもよい。
更なる実施形態においては、前記べーパーチャンバ要素は、n個の曲げセクションを有してもよく、特に、nは、2乃至4の範囲からなどの、2乃至10の範囲か選択される。
本発明は、第2態様においては、曲がったべーパーチャンバ要素を供給するための方法に提供する。前記方法は、前記曲がったべーパーチャンバ要素を供給するよう、前記曲げセクションに沿って、本発明のべーパーチャンバ要素を曲げるステップを有してもよい。
実施形態においては、前記方法は、特に溶接によって、前記(曲がった)べーパーチャンバ要素を閉じるステップを有してもよい。とりわけ、前記方法は、前記べーパーチャンバ要素を曲げた後に前記べーパーチャンバ要素を閉じるステップを有してもよい。
前記べーパーチャンバ要素を閉じるステップは、特に、前記VCに、液体、特に冷却剤を注入する(fill)ための単一の開口部を残してもよい。
従って、前記方法は、前記(曲がった)べーパーチャンバ要素に、液体、特に冷却剤を注入するステップを更に有してもよい。とりわけ、前記方法は、前記べーパーチャンバ要素を曲げた後に、且つ特に(溶接によって)前記べーパーチャンバ要素を閉じた後に、前記べーパーチャンバ要素に注入するステップを有してもよい。
前記べーパーチャンバ要素に注入した後、前記べーパーチャンバ要素は、封止され得る。従って、更なる実施形態においては、前記方法は、前記べーパーチャンバ要素を封止するステップを有してもよい。
本発明は、更なる態様においては、本発明の方法で得られる曲がったべーパーチャンバ要素を提供する。
実施形態においては、前記曲げセクションは、曲げ半径rで曲げられてもよく、特に、前記曲げ半径rは、≦2mm、特に≦1.5mmなどの、≦3mmである。
本発明は、更なる態様においては、本発明の曲がったべーパーチャンバ要素を有するデバイスを提供する。
実施形態においては、前記デバイスは、電子部品を更に有してもよい。前記電子部品は、特に、前記曲がったべーパーチャンバ要素と熱的に結合され、特に直接物理的に結合されてもよい(即ち、物理的に接触していてもよい)。とりわけ、前記べーパーチャンバ要素は、前記電子部品を冷却するために前記電子部品と熱的結合して配設されてもよく、即ち、前記べーパーチャンバ要素は、前記電子部品と熱交換関係で構成されてもよい。
特に、「熱的接触」という用語は、要素が、別の要素と熱の処理を通してエネルギのやりとりをすることができることを示している。実施形態においては、2つの要素が約10μm以下の距離で互いに対して配置される場合、前記2つの要素間の熱的接触が達成され得るが、最大100μmなどのより大きな距離が可能であり得る。前記距離が短ければ短いほど、前記熱的接触は良好になる。特に、前記距離は、5μm以下などの、10μm以下である。前記距離は、それぞれの要素の2つのそれぞれの表面の間の距離であってもよい。前記距離は、平均距離であってもよい。例えば、前記2つの要素は、複数の位置などの、1つ以上の位置において物理的に接触していてもよいが、1つ以上の、特に複数の他の位置においては、前記要素は物理的に接触していない。例えば、一方又は両方の要素が粗い表面を有する場合、これが当てはまり得る。従って、実施形態においては、前記2つの要素間の距離は、平均において、10μm以下であり得る(が、最大100μmなどのより大きな平均距離が可能であり得る)。実施形態においては、前記2つの要素の2つの表面は、1つ以上の距離保持具(distance holder)によって或る距離を保たれ得る。
本明細書においては、「熱的接触」という用語は、特に、少なくとも50W/mKなどの、少なくとも20W/mKなどの、少なくとも約10W/mKの熱伝導率を供給し得る要素の配置を指すことがある。実施形態においては、「熱的接触」という用語は、特に、少なくとも170W/mK、特に少なくとも約200W/mKなどの、少なくとも約150W/mKの熱伝導率を供給し得る要素の配置を指すことがある。実施形態においては、「熱的接触」という用語は、特に、少なくとも300W/mK、特に少なくとも約400W/mKなどの、少なくとも約250W/mKの熱伝導率を供給し得る要素の配置を指すことがある。
実施形態においては、前記デバイスは、ハウジングを有してもよい。とりわけ、前記ハウジングは、前記曲がったべーパーチャンバ要素を有してもよく、特に前記電子部品を有してもよい。
更なる実施形態においては、前記ハウジングは、丸みを帯びた隅(rounded corner)を内部に有し、前記丸みを帯びた隅は、前記曲がったべーパーチャンバ要素(の前記曲げセクション)を受け入れる(host)よう構成される。とりわけ、前記べーパーチャンバ要素の前記曲げセクションは、接触界面において前記丸みを帯びた隅と物理的に接触して配設されてもよく、特に、前記曲げセクションと、前記丸みを帯びた隅とが、前記接触界面において(本質的に)同じ半径を有する。それによって、前記曲がったべーパーチャンバ要素と前記ハウジングとが、ハウジング要素の隅においても、効率的に熱交換し得る。そうでなければ、前記ハウジングと前記曲がったベーパーチャンバ要素との間に空気が閉じ込められる可能性があり、このことは、前記隅において効率的な熱交換を阻害し得る。更に、このような実施形態においては、前記曲がったベーパーチャンバが空間的に拘束されるので、前記丸みを帯びた隅は、前記デバイスに安定性の向上を提供し得る。
更なる実施形態においては、前記デバイスは、複数の曲がったべーパーチャンバ要素を有してもよい。
特定の実施形態においては、前記デバイスは、光生成デバイスを有してもよい。前記光生成デバイスは、1つ以上の光源を有する。特に、実施形態においては、前記1つ以上の光源は、固体光源を有する。例えば、前記1つ以上の光源は、LEDを有してもよい。前記1つ以上の光源は、実施形態においてはLED光のような、光源光を生成するよう構成される。前記光生成デバイスは、特に、前記1つ以上の光源の光を含む、又は特に前記1つ以上の光源の光から成る、デバイス光を生成するよう構成される。実施形態においては、前記デバイス光は、白色光であってもよい。前記デバイス光のスペクトルパワー分布が制御可能である場合には、前記デバイス光は、前記光生成デバイスの1つ以上の動作モードにおいて白色光であってもよい。
更なる特定の実施形態においては、前記デバイスは、ドライバを含むドライバユニットを有してもよく、前記ドライバは、前記曲がったべーパーチャンバ要素と熱的に結合される。例えば、前記ドライバは、前記べーパーチャンバ要素と物理的に結合されてもよい。
とりわけ、前記光生成デバイスは、LED光生成デバイスを有してもよい。例えば、前記LED光生成デバイスは、前記べーパーチャンバ要素と物理的に結合されてもよい。
前記光生成デバイスは、例えば、オフィス照明システム、家庭用アプリケーションシステム、店舗照明システム、家庭用照明システム、アクセント照明システム、スポット照明システム、劇場照明システム、光ファイバアプリケーションシステム、投影システム、自己照明ディスプレイシステム(self-lit display system)、画素化ディスプレイシステム、セグメント化ディスプレイシステム、警告標識システム、医療用照明アプリケーションシステム、インジケータサインシステム、装飾照明システム、携帯用システム、自動車アプリケーション、温室照明システム、園芸照明、又はLCDバックライトの一部であってもよく、又はそれらにおいて利用されてもよい。
特定の実施形態においては、前記光源は、(LED又はレーザダイオードなどの)固体LED光源を有する。
「光源」という用語は、2乃至20個の(固体)LED光源などの複数の光源に関することもある。従って、「LED」という用語は、複数のLEDを指すこともある。
本明細書における白色光という用語は、当業者には知られている。前記白色光は、特に、約2000Kと20000Kとの間の、特に2700乃至20000Kの、一般照明の場合は特に約2700乃至6500Kの範囲内の、バックライト用途の場合は特に約7000乃至20000Kの範囲内の相関色温度(CCT)を有し、特に、BBL(黒体軌跡)から約15SDCM(カラーマッチングの標準偏差)内の、特にBBLから約10SDCM内の、更により特にBBLから約5SDCM内の光に関する。
ここで、ほんの一例として、対応する参照符号が対応する部分を示す添付の概略的な図面を参照して、本発明の実施形態について説明する。
べーパーチャンバ要素の実施形態を概略的に図示する。 べーパーチャンバ要素の実施形態を概略的に図示する。 曲がったべーパーチャンバ要素を有するデバイスの実施形態を概略的に図示する。 曲がったべーパーチャンバ要素を有するデバイスの実施形態を概略的に図示する。 曲がったべーパーチャンバ要素を有するデバイスの実施形態を概略的に図示する。 本発明のデバイスを有する照明器具及びランプの実施形態を概略的に図示する。
概略的な図面は、必ずしも縮尺通りではない。
図1Aは、べーパーチャンバ要素(1000)の実施形態を概略的に図示している。図示されている実施形態においては、べーパーチャンバ要素1000は、間にチャンバ100を備える、第1プレート110及び第2プレート120を有する。チャンバ100は、第1高さH1を有する。べーパーチャンバ要素1000は、第1高さH1の少なくとも一部に架橋する架橋要素150を更に有する。べーパーチャンバ要素1000は、第1軸Aに沿って構成される複数のセクション130を更に有する。図示されている実施形態においては、複数のセクション130は、第1体積分率Vの架橋要素150を有する曲げセクション131を有する。複数のセクションは、第2体積分率Vの架橋要素150を有する基本セクション133を更に有し、特に、曲げセクション131は、2つの基本セクション133の間に(直接)構成され、即ち、実施形態においては、曲げセクション131は、2つの基本セクション133に隣接し得る。
とりわけ、実施形態においては、2≦V/V≦20である。
実施形態においては、曲げセクション131は、0.1乃至0.4の範囲から、特に0.15乃至0.35の範囲からなどの、0.05乃至0.5の範囲から選択され得る第1体積分率Vの架橋要素を有してもよい。
図示されている実施形態においては、架橋要素150は、柱151、特に球状の柱などの、特に、球、プレート、及び円柱から成るグループから選択される形状を有する柱151を有する。
実施形態においては、べーパーチャンバ要素1000、特にチャンバ100は、ウィック構造105を有してもよい。ウィック構造は、特に、第1プレート110に関連付けられる第1ウィック115と、第2プレート120に関連付けられる第2ウィック125とを有する。
更なる実施形態においては、架橋要素150は、少なくとも部分的にウィック構造105によって構成されてもよい。
曲げセクション131は、第1軸Aに沿った曲げ長さlを有してもよく、特に、曲げ長さl≧0.5mmである。
第1プレート110及び第2プレート120は、実施形態においては、(それぞれ)50乃至5000μmの範囲から独立して選択される第1厚さd及び第2厚さdを有してもよい。
図示されている実施形態においては、べーパーチャンバ要素1000は、単一の曲げセクション131を有する。しかしながら、更なる実施形態においては、べーパーチャンバ要素は、複数の曲げセクション131、特にn個の曲げセクション131を有してもよく、特に、nは、2乃至4の範囲からなどの、2乃至10の範囲から選択される。
図1Aは、曲げる前のべーパーチャンバ要素1000を図示している。図1Bは、曲げセクション131において曲げた後のべーパーチャンバ要素1000を概略的に図示している。とりわけ、曲げセクション131は、曲げ半径r、特に内側曲げ半径rbi、又は特に外側曲げ半径rboを有してもよく、特に、曲げ半径r≦2mmである。
図示されている実施形態においては、べーパーチャンバ要素1000は、要素厚さdを有する。要素厚さdは、本質的に、第1高さH1、第1厚さd及び第2厚さdの合計である。
実施形態においては、曲げセクション131は、曲げ角α及び曲げ半径rを有する曲がっている部分を供給するよう構成されてもよい。
実施形態においては、曲げセクション131は、第1軸(A)に沿った曲げ長さlを有してもよく、曲げ長さlは、π*(r+d)/(360/α)+2*5*d乃至π*(r+d)/(360/α)+2*10*dの範囲から選択される。
図示されている実施形態においては、曲げセクション131は、曲げ長さlを有する。とりわけ、曲げセクション131は、曲げサブセクション長さlbsを備える曲げサブセクション132と、2つの、支持長さlを備える支持サブセクション134とを有する。従って、l=l+2lbsである。曲げサブセクション長さlbsは、特にπ*(r+d)/(360/α)であり得る。
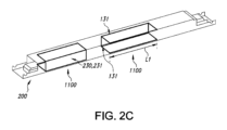
図2A乃至2Cは、曲がったべーパーチャンバ要素1100を有するデバイス200の実施形態を概略的に図示している。とりわけ、図2A乃至2Cは、曲がったべーパーチャンバ要素1100を有するデバイス200であって、曲がったべーパーチャンバ要素1100と熱的に結合され、特に直接物理的に結合される電子部品210を更に有するデバイス200を図示している。
図2Aは、複数の曲がったべーパーチャンバ要素1100、特に2つの曲がったべーパーチャンバ要素1100を有するデバイスの実施形態を概略的に図示している。とりわけ、図示されている曲がったべーパーチャンバ要素1100の各々は、n個の曲げセクション131を有し、n=2である。
更なる実施形態においては、デバイス200は、(曲がっていない)べーパーチャンバ要素1000と、曲がったべーパーチャンバ要素1100との両方を有してもよい。
図示されている実施形態においては、曲げ半径rで曲げられており、曲げ半径r≦2mmである。とりわけ、曲げ半径rは、(曲げた後の)曲げセクションによって画定される円部分に一致する円の半径に対応する。説明のために、図2Aにおいては、一致する円が図示されている。とりわけ、図示されている実施形態においては、曲げ角αは、約90°であり得る。
図2Bは、n個の曲げセクション131を有し、n=4である単一の曲がったべーパーチャンバ要素1100を含むデバイス200の実施形態を概略的に図示している。
図示されている実施形態においては、デバイス200は、ハウジング220を有する。ハウジングは、曲がったべーパーチャンバ要素1100と、電子部品120とを有してもよい。とりわけ、図示されている実施形態においては、ハウジング220は、丸みを帯びた隅221を内部に有し(即ち、「丸みを帯びた入隅221を有し」)、べーパーチャンバ要素1100の曲げセクション131は、接触界面において丸みを帯びた隅221と物理的に接触して配設される。図示されている実施形態においては、曲げセクションと、丸みを帯びた隅とが、接触界面において(本質的に)同じ半径を有し、即ち、丸みを帯びた隅221において、ハウジング220と曲がったべーパーチャンバ要素1100との間に、(本質的に)空きスペースがない。とりわけ、丸みを帯びた隅は、曲がったべーパーチャンバ要素1100の曲げセクション131を受け入れるよう構成される。
図2Cも、複数の曲がったべーパーチャンバ要素1100、特に2つの曲がったべーパーチャンバ要素1100を有するデバイスの実施形態を概略的に図示している。とりわけ、図示されている曲がったべーパーチャンバ要素1100の各々は、n個の曲げセクション131を有し、n=2である。とりわけ、この実施形態においては、曲がったべーパーチャンバ要素1100は、デバイスの、発熱要素が配置される領域に配設される。
図3は、上記のデバイス200を含む光生成デバイス250を有する照明器具2の実施形態を概略的に図示している。参照符号300は、制御システム300、特にユーザインターフェースを有する制御システムを示している。制御システムは、特に、光生成デバイス250と機能的に結合され得る。図3は、光生成デバイス250を有するランプ1の実施形態も概略的に図示している。
実施形態においては、デバイス200は、光生成デバイスを有してもよい。
更なる実施形態においては、デバイス200は、ドライバ231を含むドライバユニット230を有してもよく、ドライバ231は、曲がったべーパーチャンバ要素1100と熱的に結合される。
「複数」という用語は、2つ以上を指す。更に、「複数の」及び「多数の」という用語は、交換可能に使用され得る。
本明細書における「実質的に」又は「本質的に」という用語、及び同様の用語は、当業者には理解されるだろう。「実質的に」又は「本質的に」という用語は、「全体的に」、「完全に」、「全て」などを備える実施形態も含み得る。従って、実施形態においては、「実質的に」又は「本質的に」という形容詞が取り除かれることもある。適用可能な場合には、「実質的に」という用語又は「本質的に」という用語は、100%を含む、95%以上、特に99%以上、更により特に99.5%以上などの、90%以上に関することもある。更に、「約」及び「ほぼ」という用語は、100%を含む、95%以上、特に99%以上、更により特に99.5%以上などの、90%以上に関することもある。数値の場合、「実質的に」、「本質的に」、「約」及び「ほぼ」という用語は、前記用語が参照する値の95%乃至105%、特に99%乃至101%などの、90%乃至110%の範囲に関することもあることを理解されるべきである。
「有する」という用語は、「有する」という用語が「から成る」を意味する実施形態も含む。
「及び/又は」という用語は、特に、「及び/又は」の前及び後で言及されている項目のうちの1つ以上に関する。例えば、「項目1及び/又は項目2」という語句、及び同様の語句は、項目1及び項目2のうちの1つ以上に関し得る。「有する」という用語は、或る実施形態においては、「から成る」を指す場合があるが、別の実施形態においては、「少なくとも規定されている種を含み、随意に、1つ以上の他の種を含む」を指す場合もある。
更に、明細書及び特許請求の範囲における、第1、第2、第3などの用語は、同様の要素を区別するために使用されるものであり、必ずしも、逐次的又は時間的な順序を説明するために使用されるものではない。そのように使用される用語は、適切な状況下で交換可能であり、本明細書において記載されている本発明の実施形態は、本明細書において記載又は図示されている順序以外の順序で動作が可能であることは理解されるべきである。
本明細書においては、とりわけ、動作中の、デバイス、装置、又はシステムが記載されているかもしれない。当業者には明らかであるだろうように、本発明は、動作の方法、又は動作中の、デバイス、装置、若しくはシステムに限定されるものではない。
「更なる実施形態」という用語及び同様の用語は、前述の実施形態の特徴を有する実施形態を指すことがあるが、他の実施形態を指すこともある。
上述の実施形態は、本発明を限定するものではなく、本発明を説明するものであり、当業者は、添付の特許請求の範囲の範囲から逸脱することなく、多くの他の実施形態を設計することができるだろうことに留意されたい。
特許請求の範囲において、括弧内に配置される如何なる参照符号も、請求項を限定するものとして解釈されるべきではない。
「有する」という動詞及びその語形変化の使用は、請求項において示されている要素又はステップ以外の要素又はステップの存在を除外するものではない。文脈から明らかに別の意味が必要とされない限り、明細書及び特許請求の範囲全体を通して、「有する」、「有している」、「含む」、「含んでいる」、「含有する」、「含有している」などの単語は、排他的又は網羅的な意味とは対照的な、包括的な意味で、即ち、「含むが、これに限定されない」という意味で解釈されるべきである。
要素の単数形表記は、このような要素の複数の存在を除外するものではない。
本発明は、幾つかの別個の要素を有するハードウェアによって実施されてもよく、又は適切にプログラムされたコンピュータによって実施されてもよい。幾つかの手段を列挙している、デバイスの請求項、又は装置の請求項、又はシステムの請求項においては、これらの手段のうちの幾つかは、ハードウェアの全く同一のアイテムによって実施されてもよい。単に、或る特定の手段が、相互に異なる従属請求項において挙げられているという事実は、これらの手段の組み合わせは有利になるようには使用されることができないことを示すものではない。
本発明は、デバイス、装置、若しくはシステムを制御し得る、又は本明細書において記載されている方法若しくはプロセスを実行し得る制御システムも提供する。更に他に、本発明は、デバイス、装置、又はシステムに機能的に結合される又は含まれるコンピュータにおいて実行するときに、このようなデバイス、装置、又はシステムの1つ以上の制御可能な要素を制御するコンピュータプログラム製品も提供する。
本発明は、更に、明細書において記載されている、及び/又は添付の図面において示されている、特徴付けている特徴のうちの1つ以上を有するデバイス、装置、又はシステムに当てはまる。本発明は、更に、明細書において記載されている、及び/又は添付の図面において示されている、特徴付けている特徴のうちの1つ以上を有する方法又はプロセスに関する。更に、方法又は方法の実施形態が、デバイス、装置、又はシステムにおいて実行されると記載されている場合には、デバイス、装置、又はシステムは、それぞれ、方法又は方法の実施形態(の実行)に適している、又はのために構成されていることは理解されるだろう。
この特許において説明されている様々な態様は、更なる利点を提供するために組み合わされることができる。更に、当業者は、実施形態は組み合わされることができること、及び3つ以上の実施形態も組み合わされることができることを理解するだろう。更に、特徴のうちの幾つかは、1つ以上の分割出願のための基礎を形成することができる。

Claims (15)

  1. べーパーチャンバ要素であって、前記べーパーチャンバ要素が、間にチャンバを備える第1プレート及び第2プレートを有し、前記チャンバが、第1高さを有し、前記べーパーチャンバ要素が、前記第1高さの少なくとも一部に架橋する架橋要素を更に有し、前記べーパーチャンバ要素が、第1軸に沿って構成される複数のセクションを有し、前記複数のセクションが、(i)第1体積分率Vの架橋要素を有する曲げセクションと、(ii)第2体積分率Vの架橋要素を有する基本セクションとを有し、2≦V/Vであるべーパーチャンバ要素。
  2. 前記第1体積分率Vが、0.1乃至0.4の範囲から選択される請求項1に記載のべーパーチャンバ要素。
  3. 前記架橋要素が、柱を有する請求項1乃至2のいずれか一項に記載のべーパーチャンバ要素。
  4. 前記チャンバが、ウィック構造を有し、前記ウィック構造が、前記第1プレートに関連付けられる第1ウィックと、前記第2プレートに関連付けられる第2ウィックとを有する請求項1乃至3のいずれか一項に記載のべーパーチャンバ要素。
  5. 前記架橋要素のうちの1つ以上が、少なくとも部分的に前記ウィック構造によって構成される請求項4に記載のべーパーチャンバ要素。
  6. 前記べーパーチャンバ要素が、要素厚さdを有し、前記曲げセクションが、曲げ角α及び曲げ半径rを有する曲がっている部分を供給するよう構成され、前記曲げセクションが、前記第1軸に沿った曲げ長さlを有し、前記曲げ長さlが、π*(r+d)/(360/α)+2*5*d乃至π*(r+d)/(360/α)+2*10*dの範囲から選択される請求項1乃至5のいずれか一項に記載のべーパーチャンバ要素。
  7. 前記第1プレート及び前記第2プレートが、50乃至5000μmの範囲から独立して選択される第1厚さd及び第2厚さdを有する請求項1乃至6のいずれか一項に記載のべーパーチャンバ要素。
  8. 前記べーパーチャンバ要素が、n個の曲げセクションを有し、nが、2乃至4の範囲から選択され、各2つの隣接する曲げセクションの間に基本セクションが配設される請求項1乃至7のいずれか一項に記載のべーパーチャンバ要素。
  9. 前記第1軸が、前記べーパーチャンバ要素の長さを画定する第1長さL1を有し、前記べーパーチャンバ要素が、第1幅W1を有し、0.2≦L1/W1≦5である請求項1乃至8のいずれか一項に記載のべーパーチャンバ要素。
  10. 前記べーパーチャンバ要素が、前記曲げセクションにおいて曲げられ、前記曲げセクションが、曲げ半径rを有し、前記曲げ半径r≦2mmである請求項1乃至9のいずれか一項に記載のべーパーチャンバ要素。
  11. 曲がったべーパーチャンバ要素を供給するための方法であって、
    前記曲がったべーパーチャンバ要素を供給するよう、曲がっていない状態にある、請求項1乃至9のいずれか一項に記載のべーパーチャンバ要素を曲げるステップと、
    前記曲がったべーパーチャンバ要素に冷却剤を注入するステップと、
    前記曲がったべーパーチャンバ要素を封止するステップとを有する方法。
  12. 請求項10に記載のべーパーチャンバ要素を有するデバイスであって、曲がった前記べーパーチャンバ要素に熱的に結合された電子部品を更に有するデバイス。
  13. 前記デバイスが、ハウジングを有し、前記ハウジングが、丸みを帯びた隅を内部に有し、前記べーパーチャンバ要素の前記曲げセクションが、接触界面において前記丸みを帯びた隅と物理的に接触して配設され、前記曲げセクションと、前記丸みを帯びた隅とが、前記接触界面において同じ半径を有する請求項12に記載のデバイス。
  14. 前記デバイスが、光生成デバイスを有する請求項12乃至13のいずれか一項に記載のデバイス。
  15. 前記デバイスが、ドライバを含むドライバユニットを有し、前記ドライバが、前記曲がったべーパーチャンバ要素と熱的に結合される請求項12乃至14のいずれか一項に記載のデバイス。
JP2022568676A 2020-05-14 2021-04-30 べーパーチャンバ要素 Active JP7463557B2 (ja)

Applications Claiming Priority (3)

Application Number Priority Date Filing Date Title
EP20174597.3 2020-05-14
EP20174597 2020-05-14
PCT/EP2021/061483 WO2021228590A1 (en) 2020-05-14 2021-04-30 Vapor chamber element

Publications (2)

Publication Number Publication Date
JP2023526028A JP2023526028A (ja) 2023-06-20
JP7463557B2 true JP7463557B2 (ja) 2024-04-08

Family

ID=70736666

Family Applications (1)

Application Number Title Priority Date Filing Date
JP2022568676A Active JP7463557B2 (ja) 2020-05-14 2021-04-30 べーパーチャンバ要素

Country Status (5)

Country Link
US (1) US11873982B2 (ja)
EP (1) EP4150281B1 (ja)
JP (1) JP7463557B2 (ja)
CN (1) CN115552189A (ja)
WO (1) WO2021228590A1 (ja)

Families Citing this family (1)

* Cited by examiner, † Cited by third party
Publication number Priority date Publication date Assignee Title
US20240200765A1 (en) * 2021-04-23 2024-06-20 Signify Holding B.V. A vapor chamber

Citations (2)

* Cited by examiner, † Cited by third party
Publication number Priority date Publication date Assignee Title
JP3192121U (ja) 2014-04-17 2014-07-31 奇▲こう▼科技股▲ふん▼有限公司 ベイパーチャンバー構造
US20190354148A1 (en) 2018-05-17 2019-11-21 Microsoft Technology Licensing, Llc Conducting heat through a hinge

Family Cites Families (15)

* Cited by examiner, † Cited by third party
Publication number Priority date Publication date Assignee Title
US20100175856A1 (en) 2009-01-12 2010-07-15 Meyer Iv George Anthony Vapor chamber with wick structure of different thickness and die for forming the same
CN101825235A (zh) * 2009-03-05 2010-09-08 富准精密工业(深圳)有限公司 发光二极管灯具及其光引擎
US7909489B2 (en) 2009-03-09 2011-03-22 Cpumate Inc LED road lamp holder structure
ATE514036T1 (de) 2009-03-10 2011-07-15 Cpumate Inc LED-STRAßENLAMPENHALTERUNGSSTRUKTUR
CN101893401B (zh) 2009-05-19 2013-02-20 富准精密工业(深圳)有限公司 平板式热管及其制造方法
US8506135B1 (en) * 2010-02-19 2013-08-13 Xeralux, Inc. LED light engine apparatus for luminaire retrofit
CN102345843A (zh) 2010-07-30 2012-02-08 欧司朗有限公司 冷却装置以及具有该装置的led照明设备
US20120294002A1 (en) * 2011-05-18 2012-11-22 Phoseon Technology, Inc. Vapor chamber cooling of solid-state light fixtures
WO2013176355A1 (ko) 2012-05-23 2013-11-28 주식회사 포스코엘이디 광 반도체 조명장치
US9366484B2 (en) * 2013-11-19 2016-06-14 Shenzhen China Star Optoelectronics Technology Co., Ltd Heat dissipation pipe loop and backlight module using same
TWI654404B (zh) 2017-05-05 2019-03-21 雙鴻科技股份有限公司 均溫板
JP2019082264A (ja) 2017-10-27 2019-05-30 古河電気工業株式会社 ベーパーチャンバ
CN108119881A (zh) * 2017-12-19 2018-06-05 苏州亿拓光电科技有限公司 具有异形毛细液流通路的led器件用均热板和led器件
JP6588599B1 (ja) * 2018-05-29 2019-10-09 古河電気工業株式会社 ベーパーチャンバ
TWI763989B (zh) * 2019-04-12 2022-05-11 雙鴻科技股份有限公司 可撓動之均溫板

Patent Citations (2)

* Cited by examiner, † Cited by third party
Publication number Priority date Publication date Assignee Title
JP3192121U (ja) 2014-04-17 2014-07-31 奇▲こう▼科技股▲ふん▼有限公司 ベイパーチャンバー構造
US20190354148A1 (en) 2018-05-17 2019-11-21 Microsoft Technology Licensing, Llc Conducting heat through a hinge

Also Published As

Publication number Publication date
WO2021228590A1 (en) 2021-11-18
CN115552189A (zh) 2022-12-30
JP2023526028A (ja) 2023-06-20
EP4150281B1 (en) 2023-11-22
US20230184422A1 (en) 2023-06-15
US11873982B2 (en) 2024-01-16
EP4150281A1 (en) 2023-03-22

Similar Documents

Publication Publication Date Title
US12253314B2 (en) Heat pipe
TWI426859B (zh) 散熱模組、均溫元件及均溫元件之製造方法
US20110100608A1 (en) Flat heat pipe with hook capillary tissue
US20120145357A1 (en) Thin plate heat pipe
TWM532046U (zh) 具有液汽分離結構的均溫板
KR20040012593A (ko) 히트 파이프 유니트 및, 히트 파이프 유형의 열교환기
EP3172489B1 (en) Flexible coiled artery wick
JP7463557B2 (ja) べーパーチャンバ要素
US20070022603A1 (en) Vapor chamber and manufacturing method thereof
US20240200765A1 (en) A vapor chamber
US20230258411A1 (en) Vapor chamber assembly
CN205980891U (zh) 均温板及其上壳构件
US11971160B2 (en) Vapor chamber cooled high lumen device with improved cooling solution
WO2020173731A1 (en) Led lighting device
JP2009175523A (ja) 薄型液晶tv用のヒートシンク
JP2023006705A (ja) 熱伝導部材
US11821615B2 (en) System comprising luminescent material and two-phase cooling device
JP2011247545A (ja) 熱交換器の製造方法及び熱交換器、気化器
KR101407072B1 (ko) 히트파이프가 적용된 노출형 방열유닛을 갖는 가로등
CN111386001A (zh) 内部具有液管的均温板
US20070079958A1 (en) TriHEX (tm) heat exchanger
KR20250042676A (ko) 방열 기구
JP2023006703A (ja) 熱伝導部材
JP2023006706A (ja) 熱伝導部材

Legal Events

Date Code Title Description
A621 Written request for application examination

Free format text: JAPANESE INTERMEDIATE CODE: A621

Effective date: 20230111

A871 Explanation of circumstances concerning accelerated examination

Free format text: JAPANESE INTERMEDIATE CODE: A871

Effective date: 20230111

A131 Notification of reasons for refusal

Free format text: JAPANESE INTERMEDIATE CODE: A131

Effective date: 20230621

A601 Written request for extension of time

Free format text: JAPANESE INTERMEDIATE CODE: A601

Effective date: 20230914

A521 Request for written amendment filed

Free format text: JAPANESE INTERMEDIATE CODE: A523

Effective date: 20231204

TRDD Decision of grant or rejection written
A01 Written decision to grant a patent or to grant a registration (utility model)

Free format text: JAPANESE INTERMEDIATE CODE: A01

Effective date: 20240306

A61 First payment of annual fees (during grant procedure)

Free format text: JAPANESE INTERMEDIATE CODE: A61

Effective date: 20240327

R150 Certificate of patent or registration of utility model

Ref document number: 7463557

Country of ref document: JP

Free format text: JAPANESE INTERMEDIATE CODE: R150