JP7426397B2 - パワー半導体スイッチの駆動回路に電圧を供給するためのパワーエレクトロニクスデバイスおよび方法 - Google Patents

パワー半導体スイッチの駆動回路に電圧を供給するためのパワーエレクトロニクスデバイスおよび方法 Download PDF

Info

Publication number
JP7426397B2
JP7426397B2 JP2021549505A JP2021549505A JP7426397B2 JP 7426397 B2 JP7426397 B2 JP 7426397B2 JP 2021549505 A JP2021549505 A JP 2021549505A JP 2021549505 A JP2021549505 A JP 2021549505A JP 7426397 B2 JP7426397 B2 JP 7426397B2
Authority
JP
Japan
Prior art keywords
auxiliary
semiconductor switch
power semiconductor
capacitor
drive circuit
Prior art date
Legal status (The legal status is an assumption and is not a legal conclusion. Google has not performed a legal analysis and makes no representation as to the accuracy of the status listed.)
Active
Application number
JP2021549505A
Other languages
English (en)
Other versions
JP2022521419A (ja
Inventor
ミューラー,バーカード
Current Assignee (The listed assignees may be inaccurate. Google has not performed a legal analysis and makes no representation or warranty as to the accuracy of the list.)
SMA Solar Technology AG
Original Assignee
SMA Solar Technology AG
Priority date (The priority date is an assumption and is not a legal conclusion. Google has not performed a legal analysis and makes no representation as to the accuracy of the date listed.)
Filing date
Publication date
Application filed by SMA Solar Technology AG filed Critical SMA Solar Technology AG
Publication of JP2022521419A publication Critical patent/JP2022521419A/ja
Application granted granted Critical
Publication of JP7426397B2 publication Critical patent/JP7426397B2/ja
Active legal-status Critical Current
Anticipated expiration legal-status Critical

Links

Images

Classifications

    • HELECTRICITY
    • H03ELECTRONIC CIRCUITRY
    • H03KPULSE TECHNIQUE
    • H03K17/00Electronic switching or gating, i.e. not by contact-making and –breaking
    • H03K17/10Modifications for increasing the maximum permissible switched voltage
    • H03K17/107Modifications for increasing the maximum permissible switched voltage in composite switches
    • HELECTRICITY
    • H02GENERATION; CONVERSION OR DISTRIBUTION OF ELECTRIC POWER
    • H02MAPPARATUS FOR CONVERSION BETWEEN AC AND AC, BETWEEN AC AND DC, OR BETWEEN DC AND DC, AND FOR USE WITH MAINS OR SIMILAR POWER SUPPLY SYSTEMS; CONVERSION OF DC OR AC INPUT POWER INTO SURGE OUTPUT POWER; CONTROL OR REGULATION THEREOF
    • H02M1/00Details of apparatus for conversion
    • H02M1/0003Details of control, feedback or regulation circuits
    • H02M1/0006Arrangements for supplying an adequate voltage to the control circuit of converters
    • HELECTRICITY
    • H02GENERATION; CONVERSION OR DISTRIBUTION OF ELECTRIC POWER
    • H02MAPPARATUS FOR CONVERSION BETWEEN AC AND AC, BETWEEN AC AND DC, OR BETWEEN DC AND DC, AND FOR USE WITH MAINS OR SIMILAR POWER SUPPLY SYSTEMS; CONVERSION OF DC OR AC INPUT POWER INTO SURGE OUTPUT POWER; CONTROL OR REGULATION THEREOF
    • H02M1/00Details of apparatus for conversion
    • H02M1/08Circuits specially adapted for the generation of control voltages for semiconductor devices incorporated in static converters
    • H02M1/088Circuits specially adapted for the generation of control voltages for semiconductor devices incorporated in static converters for the simultaneous control of series or parallel connected semiconductor devices
    • HELECTRICITY
    • H02GENERATION; CONVERSION OR DISTRIBUTION OF ELECTRIC POWER
    • H02MAPPARATUS FOR CONVERSION BETWEEN AC AND AC, BETWEEN AC AND DC, OR BETWEEN DC AND DC, AND FOR USE WITH MAINS OR SIMILAR POWER SUPPLY SYSTEMS; CONVERSION OF DC OR AC INPUT POWER INTO SURGE OUTPUT POWER; CONTROL OR REGULATION THEREOF
    • H02M1/00Details of apparatus for conversion
    • H02M1/08Circuits specially adapted for the generation of control voltages for semiconductor devices incorporated in static converters
    • H02M1/088Circuits specially adapted for the generation of control voltages for semiconductor devices incorporated in static converters for the simultaneous control of series or parallel connected semiconductor devices
    • H02M1/096Circuits specially adapted for the generation of control voltages for semiconductor devices incorporated in static converters for the simultaneous control of series or parallel connected semiconductor devices the power supply of the control circuit being connected in parallel to the main switching element
    • HELECTRICITY
    • H02GENERATION; CONVERSION OR DISTRIBUTION OF ELECTRIC POWER
    • H02MAPPARATUS FOR CONVERSION BETWEEN AC AND AC, BETWEEN AC AND DC, OR BETWEEN DC AND DC, AND FOR USE WITH MAINS OR SIMILAR POWER SUPPLY SYSTEMS; CONVERSION OF DC OR AC INPUT POWER INTO SURGE OUTPUT POWER; CONTROL OR REGULATION THEREOF
    • H02M3/00Conversion of DC power input into DC power output
    • H02M3/02Conversion of DC power input into DC power output without intermediate conversion into AC
    • H02M3/04Conversion of DC power input into DC power output without intermediate conversion into AC by static converters
    • H02M3/10Conversion of DC power input into DC power output without intermediate conversion into AC by static converters using discharge tubes with control electrode or semiconductor devices with control electrode
    • H02M3/145Conversion of DC power input into DC power output without intermediate conversion into AC by static converters using discharge tubes with control electrode or semiconductor devices with control electrode using devices of a triode or transistor type requiring continuous application of a control signal
    • H02M3/155Conversion of DC power input into DC power output without intermediate conversion into AC by static converters using discharge tubes with control electrode or semiconductor devices with control electrode using devices of a triode or transistor type requiring continuous application of a control signal using semiconductor devices only
    • HELECTRICITY
    • H03ELECTRONIC CIRCUITRY
    • H03KPULSE TECHNIQUE
    • H03K17/00Electronic switching or gating, i.e. not by contact-making and –breaking
    • H03K17/51Electronic switching or gating, i.e. not by contact-making and –breaking characterised by the components used
    • H03K17/56Electronic switching or gating, i.e. not by contact-making and –breaking characterised by the components used by the use, as active elements, of semiconductor devices
    • H03K17/567Circuits characterised by the use of more than one type of semiconductor device, e.g. BIMOS, composite devices such as IGBT
    • HELECTRICITY
    • H02GENERATION; CONVERSION OR DISTRIBUTION OF ELECTRIC POWER
    • H02MAPPARATUS FOR CONVERSION BETWEEN AC AND AC, BETWEEN AC AND DC, OR BETWEEN DC AND DC, AND FOR USE WITH MAINS OR SIMILAR POWER SUPPLY SYSTEMS; CONVERSION OF DC OR AC INPUT POWER INTO SURGE OUTPUT POWER; CONTROL OR REGULATION THEREOF
    • H02M3/00Conversion of DC power input into DC power output
    • H02M3/02Conversion of DC power input into DC power output without intermediate conversion into AC
    • H02M3/04Conversion of DC power input into DC power output without intermediate conversion into AC by static converters
    • H02M3/10Conversion of DC power input into DC power output without intermediate conversion into AC by static converters using discharge tubes with control electrode or semiconductor devices with control electrode
    • H02M3/145Conversion of DC power input into DC power output without intermediate conversion into AC by static converters using discharge tubes with control electrode or semiconductor devices with control electrode using devices of a triode or transistor type requiring continuous application of a control signal
    • H02M3/155Conversion of DC power input into DC power output without intermediate conversion into AC by static converters using discharge tubes with control electrode or semiconductor devices with control electrode using devices of a triode or transistor type requiring continuous application of a control signal using semiconductor devices only
    • H02M3/156Conversion of DC power input into DC power output without intermediate conversion into AC by static converters using discharge tubes with control electrode or semiconductor devices with control electrode using devices of a triode or transistor type requiring continuous application of a control signal using semiconductor devices only with automatic control of output voltage or current, e.g. switching regulators
    • H02M3/158Conversion of DC power input into DC power output without intermediate conversion into AC by static converters using discharge tubes with control electrode or semiconductor devices with control electrode using devices of a triode or transistor type requiring continuous application of a control signal using semiconductor devices only with automatic control of output voltage or current, e.g. switching regulators including plural semiconductor devices as final control devices for a single load
    • HELECTRICITY
    • H03ELECTRONIC CIRCUITRY
    • H03KPULSE TECHNIQUE
    • H03K2217/00Indexing scheme related to electronic switching or gating, i.e. not by contact-making or -breaking covered by H03K17/00
    • H03K2217/0063High side switches, i.e. the higher potential [DC] or life wire [AC] being directly connected to the switch and not via the load
    • HELECTRICITY
    • H03ELECTRONIC CIRCUITRY
    • H03KPULSE TECHNIQUE
    • H03K2217/00Indexing scheme related to electronic switching or gating, i.e. not by contact-making or -breaking covered by H03K17/00
    • H03K2217/0072Low side switches, i.e. the lower potential [DC] or neutral wire [AC] being directly connected to the switch and not via the load
    • HELECTRICITY
    • H03ELECTRONIC CIRCUITRY
    • H03KPULSE TECHNIQUE
    • H03K2217/00Indexing scheme related to electronic switching or gating, i.e. not by contact-making or -breaking covered by H03K17/00
    • H03K2217/0081Power supply means, e.g. to the switch driver

Landscapes

  • Engineering & Computer Science (AREA)
  • Power Engineering (AREA)
  • Dc-Dc Converters (AREA)
  • Power Conversion In General (AREA)
  • Electronic Switches (AREA)
  • Physics & Mathematics (AREA)
  • Nonlinear Science (AREA)

Description

本発明は、少なくとも1つの第1パワー半導体スイッチを有するパワーエレクトロニクスデバイス、特に電力コンバータに関する。また、第1パワー半導体スイッチを駆動するために、パワーエレクトロニクスデバイスは駆動回路を備える。
本発明はまた、パワー半導体スイッチの駆動回路に電圧を供給するための方法に関する。
パワーエレクトロニクスデバイスは、例えば、降圧コンバータ、昇圧コンバータ、または昇圧/降圧コンバータあるいはインバータであり得る。このような電力コンバータは、入力側に存在する電圧を変換するために電力コンバータによって適宜切り替えられるパワー半導体スイッチを備える。このパワー半導体スイッチを駆動するために、制御信号がパワー半導体スイッチの制御入力に印加される。制御入力は、例えば、IGBT(絶縁ゲートバイポーラトランジスタ)またはMOSFET(金属酸化膜半導体電界効果トランジスタ)のゲート接続であり得る。マイクロプロセッサなどの集積回路(クロックジェネレータや信号ジェネレータとも呼ばれる)が、パワー半導体スイッチの駆動信号を生成するためによく使用される。しかしながら、これらの集積回路が供給する出力電流や出力電圧は、ほとんどの場合、パワー半導体スイッチを直接駆動するのに十分ではない。そこで、クロックジェネレータとパワー半導体スイッチとの間に駆動回路(ドライバ回路)を設け、クロックジェネレータの駆動信号から十分な電流と電圧の制御信号を生成し、ドライバ出力でパワー半導体スイッチの制御入力に前記制御信号を供給するようにしている。駆動信号および制御信号は、いわゆるパルス幅変調された駆動/制御信号であり得る。ここで、駆動/制御信号のパルスパターンは、変調変数および制御変数を介してクロックジェネレータで生成することができる。変調変数は、周期的、三角形、または鋸歯状の電圧プロファイルを有することができ、制御変数は、制御変数に対応する電圧値で一定のコースを有し得る。パルス幅変調駆動信号のパルスパターンは、制御変数と変調変数との比較を通じて生成することができ、クロックジェネレータは、変調変数の周波数および大きさと制御値の大きさに関して、電力コンバータの現在の動作状態に従って、例えば電力コンバータのコントローラによって制御される。別の方法として、制御信号は、固定のデューティサイクルを有するか、従属電流制御(電流モード)を介して生成されるか、またはスイッチング閾値および/または固定のオンまたはオフ時間に応じて他の方法で生成されてもよく、ここでスイッチング周波数も可変であり得る。クロックジェネレータと駆動回路は、共通の部品に組み込まれてもよい。それらを保護するために、または逆導通機能のために、パワー半導体スイッチは、それぞれボディダイオードを有するか、極性がボディダイオードに対応するダイオードを有し得る。
電気機器の動作中および起動時の両方で、必要な構成要素、例えば電力コンバータのコントローラやそのパワー半導体スイッチの駆動回路に電力を供給する必要がある。電力コンバータの起動時に、例えば、電力コンバータの入力の第1接続部と第2接続部の間にDC電圧が印加され、このDC電圧は、例えば太陽電池モジュールやこのようなモジュールの直列接続(ストリング)などのDCジェネレータによって提供される。このように印加されたDC電圧は、例えば起動時に必要な構成要素に給電するために使用され得る。
本発明は、パワーエレクトロニクスデバイスの少なくとも1つの駆動回路への電圧の供給に関する。本発明はまた、パワー半導体スイッチの駆動回路に電圧を供給するための方法に関する。例えばMOSFETやIGBTなどのパワー半導体スイッチ用の駆動回路は、パワー半導体スイッチの基準電位接続の電位に関連して、通常10~20ボルトの電圧供給を必要とする。基準電位接続は、例えば、バイポーラトランジスタやIGBTの場合はエミッタ接続、MOSFETの場合はソース接続となる。パワー半導体スイッチの駆動回路は、電力コンバータのオンボード電源の起動前から動作する必要があり、またはオンボード電源の一部となっているため、特に供給が困難である。
フライバックコンバータなどの電力コンバータの入力電圧から高抵抗の抵抗を介して駆動回路(PWMコントローラ)を内蔵したクロックジェネレータの供給コンデンサを充電し、並列ツェナーダイオードを介してコンデンサ電圧を制限することが知られている。しかしこの方式は効率が悪く、例えば400Vの入力電圧と15Vの必要なドライバ電圧では、わずか15V/400V=3.8%の効率しか得られない。したがって、この既知の構成は、フライバックコンバータの起動にしか適していない。
本発明は、冒頭で述べたタイプのパワーエレクトロニクスデバイス、特に冒頭で述べたタイプの電力コンバータ、および冒頭で述べたタイプの方法を規定するという目的に基づいている。これにより、パワーエレクトロニクスデバイスまたはパワー半導体スイッチの少なくとも1つの動作モードに適した方法で、パワー半導体スイッチの少なくとも1つの駆動回路に電圧を供給することが可能になる。
本発明によれば、この目的は、冒頭で述べたタイプのパワーエレクトロニクスデバイスの場合、駆動回路に電圧を供給するための電気補助回路構成を含み、この補助回路構成が、供給コンデンサと補助コンデンサ、通常オフの補助半導体スイッチ、ダイオード、およびブートストラップダイオードで構成されることによって達成される。この場合、補助半導体スイッチは、第1の接続点を介して第1パワー半導体スイッチの基準電位接続部に接続される。第1の接続点を起点に、ダイオード、第2の接続点、補助コンデンサの直列接続が、補助半導体スイッチと並列に配置され、補助半導体スイッチがオフ状態のときに、パワー半導体スイッチを流れる電流によって補助コンデンサが充電されるようになっている。その電圧供給のために、駆動回路は供給コンデンサに接続され、この供給コンデンサは、第1の接続部がブートストラップダイオードを介して第2の接続部に、第2の接続部が基準電位接続部にそれぞれ電気的に接続され、それによって、補助半導体スイッチがオン状態にあり、補助コンデンサが少なくとも部分的に充電されている場合、供給コンデンサが、ブートストラップダイオードを介して補助コンデンサによって充電される。
本発明によれば、この目的は、冒頭で述べたタイプのパワーエレクトロニクスデバイスの場合、パワーエレクトロニクスデバイスの主機能のために主回路に統合された補助スイッチを含む補助回路を用いて達成される。例として、電力コンバータの主機能は、電流を整流することである。この場合の補助スイッチは、第1パワー半導体スイッチの駆動回路、および場合によってはさらなるパワー半導体スイッチの駆動回路に電力を供給するためにのみ機能し、主機能を果たす第1パワー半導体スイッチとは対照的に、パワーエレクトロニクスデバイスまたは電力コンバータの主機能に全くまたは本質的に影響を与えない。補助コンデンサから供給コンデンサを充電するために補助スイッチが閉じている(つまりオン状態にある)期間は、オン状態の補助スイッチが本質的に電気接続のように動作するので、いかなる場合でもパワーエレクトロニクスデバイスまたは電力コンバータのこの主機能に干渉しない。パワーエレクトロニクスデバイスまたは電力コンバータの起動時、つまり休止状態のパワーエレクトロニクスデバイスまたは電力コンバータの起動プロセス中に、例えばDCジェネレータからのDC電圧がパワーエレクトロニクスデバイスの入力に印加されるため、基準電位接続と第1パワー半導体スイッチのさらなる主接続との間で、DC電圧が第1パワー半導体スイッチに印加される。起動時に、補助スイッチは、起動時にまだ存在しないため、パワーエレクトロニクスデバイスまたは電力コンバータ自体の主機能に干渉することはない。パワーエレクトロニクスデバイスまたは電力コンバータの動作中、第1パワー半導体スイッチは高周波数で切り替えられる。第1パワー半導体スイッチがオフ状態にある場合、つまりオン状態にない場合、補助スイッチは、そのスイッチ状態に応じて、電気接続の一部分のように、または第1パワー半導体スイッチ自体のように動作し、補助スイッチのそれぞれのスイッチング状態に関係なく、パワーエレクトロニクスデバイスまたは電力コンバータの主機能が影響を受けないようにすることができる。第1パワー半導体スイッチが閉じている場合、すなわちオン状態である場合、主回路の電力経路の電流は第1パワー半導体スイッチを通って流れる。駆動回路のエネルギー需要は低いため、またその電流のため、補助スイッチがオフ状態にある時間間隔が十分に短く保たれ、主機能に大きな影響を与えないようにするため、主回路は補助装置の充電によって大きく影響されない。
起動時に、補助コンデンサは、第1パワー半導体スイッチと第1のダイオードを介して充電することができ、ここで第1パワー半導体スイッチは、通常オンまたは通常オフであり得る。いずれの場合も、第1パワー半導体スイッチは、オフスイッチング状態でリーク電流を発生し得る。通常、第1パワー半導体スイッチは通常オフであり、オフスイッチング状態では、パワー半導体スイッチの2つの主接続、すなわち基準電位接続とパワー半導体スイッチのさらなる主接続の間に電圧が印加されるとリーク電流が生じる。リーク電流は、適切な電圧が存在する場合に、パワー半導体スイッチがオフにされたときに部品を流れる残留電流である。この残留電流は、パワー半導体スイッチを通る正規の流れ方向に流れるか、またはパワー半導体スイッチのボディダイオード、またはパワー半導体スイッチに含まれボディダイオードと同じ極性を有する補助ダイオードを通る逆方向に流れる。パワーエレクトロニクスデバイスまたは電力コンバータの動作中、補助コンデンサも同様に、第1パワー半導体スイッチがオフ状態にある期間と、第1パワー半導体スイッチがオン状態にある期間に、第1パワー半導体スイッチのリーク電流を介して、第1パワー半導体スイッチを定常的に流れる電流の割合によって充電され得る。補助半導体スイッチがオンになるたびに、補助コンデンサはその電荷の少なくとも一部を供給コンデンサに放出し、実際の駆動回路がそこから給電できるようにする。起動時の供給コンデンサの充電時間を短縮するために、供給コンデンサと補助コンデンサに追加の充電電流が供給されるように、起動抵抗器を追加で配置してもよい。起動抵抗器の1つの接続は、例えば、第1パワー半導体スイッチのさらなる主接続に電気的に接続され、起動抵抗器の第2の接続は、駆動回路の供給コンデンサの第1の接続に電気的に接続され得る。
本発明によれば、補助コンデンサから供給コンデンサを充電することによって第1パワー半導体スイッチの駆動回路に電圧が供給され、補助コンデンサは、パワーエレクトロニクスデバイスまたは電力コンバータの動作中に、第1パワー半導体スイッチを流れる電流(リーク電流または第1パワー半導体スイッチがオン状態にあるときの電流)によって充電される。本発明のパワーエレクトロニクスデバイスまたは本発明の電力コンバータは、第1パワー半導体スイッチの駆動回路に電圧を供給することが可能であり、その電圧供給は、その良好な効率により、パワーエレクトロニクスデバイスまたは電力コンバータの起動時と動作中の両方に適している。
電力コンバータの主機能のための第1パワー半導体スイッチを有する主回路へ補助回路構成の補助スイッチを組み込むのを説明するために、例示的な実施形態による電力コンバータは、入力および出力を有し、ここで第3の接続点が入力の第1の接続部に電気的に接続され、第4の接続点が入力の第2の接続部に接続され、第1の接続分岐が第3の接続点から第4の接続点まで延びる。例示的な実施形態によれば、第3の接続点から出発して、第1の接続分岐は、第1パワー半導体スイッチ、第1の接続点、および通常オフの補助スイッチを直列接続で有する。例示的な実施形態によれば、第2の電気接続分岐は、第4の接続点から第5の接続点まで延在し、第4の接続点から出発して、補助コンデンサ、第2の接続点、ダイオード、第1の接続点、および供給コンデンサを直列で有し、第5および第2の接続点は、ブートストラップダイオードを介して第2の接続分岐と並列に電気的に接続されている。例示的な実施形態によれば、電力コンバータは、ドライバ出力が第1パワー半導体スイッチの制御入力に電気的に接続された駆動回路をさらに含み、この駆動回路は、その電圧供給用の供給コンデンサと並列に接続されている。例示的な実施形態によれば、電力コンバータはまた、比較器出力が補助スイッチの制御入力に接続された比較器回路を具えてもよく、この比較器回路は、補助コンデンサの充電電圧に基づいてその比較器出力に制御信号を提供するように設計される。ここでダイオードの順方向は、電力コンバータの少なくとも1つの第1の動作状態において、補助スイッチがオフ状態のときにダイオードおよび第1パワー半導体スイッチを介して補助コンデンサが充電されるように構成され、ブートストラップダイオードの順方向は、少なくとも1つの第2の動作状態において、補助スイッチがオン状態にあるときに供給コンデンサがブートストラップダイオードを介して補助コンデンサによって充電されるように構成される。
本発明の有利な実施形態は、以下の説明および従属請求項に記載されており、その特徴は、個別に、および互いに任意の組み合わせで適用することができる。
有利には、補助回路構成は、補助コンデンサの充電電圧に基づいて補助半導体スイッチの制御入力で補助半導体スイッチを切り替えるための制御信号を提供するように設計および構成された駆動回路を具え得る。
補助スイッチは通常オフであるため、補助コンデンサは最初に第1パワー半導体スイッチを介して充電され、制御信号は補助コンデンサから供給コンデンサを充電するためにのみ、駆動回路によって補助スイッチの制御入力に提供されなければならないので、駆動回路は補助コンデンサから自身の電圧供給を得ることができる。補助スイッチは、補助コンデンサが駆動回路に給電するのに十分な電圧まで充電されると閉じ、充電電圧が低くなると再び開く(ヒステリシス)ことができ、補助コンデンサが、補助スイッチがオン状態にあるときはいつでも、ブートストラップ原理に従ってブートストラップダイオードを介して、第1パワー半導体スイッチの駆動回路用の供給コンデンサに給電する。補助回路構成は、第1パワー半導体スイッチが最初にオン状態になった後、供給コンデンサが充電されて駆動回路に供給され、その結果、第1パワー半導体スイッチがクロック駆動されると、高い電流が補助回路に流れ、補助コンデンサと供給コンデンサが継続的に再充電されるように設計され得る。駆動回路は、特に、補助コンデンサの充電電圧が第1の閾値を超えると、補助スイッチをオン状態にする制御信号をその制御入力に提供するように設計および構成され得る。第1の閾値は、駆動回路の供給電圧に対応するか、実質的に対応している。本出願の文脈において、「駆動回路の供給電圧」という用語は、駆動回路に印加される電圧や、駆動回路用の供給コンデンサによって提供される電圧を意味するものではなく、むしろ駆動回路で使用されるコンポーネントに依存して、第1パワー半導体スイッチを駆動するのに適した電圧値を意味する。駆動回路の供給電圧は、例えば、構成要素に由来する駆動回路の最小供給電圧と構成要素に由来する最大供給電圧との間であってもよいし、構成要素に由来する所定の電圧値であってもよく、特に、駆動回路に供給するための第1パワー半導体スイッチに基づいて適切に選択された電圧値であり得る。補助スイッチおよび補助回路構成は、補助スイッチがオン状態になることによって第1の閾値に達したときに過度に高い電圧から保護されるので、補助回路構成のすべての構成要素は、このより低い電圧以下のためにのみ設計することができ、補助回路構成に安価なコンポーネントを使用することが可能になる。
駆動回路は、補助コンデンサの充電電圧が第1の閾値を超えたときに補助半導体スイッチの制御入力で補助半導体スイッチをオン状態にする制御信号を提供し、補助コンデンサの充電電圧が第1の閾値よりも低い第2の閾値を下回ったときに補助半導体スイッチの制御入力で補助半導体スイッチをオフ状態にする制御信号を提供するように設計および構成されていることも有利であり得る。ここで、第1の閾値は、少なくとも駆動回路の供給電圧に対応する。
補助スイッチは通常オフの補助スイッチであるため、遮断制御信号は、例えば、存在しない制御信号であり得る。本発明の文脈において、これは「ブロッキング制御信号」とも呼ばれる。言い換えれば、補助コンデンサの充電電圧が第2の閾値を下回ると、駆動回路は、補助半導体スイッチの制御入力に制御信号を提供することはなく、これはスイッチのタイプによるが、補助半導体スイッチのブロッキング効果を同様に有し得る。「オン状態への切り替え」とは、補助半導体スイッチを閉スイッチ状態、すなわち供給コンデンサが補助コンデンサによって充電されるように導電スイッチ状態にする制御信号を意味する。
第1の閾値は、少なくとも第1パワー半導体スイッチの駆動回路の供給電圧の電圧値に対応してもよい。「駆動回路の供給電圧」という用語の意味については、上記の説明を参照されたい。第1の閾値は、特に、この供給電圧と等しいかわずかに高く(例えば、ブートストラップダイオードの順方向電圧によって高くなる)、その結果、動作中に供給コンデンサが補助コンデンサによって充電されるとき、本質的に駆動回路への供給電圧が前記供給コンデンサで発生する。パワーエレクトロニクスデバイスの駆動回路の有利な実施形態は、供給コンデンサが補助コンデンサによって充電されるときの補助スイッチのスイッチング動作の不安定性を回避するヒステリシス機能を有する。
本発明の1つの有利な実施形態によれば、駆動回路は、2レベルレギュレータ、特に比較回路、またはモノフロップ、またはPWMコントローラ、または周波数コントローラであり得る。
本発明の有利な実施形態は、標準的な構成要素で実施することができる。例えば比較回路は、反転入力および非反転入力と、補助スイッチの制御入力に接続された出力とを具えた従来のコンパレータを含むことができる。ヒステリシス動作のために、正のフィードバック抵抗がコンパレータの出力と非反転入力の間に電気的に組み込まれる。
さらに、駆動回路が補助コンデンサを介して電圧供給されるように設計・構成され、補助コンデンサに電気的に接続されていることが有利であり得る。
補助コンデンサを介した駆動回路への電力供給は特に効率的である。一例として、駆動回路は補助コンデンサと並列に接続することができる。比較回路として設計する場合、駆動回路は、2つの電源接続部で補助コンデンサと並列に接続されたコンパレータを含み得る。補助コンデンサの充電電圧は、回路を介してコンパレータの非反転入力に印加され、コンパレータの反転入力には基準電圧を印加することができる。例として、逆方向のツェナーダイオード、第8の接続点、および抵抗器からなる直列接続が、補助コンデンサと並列に配置され、コンパレータの非反転入力が第8の接続点に接続され、コンパレータの反転入力が基準電位に接続される。
また、補助半導体スイッチが第1パワー半導体スイッチと同じ極性を有することが有利であり得る。
さらに、第1パワー半導体スイッチは、通常オフになるように設計され、オフスイッチング状態において、第1の半導体スイッチの基準電位接続部とさらなる主接続部との間に電圧が印加されたときにリーク電流があると有利であり得る。
第1パワー半導体スイッチは、基準電位接続、さらなる主接続、および制御入力を有する。通常オフの第1パワー半導体スイッチの一例として、第1パワー半導体スイッチはnチャネルMOSFETとして実施することができ、基準電位接続はMOSFETのソース接続であってよく、さらなる主接続はMOSFETのドレイン接続であり得る。
本発明の前述の有利な実施形態の代替として、第1パワー半導体スイッチは、通常オフになるように設計され、起動抵抗器を具えてもよい。起動抵抗器は、第1の接続によって第1パワー半導体スイッチのさらなる主接続に接続され、第2の接続によって供給コンデンサの接続に接続され得る。
通常オフの第1パワー半導体スイッチにリーク電流がある場合、起動抵抗器は、起動時間を有利に短縮することができる。通常オフの第1パワー半導体スイッチにリーク電流がない場合、起動抵抗により、起動時に供給コンデンサと補助コンデンサを充電できるため、補助半導体スイッチがオフ状態のとき、起動抵抗器を通る電流の流れによって起動時に補助コンデンサが充電され、その後の動作中に第1パワー半導体スイッチを通る電流の流れによって補助コンデンサが充電される。
さらに、補助回路構成、特に補助半導体スイッチが、少なくとも1つの駆動回路を供給するためだけに機能すると有利であり得る。
本発明のこの実施形態は、補助スイッチが、主機能を果たす第1パワー半導体スイッチと同様に、パワーエレクトロニクスデバイスまたは電力コンバータの主機能に影響を及ぼさない、または本質的に影響を及ぼさないことを明らかにするのに役立つ。補助スイッチは、パワーエレクトロニクスデバイスの主機能のために主回路に統合されているが、それ故、しかしながら、パワーエレクトロニクスデバイスまたは電力コンバータのパワー半導体スイッチには含まれず、これらは、電力コンバータの場合、電力コンバータの主たる電流整流機能を果たすように配置され構成されている。
本発明の1つの有利な実施形態は、駆動回路がクロックジェネレータと統合されるように設計され、クロックジェネレータが駆動回路によって提供される制御信号のパルスパターンを生成するように設計されることがある。
これにより、部品に必要なスペースと、パワーエレクトロニクスデバイスの製造コストが削減される。
別の方法として、パルスパターンを回路の別の部分で生成し、直接またはガルバニック絶縁を使用して(例えば、オプトカプラを介して)駆動回路に供給してもよい。
また、パワーエレクトロニクスデバイスが、第3の接続点を起点として、ハイサイドパワー半導体スイッチ、分岐点、およびローサイドパワー半導体スイッチからなる直列接続と、第4の接続点とでなるハーフブリッジを具え、ローサイドパワー半導体スイッチが第1パワー半導体スイッチとして設計され、パワーエレクトロニクスデバイスが特にDC/DCコンバータまたはインバータであることが有利であり得る。
補助スイッチは、分岐点の上または下に第1パワー半導体スイッチと一緒に配置される。本発明による実施形態によれば、パワーエレクトロニクスデバイスは、ローサイドパワー半導体スイッチを駆動するための駆動回路に電圧を供給するための少なくとも1つの補助回路構成を具える。これにより、起動時および動作中にローサイドパワー半導体スイッチの駆動回路に電圧を供給することができる。パワーエレクトロニクスデバイスは、第3の接続点または分岐点への接続によって接続され、ローサイドパワー半導体スイッチを駆動するための駆動回路に電圧を供給するための補助回路構成の供給コンデンサの第1の接続部へのさらなる接続によって接続される起動抵抗器を具えてもよい。
電力コンバータがインバータである場合、これは例えば単相インバータであり、2つのハーフブリッジからなるフルブリッジ(いわゆるHブリッジ)を含み、チョークが一方または両方の分岐点の下流に接続されている。このインバータは、例えば三相インバータであり、各相にハーフブリッジを具え、チョークが3つの分岐点の下流にそれぞれ接続されてもよい。電力コンバータが双方向DC/DCコンバータである場合、チョークが接続された分岐点の下流にハーフブリッジを含んでもよい。ハーフブリッジを使用すると、電流の方向に関係なく電圧を設定することができる。これにより、エネルギーを両方向に伝送することができる。したがって、電力コンバータの入力と出力という用語は、用いるときに任意に選択される。インバータでは、入力側をDC側、出力側をAC側としている。インバータのローサイドパワー半導体スイッチの駆動回路に電圧を供給するために、本発明による実施形態によれば、各ローサイドパワー半導体スイッチに対して別個の補助回路構成と別個の補助スイッチを含めることができる。
1つまたは複数の直列接続または並列接続されたリンク回路コンデンサを介して第3の接続点を第4の接続点に接続する電気接続を有するリンク回路を具えることも有利であると考えられる。
さらに、有利には、ハイサイドパワー半導体スイッチとローサイドパワー半導体スイッチの両方が、それぞれのパワー半導体スイッチを駆動するための駆動回路を含み、それぞれが駆動回路への電圧を供給するための別個の電気補助回路構成を具え、ハイサイドパワー半導体スイッチとローサイドパワー半導体スイッチの両方がそれぞれ第1パワー半導体スイッチとして設計されるようにしてもよい。
代替例として、ハイサイドパワー半導体スイッチを駆動するための駆動回路と、この駆動回路に電圧を供給するための供給コンデンサとを具え、供給コンデンサがハイサイドパワー半導体スイッチの基準電位接続部に電気的に接続され、ローサイドパワー半導体スイッチを駆動するための駆動回路に電圧を供給するために、追加のブートストラップダイオードを介して、補助回路構成に含まれる供給コンデンサの第1の接続部へさらに電気的に接続されることが有利であり得る。
また、ハイサイドおよびローサイドパワー半導体スイッチが通常オフであり、オフスイッチング状態では、それらの基準電位接続とそれらのさらなる主接続との間に電圧が印加されたときにリーク電流を有することが有利であり得る。
本発明のさらなる目的は、パワー半導体スイッチの少なくとも1つの動作モードに適した方法で、パワー半導体スイッチの少なくとも1つの駆動回路に電圧を供給することが可能な、駆動回路への電圧供給方法を特定することである。
この目的のために、駆動回路は供給コンデンサによって電圧が供給され、この供給コンデンサを充電するために、通常オフの補助スイッチのオフスイッチング状態中にパワー半導体スイッチを流れる電流によって補助コンデンサが充電される。供給コンデンサは、通常オフの補助スイッチがオン状態のときに補助コンデンサによって充電される。
このように、補助コンデンサは、いずれにしてもパワー半導体スイッチを流れる電流またはその一部を介して充電することができ、この補助コンデンサの充電は特にエネルギー効率に優れている。このようにして補助コンデンサに蓄積された電気エネルギーは、少なくとも部分的に供給コンデンサに供給するために、したがって最終的にはパワー半導体スイッチを駆動するために使用され、また、例えば補助スイッチの駆動や、少なくとも1つのさらなる駆動回路の少なくとも1つのさらなる供給コンデンサへの供給に使用され得る。パワー半導体スイッチを流れる電流は、例えば起動時のリーク電流であってもよいし、パワー半導体スイッチの動作中の動作電流であってもよく、この方法は、パワー半導体スイッチの起動時および動作時の両方に適している。パワー半導体スイッチは、第1パワー半導体スイッチとも呼ばれる。この方法は、請求項1から14のいずれか一項に記載のデバイスを用いて実施することができ、この方法で使用されるパワー半導体スイッチは、デバイスの第1パワー半導体スイッチである。
通常オフの補助スイッチがパワー半導体の基準電位接続部に接続され、その結果、第1ステップにおいて、補助スイッチがオフ状態にあるとき、パワー半導体スイッチを流れる電流の少なくとも一部が補助コンデンサへと迂回してこれを少なくとも部分的に充電し、第2ステップにおいて、補助スイッチはオン状態になり、補助コンデンサの電荷の少なくとも一部が供給コンデンサに放出され、第3ステップにおいて、補助スイッチがオフスイッチング状態に戻される。この3つのステップを複数回繰り返すことによって電力が供給コンデンサに供給され、動作中に駆動回路に供給される。
補助コンデンサの充電電圧に基づいて補助スイッチがオン状態になると有利であり得る。
この手順は、パワー半導体スイッチを流れる電流の現在値に依存しないため、パワー半導体スイッチの起動時と動作時の両方に適している。
補助コンデンサの充電電圧が第1の閾値を超えたときに補助スイッチがオン状態になり、補助コンデンサの充電電圧が第2の閾値を下回ったときに補助スイッチがオフ状態になると有利であり得る。ここで、第2の閾値は、第1の閾値よりも低い。
この方法の有利な実施形態では、補助スイッチのスイッチング動作が同時に安定している間、補助コンデンサによって供給コンデンサを充電することが可能である。第1の閾値は、少なくともパワー半導体スイッチの駆動回路の供給電圧の電圧値に対応してもよい。特に、第1の閾値は、動作中に、供給コンデンサが補助コンデンサによって充電されるとき、実質的に駆動回路の供給電圧が供給コンデンサで発生するように、供給電圧の電圧値に等しいかわずかに高くてもよい。本出願の文脈において、「駆動回路の供給電圧」という用語は、駆動回路に印加される電圧または駆動回路のために供給コンデンサによって提供される電圧を意味するのではなく、駆動回路に用いられる部品により、パワー半導体スイッチの駆動に適した電圧値を意味することを意図している。駆動回路の供給電圧は、例えば、駆動回路の構成要素に応じた最小供給電圧と構成要素に応じた最大供給電圧との間であってもよいし、構成要素に起因する所定の電圧値であってもよいし、特に、駆動回路に供給するためのパワー半導体スイッチに基づいて適切に選択された電圧値であってもよい。
また、本方法が、請求項1から14のいずれか一項に記載のパワーエレクトロニクスデバイスを使用して実行されることも有利であると考えられる。
これにより、デバイスの起動時および動作中の両方で、エネルギー効率の高い方法で、少なくとも第1パワー半導体スイッチの駆動回路に電圧を供給することができる。
本発明のさらなる好適な実施形態および利点が、図面を参照しながら本発明の例示的な実施形態の説明に記載され、ここで同じ参照符号は機能的に同一の構成要素を指す。
図1は、従来技術による昇圧コンバータを概略的に示す。 図2は、従来技術による降圧コンバータを概略的に示す。 図3は、従来技術によるハーフブリッジ構成を概略的に示す。 図4は、従来技術によるインバータを概略的に示す。 図5は、本発明の第1の例示的な実施形態による昇圧コンバータを概略的に示す。 図6は、本発明の第2の例示的な実施形態によるハーフブリッジ構成を概略的に示す。 図7は、本発明の第3の例示的な実施形態によるハーフブリッジ構成を概略的に示す。 図8は、本発明の第4の例示的な実施形態による方法のフローチャートを示す。
図1は、従来技術によるパワーエレクトロニクスデバイス1aの概略図を開示し、これは昇圧コンバータ1の形態をとる電力コンバータ1bである。例えば昇圧コンバータ1のハウジングなどの詳細は、明確のために図示していない。昇圧コンバータ1の入力2には、DC電圧を提供するDC電圧発生器3が接続されている。昇圧コンバータ1は、チョーク4、ダイオード5、およびパワー半導体スイッチ6を具える。入力2に存在するDC電圧を出力7に供給されるより高いDC電圧に変換するために、パワー半導体スイッチ6が駆動回路(図示せず)によって駆動され、矢印8の方向に電気エネルギーの流れを生じさせるように適宜切り替えられる。
図2は、従来技術による降圧コンバータ9の形態の電力コンバータの概略図を開示している。DC電圧源10は、降圧コンバータの入力2に接続されている。降圧コンバータ9は、パワー半導体スイッチ6、ダイオード5、およびチョーク4を備える。入力2に存在するDC電圧を、出力7に提供されるより低いDC電圧に変換するために、パワー半導体スイッチ6は、矢印11の方向に電気エネルギーの流れを生じさせるように、駆動回路(図示せず)によって駆動され、それに応じて切り替えられる。
図3は、従来技術によるハーフブリッジ構成14の形態の電力コンバータを概略的に示している。直流電圧は、ハーフブリッジ構成14を介して双方向に設定することができ、電気エネルギーの流れは、両方向矢印15の両方向に可能になる。このため、図中の電力コンバータの入力2と出力7の設定は任意に選択される。DC電圧源16は入力2に接続され、例えば、DC電圧源としても負荷としても動作可能な電池であり得る。DC電圧源18は出力7に接続され、例えば、DC側のソーラー設備(図示せず)およびAC側のAC電圧グリッド(図示せず)に接続されたインバータのリンク回路であり得る。DC電圧を設定するために、ハーフブリッジ構成14は、接続点21から接続点22まで延びるハーフブリッジ20と、チョーク25とを具える。ハーフブリッジ20は、ハイサイドパワー半導体スイッチ23およびローサイドパワー半導体スイッチ24からなる直列接続を具える。ハイサイドパワー半導体スイッチ23はダイオード26を含み、ローサイドパワー半導体スイッチ24はダイオード27を含む。DC電圧を設定するために、ハーフブリッジ20の2つのパワー半導体スイッチはそれぞれ、駆動回路(図示せず)によってそれらの制御入力で駆動され、その結果、必要に応じて、双方向矢印15の2つの方向のうちの一方に電気エネルギーの流れが生じる。
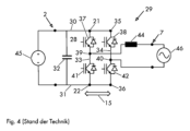
図4は、従来技術によるインバータ29の概略図を示している。インバータ29によってDC電圧をAC電圧に、またはその逆に変換することができ、電気エネルギーの流れは両方向矢印15の方向に実現し得る。このため、図中の電力コンバータの入力2と出力7の指定は任意に選択される。インバータ29は、リンク回路コンデンサ32を介して互いに接続された第1のリンク回路極30および第2のリンク回路極31を有するリンク回路28を具える。インバータ29は、第1のリンク回路極30に接続された接続点21または35と第2のリンク回路極31に接続された接続点22または36との間で延びる2つのハーフブリッジ33および34を具え、接続点21または35を起点として、それぞれがハイサイドパワー半導体スイッチ37または38、分岐点39または40、およびローサイドパワー半導体スイッチ41または42からなる直列接続を構成している。分岐点39は、出力7の方向にその下流に接続されたチョーク44を有する。DC電圧ジェネレータ45がインバータ29の入力2に接続され、AC電圧グリッド46がインバータ29の出力7に接続される。電圧を設定するために、パワー半導体スイッチを駆動してスイッチングするための駆動回路(図示せず)が、必要に応じて、両方向矢印15の両方向に電気エネルギーの流れが実現するように配置されている。
図5は、本発明の第1の例示的な実施形態による昇圧コンバータ48の形態の電力コンバータの概略図を示す。第1パワー半導体スイッチ6aを駆動するために、駆動回路49がパワー半導体スイッチ6aの制御入力51に接続されている。駆動回路49は、クロックジェネレータ50と一体的に構成されている。駆動回路49に電圧を供給するために、補助回路構成52が含まれており、これは供給コンデンサ53、補助コンデンサ54、通常オフの補助半導体スイッチ55、ダイオード56、およびブートストラップダイオード57とを具える。補助半導体スイッチ55は、第1の接続点58を介して第1パワー半導体スイッチ6aの基準電位接続59に接続され、昇圧コンバータ48の主回路に組み込まれている。第1の接続点58を起点として、ダイオード56、第2の接続点60、および補助コンデンサ54の直列接続を含み、補助半導体スイッチ55と並列に配置されている。駆動回路49は、その電圧供給のために供給コンデンサ53に接続されており、この供給コンデンサ53は、第1の接続61によってブートストラップダイオード57を介して第2の接続点60に、また第2の接続62によって基準電位接続59へ電気的に接続されている。
補助回路構成52は、補助半導体スイッチ55を駆動するための比較回路65として設計された駆動回路64をさらに具える。これは、2つの供給接続で補助コンデンサ54と並列に接続されている。また、逆方向のツェナーダイオード66、第8の接続点67、抵抗器68からなる直列接続が補助コンデンサ54と並列に配置され、比較回路65の非反転入力69が第8の接続点67に接続され、比較器回路65の反転入力(図示せず)が基準電位(図示せず)に接続されている。
昇圧コンバータ48の動作中および起動時の両方で、その必要な構成要素、例えば、駆動回路49に電力を供給する必要がある。起動時に、例えば、昇圧コンバータ48の入力2の第1の接続2aと第2の接続2bとの間に少なくともDC電圧が印加され、これは、例えばDCジェネレータ(図示せず)によって供給される。したがって、起動時には、第1パワー半導体スイッチ6aの基準電位接続59とさらなる主接続70との間にDC電圧が印加され、このDC電圧は第1パワー半導体スイッチ6aを通るリーク電流をもたらし、補助半導体スイッチ55がオフ状態のときに、補助コンデンサ54が、第1パワー半導体スイッチ6aを通る電流の流れによって充電される。補助コンデンサ54の電荷が第1の閾値を超えた場合、比較器回路65は、補助半導体スイッチ55の制御入力に制御信号を提供して補助半導体スイッチ55をオン状態とし、補助コンデンサ54が少なくとも部分的に充電されている場合に、供給コンデンサ53が、ブートストラップダイオード57を介して補助コンデンサ54によって充電される。この場合、補助コンデンサの充電量が第2の閾値を下回ると、比較回路が補助半導体スイッチ55の制御入力に制御信号を供給しなくなり、補助半導体スイッチ55が再びオフスイッチング状態に戻り、補助コンデンサが再充電されるようになる。昇圧コンバータ48の動作中、第1パワー半導体スイッチ6aに動作電流が流れ、充電プロセスを複数回繰り返すことによって、動作中に駆動回路49に電力を供給するために供給コンデンサ53に電力が供給される。起動時間を短縮するために、入力の第1の接続2aと供給コンデンサ53の第1の接続61とを電気的に接続する起動抵抗器63を任意に配置してもよい。
図6は、本発明の第2の例示的な実施形態によるハーフブリッジ構成72を概略図で示している。図6に示されるハーフブリッジ構成72と、図3に示される従来技術のハーフブリッジ構成14の違いは、本質的に以下で説明する。接続点21と22との間に延びるハーフブリッジ構成72のハーフブリッジ20aは、同様に、接続点21を起点として、ハイサイドパワー半導体スイッチ23a、分岐点39、およびローサイドパワー半導体スイッチ24aからなる直列接続を含み、図示の例示的な実施形態では、2つのパワー半導体スイッチがそれぞれボディダイオードを内蔵しており、補助半導体スイッチ55がハーフブリッジ20aに内蔵されている。ローサイドパワー半導体スイッチ24aの駆動回路49に給電するために、後者は第1パワー半導体スイッチとして設計されており、ローサイドパワー半導体スイッチ24aを駆動するための駆動回路49が、補助半導体スイッチ55を具える補助回路構成52を介して電圧供給されるようになっている。補助回路構成52に関しては、図5の説明を参照されたい。ハイサイドパワー半導体スイッチ23aを駆動するために、ハーフブリッジ構成72は、その電圧供給のために供給コンデンサ74に電気的に接続された駆動回路73を有する。ハイサイドパワー半導体スイッチ23aを駆動するための駆動回路73に電圧供給するための供給コンデンサ74を充電するために、後者は、接続75によってハイサイドパワー半導体スイッチ23aの基準電位接続59に電気的に接続され、さらなる接続76によって、さらなるブートストラップダイオード77を介して補助回路構成52に含まれる供給コンデンサ53の第1の接続61に電気的に接続される。したがって、図示の例示的な実施形態では、ハイサイドパワー半導体スイッチ23aを駆動するための駆動回路73も同様に、ハーフブリッジ構成72の動作中にエネルギー効率の良い方法で電力供給することができる。
図7は、本発明の第3の例示的な実施形態によるハーフブリッジ構成78を概略図で示している。図6の例示的な実施形態とは対照的に、ハイサイドパワー半導体スイッチ23aの駆動回路への電圧の代替供給が示されている。この目的のために、ハイサイドパワー半導体スイッチ23aおよびローサイドパワー半導体スイッチ24aの両方が、それぞれ第1パワー半導体スイッチとして設計されている。したがって、ハイサイドおよびローサイドのパワー半導体スイッチ23a、24aを駆動するための両方の駆動回路49a、49bは、別個の補助回路構成52a、52bを介して電圧供給される。したがって、この代替的な例示的実施形態は、同様に、ハーフブリッジ構成78の起動時および動作中に2つのパワー半導体スイッチを駆動するための駆動回路へのエネルギー効率のよい電圧供給を実現する。図6および図7のドライバ回路への電圧供給は、例えば、対応するように設計されたインバータブリッジを有する単相または三相インバータの場合には、複数のハーフブリッジを有するパワーエレクトロニクスデバイスに送ることもできる。
図8は、本発明の第4の例示的な実施形態による、パワー半導体スイッチの駆動回路に電圧を供給するための方法のフローチャートを示す。この方法では、準備ステップVVSにおいて、最初に、起動のために、パワー半導体スイッチの基準電位接続とパワー半導体スイッチのさらなる主接続との間に電圧が印加される。第1の方法ステップVS1において、通常オフの補助スイッチがオフのスイッチング状態にある間に、補助コンデンサが、パワー半導体スイッチを流れる電流の少なくとも一部によって充電される。第2の方法ステップVS2において、補助コンデンサの充電電圧が第1の閾値を超えたときに補助スイッチがオン状態になり、補助コンデンサの電荷の少なくとも一部が供給コンデンサに放出されて駆動回路へ電圧を供給する。第3の方法ステップVS3において、補助コンデンサの充電電圧がより低い第2の閾値を下回ると、補助スイッチがオフスイッチング状態に戻される。VS1~VS3の3つのステップを複数回繰り返すことによって、パワー半導体スイッチの動作中に駆動回路に給電するために、供給コンデンサが給電される。
1a パワーエレクトロニクスデバイス
1b 電力コンバータ
1、48 昇圧コンバータ
2 入力
2a、2b 接続部
3 DC電圧ジェネレータ
4 チョーク
5 ダイオード
6 パワー半導体スイッチ
6a 第1パワー半導体スイッチ
7 出力
8 矢印
9 降圧コンバータ
10 DC電圧源
11 矢印
14、72、78 ハーフブリッジ構成
15 両方向矢印
16 DC電圧源
18 DC電圧源
20、33、34、20a、20b ハーフブリッジ
21、35、58 接続点
22、36、60、67 接続点
23、37、38、23a ハイサイドパワー半導体スイッチ
24、41、42、24a ローサイドパワー半導体スイッチ
25、44 チョーク
26、56 ダイオード
27 ダイオード
28 リンク回路
29 インバータ
30 リンク回路極
31 リンク回路極
32 リンク回路コンデンサ
39、40 分岐点
45 DC電圧ジェネレータ
46 AC電圧グリッド
49、73、49a、49b 駆動回路
50 クロックジェネレータ
51 制御入力
52、52a、52b 補助回路構成
53、74 供給コンデンサ
54 補助コンデンサ
55 補助半導体スイッチ
57 ブートストラップダイオード
59 基準電位接続
61 第1の接続
62 第2の接続
63 起動抵抗
64 駆動回路
65 比較回路
66 ツェナーダイオード
68 抵抗器
69 非反転入力
70 さらなる主接続
75 接続
76 さらなる接続
77 さらなるブートストラップダイオード
VVS 準備ステップ
VS1、VS2、VS3 方法ステップ

Claims (17)

  1. パワーエレクトロニクスデバイス(1a)、特に電力コンバータ(1b)であって、第1パワー半導体スイッチ(6a)と、当該第1パワー半導体スイッチ(6a)を駆動するための駆動回路(49、49a、49b)と、当該駆動回路(49、49a、49b)に電圧を供給するための電気的な補助回路構成(52、52a、52b)とを具え、前記補助回路構成(52、52a、52b)は、供給コンデンサ(53、53a、53b)と、補助コンデンサ(54)と、通常オフの補助半導体スイッチ(55、55a、55b)と、ダイオード(56)と、ブートストラップダイオード(57)とを具え、
    前記補助半導体スイッチ(55、55a、55b)は、第1の接続点(58)を介して前記第1パワー半導体スイッチ(6a)の基準電位接続(59)に接続されており、
    前記第1の接続点(58)を起点に、前記ダイオード(56)と、第2の接続点(60)と、前記補助コンデンサ(54)との直列接続が、前記補助半導体スイッチ(55、55a、55b)と並列に配置され、前記補助半導体スイッチ(55、55a、55b)がオフ状態にあるとき、前記補助コンデンサ(54)が前記第1パワー半導体スイッチ(6a)を通る電流によって充電され、
    前記駆動回路(49、49a、49b)は、前記供給コンデンサ(53、53a、53b)に接続されて電圧供給され、
    前記供給コンデンサ(53、53a、53b)は、第1の接続(61)によって前記ブートストラップダイオード(57)を介して前記第2の接続点(60)に、第2の接続(62)によって前記基準電位接続に電気的に接続され、前記補助半導体スイッチ(55、55a、55b)がオン状態にあり、前記補助コンデンサ(54)が少なくとも部分的に充電されている場合に、前記供給コンデンサ(53、53a、53b)が前記ブートストラップダイオード(57)を介して前記補助コンデンサ(54)によって充電され、
    前記補助回路構成(52、52a、52b)が、前記補助コンデンサ(54)の充電電圧に基づいて、前記補助半導体スイッチ(55、55a、55b)の制御入力に前記補助半導体スイッチ(55、55a、55b)を切り替えるための制御信号を提供するように設計および構成された駆動回路(64)を具えることを特徴とするパワーエレクトロニクスデバイス。
  2. 前記駆動回路(64)は、前記補助コンデンサ(54)の充電電圧が第1の閾値を超えたときに、前記補助半導体スイッチ(55、55a、55b)の制御入力に、前記補助半導体スイッチ(55、55a、55b)をオン状態にする制御信号を提供し、前記補助コンデンサ(54)の充電電圧が前記第1の閾値よりも低い第2の閾値を下回ったときに、前記補助半導体スイッチ(55、55a、55b)の制御入力に、前記補助半導体スイッチ(55、55a、55b)をオフ状態にする制御信号を提供するように設計および構成されており、ここで前記第1の閾値は、少なくとも前記駆動回路(49、49a、49b)への供給電圧の大きさに対応する、請求項に記載のパワーエレクトロニクスデバイス(1a)。
  3. 前記駆動回路(64)が、2レベルレギュレータ、特に比較回路(65)、あるいはモノフロップまたはPWMコントローラまたは周波数コントローラである、請求項1または2に記載のパワーエレクトロニクスデバイス(1a)。
  4. 前記駆動回路(64)は、前記補助コンデンサ(54)に電気的に接続されるように設計および構成され、前記補助コンデンサ(54)によって前記駆動回路(64)に電圧が供給される、請求項1から3のいずれか一項に記載のパワーエレクトロニクスデバイス(1a)。
  5. 前記補助半導体スイッチ(55、55a、55b)が、前記第1パワー半導体スイッチ(6a)と同じ極性を有する、請求項1から4のいずれか一項に記載のパワーエレクトロニクスデバイス(1a)。
  6. 前記第1パワー半導体スイッチ(6a)は、通常オフになるように設計されており、オフスイッチング状態において、電圧が前記第1パワー半導体スイッチ(6a)の基準電位接続(59)と前記パワー半導体スイッチ(6a)のさらなる主接続(70)の間に印加されたときにリーク電流がある、請求項1から5のいずれか一項に記載のパワーエレクトロニクスデバイス(1a)。
  7. 前記補助回路構成(52、52a、52b)、特に前記補助半導体スイッチ(55、55a、55b)が、前記駆動回路(49、49a、49b、73)の少なくとも1つに給電するためだけに機能する、請求項1から6のいずれか一項に記載のパワーエレクトロニクスデバイス(1a)。
  8. 前記駆動回路(49、49a、49b)は、クロックジェネレータ(50)と統合されるように設計されており、前記クロックジェネレータ(50)は、前記駆動回路(49、49a、49b)によって提供される制御信号のパルスパターンを生成する、請求項1から7のいずれか一項に記載のパワーエレクトロニクスデバイス(1a)。
  9. 第3の接続点(21)を起点に、ハイサイドパワー半導体スイッチ(23a)と、分岐点(39)と、ローサイドパワー半導体スイッチ(24a)とからなる直列接続を含むハーフブリッジ(20a、20b)および第4の接続点(22)を具え、前記第1パワー半導体スイッチ(6a)は前記ローサイドパワー半導体スイッチ(24a)であり、前記パワーエレクトロニクスデバイス(1a)は、特に、DC/DCコンバータまたはインバータ(29)である、請求項1から8のいずれか一項に記載のパワーエレクトロニクスデバイス(1a)。
  10. 1つまたは複数の直列接続または並列接続されたリンク回路コンデンサを介して、前記第3の接続点(21)を前記第4の接続点(22)に接続する電気接続を有するリンク回路(28)を具える、請求項に記載のパワーエレクトロニクスデバイス(1a)。
  11. 前記ハイサイドパワー半導体スイッチ(23a)およびローサイドパワー半導体スイッチ(24a)の両方について、それぞれのパワー半導体スイッチを駆動するためのそれぞれの駆動回路(49a、49b)と、前記駆動回路(49a、49b)に電圧を供給するためのそれぞれ別個の電気的な補助回路構成(52a、52b)とを具え、前記ハイサイドパワー半導体スイッチ(23a)とローサイドパワー半導体スイッチ(24a)の両方がそれぞれ第1パワー半導体スイッチ(6a)として設計されている、請求項9または10に記載のパワーエレクトロニクスデバイス(1a)。
  12. 前記ハイサイドパワー半導体スイッチ(23a)を駆動するための駆動回路(73)と、この駆動回路(73)の電圧供給のための供給コンデンサ(74)と具え、前記供給コンデンサは、前記ローサイドパワー半導体スイッチ(24a)を駆動するための駆動回路(49)に電圧を供給するために、接続(75)によって前記ハイサイドパワー半導体スイッチ(23a)の基準電位接続(59)に電気的に接続され、さらなる接続(76)によって、さらなるブートストラップダイオード(77)を介して前記補助回路構成(52)に含まれる供給コンデンサ(53)の第1の接続(61)に電気的に接続されている、請求項9または10に記載のパワーエレクトロニクスデバイス(1a)。
  13. 前記ハイサイドパワー半導体スイッチ(23a)および前記ローサイドパワー半導体スイッチ(24a)が通常オフであり、オフスイッチング状態において、それらの基準電位接続(59)とそれらのさらなる主接続(70)との間に電圧が印加されたときにリーク電流を有する、請求項9から12のいずれか一項に記載のパワーエレクトロニクスデバイス(1a)。
  14. パワー半導体スイッチの駆動回路(49)に電圧を供給する方法であって、前記駆動回路(49、49a、49b)は、供給コンデンサ(53、53a、53b)によって電圧供給され、前記供給コンデンサ(53、53a、53b)を充電するために、補助コンデンサ(54)が、通常オフの補助スイッチのオフスイッチング状態の間に前記パワー半導体スイッチを流れる電流によって充電され、前記供給コンデンサ(53)が、前記通常オフの補助スイッチがオン状態のときに、前記補助コンデンサ(54)によって充電され、
    前記補助スイッチは、前記補助コンデンサ(54)の充電電圧に基づいてオン状態にされることを特徴とする方法。
  15. 前記通常オフの補助スイッチは、前記パワー半導体の基準電位接続(59)に接続されており、第1の方法ステップ(VS1)において、前記補助スイッチがオフ状態にあるとき、前記パワー半導体スイッチを流れる電流の少なくとも一部が前記補助コンデンサに迂回され、少なくとも部分的にこれを充電し、第2の方法ステップ(VS2)において、前記補助スイッチはオン状態にされ、前記補助コンデンサの電荷の少なくとも一部を前記供給コンデンサへ放出し、第3の方法ステップ(VS3)において、前記補助スイッチはオフスイッチング状態に戻され、その結果、この3つの方法ステップを複数回繰り返すことにより、動作中に前記駆動回路に給電するために、電力が、前記供給コンデンサに供給される、請求項14に記載の方法。
  16. 前記補助コンデンサ(54)の充電電圧が第1の閾値を超えると前記補助スイッチがオン状態になり(VS2)、前記補助コンデンサ(54)の電圧が第2の閾値を下回ると前記補助スイッチがオフ状態になり(VS3)、ここで前記第2の閾値は前記第1の閾値よりも低い、請求項14に記載の方法。
  17. 前記方法は、請求項1から13のいずれか一項に記載のパワーエレクトロニクスデバイス(1a)を使用して実行される、請求項14から16のいずれか一項に記載の方法。
JP2021549505A 2019-02-25 2020-02-03 パワー半導体スイッチの駆動回路に電圧を供給するためのパワーエレクトロニクスデバイスおよび方法 Active JP7426397B2 (ja)

Applications Claiming Priority (3)

Application Number Priority Date Filing Date Title
DE102019104652.1 2019-02-25
DE102019104652.1A DE102019104652B4 (de) 2019-02-25 2019-02-25 Leistungselektronische Vorrichtung und Verfahren zur elektrischen Spannungsversorgung einer Treiberschaltung eines Leistungshalbleiterschalters
PCT/EP2020/052618 WO2020173667A1 (de) 2019-02-25 2020-02-03 Leistungselektronische vorrichtung und verfahren zur elektrischen spannungsversorgung einer treiberschaltung eines leistungshalbleiterschalters

Publications (2)

Publication Number Publication Date
JP2022521419A JP2022521419A (ja) 2022-04-07
JP7426397B2 true JP7426397B2 (ja) 2024-02-01

Family

ID=69528788

Family Applications (1)

Application Number Title Priority Date Filing Date
JP2021549505A Active JP7426397B2 (ja) 2019-02-25 2020-02-03 パワー半導体スイッチの駆動回路に電圧を供給するためのパワーエレクトロニクスデバイスおよび方法

Country Status (6)

Country Link
US (1) US11990826B2 (ja)
EP (1) EP3931963B1 (ja)
JP (1) JP7426397B2 (ja)
CN (1) CN113632380B (ja)
DE (1) DE102019104652B4 (ja)
WO (1) WO2020173667A1 (ja)

Families Citing this family (1)

* Cited by examiner, † Cited by third party
Publication number Priority date Publication date Assignee Title
CN117458842B (zh) * 2023-12-26 2024-03-08 华羿微电子股份有限公司 一种半桥驱动电路

Citations (2)

* Cited by examiner, † Cited by third party
Publication number Priority date Publication date Assignee Title
US20100066175A1 (en) 2008-09-13 2010-03-18 Infineon Technologies Ag Circuit assembly for gating a power semiconductor switch
US20180145668A1 (en) 2016-11-22 2018-05-24 Mosway Technologies Limited Voltage clamping circuit

Family Cites Families (9)

* Cited by examiner, † Cited by third party
Publication number Priority date Publication date Assignee Title
DE202008013397U1 (de) * 2008-10-09 2010-03-25 Tridonicatco Schweiz Ag Treiberschaltung für eine Halbleiterlichtquelle (LED)
CH699884B1 (de) * 2008-11-07 2012-04-13 Eth Zuerich Ansteuerschaltung für leistungelektronische Schalter.
KR101033933B1 (ko) * 2008-12-30 2011-05-11 서울과학기술대학교 산학협력단 고승압비를 갖는 비절연 소프트 스위칭 dc­dc 컨버터
US8558584B2 (en) * 2010-11-30 2013-10-15 Infineon Technologies Ag System and method for bootstrapping a switch driver
EP2515439A1 (en) * 2011-04-18 2012-10-24 Philips Intellectual Property & Standards GmbH Semiconductor switch with reliable blackout behavior and low control power
DE102012220118A1 (de) * 2012-11-05 2014-05-22 Bombardier Transportation Gmbh Schaltungsanordnung und Verfahren zum Betreiben einer Schaltungsanordnung
US9780690B2 (en) * 2016-01-28 2017-10-03 Infineon Technologies Austria Ag Resonant decoupled auxiliary supply for a switched-mode power supply controller
DE112017000186B4 (de) * 2016-02-16 2022-05-05 Fuji Electric Co., Ltd. Halbleitervorrichtung
JP2018007403A (ja) * 2016-07-01 2018-01-11 三菱電機株式会社 電力変換装置

Patent Citations (2)

* Cited by examiner, † Cited by third party
Publication number Priority date Publication date Assignee Title
US20100066175A1 (en) 2008-09-13 2010-03-18 Infineon Technologies Ag Circuit assembly for gating a power semiconductor switch
US20180145668A1 (en) 2016-11-22 2018-05-24 Mosway Technologies Limited Voltage clamping circuit

Also Published As

Publication number Publication date
EP3931963B1 (de) 2022-08-17
CN113632380B (zh) 2025-11-21
DE102019104652A1 (de) 2020-08-27
US20210384824A1 (en) 2021-12-09
CN113632380A (zh) 2021-11-09
DE102019104652B4 (de) 2024-03-14
WO2020173667A1 (de) 2020-09-03
JP2022521419A (ja) 2022-04-07
US11990826B2 (en) 2024-05-21
EP3931963A1 (de) 2022-01-05

Similar Documents

Publication Publication Date Title
US8384236B2 (en) Vehicle mounted converter
US8487664B2 (en) System and method for driving a switch
US7486055B2 (en) DC-DC converter having a diode module with a first series circuit and a second series with a flywheel diode
US20120133420A1 (en) System and Method for Bootstrapping a Switch Driver
US11323031B2 (en) Half-bridge driver circuit with a switched capacitor supply voltage for high side drive signal generation
CN108696123A (zh) 双向dc-dc转换器
KR20030019133A (ko) Dc-dc 컨버터
CN102480216B (zh) 用于驱动共源共栅开关的系统和方法
JPH118910A (ja) ハイブリッド電気自動車の電源装置
KR101734210B1 (ko) 양방향 직류-직류 컨버터
CN114097170B (zh) 电源系统
JP5394975B2 (ja) スイッチングトランジスタの制御回路およびそれを用いた電力変換装置
CN107615634B (zh) 电力转换装置以及使用电力转换装置的电源系统
US9780690B2 (en) Resonant decoupled auxiliary supply for a switched-mode power supply controller
JP7426397B2 (ja) パワー半導体スイッチの駆動回路に電圧を供給するためのパワーエレクトロニクスデバイスおよび方法
CN114514681B (zh) Dcdc转换器
KR101030776B1 (ko) 승압형 직류/직류 변환기
US12261517B2 (en) H-bridge circuit with bootstrap capacitor gate drive charging circuit
JP6668056B2 (ja) 電力変換装置、これを用いた電源システム及び自動車
US20190337474A1 (en) In-vehicle power supply device
JP6801343B2 (ja) 電力変換器
JP6950495B2 (ja) 電力変換器
EP2575246B1 (en) Method for discharging a DC-link capacitor in a DC-DC converter apparatus, and corresponding DC-DC converter apparatus
EP4335026A1 (en) Power inverter and method for controlling a power inverter
WO2025062210A1 (en) Dc-to-dc converter with two cascaded buck converter

Legal Events

Date Code Title Description
A621 Written request for application examination

Free format text: JAPANESE INTERMEDIATE CODE: A621

Effective date: 20221021

A131 Notification of reasons for refusal

Free format text: JAPANESE INTERMEDIATE CODE: A131

Effective date: 20230905

A521 Request for written amendment filed

Free format text: JAPANESE INTERMEDIATE CODE: A523

Effective date: 20231117

TRDD Decision of grant or rejection written
A01 Written decision to grant a patent or to grant a registration (utility model)

Free format text: JAPANESE INTERMEDIATE CODE: A01

Effective date: 20240109

A61 First payment of annual fees (during grant procedure)

Free format text: JAPANESE INTERMEDIATE CODE: A61

Effective date: 20240122

R150 Certificate of patent or registration of utility model

Ref document number: 7426397

Country of ref document: JP

Free format text: JAPANESE INTERMEDIATE CODE: R150