JP7204304B2 - 指針発光装置 - Google Patents

指針発光装置 Download PDF

Info

Publication number
JP7204304B2
JP7204304B2 JP2019140964A JP2019140964A JP7204304B2 JP 7204304 B2 JP7204304 B2 JP 7204304B2 JP 2019140964 A JP2019140964 A JP 2019140964A JP 2019140964 A JP2019140964 A JP 2019140964A JP 7204304 B2 JP7204304 B2 JP 7204304B2
Authority
JP
Japan
Prior art keywords
light
pointer
introduction shaft
shaft portion
holding
Prior art date
Legal status (The legal status is an assumption and is not a legal conclusion. Google has not performed a legal analysis and makes no representation as to the accuracy of the status listed.)
Active
Application number
JP2019140964A
Other languages
English (en)
Other versions
JP2021025780A (ja
Inventor
靖文 望月
輝一 久保山
安美 柴原
卓哉 石澤
Current Assignee (The listed assignees may be inaccurate. Google has not performed a legal analysis and makes no representation or warranty as to the accuracy of the list.)
Yazaki Corp
Original Assignee
Yazaki Corp
Priority date (The priority date is an assumption and is not a legal conclusion. Google has not performed a legal analysis and makes no representation as to the accuracy of the date listed.)
Filing date
Publication date
Application filed by Yazaki Corp filed Critical Yazaki Corp
Priority to JP2019140964A priority Critical patent/JP7204304B2/ja
Priority to US16/913,023 priority patent/US11105661B2/en
Publication of JP2021025780A publication Critical patent/JP2021025780A/ja
Application granted granted Critical
Publication of JP7204304B2 publication Critical patent/JP7204304B2/ja
Active legal-status Critical Current
Anticipated expiration legal-status Critical

Links

Images

Classifications

    • GPHYSICS
    • G01MEASURING; TESTING
    • G01DMEASURING NOT SPECIALLY ADAPTED FOR A SPECIFIC VARIABLE; ARRANGEMENTS FOR MEASURING TWO OR MORE VARIABLES NOT COVERED IN A SINGLE OTHER SUBCLASS; TARIFF METERING APPARATUS; MEASURING OR TESTING NOT OTHERWISE PROVIDED FOR
    • G01D13/00Component parts of indicators for measuring arrangements not specially adapted for a specific variable
    • G01D13/22Pointers, e.g. settable pointer
    • G01D13/26Pointers, e.g. settable pointer adapted to perform a further operation, e.g. making electrical contact
    • G01D13/265Pointers which conduct light
    • GPHYSICS
    • G01MEASURING; TESTING
    • G01DMEASURING NOT SPECIALLY ADAPTED FOR A SPECIFIC VARIABLE; ARRANGEMENTS FOR MEASURING TWO OR MORE VARIABLES NOT COVERED IN A SINGLE OTHER SUBCLASS; TARIFF METERING APPARATUS; MEASURING OR TESTING NOT OTHERWISE PROVIDED FOR
    • G01D11/00Component parts of measuring arrangements not specially adapted for a specific variable
    • G01D11/28Structurally-combined illuminating devices
    • BPERFORMING OPERATIONS; TRANSPORTING
    • B60VEHICLES IN GENERAL
    • B60KARRANGEMENT OR MOUNTING OF PROPULSION UNITS OR OF TRANSMISSIONS IN VEHICLES; ARRANGEMENT OR MOUNTING OF PLURAL DIVERSE PRIME-MOVERS IN VEHICLES; AUXILIARY DRIVES FOR VEHICLES; INSTRUMENTATION OR DASHBOARDS FOR VEHICLES; ARRANGEMENTS IN CONNECTION WITH COOLING, AIR INTAKE, GAS EXHAUST OR FUEL SUPPLY OF PROPULSION UNITS IN VEHICLES
    • B60K35/00Instruments specially adapted for vehicles; Arrangement of instruments in or on vehicles
    • B60K35/20Output arrangements, i.e. from vehicle to user, associated with vehicle functions or specially adapted therefor
    • B60K35/21Output arrangements, i.e. from vehicle to user, associated with vehicle functions or specially adapted therefor using visual output, e.g. blinking lights or matrix displays
    • BPERFORMING OPERATIONS; TRANSPORTING
    • B60VEHICLES IN GENERAL
    • B60KARRANGEMENT OR MOUNTING OF PROPULSION UNITS OR OF TRANSMISSIONS IN VEHICLES; ARRANGEMENT OR MOUNTING OF PLURAL DIVERSE PRIME-MOVERS IN VEHICLES; AUXILIARY DRIVES FOR VEHICLES; INSTRUMENTATION OR DASHBOARDS FOR VEHICLES; ARRANGEMENTS IN CONNECTION WITH COOLING, AIR INTAKE, GAS EXHAUST OR FUEL SUPPLY OF PROPULSION UNITS IN VEHICLES
    • B60K35/00Instruments specially adapted for vehicles; Arrangement of instruments in or on vehicles
    • B60K35/50Instruments characterised by their means of attachment to or integration in the vehicle
    • BPERFORMING OPERATIONS; TRANSPORTING
    • B60VEHICLES IN GENERAL
    • B60KARRANGEMENT OR MOUNTING OF PROPULSION UNITS OR OF TRANSMISSIONS IN VEHICLES; ARRANGEMENT OR MOUNTING OF PLURAL DIVERSE PRIME-MOVERS IN VEHICLES; AUXILIARY DRIVES FOR VEHICLES; INSTRUMENTATION OR DASHBOARDS FOR VEHICLES; ARRANGEMENTS IN CONNECTION WITH COOLING, AIR INTAKE, GAS EXHAUST OR FUEL SUPPLY OF PROPULSION UNITS IN VEHICLES
    • B60K35/00Instruments specially adapted for vehicles; Arrangement of instruments in or on vehicles
    • B60K35/60Instruments characterised by their location or relative disposition in or on vehicles
    • BPERFORMING OPERATIONS; TRANSPORTING
    • B60VEHICLES IN GENERAL
    • B60KARRANGEMENT OR MOUNTING OF PROPULSION UNITS OR OF TRANSMISSIONS IN VEHICLES; ARRANGEMENT OR MOUNTING OF PLURAL DIVERSE PRIME-MOVERS IN VEHICLES; AUXILIARY DRIVES FOR VEHICLES; INSTRUMENTATION OR DASHBOARDS FOR VEHICLES; ARRANGEMENTS IN CONNECTION WITH COOLING, AIR INTAKE, GAS EXHAUST OR FUEL SUPPLY OF PROPULSION UNITS IN VEHICLES
    • B60K2360/00Indexing scheme associated with groups B60K35/00 or B60K37/00 relating to details of instruments or dashboards
    • B60K2360/20Optical features of instruments
    • B60K2360/33Illumination features
    • B60K2360/336Light guides
    • BPERFORMING OPERATIONS; TRANSPORTING
    • B60VEHICLES IN GENERAL
    • B60KARRANGEMENT OR MOUNTING OF PROPULSION UNITS OR OF TRANSMISSIONS IN VEHICLES; ARRANGEMENT OR MOUNTING OF PLURAL DIVERSE PRIME-MOVERS IN VEHICLES; AUXILIARY DRIVES FOR VEHICLES; INSTRUMENTATION OR DASHBOARDS FOR VEHICLES; ARRANGEMENTS IN CONNECTION WITH COOLING, AIR INTAKE, GAS EXHAUST OR FUEL SUPPLY OF PROPULSION UNITS IN VEHICLES
    • B60K2360/00Indexing scheme associated with groups B60K35/00 or B60K37/00 relating to details of instruments or dashboards
    • B60K2360/20Optical features of instruments
    • B60K2360/33Illumination features
    • B60K2360/341Illumination of dials
    • BPERFORMING OPERATIONS; TRANSPORTING
    • B60VEHICLES IN GENERAL
    • B60KARRANGEMENT OR MOUNTING OF PROPULSION UNITS OR OF TRANSMISSIONS IN VEHICLES; ARRANGEMENT OR MOUNTING OF PLURAL DIVERSE PRIME-MOVERS IN VEHICLES; AUXILIARY DRIVES FOR VEHICLES; INSTRUMENTATION OR DASHBOARDS FOR VEHICLES; ARRANGEMENTS IN CONNECTION WITH COOLING, AIR INTAKE, GAS EXHAUST OR FUEL SUPPLY OF PROPULSION UNITS IN VEHICLES
    • B60K2360/00Indexing scheme associated with groups B60K35/00 or B60K37/00 relating to details of instruments or dashboards
    • B60K2360/60Structural details of dashboards or instruments
    • B60K2360/68Features of instruments
    • B60K2360/698Pointers of combined instruments
    • B60K2360/6992Light conducting pointers

Landscapes

  • Engineering & Computer Science (AREA)
  • Chemical & Material Sciences (AREA)
  • Combustion & Propulsion (AREA)
  • Transportation (AREA)
  • Mechanical Engineering (AREA)
  • Physics & Mathematics (AREA)
  • General Physics & Mathematics (AREA)
  • Details Of Measuring Devices (AREA)
  • Instrument Panels (AREA)
  • Illuminated Signs And Luminous Advertising (AREA)

Description

本発明は、指針発光装置に関するものである。
従来、光源と、導光性を有する指針と、文字板と、を備え、光源から指針に入射した光が指針内で全反射することにより、指針の表面(発光面)から出射するように構成されたメータ装置が提案されている(例えば、特許文献1参照)。特許文献1に記載されたメータ装置では、指針には台形状の貫通孔である調光部が形成されており、回転軸から指針に入射した光が、調光部の側面部によって反射され、指針の先端側に向かうようになっている。
特開2013-88351号公報
特許文献1に記載されたメータ装置では、ムーブメントの回転軸部が指針の嵌合凹部と嵌合することで指針が回転するようになっている。しかしながら、回転軸と嵌合凹部とを嵌合させる構成では、これらの界面において光が屈折して迷光が生じやすく、発光面において輝度ムラが生じやすいという不都合があった。
そこで、ムーブメントの回転軸部の端面と、指針の軸部の端面と、を対向させつつ、これらの軸部を同軸上に保持する構成が考えられる。このような構成では、回転軸部の端面から出射した光が軸部の端面に入射する。しかしながら、軸部の角部(端面における外周縁部)からも光が入射することがあり、このような入射光は意図しない方向に進行して迷光となる可能性がある。
本発明の目的は、発光面における輝度ムラを抑制することができる指針発光装置を提供することにある。
本願発明の指針発光装置は、光源と、前記光源から照射された光を導光するとともに出射軸部を有する導光部材と、前記出射軸部と同軸上に配置される光導入軸部、前記光導入軸部と交差する方向に延びる主指針部、前記交差する方向の他方側に延びる副指針部、前記主指針部および前記副指針部における前記光導入軸部とは反対側の面に形成された発光面、および、前記光導入軸部と前記発光面との間に形成された調光空間を有する指針本体と、前記出射軸部を保持する第1保持部、前記光導入軸部を保持する第2保持部、及び、前記第1保持部と前記第2保持部との間に形成されて前記光導入軸部の角部を覆う環状リブを有するとともに、前記環状リブにおける前記光導入軸部側の面が前記角部よりも大きい曲率半径を有してテーパ状に形成されている保持部材と、を備えることを特徴とする。
このような本願発明の指針発光装置によれば、出射軸部を保持する第1保持部と、光導入軸部を保持する第2保持部と、の間に環状リブが設けられて光導入軸部の角部が覆われていることで、光導入軸部の角部から指針本体内に光が入射しにくく、迷光を生じにくくして輝度ムラを抑制することができる。さらに、環状リブにおける光導入軸部側の面が、光導入軸部の角部よりも大きい曲率半径を有してテーパ状に形成されていることで、角部を覆いやすくすることができる。特に、光導入軸部と環状リブとを離隔させて配置する場合に、環状リブにおける光導入軸部側の面を平面とする構成と比較して、角部を覆いやすい。
本発明の実施形態に係る指針発光装置を示す斜視図である。 前記指針発光装置においてキャップを取り外した様子を示す斜視図である。 前記指針発光装置の導光指針を示す斜視図である。 前記指針発光装置のベースを示す斜視図である。 前記指針発光装置を示す断面図である。 前記導光指針の要部を示す側面図である。 前記導光指針の光導入軸部および調光空間を示す断面図である。 前記ベースの要部を示す断面図である。 前記指針発光装置の先端部を示す断面図である。 前記キャップの要部を示す断面図である。 前記導光指針を通過する光の経路を模式的に示す側面図である。
以下、本発明の各実施形態を図面に基づいて説明する。本実施形態の指針発光装置1は、図1~5に示すように、指針本体(導光指針)2と、保持部材としてのベース3と、キャップ4と、バランス5と、光源6と、導光部材7と、を備え、車両用表示装置(例えば速度計)において文字や数字等を指し示すために用いられる。本実施形態では、指針本体2の回転軸の方向をZ方向とし、指針本体2の延在方向をX方向とし、X方向およびZ方向と略直交する方向をY方向とする。また、Z方向において、使用者によって視認される側を上側とするとともにその反対側を下側とし、単に上下と呼ぶことがある。
指針本体2は、例えばアクリル等の透明な導光性樹脂によって構成され、図2、3、5に示すように、光導入軸部21と、主指針部22と、副指針部23と、発光面24と、調光空間25と、被固定部26と、一体に有する。
光導入軸部21は、光源6が出射した光を指針本体2に導入するための部分であるとともに、指針本体2の回転軸を構成する部分であって、断面正方形状の四角柱状に形成されている。尚、四角柱状の指針本体2の側面は、平面であることが好ましいが、多少の湾曲(例えばR40以上)を有していてもよい。
主指針部22は、光導入軸部21の上端からX方向の一方側に延びるとともに、Y方向を板厚方向とする板状に形成され、その先端によって文字や数字等を指し示すように用いられる。主指針部22の上面221は、発光面24の一部を構成する。主指針部22の下面222は、光導入軸部21側から主指針部22の先端側に向かって順に、離隔面222Aと、凹部222Bと、接近面222Cと、を有する。
離隔面222Aは、先端側に向かうにしたがってZ方向下方側(即ち上面221とは反対側)に向かって延びる。接近面222Cは、先端側に向かうにしたがってZ方向上方側(即ち上面221側)に向かって延びる。凹部222Bは、Z方向下方側から見て接近面222Cの仮想延長面に対して凹状(Z方向上方側に向かって凸状)に形成された曲面部であり、凹部222Bの内面(指針本体2内側の面)が、傾斜面としての離隔面222Aよりも光導入軸部21側において凹状に形成された二次反射面となる。このように主指針部22全体はY方向から見て先細り形状を有している。
副指針部23は、光導入軸部21の上端からX方向の他方側に延びるとともに、Y方向を板厚方向とする板状に形成され、その全長(X方向寸法)が主指針部22よりも短い。副指針部23の上面231は、発光面24の他の一部を構成する。副指針部23の下面232は、光導入軸部21側から副指針部23の先端側に向かって順に、平坦面232Aと、接近曲面232Bと、接近平面232Cと、を有する。
平坦面232Aは、XY平面に沿って延びる。接近平面232Cは、先端側に向かうにしたがってZ方向上方側に向かって延びる。接近曲面232Bは、先端側に向かうにしたがってZ方向上方側(即ち上面231側)に向かって延びつつ、Z方向下方側から見て凹状(Z方向上方側に向かって凸状)に形成され、接近曲面232Bの内面(指針本体2内側の面)が、傾斜面としての接近平面232Cよりも光導入軸部21側において凹状に形成された二次反射面となる。このように副指針部23はY方向から見て先細り形状を有している。
発光面24は、主指針部22の上面221および副指針部23の上面231によって構成され、XY平面に沿って延びる。
調光空間25は、光導入軸部21のZ方向上方において、板状の指針本体2をY方向に貫通する貫通孔によって形成され、図6にも示すように頂点部251と円弧部252と前方傾斜部253と後方傾斜部254とによって囲まれ、Y方向から見て略扇形に形成されている。調光空間25内には、調光ピース等は配置されず、空気層が形成される。
頂点部251は、光導入軸部21の中心軸Z1よりもX方向他方側(副指針部23側)に位置している。尚、光導入軸部21の中心軸Z1とは、光導入軸部21の断面である正方形の対角線同士の交点を通り、且つ、Z方向に沿うものである。
円弧部252は、頂点部251に対してZ方向上方側に位置するとともにZ方向上方側に凸に形成され、その中心Oが中心軸Z1よりもX方向一方側(主指針部22側)に位置する。また、円弧部252は、中心軸Z1が通過する中心円弧252Aと、中心円弧252Aに対してX方向両側に形成されるとともに中心円弧252Aよりも半径の大きい一対の側部円弧252B、252Cと、を有する。尚、円弧部252の中心Oとは、中心円弧252Aの中心である。
側部円弧252B、252Cは、中心円弧252Aに対して滑らかに接続されており、接続点において共通の接面を有する。従って、側部円弧252Bの中心は、中心円弧252Aの中心Oに対してZ方向下方側またはX方向他方側に位置しており、側部円弧252Cの中心は、中心円弧252Aの中心Oに対してZ方向下方側またはX方向一方側に位置している。また、側部円弧252B、252Cの半径は、中心円弧252Aの半径の1.3倍以下であることが好ましい。
前方傾斜部253は、X方向一方側の側部円弧252Bの端部と頂点部251とを結び、X方向一方側に向かうにしたがってZ方向上方側に向かって延びる傾斜面となる。本実施形態では、前方傾斜部253はZ方向上方側に凸の曲面状となっているが、平面であってもよい。前方傾斜部253と側部円弧252Bとの接続部は、光導入軸部21の下端且つX方向他方側端部と、光導入軸部21と離隔面222Aとの接続部と、を通過する平面(図6における二点鎖線)よりもX方向一方側に位置する。
後方傾斜部254は、X方向他方側の側部円弧252Cの端部と頂点部251とを結び、X方向他方側に向かうにしたがってZ方向上方側に向かって延びる傾斜面となる。本実施形態では、後方傾斜部254はZ方向上方側に凸の曲面状となっているが、平面であってもよい。
被固定部26は、光導入軸部21からY方向両側に突出し、Z方向から見てU字状に形成されている。金型を用いて指針本体2を成形する際、被固定部26がU字状であることから、Y方向に型開きすることによって被固定部26を形成することができる。このとき、被固定部26のU字の内側において、Z方向上下面にC面やR面を容易に形成することができる。これにより、U字の内側にピン等の固定部材を圧入する際、被固定部26のエッジ部が削られてしまうことを抑制し、削りカス等の異物の発生を抑制することができる。
指針本体2は、調光空間25を通過する断面である図7に示すように、光導入軸部21の上端部(被固定部26との境界部)におけるY方向寸法(板厚寸法)T1が、被固定部26とその上部27との境界部におけるY方向寸法T2よりも小さくなっている。これにより、光導入軸部21を通過した光が被固定部26の上面から指針本体2外部に出射されてしまうことを抑制することができる。また、上部27のY方向寸法T2が、発光面24のY方向寸法T3よりも大きくなっている。また、上部27と被固定部26との境界部は、曲面状に形成されず角部となっていることが好ましい。
ベース3は、不透明な樹脂によって構成され、指針本体2と導光部材7とを接続するための接続部31と、主指針部22の下面222を覆うカバー部32と、副指針部23側においてバランス5を支持するための支持部33と、を一体に有する。
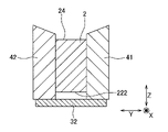
接続部31は、Z方向に沿って延びる筒状部311と、筒状部311の上端部に接続される円板部312と、を有する。筒状部311は、導光部材7の後述する出射軸部71を保持する円筒状の第1保持部311Aと、光導入軸部21が挿入される四角筒状の第2保持部311Bと、第1保持部311Aと第2保持部311Bとの間において内面に形成される環状リブ311Cと、を有する。即ち、筒状部311は、環状リブ311Cを境界として、Z方向の上下で内周面形状が異なっている。尚、環状リブ311Cは、第1保持部311Aの形状に応じて円環状に形成されていてもよいし、第2保持部311Bの形状に応じて角環状に形成されていてもよい。
環状リブ311Cは、図8に示すように、光導入軸部21の角部を覆う。即ち、Z方向下方側から見て光導入軸部21の角部が環状リブ311Cによって隠れるようになっている。尚、光導入軸部21の角部とは、光導入軸部21のZ方向下端面における外周縁部を指す。また、環状リブ311Cの上面は、光導入軸部21の角部よりも大きい曲率半径を有してテーパ状に形成されている。環状リブ311Cの上面と、光導入軸部21の下端部と、の間には隙間が形成され、これらは互いに接触しない。環状リブ311Cの下面は、XY平面に沿った平坦面となっている。
円板部312は、第2保持部311BのY方向両側に被固定孔312Aを有する。被固定孔312Aには、指針本体2の被固定部26が重ねられ、ピン等の固定部材が挿入される。これにより、指針本体2がベース3に固定される。
カバー部32は、主指針部22の下面222に沿うように帯板状に形成され、その先端に、キャップ4との接続部321を有する。
支持部33は、XY平面に沿った板状に形成され、副指針部23の下面232から離隔して配置される。
キャップ4は、不透明な樹脂によって構成され、指針本体2をY方向から挟み込む一対の側面部41、42と、X方向一方側において一対の側面部41、42同士を接続するとともに主指針部22の先端を覆う先端部43と、X方向一方側において一対の側面部41、42同士を接続する後端壁部44と、ベース3の円板部312を覆う円形部45と、を有して指針本体2を覆うように設けられる。
一対の側面部41、42は、Z方向上端縁において互いに離隔して隙間が形成されており、この隙間から指針本体2の発光面24が視認可能となっている。一対の側面部41、42は、Z方向下端縁において互いに離隔して隙間が形成されており、この隙間のうち円形部45よりもX方向一方側の部分がカバー部32によって覆われる。このとき、カバー部32の先端部が、キャップ4の先端部43によって係止される。即ち、先端部43と指針本体2の下面222との間に先端部43が挟み込まれる。
図9に示すように、一対の側面部41、42のZ方向下端縁同士の間に形成された隙間のY方向寸法は、カバー部32のY方向寸法よりも小さく、カバー部32と側面部41、42とがZ方向において重なり部を有するようになっている。これにより、指針本体2の下面222から出射した光がキャップ4およびベース3から漏れることが抑制される。
図10に示すように、後端壁部44は、そのZ方向上端部からX方向一方側に向かって突出した挟持部441を有しており、挟持部441の下面には凸部442が形成されている。凸部442は、指針本体2の上面231のうちX方向他端部に対して点状に接触する。
円形部45は、円筒状の部分によって円板部312および被固定部26を側方から覆うとともに、一対の半円板状の部分によって円板部312および被固定部26を上方から覆う。
バランス5は、指針本体2とベース3とキャップ4とによって構成される回転ユニットの重心位置を中心軸Z1上に位置付けるために設けられる錘である。バランス5は、Z方向において副指針部23と円板部312とによって挟まれる位置に配置され、その上面は副指針部23の下面232に沿った形状を有しており、その下面のうち一部が円板部312上に載置される。上記のように後端壁部44が挟持部441を有していることから、指針本体2およびバランス5は、ベース3とキャップ4とによって挟み込まれて保持される。
このように、バランス5が指針本体2を介して間接的にベース3とキャップ4とに挟持されることで、バランス5を直接的に挟持する構成と比較して、副指針部23の上面231がキャップ4から露出する面積を大きくし、意匠性を向上させることができる。さらに、挟持部441の凸部442が上面231に点状接触することで、指針本体2に過大な負荷が加わることを抑制することができる。
光源6は、例えばLEDにより構成され、指針本体2を含む回転ユニットのZ方向下方側において中心軸Z1上に位置して発光する。
導光部材7は、光源6をZ方向上方から覆うように設けられ、光導入軸部21と同軸上に設けられる円柱状の出射軸部71を有する。駆動手段が中心軸Z1を中心に導光部材7全体を回転駆動させることにより、この回転が指針本体2を含む回転ユニットに伝達されるようになっている。
以上のような指針発光装置1における光の進行について、以下に詳細を説明する。まず、光源6から出射されてZ方向上方に向かう光は、出射軸部71の上端面から出射されて光導入軸部21の下端面に入射する。このとき、環状リブ311Cによって光が絞られるようになっている。光導入軸部21の下端面から指針本体2に導入された光は、光導入軸部21内を上方に向かって進行し、調光空間25に到達する。
前方傾斜部253に到達した光は、主として全反射されることによりX方向一方側に向かって進行する。後方傾斜部254に到達した光は、主として全反射されることによりX方向他方側に向かって進行する。このとき、頂点部251が中心軸Z1よりもX方向他方側に位置することから、光導入軸部21内を進行する光のうち前方傾斜部253に到達する割合が高くなっており、主指針部22側に光が振り分けられやすくなっている。また、前方傾斜部253および後方傾斜部254は、指針本体2を構成する樹脂部材の屈折率に応じて、全反射が生じやすいような傾斜角度(例えば中心軸Z1に対して45±10°)を有していればよい。
前方傾斜部253および後方傾斜部254において全反射されずに調光空間25内に進入した光は、調光空間25内の空気層において拡散されるとともに減衰し、円弧部252に到達する。円弧部252に到達した光は、屈折しつつ指針本体2内に戻り、発光面24から出射する。
頂点部251においては全反射が生じにくく、光が調光空間25内に進入しやすい。即ち、調光空間25内に進入する光のうち、頂点部251を通過する光が最も高い強度を有する。頂点部251から調光空間25内に進入した光は、屈折によりややX方向一方側に向かうように調光空間25内を進行し、円弧部252に到達することで屈折しつつ指針本体2内に戻り、発光面24から出射する(図6に破線で図示)。
ここで、上面が円弧状に形成された調光空間100と、上面が平面状に形成された調光空間200と、を図11に示す模式図を参照しつつ比較する。尚、本実施形態では調光空間25が完全な扇形ではないものの、図11においては説明の都合上、扇形の調光空間100と二等辺三角形の調光空間200とを比較する。
調光空間100の円弧部101が、調光空間200の二等辺三角形の底辺201に接するものとすると、調光空間100の傾斜部102、103は、調光空間200の傾斜部202、203よりも短くなる。
また、調光空間100の頂点(円弧部101の中心)104を通る光は、円弧部101に直交する方向に進行することから、円弧部101から出射する際に進行方向が変化しない。一方、調光空間200の頂点204を通る光は、進行方向が底辺201に対して傾斜していることから、底辺201から出射する際に屈折して進行方向が内側に変化する。これにより、調光空間100の円弧部101から出射される光の方が、調光空間200の底辺201から出射される光よりも広範囲に進行する。
前方傾斜部253によって全反射された光は、主指針部22の上面221および下面222によって全反射されつつ先端に向かう。全反射されない光は、上面221または下面222から出射する。このとき、下面222が凹部222Bを有することで、前方傾斜部253によって全反射された光が凹部222Bに到達しやすくなっている(図6に破線で図示)。二次反射面としての凹部222Bによって全反射された光は、Z方向上方に向かって進行し、円弧部252の近傍かつX方向一方側において上面221から出射しやすい。
後方傾斜部254によって全反射された光は、副指針部23の上面231および下面232によって全反射されつつ先端に向かう。全反射されない光は、上面231または下面232から出射する。このとき、下面232が接近曲面232Bを有することで、後方傾斜部254によって全反射された光が接近曲面232Bに到達しやすくなっている(図6に破線で図示)。二次反射面としての接近曲面232Bによって全反射された光は、Z方向上方に向かって進行し、円弧部252の近傍かつX方向他方側において上面231から出射しやすい。
上記のように上面221、231を含む発光面24から光が出射し、この光が一対の側面部41、42のZ方向上端縁同士の隙間を通過して使用者に視認される。
このような本実施形態によれば、以下のような効果がある。即ち、調光空間25の頂点部251が光導入軸部21の中心軸Z1よりも副指針部23側に位置することで、より長い主指針部22に光を導入しやすく、主指針部22と副指針部23との輝度のバランスを適切なものとすることができる。また、調光空間25が円弧部252を有することで、調光空間25を通過した光の拡散範囲を広くすることができる。また、傾斜部253、254の長さを短くすることができ、傾斜部253、254に沿って進行する光の減衰を抑制することができる。
また、円弧部252の中心Oが中心軸Z1よりも主指針部22側に位置することで、頂点部251から調光空間25に進入した強い光を拡散しやすい。このように、主指針部22側と副指針部23側との輝度のバランスを取りつつ、光が局所的に集中したり減衰してしまったりすることを抑制し、発光面24における輝度ムラを抑制することができる。
また、円弧部252が、中心円弧252Aと、中心円弧252Aよりも半径が大きい一対の側部円弧252B、252Cと、を有することで、中心円弧252Aにおいてより光を拡散しやすくし、側部円弧252B、252Cにおいて光の拡散度合いを低くすることができる。これにより、頂点部251から調光空間25内に進入した強い光を中心円弧252Aによって拡散し、輝度のバランスを取ることができる。
また、光導入軸部21が断面正方形状に形成されていることで、光導入軸部21内をZ方向に沿って進行する光が側面によって反射されても、光の集中を抑制することができ、輝度ムラを抑制することができる。即ち、光導入軸部が円柱状となっている構成では、側面によって反射された光が円の中心を焦点として集中しやすく、断面正方形状の光導入軸部21によってこのような光の集中を抑制することができる。
また、出射軸部71を保持する第1保持部311Aと、光導入軸部21を保持する第2保持部311Bと、の間に環状リブ311Cが設けられて光導入軸部21の角部が覆われていることで、光導入軸部21の角部から指針本体2内に光が入射しにくく、迷光を生じにくくして輝度ムラを抑制することができる。さらに、環状リブ311Cにおける光導入軸部21側の上面が、光導入軸部21の角部よりも大きい曲率半径を有してテーパ状に形成されていることで、光導入軸部21と環状リブ311Cとを離隔させた状態において角部を覆いやすくすることができる。
また、主指針部22および副指針部23が、それぞれ、下面222、232に二次反射面としての凹部222Bおよび接近曲面232Bを有することで、発光面24のうち調光空間25をX方向から挟む位置における輝度を確保し、輝度ムラを抑制することができる。即ち、発光面24のうち調光空間25のZ方向上方に位置する領域は、調光空間25を通過した光が出射することで輝度が確保されやすく、発光面24のうち調光空間25から離れた領域は、主指針部22または副指針部23内を全反射しつつ進行する光が出射することで輝度が確保されやすく、発光面24のうち調光空間25をX方向から挟む位置においては輝度が低下しやすいところ、二次反射面によって光を反射させてZ方向上方に進行させることで、輝度を補償することができる。
また、主指針部22の下面222が、発光面24から離れるように延びる離隔面222Aを有することで、調光空間25の前方傾斜部253によって反射された光は、Z方向下方側に向かって進行しにくいことから、離隔面222Aと凹部222Bとの境界である角部に到達しにくい。従って、離隔面222Aと凹部222Bとの間の角部によって光が反射されにくく、発光面24の一部の輝度が高くなることを抑制して輝度ムラを抑制することができる。
なお、本発明は、前記実施形態に限定されるものではなく、本発明の目的が達成できる他の構成等を含み、以下に示すような変形等も本発明に含まれる。
例えば、前記実施形態では、主指針部22および副指針部23の下面222、232が、傾斜面よりも光導入軸部21側に凹状の二次反射面を有しているものとしたが、凹状の反射面の形成位置は傾斜面よりも光導入軸部側に限定されず、発光面のうち局所的に輝度が低下しやすい領域が存在する場合には、この領域に向けて光を反射するように適宜な位置に凹状の反射面を形成してもよい。また、発光面において局所的な輝度低下が生じにくい場合には、下面に二次反射面を形成しなくてもよい。
その他、本発明を実施するための最良の構成、方法などは、以上の記載で開示されているが、本発明は、これに限定されるものではない。すなわち、本発明は、主に特定の実施形態に関して特に図示され、且つ、説明されているが、本発明の技術的思想および目的の範囲から逸脱することなく、以上述べた実施形態に対し、形状、材質、数量、その他の詳細な構成において、当業者が様々な変形を加えることができるものである。従って、上記に開示した形状、材質などを限定した記載は、本発明の理解を容易にするために例示的に記載したものであり、本発明を限定するものではないから、それらの形状、材質などの限定の一部、もしくは全部の限定を外した部材の名称での記載は、本発明に含まれるものである。
1 指針発光装置
2 指針本体
21 光導入軸部
22 主指針部
222 下面
222B 凹部(二次反射面)
222C 接近面(傾斜面)
23 副指針部
232 下面
232B 接近曲面(二次反射面)
232C 接近平面(傾斜面)
24 発光面
25 調光空間
251 頂点部
253 前方傾斜部
254 後方傾斜部
3 ベース(保持部材)
311A 第1保持部
311B 第2保持部
311C 環状リブ
6 光源
7 導光部材
71 出射軸部

Claims (2)

  1. 光源と、
    前記光源から照射された光を導光するとともに出射軸部を有する導光部材と、
    前記出射軸部と同軸上に配置される光導入軸部、前記光導入軸部と交差する方向に延びる主指針部、前記交差する方向の他方側に延びる副指針部、前記主指針部および前記副指針部における前記光導入軸部とは反対側の面に形成された発光面、および、前記光導入軸部と前記発光面との間に形成された調光空間を有する指針本体と、
    前記出射軸部を保持する第1保持部、前記光導入軸部を保持する第2保持部、及び、前記第1保持部と前記第2保持部との間に形成されて前記光導入軸部の角部を覆う環状リブを有するとともに、前記環状リブにおける前記光導入軸部側の面が前記角部よりも大きい曲率半径を有してテーパ状に形成されている保持部材と、を備えることを特徴とする指針発光装置。
  2. 前記調光空間は、頂点部と、前記頂点部から前記発光面側に向かいつつ前記主指針部および前記副指針部のそれぞれの先端に向かうように延びる一対の傾斜部と、を有し、
    前記主指針部および前記副指針部は、それぞれ、前記発光面を構成する上面と、前記発光面とは反対側を向いた下面と、を有し、
    前記下面は、先端側に向かうにしたがって前記上面に近づくように延びる傾斜面と、前記傾斜面よりも前記光導入軸部側において凹状に形成されることで前記傾斜部によって反射された光を反射可能な二次反射面と、を有することを特徴とする請求項1に記載の指針発光装置。
JP2019140964A 2019-07-31 2019-07-31 指針発光装置 Active JP7204304B2 (ja)

Priority Applications (2)

Application Number Priority Date Filing Date Title
JP2019140964A JP7204304B2 (ja) 2019-07-31 2019-07-31 指針発光装置
US16/913,023 US11105661B2 (en) 2019-07-31 2020-06-26 Light emitting pointer device

Applications Claiming Priority (1)

Application Number Priority Date Filing Date Title
JP2019140964A JP7204304B2 (ja) 2019-07-31 2019-07-31 指針発光装置

Publications (2)

Publication Number Publication Date
JP2021025780A JP2021025780A (ja) 2021-02-22
JP7204304B2 true JP7204304B2 (ja) 2023-01-16

Family

ID=74259349

Family Applications (1)

Application Number Title Priority Date Filing Date
JP2019140964A Active JP7204304B2 (ja) 2019-07-31 2019-07-31 指針発光装置

Country Status (2)

Country Link
US (1) US11105661B2 (ja)
JP (1) JP7204304B2 (ja)

Citations (6)

* Cited by examiner, † Cited by third party
Publication number Priority date Publication date Assignee Title
JP2005234397A (ja) 2004-02-20 2005-09-02 Fuji Photo Film Co Ltd 導光板、これを用いる面状照明装置および液晶表示装置
JP2009128889A (ja) 2007-11-28 2009-06-11 Tamura Seisakusho Co Ltd 発光表示部材及び発光表示装置
JP2012154832A (ja) 2011-01-27 2012-08-16 Yazaki Corp 指針部材、指針ユニット、及び、指針計器
JP2013171619A (ja) 2012-02-17 2013-09-02 Sharp Corp 表示装置及びテレビ受信装置
JP2014127332A (ja) 2012-12-26 2014-07-07 Toyoda Gosei Co Ltd 線状照明装置
JP2017133851A (ja) 2016-01-25 2017-08-03 矢崎総業株式会社 車両用表示装置

Family Cites Families (9)

* Cited by examiner, † Cited by third party
Publication number Priority date Publication date Assignee Title
JPS6288377A (ja) * 1985-10-15 1987-04-22 Seiko Instr & Electronics Ltd Ledコリメ−タ−
DE10063875A1 (de) * 2000-12-21 2002-07-04 Siemens Ag Anzeigeinstrument
JP2008058426A (ja) * 2006-08-29 2008-03-13 Tamura Seisakusho Co Ltd 発光表示装置
JP5489870B2 (ja) * 2010-06-16 2014-05-14 矢崎総業株式会社 指針装置及び導光部材
JP5806515B2 (ja) * 2011-06-06 2015-11-10 矢崎総業株式会社 メータ装置の照明構造
JP5657501B2 (ja) * 2011-10-18 2015-01-21 ジェコー株式会社 表示装置
JP5830345B2 (ja) 2011-10-20 2015-12-09 矢崎総業株式会社 メータ装置
JP6063172B2 (ja) * 2012-08-09 2017-01-18 矢崎総業株式会社 メータ装置の照明構造
JP5981285B2 (ja) * 2012-09-18 2016-08-31 矢崎総業株式会社 メータ装置

Patent Citations (6)

* Cited by examiner, † Cited by third party
Publication number Priority date Publication date Assignee Title
JP2005234397A (ja) 2004-02-20 2005-09-02 Fuji Photo Film Co Ltd 導光板、これを用いる面状照明装置および液晶表示装置
JP2009128889A (ja) 2007-11-28 2009-06-11 Tamura Seisakusho Co Ltd 発光表示部材及び発光表示装置
JP2012154832A (ja) 2011-01-27 2012-08-16 Yazaki Corp 指針部材、指針ユニット、及び、指針計器
JP2013171619A (ja) 2012-02-17 2013-09-02 Sharp Corp 表示装置及びテレビ受信装置
JP2014127332A (ja) 2012-12-26 2014-07-07 Toyoda Gosei Co Ltd 線状照明装置
JP2017133851A (ja) 2016-01-25 2017-08-03 矢崎総業株式会社 車両用表示装置

Also Published As

Publication number Publication date
US11105661B2 (en) 2021-08-31
JP2021025780A (ja) 2021-02-22
US20210033433A1 (en) 2021-02-04

Similar Documents

Publication Publication Date Title
JP6356997B2 (ja) 光束制御部材、発光装置、面光源装置および表示装置
JP2011221190A (ja) 光束制御部材、発光装置、及び照明装置
JP5806515B2 (ja) メータ装置の照明構造
JP6502706B2 (ja) キーボード
JP6310285B2 (ja) 発光装置、面光源装置および表示装置
JP2014086343A (ja) 光束制御部材、発光装置、面光源装置および表示装置
JP6380761B2 (ja) ライン照明表示装置および導光体
JP5766044B2 (ja) 光束制御部材、この光束制御部材を備えた発光装置およびこの発光装置を備えた面光源装置
JP7204304B2 (ja) 指針発光装置
JP7039530B2 (ja) 導光指針および指針発光装置
JP2011221182A (ja) 照明用導光板及び車両用表示装置
JP7039529B2 (ja) 導光指針および指針発光装置
JP5334540B2 (ja) 車両用計器
JP2006058068A (ja) 指針
JP2013205756A (ja) 表示装置
JP7038603B2 (ja) 光束制御部材、発光装置、面光源装置および表示装置
JP7360965B2 (ja) カップホルダー
US20220291548A1 (en) Light flux controlling member, light emitting device, surface light source device and display device
US12320497B2 (en) Lighting device
JP5824267B2 (ja) メータ装置
JP4990488B2 (ja) 計器用指針照明構造
JP2009258020A (ja) 表示装置及び前記表示装置に用いられる導光体
JP7188892B2 (ja) 車両表示装置用指針
JP2025068531A (ja) ライトガイド、及び車両用灯具
JP2023062755A (ja) 照明装置

Legal Events

Date Code Title Description
A621 Written request for application examination

Free format text: JAPANESE INTERMEDIATE CODE: A621

Effective date: 20210318

A977 Report on retrieval

Free format text: JAPANESE INTERMEDIATE CODE: A971007

Effective date: 20220119

A131 Notification of reasons for refusal

Free format text: JAPANESE INTERMEDIATE CODE: A131

Effective date: 20220222

A131 Notification of reasons for refusal

Free format text: JAPANESE INTERMEDIATE CODE: A131

Effective date: 20220802

TRDD Decision of grant or rejection written
A01 Written decision to grant a patent or to grant a registration (utility model)

Free format text: JAPANESE INTERMEDIATE CODE: A01

Effective date: 20221227

A61 First payment of annual fees (during grant procedure)

Free format text: JAPANESE INTERMEDIATE CODE: A61

Effective date: 20221227

R150 Certificate of patent or registration of utility model

Ref document number: 7204304

Country of ref document: JP

Free format text: JAPANESE INTERMEDIATE CODE: R150

S531 Written request for registration of change of domicile

Free format text: JAPANESE INTERMEDIATE CODE: R313531

R350 Written notification of registration of transfer

Free format text: JAPANESE INTERMEDIATE CODE: R350