JP7174356B2 - 浴室及び照明装置 - Google Patents

浴室及び照明装置 Download PDF

Info

Publication number
JP7174356B2
JP7174356B2 JP2019027302A JP2019027302A JP7174356B2 JP 7174356 B2 JP7174356 B2 JP 7174356B2 JP 2019027302 A JP2019027302 A JP 2019027302A JP 2019027302 A JP2019027302 A JP 2019027302A JP 7174356 B2 JP7174356 B2 JP 7174356B2
Authority
JP
Japan
Prior art keywords
surface portion
opening
light
illumination
bathroom
Prior art date
Legal status (The legal status is an assumption and is not a legal conclusion. Google has not performed a legal analysis and makes no representation as to the accuracy of the status listed.)
Active
Application number
JP2019027302A
Other languages
English (en)
Other versions
JP2020136049A (ja
Inventor
龍 中田
智之 阿部
甲子郎 北林
英莉 岡部
Current Assignee (The listed assignees may be inaccurate. Google has not performed a legal analysis and makes no representation or warranty as to the accuracy of the list.)
Toto Ltd
Original Assignee
Toto Ltd
Priority date (The priority date is an assumption and is not a legal conclusion. Google has not performed a legal analysis and makes no representation as to the accuracy of the date listed.)
Filing date
Publication date
Application filed by Toto Ltd filed Critical Toto Ltd
Priority to JP2019027302A priority Critical patent/JP7174356B2/ja
Publication of JP2020136049A publication Critical patent/JP2020136049A/ja
Application granted granted Critical
Publication of JP7174356B2 publication Critical patent/JP7174356B2/ja
Active legal-status Critical Current
Anticipated expiration legal-status Critical

Links

Images

Landscapes

  • Bathtubs, Showers, And Their Attachments (AREA)
  • Residential Or Office Buildings (AREA)
  • Fastening Of Light Sources Or Lamp Holders (AREA)
  • Non-Portable Lighting Devices Or Systems Thereof (AREA)

Description

本発明の態様は、一般的に、浴室及び照明装置に関する。
浴室空間に照明装置を設けることが、知られている(特許文献1)。浴室の照明装置において、浴室空間を広くするために、光を照射する照明部の一部を天井よりも上方に配置し、照明装置の天井から下方への突出量を軽減させることが考えられる。
特開2004-202263号公報
しかしながら、このように照明部の一部を天井よりも上方に配置すると、照明部から照射された光のうち、浴室内へ入射する光の光量が減少してしまい、浴室空間全体が暗くなってしまう。その結果、従来並みの浴室内の明るさにするためには、従来よりも強い光を照射する照明部が必要になってしまい、消費電力などコストが増大してしまう。
本発明は、かかる課題の認識に基づいてなされたものであり、照明装置の天井から下方への突出量を軽減させつつ、浴室空間全体が暗くなることを抑制できる浴室及び照明装置を提供することを目的とする。
第1の発明は、開口部を有する天井と、前記開口部に設けられる照明装置と、を備えた浴室であって、前記照明装置は、光を照射する照明部と、前記照明部の下方及び側方を覆い、前記照明部から照射された光を透過可能なカバー部と、を有し、前記照明部は、一部が前記開口部の下端よりも上方に位置し、別の一部が前記開口部の下端よりも下方に位置するように設けられ、前記カバー部は、前記照明部の下方を覆う下面部と、前記照明部の側方を覆う側面部と、を有し、前記側面部の光透過率は、前記下面部の光透過率よりも高く、前記側面部は、上方に向かうにつれ中央に近づくように構成されていることを特徴とする浴室である。
この浴室によれば、光を照射する照明部の一部を天井の開口部の下端よりも上方に配置することで、照明装置の天井から下方への突出量を軽減させることができる。その上で、照明部の別の一部を開口部の下端よりも下方に配置しつつ、カバー部の側面部の光透過率を下面部の光透過率より高いものとすることで、照明部から水平方向に照射された光を有効利用して、照明装置の側方に光を効果的に照射することができる。したがって、浴室空間全体が明るくなり、快適に浴室を利用することができる。また、照明装置の側方に光を照射すると、天井と側面部とで形成される入角に光が当たりやすくなるが、側面部を上方に向かうにつれ中央に近づくように構成することで、入角を入浴者の目に触れにくくすることができる。入角は水が溜まりやすく乾燥しにくいためカビなどによる黒ずみが発生しやすいが、この構成により、入角に光が当たりやすくなった際にも、意匠性が低下してしまうことを抑制できる。
第2の発明は、第1の発明において、前記側面部は、上方に向かうにつれ中央に近づくように傾斜していることを特徴とする浴室である。
この浴室によれば、側面部を上方に向かうにつれ中央に近づくように傾斜させることで、入角に溜まった水がより速やかに排出されやすくなる。これにより、入角に黒ずみが発生することを抑制できる。
第3の発明は、第1の発明において、前記側面部は、上方に向かうにつれ中央に近づくように湾曲していることを特徴とする浴室である。
この浴室によれば、側面部を上方に向かうにつれ中央に近づくように湾曲させることで、入角に溜まった水がより速やかに排出されやすくなる。これにより、入角に黒ずみが発生することを抑制できる。
第4の発明は、第1~第3のいずれか1つの発明において、前記下面部の平面視における面積は、前記開口部の平面視における面積よりも大きいことを特徴とする浴室である。
この浴室によれば、下面部の平面視における面積を開口部の平面視における面積よりも大きくすることで、照明部から照射され下面部の内側に反射した光が開口部内に入ってしまうことを抑制できる。これにより、照明部から照射された光をより有効に利用することができる。
第5の発明は、開口部を有する浴室の天井に設けられる照明装置であって、光を照射する照明部と、前記照明部の下方及び側方を覆い、前記照明部から照射された光を透過可能なカバー部と、を備え、前記照明部は、一部が前記開口部の下端よりも上方に位置し、別の一部が前記開口部の下端よりも下方に位置するように設けられ、前記カバー部は、前記照明部の下方を覆う下面部と、前記照明部の側方を覆う側面部と、を有し、前記側面部の光透過率は、前記下面部の光透過率よりも高く、前記側面部は、上方に向かうにつれ中央に近づくように構成されていることを特徴とする照明装置である。
この照明装置によれば、光を照射する照明部の一部を天井の開口部の下端よりも上方に配置することで、照明装置の天井から下方への突出量を軽減させることができる。その上で、照明部の別の一部を開口部の下端よりも下方に配置しつつ、カバー部の側面部の光透過率を下面部の光透過率より高いものとすることで、照明部から水平方向に照射された光を有効利用して、照明装置の側方に光を効果的に照射することができる。したがって、浴室空間全体が明るくなり、快適に浴室を利用することができる。また、この際、天井と側面部とで形成される入角に光が当たりやすくなるが、側面部を上方に向かうにつれ中央に近づくように構成することで、入角を入浴者の目に触れにくくすることができる。入角は水が溜まりやすく乾燥しにくいためカビなどによる黒ずみが発生しやすいが、この構成により、入角に光が当たりやすくなった際にも、意匠性が低下してしまうことを抑制できる。
本発明の態様によれば、照明装置の天井から下方への突出量を軽減させつつ、浴室空間全体が暗くなることを抑制できる浴室及び照明装置が提供される。
実施形態に係る浴室を模式的に表す斜視図である。 実施形態に係る照明装置を模式的に表す側面図である。 実施形態に係る照明装置を模式的に表す断面図である。 実施形態に係る照明装置を模式的に表す平面図である。 実施形態に係る浴室を模式的に表す平面図である。 実施形態に係る照明装置の変形例を模式的に表す正面図である。 実施形態に係る照明装置の変形例を模式的に表す断面図である。 実施形態に係る浴室の変形例を模式的に表す平面図である。
以下、本発明の実施の形態について図面を参照しつつ説明する。なお、各図面中、同様の構成要素には同一の符号を付して詳細な説明は適宜省略する。
図1は、実施形態に係る浴室を模式的に表す斜視図である。
図1に表したように、浴室2は、浴槽3と、洗い場床4と、壁パネル5と、天井6と、照明装置10と、水栓装置20と、洗面カウンター30と、鏡40と、を備えている。
洗い場床4は、浴槽3に隣接して設けられる。壁パネル5は、例えば、壁パネル5a~5dを有する。壁パネル5a~5dは、浴槽3及び洗い場床4を囲むように設けられる。壁パネル5a及び5bは、浴槽3の短手方向に沿う。壁パネル5aは、壁パネル5bと対向する。壁パネル5c及び5dは、浴槽3の長手方向に沿う。壁パネル5cは、壁パネル5dと対向する。壁パネル5cは、浴槽3側に設けられており、壁パネル5dは、洗い場床4側に設けられている。
天井6は、浴槽3の上方及び洗い場床4の上方に設けられる。天井6は、上下方向に貫通する開口部6aを有する。開口部6aは、洗い場床4の上方に設けられている。
浴室2は、例えば、浴槽3、洗い場床4、周囲の各壁パネル5、及び天井6などをユニット化した、いわゆるユニットバスやシステムバスなどである。浴室2は、建築躯体の内部に設置して使用される。
照明装置10は、天井6の開口部6aにおいて、開口部6aの下端(天井6の下面)から下方に突出するように設けられる。照明装置10は、下方及び側方に向かって光(可視光)を照射する。これにより、浴室2内を明るくすることができる。照明装置10は、浴槽3の長手方向において、鏡40と並ぶように設けられている。照明装置10については、後述する。
水栓装置20は、水または湯を吐出する。水栓装置20は、壁パネル5の1つに設けられる。この例では、水栓装置20は、壁パネル5aに設けられている。また、水栓装置20は、壁パネル5aにおいて、洗い場床4の上方に設けられている。水栓装置20は、浴槽3の短手方向に延び壁パネル5aから突出する平板状であり、上面にシャンプーボトルなどの物品を載置可能な平面部を有する。水栓装置20は、いわゆる水栓カウンターである。
洗面カウンター30は、水栓装置20の下方に設けられる。この例では、洗面カウンター30は、壁パネル5aにおいて、水栓装置20の下方に設けられている。また、洗面カウンター30は、浴槽3の短手方向において、浴槽3と重なる位置に設けられている。洗面カウンター30は、浴槽3の短手方向に延び壁パネル5aから突出する平板状であり、上面に洗面器などの物品を載置可能な平面部を有する。洗面カウンター30は、必要に応じて設けられ、省略可能である。
鏡40は、水栓装置20の上方に設けられる。この例では、鏡40は、壁パネル5aにおいて、水栓装置20の上方に設けられている。鏡40は、必要に応じて設けられ、省略可能である。
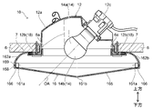
図2は、実施形態に係る照明装置を模式的に表す側面図である。
図3は、実施形態に係る照明装置を模式的に表す断面図である。
図2は、図1に示すAの方向から見た側面図である。
図3は、図1に示すB1-B2線における断面を示す断面図である。
図2及び図3に表したように、照明装置10は、天井6の開口部6aを貫通するように設けられる。照明装置10は、本体部12と、照明部14と、カバー部16と、を有する。
本体部12は、天井6の開口部6aを貫通し上方に突出するカップ部12aと、カップ部12aの下端から外側に拡がるフランジ部12bを有している。カップ部12aの上部には、照明部14を取り付けるためのソケット12cが設けられている。フランジ部12bは、天井6の下面にネジ止めにより固定されている。
照明部14は、光を照射する。照明部14は、例えば、電球である。照明部14は、例えば、LED(Light Emitting Diode)、LD(Laser Diode)、またはOLED(Organic Light Emitting Diode)などの光源を有する。光源は、上記に限ることなく、光(可視光)を照射する任意の光源でよい。
照明部14は、本体部12とカバー部16とにより形成される空間の内部に設けられる。照明部14とカバー部16との間は、例えば、空気で満たされている。照明部14から照射された光は、空気を伝わってカバー部16に入射する。照明部14は、本体部12のカップ部12aに設けられたソケット12cに取り付けられる。
照明部14は、一部14aが開口部6aの下端(天井6の下面)よりも上方に位置し、別の一部14bが開口部6aの下端(天井6の下面)よりも下方に位置するように設けられる。この例では、照明部14は、一部14aが開口部6aの上端(天井6の上面)よりも上方に位置し、別の一部14bが開口部6aの下端(天井6の下面)よりも下方に位置するように設けられている。つまり、照明部14は、開口部6aを上下方向に貫通するように、開口部6aの内部に設けられている。
なお、照明部14の一部14a及び別の一部14bは、いずれも電球の光を発する部分(球の部分)であることが好ましい。すなわち、照明部14は、照明部14のうち光を発する部分の一部が開口部6aの下端よりも上方に位置し、照明部14のうち光を発する部分の別の一部が開口部6aの下端よりも下方に位置するように設けられることが好ましい。
このように、光を照射する照明部14の一部14aを天井6の開口部6aの下端よりも上方に配置することで、照明部14の天井6から下方への突出量を軽減させることができ、結果として照明装置10の天井6から下方への突出量を軽減させることができる。また、照明部14の別の一部14bを天井6の開口部6aの下端よりも下方に配置することで、照明部14から水平方向に照射された光を後述のカバー部16の側面部162に直接入射させることができる。
カバー部16は、照明部14の下方及び側方を覆うように設けられる。カバー部16は、例えば、本体部12に対して着脱自在に取り付けられる。カバー部16は、照明部14から照射された光を透過可能である。カバー部16は、照明部14の下方を覆う下面部161と、照明部14の側方を覆う側面部162と、を有する。
側面部162の光透過率は、下面部161の光透過率よりも高い。下面部161の光透過率は、例えば、40%以上80%以下、好ましくは50%以上70%以下、より好ましくは60%程度(例えば、58%)である。側面部162の光透過率は、例えば、80%以上100%以下、好ましくは、90%以上100%以下、より好ましくは95%以上100%以下(例えば、99%)である。
なお、下面部161の光透過率は、側面部162の光透過率の半分よりも大きいことが好ましい。これにより、下面部161を透過した光の強度が低くなりすぎることを抑制できる。すなわち、洗い場床4側が暗くなることを抑制できる。
ここで、光透過率は、例えば、全光線透過率または可視光透過率である。光透過率は、例えば、JIS K 7361-1:1997に規定される全光線透過率であってもよい。光透過率は、例えば、JIS K 7375:2008に規定される全光線透過率であってもよい。
このように、照明部14の別の一部14bを開口部6aの下端よりも下方に配置しつつ、カバー部16の側面部162の光透過率を下面部161の光透過率より高いものとすることで、照明部14から水平方向に照射された光を有効利用して、照明装置10の側方に光を効果的に照射することができる。したがって、浴室空間全体が明るくなり、快適に浴室2を利用することができる。
また、カバー部16に側面部162を設けることで、側面部162を透過した光が天井6に照射され、カバー部16周辺の天井6を照らすことができる。これにより、間接照明のような演出効果が得られ、より快適に浴室2を利用することができる。
下面部161は、例えば、乳白色の樹脂などからなる。乳白色の樹脂などで下面部161を構成することで、照明部14が粒状に透けて意匠性を損なうことを抑制できる。
側面部162は、例えば、透明な樹脂などからなる。透明な樹脂などで側面部162を構成することで、より容易に側面部162の光透過率を下面部161の光透過率よりも高くすることができる。なお、側面部162に透明な樹脂を用いる場合、側面部162にシボ加工などを施すことで、側面部162からカバー部16の内部が見えてしまうことを抑制できる。
下面部161は、上方または下方に湾曲する湾曲部164を有する。換言すれば、下面部161は、上下方向の位置が異なる2点を有し、この2点は、弧状に連続する。この例では、湾曲部164は、下方に湾曲している。
このように、下面部161に上方または下方に湾曲する湾曲部164を設けることで、照明部14から照射され下面部161の内側に反射した光が開口部6a内に入ってしまうことを抑制できる。これにより、照明部14から照射された光をより有効に利用することができる。
湾曲部164は、下面部161の縁161aから中央161bに向かうにつれ下方に向かうように湾曲している。下面部161の縁161aは、平面視における下面部161の外周部である。下面部161の中央161bは、平面視における下面部161の中心である。下面部161の中央161bは、例えば、下面部161の重心である。
このように、下面部161の縁161aから中央161bに向かうにつれ下方に向かうように湾曲する湾曲部164を設けることで、照明部14と下面部161との距離が近くなってしまうことを抑制し、照明部14から下方に照射された光が粒状に見えてしまうことを抑制できる。これにより、意匠性を向上させることができる。
この例では、湾曲部164は、下面部161の縁161aの全周から中央161bに向かうにつれ下方に向かうように湾曲している。湾曲部164は、下面部161の縁161aの一部から中央161bに向かうにつれ下方に向かうように湾曲していてもよい。換言すれば、湾曲部164は、下面部161の一部にだけ設けられていてもよい。
また、下面部161は、縁161aに略水平なフラット部166を有する。ここで、「略水平」とは、天井6(または洗い場床4)とフラット部166とのなす角度が、0度±5度の状態である。
このように、下面部161の縁161aに略水平なフラット部166を設けることで、カバー部16の下面部161と側面部162とを別々に作製して溶着する場合に、溶着しやすい。
側面部162は、照明部14から浴槽3側(壁パネル5c側)に照射された光が透過する第1部分162aと、照明部14から浴槽3とは反対側(壁パネル5d側)に照射された光が透過する第2部分162bと、を有する。
この例では、側面部162は、壁パネル5a~5dのそれぞれに向かう4つの面を有する。第1部分162aは、壁パネル5cに向かう面の一部である。第2部分162bは、壁パネル5dに向かう面の一部である。例えば、側面部162は、円筒状に連続する1つの面であってもよい。すなわち、第1部分162aが連続する1つの面の一部であり、第2部分162bが連続する1つの面の別の一部であってもよい。
第1部分162aを透過した光の強度は、第2部分162bを透過した光の強度よりも大きい。このように、照明部14から浴槽3側に照射され第1部分162aを透過した光の強度を、照明部14から浴槽3とは反対側に照射され第2部分162bを透過した光の強度よりも大きくすることで、照明装置10からの距離が遠く、範囲も広い浴槽3側を、明るくすることができる。
この例では、照明部14は、第1部分162aに照射される光の強度が、第2部分162bに照射される光の強度よりも大きくなるように、光軸OAを傾けて設けられている。ここで、照明部14の光軸OAは、照明部14の照射角度の中央である。
このように、第1部分162aに照射される光の強度が第2部分162bに照射される光の強度よりも大きくなるように光軸OAを傾けて照明部14を設けることで、より容易に第1部分162aを透過した光の強度を第2部分162bを透過した光の強度よりも大きくすることができる。これにより、より容易に浴槽3側を明るくすることができる。
なお、第1部分162aを透過した光の強度を第2部分162bを透過した光の強度よりも大きくする手段は、照明部14の光軸OAを傾けることに限定されない。例えば、照明部14と第1部分162aとの水平方向の距離が照明部14と第2部分162bとの水平方向の距離よりも短くなるように照明部14やカバー部16を設けることで、第1部分162aを透過した光の強度を第2部分162bを透過した光の強度よりも大きくしてもよい。また、第1部分162aの光透過率を第2部分162bの光透過率よりも大きくすることで、第1部分162aを透過した光の強度を第2部分162bを透過した光の強度よりも大きくしてもよい。また、カバー部16の内部に反射板やレンズなどを設けることで、第1部分162aを透過した光の強度を第2部分162bを透過した光の強度よりも大きくしてもよい。
また、側面部162は、上方に向かうにつれ中央(下面部161の中央161b)に近づくように構成されている。換言すれば、側面部162の上端は、側面部162の下端よりも内側に配置されている。この例では、側面部162の全周が、上方に向かうにつれ中央に近づくように構成されている。つまり、第1部分162a及び第2部分162bは、それぞれ、上方に向かうにつれ中央に近づくように構成されている。なお、実施形態においては、側面部162の一部だけが、上方に向かうにつれ中央に近づくように構成されていてもよい。
照明装置10の側方に光を照射すると、天井6と側面部162(第1部分162a)とで形成される入角(角部)7に光が当たりやすくなるが、側面部162(第1部分162a)を上方に向かうにつれ中央に近づくように構成することで、入角7を入浴者の目に触れにくくすることができる。入角7は水が溜まりやすく乾燥しにくいためカビなどによる黒ずみが発生しやすいが、この構成により、入角7に光が当たりやすくなった際にも、意匠性が低下してしまうことを抑制できる。
また、側面部162を上方に向かうにつれ中央に近づくように構成することで、側面部162と天井6との間の空間に指を入れることが可能になる。したがって、カバー部16を本体部12に対して着脱する際に、着脱しやすくなる。
側面部162は、上方に向かうにつれ中央に近づくように傾斜している。この例では、側面部162の全周が、上方に向かうにつれ中央に近づくように傾斜している。つまり、第1部分162a及び第2部分162bは、それぞれ、上方に向かうにつれ中央に近づくように傾斜している。なお、実施形態においては、側面部162の一部だけが、上方に向かうにつれ中央に近づくように傾斜していてもよい。
このように、側面部162(第1部分162a)を上方に向かうにつれ中央に近づくように傾斜させることで、入角7に溜まった水がより速やかに排出されやすくなる。これにより、入角7に黒ずみが発生することを抑制できる。
また、照明装置10は、照明部14から照射された光の一部を遮蔽可能な遮蔽部18をさらに有する。遮蔽部18は、照明部14から天井6と側面部162とで形成される入角7に直接照射される光を遮蔽する。
遮蔽部18は、光を遮蔽可能な材質で構成される。例えば、遮蔽部18の光透過率は、カバー部16の側面部162の光透過率よりも低い。遮蔽部18の光透過率は、例えば、0%以上20%以下、好ましくは0%以上10%以下、より好ましくは0%以上5%以下である。
照明装置10の側方に光を照射すると、天井6と側面部162とで形成される入角7に光が当たりやすくなる。入角7は水が溜まりやすく乾燥しにくいためカビなどによる黒ずみが発生しやすいが、遮蔽部18を設けることで、入角7に光が当たりにくくすることができるため、意匠性が低下してしまうことを抑制できる。
遮蔽部18は、水平方向において入角7と重なる位置に設けられる。換言すれば、遮蔽部18は、入角7の真横に設けられ、入角7を形成する側面部162の上端よりも下方に配置される。この例では、天井6の下面よりも下方に位置する本体部12のフランジ部12bが、遮蔽部18として機能している。遮蔽部18は、これに限定されず、本体部12とは別に設けられてもよい。遮蔽部18は、例えば、カバー部16に設けられてもよい。
このように、水平方向において入角7と重なる位置に遮蔽部18を設けることで、照明部14から入角7に向かって水平方向に照射された光を、遮蔽部18で遮蔽することができる。これにより、入角7に光が当たりにくくすることができるため、意匠性が低下してしまうことを抑制できる。
実施形態において、カバー部16は、例えば、光透過率の異なる下面部161と側面部162とを別々に成形し、これらを溶着することで作製される。この例では、下面部161は、フラット部166から略鉛直に上方に延びる上延部168を有する。側面部162は、傾斜する部分の下端から略鉛直に下方に延びる下延部169を有する。カバー部16の下面部161と側面部162とは、上延部168と下延部169とが溶着されることで溶着される。下面部161と側面部162との溶着部には、上延部168と下延部169とからなる略鉛直な面が形成されている。
図4は、実施形態に係る照明装置を模式的に表す平面図である。
図4は、図1に示すCの方向から見た平面図である。
図4に表したように、下面部161の平面視における面積は、例えば、開口部6aの平面視における面積よりも大きい。開口部6aの平面視における面積は、例えば、開口部6aの下端の面積である。
このように、下面部161の平面視における面積を開口部6aの平面視における面積よりも大きくすることで、照明部14から照射され下面部161の内側に反射した光が開口部6a内に入ってしまうことを抑制できる。これにより、照明部14から照射された光をより有効に利用することができる。
また、図4に表したように、この例では、開口部6a及び下面部161の平面視における形状は、略正方形状である。開口部6a及び下面部161の平面視における形状は、これに限定されず、円形などであってもよい。また、下面部161の平面視における形状は、開口部6aの平面視における形状と同じであってもよいし、異なっていてもよい。
図5は、実施形態に係る浴室を模式的に表す平面図である。
図5は、図1に示すDの方向から見た平面図である。
図5に表したように、この例では、照明部14は、光軸OAが壁パネル5aに対して平行になるように設けられている。換言すれば、照明部14は、光軸OAが壁パネル5cに対して垂直に入射するように設けられている。
なお、照明部14を設ける向きはこれに限定されない。後述のように、照明部14は、光軸OAが壁パネル5aに対して傾斜するように設けられてもよい(図8参照)。
図6は、実施形態に係る照明装置の変形例を模式的に表す側面図である。
図7は、実施形態に係る照明装置の変形例を模式的に表す断面図である。
図6は、図2と同じ方向から見た側面図である。
図7は、図3と同じ方向から見た断面図である。
図6及び図7に表したように、この例では、カバー部16の下面部161は、上方または下方に傾斜する傾斜部165を有する。換言すれば、下面部161は、上下方向の位置が異なる2点を有し、この2点は、直線状に連続する。この例では、傾斜部165は、下方に傾斜している。
このように、下面部161に上方または下方に傾斜する傾斜部165を設けることで、照明部14から照射され下面部161の内側に反射した光が開口部6a内に入ってしまうことを抑制できる。これにより、照明部14から照射された光をより有効に利用することができる。
傾斜部165は、下面部161の縁161aから中央161bに向かうにつれ下方に向かうように傾斜している。このように、下面部161の縁161aから中央161bに向かうにつれ下方に向かうように傾斜する傾斜部165を設けることで、照明部14と下面部161との距離が近くなってしまうことを抑制し、照明部14から下方に照射された光が粒状に見えてしまうことを抑制できる。これにより、意匠性を向上させることができる。
この例では、傾斜部165は、下面部161の縁161aの全周から中央161bに向かうにつれ下方に向かうように傾斜している。傾斜部165は、下面部161の縁161aの一部から中央161bに向かうにつれ下方に向かうように傾斜していてもよい。換言すれば、傾斜部165は、下面部161の一部にだけ設けられていてもよい。また、下面部161の一部に湾曲部164が設けられ、下面部161の別の一部に傾斜部165が設けられていてもよい。
また、カバー部16の側面部162は、上方に向かうにつれ中央に近づくように湾曲している。この例では、側面部162の全周が、上方に向かうにつれ中央に近づくように湾曲している。つまり、第1部分162a及び第2部分162bは、それぞれ、上方に向かうにつれ中央に近づくように湾曲している。なお、実施形態においては、側面部162の一部だけが、上方に向かうにつれ中央に近づくように湾曲していてもよい。
このように、側面部162(第1部分162a)を上方に向かうにつれ中央に近づくように湾曲させることで、入角7に溜まった水がより速やかに排出されやすくなる。これにより、入角7に黒ずみが発生することを抑制できる。
図8は、実施形態に係る浴室の変形例を模式的に表す平面図である。
図8は、図5と同じ方向から見た平面図である。
図8に表したように、照明部14は、光軸OAが壁パネル5aに対して傾斜するように設けられてもよい。この例では、照明部14は、光軸OAが壁パネル5cの中央付近に入射するように設けられている。
このように、光軸OAが壁パネル5cの中央付近に入射するように照明部14を設けることで、照明装置10から遠い壁パネル5cの壁パネル5b側を明るくすることができる。これにより、浴室2全体をより明るくすることができる。
以上、本発明の実施形態について説明した。しかし、本発明はこれらの記述に限定されるものではない。前述の実施形態に関して、当業者が適宜設計変更を加えたものも、本発明の特徴を備えている限り、本発明の範囲に包含される。例えば、浴室や照明装置などが備える各要素の形状、寸法、材質、配置などは、例示したものに限定されるわけではなく適宜変更することができる。
また、前述した各実施形態が備える各要素は、技術的に可能な限りにおいて組み合わせることができ、これらを組み合わせたものも本発明の特徴を含む限り本発明の範囲に包含される。
2 浴室、 3 浴槽、 4 洗い場床、 5、5a~5d 壁パネル、 6 天井、 6a 開口部、 10 照明装置、 12 本体部、 12a カップ部、 12b フランジ部、 14 照明部、 14a 一部、 14b 別の一部、 16 カバー部、 18 遮蔽部、 20 水栓装置、 30 洗面カウンター、 161 下面部、 161a 縁、 161b 中央、 162 側面部、 162a、162b 第1、第2部分、 164 湾曲部、 165 傾斜部、 166 フラット部、 168 上延部、 169 下延部、 OA 光軸

Claims (5)

  1. 開口部を有する天井と、前記開口部に設けられる照明装置と、を備えた浴室であって、
    前記照明装置は、
    光を照射する照明部と、
    前記照明部の下方及び側方を覆い、前記照明部から照射された光を透過可能なカバー部と、
    を有し、
    前記照明部は、一部が前記開口部の下端よりも上方に位置し、別の一部が前記開口部の下端よりも下方に位置するように設けられ、
    前記カバー部は、前記照明部の下方を覆う下面部と、前記照明部の側方を覆う側面部と、を有し、
    前記側面部の光透過率は、前記下面部の光透過率よりも高く、
    前記側面部は、上方に向かうにつれ中央に近づくように構成されていることを特徴とする浴室。
  2. 前記側面部は、上方に向かうにつれ中央に近づくように傾斜していることを特徴とする請求項1記載の浴室。
  3. 前記側面部は、上方に向かうにつれ中央に近づくように湾曲していることを特徴とする請求項1記載の浴室。
  4. 前記下面部の平面視における面積は、前記開口部の平面視における面積よりも大きいことを特徴とする請求項1~3のいずれか1つに記載の浴室。
  5. 開口部を有する浴室の天井に設けられる照明装置であって、
    光を照射する照明部と、
    前記照明部の下方及び側方を覆い、前記照明部から照射された光を透過可能なカバー部と、
    を備え、
    前記照明部は、一部が前記開口部の下端よりも上方に位置し、別の一部が前記開口部の下端よりも下方に位置するように設けられ、
    前記カバー部は、前記照明部の下方を覆う下面部と、前記照明部の側方を覆う側面部と、を有し、
    前記側面部の光透過率は、前記下面部の光透過率よりも高く、
    前記側面部は、上方に向かうにつれ中央に近づくように構成されていることを特徴とする照明装置。
JP2019027302A 2019-02-19 2019-02-19 浴室及び照明装置 Active JP7174356B2 (ja)

Priority Applications (1)

Application Number Priority Date Filing Date Title
JP2019027302A JP7174356B2 (ja) 2019-02-19 2019-02-19 浴室及び照明装置

Applications Claiming Priority (1)

Application Number Priority Date Filing Date Title
JP2019027302A JP7174356B2 (ja) 2019-02-19 2019-02-19 浴室及び照明装置

Publications (2)

Publication Number Publication Date
JP2020136049A JP2020136049A (ja) 2020-08-31
JP7174356B2 true JP7174356B2 (ja) 2022-11-17

Family

ID=72263439

Family Applications (1)

Application Number Title Priority Date Filing Date
JP2019027302A Active JP7174356B2 (ja) 2019-02-19 2019-02-19 浴室及び照明装置

Country Status (1)

Country Link
JP (1) JP7174356B2 (ja)

Citations (1)

* Cited by examiner, † Cited by third party
Publication number Priority date Publication date Assignee Title
JP2004071408A (ja) 2002-08-07 2004-03-04 Matsushita Electric Works Ltd 照明器具

Family Cites Families (1)

* Cited by examiner, † Cited by third party
Publication number Priority date Publication date Assignee Title
JPS5551965Y2 (ja) * 1974-12-25 1980-12-03

Patent Citations (1)

* Cited by examiner, † Cited by third party
Publication number Priority date Publication date Assignee Title
JP2004071408A (ja) 2002-08-07 2004-03-04 Matsushita Electric Works Ltd 照明器具

Also Published As

Publication number Publication date
JP2020136049A (ja) 2020-08-31

Similar Documents

Publication Publication Date Title
JP5218126B2 (ja) 洗面カウンタ
CN103126571B (zh) 洗脸化妆台
JP5348778B2 (ja) 照明器具
JP7174356B2 (ja) 浴室及び照明装置
JP7174355B2 (ja) 浴室及び照明装置
JP7205720B2 (ja) 浴室
JP7205283B2 (ja) 浴室
JP6323796B2 (ja) 照明装置付き鏡
JP6296328B2 (ja) 照明器具
JP7133144B2 (ja) ボウルユニット
JP6041116B2 (ja) 洗面化粧台
JP2014055460A (ja) 便器装置
JP6074862B2 (ja) 照明構造
JP5866603B2 (ja) 照明装置付きミラーおよびこれを備えた洗面化粧台
JP2008171591A (ja) 通路用照明器具
ITMI20062063A1 (it) Apparecchio da incasso per l'illuminazione uniforme di pareti
JP2015148106A (ja) 浴室における照明装置兼点検口蓋
JP7054471B2 (ja) 照明付き鏡及び洗面化粧台
JP2996249B2 (ja) 照明装置
JP5771787B2 (ja) 照明付き洗面化粧台
JP2007194089A (ja) 照明器具用グローブ
JP2021197246A (ja) 照明装置および照明付き鏡
JP2021031877A (ja) 浴室及び浴室用壁掛け照明装置
JP2019046608A (ja) 浴室用照明装置
JP2019046609A (ja) 浴室用照明装置

Legal Events

Date Code Title Description
A621 Written request for application examination

Free format text: JAPANESE INTERMEDIATE CODE: A621

Effective date: 20211221

TRDD Decision of grant or rejection written
A01 Written decision to grant a patent or to grant a registration (utility model)

Free format text: JAPANESE INTERMEDIATE CODE: A01

Effective date: 20221007

A977 Report on retrieval

Free format text: JAPANESE INTERMEDIATE CODE: A971007

Effective date: 20221012

A61 First payment of annual fees (during grant procedure)

Free format text: JAPANESE INTERMEDIATE CODE: A61

Effective date: 20221020

R150 Certificate of patent or registration of utility model

Ref document number: 7174356

Country of ref document: JP

Free format text: JAPANESE INTERMEDIATE CODE: R150