JP7152870B2 - スチーマー - Google Patents

スチーマー Download PDF

Info

Publication number
JP7152870B2
JP7152870B2 JP2018064636A JP2018064636A JP7152870B2 JP 7152870 B2 JP7152870 B2 JP 7152870B2 JP 2018064636 A JP2018064636 A JP 2018064636A JP 2018064636 A JP2018064636 A JP 2018064636A JP 7152870 B2 JP7152870 B2 JP 7152870B2
Authority
JP
Japan
Prior art keywords
steam
main body
steamer
temperature
cover
Prior art date
Legal status (The legal status is an assumption and is not a legal conclusion. Google has not performed a legal analysis and makes no representation as to the accuracy of the status listed.)
Active
Application number
JP2018064636A
Other languages
English (en)
Other versions
JP2019170846A (ja
Inventor
正人 栗林
晃一 庭山
浩文 笠原
均 高木
一也 三宅
幸久 小林
Current Assignee (The listed assignees may be inaccurate. Google has not performed a legal analysis and makes no representation or warranty as to the accuracy of the list.)
Toshiba Home Technology Corp
Original Assignee
Toshiba Home Technology Corp
Priority date (The priority date is an assumption and is not a legal conclusion. Google has not performed a legal analysis and makes no representation as to the accuracy of the date listed.)
Filing date
Publication date
Application filed by Toshiba Home Technology Corp filed Critical Toshiba Home Technology Corp
Priority to JP2018064636A priority Critical patent/JP7152870B2/ja
Publication of JP2019170846A publication Critical patent/JP2019170846A/ja
Application granted granted Critical
Publication of JP7152870B2 publication Critical patent/JP7152870B2/ja
Active legal-status Critical Current
Anticipated expiration legal-status Critical

Links

Images

Landscapes

  • Irons (AREA)

Description

本発明は、衣類などの繊維製品にスチームを噴出し、当該繊維製品の布地をプレスして皺伸ばしをするスチーマーに関する。
従来この種のスチーマーは多数報告されており、例えばスチーマーと同様にスチームを噴出し布地をプレスして皺伸ばしをするスチームアイロンとして、布地をプレスするための掛け面部材と、この掛け面部材に設けられ、スチームを放出するスチーム噴出孔と、を備えたものが報告されている(例えば、特許文献1)。
特開2017-042554号公報
特許文献1のスチームアイロンでは、スチーム噴出時に掛け面部材にスチームが当たってしまい、掛け面部材の温度が上昇してしまうため、溶解温度の異なる繊維製品の布地にスチームしてプレスする場合に、掛け面部材の掛け面の温度調整をする必要があり面倒であった。また気化室を備えたベースと掛け面部材が密着しており、双方が熱伝導率の良好な部材で構成され、気化室の温度を上昇させると掛け面部材の掛け面の温度も追従して上昇するため、気化室の温度は最高で200℃が限界であり、スチームを発生することができる時間であるスチーム持続時間も、この200℃からの持続時間より長く保つことができなかった。
そこで本発明は上記事情に鑑み、掛け面の温度上昇を抑制することができるスチーマーを提供することを第1の目的とする。
また本発明は上記事情に鑑み、スチーム持続時間をより長く保つことができるスチーマーを提供することを第2の目的とする。
本発明のスチーマーは、スチームを噴出するスチーム噴出孔を備えるスチーマー本体と、前記スチーマー本体に電源電圧を供給する給電装置と、を備え、前記スチーマー本体は、当該スチーマー本体の底部を形成する遮熱カバーの底面に固着される金属板を有し、前記スチーマー本体は、液体を気化させるスチーム発生装置と、当該スチーム発生装置および前記金属板の間に設けられ、前記スチーム噴出孔を有するスチーム継手と、をさらに備え、前記金属板は、前記スチーム噴出孔の口径よりも大きい内径のスチーム孔を有し、前記遮熱カバーは、前記スチーム継手を挿通可能な挿通孔部を有し、当該挿通孔部に前記スチーム継手を挿通させたときに前記スチーム継手が前記遮熱カバーの前記底面よりも突出し、前記遮熱カバーに前記金属板を固着したときに前記スチーム継手が前記金属板に弾性的に接触し、前記スチーム噴出孔の周囲にそれぞれ対応する前記スチーム孔が位置するように前記スチーマー本体が前記金属板を具備する構成としたことを特徴とする。
請求項1の発明によれば、スチーム噴出時に金属板にスチームが当たることがなく、そのため金属板の温度上昇を抑制することができる。したがって溶解温度の異なる繊維製品でも、金属板の掛け面の温度調整をすることなく、繊維製品の布地をスチーム後に金属板の掛け面でプレスして皺伸ばしができる。
請求項2の発明によれば、コードレスで、スチーム後に金属板の掛け面でプレスして皺伸ばしができる。
請求項3の発明によれば、スチーム発生装置の熱が金属板に伝わることを抑制して、この金属板からの熱の外気への放出を抑制することができる。さらにスチーム発生装置の温度を上げても金属板の温度が上がることはなく、スチーム発生装置の温度をより高く設定することができ、スチーム使い始めの温度をより高温からスタートさせることができるため、スチームを発生することができる時間であるスチーム持続時間をより長く保つことができ、スチーマーのコードレスでのスチーム発生持続性を高めることができる。
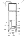
本発明の第1実施例におけるスチーマー本体の斜視図である。 同上、スチーマー本体および載置台の側面図である。 同上、スチーマー本体の縦断面図および底面図である。 同上、スチーマー本体の下方からの分解斜視図である。 同上、気化室からスチーム継手の貫通孔に至るスチームの経路を示す要部の縦断面図である。 本発明の第2実施例におけるスチーマー本体の縦断面図である。 同上、PTCヒータおよびボイラーヒータの、ON/OFF切換えの制御方法を示した図である。 従来のスチームアイロンおよび図6のアイロン本体の、スチーム量と掛け面温度の関係を示したグラフである。 本発明の第3実施例におけるアイロン本体の上面図である。 同上、アイロン本体の縦断面図である。 同上、温度調節レバーが切位置のときのアイロン本体の要部拡大断面図である。 同上、温度調節レバーが通電位置のときのアイロン本体の要部拡大断面図である。 本発明の第4実施例におけるアイロン本体の縦断面図である。 同上、可動モータ、山谷部および回転軸95の動作を示す要部拡大概略図である。 本発明の第5実施例におけるスチーマー本体の縦断面図である。
以下、添付図面を参照しつつ、本発明の好ましいスチーマーの実施例について説明する。ここでいうスチーマーとは、衣類などの繊維製品に向けてスチームを噴出できるあらゆる製品を含む。
図1~図5は、本発明の第1実施例のスチーマーを示している。先ず図1~図3に基づいてスチーマーの全体構成から説明する。なお、図1は本実施例のスチーマー本体1の斜視図であり、図2は本実施例のスチーマー本体1および載置台2の側面図であり、図3(A)は本実施例のスチーマーの縦断面図であり、図3(B)は本実施例のスチーマーの底面図である。
1はスチーマー本体であり、このスチーマー本体1は載置台2に着脱自在に載置される。スチーマー本体1の後部には凹状の受電部3が設けられ、スチーマー本体1を載置台2に載置して、受電部3を載置台2の給電部4に嵌合させたときに、載置台2から給電部4経由で、電源電圧が受電部3を通してスチーマー本体1に供給される構成となっている。なお、本実施例は載置台2を中継してスチーマー本体1に給電するコードレス式のスチーマーであるが、載置台2を用いずに電源電圧をスチーマー本体1に直接供給する電源コード付きのスチーマーでも構わない。
12は、スチーマー本体1の底部を形成する耐熱プラスチック製の遮熱カバー下であり、11は、遮熱カバー下12に被せるように形成される耐熱プラスチック製の遮熱カバー上である。また17は、遮熱カバー下12にさらに被せるように形成される外カバーであり、スチーマー本体1は、遮熱カバー上11、遮熱カバー下12および外カバー17で外面部が構成されている。13は、外カバー17上部に設けられ、側面から見て後端を開放した略U字状に形成された把手である。また把手13の後述する連結部13B前方には液体を貯留するタンクとなる、例えば合成樹脂製の水タンク14が外カバー17内に設けられる。なお貯留する液体は水だけでなく、他のスチーム用の液体でもよい。15は、水タンク14の前部に相当する外カバー17前面に取付自在に設けられた注水口蓋であり、ここから水タンク14内に水を収容したり、水タンク14内の不要水を廃棄したりすることができる。また16は、外カバー17前面で注水口蓋15下方に設けられた窓部であり、この窓部16を通して、水タンク14内の水の量を視認することができる。
水タンク14の前面には、注液口としての注水口21が開口形成され、この注水口21に臨んで、取付可能な注水口蓋15が設けられる。注水口蓋15の下端部と外カバー17の前面との間には、注水口蓋15を指で取り外しやすくするのに、凹状の指掛け部22が形成される。そして、この指掛け部22に指を差し入れて、注水口蓋15の上端部を支点として注水口蓋15の下端部に力を加えることで注水口蓋15を取り外すと、開放した注水口21から水タンク14の内部に水を適宜注入することができ、その後で注水口蓋15を注水口21に嵌合させると、注水口蓋15が注水口21を密着状態で塞ぐことにより、注水口21からの水の漏出を防止する構成となっている。
25は、上述の把手13と、把手13の上部に配置される把手カバー26との二部品からなるハンドルとしての握り部である。把手部に相当する棒状の握り部25は、スチーマー本体1の腹部27との間に空洞28を有しており、握り部25の後部には、スチーマー本体1の後部から空洞28に手を差し入れて、握り部25を手で握ることができるように、空洞28に連通する開口部29が開口形成される。つまり、ここでの握り部25は、その後部がスチーマー本体1のどの部位にも連結せずに、開口部29を形成して開放した形状を有する。また、ここでいう腹部27は、握り部25に対向したスチーマー本体1の平坦状の中央上面部を指すものであり、本実施例では把手13の基部13aとして形成される。把手13は、この基部13aに加えて、基部13aの前側でU次状に立ち上がる連結部13bと、連結部13bより後側に延び、握り部25の下面部を形成する延設部13cとからなり、延設部13cを把手カバー26で覆うことで、スチーマー本体1の握り部25が構成される。また30は、スチーマー本体1下面に配置されているスチーム噴出孔としての貫通孔38b(図4(A)参照)からスチーム噴出を行なうスチームレバーであり、連結部13b近傍の基部13aに設置されている。このスチームレバー30を引き上げることで、水タンク14内の滴下口42の弁43が開口し、一定速度で気化室9に水が滴下するように構成されている。
33は、スチーマー本体1の上部に設けられた操作部としての電源スイッチで、この電源スイッチ33を操作することで、スチーマー本体1の電源ON・OFFが行なわれる。また34は、表示部としての通電ランプであり、スチーマー本体1の電源がONの際に点灯または点滅表示し、後述する基体8の温度が低いときは点滅表示し、適温になると点灯表示になる。そして把手13の内部には、後述するシーズヒータ7を適宜通断電制御することにより、基体8を所定の温度に維持するように制御する温度制御装置35が設けられる。
スチーマー本体1は、アルミダイキャスト成形品による基体8を遮熱カバー上11に固定して備えている。基体8には、加熱手段となるシーズヒータ7が上面視略U字状に屈曲して埋設される。また基体8の上面側には、スチームを発生させるための気化室9がシーズヒータ7近傍に形成され、基体8の下面側には、後述するスチーム継手38を嵌合する嵌合溝部18が形成される。嵌合孔部18はスチーム継手38の上縁部と接触する段部18aを有して、嵌合溝部18の底面18bにスチーム継手38が接触しないように構成しており、スチーム継手38を嵌合溝部18に嵌合したとき、嵌合溝部18とスチーム継手38上面とで囲まれたスチーム室19が形成される。気化室9と嵌合溝部18は、孔部20を介して連通しており、気化室9で発生したスチームが孔部20を通ってスチーム室19へと流れるように構成される。また基体8は、この基体8に取付け固定される金属板状の気化室蓋44を備え、この気化室蓋44により気化室9の上面が形成される。
39は、遮熱カバー下12の底面、すなわちスチーマー本体1の底面に固着されるステンレス製でプレート状の掛け面部材であり、加飾とスチーマー本体1の走行性を兼ねて使用され、スチーム孔41がこの掛け面部材39に開口形成される。スチーム孔41は、掛け面部材39の上面の口径よりも掛け面部材39の下面の口径の方が大きい円錐台状に形成される。
本実施例では、基体8と掛け面部材39の間にシリコーンパッキンとしてのスチーム継手38を挟設している。一般的にシリコーンゴムは熱伝導率が低く、また気化室9と掛け面部材39の間にスチーム継手38を経由するため、基体8の熱が掛け面部材39に直接伝わらない。また基体8と遮熱カバー下12は接触しておらず、遮熱カバー上11と遮熱カバー下12で囲まれた空間内、特に遮熱カバー下12上面全てと基体8との間に、空気層である空間54が形成されて両者の間に介在し、気化室9の熱、すなわち基体8の熱が遮熱カバー下12や掛け面部材39に伝わることを抑制する。そして上述したように、遮熱カバー上11および遮熱カバー下12は耐熱プラスチック製であり、一般的にプラスチックは熱伝導率が低いため、基体8の熱が、遮熱カバー上11や遮熱カバー下12を経由して掛け面部材39に伝わることを抑制している。このような構成により、気化室9の熱が掛け面部材39に伝わることを抑制することで掛け面部材39は低温に保て、さらに、掛け面部材39からの熱の外気への放出を抑制することで、スチームを発生することができる時間であるスチーム発生時間を増加させて、スチーマー本体1のコードレスでのスチーム発生持続性を高めている。
次に図4の(A)~(C)の各図に基づいて、基体8および遮熱カバー下12の構造をさらに詳細に説明する。ここで、図4はスチーマー本体1の下方からの分解斜視図を示しており、図4(A)は掛け面部材39を取り外した分解斜視図、図4(B)は掛け面部材39および遮熱カバー下12を取り外した分解斜視図、図4(C)は掛け面部材39、遮熱カバー下12およびスチーム継手38を取り外した分解斜視図を示している。
図4(C)に示されるように、本実施例の嵌合溝部18は、段部18aまでスチーム継手38と断面略同形状に形成され、段部18aから底面18bまでは断面が一回り小さく形成されている。そのため、スチーム継手38を嵌合溝部18に挿入したとき、段部18aにスチーム継手38の上縁部が接触して、これ以上奥に行かないように構成され、嵌合溝部18とスチーム継手38上面とで囲まれたスチーム室19が形成される。
図4(B)に示されるように、スチーム継手38は、掛け面部材39と接触する接触面38aと、接触面38aに開口形成され、スチーム室19からのスチームを噴出する貫通孔38bを有している。本実施例の貫通孔38bはスチーム孔41と同数だけ形成され、スチーム室19とスチーム孔41が、貫通孔38bを介して連通するように構成される。また貫通孔38bの口径はスチーム孔41の内径よりも小さく形成され、掛け面部材39を遮熱カバー下12に設置した時、貫通孔38bの周囲にスチーム孔41が配設されるように構成される。そして上述したように、遮熱カバー下12上面全てと基体8との間に、空気層である空間54が形成されて両者の間に介在し、気化室9の熱、すなわち基体8の熱が遮熱カバー下12や掛け面部材39に伝わることを抑制し、また掛け面部材39からの熱の外気への放出を抑制している。
図4(A)に示されるように、遮熱カバー下12は、底面12aと、この底面12aに開口形成された、スチーム継手38と断面略同形状の挿通孔部12bを有しており、基体8にスチーム継手38を取付け、遮熱カバー上11に遮熱カバー下12を設置してスチーム継手38を挿通孔部12bに挿通させた時、接触面38aが底面12aよりも僅かに高くなるように構成される。そのため、掛け面部材39を遮熱カバー下12に設置した時、先ず接触面38aが掛け面部材39に接触し、次に底面12aがスチーム継手38の弾性力に抗して接触する。そして貫通孔38bの周囲にスチーム孔41が位置し、スチーム室19とスチーム孔41が、貫通孔38bを介して連通する。そのため基体8はスチーム孔41、すなわち掛け面部材39に接触せず、気化室9を備えた基体8の熱がスチーム管10を通して掛け面部材39に直接伝わらない。したがって、気化室9の温度を上げても掛け面部材39の温度が上がることはなく、気化室9の温度をより高く設定することができ、スチーム使い始めの温度をより高温からスタートさせることができるため、スチーム持続時間をより長く保つことができる。またスチーマー本体1使用時の掛け面部材39の温度が常に低いため、耐熱温度、溶解温度の異なる各種布地の皺伸ばしが掛け面部材39の掛け面の温度調節なく可能であり、そしてスチーマー本体1の使用後は、掛け面部材39を下にして台の上に直接置け、耐熱性を有する置台などを不要にできる。
次に上記構成において、特にスチーム機能に関する作用を説明すると、注水口蓋15を開けて、所定量の水を水タンク14に収容し、注水口蓋15を閉める。続いて、スチーマー本体1を載置台2に載置し、載置台2の図示しない電源プラグをコンセントに差し込むことで、スチーマー本体1に電源電圧を供給する。この給電状態の時に電源スイッチ33を押動操作すると、スチーマー本体1の内部では、図示しない温度検知手段としてのサーミスタで検知される基体8の温度が所定の温度となるように、温度制御装置35がシーズヒータ7を通断電制御して、気化室9を含む基体8を加熱し、通電ランプ34を点滅表示させる。その一方で、基体8の温度が所定の温度に達したことを、温度制御装置35が温度検知手段で検知すると、温度制御装置35は通電ランプ34を点灯表示させる。そのため、ユーザーはスチーマー本体1の使用可否の目安を一目で理解することができる。なおスチーマー本体1使用時にも、電源スイッチ33を押動操作すると、サーミスタで検知される基体8の温度が所定の温度となるように、温度制御装置35がシーズヒータ7を通断電制御して、気化室9を含む基体8を加熱し、通電ランプ34を点滅表示させるように構成してもよい。
次にスチーマー本体1の使用に関する作用を説明すると、握り部25を手で握ってスチーマー本体1を載置台2から離脱させ、スチーム噴出の対象物となる布地に掛け面部材39を向けてスチームレバー30を引き上げると、水タンク14内の滴下口42の弁43が開口し、一定速度で気化室9に水が滴下する。この時、基体8の温度が所定の温度に達している場合は、加熱した気化室9で水が気化されてスチームが発生し、図5の矢印で示すように、このスチームが孔部20を通過してスチーム室19へと流れ、スチーム室19と連通した貫通孔38bを通過して、布地に所定量のスチームを噴出させることができる。したがって、気化室9およびシーズヒータ7を有する基体8は、液体としての水を気化させるスチーム発生装置として作用している。
その一方で、上述のようにスチーマー本体1では、気化室9、すなわち基体8の熱が掛け面部材39に伝わることを抑制しているため、掛け面部材39を低温に保て、溶解温度の異なる繊維製品でも、掛け面部材39の掛け面の温度調整をすることなく、繊維製品の布地をプレスして皺伸ばしができる。また、スチーマー本体1の使用後は、掛け面部材39を下にして台の上に直接置くことができる。さらに、気化室9の温度を上げても掛け面部材39の温度が上がることはなく、気化室9の温度をより高く設定することができ、スチーム使い始めの温度としての所定の温度をより高温からスタートさせることができるため、スチーム持続時間をより長く保つことができる。
以上のように、本実施例のスチーマーは、スチームを噴出するスチーム噴出孔としての貫通孔38bを備えるスチーマー本体1と、スチーマー本体1に電源電圧を供給する給電装置としての載置台2と、を備え、スチーマー本体1はさらに、金属板としての掛け面部材39を底面に有し、掛け面部材39は、貫通孔38bと同数だけ形成されて貫通孔38bの口径よりも大きい内径のスチーム孔41を有し、前記スチーム噴出孔の周囲にそれぞれ対応する前記スチーム孔が位置するようにスチーマー本体1が掛け面部材39を具備する構成としており、スチーム噴出時に掛け面部材39にスチームが当たることがなく、そのため掛け面部材39の温度上昇を抑制することができる。したがって溶解温度の異なる繊維製品でも、掛け面部材39の掛け面の温度調整をすることなく、繊維製品の布地をスチーム後に掛け面部材39でプレスして皺伸ばしができる。
また本実施例のスチーマー本体1は、気化室9およびシーズヒータ7を有して液体としての水を気化させるスチーム発生装置としての基体8をさらに備え、基体8への給電後に、載置台2から取り外して、基体8への給電を断った状態でスチーム噴出する構成としており、コードレスで、スチーム後に掛け面部材39でプレスして皺伸ばしができる。
また本実施例のスチーマーは、掛け面部材39を具備する遮熱カバー下12と、基体8との間に熱の外気放出抑制用の空間54を形成した構成としている。そのため、基体8の熱が遮熱カバー下12や掛け面部材39に伝わることを抑制して、この掛け面部材39からの熱の外気への放出を抑制することができる。さらに基体8の気化室9の温度を上げても掛け面部材39の温度が上がることはなく、掛け面部材39を低温に保つことができるため、気化室9の温度をより高く設定することができ、スチーム使い始めの温度をより高温からスタートさせて、スチームを発生することができる時間であるスチーム持続時間をより長く保つことができ、スチーマー本体1のコードレスでのスチーム発生持続性を高めることができる。
図6~図8は、本発明の第2実施例のスチーマーを示している。なお、第1実施例のスチーマーと共通する構成には、同一の符号を付し、同一の説明は重複を避けるため極力省略する。
図6は本実施例のスチーマー本体1IIの縦断面図を示している。本実施例では、第1実施例の基体8に相当するベース部がPTCヒータ71によって構成されている。
従来、スチーマーやスチームアイロンのスチーム構造において、掛け面温度に比例して、発生させることができるスチーム噴出量は決められていた。そこで掛け面が低い温度で水分の供給を求める際、先ずミストなどにより、水タンクの水を気化させずに直接衣類などの繊維製品に吹きかけることにより繊維の膨潤を促し、その後、掛け面が低温状態で少ない量のスチームを噴出させてこの繊維製品に当てることにより、この繊維製品の皺伸ばしを行なう方法が提案されている。
しかしながら、ミストなどで直接水を吹きかけ、また低温状態のスチームを噴出させる従来の構成では、繊維製品に与える水分量が不十分であり、また、ユーザーの使い勝手の悪いものであった。また従来の構成はベース部の内部に加熱手段としてのシーズヒータを埋め込んだものが主流であり、このシーズヒータをダイキャストで覆うと、必然的にシーズヒータのパイプ径よりも厚みを持ち、大きいサイズのベース部の形状になってしまい、ベース部の容量を増やしてしまっていた。そこで本実施例では加熱手段としてPTCヒータを採用することによりベース部の厚みを抑制し、かつ温度制御を細かく設定できるように構成される。
本実施例の構成を、図6を参照しながら説明すると、1IIはスチーマーの本体に相当するアイロン本体であり、このアイロン本体1IIは、ベース部を兼ねる加熱手段としてのPTCヒータ71を下部に備えている。72は温度検知手段としてのサーミスタであり、このサーミスタ72で検知されるPTCヒータ71の温度がアイロン温度調節機構75で設定した設定温度となるように、温度制御装置35がPTCヒータ71を通断電制御している。このように構成することで、ベース部の厚さは搭載しているPTCヒータ71の厚さのみであるため、ベース部の厚みを薄くすることができ、その分ベース容量を抑制することができる。またPTCヒータ71がベース部を兼ねているため、温度制御を行った際に熱源であるPTCヒータ71と掛け面と略同一の温度であるベース部としてのPTCヒータ71との温度差をなくすことができるので、設定温度に対するPTCヒータ71の温度のディファレンシャルを小さくすることができ、安定時の温度の差を小さくできる。したがって、複数の設定温度を設けることができるようになる。
73は、PTCヒータ71上方に設けられ、液体を貯留するタンクおよびスチーム発生装置となるボイラー式タンクである。また74は、このボイラー式タンク73内の下部に設けられる、PTCヒータ71とは別の発熱源であるボイラーヒータであり、温度制御装置35によりON/OFF制御されて、ボイラー式タンク73内部の液体を気化している。そして気化されたスチームはスチーム管10’を通過するとそのままスチーム孔41を通って噴射される構成となっている。このように構成することで、PTCヒータ71およびボイラーヒータ74を独立して動作させることができる。
図7は、本実施例の一例として、PTCヒータ71およびボイラーヒータ74の、ON/OFF切換えの制御方法を示している。同図に示されるように、温度制御装置35は一方のヒータがON状態のとき、他方のヒータをOFF状態に制御し、2つのヒータを交互に通電している。そのため、OFF状態のヒータで消費する電力をON状態のヒータに供給でき、片方ずつON/OFFを繰り返すことにより、1つのヒータに供給可能な最大消費電力を増加させ、また消費電力による負荷を軽減させることができる。
図8は従来のスチームアイロンおよび本実施例のアイロン本体1IIのスチーム量と掛け面温度の関係をグラフで示したものである。同図を参照しながら説明すると、従来は、掛け面部材39は気化室を設けたベース部と密着しているため、気化室の温度を上下させると掛け面部材39の温度も追従して上下していた。そのため、従来のスチームアイロンの掛け面部材39の温度が225℃のときは、気化室も高温であるためスチーム量は50mlと多く、掛け面部材39の温度が200℃のときはスチーム量が40ml、掛け面部材39の温度が150℃のときはスチーム量が20mlと、掛け面部材39の温度に比例してスチーム量が減少していき、掛け面部材39の温度が100℃を下回ると、気化室も100℃前後となって水を気化できなくなり、スチームを発生させることができなくなってしまっていた。
それに対して本実施例のアイロン本体1IIでは、掛け面部材39の温度を上昇させる熱源としてのPTCヒータ71と、スチームを発生させる熱源としてのボイラーヒータ74を別に設けているため、掛け面部材39の温度に左右されず、多量のスチームを発生させることができるように構成している。そのため、掛け面部材39の温度が0℃~225℃まで可変しても、噴出するスチーム量は変化せず50mlであり、掛け面部材39の温度に関わらず、安定したスチーム量を確保することができる。したがって、掛け面部材39が低温状態でも、高圧多量のスチームの噴出を可能にしている。
以上のように、本実施例のスチーマーの本体に相当するアイロン本体1IIでは、ベース部がPTCヒータ71によって構成されており、シーズヒータを採用するスチームアイロンよりもベース部の厚みを薄く構成できる。そのため、設定温度に対するPTCヒータ71の温度のディファレンシャルを小さくすることができ、安定時の温度の差を小さくできる。したがって、複数の設定温度を設けることができるようになる。
また、本実施例のアイロン本体1IIでは、スチーム発生装置としてボイラー式タンク73を搭載し、ベース部としてのPTCヒータ71とは別の発熱源としてのボイラーヒータ74により構成されている。そのため、掛け面部材39の温度を上昇させる熱源としてのPTCヒータ71と、スチームを発生させる熱源としてのボイラーヒータ74を別に設けることにより、掛け面部材39の温度に関わらず、高圧多量のスチームの噴出を可能にしている。
また、本実施例のアイロン本体1IIでは、PTCヒータ71およびボイラーヒータ74の一方のヒータがON状態のとき、他方のヒータをOFF状態に制御することができる。そのため、片方ずつON/OFFを繰り返すことにより、1つのヒータに供給可能な最大消費電力を増加させ、また消費電力による負荷を軽減させることができる。
本発明の第3実施例のスチーマーについて、図9~図12を参照しながら説明する。なお、上記実施例と共通する構成には、同一の符号を付し、同一の説明は重複を避けるため極力省略する。
従来、電源コード付きのスチーマーでは、コードリールで電源コードを巻き取るもので、コードリール巻取釦を押圧することにより、コードリールを作動させて電源コードを巻き取る構成が提案されている。しかしながら、このコードリールによる巻き取りはスチーマー本体が通電状態でも可能であり、誤ってこのコードリール巻取釦に触れた場合、電源コードが巻き取られ、スチーマーの使用上において危険な状態をもたらす虞があった。そこで本実施例ではスチーマー本体の通電時にはコードリール巻取ボタンがロックされ、巻き取り操作ができない状態にして安全性を向上させている。
図9は本実施例のアイロンの上面図を示し、図10は本実施例のアイロンの縦断面図を示している。同図を参照しつつ、本実施例の構成を説明すると、1IIIはスチーマーの本体に相当するアイロン本体であり、76は、電源電圧をアイロン本体1IIIに直接供給する電源コードを巻き取るコードリールである。コードリール76は、握り部25後方から外カバー17’後方にわたって配設されており、内部の電源コードがシーズヒータ7と電気的に接続されている。そのため、アイロン本体1IIIでは開口部29が形成されず、本実施例の空洞28は把手13とコードリール76とで囲まれて形成される。
77は、アイロン本体1IIIの掛け面部材39、すなわち基体8の温度を調節する温度調節部としての温度調節レバーであり、握り部25の側面に配設され、握り部25に沿って前後にスライドできるように構成される。本実施例では、この温度調節レバー77の位置により基体8の温度が設定されており、アイロン本体1IIIをON/OFFする電源スイッチの機能も兼ねている。温度調節レバー77をスライドさせてアイロン本体1IIIが通電状態になると、温度制御装置35は、当該設定温度に維持するように、シーズヒータ7を適宜通断電制御する。
78は、把手13の連接部13B近傍に設けられる操作部であり、握り部25の側面に配設される温度調節レバー77に加えて、握り部25の上面に配設される、押圧するとスチームを噴出させる釦である操作釦79と、押圧すると噴出させるスチームが一時的に多量になる釦である操作釦80と、押圧するとコードリール76が作動し、電源コードが巻き取られるコードリール巻取釦81と、が主な構成要素となっている。
コードリール76は、回転可能に設けられ、電源コードを複数列で巻くことのできる幅に形成されたリール82と、上下動できるように設けられ、リール82の回転を一時的に止める巻取り金具83と、を備えている。巻取り金具83は、図示しないスプリングにより常時下方へ付勢されており、このスプリングの付勢力に抗して巻取り金具83を上方に移動させることで、リール82が回転して電源コードを巻き取る構成となっており、巻取り金具83は、上方を前方へ折り曲げて折り曲げ部83aを形成する。84は、握り部25内に設けられる中継シャフトであり、一端である持ち上げ部84aが巻取り金具83の折り曲げ部83aの下面に接し、他端で上方に突出させた突出部84bがコードリール巻取釦81の下方に位置するように、中継シャフト84が配設されている。
図11および図12を参照して、握り部25内部の構成をさらに詳細に説明する。中継シャフト84は、上述した持ち上げ部84aおよび突出部84bに加えて、中継シャフト84を握り部25に軸支する軸支部84cと、持ち上げ部84aと突出部84bの間を延びる中継シャフト本体84dと、からなり、軸支部84cを軸にして、中継シャフト本体84dをシーソーのように回動可能に構成している。
温度調節レバー77は、温度調節時にユーザーが操作する釦部77aと、複数の段を備える段部77bと、貫通孔86を有するレバー本体77cと、を備えており、段部77bとレバー本体77cはアイロン本体1IIIの横方向(図11、図12では手前と奥方向)に並べて設けられる。
87は、レバー本体77cが所定の位置で止まるためのストッパであり、ストッパ87の上端である摺動部87aがレバー本体77cの段部77bの段の下面に嵌合している。またストッパ87は、図示しないスプリングにより常時上方へ付勢されており、レバー本体77cを前後にスライドさせると、摺動部87aが、このスプリングの付勢力に抗して段部77bの下面に沿って摺動し、所定の位置である隣の段にスライドしたところでストッパ87がスプリングに付勢されて上昇し、この隣の段の下面に摺動部87aが嵌合することでレバー本体77cが所定の位置で止まるように構成されている。
コードリール巻取釦81は、コードリール巻取時にユーザーが操作する釦部81aと、この釦部81aから下方に延びる延長部81bからなり、温度調節レバー77の位置が切位置のときは、釦部81aを押し下げると延長部81bが貫通孔86を通過して中継シャフト84の突出部84bと接触し、この突出部84bを下降させるように構成されている。またコードリール巻取釦81は、図示しないスプリングにより常時上方へ付勢されており、押圧されない時は延長部81bと突出部84bとは所定の間隔を空けるように構成される。そして図11に示されるように、温度調節レバー77が切位置の時、延長部81bと突出部84bの間に貫通孔86が位置するように、この延長部81bと突出部84bの間に温度調節レバー77のレバー本体77cが配設される。なお貫通孔86の大きさは、延長部81bや突出部84bの断面積よりも大きくなるように形成されている。
次に図11および図12を参照して、アイロン本体1IIIの、特に電源コード巻き取りに関する作用を説明すると、アイロン本体1IIIの電源がOFFのときは、図11に示されるように、温度調節レバー77の位置が最も前方にある切位置であり、ストッパ87の摺動部87aはレバー本体77cの段部77bの最も後方の段に嵌合している。このとき、上述したように延長部81bと突出部84bの間に貫通孔86が位置しており、コードリール巻取釦81を押圧して釦部81aを押し下げると、延長部81bが貫通孔86を通過して中継シャフト84の突出部84bと接触して下降させる。すると、軸支部84cを支点として持ち上げ部84aが上昇し、折り曲げ部83aを持ち上げることにより巻取り金具83を上方に移動させ、リール82が回転して電源コードを巻き取る。
その一方で、温度調節レバー77をスライドさせてアイロン本体1IIIの電源をONさせると、温度調節レバー77の位置が前方から移動した通電位置になる。なお図12では温度調節レバー77を最も後方にスライドさせた位置を示している。このとき図12に示されるように、摺動部87aは段部77bの最も前方の段に接触しており、温度調節レバー77のスライドに伴い貫通孔86が後方に移動し、延長部81bと突出部84bの間には、レバー本体77cが位置している。そのため、コードリール巻取釦81を押圧しても、延長部81bがレバー本体77cと干渉して釦部81aを押し下げることができず、突出部84bが下降しないので、折り曲げ部83aは元の位置のままである。したがって、アイロン本体1IIIがONである通電時には、コードリール巻取釦81がロックされ、コードリール76の巻き取り操作ができない状態になっている。なお、段部77bとレバー本体77cはアイロン本体1IIIの横方向に並べて設けられているため、図12に示されるように、温度調節レバー77のスライド時に、段部77bが延長部81bや突出部84bに干渉することはない。
以上のように、本実施例のコードリール付スチーマーの本体に相当するアイロン本体1IIIでは、非通電時であるアイロン本体1IIIがOFFのときのみ、コードリール巻取釦81を押圧して巻取り金具83を上方に移動させ、リール82を回転させて電源コードを巻き取らせるコードリール76の巻き取り操作を可能としており、アイロン本体1IIIがONである通電時には、コードリール巻取釦81がロックされ、コードリール76の巻き取り操作ができない状態にしている。そのため、通電時におけるコードリール76の巻き取り操作を不可とし、安全性を向上させることができる。
また本実施例のアイロン本体1IIIでは、コードリール巻取釦81を温度調節部としての温度調節レバー77の近傍である操作部78に位置させ、また操作釦79,80と共に操作部78をひとまとまりにしている。操作時に釦やレバーを探す必要が無く、アイロン本体1IIIの操作性を向上させている。
本発明の第4実施例のスチーマーについて、図13および図14を参照しながら説明する。なお、上記実施例と共通する構成には、同一の符号を付し、同一の説明は重複を避けるため極力省略する。
従来、スチームアイロンにおける衣服などの皺伸ばしには、スチームおよび熱を用いたプレスにより行われてきた。このプレスを行なうためには、アイロン自体の重量も重要な要素であり、アイロンの重量が重すぎるとユーザーの手首への負担となり、その一方でアイロンの重量が軽すぎると、ユーザーが力を込めてこのアイロンを衣服などによく押し付けなければ、衣服などの皺が伸びない虞があった。そこで本実施例では、熱板部が遮熱カバー上に対して上下動できるように設けられており、熱板部が、衣服などに対して熱の効果に加えてたたきの効果を与えるように構成される。
図13は本実施例のアイロン本体の縦断面図を示している。同図において、1IVはスチーマーの本体に相当するアイロン本体であり、17”は外カバーである。本実施例の外カバー17”は、内側の断面形状が後述する遮熱カバー部下12’の輪郭と略同一である筒状部17”aと、筒状部17”aの上部を覆うように形成される蓋状部17”bと、遮熱カバー下12’および後述する熱板部91への配線を挿通させる配線部17”cと、を主な構成要素としている。なお、筒状部17”aの内壁は摺動しやすい材料からなるのが望ましい。
91は、第1実施例の基体8および掛け面部材39に相当し、加熱手段としてのシーズヒータ7を備える熱板部であり、12’は遮熱カバー下である。本実施例の遮熱カバー下12’は、断面蓋形状であるカバー本体12’aと、このカバー本体12’aの外周に設けられる外周部12’bと、カバー本体12’aの上面に設けられ、上部に傾斜カム面94aを有する山谷部94と、を備え、カバー本体12’aの下面に配設される支持部93,93により熱板部91に対して取付け固定されている。ここで、遮熱カバー部下12’が筒状部17”aに対して略垂直に上下動するように、遮熱カバー部下12’の輪郭をなす外周部12’bが摺動しやすい材料からなり、この外周部12’bが筒状部17”aの内壁に対して、面で接触して垂直に摺動するように構成されるのが望ましい。また本実施例の山谷部94は筒状に形成され、それに伴い傾斜カム面94aは上面視環状に形成されるが、傾斜カム面94aを上面視円状に形成してもよい。
13’は、蓋状部11b’上部に設けられ、側面から見て棒状に形成された把手である。また95は、蓋状部11b’内側の上部に設けられ、外カバー17”に対して回転可能に取り付けられる回転軸であり、後述する第1のかさ歯車97bとかみ合う第2のかさ歯車95aと、第2のかさ歯車95aと共に回転する回転軸本体95bと、回転軸本体95bと共に回転し、上面視環状の傾斜カム面95dを有する筒状の回転部95cと、を主な構成要素としている。本実施例の回転軸本体95bは傾斜カム面95dから突出しない長さであるが、カバー本体12’aおよび山谷部94に貫通孔を形成し、回転軸本体95bが回転部95cを挿通して下方に延び、カバー本体12’aおよび山谷部94の貫通孔に回転可能かつ上下可能に挿通するように構成してもよい。
また97は、熱板部91の上下動の駆動手段として把手13’内に配設される可動モータであり、回転軸97aに第1のかさ歯車97bを備えて構成される。回転軸本体95bは蓋状部11b’に設けられる貫通孔96を挿通しており、第2のかさ歯車95aは第1のかさ歯車97bに対して軸角を直角にし、第1のかさ歯車97bの回転を精度よく伝達して、可動モータ97の駆動により回転軸95の回転が行われるように構成される。
回転軸95の回転部95cは遮熱カバー部下12’の山谷部94と上面視略同径であり、図14(B)に示されるように、山谷部94の傾斜カム面94aの山部A’,A’と回転軸95の傾斜カム面95dの谷部B,Bとを合わせ、傾斜カム面94aの谷部B’,B’と傾斜カム面95dの山部A,Aとを合わせた際には、両方の傾斜カム面94a,95aがぴったりと合い、回転部95cと山谷部94とで略円柱形状になるように形成される。
98は、一端が蓋状部17”bの内側上部に取付け固定され、他端がカバー本体12’aの上面に取付け固定されるバネであり、同軸に配設される回転軸95および山谷部94の周囲を囲うように配設される。このバネ98は、外カバー17”および遮熱カバー部下12’に取付け固定した際に、これらの外カバー17”および遮熱カバー部下12’への張力が働くように構成されている。
図14の(A)~(D)は、可動モータ97、山谷部94、および回転軸95の動作を示す要部拡大概略図である。ここで、図14(A)は、可動モータ97、山谷部94、および回転軸95の位置関係を示しており、図14(B)~(D)は、山谷部94および回転軸95の動作によるお互いの位置関係を示している。
これらの図を参照し、上記構成において、特に熱板部91の上下動に関する作用を説明すると、先ず傾斜カム面95dの山部A,Aが傾斜カム面94aの谷部B’,B’の位置のときは、図14(B)に示すように、バネ98の張力により両方の傾斜カム面94a,95dがぴったりと合い、回転部95cと山谷部94とで略円筒形状をなして、遮熱カバー部下12’が外カバー17”に最も接近し、それに伴い、熱板部91が最も上昇する最上点に到達する。
可動モータ97の駆動により回転軸97aが回転し、第1のかさ歯車97bが回転すると、第1のかさ歯車97bの回転が伝達されて第2のかさ歯車95aが回転し、それに伴い回転軸本体95bおよび回転部95cが回転する。そして回転部95cの回転が行われ、傾斜カム面95dの山部A,Aが傾斜カム面94aの谷部B’,B’から移動するに伴い、図14(C)に示すように、バネ98の張力に抗して傾斜カム面95dの山部A,Aが傾斜カム面94aを押すことにより、山谷部94が回転部95cから離れる方向に移動するため、遮熱カバー部下12’が、筒状部17”a内壁に沿って外カバー17”から離れる方向に移動する。そして遮熱カバー部下12’が移動するに伴い、熱板部91も下降していく。
回転軸本体95bおよび回転部95cがさらに回転し、傾斜カム面95dの山部A,Aが傾斜カム面94aの山部A’,A’の位置に移動すると、図14(D)に示すように、山谷部94が回転部95cから最も離れるため、遮熱カバー部下12’が外カバー17”から最も離れ、それに伴い、熱板部91が最も下降する最下点に到達する。
その後、回転軸本体95bおよび回転部95cがさらに回転し、傾斜カム面95dの山部A,Aが傾斜カム面94aの山部A’,A’の位置から移動するに伴い、バネ98の張力により、遮熱カバー部下12’が、筒状部17”a内壁に沿って外カバー17”に近づく方向に移動し、それに伴い、熱板部91も上昇していく。そして、回転軸本体95bおよび回転部95cがさらに回転して、傾斜カム面95dの山部A,Aが傾斜カム面94aの谷部B’,B’の位置のときは、上述した図14(B)に示すように遮熱カバー部下12’が外カバー17”に最も接近し、それに伴い、熱板部91が最も上昇する最上点に再び到達する。
以上のように、本実施例のスチーマーの本体に相当するアイロン本体1IVでは、外カバー17”に対して熱板部91が上下に可動することにより、衣類などの繊維製品に熱を加えながらたたき効果を与えて、皺伸ばしを行なっている。そのため、アイロン本体1IVの重量が軽量であっても、たたき効果により繊維製品にプレスを与えて皺伸ばしを行なうことができる。
本発明の第5実施例のスチーマーについて、図15を参照しながら説明する。なお、上記実施例と共通する構成には、同一の符号を付し、同一の説明は重複を避けるため極力省略する。
従来のしみ抜き方法として、家庭で一般的な方法が、衣類などの繊維製品のシミの部分に水や洗剤を付与し、そのシミの部分の表に当て布を当ててシミの部分の裏から叩き、この当て布へシミを移動させる方法であり、業務用では、スチームを用いてシミを繊維製品から浮かせ、その浮かせたシミを飛ばす、あるいは吸い込む方法が挙げられる。しかしながら、家庭で一般的な方法では、シミが付いてから時間が経過した場合は、水や洗剤を付与してもこのシミを分解できず、シミが当て布に十分に移動しない虞があった。この場合は、業務用の方法でしみ抜きをするしかなく、この繊維製品をクリーニング等に出してしみ抜きをしなければならなかった。そこで本実施例では、たたき部分としての叩打部材102の叩打部材本体102aからスチームが噴出するように構成される。
図15は本実施例のスチーマー本体の縦断面図を示している。同図において、1Vはスチーマー本体であり、このスチーマー本体1Vは、外郭を覆う部材および把手部としての、筒状のカバー部101と、カバー部101の底面開口部に配設され、カバー部101に対して上下動する可動面としての叩打部材102と、で外面部が構成される。またカバー部101の上面部には、スチーマー本体1Vの各部へ給電するための電源プラグ付きコード103が設けられる。なお、カバー部101の内壁は摺動しやすい材料からなるのが望ましい。
14’は、第1実施例の水タンク14に相当する着脱タンクであり、カバー部101内最上部に着脱自在に設けられる。また104は気化器であり、滴下口42を介して着脱タンク14’と連通し、重力により一定速度で着脱タンク14’から滴下してきた水を気化させ、スチームを発生させるように構成される。
105は蒸気通路であり、気化器104から下方に延びるように形成されるスチーム管10”と、このスチーム管10”と連通し、カバー部101の底面開口部近傍に位置して形成されるスチーム室105aとからなる。スチーム室105aの底面は開口しており、スチーム室105aと叩打部材102とで空間106を形成している。叩打部材102は、上面が開口された断面凹字状に形成され、たたき部分としての叩打部材本体102aと、この叩打部材本体102a周縁部がら上方に延びて設けられる筒状部102bと、叩打部材本体102aに開口形成されるスチーム孔102cとからなり、叩打部材102が上下動しても空間106が形成されるように、筒状部102bの高さは、叩打部材102の上下の移動距離よりも高く形成される。なお筒状部102bの外面部は、摺動しやすい材料からなるのが望ましい。
106は、叩打部材102の駆動手段としてのタタキモータであり、回転軸106aに第1のかさ歯車107を備えて構成される。また108は、第1のかさ歯車107とかみ合う第2のかさ歯車であり、第1のかさ歯車に対して軸角を直角にし、第1のかさ歯車の回転を精度よく伝達するように構成される。109はクランクシャフトであり、一端をクランクピン110により第2のかさ歯車108に接続し、他端を叩打部材102の筒状部102bに接続して、第2のかさ歯車108の回転運動を叩打部材102の上下の往復運動に変換している。
次に上記構成のスチーマー本体1Vについて、その作用を説明する。先ず着脱タンク14’を取り外して所定量の水を収容し、着脱タンク14’をカバー部101に取付ける。そして、電源プラグ付きコード103をコンセントに差し込むことで、スチーマー本体1Vに電源電圧を供給し、気化器104が所定の温度になるように、図示しない加熱手段で加熱される。このとき、気化器104が所定の温度に達すると、図示しない表示手段に表示されるように構成してもよい。
気化器104が所定の温度に達すると、気化器104は、重力により一定速度で着脱タンク14’から滴下してきた水を気化させ、スチームを発生させることができるようになる。このとき発生させたスチームは、図19における白抜き矢印で示されるように、スチーム管10”およびスチーム室105aを経由して、叩打部材102からスチーム孔102cを通して噴出する。このスチームにより、叩打部材102はわずかに温度上昇するが、気化器104と叩打部材102は別体であり、離して配設しているため、気化器104の熱が叩打部材102に直接伝わらない。そのため、叩打部材102はやけどをまねくような温度にまで上昇しない。なお、第1実施例のように弁43を設け、図示しない操作部の操作により弁を開閉させて気化器104への滴下を操作してもよい。
またスチーマー本体1Vに電源電圧が供給されると、タタキモータ106が駆動して第1のかさ歯車107が回転し、第1のかさ歯車107の回転が伝達されて第2のかさ歯車108が回転する。そして、第2のかさ歯車108の回転運動が叩打部材102の上下の往復運動に変換されて、図19における矢印で示されるように、叩打部材102が上下運動する。このように構成することで、たたき部分としての叩打部材102の叩打部材本体102aに設けられたスチーム孔102cからスチームを噴出させることができ、噴出させたスチームにより衣類などの繊維製品に付いたシミを分解して浮かせ、さらに外力としての叩打部材本体102aでのたたき効果により、このシミを布から押し出すことができる。そのため、スチームによる除菌に加えて、このスチームにより布内部まで速やかに水を浸透させることができ、シミ抜き時間の短縮をすることができる。なお、図示しない操作部の操作によりタタキモータ106の駆動を操作してもよい。
以上のように、本実施例のスチーマー本体1Vは、たたき部分としての叩打部材102の叩打部材本体102aに設けられたスチーム孔102cからスチームを噴出させる構成であり、噴出させたスチームにより繊維製品に付いたシミを分解して浮かせ、叩打部材本体102aでのたたき効果によりこのシミを布から押し出すことでシミ抜き時間の短縮をすることができ、繊維製品へのダメージを最小限とすることができる。
また本実施例のスチーマー本体1Vは気化器104を備え、気化器104と叩打部材102の叩打部材本体102aとは離して構成されており、気化器104の熱が叩打部材102に直接伝わらない。そのため、叩打部材102はやけどをまねくような温度にまで上昇しない。
なお、本発明は上記実施例に限定されるものではなく、本発明の趣旨を逸脱しない範囲で種々の変更可能である。例えば、第1実施例~第5実施例の構成を組み合わせて構成してもよい。また、第1実施例~第5実施例の各部の構成や形状は、図示したものに限定されず、適宜変更が可能である。
1 スチーマー本体
2 載置台(給電装置)
8 基体(スチーム発生装置)
12 遮熱カバー下(遮熱カバー)
12a 底面
12b 挿通孔部
38 スチーム継手
38b 貫通孔(スチーム噴出孔)
39 掛け面部材(金属板)
41 スチーム孔

Claims (3)

  1. スチームを噴出するスチーム噴出孔を備えるスチーマー本体と、
    前記スチーマー本体に電源電圧を供給する給電装置と、を備え、
    前記スチーマー本体は、当該スチーマー本体の底部を形成する遮熱カバーの底面に固着される金属板を有し、
    前記スチーマー本体は、液体を気化させるスチーム発生装置と、当該スチーム発生装置および前記金属板の間に設けられ、前記スチーム噴出孔を有するスチーム継手と、をさらに備え、
    前記金属板は、前記スチーム噴出孔の口径よりも大きい内径のスチーム孔を有し、
    前記遮熱カバーは、前記スチーム継手を挿通可能な挿通孔部を有し、当該挿通孔部に前記スチーム継手を挿通させたときに前記スチーム継手が前記遮熱カバーの前記底面よりも突出し、
    前記遮熱カバーに前記金属板を固着したときに前記スチーム継手が前記金属板に弾性的に接触し、前記スチーム噴出孔の周囲にそれぞれ対応する前記スチーム孔が位置するように前記スチーマー本体が前記金属板を具備する構成としたことを特徴とするスチーマー。
  2. 記スチーマー本体は、前記スチーム発生装置への給電後に前記給電装置から取り外し、前記スチーム発生装置への給電を断った状態でスチーム噴出することを特徴とする請求項1記載のスチーマー。
  3. 前記スチーム発生装置と前記金属板の間に、熱の外気放出抑制用の空間を形成したことを特徴とする請求項2記載のスチーマー。
JP2018064636A 2018-03-29 2018-03-29 スチーマー Active JP7152870B2 (ja)

Priority Applications (1)

Application Number Priority Date Filing Date Title
JP2018064636A JP7152870B2 (ja) 2018-03-29 2018-03-29 スチーマー

Applications Claiming Priority (1)

Application Number Priority Date Filing Date Title
JP2018064636A JP7152870B2 (ja) 2018-03-29 2018-03-29 スチーマー

Publications (2)

Publication Number Publication Date
JP2019170846A JP2019170846A (ja) 2019-10-10
JP7152870B2 true JP7152870B2 (ja) 2022-10-13

Family

ID=68166090

Family Applications (1)

Application Number Title Priority Date Filing Date
JP2018064636A Active JP7152870B2 (ja) 2018-03-29 2018-03-29 スチーマー

Country Status (1)

Country Link
JP (1) JP7152870B2 (ja)

Citations (6)

* Cited by examiner, † Cited by third party
Publication number Priority date Publication date Assignee Title
JP2000042299A (ja) 1999-08-06 2000-02-15 Matsushita Electric Ind Co Ltd アイロン
JP2002282599A (ja) 2001-03-22 2002-10-02 Matsushita Electric Ind Co Ltd アイロン
CN202688727U (zh) 2012-05-09 2013-01-23 佛山市顺德区盛熙电器制造有限公司 一种蒸汽挂烫机的蒸汽喷头
JP2015085193A (ja) 2013-10-30 2015-05-07 エイタイド・コーポレーション スチームアイロン
US20150361611A1 (en) 2014-06-12 2015-12-17 Tsann Kuen (Zhangzhou) Enterprise Co., Ltd. Electrothermal Device for a Steam Iron
CN206680786U (zh) 2017-04-28 2017-11-28 广东美的环境电器制造有限公司 用于挂烫机的烫头面板、挂烫机烫头及挂烫机

Patent Citations (6)

* Cited by examiner, † Cited by third party
Publication number Priority date Publication date Assignee Title
JP2000042299A (ja) 1999-08-06 2000-02-15 Matsushita Electric Ind Co Ltd アイロン
JP2002282599A (ja) 2001-03-22 2002-10-02 Matsushita Electric Ind Co Ltd アイロン
CN202688727U (zh) 2012-05-09 2013-01-23 佛山市顺德区盛熙电器制造有限公司 一种蒸汽挂烫机的蒸汽喷头
JP2015085193A (ja) 2013-10-30 2015-05-07 エイタイド・コーポレーション スチームアイロン
US20150361611A1 (en) 2014-06-12 2015-12-17 Tsann Kuen (Zhangzhou) Enterprise Co., Ltd. Electrothermal Device for a Steam Iron
CN206680786U (zh) 2017-04-28 2017-11-28 广东美的环境电器制造有限公司 用于挂烫机的烫头面板、挂烫机烫头及挂烫机

Also Published As

Publication number Publication date
JP2019170846A (ja) 2019-10-10

Similar Documents

Publication Publication Date Title
US7475504B2 (en) Steamer and hot iron appliance
JP6091491B2 (ja) コードレスアイロンと給電スタンドを備えるアイロン装置
US11365511B2 (en) Steaming appliance
JP7772744B2 (ja) スチーマー
JP6201143B2 (ja) スチーム噴出器
JP7010677B2 (ja) アイロン
JP6077525B2 (ja) 蒸気操作ボタン付きアイロン
JP7152870B2 (ja) スチーマー
JP7486915B2 (ja) コードレスアイロン
JP2010279485A (ja) スチームアイロン
JP2011078615A (ja) スチームアイロン
JP7137956B2 (ja) スチーマー
JP7392073B2 (ja) スチーマー
JP6534886B2 (ja) スチームアイロン
JP2011030717A (ja) スチームアイロン
JP6383934B2 (ja) スチーム噴出器
JP2001204998A (ja) アイロン
JP6762902B2 (ja) スチーマ
JP7157947B2 (ja) スチーム噴出器
KR102359484B1 (ko) 다리미판 스팀 분사식 스팀 다리미
KR101414622B1 (ko) 건조기
JP7570022B2 (ja) スチーム噴出器およびスチームアイロン
JP7475939B2 (ja) コードレスアイロン
JP5433497B2 (ja) アイロン
JP4348743B2 (ja) アイロン

Legal Events

Date Code Title Description
RD02 Notification of acceptance of power of attorney

Free format text: JAPANESE INTERMEDIATE CODE: A7422

Effective date: 20200703

A621 Written request for application examination

Free format text: JAPANESE INTERMEDIATE CODE: A621

Effective date: 20201127

A977 Report on retrieval

Free format text: JAPANESE INTERMEDIATE CODE: A971007

Effective date: 20210924

A131 Notification of reasons for refusal

Free format text: JAPANESE INTERMEDIATE CODE: A131

Effective date: 20211005

A521 Request for written amendment filed

Free format text: JAPANESE INTERMEDIATE CODE: A523

Effective date: 20211116

A131 Notification of reasons for refusal

Free format text: JAPANESE INTERMEDIATE CODE: A131

Effective date: 20220412

A521 Request for written amendment filed

Free format text: JAPANESE INTERMEDIATE CODE: A523

Effective date: 20220530

TRDD Decision of grant or rejection written
A01 Written decision to grant a patent or to grant a registration (utility model)

Free format text: JAPANESE INTERMEDIATE CODE: A01

Effective date: 20220920

A61 First payment of annual fees (during grant procedure)

Free format text: JAPANESE INTERMEDIATE CODE: A61

Effective date: 20220930

R150 Certificate of patent or registration of utility model

Ref document number: 7152870

Country of ref document: JP

Free format text: JAPANESE INTERMEDIATE CODE: R150