JP7145690B2 - コンバイン - Google Patents

コンバイン Download PDF

Info

Publication number
JP7145690B2
JP7145690B2 JP2018154143A JP2018154143A JP7145690B2 JP 7145690 B2 JP7145690 B2 JP 7145690B2 JP 2018154143 A JP2018154143 A JP 2018154143A JP 2018154143 A JP2018154143 A JP 2018154143A JP 7145690 B2 JP7145690 B2 JP 7145690B2
Authority
JP
Japan
Prior art keywords
grain
imaging target
posture
camera
combine
Prior art date
Legal status (The legal status is an assumption and is not a legal conclusion. Google has not performed a legal analysis and makes no representation as to the accuracy of the status listed.)
Active
Application number
JP2018154143A
Other languages
English (en)
Other versions
JP2020028226A (ja
Inventor
隆志 中林
友彦 佐野
脩 吉田
和央 阪口
Current Assignee (The listed assignees may be inaccurate. Google has not performed a legal analysis and makes no representation or warranty as to the accuracy of the list.)
Kubota Corp
Original Assignee
Kubota Corp
Priority date (The priority date is an assumption and is not a legal conclusion. Google has not performed a legal analysis and makes no representation as to the accuracy of the date listed.)
Filing date
Publication date
Application filed by Kubota Corp filed Critical Kubota Corp
Priority to JP2018154143A priority Critical patent/JP7145690B2/ja
Publication of JP2020028226A publication Critical patent/JP2020028226A/ja
Application granted granted Critical
Publication of JP7145690B2 publication Critical patent/JP7145690B2/ja
Active legal-status Critical Current
Anticipated expiration legal-status Critical

Links

Images

Landscapes

  • Guiding Agricultural Machines (AREA)
  • Threshing Machine Elements (AREA)

Description

本発明は、自動走行を行うコンバインに関する。
従来、穀物の収穫にコンバインが利用されてきた。この種のコンバインには、作業者が操縦部から機外の作業状況を画像監視できるように機体にカメラを備えているものがある(例えば特許文献1)。
特許文献1に記載のコンバインは、機体前方の画像を撮影する前方カメラと、穀粒排出オーガの先端部の画像を撮影する穀粒排出オーガカメラと、機体後方の画像を撮影する後方カメラとが機体に設けられている。また、操縦部には、これらのカメラで得られた画像を分割表示が可能であって、作業状態に応じてこれらの画像のうちの一つを表示できるように切り替え可能な画像表示モニタが設けられている。
特開2014-117243号公報
特許文献1に記載の技術では、操縦部内に設置された主変速操作部材が前進位置になった場合に画像表示モニタに前方カメラの画像を表示し、主変速操作部材が後進位置にした場合に画像表示モニタに後方カメラの画像を表示する。更に、主変速操作部材が中立位置または/および低速前進位置になった場合には画像表示モニタに穀粒排出オーガカメラの画像を表示する。このような主変速操作部材の操作は操縦部に搭乗している作業者により操作されるものであるので、特許文献1に記載の技術は自動走行を行うことが可能なコンバインに適用することまで想定されていない。また、特許文献1に記載のコンバインでは3つのカメラを備えているのでコストアップの要因となり、コストダウンの余地がある。
そこで、自動走行を行うことが可能であって、低コストで作業状態を把握することが可能なコンバインが求められる。
本発明に係るコンバインの特徴構成は、機体と、収穫した穀粒を貯留する穀粒タンクと、前記穀粒の収穫中において前記機体に支持されるホーム姿勢と前記ホーム姿勢から移動し、前記穀粒タンクに貯留された穀粒を機外に排出する排出姿勢とで姿勢の変更が可能な穀粒排出装置と、前記穀粒排出装置の先端部に設けられたカメラと、前記機体の作業状態に応じて前記カメラの撮像対象を自動的に設定する撮像対象設定部と、前記撮像対象設定部により設定された前記撮像対象が、前記カメラの撮像範囲に含まれるように前記カメラの光軸を自動的に変更する光軸変更部と、を備え、前記撮像対象設定部は、前記穀粒排出装置が前記ホーム姿勢にあって、前記作業状態が走行状態である時は、前記機体の進行方向の物体を前記撮像対象に設定する点にある。
このような特徴構成とすれば、カメラの撮像対象を作業状態に応じて自動的に切り替えることにより、一つのカメラを複数の用途で併用することが可能となる。したがって、複数台のカメラを備えた場合に対し、低コストで自動走行が可能なコンバインを実現することが可能となる。
また、このような構成とすれば、カメラの向きを用途によって切り換えることが可能となる。したがって、カメラの撮像範囲を用途に応じて設定することが可能となる。
また、このような構成とすれば、カメラをコンバインの前方の物体検出に利用することができる。したがって、カメラによる物体検出の結果を用いて適切に自動走行を行うことが可能となる。
また、本発明に係るコンバインの特徴構成は、機体と、収穫した穀粒を貯留する穀粒タンクと、前記穀粒の収穫中において前記機体に支持されるホーム姿勢と前記ホーム姿勢から移動し、前記穀粒タンクに貯留された穀粒を機外に排出する排出姿勢とで姿勢の変更が可能な穀粒排出装置と、前記穀粒排出装置の先端部に設けられたカメラと、前記機体の作業状態に応じて前記カメラの撮像対象を自動的に設定する撮像対象設定部と、前記撮像対象設定部により設定された前記撮像対象が、前記カメラの撮像範囲に含まれるように前記カメラの光軸を自動的に変更する光軸変更部と、を備え、前記撮像対象設定部は、前記穀粒排出装置が前記ホーム姿勢から前記排出姿勢への姿勢変更中は、前記穀粒を排出する搬送車の貯留部を前記撮像対象に設定する点にある。
このような特徴構成とすれば、カメラの撮像対象を作業状態に応じて自動的に切り替えることにより、一つのカメラを複数の用途で併用することが可能となる。したがって、複数台のカメラを備えた場合に対し、低コストで自動走行が可能なコンバインを実現することが可能となる。
また、このような構成とすれば、カメラの向きを用途によって切り換えることが可能となる。したがって、カメラの撮像範囲を用途に応じて設定することが可能となる。
更に、このような構成とすれば、カメラを搬送車の貯留部の位置を認識に利用することができる。したがって、カメラによる貯留部の位置の認識結果を用いて適切に貯留部に穀粒を排出することが可能となる。
また、前記撮像対象設定部は、前記穀粒排出装置が前記排出姿勢にある時は、前記穀粒を排出する搬送車の貯留部に排出された前記穀粒を前記撮像対象に設定すると好適である。
このような構成とすれば、搬送車の貯留部に対する穀粒の排出状況(例えば貯留部における穀粒の溜まり具合等)の認識にカメラを利用することが可能となる。したがって、例えば貯留部から穀粒が溢れるようなことを防止できる。
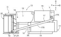
コンバインの全体左側面図である。 コンバインの全体平面図である。 コンバインの全体右側面図である。 コンバインの自動走行の概要を示す図である。 自動走行における走行経路を示す図である。 排出姿勢について示す図である。
本発明に係るコンバインは、機体の作業状態に応じてカメラの撮像対象を変更することができるように構成される。以下、本実施形態のコンバイン10について説明する。
図1は本実施形態に係るコンバイン10の全体左側面図である。図2は本実施形態に係るコンバイン10の平面図である。図3は本実施形態に係るコンバイン10の全体右側面図である。なお、以下では、本実施形態のコンバイン10について所謂普通型コンバインを例に挙げて説明する。もちろん、コンバイン10は自脱型コンバインであっても良い。
ここで、理解を容易にするために、本実施形態では、特に断りがない限り、「前」(図1-図3に示す矢印Fの方向)は機体前後方向(走行方向)における前方を意味し、「後」(図1-図3に示す矢印Bの方向)は機体前後方向(走行方向)における後方を意味するものとする。また、左右方向または横方向は、機体前後方向に直交する機体横断方向(機体幅方向)を意味するものとする。更に、「上」(図1及び図3に示す矢印Uの方向)及び「下」(図1及び図3に示す矢印Dの方向)は、機体の鉛直方向(垂直方向)での位置関係であり、地上高さにおける関係を示すものとする。また、「左」(図2における矢印Lの方向)は機体左側、「右」(図2における矢印Rの方向)は機体右側である。
図1に示すように、コンバイン10は、走行車体(「機体」の一例)11、クローラ式の走行装置12、運転部13、脱穀装置14、穀粒タンク15、収穫部H、搬送装置16、穀粒排出装置17、自車位置検出モジュール18、カメラ21、撮像対象設定部22、光軸変更部23を備えている。
走行車体11(以下単に車体11と称する)の下部には走行装置12が備えられる。コンバイン10は、走行装置12によって自走可能に構成されている。運転部13、脱穀装置14、及び穀粒タンク15は、走行装置12の上側に備えられ、車体11の上部を構成する。運転部13は、コンバイン10を運転する運転者やコンバイン10の作業を監視する監視者が搭乗可能である。通常、運転者と監視者とは兼務される。なお、運転者と監視者が別人の場合、監視者は、コンバイン10の機外からコンバイン10の作業を監視していても良い。
自車位置検出モジュール18は、運転部13の前上部に取り付けられ、自車位置を検出する。自車位置検出モジュール18は、GNSSモジュールとして構成されている衛星測位モジュールを用いることが可能である。この自車位置検出モジュール18は、人工衛星GS(図4参照)からのGPS信号やGNSS信号(本実施形態では「GPS信号」とする)を受信するための衛星用アンテナを有している。なお、自車位置検出モジュール18には、衛星航法を補完するために、ジャイロ加速度センサや磁気方位センサを組み込んだ慣性航法モジュールを含めることができる。もちろん、慣性航法モジュールは、自車位置検出モジュール18とは別の場所に設けてもよい。自車位置検出モジュール18は、上述したGPS信号、慣性航法モジュールの検出結果に基づいて、コンバイン10の位置である自車位置を検出する。自車位置検出モジュール18により検出された自車位置は、コンバイン10の自動走行(自律走行)や、「自車位置情報」として後述する各機能部に利用される。
収穫部Hは、コンバイン10における前部に備えられる。搬送装置16は、収穫部Hの後側に設けられる。収穫部Hは、切断機構19及びリール20を有している。切断機構19は、圃場の植立穀稈を刈り取る。リール20は、回転駆動しながら収穫対象の植立穀稈を掻き込む。このような構成により、収穫部Hは、圃場の穀物(農作物の一種)を収穫可能となる。コンバイン10は、収穫部Hによって圃場の穀物を収穫しながら走行装置12によって走行する作業走行が可能である。
切断機構19により刈り取られた刈取穀稈は、搬送装置16によって脱穀装置14へ搬送される。脱穀装置14において、刈取穀稈は脱穀処理される。脱穀処理により得られた穀粒、すなわち収穫した穀粒は穀粒タンク15に貯留される。穀粒タンク15に貯留された穀粒は、必要に応じて、後述する穀粒排出装置17により機外に排出される。なお、このコンバイン10は、車体11と走行装置12との間に、油圧式の傾斜機構110が設けられており、走行面(圃場面)に対して左右方向及び前後方向で車体11を傾斜させることが可能である。
運転部13には、通信端末2が配置されている。本実施形態において、通信端末2は、運転部13に固定されている。もちろん、通信端末2は、運転部13に対して着脱可能に構成されていても良いし、コンバイン10の機外に配置されていても良い。コンバイン10は、この通信端末2を介して機外に設けられたシステム(例えば、農業支援システム等)と各種情報の送受信が可能である。
穀粒タンク15の後部から上部に亘って、当該穀粒タンク15の内部に貯留されている穀粒を外部に排出する穀粒排出装置17が備えられている。穀粒排出装置17は、穀粒を上方に搬送する縦搬送部17Aと、当該縦搬送部17Aの上端部から穀粒を横方向に搬送して先端の排出口25から排出する横搬送部17Bとを備えている。
ここで、穀粒タンク15の下部には、図3に示されるように機体前後方向視で下窄まり状となる傾斜面30が設けられている。穀粒タンク15の内部における傾斜面30の下端部には、貯留している穀粒を、穀粒排出装置17における縦搬送部17Aの搬送始端部まで前後方向に沿って搬送する底スクリュー26が備えられている。底スクリュー26と縦搬送部17Aとはベルト伝動機構(図示せず)を介して連動連結され、穀粒は角部ケース27内の穀粒通路を通って穀粒タンク15から縦搬送部17Aに搬送される。
縦搬送部17Aは、横搬送部17Bと共に、縦軸心Y(縦搬送部17Aの回転軸心)周りで回動自在に車体11の機体フレーム3に支持されている。縦搬送部17Aの左横側には縦フレーム(図示せず)が設けられ、当該縦フレームは下端が機体フレーム3に固定されている。縦搬送部17Aは、下端部が角部ケース27に縦軸心Y周りで回動自在に支持され、上下中間部が縦フレームの上部に支持ブラケット6を介して回動自在に支持されている。縦搬送部17Aの下端部は、角部ケース27及び回動ボス部(図示せず)を介して機体フレーム3に支持されている。一方、横搬送部17Bは受部35により支持されている。本実施形態のコンバイン10が備える穀粒排出装置17の縦搬送部17A及び横搬送部17Bは、穀粒の収穫中においては、図2に示されるように、平面視でコンバイン10の横幅内に収まるように、すなわち左端及び右端の夫々から外側に突出しない状態で支持される。本実施形態では、このような穀粒排出装置17の姿勢は「ホーム姿勢」と称される。ここで、受部35に横搬送部17Bを支持しているか否かを検出可能なセンサを設け、このセンサの検出結果に応じて穀粒排出装置17の姿勢がホーム姿勢であるか否かを特定するように構成すると好適である。なお、上述した縦搬送部17A及び横搬送部17Bを支持する構造は一例であり、他の構造とすることも可能である。
本実施形態のコンバイン10は、図4に示されるように、圃場において設定された走行経路に沿って自動走行を行う。この自動走行には、上述した自車位置検出モジュール18により取得された自車位置情報が利用される。
本実施形態のコンバイン10は、圃場において以下の手順に従って収穫作業を行う。
まず、運転者兼監視者は、コンバイン10を手動で操作し、図4に示すように、圃場内の外周部分において、圃場の境界線に沿って周回するように収穫走行を行う。これにより既刈地(既作業地)となった領域は、外周領域SAとして設定される。外周領域SAの内側に未刈地(未作業地)のまま残された領域は、作業対象領域CAとして設定される。
このとき、外周領域SAの幅をある程度広く確保するために、運転者は、コンバイン10を2~3周走行させる。この走行においては、コンバイン10が1周する毎に、コンバイン10の作業幅分だけ外周領域SAの幅が拡大する。例えば、最初の2~3周の走行が終わると、外周領域SAの幅はコンバイン10の作業幅の2~3倍程度の幅となる。なお、運転者による最初の周回走行は2~3周でなく、それ以上(4周以上)であっても良い。
外周領域SAは、作業対象領域CAにおいて収穫走行を行うときに、コンバイン10が方向転換するためのスペースとして利用される。また、外周領域SAは、収穫走行を一旦終えて、穀粒の排出場所へ移動する際や、燃料の補給場所へ移動する際等の移動用のスペースとしても利用される。
上述した手動操作の走行により、外周領域SA及び作業対象領域CAが設定されると、図5に示すように、作業対象領域CAにおける走行経路が算定される。算定された走行経路は、作業走行のパターンに基づいて順次設定され、設定された走行経路に沿って走行するように、コンバイン10が自動走行制御される。
図4には、コンバイン10が収穫した穀粒が排出され、運搬する搬送車CVも示される。穀粒を排出する際、コンバイン10は搬送車CVの近傍へ移動し、穀粒排出装置17により穀粒を搬送車CVへ排出する。この搬送車CVの駐車位置が予め決められている場合には、搬送車CVへ接近する際の接近走行、すなわち作業対象領域CAにおける作業走行からの一時的な離脱、及び作業走行への復帰も自動走行で行うことも可能である。この作業対象領域CAからの離脱及び作業対象領域CAへの復帰のための走行経路は、外周領域SAが設定された時点で生成される。なお、搬送車CVの代わりに燃料補給車やその他の作業支援車も駐車可能である。コンバイン10が収穫した穀粒を搬送車CVに排出するために駐車する位置は穀粒排出用駐車位置であり、燃料補給車から燃料を補給されるためにコンバイン10が駐車する位置は燃料補給用駐車位置にあたる。穀粒排出用駐車位置と燃料補給用駐車位置とは、互いに同じ位置に設定しておくと好適である。
穀粒タンク15には穀粒の貯留量を検出するセンサ(図示せず)が設けられ、穀粒タンク15の貯留量が満杯または満杯近くとなったことがセンサにより検出されると、穀粒排出用駐車位置と自車位置とに基づいて、作業対象領域CAでの作業走行から離脱し、外周領域SAを走行して穀粒排出用駐車位置に自動走行で向かう。
穀粒の排出や燃料補給のため、作業対象領域CAでの作業走行から離脱するタイミングは、それぞれの余裕度と駐車位置までの走行時間または走行距離とから決定される。本実施形態では、穀粒の排出に係る余裕度は穀粒タンク15の現在の貯留量から満杯になるまでに予測される走行時間または走行距離とすると好適である。一方、燃料補給であれば、燃料タンクの現在の燃料の残量から完全に燃料切れになるまでに予測される走行時間または走行距離とすると好適である。例えば、自動走行中に穀粒排出用駐車位置の近くを通過する際に、余裕度や排出作業に要する時間等に基づいて、穀粒排出用駐車位置を通り過ぎて、満杯になってから離脱して穀粒排出用駐車位置に戻ってくる場合と、穀粒排出用駐車位置の近くを通るついでに排出も行う場合とで、いずれが、最終的に効率的な走行であるか(総作業時間が短いとか総走行距離が短いとか)を判定する。穀粒タンク15の貯留量が極めて少ないときに排出作業を行うと、全体として排出回数が増えてしまい、効率的ではなく、ほぼ満杯であれば、ついでに排出する方が効率的である。そこで、コンバイン10は、余裕度や排出作業に要する時間等に基づいて、穀粒排出用駐車位置まで自動走行を行うか否かが判断される。
コンバイン10は、穀粒タンク15から穀粒の排出を終えると、作業対象領域CAにおける穀粒排出用駐車位置への自動走行を開始するまでに収穫作業を行っていた地点に自動走行で復帰する。作業対象領域CAから離脱する際の作業対象領域CAにおける走行には後進を用いることも可能である。
上述したように穀粒の排出中は、穀粒排出装置17はホーム姿勢にあったが、穀粒の排出時にはホーム姿勢から移動し、穀粒タンク15に貯留された穀粒を機外に排出する排出姿勢となる。排出姿勢は、縦軸心Y周りで縦搬送部17Aが回動することで実現される。この時の回動量は、穀粒排出用停車位置と搬送車CVとの位置関係に応じて設定される。図6には、搬送車CVの側方に穀粒排出用停車位置が設定された場合における穀粒排出装置17の排出姿勢が示される。排出姿勢では、排出口25が搬送車CVの貯留部CVA(搬送車CVのコンテナ)上に位置するように、縦搬送部17Aが縦軸心Y周りで回動する。これにより、排出姿勢では排出口25から搬送車CVに貯留部CVAに穀粒を排出することが可能となる。このように穀粒排出装置17は、ホーム姿勢と排出姿勢とで姿勢の変更が可能なように構成される。
図1-図3に戻り、カメラ21は穀粒排出装置17の先端部に設けられている。カメラ21として広視野角のものを用いる場合には、カメラ21の撮像範囲内に、コンバイン10の前方の情景及び排出口25の下方の情景が含まれるように配置すると良い。カメラ21の撮像範囲内に、コンバイン10の前方の情景及び排出口25の下方の情景が含まれない場合には、カメラ21の光軸を変更して、コンバイン10の前方の情景と排出口25の下方の情景とが夫々含まれるようなものであっても良い。
撮像対象設定部22は、車体11の作業状態に応じてカメラ21の撮像対象を設定する。車体11の作業状態とはコンバイン10の動作状態にあたる。具体的には、走行中、停車中、収穫中、非収穫中、穀粒排出装置17の姿勢などで規定される。撮像対象とは、カメラ21が撮像する対象であり、撮像画像に含むものである。
撮像対象設定部22は、穀粒排出装置17がホーム姿勢にあって、作業状態が走行状態である時は、車体11の進行方向の物体を撮像対象に設定する。穀粒排出装置17がホーム姿勢にあるとは、図2の状態であってコンバイン10は収穫中あるいは移動中である。車体11の進行方向の物体とは、車体11の前方の物体である。したがって、撮像対象設定部22は、コンバイン10が収穫中あるいは移動中である場合には、車体11の前方の物体を撮像対象に設定する。これにより、前方の物体を検出し、検出した場合には例えばコンバイン10が周囲に注意喚起したり、走行を中断するなどして物体との接触を未然に防止することが可能となる。
また、撮像対象設定部22は、穀粒排出装置17がホーム姿勢から排出姿勢への姿勢変更中は、穀粒を排出する搬送車CVの貯留部CVAを撮像対象とする。上述したように、コンバイン10は穀粒タンク15の貯留量に応じて穀粒タンク15に貯留された穀粒を搬送車CVに排出すべく穀粒排出用停車位置に自動走行で向かう。この場合、コンバイン10が穀粒排出用停車位置に停車すると、穀粒排出装置17の排出口25が搬送車CVの貯留部CVA上に位置するように、ホーム姿勢から排出姿勢に姿勢を変更する。このような姿勢変更中は、撮像対象設定部22はカメラ21の撮像対象を貯留部CVAに設定する。これにより、作業者がカメラ21の撮像画像をモニタで確認することで、穀粒排出装置17の排出口25が搬送車CVの貯留部CVA上に適切に位置しているか否かを把握することが可能となる。
また、撮像対象設定部22は、穀粒排出装置17が排出姿勢にある時は、穀粒を排出する搬送車CVの貯留部CVAに排出された穀粒を撮像対象に設定する。穀粒排出装置17が排出姿勢にある時には、穀粒タンク15から搬送車CVに穀粒が排出されている。この時、排出口25から排出された穀粒は貯留部CVAにおいて山状になるが、モニタに穀粒が排出されている状況を表示することにより、作業者が貯留部CVAにおける穀粒の貯留状態を把握することができ、穀粒の高さが高くなった場合には必要に応じて穀粒排出装置17を縦軸心Yで回動することで排出口25の位置を変更することが可能となる。これにより、貯留部CVAにおける穀粒の高さをなだらかにすることが可能となる。
なお、上記のように、カメラ21の撮像対象が設定される構成において、光軸変更部23は作業状態に応じてカメラ21の光軸を変更すると良い。係る場合、カメラ21の撮像範囲が狭い場合であっても、光軸変更部23が光軸を変更して、設定された撮像対象が撮像範囲内に含まれるようにすることが可能となる。したがって、カメラ21が撮像対象を含む撮像画像を取得することが可能となる。
〔その他の実施形態〕
上記実施形態では、撮像対象設定部22は、穀粒排出装置17がホーム姿勢にあって、作業状態が走行状態である時は、車体11の進行方向の物体を撮像対象に設定し、穀粒排出装置17がホーム姿勢から排出姿勢への姿勢変更中である時は、穀粒を排出する搬送車CVの貯留部CVAを撮像対象に設定し、穀粒排出装置17が排出姿勢にある時は、穀粒を排出する搬送車CVの貯留部CVAに排出された穀粒を撮像対象に設定するとして説明した。撮像対象設定部22は、「穀粒排出装置17がホーム姿勢にあって、作業状態が走行状態である時」、「穀粒排出装置17がホーム姿勢から排出姿勢への姿勢変更中である時」、及び「穀粒排出装置17が排出姿勢にある時」のうちの1つ或いは2つの場合にのみ撮像対象を設定するように構成しても良い。更に、これら3つのうちの少なくとも1つと他の設定形態とを組み合わせて構成することも可能である。
本発明は、自動走行を行うコンバインに用いることが可能である。
10:コンバイン
11:走行車体(機体)
15:穀粒タンク
17:穀粒排出装置
21:カメラ
22:撮像対象設定部
23:光軸変更部
CV:搬送車
CVA:貯留部

Claims (3)

  1. 機体と、
    収穫した穀粒を貯留する穀粒タンクと、
    前記穀粒の収穫中において前記機体に支持されるホーム姿勢と前記ホーム姿勢から移動し、前記穀粒タンクに貯留された穀粒を機外に排出する排出姿勢とで姿勢の変更が可能な穀粒排出装置と、
    前記穀粒排出装置の先端部に設けられたカメラと、
    前記機体の作業状態に応じて前記カメラの撮像対象を自動的に設定する撮像対象設定部と、
    前記撮像対象設定部により設定された前記撮像対象が、前記カメラの撮像範囲に含まれるように前記カメラの光軸を自動的に変更する光軸変更部と、
    を備え
    前記撮像対象設定部は、前記穀粒排出装置が前記ホーム姿勢にあって、前記作業状態が走行状態である時は、前記機体の進行方向の物体を前記撮像対象に設定するコンバイン。
  2. 機体と、
    収穫した穀粒を貯留する穀粒タンクと、
    前記穀粒の収穫中において前記機体に支持されるホーム姿勢と前記ホーム姿勢から移動し、前記穀粒タンクに貯留された穀粒を機外に排出する排出姿勢とで姿勢の変更が可能な穀粒排出装置と、
    前記穀粒排出装置の先端部に設けられたカメラと、
    前記機体の作業状態に応じて前記カメラの撮像対象を自動的に設定する撮像対象設定部と、
    前記撮像対象設定部により設定された前記撮像対象が、前記カメラの撮像範囲に含まれるように前記カメラの光軸を自動的に変更する光軸変更部と、
    を備え、
    前記撮像対象設定部は、前記穀粒排出装置が前記ホーム姿勢から前記排出姿勢への姿勢変更中は、前記穀粒を排出する搬送車の貯留部を前記撮像対象に設定するンバイン。
  3. 前記撮像対象設定部は、前記穀粒排出装置が前記排出姿勢にある時は、前記穀粒を排出する搬送車の貯留部に排出された前記穀粒を前記撮像対象に設定する請求項1又は2に記載のコンバイン。
JP2018154143A 2018-08-20 2018-08-20 コンバイン Active JP7145690B2 (ja)

Priority Applications (1)

Application Number Priority Date Filing Date Title
JP2018154143A JP7145690B2 (ja) 2018-08-20 2018-08-20 コンバイン

Applications Claiming Priority (1)

Application Number Priority Date Filing Date Title
JP2018154143A JP7145690B2 (ja) 2018-08-20 2018-08-20 コンバイン

Publications (2)

Publication Number Publication Date
JP2020028226A JP2020028226A (ja) 2020-02-27
JP7145690B2 true JP7145690B2 (ja) 2022-10-03

Family

ID=69622249

Family Applications (1)

Application Number Title Priority Date Filing Date
JP2018154143A Active JP7145690B2 (ja) 2018-08-20 2018-08-20 コンバイン

Country Status (1)

Country Link
JP (1) JP7145690B2 (ja)

Citations (3)

* Cited by examiner, † Cited by third party
Publication number Priority date Publication date Assignee Title
JP2012090580A (ja) 2010-10-27 2012-05-17 Kubota Corp コンバイン
US20120262568A1 (en) 2011-04-15 2012-10-18 Dirk Ruthenberg Camera for monitoring machine functions of a vehicle and method of using the camera
JP2012205582A (ja) 2011-03-30 2012-10-25 Mitsubishi Agricultural Machinery Co Ltd コンバイン

Patent Citations (3)

* Cited by examiner, † Cited by third party
Publication number Priority date Publication date Assignee Title
JP2012090580A (ja) 2010-10-27 2012-05-17 Kubota Corp コンバイン
JP2012205582A (ja) 2011-03-30 2012-10-25 Mitsubishi Agricultural Machinery Co Ltd コンバイン
US20120262568A1 (en) 2011-04-15 2012-10-18 Dirk Ruthenberg Camera for monitoring machine functions of a vehicle and method of using the camera

Also Published As

Publication number Publication date
JP2020028226A (ja) 2020-02-27

Similar Documents

Publication Publication Date Title
JP7034866B2 (ja) 収穫機
JP2019216744A (ja) コンバイン
JP6755117B2 (ja) コンバイン
JP2017136035A (ja) 追従型コンバイン
CN108777938A (zh) 联合收割机
JP7423666B2 (ja) 収穫機
US12083961B2 (en) Harvester, system, program, recording medium, and method
JP2021007386A (ja) 自動走行システム
JP7433362B2 (ja) 走行経路生成システム
WO2021246384A1 (ja) コンバイン、システム、プログラム、記録媒体、方法、走行経路管理システム、収穫機
US12471529B2 (en) Autonomous driving method, combine, and autonomous driving system
JP7030662B2 (ja) 収穫機
CN113766826A (zh) 农用作业机、自动行驶系统、程序、记录有程序的记录介质以及方法
WO2020262416A1 (ja) 自動走行システム、農作業機、プログラム、プログラムを記録した記録媒体、及び方法
JP7109300B2 (ja) 収穫機
JP7145690B2 (ja) コンバイン
JP7466276B2 (ja) 作業車協調システム
JP7149897B2 (ja) 収穫機
CN116249442B (zh) 联合收割机、图像显示系统、图像显示方法、图像显示程序以及记录有图像显示程序的记录介质
JP7609617B2 (ja) コンバイン及び走行制御方法
JP7275014B2 (ja) 収穫機
JP7195247B2 (ja) 収穫機
JP7539264B2 (ja) コンバイン
JP7241625B2 (ja) 収穫機
JP2025100188A (ja) 収穫機

Legal Events

Date Code Title Description
A621 Written request for application examination

Free format text: JAPANESE INTERMEDIATE CODE: A621

Effective date: 20201225

A977 Report on retrieval

Free format text: JAPANESE INTERMEDIATE CODE: A971007

Effective date: 20210922

A131 Notification of reasons for refusal

Free format text: JAPANESE INTERMEDIATE CODE: A131

Effective date: 20211012

A601 Written request for extension of time

Free format text: JAPANESE INTERMEDIATE CODE: A601

Effective date: 20211130

A521 Request for written amendment filed

Free format text: JAPANESE INTERMEDIATE CODE: A523

Effective date: 20220104

A131 Notification of reasons for refusal

Free format text: JAPANESE INTERMEDIATE CODE: A131

Effective date: 20220222

A521 Request for written amendment filed

Free format text: JAPANESE INTERMEDIATE CODE: A523

Effective date: 20220421

TRDD Decision of grant or rejection written
A01 Written decision to grant a patent or to grant a registration (utility model)

Free format text: JAPANESE INTERMEDIATE CODE: A01

Effective date: 20220823

A61 First payment of annual fees (during grant procedure)

Free format text: JAPANESE INTERMEDIATE CODE: A61

Effective date: 20220920

R150 Certificate of patent or registration of utility model

Ref document number: 7145690

Country of ref document: JP

Free format text: JAPANESE INTERMEDIATE CODE: R150