JP7127044B2 - フィルタ媒体パック、作製方法、および超音波切断または溶接 - Google Patents

フィルタ媒体パック、作製方法、および超音波切断または溶接 Download PDF

Info

Publication number
JP7127044B2
JP7127044B2 JP2019542578A JP2019542578A JP7127044B2 JP 7127044 B2 JP7127044 B2 JP 7127044B2 JP 2019542578 A JP2019542578 A JP 2019542578A JP 2019542578 A JP2019542578 A JP 2019542578A JP 7127044 B2 JP7127044 B2 JP 7127044B2
Authority
JP
Japan
Prior art keywords
filter media
pleat
anvil
pleated
media pack
Prior art date
Legal status (The legal status is an assumption and is not a legal conclusion. Google has not performed a legal analysis and makes no representation as to the accuracy of the status listed.)
Active
Application number
JP2019542578A
Other languages
English (en)
Other versions
JP2020510516A5 (ja
JP2020510516A (ja
Inventor
テート,ジェイソン・ラマー
カルカテラ,ファレル・エフ
グリーン,トーマス・ビー
ウィック,チャールズ・アール
Original Assignee
パーカー・ハニフィン・コーポレーション
Priority date (The priority date is an assumption and is not a legal conclusion. Google has not performed a legal analysis and makes no representation as to the accuracy of the date listed.)
Filing date
Publication date
Application filed by パーカー・ハニフィン・コーポレーション filed Critical パーカー・ハニフィン・コーポレーション
Publication of JP2020510516A publication Critical patent/JP2020510516A/ja
Publication of JP2020510516A5 publication Critical patent/JP2020510516A5/ja
Application granted granted Critical
Publication of JP7127044B2 publication Critical patent/JP7127044B2/ja
Active legal-status Critical Current
Anticipated expiration legal-status Critical

Links

Images

Classifications

    • BPERFORMING OPERATIONS; TRANSPORTING
    • B01PHYSICAL OR CHEMICAL PROCESSES OR APPARATUS IN GENERAL
    • B01DSEPARATION
    • B01D46/00Filters or filtering processes specially modified for separating dispersed particles from gases or vapours
    • B01D46/0001Making filtering elements
    • BPERFORMING OPERATIONS; TRANSPORTING
    • B01PHYSICAL OR CHEMICAL PROCESSES OR APPARATUS IN GENERAL
    • B01DSEPARATION
    • B01D39/00Filtering material for liquid or gaseous fluids
    • B01D39/14Other self-supporting filtering material ; Other filtering material
    • B01D39/16Other self-supporting filtering material ; Other filtering material of organic material, e.g. synthetic fibres
    • B01D39/1607Other self-supporting filtering material ; Other filtering material of organic material, e.g. synthetic fibres the material being fibrous
    • B01D39/1623Other self-supporting filtering material ; Other filtering material of organic material, e.g. synthetic fibres the material being fibrous of synthetic origin
    • BPERFORMING OPERATIONS; TRANSPORTING
    • B01PHYSICAL OR CHEMICAL PROCESSES OR APPARATUS IN GENERAL
    • B01DSEPARATION
    • B01D46/00Filters or filtering processes specially modified for separating dispersed particles from gases or vapours
    • B01D46/52Particle separators, e.g. dust precipitators, using filters embodying folded corrugated or wound sheet material
    • B01D46/521Particle separators, e.g. dust precipitators, using filters embodying folded corrugated or wound sheet material using folded, pleated material
    • BPERFORMING OPERATIONS; TRANSPORTING
    • B01PHYSICAL OR CHEMICAL PROCESSES OR APPARATUS IN GENERAL
    • B01DSEPARATION
    • B01D46/00Filters or filtering processes specially modified for separating dispersed particles from gases or vapours
    • B01D46/52Particle separators, e.g. dust precipitators, using filters embodying folded corrugated or wound sheet material
    • B01D46/521Particle separators, e.g. dust precipitators, using filters embodying folded corrugated or wound sheet material using folded, pleated material
    • B01D46/525Particle separators, e.g. dust precipitators, using filters embodying folded corrugated or wound sheet material using folded, pleated material which comprises flutes

Landscapes

  • Chemical & Material Sciences (AREA)
  • Chemical Kinetics & Catalysis (AREA)
  • Filtering Of Dispersed Particles In Gases (AREA)
  • Filtering Materials (AREA)
  • Lining Or Joining Of Plastics Or The Like (AREA)
  • Pressure Welding/Diffusion-Bonding (AREA)
  • Treatment Of Fiber Materials (AREA)

Description

[0001]本発明は、一般に、フィルタに関し、より詳細には、エンボス(溝を画定することができる)、しわ、図形、または他の特徴などの特徴をフィルタ媒体パック内へ形成する方法および機械、ならびにそれによって形成されたそのようなフィルタ媒体パックに関する。
[0002]様々なフィルタパックが、従来技術、たとえばPalmerの米国特許第6,780,217号、Tateらの米国特許第7,122,068号、Choiの米国特許出願公開第2006/0151383号、Barringtonの米国特許第4,268,290号で知られている。前述の特許および公開はそれぞれ、一般に、プリーツフィルタ媒体要素に関する。
[0003]たとえばMerrittの「Rectangular Stacked Fluted Filter Cartridge」という名称の米国特許出願公開第2014/0260139号、およびBrownらの「Filter Element」という名称の米国特許第7,318,851号には、溝付き媒体パックなどの他のフィルタ媒体パックも記載および図示されている。
[0004]概して、たとえばChoiの「Pleated Corrugated Media and Method of Making」という名称の米国特許出願公開第2006/0151383号に示されているように、上記の例によって用いられるそのようなフィルタ媒体パック内で使用されるフィルタ媒体を処理するプロセスは、エンボスまたは他の特徴をフィルタ媒体パック内へ形成するために、中心軸の周りを回転する突出特徴を有するロールの使用を必要とする。ロール形成プロセスの利点は、典型的なプロセスにおいて、フィルタ媒体ロールから繰り出された連続するフィルタ媒体シート上でロールが連続して回転および動作するという点で、連続処理することができることである。
[0005]本発明の様々な態様は、下記の開示から理解されるように、媒体パック上にそのような特徴を作製する方法の改善、改善された媒体パック構造、および/または改善されたエンボス加工されたプリーツ媒体パックを対象とする。
[0006]この概要部における下記の態様など、様々な実施形態において単独でまたは互いに組み合わせて使用することができる様々な態様が提供される。
[0007]一態様では、一実施形態は、フィルタ媒体シートを有するプリーツフィルタ媒体パックを形成する方法を提供する。この方法は、フィルタ媒体シートをプリーツ加工して、複数のプリーツパネルを提供するステップと、複数のシームを溶接してプリーツパネルの複数の隣接ペアにし、複数のポケットプリーツを形成するステップとを含む。
[0008]別の態様では、一実施形態は、フィルタ媒体シートを有するプリーツフィルタ媒体パックを形成する方法であって、フィルタ媒体シートを移動経路に沿って前進させるステップを含み、上記プリーツ加工が、フィルタ媒体シートを離間された間隔でしわ加工し、移動経路に直交して延びる方向にしわ加工を延ばすことによって、プリーツフィルタ媒体パック内に複数のプリーツ先端を有するプリーツパネルを形成することを含む、方法を提供する。
[0009]別の態様では、一実施形態は、フィルタ媒体シートを有するプリーツフィルタ媒体パックを形成する方法であって、プリーツ加工および溶接後、ポケットプリーツを互いに重ねて、プリーツフィルタ媒体パックを形成するステップを含む方法を提供する。
[0010]別の態様では、一実施形態は、フィルタ媒体シートを有するプリーツフィルタ媒体パックを形成する方法であって、プリーツフィルタ媒体パックが、上流面にある複数の上流プリーツ先端と、下流面にある複数の下流プリーツ先端とを含む、方法を提供する。プリーツパネルは、上流プリーツ先端と下流プリーツ先端との間に延びる。プリーツパネルはそれぞれ、プリーツパネルの第1および第2の両側縁部間に横断方向に延びる。溶接が実行され、第1および第2の両側縁部を離間された場所で一体的に接合する。
[0011]別の態様では、一実施形態は、フィルタ媒体シートを有するプリーツフィルタ媒体パックを形成する方法であって、第1および第2の両側縁部間の場所で隣接するプリーツパネルをともに接合するステップを含む方法を提供する。
[0012]別の態様では、一実施形態は、フィルタ媒体シートを有するプリーツフィルタ媒体パックを形成する方法であって、溶接が、上流プリーツ先端および下流プリーツ先端のうちの少なくとも1つにおいて、上流プリーツ先端および下流プリーツ先端のうちの少なくとも1つに沿って離間された場所で行われる、方法を提供する。
[0013]別の態様では、一実施形態は、フィルタ媒体シートを有するプリーツフィルタ媒体パックを形成する方法であって、フィルタ媒体シートが、溶接を容易にするために、少なくとも10重量%のポリマー繊維を含む、方法を提供する。
[0014]別の態様では、一実施形態は、フィルタ媒体シートを有するプリーツフィルタ媒体パックを形成する方法であって、ポリマー繊維が、ポリプロピレンおよびポリエステルのうちの少なくとも1つを含む、方法を提供する。
[0015]別の態様では、一実施形態は、フィルタ媒体シートを有するプリーツフィルタ媒体パックを形成する方法であって、線形往復プレスによって溶接するステップを含む方法を提供する。線形往復プレスは、アンビルおよび溶接ツールを含む。この方法は、溶接を容易にするために、熱エネルギーデバイスからアンビルと溶接ツールとの間に熱エネルギーを供給するステップをさらに含む。
[0016]別の態様では、一実施形態は、フィルタ媒体シートを有するプリーツフィルタ媒体パックを形成する方法であって、ポケットプリーツを間に形成する超音波プレスによって超音波溶接することによって行われる、方法を提供する。超音波プレスは、アンビルおよびソノトロードを含み、アンビルおよびソノトロードのうちの少なくとも1つに沿って、リブ突出部が設けられる。
[0017]別の態様では、一実施形態は、フィルタ媒体シートを有するプリーツフィルタ媒体パックを形成する方法であって、リブ突出部が、アンビル上に設けられ、ソノトロードの方へ突出する、方法を提供する。
[0018]別の態様では、一実施形態は、フィルタ媒体シートを有するプリーツフィルタ媒体パックを形成する方法であって、リブ突出部が、アンビルおよびソノトロードのうちの少なくとも1つの板上に配置された取外し可能なツールによって提供される、方法を提供する。この方法は、取外し可能なツールを取り外して取外し可能なツールを再配置するステップ、または取外し可能なツールを第2の取外し可能なツールに交換するステップと、再配置された取外し可能なツールまたは第2の取外し可能なツールを使用して、異なる構成のフィルタ媒体パックを形成するステップとをさらに含む。
[0019]別の態様では、一実施形態は、フィルタ媒体シートを有するプリーツフィルタ媒体パックを形成する方法であって、アンビルおよびソノトロードを互いに対して近づいたり離れたりするように線形に往復させて、フィルタ媒体シート内でシームを超音波溶接するステップを含む方法を提供する。
[0020]別の態様では、一実施形態は、フィルタ媒体シートを有するプリーツフィルタ媒体パックを形成する方法であって、第1の線形スライド上に取り付けられた第1のキャリッジ上でアンビルを保持するステップと、第2の線形スライド上に取り付けられた第2のキャリッジ上でソノトロードを保持するステップとを含む方法を提供する。この方法は、シームの溶接を容易にするために、アンビルおよびソノトロードのそれぞれを独立して、Z軸に沿って近づいたり離れたりするように線形に摺動させるステップと、ポケットプリーツを解放して、ポケットプリーツを互いに重ねて、プリーツフィルタ媒体パックを形成することを可能にするステップとをさらに含む。
[0021]別の態様では、一実施形態は、フィルタ媒体シートを有するプリーツフィルタ媒体パックを形成する方法であって、アンビルおよびソノトロードを線形に往復させるステップが、Z軸内で行われる、方法を提供する。この方法は、プリーツフィルタ媒体パックの形成中にZ軸に直交する少なくとも1つの軸に沿ってリブ突出部の場所を動かして、プリーツフィルタ媒体パックを直方体でない不規則な形状で形成するステップをさらに含む。
[0022]別の態様では、一実施形態は、フィルタ媒体シートを有するプリーツフィルタ媒体パックを形成する方法であって、リブ突出部が、第1および第2の平行な線形突出要素を離間された関係で含む、方法を提供する。この方法は、ポケットプリーツの第1および第2の両側縁部を第1および第2の平行な線形突出要素によって係合させるステップをさらに含む。
[0023]別の態様では、一実施形態は、フィルタ媒体シートを有するプリーツフィルタ媒体パックを形成する方法であって、第1および第2の平行な線形突出要素が取り付けられた線形スライドアセンブリを含む方法を提供する。この方法は、プリーツフィルタ媒体パックの形成中に線形スライドアセンブリに沿って第1および第2の線形突出部のうちの少なくとも1つを動かすことによって、第1および第2の平行な線形突出要素間の間隔を調整して、プリーツフィルタ媒体パックを直方体でない不規則な形状で形成するステップをさらに含む。
[0024]別の態様では、一実施形態は、フィルタ媒体シートを有するプリーツフィルタ媒体パックを形成する方法であって、アンビルおよびソノトロードのうちの少なくとも1つに沿って設けられたナイフ突出部を含む、方法を提供する。ナイフ突出部は、リブ突出部より薄く、プリーツパネルの隣接ペアを切断する。
[0025]別の態様では、一実施形態は、フィルタ媒体シートを有するプリーツフィルタ媒体パックを形成する方法であって、ナイフ突出部が、リブ突出部の少なくとも一部分の近傍にあり、ナイフ突出部が、リブ突出部によって同時に超音波溶接された少なくとも1つのシームを切断する、方法を提供する。
[0026]別の態様では、一実施形態は、フィルタ媒体シートを有するプリーツフィルタ媒体パックを形成する方法であって、フィルタ媒体シートを移動経路に沿って断続的に次々に前進および停止させるステップを含む方法を提供する。次いで、フィルタ媒体シートが停止されている間に、エンボス加工およびしわ加工のうちの少なくとも1つが行われる。フィルタ媒体シートが前進している間に、先行部分がしわに沿って折り畳まれる。
[0027]さらに別の態様では、一実施形態は、フィルタ媒体シートを有するプリーツフィルタ媒体パックを形成する方法を提供する。この方法は、フィルタ媒体シートをプリーツ加工して、複数のプリーツパネルを提供するステップを含む。この方法は、複数のシーム縁部を切断してプリーツパネルの複数の隣接ペアにするステップと、濾過されていない流体がプリーツフィルタ媒体パック内のシーム縁部を通過するのを防止するのに十分なように、プリーツパネルの隣接ペアをシーム縁部に沿って接合および封止するステップとをさらに含む。
[0028]別の態様では、一実施形態は、フィルタ媒体シートを有するプリーツフィルタ媒体パックを形成する方法であって、フィルタ媒体シートを移動経路に沿って前進させるステップを含む方法を提供する。プリーツ加工は、フィルタ媒体シートを複数の離間された間隔でしわ加工し、移動経路に直交して延びる方向にしわ加工を延ばすことによって、プリーツパネルを形成し、プリーツフィルタ媒体パック内に複数のプリーツ先端を提供することを含む。この方法は、移動経路に対して横断方向に延びる延長部内でシーム縁部を超音波切断するステップをさらに含む。
[0029]別の態様では、一実施形態は、フィルタ媒体シートを有するプリーツフィルタ媒体パックを形成する方法であって、超音波切断シーム縁部によってプリーツフィルタ媒体パック内に切抜き領域を形成して、フィルタ媒体パックを直方体でない不規則な形状で形成するステップを含む方法を提供する。
[0030]別の態様では、一実施形態は、フィルタ媒体シートを有するプリーツフィルタ媒体パックを形成する方法であって、プリーツフィルタ媒体パックが、上流面にある複数の上流プリーツ先端と、下流面にある複数の下流プリーツ先端とを含む、方法を提供する。プリーツパネルは、上流プリーツ先端と下流プリーツ先端との間に延び、プリーツパネルはそれぞれ、第1および第2の両側縁部間に横断方向に延びる。この方法は、第1および第2の両側縁部に沿って複数の一体接合部を超音波溶接して、複数のポケットプリーツを形成するステップを含む。
[0031]別の態様では、一実施形態は、フィルタ媒体シートを有するプリーツフィルタ媒体パックを形成する方法であって、プリーツフィルタ媒体パックが、上流面にある複数の上流プリーツ先端と、下流面にある複数の下流プリーツ先端とを含み、プリーツパネルが、上流プリーツ先端と下流プリーツ先端との間に延びる、方法を提供する。プリーツパネルはそれぞれ、プリーツパネルの第1および第2の両側縁部間に横断方向に延びる。この方法は、第1および第2の両側縁部間の場所でプリーツパネルの隣接ペアをともに超音波溶接するステップを含む。
[0032]別の態様では、一実施形態は、フィルタ媒体シートを有するプリーツフィルタ媒体パックを形成する方法であって、超音波プレスが、アンビルおよびソノトロードを備える、方法を提供する。この方法は、シーム縁部の超音波切断を容易にするために、アンビルとソノトロードとの間に設けられたナイフ突出部およびリブ突出部を含む。
[0033]別の態様では、一実施形態は、フィルタ媒体シートを有するプリーツフィルタ媒体パックを形成する方法であって、ナイフ突出部、およびそれに対応してシーム縁部が、曲線または非線形である、方法を提供する。
[0034]別の態様では、一実施形態は、フィルタ媒体シートを有するプリーツフィルタ媒体パックを形成する方法であって、ナイフ突出部が、アンビルおよびソノトロードのうちの少なくとも1つの支持部材上に配置された取外し可能なツールによって提供される、方法を提供する。この方法は、取外し可能なツールを取り外して取外し可能なツールを再配置するステップ、または取外し可能なツールを第2の取外し可能なツールに交換するステップをさらに含む。再配置された取外し可能なツールまたは第2の取外し可能なツールを使用して、異なる構成のフィルタ媒体パックを形成する。
[0035]別の態様では、一実施形態は、フィルタ媒体シートを有するプリーツフィルタ媒体パックを形成する方法であって、アンビルおよびソノトロードを近づいたり離れたりするように線形に往復させて、シーム縁部を超音波切断するステップを含む方法を提供する。
[0036]別の態様では、一実施形態は、フィルタ媒体シートを有するプリーツフィルタ媒体パックを形成する方法であって、第1の線形スライド上に取り付けられた第1のキャリッジ上でアンビルを保持するステップを含む方法を提供する。この方法は、第2の線形スライド上に取り付けられた第2のキャリッジ上でソノトロードを保持するステップと、シーム縁部の超音波切断を容易にするために、アンビルおよびソノトロードのそれぞれをZ軸に沿って近づいたり離れたりするように線形に摺動させるステップとをさらに含む。
[0037]別の態様では、一実施形態は、フィルタ媒体シートを有するプリーツフィルタ媒体パックを形成する方法であって、プリーツフィルタ媒体パックの形成中にZ軸に直交する少なくとも1つの軸に沿ってナイフ突出部の場所を動かして、プリーツフィルタ媒体パックを直方体でない不規則な形状で形成するステップを含む方法を提供する。
[0038]別の態様では、一実施形態は、フィルタ媒体シートを有するプリーツフィルタ媒体パックを形成する方法であって、リブ突出部がナイフ突出部に隣接して設けられる、方法を提供する。ナイフ突出部は、リブ突出部より薄く、リブ突出部の近傍に位置する。この方法は、シーム縁部を超音波切断しながら、切断シーム縁部を同時に超音波溶接して、ポケットプリーツを形成するステップをさらに含む。
[0039]別の態様では、一実施形態は、フィルタ媒体シートを有するプリーツフィルタ媒体パックを形成する方法であって、フィルタ媒体シートを移動経路に沿って断続的に次々に前進および停止させるステップを含む方法を提供する。フィルタ媒体シートが停止されているとき、エンボス加工およびしわ加工のうちの少なくとも1つが行われる。フィルタ媒体シートが前進している間に、フィルタ媒体シートの先行部分がしわに沿って折り畳まれる。
[0040]さらに別の態様では、一実施形態は、プリーツフィルタ媒体パックを提供する。プリーツフィルタ媒体パックは、プリーツフィルタ媒体パックの入口面と出口面との間に延びる複数のプリーツパネルを提供する複数の折り目を含むように折り畳まれたフィルタ媒体シートを含む。折り目は、プリーツフィルタ媒体パックの第1および第2の両側縁部間に延びる。フィルタ媒体パックは、入口面と出口面との間に延びて取り囲むような関係で外周部をさらに含む。溶接されたシームは、プリーツパネルの隣接ペア間にポケットプリーツを形成するように、第1および第2の両側縁部に沿って形成される。溶接されたシームは、濾過されていない空気流が入口面と出口面との間で外周部を通過するのを防止する。
[0041]別の態様では、一実施形態は、溶接されたシームが、第1の両側縁部に沿って第1の溶接シーム区分と、第2の両側縁部に沿って第2の溶接シーム区分とを含む、フィルタ媒体パックを提供する。第1および第2の溶接シームは、互いに対して非平行に延びる。
[0042]別の態様では、一実施形態は、入口および出口面ならびに第1および第2の両側縁部に対して横断方向に延びるプリーツパネルの複数の隣接ペア上の複数の切断シーム縁部を含む、フィルタ媒体パックを提供する。切断シーム縁部は、凹部領域を形成する。プリーツパネルの隣接ペアは、濾過されていない流体流が通過するのを防止するように、切断シーム縁部でともに一体的に溶接される。
[0043]別の態様では、一実施形態は、プリーツパネルの隣接ペアのそれぞれの少なくとも1つのパネルに複数のエンボスが形成される、フィルタ媒体パックを提供する。エンボスは、プリーツパネルを2ミリメートル~8ミリメートルだけ離間し、プリーツパネルは、折り目間に少なくとも10センチメートルだけ延びる。
[0044]別の態様では、一実施形態は、溶接されたシームが、第1の両側縁部に沿って第1の溶接シーム区分と、第2の両側縁部に沿って第2の溶接シーム区分とを含む、フィルタ媒体パックを提供する。第1および第2の溶接シーム区分は、互いに対して平行に延びる。
[0045]さらに別の態様では、一実施形態は、プリーツフィルタ媒体パックを提供する。プリーツフィルタ媒体パックは、プリーツフィルタ媒体パックの入口面とプリーツフィルタ媒体パックの出口面との間に延びる複数のプリーツパネルを提供する複数の折り目を含むフィルタ媒体シートを含む。折り目は、プリーツフィルタ媒体パックの第1および第2の両側縁部間に延びる。フィルタ媒体パックは、入口面から出口面へ延びて取り囲むような関係で外周部を含む。プリーツフィルタ媒体パックは、入口および出口端面ならびに第1および第2の両側縁部に対して横断方向に延びるプリーツパネルの複数の隣接ペア上の複数の切断シーム縁部をさらに含む。プリーツパネルの隣接ペアは、濾過されていない流体流が通過するのを防止するように、切断シーム縁部でともに一体的に溶接される。
[0046]別の態様では、一実施形態は、切断シーム縁部が、プリーツフィルタ媒体パック内に画定された凹部領域を形成する、プリーツフィルタ媒体パックを提供する。
[0047]別の態様では、一実施形態は、凹部領域が、入口および出口面のうちの1つに画定される、プリーツフィルタ媒体パックを提供する。
[0048]別の態様では、一実施形態は、切断シーム縁部が湾曲している、プリーツフィルタ媒体パックを提供する。
[0049]別の態様では、一実施形態は、プリーツパネルの隣接ペアが、複数のポケットプリーツを提供するように、第1および第2の両側縁部でともに接合される、プリーツフィルタ媒体パックを提供する。
[0050]別の態様では、一実施形態は、プリーツパネルの隣接ペアのそれぞれの少なくとも1つのパネルに複数のエンボスが形成される、プリーツフィルタ媒体パックを提供する。エンボスは、プリーツパネルを2ミリメートル~8ミリメートルだけ離間し、プリーツパネルは、折り目間に少なくとも10センチメートルだけ延びる。
[0051]別の態様では、一実施形態は、プリーツフィルタ媒体パックが、直方体でない不規則な形状を含む、プリーツフィルタ媒体パックを提供する。
[0052]さらに別の態様では、一実施形態は、フィルタ媒体シートを有するプリーツフィルタ媒体パックを形成する方法を提供する。この方法は、フィルタ媒体シートをしわ加工して、複数のプリーツパネルを提供するステップと、しわ加工によって作製されたしわを溶接ツールとアンビルとの間に配置するステップとを含む。この方法は、溶接ツールおよびアンビルを互いに対して近づいたり離れたりするように往復させることによって、プリーツパネルの隣接ペアを組み立てるステップをさらに含む。この方法は、任意選択で、溶接ツールおよびアンビルが近づいている間に、プリーツパネルの隣接ペアを溶接箇所で溶接するステップを含む。
[0053]別の態様では、一実施形態は、フィルタ媒体シートを有するプリーツフィルタ媒体パックを形成する方法であって、溶接ツールとアンビルとの間の往復が、線形スライドアセンブリに沿ってアンビルと溶接ツールとの間の相対線形往復運動を容易にすることを含む、方法を提供する。
[0054]別の態様では、一実施形態は、フィルタ媒体シートを有するプリーツフィルタ媒体パックを形成する方法であって、サーボモータまたはステッパモータによって溶接ツールおよびアンビルのうちの少なくとも1つを駆動するステップをさらに含む方法を提供する。
[0055]別の態様では、一実施形態は、フィルタ媒体シートを有するプリーツフィルタ媒体パックを形成する方法であって、第1のサーボモータが、アンビルを線形に往復させ、第2のサーボモータが、溶接ツールを線形に往復させる、方法を提供する。
[0056]別の態様では、一実施形態は、フィルタ媒体シートを有するプリーツフィルタ媒体パックを形成する方法であって、溶接ツールがソノトロードである、方法を提供する。この方法は、ソノトロードに沿って少なくとも15,000ヘルツの振動数を放出して、プリーツパネルを溶接するステップをさらに含む。
[0057]別の態様では、一実施形態は、フィルタ媒体シートを有するプリーツフィルタ媒体パックを形成する方法であって、アンビルおよび溶接ツールのうちの一方が、持上げ部材の一部であり、アンビルおよび溶接ツールのうちの他方が、停止部材の一部である、方法を提供する。組立て動作は、持上げ部材によってフィルタ媒体シートを保持して、保持中にフィルタ媒体シートを停止部材の方へ前進させるステップを含む。これにより、持上げ部材によってフィルタ媒体シートの後続部分を引っ張り、持上げ部材によってフィルタ媒体シートの先行部分を押す(先行部分は、プリーツパネルの隣接ペアを含む)。組立て動作は、持上げ部材および停止部材をともに駆動することによって、フィルタ媒体シートの先行部分をしわに沿って折り畳むステップをさらに含む。
[0058]別の態様では、一実施形態は、フィルタ媒体シートを有するプリーツフィルタ媒体パックを形成する方法であって、プリーツパネルの組み立てられた隣接ペアを溶接ツールとアンビルとの間から解放するステップと、プリーツパネルの組み立てられた隣接ペアをプリーツフィルタ媒体パックの部分的に形成された部分に重ねて、プリーツフィルタ媒体パックのプリーツ区分を形成するステップとを含む方法を提供する。
[0059]別の態様では、一実施形態は、フィルタ媒体シートを有するプリーツフィルタ媒体パックを形成する方法であって、解放動作が、停止部材を持上げ部材から離れる方へ駆動して、プリーツパネルの組み立てられた隣接ペアに対する領域を開放するステップを含む、方法を提供する。さらに、この方法は、プリーツパネルの組み立てられた隣接ペアを、この領域を通ってプリーツフィルタ媒体パックの部分的に形成された部分上へ重力で降下させるステップを含む。
[0060]別の態様では、一実施形態は、フィルタ媒体シートを有するプリーツフィルタ媒体パックを形成する方法であって、アンビルが、持上げ部材の一部である、方法を提供する。この方法は、アンビルおよび持上げ部材を上へ駆動して、フィルタ媒体シートを解放状態で解放するステップと、アンビルおよび持上げ部材を下へ駆動して、フィルタ媒体シートを保持状態で保持するステップとをさらに含む。この方法はまた、持上げ部材を保持状態で前進させるステップと、持上げ部材を保持状態で前進させた後、フィルタ媒体シートを解放して、解放状態を実現し、次いで持上げ部材を開始位置へ後退させるステップとを含む。
[0061]別の態様では、一実施形態は、フィルタ媒体シートを有するプリーツフィルタ媒体パックを形成する方法であって、プリーツパネルの折り畳みを容易にするために、組立て中に垂直方向上方へしわを押すステップを含む方法を提供する。
[0062]別の態様では、一実施形態は、フィルタ媒体シートを有するプリーツフィルタ媒体パックを形成する方法であって、第1および第2の縁部を切断してプリーツパネルの隣接ペアにするステップを含み、第1および第2の縁部が、しわに対して斜めに延びて、プリーツフィルタ媒体パックに不規則な形状を作製する、方法を提供する。この方法は、第1および第2の縁部を溶接して、溶接されたシームを形成するステップをさらに含む。
[0063]別の態様では、一実施形態は、フィルタ媒体シートを有するプリーツフィルタ媒体パックを形成する方法であって、溶接ツールおよびアンビルが近づいている間に、切断および溶接が同時に行われる、方法を提供する。
[0064]別の態様では、一実施形態は、フィルタ媒体シートを有するプリーツフィルタ媒体パックを形成する方法であって、切断が、しわ加工後であるが組立て前に別個に行われる、方法を提供する。
[0065]別の態様では、一実施形態は、フィルタ媒体シートを有するプリーツフィルタ媒体パックを形成する方法であって、切断が、しわ加工前に別個に行われる、方法を提供する。
[0066]別の態様では、一実施形態は、フィルタ媒体シートを有するプリーツフィルタ媒体パックを形成する方法であって、複数のシームを溶接してプリーツパネルの隣接ペアにし、複数のポケットプリーツを形成するステップを含む方法を提供する。プリーツフィルタ媒体パックは、上流面にある複数の上流プリーツ先端と、下流面にある複数の下流プリーツ先端とを含み、プリーツパネルは、上流プリーツ先端と下流プリーツ先端との間に延びる。プリーツパネルはそれぞれ、プリーツパネルの第1および第2の両側縁部間に横断方向に延びる。溶接は、第1および第2の両側縁部を離間された溶接箇所で一体的に接合する。
[0067]別の態様では、一実施形態は、フィルタ媒体シートを有するプリーツフィルタ媒体パックを形成する方法であって、フィルタ媒体シートが、溶接を容易にするために、少なくとも10重量%のポリマー繊維を含み、ポリマー繊維が、ポリプロピレンおよびポリエステルのうちの少なくとも1つを含む、方法を提供する。
[0068]別の態様では、一実施形態は、フィルタ媒体シートを有するプリーツフィルタ媒体パックを形成する方法であって、超音波プレスが、複数のポケットプリーツを超音波溶接するために使用される、方法を提供する。超音波プレスはアンビルを備え、溶接ツールはソノトロードである。アンビルおよびソノトロードのうちの少なくとも1つに沿って、リブ突出部が設けられる。
[0069]別の態様では、一実施形態は、フィルタ媒体シートを有するプリーツフィルタ媒体パックを形成する方法であって、リブ突出部が、アンビルおよびソノトロードのうちの少なくとも1つの支持部材上に配置された取外し可能なツールによって提供される、方法を提供する。この方法は、取外し可能なツールを再配置するステップ、または取外し可能なツールを第2の取外し可能なツールに交換するステップをさらに含む。再配置された取外し可能なツールまたは第2の取外し可能なツールを使用して、異なる構成のフィルタ媒体パックを形成することができる。
[0070]別の態様では、一実施形態は、フィルタ媒体シートを有するプリーツフィルタ媒体パックを形成する方法であって、第1の線形スライド上に取り付けられたアンビルキャリッジ上でアンビルを保持するステップと、第2の線形スライド上に取り付けられたソノトロードキャリッジ上でソノトロードを保持するステップとを含む方法を提供する。この方法はまた、溶接を容易にするために、アンビルおよびソノトロードのそれぞれを独立して、それぞれアンビルキャリッジおよびソノトロードキャリッジを介してZ軸に沿って近づいたり離れたりするように線形に摺動させるステップを含む。次いでポケットプリーツを解放して、ポケットプリーツを互いに重ねて、プリーツフィルタ媒体パックを形成することを可能にする。
[0071]別の態様では、一実施形態は、フィルタ媒体シートを有するプリーツフィルタ媒体パックを形成する方法であって、アンビルおよびソノトロードが、互いに対してZ軸に沿って往復させられる、方法を提供する。この方法は、プリーツフィルタ媒体パックの形成中にZ軸に直交する少なくとも1つの軸に沿ってリブ突出部の場所を動かして、プリーツフィルタ媒体パックを直方体でない不規則な形状で形成するステップをさらに含む。
[0072]別の態様では、一実施形態は、フィルタ媒体シートを有するプリーツフィルタ媒体パックを形成する方法であって、第1および第2の平行な線形突出部が取り付けられた線形スライドアセンブリを含む方法を提供する。この方法は、プリーツフィルタ媒体パックの形成中に線形スライドアセンブリに沿って第1および第2の平行な線形突出部のうちの少なくとも1つを動かすことによって、第1および第2の平行な線形突出部間の間隔を調整して、フィルタ媒体パックを直方体でない不規則な形状で形成するステップをさらに含む。
[0073]さらに別の態様では、一実施形態は、フィルタ媒体パックを組み立てる装置を提供する。フィルタ媒体パックを組み立てる装置は、フィルタ媒体を収容するように適合されたフィルタ媒体供給ステーションと、フィルタ媒体を受け取るようにフィルタ媒体供給ステーションの下流に位置するフィルタ処理ステーションとを備える。フィルタ処理ステーションは、フィルタ媒体内へ特徴を形成するように適合された媒体形成ツールを備える。この装置は、フィルタ処理ステーションの下流に位置し、アンビルおよびソノトロードを含む超音波プレスステーションをさらに含む。Z軸アクチュエータが、アンビルおよびソノトロードのうちの少なくとも1つに作用して、アンビルおよびソノトロードをZ軸に沿って近づいたり離れたりするように線形に往復させるように配置される。
[0074]別の態様では、一実施形態は、フィルタ媒体パックを組み立てる装置であって、アンビルとソノトロードとの間の相対線形往復運動を案内するようにアンビルおよびソノトロードのうちの少なくとも1つに動作可能に接続されたZ軸線形スライドアセンブリを含む装置を提供する。
[0075]別の態様では、一実施形態は、フィルタ媒体パックを組み立てる装置であって、Z軸線形スライドアセンブリが、線形ガイドと、アンビルを保持するアンビルキャリッジとを含む、装置を提供する。アンビルキャリッジは、線形ガイド上で線形に可動である。
[0076]別の態様では、一実施形態は、フィルタ媒体パックを組み立てる装置であって、線形ガイド上に摺動可能に取り付けられたソノトロードキャリッジを含む装置を提供する。ソノトロードキャリッジは、ソノトロードを保持する。この装置は、アンビルキャリッジおよびソノトロードキャリッジにそれぞれ独立して作用する第1および第2の線形アクチュエータをさらに含む。
[0077]別の態様では、一実施形態は、フィルタ媒体パックを組み立てる装置であって、アンビルキャリッジ上でアンビルを保持するY軸線形スライドアセンブリを含む装置を提供する。アンビルは、Y軸でアンビルキャリッジに対して線形に可動である。Y軸は、Z軸に直交している。Y軸アクチュエータが、アンビルに作用し、アンビルをY軸線形スライドアセンブリに沿って線形に動かすように動作可能である。
[0078]別の態様では、一実施形態は、フィルタ媒体パックを組み立てる装置であって、媒体支持体を含む装置を提供する。媒体支持体は、テーブルおよびコンベアのうちの少なくとも1つを含む。Z軸に媒体支持体の上の運動範囲にわたってアンビルを保持するアンビルキャリッジがさらに提供される。媒体支持体は、フィルタ媒体をソノトロードとアンビルとの間から解放することを可能にするように、アンビルとソノトロードとの間に開放領域を画定する。さらに、アンビルキャリッジおよびアンビルのうちの少なくとも1つが、媒体支持体の上に配置された把持部を備える。把持部は、Z軸に沿って運動中にフィルタ媒体を保持するように動作可能である。Y軸アクチュエータは、把持部をY軸に沿って動かすように動作可能である。
[0079]別の態様では、一実施形態は、フィルタ媒体パックを組み立てる装置であって、把持部は、保持状態で、Z軸に沿って運動中にフィルタ媒体を挟んで媒体支持体に締め付けるように動作可能であり、解放状態で、フィルタ媒体を媒体支持体から解放するように動作可能である、装置を提供する。把持部は、Y軸アクチュエータを介して保持状態と解放状態との間で可動である。
[0080]別の態様では、一実施形態は、フィルタ媒体パックを組み立てる装置であって、アンビルキャリッジによって保持され、アンビルツールを保持するX軸線形スライドアセンブリを含む装置を提供する。アンビルツールは、フィルタ媒体内でシームを溶接するリブ突出部およびフィルタ媒体内に切れ目を切断するナイフ突出部のうちの少なくとも1つを含む少なくとも1つの突出部を含む。アンビルツールはソノトロードに面し、X軸はZ軸に直交している。
[0081]別の態様では、一実施形態は、フィルタ媒体パックを組み立てる装置であって、X軸がY軸に対して横断方向である、装置を提供する。さらに、Y軸はZ軸に対して垂直方向および直交方向に延びることができ、アンビルツールはY軸で可動である。
[0082]別の態様では、一実施形態は、フィルタ媒体パックを組み立てる装置であって、アンビルのX軸運動がアンビルのY軸運動に直交している、装置を提供する。
[0083]別の態様では、一実施形態は、フィルタ媒体パックを組み立てる装置であって、アンビルツールに作用し、X軸線形スライドアセンブリに沿って漸増的にアンビルツールを駆動するように動作可能であるステッパモータおよびサーボモータのうちの少なくとも1つを含む装置を提供する。
[0084]別の態様では、一実施形態は、フィルタ媒体パックを組み立てる装置であって、アンビルツールが、第1および第2の独立したツール要素を含む、装置を提供する。第1および第2の独立したツール要素は、X軸線形スライドアセンブリに沿って別個に可動である。
[0085]別の態様では、一実施形態は、フィルタ媒体パックを組み立てる装置であって、ソノトロードが、少なくとも15,000キロヘルツの高周波運動をソノトロード板へ放出する動作状態を有する超音波エミッタを含む、装置を提供する。
[0086]別の態様では、一実施形態は、フィルタ媒体を組み立てる装置であって、ソノトロード板が、突出ツールなく平坦である、装置を提供する。
[0087]本発明の他の態様、目標、および利点は、添付の図面と併せて下記の詳細な説明からより明らかになる。
[0088]本明細書に組み込まれており、本明細書の一部を形成する添付の図面は、本発明のいくつかの態様を図示し、本記載とともに、本発明の原理を説明する。
[0089]円がプレスの拡大部分ならびにエンボス加工およびスコア加工およびしわ加工されたフィルタ媒体シートの断面図および概略上面図を示している、プレス加工、プリーツ加工、およびエンボス加工されたフィルタ媒体パックを作製するプレス式プリーツ機械アセンブリアンドラインの部分概略側面図である。 [0090]図1に示すプレス内で使用可能である本発明の一実施形態によるエンボス板の形の上頂部スタンピングダイの等角図である。 [0091]図2に示すエンボス板の底面図である。 図2に示すエンボス板の正面図である。 [0092]円の周りを切り取った図4の領域の拡大図である。 図2に示すエンボス板の側面図である。 [0093]図2~6に示す頂板とともに図1に示すプレス内で使用可能であるエンボス板の形の下底部スタンピングダイの等角図である。 [0094]図7に示す底部エンボス板の上面図である。 図7に示す底部エンボス板の正面図である。 [0095]図示の円の周りを切り取った図9の拡大図である。 図7に示す底部エンボス板の側面図である。 [0096]図12は、図7に示すものに同じまたは類似であり、図1のアセンブリアンドライン内で使用されまたは使用可能であるが、プレス板アセンブリを提供するためにエンボス板の上流側および下流側または上流端および下流端に追加のスコアバーが取り付けられた、底部エンボス板の追加の斜視図である。 [0097]図12aは、図示の円の周りを切り取った図12の拡大図である。 [0098]上部および下部両方のエンボス板が示されており、これらのエンボス板に上部および下部スコアバーが取り付けられ、板は係合位置に示されており、対応するエンボス特徴が互いに受け取られて、スコア特徴が互いに受け取られた、図12および図7に示すそれぞれの板アセンブリの正面図である。 [0099]図1に示すプレスアセンブリによって形成されたプレス媒体シートの部分概略上面図である。 図16は、図1に示すプレスアセンブリによって形成されたプレス媒体シートの断面側面図である。
図16Aは、図1に示すプレスアセンブリによって形成されたプレス媒体シートの断面端面図である。
[0100]図7に類似であり、同じく図1のプレスアセンブリアンドライン内で同じく使用可能であるが、エンボス溝パターンの端部に先細り領域を有する、底部エンボス板の等角図である。 [0101]図17に示すエンボス板の端面図である。 [0102]前面からの図17の一部分の拡大図である。 [0103]図17に示す下部スタンピングダイとともに使用可能である、等角図に示す頂部エンボス板の形のスタンピングダイの等角図である。 [0104]図20に示す上部エンボス板の端面図である。 [0105]図20の前面部分の領域の拡大図である。 [0106]図1のプレス内で使用可能であるが、エンボス溝パターンに対する広狭のV字形を有する、底部溝切り板のさらなる実施形態の別の等角図である。 [0107]図23に示すエンボス板の端面図である。 [0108]広狭のV字形の溝の詳細をよりよく示す、図23に示すエンボス板の一部分の正面図である。 [0109]同じく広狭のV字溝の特徴を有する、図23に示すエンボス板とともに使用可能な頂部エンボス板の等角図である。 [0110]図26に示すエンボス板の端面図である。 [0111]図26に示すエンボス板の前面の一部分の拡大正面図である。 [0112]先細り溝プロファイルを有しており、図1に示すプレス内で使用可能である、底部エンボス板の別の実施形態の等角図である。 [0113]図29に示すエンボス板の端面図である。 [0114]図29に示すエンボス板の一部分の拡大正面図である。 [0115]図29に示すエンボス板とともに使用可能であり、同じく先細り溝プロファイルを有する、頂部エンボス板の等角図である。 [0116]図32に示すエンボス板の端面図である。 [0117]先細り溝プロファイルをよりよく示す、図32に示すエンボス板の一部分の拡大正面図である。 [0118]同じく図1に示すプレス内で使用可能である、本発明のさらなる実施形態による正面部分概略図に示す、上板および下板を含む湾曲したエンボスプレス板アセンブリの概略図である。 [0119]図1、図15、図16、および/もしくは図43の実施形態、または本明細書に論じる他のそのような実施形態によって作製されたプリーツフィルタ媒体パックを用いることができる、一実施形態による空気フィルタカートリッジの斜視図である。 [0120]図36に示すフィルタカートリッジの上面図である。 [0121]図1のプレスを使用して作製することができる、本発明の一実施形態によるエンボス加工およびしわ加工されたフィルタ媒体シートの部分概略上面図である。 [0122]図1のプレスを使用して作製することができる、別の実施形態によるプリーツフィルタ媒体パックを作製するエンボス加工およびしわ加工されたフィルタ媒体シートの部分概略上面図である。 [0123]本発明のさらなる実施形態によるプリーツフィルタ媒体パックを作製するためのエンボスおよびしわを含むフィルタ媒体シートの部分概略上面図である。 [0124]立方形でない形状のプリーツフィルタ媒体パックを作製するために縁部が切り取られている、エンボス加工された増大するフィルタ媒体シートのさらなる実施形態の部分概略上面図である。 [0125]流れ面のうちの一方で、他方の流れ面と比較すると、一端の折り目またはしわをともにより近づけて挟み込んで、一方の流れ面から他方の流れ面へフィルタ媒体パックにファンまたは先細りプロファイルを提供することができることを示す、プリーツフィルタ媒体パックの概略側面図である。 [0126]本発明の一実施形態による図1のプレスアセンブリインラインによって標準的な立方形で作製することができる、プレス加工されたプリーツフィルタ媒体パックの少なくとも一部の等角図である。 [0127]エンボス加工されたパネルおよびエンボス加工されていないパネルが異なる長さを有し、立方形でない形状を提供する、図1のプレスアセンブリインラインによって作製された本発明の別の実施形態によるプレス加工されたプリーツフィルタ媒体パックの代替実施形態の等角図である。 [0128]縁部が、図1に示す任意選択のトリミングデバイスを使用してトリミングナイフを介して切り取られており、側面に沿って端面の一方にある隣接パネルのペアが、超音波溶接などを介してともに継ぎ合わされている、追加のさらなる代替の湾曲しているプレス加工されたプリーツフィルタ媒体パックの等角図である。 縁部が、図1に示す任意選択のトリミングデバイスを使用してトリミングナイフを介して切り取られており、側面に沿って端面の一方にある隣接パネルのペアが、超音波溶接などを介してともに継ぎ合わされており、図46の破線は、トリミングが行われた場所を示す、追加のさらなる代替の湾曲しているプレス加工されたプリーツフィルタ媒体パックの等角図である。 [0129]図1の任意選択のトリミングナイフを使用して、個々のパネルをそのような形状に切り取りまたは切断し、これらの形状のパックを形成した、立方形でない形状を有するプレス加工されたプリーツフィルタ媒体パックの追加の等角図である。 図1の任意選択のトリミングナイフを使用して、個々のパネルをそのような形状に切り取りまたは切断し、これらの形状のパックを形成した、立方形でない形状を有するプレス加工されたプリーツフィルタ媒体パックの追加の等角図である。 [0130]任意選択のトリミングデバイスを使用して、パネルを台形の形状に切断し、側面をともに継ぎ合わせて、ポケットプリーツを形成した、図1のプレスアセンブリインラインによって作製されたプレス加工されたプリーツフィルタ媒体パックのさらに別の実施形態の等角図である。 [0131]エンボス加工されたパネルおよびエンボス加工されていないパネルがそれぞれ、1つの側面から別の側面でサイズおよび距離が異なり、立方形でない形状を提供する、プレス加工されたプリーツフィルタ媒体パックのさらなる実施形態の側面図である。 エンボス加工されたパネルおよびエンボス加工されていないパネルがそれぞれ、1つの側面から別の側面でサイズおよび距離が異なり、立方形でない形状を提供する、プレス加工されたプリーツフィルタ媒体パックのさらなる実施形態の等角図である。 [0132]プレス加工されているエンボス加工されたパネルおよびエンボス加工されていないパネルの長さも異なり、立方形でない形状を提供する、図50および図51に示すものに類似しているプレス加工されたプリーツフィルタ媒体パックの別の実施形態の図である。 プレス加工されているエンボス加工されたパネルおよびエンボス加工されていないパネルの長さも異なり、立方形でない形状を提供する、図50および図51に示すものに類似しているプレス加工されたプリーツフィルタ媒体パックの別の実施形態の図である。 [0133]エンボスが斜行しており、入口および出口流れ面に直交して延びておらず、各パネルが、異なる斜行を有する溝でエンボス加工されており(第1の組の斜行エンボスが実線で示されており、パネル上の後ろの第2の組のエンボスが破線で示されていることに留意されたい)、フィルタ媒体パックの2つのパネルのみが実線および破線で示されている、エンボス加工されているプレス加工されたプリーツフィルタ媒体パックの側面端面図である。 [0134]隣接する組のパネルが互いに対してずれており、したがって側面のうちの少なくとも2つが平面ではない、プレス加工されたプリーツフィルタ媒体パックのさらなる実施形態の等角図である。 [0135]トリミングデバイスを使用して、流れ面および側面のうちの1つの一部を切り取り、超音波溶接を使用して、隣接プリーツパネルのペアを接続し、それによってプリーツを提供し、濾過されていない空気流が媒体パックを通過するのを防止する、図1のプレスアセンブリラインによって作製されたプレス加工されたプリーツフィルタ媒体パックのさらなる実施形態の図である。 [0136]トリミングツールを使用して、隣接パネルの幅を適当な長さに成形して切り取り、円筒形状の媒体パックを作製した、円形の形状で示すプレス加工されたプリーツフィルタ媒体パックの別の実施形態の図である。 [0137]隣接する組のパネルが互いに対してずれており、したがって側面のうちの2つが平面ではなく、隣接パネルが、プリーツパネルに直交する軸の周りで互いに対して回転している、プレス加工されたプリーツフィルタ媒体パックのさらなる実施形態の等角図である。 [0138]パネルが平行四辺形であり、溝の形のエンボスが、入口および出口面の平面に対して斜行するように示されている、プレス加工された媒体パックパネルの画像である。 [0139]各パネルがエンボスおよび2組のエンボスを有し、各パネル上のエンボスが、パネルの平面から異なる方向に突出している、プレス加工されたプリーツフィルタ媒体パックの2つのパネルの等角図である。 [0140]各パネルがエンボスを含み、エンボスは、両端の上流および下流流れ面ならびに/またはしわ/折り目間の範囲より実質上小さく延び、またエンボスまたは溝は、各パネルの平面から異なる方向に突出することができる、プレス加工されたプリーツフィルタ媒体パックの2つのパネルの等角図である。 [0141]特徴をよりよく示す例示の目的で、一方のパネルが他方のパネルから離れる方へ旋回および回転しており、2つの異なる形のタブを有し、一方のタブは、プリーツパネルをともに挟んで固定し、他方のタブは、使用するときにフィルタ要素が設置されたハウジングからフィルタカートリッジを封止するために使用することができる外周リングシール(長方形または他の環状の形状とすることができる完全なリングループを形成することができる)を支持するようにパネルから延びる、プレス加工されたプリーツフィルタ媒体パックの2つのパネルの拡大等角図である。 [0142]円63の周りを切り取った図62の一部分の拡大図である。 [0143]円64の周りを切り取った図62の一部分の拡大図である。 [0144]フィルタ媒体シートが、図1のプレスラインアセンブリによって形成されており、一体型のタブが、フィルタ媒体の形状に形成され、エラストマシール内に埋め込まれており(長方形または環状の形状のループなどのハウジングシールに対する連続ループを形成することが理解されよう)、隣接プリーツパネルが、例示の目的で互いから離れる方へ回転および旋回することが示されている、プリーツフィルタ媒体パックの2つのパネルの等角図である。 [0145]円66の周りを切り取った図65の一部分の拡大図である。 [0146]形成されたエンボスのいくつかが、商標ブランドまたは他の情報に対する文字などのエンボス加工された図形も含む、図1のプレスアセンブリによって作製されたプレス加工されたプリーツフィルタ媒体パックの側面の等角図である。 [0147]フィルタ媒体シートに形成することができ、本明細書に開示する実施形態のいずれかで使用することができる異なるエンボスパターンおよびプロファイルを示す、フィルタ媒体シートの部分の等角図である。 フィルタ媒体シートに形成することができ、本明細書に開示する実施形態のいずれかで使用することができる異なるエンボスパターンおよびプロファイルを示す、フィルタ媒体シートの部分の端面図である。 フィルタ媒体シートに形成することができ、本明細書に開示する実施形態のいずれかで使用することができる異なるエンボスパターンおよびプロファイルを示す、フィルタ媒体シートの部分の等角図である。 フィルタ媒体シートに形成することができ、本明細書に開示する実施形態のいずれかで使用することができる異なるエンボスパターンおよびプロファイルを示す、フィルタ媒体シートの部分の端面図である。 フィルタ媒体シートに形成することができ、本明細書に開示する実施形態のいずれかで使用することができる異なるエンボスパターンおよびプロファイルを示す、フィルタ媒体シートの部分の等角図である。 フィルタ媒体シートに形成することができ、本明細書に開示する実施形態のいずれかで使用することができる異なるエンボスパターンおよびプロファイルを示す、フィルタ媒体シートの部分の端面図である。 [0148]1つのパターンによる溝を有するエンボス加工されたパネルが、プレス加工されていない平面パネルに取り付けられて当接して、全体的なシートに形成されている、プレス加工されたプリーツフィルタ媒体パックの一部分の端面図である。 [0149]上述した実施形態のいずれかとともに使用可能なエンボスのさらなる実施形態を示すためにエンボスの断面を切り取った、フィルタ媒体シートの一部分の追加の等角図である。 上述した実施形態のいずれかとともに使用可能なエンボスのさらなる実施形態を示すためにエンボスの断面を切り取った、フィルタ媒体シートの一部分の追加の端面図である。 上述した実施形態のいずれかとともに使用可能なエンボスのさらなる実施形態を示すためにエンボスの断面を切り取った、フィルタ媒体シートの一部分の追加の等角図である。 上述した実施形態のいずれかとともに使用可能なエンボスのさらなる実施形態を示すためにエンボスの断面を切り取った、フィルタ媒体シートの一部分の追加の端面図である。 [0150]それぞれ長手方向の溝の形のエンボスを有する2つの隣接パネルを示し、隣接パネル上のエンボスが、隣接パネル間に形成された領域内で互いに入れ子になっている、プレス加工されたプリーツフィルタ媒体パックの一部分の端面図である。 [0151]ポケットプリーツにとって特に有用であり、溝の形の湾曲したエンボスが、溝の形の線形のエンボスとともに形成されている、プレス加工されたプリーツフィルタ媒体パックの2つのパネルの等角図である。 [0152]図80に示すものに類似しているが、エンボスがパネルの平面の片側から延びる、パネルの等角図である。 [0153]プレスパネルが、上流面と下流面との間のプレス加工されたプリーツフィルタ媒体パックの全範囲に突出するエンボスを有し、エンボスが、エンボス加工されたパネルの片側から突出している、プレス加工されたプリーツフィルタ媒体パックの側面の図である。 [0154]エンボスが、パネルの両側から反対方向に突出している、図82に示すエンボス加工されたパネルの等角図である。 [0155]長手方向の溝および湾曲した溝の組合せが、組合せで設けられ、これらの溝のいくつかが、エンボス加工されたパネルの一方の側で平面から突出し、他のエンボスは、パネルの他方の側から突出している、さらなる実施形態によるプレス加工されたプリーツフィルタ媒体パックの端面図である。 [0156]エンボスが、エンボス加工されたパネルの両側から突出している、図84のパック内で使用されるパネルの等角図である。 [0157]プレス加工されたプリーツフィルタ媒体パックを形成する複数のプレス機械アセンブリアンドラインの代替実施形態の斜視部分概略図である。 [0158]プレス加工されたプリーツフィルタ媒体パックを形成する割出し可能なプレス機械アセンブリアンドラインの代替実施形態の斜視部分概略図である。 [0159]プレス加工されたプリーツフィルタ媒体パックを形成する回転するローブ付きのプレス機械アセンブリアンドラインの代替実施形態の斜視部分概略図である。 [0160]様々な実施形態による図1および図86~88に示すプレスのいずれかで用いることができる累進的なダイ配置の代替実施形態の部分概略断面図である。 [0161]図1のプレスアセンブリインライン内で使用可能な先細り溝を形成するエンボス板の代替実施形態の等角図である。 図1のプレスアセンブリインライン内で使用可能な先細り溝を形成するエンボス板の代替実施形態の上面図である。 図1のプレスアセンブリインライン内で使用可能な先細り溝を形成するエンボス板の代替実施形態の端面図である。 [0162]先細り溝を形成する図90~92の底部エンボス板とともに使用可能な頂部エンボス板の等角図である。 先細り溝を形成する図90~92の底部エンボス板とともに使用可能な頂部エンボス板の底面図である。 先細り溝を形成する図90~92の底部エンボス板とともに使用可能な頂部エンボス板の端面図である。 [0163]図示の円の周りを切り取った図95の一部分の拡大図である。 [0164]図1のアセンブリアンドラインによって作製され、本発明のさらなる実施形態によるポケットプリーツおよび超音波で点接合されたプリーツ先端を有する、プレス加工されたプリーツフィルタ媒体パックの一部分の斜視図である。 [0165]プリーツパックを示す図97のフィルタ媒体パックおよび例示の目的の次のヒンジ式のエンボス加工されたパネルの斜視図である。 [0166]媒体パックが、図1のプレスまたは他のプレス実施形態を介して形成され、消費者に情報を提供するためのブランドをともに形成している、エンボス加工されたプリーツフィルタ媒体パックおよびフレームの斜視図である。 [0167]図1の実施形態の概略図に示す対応する構造への代替として使用することができる代替実施形態によるフィルタ媒体プレスならびに協働する溶接機およびアンビルを含み、協働する溶接機およびアンビルを累進的なステップで利用して溶接されたポケットプリーツを形成する折り畳みシーケンスを示す、プレスおよびプリーツ機械アセンブリラインの部分の概略図である。 図1の実施形態の概略図に示す対応する構造への代替として使用することができる代替実施形態によるフィルタ媒体プレスならびに協働する溶接機およびアンビルを含み、協働する溶接機およびアンビルを累進的なステップで利用して溶接されたポケットプリーツを形成する折り畳みシーケンスを示す、プレスおよびプリーツ機械アセンブリラインの部分の概略図である。 図1の実施形態の概略図に示す対応する構造への代替として使用することができる代替実施形態によるフィルタ媒体プレスならびに協働する溶接機およびアンビルを含み、協働する溶接機およびアンビルを累進的なステップで利用して溶接されたポケットプリーツを形成する折り畳みシーケンスを示す、プレスおよびプリーツ機械アセンブリラインの部分の概略図である。 [0168]図103は、図100~102と同じであるが、フィルタ媒体シートを不規則な切れ目で切断することをさらに図示および開示しており、フィルタ媒体シートは、切断シームに沿って溶接機およびアンビルによって溶接することができる、さらなる代替実施形態の概略図である。 [0169]図103Aは、ポケットプリーツの形成を容易にし、不規則な形状のフィルタ媒体パック内で弧状の切断縁を継ぎ合わせるための、離間されたリブ突出要素を有するリブ突出ツールを示す、図103および図104の実施形態で使用可能なアンビルの概略端面図である。 [0170]図103と同じであるが、別法として特定のエンボスをプレスする前にフィルタ媒体シートを事前切断することを図示および開示している、さらなる代替実施形態の概略図である。 [0171]本発明のさらなる実施形態による図1の実施形態でプレスおよびプリーツ機械アセンブリラインの端部に組み込んで使用することができる超音波溶接機アセンブリ(たとえば、アンビル86および溶接機84向け)の等角図である。 [0172]折り畳まれたプリーツ区分を形成する次の累進的なステップを示し、フィルタ媒体シートをよりよく示すために、図105に対する特定の構成要素が取り除かれている、図105に示す超音波溶接機アセンブリの追加の類似の等角図である。 折り畳まれたプリーツ区分を形成する次の累進的なステップを示し、フィルタ媒体シートをよりよく示すために、図105に対する特定の構成要素が取り除かれている、図105に示す超音波溶接機アセンブリの追加の類似の等角図である。 折り畳まれたプリーツ区分を形成する次の累進的なステップを示し、フィルタ媒体シートをよりよく示すために、図105に対する特定の構成要素が取り除かれている、図105に示す超音波溶接機アセンブリの追加の類似の等角図である。 折り畳まれたプリーツ区分を形成する次の累進的なステップを示し、フィルタ媒体シートをよりよく示すために、図105に対する特定の構成要素が取り除かれている、図105に示す超音波溶接機アセンブリの追加の類似の等角図である。 [0173]アンビルアセンブリおよびソノトロードアセンブリをフィルタ媒体シートおよび始端のプリーツフィルタ媒体パックとともに示し、始端のプリーツフィルタ媒体パックの折り畳まれたプリーツ区分を形成する次の累進的なステップを示す拡大等角図(すべて同じ視点から得たものではない)である。 アンビルアセンブリおよびソノトロードアセンブリをフィルタ媒体シートおよび始端のプリーツフィルタ媒体パックとともに示し、始端のプリーツフィルタ媒体パックの折り畳まれたプリーツ区分を形成する次の累進的なステップを示す拡大等角図(すべて同じ視点から得たものではない)である。 アンビルアセンブリおよびソノトロードアセンブリをフィルタ媒体シートおよび始端のプリーツフィルタ媒体パックとともに示し、始端のプリーツフィルタ媒体パックの折り畳まれたプリーツ区分を形成する次の累進的なステップを示す拡大等角図(すべて同じ視点から得たものではない)である。 アンビルアセンブリおよびソノトロードアセンブリをフィルタ媒体シートおよび始端のプリーツフィルタ媒体パックとともに示し、始端のプリーツフィルタ媒体パックの折り畳まれたプリーツ区分を形成する次の累進的なステップを示す拡大等角図(すべて同じ視点から得たものではない)である。 [0174]図105にすでに示したが、異なる視点から得た、アンビルに使用されるY軸アクチュエータおよび線形スライドサブアセンブリの拡大詳細等角図である。 [0175]図114および図105の実施形態で使用されるアンビルアセンブリ上の保持把持部の拡大詳細等角図である。 [0176]ソノトロードおよびアンビルが断面で示されている、アンビルとソノトロードとの間の切断および溶接直後にプリーツフィルタ媒体シートから形成されている、溶接され、しわ加工され、折り畳まれたポケットプリーツの部分概略上面図である。 [0177]不規則な形状のポケットプリーツフィルタパックを形成する図105の実施形態で使用可能なアンビルのさらなる実施形態の部分概略端面図である。 [0178]同時切断および溶接シームを形成して、その入口または出口面に凹部を有する不規則な形状のフィルタパックを形成している、図105の実施形態で使用可能なアンビルのさらなる実施形態の部分概略端面図である。
[0179]本発明について、特定の好ましい実施形態に関連して説明するが、本発明をそれらの実施形態に限定する意図はない。逆に、その意図は、添付の特許請求の範囲によって定義される本発明の精神および範囲内に含まれるすべての代替形態、修正形態、および均等物を包含することである。
[0180]A.2016年8月17日出願の「Filter Media Packs. Methods of Making and Filter Media Presses」という名称のPCT/US2016/047283の開示
[0181]図1を参照すると、本発明の第1の実施形態が、フィルタ媒体ロール14から繰り出されている連続するフィルタ媒体シート12を処理するプレスおよびプリーツ機械アセンブリライン10の形の装置として示されている。この文脈で「アセンブリライン」とは、線形を意味するものではなく、代わりに最終製品が製作されるまで、処理ステップが一連の異なる作業ステーション内で、典型的にはシーケンスで行われる製造プロセスを意味することに留意されたい。この例では、製作される最終製品は、複数のプリーツフィルタ媒体パック16であり、媒体パック16はシュート20を介してコンベア18上へ送達される。
[0182]機械アセンブリラインは、概して、媒体を繰り出すことを可能にするようにフィルタ媒体ロール14が配置された媒体繰出しステーション22を含み、媒体ロールがなくなると周期的に交換され、それによってラインを一時的に閉鎖する上流領域から、媒体パック収集機24などのプリーツ加工機が位置する下流領域の方へ延びる。媒体パック収集機24は、製作されたフィルタ媒体パック16がパックシュート20に載ってコンベア18へ進むことを可能にする落とし戸26を含む。
[0183]特定の請求項に記載の特定の発明の態様によれば、機械アセンブリライン10は、上流および下流領域間にプレス28を含み、プレス28は、上部スタンピングダイ30および下部スタンピングダイ32を含む協働する1対のスタンピングダイを備える。プレス28は、動作中にスタンピングダイ30および32を繰返し駆動して互いに対して係合および係合解除させるラム34をさらに含む。拡大した円の画像内に見ることができるように、スタンピングダイは、嵌合するメスおよびオスのエンボス特徴36を備え、エンボス特徴36は、同じく拡大した円の図によって示すように、フィルタ媒体シート12内にエンボス38を形成するように適合される。
[0184]機械アセンブリライン10は、繰出しステーション22の領域からプリーツ収集機24の領域に向かう方向にフィルタ媒体シート12を前進させる働きをする協働ロール40などのコンベアなどの媒体輸送機構をさらに含む。これらの協働ロール40は、機械アセンブリラインに沿って複数の場所に位置することができるが、この例ではプレス28とプリーツ収集機24との間に位置することが示されている。
[0185]協働ロール40は、一実施形態では、フィルタ媒体を変形または形成するのではなく、代わりにフィルタ媒体を把持し、媒体パック収集機24につながる経路42に沿ってフィルタ媒体を動かす働きをすることに留意されたい。
[0186]また、プレス28を通過した後、協働ロール40を冷やして、エンボス加工されたフィルタ媒体シートを効果的に冷却することもできる。この点に関して、スタンピングダイを加熱することもでき、好ましくは本明細書に記載する高温に加熱され、したがってスタンピングダイの滞留時間中にフィルタ媒体を熱プレスして固定し、フィルタ媒体シート12内にエンボス38を熱プレスする。
[0187]加えて、または代替では、プレス28の上流に任意選択の炉または加熱器44を配置して、フィルタ媒体シート12を予熱し、したがってプレス28による処理のためにフィルタ媒体シート12をより曲げやすくすることができる。
[0188]一実施形態では、プレスは、支持テーブル46を含むことができ、支持テーブル46上に下部スタンピングダイ32が取外し可能に取り付けられて固定される。したがって下部スタンピングダイ32は、動作中に動かせないものとすることができる。
[0189]さらに、ラム34は、油圧または電気式の線形アクチュエータ48を含むことができ、線形アクチュエータ48は、シャフト50を連続的に繰り返される線形往復運動で駆動する。シャフト50は、その端部で、上部スタンピングダイ30を支持および保持し、上部スタンピングダイ30は、下部スタンピングダイ32に密接して線形に前後に駆動され、上部スタンピングダイ30と下部スタンピングダイ32との間にフィルタ媒体シート12が捕らえられてプレスされる。
[0190]線形アクチュエータ48は、支持ケージ52を介して支持することができ、支持ケージ52は、自己支持することができ、またはより好ましくはテーブル46によって支持することができ、スタンピングダイ内のそれぞれのオスおよびメスのエンボス特徴36が互いに接触し、協働して受け入れ合うように、上部スタンピングダイ30と下部スタンピングダイ32との間の位置合わせを維持することができる。
[0191]プレスならびにその線形アクチュエータ48および協働する前進ロール40は、断続的に手動で起動することができ、それによってプレス動作中、フィルタ媒体シート12は、所定の経路42に沿って前進するのではなく、静止したまま維持され、スタンピングダイ30および32間に隙間をあけてプレスならびにそのスタンピングダイ30および32が解放されると、協働する前進ロール40を駆動して、シートを次のエンボス箇所へ前進させることができる。
[0192]より好ましくは、これは自動化されており、ソフトウェアでプログラムされたコンピュータおよび/またはプログラム可能な論理コントローラとすることができる電子コントローラなどの好適な制御によって行われる。コントローラ54は、協働ロール40ならびに線形アクチュエータ48に接続されることが示されており、協働する前進ロール40が駆動状態にない間、プレスが駆動されてフィルタ媒体シート12を熱プレスする状態になるように、この断続的な活動を自動化する。さらに、コントローラ54は、協働ロール40が駆動されている間、上部スタンピングダイ30および下部スタンピングダイ32の解放および分離位置を維持する。コントローラ54は、これらの2つの状態を交互に繰り返す。さらに、コントローラ54は、毎回フィルタ媒体シートを所定の距離だけ前進させ、規則的な間隔を提供するようにプログラムまたは選択することができ、この間隔は、本明細書に記載するフィルタ媒体パックの様々な実施形態に対して、等しい間隔とすることができ、または別法として、可変の距離間隔とすることができる。
[0193]コントローラ54はまた、任意選択のロボット部品装着機56に連係して作動することができ、ロボット部品装着機56は、フィルタ媒体シート12上への接着の有無にかかわらず、本明細書で特定の実施形態に記載するようにタブを位置決めおよび配置するように、ラインに沿って、好ましくはプレス28上流に配置することができ、次いでフィルタ媒体シート12は、プレス28を通って延び、またさらなる固定のためにプレスして係合させることができる。そのようなタブは、たとえば図62~64の実施形態など、本明細書に開示する実施形態のいくつかで使用される任意選択の特徴である。
[0194]プレスならびに上部スタンピングダイ30および下部スタンピングダイ32は、上部エンボス板58および下部エンボス板62を含み、また上流端および下流端の両方に、上部スコアバー62および下部スコアバー64を含むことができる。スコアバーならびに上部および下部エンボス板は、板アセンブリを提供することができる。上部スコアバー62および下部スコアバー64は、好ましくは、またスコアを同時にプレスし、それによってフィルタ媒体シート内のエンボス38から上流および下流の両方でフィルタ媒体シート12をしわ加工し、上流スコア66および下流スコア68を形成するように設けられ、それによりフィルタ媒体の折り畳みを容易にする働きをするしわを提供する機会を与える。しわで折り畳むことで、プリーツフィルタ媒体パック16に、プレスされているエンボス加工されたプリーツパネル70、およびプレスされていない、好ましくはプレスされない、平坦なプリーツパネル72などのエンボス加工されていないプリーツパネルを提供する。全体として見ることができるように、プロセスは、図示のように、上流スコア66および下流スコア68によって互いに接合されている交互のエンボス加工されたプリーツパネル70および平坦なプリーツパネル72の連続シートを形成する。
[0195]所望の長さのフィルタ媒体シート12が生成され、機械アセンブリライン10を通過したとき、フィルタ媒体シート12を手動で切断することができ、またはより好ましくは自動パック切断ナイフ74を介して切断することができ、自動パック切断ナイフ74はまた、コントローラ54と通信して、所定の経路42に沿ってフィルタ媒体シートを前進させる前進協働ロール40に対して適時に切断することができる。プリーツフィルタ媒体パック16に使用可能なフィルタ媒体シート12の所望の長さに対応する所定の距離だけ、コントローラ54が協働ロール40を駆動した後、パック切断ナイフ74を作動させて、移動経路42に対して横断方向および好ましくは直交方向に切断し、フィルタ媒体パック16のそれぞれに対する長さにシートを切断することができる。好ましくは、これはまた、一時停止中に行われるが、連続して動作させることもでき、ナイフは、経路12に対して直交方向以外の角度で動き、切断中に経路の方向に同じ速度で動く。
[0196]特定のフィルタ媒体パックの実施形態を行うための課題で使用することができる別の任意選択の特徴は、図1に概略的に示すように、媒体の側縁部78、80の一方または両方を切り取るために使用することができるトリムナイフ76である。たとえば、このトリムナイフ76は、図41に示すような縁部を切り取るために使用することができ、または他の場合、たとえば図45~48、ならびにたとえば図56および図57に示す追加の実施形態に示す形状を形成するように縁部を切り取るために使用することができる。
[0197]トリムナイフ76は、これらの動作を実行するために、フィルタ媒体シート12の両側に、またはフィルタ媒体シート12の両側の側縁部78、80の近傍に設けることができる。トリムナイフ76は、機械化された媒体前進ロール40が動作している間に動作させることができ、または別法として、スタンピングダイ30、32が係合しているプレス動作中、フィルタ媒体シート12が停止している間に、トリミング動作を機械的に切断および実行することができる。停止中にナイフ76のさらなる精度および制御を実現することができる。
[0198]加えて、別のさらに任意選択の所望の特徴は、電子コントローラ54と電気的に通信することもできる接着剤塗布器82に、フィルタ媒体シート12上の所望の場所にホットメルト、ウレタン、糊、または他のそのような好適な接着剤などの接着剤を分配させることができることである。したがって接着剤塗布器82は、ロール40がフィルタ媒体シート12を前進させている間のみ、接着剤を分配することができるが、有利には、追加のステッチ送りが所望される場合にフィルタ媒体シートにわたって塗布するためなど、フィルタ媒体シートが停止されている間に接着剤を塗布するために、一時停止中に動作させることもできる。接着剤82はまた、異なる場所で塗布することができ、両側縁部78、82上などに2つ以上の接着剤塗布器82を設けることができ、2つ以上の接着剤塗布器82は、フィルタ媒体シート12の両側縁部78、80上に接着剤を塗布して側縁部を継ぎ合わせ、ポケットプリーツを形成することができる。たとえば、接着剤塗布器82によってフィルタ媒体シート12の縁部上に塗布される接着剤は、両側縁部をともに継ぎ合わせて、両側縁部上に封止されたシームを形成し、たとえば図97の実施形態に見ることができるようなポケットプリーツを実際上形成することができる。図97で、エンボス加工されたパネルおよび平坦なパネルの隣接する縁部は、ともに継ぎ合わされていることが示されており、これらは超音波接合することができ、または別法として接着剤によって接合することができる。
[0199]加えて、または代替で、接着剤塗布器82はまた、様々な点が示されている図98に示すような選択された場所に接着剤を塗布することができる。これらの点は、点接合のための接着剤塗布部とすることができ、または別法として、超音波接合箇所を表すことができる。これにより、追加の構造的完全性をプリーツフィルタ媒体パック12に提供し、使用中にパネルが互いに対してずれるのを防止することができる。
[0200]プレスおよび任意選択の接合の下流では、フィルタ媒体パックを簡単に折り畳むプリーツ収集機を含む様々な形のプリーツ加工機を使用することができる。
[0201]図示されている1つの形のプリーツ収集機は、超音波アンビル86とともに機能する超音波プランジ溶接機84の形であり、プランジ溶接機84およびアンビル86は、互いに嵌合および接触して、フィルタ媒体シートの隣接部分をともに超音波接合および溶接する超音波ホーン特徴によって構成される。プランジ溶接機84およびアンビル86は、互いに近づいたり離れたりするように駆動することができ、プランジ溶接機84とアンビル86との間に隣接プリーツパネル70、72が位置する。また、プランジ溶接機84およびアンビルを使用して、シームに接合部を形成することができ、かつ/または超音波溶接によって点接合部を形成することができ、かつ/またはそれによって図97および図98に示すようにポケットプリーツなどの特徴を形成することができる。プランジ溶接機84およびアンビル86はそれぞれ、互いに近づいたり離れたりするように可動であり、プランジ溶接機84およびアンビル86を互いから離れる方へ動かすことで、プランジ溶接機84は、フィルタ媒体シートのプリーツパネルの前進を可能にし、媒体パック収集機24内に位置決めされた処理中のフィルタ媒体パック16のシートのすぐ近くのプリーツパネル上に特徴を溶接することを可能にすることができる。
[0202]プランジ溶接機およびアンビルの運動はまた、協働ロール40の動作に連係させることができ、一時停止中に活動状態とすることができ、経路42に沿ったフィルタ媒体シートの前進中に動作させることもできる。プランジ溶接機84は、プリーツパネルを持ち上げてそれ自体に一時的に固定するために、その面に吸引および真空を含むことができ、上部スコアバー62および下部スコアバー64の対応するスコア特徴によって作製された上流スコア66および下流スコア68に沿ってフィルタ媒体シートを折り畳むことを容易にする。
[0203]用いることができるさらに別の任意選択の特徴は、用いることが所望されることのある支持または他のそのような積層特徴に対するエキスパンドメタルなどの追加のフィルタ媒体シート、スクリム、支持体、スクリーンなどの積層シート88を使用することができることである。いくつかの実施形態では、より大きい粒子を捕捉するための第1の濾過レベルを提供し、それによってフィルタ媒体シートに対するそれほど効率的でない上流面と、フィルタ媒体に対するより効率的な下流層とを提供するために、2つの層のフィルタ媒体シートを有することが所望されることがある。したがって、フィルタ媒体シート12の上または下に重なるように、また機械アセンブリライン10のプレス28を含む類似の構成要素を通って延びるように、積層ロール90から積層シート88を分配することができる。したがって、この構成によって、積層シート88はまた、フィルタ媒体シート12と同じエンボス特徴およびエンボス38によってプレスされるはずである。
[0204]図14、図15、および図16を次に参照すると、図1に示す機械アセンブリライン10および図2~13に示すその構成要素によって形成されるプレスされたフィルタ媒体シート12の細部を、さらに詳細に見ることができる。図15では、フィルタ媒体シートの部分的な断面のみが示されており、頂部および底部の破断線は、追加のエンボスが横に並んで配置されることを示すために図示されていることに留意されたい。上述した説明から、エンボス38を有するフィルタ媒体シート12がどのように形成されるかは容易に理解され、それらの形成された特徴に対する詳細を次に提供する。
[0205]エンボス38は、図15に示す場合、頂部側などの一方の側から見ると、突出する突条182の形をとり、エンボス38の下面に沿って同じく画定された対応する溝186、ならびに突出する突条182間に形成される溝186を形成する。加えて、底部側には対応する突条182が形成され、反対側には溝186が形成される。
[0206]典型的には、エンボス38は、図15および図16に示すように、エンボス加工されたプリーツパネル70の全長にわたって、隣接しているが離間された平板パネル72間に延びており、この長さは典型的に、188、190で示す上流位置および下流位置に旋回ヒンジを提供する上流スコア66と下流スコア68との間のエンボス加工されたプリーツパネル70の長さ範囲の少なくとも90%である。このようにして、上流ヒンジ188は、図16に示す上流の平坦なプリーツパネル72が旋回して、図16に示すエンボス加工されたプリーツパネル70の底面に重なることを可能にし、下流ヒンジ190は、下流の平坦なプリーツパネル72が、図16に示す向きで、頂面184に重なることを可能にするように向けられる。頂面184および底面185は、頂面が底面になることができ、底面が頂面になることができることから、可逆性であることが理解される。
[0207]図16に示す側面図では、好ましくは上流ヒンジ188は、フィルタ媒体シートを側面図で見たとき、旋回ヒンジに対して異なる高さに位置する。具体的には、フィルタ媒体シートまたはエンボス加工されたパネルが平坦に位置する状態で、上流ヒンジは、下流ヒンジ190より下に位置決めされることが示されている。これにより、垂直方向の間隙が、フィルタ媒体シート12の折り畳みおよびプリーツ加工を可能にし、エンボス38の高さに対応することが可能になる。好ましくは、上流ヒンジ188および下流ヒンジ190は、図16に示す向きで垂直方向の距離、好ましくはエンボスの高さの少なくとも50%、より好ましくはエンボスの少なくとも75%をあけて、互いから離間および分離される。
[0208]さらに、図15および図16に示すように、エンボス加工された領域の端部は、ヒンジ188、190につながって同化する先細り端を、エンボスの両端にさらに含むことができる。加えて、ヒンジはまた、エンボスに直交して延びるより小さいサイズの溝194を備え、それによりヒンジ構造に追加の柔軟性が提供される。これらの溝194は、図12および図13を参照して示すように、追加の三角形の溝174および三角形の突条突出部176によって形成することができ、主スコア線66、68は、同じく図12および図13に示す三角形の突条170および三角形の溝172によって形成することができる。
[0209]先細り端192の形成を容易にするのを助けるために、スタンピングダイ上に示すエンボス特徴36はまた、たとえば図17~19のエンボス板の実施形態に示すように、対応する先細り端区間を有することができる。
[0210]アセンブリラインおよびフィルタ媒体シートを有するプリーツフィルタ媒体パックを形成する方法の動作に関する追加のさらなる詳細を要約および提供するために、図1~16を参照すると、この方法は、スタンピングダイ30、31によってエンボス38をフィルタ媒体シート12に繰返しプレスするステップを含むことを見ることができる。その後、フィルタ媒体シート12は、上流スコア66および下流スコア68を利用してプリーツ加工され、上流スコア66および下流スコア68は、対応するヒンジ188、190を形成する。ヒンジ188、190は、フィルタ媒体シートをプリーツフィルタ媒体パック16に折り畳み、それによってプリーツ加工することを容易にする。
[0211]たとえばそのようなフィルタ媒体パックの追加の図が、図43に示されており、フィルタ媒体シートを離間された間隔で増大させるこの方法は、両方の流れ面198、200に複数のプリーツ先端196を含むように、フィルタ媒体パック16を形成し、一方の流れ面が上流の流れ面になり、一方の面が下流の流れ面になることを見ることができる。フィルタ媒体シートを離間された間隔でしわ加工してプリーツ先端を形成することによって、エンボス38は、図43に示すように、プリーツ先端196間に少なくとも部分的に延びて配置されることを見ることができる。
[0212]このように行われたとき、間隔が均一に離間され、プリーツ(たとえば、プリーツパネル)がそれぞれの入口および出口面でプリーツ先端間に延びる場合、入口面のプリーツ先端と出口面のプリーツ先端との間の距離は、一定のままとすることができ、それによって図43に示すフィルタ媒体パック16に対して立方形の形状を形成することができる。
[0213]しかし、プレス方法によって、不均一の間隙で間隔を形成することを実現することもでき、平坦なプリーツパネル72がエンボス加工されたプリーツパネル70より長いプリーツパック202を示す図44に類似しているが代替の実施形態に示すように、プリーツは、入口面のプリーツ先端と出口面のプリーツ先端との間に延び、距離が、不規則な形状のプリーツフィルタ媒体パックを生成および作製し、入口面および出口面の領域は、プリーツパネル70、72の範囲に対して斜めに延びる。したがって、流れ面204および206は、互いに対して平行に延びることができるが、エンボス加工されたプリーツパネル70および平坦なプリーツパネル72に対して直交しないで斜めに延びる(図43の場合)。
[0214]図43および図44の両実施形態では、図1に示す移動経路42に沿ったフィルタ媒体シート12の前進に対して、スコアによって形成されるしわ加工の範囲、それによって対応するプリーツ先端196は、移動経路に対して横断方向、典型的には直交方向に延びることを見ることができる。また有利には、すべてのパネルを処理する必要があるわけではなく、それにより、同じく第1のエンボス加工されたパネルおよび第2の平坦なパネルに不整合を引き起こす一実施形態では、エンボス加工されたプリーツパネル70のみにエンボス38のプレス加工が行われ、平坦なプリーツパネルではプレス加工を省くことができるという点で、全体的なプロセスに追加の速度が提供される。この手順を繰返しまたは次々に行って、たとえば図43および図44に示す全体的なプリーツパック16および202を形成する。
[0215]図1の機械アセンブリライン10の好ましい動作では、フィルタ媒体シート12は、移動経路42に沿って断続的に次々に前進および停止させられる。フィルタ媒体シート12が停止させられている間に、プレス28を介してプレス加工が行われ、したがってプレスが静止している場合、フィルタ媒体シート12は前進することができず、フィルタ媒体シートが前進している間、フィルタ媒体シートは、図1に現在の状態で示すように、係合しないで隙間のために大きい間隙だけ分離されたスタンピングダイ30および32を自由に通過する。しかしスタンピングダイがプレスおよび係合位置で近づいたとき、たとえば図13に示すように、フィルタ媒体シートは、プレスに対して通過、移動、または前進することができない。
[0216]この断続的な前進および停止動作の利点は、プレスダイの上流または下流でさらなる動作を行うことができることである。フィルタ媒体シートが停止されている間、そのような動作はフィルタ媒体シートと同じ速度で動かす必要がなく、フィルタ媒体シートの速度と連係する必要なく静止位置で維持することができるため、他の処理ステップおよびそれらの制御がより容易かつ精密になる。たとえば、停止中、プリーツ加工によって形成された隣接プリーツの接合は、プランジ溶接機84およびアンビル86などによって行うことができる。
[0217]追加または別法として、フィルタ媒体シートのそのような停止中、側縁部78および80の一方または両方を含むように、隣接プリーツの縁部を切り取ることができる。
[0218]加えて、入口および出口面のうちの少なくとも1つに対するプリーツ先端は、超音波接合などによって、ともに締め付けかつ/またはプレスすることができ、これは、プランジ溶接機84およびアンビル86によって実行することもでき、そのような特徴は、たとえば図97に示すプリーツフィルタ媒体パック内に示されている。加えて、停止中、ロボット部品装着機56は、様々な実施形態に対して示すように、構成要素を隣接パネルに取り付けて、構造的な支持を提供し、または一体型ハウジングシールのより良好な一体的な取付けを容易にすることができる。
[0219]好ましくは、最も簡単なタイプの動作のために、それぞれの板を含む上部スタンピングダイ30および下部スタンピングダイ32は、板の線形往復運動によって、互いに近づいたり離れたりするように可動であり、それぞれのメスおよびオスのエンボス特徴が互いに受け入れられ、フィルタ媒体シートが間に位置する。この構成によって、それぞれの板58、60は、平行な平面内に延びる。
[0220]線形に延びる溝および線形に延びるリブを使用して、図2~10のエンボス板に示すように、オスおよびメスのエンボス特徴を提供する利点は、フィルタ媒体シートに形成された対応するエンボス38が、プレス加工およびプリーツ加工中に形成される対応するプリーツ先端間に延びるエンボスの中心部分の長さの少なくとも90%に対して、一貫した深さおよび高さを維持することができることである。これにより、最大突条強度および構造的完全性が提供され、したがって図43または図44に示すように形成されたパックは、適用時に空気流にかけられるとき、相当な強度を維持する。具体的には、隣接プリーツパネル間の間隔は、空気流中で維持されており、プリーツは、プリーツの構造的な支持および完全性を提供するエンボスのため、互いの上に崩壊したり互いを隠したりしない。これにより、フィルタ媒体シート内に収容されているフィルタ媒体の使用を最大にするために、隣接プリーツパネル間のわずかな接触または最小の接触により、隣接プリーツパネル間の開かれた良好な空気流が維持される。
[0221]エンボスはまた、実際上波形パターンを提供し、それによりフィルタ媒体シートが少なくとも1つの寸法で曲がるのを防止し、プリーツフィルタ媒体パックに対する追加の強度および支持を提供する。したがって、長さの少なくとも90%など、全長にわたってエンボスを延ばすことによって、プリーツパックの良好な構造的完全性が実現される。これは、6cmより大きいプリーツ深さ(たとえば、入口および出口面間の範囲)を有する深いプリーツフィルタ媒体パック、および10cmより大きいまたはさらには20cm以上とすることができるプリーツパックにとって特に有利である。1cm~180cmのプリーツ深さを有するプリーツパックを形成することができるが、この場合もこれは、前述した深いプリーツ媒体パックにとって特に有利である。
[0222]また、好ましい動作中、フィルタ媒体シート12は、上部スタンピングダイ30と下部スタンピングダイ32との間の力によって係合されて活動状態でプレスされ、スタンピングダイは、係合およびプレス位置で、フィルタ媒体シートのカリパス厚さに同等であるがより好ましくはわずかに小さい間隙だけ分離することができ、この間隙は、フィルタ媒体シートのカリパス厚さの80~99%の間隙とすることができる。この間隙は、プレスに印加される圧力の量によって、板上の停止当接で制御することができ、フィルタ媒体シートの媒体含量が、プレス加工を制限する。
[0223]プレス加工中、エンボスの十分な形成を確実にし、その形状を維持するために、0.2~300秒、好ましくは1~15秒の相当な滞留時間をとることができる。これにより、実際上、媒体をプレスして保持し、しごき加工動作に類似して特徴をプレスする。
[0224]また好ましくは、図19に示すが、図43および図44の完成したフィルタ媒体パックにも示すように、先細り端192の形の先細り端部が、エンボス38の中心部分の両端に形成されており、先細り端部は、それぞれのプリーツ先端196の方へ延びる。これにより、それぞれの入口流れ面204および出口流れ面206に、より大きい空気流入口および空気流出口が提供される。
[0225]最大濾過容量を提供するのに最も有利な溝の形成を容易にするために、ダイ36上のエンボス特徴の対応する溝およびリブ、ならびにシートプレスエンボスに形成された対応するエンボス38は、5cmより大きい長さを有し、幅は少なくとも2mmであり、深さは少なくとも2mmである。これらの測定は、図16および図16aに、長さL、幅W、および深さDとして示されている。幅は、これらの実施形態において、突条の隣接する先端の中心間で測定され、深さは、突条の先端から溝の底部で測定されることに留意されたい。
[0226]好ましくは、エンボス(ならびに対応する突条および/または溝)は、2mm~8mmの深さおよび2~16mmの幅を有する。長さは、上流および下流プリーツ先端間のフィルタ媒体パックの全体的な範囲または長さに依存するが、典型的には本明細書に記載するように長さの少なくとも90%を含み、他の代替も可能である。
[0227]加えて、プリーツを十分に固定し、エンボス加工された形状を維持するために、繊維がフィルタ媒体シートの加熱によりともに溶融または接合しないように、媒体の繊維のガラス遷移点を下回る温度で、プレス加工のためのフィルタ媒体シートの加熱が行われる。たとえば、加熱は、少なくとも50重量%のセルロース繊維を含む媒体の場合は65~125℃まで、ポリプロピレン、ポリエステル、またはナイロン繊維のうちの少なくとも1つを含む少なくとも50%重量の繊維を含む媒体の場合は65~205℃まで、フィルタ媒体シートの温度を上昇させることを含む。これらは、典型的には、フィルタ媒体シート内で用いられている最も一般的に考えられる繊維であるが、当業者には知られておりかつ/または従来のフィルタ媒体シートで使用されているガラス繊維および様々な他のポリマー材料を含む追加のタイプの繊維および材料を使用することもできる。プレスは、好ましくは加熱され、フィルタ媒体シートを加熱し、単独の熱源とすることができるが、スタンピングダイに入る前にフィルタ媒体シートを予熱するなど、追加の加熱を行うこともできる。この場合も、加熱されたスタンピングダイによってプレスされた後、前進ロールまたは冷却ステーションの通過などによって、フィルタ媒体シートの活動状態での冷却を行うことができる。
[0228]プレスを使用する別の利点は、特定の実施形態で、特にエンボスにおいてフィルタ媒体シートを引き伸ばして、フィルタ媒体シートのプレス領域内で空気流透過性の増大を提供することができるエンボスの幅および深さの構成で、実現することができる。特定の実施形態によれば、これらのプレス領域およびエンボスは、圧縮されずに引き離されている繊維を有することができる。具体的には、エンボス加工されたパネル間に形成されたプレスされていないフィルタ媒体シートまたはプレスされていない平坦なパネルと比較すると、繊維がプレス動作によってわずかに分離されて、フィルタ媒体シートを引き伸ばすことができることが分かっている。
[0229]たとえば、TAPPI T251空気流透過性試験によって測定すると、引き伸ばしにより、プレスされた空気流の透過性が、プレスされていない空気流の透過性より少なくとも110%大きくなる。好ましくは、プレスされた空気流の透過性は、プレスされていない空気流の透過性より125~500%大きくすることができる。
[0230]その結果、エンボス加工されたプリーツパネル70および平坦なプリーツパネル72など、プレスされた領域およびプレスされていない領域がある実施形態で使用されるとき、プリーツフィルタ媒体パック内に異なる濾過特徴領域を形成することができる。プレスされた領域は、プリーツフィルタ媒体パックの20~80%を構成することができ、プレスされていない領域は、20~80%の残り部分を構成することができる。これにより、より拘束的な媒体を緩める機会が提供され、エンボス加工されたプリーツパネル内にわずかに低効率であるがより空気透過性の高い領域が提供され、平坦なプリーツパネル内に空気流に対してより拘束的であるがより高い効率を有する領域が提供される。
[0231]材料に関して、フィルタ媒体シートは、好ましくは、少なくとも10重量%のポリマー繊維、より好ましくは少なくとも20重量%のポリマー繊維、最も好ましくは少なくとも50重量%のポリマー繊維を含むが、他の可能性も可能である。
[0232]ポリマー繊維は、濾過媒体で使用される一般的な材料であるフッ化ポリマー、PVDF、ポリプロピレン、ポリエステル、およびナイロンのうちの少なくとも1つを含むことができるが、この場合も他の材料が可能である。フィルタ媒体シートはまた、別法として、湿式マイクロガラス、ナイロン、ポリプロピレン、ポリエステル、湿式セルロース、および湿式ポリマーという媒体繊維のうちの少なくとも1つを含むことができる。これらの繊維材料は、単独でまたは互いにともに使用することができる。
[0233]フィルタ媒体繊維は、より効率的な媒体内で100μ未満、好ましくは50μ未満、最も好ましくは20μ未満の直径サイズを有する繊維を含む。これらの繊維材料は、単独でまたは互いにともに使用することができる。
[0234]最も典型的な濾過の応用例では、プレス加工前のフィルタ媒体シート12は、ほとんどの濾過の応用例(下限での液体の濾過を含む)に対して2~400CFMの空気流透過性、より好ましくはほとんどの空気濾過の応用例(ASTM D737-04(2012)標準によって測定され、TEXTESTモデルFX3300計器によって一般的に試験される)に対して10~150CFMの空気流透過性、およびミネソタ州アーデンヒルズ所在のPowder Technologiesによって作製されたISO12103-1、A2 Fine Test Dustに対して50%~100%の初期質量効率(ISO5011標準によって測定される)、ならびに0.2~7ミリメートル、より好ましくは0.2~1ミリメートルのカリパス厚さを有する。
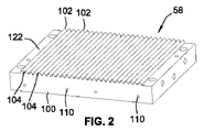
[0235]図2~5および図7~10を次に参照すると、図1に示すプレス28内で用いられるように、協働および嵌合する上部エンボス板58および下部エンボス板60が、より大きくさらに詳細に示されている。図2~5で、エンボス板58の形の上部または頂部スタンピングダイは、平板100の形の平面体を含むことが示されており、平面体内には、複数のエンボス特徴36が形成され、上流端106と下流端108との間に長手方向に延びる複数の歯および突条102ならびに溝104を含む。この実施形態では、溝104は、離間された関係で略平行に延び、突条102間に形成される。歯および突条102ならびに溝104は、図7~10に示す底部エンボス板60(下記の説明を参照)上に形成された対応する溝および突条内に密接に受け取られるようにサイズ設定および構成される。
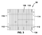
[0236]上流端106および下流端108は、好ましくは、たとえば図12および図13に見ることができるように、スコアバーの取付けを可能にする複数のボルト孔110を有する。加えて、上部スタンピングダイのキャリッジ31(図1参照)への取付けを提供するボルトを受け取るために、ボルト孔112が設けられる。
[0237]長手方向に延びる孔が、前面114と後面116との間に延び、加熱チャネル118として示されており、加熱チャネル118は、加熱要素を受け取ることができ、または別法として、流体回路に連結して、高温の流体を循環させることができ、エンボス板58を所望の温度に加熱することを容易にし、フィルタ媒体シートの熱プレスを容易にすることができる。
[0238]さらに、パイロット構造120を設けることができ、パイロット構造120は、上部スタンピングダイキャリッジ31上の対応するパイロット構造と相互作用して位置合わせされ、図1に示す下部スタンピングダイ32の下部エンボス板60に対する上部エンボス板58のより良好な位置合わせおよび精密な位置合わせを容易にする。
[0239]次いで図7~10を参照すると、図2~5に示す上部エンボス板によく類似している下部エンボス板60がより詳細に示されており、下部エンボス板60は、上部エンボス板と嵌合して受け取るように構成され、上部エンボス板の歯および突条は、下部エンボス板の溝の中に受け取られ、下部エンボス板の歯および突条は、上部エンボス板の溝の中に受け取られる。下部エンボス板は、上部スタンピングダイキャリッジに取り付けられるのではなく、その代わりに、図1に示す下部スタンピングダイ32の器具33内に入れ子状に受け取られるはずであり、これは単に図1に示すテーブル46に取り付けられたテーブルトップまたは他の構造とすることができることも理解される。
[0240]図7~10で、エンボス板60の形の下部または底部スタンピングダイは、平板130の形の平面体を含むことが示されており、平面体内には、複数のエンボス特徴36が形成され、上流端136と下流端138との間に長手方向に延びる複数の歯および突条132ならびに溝134を含む。この実施形態では、溝134は、離間された関係で略平行に延び、突条132間に形成される。歯および突条132ならびに溝134は、図2~5に示す頂部エンボス板58(上記の説明を参照)上に形成された対応する溝および突条内に密接に受け取られるようにサイズ設定および構成される。
[0241]上流端136および下流端138は、好ましくは、たとえば図12および図13に見ることができるように、スコアバーの取付けを可能にする複数のボルト孔140を有する。加えて、図1のテーブルへの取付けを提供するボルトを受け取るために、ボルト孔142が設けられる。
[0242]長手方向に延びる孔が、前面144と後面146との間に延び、加熱チャネル148として示されており、加熱チャネル148は、加熱要素を受け取ることができ、または別法として、流体回路に連結して、高温の流体を循環させることができ、エンボス板60を所望の温度に加熱することを容易にし、フィルタ媒体シートの熱プレスを容易にすることができる。
[0243]さらに、パイロット構造150を設けることができ、パイロット構造150は、テーブルおよび器具上の対応するパイロット構造と相互作用して位置合わせされ、図1に示す下部エンボス板60に対する上部エンボス板58のより良好な位置合わせおよび精密な位置合わせを容易にする。
[0244]図12~13を参照すると、上部スコアバー62および下部スコアバー64が、図13に示すボルト152によって、上部エンボス板58および下部エンボス板60の両方に取外し可能および調整可能に取り付けられていることを見ることができる。スコアバーは、横長の調整スロット154を含み、調整スロット154は、スコアバーを垂直方向に上下に動かすことを可能にし、フィルタ媒体上で行われるスコア線の位置決めを、形成されるエンボスに対してより高いまたはより低い端部で行うことを可能にし、これは、本明細書でエンボス加工されたプリーツが形成されるプリーツ加工動作で有利である。さらに、図12aに示すように係合されたとき、上部スコアバー62と下部スコアバー64との間にフィルタ媒体シートを収容するための間隙156が存在することを見ることができる。
[0245]この点に関して、上部エンボス板58および下部エンボス板60のそれぞれの歯および突条102、132ならびに対応する溝104、134は、係合されたとき、互いに接触しないが、代わりに間隙156に類似の間隙が存在し、いくつかの実施形態では、上部エンボス板50および下部エンボス板60が、対応する当接面122、124を前端および後端の両方に有し、当接面122、124が、スコアバーに対して横断方向、好ましくは直交方向に延び、スコアバーが、最も低い位置に達する前に互いに接触して、フィルタ媒体シートを収容するのに所望の幅の間隙を確保することにより、この間隙を形成することができることも理解されたい。加えて、当接面122、124の一方または両方にシムを配置することができ、シムは、当接を形成し、したがって異なるフィルタ媒体カリパス厚さに対応するように間隙を調整することができる。
[0246]図12および図13を引き続き参照すると、上部スコアバー62および下部スコアバー64はそれぞれ、類似した個々の協働するスコアバー部材158、160から作製されることを見ることができ、スコアバー部材158、160は、上部または下部スコアバーとすることができる。スコアバー部材158は溝162を含み、溝162は、他方のスコアバー部材160から延びる突出部164を受け取る。
[0247]さらに、対応する溝および突出部の外面上に形成された好ましい構成は、溝付きスコアバー部材上に形成された先細り壁166と、突条付きスコアバー部材160上に形成された先細り壁168とを含む先細り壁を含み、先細り壁168は、これらの先細り壁間で一貫した間隙156が維持されるように、先細り壁166と整合および位置合わせされる。
[0248]加えて、溝および突出特徴内に、追加の溝および突出部が設けられる。たとえば、溝付きスコアバー158はまた、三角形の突条170の形の中心突出部を含み、中心突出部は、対応するスコア線を形成し、対応するヒンジをフィルタ媒体シート内に形成して、プリーツを形成するように構成される。三角形の突条は、突条付きスコアバー部材160の突出部164内に形成された対応する三角形の溝172内に受け取られる。加えて、三角形の突条の両側に1対の三角形の溝174が設けられ、三角形の溝174は、他方のスコアバー部材からの対応する1対の三角形の突条突出部176を受け取る。これらにより、プリーツフィルタ媒体パックを形成するために使用されるとき、所望される場合、フィルタ媒体シートの全体的なヒンジ構造に追加の柔軟性が得られる。
[0249]見ることができるように、溝付きスコアバー部材158は、下流端の下部エンボス板60に取り付けられるように設けられ、突条付きスコアバー部材160は、上部エンボス板58に取り付けられ、上流端106、136上で、溝付きスコアバー部材158は、上部エンボス板58に取り付けられるように設けられ、突条付きスコアバー部材160は、下部エンボス板60に接続される。この構成によって、ヒンジは、図16を参照して見られるように、フィルタ媒体シートに形成されるとき、互いにひっくり返される。
[0250]当接面122および124は停止し、それによって最大圧縮量に制限を提供することができ、停止および当接面122および124は、互いに接触するのではなく、プレスおよび係合位置にあるときでも、間隙によって実際に分離することができ、フィルタ媒体シートは、それぞれの上部スタンピングダイ30および下部スタンピングダイ32のエンボス特徴36によってプレスされる。特に、当接面122、124に接触することによって間隙または厚さを制御するのではなく、ラム34およびその線形アクチュエータ48は、フィルタ媒体シートに対してポンド/平方インチ単位で所定の圧力を提供するように、所定のまたは事前設定された圧力を有することができる。
[0251]好ましい実施形態では、フィルタ媒体シートは、典型的には当接面122、124にわたって延びないが、当接面に係合するトリミングナイフを有することを含む他の代替も可能である。制御された圧力を使用することによって、所望の量の引き伸ばしを与えて、繊維の引き伸ばしおよび空気流透過性の増大を容易にし、空気流透過性の増大により、寿命期間の増大を有することができるフィルタ要素を提供することができる。この理由は、寿命期間に対するフィルタの期限が、多くの場合、所定の空気流パラメータの制限または圧力降下によって決定されることである。引き伸ばしによって媒体を開放し、空気流透過性の増大を提供することによって、フィルタが制限または圧力降下に到達する点が遅延し、それによってフィルタの全体的な寿命およびその寿命期間が延びる。
[0252]さらに、図15、図16、および図16aに示す幅、深さ、および長さ寸法を有するフィルタ媒体シートを形成するために、図5、図6、図10、および図11を参照すると、同じ幅、長さ、および深さ寸法が、上部エンボス板58および下部エンボス板60上の歯および対応する溝にも当てはまることが理解されよう。これは、スタンピングダイ内のエンボス特徴36の形状が概して、フィルタ媒体シート内に形成されたエンボス38に整合することから、道理にかなっている。しかしフィルタ媒体シートでは、フィルタ媒体の柔軟性およびある程度の復元力のため、対応する突条および溝などの谷間を含むフィルタ媒体の縁部および特徴は、鋭い角を有するのではなく、より丸いプロファイルとすることができることに留意されたい。図10および図11を再び参照すると、溝の形状は、最大幅(突条のピーク先端間で測定された幅Wとして示す)を含むが、最小幅Wminを画定する溝底も有し、最小幅Wminは、一実施形態では、通常の幅Wの20~50%とすることができることを概して見ることができる。加えて、歯または突条102はそれぞれ、切断されたり機能しなくなったりすることなく、フィルタ媒体が歯の両側に沿って通過するための空間をあけるように、幅Wminより小さい幅Wtを有する先端を有する。典型的には、本明細書の様々な実施形態では、歯幅Wtは、Wminの75%未満、典型的には50%未満であるが、最終的な形状または厚さは、延びているフィルタ媒体シートの所望のカリパス厚さに部分的に依存する。図2~13に示す第1の実施形態に示すように、溝104、134の底部は平坦とすることができ、歯および突条102、132の先端もまた同様に平坦とすることができる。
[0253]次に本発明のさらに別の実施形態による図17~22に示すエンボス板を参照すると、これらのエンボス板210、212は、図2~13の対応する実施形態に示すものと構造的に同じであり、図1のプレス28内でも使用可能であり、したがって前述の実施形態の上述した特徴は、この実施形態にも同様に該当することが理解されよう。しかし、追加の特徴および特質については下記に論じる。
[0254]図17および図18に見ることができるように、エンボス板220が形成され、エンボス板220は、先細り端214の形の追加の特徴を有し、先細り端214は、エンボス板の対応する上流端および下流端に、エンボス特徴と一体形成される。さらに、歯先はまた、特定の媒体に対していくつかの利点を有することができる線形に延びるくぼみ216などの平坦でない特徴を含むことができる。図20を参照すると、エンボス板212は、図17に示すエンボス板210に整合および嵌合する。このエンボス板212は、前述の実施形態のものに類似しているが、図22に示すように、プリーツ先端は平坦であるが鋭い角がなく、丸い先端で丸められていることに留意されたい。
[0255]次に図23~28を参照すると、協働および嵌合するエンボス板220、222のさらなる実施形態が示されており、本発明のさらなる実施形態によれば、エンボス板220、222はまた、V字形または先細り溝プロファイルを含む。エンボス板220、222は、図2~13の実施形態と構造的に同じであり、図1のプレス28内でも使用可能であり、したがって前述の実施形態の上述した特徴は、この実施形態にも該当することが理解されよう。しかし、追加の特徴および特質については下記に論じる。
[0256]主な追加の特質および特徴は、各エンボス特徴が上流端および下流端から先細りし、最終的に形成される媒体パック内に上流または入口面(ならびに出口面)で広くなるV字プロファイルを有しており、フィルタ媒体パック内へのより大きい空気流を可能にし、それによって空気流を媒体パック内へ送ることである。具体的には、溝側壁224は、図25に示すように上流端から下流端へ先細りし、それによってエンボス板220に対する一端に、他端と比較するとより狭い溝幅を提供することを見ることができる。同様に、対応および整合するエンボス板222はまた、図28に示すように、先細り溝側壁226を有する。したがって、溝側壁224、226は、図1のプレス28内で用いられるとき、移動経路42に対して平行に延びるのではなく、斜めの経路に延びて先細り溝を提供する。さらに、このプロファイルでは、結果として得られるフィルタ媒体パック内に形成されたエンボスおよびそれらの画定された溝のうちのいくつかは、入口端により広い開口を有し、これらの溝のうちのいくつかは、出口端により広い開口を有することに留意されたい。
[0257]次に図29~34の実施形態を参照すると、エンボス板228、230のさらなる実施形態が示されており、これらは図2~13の実施形態と構造的に同じであり、図1のプレス28内でも使用可能であり、したがって前述の実施形態の上述した特徴は、この実施形態にも該当することが理解される。しかし、追加の特徴および特質については論じる。
[0258]これらの図を参照すると、エンボス板228、230の両方に、先細り溝プロファイルおよび先細り歯プロファイルが提供されることを見ることができる。具体的には、溝底232および歯先234はそれぞれ、エンボス板228の上流端および下流端のうちの一方から他端へ先細りし、上流端と下流端との間に先細り側壁236を提供することを見ることができる。見ることができるように、この設計では、溝底および歯先を丸くすることもできるが、この実施形態では、図31に示すように、溝底幅Wminは変動し、一端から他端へ広くなり、その端部から第1の端部へ狭くなることも見ることができる。加えて、同じ整合する特徴が、図32~34に示すエンボス板230にも当てはまり、類似の可変幅の溝底238、可変幅の歯先240、および先細り側壁242を有する。
[0259]次に図35を参照すると、さらなる実施形態が、上部エンボス板244および下部エンボス板246に部分的に概略的な形で示されており、上部エンボス板244および下部エンボス板246もまた、図2~13の実施形態と構造的に同じであり、図1のプレス28内でも使用可能であり、したがって前述の実施形態の上述した特徴は、この実施形態にも該当する。しかし、追加の特徴および特質については論じる。この実施形態では、上部エンボス板244および下部エンボス板246は、湾曲したプロファイルを有し、やはり上流端と下流端との間に延びる湾曲したエンボス特徴248、250を含む湾曲したオスおよびメスのエンボス特徴をそれぞれの板上に提供し、それぞれのスコアバー252が概略的に示されている。これらの板の一方は、凹状のプレス面を有し、凹状のプレス面は、凸状のプレス面256を受け取り、入れ子を提供する。この設計を使用する利点は、結果として得られるフィルタ媒体パックおよびフィルタ媒体シートに非平面または湾曲を与えて、エンボスによって行われる寸法に加えてさらなる寸法で、フィルタ媒体シートをさらに形成することもできることである。
[0260]エンボス板260、262のさらなる実施形態は、図90~96に示されており、これらは図2~13の実施形態と構造的に同じであり、図1のプレス28内でも使用可能であり、したがって前述の実施形態の上述した特徴はまた、この実施形態にも該当することが理解されよう。しかし、追加の特徴および特質についても論じる。
[0261]この実施形態では、先細り溝264および対応する先細り歯266の固有のパターンが、エンボス板260内に設けられており、先細り溝の深さおよび先細り溝の幅はどちらも、板が一端から他端へ延びるにつれて変動する。第1の組の先細り溝は、上流端から下流端へ幅および深さが狭くなり、第2の組の先細り溝は、下流端から上流端へ深さおよび幅が狭くなることを見ることができる。さらに、嵌合するエンボス板262は、先細りプロファイルの歯268を有し、歯268は、先細り溝264内に受け取られるように適合され、たとえば図96に示すように、狭いスリット溝270を有する。
[0262]次に図38~41を参照すると、図1の機械アセンブリライン10を使用して、様々な形のエンボスおよびプロファイルをフィルタ媒体シート12に作製することができることを見ることができる。図38および図41に示す実施形態はそれぞれ、図1に示すエンボス加工されたシートに構造的に類似しており、したがって前述の実施形態の上述した特徴はまた、これらの実施形態にも該当することが理解されよう。しかし、追加の特徴および特質についても論じる。
[0263]図38をまず参照すると、エンボス加工されたフィルタ媒体シート272が、エンボス加工された刻印付きパネルまたはエンボス加工されていない平坦なパネル276を含むことが示されており、これらのパネル276は、スコア線78によって分割された完全なしわによって互いから分離される。溝280を画定するエンボスが設けられ、溝280は、概略的に示されており、スコア線278に直交して延びる。しかし、この実施形態では、これらの溝は、エンボス加工されたパネル274の上流および下流スコア線278間の部分的な範囲のみにわたって延びる。したがって、これらは、全長の溝ではなく、単に部分的な長さの溝278である。しかし、これらの溝は重複しており、第1の組の溝280は、上流スコア線から、下流スコア線278から延びる第2の組の溝280との中間領域内の重複部まで延びる。これらの溝は、それぞれのスコア線によって作製される上流または下流のしわより少なくとも15%短く終わることができる。その結果、1組の上流溝および1組の下流溝が、互いから横方向にずれているが、重複部分を有し、したがってプレス加工中に媒体の進行方向に直交するあらゆる平面内で、平面は少なくとも上流組および下流組の溝のうちの1つを通って延び、エンボス加工された区間の中間領域を通って連続するブリッジ強度を提供し、したがって2つの隣接する溝またはエンボスがともに考慮されるとき、集合的に溝およびエンボスは、しわ間の長さまたは範囲の少なくとも90%にわたって延びる。この構成によって、いくつかの実施形態では、シートの一部のみをエンボス加工することが必要とされることがあり、これらの溝はまた全体に延びる必要がなく、より開かれた流れを可能にする。
[0264]図39は、図1に示すエンボス加工されたフィルタ媒体シートの概略図であり、したがって追加の説明は不要である。
[0265]図40は、図40に示すエンボス加工されたフィルタ媒体シート282内に互い違いの溝をスタンピングすることを容易にするために、少なくとも2つの異なるプレスステーションおよびプレス28が図1の機械アセンブリライン10において直列で利用されるはずの別の実施形態を示す。具体的には、エンボス加工されたフィルタ媒体シート282は、プリーツの折り畳みを容易にするしわ288間に長手方向に延びる概略的に示されているエンボスを画定する溝286を有する第1の組のエンボス加工されたパネル284と、長手方向の溝286とは異なる方向に延び、しわに対して平行に延びることができる横断方向の溝292を有する第2の組のエンボス加工されたパネルとを含む。長手方向の溝286は、この実施形態では、しわに対して横断方向に、好ましくはしわ288に直交方向に延びる。これにより、2つの寸法においてブリッジ強度が提供され、流体の濾過中に隠すことをさらに保証および防止する。
[0266]図41を参照すると、図39のものおよび図1の機械アセンブリライン10に示す実施形態と同じエンボス加工されたフィルタ媒体シート294が提供されるが、トリミング動作を使用し、図1の機械アセンブリライン10に示すトリムナイフ76を使用して、切断線296、298で両側縁部78、80から切断した。切り取られた区分300は、エンボス加工されたフィルタ媒体シート294から除去される。これを用いて、固有の異なる形状を作製することができる。図41にはくさび形の切り取られた区分300が示されているが、より典型的には、階段状の区分が行われ、それによってたとえば図47、図48、図49、図56、および図57の形状のいずれかをもたらすように、エンボス加工されたパネルの形状が平坦なパネルの形状に整合する。2つの隣接パネルは、典型的には、同じ切断プロファイルを有する(この実施形態では示されていないが、たとえば図45~49に示されている)。したがって、図47、図48、図49、図56、および図57に示す実施形態によれば、切断線296および298、ならびにその結果として得られる切取り区分300をフィルタ媒体パックの所望の形状に調整しまたは連係させることができる。
[0267]図42を参照すると、流体流に対する上流流れ面304および下流流れ面306を有するフィルタ媒体パック302の概略側面図が示されている。下流面306のプリーツ先端308は、ともに挟まれており、さらにエンボスをわずかに圧縮して、上流流れ面304と比較すると下流流れ面306により狭い幅を提供することができる。上流流れ面は、別法または追加として、扇形に広がることができ、したがって隣接するパネルまたは複数組のエンボス加工されたパネルが互いに接触しないが、下流流れ面では、パネルがすべて互いに接触している。これは、フィルタ媒体によって与えられる溝および強度により、追加の構造的支持を必要とすることなく、この特徴を実施することが可能になることによって容易にすることができる。これは、空気清浄器ハウジングで特に有利となることができ、下流端より上流端により多くの空間が存在することができ、上流端で流れ面積の増大を可能にすることができる。上流端には、プリーツを扇形に広げて間隔を維持するために、スペーサを設置することができる。
[0268]次いで、トリミングによって実現することができるその結果として得られるフィルタ媒体パックを参照して、次に図45~58の追加の実施形態に注意を向けると、これらの実施形態のそれぞれにおいて、これらの実施形態は、図1、図43、および図46に示す実施形態と構造的に同じであり、図1のプレス28およびアセンブリライン10とも使用可能であり、したがって前述の実施形態の上述した特徴はまた、これらの実施形態にも該当し、全体を通してさらなる理解のために、同様の数字を使用することができることが、当業者には理解されよう。しかし、追加の特徴および特質については論じる。
[0269]図45および図46を参照すると、図45に示す湾曲したフィルタ媒体パック310、および図46に示す湾曲したフィルタ媒体パック312が示されており、図45に示す媒体パック310が、入口面と出口面との間に45°の変位を有し、図46の実施形態では、湾曲したフィルタ媒体パック312が、入口面と出口面との間に90°の変位を有することを除いて、ほとんど同じである。
[0270]これらの実施形態はそれぞれ、類似の方法によって形成および作製され、したがって注意は図46の実施形態に集められ、図46に適用された同じ説明が図45にも該当することが理解される。フィルタ媒体パック312を作製する際、図1のアセンブリライン内で用いられるそれぞれのスタンピングダイ上のエンボス特徴は、線形に延びるのではなく、湾曲した経路に沿って延び、対応する湾曲したエンボスを形成して、2つの流れ面318、320間に延びる湾曲した突条314および湾曲した溝316を画定し、流れ面の一方が入口面であり、他方が出口面である。流れ面318には、エンボス板パネル324と、エンボス加工されていないまたは平板のパネル326との間にしわおよび折り目を画定するスコア322が設けられ、それによって複数のプリーツを提供し、この実施形態では複数のポケットプリーツ328を形成する。見ることができるように、流れ面318、320は、集合体内で平坦にすることができ(すなわち、平坦に配置することが可能である)、同様に2つの側面も平坦な側面330、332であり、集合体内で平坦である(後側面332は、最後の平坦なプリーツパネル326の後面であり、平坦な前側面330は、エンボス加工されたプリーツパネル324である)。対照的に、他の2つの面は、湾曲面334および336であり、一方の流れ面318から他方の流れ面320へ、平坦な側面330、332間を横断方向に延びる。
[0271]好ましくは、湾曲した突条314および湾曲した溝316の形状は、湾曲面334、336の湾曲に整合する。
[0272]好ましくは、このフィルタ媒体パックを作製するために、トリムナイフ76を利用して、それぞれのエンボス板パネル324および平坦なプリーツパネル326のうち、破線の切取り領域338、340によって示す領域を切り取り、各領域は、各パネルのうち、湾曲した形状を形成するために切り取られた区間を示す。加えて、ポケットプリーツを形成するために、エンボス加工されたパネル324および平坦なプリーツパネル326の隣接ペアが、湾曲したシーム342および湾曲したシーム344で接着剤および/または超音波溶接によってともに継ぎ合わされてともに接合され、濾過されていない空気流がこれらのシームを通るのを防ぎ、流体が一方の流れ面から他方の流れ面へ進み、そこで濾過が行われ、濾過されていない空気流が湾曲したフィルタ媒体パック312を通って進まないことを確実にする。加えて、他方の流れ面320のしわは、同じく超音波ツール(たとえば、図1の機械アセンブリライン10に示すプランジ溶接機84およびアンビル86)によって実行される端部シーム346によって、ポケットプリーツ328を完成させるように作製され、または個々のプリーツパネルの隣接ペアを接合するように接着剤が塗布される接着剤塗布器を介して作製される。
[0273]図45および図46に示す実施形態によって、溝の長さが、第1の端面と第2の端面との間に延びることができ、溝は少なくとも20°曲がり、全体的なフィルタ媒体パックも少なくとも20°曲がることを見ることができる。これは、フィルタの周りに他のエンジン構成要素(たとえば、パイプまたはダクトなど)を収容するために設計の柔軟性を可能にする様々なエンジン濾過の応用例など、空間が制限されまたは曲がる必要のある様々な応用例で有利となることができる。
[0274]この実施形態では、ポケットプリーツが必要とされるのではなく、代わりに別法として、たとえば図36に示す封止システムを有する完成されたフィルタ媒体パックの実施形態で行われるのと同様に、別法として成形された側面パネルによって湾曲面334および336を形成して、漏れを防止し、またはこれらの側面を封止することができることも理解されよう。
[0275]図47および図48を参照すると、2つの追加の不規則な形状のフィルタ媒体パック350、352が示されており、これらの流れ面は長方形ではない。たとえば、規則的なフィルタ媒体パック350内では、図1の機械アセンブリライン10で用いられるトリムナイフ76によって、切断線356を介して流れ面354が形成される。この実施形態は、全体的な不規則な形状のフィルタ媒体パック350をともに構成する立方形部分358および立方形でない部分360を含む。この実施形態では、エンボスはまた、流れ面354に対して横断方向、好ましくは直交方向に延びることを見ることができる。立方形部分358では、トリムナイフ76を使用する必要はないが、立方形でない部分を作製する際には使用する必要がある。いくつかの平面および湾曲部分を含む媒体パック350の外周面162は、好適なフレームおよび接着剤の取付けによって取り付けることができ、または所望される場合、流体がそれぞれの流れ面354間を流れるときに濾過されていない空気流を防止するためにオーバーモールドすることができる。図48の不規則な形状のフィルタ媒体パック352は、形状が異なることを除いて、図47のものにほとんど類似しており、形状の変動を除いて、前述の説明が図48にも該当する。図48には、代替として、V字形のフィルタ媒体パックを実現することができることが見られる。これは、立方形の形状から立方形でない形状まで様々な形状をとることができ、様々な異なるハウジング構成に適合するように設計の変動を可能にするという点で、柔軟性および設計を強調する。
[0276]図49を参照すると、フィルタ媒体パック166のさらなる実施形態が示されており、この実施形態は図43のものによく類似しており、したがってこれに関する同じ説明が該当するが、この場合、図1のトリムツールナイフ76を使用して異なる形状を切断し、少なくとも1つの面を切断して1つまたは複数の先細り面を提供することによって、一方の流れ面168を作製し、この流れ面168は、第2の流れ面170とは異なる形状である。
[0277]このようにして、フィルタ媒体パック166は、台形の形状の形をとる。この場合も、所望される場合は先細り面を封止およびオーバーモールドすることができ、または所望される場合は隣接プリーツパネルを継ぎ合わせることによって、ポケットプリーツを形成することができる。
[0278]図50~53の実施形態では、追加の媒体パック174および176が提供され、それぞれの流れ面178(図50および図51に示す)、および流れ面180(図52および図53に示す)は、平面であるが、互いに平行ではない。これは、プリーツの高さを変動させることによって実現することができ、これは所望される場合はフィルタ媒体を所定の距離だけ前進させることができるという点で可能になり、許可される。加えて、図1に示すように単に1つのプレスステーションおよびプレス28を有するのではなく、一連のプレス28を設けることができ、プレス28は、図50および図51に示すそれぞれの流れ面178と図52および図53に示す流れ面180との間でフィルタ媒体パックおよびエンボスの可変の長さおよび範囲を容易にするために、エンボスのそれぞれの異なる長さに対して1つずつ提供される。これらのフィルタ媒体パック174、176はまた、図36に示すような外側フレームまたはラップ構造に適合させることができ、同じく図36に示すハウジング封止によって容易にすることができる。
[0279]図36および図37を参照すると、プリーツフィルタ媒体パック16を組み込む交換可能なフィルタカートリッジ382の斜視図および上面図が示されており、交換可能なフィルタカートリッジ382は、空気清浄器ハウジング(図示せず)内に設置され、そのような空気清浄器ハウジングの対応する封止面に対して封止されるなど、エンジン空気濾過の応用例で空気を渡河するための交換フィルタに使用可能である。図43~58に示すようなフィルタ媒体パックのいずれかはまた、同じ構成要素を装備することができ、側面パネルおよびシールの形状は、たとえば所望の形状に対するそのようなフィルタ媒体パックを取り囲むような関係に適合するように構成され、したがって、この実施形態に関する教示および開示は、空気清浄器ハウジングで使用可能でありかつ/または流体濾過回路に接続することができるフィルタカートリッジを作製するために、本明細書に開示する他の形状のフィルタ媒体パックの他の実施形態に該当することも理解される。
[0280]この実施形態では、フィルタカートリッジ382は、図1および図43にフィルタ媒体パック16によって表すように、図1の第1の実施形態のアセンブリアンドラインから作製されたフィルタ媒体パック16などの立方形および長方形のフィルタ媒体パックを用いる(媒体パック43は、図36の媒体パック16に対して示されている正方形の形状を充填するように、横方向の範囲にわたって追加のプリーツを有するはずであることが理解される)。本明細書に示すように、フィルタ媒体パック16は、第1および第2の両面にその場で一体成形された側面パネル384を含み、側面パネル384は、プリーツフィルタ媒体パック16の両面上のフィルタ媒体シートの対応する側縁部78、80と一体的に接合されて埋め込まれる。これらの側面パネル384は、両流れ面間の側面の全長を覆い、エンボス板パネルおよび平坦なプリーツパネルの未加工の縁部が位置する媒体パックの両面を保護および封止することを見ることができる。封止とは、空気清浄器ハウジング内に設置されたとき、濾過されていない流体の流れが側縁部を通過することを許可しないことを意味する。
[0281]追加の支持を提供するために、比較的堅いポリウレタン材料を側面パネル384に使用することができる。
[0282]加えて、繊維板、プラスチック、金属、または他の長方形のパネルの形の製作された側面パネル386は、任意選択で、その場で成形された側面パネル384に直交して延びる他の2つの両面でエンボス加工されたプリーツパネルまたは平坦なプリーツパネルに被覆関係で取り付けることができる。事前に製作された側面パネル386を、側面パネル384の一体成形中に埋め込んでこれらを封入し、封止関係を提供する。事前に製作された側面パネル386は、ポリウレタンなどの好適な接着剤によって、横方向の範囲全体に沿って取り付けて封止することができ、濾過されていない空気流が一方の流れ面198から他方の流れ面200へ流れるのを防止するように、側面パネル386を媒体パックの両面に取り付けて封止することができる。
[0283]別法として、パネル386はまた、パネル384のように成形することができ、同じくポリウレタンまたは他の成形材料から形成することができる。
[0284]加えて、フィルタ媒体カートリッジ36は、ハウジングシール388を備えており、ハウジングシール388は、事前に製作されたシールとすることができ、濾過されていない空気流が入口面から出口面へフィルタカートリッジを通るのを防止し、または側面パネル384および386の外周部に成形および配置されるように、側面パネル384および386の周辺部に接着および封止される。
[0285]たとえば、ハウジングシール388は、ハウジングに対する軸方向シールまたは径方向シールを提供するのに好適なポリウレタン、ニトリル、ゴム、または他のそのようなエラストマ材料などのエラストマ材料を含むことができる。
[0286]一実施形態では、ハウジングシール388は、側面パネル384および側面パネル386のより堅い材料より柔軟かつ弾性の材料から作られており、側面パネル384および側面パネル386もまた、ポリウレタンなどのエラストマ材料から形成することができる。
[0287]別の実施形態では、ハウジングシール388は、成形された側面パネル384と同時に一体形成することができ、かつ/または同じデュロメータ材料で形成することができる。
[0288]別個の側面パネル384および386を提供するのではなく、側面パネル384および386は代わりに、事前に製作された長方形の筐体とすることができ、筐体は、フィルタ媒体パック16を受け取るための長方形の開口および空隙を有し、フィルタ媒体パック16は、そのような長方形の事前に製作されたハウジングに対して開口の周辺部に接着により取り付けられて封止されることも理解される。したがって、側面パネル384および386はまた、たとえば、筐体の形で事前に製作されたプラスチックまたは金属または板紙または厚紙の長方形のシェルとすることができ、シェルは、媒体パックと同じ形状をとり、媒体パックを受け入れる。次いで、筐体の形のそのようなシェルはまた、シールを支持しまたはシールの一体成形を提供する構造を提供して、ハウジングシール388を提供することができる。
[0289]多種多様な溝付きのフィルタ、直流フィルタ、パネルフィルタ、およびパネルフィルタ筐体が、当技術分野では知られており、それらの従来のシステムの同じ筐体および封止システムを使用しながら、本明細書の実施形態の媒体パックを使用して、これらに取って代わることができる。
[0290]図54を参照すると、プリーツフィルタ媒体パック390の別の実施形態が提供されており、パネルはそれぞれ、たとえば図40に示したようにエンボス加工されているが、隣接パネルは、異なる組のエンボスを画定し、この実施形態では、入口面396から出口面398へ延びる第1の斜行エンボス392と、同じく入口面から出口面へ延びる第2の組の斜行エンボス394とを含む。しかし、見ることができるように、第1の組および第2の組の斜行エンボスは異なる角度で延びる。図54の実施形態は、フィルタ媒体パック390の側から見たものであり、したがって第1の組の斜行エンボス392は、構造の側面上に見えており、第2の組の斜行エンボス394は、後ろのすぐ次のパネル上にあり、したがって破線で示されていることに留意されたい。この配置によって、各パネルをエンボス加工することができ、これはまた、エンボスが2つの異なる方向に延びており、さらに各パネルがエンボス加工されて構造的支持を提供するという点で、追加の構造的支持を提供する。さらに、この設計の利点は、これらの角度により、エンボスが1つの方向のみに延びるときは実現されない構造的支持の異なる寸法が提供されることである。図54に示すプリーツフィルタ媒体パック390は、立方形の形状とすることができ、したがってたとえば図1または図43に示すプリーツフィルタ媒体パックなどと同様に使用または利用することができることが理解されよう。
[0291]図55を参照すると、フィルタ媒体パックの別の実施形態が示されており、図1に示すフィルタ媒体パック16を使用して作製することができるが、個々のパネルをずらして、湾曲したプリーツフィルタ媒体パックを作製しており、前面プリーツパネル402は、中間パネルおよび後面プリーツパネル404からずれて、整合する両湾曲面406を提供し、これらの湾曲面406は、フィルタ媒体シートの側縁部78、80を介して形成される。その結果、流れ面408間に延びる側面のうちの2つは、図示の湾曲面406であり、側面のうちの2つは、エンボス加工された場合でもこれらが概して表面に沿って平坦に位置するという点で、前面プリーツパネル402および後面プリーツパネル404によって提供される平坦面である。使用中、シールを保持するハウジングシェルおよび/または成形されたパネル内で被覆または利用されるとき、流れは流れ面408間を流れて、流れ面408間を流れる流体を濾過する。
[0292]図56を参照すると、図1のラインアセンブリのトリムナイフ76の選択肢を介して不規則なコーナ部分412が切り取られており、この実施形態では媒体パック410の他の場所では立方形である形状を崩していることを除いて、パック16に対するラインから得られるものと同じプリーツフィルタ媒体パック410が示されている。コーナ部分412の除去により、空隙が提供され、空隙は、たとえばパイプ、ダクト、エンジンアセンブリ、または他の構成要素を受け取ることができ、それが設置されるフィルタハウジングがまた、そうでなければ直方体のフィルタハウジングになるはずのものに他のエンジン構成要素が上へ突出することを可能にすることができるような形状を収容または収納することを可能にすることができる。このようにして、空気フィルタハウジングの以前の立方形または円筒形の形状のために可能でなかった区域内へ構成要素が上へ突出することを可能にすることによって、多くのエンジンの応用例においてボンネットの下に制限された空間に対応することができる。この実施形態では、一方の流れ面414が長方形であり、他方の流れ面416が不規則である。不規則な流れ面416は、隣接プリーツを接合して継ぎ合わせる溶接およびアンビルツールを介して作製および実現することができ、他の実施形態に関して上述したように、ポケット状のプリーツを提供し、最後には不規則な流れ面416に沿ってプリーツ縁部およびしわを継ぎ合わせることができる。
[0293]図57は、円形の上流および下流流れ面420を有する円形のプリーツフィルタ媒体パックを示す。円形の形状はまた、円形のプリーツフィルタパック内で深いプリーツ技術を使用することを可能にし、図57に示すように、フィルタ媒体パック418の体積内でフィルタ媒体の実質的な量が抑制される。この媒体パックはまた、たとえば図47および図48に関連して上述した類似の方法によって形成されており、それ以外の点では図57に示す幅にパネルを切り取ることに関して本出願で論じる。それらの実施形態に対する説明はまた、図57にも該当する。この実施形態では、各組のプリーツパネルが可変であり、流れ面420を通る流れ方向に直交して延びる横方向の距離にまたがっており、可変幅のパネル422が、前面424から後面426へ延びることを見ることができる。
[0294]これらの実施形態の多くと同様に、流れ面を通る流れは、流れ面に対して概して横断方向、典型的にはまたは好ましくは直交方向であり、したがってまっすぐな貫流または直流であり、この場合、図57のプリーツフィルタ媒体パック418内で、長手方向に、または円形流れ面を通り抜けて流れ面の中心を通るように誘導された軸に沿って流れている。
[0295]図59は、傾斜したプリーツフィルタ媒体パック428を示し、傾斜したエンボス加工されたパネル430および傾斜した平坦なパネル432が、流れ面434の平面に対して斜めの角度で延びる。これは、適当なしわおよび折り畳み技法によって、プリーツ先端436において、図示のように追加の角度または屈曲438を提供することによって作製することができる。
[0296]また他の実施形態と同様に、流れ面434間でフィルタ媒体パックを通る流れは、一方の流れ面から他方の流れ面の方へ進み、空気流は、流れ面434間で濾過されていない空気流が通されないように、フィルタ媒体シートを通過しなければならない。これはまた、立方形の形状に非常に類似して利用および使用することができるが、様々な理由に対する設計の変動も可能にする。
[0297]図58は、さらに別の曲線状の、この場合はコルク抜き形のプリーツフィルタ媒体パック440を示し、これは、エンボス加工されたパネルおよび平坦なパネルペア442の個々のペアを互いに対してずらすことによって実現される。たとえば、隣接する組のプリーツパネルまたはプリーツパネルペア442が、互いに対してずらされており、したがってフィルタ面のうちの少なくとも2つが平面ではなく、この場合4つすべての面444が湾曲面であり、全体的なコルク抜きの形状を形成する。この実施形態では、プリーツパネルペア442によって画定された面だけが平坦である。これらの面のうちの2つ(たとえば、スコアおよびプリーツの折り目が位置する面)が、流れ面446を形成し、一方が入口流れ面であり、他方が出口流れ面であることに留意されたい。
[0298]図60を参照すると、図60に示すプリーツフィルタ媒体パック448の別の実施形態が存在することが見られるが、パネル450のうちの2つのみが示されており、また例示の目的で互いから分離されている。しかし、他の実施形態と同様に、パネル450に類似の追加のプリーツパネルが、連続するシートを介して自由端で一体的に接合され、ともに圧縮されるはずであることが理解されよう。
[0299]この実施形態では、各プリーツパネル450は、第1の組のエンボス452および第2のエンボス454を含むエンボスを含み、これらのエンボスが、流れ面456と流れ面458との間の全長にわたって延びる全体的なエンボス特徴をともに提供し、流れ面のうちの一方が入口面であり、他方が出口面である。これらの流れ面は、他の実施形態の場合と同様に、プリーツ先端460、462によって画定および提供することができる。
[0300]加えて、追加の支持、濾過、または他の機能的特徴を提供するために、第1のエンボス452は第2のエンボス454とは異なることを見ることができる。この場合、第1のエンボス452は、パネルの第1の平面から第1のパネルの上流面内へ延び、第2のエンボス454は、第1のパネル450の下流面内へ延びる。言い換えれば、この実施形態では、第1のエンボス452および第2のエンボス454は、フィルタ媒体シートの両面から突出し、全体的により厚いエンボス加工された構造を全体的なシートに提供する。エンボスは、概して、両流れ面456、458で、両プリーツ先端460、462間に延びる。これはまた、たとえば図1および図43に示すフィルタ媒体パック16などの立方形および長方形のフィルタ媒体パックを形成するために使用することもできるが、他の実施形態にも同様に使用することができる。
[0301]図61は、図60によく類似しているプリーツフィルタ媒体パック464を示し、したがって図61のフィルタ媒体パック464は、図60の実施形態と構造的に同じであり、したがってどのように図示されているかを含む図60のものに対する前述の特徴が、この実施形態にも該当することが理解されよう。しかし、追加の特徴および特質については論じる。この実施形態では、各プリーツパネルの異なる面から突出する第1の組のエンボス466および第2の組のエンボス468は、たとえば両プリーツ先端または流れ面472、474間で部分的な長さのみにわたって延び、パネル470上のエンボス466、468は、上流プリーツ先端および流れ面472に隣接しており、他方の流れ面474によって画定されるプリーツ先端からは、間隙を介して離間される。
[0302]流れ面476に示すプリーツ先端でプリーツパネル470に接合される他方のプリーツパネル(また、流れ面472のプリーツ先端でも接合されるはずである)は、フィルタ媒体シートの平面の両側から突出する第1の組のエンボス478および第2の組のエンボス480を含む。この集合体において、エンボス478、480は、エンボス466、468とともに、フィルタ媒体シートの全長にわたって流れ面472および474間に延びる全体的なエンボス構造を提供して、フィルタ媒体パック464の中心領域を通るブリッジ強度を提供する。エンボス466、468およびエンボス478、480は、中間領域内で互いに重なり合う(すなわち、ブリッジ強度を提供するのに十分なように、中間領域内で少なくとも互いに隣接し、または互いを越えて延びる)。
[0303]次に図62~66を参照すると、任意選択のタブ特徴が示されており、フィルタ媒体シートと一体形成することができ、またはフィルタ媒体シートに別個に取り付けることができ、本明細書に開示するフィルタ媒体パックの実施形態のいずれかで使用可能である。したがって、前述の実施形態の上述した特徴はまた、これらの実施形態にも該当する。しかし、これらの実施形態で使用されている、本明細書に論じる他の実施形態とともに使用可能な追加の特徴および構成要素については記載して論じる。
[0304]図62は、たとえば図1および図43に示すフィルタ媒体パック16と構造的に同じフィルタ媒体パックを示すが、例示のみを目的として、プリーツパネルのうちの2つが示されており、さらに読み手に概念をよりよく伝えるために例示の目的で、プリーツパネルは分離され、互いから離れる方へ旋回されている。
[0305]この実施形態では、2つの別個のタブ構造が設けられているが、実施形態は、ゼロまたは1つのみのタブを含むこともできる。
[0306]1つのタイプのタブは、シール支持タブ482であり、機械もしくは接着、プレス、または他の接合による取付けを介して、平坦なプリーツパネル472に接合される。支持タブ482は、フィルタ媒体シートの両側縁部80、78から外方へ突出して、たとえば図36に示す環状の長方形ハウジングシールによく類似している連続する環状ループで延びるはずのハウジングシール484を支持する。ハウジングシール484は、シール支持タブ482の両方に一体的に接合され、ならびに好ましくは完成した媒体パック内でエンボス加工されたプリーツパネル70および平坦なプリーツパネルの両方に一体的に接合される(これらのパネルは、図62で例示のみを目的として、離れる方へ旋回され、分離されていることを想起されたい)。シール支持タブは、プリーツパネルの一方(この場合、平坦なプリーツパネル80)に接合された第1の取付け部分486と、シール支持部分488とを含む。
[0307]シール支持部分488は、シールの剥離を防止するためにシール接合の強化を有するように、平面ではなく、不規則性を含むことができる。
[0308]たとえば、シール支持部分488は、孔を含むことができ、形成中にはこれらの孔を通ってハウジングシール484のシール材料が流れる。たとえば、ハウジングシールは、孔490を通って流れるポリウレタンから成形することができる。
[0309]ハウジングシール484の形成中、シール材料がまだ硬化していないとき、流体状態で、シール支持タブのシール支持部分488は、平坦なパネルであるか、エンボス加工されたパネルであるかにかかわらず、パックの第1の端部パネルおよび最後の端部パネルにわたって、ハウジングシール484のシール材料ならびにシートの両側縁部78、80のいくつかの部分内に埋め込まれて、プリーツフィルタ媒体パックを取り囲む環状の周辺部を完成および形成する。
[0310]シール支持タブ482は、追加のシール支持および取付けを提供するために、フィルタ媒体シート12より剛性の材料から形成されることが好ましい。たとえばタブは、プラスチック、板紙、または金属材料を含むことができる。
[0311]1つの平坦なパネル72のみが示されているが、所望される場合は様々な平坦なパネルまたは代替の平坦なパネル、また所望される場合はエンボス加工されたパネル70も、シール支持タブ482を含み、取り付けることができることが理解されよう。したがって様々なシール支持タブは、媒体パックの長方形の周辺部をアレイ内で延びることができる。
[0312]加えて、第2のタイプのタブが、プリーツ支持タブ492の形で設けられ、ヒンジ498によって接続された第1の羽根494および第2の羽根496を含む。ヒンジは、プリーツ先端500の上に位置決めされ、プリーツ先端領域に追加の支持を締結および提供する働きをし、プリーツ先端領域において、エンボスは同化し、またはプリーツ先端に同化するにつれてサイズが減少することを見ることができる。羽根494、496は、ヒンジ498の周りを旋回し、リベット502などの好適な締結具によってともに締め付けられて締結され、締結具は、孔504に圧入およびスナップ嵌めすることができる(またはスナップ嵌めに対する代替として、孔504を通って圧入された後、拡大したヘッドを提供するようにリベットの他端を変形させる)。
[0313]完成したプリーツフィルタ媒体パック内では、この配置によって作製されるフィルタの文脈で、対応する平坦なプリーツパネル72およびエンボス加工されたプリーツパネル70が互いに対して平行に延びるように、プリーツ先端500および折り目が完成され、したがって羽根494および496はまた、リベット502が孔504内にスナップ嵌めまたはその他の方法で固定されたとき、互いに対して平行に延びることが理解されよう。
[0314]図62は、プリーツ先端および流れ面のうちの1つのみのプリーツ支持タブがそれによって提供されることを示すが、上流および下流流れ面の両方のプリーツ先端500を、プリーツ支持タブ492によってともに締め付けることができることも理解されよう。さらに、一方または両方の流れ面において、追加の締付けおよび支持が所望される場所に応じて、プリーツ先端500のすべてを、プリーツ支持タブ492に嵌合させて締め付けることができ、または別法として、代替のもしくは選択されたプリーツ先端500を、プリーツ支持タブに嵌合させることができる。
[0315]図65および図66を参照すると、フィルタ媒体パッケージ16は、切り取られた縁部を含むことがさらに示されており、この縁部は、フィルタ媒体シート12内へ形成された一体タブ506を画定する一方または両方の側縁部78、80に沿って位置することができる。したがって、タブ506は、フィルタ媒体から形成される。一体タブ506は、別の形のシール支持タブであるが、この場合は一体形成され、側縁部78および/または80の残り部分から外方へ突出する。一体タブは、外方へ突出することによって、ハウジングシール508の形成中、ハウジングシールの硬化前、まだ流体状態にあるときに、成形されたハウジングシール508内へより容易に埋め込むことができる。この場合も、ハウジングシール508はまた、たとえば図36に示すハウジングシールによく類似して、完成したフィルタ媒体パックの周辺部に延びるはずである。ハウジングシール508は、入口および出口流れ面に対して対角線または斜行方向に延びるのではなく、この実施形態に示すように、図64に示す実施形態と同様に、入口および出口面と同じ平面内に延びることができる。
[0316]図67で、フィルタ媒体パックは、前述の実施形態に示す同じフィルタ媒体パック16とすることができるが、ブランド識別(たとえば、商標)、流れ方向の表示、ならびに設置情報、フィルタ媒体パラメータ、および/または部分番号のうちの少なくとも1つを提供するプレスされた図形およびブランド510をさらに含む。これにより、フィルタ媒体パック16の機械工、顧客、または他の使用者に重要な情報を伝えることができる。これは、露出させた端部パネルのうちの1つに簡単に与えることができ、またはフィルタ媒体シート全体にわたって行うことができる。端部パネル上で行われるとき、これは、製造中にプレス28でエンボス加工されたプレス板と交換することができる別個のプレス板によって行うことができ、または図1に示すプレスと直列にプレスの下流に位置決めされたプレス28に類似している別個のプレスステーション内で用いることができる。ブランドは、エンボスの形をとることができ、または前に形成されたエンボスの平坦化の形をとることもできるが、これは有利には、プレス加工動作を介して形成される。
[0317]ブランドなどの情報および本明細書に示す他のエンボス特徴のいくつかは、円形ロールを介して容易には形成されないことが理解されよう。
[0318]さらに、平面のプレス板は、エンボスロールよりはるかに安価であり、したがっていくつかの実施形態では、プレス板を使用することで、ロールを使用するより追加の利点が提供される。異なる形状、サイズ、および構成の多くの異なるプレス板を安価に作製することができ、本明細書に論じる様々なプレスアセンブリおよびラインの実施形態で、交換可能に使用することができる。
[0319]図67の実施形態で、ブランド510はまた、1つのエンボスの形をとることが示されているが、この場合も、簡単に平坦に打ち抜くことができ、1つのエンボスにするのではなく、前に形成された複数のエンボスを平坦化することができることに留意されたい。したがって、これは、スタンピングダイを使用してフィルタ媒体パック内へプレスすることができるエンボスおよびスコア線に加えて、別のタイプの特徴を提供する。ブランドは、1つのタイプの図形を形成し、容易に理解することができ、最終使用者、顧客、または他の当事者に有用な情報を伝えることができる。
[0320]図68~79は、異なるタイプのエンボスを示すように示されているが、すべてのエンボスを均一または同一にする必要はなく、さらにエンボスは、互いに入れ子状にすることもできる。これらのエンボス構造のいずれかを、本明細書に開示するフィルタ媒体パックおよびエンボス加工シートの様々な実施形態において、スタンピングエンボス板および対応するフィルタ媒体シート内に利用および形成することができる。さらに、これらの画像は、エンボスの拡大画像を示し、これらのエンボスが、フィルタ媒体シートの一方の面に突出部を画定することができ、それによってフィルタ媒体シートの他方の面に溝を画定することができることを示す。鋸歯パターン、ずれたパターン、対称形のパターン、および入れ子状パターン、ならびに異なる高さ、幅、および構成を含む様々なパターンが示されている。加えて、エンボスはまた、隣接するエンボス間に溝を画定および提供することができる。
[0321]本明細書では、エンボスという用語は、全体として浮き彫りで突出している構造を含むように広義であることを意味する。好ましくは、エンボスは、典型的には所定のカリパス厚さを有するフィルタ媒体シートの場合、本明細書に論じる溝を包含および提供する。
[0322]図80~85を参照すると、異なる構成のエンボスが可能であり、図80~85に示すプレスされたプリーツパネルの様々な異なる実施形態で、湾曲したエンボス512および線形のエンボスが形成される。図80~85のこれらのエンボス加工されたプリーツパネルは、フィルタ媒体パックの実施形態のいずれかで使用可能であり、図80および図81など、これらの実施形態のうちのいくつかは、ポケットプリーツに関連して、出口面を通る流れを誘導するのに特に有用であり、出口面は、板の先端の上に延びるだけでなく、個々のプリーツパネルの接合された隣接する側縁部の側縁部またはシームに沿っても延びることが理解されよう。したがって、前述の実施形態の上述した特徴は、これらの実施形態にも該当し、追加の特徴および特質について論じるが、他のフィルタ媒体パック内で用いられるフィルタ媒体シートのエンボス加工されたパネルに対して、これらのエンボス加工されたパネルを使用しまたは置き換えることができることが理解される。
[0323]図80では、湾曲したエンボス512が、入口流れ面でプリーツ先端516から突出し、中間領域内には線形のエンボス514を含む。湾曲したエンボス512が入口流れ面のプリーツ先端516から出口流れ面の方へ(または、逆に出口流れ面から入口流れ面へ)延びるにつれて、湾曲したエンボス512は、線形のエンボス514から離れる方へ延びる。これは、ポケットプリーツを使用するとき、空気が曲線の方向に、媒体パックを通って軸方向だけでなく、媒体パックを通って横方向にも流れることが許容されるとき、特に有利である。
[0324]これらの実施形態のそれぞれでは、破線を使用して、湾曲したエンボス512または線形のエンボス514であるエンボスが、フィルタ媒体シートの平面の一方の側からだけではなく、フィルタ媒体シートの他方の側からも突出することができることを示す。追加または別法として、これらの破線はまた、別の実施形態において、前面のエンボス加工されたシートのすぐ後ろにある別個のエンボス加工されたシートであると理解することができ、2つのシートの湾曲したエンボスが互いに入れ子になり(エンボス間の間隙領域内に突出する)、線形のエンボスが互いに入れ子になり、これはたとえば、図79に示した場合に当てはまることができる。
[0325]図86を参照すると、機械アセンブリライン520の代替実施形態が示されている。機械アセンブリライン520は、図1に示す第1の実施形態の機械アセンブリライン10と構造的に同じであり、したがって図1に関連して論じた前述の実施形態の上述した特徴はまた、その実施形態に使用された任意選択の特徴を含めて、この実施形態にも該当することが理解されよう。この機械アセンブリライン520は、本明細書に記載する様々なフィルタ媒体パックのプリーツフィルタ媒体パックの様々な実施形態を形成するために使用することができ、その目的のために使用可能であることも理解されよう。したがって、追加の特徴および特質について論じるが、この実施形態では、所望される場合、2つの異なるタイプのエンボス加工されたパネルを含む異なるタイプのエンボスを提供するために使用することができる複数のプレスが提供されることも理解される。
[0326]この実施形態では、フィルタ媒体ロール14およびそのフィルタ媒体シート12は、任意選択の積層ロール90からくる任意選択の積層シート88とともに、進行パック522内で、上流領域から、概略的に示されているプリーツ加工機524の形のプリーツ収集機へ駆動される。この機械アセンブリライン520内では、フィルタ媒体シート12は、前進ロール526によって移動経路に沿って次々に駆動させることができ、処理中は、すなわちフィルタロール14がなくなり、取り替えまたは分解のために停止が必要とされるまで、断続的に停止することはできず、または一切停止することはできない。これは、無限ループ528によって実現され、無限ループ528は、ループ528の無限経路に沿って回転させられる複数のプレス530からなる。プレス530は、図1に関連して説明したプレス28に類似のものとすることができ、ラム、上部スタンピングダイ、下部スタンピングダイ、および制御部を含むその構成要素のすべてを含むが、この例では、プレス530は、無限ループ内を図86に示す方向に、移動経路に沿ってフィルタ媒体シートと同じ速度で駆動され、一時停止は必要ない。しかしこれはまた、所望される場合、滞留時間を可能にするために、一時停止とともに使用することができ、代替として、所望される場合、異なるタイプのエンボスを異なるパネル内へプレスするという利点を提供することができる。
[0327]プレス530が係合されるとき、媒体を活動状態でプレスする際、移動経路522を介して延びるループ528の一部は線形になり、移動経路522と同じ速度で平行に進むことに留意されたい。さらに、プレス530が係合解除され、ループの湾曲の周りを進む際、これらを係合解除して加熱することができる。また、ループに沿って非活動状態のプレスの板は、ブランドまたは他の長さのエンボスもしくは他の特徴を提供するように切り換えることができる。
[0328]加えて、この実施形態では、媒体前進輸送機構は、プレス自体とすることができ、無限ループ内を駆動されてフィルタ媒体シートに係合するプレス自体が、フィルタ媒体シートを移動経路に沿って駆動および輸送することができるという点で、前進ロール526を有することを不要にすることができる。
[0329]任意選択で、ホットメルトなどの接着剤を塗布するための接着剤塗布器を使用することができ、さらに、水噴射、レーザ、シャーナイフ、もしくはクロスカットナイフ、または他のそのようなナイフなどのトリムナイフを使用して、所望される場合、媒体を切断および成形し、スリットを入れることができる。これは、連続的に行うことができる。
[0330]任意選択で、プレス422のツール板が加熱され、複数の熱区間を有し、ツール板はまた、フィルタ媒体シートから係合解除されている間に加熱することができる。
[0331]図87を参照すると、連続するプロセスダイプレスプリーツ加工機および機械アセンブリライン540のさらなる実施形態が示されており、これは図1に示す第1の実施形態と構造的に同じであり、図1に示す第1の実施形態と同様のプレスおよびその対応する特徴を含み、また本明細書に開示する様々な実施形態の様々なフィルタ媒体パックを形成することも可能であることが理解される。しかし、追加の特徴および特質については、この実施形態を参照して論じる。この実施形態では、機械アセンブリライン540は、線形スライド544を有するテーブルを含み、線形スライド544は、2つの割出し可能なプリーツプレスキャリッジ546、548の線形往復運動を容易にする(キャリッジ546、548はそれぞれ、所望される場合、1つまたは複数のプリーツプレスを直列で含むことができる)。
[0332]フィルタ媒体ロール14およびそのフィルタ媒体シートは、移動経路552に沿って駆動され、移動経路552は線形であり、プリーツ加工機550の形のプリーツ収集機の方へ延び、プリーツ加工機550は、下流端に概略的に示されており、フィルタ媒体ロール14とプリーツ加工機550との間に、プリーツプレスキャリッジ546および548が位置する。各プリーツプレスキャリッジは、第1の実施形態に説明したプレス28に類似しているプレスを組み込んで保持しており、上部および下部スタンピングダイと、電子制御式のラムとを含むことが理解されよう。しかしこの実施形態では、プリーツプレスキャリッジは、移動経路552に対して平行に線形スライド上を線形経路に沿って前後に往復する。この例では、プリーツプレスキャリッジおよびそのプレスは、移動経路に沿って進んでいるとき、フィルタ媒体に活動状態で係合してプレスし、それによってフィルタ媒体シートに係合される。プリーツプレスキャリッジ546は、フィルタ媒体シート12と同じ速度で移動経路552に沿って動かされる。加えて、プリーツプレスキャリッジ546は、1組のエンボスおよびスコア板だけを含むのではなく、ラインに沿っておそらく一連のいくつかのプレスならびに対応する上部および下部エンボス板を含むことができ、いくつかのプリーツパネル区間を同時にまたは順にプレスすることができることが理解されよう。
[0333]プレスキャリッジ546が係合され、媒体を活動状態でプレスして前進させるとき、プリーツプレスキャリッジ548は係合解除され、媒体シートとともに前方へ進んでいる係合されたプリーツプレスキャリッジ546のすぐ後ろにあるパネルのプレスを開始することができる地点まで、逆の方向に進む。プリーツプレスキャリッジ546がそのプレスを完了した後、プリーツプレスキャリッジ546は係合解除され、また次いで後方へ進み、同時にまたはほぼ同じ時点で、係合解除されていたプリーツプレスキャリッジ548が係合され、プレスを開始し、次いで移動経路552に沿って、フィルタ媒体シート12の前進と同じ速度で動く。この実施形態では、係合されているプレスキャリッジ自体は、フィルタ媒体シートを無限経路に沿って駆動することができ、断続的ではなく連続してそれを行うことができ、それによって製作能力を増大させることができる。これはまた、前述の実施形態で論じた機械アセンブリライン10または520の様々な任意選択の特徴を装備することができる。
[0334]機械アセンブリライン560のさらなる実施形態が、図88に示されており、これは、図1に示す実施形態と構造的に同じであり、また図1で所望される特徴を含むことができ、したがって図1に関連する実施形態の上述した特徴は、この実施形態にも該当する。さらに、この機械アセンブリライン560はまた、本明細書に論じる様々な実施形態によるフィルタ媒体パックを製作する際に使用可能である。
[0335]この実施形態では、フィルタ媒体ロールからくるフィルタ媒体シート12は、ローブニッププレスを有する異なる形のプレスによってプレスされ、ローブニッププレスは、油圧または電気式の線形アクチュエータ564によって提供されるラムを介して垂直方向に駆動され、係合および係合解除される。ローブニッププレスは、少なくとも1つの平面区間566を有し、したがってエンボス板であるスタンピングダイを含み、丸い縁部またはローブ区間568を有することができ、線形アクチュエータ564によって、ローブニップローラを駆動して線形のプレスを容易にすることができるだけではなく、加えて、回転アクチュエータ570が、滞留プレスモードにないとき、ローブニッププレス562を回転させて、媒体を前進させ、半径ローブ区間568内で媒体にスコアをつけることができ、半径ローブ区間568は、ローブに沿ってスコア付け特徴を画定することができる。各スタンピングダイ内では、平面区間を上下両方からエンボス加工することができ、したがって各スタンピングダイが回転しているとき、スタンピングダイの他方の側で他方のプレスエンボス板が使用されることに留意されたい。
[0336]図89は、たとえば機械ラインアセンブリ10、520、540、および560内で使用されるように、本明細書に記載する実施形態のプレスのいずれかで使用することができる累進的なスタンピングダイ配置574を示す。したがって、それらの実施形態に関する説明および開示はまた、この追加の実施形態の累進的なスタンピングダイ配置574にも該当し、したがって特質および追加の特徴について論じることが理解されよう。
[0337]累進的なスタンピングダイ配置574では、エンボス特徴576は、複数の累進的なスタンピングダイ578間に広がっており、スタンピングダイ578は、その移動経路に沿っているフィルタ媒体シートの流れ経路に対して横断方向に延びる(たとえば、フィルタ媒体シート12の側縁部78、80を参照されたい)。いくつかの実施形態では、特にエンボスが深く、フィルタ媒体シートおよび繊維の引き伸ばしを実現して、空気流透過性の増大を提供することができるが、引き伸ばしが所望されないのに、同時に深いエンボスが所望される場合、累進的なスタンピングダイは、引き伸ばすのではなく、フィルタ媒体シート内で集まって累進的に動く傾向があるため、累進的なスタンピングダイを使用することができ、一実施形態では、代わりに圧縮するために使用することもできることに留意されたい。具体的には、第1の組の中心スタンピングダイ580が最初に駆動されて係合し、エンボスおよび対応する溝の特徴がフィルタ媒体シート内へ形成されているとき、フィルタ媒体シートを集め、外側部分582を内方へ動かし、したがって両側縁部78、80を内方へわずかに動かす。中心スタンピングダイ580が係合された後、次に外側のガードスタンピングダイ584が係合され、これらのガードスタンピングダイ584は、この場合も、ほとんどまたはまったく引き伸ばすことなく、外側部分582および対応する側縁部78、80を内方へさらに引き寄せて引っ張る傾向があり、次いで最も外側のスタンピングダイ586が、次に係合され、フィルタ媒体シート内のエンボスの形成を終了する。
[0338]中心スタンピングダイからガードスタンピングダイ584、次いで最も外側のスタンピングダイ586まで外方へ累進的なスタンピングダイの順次係合により、フィルタ媒体シートの累進的なスタンピングが実現され、これには必ずしもフィルタ媒体シートを引き伸ばす必要はなく、この累進的なスタンピングはまた、所望される場合はフィルタ媒体シートを圧縮して、空気流透過性を低減させ、かつ/またはフィルタ媒体シートの効率を増大させるために使用することができる。
[0339]図97および図98を参照すると、フィルタ媒体パック16とともに任意選択で使用することができるプリーツフィルタ媒体パック16に対する追加の実施形態または特徴が示されている。具体的には、以下に論じるこれらの特徴は、本明細書に論じるフィルタ媒体パックの実施形態のいずれかのフィルタ媒体パック内で使用することができ、溶接(媒体の超音波溶接または他の溶融などを介する)および/または接着ビーズの分注および/またはプレス加工によって実現することができる。特に、これらの特徴は、図1に関連して論じたプランジ溶接機84およびアンビル86、他の溶接装置、またはフィルタ媒体シート上の選択箇所に接着剤点、ラインを分注することができる接着剤塗布器82によって実現することができる。
[0340]図示のように、フィルタ媒体パック16は、点接合100を含むことが示されており、点接合100は、図97に示すようにプリーツ先端、ならびに図98にさらに示すようにプリーツ先端間の断続的な場所に位置することができる。この場合も、これらは、接着ビーズ点の超音波溶接または代替の配置とすることができ、任意選択でともにプレスすることができる。これにより、追加の構造的完全性が提供され、図97に示すように、プリーツ先端でプリーツをともに締め付けてより広い口を提供し、プリーツ先端によって画定される流れ面を通る追加の空気流を可能にすることができる。
[0341]加えて、この実施形態は、エンボス加工されたプリーツパネル70を隣接する平坦なプリーツパネル72にペアで継ぎ合わせて、ポケットプリーツ604を形成することができることを示し、図97の実施形態には、3つのポケットプリーツが示されている。この実施形態では、プリーツスコア68によって画定される流れ面を通って流れ、したがって直接流れることが可能であることに加えて、空気流はさらに、隣接するポケットプリーツ604間に画定される開放領域606間を横向きまたは横方向に流れることができる。シーム602はまた、ポケットプリーツを形成してプリーツ加工するときは、連続ビーズを形成および配置することによって接着剤を塗布し、次いで隣接するプリーツパネルをともにプレスすることによって形成することができ、または超音波溶接によって形成することができる。側縁部78に対して一方の側だけが図97に示されており、これも該当するが、同じシーム602がまた、他方の側または側縁部80(図97には示されていないが、他の図から理解される)にも形成されるはずであることも理解される。
[0342]加えて、点接合600はまた、隣接するプリーツパネル間の相対運動を防止および制限して、構造的支持を提供し、相当な空気流が入口面から出口面へ進む応用例にかけられたとき、フィルタ媒体シートを崩壊させたり隠したりするのを防止することに留意されたい。
[0343]それだけに限定されるものではないが、特定の例および性能について下記に説明する。プレスを使用して、上述したポリマー、ガラス、および/またはセルロースを含むことができる様々な従来のフィルタ媒体を処理し、それによって対応する媒体パックにエンボスを提供することができ、それぞれ従来のプリーツパックより利点を有することができるが、プレスとともにポリマー材料を含む媒体を使用することによって、特定の性能上の利点を得ることができる。たとえば、等級A2のポリプロピレン媒体および等級LFP2.0のポリエステル媒体が、図2~13のプレスによる優れた加工性にとって十分であることが分かっている。選択された媒体は、どれだけ十分に処理されたか、およびシステムレベル実験室試験においてどれだけ十分に機能するかに基づいて選ばれたものである。これらの媒体は、IREMA-Filter GmbHからの市販の溶融媒体とすることができ、An der Heide 16、D-92353 Postbauer-Pavelsbach、Germanyに営業所の住所を有するIREMAブランドで販売されている。これらの媒体の特徴は、以下の表1のとおりであるが、これらの等級の類似の媒体または変形例も同様に機能することが企図される。追加の高性能媒体は、上述したIremaから入手可能なIrema LFP2.3(ポリエステル)、Irema LFP10(ポリエステル)、およびVineland、New JerseyのTransweb、LLCから入手可能なGrade30XzPN/DG7513(ガラス/ポリプロピレン)を含み、実施形態で使用可能とすることができる。
[0344]
Figure 0007127044000001
Figure 0007127044000002
Figure 0007127044000003
[0345]上述したこれらの媒体およびエンボス加工を使用し、表1に記載する図2~13の実施形態を使用することで(板は、A2の例で0.4572cm(0.18インチ)のエンボス溝深さ、および約0.762cm(0.3インチ)のエンボス溝幅、ならびにLFP2.0の例で0.3175cm(0.125インチ)のエンボス溝深さ、および0.4191cm(0.165インチ)のエンボス溝幅を有する)、19.05cm(7.5インチ)の高さ、19.05cm(7.5インチ)の幅、および20.83cm(8.2インチ)の長さ(7554cm(461立方インチ)の体積)を有する標準的な立方形のプリーツフィルタ媒体パック(たとえば、図43、または図36、図37、または図1に示すような形状)が作製された。これらの媒体パックは、20.07cm(7.9インチ)の高さ、19.05cm(7.5インチ)の幅、および20.83cm(8.2インチ)の長さ(以下の表2で比較例「CI」と呼ばれる7980cm(487立方インチ)の体積)を有する市販のDonaldson(登録商標)ブランドG2の溝付きフィルタ媒体パックと比較された。これらの例の下記の性能特徴を、以下の表2に詳述する。
[0346]
Figure 0007127044000004
[0347]上記の実質的な性能上の利点は、類似の効率、制限、および粉塵保持容量、ならびに性能を実現しながら、面積に関して実質上より少ない濾過媒体シートが必要とされるという点に見ることができる。したがって、いくつかの実施形態では、類似の結果を実現するために、実質上より少ないフィルタ媒体シートを必要とすることがあり、平方インチ当たりより大きい粉塵保持を有する媒体シートが得られた。たとえば、上記は、少なくとも99%の初期効率、および少なくとも媒体6.4516cm(1インチ)当たり粉塵0.15グラムの粉塵保持能力、より典型的には少なくとも媒体6.4516cm(1インチ)当たり粉塵0.2グラム、いくつかの実施形態では、少なくとも媒体6.4516cm(1インチ)当たり粉塵0.25グラムを有するフィルタ媒体パックを形成することができることを実証する。
[0348]上記の表1に示した平坦なシートおよびエンボス加工されたシートの試験(ならびにシート性能に対する効率および/または粉塵保持容量を記載する本明細書に添付の任意の特許請求項)に関して、試験は、Palas MFP 3000試験台を用いて、表3の下記の条件で行ったものであり、これによって行うことができる。
表3
フィルタ面積:100.000cm
面速度:5.8cm/秒
粉塵質量濃度:150.0mg/m
粉塵/エアロゾル:SAE fine A2
総体積流量:35.01/分
粉塵負荷終了 1000Pa増大
[0349]上記の表2に対する立方形フィルタ媒体パック性能および試験などのフィルタパック体積性能試験(ならびにパック性能に対する効率および/または粉塵保持容量を記載する本明細書に添付のあらゆる特許請求の範囲)に関して、この試験は、ISO5011:2014(すなわち、内燃機関および圧縮器に対する入口空気清浄機器のISO試験規格-性能試験)に準拠し、500CFMの空気流でISO微小試験粉塵、および76.2cm(30インチ)の水の圧力降下または制限で粉塵負荷/試験終了を利用する。
[0350]加えて、上記の実施形態について、プリーツフィルタ媒体パックに対する利点によって有用であると説明したが、本明細書に開示するプレスおよび方法は、背景部に記載したようなプリーツ加工された積層状溝付き媒体パネル(たとえば、Merrittの「Rectangular Stacked Fluted Filter Cartridge」という名称の米国特許出願公開第2014/0260139号など)に加えて、他のタイプの媒体パックとともに使用することができ、したがって本明細書に添付の特定のより広い特許請求の範囲(たとえば、プリーツまたはプリーツ加工を明示的には必要としない特許請求の範囲)は、そのような可能性を包含することを意味することが理解されよう。
[0351]加えて、ブランド識別、流れ方向、設置情報、フィルタ媒体パラメータ、および部品番号のうちの少なくとも1つを提供するブランドを画定するように不規則な形状の形のフィルタ700の別の実施形態が、図99に示されている。フィルタ700は、入口面704および出口面を有するフィルタ媒体パック702を備えており、出口面は概して、706の区域を示す(ただし、他の実施形態ではこれらの流れ面を逆にすることもでき、入口を出口、出口を入口にすることができる)。フィルタ媒体パックはまた、好ましくは、ブランド識別、流れ方向、設置情報、フィルタ媒体パラメータ、および部品番号のうちの少なくとも1つを提供するブランドを画定するように不規則な形状である。
[0352]好ましくは、フィルタ700は、フィルタ媒体パック702の上に、フィルタ媒体パック720を支持するフレーム708をさらに備え、フレームは、上記ブランドを形成するように英文字を含み、この場合、図99に見られるように、「CLARCOR」というブランド名を綴っている。
[0353]フレーム708は、英文字を形成する格子707の形をとることができ、それによって格子707を含むことができ、格子707は、フィルタ媒体パックの入口面704または出口面706のうちの一方の上に位置する。
[0354]好ましくは、フレーム708はまた、フィルタ媒体パック取り囲むような関係で格子707から出口面または入口面の方へ突出する周囲側壁703を含む。
[0355]典型的には、フィルタ媒体パックは、入口面と出口面との間に突出する深さを有する複数のフィルタ媒体パネル711を備える。フィルタ媒体パネル711はまた、フィルタの両面(面710を参照)間に延びる幅を有する。見ることができるように、両面710間のフィルタ幅は可変であり、一定ではない。さらに、フィルタ媒体パネル711は、フィルタの両端712間でアレイ内にある(この例では、1つのパネルが次のパネルの上に線形アレイ内で配置される)。両面710は、端部712間を横断方向、好ましくは直交方向に延びることが見られる。ブランドの形状の変化に対応するために、フィルタ媒体パネル711は、ブランドの形状の少なくとも一部を形成するように、両面間に異なる幅を有する。
[0356]加えて、隣接する第1および第2の端部712に示されているように、フィルタ媒体パネル711は異なる幅であり、したがって両端712間のフィルタの範囲は、端部712が両面710のうちの第1の面から両面710のうちの第2の面へ突出すると変動することもできる。
[0357]前述した実施形態の場合と同様に、フィルタ媒体パネル711は、プリーツ加工されており、プリーツフィルタ媒体パックを形成し、図1または図86に示すトリミングツールの使用などを介して、切り取られた縁部が両面間に異なる幅を形成する。
[0358]この実施形態の別の態様は、フィルタフレームがブランド識別を提供することである。フレーム708は、フィルタ媒体パックの上に配置された格子707の形とすることができ、したがって格子707を含むことができ、格子707は、空気流を可能にする空隙715と、ブランド識別、流れ方向、設置情報、フィルタ媒体パラメータ、および部品番号のうちの少なくとも1つを提供するブランドを提供するように空隙の周りに位置する少なくとも1つの英文字の形の部材716とを有する。
[0359]上述したように、フィルタ媒体パックの範囲は、好ましくは可変であり、少なくとも1つの英文字の形状を形成するのを助ける。
[0360]また好ましくは、複数の英文字が設けられ(たとえば、「CLARCOR」と綴るため)、フィルタ媒体パックの範囲は、英文字のうちの少なくとも2つの形状を形成するのを助けるように切り取られる。
[0361]最後に、図示しないが、入口または出口面でフレームの外形から突出するガスケットまたはシールを設けることができ、カンチレバー式に延びて径方向もしくは軸方向のシールを形成することができ、または代替として、側壁703を取り囲むような関係でシールを設けて支持することができ、それによって軸方向のピンチガスケットまたは径方向のシールを提供することができることが企図される。
[0362]B.フィルタ媒体の切断、溶接、および超音波プレスアセンブリに関する追加の開示および実施形態
[0363]図1~99に関して上述した説明は、出願人の以前の出願である、2016年8月17日出願の「Filter Media Packs, Methods of Making and Filter Media Presses」という名称のPCT特許出願PCT/US2016/047283(それぞれ2015年8月17日および2015年10月20日出願の米国仮特許出願第62/206,100号および第62/243,740号の有利な出願を含む)に記載および包含されていることに留意されたい、本開示は、これらに関する追加の実施形態、開示、および概念を提示するため、開示全体がすべて全体として参照により組み込まれている。
[0364]したがって、図100~116に示すさらなる実施形態の方へ注意を次に向ける。これらの概念および実施形態に対して、図100~116のこれらの実施形態は、図1および他の実施形態と同様のエンボスプレス28を使用して、しわ810を作製することができ、プレス28を使用してプリーツ折り目を作製することができ、または別法として、回転ダイなどの回転プリーツ加工機ツールを使用して、しわ810を形成することができることにまず留意されたい。たとえば、図100~104に示すように、事前形成されたしわ810を、プレスまたは回転ダイなどによって、フィルタ媒体シート812内に形成することができる。任意選択で、プレス828を使用して、エンボス加工されたプリーツパネル870上にエンボスをさらに形成することができ、エンボス加工されたプリーツパネル870は、平坦なプリーツパネル872に隣接することができ、しわ810によって分離することができる。エンボス加工されたプリーツパネル870は、別法として、パネル872のように、単に別の平坦なプリーツパネルとすることができる。
[0365]図100~102をまず参照すると、ソノトロードアセンブリ814およびアンビルアセンブリ816を使用したプリーツ区分の折り畳みおよび溶接が概略的に表されており、プリーツ区分の進展の進行が次の各図に示されている。図100に示す初期開始位置で、先行するプリーツしわ810が、ソノトロードアセンブリ814とアンビルアセンブリ816との間に配置される。
[0366]図101を参照すると、アンビルアセンブリ816などの前進部材が、フィルタ媒体シート812をつかみ、それによって保持し、それによってフィルタ媒体シート812を前進させる。この場合、アンビルアセンブリ816は、前進中にフィルタ媒体シート812を把持および保持するように動作し、したがってアンビルアセンブリ816を持上げ部材と呼ぶこともできる。これにより、フィルタ媒体シート812の後続部分を引っ張り、フィルタ媒体シート812の先行部分を押す(先行部分は、プリーツパネル870、872の先行する隣接ペアを含む)。図101および図102に示すように、プリーツパネル870、872の先行する隣接ペアは、ソノトロードアセンブリ814およびアンビルアセンブリ816をともに線形に駆動することによって組み立てられる。
[0367]好ましくは、ソノトロードアセンブリ814は静止しており、かつ/またはそうでない場合、停止部材として作用し、ソノトロードアセンブリ814とアンビルアセンブリ816との間のこの相対運動中に当接として働く。概略的に示すように、アンビルアセンブリ816のみが、フィルタ媒体シート812の前進中に線形に動くことができる。
[0368]任意選択で、所望される場合、エアブラストデバイスまたは往復垂直ピン部材などのしわ支援デバイス(図示せず)を使用して、ソノトロード814とアンビルアセンブリ816との間のしわ810の上方運動を開始することができる。しかし、フィルタ媒体シート812が、テーブルまたはコンベアなどの好適なフィルタ媒体支持体上に支持される場合、フィルタ媒体は、前進運動中に一方向のみに進み、したがってしわ810は通常、いかなる支援デバイスもなく、ソノトロードおよびアンビルアセンブリが近づくとき、上方へ動く。
[0369]前進運動中、プリーツパネル870、872の先行する隣接ペアは、上方へ押されて、しわ810に沿って折り重なり、それによってフィルタ媒体シート812が折り畳まれ、図102に示すように、プリーツ区分824が作製される。アンビルおよび/またはソノトロードから、溶接突出部が突出することができ(溶接突出部の例は、たとえば図106および図116~118の実施形態を参照)、溶接突出部は、任意選択で、溶接箇所818におけるフィルタ媒体シートのスポット溶接を容易にすることができる。これらは、図97のタック点接合600に類似のスポット溶接とすることができ、かつ/または両縁部の溶接されたシームによってポケットプリーツを形成することができる(たとえば、このプロセスを使用して溶接することができる図97のシーム602およびポケットプリーツ604を参照)。ポケットプリーツを形成するためのそのような溶接シーム820は、たとえば図116のリブ突出ツール836を使用してよりよく示されている。リブ突出ツール836は、プリーツパネル870、872の両側縁部に沿って溶接し、シーム溶接を形成することができる。溶接を容易にするために、典型的には少なくとも15キロヘルツで動作する超音波エミッタを、アンビルアセンブリ816およびソノトロードアセンブリ814の一方または両方に適用することができる。典型的には、超音波エミッタは、ソノトロードアセンブリ814へ直接伝送され、ソノトロードアセンブリ814は、アンビルツールに十分に密接して接触しており、密接しているとき、溶接箇所818を作製してアンビルツールへ電力を伝送し、溶接箇所におけるシートの溶接を容易にするための熱を生じさせる。
[0370]折り畳まれたプリーツ区分が完成し、任意選択で溶接された後、ここで形成されたプリーツ加工区分824を、始端のプリーツフィルタ媒体パック826に重ねることができ、そのようなプリーツフィルタ媒体パックが完成するまで形成することができる。所望される場合、ナイフエッジツールによって、後続のシートの切断を超音波で行うこともでき、ナイフエッジツールは、パックに対する最後のプリーツ区分が完成したときに切断を実行するように、アンビル上で前進および後退させることができる。別法として、そのような切れ目は、切断ナイフ74(たとえば、図1)によって形成することができる。
[0371]また、図102に示すように、プリーツ区分824が完成した後、ソノトロードアセンブリ814を後退させ、アンビルアセンブリ816から離すことができる。ソノトロードの後退中、アンビルアセンブリ816は、好ましくは、十分に静止しており、始端のプリーツフィルタ媒体パック826の上に開放領域を形成することを可能にし、次いでここで形成されたプリーツ区分824を始端のプリーツフィルタ媒体パック826の上に落として重ねることを可能にする。これはまた、より詳細に示されており、図109および図113を参照して以下に説明する。単に重力だけで、重ねる動作を容易にすることができ、または別法として、プリーツパネル区分824を始端のプリーツフィルタ媒体パック826の方へ押すように配置されたエアブラストデバイスなどの支援デバイスによって速めることもできる。
[0372]加えて、図103、図104を参照して、また図103Aに示すツールをさらに参照して見ることができるように、プロセスおよび装置は、弧状の切断縁830などの切断縁の切断および継ぎ合わせに貢献する。図示のように、これらの実施形態では、各パネル870、872は、切断縁830を有するようにさらに切断されており、切断縁830は、図103および図104に概略的に示すように、不規則な形状を作製して不規則な形状のプリーツフィルタ媒体パック832にするように、しわ810に対して斜めに延びる(これらの概略図では、溶接シームは見えない)。切断縁830は、凹部空洞835などの形成された特徴をフィルタ媒体パック内に提供するために使用される。切断縁830の継ぎ合わせを実現するために、アンビルアセンブリ816は、1対の離間されたリブ突出要素823および825を備えるリブ突出ツール822を含む。リブ突出要素823は線形であり、フィルタ媒体シート812の両側縁部813のうちの1つに線形のポケット溶接シームを作製することだけを目的とし、リブ突出部825は、切断縁830をともに溶接して継ぎ合わせるために、弧状の切断縁830の形状、場所、および構成に対応する弧状の特徴を含む。このようにして、プリーツフィルタ媒体パック内にポケットが形成され、両側縁部813に沿って継ぎ合わされた切断縁830およびシームが接合および封止され、封止されて継ぎ合わされたポケットプリーツの作製によって、濾過されていない流体の漏れを防止する。
[0373]図103に示すように、この切断は、エンボスプレス828によるエンボス加工後および/またはしわ加工後であるが、ソノトロード814とアンビルアセンブリ816との間の折り畳みを介してプリーツパネル870、872をともに組み立てる前に、別個に行うことができる。ブレード、レーザ、または水噴射など、ガントリ上のナイフ834が、たとえば切断縁830のそのような切断を実行することができる。ナイフ834は、両側縁部813間を横方向に駆動することができ、所望される場合、前進方向にも駆動することができる(たとえば、シートが断続的に停止している間に切断するため)。
[0374]図104に示すように、別法として、ナイフ834による切断は、エンボスプレス828によるエンボス加工および/またはしわ加工前であるが、折り畳みを介してプリーツパネルをともに組み立てた後に、別個に行われる。
[0375]動作の際、一実施形態では、フィルタ媒体シート812は、図100~104の実施形態に示すように、移動経路に沿って断続的に次々に前進および停止させられる。フィルタ媒体シートが停止されている間に、ナイフ834による切断および/またはエンボスプレス828によるプレス加工(エンボスおよび/またはしわを作製するため)など、様々な動作を実行することができる。フィルタ媒体シートが前進している間に、ナイフ834を介して切断を行うこともできる。
[0376]切断に対するさらなる代替として、図116を一例として参照すると、アンビルアセンブリ816は、別法として、ナイフ突出部838を有する突出ツール836によって構成することができる(たとえば、リブ突出ツール822をツール836に交換する)。たとえば、図116のこの実施形態は、2つの線形突出ツール要素840を含み、これらの突出ツール要素840は、両縁部813を切り取って切断し、隣接するプリーツパネル870、872間にポケットプリーツを同時に作製する。この概略図では、プリーツパネル870、872は、上から概略的に示されており、しわ810によって分離され、しわ810は完全に折り畳まれる。突出ツール要素840のそれぞれはまた、ナイフ突出部838にすぐ隣接するリブ突出部842を含むことができる。リブ突出部842は、ナイフ突出部838によって作製される切断縁を溶接して切断縁を封止し、シームを形成して、完成したフィルタ媒体パック内で濾過されていない流体流がシームを通るのを防止する。
[0377]図116に示すように、リブ突出部842はナイフ突出部838より広く、ナイフ突出部は、リブ突出部842から軸方向上方および外方へ突出する。リブ突出部842は、内側に沿って位置する。2つのツール要素840が設けられているとき、リブ突出部842は、それぞれのツール要素840の両ナイフ突出部838間に位置する。ソノトロードアセンブリ814およびアンビルアセンブリ816がともに十分に近づいたとき、ソノトロード814とアンビルアセンブリ816との間では、リブ突出部842よりナイフ突出部838に小さい間隙が形成され、ソノトロード814とアンビルアセンブリ816との間に、フィルタ媒体シート812の隣接パネル870、872が挟まれる。その結果、ナイフ突出部838への音波振動エネルギーにより、フィルタ媒体シート812の切断をもたらし、切断縁844を形成し、それによって媒体パックの両側縁部813からトリム部分846を切り取る。これにより、パネル870、872、およびその結果得られるパックの幅が低減される。同時に、音波振動エネルギーはまた、リブ突出部842へ誘導され、線形のシーム溶接848を形成し、パネル870、872をともに接合して、ポケットプリーツを形成する。理解されるように、ライナツール要素840のいずれかを、図103Aの部分的に湾曲したリブ突出要素825のような形状に形成して、図103および図104に示す形状の切断および形状の溶接を同時に行うこともできる。
[0378]次に、上記で説明した様々なプロセスおよびツールをより概略的に理解した上で、図105~115に示す溶接および組立て装置850のより詳細な実施形態に注意を向けなければならない。図105~115の溶接および組立て装置850を使用して、図100~104の方法および構造を実施し、かつ/または図116~118のツールを使用することができ、そのような同様の参照番号が使用される。同様に、装置850を使用することができ、図1に示すアンビル86および溶接機84に使用される実施形態とすることができ、したがってアセンブリライン10の端部で使用することができることが理解される。したがって、上流の動作およびステーションに関して、上記の説明および図1を参照することができることが理解される。たとえば、特徴(たとえば、エンボス加工および/またはしわ加工のための図1の任意選択のプレス28および/または回転ダイ)によってフィルタ媒体を処理するフィルタ処理ステーションなどの上流ステーション、ならびに典型的には図1に示すようにフィルタ媒体シート12を供給する繰出しステーション22およびフィルタ媒体ロール14を含むはずのフィルタ媒体供給ステーションに関しては、図1を参照することができる。フィルタ媒体シートはまた、図100~118で、参照番号812と呼ばれる。
[0379]これらの上流ステーションの下流では、装置850は、アンビルアセンブリ816およびソノトロードアセンブリ814を備える超音波プレスステーション852を含む。アンビルアセンブリ816およびソノトロードアセンブリ814は、フィルタ媒体シート812の移動方向に、典型的にはフィルタ媒体シート812の移動方向に対して平行に延びるZ軸801に沿って離間される。一実施形態では、Z軸801は水平である。加えて、図示の実施形態では、Y軸802およびX軸803が示されており、それぞれZ軸に直交して延びる。Y軸802は、垂直とすることができ、X軸803に直交して延びることができ、X軸803は、フィルタ媒体シート812の移動方向に対して横方向および横断方向に延びる。
[0380]Z軸801に沿って、線形アクチュエータが配置され、線形アクチュエータは、図106~109に累進的なシーケンスで示すように、アンビルアセンブリ816(およびそのアンビル)およびソノトロードアセンブリ814(およびそのソノトロード)を、Z軸801に沿って近づいたり離れたりするように往復させる。この累進的なシーケンスはまた、図110~113に異なる視点から示されている。1つのアクチュエータのみを相対往復運動に使用することができるが(アンビルアセンブリ816およびソノトロードアセンブリ814のうちの1つは、任意選択で静止している)、より好ましくは、以下に論じるように、第1および第2の線形アクチュエータが、それぞれアンビルアセンブリおよびソノトロードアセンブリに独立して作用することができる。
[0381]線形に作動する場合、空気圧アクチュエータなどの流体動力式のアクチュエータを使用することができ、移動運動の端部に画定された止め具が位置する。そのような空気圧アクチュエータは、アンビルアセンブリおよび/またはソノトロードアセンブリに直接作用することによって、アンビルアセンブリ816およびソノトロードアセンブリ814を動かすことができる。
[0382]追加の制御および漸増的な位置の提供のため、線形アクチュエータ内でサーボモータを使用することができる。たとえば、図105に示すように、アンビルアセンブリ816を駆動するために、線形アクチュエータは、サーボモータ854(または別法として、ステッパモータ)を備えることができ、サーボモータ854は螺旋軸856を回転させ、螺旋軸856は、ナット858とともに、回転運動を線形運動に変換することができる。ソノトロードアセンブリ814を線形に駆動するために、空気圧式の流体動力シリンダ860が示されているが、線形サーボモータドライブまたは線形ステッパモータドライブとすることもできる。
[0383]線形運動を案内するために、以下に論じるように、好適なZ軸線形スライドアセンブリが設けられる。線形スライドアセンブリの支持のために、垂直支持コラム862が、水平に離間された関係で設けられる。支持コラム862は、フィルタ媒体支持面を提供するテーブル864を収容する(任意選択で別法として、フィルタ媒体支持体は、図1に示すように、コンベアとすることができる)。支持コラム862は、Z軸線形スライドアセンブリを支持し、Z軸線形スライドアセンブリは、摺動軸866などの線形ガイドと、摺動カラーブッシング868などの線形スライドとを備える。1組のブッシング868が、アンビルキャリッジ874に取り付けられる。アンビルキャリッジ874は、アンビル876を支持および保持しており、図示のように、キャリッジ874およびアンビル876は集合的に、全体的なアンビルアセンブリ816の一部である。別の1組のブッシング868が、ソノトロードキャリッジ878に取り付けられる。ソノトロードキャリッジ878は、ソノトロード880を保持および支持し、ソノトロード880は、高周波音波エミッタ881と、ソノトロード板882とを備える。ソノトロードキャリッジ878およびソノトロード880は、ソノトロードアセンブリ814の一部である。
[0384]このようにして、空気圧シリンダ860は、ソノトロードキャリッジ878をZ軸801において延長位置と後退位置との間で前後に駆動するように動作可能である(たとえば、図108および図109に示すソノトロードの位置を参照)。同様に、サーボモータ854は、アンビルキャリッジ874、それによってアンビル876を延長位置と後退位置との間で線形に駆動する(図106、図108のアンビルの位置、および図107の中間位置を参照)。動作の際、サーボモータ854は、螺旋軸856を一方の回転方向または他方の回転方向に回転させる。螺旋軸856は、ナット858に作用し、ナット858は、アンビルキャリッジ874に固定されており、その結果、回転運動をアンビルキャリッジ874の線形運動に変換し、線形の作動を提供する。
[0385]図示のように、同じ線形ガイドおよび摺動軸866を使用して、ソノトロードキャリッジ878およびアンビルキャリッジ874の両方の線形運動を案内することができる。これにより、ソノトロード880とアンビル876との間の位置合わせを維持し、これは構成要素間で位置合わせされたツールが必要とされる場合に有用である。
[0386]一実施形態では、アンビル876によってのみ超音波突出ツールが保持されており、ソノトロード板882は、協働する平坦面を含むことができ、平坦面には音波ツール突出部がない。ソノトロード板882の平坦面は、アンビル876の突出ツールに面している。
[0387]たとえば、アンビル876は、アンビル突出ツール884を備え、アンビル突出ツール884は、別個のアンビルツール要素886を備えることができ、この例では、アンビルツール要素886はそれぞれ、アンビル876の凹状平坦面からソノトロード板882の方へ外方に突出する溶接突出リブ888を有する。溶接突出リブ888は、フィルタ媒体シート810の両側縁部813に一致して重なり合う関係で位置合わせされる。その結果、ソノトロード880およびアンビル876が近づき、ソノトロード880とアンビル876との間にフィルタ媒体シート810が挟まれ、高周波音波エミッタ881によって高周波エネルギーが印加されたとき、シートの両面の溶接箇所でフィルタ媒体シート812の溶接が行われる。これにより、隣接するプリーツパネル870、872をともに溶接して、ポケットプリーツ区分824を形成する。ポケットプリーツ区分は、集合的に、ポケットプリーツフィルタ媒体パックに収集および構築される。
[0388]規則的な直方形のフィルタ媒体パックの幅サイズに対応するために、または直方体以外の不規則な形状のパックの媒体パック形成中に寸法を変化させるために、別個のアンビルツール要素886をアンビルキャリッジ874上に再配置することができる。たとえば、アンビルツール要素886は取外し可能であり、所望される場合、取り外して異なるツールに交換することができる。一実施形態では、線形レール890などのX軸線形スライドアセンブリが設けられ、アンビルツール要素886のそれぞれのダブテールなどの対応する線形スライドを保持する。このようにして、アンビルツール要素886は、レール890に沿って近づいたり離れたりするようにX軸803内の異なる位置へ独立して動かすことができる。
[0389]レール890に沿って、各ツール要素886は、所望の位置で固定締結具によって締結することなどによって停止させることができる。別法として、1つまたは複数の線形サーボドライブを使用して、線形サーボドライブなどとアンビルツール要素886を固定の位置に位置決めすることができる。たとえば、各ツール要素886に対して1つずつ、サーボモータをレール890上に取り付けることができ、各サーボモータは、その指定のアンビルツール要素886のダブテール内に形成されたねじ山に係合するねじを回転させることができる。これにより、規則的な形状のパックに対して様々な固定の位置の可能性を提供する。これはまた、アンビルツール要素886の無限の動的な位置決め(たとえば、連続するポケットプリーツ区分間のツール位置の変更)を提供し、これを使用して、可変幅のポケットプリーツを形成することができ、その結果、図47、図48、および図57に例として示すような不規則なプリーツフィルタ媒体パック構造を得ることができる。図47、図48、および図57では、本装置850を使用するとき、フィルタ媒体シートの両縁部813に沿って封止されたシームに沿って、パック418および350の隣接するプリーツパネルの両側縁部を溶接して、プリーツポケットを形成し、したがって流れ面354(図47)間の流れは、フィルタ媒体を通過することなく、濾過されないまま周囲面のいずれも通過することができないことが理解される。より狭いプリーツパネルの切取りは、図116に示すツールのナイフ突出部838によって行うことができ、またはナイフ834によって事前に切断することができ、ナイフ834は、サーボモータまたはステッパモータなどの線形ドライブによって、ガントリ上でX軸803(および所望される場合はZ軸801)内を駆動させることができる。
[0390]同時に、アンビルツール要素886の調整を行うのではなく、代わりにアンビルツール要素886をX軸803に沿って固定して、プリーツフィルタ媒体パックの所望の幅に対応する固定の間隔で、平行な溶接突出リブ888を維持することができる。アンビルツール要素886のそのような固定の位置決めを使用して、図43に示すように両縁部78、80を有する長方形のプリーツパック16を形成することができ、隣接するプリーツパネル間に、溶接されたシームを形成して、ポケットプリーツを形成することができる。
[0391]X軸803にアンビル876(たとえば、アンビルツール要素886など)の任意選択の運動を提供することに加えて、アンビルツール要素886の場所およびそれらの溶接箇所を動かす目的で、垂直のY軸802における運動を行うことができる。追加または別法として、垂直のY軸802における運動は、アンビル876を持上げ部材として動作させるように実現することができ、アンビル876は、アンビルアセンブリがZ軸801で前方へ駆動されるとき、フィルタ媒体シートを保持して、フィルタ媒体シートの前進を容易にすることができる。
[0392]一実施形態では、図105、図114、および図115を参照すると、Y軸802の運動は、アンビルキャリッジ874上に設けられた空気圧シリンダ892などのさらなる線形アクチュエータによって実現される。アンビル876のY軸運動を容易にするために、キャリッジ874は、支持部材875と保持部材877とに分離することができ、支持部材875および保持部材877はどちらも、板とすることができる。それぞれ支持部材875および保持部材877に締結された線形レール894および線形スライド896によって提供される線形スライドアセンブリによって、線形運動のために保持部材877を支持部材875に取り付けて、支持部材875と保持部材877との間に相対線形摺動運動を与えることができる。空気圧シリンダ892は、支持部材875に作用する一端と、保持部材877に作用する他端とを有しており、Y軸802で位置合わせされて、保持部材877、したがってアンビル876を、Y軸802に沿って垂直方向に線形に作動させる。
[0393]これを使用して、上述したように、また図114および図115を参照して示したように、フィルタ媒体シート812を持ち上げて前進させることができる。この例では、テーブル864などの媒体支持体は、上述したアンビルキャリッジ874およびアンビル876によって、フィルタ媒体シートを支持する。レール894、線形スライド896、および空気圧シリンダ892によって、アンビル876(または保持部材877などのアンビルキャリッジの一部分)を上方へ動かしてフィルタ媒体シートを解放し、下方へ動かしてフィルタ媒体シート812を挟むことができる。たとえば、アンビル876は、細長い棒898などの把持部を有し、把持部は、アンビル876がZ軸801内で前方へ駆動されるとき、アンビル876がフィルタ媒体シートの先行部分を押し、フィルタ媒体シートの後続部分を引っ張り、それによって断続的なコンベア機構として作用するように、フィルタ媒体シート812を十分に下へ把持および保持する。これはまた、アンビル876とソノトロード880との間でプリーツパネル870、872を折り重ねて折り畳むのを容易にする。
[0394]図117および図118を次に参照すると、アンビルの代替の端面の実施形態が示されており、使用することができる代替のツール構成を示している。図117に示すアンビル900は、取外し可能なツール要素を有し、一方のツール要素901は、線形の溶接リブ突出部を提供し、他方のツール要素902は、非線形の溶接リブ突出部を提供し、コーナの入口面または出口面内に湾曲した凹状の切抜き領域を溶接する線形区分および湾曲区分を有する。
[0395]X軸運動は、しわ810に対して平行である必要はなく、図118のアンビル905の代替実施形態に概略的に示すように、横断方向にすることもできることにも留意されたい。アンビル905は、ツール要素906を備え、入口面または出口面内に湾曲したシームを溶接するための湾曲したリブ突出部を有する。ツール要素906は、線形スライドアセンブリ907上に保持することができ、サーボモータ908によって線形に駆動して、プリーツパネルの異なるペア上の動作中に位置を動的に調整することができる。たとえばこれを使用して、図56のパック400に示すように、不規則な形状および動的な形状のシームを溶接することができる。
[0396]超音波に焦点を当ててきたが、他の形の溶接機を用いて熱接合を実現することもできる。理論的には、超音波は、高周波振動によって分子を融点まで励起することによる熱接合である。1つの他の熱接合方法は、アンビルと加熱された板との間に媒体をプレスすることであろう。加えて、「ホットウェッジ溶接」では、濃縮された加熱空気流を使用して、媒体の区域を溶融させる。超音波溶接および他のタイプの溶接を含むすべての例で、溶接ツールとともにアンビルが提供され、これらは熱エネルギーデバイス(たとえば、超音波エミッタ、加熱要素、または加熱空気流要素)に動作可能に結合され、熱エネルギーを提供して、溶接ポケットシームなどの溶接箇所の溶接を容易にする。
[0397]本明細書に引用する刊行物、特許出願、および特許を含むすべての参考文献は、各参考文献が参照により組み込まれることが個々に具体的に示されており、全体として本明細書に記載されている場合と同じ範囲で、参照により本明細書に組み込まれている。
[0398]本発明を記載する文脈(特に、下記の特許請求の範囲の文脈)において、「a」および「an」および「the」という用語ならびに類似の指示物の使用は、本明細書に別途指示しない限り、または明らかに文脈に矛盾しない限り、単数形および複数形の両方を包含すると解釈されるべきである。「備える、含む(comprising)」、「有する(having)」、「含む(including)」、および「含む、収容する(containing)」という用語は、別途記載しない限り、オープンエンド(open-ended)の用語であると解釈されるべきである(すなわち、「~を含むが、それだけに限定されるものではない(including, but not limited to)」を意味する)。本明細書における値の範囲の記述は、本明細書に別途指示しない限り、この範囲内に入るそれぞれの別個の値を個々に参照する簡潔な方法として働くことのみを意図したものであり、それぞれの別個の値は、本明細書に個々に記述された場合と同様に、本明細書に組み込まれている。本明細書に記載するすべての方法は、本明細書に別途指示しない限り、またはそうでない場合、明らかに文脈に矛盾しない限り、任意の好適な順序で実行することができる。本明細書に提供されるあらゆる例または例示的な言語(たとえば、「など(such as)」)の使用は、本発明にさらに光を当てることのみを意図したものであり、別途請求しない限り、本発明の範囲に限定を加えるものではない。本明細書内のどの言語も、請求されていない要素が本発明の実施に本質的であることを意味すると解釈されるべきではない。
[0399]本発明を実施するための本発明者らには知られている最良の形態を含めて、本発明の好ましい実施形態は、本明細書に記載されている。これらの好ましい実施形態に対する変形例は、上記の説明を読めば当業者には明らかになるであろう。本発明者らは、当業者であれば、そのような変形例を適当に用いることを予期し、本発明者らは、本明細書に具体的に記載した以外の方法で本発明が実施されることも意図する。したがって、本発明は、準拠法によって認められる本明細書に添付の特許請求の範囲に記載する主題のすべての修正例および均等物を含む。さらに、本明細書に別途指示しない限り、またはそうでない場合、明らかに文脈に矛盾しない限り、本発明のすべての可能な変形例における前述の要素の任意の組合せが、本発明によって包含される。

Claims (17)

  1. フィルタ媒体シートを有するプリーツフィルタ媒体パックを形成する方法であって、
    前記フィルタ媒体シートをプリーツ加工して、複数のプリーツパネルを提供するステップと、
    複数のシームを溶接して前記プリーツパネルの複数の隣接ペアにし、複数のポケットプリーツを形成するステップと
    を含み、
    前記溶接が、前記ポケットプリーツを間に形成する超音波プレスによって超音波溶接することを含み、
    前記超音波プレスが、アンビルおよびソノトロードを備え、
    前記アンビルおよび前記ソノトロードのうちの少なくとも1つに沿って、リブ突出部が設けられる、
    方法。
  2. 前記フィルタ媒体シートを移動経路に沿って前進させるステップをさらに含み、
    前記プリーツ加工が、前記フィルタ媒体シートを離間された間隔でしわ加工し、前記移動経路に直交して延びる方向に前記しわ加工を延ばすことによって、前記プリーツフィルタ媒体パック内に複数のプリーツ先端を有する前記プリーツパネルを形成することを含む、請求項1に記載の方法。
  3. 前記プリーツ加工および溶接後、前記ポケットプリーツを互いに重ねて、前記プリーツフィルタ媒体パックを形成するステップをさらに含む、請求項1に記載の方法。
  4. 前記プリーツフィルタ媒体パックが、上流面にある複数の上流プリーツ先端と、下流面にある複数の下流プリーツ先端とを含み、前記プリーツパネルが、前記上流プリーツ先端と前記下流プリーツ先端との間に延び、前記プリーツパネルがそれぞれ、前記プリーツパネルの第1および第2の両側縁部間に横断方向に延び、前記溶接が、前記第1および第2の両側縁部を離間された場所で一体的に接合する、請求項1に記載の方法。
  5. 前記第1および第2の両側縁部間の場所で前記隣接するプリーツパネルをともに接合するステップをさらに含む、請求項4に記載の方法。
  6. 前記フィルタ媒体シートが、溶接を容易にするために、少なくとも10重量%のポリマー繊維を含む、請求項1に記載の方法。
  7. 前記リブ突出部が、前記アンビル上に設けられ、前記ソノトロードの方へ突出する、請求項に記載の方法。
  8. 前記リブ突出部が、前記アンビルおよび前記ソノトロードのうちの少なくとも1つの板上に配置された取外し可能なツールによって提供され、前記方法が、前記取外し可能なツールを取り外して前記取外し可能なツールを再配置するステップ、または前記取外し可能なツールを第2の取外し可能なツールに交換するステップと、前記再配置された取外し可能なツールまたは前記第2の取外し可能なツールを使用して、異なる構成の前記フィルタ媒体パックを形成するステップとをさらに含む、請求項に記載の方法。
  9. 前記アンビルおよび前記ソノトロードを互いに対して近づいたり離れたりするように線形に往復させて、前記シームを超音波溶接するステップをさらに含む、請求項に記載の方法。
  10. 前記リブ突出部が、第1および第2の平行な線形突出要素を離間された関係で備え、前記ポケットプリーツの前記第1および第2の両側縁部を前記第1および第2の平行な線形突出要素によって係合させる、請求項に記載の方法。
  11. 前記フィルタ媒体シートを移動経路に沿って断続的に次々に前進および停止させるステップをさらに含み、前記フィルタ媒体シートが停止されている間に、エンボス加工およびしわ加工のうちの少なくとも1つが行われ、前記フィルタ媒体シートが前進している間に、前記フィルタ媒体シートの先行部分がしわに沿って折り畳まれる、請求項1に記載の方法。
  12. フィルタ媒体シートを有するプリーツフィルタ媒体パックを形成する方法であって、
    前記フィルタ媒体シートをプリーツ加工して、複数のプリーツパネルを提供するステップと、
    複数のシーム縁部を超音波切断して前記プリーツパネルの複数の隣接ペアにするステップと、
    濾過されていない流体が前記プリーツフィルタ媒体パック内の前記シーム縁部を通過するのを防止するのに十分なように、前記プリーツパネルの前記隣接ペアを前記シーム縁部に沿って接合および封止するステップとを含む方法。
  13. 前記フィルタ媒体シートを移動経路に沿って前進させるステップをさらに含み、
    前記プリーツ加工が、前記フィルタ媒体シートを複数の離間された間隔でしわ加工し、前記移動経路に直交して延びる方向に前記しわ加工を延ばすことによって、前記プリーツパネルを形成し、前記プリーツフィルタ媒体パック内に複数のプリーツ先端を提供することを含み、
    前記超音波切断が、前記移動経路に対して横断方向に延びる延長部内で前記シーム縁部を切断する、
    請求項12に記載の方法。
  14. 前記プリーツフィルタ媒体パックが、上流面にある複数の上流プリーツ先端と、下流面にある複数の下流プリーツ先端とを含み、前記プリーツパネルが、前記上流プリーツ先端と前記下流プリーツ先端との間に延び、前記プリーツパネルがそれぞれ、第1および第2の両側縁部間に横断方向に延び、前記方法が、前記第1および第2の両側縁部に沿って複数の一体接合部を超音波溶接して、複数のポケットプリーツを形成するステップをさらに含む、請求項12に記載の方法。
  15. 前記プリーツフィルタ媒体パックが、上流面にある複数の上流プリーツ先端と、下流面にある複数の下流プリーツ先端とを含み、前記プリーツパネルが、前記上流プリーツ先端と前記下流プリーツ先端との間に延び、前記プリーツパネルがそれぞれ、前記プリーツパネルの第1および第2の両側縁部間に横断方向に延び、前記方法が、前記第1および第2の両側縁部間の場所で前記プリーツパネルの前記隣接ペアをともに超音波溶接するステップをさらに含む、請求項12に記載の方法。
  16. 超音波プレスが、アンビルおよびソノトロードを備え、前記シーム縁部の前記超音波切断を容易にするために、前記アンビルと前記ソノトロードとの間にナイフ突出部およびリブ突出部が設けられる、請求項12に記載の方法。
  17. 前記ナイフ突出部に隣接して設けられたリブ突出部をさらに含み、前記ナイフ突出部が、前記リブ突出部より薄く、前記リブ突出部の近傍に位置し、前記方法が、前記シーム縁部を超音波切断しながら、前記切断シーム縁部を同時に超音波溶接して、ポケットプリーツを形成するステップをさらに含む、請求項16に記載の方法。
JP2019542578A 2017-02-16 2018-02-13 フィルタ媒体パック、作製方法、および超音波切断または溶接 Active JP7127044B2 (ja)

Applications Claiming Priority (3)

Application Number Priority Date Filing Date Title
US201762459990P 2017-02-16 2017-02-16
US62/459,990 2017-02-16
PCT/US2018/017952 WO2018152090A1 (en) 2017-02-16 2018-02-13 Filter media packs, methods of making, and ultrasonic cutting or welding

Publications (3)

Publication Number Publication Date
JP2020510516A JP2020510516A (ja) 2020-04-09
JP2020510516A5 JP2020510516A5 (ja) 2021-03-04
JP7127044B2 true JP7127044B2 (ja) 2022-08-29

Family

ID=63169727

Family Applications (1)

Application Number Title Priority Date Filing Date
JP2019542578A Active JP7127044B2 (ja) 2017-02-16 2018-02-13 フィルタ媒体パック、作製方法、および超音波切断または溶接

Country Status (5)

Country Link
EP (2) EP3582877B1 (ja)
JP (1) JP7127044B2 (ja)
AU (1) AU2018221436B2 (ja)
CA (1) CA3049263C (ja)
WO (1) WO2018152090A1 (ja)

Families Citing this family (9)

* Cited by examiner, † Cited by third party
Publication number Priority date Publication date Assignee Title
US11278833B2 (en) 2015-08-17 2022-03-22 Parker-Hamilton Corporation Filter media packs, methods of making, and ultrasonic cutting or welding
MX2020001701A (es) * 2017-08-22 2020-03-20 Donaldson Co Inc Medios de filtracion acanalados, paquetes de medios de filtracion y elementos de filtracion.
US20200072169A1 (en) 2018-08-28 2020-03-05 Parker-Hannifin Corporation Non-cylindrical filter element and side entry air cleaner incorporating the same
WO2020051513A1 (en) 2018-09-07 2020-03-12 Parker-Hannifin Corporation Air filter media manufacturing process and tooling for same
EP4225465A4 (en) 2020-10-06 2024-10-16 Cummins Filtration Inc. FILTER ARRANGEMENTS WITH UNIQUE SHAPES
DE102021001192A1 (de) * 2021-03-05 2022-09-08 H Y D A C Filtertechnik GmbH Verfahren
KR102830791B1 (ko) * 2022-11-25 2025-07-07 대영공조휠터(주) 여과재 리필형 클린룸용 헤파 필터의 제조장치 및 제조방법
KR102730473B1 (ko) * 2023-05-11 2024-11-14 주식회사 이피아이티 집진기용 여과백 및 이의 제조방법
WO2025129297A1 (pt) * 2023-12-21 2025-06-26 Vieira De Macedo Junior Joao Processo de obtenção de filtro de mangas plissadas estruturadas com fita de material têxtil e filtro plissado estruturado com fita de material têxtil

Citations (6)

* Cited by examiner, † Cited by third party
Publication number Priority date Publication date Assignee Title
JP2000093725A (ja) 1998-09-25 2000-04-04 Shinwa Tec Kk 成形エアフィルタ及びその製造方法
JP2002519170A (ja) 1998-06-29 2002-07-02 ポール・コーポレーション 襞付きフィルター及びその製造方法
JP2005532163A (ja) 2002-07-10 2005-10-27 ドナルドソン カンパニー,インコーポレイティド 縦溝流路濾過媒体とその製造工程
US20050284117A1 (en) 2003-12-03 2005-12-29 Helmut Swars Particle filter
US20140260088A1 (en) 2013-03-18 2014-09-18 Cavanna S.P.A. Ultrasonic welding device
US20150114191A1 (en) 2012-07-09 2015-04-30 Mann+Hummel Gmbh Method and Device for Manufacturing Filter Elements and Filter Element

Family Cites Families (13)

* Cited by examiner, † Cited by third party
Publication number Priority date Publication date Assignee Title
GB1604979A (en) 1978-05-31 1981-12-16 Engineering Components Ltd Air filters
DE4002078C1 (ja) * 1990-01-25 1991-05-02 Fa. Carl Freudenberg, 6940 Weinheim, De
DE4039286C2 (de) * 1990-12-08 2000-11-23 Mahle Filtersysteme Gmbh Plattenförmiger Filtereinsatz für insbesondere Gasfilter
JP2714278B2 (ja) * 1991-08-20 1998-02-16 三井化学株式会社 フィルタ及びその製造装置
ZA978890B (en) * 1996-10-18 1998-08-27 Mann & Hummel Filter Apparatus for folding material webs
US6932850B1 (en) * 1998-06-29 2005-08-23 Pall Corporation Pleated filter and a method for making the same
DE19941029C2 (de) * 1999-08-28 2001-07-26 Freudenberg Carl Fa Filtereinsatz aus einem zickzackförmig gefalteten Faltenpack und Verfahren zu seiner Herstellung
US6824581B1 (en) * 2001-05-01 2004-11-30 Dana Corporation Pleated filter media with embossed spacers and cross flow
WO2003049838A1 (fr) * 2001-12-13 2003-06-19 Kodaka Sangyo Kaisha, Ltd. Filtre a air et procede de fabrication d'un tel filtre a air
US6780217B1 (en) 2002-07-31 2004-08-24 Dana Corporation Panel air filter with gasket of non-woven felt
US7318851B2 (en) 2004-11-02 2008-01-15 Baldwin Filters, Inc. Filter element
US20060151383A1 (en) 2005-01-12 2006-07-13 Aaf-Mcquay Inc. Pleated corrugated media and method of making
US9724635B2 (en) 2013-03-14 2017-08-08 Bladwin Filters, Inc. Rectangular stacked fluted filter cartridge

Patent Citations (6)

* Cited by examiner, † Cited by third party
Publication number Priority date Publication date Assignee Title
JP2002519170A (ja) 1998-06-29 2002-07-02 ポール・コーポレーション 襞付きフィルター及びその製造方法
JP2000093725A (ja) 1998-09-25 2000-04-04 Shinwa Tec Kk 成形エアフィルタ及びその製造方法
JP2005532163A (ja) 2002-07-10 2005-10-27 ドナルドソン カンパニー,インコーポレイティド 縦溝流路濾過媒体とその製造工程
US20050284117A1 (en) 2003-12-03 2005-12-29 Helmut Swars Particle filter
US20150114191A1 (en) 2012-07-09 2015-04-30 Mann+Hummel Gmbh Method and Device for Manufacturing Filter Elements and Filter Element
US20140260088A1 (en) 2013-03-18 2014-09-18 Cavanna S.P.A. Ultrasonic welding device

Also Published As

Publication number Publication date
AU2018221436A1 (en) 2019-07-18
BR112019016908A2 (pt) 2020-04-14
CA3049263A1 (en) 2018-08-23
WO2018152090A1 (en) 2018-08-23
EP4295938A1 (en) 2023-12-27
EP3582877A4 (en) 2020-10-07
CA3049263C (en) 2025-05-06
EP3582877B1 (en) 2023-11-22
EP3582877A1 (en) 2019-12-25
JP2020510516A (ja) 2020-04-09
AU2018221436B2 (en) 2023-05-25

Similar Documents

Publication Publication Date Title
US20240189748A1 (en) Filter media packs, methods of making and filter media presses
JP7127044B2 (ja) フィルタ媒体パック、作製方法、および超音波切断または溶接
US11278833B2 (en) Filter media packs, methods of making, and ultrasonic cutting or welding
US7661540B2 (en) Method of forming spaced pleated filter material and product of same
CN101304796B (zh) 形成用于袋状过滤组件的有周向褶皱的过滤套筒的装置和方法
CN113427772A (zh) 一种全自动初效空气过滤袋制造机
US11975287B2 (en) Pleated channel flow filter and/or roll form method
CN115139537A (zh) 一种全自动初效空气过滤袋制造机
US20200078718A1 (en) Air filter media manufacturing process and tooling for same
CN105555387A (zh) 用于产生波纹件的设备和方法
JP4295980B2 (ja) エアフィルタ及びその製造方法
BR112019016908B1 (pt) Método para formar uma embalagem de meios de filtro plissados com uma chapa de meios de filtro e embalagem de meios de filtro plissados
JP3802801B2 (ja) エアフィルタ及びその製造方法
CN215320726U (zh) 一种全自动初效空气过滤袋制造机
CN221660119U (zh) 一种应用于褶皱滤材的超声波焊接机
WO2003049838A1 (fr) Filtre a air et procede de fabrication d'un tel filtre a air
BR112018003158B1 (pt) Método de formação de uma embalagem de meios de filtro e método para formar uma embalagem de meios de filtro plissada com uma chapa de meios de filtro

Legal Events

Date Code Title Description
A711 Notification of change in applicant

Free format text: JAPANESE INTERMEDIATE CODE: A712

Effective date: 20200908

A521 Request for written amendment filed

Free format text: JAPANESE INTERMEDIATE CODE: A821

Effective date: 20200908

A521 Request for written amendment filed

Free format text: JAPANESE INTERMEDIATE CODE: A523

Effective date: 20210120

A621 Written request for application examination

Free format text: JAPANESE INTERMEDIATE CODE: A621

Effective date: 20210120

A977 Report on retrieval

Free format text: JAPANESE INTERMEDIATE CODE: A971007

Effective date: 20211213

A131 Notification of reasons for refusal

Free format text: JAPANESE INTERMEDIATE CODE: A131

Effective date: 20211216

A521 Request for written amendment filed

Free format text: JAPANESE INTERMEDIATE CODE: A523

Effective date: 20220310

TRDD Decision of grant or rejection written
A01 Written decision to grant a patent or to grant a registration (utility model)

Free format text: JAPANESE INTERMEDIATE CODE: A01

Effective date: 20220719

A61 First payment of annual fees (during grant procedure)

Free format text: JAPANESE INTERMEDIATE CODE: A61

Effective date: 20220817

R150 Certificate of patent or registration of utility model

Ref document number: 7127044

Country of ref document: JP

Free format text: JAPANESE INTERMEDIATE CODE: R150

R250 Receipt of annual fees

Free format text: JAPANESE INTERMEDIATE CODE: R250