JP7081237B2 - 接続モジュール、および蓄電モジュール - Google Patents

接続モジュール、および蓄電モジュール Download PDF

Info

Publication number
JP7081237B2
JP7081237B2 JP2018049568A JP2018049568A JP7081237B2 JP 7081237 B2 JP7081237 B2 JP 7081237B2 JP 2018049568 A JP2018049568 A JP 2018049568A JP 2018049568 A JP2018049568 A JP 2018049568A JP 7081237 B2 JP7081237 B2 JP 7081237B2
Authority
JP
Japan
Prior art keywords
power storage
connecting member
bus bar
holding
storage elements
Prior art date
Legal status (The legal status is an assumption and is not a legal conclusion. Google has not performed a legal analysis and makes no representation as to the accuracy of the status listed.)
Expired - Fee Related
Application number
JP2018049568A
Other languages
English (en)
Other versions
JP2019160736A (ja
Inventor
昭弘 永渕
友孝 黒豆
麟太郎 根岸
雄介 國井
Current Assignee (The listed assignees may be inaccurate. Google has not performed a legal analysis and makes no representation or warranty as to the accuracy of the list.)
Sumitomo Wiring Systems Ltd
AutoNetworks Technologies Ltd
Sumitomo Electric Industries Ltd
Original Assignee
Sumitomo Wiring Systems Ltd
AutoNetworks Technologies Ltd
Sumitomo Electric Industries Ltd
Priority date (The priority date is an assumption and is not a legal conclusion. Google has not performed a legal analysis and makes no representation as to the accuracy of the date listed.)
Filing date
Publication date
Application filed by Sumitomo Wiring Systems Ltd, AutoNetworks Technologies Ltd, Sumitomo Electric Industries Ltd filed Critical Sumitomo Wiring Systems Ltd
Priority to JP2018049568A priority Critical patent/JP7081237B2/ja
Priority to CN201980016122.0A priority patent/CN112106221B/zh
Priority to PCT/JP2019/008036 priority patent/WO2019176584A1/ja
Priority to DE112019001379.3T priority patent/DE112019001379T5/de
Priority to US16/979,702 priority patent/US11289778B2/en
Publication of JP2019160736A publication Critical patent/JP2019160736A/ja
Application granted granted Critical
Publication of JP7081237B2 publication Critical patent/JP7081237B2/ja
Expired - Fee Related legal-status Critical Current
Anticipated expiration legal-status Critical

Links

Images

Classifications

    • HELECTRICITY
    • H01ELECTRIC ELEMENTS
    • H01MPROCESSES OR MEANS, e.g. BATTERIES, FOR THE DIRECT CONVERSION OF CHEMICAL ENERGY INTO ELECTRICAL ENERGY
    • H01M50/00Constructional details or processes of manufacture of the non-active parts of electrochemical cells other than fuel cells, e.g. hybrid cells
    • H01M50/50Current conducting connections for cells or batteries
    • H01M50/572Means for preventing undesired use or discharge
    • HELECTRICITY
    • H01ELECTRIC ELEMENTS
    • H01GCAPACITORS; CAPACITORS, RECTIFIERS, DETECTORS, SWITCHING DEVICES, LIGHT-SENSITIVE OR TEMPERATURE-SENSITIVE DEVICES OF THE ELECTROLYTIC TYPE
    • H01G2/00Details of capacitors not covered by a single one of groups H01G4/00-H01G11/00
    • H01G2/02Mountings
    • HELECTRICITY
    • H01ELECTRIC ELEMENTS
    • H01GCAPACITORS; CAPACITORS, RECTIFIERS, DETECTORS, SWITCHING DEVICES, LIGHT-SENSITIVE OR TEMPERATURE-SENSITIVE DEVICES OF THE ELECTROLYTIC TYPE
    • H01G11/00Hybrid capacitors, i.e. capacitors having different positive and negative electrodes; Electric double-layer [EDL] capacitors; Processes for the manufacture thereof or of parts thereof
    • H01G11/10Multiple hybrid or EDL capacitors, e.g. arrays or modules
    • HELECTRICITY
    • H01ELECTRIC ELEMENTS
    • H01GCAPACITORS; CAPACITORS, RECTIFIERS, DETECTORS, SWITCHING DEVICES, LIGHT-SENSITIVE OR TEMPERATURE-SENSITIVE DEVICES OF THE ELECTROLYTIC TYPE
    • H01G11/00Hybrid capacitors, i.e. capacitors having different positive and negative electrodes; Electric double-layer [EDL] capacitors; Processes for the manufacture thereof or of parts thereof
    • H01G11/74Terminals, e.g. extensions of current collectors
    • H01G11/76Terminals, e.g. extensions of current collectors specially adapted for integration in multiple or stacked hybrid or EDL capacitors
    • HELECTRICITY
    • H01ELECTRIC ELEMENTS
    • H01MPROCESSES OR MEANS, e.g. BATTERIES, FOR THE DIRECT CONVERSION OF CHEMICAL ENERGY INTO ELECTRICAL ENERGY
    • H01M10/00Secondary cells; Manufacture thereof
    • H01M10/04Construction or manufacture in general
    • H01M10/0413Large-sized flat cells or batteries for motive or stationary systems with plate-like electrodes
    • HELECTRICITY
    • H01ELECTRIC ELEMENTS
    • H01MPROCESSES OR MEANS, e.g. BATTERIES, FOR THE DIRECT CONVERSION OF CHEMICAL ENERGY INTO ELECTRICAL ENERGY
    • H01M10/00Secondary cells; Manufacture thereof
    • H01M10/42Methods or arrangements for servicing or maintenance of secondary cells or secondary half-cells
    • H01M10/425Structural combination with electronic components, e.g. electronic circuits integrated to the outside of the casing
    • HELECTRICITY
    • H01ELECTRIC ELEMENTS
    • H01MPROCESSES OR MEANS, e.g. BATTERIES, FOR THE DIRECT CONVERSION OF CHEMICAL ENERGY INTO ELECTRICAL ENERGY
    • H01M50/00Constructional details or processes of manufacture of the non-active parts of electrochemical cells other than fuel cells, e.g. hybrid cells
    • H01M50/20Mountings; Secondary casings or frames; Racks, modules or packs; Suspension devices; Shock absorbers; Transport or carrying devices; Holders
    • H01M50/204Racks, modules or packs for multiple batteries or multiple cells
    • H01M50/207Racks, modules or packs for multiple batteries or multiple cells characterised by their shape
    • H01M50/209Racks, modules or packs for multiple batteries or multiple cells characterised by their shape adapted for prismatic or rectangular cells
    • HELECTRICITY
    • H01ELECTRIC ELEMENTS
    • H01MPROCESSES OR MEANS, e.g. BATTERIES, FOR THE DIRECT CONVERSION OF CHEMICAL ENERGY INTO ELECTRICAL ENERGY
    • H01M50/00Constructional details or processes of manufacture of the non-active parts of electrochemical cells other than fuel cells, e.g. hybrid cells
    • H01M50/20Mountings; Secondary casings or frames; Racks, modules or packs; Suspension devices; Shock absorbers; Transport or carrying devices; Holders
    • H01M50/262Mountings; Secondary casings or frames; Racks, modules or packs; Suspension devices; Shock absorbers; Transport or carrying devices; Holders with fastening means, e.g. locks
    • H01M50/264Mountings; Secondary casings or frames; Racks, modules or packs; Suspension devices; Shock absorbers; Transport or carrying devices; Holders with fastening means, e.g. locks for cells or batteries, e.g. straps, tie rods or peripheral frames
    • HELECTRICITY
    • H01ELECTRIC ELEMENTS
    • H01MPROCESSES OR MEANS, e.g. BATTERIES, FOR THE DIRECT CONVERSION OF CHEMICAL ENERGY INTO ELECTRICAL ENERGY
    • H01M50/00Constructional details or processes of manufacture of the non-active parts of electrochemical cells other than fuel cells, e.g. hybrid cells
    • H01M50/50Current conducting connections for cells or batteries
    • H01M50/502Interconnectors for connecting terminals of adjacent batteries; Interconnectors for connecting cells outside a battery casing
    • H01M50/507Interconnectors for connecting terminals of adjacent batteries; Interconnectors for connecting cells outside a battery casing comprising an arrangement of two or more busbars within a container structure, e.g. busbar modules
    • HELECTRICITY
    • H01ELECTRIC ELEMENTS
    • H01MPROCESSES OR MEANS, e.g. BATTERIES, FOR THE DIRECT CONVERSION OF CHEMICAL ENERGY INTO ELECTRICAL ENERGY
    • H01M50/00Constructional details or processes of manufacture of the non-active parts of electrochemical cells other than fuel cells, e.g. hybrid cells
    • H01M50/50Current conducting connections for cells or batteries
    • H01M50/543Terminals
    • HELECTRICITY
    • H01ELECTRIC ELEMENTS
    • H01GCAPACITORS; CAPACITORS, RECTIFIERS, DETECTORS, SWITCHING DEVICES, LIGHT-SENSITIVE OR TEMPERATURE-SENSITIVE DEVICES OF THE ELECTROLYTIC TYPE
    • H01G11/00Hybrid capacitors, i.e. capacitors having different positive and negative electrodes; Electric double-layer [EDL] capacitors; Processes for the manufacture thereof or of parts thereof
    • H01G11/78Cases; Housings; Encapsulations; Mountings
    • H01G11/82Fixing or assembling a capacitive element in a housing, e.g. mounting electrodes, current collectors or terminals in containers or encapsulations
    • HELECTRICITY
    • H01ELECTRIC ELEMENTS
    • H01MPROCESSES OR MEANS, e.g. BATTERIES, FOR THE DIRECT CONVERSION OF CHEMICAL ENERGY INTO ELECTRICAL ENERGY
    • H01M2220/00Batteries for particular applications
    • H01M2220/20Batteries in motive systems, e.g. vehicle, ship, plane
    • HELECTRICITY
    • H01ELECTRIC ELEMENTS
    • H01MPROCESSES OR MEANS, e.g. BATTERIES, FOR THE DIRECT CONVERSION OF CHEMICAL ENERGY INTO ELECTRICAL ENERGY
    • H01M50/00Constructional details or processes of manufacture of the non-active parts of electrochemical cells other than fuel cells, e.g. hybrid cells
    • H01M50/50Current conducting connections for cells or batteries
    • H01M50/502Interconnectors for connecting terminals of adjacent batteries; Interconnectors for connecting cells outside a battery casing
    • H01M50/514Methods for interconnecting adjacent batteries or cells
    • H01M50/516Methods for interconnecting adjacent batteries or cells by welding, soldering or brazing
    • YGENERAL TAGGING OF NEW TECHNOLOGICAL DEVELOPMENTS; GENERAL TAGGING OF CROSS-SECTIONAL TECHNOLOGIES SPANNING OVER SEVERAL SECTIONS OF THE IPC; TECHNICAL SUBJECTS COVERED BY FORMER USPC CROSS-REFERENCE ART COLLECTIONS [XRACs] AND DIGESTS
    • Y02TECHNOLOGIES OR APPLICATIONS FOR MITIGATION OR ADAPTATION AGAINST CLIMATE CHANGE
    • Y02EREDUCTION OF GREENHOUSE GAS [GHG] EMISSIONS, RELATED TO ENERGY GENERATION, TRANSMISSION OR DISTRIBUTION
    • Y02E60/00Enabling technologies; Technologies with a potential or indirect contribution to GHG emissions mitigation
    • Y02E60/10Energy storage using batteries
    • YGENERAL TAGGING OF NEW TECHNOLOGICAL DEVELOPMENTS; GENERAL TAGGING OF CROSS-SECTIONAL TECHNOLOGIES SPANNING OVER SEVERAL SECTIONS OF THE IPC; TECHNICAL SUBJECTS COVERED BY FORMER USPC CROSS-REFERENCE ART COLLECTIONS [XRACs] AND DIGESTS
    • Y02TECHNOLOGIES OR APPLICATIONS FOR MITIGATION OR ADAPTATION AGAINST CLIMATE CHANGE
    • Y02PCLIMATE CHANGE MITIGATION TECHNOLOGIES IN THE PRODUCTION OR PROCESSING OF GOODS
    • Y02P70/00Climate change mitigation technologies in the production process for final industrial or consumer products
    • Y02P70/50Manufacturing or production processes characterised by the final manufactured product

Landscapes

  • Chemical & Material Sciences (AREA)
  • Chemical Kinetics & Catalysis (AREA)
  • Electrochemistry (AREA)
  • General Chemical & Material Sciences (AREA)
  • Engineering & Computer Science (AREA)
  • Power Engineering (AREA)
  • Microelectronics & Electronic Packaging (AREA)
  • Manufacturing & Machinery (AREA)
  • Connection Of Batteries Or Terminals (AREA)
  • Battery Mounting, Suspending (AREA)
  • Electric Double-Layer Capacitors Or The Like (AREA)

Description

本明細書によって開示される技術は、接続モジュール、および蓄電モジュールに関する。
車両用の電池モジュールは、正極及び負極の電極端子を有する複数の電池セルと、隣り合う電池セルの電極端子間を接続するバスバーと、電池セルに組み付けられてバスバーを保持するバスバー保持部材とを備えている。バスバー保持部材は、バスバーを囲む包囲壁を備えており、この包囲壁によって、バスバーの保持部材に対する位置決めがなされるとともに、隣接するバスバー間の絶縁が図られている(特許文献1参照)。
特開2015-065055号公報
近年、車両の高性能化に伴って、多くの部品を狭いスペースに効率的に配置することが求められており、蓄電モジュールにおいてバスバーを保持する構成についても、構造の簡素化が求められている。
本明細書によって開示される接続モジュールは、一縁に電極端子を備える複数の蓄電素子により構成される蓄電素子群に取り付けられて、複数の前記蓄電素子を電気的に接続する接続モジュールであって、隣り合う前記蓄電素子の前記電極端子同士を接続する接続部材と、前記接続部材を保持する保持部材とを備え、前記保持部材が、一面に前記接続部材が載置される載置領域を有しているとともに、前記載置領域に載置された前記接続部材を包囲する包囲壁を備えず、前記載置領域に載置された前記接続部材に係合することで、前記接続部材の前記保持部材からの離脱、および前記載置領域外への位置ずれを規制する規制部を備える。
また、本明細書によって開示される蓄電モジュールは、一縁に電極端子を備える複数の蓄電素子により構成される蓄電素子群と、前記蓄電素子群に取り付けられて、複数の前記蓄電素子を電気的に接続する接続モジュールとを備え、前記接続モジュールが、隣り合う前記蓄電素子の前記電極端子同士を接続する接続部材と、前記接続部材を保持する保持部材とを備え、前記保持部材が、一面に前記接続部材が載置される載置領域を有しているとともに、前記載置領域に載置された前記接続部材を包囲する包囲壁を備えず、前記載置領域に載置された前記接続部材に係合することで、前記接続部材の前記保持部材からの離脱、および前記載置領域外への位置ずれを規制する規制部を備える。
上記の構成によれば、接続部材を囲む包囲壁を設けるよりも簡素な構成で、接続部材の離脱防止および位置決めを図ることができる。このような構成は、隣接する接続部材間を絶縁する必要性が薄い低圧の蓄電モジュールに好適である。
上記の構成において、前記保持部材が、前記載置領域に隣接する位置に、前記電極端子を挿通するための挿通孔を有していても構わない。
このように、接続部材の載置領域に隣接する位置に挿通孔を有する構成では、包囲壁を接続部材に隣接する位置に設けて接続部材に当接させ、接続部材の位置決めを行うことが難しい。このような場合においても、規制部によって、簡素な構成で、接続部材の離脱防止および位置決めを図ることができる。
上記の構成において、前記接続部材が、一対の端縁のうち一方の端縁から突出する係止突部と、他方の端縁から凹む係止凹部とを備えており、前記規制部が、前記載置領域の一端に配置されて、前記係止突部を挿入可能な規制凹部を有する規制受部と、前記載置領域の他端に配置されて、前記係止凹部の内部に収容されて前記接続部材に係合する規制片とで構成されていても構わない。
このような構成によれば、打ち抜き加工によって接続部材を製造する際に、母材において、先に打ち抜かれた接続部材の係止凹部の形状に対応して残った凸部から、次に打ち抜く接続部材の係止突部を取るようにすることができるので、複数の接続部材間の廃棄部分の大きさを最小限とすることができ、材料の無駄を最小限とすることができる。
本明細書によって開示される接続モジュールおよび蓄電モジュールによれば、簡素な構成で、接続部材の離脱防止および位置決めを図ることができる。
実施形態の蓄電モジュールの平面図 図1のA-A線断面図 実施形態の接続モジュールの斜視図 実施形態の接続モジュールの平面図 図4のB-B線断面図 図4の円R内の拡大図 実施形態の保持部材の平面図 実施形態のバスバーの平面図 実施形態において、母材からバスバーを打ち抜く様子を示す平面図
実施形態1を、図1~図9を参照しつつ説明する。本実施形態の蓄電モジュール1は、ガソリン車などの、電気エネルギーを車両の駆動のために用いない車両に搭載される、低圧のバッテリであって、複数の蓄電素子10により構成される蓄電素子群10Gと、この蓄電素子群10Gに組み付けられて、複数の蓄電素子10を電気的に接続する接続モジュール20とを備えている。
[蓄電素子群10Gおよび蓄電素子10]
本実施形態の蓄電素子10はラミネート型の電池であり、全体として扁平な直方体状をなす。各蓄電素子10は、図2に示すように、発電要素(図示せず)をラミネートフィルムによって包むとともに縁部を溶着した電池本体11と、発電要素に接続されるとともに電池本体11の一縁(図2の上縁)から外側に突出する一対の電極端子(正極端子12、負極端子13)とを備える。電極端子12、13は、箔状のリード端子である。
蓄電素子10は、複数(本実施形態では4つ)が重ねられて、蓄電素子群10Gを構成している。隣り合う2つの蓄電素子10は、図2に示すように、互いに異なる極性の電極端子12、13が隣り合うように(一の蓄電素子10の正極端子12と、これと隣接する他の蓄電素子10の負極端子13とが互いに隣り合うように)配置されている。
[接続モジュール20]
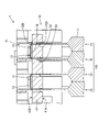
接続モジュール20は、図3に示すように、複数のバスバー30(接続部材に該当)と、複数のバスバー30を保持して蓄電素子群10Gに組み付けられる保持部材40とを備えている。
バスバー30は、金属などの導電性を有する材料により構成され、図8に示すように、細長い長方形の板状をなすバスバー本体31と、バスバー本体31から突出する係止突部32とを備えている。係止突部32は、バスバー本体31の両端縁のうち一方の端縁31A(図8の左側の端縁)から突出する、矩形の板片状の部分である。また、バスバー本体31は、両端縁のうち他方の端縁31B(図8の右側の端縁)から凹む係止凹部33を有している。係止凹部33は、他方の端縁31Bよりも内側に位置する奥縁33Aと、この奥縁33Aと他方の端縁31Bとを繋ぐ一対の側縁33Bとによって規定される凹部である。係止突部32と係止凹部33とは、どちらも、バスバー本体31の幅方向について同じ位置(一対の長辺間の中央位置)に配置されている。
このような形状のバスバー30を製造する際には、図9に示すように、帯状の母材80からプレス型を用いてバスバー30を順次打ち抜いていく。このとき、母材80において、先に打ち抜かれたバスバー30の係止凹部33の形状に対応して残った凸状の部分から、次に打ち抜くバスバー30の係止突部32を取るようにすることができるので、打ち抜き後に残る廃棄部分81の大きさを最小限とすることができ、材料の無駄を最小限とすることができる。
保持部材40は、合成樹脂製であって、図3、図4および図7に示すように、全体として長方形状の厚板状をなす保持本体41を備えている。図2および図5に示すように、保持本体41の表裏両面のうち一面が蓄電素子群10Gに対向する素子対向面41A、他面がバスバー30が保持されるバスバー保持面41Bとなっている。保持本体41において、一方の短辺側の半分(図7の左側の半分)には、2つのバスバー保持部51が並列して配置されている。また他方の短辺側の半分(図7の右側の半分)には、2つの接続端子保持部61と、1つのバスバー保持部51が並列して配置されている。バスバー保持部51は、2つの接続端子保持部61の間に配置されている。
複数のバスバー保持部51は、互いに同様の構成を有しているので、以下には、複数のバスバー保持部51のうち1つ(図7の左下のバスバー保持部51)を例にとり、詳細に説明する。
バスバー保持部51は、図4および図7に示すように、電極端子12、13を挿通可能な一対のスリット52(挿通孔に該当)と、バスバー30の離脱及び位置ずれを規制するための規制部(規制受部54および規制片56)とを備えている。
一対のスリット52のそれぞれは、図2に示すように、素子対向面41Aに電極端子12、13を挿入するための挿入口52Aを、バスバー保持面41Bに電極端子12、13を導出するための導出口52Bを有し、保持本体41を板厚方向に貫通している。一対のスリット52は、図7に示すように、互いに間隔を空け、平行に延びている。バスバー保持面41Bにおいて一対のスリット52の導出口52Bによって区画された領域は、図7に示すように、バスバー30が載置されるバスバー載置領域53(載置領域に該当)となっている。言い換えると、バスバー保持部51は、バスバー載置領域53に隣接する位置に、電極端子12、13をを挿通するためのスリット52を有している。
バスバー保持部51は、バスバー載置領域53の一端(図7の左端)に規制受部54を備え、他端(図7の右端)に規制片56を備えている。
規制受部54は、図5および図6に示すように、バスバー載置領域53の一端から垂直に立ち上がる奥壁部54Aと、この奥壁部54Aの延出端から、奥壁部54Aに対して垂直に、バスバー載置領域53の他端に向かって延びる天壁部54Bと、奥壁部54Aおよび天壁部54Bに対して垂直に延び、互いに間隔を空けて配置される一対の側壁部54Cとを備えている。奥壁部54Aと天壁部54Bと一対の側壁部54Cとで囲まれる空間は、バスバー30の係止突部32を内部に受け入れ可能な規制凹部54Dとなっている。
バスバー載置領域53の他端には、図5に示すように、バスバー保持面41Bから凹む規制片収容部55が設けられている。規制片収容部55は、バスバー保持面41Bよりも奥方に(素子対向面41Aに近接して)位置する底面55Aと、底面55Aとバスバー保持面41Bとを繋ぐ周壁面55Bとで規定される凹部であって、バスバー保持面41Bに開口している。規制片56は、図5に示すように、撓み部56Aと係合爪56Bとを備えている。撓み部56Aは、底面55Aから延び、先端部が規制片収容部55から外方に突出している板バネ状の部分であって、規制受部54に対して近接-離間する方向(図5の左右方向)に撓み可能とされている。係合爪56Bは、撓み部56Aの先端部から規制受部54に向かって突出し、バスバー30に係合する部分である。
バスバー30をバスバー保持部51に組み付ける際には、まず、係止突部32を規制凹部54Dの内部に差し込む。次に、規制片56を規制受部54から離間する方向に撓ませ、バスバー30をバスバー載置領域53に重ねて配置する。そして、規制片56を弾性復帰させると、規制片56が係止凹部33の内側に入り込み、バスバー30において係止凹部33の奥縁33Aに隣接する部分に係合爪56Bが係合する。
バスバー30は、図5に示すように、係合爪56Bと規制受部54とによって係止されることで、バスバー保持部51からの離脱(図5の上方への離脱)が規制されている。また、図6に示すように、係止突部32が2つの側壁部54Cの間に位置し、規制片56が2つの側縁33Bの間に位置しているから、バスバー30が幅方向(隣接する他のバスバー30に対して近接または離間する方向:図4および図6の上下方向)に移動しようとすると、係止突部32が側壁部54Cに、係合爪56Bが側縁33Bに突き当たり、それ以上の移動が規制される。これにより、バスバー30の幅方向への位置ずれが規制されている。
2つの接続端子保持部61は、それぞれ、図7に示すように、バスバー保持部51が有するスリット52と同様の構成のスリット52を1つ有しているとともに、図1に示すように、蓄電素子群10Gと外部機器との接続のための接続端子70を保持している。
[接続モジュール20の蓄電素子群10Gへの組み付け]
接続モジュール20を、図2に示すように、素子対向面41Aが蓄電素子群10Gの方を向くように蓄電素子群10Gに沿って配置する。各バスバー保持部51の各スリット52内に、蓄電素子10の各電極端子12、13を挿通させる。次に、電極端子12、13のうちバスバー保持面41Bから突出した部分を折り曲げ、バスバー30に重ね合わせる。一のバスバー30には、隣り合う蓄電素子10における、互いに異なる極性の電極端子12、13が重ね合わせられる。例えば、一のバスバー保持部51(図2の右側のバスバー保持部51)に保持されたバスバー30には、一の蓄電素子10(図2の右端の蓄電素子)の正極端子12と、一の蓄電素子10に隣接する他の蓄電素子10(図2の右から2番目の蓄電素子)の負極端子13とが重ねられる。なお、一のバスバー30に重ねられる正極端子12と負極端子13とは、互いに直接接触しないように設定されている。また、同様に、各接続端子保持部61の各スリット52からも対応する電極端子12、13を導出し、接続端子70に重ね合わせる。
電極端子12、13のうちバスバー30に重ね合わされた部分は、レーザー溶接により、バスバー30と導通接続される。同様に、電極端子12、13のうち接続端子70に重ね合わされた部分は、レーザー溶接により、接続端子70と導通接続される。このようにして、蓄電モジュール1が完成する。
[まとめ]
以上のように本実施形態によれば、蓄電モジュール1は、一縁に電極端子(正極端子12、負極端子13)を備える複数の蓄電素子10により構成される蓄電素子群10Gと、この蓄電素子群10Gに取り付けられて、複数の蓄電素子10を電気的に接続する接続モジュール20とを備える。接続モジュール20は、隣り合う蓄電素子10の電極端子12、13同士を接続するバスバー30と、バスバー30を保持する保持部材40とを備える。保持部材40が、バスバー保持面41Bにバスバー30が載置されるバスバー載置領域53を有しているとともに、バスバー載置領域53に載置されたバスバー30に係合することで、バスバー30の保持部材40からの離脱、およびバスバー載置領域53外への位置ずれを規制する規制受部54および規制片56を備える。
上記の構成によれば、バスバー30を囲む包囲壁を設けるよりも簡素な構成で、バスバー30の離脱防止および位置決めを図ることができる。このような構成は、例えば、ガソリン車などの、電気エネルギーを車両の駆動のために用いない車両に搭載されるバッテリに好適である。このようなバッテリは、比較的低圧であり、バスバーを囲む包囲壁を設けて隣接するバスバー間を絶縁する必要性が薄いためである。
また、保持部材40が、バスバー載置領域53に隣接する位置に、電極端子12、13を挿通するためのスリット52を有している。
このように、バスバー載置領域53に隣接する位置にスリット52を有する構成では、包囲壁をバスバー30に隣接する位置に設けてバスバー30に当接させ、バスバー30の位置決めを行うことが難しい。このような場合においても、規制受部54および規制片56によって、簡素な構成で、バスバー30の離脱防止および位置決めを図ることができる。
また、バスバー30が、一対の端縁のうち一方の端縁31Aから突出する係止突部32と、他方の端縁31Bから凹む係止凹部33とを備えており、規制受部54が、バスバー載置領域53の一端に配置されて、係止突部32を挿入可能な規制凹部54Dを有しており、規制片56が、バスバー載置領域53の他端に配置されて、係止凹部33の内部に収容されてバスバー30に係合する。
このような構成によれば、打ち抜き加工によってバスバー30を製造する際に、母材80において、先に打ち抜かれたバスバー30の係止凹部33の形状に対応して残った凸状の部分から、次に打ち抜くバスバー30の係止突部32を取るようにすることができるので、打ち抜き後に残る廃棄部分81の大きさを最小限とすることができ、材料の無駄を最小限とすることができる。
<他の実施形態>
本明細書によって開示される技術は上記記述及び図面によって説明した実施形態に限定されるものではなく、例えば次のような種々の態様も含まれる。
(1)上記実施形態では、蓄電素子群10Gが4つの蓄電素子10により構成されていたが、蓄電素子の数は任意である。
(2)保持部材に保持される接続部材の数は、蓄電素子の数に合わせて任意に設定することができる。
1…蓄電モジュール
10…蓄電素子
10G…蓄電素子群
12…正極端子(電極端子)
13…負極端子(電極端子)
20…接続モジュール
30…バスバー(接続部材)
32…係止突部
33…係止凹部
40…保持部材
52…スリット(挿通孔)
53…バスバー載置領域(載置領域)
54D…規制凹部
54…規制受部(規制部)
56…規制片(規制部)

Claims (3)

  1. 一縁に電極端子を備える複数の蓄電素子により構成される蓄電素子群に取り付けられて、複数の前記蓄電素子を電気的に接続する接続モジュールであって、
    隣り合う前記蓄電素子の前記電極端子同士を接続する接続部材と、前記接続部材を保持する保持部材とを備え、
    前記保持部材が、一面に前記接続部材が載置される載置領域を有しているとともに、前記載置領域に載置された前記接続部材を包囲する包囲壁を備えず、前記載置領域に載置された前記接続部材に係合することで、前記接続部材の前記保持部材からの離脱、および前記載置領域外への位置ずれを規制する規制部を備え
    前記接続部材が、一対の端縁のうち一方の端縁から突出する係止突部と、他方の端縁から凹む係止凹部とを備えており、
    前記規制部が、前記載置領域の一端に配置されて、前記係止突部を挿入可能な規制凹部を有する規制受部と、前記載置領域の他端に配置されて、前記係止凹部の内部に収容されて前記接続部材に係合する規制片とで構成されている、接続モジュール。
  2. 前記保持部材が、前記載置領域に隣接する位置に、前記電極端子を挿通するための挿通孔を有している、請求項1に記載の接続モジュール。
  3. 一縁に電極端子を備える複数の蓄電素子により構成される蓄電素子群と、前記蓄電素子群に取り付けられて、複数の前記蓄電素子を電気的に接続する接続モジュールとを備え、
    前記接続モジュールが、隣り合う前記蓄電素子の前記電極端子同士を接続する接続部材と、前記接続部材を保持する保持部材とを備え、
    前記保持部材が、一面に前記接続部材が載置される載置領域を有しているとともに、前記載置領域に載置された前記接続部材を包囲する包囲壁を備えず、前記載置領域に載置された前記接続部材に係合することで、前記接続部材の前記保持部材からの離脱、および前記載置領域外への位置ずれを規制する規制部を備え
    前記接続部材が、一対の端縁のうち一方の端縁から突出する係止突部と、他方の端縁から凹む係止凹部とを備えており、
    前記規制部が、前記載置領域の一端に配置されて、前記係止突部を挿入可能な規制凹部を有する規制受部と、前記載置領域の他端に配置されて、前記係止凹部の内部に収容されて前記接続部材に係合する規制片とで構成されている、蓄電モジュール。
JP2018049568A 2018-03-16 2018-03-16 接続モジュール、および蓄電モジュール Expired - Fee Related JP7081237B2 (ja)

Priority Applications (5)

Application Number Priority Date Filing Date Title
JP2018049568A JP7081237B2 (ja) 2018-03-16 2018-03-16 接続モジュール、および蓄電モジュール
CN201980016122.0A CN112106221B (zh) 2018-03-16 2019-03-01 连接模块及蓄电模块
PCT/JP2019/008036 WO2019176584A1 (ja) 2018-03-16 2019-03-01 接続モジュール、および蓄電モジュール
DE112019001379.3T DE112019001379T5 (de) 2018-03-16 2019-03-01 Verbindermodul und Energiespeichermodul
US16/979,702 US11289778B2 (en) 2018-03-16 2019-03-01 Connector module and power storage module

Applications Claiming Priority (1)

Application Number Priority Date Filing Date Title
JP2018049568A JP7081237B2 (ja) 2018-03-16 2018-03-16 接続モジュール、および蓄電モジュール

Publications (2)

Publication Number Publication Date
JP2019160736A JP2019160736A (ja) 2019-09-19
JP7081237B2 true JP7081237B2 (ja) 2022-06-07

Family

ID=67907161

Family Applications (1)

Application Number Title Priority Date Filing Date
JP2018049568A Expired - Fee Related JP7081237B2 (ja) 2018-03-16 2018-03-16 接続モジュール、および蓄電モジュール

Country Status (5)

Country Link
US (1) US11289778B2 (ja)
JP (1) JP7081237B2 (ja)
CN (1) CN112106221B (ja)
DE (1) DE112019001379T5 (ja)
WO (1) WO2019176584A1 (ja)

Families Citing this family (7)

* Cited by examiner, † Cited by third party
Publication number Priority date Publication date Assignee Title
KR102769905B1 (ko) 2019-10-24 2025-02-17 주식회사 엘지에너지솔루션 배터리 모듈, 이러한 배터리 모듈을 포함하는 배터리 팩 및 자동차
KR102802982B1 (ko) * 2020-07-06 2025-04-30 주식회사 엘지에너지솔루션 전지 모듈 및 이를 포함하는 전지팩
JP7462772B2 (ja) * 2020-08-13 2024-04-05 エルジー エナジー ソリューション リミテッド 改善された電極リード接続構造を有するバッテリーモジュール、それを含むバッテリーパック及び自動車
CN116742290A (zh) * 2022-03-04 2023-09-12 比亚迪股份有限公司 一种电芯组件、电池包及车辆
JP7759304B2 (ja) * 2022-10-06 2025-10-23 株式会社オートネットワーク技術研究所 配線モジュール
JP7759305B2 (ja) * 2022-10-06 2025-10-23 株式会社オートネットワーク技術研究所 配線モジュール
CN116031587B (zh) * 2023-02-09 2023-06-23 深圳海润新能源科技有限公司 储能装置及用电设备

Citations (9)

* Cited by examiner, † Cited by third party
Publication number Priority date Publication date Assignee Title
JP2006164895A (ja) 2004-12-10 2006-06-22 Nec Lamilion Energy Ltd 電気デバイス集合体および収納ボックス構造体
JP2011524624A (ja) 2008-06-30 2011-09-01 エルジー・ケム・リミテッド バッテリーセル相互連結及び電圧感知アセンブリー及びそこにバッテリーセルアセンブリーを連結する方法
US20120115015A1 (en) 2010-11-05 2012-05-10 Shi-Dong Park Battery module
US20120328908A1 (en) 2011-06-23 2012-12-27 Samsung Sdi Co., Ltd. Battery Pack
WO2015019570A1 (ja) 2013-08-08 2015-02-12 パナソニックIpマネジメント株式会社 電池ユニット
KR101547400B1 (ko) 2013-11-15 2015-08-26 세방전지(주) 에너지 저장장치용 직렬센싱보드
JP2016115545A (ja) 2014-12-15 2016-06-23 矢崎総業株式会社 電池配線モジュール
JP2016157670A (ja) 2015-02-25 2016-09-01 三星エスディアイ株式会社Samsung SDI Co., Ltd. バッテリパック
JP2017098043A (ja) 2015-11-20 2017-06-01 矢崎総業株式会社 電圧検出用端子の保持構造

Family Cites Families (7)

* Cited by examiner, † Cited by third party
Publication number Priority date Publication date Assignee Title
KR102024002B1 (ko) * 2012-07-05 2019-09-23 에스케이이노베이션 주식회사 전지팩
JP6107570B2 (ja) * 2013-09-25 2017-04-05 株式会社デンソー 電池モジュールおよびその組付け方法
US9972815B2 (en) * 2014-02-05 2018-05-15 Ford Global Technologies, Llc Traction battery spacer with retention element
JP6365437B2 (ja) * 2015-06-24 2018-08-01 株式会社オートネットワーク技術研究所 配線モジュールおよび蓄電モジュール
JP2017199501A (ja) * 2016-04-26 2017-11-02 株式会社オートネットワーク技術研究所 接続モジュール
CN107403889B (zh) * 2016-05-20 2020-06-30 莫列斯有限公司 电池连接模块
JP2018014297A (ja) * 2016-07-22 2018-01-25 株式会社オートネットワーク技術研究所 配線モジュール

Patent Citations (9)

* Cited by examiner, † Cited by third party
Publication number Priority date Publication date Assignee Title
JP2006164895A (ja) 2004-12-10 2006-06-22 Nec Lamilion Energy Ltd 電気デバイス集合体および収納ボックス構造体
JP2011524624A (ja) 2008-06-30 2011-09-01 エルジー・ケム・リミテッド バッテリーセル相互連結及び電圧感知アセンブリー及びそこにバッテリーセルアセンブリーを連結する方法
US20120115015A1 (en) 2010-11-05 2012-05-10 Shi-Dong Park Battery module
US20120328908A1 (en) 2011-06-23 2012-12-27 Samsung Sdi Co., Ltd. Battery Pack
WO2015019570A1 (ja) 2013-08-08 2015-02-12 パナソニックIpマネジメント株式会社 電池ユニット
KR101547400B1 (ko) 2013-11-15 2015-08-26 세방전지(주) 에너지 저장장치용 직렬센싱보드
JP2016115545A (ja) 2014-12-15 2016-06-23 矢崎総業株式会社 電池配線モジュール
JP2016157670A (ja) 2015-02-25 2016-09-01 三星エスディアイ株式会社Samsung SDI Co., Ltd. バッテリパック
JP2017098043A (ja) 2015-11-20 2017-06-01 矢崎総業株式会社 電圧検出用端子の保持構造

Also Published As

Publication number Publication date
JP2019160736A (ja) 2019-09-19
CN112106221A (zh) 2020-12-18
DE112019001379T5 (de) 2020-11-26
CN112106221B (zh) 2023-02-17
US20210043908A1 (en) 2021-02-11
US11289778B2 (en) 2022-03-29
WO2019176584A1 (ja) 2019-09-19

Similar Documents

Publication Publication Date Title
JP7081237B2 (ja) 接続モジュール、および蓄電モジュール
US10211434B2 (en) Battery pack
EP3679611B1 (en) Mounting system for battery cells
CN104704649B (zh) 具有汇流条组件的电池模块和包括该电池模块的电池组
KR102317639B1 (ko) 인서트 사출된 버스바 조립체를 포함하는 전지 모듈
CN108780861B (zh) 电源装置
JP6995882B2 (ja) 電池モジュール
KR20160043038A (ko) 축전 모듈
KR102210461B1 (ko) 단위전지모듈과 이를 포함하는 전지모듈 및 전지모듈의 제조방법과 이를 포함하는 전지팩
CN108701793A (zh) 电池组
KR100943833B1 (ko) 중대형 전지팩용 카트리지
KR20190012803A (ko) 배터리 모듈, 이를 포함하는 배터리 팩 및 전력 저장 장치
JP2018133152A (ja) 電池モジュール及び電池パック
CN108336287A (zh) 电池单体及电池组
CN104170122B (zh) 汇流条模块和电源单元
KR102635431B1 (ko) 이차전지용 카트리지 및 이를 포함하는 배터리 모듈
KR20160052018A (ko) 외부 입출력 단자 및 버스 바의 장착 수단을 포함하는 전지모듈
JP2020170619A (ja) 蓄電素子モジュール、蓄電素子ユニット、建物および収容体
US11502361B2 (en) Energy storage apparatus
KR20230102738A (ko) 버스 바 홀더, 버스 바 조립체 및 전지 모듈
KR102490608B1 (ko) 고전압 배터리 서브모듈
CN110875456A (zh) 电池布线模块
KR102012403B1 (ko) 통합형 카트리지 및 이를 포함하는 배터리 팩
JP2023014626A (ja) 蓄電装置
JP2018010836A (ja) 蓄電装置及びその製造方法

Legal Events

Date Code Title Description
A621 Written request for application examination

Free format text: JAPANESE INTERMEDIATE CODE: A621

Effective date: 20201027

A131 Notification of reasons for refusal

Free format text: JAPANESE INTERMEDIATE CODE: A131

Effective date: 20211005

A521 Request for written amendment filed

Free format text: JAPANESE INTERMEDIATE CODE: A523

Effective date: 20211202

TRDD Decision of grant or rejection written
A01 Written decision to grant a patent or to grant a registration (utility model)

Free format text: JAPANESE INTERMEDIATE CODE: A01

Effective date: 20220426

A61 First payment of annual fees (during grant procedure)

Free format text: JAPANESE INTERMEDIATE CODE: A61

Effective date: 20220509

R150 Certificate of patent or registration of utility model

Ref document number: 7081237

Country of ref document: JP

Free format text: JAPANESE INTERMEDIATE CODE: R150

LAPS Cancellation because of no payment of annual fees