JP6910397B2 - 外傷性骨折修復システム及びその方法 - Google Patents

外傷性骨折修復システム及びその方法 Download PDF

Info

Publication number
JP6910397B2
JP6910397B2 JP2019147711A JP2019147711A JP6910397B2 JP 6910397 B2 JP6910397 B2 JP 6910397B2 JP 2019147711 A JP2019147711 A JP 2019147711A JP 2019147711 A JP2019147711 A JP 2019147711A JP 6910397 B2 JP6910397 B2 JP 6910397B2
Authority
JP
Japan
Prior art keywords
implant
truss
bone
struts
dimensional
Prior art date
Legal status (The legal status is an assumption and is not a legal conclusion. Google has not performed a legal analysis and makes no representation as to the accuracy of the status listed.)
Active
Application number
JP2019147711A
Other languages
English (en)
Other versions
JP2019213896A (ja
Inventor
ジェシー・ハント
Original Assignee
フォー−ウェブ・インコーポレイテッド
Priority date (The priority date is an assumption and is not a legal conclusion. Google has not performed a legal analysis and makes no representation as to the accuracy of the date listed.)
Filing date
Publication date
Family has litigation
First worldwide family litigation filed litigation Critical https://patents.darts-ip.com/?family=51538492&utm_source=google_patent&utm_medium=platform_link&utm_campaign=public_patent_search&patent=JP6910397(B2) "Global patent litigation dataset” by Darts-ip is licensed under a Creative Commons Attribution 4.0 International License.
Application filed by フォー−ウェブ・インコーポレイテッド filed Critical フォー−ウェブ・インコーポレイテッド
Publication of JP2019213896A publication Critical patent/JP2019213896A/ja
Application granted granted Critical
Publication of JP6910397B2 publication Critical patent/JP6910397B2/ja
Active legal-status Critical Current
Anticipated expiration legal-status Critical

Links

Images

Classifications

    • AHUMAN NECESSITIES
    • A61MEDICAL OR VETERINARY SCIENCE; HYGIENE
    • A61FFILTERS IMPLANTABLE INTO BLOOD VESSELS; PROSTHESES; DEVICES PROVIDING PATENCY TO, OR PREVENTING COLLAPSING OF, TUBULAR STRUCTURES OF THE BODY, e.g. STENTS; ORTHOPAEDIC, NURSING OR CONTRACEPTIVE DEVICES; FOMENTATION; TREATMENT OR PROTECTION OF EYES OR EARS; BANDAGES, DRESSINGS OR ABSORBENT PADS; FIRST-AID KITS
    • A61F2/00Filters implantable into blood vessels; Prostheses, i.e. artificial substitutes or replacements for parts of the body; Appliances for connecting them with the body; Devices providing patency to, or preventing collapsing of, tubular structures of the body, e.g. stents
    • A61F2/02Prostheses implantable into the body
    • A61F2/30Joints
    • A61F2/30767Special external or bone-contacting surface, e.g. coating for improving bone ingrowth
    • A61F2/30907Nets or sleeves applied to surface of prostheses or in cement
    • AHUMAN NECESSITIES
    • A61MEDICAL OR VETERINARY SCIENCE; HYGIENE
    • A61BDIAGNOSIS; SURGERY; IDENTIFICATION
    • A61B17/00Surgical instruments, devices or methods
    • A61B17/56Surgical instruments or methods for treatment of bones or joints; Devices specially adapted therefor
    • A61B17/58Surgical instruments or methods for treatment of bones or joints; Devices specially adapted therefor for osteosynthesis, e.g. bone plates, screws or setting implements
    • A61B17/68Internal fixation devices, including fasteners and spinal fixators, even if a part thereof projects from the skin
    • A61B17/686Plugs, i.e. elements forming interface between bone hole and implant or fastener, e.g. screw
    • AHUMAN NECESSITIES
    • A61MEDICAL OR VETERINARY SCIENCE; HYGIENE
    • A61BDIAGNOSIS; SURGERY; IDENTIFICATION
    • A61B17/00Surgical instruments, devices or methods
    • A61B17/56Surgical instruments or methods for treatment of bones or joints; Devices specially adapted therefor
    • A61B17/58Surgical instruments or methods for treatment of bones or joints; Devices specially adapted therefor for osteosynthesis, e.g. bone plates, screws or setting implements
    • A61B17/68Internal fixation devices, including fasteners and spinal fixators, even if a part thereof projects from the skin
    • A61B17/80Cortical plates, i.e. bone plates; Instruments for holding or positioning cortical plates, or for compressing bones attached to cortical plates
    • A61B17/8095Wedge osteotomy devices
    • AHUMAN NECESSITIES
    • A61MEDICAL OR VETERINARY SCIENCE; HYGIENE
    • A61BDIAGNOSIS; SURGERY; IDENTIFICATION
    • A61B17/00Surgical instruments, devices or methods
    • A61B17/56Surgical instruments or methods for treatment of bones or joints; Devices specially adapted therefor
    • A61B17/58Surgical instruments or methods for treatment of bones or joints; Devices specially adapted therefor for osteosynthesis, e.g. bone plates, screws or setting implements
    • A61B17/68Internal fixation devices, including fasteners and spinal fixators, even if a part thereof projects from the skin
    • A61B17/84Fasteners therefor or fasteners being internal fixation devices
    • A61B17/86Pins or screws or threaded wires; nuts therefor
    • A61B17/866Material or manufacture
    • AHUMAN NECESSITIES
    • A61MEDICAL OR VETERINARY SCIENCE; HYGIENE
    • A61BDIAGNOSIS; SURGERY; IDENTIFICATION
    • A61B17/00Surgical instruments, devices or methods
    • A61B17/56Surgical instruments or methods for treatment of bones or joints; Devices specially adapted therefor
    • A61B17/58Surgical instruments or methods for treatment of bones or joints; Devices specially adapted therefor for osteosynthesis, e.g. bone plates, screws or setting implements
    • A61B17/68Internal fixation devices, including fasteners and spinal fixators, even if a part thereof projects from the skin
    • A61B17/84Fasteners therefor or fasteners being internal fixation devices
    • A61B17/86Pins or screws or threaded wires; nuts therefor
    • A61B17/869Pins or screws or threaded wires; nuts therefor characterised by an open form, e.g. wire helix
    • AHUMAN NECESSITIES
    • A61MEDICAL OR VETERINARY SCIENCE; HYGIENE
    • A61FFILTERS IMPLANTABLE INTO BLOOD VESSELS; PROSTHESES; DEVICES PROVIDING PATENCY TO, OR PREVENTING COLLAPSING OF, TUBULAR STRUCTURES OF THE BODY, e.g. STENTS; ORTHOPAEDIC, NURSING OR CONTRACEPTIVE DEVICES; FOMENTATION; TREATMENT OR PROTECTION OF EYES OR EARS; BANDAGES, DRESSINGS OR ABSORBENT PADS; FIRST-AID KITS
    • A61F2/00Filters implantable into blood vessels; Prostheses, i.e. artificial substitutes or replacements for parts of the body; Appliances for connecting them with the body; Devices providing patency to, or preventing collapsing of, tubular structures of the body, e.g. stents
    • A61F2/02Prostheses implantable into the body
    • A61F2/30Joints
    • A61F2/44Joints for the spine, e.g. vertebrae, spinal discs
    • A61F2/4455Joints for the spine, e.g. vertebrae, spinal discs for the fusion of spinal bodies, e.g. intervertebral fusion of adjacent spinal bodies, e.g. fusion cages
    • AHUMAN NECESSITIES
    • A61MEDICAL OR VETERINARY SCIENCE; HYGIENE
    • A61FFILTERS IMPLANTABLE INTO BLOOD VESSELS; PROSTHESES; DEVICES PROVIDING PATENCY TO, OR PREVENTING COLLAPSING OF, TUBULAR STRUCTURES OF THE BODY, e.g. STENTS; ORTHOPAEDIC, NURSING OR CONTRACEPTIVE DEVICES; FOMENTATION; TREATMENT OR PROTECTION OF EYES OR EARS; BANDAGES, DRESSINGS OR ABSORBENT PADS; FIRST-AID KITS
    • A61F2/00Filters implantable into blood vessels; Prostheses, i.e. artificial substitutes or replacements for parts of the body; Appliances for connecting them with the body; Devices providing patency to, or preventing collapsing of, tubular structures of the body, e.g. stents
    • A61F2/02Prostheses implantable into the body
    • A61F2/30Joints
    • A61F2/44Joints for the spine, e.g. vertebrae, spinal discs
    • A61F2/4455Joints for the spine, e.g. vertebrae, spinal discs for the fusion of spinal bodies, e.g. intervertebral fusion of adjacent spinal bodies, e.g. fusion cages
    • A61F2/447Joints for the spine, e.g. vertebrae, spinal discs for the fusion of spinal bodies, e.g. intervertebral fusion of adjacent spinal bodies, e.g. fusion cages substantially parallelepipedal, e.g. having a rectangular or trapezoidal cross-section
    • AHUMAN NECESSITIES
    • A61MEDICAL OR VETERINARY SCIENCE; HYGIENE
    • A61FFILTERS IMPLANTABLE INTO BLOOD VESSELS; PROSTHESES; DEVICES PROVIDING PATENCY TO, OR PREVENTING COLLAPSING OF, TUBULAR STRUCTURES OF THE BODY, e.g. STENTS; ORTHOPAEDIC, NURSING OR CONTRACEPTIVE DEVICES; FOMENTATION; TREATMENT OR PROTECTION OF EYES OR EARS; BANDAGES, DRESSINGS OR ABSORBENT PADS; FIRST-AID KITS
    • A61F2/00Filters implantable into blood vessels; Prostheses, i.e. artificial substitutes or replacements for parts of the body; Appliances for connecting them with the body; Devices providing patency to, or preventing collapsing of, tubular structures of the body, e.g. stents
    • A61F2/02Prostheses implantable into the body
    • A61F2/30Joints
    • A61F2/46Special tools for implanting artificial joints
    • A61F2/4603Special tools for implanting artificial joints for insertion or extraction of endoprosthetic joints or of accessories thereof
    • A61F2/4611Special tools for implanting artificial joints for insertion or extraction of endoprosthetic joints or of accessories thereof of spinal prostheses
    • AHUMAN NECESSITIES
    • A61MEDICAL OR VETERINARY SCIENCE; HYGIENE
    • A61FFILTERS IMPLANTABLE INTO BLOOD VESSELS; PROSTHESES; DEVICES PROVIDING PATENCY TO, OR PREVENTING COLLAPSING OF, TUBULAR STRUCTURES OF THE BODY, e.g. STENTS; ORTHOPAEDIC, NURSING OR CONTRACEPTIVE DEVICES; FOMENTATION; TREATMENT OR PROTECTION OF EYES OR EARS; BANDAGES, DRESSINGS OR ABSORBENT PADS; FIRST-AID KITS
    • A61F2/00Filters implantable into blood vessels; Prostheses, i.e. artificial substitutes or replacements for parts of the body; Appliances for connecting them with the body; Devices providing patency to, or preventing collapsing of, tubular structures of the body, e.g. stents
    • A61F2/02Prostheses implantable into the body
    • A61F2/28Bones
    • A61F2/2803Bones for mandibular reconstruction
    • AHUMAN NECESSITIES
    • A61MEDICAL OR VETERINARY SCIENCE; HYGIENE
    • A61FFILTERS IMPLANTABLE INTO BLOOD VESSELS; PROSTHESES; DEVICES PROVIDING PATENCY TO, OR PREVENTING COLLAPSING OF, TUBULAR STRUCTURES OF THE BODY, e.g. STENTS; ORTHOPAEDIC, NURSING OR CONTRACEPTIVE DEVICES; FOMENTATION; TREATMENT OR PROTECTION OF EYES OR EARS; BANDAGES, DRESSINGS OR ABSORBENT PADS; FIRST-AID KITS
    • A61F2/00Filters implantable into blood vessels; Prostheses, i.e. artificial substitutes or replacements for parts of the body; Appliances for connecting them with the body; Devices providing patency to, or preventing collapsing of, tubular structures of the body, e.g. stents
    • A61F2/02Prostheses implantable into the body
    • A61F2/28Bones
    • A61F2002/2835Bone graft implants for filling a bony defect or an endoprosthesis cavity, e.g. by synthetic material or biological material
    • AHUMAN NECESSITIES
    • A61MEDICAL OR VETERINARY SCIENCE; HYGIENE
    • A61FFILTERS IMPLANTABLE INTO BLOOD VESSELS; PROSTHESES; DEVICES PROVIDING PATENCY TO, OR PREVENTING COLLAPSING OF, TUBULAR STRUCTURES OF THE BODY, e.g. STENTS; ORTHOPAEDIC, NURSING OR CONTRACEPTIVE DEVICES; FOMENTATION; TREATMENT OR PROTECTION OF EYES OR EARS; BANDAGES, DRESSINGS OR ABSORBENT PADS; FIRST-AID KITS
    • A61F2/00Filters implantable into blood vessels; Prostheses, i.e. artificial substitutes or replacements for parts of the body; Appliances for connecting them with the body; Devices providing patency to, or preventing collapsing of, tubular structures of the body, e.g. stents
    • A61F2/02Prostheses implantable into the body
    • A61F2/30Joints
    • A61F2002/30001Additional features of subject-matter classified in A61F2/28, A61F2/30 and subgroups thereof
    • A61F2002/30108Shapes
    • A61F2002/3011Cross-sections or two-dimensional shapes
    • A61F2002/30138Convex polygonal shapes
    • A61F2002/30153Convex polygonal shapes rectangular
    • AHUMAN NECESSITIES
    • A61MEDICAL OR VETERINARY SCIENCE; HYGIENE
    • A61FFILTERS IMPLANTABLE INTO BLOOD VESSELS; PROSTHESES; DEVICES PROVIDING PATENCY TO, OR PREVENTING COLLAPSING OF, TUBULAR STRUCTURES OF THE BODY, e.g. STENTS; ORTHOPAEDIC, NURSING OR CONTRACEPTIVE DEVICES; FOMENTATION; TREATMENT OR PROTECTION OF EYES OR EARS; BANDAGES, DRESSINGS OR ABSORBENT PADS; FIRST-AID KITS
    • A61F2/00Filters implantable into blood vessels; Prostheses, i.e. artificial substitutes or replacements for parts of the body; Appliances for connecting them with the body; Devices providing patency to, or preventing collapsing of, tubular structures of the body, e.g. stents
    • A61F2/02Prostheses implantable into the body
    • A61F2/30Joints
    • A61F2002/30001Additional features of subject-matter classified in A61F2/28, A61F2/30 and subgroups thereof
    • A61F2002/30108Shapes
    • A61F2002/3011Cross-sections or two-dimensional shapes
    • A61F2002/30138Convex polygonal shapes
    • A61F2002/30156Convex polygonal shapes triangular
    • AHUMAN NECESSITIES
    • A61MEDICAL OR VETERINARY SCIENCE; HYGIENE
    • A61FFILTERS IMPLANTABLE INTO BLOOD VESSELS; PROSTHESES; DEVICES PROVIDING PATENCY TO, OR PREVENTING COLLAPSING OF, TUBULAR STRUCTURES OF THE BODY, e.g. STENTS; ORTHOPAEDIC, NURSING OR CONTRACEPTIVE DEVICES; FOMENTATION; TREATMENT OR PROTECTION OF EYES OR EARS; BANDAGES, DRESSINGS OR ABSORBENT PADS; FIRST-AID KITS
    • A61F2/00Filters implantable into blood vessels; Prostheses, i.e. artificial substitutes or replacements for parts of the body; Appliances for connecting them with the body; Devices providing patency to, or preventing collapsing of, tubular structures of the body, e.g. stents
    • A61F2/02Prostheses implantable into the body
    • A61F2/30Joints
    • A61F2002/30001Additional features of subject-matter classified in A61F2/28, A61F2/30 and subgroups thereof
    • A61F2002/30108Shapes
    • A61F2002/3011Cross-sections or two-dimensional shapes
    • A61F2002/30138Convex polygonal shapes
    • A61F2002/30158Convex polygonal shapes trapezoidal
    • AHUMAN NECESSITIES
    • A61MEDICAL OR VETERINARY SCIENCE; HYGIENE
    • A61FFILTERS IMPLANTABLE INTO BLOOD VESSELS; PROSTHESES; DEVICES PROVIDING PATENCY TO, OR PREVENTING COLLAPSING OF, TUBULAR STRUCTURES OF THE BODY, e.g. STENTS; ORTHOPAEDIC, NURSING OR CONTRACEPTIVE DEVICES; FOMENTATION; TREATMENT OR PROTECTION OF EYES OR EARS; BANDAGES, DRESSINGS OR ABSORBENT PADS; FIRST-AID KITS
    • A61F2/00Filters implantable into blood vessels; Prostheses, i.e. artificial substitutes or replacements for parts of the body; Appliances for connecting them with the body; Devices providing patency to, or preventing collapsing of, tubular structures of the body, e.g. stents
    • A61F2/02Prostheses implantable into the body
    • A61F2/30Joints
    • A61F2002/30001Additional features of subject-matter classified in A61F2/28, A61F2/30 and subgroups thereof
    • A61F2002/30108Shapes
    • A61F2002/3011Cross-sections or two-dimensional shapes
    • A61F2002/30159Concave polygonal shapes
    • A61F2002/30179X-shaped
    • AHUMAN NECESSITIES
    • A61MEDICAL OR VETERINARY SCIENCE; HYGIENE
    • A61FFILTERS IMPLANTABLE INTO BLOOD VESSELS; PROSTHESES; DEVICES PROVIDING PATENCY TO, OR PREVENTING COLLAPSING OF, TUBULAR STRUCTURES OF THE BODY, e.g. STENTS; ORTHOPAEDIC, NURSING OR CONTRACEPTIVE DEVICES; FOMENTATION; TREATMENT OR PROTECTION OF EYES OR EARS; BANDAGES, DRESSINGS OR ABSORBENT PADS; FIRST-AID KITS
    • A61F2/00Filters implantable into blood vessels; Prostheses, i.e. artificial substitutes or replacements for parts of the body; Appliances for connecting them with the body; Devices providing patency to, or preventing collapsing of, tubular structures of the body, e.g. stents
    • A61F2/02Prostheses implantable into the body
    • A61F2/30Joints
    • A61F2002/30001Additional features of subject-matter classified in A61F2/28, A61F2/30 and subgroups thereof
    • A61F2002/30108Shapes
    • A61F2002/30199Three-dimensional shapes
    • A61F2002/30273Three-dimensional shapes pyramidal
    • AHUMAN NECESSITIES
    • A61MEDICAL OR VETERINARY SCIENCE; HYGIENE
    • A61FFILTERS IMPLANTABLE INTO BLOOD VESSELS; PROSTHESES; DEVICES PROVIDING PATENCY TO, OR PREVENTING COLLAPSING OF, TUBULAR STRUCTURES OF THE BODY, e.g. STENTS; ORTHOPAEDIC, NURSING OR CONTRACEPTIVE DEVICES; FOMENTATION; TREATMENT OR PROTECTION OF EYES OR EARS; BANDAGES, DRESSINGS OR ABSORBENT PADS; FIRST-AID KITS
    • A61F2/00Filters implantable into blood vessels; Prostheses, i.e. artificial substitutes or replacements for parts of the body; Appliances for connecting them with the body; Devices providing patency to, or preventing collapsing of, tubular structures of the body, e.g. stents
    • A61F2/02Prostheses implantable into the body
    • A61F2/30Joints
    • A61F2002/30001Additional features of subject-matter classified in A61F2/28, A61F2/30 and subgroups thereof
    • A61F2002/30108Shapes
    • A61F2002/30199Three-dimensional shapes
    • A61F2002/30273Three-dimensional shapes pyramidal
    • A61F2002/30275Three-dimensional shapes pyramidal tetrahedral, i.e. having a triangular basis
    • AHUMAN NECESSITIES
    • A61MEDICAL OR VETERINARY SCIENCE; HYGIENE
    • A61FFILTERS IMPLANTABLE INTO BLOOD VESSELS; PROSTHESES; DEVICES PROVIDING PATENCY TO, OR PREVENTING COLLAPSING OF, TUBULAR STRUCTURES OF THE BODY, e.g. STENTS; ORTHOPAEDIC, NURSING OR CONTRACEPTIVE DEVICES; FOMENTATION; TREATMENT OR PROTECTION OF EYES OR EARS; BANDAGES, DRESSINGS OR ABSORBENT PADS; FIRST-AID KITS
    • A61F2/00Filters implantable into blood vessels; Prostheses, i.e. artificial substitutes or replacements for parts of the body; Appliances for connecting them with the body; Devices providing patency to, or preventing collapsing of, tubular structures of the body, e.g. stents
    • A61F2/02Prostheses implantable into the body
    • A61F2/30Joints
    • A61F2002/30001Additional features of subject-matter classified in A61F2/28, A61F2/30 and subgroups thereof
    • A61F2002/30108Shapes
    • A61F2002/30199Three-dimensional shapes
    • A61F2002/3028Three-dimensional shapes polyhedral different from parallelepipedal and pyramidal
    • AHUMAN NECESSITIES
    • A61MEDICAL OR VETERINARY SCIENCE; HYGIENE
    • A61FFILTERS IMPLANTABLE INTO BLOOD VESSELS; PROSTHESES; DEVICES PROVIDING PATENCY TO, OR PREVENTING COLLAPSING OF, TUBULAR STRUCTURES OF THE BODY, e.g. STENTS; ORTHOPAEDIC, NURSING OR CONTRACEPTIVE DEVICES; FOMENTATION; TREATMENT OR PROTECTION OF EYES OR EARS; BANDAGES, DRESSINGS OR ABSORBENT PADS; FIRST-AID KITS
    • A61F2/00Filters implantable into blood vessels; Prostheses, i.e. artificial substitutes or replacements for parts of the body; Appliances for connecting them with the body; Devices providing patency to, or preventing collapsing of, tubular structures of the body, e.g. stents
    • A61F2/02Prostheses implantable into the body
    • A61F2/30Joints
    • A61F2002/30001Additional features of subject-matter classified in A61F2/28, A61F2/30 and subgroups thereof
    • A61F2002/30108Shapes
    • A61F2002/30199Three-dimensional shapes
    • A61F2002/3028Three-dimensional shapes polyhedral different from parallelepipedal and pyramidal
    • A61F2002/30281Three-dimensional shapes polyhedral different from parallelepipedal and pyramidal wedge-shaped
    • AHUMAN NECESSITIES
    • A61MEDICAL OR VETERINARY SCIENCE; HYGIENE
    • A61FFILTERS IMPLANTABLE INTO BLOOD VESSELS; PROSTHESES; DEVICES PROVIDING PATENCY TO, OR PREVENTING COLLAPSING OF, TUBULAR STRUCTURES OF THE BODY, e.g. STENTS; ORTHOPAEDIC, NURSING OR CONTRACEPTIVE DEVICES; FOMENTATION; TREATMENT OR PROTECTION OF EYES OR EARS; BANDAGES, DRESSINGS OR ABSORBENT PADS; FIRST-AID KITS
    • A61F2/00Filters implantable into blood vessels; Prostheses, i.e. artificial substitutes or replacements for parts of the body; Appliances for connecting them with the body; Devices providing patency to, or preventing collapsing of, tubular structures of the body, e.g. stents
    • A61F2/02Prostheses implantable into the body
    • A61F2/30Joints
    • A61F2002/30001Additional features of subject-matter classified in A61F2/28, A61F2/30 and subgroups thereof
    • A61F2002/30316The prosthesis having different structural features at different locations within the same prosthesis; Connections between prosthetic parts; Special structural features of bone or joint prostheses not otherwise provided for
    • A61F2002/30535Special structural features of bone or joint prostheses not otherwise provided for
    • A61F2002/30593Special structural features of bone or joint prostheses not otherwise provided for hollow
    • AHUMAN NECESSITIES
    • A61MEDICAL OR VETERINARY SCIENCE; HYGIENE
    • A61FFILTERS IMPLANTABLE INTO BLOOD VESSELS; PROSTHESES; DEVICES PROVIDING PATENCY TO, OR PREVENTING COLLAPSING OF, TUBULAR STRUCTURES OF THE BODY, e.g. STENTS; ORTHOPAEDIC, NURSING OR CONTRACEPTIVE DEVICES; FOMENTATION; TREATMENT OR PROTECTION OF EYES OR EARS; BANDAGES, DRESSINGS OR ABSORBENT PADS; FIRST-AID KITS
    • A61F2/00Filters implantable into blood vessels; Prostheses, i.e. artificial substitutes or replacements for parts of the body; Appliances for connecting them with the body; Devices providing patency to, or preventing collapsing of, tubular structures of the body, e.g. stents
    • A61F2/02Prostheses implantable into the body
    • A61F2/30Joints
    • A61F2002/30001Additional features of subject-matter classified in A61F2/28, A61F2/30 and subgroups thereof
    • A61F2002/30316The prosthesis having different structural features at different locations within the same prosthesis; Connections between prosthetic parts; Special structural features of bone or joint prostheses not otherwise provided for
    • A61F2002/30535Special structural features of bone or joint prostheses not otherwise provided for
    • A61F2002/30599Special structural features of bone or joint prostheses not otherwise provided for stackable
    • AHUMAN NECESSITIES
    • A61MEDICAL OR VETERINARY SCIENCE; HYGIENE
    • A61FFILTERS IMPLANTABLE INTO BLOOD VESSELS; PROSTHESES; DEVICES PROVIDING PATENCY TO, OR PREVENTING COLLAPSING OF, TUBULAR STRUCTURES OF THE BODY, e.g. STENTS; ORTHOPAEDIC, NURSING OR CONTRACEPTIVE DEVICES; FOMENTATION; TREATMENT OR PROTECTION OF EYES OR EARS; BANDAGES, DRESSINGS OR ABSORBENT PADS; FIRST-AID KITS
    • A61F2/00Filters implantable into blood vessels; Prostheses, i.e. artificial substitutes or replacements for parts of the body; Appliances for connecting them with the body; Devices providing patency to, or preventing collapsing of, tubular structures of the body, e.g. stents
    • A61F2/02Prostheses implantable into the body
    • A61F2/30Joints
    • A61F2/30721Accessories
    • A61F2/30734Modular inserts, sleeves or augments, e.g. placed on proximal part of stem for fixation purposes or wedges for bridging a bone defect
    • A61F2002/30736Augments or augmentation pieces, e.g. wedges or blocks for bridging a bone defect
    • AHUMAN NECESSITIES
    • A61MEDICAL OR VETERINARY SCIENCE; HYGIENE
    • A61FFILTERS IMPLANTABLE INTO BLOOD VESSELS; PROSTHESES; DEVICES PROVIDING PATENCY TO, OR PREVENTING COLLAPSING OF, TUBULAR STRUCTURES OF THE BODY, e.g. STENTS; ORTHOPAEDIC, NURSING OR CONTRACEPTIVE DEVICES; FOMENTATION; TREATMENT OR PROTECTION OF EYES OR EARS; BANDAGES, DRESSINGS OR ABSORBENT PADS; FIRST-AID KITS
    • A61F2/00Filters implantable into blood vessels; Prostheses, i.e. artificial substitutes or replacements for parts of the body; Appliances for connecting them with the body; Devices providing patency to, or preventing collapsing of, tubular structures of the body, e.g. stents
    • A61F2/02Prostheses implantable into the body
    • A61F2/30Joints
    • A61F2/30767Special external or bone-contacting surface, e.g. coating for improving bone ingrowth
    • A61F2/30771Special external or bone-contacting surface, e.g. coating for improving bone ingrowth applied in original prostheses, e.g. holes or grooves
    • A61F2002/30772Apertures or holes, e.g. of circular cross section
    • AHUMAN NECESSITIES
    • A61MEDICAL OR VETERINARY SCIENCE; HYGIENE
    • A61FFILTERS IMPLANTABLE INTO BLOOD VESSELS; PROSTHESES; DEVICES PROVIDING PATENCY TO, OR PREVENTING COLLAPSING OF, TUBULAR STRUCTURES OF THE BODY, e.g. STENTS; ORTHOPAEDIC, NURSING OR CONTRACEPTIVE DEVICES; FOMENTATION; TREATMENT OR PROTECTION OF EYES OR EARS; BANDAGES, DRESSINGS OR ABSORBENT PADS; FIRST-AID KITS
    • A61F2/00Filters implantable into blood vessels; Prostheses, i.e. artificial substitutes or replacements for parts of the body; Appliances for connecting them with the body; Devices providing patency to, or preventing collapsing of, tubular structures of the body, e.g. stents
    • A61F2/02Prostheses implantable into the body
    • A61F2/30Joints
    • A61F2/30767Special external or bone-contacting surface, e.g. coating for improving bone ingrowth
    • A61F2/30771Special external or bone-contacting surface, e.g. coating for improving bone ingrowth applied in original prostheses, e.g. holes or grooves
    • A61F2002/30841Sharp anchoring protrusions for impaction into the bone, e.g. sharp pins, spikes
    • AHUMAN NECESSITIES
    • A61MEDICAL OR VETERINARY SCIENCE; HYGIENE
    • A61FFILTERS IMPLANTABLE INTO BLOOD VESSELS; PROSTHESES; DEVICES PROVIDING PATENCY TO, OR PREVENTING COLLAPSING OF, TUBULAR STRUCTURES OF THE BODY, e.g. STENTS; ORTHOPAEDIC, NURSING OR CONTRACEPTIVE DEVICES; FOMENTATION; TREATMENT OR PROTECTION OF EYES OR EARS; BANDAGES, DRESSINGS OR ABSORBENT PADS; FIRST-AID KITS
    • A61F2/00Filters implantable into blood vessels; Prostheses, i.e. artificial substitutes or replacements for parts of the body; Appliances for connecting them with the body; Devices providing patency to, or preventing collapsing of, tubular structures of the body, e.g. stents
    • A61F2/02Prostheses implantable into the body
    • A61F2/30Joints
    • A61F2/30767Special external or bone-contacting surface, e.g. coating for improving bone ingrowth
    • A61F2/30771Special external or bone-contacting surface, e.g. coating for improving bone ingrowth applied in original prostheses, e.g. holes or grooves
    • A61F2002/3085Special external or bone-contacting surface, e.g. coating for improving bone ingrowth applied in original prostheses, e.g. holes or grooves with a threaded, e.g. self-tapping, bone-engaging surface, e.g. external surface
    • AHUMAN NECESSITIES
    • A61MEDICAL OR VETERINARY SCIENCE; HYGIENE
    • A61FFILTERS IMPLANTABLE INTO BLOOD VESSELS; PROSTHESES; DEVICES PROVIDING PATENCY TO, OR PREVENTING COLLAPSING OF, TUBULAR STRUCTURES OF THE BODY, e.g. STENTS; ORTHOPAEDIC, NURSING OR CONTRACEPTIVE DEVICES; FOMENTATION; TREATMENT OR PROTECTION OF EYES OR EARS; BANDAGES, DRESSINGS OR ABSORBENT PADS; FIRST-AID KITS
    • A61F2/00Filters implantable into blood vessels; Prostheses, i.e. artificial substitutes or replacements for parts of the body; Appliances for connecting them with the body; Devices providing patency to, or preventing collapsing of, tubular structures of the body, e.g. stents
    • A61F2/02Prostheses implantable into the body
    • A61F2/30Joints
    • A61F2/30767Special external or bone-contacting surface, e.g. coating for improving bone ingrowth
    • A61F2/30907Nets or sleeves applied to surface of prostheses or in cement
    • A61F2002/30909Nets
    • A61F2002/30914Details of the mesh structure, e.g. disposition of the woven warp and weft wires
    • AHUMAN NECESSITIES
    • A61MEDICAL OR VETERINARY SCIENCE; HYGIENE
    • A61FFILTERS IMPLANTABLE INTO BLOOD VESSELS; PROSTHESES; DEVICES PROVIDING PATENCY TO, OR PREVENTING COLLAPSING OF, TUBULAR STRUCTURES OF THE BODY, e.g. STENTS; ORTHOPAEDIC, NURSING OR CONTRACEPTIVE DEVICES; FOMENTATION; TREATMENT OR PROTECTION OF EYES OR EARS; BANDAGES, DRESSINGS OR ABSORBENT PADS; FIRST-AID KITS
    • A61F2/00Filters implantable into blood vessels; Prostheses, i.e. artificial substitutes or replacements for parts of the body; Appliances for connecting them with the body; Devices providing patency to, or preventing collapsing of, tubular structures of the body, e.g. stents
    • A61F2/02Prostheses implantable into the body
    • A61F2/30Joints
    • A61F2/30767Special external or bone-contacting surface, e.g. coating for improving bone ingrowth
    • A61F2002/3092Special external or bone-contacting surface, e.g. coating for improving bone ingrowth having an open-celled or open-pored structure
    • AHUMAN NECESSITIES
    • A61MEDICAL OR VETERINARY SCIENCE; HYGIENE
    • A61FFILTERS IMPLANTABLE INTO BLOOD VESSELS; PROSTHESES; DEVICES PROVIDING PATENCY TO, OR PREVENTING COLLAPSING OF, TUBULAR STRUCTURES OF THE BODY, e.g. STENTS; ORTHOPAEDIC, NURSING OR CONTRACEPTIVE DEVICES; FOMENTATION; TREATMENT OR PROTECTION OF EYES OR EARS; BANDAGES, DRESSINGS OR ABSORBENT PADS; FIRST-AID KITS
    • A61F2/00Filters implantable into blood vessels; Prostheses, i.e. artificial substitutes or replacements for parts of the body; Appliances for connecting them with the body; Devices providing patency to, or preventing collapsing of, tubular structures of the body, e.g. stents
    • A61F2/02Prostheses implantable into the body
    • A61F2/30Joints
    • A61F2/3094Designing or manufacturing processes
    • A61F2/30942Designing or manufacturing processes for designing or making customized prostheses, e.g. using templates, CT or NMR scans, finite-element analysis or CAD-CAM techniques
    • A61F2002/30943Designing or manufacturing processes for designing or making customized prostheses, e.g. using templates, CT or NMR scans, finite-element analysis or CAD-CAM techniques using mathematical models
    • AHUMAN NECESSITIES
    • A61MEDICAL OR VETERINARY SCIENCE; HYGIENE
    • A61FFILTERS IMPLANTABLE INTO BLOOD VESSELS; PROSTHESES; DEVICES PROVIDING PATENCY TO, OR PREVENTING COLLAPSING OF, TUBULAR STRUCTURES OF THE BODY, e.g. STENTS; ORTHOPAEDIC, NURSING OR CONTRACEPTIVE DEVICES; FOMENTATION; TREATMENT OR PROTECTION OF EYES OR EARS; BANDAGES, DRESSINGS OR ABSORBENT PADS; FIRST-AID KITS
    • A61F2/00Filters implantable into blood vessels; Prostheses, i.e. artificial substitutes or replacements for parts of the body; Appliances for connecting them with the body; Devices providing patency to, or preventing collapsing of, tubular structures of the body, e.g. stents
    • A61F2/02Prostheses implantable into the body
    • A61F2/30Joints
    • A61F2/3094Designing or manufacturing processes
    • A61F2/30942Designing or manufacturing processes for designing or making customized prostheses, e.g. using templates, CT or NMR scans, finite-element analysis or CAD-CAM techniques
    • A61F2002/30952Designing or manufacturing processes for designing or making customized prostheses, e.g. using templates, CT or NMR scans, finite-element analysis or CAD-CAM techniques using CAD-CAM techniques or NC-techniques
    • AHUMAN NECESSITIES
    • A61MEDICAL OR VETERINARY SCIENCE; HYGIENE
    • A61FFILTERS IMPLANTABLE INTO BLOOD VESSELS; PROSTHESES; DEVICES PROVIDING PATENCY TO, OR PREVENTING COLLAPSING OF, TUBULAR STRUCTURES OF THE BODY, e.g. STENTS; ORTHOPAEDIC, NURSING OR CONTRACEPTIVE DEVICES; FOMENTATION; TREATMENT OR PROTECTION OF EYES OR EARS; BANDAGES, DRESSINGS OR ABSORBENT PADS; FIRST-AID KITS
    • A61F2/00Filters implantable into blood vessels; Prostheses, i.e. artificial substitutes or replacements for parts of the body; Appliances for connecting them with the body; Devices providing patency to, or preventing collapsing of, tubular structures of the body, e.g. stents
    • A61F2/02Prostheses implantable into the body
    • A61F2/30Joints
    • A61F2/3094Designing or manufacturing processes
    • A61F2/30942Designing or manufacturing processes for designing or making customized prostheses, e.g. using templates, CT or NMR scans, finite-element analysis or CAD-CAM techniques
    • A61F2002/30953Designing or manufacturing processes for designing or making customized prostheses, e.g. using templates, CT or NMR scans, finite-element analysis or CAD-CAM techniques using a remote computer network, e.g. Internet
    • AHUMAN NECESSITIES
    • A61MEDICAL OR VETERINARY SCIENCE; HYGIENE
    • A61FFILTERS IMPLANTABLE INTO BLOOD VESSELS; PROSTHESES; DEVICES PROVIDING PATENCY TO, OR PREVENTING COLLAPSING OF, TUBULAR STRUCTURES OF THE BODY, e.g. STENTS; ORTHOPAEDIC, NURSING OR CONTRACEPTIVE DEVICES; FOMENTATION; TREATMENT OR PROTECTION OF EYES OR EARS; BANDAGES, DRESSINGS OR ABSORBENT PADS; FIRST-AID KITS
    • A61F2/00Filters implantable into blood vessels; Prostheses, i.e. artificial substitutes or replacements for parts of the body; Appliances for connecting them with the body; Devices providing patency to, or preventing collapsing of, tubular structures of the body, e.g. stents
    • A61F2/02Prostheses implantable into the body
    • A61F2/30Joints
    • A61F2/3094Designing or manufacturing processes
    • A61F2/30942Designing or manufacturing processes for designing or making customized prostheses, e.g. using templates, CT or NMR scans, finite-element analysis or CAD-CAM techniques
    • A61F2002/30957Designing or manufacturing processes for designing or making customized prostheses, e.g. using templates, CT or NMR scans, finite-element analysis or CAD-CAM techniques using a positive or a negative model, e.g. moulds
    • AHUMAN NECESSITIES
    • A61MEDICAL OR VETERINARY SCIENCE; HYGIENE
    • A61FFILTERS IMPLANTABLE INTO BLOOD VESSELS; PROSTHESES; DEVICES PROVIDING PATENCY TO, OR PREVENTING COLLAPSING OF, TUBULAR STRUCTURES OF THE BODY, e.g. STENTS; ORTHOPAEDIC, NURSING OR CONTRACEPTIVE DEVICES; FOMENTATION; TREATMENT OR PROTECTION OF EYES OR EARS; BANDAGES, DRESSINGS OR ABSORBENT PADS; FIRST-AID KITS
    • A61F2/00Filters implantable into blood vessels; Prostheses, i.e. artificial substitutes or replacements for parts of the body; Appliances for connecting them with the body; Devices providing patency to, or preventing collapsing of, tubular structures of the body, e.g. stents
    • A61F2/02Prostheses implantable into the body
    • A61F2/30Joints
    • A61F2/3094Designing or manufacturing processes
    • A61F2/30942Designing or manufacturing processes for designing or making customized prostheses, e.g. using templates, CT or NMR scans, finite-element analysis or CAD-CAM techniques
    • A61F2002/30962Designing or manufacturing processes for designing or making customized prostheses, e.g. using templates, CT or NMR scans, finite-element analysis or CAD-CAM techniques using stereolithography
    • AHUMAN NECESSITIES
    • A61MEDICAL OR VETERINARY SCIENCE; HYGIENE
    • A61FFILTERS IMPLANTABLE INTO BLOOD VESSELS; PROSTHESES; DEVICES PROVIDING PATENCY TO, OR PREVENTING COLLAPSING OF, TUBULAR STRUCTURES OF THE BODY, e.g. STENTS; ORTHOPAEDIC, NURSING OR CONTRACEPTIVE DEVICES; FOMENTATION; TREATMENT OR PROTECTION OF EYES OR EARS; BANDAGES, DRESSINGS OR ABSORBENT PADS; FIRST-AID KITS
    • A61F2/00Filters implantable into blood vessels; Prostheses, i.e. artificial substitutes or replacements for parts of the body; Appliances for connecting them with the body; Devices providing patency to, or preventing collapsing of, tubular structures of the body, e.g. stents
    • A61F2/02Prostheses implantable into the body
    • A61F2/30Joints
    • A61F2/3094Designing or manufacturing processes
    • A61F2002/30968Sintering
    • AHUMAN NECESSITIES
    • A61MEDICAL OR VETERINARY SCIENCE; HYGIENE
    • A61FFILTERS IMPLANTABLE INTO BLOOD VESSELS; PROSTHESES; DEVICES PROVIDING PATENCY TO, OR PREVENTING COLLAPSING OF, TUBULAR STRUCTURES OF THE BODY, e.g. STENTS; ORTHOPAEDIC, NURSING OR CONTRACEPTIVE DEVICES; FOMENTATION; TREATMENT OR PROTECTION OF EYES OR EARS; BANDAGES, DRESSINGS OR ABSORBENT PADS; FIRST-AID KITS
    • A61F2/00Filters implantable into blood vessels; Prostheses, i.e. artificial substitutes or replacements for parts of the body; Appliances for connecting them with the body; Devices providing patency to, or preventing collapsing of, tubular structures of the body, e.g. stents
    • A61F2/02Prostheses implantable into the body
    • A61F2/30Joints
    • A61F2/3094Designing or manufacturing processes
    • A61F2002/3097Designing or manufacturing processes using laser
    • AHUMAN NECESSITIES
    • A61MEDICAL OR VETERINARY SCIENCE; HYGIENE
    • A61FFILTERS IMPLANTABLE INTO BLOOD VESSELS; PROSTHESES; DEVICES PROVIDING PATENCY TO, OR PREVENTING COLLAPSING OF, TUBULAR STRUCTURES OF THE BODY, e.g. STENTS; ORTHOPAEDIC, NURSING OR CONTRACEPTIVE DEVICES; FOMENTATION; TREATMENT OR PROTECTION OF EYES OR EARS; BANDAGES, DRESSINGS OR ABSORBENT PADS; FIRST-AID KITS
    • A61F2/00Filters implantable into blood vessels; Prostheses, i.e. artificial substitutes or replacements for parts of the body; Appliances for connecting them with the body; Devices providing patency to, or preventing collapsing of, tubular structures of the body, e.g. stents
    • A61F2/02Prostheses implantable into the body
    • A61F2/30Joints
    • A61F2/44Joints for the spine, e.g. vertebrae, spinal discs
    • A61F2002/448Joints for the spine, e.g. vertebrae, spinal discs comprising multiple adjacent spinal implants within the same intervertebral space or within the same vertebra, e.g. comprising two adjacent spinal implants
    • AHUMAN NECESSITIES
    • A61MEDICAL OR VETERINARY SCIENCE; HYGIENE
    • A61FFILTERS IMPLANTABLE INTO BLOOD VESSELS; PROSTHESES; DEVICES PROVIDING PATENCY TO, OR PREVENTING COLLAPSING OF, TUBULAR STRUCTURES OF THE BODY, e.g. STENTS; ORTHOPAEDIC, NURSING OR CONTRACEPTIVE DEVICES; FOMENTATION; TREATMENT OR PROTECTION OF EYES OR EARS; BANDAGES, DRESSINGS OR ABSORBENT PADS; FIRST-AID KITS
    • A61F2310/00Prostheses classified in A61F2/28 or A61F2/30 - A61F2/44 being constructed from or coated with a particular material
    • A61F2310/00005The prosthesis being constructed from a particular material
    • A61F2310/00011Metals or alloys
    • A61F2310/00017Iron- or Fe-based alloys, e.g. stainless steel
    • AHUMAN NECESSITIES
    • A61MEDICAL OR VETERINARY SCIENCE; HYGIENE
    • A61FFILTERS IMPLANTABLE INTO BLOOD VESSELS; PROSTHESES; DEVICES PROVIDING PATENCY TO, OR PREVENTING COLLAPSING OF, TUBULAR STRUCTURES OF THE BODY, e.g. STENTS; ORTHOPAEDIC, NURSING OR CONTRACEPTIVE DEVICES; FOMENTATION; TREATMENT OR PROTECTION OF EYES OR EARS; BANDAGES, DRESSINGS OR ABSORBENT PADS; FIRST-AID KITS
    • A61F2310/00Prostheses classified in A61F2/28 or A61F2/30 - A61F2/44 being constructed from or coated with a particular material
    • A61F2310/00005The prosthesis being constructed from a particular material
    • A61F2310/00011Metals or alloys
    • A61F2310/00023Titanium or titanium-based alloys, e.g. Ti-Ni alloys
    • AHUMAN NECESSITIES
    • A61MEDICAL OR VETERINARY SCIENCE; HYGIENE
    • A61FFILTERS IMPLANTABLE INTO BLOOD VESSELS; PROSTHESES; DEVICES PROVIDING PATENCY TO, OR PREVENTING COLLAPSING OF, TUBULAR STRUCTURES OF THE BODY, e.g. STENTS; ORTHOPAEDIC, NURSING OR CONTRACEPTIVE DEVICES; FOMENTATION; TREATMENT OR PROTECTION OF EYES OR EARS; BANDAGES, DRESSINGS OR ABSORBENT PADS; FIRST-AID KITS
    • A61F2310/00Prostheses classified in A61F2/28 or A61F2/30 - A61F2/44 being constructed from or coated with a particular material
    • A61F2310/00005The prosthesis being constructed from a particular material
    • A61F2310/00011Metals or alloys
    • A61F2310/00029Cobalt-based alloys, e.g. Co-Cr alloys or Vitallium
    • AHUMAN NECESSITIES
    • A61MEDICAL OR VETERINARY SCIENCE; HYGIENE
    • A61FFILTERS IMPLANTABLE INTO BLOOD VESSELS; PROSTHESES; DEVICES PROVIDING PATENCY TO, OR PREVENTING COLLAPSING OF, TUBULAR STRUCTURES OF THE BODY, e.g. STENTS; ORTHOPAEDIC, NURSING OR CONTRACEPTIVE DEVICES; FOMENTATION; TREATMENT OR PROTECTION OF EYES OR EARS; BANDAGES, DRESSINGS OR ABSORBENT PADS; FIRST-AID KITS
    • A61F2310/00Prostheses classified in A61F2/28 or A61F2/30 - A61F2/44 being constructed from or coated with a particular material
    • A61F2310/00005The prosthesis being constructed from a particular material
    • A61F2310/00011Metals or alloys
    • A61F2310/00035Other metals or alloys
    • A61F2310/00047Aluminium or Al-based alloys
    • AHUMAN NECESSITIES
    • A61MEDICAL OR VETERINARY SCIENCE; HYGIENE
    • A61FFILTERS IMPLANTABLE INTO BLOOD VESSELS; PROSTHESES; DEVICES PROVIDING PATENCY TO, OR PREVENTING COLLAPSING OF, TUBULAR STRUCTURES OF THE BODY, e.g. STENTS; ORTHOPAEDIC, NURSING OR CONTRACEPTIVE DEVICES; FOMENTATION; TREATMENT OR PROTECTION OF EYES OR EARS; BANDAGES, DRESSINGS OR ABSORBENT PADS; FIRST-AID KITS
    • A61F2310/00Prostheses classified in A61F2/28 or A61F2/30 - A61F2/44 being constructed from or coated with a particular material
    • A61F2310/00005The prosthesis being constructed from a particular material
    • A61F2310/00179Ceramics or ceramic-like structures
    • AHUMAN NECESSITIES
    • A61MEDICAL OR VETERINARY SCIENCE; HYGIENE
    • A61FFILTERS IMPLANTABLE INTO BLOOD VESSELS; PROSTHESES; DEVICES PROVIDING PATENCY TO, OR PREVENTING COLLAPSING OF, TUBULAR STRUCTURES OF THE BODY, e.g. STENTS; ORTHOPAEDIC, NURSING OR CONTRACEPTIVE DEVICES; FOMENTATION; TREATMENT OR PROTECTION OF EYES OR EARS; BANDAGES, DRESSINGS OR ABSORBENT PADS; FIRST-AID KITS
    • A61F2310/00Prostheses classified in A61F2/28 or A61F2/30 - A61F2/44 being constructed from or coated with a particular material
    • A61F2310/00389The prosthesis being coated or covered with a particular material
    • A61F2310/00592Coating or prosthesis-covering structure made of ceramics or of ceramic-like compounds
    • A61F2310/00598Coating or prosthesis-covering structure made of compounds based on metal oxides or hydroxides
    • AHUMAN NECESSITIES
    • A61MEDICAL OR VETERINARY SCIENCE; HYGIENE
    • A61FFILTERS IMPLANTABLE INTO BLOOD VESSELS; PROSTHESES; DEVICES PROVIDING PATENCY TO, OR PREVENTING COLLAPSING OF, TUBULAR STRUCTURES OF THE BODY, e.g. STENTS; ORTHOPAEDIC, NURSING OR CONTRACEPTIVE DEVICES; FOMENTATION; TREATMENT OR PROTECTION OF EYES OR EARS; BANDAGES, DRESSINGS OR ABSORBENT PADS; FIRST-AID KITS
    • A61F2310/00Prostheses classified in A61F2/28 or A61F2/30 - A61F2/44 being constructed from or coated with a particular material
    • A61F2310/00389The prosthesis being coated or covered with a particular material
    • A61F2310/00592Coating or prosthesis-covering structure made of ceramics or of ceramic-like compounds
    • A61F2310/00796Coating or prosthesis-covering structure made of a phosphorus-containing compound, e.g. hydroxy(l)apatite
    • AHUMAN NECESSITIES
    • A61MEDICAL OR VETERINARY SCIENCE; HYGIENE
    • A61FFILTERS IMPLANTABLE INTO BLOOD VESSELS; PROSTHESES; DEVICES PROVIDING PATENCY TO, OR PREVENTING COLLAPSING OF, TUBULAR STRUCTURES OF THE BODY, e.g. STENTS; ORTHOPAEDIC, NURSING OR CONTRACEPTIVE DEVICES; FOMENTATION; TREATMENT OR PROTECTION OF EYES OR EARS; BANDAGES, DRESSINGS OR ABSORBENT PADS; FIRST-AID KITS
    • A61F2310/00Prostheses classified in A61F2/28 or A61F2/30 - A61F2/44 being constructed from or coated with a particular material
    • A61F2310/00389The prosthesis being coated or covered with a particular material
    • A61F2310/00958Coating or prosthesis-covering structure made of bone or of bony tissue
    • AHUMAN NECESSITIES
    • A61MEDICAL OR VETERINARY SCIENCE; HYGIENE
    • A61FFILTERS IMPLANTABLE INTO BLOOD VESSELS; PROSTHESES; DEVICES PROVIDING PATENCY TO, OR PREVENTING COLLAPSING OF, TUBULAR STRUCTURES OF THE BODY, e.g. STENTS; ORTHOPAEDIC, NURSING OR CONTRACEPTIVE DEVICES; FOMENTATION; TREATMENT OR PROTECTION OF EYES OR EARS; BANDAGES, DRESSINGS OR ABSORBENT PADS; FIRST-AID KITS
    • A61F2310/00Prostheses classified in A61F2/28 or A61F2/30 - A61F2/44 being constructed from or coated with a particular material
    • A61F2310/00389The prosthesis being coated or covered with a particular material
    • A61F2310/0097Coating or prosthesis-covering structure made of pharmaceutical products, e.g. antibiotics
    • AHUMAN NECESSITIES
    • A61MEDICAL OR VETERINARY SCIENCE; HYGIENE
    • A61FFILTERS IMPLANTABLE INTO BLOOD VESSELS; PROSTHESES; DEVICES PROVIDING PATENCY TO, OR PREVENTING COLLAPSING OF, TUBULAR STRUCTURES OF THE BODY, e.g. STENTS; ORTHOPAEDIC, NURSING OR CONTRACEPTIVE DEVICES; FOMENTATION; TREATMENT OR PROTECTION OF EYES OR EARS; BANDAGES, DRESSINGS OR ABSORBENT PADS; FIRST-AID KITS
    • A61F2310/00Prostheses classified in A61F2/28 or A61F2/30 - A61F2/44 being constructed from or coated with a particular material
    • A61F2310/00389The prosthesis being coated or covered with a particular material
    • A61F2310/00976Coating or prosthesis-covering structure made of proteins or of polypeptides, e.g. of bone morphogenic proteins BMP or of transforming growth factors TGF

Landscapes

  • Health & Medical Sciences (AREA)
  • Orthopedic Medicine & Surgery (AREA)
  • Engineering & Computer Science (AREA)
  • Biomedical Technology (AREA)
  • Life Sciences & Earth Sciences (AREA)
  • Neurology (AREA)
  • Heart & Thoracic Surgery (AREA)
  • Veterinary Medicine (AREA)
  • Public Health (AREA)
  • General Health & Medical Sciences (AREA)
  • Animal Behavior & Ethology (AREA)
  • Transplantation (AREA)
  • Surgery (AREA)
  • Vascular Medicine (AREA)
  • Oral & Maxillofacial Surgery (AREA)
  • Cardiology (AREA)
  • Nuclear Medicine, Radiotherapy & Molecular Imaging (AREA)
  • Medical Informatics (AREA)
  • Molecular Biology (AREA)
  • Physical Education & Sports Medicine (AREA)
  • Prostheses (AREA)
  • Plastic & Reconstructive Surgery (AREA)

Description

本発明は、概して、医療装置、より具体的にはインプラントに関する。
関連出願の説明
インプラントは、ヒト及び/または動物において1つ以上の骨を支持及び/または固定するために使用され得る。例えば、インプラントは脊椎において使用されて、脊椎の椎骨間の損傷した組織を支持及び/または置換し得る。インプラントが、2つの椎骨間に埋め込まれると、その2つの椎骨間に支持体を提供し得、骨成長が、長期の支持のために、これら2つの椎骨を少なくとも部分的に融着するためにインプラント周辺及びインプラントを通って生じ得る。インプラントは、剛性材料と共に、例えば、端板と相互作用する範囲の50%を覆い得る比較的大きなリムを含み得る。リムは、インプラントと椎骨の端板との間の接触範囲を提供し得る。大きなリムは、いくつかの欠点を有し得る。例えば、大きなリムは、骨成長を妨げ得、上位椎体及び下位椎体を融着する骨柱のサイズを低減し得る。
脊椎インプラントは、支持リムの中心を上位/下位方向に通る開口チャネルを含み得る。開口チャネルの設計は、椎骨の端板の間の圧縮力を吸収するために、椎骨の端板と相互作用するリムを分離するインプラントの部材を必要とし得る。これは、椎骨の端板のより小さい範囲において圧を増加し得、椎骨の端板に応力集中部をもたらし得る。さらに、骨移植材料は、骨成長を促すために、インプラントと合わせてしばしば使用されるが、インプラントの開口柱型設計は、良好な融着を促進しない、生体力学的協同作用をもたらし得る骨移植材料自体のインプラントへの固定の可能性を低減し得る。
骨移植材料は、椎骨の端板の間に配置されながら骨移植材料がインプラントから出ることを防止するために高圧状態でインプラント中に詰められ得る。高圧状態は、インプラントと椎骨の端板との間の動き、またはインプラントの定着中に受ける圧縮力に因って骨移植材料が緩む可能性も低減する。加えて、高圧環境は、骨移植材料が再構築し、より高い強度で融着することを可能にし得る。しかし、高圧状態は、インプラント内の骨移植材料に関して、生成及び維持するのを困難にし得る。
インプラントシステム及び関連装置の種々の実施形態、ならびにそれらの操作の方法は、本明細書に記載される。種々の実施形態において、骨構造と接合するためのインプラントは、ヒト骨組織と接合するように構成される、立体トラスを含むウェブ構造を含む。立体トラスは、節点で連接された複数の支柱を有する2つ以上の平面トラスユニットを含む。
実施形態において、骨構造と接合するためのインプラントは、節点で連接された複数の支柱を有する2つ以上の平面トラスユニットから構成される立体トラスを含むウェブ構造であって、ヒト骨組織と接合するように構成される、ウェブ構造と、ウェブ構造内に形成される1つ以上のチャネルであって、ウェブ構造を通って延在し、ウェブ構造の少なくとも2つの側面においてチャネル出口を有する、1つ以上のチャネルと、を含む。1つ以上の締結具は、チャネル内に位置付けが可能であり、使用中に締結具は、ウェブ構造を骨に連結する。
別の実施形態において、インプラントは、遠位端及び近位端を含み、近位端が、節点で連接された複数の支柱を有する2つ以上の平面トラスユニットを備える立体トラスを備え、立体トラスが、ヒト骨組織と接合するように構成され、遠位端が、インプラントが骨構造中にねじ込まれることを可能にするねじ切り部を備える。代替実施形態において、インプラントは、節点で連接された複数の支柱を有する2つ以上の平面トラスユニットを有する立体トラスを含み、立体トラスが、ヒト骨組織と接合するように構成され、立体トラスの外側が、インプラントが骨構造中にねじ込まれることを可能にするねじ切り部を備える。
別の実施形態において、インプラントが節点で連接された複数の支柱を有する2つ以上の平面トラスユニットを有する立体トラスと、立体トラスによって少なくとも部分的に包囲されるロッドとを備える。
本発明のさらなる理解は、以下の詳細な説明が以下の図面と合わせて考慮されるとき、取得され得る。
ある実施形態による、脊柱前弯のインプラントを示す図である。 ある実施形態による、脊柱前弯のインプラントを示す図である。 ある実施形態による、脊柱前弯ではないインプラントを示す図である。 ある実施形態による、脊柱前弯ではないインプラントを示す図である。 ある実施形態による、脊柱前弯ではないインプラントを示す図である。 ある実施形態による、脊柱前弯ではないインプラントを示す図である。 ある実施形態による、三角形状の構造ブロックによって形成されたウェブ構造を示す図である。 ある実施形態による、三角形状の構造ブロックによって形成されたウェブ構造を示す図である。 ある実施形態による、インプラントの内部ウェブ構造の上部構造を示す図である。 ある実施形態による、インプラントの内部ウェブ構造の上部構造を示す図である。 ある実施形態による、インプラントの内部構造を示す、インプラントの異なる高さの断面図である。 ある実施形態による、インプラントの内部構造を示す、インプラントの異なる高さの断面図である。 ある実施形態による、インプラントの内部構造を示す、インプラントの異なる高さの断面図である。 ある実施形態による、インプラントの等軸測視図である。 ある実施形態による、ウェブ構造の別の構成を示す図である。 ある実施形態による、ウェブ構造の別の構成を示す図である。 ある実施形態による、ウェブ構造の別の構成を示す図である。 ある実施形態による、ウェブ構造の別の構成を示す図である。 ある実施形態による、無作為のウェブ構造を示す図である。 ある実施形態による、インプラントを作製するための方法のフローチャートである。 ある実施形態による、脊椎インプラントを埋め込むための方法のフローチャートである。 インプラントを通って延在する1つ以上のチャネルを有するインプラントを示す図である。 インプラントを通って延在する1つ以上のチャネルを有するインプラントを示す図である。 インプラントを通って延在する1つ以上のチャネルを有するインプラントを示す図である。 外部支持体に連結された図10A〜Cのインプラントを示す図である。 、外部ねじ切り部を有するインプラントを示す図である。 、外部ねじ切り部を有するインプラントを示す図である。 上腕骨近位端複雑骨折の治療のためのインプラントを示す図である。 不成功の人工足関節全置換術の修正手術のために使用されるインプラントを示す図である。 3つのチャネルを有するインプラントの実施形態を示す図である。 3つのチャネルを有するインプラントの代替実施形態を示す図である。 立体トラスに連接された骨ロッドの実施形態を示す図である。 平板に連接されたウェブ構造を含むインプラントの実施形態の上面図を示す図である。 軌跡ガイド装置を示す図である。 ねじ式の立体トラス近位端を含む骨ねじの実施形態を示す図である。 骨と係合するためのキャップを有する、ねじ式の立体トラス近位端を含む骨ねじの実施形態を示す図である。 ねじ式の立体トラス近位端及びねじ式の遠位端を含む骨ねじの実施形態を示す図である。 骨折した骨構造のための外側の支持体を形成するために使用されるトラス鋳造物の概略図である。
本発明は、種々の修正及び代替的な形態を受け入れる余地があるが、それらの具体的な実施形態が、実施例として図面に示され、本明細書で詳細に記載される。しかし、図面及びそれらの詳細な説明は、開示される特定の形態に本発明を限定することを意図するものではなく、反対に、添付の特許請求の範囲によって定義される本発明の趣旨及び範囲内に収まる全ての修正形態、均等形態、及び代替形態を網羅することが意図されることを理解されたい。見出しは、単に構成上の目的であり、説明または特許請求の範囲を限定または解釈するために使用されるものではないことを留意されたい。
図1A〜1Bは、ある実施形態による、インプラント100の図を例示する。具体的に示されるインプラント100は、例えば、前方椎体間固定術(ALIF)または後方椎体間固定術(PLIF)において使用され得るが、インプラント100が、骨融着用途のために好適な様々な形状を有することを理解されたい。いくつかの実施形態において、インプラント100は、1つ以上のトラス102(例えば、平面及び立体トラス)を含むウェブ構造を含み得る。インプラント100は、脊椎インプラント、椎体切除術装置、膝置換材、股接合点置換材、長骨再構築スキャフォールド、及び頭蓋顎顔面インプラント等のヒトまたは動物のための種々の種類のインプラントにおいて使用され得る。他のインプラントの使用も企図される。
本明細書で使用される場合、「トラス構造」は、節点として称される接合点で連接された1つ以上の伸長支柱を有する構造である。トラスは、プラットトラス、キングポストトラス、クィーンポストトラス、タウン格子トラス、平面トラス、立体トラス、及び/またはフィーレンデールトラスの変形を含み得る(他のトラスも使用され得る)。「トラスユニット」は、3つ以上の伸長支柱によって画定される周囲を有する構造である。
本明細書で使用される場合、「平面トラス」は、支柱及び節点の全てが、実質的に単一の二次元平面に位置するトラス構造である。例えば、平面トラスは、1つ以上の「トラスユニット」を含み得、ここで支柱の各々は、1つ以上のトラスユニットの支柱及び節点の全体が実質的に同じ平面に位置するように、実質的に一直線の部材である。支柱の各々が実質的に一直線の支柱であり、トラスユニットの支柱及び節点の全体が、実質的に同じ平面に位置する、トラスユニットは、「平面トラスユニット」として称される。
本明細書で使用される場合、「立体トラス」は、実質的に単一の二次元平面に制限される支柱及び節点を有するトラスである。立体トラスは、2つ以上の平面トラス(例えば、平面トラスユニット)含み得、2つ以上の平面トラスのうちの少なくとも1つが、他の2つ以上の平面トラスのうちの少なくとも1つ以上の平面に対して実質的に平行でない平面に位置する。立体トラスは、例えば、互いに隣接する(例えば、共通の支柱を共有する)2つの平面トラスユニットを含み得、平面トラスユニットの各々は、互いに対して角度を有する(例えば、互いに対して平行ではない)別個の平面に位置する。
本明細書で使用される場合、「三角トラス」は、節点として称される接合点で連接された3つの直線の支柱によって形成される1つ以上の三角ユニットを有する構造である。例えば、三角トラスは、三角形状のトラスを形成するために3つの節点において互いに連結された3つの一直線の伸長支柱の部材を含み得る。本明細書で使用される場合、「平面三角トラス」は、三角トラス構造であり、ここで、支柱及び節点の全ては、実質的に単一の二次元平面に位置する。各三角ユニットは、「三角トラスユニット」として称され得る。支柱の各々が、三角トラスユニットの支柱及び節点の全体が実質的に同じ平面に位置するように実質的に一直線の部材である三角トラスユニットは、「平面三角トラスユニット」として称される。本明細書で使用される場合、「三角立体トラス」は、1つ以上の三角トラスユニットを含む立体トラスである。
種々の実施形態において、ウェブ構造のトラス102は、種々の節点において連接された一直線または湾曲/弓なりの部材(例えば、支柱)で構築される1つ以上の平面トラスユニット(例えば、平面三角トラスユニット)を含み得る。いくつかの実施形態において、トラス102は、マイクロトラスであり得る。「マイクロトラス」は、複数のマイクロトラスが、実質的にウェブ構造の全てがインプラント位置(例えば、2つの脊椎間)中に挿入され得るように、十分に小さい全寸法(例えば、高さ、長さ、及び幅)を有するウェブ構造を形成するために組み立てられ得るか、またはそうでない場合、互いに連結され得るように十分に小さい寸法を有するトラスである。よって、かかるウェブ構造及びそのマイクロトラスを用いて、周辺の組織(例えば脊椎、骨等)の負荷を受け、これをウェブ構造全体に分配することができる。一実施形態において、マイクロトラスを形成する支柱の直径は、直径約0.25ミリメートル(mm)〜5mm(例えば、直径約0.25mm、0.5mm、0.6mm、0.7mm、0.8mm、0.9mm、1mm、2mm、3mm、4mm、または5mm)であり得る。一実施形態において、マイクロトラスは、約1インチ未満(例えば、約0.9インチ、0.8インチ、0.7インチ、0.6インチ、0.5インチ、0.4インチ、0.3インチ、0.2インチ、0.1インチ未満の長さ)の全長または全幅を有し得る。
描写されるように、例えば、図1A〜1Bにおいて、ウェブ構造は、インプラント100全体(インプラント100の中央部分を含む)に延在して、インプラント100全体に支持体を提供し得る。よって、インプラント100のトラス102は、引張力、圧縮力、及びせん断力に対してインプラント100を支持し得る。また、ウェブ構造は、多数の平面に沿って、インプラント100を補強し得る。外部トラス構造は、例えば、インプラントの垂直方向に作用する引張力及び圧縮力に対して支持体を提供し得、内部ウェブ構造は、それぞれのトラスを含む種々の平面に沿った、引張力、圧縮力、及びせん断力に対して支持体を提供し得る。いくつかの実施形態において、ウェブ構造は、多数の支柱(例えば、支柱103a〜f)(支柱は、概して、本明書において「支柱103」として称される)で三角のウェブ構造を形成するトラス102を含む。
一実施形態において、インプラント100のウェブ構造は、外部トラス構造によって少なくとも部分的に包含される内部ウェブ構造を含み得る。例えば、一実施形態において、ウェブ構造101は、実質的に単一の平面に位置する複数の平面トラスユニットで形成される1つ以上の平面トラスを含む、外部トラス構造によって包囲される立体トラスの少なくとも一部分を有する立体トラスを含む内部ウェブ構造を含み得る。図1Aは、内部ウェブ構造104及び外部トラス構造105を有するインプラント100の実施形態を描写する。例示される実施形態において、内部ウェブ構造104は、各隣接するトラスユニットが、各隣接するトラスユニットと共平面ではなくなるように、互いに対してある角度で連結された複数の平面トラスユニット106によって画定される立体トラスを含む。隣接するトラスユニットは、支柱及び共有される支柱の端でそれぞれ2つの節点を共有する2つのトラスユニットを含み得る。
一実施形態において、外部トラス構造105は、インプラントの外側、内側、または他の部分辺りで連結される複数の平面トラスを含む。例えば、例示される実施形態において、外部トラス構造105は、互いに連結された一連の平面トラス107a、bを含む。平面トラス107aは、破線[−−−−−]によって表示され、平面トラス107bは、点破線[−・−・−]によって表示される。各平面トラスは、複数の平面トラスユニット(例えば、三角平面トラスユニット)から形成される。描写されるように、平面トラス107aは、共通の頂点110を有し、単一の共通の平面に位置する概して矩形な構造を形成するために配設された4つの三角平面トラスユニット108a、b、c、dを含む。言い換えれば、この4つの三角平面トラスユニットは、配設されて、矩形構造の1つの角からその矩形構造の反対の角に延在して、「X」の形状の支柱を有する実質的に矩形な構造を形成する。描写されるように、実質的に矩形な構造は、台形の形状を含み得る。下記でより詳細に記載されるように、台形の形状は、脊柱前弯を含むインプラントを提供することに貢献し得る。脊柱前弯は、インプラントが、脊柱の弯曲を支持することに貢献するように、インプラントの前方領域及び後方領域の厚みに差異を提供する、インプラントの角度付き表面配向(例えば、上面及び底面)を含み得る。
一実施形態において、外部トラスを形成する平面トラスは、互いに連結され、かつ少なくとも1つの軸に沿って揃えられる。例えば、図1Aにおいて、平面トラス区域107aは、隣接する平面トラス107bに連結される。平面トラス区域107a、bは、全ての方向において平行ではない。しかし、平面トラス区域107a、bは、少なくとも1つの方向(例えば、インプラント100の上面と底面との間の垂直方向)において互いに平行に配設される。例えば、平面トラス107a、b、及び追加の平面トラスは、互いに対して角度を有して、系列をなして配設されて、垂直方向に配設された平面トラス及び平面トラスユニットによって画定される実質的に垂直な壁を有する概して円形または多角形の囲いを形成する。
一実施形態において、外部トラス部分は、インプラントの側、上、及び/または底を包含し得る。例えば、一実施形態において、外部トラス部分は、上部領域、側部領域、及び/または底部領域を含み得る。図1Aは、インプラント100の実施形態を描写し、外部トラス部分105は、上部領域111、底部領域112、及び側部領域113を含む。上述されるように、側部領域113は、垂直に配設されて、インプラント100の中央部分に配置された立体トラスの周囲を完全にまたは少なくとも部分的に包囲する円形/多角形の環のような構造を形成する一連の平面トラスを含む。描写される実施形態において、外部トラス構造105の上部分111は、互いに連結されて、内部ウェブ構造104の上部領域を実質的に全て覆う平面トラスを形成する複数のトラスユニットを含む。例示される実施形態において、上部分111は、外部トラス構造105の側部分113の上縁間の範囲全体に及ぶ。例示される実施形態において、上部分111は、実質的に同じ平面に位置する複数のトラスユニットを含む単一の平面トラスから形成される。言い換えれば、上部分111の平面トラスは、概して平らな表面を画定する。図1では見え難いが、インプラント100の下側は、上部分111の構成に類似した構成を有する底部分112を含み得る。他の実施形態において、外部トラス構造105は、部分的な側部、上部、及び/または底部の外部トラス部分を含み得る。または、側部、上部、及び底部の外部トラス部分のうちの1つ以上を含み得ない。例えば、下記でより詳細に記載されるように、図2Cは、立体トラスから形成された内部ウェブ構造を含み、外部トラス構造を有しないインプラント100の実施形態を描写する。
いくつかの実施形態において、インプラント100は、チタン合金(例えば、γチタンアルミナイド)、コバルト、クロム、ステンレス鋼、ポリエーテルエーテルケトン(PEEK)、セラミックス等の生体適合性材料から形成され得る。他の材料も、企図される。いくつかの実施形態において、インプラント100は、以下でさらに記載されるような高速プロトタイピングプロセス(例えば、電子ビーム溶解(EBM)プロセス)によって作成され得る。他のプロセス(例えば、射出成型、鋳造、焼結、選択的レーザー焼結(SLS)、直接金属レーザー焼結(DMLS)等)も可能である。SLSは、米国ミシガン州ノバイに本社を置くEOS of North America,Inc.によって提供されるような高性能ポリマーのレーザー焼結を含み得る。高性能ポリマーは、種々の形態のPEEK(例えば、最大約95メガパスカル(MPa)の引張強度及び最大約4400MPaのヤング率、ならびに約180℃(356°F)から260℃(500°F)の連続動作温度を有するHP3)を含み得る。他の材料は、EOS of North America,Inc.によって提供されるPA12及びPA11を含み得る。
上述されるように、いくつかの実施形態において、ウェブ構造は、複数の三角平面トラスユニットから形成され得る。いくつかの実施形態において、平面トラスユニットは、互いに連結されて、多面体を画定し得、これが内部ウェブ構造を画定する。平面トラスユニットを連接することによって生成され得る多面体構造の例として、四面体、五面体、六面体、七面体、角錐、八面体、十二面体、二十面体、及び球状フラーレンが挙げられるが、これらに限定されない。上述されるもの等のいくつかの実施形態において、ウェブ構造の立体トラスは、四面体構造ブロックの多数の中心点を連接し得、互いに隣接して配設された四面体ブロックの規則的パターンを含み得る。いくつかの実施形態において、ウェブ構造は、幾何学的な構造ブロックのパターンを含み得ない。例えば、図7は、インプラント905において使用され得る支柱の非規則的パターンを例示する。他のウェブ構造も企図される。ウェブ構造から構成されるインプラントの例は、米国公開特許出願第2010/0161061号、同第2011/0196495号、同第20110313532号、及び同第2013/0030529号に記載され、それらの各々が、参照により本明細書に組み込まれる。
図3A〜3Bは、三角平面トラスユニットから形成された立体ユニットで形成された内部ウェブ構造の一部分の概略図を例示する。三角平面トラスユニットは、1つに連接されて、構造ブロックとしても使用され得る四面体300a、bを形成し得る(三角平面トラスユニットの他のパターンも企図される)。他の構造ブロック(例えば、四角形の構造ブロック)も企図される。いくつかの実施形態において、ウェブ構造は、四面体300aまたは300b等の単一の四面体を単独でまたは1つ以上の他の多面体と合わせて含み得る。いくつかの実施形態において、ウェブ構造は、2つ以上の四面体300a、bを含み得る。四面体300aは、4つの三角面を含み得、そこにおいて4つの三角面のうち3つが各頂点で合する。いくつかの実施形態において、2つの四面体300a及び300bは、2つの隣接する面で1つになるように配置されて、六面体状の枠組み(6つの面を含む)を有する立体トラス313を形成し得る。六面体状の立体トラス313は、第1の頂点301、第2の頂点309、第3の頂点303、第4の頂点305、及び第5の頂点307を含み得る。共通する平面311は、2つの四面体によって共有されて(例えば、共通する平面311は、第3の頂点303、第4の頂点305、及び第5の頂点307を含み得る)、共通する平面311から離間する、第1の頂点301及び第2の頂点309を有する六面体を形成し得る。描写されるように、三角形状の構造ブロックの中央部分は、そこを通って延在する一切の追加の部材を含まず(例えば、三角形状の構造ブロックを形成する支柱以外の部材が無い)、その中心において空洞領域を有し得る。
図3Bにおいて示されるように、いくつかの実施形態において、多数の六面体状の立体トラス313は、横並びに配設され得る。インプラント100の2つの立体トラス313は、それらの第1の頂点301a、bを介して支柱103rによって連接され得、それらの第2の頂点309a、bを介して支柱103tによって連接され得る。同様に、2つの立体トラス313は、それらの第1の頂点301c、dを介して支柱103pによって連接され得、それらの第2の頂点309c、dを介して支柱103sによって連接され得る。他の連接部も可能である。例えば、立体トラス313は、側部の頂点によって(例えば、対応する頂点(頂点303a、b等の)、及び/または共通する支柱(支柱103u等の)を共有して)、及び/または側面(例えば、側面111a、b)によって直接連接し得る。
図4Aは、インプラント100において4つの六面体状の立体トラスの第1の頂点(それぞれ301a、301b、301c、及び301dと表示される)を連接する追加の支柱103(例えば、支柱103p及び103r)を例示する。図4Bは、インプラント100中の4つの六面体状の立体トラスの第2の頂点309(それぞれ309a、309b、309c、及び309dと表示される)を連接する追加の支柱103(例えば、支柱103s及び103t)を例示する。いくつかの実施形態において、追加の支柱103は、ウェブ構造の1つ以上の頂点間の内部でも使用されて、追加のトラスを形成し得る(例えば、図1A〜2Bのウェブ構造を参照されたい)(他の構造も可能である)。
図1Aに示されるように、インプラント100の上面115a及び底面115bは、三角、四角、円、または他の形状(例えば、無作為のまたは特注設計)を含み得る。上面及び底面115a、bは、インプラント100のウェブ構造において使用される種々の幾何学的な構造ブロックの上部及び底部の頂点を連接するために使用され得る。例えば、各頂点は、支柱によって他の幾何学的な構造ブロックの隣接する頂点に連接され得る。上面115aは、他の支柱のネットワーク及び/または連接部を含み得る。いくつかの実施形態において、底面115bは、上面に類似しても(及び/または他の設計を有しても)よい。いくつかの実施形態において、上面115a及び底面115bは、インプラント100が埋め込まれるとき、2つの隣接する椎骨のそれぞれの表面を係合してもよい。
図1Bに描写されるように、インプラント100は、埋め込まれるとき、隣接する椎骨をさらに支持するために脊柱前弯(例えば、上面及び/または底面115a、bにおいて、およそ4〜15度(4、5、6、7、8、9、10、11、12、13、14、または15度等の)の範囲の角度)を含み得る。上述されるように、脊柱前弯は、インプラントが、脊柱の弯曲を支持することに貢献するように、インプラントの前方部分及び後方部分の厚みに差異を提供する角度付き表面配向(例えば、上面及び底面)を含み得る。例示される実施形態において、インプラント100の厚みは、そのインプラントの前方部分118においてまたはその近傍でより大きく、そのインプラントの後方部分120においてまたはその近傍でより小さい。例示される実施形態において、外部トラス構造の側部分は、実質的に垂直に配設され、脊柱前弯は、外部トラス構造の上部分111及び底部分112の角度によって形成される。例えば、例示される実施形態において、外部トラス構造の上部分111及び底部分112は、側部分113によって画定される垂直平面に対して垂直ではない。むしろ、上部分111及び底部分112は、インプラント100の前方領域118においてまたはその近傍で、側部分113の垂直平面に対して鋭角に、かつインプラント100の後方領域120においてまたはその近傍で、側部分113の垂直平面に対して鈍角に配設される。描写されるように、インプラント100の後方領域120近接の外部トラス構造の側部分113の平面トラスを形成する垂直な支柱は、インプラント100の前方領域118近接の外部トラス構造の側部分を形成する支柱よりも短い。垂直トラスが実質的に均等な間隔である例示される実施形態において、インプラント100の後方領域120近接の側部平面トラスの「X」クロス部材を形成する支柱は、インプラント100の前方領域118近接の側部平面トラスの「X」クロス部材を形成する支柱よりも短い。他の実施形態は、様々な構成のインプラントを提供するために、トラスの配設のバリエーションを含み得る。例えば、いくつかの実施形態において、上部及び底部外部トラス部分の1つのみまたはその両方が、インプラントの前方及び後方部分近接の外部トラスの側部分に対して垂直でなくてもよい。さらに、側部、上部、及び/または底部は、互いに対して任意の配向で角度を有する複数の平面トラスを含んでいてもよい。例えば、各々が複数のトラスユニットで形成される上部または底部は、部分(複数可)が、錐体様の形状を含むように4つの平面トラスを含んでもよい。
いくつかの実施形態において、インプラントは脊柱前弯を含まなくてもよい。例えば、図2A〜2Bは、脊柱前弯を有さないインプラント200の実施形態の2つの図を例示する。いくつかの実施形態において、上面及び底面は、連接する支柱を含み得ない。例えば、図2C〜2Dは、外側支柱を有さないインプラント250の2つの図を例示する(例えば、平面トラスによって形成される外部トラス部分が無い)。例示される実施形態において、インプラント250は、内部ウェブ構造を含み、外部トラス構造を含まない。例えば、例示される実施形態において、インプラント250の外面は、複数のトラスユニットによって画定され、それらは、その隣接するトラスユニットの各々に対する角度を有する。トラスユニットの相対的な並びは、複数の鋭利な接合点を含む非平面の外側をもたらす。鋭利な接合点(例えば鋭利な接合点201)は、(例えばインプラントを椎体部分切除術用デバイスにおいて使用している場合)インプラントを正しい位置に保持するために周囲を取り囲む骨の中を掘り進んで動作し得る。
図5A〜5Cは、ある実施形態による、インプラント100の内部構造を示す、インプラント100の異なる高さの断面図を例示する。図5Aは、インプラント100のより下の部分の断面図を例示する。底面115bは、底面115bから上向きに延在する種々の支柱(例えば、支柱103)と共に示される。図5Bは、インプラント100のおよそ真ん中を通る断面図を例示する。ウェブ構造において積み重ねられた種々の四面体で共有される支柱103e、f等の支柱が示される。いくつかの支柱は、インプラント100の中央部分501a及び/または501bを通って延在する。図5Bは、インプラント100の中央部分501a、bも描写する。いくつかの実施形態において、中央部分501aは、インプラントの幅のおよそ50%の幅、インプラントの高さのおよそ50%の高さ、及びインプラントの長さのおよそ50%の長さを有し、インプラント100の中心に位置する矩形領域を含み得る。いくつかの実施形態において、中央部分501bは、インプラント100の幅のおよそ半分、長さのおよそ半分、及び高さのおよそ半分に位置する場所(すなわち、インプラント100の中心)の周辺で、インプラント100の幅のおよそ1/8〜1/4の半径の領域(例えば、球形領域、四角領域等)を包含し得る。他の中央部分も企図される。例えば、中央部分は、インプラントの幅のおよそ半分、長さのおよそ半分、及び高さのおよそ半分の位置の周辺で、四角領域の辺のうちの1辺の長さが、インプラント100の幅のおよそ1/4〜1/2である四角領域を含み得る。高さ502a、幅502b、及び長さ502cの例は、図5Dに示される。いくつかの実施形態において、高さは、最大約75mm以上であり得る。長骨再構築のために使用されるもの等のいくつかの実施形態において、幅及び/または長さは、およそ7インチ以上であり得る。いくつかの実施形態において、幅、長さ、及び/または高さは、インプラント100に応じて変化し得る(例えば高さは、インプラントが脊柱前弯を含む場合、変化し得る)。高さは、インプラント100の対向する側部のうちの1つや中間部で測定されてもよく、及び/またはインプラント100の長さに沿った1つ以上の高さの平均であってもよい。ウェブ構造は、インプラントの中央部分501a、bを通って延在し得る(例えば、ウェブ構造の少なくとも1つの支柱が、中央部分501a、bを少なくとも部分的に通って進み得る)。図5Cは、ウェブ構造内の上部の四面体の断面図を示す別の断面図を例示する。図5Dは、頂点301a〜dを有する上面115aを含むインプラント100の全体図を示す。
図6A〜6Dは、インプラントの代替実施形態を例示する。いくつかの実施形態において、六面体状の幾何学的設計の異なる区域が使用され得る。例えば、図6Aに示されるように、六面体状の幾何学的設計の下半分(下側四面体構造を主に含む)が使用され得る。設計の下半分を使用する場合、インプラント600は、六面体状の幾何学的設計と同様の全体寸法を有するために比例的に拡張され得る(例えば、四面体は、六面体状の幾何学的設計において、四面体の高さのおよそ2倍に拡張されて、六面体状の幾何学的設計とおよそ同じ高さのインプラント600を供し得る)。いくつかの実施形態において、インプラント600は、いくつかの実施形態において、椎骨の端板間により良好な嵌合を有するために、脊柱前弯をインプラント600に提供するために(例えば、上面601a及び/または底面601bにおいて)角度も有してよい。上面601a及び/または底面601bは、インプラント600の節点を連接するための支柱も含み得る(例えば、図6aの上面の支柱ネットワークを参照されたい)。上面601a及び/または底面601bの支柱の他のパターンも使用され得る。いくつかの実施形態において、インプラント600は、支柱間に負角を含み得ず、よって、鋳造プロセスまたは成型プロセスによってより容易に生成可能となる。
図6C〜6Dは、インプラントの別の代替実施形態を例示する。いくつかの実施形態において、六面体状の幾何学的設計の中間部のおよそ40〜60パーセントが、インプラント650において使用され得る。例えば、六面体状の幾何学的設計の全高がおよそ37mmの場合、設計の底部のおよそ10mm、及び設計の上部のおよそ10mmが取り除かれ得、設計の中間部のおよそ17mmがインプラント用に使用され得る。次に、インプラント650の中間部は、拡張された設計のおよその高さがおよそ37mm(または必要に応じて異なる高さ)になり得るように比例的に拡張される。上面651a及び底面651bは、支柱のネット―ワークを含み得る(例えば、図6Cの上面651aの支柱を参照されたい)(支柱の他のネットワークも企図される)。インプラント用の設計の他の部分(例えば、図1Aに示される設計の上半分、図1Aに示される設計の下半分等)も企図される。設計部分は、特定の寸法(例えば、特定の高さ、幅、及び長さ)に合うように比例的に拡張され得る。いくつかの実施形態において、いくつかの支柱が、より大きな直径を有し得るように、かついくつかの支柱が、より小さな直径を有し得るように(例えば、異なる直径は、異なる方向の力に対して補強し得る)、インプラント内の支柱の量が低減され得るか、またはインプラント内の材料が再分配され得る。いくつかの実施形態において、(例えば、構造が四面体を含むように、ウェブ構造の半分と共に)部分設計ケージが、使用され得る。さらに、いくつかの実施形態において、インプラントは、椎骨の端板間に埋め込まれるインプラントに脊柱前弯を提供するために角度付き表面(例えば、角度付き上面651a及び/または角度付き底面651b)を含み得る。
いくつかの実施形態において、インプラントのウェブ構造は、埋め込まれたとき、インプラント全体に力を分配し得る。例えば、ウェブ構造の連接支柱は、インプラントの中心全体に延在し得、支柱の相互連接性が、圧縮力の負荷をインプラント全体に分散して、応力集中部の可能性を低減し得る(インプラント全体への力の分配は、椎骨の1つ以上の部分への負荷の集中を防止し得、そうでない場合、椎骨の損傷を引き起こし得る)。
いくつかの実施形態において、インプラントのウェブ構造(例えば、インプラントの外部及び内部の支柱)は、表面範囲に骨移植融着も提供する。例えば、インプラント全体に延在するウェブ構造は、骨移植材料に融着するための追加の表面範囲を(例えば、インプラントを作製する支柱の表面上に)追加し得、骨移植材料の緩み、または骨移植材料がインプラントから移動するのを防止し得る。いくつかの実施形態において、ウェブ構造は、骨の成長も支持し得る。例えば、インプラントが埋め込まれるとき、隣接する骨(例えば、インプラントが、脊椎インプラントとして使用される場合は隣接する椎骨)は、インプラントの支柱の少なくとも一部分にわたって成長し得る。骨成長、及び骨成長とインプラントとの間の係合は、インプラントをさらに安定し得る。いくつかの実施形態において、インプラントの表面は、骨成長の接着を補助するために、粗面で形成され得る。
いくつかの実施形態において、支柱は、およそ約0.025〜5ミリメートル(mm)の範囲(例えば、1.0mm、1.5mm、3mm等)の直径を有し得る。他の直径(例えば、5mm超)も企図される。いくつかの実施形態において、支柱は、(例えば、椎骨の端板間の空隙を嵌合するために必要とされるインプラントのサイズに応じて)およそ0.5〜20mmの範囲の長さを有し得る。別の例として、支柱は、股関節インプラント用ではおよそ30〜40mmの範囲の長さを有し得る。いくつかの実施形態において、ウェブ構造の低減された支柱サイズは、インプラント100の開口セルが骨成長を促進することを可能にし得る(例えば、骨は、インプラント100が体内に埋め込まれると、開口セルを通って成長し得る)。インプラントの平均的な沈下は、手術後、最初の3週間以内でおよそ1.5mmであり得る(他の沈下(例えば、およそ0.5〜2.5mm)も可能性がある)。この沈下にほぼ適合する支柱サイズ(例えば、直径およそ1.5mmの支柱サイズ及びおよそ1.5mmの沈下)は、インプラントが埋め込まれた位置で定着後、正味0のインピーダンス(例えば、支柱周辺で成長する骨成長)をもたらし得る。インプラント/椎骨の端板接合の全表面の範囲全体の正味0インピーダンスは、より大きな骨の融着柱をもたらし得、これはより安定した融着をもたらし得る。他の融着柱サイズも企図される。インプラントの構成は、インプラント全体に金属を再分配し得る。いくつかの実施形態において、リムは、インプラント上で含まれないことがある(いくつかの実施形態において、リムは、含まれ得る)。得られる骨成長(例えば、脊椎柱)は、インプラントを通って成長し得る。
いくつかの実施形態において、インプラント100の内側容積の50%超が開口であり得る。いくつかの実施形態において、インプラント100の60%超、70%超、及び/または80%超(例えば、95%)が、開口であり得る。いくつかの実施形態において、開口容積は、骨成長の材料によって充填され得る。例えば、海綿骨は、インプラントの開口/内部領域中に詰められ得る。
いくつかの実施形態において、インプラントの表面の少なくとも一部分は、骨成長及び/もしくは骨接着を促進することを目的とした材料、ならびに/または感染症を防止するための抗菌剤でコーティング/処理され得る。例えば、いくつかの実施形態において、支柱の表面は、生物学的因子及び/または骨成長因子でコーティングされ得る。いくつかの実施形態において、生物学的因子は、ヒドロキシアパタイト、骨形態形成タンパク質(BMP)、インスリン様成長因子I及びII、形質転換成長因子ベータ、酸及び塩基フィブロブラスト成長因子、血小板由来成長因子、ならびに/または骨成長とインプラントの表面との間の良好な生物学的固定を促進する同様の骨成長刺激剤等のコーティングを含み得る。いくつかの実施形態において、骨成長因子は、細胞成長、分芽増殖、及び細胞分化を刺激できる、自然発生する物質(例えばタンパク質またはステロイドホルモン)を含み得る。いくつかの実施形態において、インプラントの表面(例えば、支柱、外部トラス構造等)は、膠原質でコーティングされ得る。
いくつかの実施形態において、生物学的因子及び/または成長因子は、インプラントの中央領域に固定され得る。例えば、いくつかの実施形態において、生物学的因子または成長因子は、図5Bを参照のように、インプラント100の中央部分501a及び/または501bを通って延在する支柱の少なくとも一部分上に提供され得る。かかる実施形態は、生物学的因子及びまたは成長因子をインプラントの中央部分に送達することが可能であり得る。例えば、生物学的因子または成長因子は、生物学的因子及び/または成長因子の物理的取り付けのために、インプラント内に提供された支柱を含まない開口容積に詰められるのとは反対に、インプラントの中央部分の支柱内に物理的に固定され得る。
インプラントが、埋め込みの場所に定着すると、沈下は、追加の圧を骨移植材料にかけ(既にインプラント内の圧縮力の下であり得る)、骨移植材料を、インプラントの側部に向かって押圧するように作用し得る(隣接する材料のブジネスクの理論によると、力が、他の材料(砂、汚物、または骨移植材料等の)に隣接する部材に適用されると、この部材に対する力が、隣接する材料に増加された圧(例えば、60度)の領域を生成する)。インプラントの支柱は、ウェブ構造の側面からの骨移植材料の突出に耐えることができ、骨移植材料の圧力を増加し得る。骨移植材料は、強度な骨成長に貢献するための環境を生成するために高圧の環境で埋め込まれる必要があり得る(例えば、ウォルフ法によると、健常なヒトまたは動物の骨は、骨移植材料が配置される下の負荷に適合する)。よって、ウェブ構造は、より強度な融着の可能性を増加し得る。
他のトラス構成から形成されるウェブ構造も企図される。例えば、トラスは、一連の充填三角形、2ウェブ式トラス、3ウェブ式トラス等を含み得る。さらに、インプラント用のウェブ構造は、2005年8月23日発行の「Web Structure and Method For Making the Same」と題する米国特許第6,931,812号に記載されるような1つ以上のトラスを含み得、本明細書に十分に及び完全に記載されるように、その全体が参照により本明細書に組み込まれる。
図8は、インプラントを作製するための方法の流れ図を例示する。いくつかの実施形態において、インプラントは、高速プロトタイピング(例えば、電子ビーム溶解、レーザー焼結等)によって作成され得る。以下に記載される本方法の種々の実施形態において、記載される要素のうちの1つ以上は、示されるのとは異なる順番で同時に実行され得るか、または全体的に削除されてもよいことを留意されたい。他の追加の要素も、所望であれば実行されてよい。いくつかの実施形態において、方法の一部分または全体が、コンピュータシステムによって自動的に実行され得る。
1001において、インプラントの三次元モデルが生成され、インプラント製プロセスを制御するのに操作可能な制御装置にアクセス可能な記憶媒体内に記憶される。1003において、材料(例えば、粉末、液体等)の層が、支持体に適用される。いくつかの実施形態において、その粉末は、高強度/低重量の材料であり得るγTiAl(γチタンアルミナイド)を含み得る。他の材料も使用され得る。粉末は、ガス噴霧プロセスを使用して形成され得、およそ20〜200マイクロメートル(μm)の範囲(例えば、およそ80μm)の直径を有する微粒を含み得る。粉末は、分配装置を通って支持体に送達され得る(例えば、保管容器からの送達)。分配装置及び/または支持体は、支持体に(例えば、粉末の)層を適用するために、分配中移動し得る。いくつかの実施形態において、層は、およそ均一の厚みであり得る(例えば、平均20〜200マイクロメートル(μm)の厚みを有する)。いくつかの実施形態において、分配装置及び支持体は、移動し得ない(例えば、材料が支持体上に噴霧され得る)。1005において、制御装置が、材料層に電子ビームを移動する。いくつかの実施形態において、電子ビーム生成器が移動され得、いくつかの実施形態において、支持体が移動され得る。材料が、γTiAlの場合、およそ摂氏1200〜1800度の範囲(例えば、摂氏1500度)の融解温度が、電子ビームと材料との間で取得され得る。1007において、各電子ビームの通過の間に、追加の材料が、分配装置によって適用され得る。1009において、非融解材料は除去され、インプラントは(例えば、冷却不活性ガスを用いて)冷却される。いくつかの実施形態において、インプラントの縁は、(例えば、ダイヤモンド研磨機を用いて)滑らかにされて、粗縁を除去し得る。いくつかの実施形態において、インプラントは、粗縁を含み、インプラントと包囲する骨との間で摩擦を増加させて、インプラントの骨への接着を増加させ得る。
インプラントの他の作製方法も企図される。例えば、インプラントは、鋳造または射出成型され得る。いくつかの実施形態において、多数の部品は、鋳造または射出成型され得、(例えば、溶接、融解等によって)1つに連接され得る。いくつかの実施形態において、インプラントを形成する個別の支柱は、(例えば、鋳造、射出成型等によって)別個に生成され得、1つに溶接されてインプラントを形成し得る。いくつかの実施形態において、異なるサイズの多数のインプラントが構築され得、1つのキット中に送達され得る。医学医療専門家は、手術中、インプラントを(例えば、必要とするサイズに応じて)選択してもよい。いくつかの実施形態において、多数のインプラントは、埋め込みの場所で使用され得る。
特定の用具が、本明細書に記載されるインプラントを挿入するために使用され得る。使用され得る用具の例は、米国公開特許出願第2010/0161061号、同第2011/0196495号、同第20110313532号、及び同第2013/0030529号に記載され、それらの各々が、参照により本明細書に組み込まれる。
図9は、ある実施形態による、脊椎インプラントを埋め込むための方法の流れ図を例示する。以下に記載される本方法の種々の実施形態において、記載される要素のうちの1つ以上は、示されるのとは異なる順番で同時に実行され得るか、または全体的に削除されてもよいことを留意されたい。他の追加の要素も、所望であれば実行されてよい。いくつかの実施形態において、方法の一部分または全体が、コンピュータシステムによって自動的に実行され得る。
ステップ1301において、体内空間がアクセスされる。例えば、前方開口部は、患者の体内で、前方椎体間固定術(ALIF)手法のために作成され得るか、または後方開口部は後方椎体間固定術(PLIF)手法のために作成され得る。1303において、体内空間の少なくとも一部分が、切除されて、体内空間内に空洞を形成する。1305において、インプラントは、体内空間の空洞中に挿入される。いくつかの実施形態において、ハンドラー、またはいくつかの他の装置が、インプラントを把持するために使用され得る。いくつかの実施形態において、力は、(例えば、ハンマーによって)インプラントに適用されて、インプラントを空洞中に挿入し得る。1307において、インプラントの挿入前及び/または後に、インプラント及び/または空洞内の空間は、骨移植材料で詰められ得る。1309において、体内空間へのアクセス点は、(例えば、縫合糸を用いて)塞がられ得る。
いくつかの実施形態において、インプラントはカスタマイズされてもよい。例えば、三次元計測及び/またはインプラントの形状は、三次元形状設計全体にウェブ構造を分配するインプラントを構築するために使用され得る。
いくつかの実施形態において、トラス/ウェブ構造は、インプラントの少なくとも一部分上に配置されて、隣接する構造へのインプラントの連結を促進し得る。例えば、インプラントが、隣接する骨構造に埋め込まれる場合、1つ以上のトラス構造が、使用中に骨構造に接触する、及びそれに少なくとも部分的に接着することが意図されるインプラントの表面(例えば、接合平板)上に配置され得る、及び/またはそこから延在し得る。最中に2つの隣接する椎骨の端板間に配置される椎骨インプラントを含む実施形態等の、いくつかの実施形態において、1つ以上のトラス構造は、椎間インプラントの接触表面上に配置されて、椎間インプラントの骨構造への連結を向上させる骨成長を促進し得る。例えば、トラス構造は、接触表面から画定の開口空間までを通る骨成長のためにそこを通って延在する1つ以上の支柱を含み得、それによって、骨が成長して、骨構造とトラス構造とを互いに連結させて、インプラントを接触表面でまたはその近傍で骨構造と連結させることを可能にする。かかる骨成長による連結は、インプラントと骨構造との間の動きを阻止し得、そうでない場合、目的の位置からのインプラントの緩み、移動、沈下、または外れを引き起こす可能性がある。同様の技術は、組織及び/または骨構造と接合することが意図されるものを含む種々の種類のインプラントと共に用いられ得る。例えば、トラス構造は、膝インプラントの接触表面上で、脊椎固定術装置において、股接合点置換材において、膝置換材において、長骨再構築スキャフォールドにおいて、または頭蓋顎顔面インプラント、股関節インプラント、顎インプラント、長骨再構築用インプラント、足及び足首インプラント、肩インプラント、もしくは他の関節置換術インプラント、または隣接する骨構造または組織へのインプラントの接着を向上させるようなものにおいて用いられ得る。隣接する構造へのインプラントの連結を促進するためのインプラントの表面から延在し得るトラス構造及び別の構造の例は、米国公開特許出願第2011/0313532号に記載され、参照により本明細書に組み込まれる。
本明細書に記載されるインプラントは、実質的に一直線の支柱から構成されると描写されるが、支柱は、湾曲、弓形及び弓なりの形状を含むが、これらに限定されない、直線ではない可能性もあることを理解されたい。直線ではない支柱を有するインプラントの例は、米国特許出願第13/668,968号に記載され、参照により本明細書に組み込まれる。
いくつかの実施形態において、1つ以上の締結具(例えば、ねじ)を使用して、インプラントが骨に固定されることが望ましい。締結具は、インプラント構造の任意の部に連結されて、インプラントを骨に固定し得る。締結具を受容する1つ以上のチャネルを有するインプラントの実施形態は、図10A、10B、及び10Cに描写される。一実施形態において、インプラント400は、節点で連接された複数の支柱を有する2つ以上の平面トラスユニットから形成された立体トラス410を含むウェブ構造から構成される。1つ以上のチャネル420は、ウェブ構造内に形成される。チャネルは、チャネル出口425a、bがウェブ構造の少なくとも2つの側面に存在するようにウェブ構造を通って延在する(図10Cを参照されたい)。チャネルは、1つ以上の隣接する平面トラスユニットに連結された1つ以上の実質的に弓形及び/または円形の支柱422によって画定され得る。
チャネルは、円柱状の締結具430(例えば、骨ねじ)を受容するために実質的に管状であり得る。締結具430は、チャネル420内で移動し得、このため締結具の側部は、立体トラス410に取り付けられていない。かかる実施形態において、締結具430は、インプラント400の表面と接触して、インプラントを骨に固定させる頭部(示されない)を含み得る。あるいは、チャネル420は、実質的にねじ式であり得、骨ねじのねじ切り部に対して相補的なねじ切り部を有する。使用中、骨ねじは、骨ねじをチャネルのねじ切り部と一つにすることによってチャネル420に連結される。チャネル420のねじ切り部は、骨ねじに連結されるとき、インプラントから締結具が引出されることを防止するのに役立つ。
外部支持体450も、図11に描写されるように、インプラント400を骨構造に固定するのに使用され得る。外部支持体450は、1つ以上の締結具430を使用して、インプラント400のウェブ構造に連結され得る。それゆえ、締結具430は、外部支持体450を通って、チャネル420中及び骨構造中に進み、インプラント400及び外部支持体を骨に固定し得る。外部支持体450は、インプラント400内に配置されたチャネル420の位置に対応する1つ以上の開口部452を含み得る。外部支持体450は、追加の開口部454を含み得、これは支持体が独立して骨構造に連結されることを可能にする。配置される外部支持体は、インプラントシステムの別個の構成要素として描写されるが、インプラント400と一体化されて、外部支持体に取り付けられる立体トラスを含む一体のインプラントを形成し得ることを理解されたい。
一実施形態において、骨構造は、インプラント400を使用して修復され得る。インプラント400は、修復が必要な骨構造に近接して、またはそれらと接触して配置され得る。締結具430は、1つ以上のチャネル420内に位置付けられ得、骨構造に連結され得る。いくつかの実施形態において、締結具430は、骨ねじである。骨ねじは、チャネル420中に挿入され得、骨ねじを骨構造中にねじ込むことによって骨に締結され得る。いくつかの実施形態において、チャネル420は、骨ねじがインプラントならびに骨構造に連結されるように骨ねじのねじ切り部に相補的なねじ切り部を有し得る。
いくつかの実施形態において、外部支持体450は、インプラントを骨構造に固定するために使用され得る。インプラント400は、骨構造に近接して配置され得る。外部支持体450は、外部支持体450上の開口部452のうちの少なくともいくつかがインプラントの1つ以上のチャネル420と揃うようにインプラント400に近接して、または接触して配置され得る。締結具(例えば、骨ねじ)は、開口部452を通って、チャネル420中に位置付けられ得、下部の骨構造に連結され得る。追加の締結具は、1つ以上の追加の開口部454内に位置付けられ得、骨構造の外側部分に連結されて、追加の支持体をインプラントに提供し得る。
代替方法において、外部構造450は、チャネルを有さないインプラント内にチャネルを形成するためのガイドとして使用され得る。インプラント100等のインプラントは、修復が必要な骨構造に近接して、またはそれらと接触して位置付けられ得る。外部支持体450は、骨構造及びインプラント100に近接して、またはそれらと接触して配置され得る。外部構造450の開口部452のうちの少なくとも一部分は、インプラントの一部分と揃えられる。ドリル、または他の切断装置が、インプラント内にチャネルを形成するために使用され得、これには、チャネルをどこに形成するかを決定するためのガイドとして、外部支持体を使用する。チャネルを形成するために使用される外部支持体の開口部は、ドリルビットのためのガイドを提供することによってチャネルが穿設される角度を制御するのに十分な深さを有する。インプラントのチャネルは、開口部を有する外部支持体を選択することによって埋め込み中にカスタムメイドで作製され得、これは、望ましい位置及び角度でチャネルを生成することになる。
いくつかの実施形態において、骨ねじが、骨構造を通って進んだ後に、骨ねじをインプラント(例えば、インプラント400)のチャネル内に据え付けることが必要であり得る。ねじが、インプラント中にまたはそこを通って配置される前に、インプラントが、骨構造内に位置されるため、骨ねじがインプラントのチャネルと適切に揃うことを達成させるのは困難である可能性がある。図19は、インプラント中への1つ以上の骨ねじの配置を導くことを目的に使用され得る軌跡ガイド装置1500を描写する。軌跡ガイド1500は、連結区域1510及びガイド1520を含む。連結区域は、1つ以上の締結具1515を含み、これは、インプラント上で対応する締結具と連結する。ガイド1520は、患者の皮膚に対して添えられ、ガイドとして作用し、1つ以上の骨ねじの配置を導く。ガイド1520は、骨ねじまたは他の締結装置が、通って、対象の皮膚及びその下にある骨の中に挿入される、1つ以上のチャネル1530を含む。チャネルは、ガイドを通って対象場所中に挿入される締結具がインプラントのチャネルと揃うように位置付けられる。
実施形態において、インプラント700は、遠位端720及び近位端710を含み、近位端は、節点で連接された複数の支柱を有する2つ以上の平面トラスユニットを備える立体トラス715を備える。立体トラスは、ヒト骨組織と接合するように構成される。遠位端720は、インプラントが骨構造中にねじ込まれることを可能にするねじ切り部725を含む。いくつかの実施形態において、ねじ式遠位端は、実質的に剛性である。いくつかの実施形態において、ねじ式遠位端は、外側ねじ切り部を有する立体トラスである。溝730は、骨ねじを骨構造中に挿入するために使用され得る。
図20は、近位端1610及び遠位端1620を含む骨ねじ1600の実施形態を描写する。近位端1610は、節点で連接された複数の支柱を有する2つ以上の平面トラスユニットを備える立体トラス1615を含む。立体トラスは、ヒト骨組織と接合するように構成される。近位端1610は、インプラントが骨構造中にねじ込まれることを可能にするねじ切り部1625を含む。遠位端は、骨ねじを骨構造中に挿入するために使用され得る溝1630を含む。骨ねじ1600をロッドまたはいくつかの他の連接具(かかる骨ねじは椎弓根ねじとして作用する)に連結するために使用され得る開口部1640、またはいくつかの他の連接部は、遠位端に形成される。開口部1640は、近位端が骨の中に配置された後に骨から延在する遠位端部に配置される。近位端におけるトラス構造の使用は、骨ねじが骨構造中に吸収されることを可能にし、これは、ねじ式骨ねじにより確実な連接を提供する。立体トラスの使用は、対象の通常の動きに因って骨ねじ上にかかる力に因り骨ねじが引き出されることを防止することにも役立つ。
図21は、近位端1660及び遠位端1670を含む骨ねじ1650の実施形態を描写する。近位端1660は、節点で連接された複数の支柱を有する2つ以上の平面トラスユニットを備える立体トラス1665を含む。立体トラスは、ヒト骨組織と接合するように構成される。近位端1660は、インプラントが骨構造中にねじ込まれることを可能にするねじ切り部1675を含む。遠位端は、2つの骨区分を1つに連結して挿入するために使用され得る頭部1680を含む。使用中、頭部1680は、骨構造と接触し、近位端が骨の中にねじ込まれる際、その頭部と接触する骨区分が、近位頭部がはめ込まれる骨区分の方に向かって牽引される。
図22は、近位端1710及び遠位端1720を含む骨ねじ1700の実施形態を描写する。近位端1710は、立体トラス1715を含み得るか、または実質的に剛性であり得る(示されない)。立体トラスは存在する場合、ヒト骨組織と接合するように構成される。近位端1710は、インプラントが骨構造中にねじ込まれることを可能にする第1の間隔を有するねじ切り部1725を含む。遠位端は、近位端上のねじ切り部と異なる第2の間隔を有するねじ切り部1730も含む。骨ねじ1700は、2つの骨区分を1つに連結するために使用され得る。使用中、案内孔は、第1の骨構造を通って穿設され、これは、近位端1710が第1の骨構造を通って進むことを可能にする。次に、近位端は、第2の骨区分と接触し、第2の骨区分中にねじ込まれる。近位端が第2の骨区分中にねじ込まれる際、遠位端上のねじ切りは、第1の骨区分と係合し、第2の骨区分を第1の骨区分に向かわせる。骨ねじ1700は、第2の骨区分中に十分に挿入されると、2つの骨構造を互いに接触した状態に保つ。
代替実施形態において、全ての骨ねじは、使用中に骨ねじが骨に吸収されることを可能にするためにウェブ構造から形成され得る。図12Bは、骨ねじ750の実施形態を描写する。骨ねじ750は、節点で連接された複数の支柱を有する2つ以上の平面トラスユニットを備える立体トラス755から構成される。立体トラス755は、ヒト骨組織と接合するように構成される。ねじ切り部775は、立体トラス周辺に位置付けられ、骨ねじが骨構造中にねじ込まれることを可能にする。端760は、溝765、または締結用具(例えば、ねじ回し)によって遠位端と連結することが可能であるいくつかの他の構造もしくは形状を含む。締結用具は、使用者が骨ねじ750を回転することを可能にすることでねじ切り部775を骨構造中に固定するために使用される。描写されるように、骨ねじは、立体トラス755に連結されるねじ切り部を有する。しかし、立体トラス755のトラスユニットのうちの1つ以上が、1つ以上の湾曲支柱を有し得、これは共にねじ切り部775を形成することを理解されたい。
骨ねじ750は、少なくとも骨ねじ用の案内孔として作用するのに十分な開口部を骨構造内に形成することによって骨構造中に挿入され得る。骨ねじは、開口部に接触して配置され、締結用具をその端上に連結させることによって(例えば、溝765通って)回転される。骨ねじ750の回転は、ねじ切が骨構造に接触することを可能にし、インプラントを骨構造中に固定する。骨ねじ750は、股関節、膝、肩、肘、脊椎の骨構造を含むが、これに限定されない様々な骨構造に対して使用され得る。
近位の上腕骨骨折は、骨折の粉砕、良好でない骨の品質、及び再構築されるのには解剖学的構造が複雑であることが原因で修復する上で課題を残す。種々の骨接合装置、例えば、キルシュナー鋼線、平板及びねじ、骨髄内釘、平板を固着する固定角度付き薄型平板、ならびに解剖学的または逆上腕骨人工関節等が、転位骨折に対して利用可能である。しかし、これらの手順の効果は、一貫性がなく、用いられる手術技術及び外科医の技能に大きく依存する。
図13に描写される実施形態において、骨接合インプラント800は、上腕骨近位端複雑骨折の治療に使用され得る。インプラント800は、平面トラス810から構成される三角柱である。これは、近位上腕骨空洞に挿入されて、上腕頭及び結節を安定させる。立体トラス構造は、他の同様のインプラントと比較して、装置の骨統合を改善する。
図14に描写される実施形態において、骨接合インプラント850は、不成功の人工足関節全置換術の修正手術のために使用され得る。インプラント850は、全人工足関節の除去によって残された構造欠陥を克服するために使用され得る。インプラント850は、平面トラス860から構成される文字Uの形状に切り取られたブロックである。
図15は、締結具を受容することができる1つ以上のチャネルを有するインプラントの実施形態を描写する。一実施形態において、インプラント1100は、節点で連接された複数の支柱を有する2つ以上の平面トラスユニットから形成された立体トラス1110を含むウェブ構造から構成される。1つ以上のチャネル1120は、ウェブ構造内に形成される。チャネルは、チャネル出口がウェブ構造の少なくとも2つの側面に存在するようにウェブ構造を通って延在する。チャネルは、1つ以上の隣接する平面トラスユニットに連結されたチャネル構造1125によって画定され得る。
チャネルは、円柱状の締結具(例えば、骨ねじ)を受容するために実質的に管状であり得る。締結具は、チャネル1120内で移動し得、このため締結具の側部は、立体トラス1110に取り付けられていない。かかる実施形態において、締結具は、インプラント1100の表面に接触して、インプラントを骨に固定させる頭部(示されない)を含み得る。あるいは、チャネル構造造1125は、骨ねじのねじ切り部に相補的なねじ切り部1130を含み得る。使用中、骨ねじは、骨ねじをチャネルのねじ切り部と一つにすることによってチャネル1120に連結される。チャネル1120のねじ切り部は、骨ねじに連結されると、締結具がインプラントから引出されることを防止するのに役立つ。
図16は、締結具を受容することができる1つ以上のチェネルを有するインプラントの実施形態を描写する。一実施形態において、インプラント1150は、節点で連接された複数の支柱を有する2つ以上の平面トラスユニットから形成された立体トラス1160を含むウェブ構造から構成される。1つ以上のチャネル1170は、ウェブ構造内に形成される。チャネルは、チャネル出口がウェブ構造の少なくとも2つの側面に存在するようにウェブ構造を通って延在する。チャネルは、1つ以上の隣接する平面トラスユニットに連結されたチャネル構造1175によって画定され得る。
チャネルは、円柱状の締結具(例えば、骨ねじ)を受容するために実質的に管状であり得る。締結具は、チャネル1170内で移動し得、これにより締結具の側部は、立体トラス1160に取り付けられていない。かかる実施形態において、締結具は、インプラント1150の表面に接触して、インプラントを骨に固定させる頭部(示されない)を含み得る。あるいは、チャネル構造造1175は、骨ねじのねじ切り部に相補的なねじ切り部1180を含み得る。使用中、骨ねじは、骨ねじをチャネルのねじ切り部と一つにすることによってチャネル1170に連結される。チャネル1170のねじ切り部は、骨ねじに連結されると、締結具がインプラントから引出されることを防止するのに役立つ。
いくつかの長骨の骨折において、骨端を揃える最善の方法は、通常いくつかの骨髄を含む骨の中空部を通してロッドまたはくぎを挿入することによる。しかし、ほとんどの骨ロッドは、骨に十分吸着されず、これは典型的に生体不活性材料から形成される。図17に描写される実施形態において、インプラント1200は、立体トラス1220によって少なくとも部分的に包含される骨ロッド1210を含む。使用中、インプラント1200の端1230及び1235は、骨の中に挿入され得る。立体トラス1220も骨の中に挿入され得るか、または骨折した骨片の間の空間を満たし得る。立体トラス1220は、対象の骨構造中への骨ロッドのより良好な組み込みを可能にする。
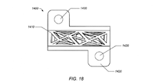
図18は、平板1420に連接されたウェブ構造1410を含むインプラント1400の実施形態の上面図を描写する。平板1420は、骨ねじがインプラント1400を骨の外側に固定するために使用されることを可能にする1つ以上のねじ穴1430を含む。使用中、ウェブ構造1410は、骨内に形成される空間、自然空間(例えば、椎間板置換装置として)、または2つの別個の骨区分の間に配置され得る。任意の適用において、平板1420は、骨の外側に添えられ、使用者がインプラントを骨に固定することを可能にする2つのねじ穴1430を提供する。この方法において、対象が通常の動きをする間、インプラントが骨区域から引き出される可能性は低い。
図23は、骨折した骨構造用の外側支持体を形成するために使用されるトラス鋳造物の概略図を描写する。実施形態において、トラス鋳造物は、互いに連結される単一のトラス構造または複数の立体トラスを備える。トラス鋳造物は、骨折した骨周辺で包まれ得るように形成され、骨折した骨区分を正しい位置に保持するための鋳造物として作用する。図23に描写される実施形態において、トラス鋳造物1750は、3つの立体トラス1760、1765、及び1770を含む。立体トラスは、可動性連接具1780及び1782を用いて互いに連結される。可動性連接具は、立体トラスが互いに対して少なくとも90度回転することを可能にする。トラス鋳造物1750は、第1の立体トラス1760から第3の立体トラス1770まで延在する連接具1790を含む。使用中、トラス鋳造物は、骨折の場所において骨1785周辺で包まれる。連接具は、立体トラス1760及び1770に締結されて、トラス鋳造物を正しい位置に保持する。実施形態において、連接具は、2つの立体トラス1760及び1770を1つに連結して、トラス鋳造物を骨に対して固定する張力調整装置を含み得る。トラス鋳造物は、3つの立体トラスを有するように描写されるが、それよりも多いまたは少ない立体トラスが使用され得ることを理解されたい。一実施形態において、単一の立体トラスがトラス鋳造物として使用される。単一の立体トラスは、実質的に可動性のある材料で形成され得、これは連接具の引張りにより骨折した骨区分周辺で立体トラスが牽引されることを可能にする。
本特許において、ある特定の米国特許、米国特許出願、及び他の資料(例えば、記事)が参照により組み込まれている。しかし、かかる米国特許、米国特許出願、及びその他の資料の本文は、かかる本文と本明細書に記載される他の文言及び図面との間に矛盾が発生しない範囲のみで参照により組み込まれる。かかる矛盾が発生する場合、米国特許、米国特許出願、及びその他の資料中のかかる参照により組み込まれたいずれのかかる矛盾する本文も明確に、参照により本特許に組み込まれない。
以上の説明に従って、種々の実施形態において、インプラントは、ウェブ構造を含み得る。インプラントのためのウェブ構造は、マイクロトラス設計を含み得る。いくつかの実施形態において、マイクロトラス設計は、多数の支柱を含むウェブ構造を含み得る。他のウェブ構造も企図される。ウェブ構造は、(インプラントの中央部分を含む)インプラント全体に延在し得る。よって、ウェブ構造は、インプラントを多数の平面に沿って補強し得(内部インプラント耐荷重を含む)、骨移植融着に対する増加した範囲を提供し得る。ウェブ構造は、脊椎インプラント、脊椎固定術装置、股接合点置換材、膝置換材、長骨再構成スキャフォールド、及び頭蓋顎顔面インプラント等のインプラントにおいて使用され得る。他のインプラントの使用も企図される。いくつかの実施形態において、インプラントのためのウェブ構造は、1つ以上の幾何学的物体(例えば、多面体)を含み得る。いくつかの実施形態において、ウェブ構造は、幾何学的な構造ブロックのパターン(例えば、インプラントにおいて使用され得る支柱の非規則的パターン)を含み得ない。いくつかの実施形態において、ウェブ構造は、2つ以上の四面体を含む三角のウェブ構造を含み得る。四面体は、4つの三角面を含み得、そこにおいて4つの三角面のうち3つが各頂点で合する。ウェブ構造は、2つの隣接する面で1つになるように配置されて、六面体状の枠組み(6つの面を含む)を有するウェブ構造を形成する2つの四面体をさらに含み得る。いくつかの実施形態において、多数の六面体状のウェブ構造が横並びに配設され得る。ウェブ構造は、側頂点によって直接連接し得る(例えば、2つ以上の六面体状のウェブ構造は、頂点を共有し得る)。いくつかの実施形態において、ウェブ構造は、インプラントに脊柱前弯を提供するために角度を有し得る。
本発明の種々の態様のさらなる修正及び代替実施形態は、本説明の視点から、当業者には明らかであり得る。例えば、特定の実施形態において、支柱は、実質的に一直線の伸長される部材であるように記載及び描写されているが、支柱は、伸長される部材の長さの少なくとも一部分に沿って湾曲/弓なりである部材を含み得る。したがって、本説明は、単に例示的であると解釈されるべきであり、本発明を実行する一般的な方法を当業者に教示することを目的とする。本明細書に示され、かつ記載される本発明の形態は、実施形態としてとらえられると理解されよう。要素及び材料は本明細書に例示及び記載されるものと置換され得、部品及びプロセスは入れ替えられ得、本発明の特定の特徴は独立して用いられ得、全ては、本発明の本明細書の利益を有した後に当業者に明らかとなるであろう。本明細書に記載される要素の変更は、以下の特許請求の範囲で記載される本発明の趣旨及び範囲から逸脱することなく行われる。さらに、留意されよう。単語「であり得る」は、本出願全体を通して、許容の意味(すなわち、可能性を有し、することができる)で使用され、強制の意味(すなわち、しなければならない)では使用されていない。用語「含む」及びそれの派生語は、「を含むが、限定はされない」ことを意味する。本明細書及び特許請求の範囲で使用される場合、単数形「a」、「an」、及び「the」は、文脈が別途明らかに示していない限り複数の指示物を含む。よって、例えば、「1つの支柱」に対する言及は、2つ以上の支柱の組み合わせを含む。用語「連結される」は、「直接的または間接的に連接される」ことを意味する。

Claims (9)

  1. 節点で連接された複数の支柱を有する2つ以上の平面トラスユニットを備える立体トラスを備えるインプラントであって、前記立体トラスが、ヒト骨組織と相互作用して接合するように構成され、前記立体トラスの外側が、前記インプラントが骨構造中にねじ込まれることを可能にするねじ切り部を備える、インプラント。
  2. 前記ねじ切り部が、前記立体トラスの1つ以上の支柱によって形成される、請求項1に記載のインプラント。
  3. 前記立体トラスによって少なくとも部分的に包囲されるロッドをさらに備える、請求項1に記載のインプラント。
  4. 前記インプラントが遠位端及び近位端を備え、前記近位端の少なくとも一部分が、前記インプラントが骨構造中にねじ込まれることを可能にする前記ねじ切り部を備え、前記遠位端が、骨構造に接触する頭部を備え、かつ、前記近位端が前記ヒト骨組織にねじ込まれるにつれ、前記頭部が前記ヒト骨組織を前記近位端に向けて引っ張る、請求項1に記載のインプラント。
  5. 記近位端が、第1の間隔を有するねじ切り部を備え、前記遠位端が、前記第1の間隔とは異なる第2の間隔を有するねじ切り部を備える、請求項に記載のインプラント。
  6. 前記遠位端が、ロッドまたは外部連接具を受容するように構成される開口部を備える、請求項4または5に記載のインプラント。
  7. 複数の前記平面トラスユニットが、三角形の構成で3つの実質的に一直線の支柱及び3つの節点を有する1つ以上の平面三角トラスユニットを備える、請求項1〜6のいずれか一項に記載のインプラント。
  8. 複数の前記平面トラスユニットが、1つ以上の平面トラスユニットが、前記1つ以上の平面トラスユニットと少なくとも1つの支柱を共有する平面トラスユニットの平面に対して実質的に平行でない平面に位置するように、互いに連結される、請求項1〜7のいずれか一項に記載のインプラント。
  9. 前記複数の支柱が、異なる対応する角度を有する2つの異なる三角平面トラスユニットによって共有される少なくとも1つの節点を有する三角トラスを画定する、請求項1〜8のいずれか一項に記載のインプラント。
JP2019147711A 2013-03-15 2019-08-09 外傷性骨折修復システム及びその方法 Active JP6910397B2 (ja)

Applications Claiming Priority (3)

Application Number Priority Date Filing Date Title
US201361801524P 2013-03-15 2013-03-15
US61/801,524 2013-03-15
JP2016503373A JP6573598B2 (ja) 2013-03-15 2014-03-17 外傷性骨折修復システム及びその方法

Related Parent Applications (1)

Application Number Title Priority Date Filing Date
JP2016503373A Division JP6573598B2 (ja) 2013-03-15 2014-03-17 外傷性骨折修復システム及びその方法

Publications (2)

Publication Number Publication Date
JP2019213896A JP2019213896A (ja) 2019-12-19
JP6910397B2 true JP6910397B2 (ja) 2021-07-28

Family

ID=51538492

Family Applications (2)

Application Number Title Priority Date Filing Date
JP2016503373A Active JP6573598B2 (ja) 2013-03-15 2014-03-17 外傷性骨折修復システム及びその方法
JP2019147711A Active JP6910397B2 (ja) 2013-03-15 2019-08-09 外傷性骨折修復システム及びその方法

Family Applications Before (1)

Application Number Title Priority Date Filing Date
JP2016503373A Active JP6573598B2 (ja) 2013-03-15 2014-03-17 外傷性骨折修復システム及びその方法

Country Status (7)

Country Link
US (1) US9636226B2 (ja)
EP (2) EP2967873B1 (ja)
JP (2) JP6573598B2 (ja)
KR (1) KR20150130528A (ja)
CN (1) CN105555233B (ja)
CA (1) CA2911880C (ja)
WO (1) WO2014145529A2 (ja)

Families Citing this family (115)

* Cited by examiner, † Cited by third party
Publication number Priority date Publication date Assignee Title
AU2003261497B2 (en) 2002-11-08 2009-02-26 Howmedica Osteonics Corp. Laser-produced porous surface
US20060147332A1 (en) 2004-12-30 2006-07-06 Howmedica Osteonics Corp. Laser-produced porous structure
US9949843B2 (en) 2004-08-09 2018-04-24 Si-Bone Inc. Apparatus, systems, and methods for the fixation or fusion of bone
US20180228621A1 (en) 2004-08-09 2018-08-16 Mark A. Reiley Apparatus, systems, and methods for the fixation or fusion of bone
US8728387B2 (en) 2005-12-06 2014-05-20 Howmedica Osteonics Corp. Laser-produced porous surface
ES2751997T3 (es) 2008-01-14 2020-04-02 Conventus Orthopaedics Inc Aparato de reparación de fracturas
AU2009335771B2 (en) 2008-12-18 2015-01-29 4-Web, Inc. Truss implant
US12279964B2 (en) 2008-12-18 2025-04-22 4Web, Llc Implants having bone growth promoting agents and methods of using such implants to repair bone structures
US9220547B2 (en) 2009-03-27 2015-12-29 Spinal Elements, Inc. Flanged interbody fusion device
WO2013134670A1 (en) 2012-03-09 2013-09-12 Si-Bone Inc. Integrated implant
US10363140B2 (en) 2012-03-09 2019-07-30 Si-Bone Inc. Systems, device, and methods for joint fusion
US9180010B2 (en) 2012-04-06 2015-11-10 Howmedica Osteonics Corp. Surface modified unit cell lattice structures for optimized secure freeform fabrication
US9135374B2 (en) 2012-04-06 2015-09-15 Howmedica Osteonics Corp. Surface modified unit cell lattice structures for optimized secure freeform fabrication
WO2013166496A1 (en) 2012-05-04 2013-11-07 Si-Bone Inc. Fenestrated implant
US12115071B2 (en) 2012-09-25 2024-10-15 4Web, Llc Programmable intramedullary implants and methods of using programmable intramedullary implants to repair bone structures
CN104780870B (zh) 2012-09-25 2018-03-02 4网络公司 可编程植入物和使用可编程植入物修复骨结构的方法
US9936983B2 (en) 2013-03-15 2018-04-10 Si-Bone Inc. Implants for spinal fixation or fusion
KR20150130528A (ko) 2013-03-15 2015-11-23 4웹, 인코포레이티드 외상성 뼈 골절 복구 시스템들 및 방법들
DE202014003441U1 (de) * 2013-08-14 2014-11-18 Joimax Gmbh Zwischenwirbel-Körbchen
WO2015057866A1 (en) 2013-10-15 2015-04-23 Si-Bone Inc. Implant placement
US11147688B2 (en) 2013-10-15 2021-10-19 Si-Bone Inc. Implant placement
CN104665913B (zh) 2013-11-26 2017-06-06 财团法人工业技术研究院 仿生固定装置与其拔出装置
CN104665906B (zh) * 2013-11-26 2017-09-08 财团法人工业技术研究院 仿生固定装置
CN104207867B (zh) * 2014-08-13 2017-02-22 中国科学院福建物质结构研究所 一种低模量医用植入多孔支架结构
US11090168B2 (en) * 2014-08-29 2021-08-17 Newsouth Innovations Pty Limited Fusion device
EP4599780A3 (en) 2014-09-18 2025-10-29 SI-Bone, Inc. Matrix implant
US10166033B2 (en) 2014-09-18 2019-01-01 Si-Bone Inc. Implants for bone fixation or fusion
US10751185B2 (en) * 2014-10-23 2020-08-25 Spinesmith Partners, L.P. Treatment of skeletal voids with implantable substrate hydrated with bone marrow concentrate
AU2016200179B2 (en) 2015-01-14 2020-09-17 Stryker European Operations Holdings Llc Spinal implant with porous and solid surfaces
AU2016200195B2 (en) 2015-01-14 2020-07-02 Vb Spine Us Opco Llc Spinal implant with fluid delivery capabilities
US10070962B1 (en) 2015-02-13 2018-09-11 Nextstep Arthropedix, LLC Medical implants having desired surface features and methods of manufacturing
US10376206B2 (en) 2015-04-01 2019-08-13 Si-Bone Inc. Neuromonitoring systems and methods for bone fixation or fusion procedures
US10492921B2 (en) 2015-04-29 2019-12-03 Institute for Musculoskeletal Science and Education, Ltd. Implant with arched bone contacting elements
US10449051B2 (en) 2015-04-29 2019-10-22 Institute for Musculoskeletal Science and Education, Ltd. Implant with curved bone contacting elements
CN108348342B (zh) 2015-04-29 2019-12-13 肌肉骨骼科学教育研究所有限公司 线圈状的植入物和系统及其使用方法
US10709570B2 (en) 2015-04-29 2020-07-14 Institute for Musculoskeletal Science and Education, Ltd. Implant with a diagonal insertion axis
CA2930123A1 (en) 2015-05-18 2016-11-18 Stryker European Holdings I, Llc Partially resorbable implants and methods
AU2016267051A1 (en) 2015-05-22 2017-12-14 Stryker European Operations Limited Joint or segmental bone implant for deformity correction
US20170258606A1 (en) 2015-10-21 2017-09-14 Thomas Afzal 3d printed osteogenesis scaffold
EP3389570B1 (en) 2015-12-16 2024-04-17 Nuvasive, Inc. Porous spinal fusion implant
US11141286B2 (en) 2018-05-08 2021-10-12 Globus Medical, Inc. Intervertebral spinal implant
US10660764B2 (en) * 2016-06-14 2020-05-26 The Trustees Of The Stevens Institute Of Technology Load sustaining bone scaffolds for spinal fusion utilizing hyperbolic struts and translational strength gradients
CN106037993A (zh) * 2016-07-08 2016-10-26 北京大学人民医院 骶骨修复体
US10478312B2 (en) 2016-10-25 2019-11-19 Institute for Musculoskeletal Science and Education, Ltd. Implant with protected fusion zones
US11033394B2 (en) 2016-10-25 2021-06-15 Institute for Musculoskeletal Science and Education, Ltd. Implant with multi-layer bone interfacing lattice
WO2018151859A1 (en) * 2017-02-16 2018-08-23 Paragon 28, Inc. Implants, devices, systems, kits and methods of implanting
US10667924B2 (en) 2017-03-13 2020-06-02 Institute for Musculoskeletal Science and Education, Ltd. Corpectomy implant
US10512549B2 (en) * 2017-03-13 2019-12-24 Institute for Musculoskeletal Science and Education, Ltd. Implant with structural members arranged around a ring
US10357377B2 (en) 2017-03-13 2019-07-23 Institute for Musculoskeletal Science and Education, Ltd. Implant with bone contacting elements having helical and undulating planar geometries
US10213317B2 (en) 2017-03-13 2019-02-26 Institute for Musculoskeletal Science and Education Implant with supported helical members
US10064726B1 (en) * 2017-04-18 2018-09-04 Warsaw Orthopedic, Inc. 3D printing of mesh implants for bone delivery
CN107137166B (zh) * 2017-05-09 2024-03-29 王文军 个性化3d打印脊柱重建装置及其制备方法
EP3621557A4 (en) 2017-05-12 2021-02-24 Cutting Edge Spine LLC IMPLANTS FOR FIXATION AND FUSION OF TISSUE
AU2018203479B2 (en) 2017-05-18 2024-04-18 Howmedica Osteonics Corp. High fatigue strength porous structure
KR101806140B1 (ko) 2017-06-29 2017-12-15 주식회사 멘티스로지텍 삼차원 프린터로 출력된 단위 구조를 가진 척추 임플란트
WO2019010252A2 (en) 2017-07-04 2019-01-10 Conventus Orthopaedics, Inc. Apparatus and methods for treatment of a bone
KR101960952B1 (ko) * 2017-08-11 2019-03-26 원광대학교산학협력단 기계적 강성이 향상된 척추융합용 생분해성-생체적합성 카고메 구조 케이지
EP3459502B1 (en) 2017-09-20 2024-05-22 Stryker European Operations Holdings LLC Spinal implants
EP3687422A4 (en) 2017-09-26 2021-09-22 SI-Bone, Inc. SYSTEMS AND PROCESSES FOR DECORTICATION OF THE SACROILIAC JOINT
US10744001B2 (en) 2017-11-21 2020-08-18 Institute for Musculoskeletal Science and Education, Ltd. Implant with improved bone contact
US10940015B2 (en) * 2017-11-21 2021-03-09 Institute for Musculoskeletal Science and Education, Ltd. Implant with improved flow characteristics
US20190167433A1 (en) * 2017-12-04 2019-06-06 Duke University Orthopedic implant for sustained drug release
US10695192B2 (en) 2018-01-31 2020-06-30 Institute for Musculoskeletal Science and Education, Ltd. Implant with internal support members
US11147679B2 (en) * 2018-02-05 2021-10-19 Paragon Advanced Technologies, Inc. Bone fixation device
USD871577S1 (en) 2018-03-02 2019-12-31 Restor3D, Inc. Studded airway stent
USD870890S1 (en) 2018-03-02 2019-12-24 Restor3D, Inc. Spiral airway stent
USD870888S1 (en) 2018-03-02 2019-12-24 Restor3D, Inc. Accordion airway stent
US10183442B1 (en) 2018-03-02 2019-01-22 Additive Device, Inc. Medical devices and methods for producing the same
USD870889S1 (en) 2018-03-02 2019-12-24 Restor3D, Inc. Cutout airway stent
EP3773342A1 (en) 2018-03-26 2021-02-17 DePuy Synthes Products, Inc. Three-dimensional porous structures for bone ingrowth and methods for producing
ES3011907T3 (en) 2018-03-28 2025-04-08 Si Bone Inc Threaded implants for use across bone segments
BR112020018838A2 (pt) * 2018-03-30 2021-05-04 DePuy Synthes Products, Inc. texturas de superfície para estruturas porosas tridimensionais para intracrescimento ósseo e métodos de produção
US10744003B2 (en) 2018-05-08 2020-08-18 Globus Medical, Inc. Intervertebral spinal implant
US10682238B2 (en) 2018-05-08 2020-06-16 Globus Medical, Inc. Intervertebral spinal implant
WO2020061487A1 (en) 2018-09-20 2020-03-26 Amendia, Inc. d/b/a Spinal Elements Spinal implant device
CN109397656A (zh) * 2018-11-15 2019-03-01 北京化工大学 一种桁架式注射机前模板
CN109925097B (zh) * 2019-01-28 2020-12-18 国家康复辅具研究中心 八面体杆结构单元、骨植入体及其传质性能评测方法
US11039931B2 (en) 2019-02-01 2021-06-22 Globus Medical, Inc. Intervertebral spinal implant
US11369419B2 (en) 2019-02-14 2022-06-28 Si-Bone Inc. Implants for spinal fixation and or fusion
AU2020223180B2 (en) 2019-02-14 2025-09-25 Si-Bone Inc. Implants for spinal fixation and or fusion
US10889053B1 (en) 2019-03-25 2021-01-12 Restor3D, Inc. Custom surgical devices and method for manufacturing the same
CN109984871B (zh) * 2019-04-16 2021-06-01 华南协同创新研究院 一种骨损伤修复用的多孔植入体结构及加工方法
US11517438B2 (en) * 2019-09-25 2022-12-06 Depuy Ireland Unlimited Company Three-dimensional porous structures for bone ingrowth and methods for producing
WO2021061205A1 (en) * 2019-09-25 2021-04-01 Mirus, Llc Interbody lattice structure
EP4606354A1 (en) * 2019-10-30 2025-08-27 4-web, Inc. Programmable intramedullary implants and methods of using programmable intramedullary implants to repair bone structures
EP4057943A4 (en) 2019-11-15 2023-12-13 4-web, Inc. Piezoelectric coated implants and methods of using piezoelectric coated implants to repair bone structures
US12419668B2 (en) 2019-11-21 2025-09-23 Si-Bone Inc. Rod coupling assemblies for bone stabilization constructs
AU2020392121B2 (en) 2019-11-27 2025-05-22 Si-Bone, Inc. Bone stabilizing implants and methods of placement across SI joints
EP4072452A4 (en) 2019-12-09 2023-12-20 SI-Bone, Inc. SACROILIAC JOINT STABILIZATION IMPLANTS AND METHODS OF IMPLANTATION
USD920515S1 (en) 2020-01-08 2021-05-25 Restor3D, Inc. Spinal implant
USD920517S1 (en) 2020-01-08 2021-05-25 Restor3D, Inc. Osteotomy wedge
US10772732B1 (en) 2020-01-08 2020-09-15 Restor3D, Inc. Sheet based triply periodic minimal surface implants for promoting osseointegration and methods for producing same
USD920516S1 (en) 2020-01-08 2021-05-25 Restor3D, Inc. Osteotomy wedge
AU2021244477A1 (en) * 2020-03-23 2022-09-29 4Web, Inc. Sacroiliac joint fusion systems and methods
CN111714254B (zh) * 2020-06-02 2024-07-16 广东施泰宝医疗科技有限公司 一种基于十四面体的渐变性多孔骨诱导结构
CN113749831B (zh) * 2020-06-04 2024-04-26 上海凯利泰医疗科技股份有限公司 囊体骨架、可膨胀装置及其应用
US12201531B2 (en) 2020-07-08 2025-01-21 4Web, Llc Implants having bone growth promoting agents contained within biodegradable materials
USD942624S1 (en) 2020-11-13 2022-02-01 Mirus Llc Spinal implant
USD942623S1 (en) 2020-11-13 2022-02-01 Mirus Llc Spinal implant
USD944400S1 (en) 2020-11-13 2022-02-22 Mirus Llc Spinal implant
USD942011S1 (en) 2020-11-13 2022-01-25 Mirus Llc Spinal implant
US12347100B2 (en) 2020-11-19 2025-07-01 Mazor Robotics Ltd. Systems and methods for generating virtual images
US11911284B2 (en) 2020-11-19 2024-02-27 Spinal Elements, Inc. Curved expandable interbody devices and deployment tools
JP2023553120A (ja) 2020-12-09 2023-12-20 エスアイ-ボーン・インコーポレイテッド 仙腸関節安定化インプラントおよびインプラント方法
WO2022133456A1 (en) 2020-12-17 2022-06-23 Spinal Elements, Inc. Spinal implant device
WO2023102533A1 (en) 2021-12-03 2023-06-08 Si-Bone Inc. Fusion cages and methods for sacro-iliac joint stabilization
WO2023182916A1 (en) * 2022-03-22 2023-09-28 Cavix Ab Resorbable interbody fusion cage
US11850144B1 (en) 2022-09-28 2023-12-26 Restor3D, Inc. Ligament docking implants and processes for making and using same
US11806028B1 (en) 2022-10-04 2023-11-07 Restor3D, Inc. Surgical guides and processes for producing and using the same
USD1051384S1 (en) 2023-03-24 2024-11-12 Restor3D, Inc. Bone fixation pin
USD1053353S1 (en) 2023-03-24 2024-12-03 Restor3D, Inc. Orthopedic screw
USD1052732S1 (en) 2023-05-25 2024-11-26 Restor3D, Inc. Subtalar wedge
US12433733B2 (en) 2023-08-15 2025-10-07 Si-Bone Inc. Pelvic stabilization implants, methods of use and manufacture
US11960266B1 (en) 2023-08-23 2024-04-16 Restor3D, Inc. Patient-specific medical devices and additive manufacturing processes for producing the same
WO2025090846A1 (en) * 2023-10-27 2025-05-01 4Web, Llc Devices for securing implants to bone tissue

Family Cites Families (105)

* Cited by examiner, † Cited by third party
Publication number Priority date Publication date Assignee Title
SE391122B (sv) 1971-01-25 1977-02-07 Cutter Lab Protes i form av en ryggradsbroskskiva och forfarande for framstellning derav
US3840904A (en) 1973-04-30 1974-10-15 R Tronzo Acetabular cup prosthesis
GB8333442D0 (en) 1983-12-15 1984-01-25 Showell A W Sugicraft Ltd Devices for spinal fixation
US5030233A (en) 1984-10-17 1991-07-09 Paul Ducheyne Porous flexible metal fiber material for surgical implantation
DE3637314A1 (de) * 1986-11-03 1988-05-11 Lutz Biedermann Platzhalter-implantat
GB8718627D0 (en) 1987-08-06 1987-09-09 Showell A W Sugicraft Ltd Spinal implants
DE8712578U1 (de) 1987-09-17 1987-12-17 Howmedica GmbH, 2314 Schönkirchen Oberschenkelteil einer Hüftgelenkendoprothese
US5609635A (en) 1988-06-28 1997-03-11 Michelson; Gary K. Lordotic interbody spinal fusion implants
US5201768A (en) 1990-01-08 1993-04-13 Caspari Richard B Prosthesis for implant on the tibial plateau of the knee
US5171276A (en) 1990-01-08 1992-12-15 Caspari Richard B Knee joint prosthesis
US5147402A (en) 1990-12-05 1992-09-15 Sulzer Brothers Limited Implant for ingrowth of osseous tissue
DE4133877C1 (ja) 1991-10-12 1993-05-19 S + G Implants Gmbh, 2400 Luebeck, De
US5282861A (en) 1992-03-11 1994-02-01 Ultramet Open cell tantalum structures for cancellous bone implants and cell and tissue receptors
DE4208247C1 (de) 1992-03-14 1993-10-14 Eska Medical Gmbh & Co Implantat als Knochenersatz
US5879385A (en) 1993-06-11 1999-03-09 Hillway Surgical Limited Surgical implant
DE4323034C1 (de) 1993-07-09 1994-07-28 Lutz Biedermann Platzhalter, insbesondere für eine Bandscheibe
US6290726B1 (en) 2000-01-30 2001-09-18 Diamicron, Inc. Prosthetic hip joint having sintered polycrystalline diamond compact articulation surfaces
AU713540B2 (en) 1994-10-25 1999-12-02 Osteonics Corp. Interlocking structural elements and method for bone repair, augmentation and replacement
DE19504867C1 (de) 1995-02-14 1996-02-29 Harms Juergen Platzhalter, insbesondere für einen Wirbel bzw. eine Bandscheibe
DE19519101B4 (de) 1995-05-24 2009-04-23 Harms, Jürgen, Prof. Dr. Höhenverstellbarer Wirbelkörperersatz
US7291149B1 (en) 1995-06-07 2007-11-06 Warsaw Orthopedic, Inc. Method for inserting interbody spinal fusion implants
US5702449A (en) 1995-06-07 1997-12-30 Danek Medical, Inc. Reinforced porous spinal implants
US6149689A (en) 1995-11-22 2000-11-21 Eska Implants Gmbh & Co. Implant as bone replacement
US5709683A (en) 1995-12-19 1998-01-20 Spine-Tech, Inc. Interbody bone implant having conjoining stabilization features for bony fusion
DE69823955T2 (de) 1997-03-04 2005-06-16 Technology Finance Corp. (Pty.) Ltd., Sandton Als knochenimplantat geeignetes erzeugnis
IL128261A0 (en) 1999-01-27 1999-11-30 Disc O Tech Medical Tech Ltd Expandable element
US5954504A (en) 1997-03-31 1999-09-21 Biohorizons Implants Systems Design process for skeletal implants to optimize cellular response
DE19721661A1 (de) 1997-05-23 1998-11-26 Zimmer Markus Knochen- und Knorpel Ersatzstrukturen
US5897556A (en) 1997-06-02 1999-04-27 Sdgi Holdings, Inc. Device for supporting weak bony structures
US6585770B1 (en) 1997-06-02 2003-07-01 Sdgi Holdings, Inc. Devices for supporting bony structures
JP2002507918A (ja) 1997-07-04 2002-03-12 エスカ・インプランツ・ゲーエムベーハー・ウント・コンパニー ステムなしの膝関節用内蔵式補装具
DE29720022U1 (de) 1997-11-12 1998-01-15 SCHÄFER micomed GmbH, 73035 Göppingen Zwischenwirbelimplantat
DE19903683C1 (de) 1999-02-01 2000-11-09 Eska Implants Gmbh & Co Hohlraspel
CA2376097A1 (en) 1999-06-04 2000-12-14 Sdgi Holdings, Inc. Artificial disc implant
US6991643B2 (en) 2000-12-20 2006-01-31 Usgi Medical Inc. Multi-barbed device for retaining tissue in apposition and methods of use
WO2001015639A1 (en) 1999-09-01 2001-03-08 Sharkey Hugh R Intervertebral spacer implant
US6866682B1 (en) 1999-09-02 2005-03-15 Stryker Spine Distractable corpectomy device
US6264695B1 (en) 1999-09-30 2001-07-24 Replication Medical, Inc. Spinal nucleus implant
US6494883B1 (en) * 2000-05-26 2002-12-17 Bret A. Ferree Bone reinforcers
US6206924B1 (en) * 1999-10-20 2001-03-27 Interpore Cross Internat Three-dimensional geometric bio-compatible porous engineered structure for use as a bone mass replacement or fusion augmentation device
US6379385B1 (en) 2000-01-06 2002-04-30 Tutogen Medical Gmbh Implant of bone matter
US6730127B2 (en) 2000-07-10 2004-05-04 Gary K. Michelson Flanged interbody spinal fusion implants
US6660008B1 (en) 2001-06-07 2003-12-09 Opus Medical, Inc. Method and apparatus for attaching connective tissues to bone using a suture anchoring device
US6761738B1 (en) 2000-09-19 2004-07-13 Sdgi Holdings, Inc. Reinforced molded implant formed of cortical bone
ATE334644T1 (de) 2000-10-11 2006-08-15 Michael D Mason Wirbelfusionsvorrichtung
FR2817462B1 (fr) 2000-12-05 2003-08-08 Stryker Spine Sa Implant intersomatique rachidien distractable in situ comportant des points de passage dur
US6931812B1 (en) 2000-12-22 2005-08-23 Stephen Leon Lipscomb Web structure and method for making the same
US6972019B2 (en) 2001-01-23 2005-12-06 Michelson Gary K Interbody spinal implant with trailing end adapted to receive bone screws
ES2262621T3 (es) 2001-01-30 2006-12-01 Synthes Ag Chur Implante de osteosintesis, en especial implante intervertebral.
FI20010523A0 (fi) 2001-03-16 2001-03-16 Yli Urpo Antti Soolien, geelien ja niiden seosten käsittely
US20020183858A1 (en) * 2001-06-05 2002-12-05 Contiliano Joseph H. Attachment of absorbable tissue scaffolds to scaffold fixation devices
FR2833480B1 (fr) 2001-12-13 2004-01-30 Fixano Prothese d'articulation du poignet et jeu d'elements permettant de constituer cette prothese
US6923830B2 (en) 2002-02-02 2005-08-02 Gary K. Michelson Spinal fusion implant having deployable bone engaging projections
WO2003073912A2 (en) * 2002-02-28 2003-09-12 Wm. Marsh Rice University Pre-fabricated tissue-engineered plug
US6712852B1 (en) 2002-09-30 2004-03-30 Depuy Spine, Inc. Laminoplasty cage
US20060147332A1 (en) 2004-12-30 2006-07-06 Howmedica Osteonics Corp. Laser-produced porous structure
USD493533S1 (en) 2003-02-14 2004-07-27 Nuvasive, Inc. Intervertebral implant
CA2545515C (en) 2003-06-25 2012-03-27 Baylor College Of Medicine Tissue integration design for seamless implant fixation
CA2533534C (en) * 2003-07-24 2013-03-19 Tecomet, Inc. Assembled non-random foams
US8062365B2 (en) 2003-08-04 2011-11-22 Warsaw Orthopedic, Inc. Bone supporting devices with bio-absorbable end members
US20050222683A1 (en) 2004-03-31 2005-10-06 Sdgi Holdings Shape memory alloy disc replacement device
US9463012B2 (en) 2004-10-26 2016-10-11 P Tech, Llc Apparatus for guiding and positioning an implant
US7799078B2 (en) 2004-11-12 2010-09-21 Warsaw Orthopedic, Inc. Implantable vertebral lift
US7578850B2 (en) 2005-04-18 2009-08-25 Uni-Knee, Llc Unicondylar knee implant
US8292967B2 (en) 2005-04-21 2012-10-23 Biomet Manufacturing Corp. Method and apparatus for use of porous implants
WO2006116761A2 (en) 2005-04-27 2006-11-02 Stout Medical Group, L.P. Expandable support device and methods of use
US7572293B2 (en) 2005-06-30 2009-08-11 Depuy Products, Inc. Tibial insert and associated surgical method
US20090054987A1 (en) * 2005-07-05 2009-02-26 Spinefrontier Lls Spinal fusion assembly
US20070027544A1 (en) 2005-07-28 2007-02-01 Altiva Corporation Spinal cage implant
US7862619B2 (en) * 2005-08-05 2011-01-04 Vot, Llc Knee joint prosthesis
US7569075B2 (en) 2005-08-26 2009-08-04 Johnson James F Thrust plate hip prosthesis
US8764832B2 (en) 2005-09-26 2014-07-01 Warsaw Orhtopedic, Inc. Anterior hybrid implant
DE102005061932A1 (de) 2005-12-23 2007-07-05 Biedermann Motech Gmbh Mehrwandiger Platzhalter
US7850736B2 (en) 2006-04-13 2010-12-14 Warsaw Orthopedic, Inc. Vertebral fusion implants and methods of use
ATE544548T1 (de) 2006-07-14 2012-02-15 Avioprop S R L Verfahren zum massenherstellen dreidimensionale gegenstände aus intermetallische verbindungen
CA2658876C (en) 2006-07-24 2015-03-17 Spine Solutions, Inc. Intervertebral implant with keel
WO2008022206A2 (en) 2006-08-15 2008-02-21 Motionback Llc Spinal implant
WO2008021474A2 (en) * 2006-08-16 2008-02-21 Incumed, Incorporated Composite interference screw for attaching a graft ligament to a bone, and other apparatus for making attachments to bone
DE102006047663A1 (de) 2006-09-29 2008-04-03 Aesculap Ag & Co. Kg Augmentationskomponente für Knochenimplantate
US20100174380A1 (en) 2006-11-13 2010-07-08 Lewis Ralph H Extended range of motion, constrained prosthetic hip-joint
CA2689637A1 (en) 2007-06-07 2008-12-18 Smith & Nephew, Inc. Reticulated particle porous coating for medical implant use
US8211182B2 (en) 2007-09-17 2012-07-03 Linares Medical Devices, Llc Hip socket with assembleable male ball shape having integrally formed ligament and female receiver and installation kit
US8226727B2 (en) 2008-02-29 2012-07-24 Vot, Llc Femoral prosthesis
CN201164511Y (zh) 2008-03-03 2008-12-17 曼德卡姆有限公司 人工髋关节髋臼外衬
CN201200499Y (zh) 2008-05-19 2009-03-04 曼德卡姆有限公司 网格状的金属骨科植入体
AU2009335771B2 (en) 2008-12-18 2015-01-29 4-Web, Inc. Truss implant
US8353966B2 (en) * 2009-01-15 2013-01-15 The Curators Of The University Of Missouri Scaffold for bone and tissue repair in mammals
US8945184B2 (en) * 2009-03-13 2015-02-03 Spinal Simplicity Llc. Interspinous process implant and fusion cage spacer
DK2253291T3 (en) 2009-05-19 2016-06-13 Nat Univ Ireland Galway The bone implants with a structure overfladeforankrende
US9399086B2 (en) 2009-07-24 2016-07-26 Warsaw Orthopedic, Inc Implantable medical devices
US8858636B2 (en) 2010-04-09 2014-10-14 DePuy Synthes Products, LLC Intervertebral implant
US20110313532A1 (en) 2010-06-18 2011-12-22 Jessee Hunt Bone implant interface system and method
CA2825198C (en) * 2011-01-25 2020-01-14 DePuy Synthes Products, LLC Expandable bone fixation implant
US9005292B2 (en) * 2011-05-10 2015-04-14 Hooman M. MELAMED Vertebral spacer
WO2013006778A2 (en) * 2011-07-07 2013-01-10 4-Web, Inc. Foot and ankle implant system and method
US9186252B2 (en) * 2011-07-26 2015-11-17 Rita Leibinger GmbH & Co. KG Tibia implant for tightening the patella tendons
US20130030529A1 (en) 2011-07-29 2013-01-31 Jessee Hunt Implant interface system and method
AU2012332092A1 (en) 2011-11-03 2014-05-15 4-Web, Inc. Method of length preservation during bone repair
CN102429716A (zh) * 2011-12-19 2012-05-02 北京爱康宜诚医疗器材股份有限公司 融合型脊柱内固定螺钉
WO2013119907A1 (en) 2012-02-08 2013-08-15 4-Web, Inc. Prosthetic implant for ball and socket joints and method of use
CN104780870B (zh) 2012-09-25 2018-03-02 4网络公司 可编程植入物和使用可编程植入物修复骨结构的方法
FR2997623B1 (fr) * 2012-11-05 2015-12-18 Lavigne Sainte Suzanne Christophe De Vis intraosseuse pour fixer a un os un fragment osseux ou un transplant et procede de fabrication d’une telle vis intraosseuse
KR20150130528A (ko) 2013-03-15 2015-11-23 4웹, 인코포레이티드 외상성 뼈 골절 복구 시스템들 및 방법들
WO2014145567A1 (en) 2013-03-15 2014-09-18 4-Web, Inc. Motion preservation implant and methods
AU2020392121B2 (en) * 2019-11-27 2025-05-22 Si-Bone, Inc. Bone stabilizing implants and methods of placement across SI joints

Also Published As

Publication number Publication date
CA2911880A1 (en) 2014-09-18
CA2911880C (en) 2022-02-08
EP2967873B1 (en) 2024-09-25
WO2014145529A3 (en) 2015-05-28
CN105555233A (zh) 2016-05-04
EP4458325A3 (en) 2025-01-22
EP4458325A2 (en) 2024-11-06
US9636226B2 (en) 2017-05-02
JP6573598B2 (ja) 2019-09-11
JP2019213896A (ja) 2019-12-19
US20140288649A1 (en) 2014-09-25
KR20150130528A (ko) 2015-11-23
EP2967873A2 (en) 2016-01-20
CN105555233B (zh) 2018-06-05
WO2014145529A2 (en) 2014-09-18
EP2967873A4 (en) 2017-03-01
JP2016513572A (ja) 2016-05-16

Similar Documents

Publication Publication Date Title
JP6910397B2 (ja) 外傷性骨折修復システム及びその方法
US11510787B2 (en) Implant having a shaft coated with a web structure
US20210228360A1 (en) Sacroiliac joint fusion systems and methods
JP6177788B2 (ja) 骨修復時の長さ保存の方法
US20170319344A1 (en) Prosthetic implant for ball and socket joints and method of use
JP6310922B2 (ja) プログラム可能な移植片、および骨構造を修復するためにプログラム可能な移植片を用いる方法
CA3170877C (en) Sacroiliac joint fusion systems and methods

Legal Events

Date Code Title Description
A621 Written request for application examination

Free format text: JAPANESE INTERMEDIATE CODE: A621

Effective date: 20190814

A977 Report on retrieval

Free format text: JAPANESE INTERMEDIATE CODE: A971007

Effective date: 20200722

A131 Notification of reasons for refusal

Free format text: JAPANESE INTERMEDIATE CODE: A131

Effective date: 20200803

A601 Written request for extension of time

Free format text: JAPANESE INTERMEDIATE CODE: A601

Effective date: 20201005

A521 Request for written amendment filed

Free format text: JAPANESE INTERMEDIATE CODE: A523

Effective date: 20210202

TRDD Decision of grant or rejection written
A01 Written decision to grant a patent or to grant a registration (utility model)

Free format text: JAPANESE INTERMEDIATE CODE: A01

Effective date: 20210607

A61 First payment of annual fees (during grant procedure)

Free format text: JAPANESE INTERMEDIATE CODE: A61

Effective date: 20210706

R150 Certificate of patent or registration of utility model

Ref document number: 6910397

Country of ref document: JP

Free format text: JAPANESE INTERMEDIATE CODE: R150

R250 Receipt of annual fees

Free format text: JAPANESE INTERMEDIATE CODE: R250

R250 Receipt of annual fees

Free format text: JAPANESE INTERMEDIATE CODE: R250