JP6908074B2 - 遊技機 - Google Patents

遊技機 Download PDF

Info

Publication number
JP6908074B2
JP6908074B2 JP2019143486A JP2019143486A JP6908074B2 JP 6908074 B2 JP6908074 B2 JP 6908074B2 JP 2019143486 A JP2019143486 A JP 2019143486A JP 2019143486 A JP2019143486 A JP 2019143486A JP 6908074 B2 JP6908074 B2 JP 6908074B2
Authority
JP
Japan
Prior art keywords
symbol
display
displayed
game
jackpot
Prior art date
Legal status (The legal status is an assumption and is not a legal conclusion. Google has not performed a legal analysis and makes no representation as to the accuracy of the status listed.)
Expired - Fee Related
Application number
JP2019143486A
Other languages
English (en)
Other versions
JP2019181288A (ja
Inventor
番野 誠
誠 番野
Current Assignee (The listed assignees may be inaccurate. Google has not performed a legal analysis and makes no representation or warranty as to the accuracy of the list.)
Sanyo Bussan Co Ltd
Original Assignee
Sanyo Bussan Co Ltd
Priority date (The priority date is an assumption and is not a legal conclusion. Google has not performed a legal analysis and makes no representation as to the accuracy of the date listed.)
Filing date
Publication date
Priority claimed from JP2018143785A external-priority patent/JP2018161586A/ja
Application filed by Sanyo Bussan Co Ltd filed Critical Sanyo Bussan Co Ltd
Priority to JP2019143486A priority Critical patent/JP6908074B2/ja
Publication of JP2019181288A publication Critical patent/JP2019181288A/ja
Application granted granted Critical
Publication of JP6908074B2 publication Critical patent/JP6908074B2/ja
Anticipated expiration legal-status Critical
Expired - Fee Related legal-status Critical Current

Links

Images

Landscapes

  • Display Devices Of Pinball Game Machines (AREA)

Description

本発明は、パチンコ機やスロットマシンに代表される遊技機に関するものである。
近年、パチンコ機等の遊技機においては、液晶表示装置等の表示装置に様々な画像を表
示して遊技の興趣向上を図っている。この表示装置における変動表示は。遊技領域に打ち
込まれた遊技球が所定の始動口へ入賞する(或いは所定のゲートを通過する)ことを条件
に開始される。表示装置は、例えば、縦方向又は横方向に分割された3つの表示領域を備
えており、識別情報としての図柄で構成された複数の図柄列による変動表示が、各表示領
域においてそれぞれ行われる。
図柄の表示領域が横方向に3分割された表示装置では、変動表示は、所定時間の経過後に、予め定められた順(例えば左、右、中の順)に停止され、全ての図柄の変動が停止し、その停止した図柄の組合せが予め定められた組合せの一つと一致する場合(大当たりとなる場合)には、遊技者に所定の遊技価値が付与される。よって、遊技者は図柄の変動表示が開始されると、停止される図柄の組合せが所定の遊技価値を生ずる組合せ(たり)となることを期待して、表示装置における図柄の表示領域にて行われる変動表示を注視しつつ遊技を行うのである。
特開2002−248232号公報
しかしながら、更なる遊技の興趣向上が求められていた。
本発明は、上述した問題点を解決するためになされたものであり遊技の興趣を向上させることができる遊技機を提供することを目的としている。
上記の課題を解決するために、本発明に係る遊技機は、判別を実行可能な判別手段と、その判別手段による判別結果に応じた演出表示を行なう表示領域を有する表示手段と、その表示手段に前記演出表示を動的表示させることが可能な表示制御手段と、前記表示手段に特定の判別結果を示すための演出表示の態様が表示された場合に、第1状態から遊技者にとって有利な第2状態に切り替わる可変手段とを備え前記表示手段の前記表示領域における前記演出表示は、複数の識別情報列を動的表示させた後に、前記表示領域に表示された前記判別結果を示すための識別情報の組合せで表示する基本演出態様と、前回表示された識別情報の組合せに対応した特殊表示がされた後に、前記判別結果が報知される特殊演出態様とを含み、前記表示制御手段は、前記基本演出態様による演出表示において前記特定の判別結果に応じた識別情報の組合せと異なる所定の識別情報の組合せが表示された場合に、その次に動的表示される演出表示を前記特殊演出態様で実行させる実行手段を備え、前記実行手段は、前記特殊演出態様による演出表示において複数種類の前記特殊表示を実行可能であり、前記特殊表示のうち、第1特殊表示が実行された場合には、その第1特殊表示が表示された後に、前記識別情報を再度、動的表示させた後に、前記判別結果を示すための組合せで表示する第1特殊演出態様を実行し、前記第1特殊表示とは異なる第2特殊表示が実行された場合には、その第2特殊表示が実行された後に、前記識別情報を動的表示させない第2特殊演出態様を実行するものであり、前記特殊表示は、前記識別情報とは異なる演出図柄を前記識別情報列に対してそれぞれ表示させるものであり、それぞれの前記識別情報列に表示された演出図柄の組み合わせによって前記第1特殊表示と前記第2特殊表示とをそれぞれ報知することが可能にされている。
本発明の遊技機によれば、判別を実行可能な判別手段と、その判別手段による判別結果に応じた演出表示を行なう表示領域を有する表示手段と、その表示手段に前記演出表示を動的表示させることが可能な表示制御手段と、前記表示手段に特定の判別結果を示すための演出表示の態様が表示された場合に、第1状態から遊技者にとって有利な第2状態に切り替わる可変手段とを備え前記表示手段の前記表示領域における前記演出表示は、複数の識別情報列を動的表示させた後に、前記表示領域に表示された前記判別結果を示すための識別情報の組合せで表示する基本演出態様と、前回表示された識別情報の組合せに対応した特殊表示がされた後に、前記判別結果が報知される特殊演出態様とを含み、前記表示制御手段は、前記基本演出態様による演出表示において前記特定の判別結果に応じた識別情報の組合せと異なる所定の識別情報の組合せが表示された場合に、その次に動的表示される演出表示を前記特殊演出態様で実行させる実行手段を備え、前記実行手段は、前記特殊演出態様による演出表示において複数種類の前記特殊表示を実行可能であり、前記特殊表示のうち、第1特殊表示が実行された場合には、その第1特殊表示が表示された後に、前記識別情報を再度、動的表示させた後に、前記判別結果を示すための組合せで表示する第1特殊演出態様を実行し、前記第1特殊表示とは異なる第2特殊表示が実行された場合には、その第2特殊表示が実行された後に、前記識別情報を動的表示させない第2特殊演出態様を実行するものであり、前記特殊表示は、前記識別情報とは異なる演出図柄を前記識別情報列に対してそれぞれ表示させるものであり、それぞれの前記識別情報列に表示された演出図柄の組み合わせによって前記第1特殊表示と前記第2特殊表示とをそれぞれ報知することが可能にされているので、遊技の興趣を上させることができる。
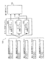
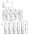
3行5列の表示領域を有し3行3列の大当たり形成領域が3つ設けられている場合の説明図。 4行5列の表示領域を有し3行3列の大当たり形成領域が6つ設けられている場合の説明図。 4行6列の表示領域を有し4行4列の大当たり形成領域が3つ設けられている場合の説明図。 パチンコ機の正面図。 外枠に対して内枠と前面枠セットとを開放した状態を示す斜視図。 パチンコ機から前面枠セットを取り外した状態を示す正面図。 遊技盤の構成を示す正面図。 前面枠セットの背面図。 パチンコ機の背面図。 パチンコ機の背面構成を主要部品毎に分解して示す分解斜視図。 内枠に遊技盤を組み付けた状態でその構成を示す背面図。 内枠を後方より見た斜視図。 支持金具の構成を示す斜視図。 第1制御基板ユニットの正面図。 第1制御基板ユニットの斜視図。 第1制御基板ユニットの分解斜視図。 第1制御基板ユニットを裏面から見た分解斜視図。 第2制御基板ユニットの正直図。 第2制御基板ユニットの斜視図。 第2制御基板ユニットの分解斜視図。 裏パックユニットの正面図。 裏パックユニットの分解斜視図。 タンクレールの斜視図。 パチンコ機の電気的構成を示したブロック図。 図柄表示装置の表示内容を示す図 主制御装置内の各種カウンタの概要を示した図 主制御装置内のMPUにより実行されるメイン処理を示したフローチャート。 主制御装置内のMPUにより実行される通常処理を示したフローチャート。 図28の通常処理の中で実行される外れ図柄カウンタ更新処理を示したフローチャート。 図28の通常処理の中で実行される特別図柄変動処理を示したフローチャート。 図30の特別図柄変動処理の中で実行される変動開始処理を示したフローチャート。 図30の装飾図柄変動処理の中で実行される変動開始処理を示したフローチャート。 タイマ割込処理を示したフローチャート。 図33のタイマ割込処理の中で実行される始動入賞処理を示したフローチャート。 NMI割込処理を示したフローチャート。 装飾図柄の図柄列を展開して示した図。 最大数のリーチがかかった場合の図柄表示装置の表示内容を示す図。 スロー回転停止パターンにおける図柄表示装置の表示内容を示す図。 スロー回転停止パターンにおける図柄表示装置の表示内容を示す図。 スロー回転停止パターンにおける図柄表示装置の表示内容を示す図。 スロー回転停止パターンにおける図柄表示装置の表示内容を示す図。 スロー回転停止パターンにおける図柄表示装置の表示内容を示す図。 連継演出停止パターンの第一段階における図柄表示装置の表示内容を示す図。 連継演出停止パターンの第1段階における図柄表示装置の表示内容を示す図。 連継演出停止パターンの第1段階における図柄表示装置の表示内容を示す図。 連継演出停止パターンの第1段階における図柄表示装置の表示内容を示す図。 連継演出停止パターンの第1段階における図柄表示装置の表示内容を示す図。 連継演出停止パターンの第1段階における図柄表示装置の表示内容を示す図。 連継演出停止パターンの第1段階における図柄表示装置の表示内容を示す図。 連継演出停止パターンの第1段階における図柄表示装置の表示内容を示す図。 連継演出停止パターンの第1段階における図柄表示装置の表示内容を示す図。 連継演出停止パターンの第1段階における図柄表示装置の表示内容を示す図。 連継演出停止パターンの第2段階のうち拡大変動パターンにおける図柄表示装置の表示内容を示す図。 連継演出停止パターンの第2段階のうち拡大変動パターンにおける図柄表示装置の表示内容を示す図。 連継演出停止パターンの第2段階のうち拡大変動パターンにおける図柄表示装置の表示内容を示す図。 連継演出停止パターンの第2段階のうち拡大変動パターンにおける図柄表示装置の表示内容を示す図。 連継演出停止パターンの第2段階のうち拡大変動パターンにおける図柄表示装置の表示内容を示す図。 連継演出停止パターンの第2段階のうち拡大変動パターンにおける図柄表示装置の表示内容を示す図。 連継演出停止パターンの第2段階のうち拡大変動パターンにおける図柄表示装置の表示内容を示す図。 連継演出停止パターンの第2段階のうち全回転パターンにおける図柄表示装置の表示内容を示す図。 連継演出停止パターンの第2段階のうち全回転パターンにおける図柄表示装置の表示内容を示す図。 連継演出停止パターンの第2段階のうち全回転パターンにおける図柄表示装置の表示内容を示す図。 表示制御装置内の各種カウンタの概要を示した図。 表示制御装置のMPUにより実行されるメイン処理を示したフローチャート。 図64のメイン処理の中で実行される装飾図柄カウンタ更新処理を示したフローチャート。 表示制御装置のMPUにより実行されるコマンド受信処理を示したフローチャート。 スロー回転表示の画像形成処理を示すフローチャート。 スロー回転表示時における第1の始動口の開閉処理を示すフローチャート。 連継演出時の画像形成処理を示すフローチャート。 払出制御装置内のMPUにより実行されるメイン処理を示したフローチャート。 払出制御装置内のMPUにより実行される払出制御処理を示したフローチャート。 払出制御装置内のMPUにより実行される賞球制御処理を示したフローチャート。 払出制御装置内のMPUにより実行される貸球制御処理を示したフローチャート。 実施の形態2に係る表示制御装置内の各種カウンタの概要を示した図。 実施の形態2に係る表示制御装置における連継演出画像形成処理を示すフローチャート。 第3の形態における図柄表示装置の表示内容を示す図。 実施の形態3に表示制御装置内の各種カウンタの概要を示した図。 その他の形態における図柄表示装置の表示内容を示す図。 その他の形態における図柄表示装置の表示内容を示す図。 その他の形態における図柄表示装置の表示内容を示す図。 その他の形態における図柄表示装置の表示内容を示す図。 その他の形態における図柄表示装置の表示内容を示す図。 その他の形態における図柄表示装置の表示内容を示す図。 その他の形態における図柄表示装置の表示内容を示す図。 その他の形態における図柄表示装置の表示内容を示す図。
本発明を説明するにあたり、名称の意味合いを説明しておく。「識別情報列」とは、最
良の形態における図柄列Z1〜Z5等である。
「識別情報表示領域」とは、最良の形態における装飾図柄表示領域42a等である。
「識別情報表示装置」とは最良の形態における第1図柄表示装置42等である。
「リーチ決定識別情報列」とは最良の形態における右中図柄列Z4等である。
「検出手段」とは最良の形態における装飾図柄カウンタS1〜S5、図柄バッファB20
〜B22、及びMPU521等である。
「識別情報列表示制御手段」とは最良の形態におけるMPU521等である。
「羽根」とは最良の形態における第1の始動口33等である。
手段1においては、
複数の識別情報を連ねた識別情報列を表示する識別情報表示領域を備えるとともに、こ
の識別情報表示領域は、所定の順序で回転する複数の識別情報列が停止した状態において
複数の識別情報列の一部で大当たり状態が出現可能な複数の大当たり形成領域で構成され
てなる識別情報表示装置を備えた遊技機において、
少なくとも2つの大当たり形成領域で一部が重複し、かつ、重複している大当たり形成
領域の識別情報列であるリーチ決定識別情報列が停止した場合に、各大当たり形成領域で
リーチとなる可能性がある第1のリーチ発生条件を検出する検出手段と、
上記検出手段の検出結果に応じて、識別情報表示装置に、上記リーチ決定識別情報列が
それ以前に停止する識別情報列に比してゆっくり回転した後に停止する停止表示パターン
の表示を行わせる識別情報列表示制御手段と、
を備えたことを特徴とする遊技機。
リーチ決定識別情報列が停止する場合には、遊技者にとって注目度は高く、特に、上記
構成の如く、2以上の大当たり形成領域で一部が重複し、かつ、重複している大当たり形
成領域の識別情報列であるリーチ決定識別情報列が停止する場合には、遊技者にとって注
目度は極めて高くなる。したがって、リーチ決定識別情報列が停止する場合に、ゆっくり
と回転した後に停止させれば遊技者の期待感を高める演出ができるので、遊技の興趣が向
上する。
また、少なくとも2つの大当たり形成領域で一部が重複しているので、識別情報列を小
さくすることなく表示を行なうことができるので、遊技者に対する表示効果を減じること
はない。
手段2:手段1において、
上記検出手段は、第1のリーチ発生条件に加えて、識別情報列をゆっくり回転させた後
に停止させることによりリーチとなる可能性がある大当たり形成領域以外の他の大当たり
形成領域でリーチ状態となる第2のリーチ発生条件を検出し、第1のリーチ発生条件及び
第2のリーチ発生条件の成立時に、上記識別情報列表示制御手段に検出信号を出力するこ
とを特徴とする。
全ての変動においてリーチ決定識別情報列がゆっくりと回転した後に停止するという動
作を行うと、変動表示におけるテンポが悪くなるとも考えられる。そこで、上記構成の如
く、したがって、他の大当たり形成領域でリーチ状態となった場合にリーチ決定識別情報
列がそれ以前に停止する識別情報列に比してゆっくり回転した後に停止する停止表示パタ
ーンを行い、変動表示をテンポ良くしている。
また、リーチがかかっている場合或いはリーチが予想される場合には、遊技者は識別情
報表示装置内容を注視し遊技を中断するため、パチンコホールにおける遊技台の稼働率が
低下するが、上記の如く変動表示をテンポ良くすれば、遊技台の稼働率を向上させること
ができる。
手段3:手段1において、
上記第1のリーチ発生条件が、一定の比率或いはランダムに発生するように構成されて
いることを特徴とする。
このような構成でも、変動表示をテンポ良くでき、遊技台の稼働率を向上させることが
できる。
手段4:手段1において、
上記検出手段は、第1のリーチ発生条件に加えて、1回の変動で最大3以上のリーチを
形成しうる場合に3以上のリーチとなる可能性がある第3のリーチ発生条件を検出し、第
1のリーチ発生条件及び第3のリーチ発生条件の成立時に、上記識別情報列表示制御手段
に検出信号を出力する、請求項1記載の遊技機。
このような構成でも、変動表示をテンポ良くでき、遊技台の稼働率を向上させることが
でき、しかも3以上のリーチとなる場合がことから、遊技者の高揚感を更に高めることが
できる。
手段5:手段1〜4において、
上記識別情報表示装置は、識別情報列が5列で、3行表示がなされる識別情報表示装置
であって、3行3列で大当たり形成領域を構成することにより3つの大当たり形成領域が
設けられることを特徴とする。
手段6:手段1〜5において、
入球することにより遊技者に利益状態を与える開閉自在の羽根が設けられており、上記
識別情報列をゆっくり回転させている間は、羽根が開閉していることを特徴とする。
また、上述の如く、リーチがかかっている場合或いはリーチが予想される場合には、遊
技者は識別情報表示装置内容を注視し遊技を中断するため、パチンコホールにおける遊技
台の稼働率が低下する。しかし、上記の如く識別情報列をゆっくり回転させている間は、
入球することにより遊技者に利益状態を与える羽根が開閉させれば遊技者が遊技を中断す
ることを防止できるので、遊技者の利益となる他、パチンコホールにおける遊技台の稼働
率を向上させることができる。
手段7:手段1〜5において、
入球することにより遊技者に利益状態を与える開閉自在の羽根が設けられており、上記
識別情報列をゆっくり回転させている間は、羽根が開放していることを特徴とする。
このような構成であれば、上記手段6と同様の作用効果がある。
手段8:手段1〜7において、
さらに、所定の始動条件の成立を検出する検出手段と、その検出手段によって前記始動
条件の成立が検出された場合に抽選を行う抽選手段と、前記抽選手段による抽選結果に応
じた表示コマンドを決定する主制御手段と、主制御手段からの表示コマンドを受信してそ
の表示コマンドの変動パターンコマンドに従って前記識別情報表示装置に識別情報列の変
動表示を行わせると共に、予め定めた有効領域に前記抽選手段による抽選結果に応じた前
記識別情報の組合せを停留表示する変動実行手段と、前記抽選手段による所定の抽選結果
の導出を条件として第1状態から遊技者にとって有利な第2状態に切り替わる可変入賞手
段とを備え、前記有効領域に停留する識別情報の組合せにより前記抽選手段の抽選結果を
示し、前記所定の抽選結果が導出されると前記有効領域に予め定めた識別情報の組合せを
停留表示すると共に前記可変入賞手段によって遊技者に所定の遊技価値を付与することを
特徴とする。
手段9:手段1〜8において、
遊技機がパチンコ機であることを特徴とする。
中でも、パチンコ遊技機の基本構成としては操作ハンドルを備え、その操作ハンドルの
操作に応じて遊技球を所定の遊技領域へ発射し、遊技球が遊技領域内の所定の位置に配設
された作動口に入賞(又は作動口を通過)することを必要条件として、表示装置において
動的表示されている識別情報が所定時間後に確定停止されるものが挙げられる。また。所
定の遊技価値が付与される時には、遊技領域内の所定の位置に配設された可変入賞装置(
特定入賞口)が所定の態様で開放されて遊技球を入賞可能とし、その入賞個数に応じた有
価価値(景品球のみならず、磁気カードへ書き込まれるデータ等も含む)が付与されるも
のが挙げられる。
手段10:手段1〜9において、
遊技機がスロットマシンであることを特徴とする。
中でも、スロットマシンの基本構成としては、「複数の識別情報からなる識別情報列を
動的表示した後に識別情報を確定表示する可変表示手段を備え、始動用操作手段(例えば
操作レバー)の操作に起因して識別情報の動的表示が開始され、停止用操作手段(ストッ
プボタン)の操作に起因して、或いは、所定時間経過することにより、識別情報の動的表
示が停止され、その停止時の確定識別情報が特定識別情報であることを必要条件として、
遊技者に所定の遊技価値を付与する特別遊技を発生させる特別遊技発生手段とを備えた遊
技機」となる。この場合、遊技媒体はコイン、メダル等が代表例として挙げられる。
〔本発明の概念〕
先ず、具体的な構成を説明する前に、本発明の概念について、図1〜図3に基づいて、
以下に説明する。図1は3行5列の表示領域を有し3行3列の大当たり形成領域が3つ設
けられている場合の説明図、図2は4行5列の表示領域を有し3行3列の大当たり形成領
域が6つ設けられている場合の説明図、図3は4行6列の表示領域を有し4行4列の大当
たり形成領域が3つ設けられている場合の説明図である。
・表示領域が3行5列の場合
図1において、装飾図柄表示領域800には、左・左中・中・右中・右の5つの図柄列
L1〜L5が表示され、各図柄列L1〜L5毎に上・中・下の3段に表示される。図柄列
L1〜L5は変動開始と同時に周期性をもって上から下へとスクロールするように変動表
示される構造であり、停止順序としては、一番左側の左図柄列L1と一番右側の右図柄列
L5とが停止し、その後、左から2番目の左中図柄列L2、右から2番目の右中図柄列L
4が順に停止し、最後に中央の中図柄列L3の変動が停止する。
また、装飾図柄表示領域800には、3行3列の大当たり形成領域D1〜D3を有して
おり、これら大当たり形成領域D1〜D3は各領域の一部がそれぞれ重複するように構成
される。具体的には、大当たり形成領域D1とD2においてはL2,L3が重複しており
、大当たり形成領域D2とD3においてはL3,L4が重複しており、大当たり形成領域
D1とD3においてはL3が重複している。尚、各大当たり形成領域D1〜D3において
、水平あるいは斜めの一直線上に同一の主図柄(数字の図柄)が3つ以上揃って停止した
場合に大当たり状態となる。
このような構成の遊技機において、左図柄列L1、右図柄列L5、及び左中図柄列L2
が停止した状態で右中図柄列L4が停止すると、2つの大当たり形成領域D2、D3にお
いてリーチ状態となるか否かが決定されるので、遊技者にとって右中図柄列L4の回転及
び停止に対する注目度は極めて高くなる。そこで、本発明においては、遊技者の注目度が
極めて高い右中図柄列L4の回転時にゆっくりと回転させることにより、遊技者の期待感
を高めんとするものである。
・表示領域が4行5列の場合
図2から明らかなように、表示領域が3行5列のものと異なるのは1行増えたことにあ
り、これによって、装飾図柄表示領域42aには3つの大当たり形成領域D4〜D6が増
加している他は、上記表示領域が3行5列のものと同様の構成である。
このような構成の遊技機において、左図柄列L1、右図柄列L5、及び左中図柄列L2
が停止した状態で右中図柄列L4が停止すると、大当たり形成領域D2、D3、D5、D
6においてリーチ状態となるか否かが決定されるので、遊技者にとって右中図柄列L4の
回転及び停止に対する注目度は極めて高くなる。そこで、本発明においては、遊技者の注
目度が極めて高い右中図柄列L4の回転時にゆっくりと回転させることにより、遊技者の
期待感を高めんとするものである。
尚、本構成の場合には、左中図柄列L2が停止すると、大当たり形成領域D1、D4に
おいてリーチ状態となるか否かが決定されるため、右中図柄列L4の他に遊技者の注目度
が若干高い左中図柄列L2の回転時にもゆっくりと回転させても良い。
・表示領域が4行6列の場合
図3から明らかなように、表示領域が3行5列のものと異なるのは1行1列増えたこと
、及び装飾図柄表示領域800には、4行4列の大当たり形成領域D1〜D3を有してお
り、これら大当たり形成領域D1〜D3は各領域の一部がそれぞれ重複するように構成さ
れることにある。停止順序としては、一番左側の左図柄列L1と一番右側の右図柄列L6
とが停止し、その後、左から2番目の左中図柄列L2と右から2番目の右中図柄列L5と
が停止し、最後に中央右の中右図柄列L4、中央左の中左図柄列L3の変動が順に停止す
る。
このような構成の遊技機において、左図柄列L1、右図柄列L6、左中図柄列L2、及
び右中図柄列L5が停止した状態で中右図柄列L4が停止すると、全ての大当たり形成領
域D1〜D3においてリーチ状態となるか否かが決定されるので、遊技者にとって中右図
柄列L4の回転及び停止に対する注目度は極めて高くなる。そこで、本発明においては、
遊技者の注目度が極めて高い中右図柄列L4の回転時にゆっくりと回転させることにより
、遊技者の期待感を高めんとするものである。
〔第1の形態〕
以下、本発明の第1の形態を、図面に基づいて詳細に説明する。ここでは、遊技機とし
てパチンコ遊技機(以下、単に「パチンコ機」という)を挙げるが、本発明は、パチンコ
機の入賞装置の他に、球体を用いて遊技盤上で遊技を行う遊技機一般の入賞装置を対象と
することができる。なお、実施形態は、本発明の主旨から逸脱しない限り適宜設計変更可
能なものである。
(パチンコ機正面側の構成)
図4はパチンコ機10の正面図であり、図5は、外枠11に対して内枠12と前面枠セ
ット14とを開放した状態を示す斜視図である。但し、図5では便宜上、下皿ユニット1
3が内枠12から取り外された状態を示している。
図4,5に示すように、パチンコ機10は、当該パチンコ機10の外殻を形成する外枠
11と、この外枠11の一側部に開閉可能に支持された内枠12とを備えている。以下に
、外枠11と内枠12との構成を個別に詳細に説明する。
上記外枠11は、木製の板材により全体として矩形状に構成され、小ネジ等の離脱可能
な締結具により各板材が組み付けられている。本実施の形態では、外枠11の上下方向の
外寸は809mm(内寸771mm)、左右方向の外寸は518mm(内寸480mm)
となっている。なお、外枠11は樹脂やアルミニウム等の軽金属により構成されていても
よい。このように構成することにより、パチンコ機の軽量化を図ることができるからであ
る。
一方、上記内枠12の開閉軸線はパチンコ機10の正面からみてハンドル(後述する遊
技球発射ハンドル18)設置箇所の反対側(図4のパチンコ機10の左側)で上下に延び
るように設定されており、この開閉軸線を軸心にして内枠12が前方側に十分に開放でき
るようになっている。このような構成とするのは、内枠12の開閉軸線がハンドル設置箇
所側(図4のパチンコ機10の右側)で上下方向にあるとすると、内枠12を開放する際
に遊技球発射ハンドル18の頭部等が隣なりのパチンコ機やカードユニット(球貸しユニ
ット)に干渉することになり、内枠12を十分に開放できないからである。また、内枠1
2は合成樹脂、具体的にはABS(アクリロニトリル−ブタジエン−スチレン)樹脂から
成る。こうすることで、粘性が高く衝撃に強くでき、低コストで製造できるという利点が
発揮される。
上記内枠12の構成を、図6も用いて詳細に説明する。図6は、パチンコ機10から前
面枠セット14を取り外した状態を示す正面図である(但し、図6では便宜上、遊技盤3
0面上の遊技領城内の構成〔釘、センター役物等〕を空白で示している)。
内枠12は、大別すると、その最下部に取り付けられた下皿ユニット13と、この下皿
ユニット13よりも上側の範囲で内枠12の左側の上下方向の開閉軸線を軸心にして開閉
自在に取り付けられた前面枠セット14と、後述する樹脂ベース20と、この樹脂ベース
20の後側に取り付けられる遊技盤30とを備えている。これらの各構成を以下に詳細に
説明する。
上記下皿ユニット13は、内枠12に対してネジ等の締結具により固定されている。こ
の下皿ユニット13の前面側には、下皿15と球抜きレバー17と遊技球発射ハンドル1
8と灰皿22と音出力口24が設けられている。球受皿としての下皿15は、下皿ユニッ
ト13のほぼ中央部に設けられており、後述の上皿が満タンになった場合等に排出口16
より排出される遊技球を停留する役割がある。上記球抜きレバー17は、下皿15内の遊
技球を抜くためのものであり、この球抜きレバー17を図4で左側に移動させることによ
り、下皿15の底面の所定箇所が開口され、下皿15内に停留された遊技球を下皿15の
底面の開口部分を通して遊技者の持球貯留箱(ドル箱)に排出することができる。上記遊
技球発射ハンドル18は、下皿15よりも右方で手前側に突出するように配設されている
。遊技者による遊技球発射ハンドル18の操作に応じて、遊技球発射装置38によって遊
技球が後述する遊技盤30の方へ打ち込まれるようになっている。遊技球発射装置38は
、遊技球発射ハンドル18と後述するセットハンドル228と発射モータ229(図9参
照)などで構成されている。上記音出力口24は、下皿ユニット13内あるいは背面に設
けられたスピーカ24からの音を出力するための出力口である。また、灰皿22は下皿1
5の左方に設けられている。灰皿22は左右方向(水平方向)の軸線を軸心にして回勣(
例えば前方側に向けて前回り)するように、その右側が下皿15に片持ち支持されている
なお、下皿ユニット13はその大部分が内枠12と同様、ABS樹脂にて成形されてい
る。こうすることで、粘性が高く衝撃に強くでき、低コストで製造できる。特に、下皿1
5を形成する表面層と下皿奥方の前面パネル部分とを難燃性のABS樹脂にて成形してい
る。このため、この部分は燃えにくくなっている。
また、前面枠セット14は、図5に示すように、内枠12に対して開閉可能に取り付け
られており、内枠12と同様、パチンコ機10の正面からみて左側に上下に延びる開閉軸
線を軸心にして前方側に開放できるようになっている。しかも前面枠セット14は内枠1
2の外側壁(リブ)12b(図6参照)内に嵌まり込むようにして取り付けられている。
つまり、この前面枠セット14の側面の少なくとも一部が内枠12の外側壁(リブ)12
b内に嵌まり込むようにして取り付けられているので、内枠12と前面枠セット14との
隙間から異物(針状あるいは薄板状等のものであって、具体的には針金、ピアノ線、セル
ロイド板等)を差し入れるなどの不正行為を防止できるようになっている。また、前面枠
セット14は、内枠12と同様に、合成樹脂、具体的にはABS樹脂により構成されてい
るので、粘性が高く衝撃に強くでき、低コストで製造できる。
一方、前面枠セット14の下部(上述の下皿15の上方位置)には、遊技球の受皿とし
ての上皿19が前面枠セット14と一体的に設けられている。この上皿19は、遊技球を
一旦貯留し、一列に整列させながら遊技球発射装置38の方へ導出するための球受皿であ
る。従来のパチンコ機では前面枠セットの下方に内枠に対し開閉可能な前飾り枠が設けら
れ、該前飾り枠に上皿が設けられていたのであるが、本実施の形態では前飾り枠が省略さ
れ、前面枠セット14に対し直接的に上皿19が設けられている。この上皿19も下皿1
5と同様、表面層が難燃性のABS樹脂にて成形される構成となっている。
ここで、前面枠セット14は、少なくとも遊技球発射ハンドル18に干渉しないように
して本パチンコ機10の下方に拡張して設けられており、具体的な数値を示すと、パチン
コ機10の下端から前面枠セット14の下端までの寸法(図4のM1)は、既存の一機種
で例えば約201mmであるのに対し、本パチンコ機10では30mm程小さく、約17
2mmとなっている。また、これに伴いパチンコ機10の下端から上皿19までの寸法(
図4のM2)も小さくなっており、既存の一機種では例えば約298mmであるのに対し
、本パチンコ機10では261mmとなっている。かかる構成では、上皿19の位置を下
げたことにより、パチンコ機10の左方に設けられた球貸し装置のノズル部(いわゆる、
象の鼻)と上皿19との距離が大きくなって貸し出される遊技球のこぼれ落ちなどが懸念
されるが、本実施例では、当該ノズル部からの遊技球を受ける部分(向かって左側部分)
で上皿19の周囲壁の一部を高くした(図4の高壁部19a)。これにより、上皿19の
位置を下げた構成にあっても貸し遊技球のこぼれ落ち等の不都合が解消されるようになっ
ている。なお、高壁部19aの高さ寸法は、上皿19の下げ寸法に見合うものであればよ
く、本実施例では25mmとした。
図6に示すように、内枠12は、外形が矩形状の樹脂ベース20を主体に構成されてお
り、樹脂ベース20の中央部には略円形状の窓孔21が形成されている。樹脂ベース20
の後側には遊技盤30が着脱可能に装着されている。遊技盤30は四角形状の合板よりな
り、その周縁部が樹脂ベース20(内枠12)の裏側に当接した状態で取着されている。
従って、遊技盤30の前面部の略中央部分が樹脂ベース20の窓孔21を通じて内枠12
の前面側に露出した状態となっている。なお、遊技盤30の上下方向の長さは476mm
、左右方向の長さは452mmとなっている(従来と同等サイズ)。
次に、図7を用いて遊技盤30の構成を説明する。図7は遊技盤30の構成を示す正面
図である。遊技盤30は、一般入賞口31、可変入賞装置32、第1の始動口33(例え
ば作動チャッカ)、第2の始動口34(例えばスルーゲート)、可変表示装置ユニット3
5等を備えている。これらの一般入賞口31、可変入賞装置32、第1の始動口33、第
2の始動口34、可変表示装置ユニット35等は、遊技盤30における、ルータ加工によ
って形成された各貫通穴にそれぞれに配設され、遊技盤30前面側から木ネジ等により取
り付けられている。前述の一般入賞口31、可変入賞装置32および第1の始動口33に
遊技球が入球し、当該入球が後述する検出スイッチ(入賞口スイッチ221、カウントス
イッチ223、作動口スイッチ224等)で検出され、この検出スイッチの出力に基づい
て、上皿19(または下皿15)へ所定数の賞品球が払い出される。その他に、遊技盤3
0にはアウト口36が設けられており、各種入賞装置等に入球しなかった遊技球はこのア
ウト口36を通って図示しない球排出路の方へと案内されるようになっている。遊技盤3
0には、遊技球の落下方向を適宜分散、調整等するために多数の釘が植設されているとと
もに、各種部材(投物)が配設されている。
上記可変表示装置ユニット35は、第1の始動口33への入賞をトリガとして、識別情
報としての第1図柄(例えば装飾図柄)を変動表示する第1図柄表示装置42と、第2の
始動口34の通過をトリガとして、第2図柄(例えば普通図柄)を変動表示する第2図柄
表示装置41とを備えている。
上記第2図柄表示装置41は、第2図柄用の表示部43a,43bと保留ランプ44(
図25参照)とを備えている。この実施例では、第2図柄用の表示部43aは、例えば、
第1図柄表示装置42の表示両面の上方に設けられ、その外観形状は「○」形状となって
いる一方、第2図柄用の表示部43bは、表示部43aの右側に隣接して設けられ、前述
の表示部43aと同様に、その外観形状は「×」形状となっている。第2図柄表示装置4
1は、遊技球が第2の始動口34を通過する毎に例えば表示部43a、43bによる表示
図柄(普通図柄)が変動し、具体的には、表示部43a,43bが交互に光り、表示部4
3aで停止した場合に第1の始動口33が所定時間だけ作動状態となる(開放される)よ
う構成されている。遊技球が第2の始動口31を通過した回数は最大4回まで保留され、
その保留回数が保留ランプ44にて点灯表示されるようになっている。なお、表示部43
a,43bは、第1図柄表示装置42(液晶表示装置)の一部で変動表示される複数個の
表示部としても良い。
第1図柄表示装置42は液晶表示装置として構成されており、後述する表示制御装置4
5により表示内容が制御される。第1図柄表示装置42には、例えば左、左中、中、右中
及び右の5箇所に識別情報としての図柄が表示される。これら図柄が自転されるようにし
て第1図柄表示装置42に可変表示されるようになっている。なお本実施の形態では、第
1図柄表示装置42(液晶表示装置)は例えば8インチサイズの大型の液晶ディスプレイ
を備えている。可変表示装置ユニット35には、第1図柄表示装置42を囲むようにして
センターフレーム47が配設されている。
可変入賞装置32は、通常は遊技球が入賞できない又は入賞し難い閉状態になっており
、大当たりの際に遊技球が入賞しやすい開状態と通常の閉状態とに繰り返し作動されるよ
うになっている。より詳しくは、第1の始動口33に対し遊技球が入賞すると第1図柄表
示装置42で図柄が変動表示され、その停止後の確定図柄が予め設定した特定の図柄の組
合せとなったことを必要条件に特別遊技状態が発生する。そして、可変入賞装置32の大
入賞口が所定の開放状態となり、遊技球が入賞しやすい状態(大当たり状態)になるよう
構成されている。具体的には、所定時間の経過又は所定個数の入賞を1ラウンドとして、
可変入賞装置32の大入賞口が所定回数繰り返し開放される。遊技球が第1の始動口33
を通過した回数は最大4回まで保留され、その保留回数が保留ランプ46にて点灯表示さ
れるようになっている。なお、保留ランブ46は、第1図柄表示装置42の一部で変動表
示される構成等であっても良い。
また、遊技盤30には、遊技球発射装置38から発射された遊技球を遊技盤30上部へ
案内するためのレールユニット50が取り付けられており、遊技球発射ハンドル18の回
動操作に伴い発射された遊技球はレールユニット50を通じて所定の遊技領域に案内され
るようになっている。レールユニット50はリング状をなす樹脂成型品(例えば、フッ素
樹脂が添加されて成形されたもの)にて構成されており、内外二重に一体形成された内レ
ール51と外レール52とを有する。なお、レールユニット50はフッ素樹脂を添加して
成形されているので、図6に示す奥面50aについての遊技球の摩擦抵抗を少なくできる
。内レール51は上方の約1/4ほどを除いて略円環状に形成され、一部(主に左側部)
か内レール51に向かい合うようにして外レール52が形成されている。かかる場合、内
レール51と外レール52とにより誘導レールが構成され、これら各レール51、52が
所定間隔を隔てて並行する部分(向かって左側の部分)により球案内通路が形成されてい
る。なお、球案内通路は、遊技盤30との当接面を有した溝状、すなわち手前側を開放し
た溝状に形成されている。
内レール51の先端部分(図7の左上部)には戻り球防止部材53が取着されている。
これにより、一旦、内レール51および外レール52間の球案内通路から遊技盤30の上
部へと案内された遊技球が再度球案内通路内に戻ってしまうといった事態が防止されるよ
うになっている。また、外レール52には、遊技球の最大飛翔部分に対応する位置(図7
の右上部:外レール52の先端部に相当する部位)に返しゴム54が取着されている。従
って、所定以上の勢いで発射された遊技球は、返しゴム54に当たって跳ね返されるよう
になっている。外レール52の内側面には、遊技球の飛翔をより滑らかなものとするべく
、つまり遊技球の摩擦抵抗を少なくするべく、長尺状をなすステンレス製の金属帯として
の摺動プレート55が取着されている。
また、レールユニット50の外周部には、外方へ張り出した円弧状のフランジ56が形
成されている。フランジ56は、遊技盤30に対する取付面を構成する。レールユニット
50が遊技盤30に取り付けられる際には、遊技盤30上にフランジ56が当接され、そ
の状態で、当該フランジ56に形成された複数の透孔にネジ等が挿通されて遊技盤30に
対するレールユニット50の締結がなされるようになっている。この実施例では、レール
ユニット50の少なくとも左側を遊技盤30に強固に締結するために、レールユニット5
0の左側はその右側よりも多いネジで遊技盤30に締結されているので、レールユニット
50の左側についての遊技盤30への密着性を上げることかでき、遊技球の球飛びを良く
することができる。レールユニット50の左側が遊技盤30に対してぐらついているとこ
のレールユニット50に出射された遊技球の勢いが当該ぐらつきにより吸収されてしまう
からである。
さらに本実施の形態では、正面から見てレールユニット50の上下左右の各端部は略直
線状に(平坦に)形成されている。つまり、レールユニット50の上下左右の各端部にお
いてはフランジ56が切り落とされ、パチンコ機10における有限の領域にてレール径の
拡張、すなわち遊技盤30上の遊技領域の拡張が図られるようになっている。
内レール51および外レール52間の球案内通路の入口には、同球案内通路の一部を閉
鎖するようにして凸部57が形成されている。この凸部57は、内レール51からレール
ユニット50下端部にかけて略鉛直方向に設けられ、遊技領域まで至らず球案内通路内を
逆流してくるファール球をファール球通路63(図6参照)に導くための役目をなす。な
お、遊技盤30の右下隅部および左下隅部は、証紙(例えば製造番号が記載されている)
等のシール(図7のS1,S2)やプレートを貼着するためのスペースとなっており、こ
の貼着スペースを確保するために、フランジ56に切欠58,59が形成されている。遊
技盤30の右下隅部や左下隅部に、証紙等のシール(図7のS1,S2)を貼着すること
で、遊技盤30と証紙との一義性を持たせることができる。
次に、遊技領域について説明する。遊技領域は、レールユニット50の内周部(内外レ
ール)により略円形状に区画形成されており、特に本実施の形態では、遊技盤30の盤面
上に区画される遊技領城が従来よりもはるかに大きく構成されている。本実施の形態では
、外レール52の最上部地点から遊技盤30下部までの間の距離は445mm(従来品よ
りも58mm長い)、外レール52の極左位置から内レール51の極右位置までの間の距
部は435mm(従来品よりも50mm長い)となっている。また、内レール51の極左
位置から内レール51の極右位置までの間の距離は418mmとなっている。
本実施の形態では、遊技領域を、パチンコ機10の正面から見て、内レール51および
外レール52によって囲まれる領域のうち、内外レール51,52の並行部分である誘導
レールの領域を除いた領域としている。従って、遊技領域と言った場合には誘導レール部
分は含まないため、遊技領域の向かって左側限界位置は外レール52によってではなく内
レール51によって特定される。同様に、遊技領域の向かって右側限界位置は内レール5
1によって特定される。また、遊技領城の下側限界位置は遊技盤30の下端位置によって
特定される。また、遊技領域の上側限界位置は外レール52によって特定される。
従って、本実施の形態では、遊技領域の幅(左右方向の最大幅)は、418mmであり
、遊技領域の高さ(上下方向の最大幅)は、445mmである。
ここで、前記遊技領域の幅は、少なくとも380mm以上あることが望ましい。より好
ましくは390mm以上、400mm以上、410mm以上、420mm以上、430m
m以上、440mm以上、450mm以上、さらに460mm以上であることが望ましい
。もちろん、470mm以上であってもよい。すなわち、遊技領域の幅は、遊技領域拡大
という観点からは大きい程好ましい。また、遊技領域の高さは、少なくとも400mm以
上あることが望ましい。より好ましくは410mm以上、420mm以上、430mm以
上、440mm以上、450mm以上、さらに460mm以上であることが望ましい。も
ちろん、470mm以上、480mm以上、490mm以上としてもよい。すなわち、遊
技領域の高さは、遊技領域拡大という観点からは大きい程好ましい。尚、上記幅および高
さの組合せについては、上記数値を任意に組み合わせたものとしてもよい。
本実施の形態では、遊技盤30面に対する遊技領域の面積の比率は約70%と、従来に
比べ格段に面積比が大きいものとなっている。なお、遊技盤30面に対する遊技領域の面
積比は、従来では50%程度に過ぎなかったことから、遊技盤30を共通とした前提にお
いてはかなり遊技領域を拡大しているといえる。尚、パチンコ機10の外形は遊技場への
設置の都合上製造者間でほぼ統一されており、遊技盤30の大きさも同様とせざるを得な
い状況下において、上記のように遊技盤30面に対する遊技領域の面積の比率を約20%
も高めたことは、遊技領域拡大の観点で非常に有意義である。ここで、前記比率は、少な
くとも60%以上であることが望ましい。さらに好ましくは65%以上であり、より好ま
しくは70%以上である。また、本実施形態の場合を越えて75%以上であれば、一層望
ましい。さらには、80%以上であってもよい。
また、パチンコ機10全体の正面側の面積に対する遊技領域の面積の比率は約40%と
、従来に比べ格段に面積比が大きいものとなっている。なお、パチンコ機10全体の正面
側の面積に対する遊技領域の面積比は、35パーセント以上であるのが望ましい。もちろ
ん、40パーセント以上としてもよいし、45パーセント以上、または50パーセント以
上としてもよい。
なお、遊技領域が左右方向に拡張されていることによって、複数の釘(遊技球を第1の
始動口33、第2の始動口31等に誘導するための誘導釘)、他の役物を種々配設するこ
とができ、第1図柄表示装置42の左右両側の遊技領域での遊技球の挙動を一層面白くす
ることができるようになっている。また、遊技領域が上下方向にも拡張されていることか
ら、さらに、複数の釘、風車、他の投物を種々配設することができ、遊技領域での上下方
向の遊技球の挙動をより一層面白くすることができるようになっている。
図6の説明に戻り、前記樹脂ベース20において、窓孔21(遊技盤30)の下方には
、遊技球発射装置38より発射された直後に遊技球を案内するための発射レール61が取
り付けられている。発射レール61は、その後方の金属板62を介して樹脂ベース20に
取付固定されており、所定の発射角度(打ち出し角度)にて直線的に延びるよう構成され
ている。従って、遊技球発射ハンドル18の回動操作に伴い発射された遊技球は、まずは
発射レール61に沿って斜め上方に打ち出され、その後前述した通りレールユニット50
の球案内通路を通じて所定の遊技領域に案内されるようになっている。
本パチンコ機10の場合、遊技領域が従来よりも大幅に拡張されることは既に述べたが
、かかる構成下では、誘導レールの曲率を小さくせざるを得ないことから、打出球を安定
化させるための工夫を要する。そこで本実施の形態では、遊技球の発射位置を低くすると
ともに発射レール61の傾斜角度(発射角度)を既存のものよりも幾分大きくし(すなわ
ち発射レール61を立ち上げるようにし)、さらに発射レール61の長さを既存のものよ
りも長くして十分な長さの球誘導距離を確保するようにしている。これにより、遊技球発
射装置38から発射された遊技球をより安定した状態で誘導レールに案内できるようにし
ている。この場合特に、発射レール61を、遊技球発射装置38の発射位置から遊技領域
の中央位置(アウト口36)を越える位置まで延びるよう形成している。
また、発射レール61とレールユニット50(誘導レール)との間には所定間隔の隙間
があり、この隙間より下方にファール球通路63が形成されている。従って、仮に、遊技
球発射装置38から発射された遊技球が戻り球防止部材53まで至らずファール球として
誘導レール内を逆戻りする場合には、そのファール球がファール球通路63を介して下皿
15に排出される。因みに、本実施の形態の場合、発射レール61の長さは約240mm
、発射レール先端部の隙間の長さ(発射レール61の延長線上の長さ)は約40mmであ
る。
ファール球が誘導レール内を逆流してくる際、その多くは外レール52に沿って流れ、
外レール52の下端部に到達した時点で下方に落下するが、一部のファール球は誘導レー
ル内で暴れ、内レール51側へ跳ね上がるものもある。この際、跳ね上がったファール球
は、球案内通路入口の前記凸部57に当たり、ファール球通路63に誘導される、これに
より、ファール球の全てがファール球通路63に確実に案内されるようになり、ファール
球と次に発射される遊技球との干渉が抑制される。
なお、詳しい図面の開示は省略するが、遊技球発射装置38には、前面枠セット14側
の球出口(上皿19の最下流部より通じる球出口)から遊技球が1つずつ供給される。こ
の際、本実施の形態では遊技球の発射位置を低くしたため、前面枠セット14側の球出口
から前記発射位置への落差が大きくなるが、発射レール61の基端部付近にはその右側と
手前側にそれぞれガイド部材65,66を設置した。これにより、前面枠セット14側の
球出口から供給される遊技球が常に所定の発射位置にセットされ、安定した発射動作が実
現できる。また、遊技球発射装置38には打球槌が設けられ、軸部を中心とする打球槌の
回動に伴い遊技球が発射されるが、打球槌に関して軽量化が望まれている。それ故、アル
ミニウム等の軽金属への材料変更や軸部寸法の縮小化により打球槌の軽量化を図る一方で
、十分な発射力を確保すべく、打球槌のヘッド部(軸部と反対側の端部)に重り部を設け
ている。これにより、十分でかつ安定した遊技球の発射が実現できる。打球槌の重り部を
上方に突出して設けることにより、打球槌を容易に摘んだりひっかけたりすることかでき
、槌先の打球強さの調整等がしやすくなるという効果がある。
なお、図6中の符号67は上皿19に通ずる排出口であり、この排出口67を介して遊
技球が上皿19に排出される。排出口67には、略水平方向の回転軸を軸心として略水平
状態と略垂直状態とに変位する開閉式のシャッタ68が取り付けられている、前面枠セッ
ト14を内枠12から開放した状能(図6の状態)では、バネ等の付勢力によりシャッタ
68が略水平状態から略垂直状態となり、排出口67から遊技球がこぼれ落ちないように
この排出口67を閉鎖する。また、前面枠セット14を閉鎖した状態では、当該前面枠セ
ット14の裏面に設けられた球通路樋69(図5参照)によりシャッタ68が押し開けら
れて略水平状態になり、排出口67の方へ排出された遊技球はもれなく球通路樋69を通
って上皿19に排出されるようになる。従って、前飾り枠が省略され前面枠セット14に
対して上皿19が直接設けられる構成とした本パチンコ機10において、前面枠セット1
4の開放に際し払出通路内等の遊技球がパチンコ機10外にこぼれ落ちてしまうといった
不都合が防止できるようになっている。
樹脂ベース20には、窓孔21の右下部に略四角形状の小窓71が設けられている。従
って、遊技盤30の右下隅部に張られた証紙などのシール(図7のS1)は、この小窓7
1を通じて視認できるようになっている。また、この小窓71からシール等を貼り付ける
ことも可能となっている。
また、図6に示すように、内枠12の左端部には、前面枠セット14の支持機構として
、支持金具81,82が取り付けられている。上側の支持金具81には図の手前側に切欠
を有する支持孔83が設けられ、下側の支持金具82には鉛直方向に突出した突起軸84
が設けられている。
図6に示すように、内枠12の上側には、前面枠セット14が内枠12に対して開かれ
たことを検出する前面枠セット開検出スイッチ90が設けられている。前面枠セット14
が開かれると、前面枠セット開検出スイッチ90からホール内(パテンコ店内)用コンピ
ュータヘ出力されるようになっている。また、前面枠セット14が閉じられると、図8に
示す前面枠セット14の金属製の補強板132,131が図6に示す内枠12の一対の金
具92に接触するようになっており、前面枠セット14のアースが確保されている。
ここで、前述した前面枠セット14について、図4,図8を参照しつつより詳細に説明
する。図8は、前面枠セット14の背面図である。前面枠セット14には前記遊技領域の
ほとんどを外部から視認することができるよう略楕円形状の窓部101が形成されている
。詳しくは、窓部101は、その左右側の略中央部が、上下側に比べて比較的緩やかに湾
曲した形状となっている。なお、前記略中央部が直線状になるようにしてもよい。本実施
の形態において、窓部101の上端(外レール52の最上部、遊技領域の上端)と、前面
枠セット14の上端との間の距離(いわゆる上部フレーム部分の上下幅)は61mmとな
っており、85mm〜95mm程度上部フレーム幅がある従来技術に比べて著しく短くな
っている。これにより、遊技領域の上部領域が確保されやすくなるとともに、大型の電動
役物ユニット603も比較的上方に配置することかできるようになっている。前面枠セッ
ト14の上端との間の距離は80mm以下であることが望ましく、より好ましくは70m
m以下であり、さらに望ましくは60mm以下である。もちろん、所定の強度が確保でき
るのであれば、50mm以下であっても差し支えない。
また、パチンコ機10の正面から見て窓部101の左端と前面枠セット14の左端との
間の最短距離(いわゆる左側部フレーム部分の左右幅:図8では右側に示されている)、
すなわち開閉軸線側のフレーム幅は、前面枠セット14自体の強度および支持強度を高め
るために比較的大きく設定されている。この場合、図4および図6を相互に比較すると明
らかなように、前面枠セット14が閉じられた状態において、外レール52の左端部はも
ちろん、内レール51の左端部も前記左側部フレーム部分によって覆い隠される。つまり
、誘導レールの少なくとも一部が、パチンコ機10の正面からみて前面枠セット14の左
側部フレーム部分と重複し覆い隠される。このように遊技球が一時的に視認困難となった
としても、それは、遊技球が遊技領域に案内される通過点に過ぎず、遊技者が主として遊
技を楽しむ遊技領城において遊技球が視認困難となるわけではない。そのため、実際の遊
技に際しては何ら支障が生じない。また、このような支障が生じない一方で、前面枠セッ
ト14の十分な強度および支持強度が確保可能となっている。ちなみに、パチンコ機10
の正面から見て外レール52の左端位置と外枠11の左端位置との左右方向の距離は21
mm、遊技領域の右端位置(内レール51の右端位置)と外枠11の右端位置との左右方
向の距離は44mmとなっている。
加えて、前面枠セット14にはその周囲(例えばコーナー部分)に各種ランプ等の発光
手段が設けられている。これら発光手段は、大当たり遊技状態時や羽根開放時等における
遊技状態の変化に応じて点灯、点滅のように発光態様が変更制御され遊技中の演出効果を
高める役割を果たすものである。例えば、窓部101の周縁には、LED等の発光手段を
内蔵した環状電飾部102が左右対称に設けられ、該環状電飾部102の中央であってパ
チンコ機10の最上部には、同じくLED等の発光手段を内蔵した中央電飾部103が設
けられている。本パチンコ機10では、中央電飾部103が大当たりランプとして機能し
、大当たり遊技状態時に点灯や点滅を行うことにより、大当たり遊技状態中であることを
報知する。さらに、上皿19周りにも、同じくLED等の発光手段を内蔵した上皿電飾部
104が設けられている。その他、中央電飾部103の左右側方には、賞球払出し中に点
灯する賞球ランプ105と所定のエラー時に点灯するエラー表示ランプ106とが設けら
れている。また、環状電飾部102の下端部に隣接するようにして、内枠12表面や遊技
盤30表面等の一部を視認できるよう透明樹脂からなる小窓107が設けられている。こ
の小窓107の所定箇所を平面状としているので、遊技盤30の右下隅部に貼り付けられ
た証紙などを、小窓107の当該平面状箇所から機械で好適に読み取ることができる。
また、窓部101の下方には貸球操作部120が配設されており、貸球操作部120に
は球貸しボタン121と、返却ボタン122と、度数表示部123とが設けられている。
パチンコ機10の側方に配置された図示しないカードユニット(球貸しユニット)に紙幣
やカード等を投入した状態で貸球操作部120が操作されると、その操作に応じて遊技球
の貸出が行われる。球貸しボタン121は、カード等(記録媒体)に記録された情報に基
づいて貸出球を得るために操作されるものであり、カード等に残額が存在する限りにおい
て貸出球が上皿19に供給される。返却ボタン122は、カードユニットに挿入されたカ
ード等の返却を求める際に操作される。度数表示部123はカード等の残額情報を表示す
るものである。なお、カードユニットを介さずに球貸し装置部から上皿に遊技球が直接貸
し出されるパチンコ機、いわゆる現金機では貸球操作部120が不要となる。故に、貸球
操作部120の設置部分に、飾りシール等が付されるようになっている。これにより、カ
ードユニットを用いたパチンコ機と現金機との貸球操作部の共通化が図れる。
また、図4に示すように、前面枠セット14の左側の小窓107付近を前面側(図4の
紙面手前側)に必要以上に突出しないようにしている。こうすることで、パチンコ機10
の左側に設けられたカードサンドの球貸し装置から直接に上皿19に遊技球を貸し出す際
に、当該球貸し装置のノーズ部(いわゆる象の鼻)の先端排出口を好適に上皿19の上方
位置に位置させることができ、当該球貸し装置のノーズ部から貸し出される遊技球を上皿
19で受けることができる。
前面枠セット14の裏側には、窓部101を囲むようにして金属製の各種補強部材が設
けられている。詳しくは、図8に示すように、前面枠セット14の裏側にあって窓部10
1の上下左右の外側にはそれぞれ補強板131,132,133,134が取り付けられ
ている。これら補強板131〜134は相互に接触して連結されているが、図の左側およ
び上側の補強板132,133の連結部には直接の接触を避けるための樹脂パーツ135
が介在されている。このように補強板132,133の連結部に樹脂パーツ135を介在
させているので、ノイズが補強板131〜134でループすることを防止できる。また、
図8の右側の補強板131にはその中間位置にフック状をなす係合爪131aが設けられ
ており、この係合爪131aは、前面枠セット14を閉じた状態で内枠12の孔部12a
(図6参照)に係合されるように構成されている。この構成により、上皿19を含む形態
で前面枠セット14が構成され、その上下の軸支位置が延長されたとしても、中間位置に
おける前面枠セット14の浮き上がりが防止できる。それ故、前面枠セット14を浮かし
ての不正行為等が抑制されるようになっている。
また、下側の補強板134には、前記発射レール61(図6参照)に対向する位置に樹
脂製のレール側壁部材136が設けられている。このレール側壁部材136は、前面枠セ
ット14を閉じた際に発射レール61の側壁となる。故に、発射レール61から遊技球が
こぼれ落ちないようになっている。
上述した補強板131〜134はガラス支持用の金枠としての機能も兼ね備えており、
これら補強板131〜134の一部が後方に折り返されてガラス保持溝が形成されている
。このガラス保持溝は前後に2列形成されており、矩形状をなす前後一対のガラス137
が各ガラス保持溝にて保持される。これにより、2枚のガラス137が前後に所定間隔を
隔てて取着されるようになっている。
前述の通り本実施の形態のパチンコ機10では遊技領域の拡張を図っていることから、
前面枠セット14を閉じた状態にあっては、内外のレール51,52により構成された誘
導レールの一部が前面枠セット14により覆い隠される構成となっている。それ故、当該
誘導レールでは手前側の開放部がガラス137で覆えない部分ができてしまう。かかる場
合、例えば、遊技球発射装置38より発射された遊技球が戻り球防止部材53まで至らず
戻ってくると、当該遊技球が誘導レール外にこぼれたり(飛び出したり)、外レール52
とガラス137との間に挟まってしまうおそれがある。そこで本実施の形態では、前面枠
セット14に、誘導レールの手前側開放部を被服するためのレールカバー140を取り付
けている。
レールカバー140は略円弧状をなす略平板体であって、透明な樹脂により形成されて
いる。レールカバー140は、その円弧形状が前記誘導レールの形状に対応しており、窓
部101の周縁部に沿って、誘導レールの基端部から先端部近傍までの区間を覆うように
して前面枠セットl4の裏側に取着されている。特にレールカバー140の内径側の寸法
・形状は内レール52のそれにほぼ一致する。レールカバー140が取着された状態では
、その表面側がガラス137に当接した状態となる。前面枠セット14が閉じられた状態
においては、レールカバー140の裏面が誘導レールのほぼ全域を覆うこととなる。これ
により、誘導レールのほとんどの区問において遊技球のガラス137への衝突を防止でき
る。従って、ガラス137への接触による破損等の悪影響を抑制することができる。
また、レールカバー140の右端部(すなわち、レールカバー140を前面枠セット1
4に取着した図8の状態で右端となる部位)には、誘導レールがガラス137の側緑部か
らはみ出した部分を被覆するための被覆部141が設けられている。これにより、遊技球
が誘導レール外にこぼれたり(飛び出したり)、外レール52とガラス137との間に挟
まってしまうといった不具合の発生を防止することができる。
さらに、レールカバー140の裏側には、その内側縁に沿って円弧状に延びかつ図8の
手前側に突出した突条142が形成されている。突条142は、前面枠セット14が閉じ
られた状態において、誘導レール内に入り込んだ状態で内レール52にほぼ一体的に重な
り合うよう構成されている。従って、例えば前面枠セット14と内枠12との隙間から針
金等を侵入させて不正行為を行おうとしても、誘導レールの内側にある遊技領域にまで針
金等を侵入させることが非常に困難となる。結果として、針金等を利用して行われる不正
行為を防止することができる。なお、突条142をより広い範囲で、例えばレールカバー
140の内側縁の全域に沿って形成する構成としても良く、かかる構成によれば、より広
い範囲で針金等を侵入させにくくなり、針金等を利用して行われる不正行為をより確実に
防止することができる。
また、前面枠セット14の図8の右端部(パチンコ機10正面から見ると左端部)には
、内枠12の支持機構として、支持金具151,152が取り付けられている。従って、
内枠12側の支持金具81,82(図6参照)に対して前面枠セット14側の支持金具1
51,152を組み付けることで、内枠12に対して前面枠セット14が開閉可能に装着
されるようになる。
(パチンコ機の背面構成)
次に、パチンコ機10の背面の構成を詳しく説明する。図9はパチンコ機10の背面図
であり、図10はパチンコ機10の背面構成を主要部品毎に分解して示す分解斜視図であ
る。
先ず、パチンコ機10の背面構成について全体の概要を説明する。パチンコ機10には
その背面(実際には内枠12および遊技盤30の背面)において、各種制御基板が上下左
右に並べられるようにしてまたは前後に重ねられるようにして配置されており、さらに、
遊技球を供給するための遊技球供給装置(払出機構)や樹脂製の保護カバー等が取り付け
られている。本実施の形態では、各種制御基板を2つの取付台に分けて搭載して2つの制
御基板ユニットを構成し、それら制御基板ユニットを個別に内枠12または遊技盤30の
裏面に装着するようにしている。この場合、主制御基板と音声ランプ制御基板とを一方の
取付台に搭載してユニット化すると共に、払出制御基板、発射制御基板および電源基板を
他方の取付台に搭載してユニット化している。ここでは便宜上、前者のユニットを「第1
制御基板ユニット201」と称し、後者のユニットを「第2制御基板ユニット202」と
称することとする。
また、払出機構および保護カバーも1ユニットとして一体化されており、一般に樹脂部
分を裏パックと称することもあるため、ここではそのユニットを「裏パックユニット20
3」と称する。各ユニット201〜203の詳細な構成については後述する。
第1制御基板ユニット201、第2制御基板ユニット202および裏パックユニット2
03は、ユニット単位で何ら工具等を用いずに着脱できるよう構成されており、さらにこ
れに加え、一部に支軸部を設けて内枠12または遊技盤30の裏面に対して開閉できる構
成となっている。これは、各ユニット201〜203やその他構成が前後に重ねて配置さ
れても、隠れた構成等を容易に確認することを可能とするための工夫でもある。
一方、図11は、内枠12に遊技盤30を組み付けた状態でその構成を示す背面図であ
り、図12は内枠12を後方より見た斜視図である。ここでは図11および図12を用い
て内枠12および遊技盤30の裏面構成を説明する。
遊技盤30は、樹脂ベース20に囲まれた四角枠状の設置領域に設置され、内枠12に
設けられた複数(本実施の形態では4カ所)の係止固定具211,212によって脱落し
ないように固定されている。係止固定具211,212は手動で回動でき、固定位置(ロ
ック位置)と固定解除位置(アンロック位置)とを切り換えることができるよう構成され
ており、図11にはロック状態を示す。遊技盤30の左右3ヵ所の係止固定具211は金
属片を折り曲げ形成したL型の金具であり、遊技盤30の固定状態で内枠外方へ張り出さ
ないよう構成されている。なお、遊技盤30の下部1カ所の係止固定具212は樹脂製の
I型の留め具である。
遊技盤30の中央には、可変表示装置ユニット35が配置されている。可変表示装置ユ
ニット35においては、センターフレーム47(図7参照)を背後から覆う樹脂製(例え
ばABS製)のフレームカバー213が後方に突出して設けられており、そのフレームカ
バー213の後端に、液晶表示装置たる第1図柄表示装置42と表示制御装置45とが前
後に重ねられた状態で着脱可能に取り付けられている。フレームカバー213内には、セ
ンターフレーム47に内蔵されたLED等を駆動するためのLED制御基盤などが配設さ
れている。
また、遊技盤30の裏面には、可変表示装置ユニット35を取り囲むようにして裏枠セ
ット215が取り付けられている。この裏枠セット215は、遊技盤30の裏面に張り付
くようにして設けられる薄型の樹脂成型品(例えばABS製)であって、各種入賞口に入
賞した遊技球を回収するための遊技球回収機構が形成されている。詳しくは、裏枠セット
215の下方には、前述した一般入賞口31、可変入賞装置32、第1の始動口33(そ
れぞれ図7参照)の遊技盤30開口部に対応し、且つ下流側で1カ所に集合する回収通路
216が形成されている。また、遊技盤30の下方には、樹脂製(例えばポリカーボネー
ト樹脂製)の排出通路盤217が取り付けられており、該排出通路盤217には、排出球
をパチンコ機10の外部へ案内するための排出通路218が形成されている。従って、図
12に仮想線で例示するように、一般入賞口31等に入賞した遊技球は何れも裏枠セット
215の回収通路216を介して集合し、更に排出通路盤217の排出通路218を介し
てパチンコ機10外部に排出される。なお、アウト口36(図6参照)も同様に排出通路
218に通じており、何れの入賞口にも入賞しなかった遊技球も排出通路218を介して
パチンコ機10の外部に排出される。
なお、排出通路盤217は、パチンコ機前面の上皿19の丁度裏側辺りに設けられてお
り、上皿19に至る球排出口(図5の球通路樋69)より針金等を差し込み、さらにその
針金等を内枠12と排出通路盤217との隙間を通じて遊技領域側に侵入させるといった
不正行為が考えられる。そこで本パチンコ機10では、排出通路盤217の上皿19の丁
度裏側辺りに、内枠12にほぼ一体的に重なり合うようにしてパチンコ機前方に延びるプ
レート219が設けられている。従って、内枠12と排出通路盤217との隙間から針金
等を侵入させようとしてもそれがプレート219にて阻害され、遊技領域にまで針金等を
侵入させることが非常に困難となるので、不正行為を防止することができる。なお、図1
2において符号228は打球槌等を備えるセットハンドルであり、符号229は発射モー
タである。
また、内枠12の裏面には、第2制御基板ユニット202や裏パックユニット203を
取り付けるための取付機構が設けられている。具体的には、内枠12にはその右端部に長
尺状の支持金具235が取り付けられており、その構成を図13に示す。図13に示すよ
うに、支持金具235は長尺板状の金具本体236を有し、その金具本体236より起立
させるようにして、下方2カ所に第2制御基板ユニット用の支持孔部237が形成される
と共に、上方2ヵ所に裏パックユニット用の支持孔部238が形成されている。それら支
持孔部237,238にはそれぞれ同軸の支持孔が形成されている。その他、第2制御基
板ユニット用の取付機構として、内枠12には、遊技盤設置領域よりも下方左端部に上下
一対の被締結孔(ナイラッチ孔)239が設けられている。また、裏パックユニット用の
取付機構として、内枠12には、遊技盤設置領域の左端部に上下一対の被締結孔(ナイラ
ッチ孔)240が設けられている。但し、第2制御基板ユニット用の支持金具と裏パック
ユニット用の支持金具とを各々個別の部材で設けることも可能である。符号241,24
2,243は、遊技盤30との間に裏パックユニット203を挾み込んで支持するための
回動式の固定具である。
その他、内枠12の背面構成において、遊技盤30の右下部には、後述する払出機構部
352より払い出される遊技球を上皿19、下皿15、または排出通路218の何れかに
振り分けるための遊技球分配部245が設けられている。すなわち、遊技球分配部245
の開口部245aは上皿19に通じ、開口部245bは下皿15に通じ、開口部245c
は排出通路218に通じる構成となっている。図11に示すように、遊技球分配部245
は、その上方位置に位置する後述の払出機構部352(図21参照)とは別体としている
。図11に示すように、遊技球分配部245は、内枠12にネジで締結固定されており、
パチンコ機10の上皿19の排出口67(図6参照)から異物を挿入操作するなどしても
動かない、つまり遊技球分配部245が奥側に押されて遊技球分配部245と内枠12と
の間に隙間が空くようなことが無いし、この隙間に異物を押入するなどによる不正を防止
できる。
また、内枠12の下端部には、下皿15に設置されたスピーカ24の背後を囲むための
樹脂製のスピーカボックス246が取り付けられており、このスピーカボックス246に
より低音域の音質改善が図られている。
次に、第1制御基板ユニット201を、図14〜図17を用いて説明する。図14は第
1制御基板ユニット201の正面図、図15は同ユニット201の斜視図、図16は同ユ
ニット201の分解斜視図、図17は同ユニット201を裏面から見た分解斜視図である
第1制御基板ユニット201は略L字状をなす取付台251を有し、この取付台251
に主制御装置261と音声ランプ制御装置262とが搭載されている。ここで、主制御装
置261は、主たる制御を司るCPU、遊技プログラムを記憶したROM、遊技の進行に
応じた必要なデータを記憶するRAM、各種機器との連絡をとるポート、各種抽選の際に
用いられる乱数発生器、時間計数や同期を図る場合などに使用されるクロックパルス発生
回路等を含む主制御基板を具備しており、この主制御基板が透明樹脂材料等よりなる基板
ボックス263(被包手段)に収容されて構成されている。なお、基板ボックス263は
、略直方体形状のボックスベースと該ボックスベースの開口部を覆うボックスカバーとを
備えている。これらボックスベースとボックスカバーとは封印ユニット264(封印手段
)によって開封不能に連結され、これにより基板ボックス263が封印されている。
封印手段としての封印ユニット264はボックスベースとボックスカバーとを開封不能
に連結する構成であれば任意の構成が適用できるが、ここでは図15等に示すように、5
つの封印部材が連結された構成となっており、この封印部材の長孔に係止爪を押入するこ
とでボックスベースとボックスカバーとが開封不能に連結されるようになっている。封印
ユニット264による封印処理は、その封印後の不正な開封を防止し、また万一不正開封
が行われてもそのような事態を早期にかつ容易に発見可能とするものであって、一旦開封
した後でも再度開封・封印処理を行うこと自体は可能である。すなわち、封印ユニット2
64を構成する5つの封印部材のうち、少なくとも一つの封印部材の長孔に係止爪を挿入
することにより封印処理が行われる。そして、収容した主制御基板の不具合などにより基
板ボックス263を開封する場合には、係止爪が挿入された封印部材と他の封印部材との
連結を切断する。その後、再度封印処理する場合は他の封印部材の長孔に係止爪を挿入す
る。基板ボックス263の開封を行った旨の履歴を当該基板ボックス263に残しておけ
ば、基板ボックス263を見ることで不正な開封が行われた旨が容易に発見できる。
また、音声ランプ制御装置262は、例えば主制御装置261(主制御基板)または表
示制御装置45からの指示に従い音声やランプ表示の制御を司るCPUや、その他ROM
、RAM、各種ポート等を含む音声ランプ制御基板を具備しており、この音声ランプ制御
基板が透明樹脂材料等よりなる基板ボックス265に収容されて構成されている。音声ラ
ンプ制御装置262上には電源中継基板266が搭載されており、後述する電源基板より
供給される電源がこの電源中継基板266を介して表示制御装置45および音声ランプ制
御装置262に出力されるようになっている。
取付台251は、有色(例えば緑、青等)の樹脂材料(例えばポリカーボネート樹脂製
)にて成形され、その表面に平坦状をなす2つの基板搭載面252,253が設けられて
いる。これら基板搭載面252,253は直交する向きに延び、前後方向に段差をもって
形成されている。但し、取付台251は無色透明または半透明の樹脂成型品であっても良
い。
そして、一方の基板搭載面252上に主制御装置261(主制御基板)が横長の向きに
配置されると共に、他方の基板搭載面253上に音声ランプ制御装置262(音声ランプ
制御基板)が縦長の向きに配置されるようになっている。特に、主制御装置261は、パ
チンコ機10裏面から見て手前側に配置され、音声ランプ制御装置262はその奥側に配
置される。この場合、基板搭載面252,253が前後方向に段差をもって形成されてい
るため、これら基板搭載面252,253に主制御装置261および音声ランプ制御装置
262を搭載した状態において各制御装置261,262はその一部を前後に重ねて配置
されるようになる。つまり、図15等にも見られるように、主制御装置261はその一部
(本実施の形態では1/3程度)が浮いた状態で配置されるようになる。故に、主制御装
置261に重なる領域まで音声ランプ制御装置262を拡張することが可能となり、当該
制御基板の大型化にも良好に対処できる。また、各制御装置が効率良く設置できるように
なる。また、第1制御基板ユニット201を遊技盤30に装着した状態では、基板搭載面
252の後方にスペースが確保され、電動役物ユニット603やその電気配線等が無理な
く設置できるようになっている。
図16および図17に示すように、主制御基板用の基板搭載面252には、左右2ヵ所
に横長形状の貫通孔254が形成されている。これに対応して、主制御装置261の基板
ボックス263には、その裏面の左右2ヵ所に回動式の固定具267が設けられている。
主制御装置261を基板搭載面252に搭載する際には、基板搭載面252の貫通孔25
4に固定具267が通され、その状態で固定具267が回動されて主制御装置261がロ
ックされる。従って、上述の通り主制御装置261はその一部が浮いた状態で配置される
としても、当該主制御装置261の脱落等の不都合が回避できる。また、主制御装置26
1は、裏パックユニット203の軸線を軸心として開き、第1制御基板ユニット201を
軸線を軸心として開いた後に、この第1制御基板ユニット201(基板搭載面252)の
裏面側から固定具267をロック解除しなければ、取り外しできないため、基板取り外し
等の不正行為に対して抑止効果が期待できる。主制御基板用の基板搭載面252にはその
裏面に格子状のリブ255が設けられている。
取付台251には、図15等の左端面に上下一対の支軸256が設けられており、この
支軸256を図11等に示す支持金具231に取り付けることで、第1制御基板ユニット
201が遊技盤30に対して開閉可能に支持される。また、取付台251には、右端部に
締結具として上下一対のナイラッチ257が設けられると共に上端部に長孔258が設け
られており、ナイラッチ257を図11等に示す被締結孔232にはめ込むこと等により
、第1制御基板ユニット201が遊技盤30に固定されるようになる。
次に、第2制御基板ユニット202を、図18〜図20を用いて説明する。図18は第
2制御基板ユニット202の正面図、図19は同ユニット202の斜視図、図20は同ユ
ニット202の分解斜視図である。但し、図19では便宜上、カードユニット接続基板3
14が取付台301から取り外された状態を示している。
第2制御基板ユニット202は横長形状をなす取付台301を有し、この取付台301
に払出制御装置311、発射制御装置312、電源装置313およびカードユニット接続
基板314が搭載されている。払出制御装置311、発射制御装置312および電源装置
313は周知の通り制御の中枢をなすCPUや、その他ROM、RAM、各種ポート等を
含む制御基板を具備しており、払出制御装置311により、賞品球や貸出球の払出が制御
される。また、発射制御装置312により、遊技者による遊技球発射ハンドル18の操作
に従い発射モータ229の制御が行われ、電源装置313により、各種制御装置等で要す
る所定の電源電圧が生成され出力される。カードユニット接続基板314は、パチンコ機
前面の貸球操作部120(図4参照)および図示しないカードユニットに電気的に接続さ
れ、遊技者による球貸し操作の指令を取り込んでそれを払出制御装置311に出力するも
のである。なお、カードユニットを介さずに球貸し装置等から上皿に遊技球が直接貸し出
される現金機では、カードユニット接続基板314は不要である。
上記払出制御装置311、発射制御装置312、電源装置313およびカードユニット
接続基板314は、透明樹脂材料等よりなる基板ボックス315,316,317,31
8にそれぞれ収容されて構成されている。特に、払出制御装置311では、前述した主制
御装置261と同様、基板ボックス315(被包手段)を構成するボックスベースとボッ
クスカバーとが封印ユニット319(封印手段)によって開封不能に連結され、これによ
り基板ボックス315が封印されている。
払出制御装置311には状態復帰スイッチ321が設けられている。例えば、払出モー
タ部の球詰まり等、払出エラーの発生時において状態復帰スイッチ321が押下されると
、払出モータが正逆回転され、球詰まりの解消(正常状態への復帰)が図られるようにな
っている。
また、電源装置313にはRAM消去スイッチ323が設けられている。
取付台301は例えば無色透明な樹脂成型品よりなり、その表面に平坦状をなす基板搭
載面302が設けられている。この場合、発射制御装置312、電源装置313およびカ
ードユニット接続基板314は取付台301の基板搭載面302に横並びの状態で直接搭
載され、電源装置313の基板ボックス317上に払出制御装置311が搭載されている
また、取付台301には、図18等の右端部に上下一対の支軸305が設けられており
、この支軸305を図12等に示す支持孔部237に上方から挿通させることで、第2制
御基板ユニット202が内枠12に対して開閉可能に支持される。また、取付台301に
は、左端部に締結具として上下一対のナイラッチ306が設けられており、ナイラッチ3
06を図12等に示す被締結孔239にはめ込むことで、第2制御基板ユニット202が
内枠12に開閉不能に固定されるようになる。
次に、裏パックユニット203の構成を説明する。裏パックユニット203は、樹脂成
形された裏パック351と遊技球の払出機構部352とを一体化したものであり、裏パッ
クユニット203の正面図を図21に示し、分解斜視図を図22に示す。
裏パック351は例えばABS樹脂により一体成型されており、略平坦状のベース部3
53と、パチンコ機後方に突出し横長の略直方体形状をなす保護カバー部354とを有す
る。保護カバー部354は左右側面および上面が閉鎖されかつ下面のみが開放された形状
をなし、少なくとも第1図柄表示装置42を囲むのに十分な大きさを有する(但し本実施
の形態では、前述の音声ランプ制御装置262も合わせて囲む構成となっている)。保護
カバー部354の背面には多数の通気孔354aが設けられている。この通気孔354a
は各々が長孔状をなし、それぞれの通気孔354aが比較的近い位置で隣り合うよう設け
られている。従って、隣り合う通気孔354a間にある樹脂部分を切断することにより、
裏パック351の背面を容易に開口させることができる。つまり、通気孔354a間の樹
脂部分を切断してその内部の表示制御装置45等を露出させることで、所定の検定等を容
易に実施することができる。
また、ベース部353には、保護カバー部354を迂回するようにして払出機構部35
2が配設されている。すなわち、裏パック351の最上部には上方に開口したタンク35
5が設けられており、このタンク355には遊技ホールの島設備から供給される遊技球が
逐次補給される。タンク355の下方には、例えば横方向2列(2条)の球通路を有し下
流側に向けて緩やかに傾斜するタンクレール356が連結され、さらにタンクレール35
6の下流側には縦向きにケースレール357が連結されている。払出装置358はケース
レール357の最下流部に設けられ、払出モータ等の所定の電気的構成により必要個数の
遊技球の払出が適宜行われる。そして、払出装置358より払い出された遊技球は図22
に示す払出通路359等を通じて前記上皿19に供給される。
タンクレール356と、当該タンクレール356に振動を付加するためのバイブレータ
360とが一体化となるようにユニット化されている。つまり、バイブレータ360が例
えば2本のネジでタンクレール356に締結されて取り付けられるようになっている。さ
らに、バイブレータ360は、タンクレール356に面接触するのではなく、当該2本の
ネジの部分で接触するようになっており、バイブレータ360による振動がより効果的に
タンクレール356に伝わるようになっている。従って、仮にタンクレール356付近で
球詰まりが生じた際、バイブレータ360が駆動されることで球詰まりが解消されるよう
になっている。
タンクレール356の構成について詳述すると、図23に示すように、タンクレール3
56は上方に開口した長尺樋状をなすレール本体361を有し、レール本体361の始端
部には球面状の球受部362が設けられている。この球受部362により、タンク355
より落下してきた遊技球が円滑にレール本体361内に取り込まれる。また、レール本体
361には長手方向に延びる仕切壁363が設けられており、この仕切壁363により遊
技球が二手に分流されるようになっている。仕切壁363により仕切られた2条の球通路
は遊技球の直径よりも僅かに幅広となっている。仕切壁363により仕切られた各球通路
の底面には、1筋または2筋の突条364が設けられると共に、その突条364の側方に
開口部365が設けられている。
また、レール本体361には、その下流側半分程度の天井部分を覆うようにして整流板
367が配設されている。この整流板367は、下流側になるほどタンクレール356内
の球通路高さを制限するよう弓なりに反った形状をしており、さらにその下面には長手方
向に延びる凸部368が形成されている。これにより、タンクレール356内を流れる各
遊技球は最終的には上下に積み重なることなく下流側に流出する。従って、タンクレール
356に多量の遊技球群が流れ込んできても、遊技球の噛み込みが防止され、タンクレー
ル356内における球詰まりが解消されるようになっている。なお、レール本体361が
黒色の導電性ポリカーボネート樹脂により成形されるのに対し、整流板367は透明のポ
リカーポネート樹脂により成形されている。整流板367は着脱可能に設けられており、
当該整流板367を取り外すことによりタンクレール356内のメンテナンスが容易に実
施できるようになっている。
図21,22の説明に戻り、払出機構部352には、払出制御装置311から払出装置
358への払出指令の信号を中継する払出中継基板381が設置されると共に、外部より
主電源を取り込むための電源スイッチ基板382が設置されている。電源スイッチ基板3
82には、電圧変換器を介して例えば交流24Vの主電源が供給され、電源スイッチ38
2aの切替操作により電源ONまたは電源OFFとされるようになっている。
タンク355から払出通路359に至るまでの払出機構部352は何れも導電性を有す
る樹脂材料(例えば導電性ポリカーボネート樹脂)にて成形され、その一部にてアースさ
れている。これにより、遊技球の帯電によるノイズの発生が抑制されるようになっている
また、裏パック351には、図21等の右端部に上下一対の支軸385が設けられてお
り、この支軸385を図11等に示す支持孔部238に上方から挿通させることで、裏パ
ックユニット203が内枠12に対して開閉可能に支持される。また、裏パック351に
は、左端部に締結具として上下一対のナイラッチ386が設けられると共に、上端部に係
止孔387が設けられており、ナイラッチ386を図11等に示す被締結孔240にはめ
込むと共に、係止孔387に図11等に示す固定具242を係止させることで、裏パック
ユニット203が内枠12に開閉不能に固定されるようになる。このとき、図11等に示
す固定具241,243によっても裏パックユニット203が内枠12に固定される。
なお、図9,図21に示すように、内枠12の右上側には、内枠12が外枠11に対し
て開かれたことを検出する内枠開検出スイッチ388が設けられている。内枠12が開か
れると、内枠開検出スイッチ388からホール内(パチンコ店内)用コンピュータヘ出力
されるようになっている。
なお、図11に示すように、裏パックユニット203は、被締結孔240およびナイラ
ッチ386と、固定具241とによって、内枠12の裏面に着脱自在に取り付けられてい
る。このように固定具241も用いているので、タンク355に供給される遊技球の重み
で裏パックユニット203が内枠12から外れてしまうことを防止している。
(パチンコ機の電気的構成及び各種制御処理)
次に、図24を参照して、本パチンコ機10の電気的構成について説明する。主制御装
置261には、演算装置である1チップマイコンとしてのMPU501が搭載されている
。MPU501には、該MPU501により実行される各種の制御プログラムや固定値デ
ータを記憶したROM502と、そのROM502内に記憶される制御プログラムの実行
に際して各種のデータ等を一時的に記憶するためのメモリであるROM503と、そのほ
か、割込回路やタイマ回路、データ送受信回路などの各種回路が内蔵されている。
ROM503は、パチンコ機10の電源の遮断後においても電源装置313からバック
アップ電圧が供給されてデータを保持(バックアップ)できる構成となっており、RAM
503には、各種のデータ等を一時的に記憶するためのメモリやエリアの他に、バックア
ップエリア503aが設けられている。
バックアップエリア503aは、停電などの発生により電源が遮断された場合において
、電源遮断時(停電発生時を含む。以下同様)のスタックポインタや、各レジスタ、I/
O等の値を記憶しておくためのエリアであり、電源投入時(停電解消による電源投入を含
む。以下同様)には、バックアップエリア503aの情報に基づいてパチンコ機10の状
態が電源遮断前の状態に復帰される。バックアップエリア503aへの書き込みはNMI
割込処理(図35参照)によって電源遮断時に実行され、バックアップエリア503aに
書き込まれた各値の復帰は電源投入時のメイン処理(図27参照)において実行される。
なお、MPU501のNMI端子(ノンマスカブル割込端子)には、停電等の発生による
電源遮断時に、停電監視回路542からの停電信号SG1が入力されるように構成されて
おり、その停電信号SG1がMPU501へ入力されると、停電時処理としてのNMI割
込処理が即座に実行される。
主制御装置261のMPU501には、アドレスバス及びデータバスで構成されるバス
ライン504を介して入出力ポート505が接続されている。入出力ポート505には、
後述するRAM消去スイッチ回路543、払出制御装置311、表示制御装置45や、そ
の他図示しないスイッチ群などが接続されている。
払出制御装置311は、払出モータ358aにより賞球や貸し球の払出制御を行うもの
である。演算装置であるMPU511は、そのMPU511により実行される制御プログ
ラムや固定値データ等を記憶したROM512と、ワークメモリ等として使用されるRA
M513とを備えている。
払出制御装置311のRAM513は、主制御装置261のRAM503と同様に、パ
チンコ機10の電源の遮断後においても電源装置313からバックアップ電圧が供給され
てデータを保持(バックアップ)できる構成となっており、RAM513には、各種のデ
ータ等を一時的に記憶するためのメモリやエリアの他に、バックアップエリア513aが
設けられている。
バックアップエリア513aは、停電などの発生により電源が遮断された場合において
、電源遮断時のスタックポインタや、各レジスタ、I/O等の値を記憶しておくためのエ
リアであり、電源投入時には、このバックアップエリア513aの情報に基づいてパチン
コ機10の状態が電源遮断前の状態に復帰される。バックアップエリア513aへの書き
込みはNMI割込処理によって電源遮断時に実行され、バックアップエリア513aに書
き込まれた各値の復帰は電源投入時のメイン処理において実行される。なお、主制御装置
261のMPU501と同様、MPU511のNMI端子にも、停電時の発生による電源
遮断時に停電監視回路542から停電信号SG1が入力されるように構成されており、そ
の停電信号SG1がMPU511へ入力されると、停電時処理としてのNMI割込処理が
即座に実行される。
払出制御装置311のMPU511には、アドレスバス及びデータバスで構成されるバ
スライン514を介して入出力ポート515が接続されている。入出力ポート515には
、RAM消去スイッチ回路543、主制御装置261、発射制御装置312、払出モータ
358aなどがそれぞれ接続されている。
発射制御装置312は、発射モータ229による遊技球の発射を許可又は禁止するもの
であり、発射モータ229は、所定条件が整っている場合に駆動が許可される。具体的に
は、払出制御装置311から発射許可信号が出力されていること、遊技者が遊技球発射ハ
ンドル18に触れていることをセンサ信号により検出していること、発射を停止させるた
めの発射停止スイッチが操作されていないことを条件に、発射モータ229が駆動され、
遊技球発射ハンドル18の操作量に応じた強さで遊技球が発射される。
表示制御装置45は、第1図柄表示装置42における特別図柄等の変動表示を制御する
ものである。表示制御装置45は、MPU521と、ROM(プログラムROM)522
と、ワークRAM523と、ビデオRAM524と、キャラクタROM525と、画像コ
ントローラ526と、入力ポート527と、2つの出力ポート528,529と、バスラ
イン530,531とを備えている。入力ポート527の入力側には主制御装置261の
出力側が接続され、入力ポート527の出力側には、MPU521、ROM522、ワー
クRAM523、画像コントローラ526が接続されると共にバスライン530を介して
出力ポート528が接続されている。出力ポート528の出力側には、音声ランプ制御装
置262が接続されている。また、画像コントローラ526にはバスライン531を介し
て出力ポート529が接続されており、その出力ポート529の出力側には第1図柄表示
装置42が接続されている。
表示制御装置45のMPU521は、主制御装置261から送信される図柄表示用のコ
マンドに基づいて第1図柄表示装置42の表示を制御する。ROM522は、MPU52
1により実行される各種の制御プログラムや固定値データを記憶するためのメモリであり
、ワークRAM523は、MPU521による各種プログラムの実行時に使用されるワー
クデータやフラグを一時的に記憶するためのメモリである。
ビデオRAM524は、第1図柄表示装置42に表示される表示データを記憶するため
のメモリであり、ビデオRAM524の内容を書き替えることにより、第1図柄表示装置
42の表示内容が変更される。キャラクタROM525は、第1図柄表示装置42に表示
される図柄などのキャラクタデータを記憶するためのメモリである。画像コントローラ5
26は、MPU521、ビデオRAM524、出力ポート529のそれぞれのタイミング
を調整してデータの読み書きに介在すると共に、ビデオRAM524に記憶される表示デ
ータを、キャラクタROM525から所定のタイミングで読み出し、更に予め優先順位を
定めたレイヤの順に図柄を重ねて表示装置42に表示させるものである。
電源装置313は、パチンコ機10の各部に電源を供給するための電源部541と、停
電等による電源遮断を監視する停電監視回路542と、RAM消去スイッチ323を有す
るRAM消去スイッチ回路543とを備えている。電源部541は、図示しない電源経路
を通じて、主制御装置261や払出制御装置311等に対して各々に必要な動作電圧を供
給する。その概要としては、電源部541は、外部より供給される交流24ボルトの電圧
を取り込み、各種スイッチやモータ等を駆動するための12ボルトの電圧、ロジック用の
5ボルトの電圧、RAMバックアップ用のバックアップ電圧などを生成し、これら12ボ
ルトの電圧、5ボルトの電圧及びバックアップ電圧を主制御装置261や払出制御装置3
11等に対して供給する。なお、発射制御装置312に対しては、払出制御装置311を
介して動作電圧(12ボルト及び5ボルトの電圧)が供給される。
停電監視回路542は、停電等の発生による電源遮断時に、主制御装置261のMPU
501及び払出制御装置311のMPU511の各NMI端子へ停電信号SG1を出力す
るための回路である。停電監視回路542は、電源部541から出力される最大電圧であ
る直流安定24ボルトの電圧を監視し、この電圧が22ボルト未満になった場合に停電(
電源遮断)の発生と判断して、停電信号SG1を主制御装置261及び払出制御装置31
1へ出力する。停電信号SG1の出力によって、主制御装置261及び払出制御装置31
1は、停電の発生を認識し、NMI割込処理を実行する。なお、電源部541は、直流安
定24ボルトの電圧が22ボルト未満になった後においても、NMI割込処理の実行に充
分は時間の間、制御系の駆動電圧である5ボルトの電圧の出力を正常値に維持するように
構成されている。よって、主制御装置261及び払出制御装置311は、NMI割込処理
を正常に実行し完了することができる。
RAM消去スイッチ回路543は、RAM消去スイッチ323が押下された場合に、主
制御装置261及び払出制御装置311へ、バックアップデータをクリアするためのRA
M消去信号SG2を出力する回路である。主制御装置261及び払出制御装置311は、
パチンコ機10の電源投入時に、RAM消去信号SG2を入力した場合に、それぞれのバ
ックアップエリア503a,513aのデータをクリアする。
ここで、図25を参照して、第1図柄表示装置42の表示内容について説明する。図2
5は、第1図柄表示装置42の表示内容を示す図である。なお、図25(b)〜図25(
d)においては装飾図柄表示領域42aに表示される有効ラインLA1〜LA5,LB1
〜LB5,LC1〜LC5(以下、「有効ラインLA1〜LC5」と略す。)を二点鎖線
で示しているが、この有効ラインL1〜L5は図柄表示装置に表示されるものではなく、
理解の容易のために示した仮想的な線である。
第1図柄表示装置42には、表示画面の下側端部に特別図柄が表示される特別図柄表示
領域42bが設けられ、表示画面の中央部には、基本的には上から下にスクロールする装
飾図柄が表示される装飾図柄表示領域42aが設けられる。特別図柄表示領域42bには
左・中・右の3つの図柄列が表示され、装飾図柄表示領域42aには左・左中・中・右中
・右に区分けされた5つの表示領域に5つの図柄列Z1〜Z5が表示される。ここでは、
特別図柄表示領域42bに表示される特別図柄を主として説明し、装飾図柄の表示内容等
については図36以降を参照して後述する。
特別図柄表示領域42bには、「○」「△」「☆」「×」「#」「*」の6種類の特別
図柄が表示されるものであり、左・中・右の3つにそれぞれ区分けされた横長楕円形状の
各表示領域にて、「○」「△」「☆」「×」「#」「*」、「○」の順に繰り返して表示
される図柄列を構成する。この特別図柄の変動表示は始動口33(図4参照)への入賞に
基づいて開始され、一定時間後に3つの特別図柄の変動表示が同時に停止する。その停止
後に「○」「△」「☆」「×」「#」「*」のうちいずれかの図柄が3つ揃って停止する
と大当たりとなり、その後に大当たり動画が表示される。一方、変動表示の停止時に特別
図柄が3つ揃っていなければ外れとなり、始動口33への入賞に基づいて再度の変動表示
が行われる。
次に、上記の如く構成されたパチンコ機10の動作について説明する。本実施の形態で
は、主制御装置261内のMPU501は、遊技に際し各種カウンタ情報を用いて、大当
たり抽選や第1図柄表示装置42の図柄表示の設定などを行うこととしており、具体的に
は、図26に示すように、大当たりの抽選に使用する大当たり乱数カウンタC1と、第1
図柄表示装置42の大当たり図柄の選択に使用する大当たり図柄カウンタC2と、第1図
柄表示装置42が外れ変動する際のリーチ抽選に使用するリーチ乱数カウンタC3と、大
当たり乱数カウンタC1の初期値設定に使用する乱数初期値カウンタCINIと、連継演
出を行うか否かを決定する連継演出カウンタCSと、連継演出における大当たりパターン
を全回転変動パターンとするか拡大当たり変動パターンとするかを決定する第1変動種別
カウンタCS1と、連継演出における外れパターンを拡大外れパターンとするかその他の
外れパターンとするかを決定する第2変動種別カウンタCS2と、連継演出以外の変動パ
ターン選択に使用する種別を決定する第3変動種別カウンタCS3と、特別図柄表示領域
42bの左図柄列、中図柄列及び右図柄列の各外れ図柄の設定に使用する左・中・右の各
外れ図柄カウンタCL,CM,CRとを備えている。
ここで、変動パターンとは、変動表示の特徴が共通するものを区分した場合における各
パターン(形態)を意味している。また、連継演出とは、装飾図柄の変動パターンのうち
複数回の変動表示に跨って行われる変動パターンであって、興趣演出の一形態として設定
されるものであり、遊技者の期待感を段階的に盛り上げるために、大当たりが発生する前
の変動表示にリーチ表示等の特定の表示を1回または複数回にわたって現出させた後に、
大当たりの表示結果を現出させるものを意味している。
上記カウンタC1〜C3,CINI,CS、CS1〜CS3は、その更新の都度前回値
に1が加算され、最大値に達した後0に戻るループカウンタとなっている。また、外れ図
柄カウンタCL,CM,CRは、MPU501内のRレジスタ(リフレッシュレジスタ)
を用いてレジスタ値が加算され、結果的に数値がランダムに変化する構成となっている。
各カウンタは短時間間隔で更新され、その更新値がRAM503の所定領域に設定された
カウンタ用バッファに適宜格納される。RAM503には、1つの実行エリアと4つの保
留エリア(保留第1〜第4エリア)とからなる保留球格納エリアが設けられており、これ
らの各エリアには、始動口33への遊技球の入賞タイミングに合わせて、大当たり乱数カ
ウンタC1、大当たり図柄カウンタC2及びリーチ乱数カウンタC3の各値がそれぞれ格
納される。
次いで、各カウンタの具体的な内容について詳述する。
大当たり乱数カウンタC1は、例えば0〜676の範囲内で順に1ずつ加算され、最大
値(つまり676)に達した後0に戻る構成となっている。特に大当たり乱数カウンタC
1が1周した場合、その時点の乱数初期値カウンタCINIの値が当該大当たり乱数カウ
ンタC1の初期値として読み込まれる。なお、乱数初期値カウンタCINIは、大当たり
乱数カウンタC1と同一範囲で更新されるループカウンタとして構成され(値=0〜67
6)、タイマ割込毎に1回更新されると共に通常処理の残余時間内で繰り返し更新される
。大当たり乱数カウンタC1は定期的に(本実施の形態ではタイマ割込毎に1回)更新さ
れ、遊技球が始動口33に入賞したタイミングでRAM503の保留球格納エリアに格納
される。大当たりとなる乱数の値の数は、低確率時と高確率時とで2種類設定されており
、低確率時に大当たりとなる乱数の値の数は2で、その値は「337,673」であり、
高確率時に大当たりとなる乱数の値の数は10で、その値は「67,131,199,2
69,337,401,463,523,601,661」である。なお、高確率時とは
、特別図柄の組合せが予め定められた確率変動図柄(本実施形態においては「○」の図柄
)の組合せによって大当たりになり付加価値としてその後の大当たり確率がアップした状
態、いわゆる確変の時をいい、通常時(低確率時)とはそのような確変状態でない時とい
う。
大当たり図柄カウンタC2は、大当たりの際、第1図柄表示装置42の特別図柄表示領
域42bにおける変動停止時の図柄を決定するものであり、本実施の形態では、特別図柄
が6種類設定されているので、6個(0〜5)のカウンタ値が用意されている。即ち、大
当たり図柄カウンタC2は、0〜5の範囲内で順に1ずつ加算され、最大値(つまり5)
に達した後0に戻る構成となっている。大当たり図柄カウンタC2は定期的に(本実施の
形態ではタイマ割込毎に1回)更新され、遊技球が始動口33に入賞したタイミングでR
AM503の保留球格納エリアに格納される。なお、本実施形態においては、大当たりの
際に表示される特別図柄は記号の図柄であり、装飾図柄は数字の図柄であるが、特別図柄
も装飾図柄と同様に数字の図柄で、かつ、同一数字に設定するようにしてもよい。また本
実施形態においては、大当たりの際に表示される特別図柄が「○」の時(装飾図柄では奇
数の時)には、次の大当たりが発生するまで確変となり、偶数の時には次の大当たりが発
生するまで確変でない通常状態となる。
リーチ乱数カウンタC3は、例えば0〜11の範囲内で順に1ずつ加算され、最大値(
つまり11)に達した後0に戻る構成となっている。本実施の形態では、リーチ乱数カウ
ンタC3によって、リーチ発生した後に最終停止図柄が大当たりとならずに停止する「外
れリーチ」と、リーチ発生しない「完全外れ」とを抽選することとしている。例えば、リ
ーチ乱数カウンタC3=0は外れリーチに該当し、リーチ乱数カウンタC3=1〜11は
完全外れに該当する。
ここで、リーチとは、第1図柄表示装置42の表示画面に表示される特別図柄(又は装
飾図柄)が変動表示を開始した後、先に停留する図柄の組合せが同一図柄(複数の有効ラ
インLA1〜LC5がある装飾図柄においてはいずれかの有効ライン上で同一図柄)であ
って大当たりの条件を満たしており、変動表示が続いている図柄の表示結果如何によって
は大当たりとなることを遊技者に示唆して大当たりの図柄の組合せを遊技者に期待させる
表示であり、興趣演出の1種である。興趣演出とは、変動表示の途中で第1図柄表示装置
42の表示画面にリーチに代表される所定の図柄を現出させたり、スピーカから特定の音
声を出力したり、或いは、振動用のモータによって遊技球発射ハンドル18を振動させる
等、通常とは異なる態様を変動表示に伴わせて変動表示後の表示結果が大当たりとなるこ
とを遊技者に期待させる演出である。
なお、リーチの抽選は、第1図柄表示装置42の抽選確率の状態や変動開始時の作動保
留球数等に応じて各々個別に設定されるものであっても良い。リーチ乱数カウンタC3は
定期的に(本実施の形態ではタイマ割込毎に1回)更新され、遊技球が始動口33に入賞
したタイミングでRAM503の保留球格納エリアに格納される。
連継演出カウンタCS、第1変動種別カウンタCS1、及び第2変動種別カウンタCS
2は、連継演出表示のために用いられるカウンタであり、これらのカウンタの値に応じて
、連継演出表示のための変動パターンコマンドが設定されて、第1図柄表示装置42に送
信されるようになっている。
連継演出カウンタCSは、上記したように連継演出を行うか否かを決定するためのもの
であり、例えば0〜20の範囲内で順位1ずつ加算され、最大値(つまり20)に達した
後0に戻る構成となっている。そして、0〜20の範囲内の所定の複数個のカウンタ値が
それぞれ連継演出に対応し、それ以外のカウンタ値は連継演出でないことを示している。
第1変動種別カウンタCS1は、連継演出における大当たりパターンを全回転変動パタ
ーンとするか拡大当たり変動パターンとするかを決定するためのものである。本実施の形
態では、連継演出における大当たりパターンは、後述する全回転変動パターン(図61、
図62に示される変動パターンにより大当たりが表示されるパターン)と拡大当たり変動
パターン(図53〜図59に示されるように、追っかけリーチを伴って最終的に大当たり
を表示演出するパターン)の2種類が用意されている。これに対応して、第1変動種別カ
ウンタCS1は、例えば0〜20の範囲内で順位1ずつ加算され、最大値(つまり20)
に達した後0に戻る構成となっており、かつ、0〜20の範囲内の所定の複数個のカウン
タ値がそれぞれ全回転変動パターンに対応し、それ以外のカウンタ値が拡大当たり変動パ
ターンに対応している。
第2変動種別カウンタCS2は、上記したように、連継演出における外れパターンを、
拡大外れパターンとするかその他の外れパターンとするかを決定するためのものである。
本実施の形態では、連継演出における外れパターンは、拡大外れ変動パターン(追っかけ
リーチを伴って最終的に外れる表示演出パターン)とその他の外れ変動パターン(図47
に示す副図柄(紫貝)が水平方向に沿って5つ並んで停止した後、ラッコが出現して、全
ての紫貝を開き、少なくとも1つの紫貝に真珠が入っていない場合の変動であり、この場
合は外れに該当する。)の2種類が用意されている。これに対応して、第2変動種別カウ
ンタCS2は、例えば0〜20の範囲内で順位1ずつ加算され、最大値(つまり20)に
達した後0に戻る構成となっており、かつ、0〜20の範囲内の所定の複数個のカウンタ
値がそれぞれ拡大外れ変動パターンに対応し、それ以外のカウンタ値がその他の外れ変動
パターンに対応している。
第3変動種別カウンタCS3は、例えば0〜198の範囲内で順位1ずつ加算され、最
大値(つまり198)に達した後0に戻る構成となっている。この第3変動種別カウンタ
CS3によって、ショートリーチ(変動開始から変動停止までの変動時間が15秒から1
6秒)、ミドルリーチ(変動時間が20秒から22秒)、又は、ロングリーチ(変動時間
が30秒から32秒)にするか等、特別図柄のリーチ種別が決定される。変動種別カウン
タCS3の値を構成する「0〜198」のそれぞれに対応していずれのリーチとするかは
、大当たり時と外れリーチ時とに対して別々の比率で予め割り当てられる。主制御装置2
61のROM502には、第3変動種別カウンタCS3の値と各リーチ種別(または各変
動時間)毎に対応したコマンドとが予め対応付けて記憶されている。ここで,第3変動種
別カウンタCS3を必ずしも1つだけ設けてリーチ種別を決定する必要はなく、2以上の
第3変動種別カウンタCS3を使用してリーチ種別を決定しても良い。
カウンタCS,CS1〜CS3は、後述する通常処理が1回実行される毎に1回更新さ
れ、当該通常処理内の残余時間内でも繰り返し更新される。そして、第1図柄表示装置4
2による装飾図柄および特別図柄の変動開始時における変動パターン決定に際してカウン
タCS,CS1〜CS3のバッファ値が取得される。
左・中・右の図柄列毎に使用される第1〜第3外れ図柄カウンタCL,CM,CRは、
大当たり抽選が外れとなった時に左図柄列、中図柄列、右図柄列の外れ停止図柄を決定す
るためのものである。各図柄列には「○」「△」「☆」「×」「#」「*」の6種類の特
別図柄の何れかが表示されることから、各図柄列にそれぞれ対応した6個(0〜5)のカ
ウンタ値が用意されている。カウンタ値が0に対しては「○」の特別図柄が対応し、カウ
ンタ値が1に対しては「△」、カウンタ値が2に対しては「☆」というように1つのカウ
ンタ値に対してそれぞれの特別図柄が対応している。第1外れ図柄カウンタCLにより左
図柄列の図柄が決定され、第2外れ図柄カウンタCMにより中図柄列の図柄が決定され、
第3外れ図柄カウンタCRにより右図柄列の図柄が決定される。
本実施の形態では、MPU501に内蔵のRレジスタの数値を用いることにより各カウ
ンタCL,CM,CRの値をランダムに更新する。即ち、各外れ図柄カウンタCL,CM
,CRの更新時には、前回値にRレジスタの下位2ビットの値が加算され、その加算結果
が最大値を超えた場合に「6」が減算されて今回値が決定される。各外れ図柄カウンタC
L,CM,CRは更新時期が重ならないようにして通常処理内で更新され、それら外れ図
柄カウンタCL,CM,CRの組合せが、RAM503の外れリーチ図柄バッファB9及
び完全外れ図柄バッファB10の何れかに格納される。そして、特別図柄の変動開始時に
おける変動パターン決定に際し、リーチ乱数カウンタC3の値に応じて外れリーチ図柄バ
ッファB9及び完全外れ図柄バッファB10の何れかのバッファ値が取得される。
なお、各カウンタの大きさや範囲は一例にすぎず任意に変更できる。但し、不規則性を
重視すれば、大当たり乱数カウンタC1、リーチ乱数カウンタC3、連継演出カウンタC
S、第1変動種別カウンタCS1、第2変動種別カウンタCS2、第3変動種別カウンタ
CS3の大きさは何れも異なる素数とし、いかなる場合にも同期しない数値としておくの
が望ましい。
次に、図27から図35のフローチャートを参照して、主制御装置261内のMPU5
01により実行される各制御処理を説明する。かかるMPU501の処理としては大別し
て、電源投入に伴い起動されるメイン処理と、定期的に(本実施の形態では2ミリ秒(以
下「ms」で表す)周期で)起動されるタイマ割込処理と、NMI端子への停電信号SG
1の入力により起動されるNMI割込処理とがあり、説明の便宜上、はじめにタイマ割込
処理とNMI割込処理とを説明し、その後メイン処理を説明する。
図33は、タイマ割込処理を示したフローチャートである。タイマ割込処理は、主制御
装置261のMPU501により例えば2ms毎に実行される。タイマ割込処理では、ま
ず各種入賞スイッチの読み込み処理を実行する(S601)。即ち、主制御装置261に
接続されている各種スイッチ(但し、RAM消去スイッチ323を除く)の状態を読み込
むと共に、当該スイッチの状態を判定して検出情報(入賞検知情報)を保存する。次に、
乱数初期値カウンタCINIの更新を実行する(S602)。具体的には、乱数初期値カ
ウンタCINIを1加算すると共に、そのカウンタ値が最大値(本実施の形態では676
)に達した際0にクリアする。そして、乱数初期値カウンタCINIの更新値を、RAM
503の該当するバッファ領域B4に格納する。
更に、大当たり乱数カウンタC1、大当たり図柄カウンタC2及びリーチ乱数カウンタ
C3の更新を実行する(S603)。具体的には、大当たり乱数カウンタC1、大当たり
図柄カウンタC2及びリーチ乱数カウンタC3をそれぞれ1加算すると共に、それらのカ
ウンタ値が最大値(本実施の形態ではそれぞれ、676,5,11)に達した際それぞれ
0にクリアする。そして、各カウンタC1〜C3の更新値を、RAM503の該当するバ
ッファ領域B1〜B3に格納する。その後は、始動口33への入賞に伴う始動入賞処理を
実行する(S604)。
図34のフローチャートを参照して、この始動入賞処理を説明する。まず、遊技球が始
動口33に入賞(始動入賞)したか否かを作動口スイッチ224の検出情報により判別す
る(S701)。遊技球が始動口33に入賞したと判別されると(S701:Yes)、
第1図柄表示装置42の作動保留球数Nが上限値(本実施の形態では4)未満であるか否
かを判別する(S702)。始動口33への入賞があり、且つ作動保留球数N<4であれ
ば(S702:Yes)、作動保留球数Nを1加算し(S703)、更に、前記ステップ
S703で更新した大当たり乱数カウンタC1、大当たり図柄カウンタC2及びリーチ乱
数カウンタC3の各値を、RAM503の保留球格納エリア700の空き保留エリアのう
ち最初のエリアに格納する(S704)。一方、始動口33への入賞がないか(S701
:No)、或いは、始動口33への入賞があっても作動保留球数N<4でなければ(S7
02:No)、S703及びS704の各処理をスキップして、始動入賞処理を終了する
。始動入賞処理の終了後は、MPU501は本タイマ割込処理を一旦終了する。
なお、遊技球が始動口33に入賞(始動入賞)した場合、それに伴い第1図柄表示装置
42の特別図柄表示領域42b(図24参照)にて、特別図柄の変動表示が開始されるこ
ととなるが、始動入賞後に特別図柄が変動し図柄停止に至るまでには所定時間(例えば5
秒)が経過していなければならないという制約がある。そこで、上記始動入賞処理では、
始動入賞が確認された場合、各カウンタ値の格納処理(S704)の後に、始動入賞後の
経過時間を計るためのタイマをセットする。具体的には、上記始動入賞処理は2ms周期
で実行されるため、例えば5秒の経過時間を計測するにはタイマに数値「2500」をセ
ットし、始動入賞処理の都度、タイマ値を1ずつ減算する。このタイマ値は、その時々の
各カウンタC1〜C3の値と共に、RAM503の保留球格納エリアに格納され管理され
る。そして、後述する特別図柄の変動パターン設定に際しては、上記タイマ値が参照され
、残り時間に応じて(所定時間経過後に図柄変動が停止されるよう)変動パターンが設定
される。
図35は、NMI割込処理を示したフローチャートである。NMI割込処理は、停電の
発生等によるパチンコ機10の電源遮断時に、主制御装置261のMPU501により実
行される。このNMI割込処理により、電源遮断時の主制御装置261の状態がRAM5
03のバックアップエリア503aに記憶される。即ち、停電の発生等によりパチンコ機
10の電源が遮断されると、停電信号SG1が停電監視回路542から主制御装置261
内のMPU501のNMI端子に出力され、MPU501は実行中の制御を中断してNM
I割込処理を開始する。図35のNMI割込処理のプログラムは、主制御装置261のR
OM502に記憶されている。停電信号SG1が出力された後所定時間は、主制御装置2
61の処理が実行可能となるように電源部541から電源供給がなされており、この所定
時間内にNMI割込処理が実行される。
NMI割込処理では、まず、使用レジスタをRAM503のバックアップエリア503
aに退避し(S801)、スタックポインタの値を同バックアップエリア503aに記憶
する(S802)。更に、電源遮断の発生情報をバックアップエリア503aに設定し(
S803)、電源が遮断されたことを示す電源遮断通知コマンドを他の制御装置に対して
送信する(S804)。RAM判定値を算出し、バックアップエリア503aに保存する
(S805)。RAM判定値は、例えば、RAM503の作業領域アドレスにおけるチェ
ックサム値である。その後は、RAM503のアクセスを禁止して(S806)、電源が
完全に遮断して処理が実行できなくなるまで無限ループを継続する。
なお、上記のNMI割込処理は、払出制御装置311でも同様に実行され、かかるNM
I割込処理により、停電の発生等による電源遮断時の払出制御装置311の状態がRAM
513のバックアップエリア513aに記憶される。停電信号SG1が出力された後所定
時間は、払出制御装置311の処理が実行可能となるように電源部541から電源供給が
なされるのも同様である。即ち、停電の発生等によりパチンコ機10の電源が遮断される
と、停電信号SG1が停電監視回路542から払出制御装置311内のMPU511のN
MI端子に出力され、MPU511は実行中の制御を中断して図35のNMI割込処理を
開始する。その内容はステップS804の電源遮断通知コマンドの送信を行なわない点を
除き上記説明と同様である。
図27は、主制御装置261内のMPU501により実行されるメイン処理を示したフ
ローチャートである。このメイン処理は電源投入時のリセットにより起動される。メイン
処理では、まず、電源投入に伴う初期設定処理を実行する(S101)。具体的には、ス
タックポインタに予め決められた所定値を設定すると共に、サブ側の制御装置(音声ラン
プ制御装置262、払出制御装置311等)が動作可能な状態になるのを待つために、ウ
ェイト処理(例えば1秒程度)を実行する。払出制御装置311に対して払出許可コマン
ドを送信した後(S102),RAM503のアクセスを許可する(S103)。
その後は、電源装置313に設けたRAM消去スイッチ323がオンされているか否か
を判別し(S104)、オンされていれば(S104:Yes)、バックアップデータを
クリア(消去)するべく、処理をS114へ移行する。一方、RAM消去スイッチ323
がオンされていなければ(S104:No)、更にRAM503のバックアップエリア5
03aに電源遮断の発生情報が記憶されているか否かを判別し(S105)、記憶されて
いなければ(S105:No)、バックアップデータは記憶されていないので、この場合
にも、処理をS114へ移行する。バックアップエリア503aに電源遮断の発生情報が
記憶されていれば(S105:Yes)、RAM判定値を算出し(S106)、算出した
RAM判定値が正常でなければ(S107:No)、即ち算出したRAM判定値が電源遮
断時に保存したRAM判定値と一致しなければ、バックアップされたデータは破壊されて
いるので、かかる場合にも処理をS114へ移行する。なお、前述した通り、RAM判定
値は、例えばRAM503の作業領域アドレスにおけるチェックサム値である。このRA
M判定値に代えて、RAM503の所定のエリアに書き込まれたキーワードが正しく保存
されているか否かによりバックアップの有効性を判断するようにしても良い。
上述したように、本パチンコ機10では、例えばホールの営業開始時など、電源投入時
にRAMデータを初期化する場合にはRAM消去スイッチ323を押しながら電源が投入
される。従って、RAM消去スイッチ323が押されていれば、RAMの初期化処理(S
114〜S116)に移行する。また、電源遮断の発生情報が設定されていない場合や、
RAM判定値(チェックサム値等)によりバックアップの異常が確認された場合も同様に
RAM503の初期化処理(S114〜S116)に移行する。即ち、S114からのR
AMの初期化処理では、RAM503の使用領域を0にクリアし(S114),RAM5
03の初期値を設定する(S115)。その後、割込みを許可して(S116),後述す
る通常処理に移行する。
一方、RAM消去スイッチ323がオンされておらず(S104:No)、電源遮断の
発生情報が記憶されており(S105:Yes)、更にRAM判定値(チェックサム値等
)が正常であれば(S107:Yes)、処理をS108へ移行して復電時の処理(電源
遮断復旧時の処理)を実行する。即ち、復電時処理では、電源遮断時のスタックポインタ
を復帰させ(S108)、電源遮断の発生情報をクリアする(S109)。次に、サブ側
の制御装置を電源遮断時の遊技状態に復帰させるための復電時のコマンドを送信し(S1
10)、使用レジスタをRAM503のバックアップエリア503aから復帰させる(S
111)。更に、電源断前に割込みが許可状態にあったか否かを確認し(S112)、割
込みが許可状態であれば(S112:Yes)、割込みを許可し(S113)、一方、電
源断時に割込みが禁止状態にあれば(S112:No)、割込みを禁止したまま、処理を
電源遮断前の番地へ戻す。
次に、図28のフローチャートを参照して通常処理を説明する。この通常処理では遊技
の主要な処理が実行される。その概要として、4ms周期の定期処理としてS201〜S
207の各処理が実行され、その残余時間でS208〜S210のカウンタ更新処理が実
行される構成となっている。
通常処理においては、まず、前回の処理で更新されたコマンド等の出力データをサブ側
の各制御装置に送信する(S201)。具体的には、入賞検知情報の有無を判別し、入賞
検知情報があれば払出制御装置311に対して獲得遊技球数に対応する賞球払出コマンド
を送信する。また、第1図柄表示装置42による特別図柄の変動表示に際して停止図柄コ
マンド、変動パターンコマンド、確定コマンド等を表示制御装置45に送信する。なお、
特別図柄の変動開始時において、変動パターンコマンド→左図柄列の停止図柄コマンド→
中図柄列の停止図柄コマンド→右図柄列の停止図柄コマンドの順で通常処理の都度1つず
つ(即ち、4ms毎に1つずつ)コマンドが送信され、変動時間終了のタイミングで確定
コマンドが送信されるようになっている。
次に、変動種別カウンタCSの各値を更新する(S202)。具体的には、変動種別カ
ウンタCSを1加算すると共に、それらのカウンタ値が最大値(本実施の形態では198
)に達した際それぞれ0にクリアする。そして、変動種別カウンタCSの更新値を、RA
M503の該当するバッファ領域に格納する。更に、外れ図柄カウンタ更新処理により、
左図柄列、中図柄列及び右図柄列の各外れ図柄カウンタCL,CM,CRの更新を実行す
る(S203)。
ここで、図29を参照して、外れ図柄カウンタ更新処理を説明する。まず、左図柄列に
対応する第1外れ図柄カウンタCLの更新時期か否かを判別し(S301)、更新時期で
あれば(S301:Yes)、第1外れ図柄カウンタCLを更新する(S303)。次に
、左図柄列の更新時期でなければ(S301:No)、中図柄列に対応する第2外れ図柄
カウンタCMの更新時期か否かを判別し(S302)、更新時期であれば(S302:Y
es)、第2外れ図柄カウンタCMを更新する(S304)。更に中図柄列の更新時期で
なければ(S302:No)、右図柄列の更新時期なので、右図柄列に対応する第3外れ
図柄カウンタCRを更新する(S305)。
上記S303〜S305の各処理における外れ図柄カウンタCL,CM,CRの更新で
は、前回のカウンタ値にRレジスタの下位2ビットの値を加算すると共にその加算結果が
最大値を超えた場合に3を減算し、その演算結果を外れ図柄カウンタCL,CM,CRの
今回値とする。上記CL,CM,CRの更新処理によれば、左図柄列、中図柄列及び右図
柄列の各外れ図柄カウンタCL,CM,CRが1回の通常処理で1つずつ順に更新される
ので、各カウンタ値の更新時期が重なることはない。これにより、通常処理を3回実行す
る毎に外れ図柄カウンタCL,CM,CRの1セット分が更新される。
その後、上記更新した外れ図柄カウンタCL,CM,CRの組合せが大当たり図柄の組
合せになっているか否かを判別し(S306)、大当たり図柄の組合せであれば(S30
6:Yes)、そのまま本処理を終了する。大当たり図柄の組合せでなければ(S306
:No)、リーチ図柄の組合せになっているか否かを判断し(S307)、リーチ図柄の
組合せであれば(S307:Yes)、その時の外れ図柄カウンタCL,CM,CRの組
合せをRAM503の外れリーチ図柄バッファB9に格納する(S308)。外れ図柄カ
ウンタCL,CM,CRの組合せが大当たり図柄の組合せでなく(S306:No)、且
つリーチ図柄の組合せでもなければ(S307:No)、外れ図柄カウンタCL,CM,
CRの組合せは外れリーチ以外の外れ図柄(完全外れ)の組合せになっているので、かか
る場合には、その外れ図柄カウンタCL,CM,CRの組合せをRAM503の完全外れ
図柄バッファB10に格納する(S309)。
外れ図柄カウンタCL,CM,CR更新処理(S203)の終了後は、図28の通常処
理へ戻って、払出制御装置311より受信した賞球計数信号や払出異常信号を読み込み(
S204)、第1図柄表示装置42による特別図柄の変動表示を行うための特別図柄変動
処理を実行する(S205)。この特別図柄変動処理により、大当たり判定や特別図柄の
変動パターンの設定などが行われる。なお、特別図柄変動処理の詳細は図31を参照して
後述する。
特別図柄変動処理の終了後は、第1図柄表示装置42による装飾図柄の変動表示を行う
ための装飾図柄変動処理を実行する(S206)。この装飾図柄変動処理により、大当た
り判定や装飾図柄の変動パターン(連継演出変動パターンを含む。)の設定などが行われ
る。なお、装飾図柄変動処理の詳細は図32を参照して後述する。
装飾図柄変動処理の終了後は、大当たり状態である場合において可変入賞装置32の大
入賞口を開放又は閉鎖するための大入賞口開閉処理を実行する(S207)。即ち、大当
たり状態のラウンド毎に大入賞口を開放し、大入賞口の最大開放時間が経過したか、又は
大入賞口に遊技球が規定数入賞したかを判定する。そして、これら何れかの条件が成立す
ると大入賞口を閉鎖する。このとき、遊技球が特定領域を通過したことを条件に大入賞口
の連続開放を許容し、これを所定ラウンド数繰り返し実行する。
その後は、次の通常処理の実行タイミングに至ったか否か、即ち前回の通常処理の開始
から所定時間(本実施の形態では4ms)が経過したか否かを判別し(S208)、既に
所定時間が経過していれば(S208:Yes)、処理をS201へ移行し、前述したS
201以降の各処理を繰り返し実行する。
一方、前回の通常処理の開始から未だ所定時間が経過していなければ(S208:No
)、所定時間に至るまでの、即ち次の通常処理の実行タイミングに至るまでの残余時間内
において、乱数初期値カウンタCINI、連継演出カウンタCS及び変動種別カウンタC
S1〜CS3の更新を繰り返し実行する(S209,S210)。まず、乱数初期値カウ
ンタCINIの更新を実行する(S209)。具体的には、乱数初期値カウンタCINI
を1加算すると共に、そのカウンタ値が最大値(本実施の形態では676)に達した際0
にクリアする。そして、乱数初期値カウンタCINIの更新値を、RAM503の該当す
るバッファ領域に格納する。次に、カウンタCS,CS1〜CS3の更新を実行する(S
210)。具体的には、カウンタCS,CS1〜CS3を1加算すると共に、それらのカ
ウンタ値が最大値に達した際それぞれ0にクリアする。そして、カウンタCSの更新値を
RAM503の連継演出カウンタバッファB5に格納し、カウンタCS1の更新値をRA
M503の第1変動種別カウンタバッファB6に格納し、カウンタCS2の更新値をRA
M503の第2変動種別カウンタバッファB7に格納し、カウンタCS3の更新値をRA
M503の第3変動種別カウンタバッファB8に格納する。
ここで、S201〜S207の各処理の実行時間は遊技の状態に応じて変化するため、
次の通常処理の実行タイミングに至るまでの残余時間は一定でなく変動する。故に、かか
る残余時間を使用して乱数初期値カウンタCINIの更新を繰り返し実行することにより
、乱数初期値カウンタCINI(即ち、大当たり乱数カウンタC1の初期値)をランダム
に更新することができ、同様にカウンタCS,CS1〜CS3についてもランダムに更新
することができる。
次に、図30及び図31のフローチャートを参照して、特別図柄変動処理(S205)
を説明する。特別図柄変動処理では、まず、今現在大当たり中であるか否かを判別する(
S401)。大当たり中としては、大当たりの際に第1図柄表示装置42で表示される大
当たり遊技の最中と大当たり遊技終了後の所定時間の最中とが含まれる。判別の結果、大
当たり中であれば(S401:Yes)、そのまま本処理を終了する。
大当たり中でなければ(S401:No)、第1図柄表示装置42による特別図柄の変
動表示中であるか否かを判別し(S402)、特別図柄の変動表示中でなければ(S40
2:No)、第1図柄表示装置42の作動保留球数Nが0よりも大きいか否かを判別する
(S403)。作動保留球数Nが0であれば(S403:No)、そのまま本処理を終了
する。作動保留球数N>0であれば(S403:Yes)、作動保留球数Nを1減算し(
S404)、保留球格納エリアに格納されたデータをシフト処理する(S405)。この
データシフト処理は、保留球格納エリアの保留第1〜第4エリアに格納されているデータ
を実行エリア側に順にシフトさせる処理であって、保留第1エリア→実行エリア、保留第
2エリア→保留第1エリア、保留第3エリア→保留第2エリア、保留第4エリア→保留第
3エリアといった具体に各エリア内のデータがシフトされる。データシフト処理の後は、
特別図柄の変動開始処理を実行する(S406)。なお、変動開始処理については図30
を参照して後述する。
S402の処理において、特別図柄の変動表示中である場合には(S402:Yes)
、変動時間が経過したか否かを判別する(S407)。特別図柄の変動時間はその特別図
柄の変動パターンに応じて決められており、この変動時間が経過するまで、S408の処
理の実行をスキップする(S407:No)。一方、特別図柄の変動時間が経過すれば(
S407:Yes)、停止図柄の確定のために設定されている確定コマンドを設定して(
S408)、本処理を終了する。
次に、図31のフローチャートを参照して、変動開始処理を説明する。変動開始処理(
S406)では、まず、保留球格納エリアの実行エリアに格納されている大当たり乱数カ
ウンタC1の値に基づいて大当たりか否かを判別する(S501)。大当たりか否かは大
当たり乱数カウンタ値とその時々のモードとの関係に基づいて判別される。前述した通り
通常の低確率時には大当たり乱数カウンタC1の数値0〜676のうち「337,673
」が当たり値であり、高確率時には「67,131,199,269,337,401,
463,523,601,661」が当たり値である。
大当たりであると判別された場合(S501:Yes)、保留球格納エリアの実行エリ
アに格納されている大当たり図柄カウンタC2の値に対応する図柄、即ち大当たり図柄を
大当たり図柄カウンタC2の値と図柄との対応関係を表す図示しないテーブルに基づいて
求め、その図柄を停止図柄コマンドに設定する(S502)。テーブルには、大当たり図
柄カウンタC2の数値「0」に対して「○」の特別図柄の表示を示す停止図柄コマンドが
割り当てられ、「1」に対しては「△」を示すコマンドが、「2」に対しては「☆」を示
すコマンドが、「3」に対しては「×」を示すコマンドが、「4」に対しては「#」を示
すコマンドが、「5」に対しては「*」を示すコマンドが、それぞれ割り当てられる。ま
た、大当たり図柄のうち、「○」の特定図柄(確変図柄)で揃った場合には以後確変状態
に移行するが、他の特定図柄(非確変図柄)で揃った場合には確変状態に移行しない。
次に、大当たり図柄で停止するまでの特別図柄の変動パターンを決定し、当該変動パタ
ーンを変動パターンコマンドに設定する(S503)。このとき、RAM503のカウン
タ用バッファB8に格納されている第3変動種別カウンタCS3の値を確認し、その値に
基づいてショートリーチ、ミドルリーチ、ロングリーチ等のリーチ種別と変動時間とを決
定する。なお、第3変動種別カウンタCS3の数値とリーチパターンとの関係は、それぞ
れにテーブル等により予め規定されている。
S501の処理で大当たりではないと判別された場合には(S501:No)、保留球
格納エリアの実行エリアに格納されているリーチ乱数カウンタC3の値に基づいてリーチ
発生(外れリーチの発生)か否かを判別する(S504)。本実施の形態では、リーチ乱
数カウンタC3の値は0〜11の何れかであり、そのうち「0」が外れリーチ発生に該当
し、「1〜11」がリーチなし(完全外れ)に該当する。
外れリーチ発生の場合(S504:Yes)、RAM503の外れリーチ図柄バッファ
B9に格納されている左・中・右の各外れ図柄カウンタCL,CM,CRの各値を停止図
柄コマンドに設定する(S505)。また、外れリーチを表示するための変動パターンを
決定し、当該変動パターンを変動パターンコマンドに設定する(S506)。このとき、
S503の処理と同様に、RAM503のカウンタ用バッファB8に格納されている第3
変動種別カウンタCS3の値を確認し、その値に基づいてショートリーチ、ミドルリーチ
、ロングリーチ等のリーチ種別と変動時間とを決定する。
大当たりでなくリーチでもない場合には(S501:No,S504:No)、RAM
503の完全外れ図柄バッファB10に格納されている左・中・右の各外れ図柄カウンタ
CL,CM,CRの各値を停止図柄コマンドに設定する(S507)。また、完全外れ表
示のための変動パターンを決定し、当該変動パターンを変動パターンコマンドに設定する
(S511)。このとき、RAM503のカウンタ用バッファB8に格納されている第3
変動種別カウンタCS3の値に基づいて変動パターンが決定されるのはS503の処理と
同様である。上記の通り大当たり時、リーチ発生時、リーチ非発生時のいずれかで図柄停
止コマンド及び変動パターンコマンドの設定が完了すると、本処理を終了する。
なお、完全外れの変動パターンは、変動開始時における作動保留球数Nの値に応じて定
めても良く、例えば、作動保留球数Nが3以上のときに開始される完全外れの変動時間は
、作動保留球数Nが3未満で開始される完全外れの変動時間より短くするようにしても良
い。速やかに待機中の変動表示を消化して無駄な始動入賞を抑制しつつ、且つ、変動表示
が途絶え難くなり、変動停止の状態が継続して遊技者の遊技意欲が減衰することを防止す
ることができる。
次に、図32のフローチャートを参照して、装飾図柄変動開始処理のうち特に連継演出
表示に関する変動開始処理を中心として説明する。大当たり乱数カウンタC1の値に基づ
いて大当たりか否かを判別する(S10)。大当たりの場合は、保留状態か否かを判別す
る(S11)。保留状態の判別は保留状態フラグの論理状態により行なわれる。この保留
状態フラグは、保留状態の発生により論理「1」とされ、保留状態の解消により論理「0
」とされようになっている。そして、保留状態の場合は、連継演出モードか否かを判別す
る(S12)。具体的には、連継演出カウンタバッファB5に格納されている値を確認し
、その値により連継演出モードか否かを判別する。次いで、連継演出モードの場合は、全
回転変動パターンか否かを判別する(S13)。具体的には、第1変動種別カウンタバッ
ファB6に格納されている値を確認し、その値により全回転変動パターンか否かを判別す
る。そして、その値と変動パターンとを関連付けされたテーブル(図示せず)から全回転
変動パターンを決定し、当該変動パターンを変動パターンコマンドに設定する。第1変動
種別カウンタバッファB6に格納されている値が全回転変動パターンでない場合、即ち、
拡大当たり変動パターンの場合は、カウンタバッファB6に格納されている値と変動パタ
ーンとを関連付けされたテーブル(図示せず)から拡大当たり変動パターンを決定し、当
該変動パターンを変動パターンコマンドに設定する。なお、連継演出用の変動パターンは
一連の連継表示に対応する変動パターンであり、連継表示中の複数変動パターンを含めた
ものである。そして、この変動パターンにより、連継表示の各複数の変動パターンに対応
する変動パターンコマンドを順次設定して、第1図柄表示装置42に送信するようになっ
ている。
なお、上記S11において保留状態でない場合、及び上記S12において連継演出でな
い場合は、通常表示モードの当たり変動パターンを変動パターンコマンドに設定する(S
17)。
次いで、上記S10の処理で大当たりではないと判別された場合には、保留球格納エリ
アの実行エリアに格納されているリーチ乱数カウンタC3の値に基づいてリーチ発生(外
れリーチの発生)か否かを判別する(S17)。外れリーチ発生の場合は、上記S11と
同様に保留状態か否かが判別され(S18)、保留状態の場合は上記S12と同様に連継
演出か否かが判別される(S19)。次いで、連継演出モードの場合は、拡大外れ変動パ
ターンか否かを判別する(S20)。具体的には、第2変動種別カウンタバッファB7に
格納されている値を確認し、その値により拡大外れ変動パターンか否かを判別する。そし
て、その値と変動パターンとを関連付けされたテーブル(図示せず)から拡大外れ変動パ
ターンを決定し、当該拡大外れ変動パターンコマンドに設定する(S21)。第2変動種
別カウンタバッファB7に格納されている値が拡大外れ変動パターンでない場合、即ち、
その他の外れ変動パターン(連継演出モードのうちの拡大外れ変動パターンでない外れパ
ターンを意味し、連継表示でない通常表示モードの外れ変動パターンでない。)の場合は
、カウンタバッファB7に格納されている値と変動パターンとを関連付けされたテーブル
(図示せず)からその他の外れ変動パターンを決定し、当該変動パターンを変動パターン
コマンドに設定する(S22)。
なお、上記S18において保留状態でない場合、及び上記S19において連継演出でな
い場合は、通常表示モードの外れ変動パターンを、変動パターンコマンドに設定する(S
23)。次いで、上記S17の処理で外れリーチの発生ではないと判別された場合には、
完全外れ変動パターンを、変動パターンコマンドに設定する(S24)。
次に、図25および図36から図69を参照して第1図柄表示装置42に表示される特
別図柄と装飾図柄とについて表示制御装置45の制御と共に説明する。
図25に示すように、第1図柄表示装置42には、その中央部に5つの図柄列(装飾図
柄の図柄列)Z1〜Z5が表示される装飾図柄表示領域42aと、その画面下側端部に「
○」「△」「☆」「×」「#」「*」の6種類の特別図柄が表示される特別図柄表示領域
42bとが設けられる。
特別図柄表示領域42bには、始動口33への入賞時に取得された大当たり乱数カウン
タC1の値が大当たりであるときに3つ揃った図柄が停止して遊技者に大当たりの発生が
示される。本実施形態のパチンコ機10においては、大当たりの発生を遊技者に示すため
の図柄として特別図柄と装飾図柄との2種類が設けられている。特別図柄は、図柄の種類
を少なくして主制御装置261と表示制御装置45とのコマンドの種類を低減するために
設けられたものである。一方、装飾図柄は、特別図柄と同期して変動が行われる図柄であ
り、特別図柄の変動開始と同時に(又はほぼ同時期に)変動を開始し、また特別図柄の変
動停止と同時に(またはほぼ同時期に)変動を停止するものである。この装飾図柄は、遊
技者に多種多様な表示演出を行って飽きにくい遊技性を備えるために設けられている。こ
れら2種類の図柄を併用することにより、パチンコ機10に多彩な演出を備えつつ、主制
御装置261から表示制御装置45へ送信するコマンドの種類を低減して主制御装置26
1の制御プログラムを簡略化したり、主制御装置261のROM502,RAM503等
の記憶装置の使用領域を少なくすることができる。
ここで、主制御装置261は、大当たりの発生を抽選したり、大入賞口の開閉の制御を
するもので、特に信頼性が要求される装置であるので、遊技機の開発時には厳重に検査を
行う必要がある。かかる主制御装置261の制御内容が多くなると、検査に要する項目が
増大して開発期間が長引いたり、その分開発コストが増大する。これに対し、表示制御装
置45の制御により第1図柄表示装置42に特別図柄以外に装飾図柄を表示することによ
り、主制御装置261の制御プログラムを簡略化し、記憶装置の使用領域を少なくするこ
とができる。よって、主制御装置261の検査項目を少なくして短期間で信頼性の高い主
制御装置261を開発することができると共に、多彩な表示演出を備えた遊技機を開発す
るに際して開発期間の短縮やコスト低減を実現することができる。
なお、必ずしも特別図柄と装飾図柄とを別々に設けて第1図柄表示装置42の表示制御
を行わせる必要はなく、特別図柄に代えて装飾図柄の表示内容を主制御装置261の制御
で直接決定するようにしても良い。また、表示制御装置45に対し、装飾図柄を特別図柄
と同時に変動を開始し、または変動を停止するように制御を行わせる必要はない。特別図
柄の変動表示と装飾図柄の変動表示とが同期して行われる、即ち、各図柄の変動表示が共
に始動入賞に基づいて同一回数分行われるものであれば、装飾図柄と特別図柄の変動開始
または変動停止の少なくとも一方のタイミングが一致しないように表示制御装置45に表
示制御を行わせても良い。例えば、特別図柄の変動に遅れて、装飾図柄の変動を開始させ
たり、特別図柄の変動より先に装飾図柄の変動を停止させるようにしても良い。
次に装飾図柄表示領域42aに表示される装飾図柄について説明する。第1図柄表示装
置42の装飾図柄表示領域42aには、図25(a)に示すように、左・左中・中・右中
・右の5つの図柄列Z1〜Z5が表示される。装飾図柄は、例えばキャラクタ付きの「1
」〜「9」の数字からなる主図柄と、主図柄より小さい紫色の貝(以下、紫貝と称する)
と黄色の貝(以下、黄貝と称する)とからなる副図柄とにより構成され、これら各主図柄
および副図柄によって装飾図柄の図柄列が形成される。装飾図柄で形成される各図柄列で
は、数字の昇順又は降順に主図柄が配列されると共に各主図柄の間にそれぞれ副図柄が配
列されている。
図36は、装飾図柄の図柄列Z1〜Z5を展開してその配列を示した図である。装飾図
柄の図柄列Z1〜Z5のうち左側2列および右側2列の図柄列Z1,Z2,Z4,Z5は
、縦に18個の図柄を連ねて形成される。また、中央の図柄列Z3は、縦に27個の図柄
を連ねて形成される。各図柄列は、通常時には、特別図柄の変動開始と同時に周期性をも
って上から下へとスクロールするように変動表示され、特別図柄が停止する前にすべての
図柄列の変動が停止する。
左側2列の図柄列Z1,Z2は、「1」から「9」の合計9個の主図柄を下方へ向けて
昇順に配置すると共に各主図柄の間に1つずつ計9個の副図柄600、601を配置して
(第1図柄表示装置42の表示画面上に仮想的に)形成される。左側2列の図柄列Z1,
Z2のうち左図柄列Z1においては、紫貝の副図柄600が主図柄「1」と「9」の間に
1つ配置される一方、主図柄「1」と「9」の間を除く各主図柄の間には黄貝の副図柄6
01が1つずつ配置される。また、左側2列の図柄列Z1,Z2のうち左中図柄列Z2に
おいては、紫貝の副図柄600が主図柄「6」と「7」の間に1つ配置される一方、主図
柄「6」と「7」の間を除く各主図柄の間には黄貝の副図柄601が1つずつ配置される
右側2列の図柄列Z4,Z5は、「1」から「9」の合計9個の主図柄を下方へ向けて
降順に配置すると共に各主図柄の間に1つずつ計9個の副図柄600、601を配置して
(第1図柄表示装置42の表示画面上に仮想的に)形成される。また、右側2列の図柄列
Z4,Z5のうち右図柄列Z5においては、紫貝の副図柄600が主図柄「3」と「4」
の間に1つ配置される一方、主図柄「3」と「4」の間を除く各主図柄の間には黄貝の副
図柄601が1つずつ配置される。右側2列の図柄列Z4,Z5のうち右中図柄列Z4に
おいては、紫貝の副図柄600が主図柄「1」と「9」の間に1つ配置される一方、主図
柄「1」と「9」の間を除く各主図柄の間には黄貝の副図柄601が1つずつ配置される
中央の中図柄列Z3は、「1」から「9」の合計6個の主図柄を下方へ向けて降順に配
置されると共に、各主図柄の間に紫貝の副図柄600と黄貝の副図柄601とが各1つず
つ配置される。
尚、これ以降の説明において図面を使用する場合に、副図柄には番号を付していないが
、紫貝の副図柄にはハッチングを施し、黄貝の副図柄にはハッチングを施さないことによ
り、両者を区別する。
次に、各図柄列Z1〜Z5は、通常時には全て上から下へスクロールして変動表示が行
われるものであり、左側2列の図柄列Z1,Z2においては上方へ向けて数字が降順に配
置されているため主図柄の数字が降順に現れ、右側3列の図柄列Z3〜Z5においては上
方へ向けて数字が昇順に配置されているため主図柄の数字が昇順に現れる。
また、装飾図柄は、図25(a)に示すように、第1図柄表示装置42の装飾図柄表示
領域42aにおいて、左・左中・中・右中・右の各図柄列毎に上・中・下の3段に表示さ
れる。始動口33への入賞すなわち始動入賞が発生すると、装飾図柄の変動表示が行われ
、主制御装置261により選定された変動パターンに応じた一定時間の経過後に変動表示
が停止し、第1図柄表示装置42には縦3段×横5列の15個の装飾図柄が表示結果とし
て表示される。大当たり抽選に当選した変動表示においては、15個の装飾図柄のうち水
平あるいは斜めの一直線上に同一の主図柄(キャラクタ付きの数字の図柄)が3つ以上揃
って停止するように表示制御装置45により制御が行われ、遊技者に大当たりの発生が示
される。一方、大当たり抽選に外れた変動表示においては、15個の装飾図柄のうち水平
あるいは斜めのいずれにも同一の主図柄が3つ以上揃って停止しないように表示制御装置
45により制御が行われ、遊技者に外れの発生が示される。
具体的には、図25(b)〜(d)に示すように、装飾図柄表示領域42aは、左側3
列の図柄列Z1〜Z3を表示する大当たり形成領域E1と、中央3列の図柄列Z2〜Z4
を表示する大当たり形成領域E2と、右側3列の図柄列Z3〜Z5を表示する大当たり形
成領域E3との3つの領域に大別され、その3つの領域の各々において表示される9個の
装飾図柄が上中下段の3つの水平ラインと斜め2ラインの計5ラインを有効ラインLA1
〜LC5としている。具体的には、左側3列の図柄列Z1〜Z3を表示する大当たり形成
領域E1で5つの有効ラインLA1〜LA5を設定し、中央3列の図柄列Z2〜Z4を表
示する大当たり形成領域E2にも5つの有効ラインLB1〜LB5を設定し、右側3列の
図柄列Z3〜Z5を表示する大当たり形成領域E3にも5つの有効ラインLC1〜LC5
を設定するのである。これにより、合計15カ所に有効ラインLA1〜LC5を設定した
ことになり、いずれか1つまたは2つ以上の有効ライン上に水平あるいは斜めに同一の主
図柄が3つ以上揃って停止する。上記構成であれば、図37に示すように、最大6ライン
でのリーチが出現することになる。
(装飾図柄の停止パターン)
次に、図38〜図62を参照して第1図柄表示装置42に表示される装飾図柄の変動停
止パターンについて説明する。装飾図柄の変動停止パターンとしては、通常の回転停止パ
ターンの他、スロー回転停止パターンと連継演出停止パターンとが設定されている。なお
、以下に示す装飾図柄表示領域42aの図においては、実線で示す図柄は停止状態で且つ
明るく表示されている状態を示し、破線で且つ略「川」の字状のものが描かれていない場
合には停止状態で且つ暗く表示されている状態を示し、破線で且つ略「川」の字状のもの
が描かれている場合にはゆっくり回転している状態を示し、略「川」の字状のもののみが
描かれている場合には高速で回転している状態を示している。
(1)スロー回転停止パターン
スロー回転停止パターンを、図38〜図42に基づいて、以下に説明する。
当該パターンでは、変動表示が開始された後、最初に一番左側の左図柄列Z1と一番右
側の右図柄列Z5とが停止し、その後、左から2番目の左中図柄列Z2、右から2番目の
右中図柄列Z4が順に停止し、最後の中央の中図柄列Z3の変動が停止する。この停止変
動の実行は、主制御装置261の変動種別カウンタCSにより行われる変動パターンの選
定により決定されるものである。
パチンコ機10には、合計15本の有効ラインLA1〜LC5(図25参照)が大当た
りの当選を示す図柄の組合せを表示する領域として設定されており、中図柄列Z3は全有
効ラインLA1〜LC5に対して一部を構成する図柄列である。この中図柄列Z3が最終
的に停止する通常停止変動によると、中図柄列Z3のみが変動している状態においては全
有効ラインLA1〜LC5のいずれかに対して同一の主図柄が並んで停止した場合にリー
チとなる。ここで、上記のことにつき、具体的に説明する。
先ず、図38に示すように、変動開始後に左右両側の図柄列Z1,Z5の変動が停止し
た後、図39に示すように、左中図柄列Z2が停止して、「8」の図柄が右斜め下方向(
尚、この方向は、最初に停止した図柄から見た場合の方向をいう。このことは、以下も同
様である)に2つ揃ってリーチとなる。この際、遊技者にリーチ状態であることを知らし
め、期待感を抱かせるために、リーチ状態にある図柄間を光線610で結んでおり、この
光線610は大当たり状態となるか否かを確定する部位(具体的には、中図柄列Z3まで
)延設されている。次に、左図柄列Z1、左中図柄列Z2、及び右図柄列Z5に比べて右
中図柄列Z4ゆっくりと回転させ、その後、図40に示すように、右中図柄列Z4が停止
して「4」の図柄が左斜め上方向に2つ揃ってリーチとなる。このように、左中図柄列Z
2が停止するタイミング及び右中図柄列Z4が停止するタイミングでリーチとなるか否か
がわかる。したがって、リーチとなるタイミングが2回に分けて遊技者に付与されるので
、変動表示中において注目するタイミングを増加して変動表示の面白みを増大させること
ができる。
ここで、左図柄列Z1、右図柄列Z5及び左中図柄列Z2が停止する場合には、素早く
回転を停止させるのに対して、右中図柄列Z4が停止する場合には、左中図柄列Z2が停
止した後はゆっくりと回転させている。このような構成とするのは、以下に示す理由によ
る。
即ち、左図柄列Z1,右図柄列Z5を素早く停止してもリーチとなったり、リーチとな
らなかったりするものではなく、遊技者にとってあまり注目されないタイミングだからで
あり、素早く停止させることにより変動表示をテンポ良く進行させることができるからで
ある。また、左中図柄列Z2を素早く停止しても、大当たり形成領域E1におけるリーチ
の有無がわかるだけで、遊技者にとってあまり注目度はさして高くないタイミングだから
であり、素早く停止させることにより変動表示をテンポ良く進行させるのが望ましいから
である。これらに対して、右中図柄列Z4は、大当たり形成領域E2及び大当たり形成領
域E3という2つの領域におけるリーチの有無がわかるのであり、遊技者にとって注目度
は極めて高くなるタイミングとなる。したがって、ゆっくりと回転した後に停止させるこ
とにより遊技者の期待感を高めるのが望ましいからである。ここで、左中図柄列Z2が停
止した後の右中図柄列Z4の回転速度は、遊技者の期待感を高めるべく、左中図柄列Z2
等の回転速度の1/2以下にすることが望ましく、特に、1/5以下にすることが望まし
い。また、その回転方法としては、単にゆっくりと回転させるようなパターンの他、コマ
送りパターンや、ゆっくりと且つ逆回転させるようなパターン、或いは、これらのパター
ンをそれぞれ一定の確率で出現させるパターンであっても良い。なお、これらのパターン
をそれぞれ一定の確率で出現させるパターンの場合には、コマ送りパターンや、ゆっくり
と逆回転させるようなパターンの方が単にゆっくりと回転するようなパターンより大当た
りとなる確率を上げておけば、遊技者は、リーチ後にコマ送りパターンやゆっくりと逆回
転させるようなパターンの変動表示が行われることにより大当たりとなることを強く期待
するので、興趣を更に向上させることができる。
但し、全ての変動において右中図柄列Z4がゆっくりと回転した後に停止するという動
作を行うと、変動表示におけるテンポが悪くなるとも考えられる。したがって、右中図柄
列Z4がゆっくりと回転した後に停止するという動作は、全ての変動表示において出現さ
せるのは好ましくない。したがって、右中図柄列Z4が停止する前にリーチであるか否か
が決定している大当たり形成領域E1において、有効ラインLA1〜LC5のうち少なく
とも1つの有効ラインでリーチとなっている場合にのみ右中図柄列Z4をゆっくりと回転
させている。
そして、このようにリーチがかかるように設定する場合には、右中図柄列Z4がゆっく
りと回転する時間内は、時間短縮状態や確率変動状態における当たり状態と同様の状態、
即ち、第1の始動口33が所定時間開放するという動作が間欠的に生じるという状態とす
るのが望ましい。なぜなら、一般に、リーチがかかっている場合或いはリーチが予想され
る場合には、遊技者は第1図柄表示装置42に表示される装飾図柄の変動を注視し遊技を
中断するため、パチンコホールにおける遊技台の稼働率が低下する。そこで、第1の始動
口33が所定時間開放するというという遊技者にとっての利益状態を創出することにより
、遊技者が遊技を中断するのを抑制して、遊技台の稼働率が低下するのを防止する。尚、
第1の始動口33が所定時間開放するという動作が間欠的に生じるという状態とすること
により、遊技者にとっては、第1の始動口33に遊技球が入球することによって、遊技球
の払い出しや、保留球数が増大するという利益を得る。尚、第1の始動口33が所定時間
開放するという動作が間欠的に生じるという状態に限らず、所定時間開放するという動作
が連続的に生じても良い。
そして、最後に、図41に示すように、中図柄列Z3が停止して初めて各リーチに対す
る表示結果が表示される。このように、変動表示中において注目するタイミングでゆっく
り回転するので、上記構成であれば変動表示の面白みを増大することができる。
尚、中図柄列Z3は、図36に示すように、各主図柄列の間に副図柄列が2つずつ狭ま
って配置されているので、中図柄列Z3として停止表示される主図柄は必ず1つとなる。
よって、大当たり図柄カウンタC2により抽選された大当たり図柄と同一の図柄で装飾図
柄の変動表示の表示結果を表示することができる。
また、右中図柄列Z4がゆっくりと回転することを遊技者によくわかるようにするため
に、図42に示すように、右中図柄列Z4に光っている星のようなもの620を出現させ
ても良い。
更に、右中図柄列Z4がゆっくりと回転するような状態は、上記の如く、少ない比率で
しか出現しないものであるため、このような変動表示が開始された場合には、大当たり形
成領域E2及び大当たり形成領域E3において、必ず何れかの有効ラインLB1〜LC5
で、少なくともリーチとなる確率を高くなるよう設定するのが望ましい。
加えて、通常停止変動として必ずしも左右両側の図柄列Z1,Z5を同時に停止させる
必要はなく、これら図柄列Z1,Z5が順に停止するようにしても良い。但し、左右両側
の図柄列Z1,Z5は、別々の有効ラインに対して配置されるものであるため、これら図
柄列Z1,Z5を同時に停止してもリーチとなったり、リーチとならなかったりするもの
ではなく、遊技者にとってあまり注目されないタイミングなので、同時に停止することに
より変動表示がテンポ良く進行させるのが望ましい。更に、左中図柄列Z2と、右中図柄
列Z4との停止順序としては、右中図柄列Z4が停止した後に、左中図柄列Z2が停止す
る構成であっても良い。この場合には、回転を遅くするのは左中図柄列Z2となる。
(2)連継演出停止パターン
次に、図43〜図62を参照して装飾図柄の変動パターンのうち複数回の変動表示に跨
って行われる連継演出の変動パターンについて説明する。図43〜図62は、本実施形態
のパチンコ機10における連継演出の変動パターンを例示した図である。ここで、連継演
出とは、興趣演出の一形態として設定されるものであり、遊技者の期待感を段階的に盛り
上げるために、大当たりが発生する前の変動表示にリーチ表示等の特定の表示を1回また
は複数回にわたって現出させた後に、大当たりの表示結果を現出させるものを意味してお
り、本実施例では副図柄停止後当たりの変動パターンについて説明する。
副図柄停止後当たりの変動パターンは、1の変動表示において装飾図柄を構成する2種
類の副図柄(紫貝と黄貝)のうち同一種類(紫貝)の副図柄が水平方向に沿って5つ並ん
で停止した後、その次に開始される変動表示によって大当たりが発生する変動パターンで
ある。大当たり抽選で大当たりに当選し、更に保留中で実行待機中の変動表示がある場合
に、この変動パターンが選定される。但し、保留中でない場合でもよい。主制御装置26
1は、変動パターンコマンドとして副図柄を同一種類で並べて表示した後に外れとするパ
ターンに対応したものを送信し、次の変動表示に対する変動パターンコマンドとして大当
たりに対応したものを送信する。
先ず、図43に示すように、第1図柄表示装置42における左図柄列Z1、左中図柄列
Z2、右中図柄列Z4、及び右図柄列Z5における中段に紫貝が並ぶと、副図柄が並んで
停止した領域に重なって左から右に黄色の光が線となって流れていく特別の表示が示され
、中図柄列Z3の中段に紫貝が停止することにより、通常とは異なる状態となることを遊
技者に示唆する。この通常とは異なる状態となることは必ずしも表示のみで遊技者に示す
必要はなく、その特別の表示に代えて、または、その特別の表示に加えて、特別の効果音
(例えば、「ラッコ参上」という効果音)をスピーカから出力するようにしても良い。
次に、図44に示すように中段に紫貝が並ぶと、図45に示すように、第1図柄表示装
置42における下方に、各図柄列Z1〜Z5に対応して5匹のラッコ621の頭部が現れ
た後、図46に示すように、ラッコ621が上昇する。次いで、紫貝が並ぶ中段にラッコ
621が到達すると、図47に示すように、ラッコ621が貝622を保持する姿勢をと
る。この後、図48〜図52に示すように、左図柄列Z1に存在するラッコ621から右
図柄列Z5に存在するラッコ621に至るまで順に、ラッコ621が貝622を開けてゆ
き、全ての貝622の中に白色の真珠623が存在する場合には、次のステップに進む。
一方、1つでも貝622の中に真珠623が存在しない場合には、その時点でラッコリー
チは終了する。
そして、全ての貝622の中に真珠623が存在する場合には、再変動がなされる。再
変動後には、以下に示すように、拡大変動パターンか全回転変動パターンが出現する。
・拡大変動パターン
拡大変動パターンの場合には、先ず、図53に示すように、3つの図柄列(図柄列Z1
〜Z3)が拡大表示された3行5列(この場合、主図柄間にあった副図柄である貝は出現
しない)の拡大変動パターンが出現する。この際の図柄列の停止順序は左図柄列Z1、左
中図柄列Z2、中図柄列Z3、右中図柄列Z4、右図柄列Z5の順で停止するので、いわ
ゆる順停止変動の変形パターンであり、また、3つの図柄列(図柄列Z1〜Z3)が拡大
表示されたことに伴って、残りの図柄列(図柄列Z4、Z5)は縮小表示されている。
そして、左図柄列Z1と左中図柄列Z2とが停止し、「8」及び「9」でリーチとなっ
た後、図54に示すように、中図柄列Z3において「9」が中段に停止すると、左図柄列
Z1、左中図柄列Z2、及び中図柄列Z3から成る大当たり形成領域E1において、大当
たりとはならないが、左中図柄列Z2、中図柄列Z3、及び右中図柄列Z4から成る大当
たり形成領域E2において、斜め上方向に再度リーチ状態(即ち、追いかけリーチの状態
となる)が出現する。そうすると、図55に示すように、上記リーチ状態との関係がなく
なった左図柄列Z1は縮小表示される一方、上記リーチ状態との関係が生じた右中図柄列
Z4は拡大表示され、そして右中図柄列Z4の変動が開始される。
その後、図56に示すように、中図柄列Z3において「9」が中段に停止すると、左中
図柄列Z2、中図柄列Z3、及び右中図柄列Z4から成る大当たり形成領域E2において
、大当たりとはならないが、中図柄列Z3、右中図柄列Z4、及び右図柄列Z5から成る
大当たり形成領域E3において、水平方向に再度リーチ状態(即ち、再度の追いかけリー
チの状態となる)が出現する。そうすると、図57に示すように、上記リーチ状態との関
係がなくなった左中図柄列Z2は縮小表示される一方、上記リーチ状態との関係が生じた
右図柄列Z5は拡大表示され、そして右図柄列Z5の変動が開始される。
しかる後、図58に示すように、右図柄列Z5において「9」が中段に停止すると、中
図柄列Z3、右中図柄列Z4、及び右図柄列Z5から成る大当たり形成領域E3において
大当たりとなる。そうすると、図59に示すように、拡大表示から通常表示に切り替わり
、大当たり遊技へと移行して、遊技者に所定の遊技価値として多数の賞球が払い出される

・全回転変動パターン
全回転変動パターンの場合には、先ず、図60に示すように、装飾図柄表示領域42a
の上方からラッコが再登場して左図柄列Z1と右図柄列Z5とにおける通常の図柄が消え
、そしてラッコが中段にまで達すると、図61に示すように、左中図柄列Z2、中図柄列
Z3、及び右中図柄列Z4とにおいて全回転状態(左中図柄列Z2、中図柄列Z3、及び
右中図柄列Z4における図柄が同じ数字で揃って回転する状態であって、大当たりが確定
した状態)となる。その後、数字が揃った状態でゆっくりと回転した後、数字が揃った状
態で図柄列がコマ送りで回転するコマ送りパターンに変化する。最後に、図62に示すよ
うに、数字が揃った状態で停止して、大当たり遊技へと移行する。
次に、図63から図69を参照して装飾図柄表示領域42aに停止表示される図柄制御
の内容について説明する。表示制御装置45のMPU520は、主制御装置261から送
信されるコマンドに基づいて装飾図柄の表示内容を選定する。図63は、表示制御装置4
5のRAM523に設けられ、装飾図柄表示領域42aに表示する装飾図柄の選定に使用
する各種カウンタの概要を模式的に示した図である。
第1〜第5装飾図柄カウンタS1〜S5は、各図柄列に表示する装飾図柄を決定するた
めのものである。図36に示す各図柄列Z1〜Z5の変動停止時には、コマ数分の装飾図
柄の何れかが表示されることから、左図柄列Z1,左中図柄列Z2,右中図柄列Z4,右
図柄列Z5については各12個(0〜11)、中図柄列については18個(0〜17)の
カウンタ値がそれぞれ用意されている。第1装飾図柄カウンタS1により左図柄列Z1の
停止図柄が決定され、第2装飾図柄カウンタS2により左中図柄列Z2の停止図柄が、大
3装飾図柄カウンタS3により中図柄列Z3の停止図柄が、第4装飾図柄カウンタS4に
より右中図柄列Z4の停止図柄が、第5装飾図柄カウンタS5により右図柄列Z5の停止
図柄がそれぞれ決定される。
なお、本実施の形態におけるパチンコ機10においては、各装飾図柄カウンタの値が「
0」である場合に図36における一番上段に位置する装飾図柄が装飾図柄表示領域42a
の各図柄列における上段に停止図柄として停止する。同様に、装飾図柄カウンタの値が「
1」であれば図36における2段目の図柄が、装飾図柄カウンタの値が「3」であれば4
段目の図柄が、・・・装飾図柄カウンタの値が「17」であれば18番目の図柄がそれぞ
れ装飾図柄表示領域42aの上段に停止するように、表示制御装置45により表示制御が
行われる。
また、本実施の形態では、MPU521に内蔵のRレジスタの数値を用いることにより
各カウンタS1〜S5の値をランダムに更新する。即ち、各装飾図柄カウンタS1〜S5
の更新時には、前回値にRレジスタの下位3ビット(即ち「0〜7」)の値が加算され、
その加算結果が最大値(第1,第2,第4,第5装飾図柄カウンタS1,S2,S4,S
5においては「11」、第3装飾図柄カウンタS3においては「17」)を超えた場合に
各最大値分減算されて今回値が決定される。各装飾図柄カウンタS1〜S5は更新時期が
重ならないようにして通常処理内で更新され、それら装飾図柄カウンタS1〜S5の組合
せが、RAM523の大当たり図柄バッファ、リーチ図柄バッファ及び完全外れ図柄バッ
ファの何れかに格納される。そして、特別図柄の変動開始を示す変動パターンコマンドを
受信した際に、コマンドの内容に応じて大当たり図柄バッファ、リーチ図柄バッファ及び
完全外れ図柄バッファの何れかのバッファ値が取得される。
次に、図64から図69を参照して、表示制御装置45のMPU521により実行され
る各処理について説明する。図64は、表示制御装置45のメイン処理を示したフローチ
ャートであり、このメイン処理は電源投入時のリセットにより起動される。
表示制御装置45のメイン処理は、まず電源投入に伴う初期設定処理を実行し(S81
1)、RAMやI/O等の各値の初期化、及び、タイマ割込等の各割込の設定を行う。そ
の後、S812からS815の処理を4ms毎に繰り返し実行して、第1図柄表示装置4
2の表示内容を制御する。
まず、各表示装置41,42の表示内容にあわせた音声を出力するために音声ランプ制
御装置262へ音声出力のコマンドを送信する外部出力処理を行い(S812),その後
に上述した装飾図柄カウンタS1〜S5の更新を行う(S813)。
ここで、図65を参照して、装飾図柄カウンタ更新処理(S813)を説明する。図6
5は、図64のメイン処理の中で実行される装飾図柄カウンタ更新処理(S813)を示
したフローチャートである。
まず、いずれの図柄列の装飾図柄カウンタの更新時期かを判別し、その更新時期に合わ
せて更新時期となった図柄列の装飾図柄カウンタを更新するカウンタ更新処理(S821
)を行う。具体的には、左図柄列Z1の装飾図柄カウンタS1の更新時期か否かを判別し
、更新時期であれば左図柄列Z1の装飾図柄カウンタS1を更新する。一方、左図柄列Z
1の更新時期でなければ、左中図柄列Z2の装飾図柄カウンタS2の更新時期か否かを判
別し、更新時期であれば左中図柄列Z2の装飾図柄カウンタS2を更新する。同様に中図
柄列Z3、右中図柄列Z4、右図柄列Z5の更新時期か否かを判別し、更新時期となった
いずれか1つの図柄列に対する装飾図柄カウンタの更新をしてカウンタ更新処理(S82
1)を終了する。
上記S821の処理における装飾図柄カウンタS1〜S5の更新では、前回のカウンタ
値にRレジスタの下位3ビットの値を加算すると共にその加算結果が最大値を超えた場合
に最大値分を減算し、その演算結果を装飾図柄カウンタS1〜S5の今回値とする。上記
S1〜S5の更新処理によれば、左図柄列Z1、左中図柄列Z2、中図柄列Z3、右中図
柄列Z4、及び、右図柄列Z5の各装飾図柄カウンタS1〜S5が1回の通常処理で1つ
ずつ順に更新されるので、各カウンタ値の更新時期が重なることはない。これにより通常
処理を5回実行する毎に装飾図柄カウンタS1〜S5の1セット分が更新される。
その後、上記更新した装飾図柄カウンタS1〜S5の組合せが大当たり図柄の組合せに
なっているか否かを判別し(S826)、大当たり図柄の組合せであれば(S826:Y
es)、そのときの装飾図柄カウンタS1〜S5の組合せをRAM523の大当たり図柄
バッファB20に格納し(S828)、本処理を終了する。大当たり図柄の組合せの判別
としては、5列の図柄列に設定される15個の有効ラインLA1〜LC3(図25参照)
のいずれかに大当たり図柄の組合せが形成されるカウンタ値の組合せをすべて予め表示制
御装置45のROM522に記憶させておき、その値と比較することにより行われる。
S826の処理において大当たり図柄の組合せでなければ(S826:No)、リーチ
図柄の組合せになっているか否かを判別し(S827)、リーチ図柄の組合せであれば(
S827:Yes)、その時の装飾図柄カウンタS1〜S5の組合せをRAM523のリ
ーチ図柄バッファB21に格納する(S829)。装飾図柄カウンタS1〜S5の組合せ
が大当たり図柄の組合せでなく(S826:No)、且つリーチ図柄の組合せでもなけれ
ば(S827:No)、装飾図柄カウンタS1〜S5の組合せは完全外れの組合せ(リー
チなし)になっているので、かかる場合には、その装飾図柄カウンタS1〜S5の組合せ
をRAM523の完全外れ図柄バッファB22に格納する(S830)。ここで、リーチ
図柄の組合せと完全外れの組合せとは、上記した通常停止変動、順停止変動および挟み停
止変動の各変動パターンによりそれぞれ異なる場合があるが、各変動パターン毎に対応す
る図柄バッファをそれぞれ設けて、各変動パターンに対応する図柄の組合せを記させれば
良い。
装飾図柄カウンタS1〜S5更新処理(S813)の終了後は、図64のメイン処理へ
戻って第1図柄表示装置42の装飾図柄表示領域42a(図25参照)における装飾図柄
の変動表示を進行させる装飾図柄表示処理を行う(S814)。その後には、特別図柄表
示領域42b(図25参照)における特別図柄の変動表示を進行させる特別図柄表示処理
を行う(S815)。S814及びS815による表示制御は、主制御装置261より受
信したコマンドに基づいて設定される図63に示す演出実行エリア701の内容に従って
行われる。
次に、前回のS812の処理の開始からの経過時間を確認する(S816)。S816
の処理においてその経過時間が4ms未満であれば(S816:No)、4msが経過す
るまでS816の処理を繰り返す。S816の処理において4msが経過したことが確認
されると(S816:Yes)、処理をS812へ移行し、その後の処理を実行する。
S816の処理にてS812の処理からの経過時間に基づいて処理を進行させることに
より、S812からS815の処理を4ms毎に行うことができ、4ms毎に装飾図柄カ
ウンタS1〜S5の更新を行うことができる。なお、必ずしも装飾図柄の組合せを決定す
るためのカウンタを図柄列の数分設ける必要はなく、中央の3つの図柄列分だけカウンタ
を設け、その他は予め定めた組合せに従って固定的に表示しても良い。また、リーチとな
る変動パターンを予め複数設定したテーブルを表示制御装置45に記憶し、そのテーブル
から変動パターンを導出するようにしても良い。
次に、図66を参照して、表示制御装置45により行われるコマンド受信処理について
説明する。図66は、表示制御装置45のコマンド受信処理のフローチャートである。こ
のコマンド受信処理は、表示制御装置45において主制御装置261からコマンドを受信
した場合に実行される割込処理であり、この処理によって主制御装置261から送信され
たコマンドに予め対応付けされた処理が表示制御装置45で行われる。
コマンド受信処理では、受信したコマンドを確認し(S841)、そのコマンドが変動
パターンコマンドであれば(S841:変動パターンコマンド)、変動パターンコマンド
を演出実行エリア521aに書き込む(S842)。この変動パターンコマンドに対応し
て特別図柄および装飾図柄における変動時間とリーチの有無などの変動パターンが予め定
められており、主制御装置261のMPU502で行われた各種の抽選に対応した変動表
示が第1図柄表示装置42にて行われる。
次に、受信した変動パターンコマンドの内容を確認し(S843)、大当たりの変動パ
ターンコマンドであれば(S843:大当たり)、大当たり図柄カウンタバッファB20
の値を今回の変動表示に対する装飾図柄の停止図柄として書き込んで格納する(S844
)。S843の処理において受信したコマンドがリーチのものであれば(S843:リー
チ)、変動パターンに対応したリーチ図柄バッファB21の値を演出実行エリア701に
書き込む(S845)。受信したコマンドが完全外れのものであれば(S843:完全外
れ)、変動パターンに対応した完全外れ図柄バッファB22の値を演出実行エリア701
に書き込む(S846)。S844からS846の処理によって変動パターンコマンドに
応じた図柄バッファの値を今回の変動表示に対する装飾図柄の停止図柄として設定するこ
とで、特別図柄と装飾図柄とが共に大当たり、リーチまたは完全外れのいずれかで停止さ
せることができる。
その後、音声ランプ制御装置262へ保留ランプ46を1つ消灯させるランプ消灯コマ
ンドを送信する(S847)。このS847の処理においては、RAM523に設けられ
たコマンド送信用のエリア(送信バッファ)にランプ消灯コマンドが一旦書き込まれ、前
述した外部出力処理(S812)によってランプ消灯コマンドは送信される。S847の
処理後、第1図柄表示装置42によって特別図柄と装飾図柄との変動表示を開始させ(S
848)、コマンド受信処理を終了する。
S841の処理において受信したコマンドが停止図柄コマンドであれば(S841:停
止図柄コマンド)、停止図柄のデータを演出実行エリア701に書き込み(S849)、
コマンド受信処理を終了する。受信したコマンドが確定コマンドであれば(S841:確
定コマンド)、変動表示を確定停止させ(S850)、コマンド受信処理を終了する。ま
た、S841の処理において受信したコマンドが、変動パターンコマンド、停止図柄コマ
ンド、及び、確定コマンドのいずれでもなければ(S841:他のコマンド)、受信した
コマンドに応じた各処理を実行して(S851)、コマンド受信処理を終了する。
このように、表示制御装置45においては、主制御装置261から変動パターンコマン
ドを受信した場合にS843からS846の処理によって変動パターンコマンドに応じた
図柄バッファの値を今回の変動表示に対する装飾図柄の停止図柄として設定する。これに
より、主制御装置261によって行われる抽選結果に対応して特別図柄と装飾図柄とを共
に大当たり、リーチまたは完全外れのいずれかで停止させることができ、主制御装置26
1の大当たりおよびリーチ抽選の結果に対応した装飾図柄の変動表示を実行することがで
きる。
次に、図67を参照して、表示制御装置45による、装飾図柄表示領域42aに表示す
る装飾図柄の変動パターンのうちスロー回転変動パターン画像選定処理について説明する
。なお、以下の説明では図66で示した詳細なコマンド受信処理の説明は省略している。
先ず、主制御装置261から送信された変動パターンコマンドの内容を判別する(S3
0)。変動パターンコマンドの内容が大当たりの場合は、左図柄列Z1と左中図柄列Z2
によりリーチ状態が発生するか否かを判断する(S31)。この判断処理は以下のように
して行われる。即ち、大当たり図柄バッファB20に保持されている左図柄列Z1の停止
図柄(上段停止図柄に相当)から、左図柄列Z1の中段及び下段の各図柄が決定される。
また、大当たり図柄バッファB20に格納されている左中図柄列Z2の停止図柄(上段停
止図柄に相当)から、左中図柄列Z2の中段及び下段の各図柄が決定される。そして、左
図柄列Z1の上段、中段、下段の各図柄データと、左中図柄列Z2の上段、中段、下段の
各図柄データとを比較することにより、左図柄列Z1と左中図柄列Z2によりリーチ状態
が発生しているか否かが判定できる。
次いで、左図柄列Z1と左中図柄列Z2によりリーチ状態が発生している場合は、右中
図柄列Z4をスロー回転表示し、かつ停止図柄を大当たり図柄する変動パターン(スロー
回転当たり変動パターン)と決定し、画像コントローラ526は、そのスロー回転当たり
変動パターン画像を形成する(S32)。このスロー回転当たり変動パターン画像では、
上記の図39に示すように、右中図柄列Z4がスロー回転して停止する。なお、左図柄列
Z1と左中図柄列Z2によりリーチ状態が発生しない場合は、右中図柄列Z4はスロー回
転でなく、通常速度で回転停止する大当たり変動パターンと決定し、画像コントローラ5
26は、変動パターンコマンドに応じた大当たり変動パターン画像を形成する(S33)
。この大当たり変動パターン画像では、右中図柄列Z4は通常速度で回転停止する。
また、上記S30において、変動パターンコマンドの内容が外れリーチの場合は、左図
柄列Z1と左中図柄列Z2によりリーチ状態が発生するか否かが判断される(S34)。
上記S31と同様の判断処理により、左図柄列Z1と左中図柄列Z2によりリーチ状態が
発生しているか否かが判定され、左図柄列Z1と左中図柄列Z2によりリーチ状態が発生
している場合は右中図柄列Z4をスロー回転表示し、かつ外れとなる変動パターン(スロ
ー回転外れ変動パターン)と決定し、画像コントローラ526はそのスロー回転外れ変動
パターン画像を形成する(S35)。このスロー回転外れ変動パターン画像では、右中図
柄列Z4がスロー回転して停止する。左図柄列Z1と左中図柄列Z2によりリーチ状態が
発生しない場合は、右中図柄列Z4はスロー回転でなく、通常速度で回転停止する変動パ
ターンと決定し、画像コントローラ526は、外れ変動パターンコマンドに応じた変動パ
ターン画像を形成する(S36)。この外れ変動パターン画像では、右中図柄列Z4は通
常速度で回転停止する。
また、上記S30において、変動パターンコマンドの内容が完全外れの場合は、左図柄
列Z1と左中図柄列Z2によりリーチ状態が発生していない場合に該当するので、画像コ
ントローラ526は、右中図柄列Z4はスロー回転でなく、通常速度で回転停止する変動
パターンと決定し、画像コントローラ526は完全外れ変動パターンコマンドに応じた変
動パターン画像を形成する(S37)。この完全外れ変動パターン画像では、右中図柄列
Z4は通常速度で回転停止する。
ここで、本実施の形態では、スロー回転表示の場合は、第1の始動口33を所定時間開
放するようになっている。そこで、図68を参照して、スロー回転表示時における第1の
始動口33の開閉制御処理について説明する。先ず、右中図柄列Z4をスロー回転表示す
るか否かが判断され(S40)、スロー回転表示の場合は第1の始動口33が2秒開放、
2秒閉じられる(S41)。具体的には、第1図柄表示装置41から主制御装置261に
スロー回転表示を示すコマンドがライン720(図24参照)を介して送信される。これ
により、主制御装置26は、第1の始動口33を上記開閉状態となるように、開閉制御す
る。スロー回転表示でない場合は、確変中か否かが判断され(S42)、確変中の場合は
、抽選が行われ(S43)、第1の始動口33が2秒開放、2秒閉じの状態が3回数繰り
返される(S44)。
上記S42の処理において確変中でない場合は時短か否かが判断され(S45)、時短
の場合はS43の処理に移る。S45の処理において時短でない場合は抽選が行われ(S
46)、第1の始動口33が0.5秒開放される(S44)。
次いで、図69を参照して、連継演出に関連する画像形成処理について説明する。
先ず、主制御装置261から送信された第1回目の変動パターンコマンドの内容を判別
する(S50)。変動パターンコマンドの内容が連継演出で大当たりの場合は、画像コン
トローラ526は第1変動停止パターン画像を形成する(S51)。この第1変動停止パ
ターンは、連継演出モードの最初の停止パターンであり、停止図柄は図47に示すように
、同一種類の副図柄(紫貝)が水平方向に沿って5つ並んで停止した図柄である。
次いで、主制御装置261から送信された第2回目の変動パターンコマンドの内容を判
別する(S52)。そして、第2回目の変動パターンコマンドの内容が全回転変動パター
ンの場合は、画像コントローラ526は全回転変動パターン画像を形成し(S53)、第
2回目の変動パターンコマンドの内容が拡大当たり変動パターンの場合は、画像コントロ
ーラ526は拡大当たり変動パターン画像を形成する(S54)。
上記S50の処理で大当たりでない場合、即ち外れリーチの場合は、上記S51と同様
に画像コントローラ526は第1変動停止パターン画像を形成する(S55)。次いで、
主制御装置261から送信された第2回目の変動パターンコマンドの内容を判別する(S
56)。そして、第2回目の変動パターンコマンドの内容が拡大外れ変動パターンの場合
は、画像コントローラ526は拡大外れ変動パターン画像を形成し(S57)、拡大外れ
変動パターンでない場合は、画像コントローラ526はその他の外れ変動パターン画像を
形成する(S58)。その他の外れ変動パターンとは、例えば、副図柄(紫貝)が水平方
向に沿って5つ並んで停止した後、ラッコが出現して、全ての紫貝を開き、少なくとも1
つの紫貝に真珠が入っていない場合の変動であり、この場合は外れに該当する。
次に、図70を参照して、払出制御装置311内のMPU511により実行される払出
制御について説明する。図70は、払出制御装置311のメイン処理を示したフローチャ
ートであり、このメイン処理は電源投入時のリセットにより起動される。
まず、電源投入に伴う初期設定処理を実行する(S901)。具体的には、スタックポ
インタに予め決められた所定値を設定すると共に、割込みモードを設定する。次に、主制
御装置261から送信される払出許可コマンドの受信を待機する(S902:No)。そ
して、払出許可コマンドを受信すると(S902:Yes)、RAMアクセスを許可する
と共に(S903)、外部割込ベクタの設定を行う(S904)。
その後は、MPU511内のRAM513に関してデータバックアップの処理を実行す
る。具体的には、電源装置313に設けたRAM消去スイッチ323が押されているか否
かを判別し(S905)、オンされていれば(S905:Yes)、バックアップデータ
をクリア(消去)するべく、処理をS915へ移行する。一方、RAM消去スイッチ32
3がオンされていなければ(S905:No)、更にRAM513のバックアップエリア
513aに電源遮断の発生情報が記憶されているか否かを判別し(S906)、記憶され
ていなければ(S906:No)、バックアップデータは記憶されていないので、この場
合にも、処理をS915へ移行する。バックアップエリア513aに電源遮断の発生情報
が記憶されていれば(S906:Yes)、RAM判定値を算出し(S907)、算出し
たRAM判定値が正常でなければ(S908:No)、即ち算出したRAM判定値が電源
遮断時に保存したRAM判定値と一致しなければ、バックアップされたデータは破壊され
ているので、かかる場合にも処理をS915へ移行する。なお、前述した通り、RAM判
定値は、例えばRAM513の作業領域アドレスにおけるチェックサム値である。このR
AM判定値に代えて、RAM513の所定のエリアに書き込まれたキーワードが正しく保
存されているか否かによりバックアップの有効性を判断するようにしても良い。
S915からのRAMの初期化処理では、RAM513の使用領域を0にクリアし(S
915)、RAM513の初期値を設定する(S916)。その後、MPU511周辺デ
バイスの初期設定を行うと共に(S917)、割込みを許可して(S918)、後述する
払出制御処理に移行する。
一方、RAM消去スイッチ323が押されておらず(S905:No)、電源遮断の発
生情報が設定されており(S906:Yes)、且つRAM判定値(チェックサム値等)
が正常であれば(S908:Yes)、復電時の処理(電源遮断復旧時の処理)を実行す
る。即ち、電源遮断時のスタックポインタを復帰させ(S909)、電源遮断の発生情報
をクリアする(S910)。また、MPU511周辺デバイスの初期設定を行い(S91
1)、使用レジスタをRAM513のバックアップエリア513aから復帰させる(S9
12)。更に、電源断前に割込みが許可状態にあったか否かを確認し(S913)、割込
みが許可状態であれば(S913:Yes)、割込みを許可し(S914)、一方、電源
断時に割込みが禁止状態にあれば(S913:No)、割込みを禁止したまま、処理を電
源遮断前の番地へ戻す。
次に、図71のフローチャートを参照して、払出制御処理を説明する。この払出制御処
理は、払出制御装置311のメイン処理に続いて実行される。払出制御処理では、まず、
主制御装置261からのコマンドを取得し、賞球の総賞球個数を記憶する(S1001)
。発射制御装置312に対して発射許可の設定を行い(S1002)、状態復帰スイッチ
321をチェックした結果、状態復帰動作開始と判定した場合に状態復帰動作を実行する
(S1003)。
その後、下皿15の状態の変化に応じて下皿満タン状態又は下皿満タン解除状態の設定
を実行する(S1004)。即ち、下皿満タンスイッチの検出信号により下皿15の満タ
ン状態を判別し、下皿満タンになった時に、下皿満タン状態の設定を実行し、下皿満タン
でなくなった時に、下皿満タン解除状態の設定を実行する。また、タンク球の状態の変化
に応じてタンク球無し状態又はタンク球無し解除状態の設定を実行する(S1005)。
即ち、タンク球無しスイッチの検出信号によりタンク球無し状態を判別し、タンク球無し
になった時に、タンク球無し状態の設定を実行し、タンク球無しでなくなった時に、タン
ク球無し解除状態の設定を実行する。その後、報知する状態の有無を判別し、報知する状
態が有る場合には払出制御装置311に設けた7セグメントLEDにより報知する(S1
006)。
次に、S1004〜S1009の各処理により、賞球払出の処理を実行する。即ち、賞
球の払出不可状態でなく且つS1001の処理で記憶した総賞球個数が0でなければ(S
1007:No,S1008:No)、図72に示す賞球制御処理を開始する(S100
9)。一方、賞球の払出不可状態(S1007:Yes)または総賞球個数が0であれば
(S1008:Yes)、貸球払出の処理に移行する。なお、賞球制御処理は後述する。
S1010〜S1012の貸球払出の処理では、貸球の払出不可状態でなく且つカード
ユニットからの貸球払出要求を受信していれば(S1010:No,S1011:Yes
)または貸球払出要求を受信していなければ(S1011:No)、後続の球抜き処理を
実行する(S1013)。なお、貸球制御処理は後述する。
球抜き処理(S1013)では、状態復帰スイッチ321をチェックして球抜き不可状
態でないこと、及び球抜き動作開始でないことを条件に、払出モータ358aを駆動させ
球抜き処理を実行する。続いて、球詰まり状態であることを条件にバイブレータ360の
制御(バイブモータ制御)を実行する(S1014)。その後は、本払出制御処理の先頭
に戻り、以降は前述した処理を繰り返す。
図72に示す賞球制御処理を説明する。賞球制御処理では、まず、払出モータ358a
を正方向回転駆動させて賞球の払出を実行する(S1101)。払出モータ358aの回
転が正常であるかを払出回転センサの検出結果により判別し(S1102)、正常でなけ
れば(S1102:No)、払出モータ358aを駆動させてリトライ処理を実行すると
共に払出モータ358aの停止処理を実行し(S1103)、その後、図71の払出制御
処理に戻る。
また、払出モータ358aの回転が正常であれば(S1102:Yes)、遊技球のカ
ウントが正常に行われているか否かを払出カウントスイッチの検出結果により判別する(
S1104)。遊技球のカウントが正常でなければ(S1104:No)、払出モータ3
58aを駆動させてリトライ処理を実行すると共に払出モータ358aの停止処理を実行
し(S1105)、その後、図71の払出制御処理に戻る。
更に、遊技球のカウントが正常であれば(S1104:Yes)、払出カウントスイッ
チによる遊技球のカウント数が総賞球個数に達して払出が完了したか否かを判別し(S1
106)、払出が完了していれば(S1106:Yes)、払出モータ358aの停止処
理を実行し(S1107)、その後、図71の払出制御処理に戻る。一方、払出が完了し
ていなければ(S1106:No)、そのまま、図71の払出制御処理に戻る。
図73に示す貸球制御処理を説明する。貸球制御処理では、まず、払出モータ358a
を逆方向回転駆動させて貸球の払出を実行する(S1201)。払出モータ358aの回
転が正常であるかを払出回転センサの検出結果により判別し(S1202)、正常でなけ
れば(S1202:No)、払出モータ358aを駆動させてリトライ処理を実行すると
共に払出モータ358aの停止処理を実行し(S1203)、その後、図71の払出制御
処理に戻る。
また、払出モータ358aの回転が正常であれば(S1202:Yes)、遊技球のカ
ウントが正常に行われているか否かを払出カウントスイッチの検出結果により判別する(
S1204)。遊技球のカウントが正常でなければ(S1204:No)、払出モータ3
58aを駆動させてリトライ処理を実行すると共に払出モータ358aの停止処理を実行
し(S1205)、その後、図71の払出制御処理に戻る。
更に、遊技球のカウントが正常であれば(S1204:Yes)、払出カウントスイッ
チによる遊技球のカウント数が所定の貸球個数(25個)に達して払出が完了したか否か
を判別し(S1206)、払出が完了していれば(S1206:Yes)、払出モータ3
58aの停止処理を実行し(S1207)、その後、図71の払出制御処理に戻る。一方
、払出が完了していなければ(S1206:No)、そのまま、図71の払出制御処理に
戻る。
以上、一実施の形態に基づき本発明を説明したが、本発明は上記形態に何ら限定される
ものではなく、本発明の趣旨を逸脱しない範囲内で種々の変形改良が可能であることは容
易に推察できるものである。
例えば、上記実施形態に示すように、動的表示の一種である変動表示は、第1図柄表示
装置42の表示画面上で識別情報としての図柄を縦方向にスクロールさせるものに限定さ
れず、横方向あるいはL字形等の所定経路に沿って図柄を移動表示して行うものであって
も良い。また、識別情報の動的表示としては、図柄の変動表示に限られたものではなく、
例えば、1又は複数のキャラクタを図柄と共に、若しくは、図柄とは別に多種多様に動作
表示または変化表示させて行われる演出表示なども含まれるのである。この場合、1又は
複数のキャラクタが、図柄と共に或いは図柄とは別に、識別情報として用いられる。
本発明を上記実施形態とは異なるタイプのパチンコ機等に実施しても良い。例えば、V
ゾーン等の特別領域を有する入賞装置を有するいわゆる第2種パチンコ遊技機などに実施
しても良い。更に、パチンコ機以外にも、アレパチ、麻雀など他の遊技機として実施する
ようにしても良い。
なお、スロットマシンは、例えばコインを投入して図柄有効ラインを決定させた状態で
操作レバーを操作することにより図柄が変動され、ストップボタンを操作することにより
図柄が停止されて確定される周知のものである。従って、スロットマシンの基本概念とし
ては、「複数の図柄からなる図柄列を変動表示した後に図柄を確定表示する可変表示手段
を備え、始動用操作手段(例えば操作レバー)の操作に起因して図柄の変動が開始され、
停止用操作手段(例えばストップボタン)の操作に起因して、或いは、所定時間経過する
ことにより、図柄の変動が停止され、その停止時の確定図柄が特定図柄であることを必要
条件として、遊技者に有利な特別遊技状態を発生させる特別遊技状態発生手段とを備えた
スロットマシン」となり、この場合、遊技媒体はコイン、メダル等が代表例として挙げら
れる。
また、パチンコ機とスロットマシンとが融合した遊技機の具体例としては、複数の図柄
からなる図柄列を変動表示した後に図柄を確定表示する可変表示手段を備えており、球打
出用のハンドルを備えていないものが挙げられる。この場合、所定の操作(ボタン操作)
に基づく所定量の球の投入の後、例えば操作レバーの操作に起因して図柄の変動が開始さ
れ、例えばストップボタンの操作に起因して、或いは、所定時間経過することにより、図
柄の変動が停止され、その停止時の確定図柄がいわゆる大当たり図柄であることを必要条
件として遊技者に有利な大当たり状態が発生させられ、遊技者には、下部の受皿に多量の
球が払い出されるものである。
〔第2の形態〕
上記実施の形態1では、連継演出処理に関して、主制御装置261側で連継演出用の変
動パターンコマンドを設定して第1図柄表示装置42に送信するという主として主制御装
置261側で連継演出処理を行うようにしたけれども、本実施の形態2では連継演出処理
を主として第1図柄表示装置42側で行うようしたことを特徴とするものである。
具体的には、図74に示すように、表示制御装置45のRAM523に、連継演出カウ
ンタCS、第1種別変動カウンタCS1、第2種別変動カウンタCS2、第3種別変動カ
ウンタCS3を設けるとともに、RAM523のバッファ領域に、カウンタCSのカウン
タ値を格納する連継演出バッファB23、カウンタCS1のカウンタ値を格納する第1種
別変動カウンタバッファB24、カウンタCS2のカウンタ値を格納する第2種別変動カ
ウンタバッファB25、カウンタCS3のカウンタ値を格納する第3種別変動カウンタバ
ッファB26を備える。
次いで、図75を参照して、装飾図柄画像処理、特に連継演出画像処理を中心として説
明する。
先ず、主制御装置261から送信された変動パターンコマンドの内容を判別する(S6
0)。このS60の処理に当たっては、連継演出フラグの値が確認される。連継演出フラ
グは、第1図柄表示装置42側にあってもよく、また主制御装置261側にあって連継演
出フラグの値に応じたコマンドを第1図柄表示装置42側に送信するようにしてもよい。
S60の処理において変動パターンコマンドの内容が大当たりの場合で、かつ、保留状
態のときは、連継演出モードか否かを判断する(S61)。具体的には、連継演出バッフ
ァB23の値を読み取り、その値により判断する。連継演出モードの場合は、全回転当た
り変動パターンか否かを判断する(S62)。具体的には、第1変動種別カウンタバッフ
ァB24に格納されている値を確認し、その値により全回転変動パターンか否かを判別す
る。そして、その値と変動パターンとを関連付けされたテーブル(図示せず)から全回転
変動パターンデータを選定し、実行エリア701に格納する。そして、画像コントローラ
526は、上記の変動パターンデータに基づいて、全回転変動パターン画像を形成する(
S63)。
第1変動種別カウンタバッファB24に格納されている値が全回転変動パターンでない
場合、即ち、拡大当たり変動パターンの場合は、カウンタバッファB24に格納されてい
る値と変動パターンとを関連付けされたテーブル(図示せず)から拡大当たり変動パター
ンデータを選定し、実行エリア701に格納する。そして、画像コントローラ526は、
上記の変動パターンデータに基づいて、拡大当たり変動パターン画像を形成する(S64
)。なお、上記S61の処理において連継演出でない場合は、カウンタバッファB26に
格納されている値と変動パターンとを関連付けされたテーブル(図示せず)から連継演出
でない通常表示モードの当たり変動パターンデータを選定し、実行エリア701に格納す
る。そして、画像コントローラ526は、上記の変動パターンデータに基づいて、通常表
示モードの当たり変動パターン画像を形成する(S64)。
次いで、上記S60の処理で外れリーチの場合で、かつ、保留状態の場合は、大当たり
ではないと判別された場合には、上記S61の処理と同様に連継演出か否かが判別される
(S66)。次いで、連継演出モードの場合は、拡大外れ変動パターンか否かを判別する
(S67)。具体的には、第2変動種別カウンタバッファB25に格納されている値を確
認し、その値により拡大外れパターンか否かを判別する。そして、その値と変動パターン
とを関連付けされたテーブル(図示せず)から拡大外れ変動パターンデータを選定し、実
行エリア701に格納する。そして、画像コントローラ526は、上記の変動パターンデ
ータに基づいて、拡大外れ変動パターン画像を形成する(S68)。
第2変動種別カウンタバッファB25に格納されている値が拡大外れ変動パターンでな
い場合、即ち、その他の外れ変動パターン(連継演出モードのうちの拡大外れ変動パター
ンでない外れパターンを意味し、連継表示でない通常表示モードの外れ変動パターンでな
い。)の場合は、カウンタバッファB24に格納されている値と変動パターンとを関連付
けされたテーブル(図示せず)からその他の外れ変動パターンデータを選定し、実行エリ
ア701に格納する。そして、画像コントローラ526は、上記の変動パターンデータに
基づいて、その他の外れ変動パターン画像を形成する(S69)。なお、上記S66にお
いて連継演出でない場合は、カウンタバッファB26に格納されている値と変動パターン
とを関連付けされたテーブル(図示せず)から連継演出でない通常表示モードの当たり変
動パターンデータを選定し、実行エリア701に格納する。そして、画像コントローラ5
26は、上記の変動パターンデータに基づいて、通常表示モードの外れ変動パターン画像
を形成する(S70)。
また、上記S60において完全外れの場合は、カウンタバッファB26に格納されてい
る値と変動パターンとを関連付けされたテーブル(図示せず)から完全外れ変動パターン
データを選定し、実行エリア701に格納する。そして、画像コントローラ526は、上
記の変動パターンデータに基づいて、完全外れ変動パターン画像を形成する(S70)。
〔第3の形態〕
上記実施の形態1では左図柄列Z1と左中図柄列Z2によりリーチ状態が発生すること
を条件として中図柄列Z4をスロー回転表示するようにしたけれども、本第3の形態では
、そのような条件に関係なく所定の確率で中図柄列Z4をスロー回転表示することを特徴
とするものである。
具体的には、図77に示すように、表示制御装置45のRAM523には、カウンタS
1〜S5に加えて、スロー回転用カウンタCTが備えられている。このスロー回転用カウ
ンタCTは右中図柄列Z4をスロー回転表示するスロー回転変動パターンの発生を決定す
るものであり、このスロー回転用カウンタCTのカウント値に応じてスロー回転表示が行
われる。なお、スロー回転用カウンタCTは乱数カウンタで構成するとともに、該乱数カ
ウンタ用の乱数初期値カウンタを設けるようにしても良い。
〔第4の形態〕
また、上記第1の形態及び第2の形態の構成に限定するものではなく、例えば、3ライ
ン以上リーチになる可能性がある場合に装飾図柄のスロー回転停止パターンを出現させて
も良い。
具体的には、図76に示すように、大当たり形成領域E1の何れかの有効ラインLA1
〜LA5で全くリーチ状態となっていない場合でも、右中図柄列Z4が停止することによ
り、3つ以上のリーチ(図74の場合は4つのリーチ)が出現する可能性がある場合に、
右中図柄列Z4をゆっくり回転させても良い。尚、このように3つ以上のリーチとしてい
るのは、通常の遊技機では2つのリーチが上限となっている場合が多いので、それらの遊
技機とは異なることを強調するためであり、また、2つ以上とすると出現機会が多くなり
すぎて、変動表示をテンポ良く進行させることができなくなる可能性があるからである。
但し、3つ以上のリーチとしても良いことは勿論である。
〔他の形態〕
(1)装飾図柄の連継演出停止パターン及びスロー回転停止パターンにおいては、上記パ
ターンに限定されるものではなく、例えば、挟み停止パターンで停止させても良い。挟み
停止パターンによる変動表示が行われる場合には、図78に示すように、変動表示が開始
された後、最初に一番左側の左図柄列Z1が停止し、次に一番右側の右図柄列Z5、中図
柄列Z3の順に変動が停止し、変動中の図柄列を挟んで両側の図柄列が停止した状態とな
る。その後、左中図柄列Z2、右中図柄列Z4の順に変動が停止する。この場合には、中
図柄列Z3の停止により、大当たり形成領域E1及び大当たり形成領域E3という2つの
領域におけるリーチの有無がわかるのであり、中図柄列Z3をゆっくりと回転した後に停
止させる。これにより遊技者の期待感を高めることができる。
ここで、本変動においては、中図柄列Z3の停止前にリーチになることがない、上記代
1の形態の如く、1ラインにおいてリーチとなった後にゆっくりと図柄列を回転させると
いう制御を行うことができない。一方、全ての変動において中図柄列Z3がゆっくりと回
転した後に停止するという動作を行うと、変動表示におけるテンポが悪くなるとも考えら
れる。そこで、右中図柄列Z4がゆっくりと回転した後に停止するという動作は、第3の
形態で示したように一定の比率(20回に1回程度の比率)で実行させるか、第4の形態
で示したように3つ以上のリーチが出現する可能性がある場合に実行させることが望まし
い。
なお、挟み停止変動において左右両側の図柄列Z1,Z5は、必ずしも別々に停止する
必要はなく、同時に停止しても良い。
(2)装飾図柄の停止パターンのうち、装飾図柄の連継演出停止パターンにおいては、上
記パターンに限定されるものではなく、例えば、順停止パターンで停止させても良い。順
停止パターンによる変動表示が行われる場合には、図79に示すように、変動表示が開始
された後、最初に一番左側の左図柄列Z1が停止し、その後、左中図柄列Z2、中図柄列
Z3、右中図柄列Z4の順に停止し、一番右側の右図柄列Z5が最後に停止するか、又は
、その逆に右側から順に停止させるように第1図柄表示装置42の表示を制御する。
(3)装飾図柄の停止パターンのうち、装飾図柄の連継演出停止パターンの貝を開放する
状態においては、例えば、図80に示すように、黒色の真珠630が揃った場合には全回
転となって、大当たりを確定させ、図52に示すように、白色の真珠623が揃った場合
には拡大変動パターンとなって、大当たりが確定しない状態とするような構成であっても
良い。
(4)装飾図柄の連継演出停止パターンにおけるキャラクタとしてはラッコに限定するも
のではなく、イルカ等であっても良い。尚、イルカを用いる場合には、イルカがボールを
ボールで遊ぶか否かにより次のパターン(全回転パターン等)に移行するか否かを決定さ
せるようなことが考えられる。
(5)装飾図柄の連継演出停止パターンにおいては、キャラクタ(ラッコ)が出現した段
階で、即座に(ラッコが貝を開く動作をすることなく)、次の全回転パターン等に移行し
ても良い。
(6)装飾図柄の演出としては、例えば、図81に示すように、変動開始時にイルカ63
1の図柄を出現させることによりリーチ予告を行っても良く、また、さらに、上記装飾図
柄の連継演出停止パターンで出現させたラッコによりリーチ予告を行っても良い。更に、
リーチ状態となった後に、図82に示すように泡632を出現させたり、図83に示すよ
うに魚群633を出現させたり、図84に示すようにさんご礁634を出現させたること
により、大当たりになる確率が高くなることを遊技者に知らせても良く、また、図85に
示すように主図柄の周囲を回転するクリオネ635を出現させることにより、大当たりに
なる確率が高くなることを遊技者に知らせても良い。
(7)スクロールの方向としては、上記形態の如く横方向に沿って5列の図柄列を縦方向
にスクロールするようにする必要は無く、縦5列に図柄列を並べて横方向にスクロールす
るように配置し、大当たり抽選に当選した場合、これら15個の装飾図柄のうち縦あるい
は斜めに同一の主図柄が3つ以上揃って停止するように表示制御装置45により制御を行
うようにしても良い。また。必ずしも図柄列は5列とする必要はなく、3列、4列、或い
は6列以上としても良い。
(8)各図柄列に対して各3つの図柄が有効ライン上に停止するように表示制御する必要
はなく、1の図柄列に対して有効ライン上に停止する図柄の数は、1又は2以上のいずれ
の数であっても良い。また、必ずしも変動表示の表示結果は、図柄を完全に停止して表示
する必要はなく、縦3段×横5列の計15箇所に装飾図柄が停留して表示されつつ、各領
域内で僅かに移動または揺動したり、色が次第に変化するように表示されるものであって
も良い。図柄が停留して表示されるとは、図柄が完全に停止して表示されることはもちろ
ん、各図柄が完全には停止していないものの表示領域に図柄の組合せを形成しつつ停留し
て表示されることを含む。
(9)有効ラインは、必ずしも縦方向と斜め方向とするなど一直線で形成する必要はなく
、3つの図柄列で形成される表示領域における5つの有効ラインに加えて、その3つのう
ち左右の図柄列における上段と中央の図柄列における中段とにより形成される逆への字の
有効ラインと、左右の図柄列における下段と、中図柄列の中段とにより形成されるへの字
の有効ラインとを上記実施形態における有効ラインに代えて、又は加えて設定しても良い

(8)本発明を上記実施形態とは異なるタイプのパチンコ機、スロットマシン、アレパチ
、麻雀など他の遊技機、パチンコ機とスロットマシンとが融合した遊技機に適用可能であ
る。
尚、パチンコ機とスロットマシンとが融合した遊技機の具体例としては、複数の図柄か
らなる図柄列を変動表示した後に図柄を確定表示する可変表示手段を備えており、球打出
用のハンドルを備えていないものが挙げられる。この場合、所定の操作(ボタン操作)に
基づく所定量の球の投入の後、例えば操作レバーの操作に起因して図柄の変動が開始され
、例えばストップボタンの操作に起因して、或いは、所定時間経過することにより、図柄
の変動が停止され、その停止時の確定図柄がいわゆる大当たり図柄であることを必要条件
として遊技者に有利な大当たり状態が発生させられ、遊技者には、下部の受皿に多量の球
が払い出されるものである。
以上のように、本発明は、パチンコ機等の遊技機に適している。
<その他>
近年、パチンコ機等の遊技機においては、液晶表示装置等の表示装置に様々な画像を表示して遊技の興趣向上を図っている。この表示装置における変動表示は。遊技領域に打ち込まれた遊技球が所定の始動口へ入賞する(或いは所定のゲートを通過する)ことを条件に開始される。表示装置は、例えば、縦方向又は横方向に分割された3つの表示領域を備えており、識別情報としての図柄で構成された複数の図柄列による変動表示が、各表示領域においてそれぞれ行われる。
図柄の表示領域が横方向に3分割された表示装置では、変動表示は、所定時間の経過後に、予め定められた順(例えば左、右、中の順)に停止され、全ての図柄の変動が停止し、その停止した図柄の組合せが予め定められた組合せの一つと一致する場合(大当たりとなる場合)には、遊技者に所定の遊技価値が付与される。よって、遊技者は図柄の変動表示が開始されると、停止される図柄の組合せが所定の遊技価値を生ずる組合せ(大当たり)となることを期待して、表示装置における図柄の表示領域にて行われる変動表示を注視しつつ遊技を行うのである。
また縦に3段、横に3列の合計9個の図柄を表示し、複数の有効ライン(例えば、上中下の3つの水平ラインと斜め2ラインとの計5ライン)のいずれかに同一図柄が3つ揃って停止した場合に大当たりとする変動表示を行う遊技機も数多く開発されている。複数の有効ラインがあると、1つの有効ラインの場合より大当たりとなる図柄の組合せパターンが多くなり、大当たりとなるまでの遊技過程が多彩なものとなる。ここで、複数の有効ラインを設けた遊技機では、図柄の全ての組合せパターンに対して大当たりとなる図柄の組合せ比率が多くなるので、変動表示を構成する図柄として大当たり図柄の組合せを構成する主図柄と、その組合せを構成しない副図柄(ブランク図柄ともいう)とを設けて、大当たり図柄の組合せ比率を少なくしている。これにより、最後の図柄停止によって大当たりとなるリーチの組合せ比率が少なくなり、またリーチとなった状態においては大当たり図柄の組合せ比率が多くなるので、遊技者にはリーチの実行により大当たりをより強く期待させることができる。また、一般に主図柄は副図柄よりも大きく表示され、この副図柄が主図柄の間に配列されることにより主図柄の周りにブランクを設けて主図柄の視認し易さが高められている(例えば、特許文献1:特開2002−248232号公報)。
しかしながら、上記の構造のパチンコ機では、リーチ後の回転している図柄列についてはゆっくりと回転させたり、スーパーリーチに変化する等の変動表示がなされるのであるが、リーチ前の回転している図柄列については余り変化がなく、興趣に欠けるという問題点があった。
本技術的思想は、上述した問題点を解決するためになされたものであり、表示を大きくして遊技者にわかりやすくすると共に、遊技の興趣を飛躍的に向上させることができる遊技機を提供することを目的としている。
<手段>
上記の課題を解決するために、本技術的思想に係る遊技機は、複数の識別情報を連ねた識別情報列を表示する識別情報表示領域を備えるとともに、この識別情報表示領域は、所定の順序で回転する複数の識別情報列が停止した状態において複数の識別情報列の一部で大当たり状態が出現可能な複数の大当たり形成領域で構成されてなる識別情報表示装置を備えた遊技機において、少なくとも2つの大当たり形成領域で一部が重複し、かつ、重複している大当たり形成領域の識別情報列のうち最後から2番目に停止するリーチ決定識別情報列が停止した場合に、各大当たり形成領域でリーチとなる可能性がある第1のリーチ発生条件を検出する検出手段と、上記検出手段の検出結果に応じて、識別情報表示装置に、上記リーチ決定識別情報列がそれ以前に停止する識別情報列に比してゆっくり回転した後に停止する停止表示パターンの表示を行わせる識別情報列表示制御手段と、を備えたことを特徴としている。
<効果>
本技術的思想によれば、遊技者にとって注目度が極めて高いリーチ決定識別情報列が停止する場合には、当該リーチ決定識別情報列をゆっくり回転させているので、遊技の興趣を飛躍的に向上させることができる。
10 パチンコ機(遊技機)
42 第1図柄表示装置
45 表示制御装置
CS 連継演出カウンタ
CS1 第1種別変動カウンタ
CS2 第2種別変動カウンタ
CS3 第3種別変動カウンタ
B5,B23 連継演出カウンタバッファ
B6,B24 第1種別変動カウンタバッファ
B7,B25 第2種別変動カウンタバッファ
B8,B26 第3種別変動カウンタバッファ
S1 第1装飾図柄カウンタ
S2 第2装飾図柄カウンタ
S3 第3装飾図柄カウンタ
S4 第4装飾図柄カウンタ
S5 第5装飾図柄カウンタ
B20 大当たり図柄バッファ
B21 リーチ図柄バッファ
B22 完全外れ図柄バッファ
CT スロー回転用カウンタ
B30 スロー回転用カウンタバッファ

Claims (1)

  1. 判別を実行可能な判別手段と、その判別手段による判別結果に応じた演出表示を行なう表示領域を有する表示手段と、その表示手段に前記演出表示を動的表示させることが可能な表示制御手段と、前記表示手段に特定の判別結果を示すための演出表示の態様が表示された場合に、第1状態から遊技者にとって有利な第2状態に切り替わる可変手段とを備える遊技機において、
    前記表示手段の前記表示領域における前記演出表示は、複数の識別情報列を動的表示させた後に、前記表示領域に表示された前記判別結果を示すための識別情報の組合せで表示する基本演出態様と、前回表示された識別情報の組合せに対応した特殊表示がされた後に、前記判別結果が報知される特殊演出態様とを含み、
    前記表示制御手段は、前記基本演出態様による演出表示において前記特定の判別結果に応じた識別情報の組合せと異なる所定の識別情報の組合せが表示された場合に、その次に動的表示される演出表示を前記特殊演出態様で実行させる実行手段を備え、
    前記実行手段は、
    前記特殊演出態様による演出表示において複数種類の前記特殊表示を実行可能であり、
    前記特殊表示のうち、第1特殊表示が実行された場合には、その第1特殊表示が表示された後に、前記識別情報を再度、動的表示させた後に、前記判別結果を示すための組合せで表示する第1特殊演出態様を実行し、前記第1特殊表示とは異なる第2特殊表示が実行された場合には、その第2特殊表示が実行された後に、前記識別情報を動的表示させない第2特殊演出態様を実行するものであり、
    前記特殊表示は、前記識別情報とは異なる演出図柄を前記識別情報列に対してそれぞれ表示させるものであり、それぞれの前記識別情報列に表示された演出図柄の組み合わせによって前記第1特殊表示と前記第2特殊表示とをそれぞれ報知することが可能にされていることを特徴とする遊技機。
JP2019143486A 2018-07-31 2019-08-05 遊技機 Expired - Fee Related JP6908074B2 (ja)

Priority Applications (1)

Application Number Priority Date Filing Date Title
JP2019143486A JP6908074B2 (ja) 2018-07-31 2019-08-05 遊技機

Applications Claiming Priority (2)

Application Number Priority Date Filing Date Title
JP2018143785A JP2018161586A (ja) 2018-07-31 2018-07-31 遊技機
JP2019143486A JP6908074B2 (ja) 2018-07-31 2019-08-05 遊技機

Related Parent Applications (1)

Application Number Title Priority Date Filing Date
JP2018143785A Division JP2018161586A (ja) 2018-07-31 2018-07-31 遊技機

Publications (2)

Publication Number Publication Date
JP2019181288A JP2019181288A (ja) 2019-10-24
JP6908074B2 true JP6908074B2 (ja) 2021-07-21

Family

ID=68338650

Family Applications (1)

Application Number Title Priority Date Filing Date
JP2019143486A Expired - Fee Related JP6908074B2 (ja) 2018-07-31 2019-08-05 遊技機

Country Status (1)

Country Link
JP (1) JP6908074B2 (ja)

Families Citing this family (1)

* Cited by examiner, † Cited by third party
Publication number Priority date Publication date Assignee Title
JP6908075B2 (ja) * 2018-07-31 2021-07-21 株式会社三洋物産 遊技機

Family Cites Families (16)

* Cited by examiner, † Cited by third party
Publication number Priority date Publication date Assignee Title
JP3151259B2 (ja) * 1991-11-30 2001-04-03 株式会社三共 遊技機
JP3620050B2 (ja) * 1993-02-06 2005-02-16 株式会社三洋物産 遊技機
JP2821084B2 (ja) * 1993-12-27 1998-11-05 奥村遊機株式會社 遊技機の可変表示装置
JPH11128467A (ja) * 1997-10-27 1999-05-18 Sankyo Kk 遊技機
JP4471413B2 (ja) * 1999-03-23 2010-06-02 株式会社三共 遊技機
JP2000300760A (ja) * 1999-04-26 2000-10-31 Sankyo Kk 弾球遊技機
JP2002000853A (ja) * 2000-06-20 2002-01-08 Taiyo Elec Co Ltd 遊技機
JP2002085697A (ja) * 2000-09-14 2002-03-26 Sankyo Kk 遊技機
JP2002210136A (ja) * 2001-01-23 2002-07-30 Ace Denken:Kk 遊技機
JP4716154B2 (ja) * 2001-02-26 2011-07-06 株式会社大一商会 遊技機
JP2002292025A (ja) * 2001-03-29 2002-10-08 Sophia Co Ltd 遊技機
JP4274304B2 (ja) * 2001-10-05 2009-06-03 株式会社大一商会 遊技機
JP4722383B2 (ja) * 2003-07-25 2011-07-13 株式会社ニューギン 遊技機
JP6380463B2 (ja) * 2016-06-02 2018-08-29 株式会社三洋物産 遊技機
JP6380462B2 (ja) * 2016-06-02 2018-08-29 株式会社三洋物産 遊技機
JP6908075B2 (ja) * 2018-07-31 2021-07-21 株式会社三洋物産 遊技機

Also Published As

Publication number Publication date
JP2019181288A (ja) 2019-10-24

Similar Documents

Publication Publication Date Title
JP2004357827A (ja) 遊技機
JP4962681B2 (ja) 遊技機
JP2018161587A (ja) 遊技機
JP6908074B2 (ja) 遊技機
JP6908075B2 (ja) 遊技機
JP6380462B2 (ja) 遊技機
JP6380463B2 (ja) 遊技機
JP6737310B2 (ja) 遊技機
JP4962680B2 (ja) 遊技機
JP6472158B2 (ja) 遊技機
JP2005046546A (ja) 遊技機
JP2011005310A (ja) 遊技機
JP2013223776A (ja) 遊技機
JP5854239B2 (ja) 遊技機
JP2004357852A (ja) 遊技機
JP5392504B2 (ja) 遊技機
JP5854240B2 (ja) 遊技機
JP4379036B2 (ja) 遊技機
JP6620840B2 (ja) 遊技機
JP2004329769A (ja) 遊技機
JP2018161586A (ja) 遊技機
JP6895744B2 (ja) 遊技機
JP2017192866A (ja) 遊技機
JP4844656B2 (ja) 遊技機
JP2014240001A (ja) 遊技機

Legal Events

Date Code Title Description
A621 Written request for application examination

Free format text: JAPANESE INTERMEDIATE CODE: A621

Effective date: 20190903

A131 Notification of reasons for refusal

Free format text: JAPANESE INTERMEDIATE CODE: A131

Effective date: 20201013

A521 Request for written amendment filed

Free format text: JAPANESE INTERMEDIATE CODE: A523

Effective date: 20201214

TRDD Decision of grant or rejection written
A01 Written decision to grant a patent or to grant a registration (utility model)

Free format text: JAPANESE INTERMEDIATE CODE: A01

Effective date: 20210601

A61 First payment of annual fees (during grant procedure)

Free format text: JAPANESE INTERMEDIATE CODE: A61

Effective date: 20210614

R150 Certificate of patent or registration of utility model

Ref document number: 6908074

Country of ref document: JP

Free format text: JAPANESE INTERMEDIATE CODE: R150

LAPS Cancellation because of no payment of annual fees