JP6906339B2 - Semiconductor inspection equipment and semiconductor inspection method - Google Patents

Semiconductor inspection equipment and semiconductor inspection method Download PDF

Info

Publication number
JP6906339B2
JP6906339B2 JP2017062041A JP2017062041A JP6906339B2 JP 6906339 B2 JP6906339 B2 JP 6906339B2 JP 2017062041 A JP2017062041 A JP 2017062041A JP 2017062041 A JP2017062041 A JP 2017062041A JP 6906339 B2 JP6906339 B2 JP 6906339B2
Authority
JP
Japan
Prior art keywords
semiconductor element
wavelength
region
oxide film
light
Prior art date
Legal status (The legal status is an assumption and is not a legal conclusion. Google has not performed a legal analysis and makes no representation as to the accuracy of the status listed.)
Active
Application number
JP2017062041A
Other languages
Japanese (ja)
Other versions
JP2018165616A (en
Inventor
幸博 徳
幸博 徳
勇史 海老池
勇史 海老池
Current Assignee (The listed assignees may be inaccurate. Google has not performed a legal analysis and makes no representation or warranty as to the accuracy of the list.)
Mitsubishi Electric Corp
Original Assignee
Mitsubishi Electric Corp
Priority date (The priority date is an assumption and is not a legal conclusion. Google has not performed a legal analysis and makes no representation as to the accuracy of the date listed.)
Filing date
Publication date
Application filed by Mitsubishi Electric Corp filed Critical Mitsubishi Electric Corp
Priority to JP2017062041A priority Critical patent/JP6906339B2/en
Publication of JP2018165616A publication Critical patent/JP2018165616A/en
Application granted granted Critical
Publication of JP6906339B2 publication Critical patent/JP6906339B2/en
Active legal-status Critical Current
Anticipated expiration legal-status Critical

Links

Images

Landscapes

  • Investigating Or Analysing Materials By Optical Means (AREA)

Description

本件発明は、通電後の半導体素子の良否を検査する半導体検査装置及び半導体検査方法に関するものである。 The present invention relates to a semiconductor inspection apparatus and a semiconductor inspection method for inspecting the quality of a semiconductor element after energization.

従来の変色検査方法では、白色光を対象物に照射し、撮像手段によって撮像して得られた画像データの特徴量を用いて対象物の変色度を判断し、対象物の良否を判定していた(例えば、特許文献1を参照)。 In the conventional discoloration inspection method, the object is irradiated with white light, and the degree of discoloration of the object is determined using the feature amount of the image data obtained by imaging by the imaging means to determine the quality of the object. (See, for example, Patent Document 1).

特開2003−216930号公報Japanese Unexamined Patent Publication No. 2003-216930

半導体素子の電気的特性を評価する通電試験では、局所的に電流密度が集中して過昇温となってしまうことや、冷却性が悪化して半導体素子の自己発熱を冷却しきれずに熱がこもることで、半導体素子に酸化膜による変色が発生する場合があった。また、半導体素子の製造工程において、半導体素子に凹みや窪みによる傷が発生する場合があった。半導体素子の良否を検査する工程では、アセンブリ時の接合性への影響を考慮し、傷を含む半導体素子は良品、酸化膜による変色を含む半導体素子は不良品として判定する必要があった。しかし、特許文献1に記載の変色検査方法では、撮像によって得られた画像データにおいて、酸化膜と傷の特徴量が類似していることから、酸化膜による変色を含む半導体素子と傷を含む半導体素子とを両方とも不良品として判定していた。そのため、酸化膜による変色を含む半導体素子のみを不良品として判定することができずに、半導体素子を検査する精度が下がるという問題があった。 In the energization test that evaluates the electrical characteristics of a semiconductor element, the current density is locally concentrated and the temperature rises excessively, and the cooling performance deteriorates and the self-heating of the semiconductor element cannot be completely cooled and heat is generated. As a result, the semiconductor element may be discolored by the oxide film. Further, in the manufacturing process of the semiconductor element, the semiconductor element may be dented or scratched due to the dent. In the process of inspecting the quality of a semiconductor element, it is necessary to determine that the semiconductor element containing scratches is a good product and the semiconductor element containing discoloration due to an oxide film is a defective product in consideration of the influence on the bondability at the time of assembly. However, in the discoloration inspection method described in Patent Document 1, since the feature amounts of the oxide film and the scratches are similar in the image data obtained by imaging, the semiconductor element including the discoloration due to the oxide film and the semiconductor containing the scratches. Both elements were judged to be defective. Therefore, there is a problem that only the semiconductor element including discoloration due to the oxide film cannot be determined as a defective product, and the accuracy of inspecting the semiconductor element is lowered.

本件発明は、上記の問題を解決するためになされたものであり、半導体素子の良否を検査する場合において、酸化膜による変色を含む半導体素子のみを不良品として判定することによって、半導体素子を検査する精度を上げることを目的とする。 The present invention has been made to solve the above problems, and when inspecting the quality of a semiconductor element, the semiconductor element is inspected by determining only the semiconductor element including discoloration due to an oxide film as a defective product. The purpose is to improve the accuracy of the device.

本件発明における半導体検査装置は、通電後の半導体素子の面に酸化膜による変色があるか否かを検査するものであって、面に対向する位置に設けられた撮像部と、面と撮像部との間に設けられ、第一の波長を含む光を面に照射する第一の照射部と、第一の波長を含む光とは異なる方向から、第一の波長とは異なる第二の波長を含む光を面に照射する第二の照射部と、第一の波長に基づく面からの反射光と、第二の波長に基づく面からの反射光と、を含む反射光による画像データを取得し、取得した画像データのコントラストの高さに基づいて、画像データのうちから酸化膜による変色を示す画像領域である酸化膜領域を識別する画像処理部とを備えるものである。 The semiconductor inspection apparatus in the present invention inspects whether or not the surface of a semiconductor element after energization is discolored by an oxide film, and is an imaging unit provided at a position facing the surface, and the surface and the imaging unit. A first irradiation unit that is provided between the two and irradiates the surface with light containing the first wavelength, and a second wavelength different from the first wavelength from a direction different from the light containing the first wavelength. Acquires image data by reflected light including a second irradiation unit that irradiates a surface with light containing the light, reflected light from a surface based on the first wavelength, and reflected light from a surface based on the second wavelength. and, based on the height of the contrast of the image data obtained is an oxide film region is an image region showing a color change due to oxidation film from among the image data that includes an image processing unit to identify.

本件発明における半導体検査装置は、半導体素子を検査する精度が上がる。 The semiconductor inspection apparatus according to the present invention improves the accuracy of inspecting semiconductor elements.

本件発明の実施の形態1における半導体検査装置の斜視図である。It is a perspective view of the semiconductor inspection apparatus in Embodiment 1 of this invention. 本件発明の実施の形態1における半導体検査装置の通電部の断面図である。It is sectional drawing of the energized part of the semiconductor inspection apparatus in Embodiment 1 of this invention. 本件発明の実施の形態1における通電試験の動作を示す図である。It is a figure which shows the operation of the energization test in Embodiment 1 of this invention. 本件発明の実施の形態1における通電試験の動作を示す図である。It is a figure which shows the operation of the energization test in Embodiment 1 of this invention. 本件発明の実施の形態1における半導体検査装置の検査部の断面図である。It is sectional drawing of the inspection part of the semiconductor inspection apparatus in Embodiment 1 of this invention. 本件発明の実施の形態1における画像データを示す図である。It is a figure which shows the image data in Embodiment 1 of this invention. 本件発明の実施の形態1における半導体素子の検査アルゴリズムを示す図である。It is a figure which shows the inspection algorithm of the semiconductor element in Embodiment 1 of this invention. 本件発明の実施の形態2における半導体検査装置の検査部の断面図である。It is sectional drawing of the inspection part of the semiconductor inspection apparatus in Embodiment 2 of this invention.

実施の形態1.
本件発明の実施の形態1における半導体検査装置について、図1〜図7を用いて説明する。図1は、本件実施の形態1における半導体検査装置の斜視図であり、図2は、半導体検査装置の通電部の断面図である。
Embodiment 1.
The semiconductor inspection apparatus according to the first embodiment of the present invention will be described with reference to FIGS. 1 to 7. FIG. 1 is a perspective view of the semiconductor inspection device according to the first embodiment, and FIG. 2 is a cross-sectional view of an energized portion of the semiconductor inspection device.

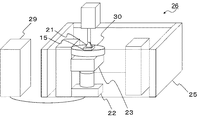
図1に示すように、半導体試験装置100は、土台1、Y方向の移送機構2、搬送台3、通電部4、冷却板5、プローブ6、加圧板7、サーボプレス8、支柱9、電源10、PLC11、画面12、プレスコントローラ13、電源コントローラ14、吸着パッド21、撮像部22、第一の照射部23、第二の照射部24、遮光壁25、検査部26、Z方向の移送機構27、及びX方向の移送機構28を備える。半導体試験装置100は、大電流を流す用途で用いられる半導体素子15の電気的特性を評価するために用いられる装置である。 As shown in FIG. 1, the semiconductor test apparatus 100 includes a base 1, a transfer mechanism 2 in the Y direction, a transfer table 3, an energizing unit 4, a cooling plate 5, a probe 6, a pressure plate 7, a servo press 8, a support column 9, and a power supply. 10, PLC11, screen 12, press controller 13, power supply controller 14, suction pad 21, imaging unit 22, first irradiation unit 23, second irradiation unit 24, light-shielding wall 25, inspection unit 26, transfer mechanism in the Z direction. 27 and a transfer mechanism 28 in the X direction are provided. The semiconductor test apparatus 100 is an apparatus used for evaluating the electrical characteristics of the semiconductor element 15 used in the application of passing a large current.

土台1には、半導体素子の通電試験を行うための搬送台3、プローブ6、加圧板7、サーボプレス8、及び支柱9が備えられている。搬送台3上に、通電加圧の対象となる通電部4が搭載されている。また、通電試験後の搬送台3を検査部26に移送するためのX方向の移送機構28、Y方向の移送機構2、及びZ方向の移送機構27が備えられている。さらに、半導体素子15を吸着して検査部26に移送するための吸着パッド21が備えられている。X方向の移送機構28、Y方向の移送機構2、及びZ方向の移送機構27は、レールとブロックにより構成され、半導体素子を載せたブロックがレール上をスライドする機構として、例えばアクチュエータを用いる。半導体素子15は、上述の移送機構により通電部4から検査部26に向かって移送される。さらに、土台1には、半導体素子の検査部26が備えられている。なお、本件実施の形態では、土台1、搬送台3、及び支柱9は、アルミニウム部品を含む材質による構成としたが、耐久性と耐摩耗性を有する材質であればよく、例えば、鉄、ステンレス(SUS)、及びプラスチック等が用いられる。 The base 1 is provided with a transport base 3, a probe 6, a pressure plate 7, a servo press 8, and a support column 9 for performing an energization test of a semiconductor element. An energizing unit 4 to be energized and pressurized is mounted on the transport table 3. Further, a transfer mechanism 28 in the X direction, a transfer mechanism 2 in the Y direction, and a transfer mechanism 27 in the Z direction for transferring the transfer table 3 after the energization test to the inspection unit 26 are provided. Further, a suction pad 21 for sucking the semiconductor element 15 and transferring it to the inspection unit 26 is provided. The transfer mechanism 28 in the X direction, the transfer mechanism 2 in the Y direction, and the transfer mechanism 27 in the Z direction are composed of a rail and a block, and an actuator is used as a mechanism in which the block on which the semiconductor element is mounted slides on the rail. The semiconductor element 15 is transferred from the energizing unit 4 toward the inspection unit 26 by the above-mentioned transfer mechanism. Further, the base 1 is provided with an inspection unit 26 for a semiconductor element. In the present embodiment, the base 1, the transport base 3, and the support 9 are made of a material including aluminum parts, but any material having durability and wear resistance may be used, for example, iron or stainless steel. (SUS), plastic and the like are used.

図2に示すように、通電部4は、半導体素子15の位置決めをするガイド19、ガイド19に設けられた穴19a、ガイド19の裏面に配置された冷却板5、冷却板5に設けられた凸部5a、半導体素子15と冷却板5との間に配置された第三の間材16、ガイド19に跨って半導体素子15を覆い配置された第二の間材17、及び第二の間材17の上に重ねて半導体素子15を覆い配置された第一の間材18を備える。 As shown in FIG. 2, the energizing unit 4 is provided in a guide 19 for positioning the semiconductor element 15, a hole 19a provided in the guide 19, a cooling plate 5 arranged on the back surface of the guide 19, and a cooling plate 5. The convex portion 5a, the third interleaving material 16 arranged between the semiconductor element 15 and the cooling plate 5, the second interleaving material 17 arranged so as to cover the semiconductor element 15 across the guide 19, and the second interleaving material. A first interstitial material 18 is provided which is placed on the material 17 so as to cover the semiconductor element 15.

半導体素子15は通電の対象物であり、少なくともその第一の主面である表面35と、表面35に対向する第二の主面である裏面36とに電極を有している。表面35には、微細な回路パターンが形成されている。半導体素子15として、例えば、炭化珪素を用いたショットキーバリアダイオードやMOSFET(Metal−Oxide−Semiconductor Field−Effect−Transistor)等が考えられる。 The semiconductor element 15 is an object to be energized, and has electrodes on at least the front surface 35, which is the first main surface thereof, and the back surface 36, which is the second main surface facing the surface 35. A fine circuit pattern is formed on the surface 35. As the semiconductor element 15, for example, a Schottky barrier diode using silicon carbide, a MOSFET (Metal-Oxide-Semiconductor Field-Effective-Transistor), and the like can be considered.

第一の間材18は、半導体素子15と同等以上の大きさであればよいが、耐久性の観点から厚みがある程好ましい。また第一の間材18は、プローブ6と接触する部分を有するため、プローブ6と半導体素子15との接触面積を増やすために、研磨されることにより面粗さを小さくすることが好ましい。さらに第一の間材18は、下降したプローブ6の底面と半導体素子15との平行度のずれを吸収し、両者間の平行度を良好にする役割を有している。特に、複数本から成るプローブ6を用いた場合には、プローブ6の長さにバラつきが生じるため、加圧力を均一にするためには第一の間材18に一定の厚みが必要となる。第一の間材18が薄いと塑性変形しやすいことから、加圧力の均一化に劣りが生じて、素子の破損や局所的な電流集中が起きやすくなり、半導体素子15に酸化膜による変色が発生しやすくなる。 The first interstitial material 18 may have a size equal to or larger than that of the semiconductor element 15, but is preferably thicker from the viewpoint of durability. Further, since the first interstitial material 18 has a portion in contact with the probe 6, it is preferable to reduce the surface roughness by polishing in order to increase the contact area between the probe 6 and the semiconductor element 15. Further, the first interstitial material 18 has a role of absorbing the deviation of the parallelism between the bottom surface of the lowered probe 6 and the semiconductor element 15 and improving the parallelism between the two. In particular, when a probe 6 composed of a plurality of probes 6 is used, the length of the probe 6 varies, so that the first interstitial material 18 needs to have a certain thickness in order to make the pressing force uniform. If the first interstitial material 18 is thin, it is easily plastically deformed, so that the uniformization of the pressing force is inferior, the element is easily damaged and local current concentration is likely to occur, and the semiconductor element 15 is discolored by the oxide film. It is more likely to occur.

第二の間材17は、半導体素子15を覆うことのできる大きさであればよいが、厚さに関しては、半導体素子15の表面35に形成されている電極パターン等の数μmある段差を吸収する程度の厚みが必要である。第二の間材17の厚みが十分ではないと、通電試験中にアルミニウム製の間材又は冷却板が破断し、通電試験が失敗してしまう場合がある。また、第二の間材17の厚みが大きすぎる場合、通電加圧時の発熱により圧延方向に熱膨張が大きくなり、半導体素子15の熱膨張との差により半導体素子15に傷が発生しやすくなる。また、剛性が高くなることで加圧時に半導体素子15の面の形状にあわせた変形により空隙ができてしまい、放熱性が悪化することで半導体素子15の裏面36に酸化膜による変色が発生しやすくなる。 The second interleaving material 17 may have a size that can cover the semiconductor element 15, but with respect to the thickness, it absorbs a step of several μm such as an electrode pattern formed on the surface 35 of the semiconductor element 15. It is necessary to have a thickness that allows it to be used. If the thickness of the second interleaving material 17 is not sufficient, the aluminum interleaving material or the cooling plate may break during the energization test, and the energization test may fail. Further, if the thickness of the second interstitial material 17 is too large, thermal expansion increases in the rolling direction due to heat generated during energization and pressurization, and the semiconductor element 15 is likely to be scratched due to the difference from the thermal expansion of the semiconductor element 15. Become. Further, due to the increased rigidity, voids are formed due to deformation according to the shape of the surface of the semiconductor element 15 during pressurization, and the heat dissipation is deteriorated, so that the back surface 36 of the semiconductor element 15 is discolored by the oxide film. It will be easier.

第二の間材17は、第三の間材16と接続された極とは反対側の極に第一の間材18を介して接続されており、電源10から半導体素子15への通電のため、半導体素子15の表面35の電極に接触する。 The second interleaving material 17 is connected to the electrode on the side opposite to the electrode connected to the third interleaving material 16 via the first interleaving material 18, and the power source 10 is energized to the semiconductor element 15. Therefore, it comes into contact with the electrode on the surface 35 of the semiconductor element 15.

第三の間材16は、半導体素子15の裏面36の電極に接触しており、この半導体素子15の裏面36の電極と電源10とが接続されている。つまり、第三の間材16は、冷却板5を介して、電源10の正極または負極と接続されている。 The third interleaving material 16 is in contact with the electrode on the back surface 36 of the semiconductor element 15, and the electrode on the back surface 36 of the semiconductor element 15 and the power supply 10 are connected to each other. That is, the third intermediate material 16 is connected to the positive electrode or the negative electrode of the power supply 10 via the cooling plate 5.

第一の間材18、第二の間材17、及び第三の間材16の材質としては、電気伝導度が高く、耐熱性を有し、耐摩耗性を有する物質であればよく、例えば、銅やアルミニウム等が用いられる。 The material of the first interstitial material 18, the second interstitial material 17, and the third interstitial material 16 may be any material having high electrical conductivity, heat resistance, and abrasion resistance, for example. , Copper, aluminum, etc. are used.

冷却板5は、半導体素子15の裏面36側に設けられ、半導体試験装置100が通電試験を行なう際に発熱した半導体素子15を冷却させるための部材である。冷却板5は、矩形の平面形状を有する板状の部材であり、第三の間材16を介して半導体素子15を載置している。ガイド19により位置決めされた半導体素子15に生じる通電時の発熱は、第三の間材16を介して冷却板5の中央部に設けられた凸部5aを伝わって冷却される。冷却板5は、導電性と熱伝導性が高く、耐熱性と耐摩耗性を有する物質であればよく、例えば、銅、アルミニウム、及びカーボン等が用いられる。 The cooling plate 5 is provided on the back surface 36 side of the semiconductor element 15, and is a member for cooling the semiconductor element 15 that has generated heat when the semiconductor test apparatus 100 performs an energization test. The cooling plate 5 is a plate-shaped member having a rectangular planar shape, and a semiconductor element 15 is placed via a third interstitial material 16. The heat generated at the time of energization of the semiconductor element 15 positioned by the guide 19 is cooled by being transmitted through the convex portion 5a provided in the central portion of the cooling plate 5 via the third intermediate member 16. The cooling plate 5 may be a substance having high conductivity and thermal conductivity, heat resistance and abrasion resistance, and for example, copper, aluminum, carbon and the like are used.

プローブ6は、第一の間材18と接触することにより、半導体素子15に大電流を流し、半導体素子15からの応答信号を取得するために、第一の間材18の上に配置されている。プローブ6は、例えば、Z方向に沿って延びるように加圧板7に固定され、円筒形状を有している。プローブ6は、一般的にタングステン等の炭素工具鋼により形成されているが、プローブ6を構成する材質はこれに限られない。プローブ6は、導電性が高く、耐熱性と耐摩耗性を有し、且つ加圧するために一定の耐荷重を有する物質であればよく、例えば、ジェラコン、真鍮、ステンレス等を用いてもよい。プローブ6は、一本あたりの荷重と電流密度に耐えることができれば、一本で通電加圧してもよいし、又は複数本で通電加圧してもよい。 The probe 6 is arranged on the first interstitial material 18 in order to pass a large current through the semiconductor element 15 by coming into contact with the first interstitial material 18 and acquire a response signal from the semiconductor element 15. There is. The probe 6 is fixed to the pressure plate 7 so as to extend along the Z direction, and has a cylindrical shape, for example. The probe 6 is generally made of carbon tool steel such as tungsten, but the material constituting the probe 6 is not limited to this. The probe 6 may be a substance having high conductivity, heat resistance and abrasion resistance, and a constant load capacity for pressurization, and for example, gelacon, brass, stainless steel, or the like may be used. As long as the probe 6 can withstand the load and current density per probe, one probe may be energized and pressurized, or a plurality of probes 6 may be energized and pressurized.

また、加圧板7を構成する材質についても同様で、炭素工具鋼により形成されていることが好ましいが、加圧板7を構成する材質はこれに限られない。加圧板7は、プローブ6への電気的な接続と、発熱したプローブ6を冷却するために、導電性が高く、耐熱性と耐摩耗性を有する物質であればよく、例えば、銅やアルミニウム等を用いてもよい。 The same applies to the material constituting the pressure plate 7, and it is preferable that the material is made of carbon tool steel, but the material constituting the pressure plate 7 is not limited to this. The pressure plate 7 may be a substance having high conductivity, heat resistance and abrasion resistance in order to electrically connect to the probe 6 and cool the generated probe 6, for example, copper or aluminum. May be used.

ガイド19には、半導体素子15と第三の間材16の位置決めをするための穴19aが設けられている。ガイド19を構成する材質としては、半導体素子15への通電が分流しないようにするため、絶縁性、耐熱性、及び耐摩耗性を有する物質であればよく、例えば、銅やアルミニウム等が用いられる。なお、ガイド19は、セラミック系の高分子材料に限るわけではなく、金属材料を絶縁コーティングしたものを用いてもよい。例えば、金属材料に絶縁テープを巻いたものや、セラミックコーティング、及びガラスコーティング等をしたものが挙げられる。これにより、安価に、電流の分流等、通電試験のプロセスに悪影響を及ぼす原因を低減することができる。 The guide 19 is provided with a hole 19a for positioning the semiconductor element 15 and the third intermediate member 16. The material constituting the guide 19 may be a substance having insulating properties, heat resistance, and abrasion resistance in order to prevent the current supply to the semiconductor element 15 from splitting, and for example, copper, aluminum, or the like is used. .. The guide 19 is not limited to the ceramic polymer material, and a metal material coated with insulation may be used. For example, a metal material wrapped with insulating tape, a ceramic coating, a glass coating, or the like can be mentioned. As a result, it is possible to inexpensively reduce causes that adversely affect the energization test process, such as current shunting.

次に、このように構成された半導体検査装置における半導体素子の通電試験について、図1、図3、及び図4を用いて説明する。 Next, the energization test of the semiconductor element in the semiconductor inspection apparatus configured as described above will be described with reference to FIGS. 1, 3, and 4.

図3は、通電試験の動作を示す図である。まず図3(a)に示すように、冷却板5上において、第三の間材16がガイド19により位置決めをされて配置される。次に図3(b)に示すように、第三の間材16の上に半導体素子15が配置される。続いて図3(c)
に示すように、ガイド19に跨って半導体素子15を覆うように第二の間材17が配置される。さらに、図3(d)に示すように、第二の間材17の上に重ねて半導体素子15を覆うように第一の間材18が配置される。
FIG. 3 is a diagram showing the operation of the energization test. First, as shown in FIG. 3A, the third intermediate member 16 is positioned and arranged on the cooling plate 5 by the guide 19. Next, as shown in FIG. 3B, the semiconductor element 15 is arranged on the third interstitial material 16. Subsequently, FIG. 3 (c)
As shown in the above, the second interstitial material 17 is arranged so as to cover the semiconductor element 15 across the guide 19. Further, as shown in FIG. 3D, the first interleaving member 18 is arranged so as to overlap the second interleaving member 17 and cover the semiconductor element 15.

図1に示すように、半導体試験装置100は、搬送台3上に通電部4を搭載した状態で、アクチュエータ等で構成されたY方向の移送機構2により、サーボプレス8の下、つまり加圧板7とプローブ6の下まで、搬送台3の移送を可能とする。搬送台3を移送させる場合は、操作をするための画面12として、例えばGOT(Graphic Operation Terminal)(登録商標)を用いる。画面12における搬送台3を移送させるための指示情報は、PLC(Programmable Logic Controller)11においてY方向の移送機構2の制御信号に変換され、Y方向の移送機構2により搬送台3が移送される。 As shown in FIG. 1, the semiconductor test apparatus 100 is under the servo press 8 by the transfer mechanism 2 in the Y direction composed of an actuator or the like, that is, a pressure plate, with the energizing unit 4 mounted on the transfer table 3. The transfer table 3 can be transferred to the bottom of the probe 6 and the probe 6. When transferring the transport table 3, for example, GOT (Graphic Operation Thermal) (registered trademark) is used as the screen 12 for operation. The instruction information for transferring the transfer table 3 on the screen 12 is converted into a control signal of the transfer mechanism 2 in the Y direction in the PLC (Programmable Logical Controller) 11, and the transfer table 3 is transferred by the transfer mechanism 2 in the Y direction. ..

図4は、通電試験の動作を示す図である。図4(a)に示すように、最初、プローブ6は通電部4に配置された第一の間材18に接触していない。次に、図4(b)に示すように、PLC11からの制御情報により、プレスコントローラ13にて予め設定している条件を読み込むことで、支柱9に支えられたサーボプレス8が加圧板7を搬送台3上の通電部4に向けて下降し、プローブ6は通電部4に配置された第一の間材18と接触する。その後、PLC11からの指示により、プローブ6の加圧力を任意に設定した規定の荷重値(25kg〜100kg)まで上昇させた後、電源コントローラ14にて予め設定している条件を読み込むことで、電源10から任意に設定した電流(電流密度が120[A/cm]以上400[A/cm]未満)を通電部4に対して継続して流す。その際、半導体素子15の温度は、150℃以上230℃以下とする。 FIG. 4 is a diagram showing the operation of the energization test. As shown in FIG. 4A, initially the probe 6 is not in contact with the first interstitial material 18 arranged in the energized portion 4. Next, as shown in FIG. 4B, the servo press 8 supported by the support column 9 presses the pressurizing plate 7 by reading the conditions preset by the press controller 13 based on the control information from the PLC 11. It descends toward the energized portion 4 on the transport table 3, and the probe 6 comes into contact with the first interstitial material 18 arranged in the energized portion 4. After that, according to the instruction from the PLC 11, the pressing force of the probe 6 is raised to an arbitrarily set specified load value (25 kg to 100 kg), and then the power supply is read by reading the preset conditions in the power supply controller 14. A current arbitrarily set from 10 (current density of 120 [A / cm 2 ] or more and less than 400 [A / cm 2 ]) is continuously passed through the energizing unit 4. At that time, the temperature of the semiconductor element 15 is set to 150 ° C. or higher and 230 ° C. or lower.

半導体試験装置100は、PLC11により、通電加圧中の半導体素子15の温度を冷却板5の凸部5aに取り付けた熱電対を用いて常時監視を行い、規定の温度(150℃以上230℃以下)から外れた場合には、PLC11により、通電加圧を停止する信号を、プレスコントローラ13と電源コントローラ14へ送信し、通電加圧を停止させる機能を有する。 The semiconductor test apparatus 100 constantly monitors the temperature of the semiconductor element 15 under energization and pressurization by the PLC 11 using a thermocouple attached to the convex portion 5a of the cooling plate 5, and has a specified temperature (150 ° C. or higher and 230 ° C. or lower). ), The PLC 11 has a function of transmitting a signal for stopping the energization and pressurization to the press controller 13 and the power supply controller 14 to stop the energization and pressurization.

また、半導体試験装置100において、電流密度が120[A/cm]以上400[A/cm]未満の範囲外の場合には、電源コントローラ14で通電加圧中の半導体素子15を不良品として判定する。判定結果はPLC11に送信され、PLC11により通電加圧を停止する信号がプレスコントローラ13と電源コントローラ14へ送信され、通電加圧を停止させる機能を有する。通電加圧を異常発生時に停止させる機能により、周辺機構へのダメージを抑制することができる。 Further, in the semiconductor test apparatus 100, when the current density is out of the range of 120 [A / cm 2 ] or more and less than 400 [A / cm 2 ], the semiconductor element 15 being energized and pressurized by the power controller 14 is defective. Judge as. The determination result is transmitted to the PLC 11, and a signal for stopping the energization pressurization is transmitted by the PLC 11 to the press controller 13 and the power supply controller 14, and has a function of stopping the energization pressurization. Damage to peripheral mechanisms can be suppressed by the function of stopping energization and pressurization when an abnormality occurs.

続いて、通電後の半導体素子15の裏面36において、酸化膜による変色を検出する方法について、図5と図6を用いて説明する。 Subsequently, a method of detecting discoloration due to the oxide film on the back surface 36 of the semiconductor element 15 after energization will be described with reference to FIGS. 5 and 6.

図5は、半導体検査装置の検査部の断面図である。図5に示すように、検査部26は、半導体素子15の表面35を吸着するための吸着パッド21、半導体素子15の裏面36に対向する撮像部22、第一の照射部23、第二の照射部24、遮光壁25、及び画像処理部29を備える。まず、吸着パッド21が半導体素子15を吸着する。吸着状態を維持したまま、持ち上げて中空で停止している半導体素子15の裏面36は、遮光壁25により外乱光の影響を遮蔽しておく。なお、遮光壁25は、暗幕等で代用することも可能である。 FIG. 5 is a cross-sectional view of an inspection unit of the semiconductor inspection apparatus. As shown in FIG. 5, the inspection unit 26 includes a suction pad 21 for sucking the front surface 35 of the semiconductor element 15, an image pickup unit 22 facing the back surface 36 of the semiconductor element 15, a first irradiation unit 23, and a second. It includes an irradiation unit 24, a light-shielding wall 25, and an image processing unit 29. First, the suction pad 21 sucks the semiconductor element 15. The back surface 36 of the semiconductor element 15 that is lifted and stopped in a hollow state while maintaining the adsorption state is shielded from the influence of ambient light by a light-shielding wall 25. The light-shielding wall 25 can be replaced with a blackout curtain or the like.

次に、第一の波長の光を含む第一の照射部23と第二の波長の光を含む第二の照射部24とを、半導体素子15に向けて同時に照射する。第一の波長の光は、380nm未満の波長域の光を支配的に含む光であり、例えば紫外光(UV光)又は遠紫外光(DUV光)である。また、第二の波長の光は、380nm以上780nm未満の波長域の光を支配的に含む光であり、例えば可視光である。第一の照射部23は撮像部22と半導体素子15との間から半導体素子15を照射し、第二の照射部24は第一の波長を含む光とは異なる斜め方向から半導体素子15を照射する。第一の照射部23は、撮像部22と半導体素子15との間から半導体素子15を照射すればよく、例えば、撮像部22と半導体素子15との間にハーフミラーを設置し、このハーフミラーを介して光を照射する同軸照明装置を用いる。なお、ハーフミラーに替えて、ビームスプリッター等の光束を分岐できる分岐光学素子を用いてもよい。 Next, the first irradiation unit 23 containing the light of the first wavelength and the second irradiation unit 24 containing the light of the second wavelength are simultaneously irradiated toward the semiconductor element 15. The light having the first wavelength is light that predominantly contains light in a wavelength range of less than 380 nm, and is, for example, ultraviolet light (UV light) or far ultraviolet light (DUV light). The light having a second wavelength is light that predominantly contains light in a wavelength range of 380 nm or more and less than 780 nm, and is, for example, visible light. The first irradiation unit 23 irradiates the semiconductor element 15 from between the image pickup unit 22 and the semiconductor element 15, and the second irradiation unit 24 irradiates the semiconductor element 15 from an oblique direction different from the light including the first wavelength. do. The first irradiation unit 23 may irradiate the semiconductor element 15 from between the image pickup unit 22 and the semiconductor element 15. For example, a half mirror is installed between the image pickup unit 22 and the semiconductor element 15, and the half mirror is installed. A coaxial lighting device that irradiates light through the light is used. Instead of the half mirror, a branching optical element such as a beam splitter that can split the luminous flux may be used.

第一の照射部23と第二の照射部24としては、例えば、LED照明により所望の波長の光を照射する。ただし、第一の照射部23と第二の照射部24は、これに限定されるものではない。例えば、白色LED照明とカラーフィルタとの組み合わせによって構成してもよく、白色電球又は蛍光管とカラーフィルタとの組み合わせ、又はカラーランプ等を用いることもできる。また、第二の照射部24は、酸化膜領域31や傷領域32の特徴に応じて、適宜赤色、緑色、及び青色等の特定の波長の光を用いることもできる。特定の波長の光を用いることにより、酸化膜領域31や傷領域32からの反射光が強調されるため、上述の領域を検出する精度を高めることができる。 The first irradiation unit 23 and the second irradiation unit 24 irradiate light having a desired wavelength by, for example, LED illumination. However, the first irradiation unit 23 and the second irradiation unit 24 are not limited to this. For example, it may be configured by a combination of white LED lighting and a color filter, or a combination of a white light bulb or a fluorescent tube and a color filter, a color lamp, or the like may be used. Further, the second irradiation unit 24 may appropriately use light having a specific wavelength such as red, green, or blue, depending on the characteristics of the oxide film region 31 and the scratched region 32. By using light of a specific wavelength, the reflected light from the oxide film region 31 and the scratched region 32 is emphasized, so that the accuracy of detecting the above-mentioned region can be improved.

検査部26に配置されている撮像部22を用いて、半導体素子15の裏面36を撮像する。撮像部22の分光感度特性は、可視光波長域の感度が紫外光波長域の感度よりも高い。撮像部22は、第一の波長に基づく裏面36からの反射光と、第二の波長に基づく裏面36からの反射光とを含む裏面36からの反射光を撮像し、撮像により得られた画像データは、画像処理部29において取得される。第一の波長に基づく裏面36からの反射光は、正反射光を支配的に含む光である。また、第二の波長に基づく裏面36からの反射光は、拡散反射光を支配的に含む光である。なお、画像データとは、画像を構成する画素毎の明暗を示したデータのことをいう。 The back surface 36 of the semiconductor element 15 is imaged by using the imaging unit 22 arranged in the inspection unit 26. As for the spectral sensitivity characteristic of the imaging unit 22, the sensitivity in the visible light wavelength region is higher than the sensitivity in the ultraviolet light wavelength region. The imaging unit 22 captures the reflected light from the back surface 36 including the reflected light from the back surface 36 based on the first wavelength and the reflected light from the back surface 36 based on the second wavelength, and the image obtained by imaging. The data is acquired by the image processing unit 29. The reflected light from the back surface 36 based on the first wavelength is light that predominantly contains specular reflected light. Further, the reflected light from the back surface 36 based on the second wavelength is light that predominantly contains diffuse reflected light. The image data refers to data indicating the brightness and darkness of each pixel constituting the image.

図6は、撮像により得られた画像データを示す図である。図6に示すように、画像データは、画像処理部29に備えられた判定部において、酸化膜領域31、傷領域32、及び正常領域33のうち、少なくともいずれかの領域に分割される。酸化膜領域31は、半導体素子15に発生した酸化膜による変色を示す領域である。傷領域32は、凹みや窪みを含む傷を示す領域である。正常領域33は、酸化膜領域31と傷領域32以外の領域を示し、半導体素子15において凹凸のない平坦な形状の領域である。 FIG. 6 is a diagram showing image data obtained by imaging. As shown in FIG. 6, the image data is divided into at least one of the oxide film region 31, the scratched region 32, and the normal region 33 in the determination unit provided in the image processing unit 29. The oxide film region 31 is a region showing discoloration due to the oxide film generated in the semiconductor element 15. The scratched area 32 is an area showing a scratch including a dent or a dent. The normal region 33 indicates a region other than the oxide film region 31 and the scratched region 32, and is a region having a flat shape without unevenness in the semiconductor element 15.

画像処理部29に備えられた判定部は、得られた画像データの特徴量に基づき、酸化膜領域31、傷領域32、及び正常領域33のうち、少なくとも酸化膜領域31を識別し、半導体素子15の良否を判定する。画像領域の識別は、例えば、画像データの各画素のデータ値が、酸化膜の閾値内であれば酸化膜領域31、傷の閾値内であれば傷領域32、いずれの閾値外であれば正常領域33と識別する。なお、これらの閾値は、撮像部22、第一の照射部23、及び第二の照射部24の特性によって変わるため、あらかじめ撮像部や照明の特性を考慮した上で決定することが望ましい。識別結果に基づき、画像データに酸化膜領域31が含まれない場合は、半導体素子15が良品であると判定し、画像データに酸化膜領域31が含まれる場合は、半導体素子15が不良品であると判定する。 The determination unit provided in the image processing unit 29 identifies at least the oxide film region 31 among the oxide film region 31, the scratched region 32, and the normal region 33 based on the feature amount of the obtained image data, and is a semiconductor element. The quality of 15 is judged. The identification of the image region is normal, for example, if the data value of each pixel of the image data is within the threshold value of the oxide film, the oxide film region 31, the scratch region 32 if the data value is within the threshold value of the oxide film, and if it is outside the threshold value Identify as region 33. Since these threshold values change depending on the characteristics of the imaging unit 22, the first irradiation unit 23, and the second irradiation unit 24, it is desirable to determine them after considering the characteristics of the imaging unit and the illumination in advance. Based on the identification result, if the image data does not include the oxide film region 31, it is determined that the semiconductor element 15 is a non-defective product, and if the image data includes the oxide film region 31, the semiconductor element 15 is a defective product. Judge that there is.

このように、得られた画像データから、酸化膜領域31、傷領域32、及び正常領域33に分割されるのは、下記の理由によると解される。撮像部22の分光感度特性は、紫外光波長域の感度が可視光波長域の感度よりも低いため、第一の照射部23を撮像部22と半導体素子15との間から照射し、撮像部22で半導体素子15の裏面36を撮像すると、正常領域33から酸化膜領域31と傷領域32とを含む領域を区別可能なコントラストの低い画像データが得られる。しかし、画像データのコントラストが低いため、酸化膜領域31と傷領域32とを区別することが困難である。 It is understood that the reason why the obtained image data is divided into the oxide film region 31, the scratched region 32, and the normal region 33 in this way is as follows. As for the spectral sensitivity characteristic of the imaging unit 22, since the sensitivity in the ultraviolet light wavelength region is lower than the sensitivity in the visible light wavelength region, the first irradiation unit 23 is irradiated from between the imaging unit 22 and the semiconductor element 15, and the imaging unit 22 is irradiated. When the back surface 36 of the semiconductor element 15 is imaged with 22, image data having low contrast that can distinguish the region including the oxide film region 31 and the scratched region 32 from the normal region 33 can be obtained. However, since the contrast of the image data is low, it is difficult to distinguish between the oxide film region 31 and the scratched region 32.

その理由としては、第一の照射部23を半導体素子15の裏面36に向けて照射した場合、得られた画像データにおいて、半導体素子15の裏面36にある傷領域32は、乱反射により撮像部22に戻る明るさの情報が区別できる程に含まれないためである。また、第一の照射部23を半導体素子15の裏面36に向けて照射した場合、得られた画像データにおいて、半導体素子15の裏面36にある酸化膜領域31は、紫外光波長域の光の吸収率が傷領域32における紫外光波長域の光の吸収率よりも高いことにより、酸化膜領域31の明るさの情報が区別できる程得られないためである。したがって、傷領域32と酸化膜領域31のいずれの領域においても、明るさの情報が区別できる程得られないため、両者のコントラストが低くなってしまう。 The reason is that when the first irradiation unit 23 is irradiated toward the back surface 36 of the semiconductor element 15, in the obtained image data, the scratched region 32 on the back surface 36 of the semiconductor element 15 is diffused reflected by the imaging unit 22. This is because the brightness information is not included in a distinguishable manner. Further, when the first irradiation unit 23 is irradiated toward the back surface 36 of the semiconductor element 15, in the obtained image data, the oxide film region 31 on the back surface 36 of the semiconductor element 15 is the light in the ultraviolet wavelength region. This is because the absorption rate is higher than the absorption rate of light in the ultraviolet light wavelength region in the scratched region 32, so that information on the brightness of the oxide film region 31 cannot be obtained so as to be distinguishable. Therefore, in either the scratched region 32 or the oxide film region 31, the brightness information cannot be obtained so as to be distinguishable, and the contrast between the two becomes low.

得られた画像データのコントラストを高めるため、第一の照射部23による照射と同時に、第一の波長を含む光とは異なる斜め方向から第二の照射部24を半導体素子15に照射する。これにより、凹凸のある傷領域32に明るさの情報が追加される。しかしながら、半導体素子15において酸化膜は凹凸のない平坦な形状であり、第一の波長を含む光とは異なる斜め方向からの光は全反射して半導体素子15の対角側へ反射するため、酸化膜領域31には傷領域32程の明るさの情報は追加されない。したがって、第一の照射部23と第二の照射部24とを、半導体素子15に向けて同時に照射することで、画像データにおいて、傷領域32と酸化膜領域31との間には、コントラストが生じる。また、正常領域33は、凹凸のない平坦な形状であることから、傷の領域と酸化膜の領域よりも明るさの情報を得るため、傷領域32と酸化膜領域31とに対し、コントラストが得られる。これにより、酸化膜領域31、傷領域32、及び正常領域33を検出することができる。 In order to increase the contrast of the obtained image data, at the same time as the irradiation by the first irradiation unit 23, the semiconductor element 15 is irradiated with the second irradiation unit 24 from an oblique direction different from the light including the first wavelength. As a result, brightness information is added to the uneven scratched area 32. However, in the semiconductor element 15, the oxide film has a flat shape without unevenness, and light from an oblique direction different from the light including the first wavelength is totally reflected and reflected to the diagonal side of the semiconductor element 15. Information on the brightness of the scratched region 32 is not added to the oxide film region 31. Therefore, by irradiating the first irradiation unit 23 and the second irradiation unit 24 toward the semiconductor element 15 at the same time, there is a contrast between the scratched region 32 and the oxide film region 31 in the image data. Occurs. Further, since the normal region 33 has a flat shape without unevenness, the contrast between the scratched region 32 and the oxide film region 31 is increased in order to obtain information on the brightness more than the scratched region and the oxide film region. can get. Thereby, the oxide film region 31, the scratched region 32, and the normal region 33 can be detected.

検出結果に基づき、画像データに酸化膜領域31が含まれない場合は、半導体素子15が良品であると判定し、画像データに酸化膜領域31が含まれる場合は、半導体素子15が不良品であると判定する。判定結果は、PLC11に接続された処理回路を通じて画像信号に変換され、画面12に文字や画像によって示される。 Based on the detection result, if the image data does not include the oxide film region 31, it is determined that the semiconductor element 15 is a non-defective product, and if the image data includes the oxide film region 31, the semiconductor element 15 is a defective product. Judge that there is. The determination result is converted into an image signal through a processing circuit connected to the PLC 11, and is displayed on the screen 12 by characters or an image.

以上により、本構成を用いることで、第一の波長の光を含む第一の照射部23と第二の波長の光を含む第二の照射部24とから、半導体素子15に向けて同時に照射し、撮像により得られた画像から、各領域間のコントラストの違いを利用して、半導体素子15の酸化膜領域31のみを検出することができる。また、酸化膜領域31、傷領域32、及び正常領域を、それぞれ区別して検出することもできる。 Based on the above, by using this configuration, the first irradiation unit 23 containing the light of the first wavelength and the second irradiation unit 24 containing the light of the second wavelength simultaneously irradiate the semiconductor element 15. Then, from the image obtained by imaging, only the oxide film region 31 of the semiconductor element 15 can be detected by utilizing the difference in contrast between the regions. Further, the oxide film region 31, the scratched region 32, and the normal region can be detected separately.

次に、半導体素子の裏面36にグラデーションが生じた場合の検査アルゴリズムについて、図7を用いて説明する。 Next, an inspection algorithm when a gradation is generated on the back surface 36 of the semiconductor element will be described with reference to FIG. 7.

図7は、半導体素子の検査アルゴリズムを示す図である。図7(a)は、半導体素子15を示す画像データである。図7(a)に示すように、半導体素子15の裏面36は研磨されているため、半導体素子15の裏面36の正常領域33にグラデーション34が生じることがある。グラデーション34の発生により、正常領域33を検出できない場合は、動的二値化処理を行うことで、正常領域33を検出する。 FIG. 7 is a diagram showing an inspection algorithm for a semiconductor element. FIG. 7A is image data showing the semiconductor element 15. As shown in FIG. 7A, since the back surface 36 of the semiconductor element 15 is polished, a gradation 34 may occur in the normal region 33 of the back surface 36 of the semiconductor element 15. When the normal region 33 cannot be detected due to the occurrence of the gradation 34, the normal region 33 is detected by performing the dynamic binarization process.

図7(b)は、動的二値化処理前と動的二値化処理後の画像データの例である。図7(b)において、動的二値化処理後の画像データの方が、動的二値化処理前の画像データよりもコントラストが高いことを示している。 FIG. 7B is an example of image data before and after the dynamic binarization process. FIG. 7B shows that the image data after the dynamic binarization process has a higher contrast than the image data before the dynamic binarization process.

動的二値化処理について、以下に説明をする。本実施の形態1では、動的二値化閾値を、中心画素の周辺のM×N画素の平均画素値のうち一定の割合の値であると定義する。本実施の形態1では、中心画素の周辺の5×5画素を対象の範囲と設定し、一定の割合を平均画素値のうち80%であると設定する。なお、M×N画素のサイズは、グラデーション34の特徴を考慮した上で設定することが望ましい。また、周辺の画素の形状は、十字形、×印形、又は長方形等、グラデーション34の特徴を考慮した上で設定することが望ましい。 The dynamic binarization process will be described below. In the first embodiment, the dynamic binarization threshold value is defined as a value of a certain ratio of the average pixel value of the M × N pixels around the central pixel. In the first embodiment, 5 × 5 pixels around the center pixel are set as the target range, and a certain ratio is set to be 80% of the average pixel value. It is desirable that the size of the M × N pixel is set in consideration of the characteristics of the gradation 34. Further, it is desirable to set the shape of the peripheral pixels in consideration of the characteristics of the gradation 34 such as a cross shape, a cross shape, or a rectangle.

図7(c)は動的二値化処理の第一の例を示す図であり、図7(d)は動的二値化処理の第二の例を示す図である。 FIG. 7C is a diagram showing a first example of the dynamic binarization process, and FIG. 7D is a diagram showing a second example of the dynamic binarization process.

図7(c)の左側に示すように、中心画素は酸化膜領域31を示しており、その画素値は20である。中心画素の周辺の5×5画素の平均画素値は243であり、動的二値化閾値は194となる。したがって、図7(c)の右側に示すように、中心画素とその周辺画素において、画素値が動的二値化閾値内である画素の画素値は0に変換し、画素値が動的二値化閾値外である画素の画素値は255に変換する。 As shown on the left side of FIG. 7C, the central pixel shows the oxide film region 31, and the pixel value is 20. The average pixel value of the 5 × 5 pixels around the central pixel is 243, and the dynamic binarization threshold is 194. Therefore, as shown on the right side of FIG. 7C, in the central pixel and its peripheral pixels, the pixel value of the pixel whose pixel value is within the dynamic binarization threshold is converted to 0, and the pixel value is dynamically binary. The pixel value of the pixel outside the valuation threshold is converted to 255.

また、図7(d)の左側に示すように、中心画素とその周辺の5×5画素は正常領域33を示しており、それらの画素値は127である。中心画素の周辺の5×5画素の平均画素値は127であり、動的二値化閾値は102となる。したがって、図7(d)の右側に示すように、中心画素とその周辺画素において、全画素の画素値が動的二値化閾値外であるため、これらの画素の画素値を255に変換する。 Further, as shown on the left side of FIG. 7D, the central pixel and the 5 × 5 pixels around it indicate the normal region 33, and their pixel values are 127. The average pixel value of the 5 × 5 pixels around the central pixel is 127, and the dynamic binarization threshold is 102. Therefore, as shown on the right side of FIG. 7D, since the pixel values of all the pixels in the central pixel and its peripheral pixels are outside the dynamic binarization threshold, the pixel values of these pixels are converted to 255. ..

上記の動的二値化処理を行うことで、半導体素子15の裏面36の正常領域33に発生するグラデーション34による影響を抑制し、酸化膜領域31を安定して検出することができる。 By performing the above dynamic binarization process, the influence of the gradation 34 generated on the normal region 33 of the back surface 36 of the semiconductor element 15 can be suppressed, and the oxide film region 31 can be stably detected.

このように、半導体素子15において、第一の照射部23、第二の照射部24、及びこれらの照明によって照射された半導体素子15からの反射光を撮像する撮像部22を備えることにより、酸化膜による変色を含む半導体素子15のみを不良品として判定することが可能となり、半導体素子15を検査する精度が上がるという効果を奏する。 As described above, the semiconductor element 15 is oxidized by including the first irradiation unit 23, the second irradiation unit 24, and the image pickup unit 22 that captures the reflected light from the semiconductor element 15 irradiated by these illuminations. Only the semiconductor element 15 including discoloration due to the film can be determined as a defective product, which has the effect of improving the accuracy of inspecting the semiconductor element 15.

また、半導体素子15と半導体素子15の外との境界付近で動的二値化処理を実施した場合、半導体素子15の外の画素値が半導体素子15の画素値よりも低くなることによって、正常領域33を誤って酸化膜領域31と検出してしまうことがある。これに対し、予め半導体素子15の形状をエッジ検出手法やパターンマッチング手法等により検出し、検査範囲を限定しておくことによって、誤検出を抑制することができる。 Further, when the dynamic binarization process is performed near the boundary between the semiconductor element 15 and the outside of the semiconductor element 15, the pixel value outside the semiconductor element 15 becomes lower than the pixel value of the semiconductor element 15, which is normal. The region 33 may be mistakenly detected as the oxide film region 31. On the other hand, by detecting the shape of the semiconductor element 15 in advance by an edge detection method, a pattern matching method, or the like and limiting the inspection range, erroneous detection can be suppressed.

なお、本件発明の実施の形態1では、判定結果を画面12に文字や画像によって示していたが、スピーカから音声によって示してもよい。この場合、半導体試験装置100と画面12との距離が離れている環境においては、音声による情報提示が行えるという効果を奏する。 In the first embodiment of the present invention, the determination result is shown on the screen 12 by characters or images, but the determination result may be shown by voice from the speaker. In this case, in an environment where the semiconductor test apparatus 100 and the screen 12 are separated from each other, it is possible to present information by voice.

さらに、本件発明の実施の形態1では、判定部において半導体素子15の良否を判定していたが、判定部に替えて、画像処理部29を介して少なくとも酸化膜領域31が識別された画像データを画面12に表示させてもよい。この場合、人が画面12に表示された画像データの酸化膜領域31に基づき、半導体素子15の良否を判定することによって、判定部における判定の処理に係る実装コストを抑制することができる。 Further, in the first embodiment of the present invention, the determination unit determines the quality of the semiconductor element 15, but instead of the determination unit, image data in which at least the oxide film region 31 is identified via the image processing unit 29. May be displayed on the screen 12. In this case, the mounting cost related to the determination process in the determination unit can be suppressed by determining the quality of the semiconductor element 15 based on the oxide film region 31 of the image data displayed on the screen 12.

半導体素子15の検査において、検査部26での通電時間に対して検査時間は短いため、検査終了後に半導体素子15の判定結果に基づき、Z方向の移送機構27とX方向の移送機構28を用いて、半導体素子15の良品と不良品をそれぞれ良品トレイと不良品トレイ等に載せて搬送してもよい。同様にして、Z方向の移送機構27とX方向の移送機構28を用いて、半導体素子15、第一の間材18、第二の間材17、及び第三の間材16をそれぞれ搬送台3に載せて搬送してもよい。これにより、半導体素子15の検査を人の手に依らずに行なうため、検査時間を短縮することができる。 In the inspection of the semiconductor element 15, since the inspection time is shorter than the energization time in the inspection unit 26, the transfer mechanism 27 in the Z direction and the transfer mechanism 28 in the X direction are used based on the determination result of the semiconductor element 15 after the inspection is completed. Alternatively, the non-defective product and the defective product of the semiconductor element 15 may be placed on the non-defective product tray, the defective product tray, or the like and transported. Similarly, using the transfer mechanism 27 in the Z direction and the transfer mechanism 28 in the X direction, the semiconductor element 15, the first intermediate material 18, the second intermediate material 17, and the third intermediate material 16 are respectively transferred to the transfer table. It may be carried by placing it on 3. As a result, the inspection time of the semiconductor element 15 can be shortened because the inspection is performed without human intervention.

また、土台1に撮像部22を搭載しておくことにより、半導体素子15の裏面36を検査する際に半導体素子15を反転するための機構を必要とすることなく、通電試験中に半導体素子15の検査を実施することができる。 Further, by mounting the imaging unit 22 on the base 1, the semiconductor element 15 is not required during the energization test without the need for a mechanism for inverting the semiconductor element 15 when inspecting the back surface 36 of the semiconductor element 15. Can be inspected.

実施の形態2.
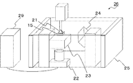
本件発明の実施の形態2における半導体検査装置について、図8を用いて説明する。なお、図8において、図5と同一符号は同一又は相当部分を示す。
Embodiment 2.
The semiconductor inspection apparatus according to the second embodiment of the present invention will be described with reference to FIG. In FIG. 8, the same reference numerals as those in FIG. 5 indicate the same or corresponding portions.

本件実施の形態1において、第二の照射部24は、第一の波長を含む光とは異なる斜め方向から半導体素子15を照射する構成にしたが、例えば、半導体素子15の周囲の方向から照射する照射部により構成してもよい。図8は、本件実施の形態2における半導体検査装置の検査部の断面図である。第二の照射部24の代わりにリング照明30を用いることにより、第二の照射部24よりも広い範囲から半導体素子15を照射している。 In the first embodiment, the second irradiation unit 24 is configured to irradiate the semiconductor element 15 from an oblique direction different from the light including the first wavelength. For example, the second irradiation unit 24 irradiates from the direction around the semiconductor element 15. It may be composed of an irradiation unit. FIG. 8 is a cross-sectional view of an inspection unit of the semiconductor inspection apparatus according to the second embodiment. By using the ring illumination 30 instead of the second irradiation unit 24, the semiconductor element 15 is irradiated from a wider range than the second irradiation unit 24.

この構成にすることによって、傷領域32からの反射光は、第二の照射部24からの照射光よりも明るくなる。一方で、酸化膜領域31は凹凸がなく平坦な形状のため、酸化膜領域31からの反射光は、第二の照射部24からの照射光よりも暗くなる。その結果、撮像によってコントラストの高い画像データが得られ、これらの領域の検出精度を高めることができる効果を奏する。なお、広い範囲から半導体素子15を照射するための照明としては、必要とされる照射範囲に応じて、リング照明30の代わりにドーム照明等、適宜最適なものを用いてもよいことは言うまでもない。 With this configuration, the reflected light from the scratched area 32 becomes brighter than the irradiation light from the second irradiation unit 24. On the other hand, since the oxide film region 31 has a flat shape without unevenness, the reflected light from the oxide film region 31 is darker than the irradiation light from the second irradiation unit 24. As a result, high-contrast image data can be obtained by imaging, and the effect of improving the detection accuracy of these regions is achieved. Needless to say, as the illumination for irradiating the semiconductor element 15 from a wide range, an appropriately optimum illumination such as a dome illumination may be used instead of the ring illumination 30 according to the required irradiation range. ..

なお、以上の実施形態は、本発明を具体化した一例であって、本発明の技術的範囲を限定するものではない。 The above embodiment is an example embodying the present invention, and does not limit the technical scope of the present invention.

1 土台、2 Y方向の移送機構、3 搬送台、4 通電部、5 冷却板、5a 凸部、6 プローブ、7 加圧板、8 サーボプレス、9 支柱、10 電源、11 PLC、12 画面、13 プレスコントローラ、14 電源コントローラ、15 半導体素子、16 第三の間材、17 第二の間材、18 第一の間材、19 ガイド、19a 穴、21 吸着パッド、22 撮像部、23 第一の照射部、24 第二の照射部、25 遮光壁、26 検査部、27 Z方向の移送機構、28 X方向の移送機構、29 画像処理部、30 リング照明、31 酸化膜領域、32傷領域 、33正常領域 、34 グラデーション、35 表面、36 裏面、100 半導体試験装置 1 base, 2 Y-direction transfer mechanism, 3 transport base, 4 current-carrying part, 5 cooling plate, 5a convex part, 6 probe, 7 pressure plate, 8 servo press, 9 columns, 10 power supply, 11 PLC, 12 screens, 13 Press controller, 14 power controller, 15 semiconductor element, 16 third interleaving material, 17 second interleaving material, 18 first interleaving material, 19 guide, 19a hole, 21 suction pad, 22 image pickup unit, 23 first Irradiation part, 24 second irradiation part, 25 shading wall, 26 inspection part, 27 Z direction transfer mechanism, 28 X direction transfer mechanism, 29 image processing part, 30 ring illumination, 31 oxide film area, 32 scratch area, 33 Normal region, 34 Gradation, 35 Front surface, 36 Back surface, 100 Semiconductor test equipment

Claims (6)

通電後の半導体素子の面に酸化膜による変色があるか否かを検査する半導体検査装置において、
前記面に対向する位置に設けられた撮像部と、
前記面と前記撮像部との間に設けられ、第一の波長を含む光を前記面に照射する第一の照射部と、
前記第一の波長を含む光とは異なる方向から、前記第一の波長とは異なる第二の波長を含む光を前記面に照射する第二の照射部と、
前記第一の波長に基づく前記面からの反射光と、前記第二の波長に基づく前記面からの反射光と、を含む反射光による画像データを取得し、取得した前記画像データのコントラストの高さに基づいて、前記画像データのうちから前記酸化膜による変色を示す画像領域である酸化膜領域を識別する画像処理部と
を備える半導体検査装置。
In a semiconductor inspection device that inspects whether or not there is discoloration due to an oxide film on the surface of a semiconductor element after energization.
An imaging unit provided at a position facing the surface and
A first irradiation unit provided between the surface and the imaging unit and irradiating the surface with light containing a first wavelength,
A second irradiation unit that irradiates the surface with light containing a second wavelength different from the first wavelength from a direction different from the light containing the first wavelength.
Image data by reflected light including the reflected light from the surface based on the first wavelength and the reflected light from the surface based on the second wavelength is acquired, and the contrast of the acquired image data is high. based at the semiconductor inspection device and an image processing unit to identify the oxide region is an image region that shows a color change due to the oxide film from among the image data.
前記第一の波長は、380nm未満である
請求項1に記載の半導体検査装置。
The semiconductor inspection apparatus according to claim 1, wherein the first wavelength is less than 380 nm.
前記第二の波長は、380nm以上780nm未満である
請求項1に記載の半導体検査装置。
The semiconductor inspection apparatus according to claim 1, wherein the second wavelength is 380 nm or more and less than 780 nm.
前記撮像部の分光感度特性は、前記第二の波長の感度が前記第一の波長の感度よりも高い
請求項1から請求項3のいずれか1項に記載の半導体検査装置。
The semiconductor inspection apparatus according to any one of claims 1 to 3, wherein the spectral sensitivity characteristic of the imaging unit is such that the sensitivity of the second wavelength is higher than the sensitivity of the first wavelength.
前記画像データは、コントラストの高さに基づいて、少なくとも前記酸化膜領域を含む以上の画像領域に分割される
請求項1から請求項4のいずれか1項に記載の半導体検査装置。
The semiconductor inspection apparatus according to any one of claims 1 to 4, wherein the image data is divided into at least two or more image regions including the oxide film region based on the height of contrast.
通電後の半導体素子の面に酸化膜による変色があるか否かを検査する半導体検査方法であって、
前記面と撮像部との間から、第一の波長を含む光を前記面に照射する工程と、
前記第一の波長を含む光とは異なる方向から、前記第一の波長とは異なる第二の波長を含む光を前記面に照射する工程と、
前記第一の波長に基づく前記面からの反射光と、前記第二の波長に基づく前記面からの反射光と、を含む反射光による画像データを取得し、取得した前記画像データのコントラストの高さに基づいて、前記画像データのうちから前記酸化膜による変色を示す画像領域である酸化膜領域を識別する工程と
を含む半導体検査方法。
It is a semiconductor inspection method that inspects whether or not the surface of a semiconductor element after energization is discolored by an oxide film.
From between the surface and the imaging unit, and a step of irradiating light including a first wavelength to said surface,
A step of irradiating the surface with light containing a second wavelength different from the first wavelength from a direction different from the light containing the first wavelength.
Image data by reflected light including the reflected light from the surface based on the first wavelength and the reflected light from the surface based on the second wavelength is acquired, and the contrast of the acquired image data is high. based at the semiconductor inspection method comprising a step of identifying the oxide region is an image region that shows a color change due to the oxide film from among the image data.
JP2017062041A 2017-03-28 2017-03-28 Semiconductor inspection equipment and semiconductor inspection method Active JP6906339B2 (en)

Priority Applications (1)

Application Number Priority Date Filing Date Title
JP2017062041A JP6906339B2 (en) 2017-03-28 2017-03-28 Semiconductor inspection equipment and semiconductor inspection method

Applications Claiming Priority (1)

Application Number Priority Date Filing Date Title
JP2017062041A JP6906339B2 (en) 2017-03-28 2017-03-28 Semiconductor inspection equipment and semiconductor inspection method

Publications (2)

Publication Number Publication Date
JP2018165616A JP2018165616A (en) 2018-10-25
JP6906339B2 true JP6906339B2 (en) 2021-07-21

Family

ID=63922789

Family Applications (1)

Application Number Title Priority Date Filing Date
JP2017062041A Active JP6906339B2 (en) 2017-03-28 2017-03-28 Semiconductor inspection equipment and semiconductor inspection method

Country Status (1)

Country Link
JP (1) JP6906339B2 (en)

Family Cites Families (5)

* Cited by examiner, † Cited by third party
Publication number Priority date Publication date Assignee Title
JPS6238348A (en) * 1985-08-14 1987-02-19 Mitsubishi Metal Corp Optical inspecting method for surface defect
JP4121735B2 (en) * 2001-01-22 2008-07-23 ソニー株式会社 Polysilicon film evaluation system
US7206442B1 (en) * 2001-11-16 2007-04-17 Rudolph Technologies, Inc. Optical inspection method utilizing ultraviolet light
JP6004033B1 (en) * 2015-04-14 2016-10-05 株式会社Sumco Epitaxial wafer evaluation method and evaluation apparatus
JP6394514B2 (en) * 2015-06-25 2018-09-26 Jfeスチール株式会社 Surface defect detection method, surface defect detection apparatus, and steel material manufacturing method

Also Published As

Publication number Publication date
JP2018165616A (en) 2018-10-25

Similar Documents

Publication Publication Date Title
JP6042402B2 (en) Illumination module and visual inspection system using the same
JP5078583B2 (en) Macro inspection device and macro inspection method
US7027640B2 (en) Method and apparatus for inspecting defects on polishing pads to be used with chemical mechanical polishing apparatus
JP5854531B2 (en) Printed circuit board inspection equipment
JP5077872B2 (en) Defect inspection apparatus and method by photoluminescence of solar cell
US7852982B2 (en) Test method
US8330948B2 (en) Semiconductor test instrument and the method to test semiconductor
US8467062B2 (en) Inspection device and producing method of wired circuit board
JP2006112845A (en) Pattern inspection device
JP5830229B2 (en) Wafer defect inspection system
JP6483022B2 (en) Thin section sample evaluation apparatus, thin section sample preparation apparatus including the thin section sample evaluation apparatus, and thin section sample evaluation method
JP6908123B2 (en) Visual inspection equipment and visual inspection method
JP6906339B2 (en) Semiconductor inspection equipment and semiconductor inspection method
JP2009109243A (en) Resin sealing material inspection equipment
KR20130130567A (en) Apparatus for inspecting of led and led inspection method using the same
JP5787668B2 (en) Defect detection device
TW200538716A (en) Method for inspecting insulating film for film carrier tape for mounting electronic components thereon, inspection apparatus for inspecting the insulating film, punching apparatus for punching the insulating film, and method for controlling the punching
JP2011106912A (en) Imaging illumination means and pattern inspection device
JP2006292412A (en) Surface inspection system, surface inspection method and substrate manufacturing method
JP5100371B2 (en) Foreign matter inspection method and foreign matter inspection apparatus for wafer peripheral edge
JP7271329B2 (en) Lighting device and visual inspection device equipped with the same
TW202412132A (en) Inspection equipment and inspection methods
CN100504363C (en) Inspection apparatus, inspection method, inspection apparatus, inspection method of wiring pattern
JP2005077272A (en) Method for inspecting defect
KR200336984Y1 (en) A device for inspecting surface and shape of an object of examination

Legal Events

Date Code Title Description
A621 Written request for application examination

Free format text: JAPANESE INTERMEDIATE CODE: A621

Effective date: 20190909

A977 Report on retrieval

Free format text: JAPANESE INTERMEDIATE CODE: A971007

Effective date: 20200630

A131 Notification of reasons for refusal

Free format text: JAPANESE INTERMEDIATE CODE: A131

Effective date: 20201027

RD01 Notification of change of attorney

Free format text: JAPANESE INTERMEDIATE CODE: A7421

Effective date: 20201106

A521 Request for written amendment filed

Free format text: JAPANESE INTERMEDIATE CODE: A523

Effective date: 20201218

TRDD Decision of grant or rejection written
A01 Written decision to grant a patent or to grant a registration (utility model)

Free format text: JAPANESE INTERMEDIATE CODE: A01

Effective date: 20210601

A61 First payment of annual fees (during grant procedure)

Free format text: JAPANESE INTERMEDIATE CODE: A61

Effective date: 20210629

R150 Certificate of patent or registration of utility model

Ref document number: 6906339

Country of ref document: JP

Free format text: JAPANESE INTERMEDIATE CODE: R150

R250 Receipt of annual fees

Free format text: JAPANESE INTERMEDIATE CODE: R250

R250 Receipt of annual fees

Free format text: JAPANESE INTERMEDIATE CODE: R250