JP6905910B2 - 診断装置及び診断方法 - Google Patents

診断装置及び診断方法 Download PDF

Info

Publication number
JP6905910B2
JP6905910B2 JP2017198184A JP2017198184A JP6905910B2 JP 6905910 B2 JP6905910 B2 JP 6905910B2 JP 2017198184 A JP2017198184 A JP 2017198184A JP 2017198184 A JP2017198184 A JP 2017198184A JP 6905910 B2 JP6905910 B2 JP 6905910B2
Authority
JP
Japan
Prior art keywords
determination
concentration
reducing agent
aqueous solution
urea aqueous
Prior art date
Legal status (The legal status is an assumption and is not a legal conclusion. Google has not performed a legal analysis and makes no representation as to the accuracy of the status listed.)
Active
Application number
JP2017198184A
Other languages
English (en)
Other versions
JP2019073976A (ja
Inventor
匡教 渡辺
匡教 渡辺
英志 中尾
英志 中尾
Current Assignee (The listed assignees may be inaccurate. Google has not performed a legal analysis and makes no representation or warranty as to the accuracy of the list.)
Bosch Corp
Original Assignee
Bosch Corp
Priority date (The priority date is an assumption and is not a legal conclusion. Google has not performed a legal analysis and makes no representation as to the accuracy of the date listed.)
Filing date
Publication date
Application filed by Bosch Corp filed Critical Bosch Corp
Priority to JP2017198184A priority Critical patent/JP6905910B2/ja
Publication of JP2019073976A publication Critical patent/JP2019073976A/ja
Application granted granted Critical
Publication of JP6905910B2 publication Critical patent/JP6905910B2/ja
Active legal-status Critical Current
Anticipated expiration legal-status Critical

Links

Images

Classifications

    • YGENERAL TAGGING OF NEW TECHNOLOGICAL DEVELOPMENTS; GENERAL TAGGING OF CROSS-SECTIONAL TECHNOLOGIES SPANNING OVER SEVERAL SECTIONS OF THE IPC; TECHNICAL SUBJECTS COVERED BY FORMER USPC CROSS-REFERENCE ART COLLECTIONS [XRACs] AND DIGESTS
    • Y02TECHNOLOGIES OR APPLICATIONS FOR MITIGATION OR ADAPTATION AGAINST CLIMATE CHANGE
    • Y02ATECHNOLOGIES FOR ADAPTATION TO CLIMATE CHANGE
    • Y02A50/00TECHNOLOGIES FOR ADAPTATION TO CLIMATE CHANGE in human health protection, e.g. against extreme weather
    • Y02A50/20Air quality improvement or preservation, e.g. vehicle emission control or emission reduction by using catalytic converters

Landscapes

  • Exhaust Gas After Treatment (AREA)
  • Combined Controls Of Internal Combustion Engines (AREA)
  • Exhaust Gas Treatment By Means Of Catalyst (AREA)

Description

本発明は、内燃機関の排気の浄化に用いられる液体還元剤の濃度を、濃度センサを用いて診断する診断装置及び診断方法に関する。
車両に搭載されるディーゼルエンジン等の内燃機関の排気ガスに含まれるNOX(窒素酸化物)を分解して排気ガスを浄化するための装置として、尿素SCR(Selective Catalytic Reduction)システムが実用化されている。尿素SCRシステムでは、還元剤として尿素水溶液が用いられる。尿素SCRシステムは、尿素水溶液が分解することにより生成されるアンモニアを排気ガス中のNOXと反応させることによりNOXを分解する。
尿素SCRシステムは、排気通路に配設された選択還元触媒と、選択還元触媒よりも上流側の排気通路に尿素水溶液を噴射するための還元剤供給装置とを備える。選択還元触媒は、アンモニアを吸着し、流入する排気ガス中のNOXとアンモニアとの還元反応を促進する。還元剤供給装置は、貯蔵タンク内に貯蔵された尿素水溶液を圧送するポンプと、ポンプにより圧送される尿素水溶液を噴射する噴射弁とを備え、制御装置によって駆動制御が行われて、尿素水溶液を排気通路内に噴射する。
制御装置は、内燃機関から排出されている排気ガスに含まれるNOXを浄化するために必要なアンモニア量と選択還元触媒に吸着可能なアンモニア量とに基づいて尿素水溶液の噴射量を算出する。尿素水溶液の噴射量が少なすぎると、NOXを適切に浄化することができない。また、尿素水溶液の噴射量が多すぎると、選択還元触媒の下流に流出(スリップ)するアンモニアが増えることになる。このため、尿素SCRシステムでは、あらかじめ定められた基準濃度の尿素水溶液が用いられ、制御装置は、必要なアンモニア量に見合った尿素水溶液の目標噴射量を設定し、噴射制御を実行する。
このような尿素SCRシステムにおいて、尿素水溶液の濃度が基準濃度と異なると、噴射された尿素水溶液から生成されるアンモニアの量に過不足が生じることになる。このため、特許文献1に記載されているように、尿素水溶液が貯蔵される貯蔵タンクには濃度センサ(「クオリティセンサ」ともいう)が備えられ、尿素水溶液の濃度が基準濃度から大きくずれていないかの診断が行われている。
特開2008−248710号公報
ここで、尿素水溶液中に気泡が含まれる場合、当該気泡は、濃度センサによる尿素水溶液の濃度の検出の障害となり得るため、尿素水溶液中に気泡が含まれ得る状態における濃度センサの検出値の信頼性は低くなる。尿素水溶液中に気泡が含まれ得る状態においても適切な濃度の尿素水溶液の濃度が異常であると誤判定されないようにするには、診断時のずれの許容範囲を大きく設定しなければならない。しかしながら、診断時のずれの許容範囲を大きくすると、尿素水溶液の実際の濃度が基準濃度から大きくずれている場合であっても異常と判定されにくくなってしまう。
本発明は、上記問題に鑑みてなされたものであり、本発明の目的とするところは、濃度センサを用いた尿素水溶液の濃度の診断結果の信頼性を向上可能な診断装置及び診断方法を提供することにある。
本発明のある観点によれば、車両に搭載された内燃機関の排気の浄化に用いられる液体還元剤の濃度を、液体還元剤を貯蔵するタンクに設置された濃度センサを用いて診断する診断装置において、濃度センサの検出値と液体還元剤の基準濃度とのずれが第1の閾値以下であるか否かを判定する第1の判定を実行する第1の判定部と、濃度センサの検出値と液体還元剤の基準濃度とのずれが第1の閾値よりも大きい第2の閾値以下であるか否かを判定する第2の判定を実行する第2の判定部と、を備え、第1の判定部は、診断装置の起動後に第1の判定を実行開始し、タンク内の液体還元剤中の気泡が増大する第1の条件が成立したときに第1の判定の実行を終了し、第2の判定部は、少なくとも第1の条件の成立後に第2の判定を実行する、診断装置が提供される。
また、本発明の別の観点によれば、車両に搭載された内燃機関の排気の浄化に用いられる液体還元剤の濃度を、液体還元剤を貯蔵するタンクに設置された濃度センサを用いて診断する診断方法において、診断装置の起動後からタンク内の液体還元剤中の気泡が増大する第1の条件が成立するまでの期間に、濃度センサの検出値と液体還元剤の基準濃度とのずれが第1の閾値以下であるか否かを判定する第1の判定を実行するとともに、診断装置の起動後、少なくとも第1の条件の成立後に、濃度センサの検出値と液体還元剤の基準濃度とのずれが第1の閾値よりも大きい第2の閾値以下であるか否かを判定する第2の判定を実行する、診断方法が提供される。
以上説明したように本発明によれば、濃度センサを用いた尿素水溶液の濃度の診断結果の信頼性を向上させることができる。
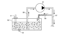
本発明の実施の形態に係る診断装置を備えた適用可能な尿素SCRシステムを示す模式図である。 同実施形態に係る診断装置の構成例を示すブロック図である。 尿素水溶液中に気泡が発生する一例を示す説明図である。 第1の閾値及び第2の閾値を示す説明図である。 第1の判定及び第2の判定の実行期間を示す説明図である。 同実施形態に係る診断装置による診断処理を示すフローチャートである。 診断処理の変形例を示すフローチャートである。
以下に添付図面を参照しながら、本発明の好適な実施の形態について詳細に説明する。なお、本明細書及び図面において、実質的に同一の機能構成を有する構成要素については、同一の符号を付することにより重複説明を省略する。
<1.尿素SCRシステムの構成例>
図1を参照して、還元剤供給装置30を備えた尿素SCRシステム10の構成例について説明する。図1は、尿素SCRシステム10の構成例を示す模式図である。
尿素SCRシステム10は、ディーゼルエンジン等の内燃機関5の排気系に設けられている。尿素SCRシステム10は、内燃機関5を備えた車両、建設機械又は農機等に搭載され、還元剤として尿素水溶液を用いて、内燃機関5から排出される排気ガス中のNOXを分解して排気を浄化する。尿素水溶液としては、例えば凍結温度が最も低い約32.5%濃度の尿素水溶液が用いられる。この場合の凍結温度は約−11℃である。かかる尿素水溶液は、濃度が変化すると凍結温度が上昇することから、溶媒としての水分が蒸発することによって凍結しやすくなる性質を有する。
尿素SCRシステム10は、排気管11の途中に配設された選択還元触媒13と、選択還元触媒13よりも上流の排気通路内に尿素水溶液を噴射する還元剤供給装置30とを備える。
選択還元触媒13は、内燃機関5の排気ガス中に含まれるNOXを、アンモニアを用いて選択的に還元する。選択還元触媒13は、還元剤供給装置30により噴射された尿素水溶液が分解することにより生成されたアンモニアを吸着する。そして、選択還元触媒13は、流入する排気ガス中のNOXをアンモニアと反応させて分解する。選択還元触媒13は、触媒温度が高いほどアンモニアの吸着可能量が減少する性質を有する。また、選択還元触媒13は、吸着可能量に対する実際のアンモニアの吸着量の割合が大きいほどNOXの還元効率が高くなる性質を有する。
還元剤供給装置30は、選択還元触媒13よりも上流の排気通路内に尿素水溶液を噴射する。還元剤供給装置30は、制御装置100によって駆動制御が行われる。尿素水溶液の噴射量は、選択還元触媒13よりも下流に流出するNOXの濃度及びアンモニアの濃度が基準値以下となるように制御される。尿素水溶液の噴射量は、例えば内燃機関5から排出される排気ガスのNOX濃度、選択還元触媒13の温度に応じたアンモニアの吸着可能量、及び選択還元触媒13上の現在のアンモニアの吸着量等に基づいて設定される。
選択還元触媒13よりも上流及び下流の排気管11には、それぞれの位置で排気温度を検出する排気温度センサ21,23が設けられている。排気温度センサ21,23のセンサ信号は制御装置100に出力される。排気温度センサ21,23によって検出される排気温度は、選択還元触媒13の温度推定にも用いられる。これ以外に、排気管11には、図示しないNOX濃度センサやアンモニアセンサ等が設けられていてもよい。
<2.還元剤供給装置の構成例>
次に、還元剤供給装置30の構成例について詳細に説明する。還元剤供給装置30は、噴射弁31とポンプ41とを備える。噴射弁31は、選択還元触媒13よりも上流の排気管11に固定されている。ポンプ41は、貯蔵タンク50内の尿素水溶液を吸い上げて圧送する。ポンプ41及び噴射弁31は、制御装置100によって駆動制御が行われる。
ポンプ41の吸入口には、他端が貯蔵タンク50内に位置する第1の還元剤配管58が接続されている。ポンプ41の吐出口には、他端が噴射弁31に接続された第2の還元剤配管57が接続されている。ポンプ41は、第1の還元剤配管58を介して貯蔵タンク50内の尿素水溶液を吸い上げ、第2の還元剤配管57を介して尿素水溶液を噴射弁31に供給する。
第2の還元剤配管57には、他端が貯蔵タンク50に接続されたリターン配管59が接続されている。リターン配管59には図示しないオリフィス又は一方向弁が備えられ、第2の還元剤配管57内の圧力を保持できるようになっている。また、第2の還元剤配管57には圧力センサ43が設けられている。圧力センサ43は、噴射弁31に供給される尿素水溶液の圧力Puを検出するセンサであり、センサ信号は制御装置100に出力される。
ポンプ41としては、例えば電磁駆動式のダイヤフラムポンプ又はギヤポンプが用いられる。ポンプ41の出力は、制御装置100により制御される。本実施形態では、制御装置100は、噴射弁31に供給される尿素水溶液の圧力Puが所定の目標値Ptgtで維持されるようにポンプ41の出力を制御する。例えば制御装置100は、圧力センサ43により検出される圧力Puと目標値Ptgtとの差分ΔPに基づいて、ポンプ41の出力をフィードバック制御する。
噴射弁31は、例えば通電制御により開弁及び閉弁が切り替えられる電磁駆動式の噴射弁が用いられる。電磁駆動式の噴射弁31は電磁コイルを備え、当該電磁コイルへの通電により発生する磁力によって弁体が移動して開弁する構造を有する。本実施形態では、制御装置100は、噴射弁31に供給される尿素水溶液の圧力Puが所定の目標値Ptgtとなるようにポンプ41の出力を制御しつつ、尿素水溶液の目標噴射量に応じて開弁時間を調節する。例えば制御装置100は、一定の噴射サイクルごとに、噴射サイクルの全時間に対する通電時間の比であるデューティ比を調節することにより、尿素水溶液の噴射量を制御する。
また、還元剤供給装置30は、装置内の尿素水溶液を貯蔵タンク50に回収する手段を備える。尿素水溶液の凍結温度は低くても−11℃程度であるため、内燃機関5の停止中に尿素水溶液が凍結する場合がある。装置内で尿素水溶液が凍結すると、体積が膨張して、それぞれの配管やポンプ41、噴射弁31等を破損させるおそれがある。このため、内燃機関5の停止時において、装置内の尿素水溶液は貯蔵タンク50に回収される。
例えば、ポンプ41が逆回転可能なポンプである場合には当該ポンプ41が尿素水溶液の回収手段として用いられ、装置内の尿素水溶液を貯蔵タンク50側に吸い戻す。また、ポンプ41の吸入口及び吐出口の接続先を、第1の還元剤配管58又は第2の還元剤配管57に相互に切り換えることにより、ポンプ41の駆動による尿素水溶液の流れを反転させる流路切換弁が尿素水容液の回収手段として備えられてもよい。尿素水溶液の回収手段は、ここに例示した手段以外であってもよい。
尿素水溶液を貯蔵する貯蔵タンク50には、尿素水溶液の凍結時において凍結した尿素水溶液を解凍するための解凍手段が備えられる。例えば、解凍手段は、電熱線やPTC(Positive Temperature Coefficient)ヒータ等の電気式の加熱装置であってもよい。あるいは、貯蔵タンク50に内燃機関5の冷却水を循環させる冷却水配管を配設し、当該冷却水配管に内燃機関5の冷却水を循環させることにより貯蔵タンク50内の尿素水溶液を解凍させるようにしてもよい。
また、貯蔵タンク50には、貯蔵タンク50内の尿素水溶液の濃度を検出する濃度センサ51、及び貯蔵タンク50内の尿素水溶液の温度を検出するタンク温度センサ53が備えられている。濃度センサ51及びタンク温度センサ53のセンサ信号は、制御装置100に出力される。濃度センサ51としては、例えば超音波式センサ、熱伝達式センサ、又は赤外線式センサ等の公知の尿素水濃度センサが用いられる。それぞれの濃度センサ51は、尿素水溶液中に気泡が含まれていると検出値に誤差が生じる場合がある。
図3は、濃度センサ51が設置された貯蔵タンク50内の尿素水溶液中に気泡が発生する場合の一例を示す説明図である。上述のとおり、本実施形態に係る還元剤供給装置30では、内燃機関5の停止時に、装置内の尿素水溶液が貯蔵タンク50内に回収される。このため、内燃機関5の始動時には、まずポンプ41を駆動することにより、装置内に尿素水溶液が充填される。
このとき、装置内は空気で満たされた状態で尿素水溶液の充填が行われるため、尿素水溶液が第2の還元剤配管57に供給されると、空気の一部が尿素水溶液とともにリターン配管59を介して貯蔵タンク50内に流れ込む。これにより、貯蔵タンク50内の尿素水溶液中に気泡が混入することになり、当該気泡が濃度センサ51による濃度検出の障害となり得る。かかる例以外にも、例えば内燃機関5の回転数が高い場合や車速が大きい場合等、車両の振動に起因して貯蔵タンク50内の尿素水溶液が揺動し、尿素水溶液中に気泡が発生する場合がある。
<3.制御装置(診断装置)の構成例>
次に、本実施形態に係る尿素水溶液の濃度の診断装置として機能する制御装置100の構成例について説明する。図2は、制御装置100の構成を機能的に示したブロック図である。
制御装置100は、処理部110と、記憶部140と、噴射弁駆動部150と、ポンプ駆動部160とを備える。処理部110は、例えばCPU等のマイクロコンピュータ又はマイクロプロセッサユニット等で構成されていてもよく、ファームウェア等の更新可能なもので構成されていてもよい。また、処理部110は、CPU等からの指令によって実行されるプログラムモジュール等であってもよい。
制御装置100には、濃度センサ51のセンサ信号S_cu、タンク温度センサ53のセンサ信号S_tu、圧力センサ43のセンサ信号S_pu及び排気温度センサ21,23のセンサ信号S_tgu,S_tgdが入力される。また、制御装置100には、直接あるいはCAN(Controller Area Network)等の通信手段を介して、車両のキースイッチのオンオフ信号S_key_swt、エンジン回転数Ne及び車速V等の内燃機関5の運転状態に関する情報が入力される。
記憶部140は、RAM(Random Access Memory)やROM(Read Only Memory)等の図示しない記憶素子を含む。記憶部140は、CD−ROMやストレージ装置等のその他の記憶媒体を備えてもよい。記憶部140は、処理部110により実行されるプログラム、演算処理に用いられる各種パラメータ、演算結果及び検出結果等を記憶する。
噴射弁駆動部150及びポンプ駆動部160は、電気回路により構成される。噴射弁駆動部150は、処理部110からの駆動指示の信号に基づいて動作し、噴射弁31を駆動する。ポンプ駆動部160は、処理部110からの駆動指示の信号に基づいて動作し、ポンプ41を駆動する。
処理部110は、圧力検出部112と、濃度検出部114と、第1の判定部115と、第2の判定部116と、解凍制御部118と、噴射弁制御部120と、ポンプ制御部122とを有する。これらの各部は、処理部110がプログラムを実行することにより実現される機能である。
圧力検出部112は、圧力センサ43のセンサ信号S_puに基づいて噴射弁31に供給される尿素水溶液の圧力Puを検出する。
濃度検出部114は、濃度センサ51のセンサ信号S_cuに基づいて貯蔵タンク50内の尿素水溶液の濃度(以下、「検出濃度」ともいう。)C_uを検出する。
解凍制御部118は、タンク温度センサ53のセンサ信号S_tuに基づいて検出される貯蔵タンク50内の尿素水溶液の温度Tuが解凍制御の実行の要否を判定する基準温度以下の場合に解凍制御を実行する。凍結した尿素水溶液の解凍は、図示しない解凍手段を作動させることにより行われる。例えば、解凍制御部118は、貯蔵タンク50に設置された加熱装置を作動させて、凍結した尿素水溶液を解凍する。あるいは、解凍制御部118は、貯蔵タンク50に配設された冷却水配管に内燃機関5の冷却水を循環させて、凍結した尿素水溶液を解凍する。
解凍制御部118は、例えば貯蔵タンク50内の尿素水溶液の温度Tuが上記の基準温度を超えた場合に解凍制御を終了してもよい。あるいは、解凍制御部118は、あらかじめ設定された時間が経過したときに解凍制御を終了してもよい。
ポンプ制御部122は、ポンプ41の出力を制御する。ポンプ制御部122は、圧力検出部112で検出される圧力Puが、あらかじめ設定された目標値Ptgtとなるように、ポンプ41の出力をフィードバック制御する。例えばポンプ制御部122は、検出された圧力Puと目標値Ptgtとの差分ΔPに基づいてポンプ41の出力をPID制御する。噴射弁31からの尿素水溶液の噴射量が多いほど尿素水溶液の圧力Puは低下しやすいことから、尿素水溶液の噴射量が多いほどポンプ41の出力は大きくなる。
例えばポンプ制御部122は、一定の処理サイクルごとに、処理サイクルの全時間に対する通電時間の比であるデューティ比を設定する。この場合、デューティ比が大きいほどポンプ41の出力は大きくなる。ポンプ制御部122は、設定したデューティ比に基づいてポンプ駆動部160に対して駆動指示の信号を出力する。ポンプ駆動部160は、入力された駆動指示の信号に従ってポンプ41に対する通電を行う。
噴射弁制御部120は、噴射弁31の駆動制御を行う。上述のとおり、噴射弁31に供給される尿素水溶液の圧力Puは目標値Ptgtとなるように制御されているため、噴射弁制御部120は、尿素水溶液の圧力Puが目標値Ptgtとなっていることを前提として、噴射量の指示値に応じて噴射弁31の開弁時間を制御する。
例えば、噴射弁制御部120は、内燃機関5から排出されている排気ガス中のNOXを還元するために必要なアンモニア量を求める。排気ガス中のNOXの量としては、例えば内燃機関5の運転状態に基づき推定されるNOX濃度又はNOXセンサにより検出されるNOX濃度に、排気ガスの流量を乗じて求められるNOX流量が用いられる。
また、噴射弁制御部120は、選択還元触媒13におけるアンモニアの目標吸着量に対する過不足のアンモニア量を求める。選択還元触媒13におけるアンモニアの目標吸着量としては、例えば排気温度Tgasに基づいて推定される選択還元触媒13の温度に応じた吸着可能量に対して目標吸着率を乗じた値が用いられる。目標吸着率は、例えば70〜80%であってもよい。目標吸着率が70〜80%であれば、吸着率が比較的高く維持されてNOXの還元効率が高く維持される一方、触媒温度が急激に上昇した場合であっても、アンモニアの吸着可能量が実際のアンモニアの吸着量を下回りにくくなる。噴射弁制御部120は、積算により求められる現在のアンモニア吸着量と目標吸着量との差分に基づいて過不足のアンモニア量を求める。
噴射弁制御部120は、排気ガス中のNOXを還元するために必要なアンモニア量と選択還元触媒13の目標吸着量に対する過不足のアンモニア量とを加算する。噴射弁制御部120は、算出されたアンモニア量を生成可能な尿素水溶液の量を目標噴射量とし、噴射弁駆動部150に対して駆動指示の信号を出力する。噴射弁駆動部150は、入力された駆動指示の信号に従って噴射弁31に対する通電を行う。例えば、噴射弁制御部120は、一定の噴射サイクルごとに、噴射サイクルの全時間に対する通電時間の比であるデューティ比を目標噴射量に基づいて設定する。噴射弁駆動部150は、設定されたデューティ比にしたがって噴射弁31の電磁コイルへの通電のオンオフを切り換える。
第1の判定部115は、尿素水溶液の濃度についての第1の判定を実行する。具体的に、第1の判定部115は、濃度検出部114により検出された尿素水溶液の検出濃度C_uと基準濃度C0とのずれが第1の閾値thre_A以下であるか否かを判定する。本実施形態において、尿素水溶液の基準濃度C0は32.5%である。判定に用いる尿素水溶液の検出濃度C_uは、所定期間内に検出された検出濃度C_uの平均値であってもよい。第1の判定部115は、制御装置100の起動後に第1の判定を実行開始し、貯蔵タンク50内の尿素水溶液中の気泡が増大する条件(第1の条件)が成立したときに第1の判定の実行を終了する。
第2の判定部116は、尿素水溶液の濃度についての第2の判定を実行する。具体的に、第2の判定部116は、濃度検出部114により検出された尿素水溶液の検出濃度C_uと基準濃度C0とのずれが、第1の閾値thre_Aよりも大きい第2の閾値thre_B以下であるか否かを判定する。第1の判定と同様に、判定に用いる尿素水溶液の検出濃度C_uは、所定期間内に検出された検出濃度C_uの平均値であってもよい。第2の判定部116は、少なくとも第1の条件の成立後に第2の判定を実行する。つまり、第2の判定は、少なくとも第1の判定の実行が終了した後に実行される。例えば、第2の判定部116は、制御装置100の起動後に第2の判定を実行開始し、第1の条件の成立後も第2の判定を継続してもよい。
ここで、第1の判定部115による第1の判定、及び、第2の判定部116による第2の判定について説明する。図4は、第1の判定及び第2の判定でそれぞれ用いられる第1の閾値thre_A及び第2の閾値thre_Bを示す説明図である。第2の判定で用いられる検出濃度C_uと基準濃度C0とのずれ(|C_u−C0|)の許容範囲である第2の閾値thre_Bは、第1の判定で用いられる検出濃度C_uと基準濃度C0とのずれ(|C_u−C0|)の許容範囲である第1の閾値thre_Aよりも大きい値に設定されている。尿素水溶液の基準濃度C0が32.5%である場合、第1の閾値thre_Aは例えば2.5%程度に設定され、第2の閾値thre_Bは例えば10.0%に設定される。
第1の判定部115による第1の判定は、尿素水溶液中の気泡が少ない期間に行われるため、第1の判定の実行中に濃度センサ51により検出される検出濃度C_uの信頼性は高いと言える。このため、第1の閾値thre_Aは相対的に小さい値に設定され、第1の判定では、尿素水溶液の実際の濃度が基準濃度C0に近似しているかが診断される。例えば、第1の判定によって異常が検出された場合には、排気ガス中のNOXに応じて尿素水溶液を過不足なく供給することが困難であるために、エンジンの出力を制限したり、エンジンの始動を停止したりしてもよい。
一方、第2の判定部116による第2の判定は、尿素水溶液中に気泡が発生し得る期間を含む期間に行われるため、第2の判定の実行中に濃度センサ51により検出される検出濃度C_uの信頼性は低いと言える。このため、第2の閾値thre_Bは相対的に大きい値に設定され、第2の判定では、尿素水溶液の実際の濃度が基準濃度C0に近似しているにもかかわらず誤って異常と判定されることを抑制する。例えば、第2の判定によって異常が検出された場合には、尿素水溶液の濃度の異常ではない、意図しない尿素水溶液の状態変化の場合も考えられるため、運転者等の搭乗者への警告等の措置に留めてもよい。
図5は、第1の判定部115による第1の判定、及び、第2の判定部116による第2の判定の実行期間を示す説明図である。図5に示した例では、制御装置(診断装置)100が起動したときに第1の判定及び第2の判定のいずれもが実行開始される。制御装置100の起動後、例えば貯蔵タンク50内の尿素水溶液の解凍制御が完了するまで、あるいは、触媒温度が上昇して選択還元触媒13が活性化するまで、還元剤供給装置30内への尿素水溶液の充填は開始されない。このため、貯蔵タンク50内の尿素水溶液中の気泡が少ない状態となっている。
したがって、貯蔵タンク50内の尿素水溶液中の気泡が増大し得る第1の条件が成立するまでの期間には第2の判定だけでなく第1の判定も併せて実行される。これにより、尿素水溶液の濃度の異常が検知される確実性が向上し、内燃機関の出力制限等の比較的厳しい措置を取ることができる。一方、第1の条件が成立した後は、貯蔵タンク50内の尿素水溶液中に気泡が含まれ得ることから、第1の判定は行われず、第2の判定のみが継続される。これにより、尿素水溶液の濃度が異常な状態になっていると断定できない場合には、警告等の比較的緩い措置に留めることができる。
ここで、尿素水溶液中に気泡が発生し得る第1の条件は、還元剤供給装置30の始動であってもよい。図3に示したように、還元剤供給装置30のポンプ41の駆動が開始されて尿素水溶液が還元剤供給装置30に充填され始めると、装置内を満たしていた空気が尿素水溶液とともにリターン配管59を介して貯蔵タンク50に混入して、貯蔵タンク50内の尿素水溶液中に気泡が発生する。また、第1の条件は、車両の走行開始であってもよい。還元剤供給装置30が始動される前であっても、車両の走行が開始されると、加速時の揺れや内燃機関5の振動等の外乱によって尿素水溶液中に気泡が発生する場合がある。この他、第1の条件は、尿素水溶液中に気泡が発生し得る適宜の条件を含んでもよい。そして、第1の判定部115は、これらの第1の条件のうちのいずれか一つが成立したときに、第1の判定の実行を終了する。
<4.フローチャート>
次に、図6を参照して、制御装置(診断装置)100により実行される尿素水溶液の濃度の診断方法の例について説明する。
まず、制御装置100が起動すると(ステップS11)、処理部110の第1の判定部115及び第2の判定部116は、尿素水溶液の解凍制御が完了したか否かを判別する(ステップS13)。処理部110の解凍制御部118は、尿素水溶液が凍結している場合に解凍制御を実行し、凍結した尿素水溶液が解凍したと判定される場合に解凍制御を終了し、解凍制御の完了を記憶部140に記憶する。解凍制御部118は、解凍制御を要しない場合においても解凍制御の完了を記憶部140に記憶する。
第1の判定部115及び第2の判定部116は、尿素水溶液の解凍制御が完了していない場合(S13/No)、尿素水溶液の解凍制御が完了するまでステップS13の判定を繰り返す。第1の判定部115及び第2の判定部116は、尿素水溶液の解凍制御が完了していた場合(S13/Yes)、それぞれ第1の判定及び第2の判定を開始する(ステップS15)。
次いで、第1の判定部115は、検出濃度C_uと基準濃度C0とのずれ(|C_u−C0|)が第1の閾値thre_A以下であるか否かを判別する(ステップS17)。検出濃度C_uと基準濃度C0とのずれ(|C_u−C0|)が第1の閾値thre_Aを超えている場合(S17/No)、第1の判定部115は、尿素水溶液の濃度の異常有りと判定する(ステップS33)。一方、検出濃度C_uと基準濃度C0とのずれ(|C_u−C0|)が第1の閾値thre_A以下の場合(S17/Yes)、第1の判定部115は、尿素水溶液の濃度の異常無しと判定する(ステップS19)。
次いで、第1の判定部115は、貯蔵タンク50内の尿素水溶液中に気泡が増大する条件(第1の条件)が成立しているか否かを判別する(ステップS21)。例えば、第1の判定部115は、還元剤供給装置30が始動されたこと、及び車両の走行が開始されたこと等、あらかじめ設定された条件のうちのいずれかの条件が成立しているか否かを判別する。第1の条件が成立していない場合(S21/No)、第1の判定部115は、ステップS17に戻って第1の判定を繰り返す。一方、第1の条件が成立している場合(S21/Yes)、第1の判定部115は、第1の判定の実行を終了する(ステップS23)。
次いで、第2の判定部116は、検出濃度C_uと基準濃度C0とのずれ(|C_u−C0|)が第2の閾値thre_B以下であるか否かを判別する(ステップS25)。検出濃度C_uと基準濃度C0とのずれ(|C_u−C0|)が第2の閾値thre_Bを超えている場合(S25/No)、第2の判定部116は、尿素水溶液の濃度の異常有りと判定する(ステップS33)。一方、検出濃度C_uと基準濃度C0とのずれ(|C_u−C0|)が第2の閾値thre_B以下の場合(S25/Yes)、第2の判定部116は、尿素水溶液の濃度の異常無しと判定する(ステップS27)。
次いで、第2の判定部116は、第2の判定を開始してからの経過時間Tがあらかじめ設定した閾値T1に到達したか否かを判別する(ステップS29)。この閾値T1は、第2の判定の終了時期を設定するものであり、例えば30分に設定される。経過時間Tは、診断装置100が起動してからの経過時間であってもよいし、還元剤供給装置30を始動させてからの経過時間であってもよい。
経過時間Tが閾値T1に到達していない場合(S29/No)、第2の判定部116は、ステップS25に戻って第2の判定を繰り返す。一方、経過時間Tが閾値T1に到達していた場合(S29/Yes)、第2の判定部116は、第2の判定の実行を終了する(ステップS31)。
なお、ステップS33において尿素水溶液の濃度の異常有りと判定された場合、制御装置100は、第1の判定による異常又は第2の判定による異常に応じて、適宜の処理を実行する。例えば、第1の判定結果が異常を示した場合(S17/No)、排気ガス中のNOXに対応する適切な量の尿素水溶液を供給することが困難であるために、制御装置100は、排気ガス中のNOX濃度が低減するように、内燃機関の出力を制限させたり内燃機関の始動を停止させたりしてもよい。一方、第2の判定結果が異常を示した場合(S25/No)、制御装置100は、運転者等の搭乗者に対して尿素水溶液の濃度の異常を知らせるための警告処理を実行させてもよい。例えば、制御装置100は、警告音の発生、警告ランプの点灯、又は警告表示の少なくとも一つの処理を実行させてもよい。
図6のフローチャートに基づいて説明した尿素水溶液の濃度の診断方法では、制御装置100の起動後に第1の条件が成立した時点で第1の判定の実行を終了させた。ただし、第1の判定部115は、第1の判定の実行を一旦終了させた後であっても、貯蔵タンク50内の尿素水溶液中の気泡が少ない状態において、第1の判定を再開させてもよい。図7は、第1の判定の実行を終了させた後に第1の判定を再開させる例を示すフローチャートである。
第1の判定の実行が終了した後、第1の判定部115は、貯蔵タンク50内の尿素水溶液中の気泡が少ない状態と推定される第2の条件が成立しているか否かを判別する(ステップS41)。第2の条件は、例えば還元剤供給装置30のポンプ41の駆動を開始してから所定時間以上経過しており、内燃機関5の回転数Neが所定の閾値以下であり、かつ、車速Vが所定の閾値以下であることとすることができる。
ポンプ41の駆動を開始した後、時間の経過に伴って、停車中に装置内に満たされていた空気が装置外に排出され、かつ、貯蔵タンク50内に発生した気泡が消滅する。このため、ポンプ41の駆動を開始してから所定時間以上経過していることが第2の条件の一つとされる。また、内燃機関5の回転数Neが低い状態、かつ、車速Vが低い状態においては、貯蔵タンク50内の尿素水溶液の揺動が小さく、尿素水溶液中に気泡が生じにくい。このため、内燃機関5の回転数Neが所定の閾値以下であり、かつ、車速Vが所定の閾値以下であることが第2の条件に含まれる。この他、第2の条件は適宜設定されてもよい。
第2の条件が成立していない場合(S41/No)、第1の判定部115は、第2の条件が成立するまでステップS41の判定を繰り返す。一方、第2の条件が成立している場合(S41/Yes)、第1の判定部115は、第1の判定の実行を再開する(ステップS43)。
次いで、第1の判定部115は、検出濃度C_uと基準濃度C0とのずれ(|C_u−C0|)が第1の閾値thre_A以下であるか否かを判別する(ステップS45)。検出濃度C_uと基準濃度C0とのずれ(|C_u−C0|)が第1の閾値thre_Aを超えている場合(S45/No)、第1の判定部115は、尿素水溶液の濃度の異常有りと判定する(ステップS49)。一方、検出濃度C_uと基準濃度C0とのずれ(|C_u−C0|)が第1の閾値thre_A以下の場合(S45/Yes)、第1の判定部115は、尿素水溶液の濃度の異常無しと判定する(ステップS47)。尿素水溶液の濃度に異常が見られない場合、第1の判定部115は、ステップS41に戻り、第2の条件が成立している間、第1の判定を繰り返す。
図7に示したように、第1の判定部115が、第1の判定の実行を一旦終了させた後であっても、貯蔵タンク50内の尿素水溶液中の気泡が少なくなる第2の条件が成立している間は第1の判定を実行することにより、尿素水溶液の濃度をより精度よく診断することができる。
以上説明したように、本実施形態に係る還元剤供給装置30の制御装置(診断装置)100は、貯蔵タンク50内の尿素水溶液中の気泡が少ない状態においては、濃度センサ51の検出濃度C_uと基準濃度C0とのずれ(|C_u−C0|)の閾値として相対的に小さい第1の閾値thre_Aを用いて第1の判定を実行する。また、本実施形態に係る制御装置100は、貯蔵タンク50内の尿素水溶液中の気泡が増大し得る状態においては、濃度センサ51の検出濃度C_uと基準濃度C0とのずれ(|C_u−C0|)の閾値として相対的に大きい第2の閾値thre_Bを用いて第2の判定を実行する。
したがって、濃度センサ51の検出濃度C_uの信頼性が高い場合には、第1の判定により比較的精度の高い診断を実行することができる。一方、尿素水溶液中に気泡が含まれ得る状態で濃度センサ51の検出濃度C_uの信頼性が低い場合には、第2の判定により、尿素水溶液の実際の濃度が基準濃度C0に近似するにもかかわらず誤って異常と判定されることを抑制することができる。
以上、添付図面を参照しながら本発明の好適な実施形態について詳細に説明したが、本発明はかかる例に限定されない。本発明の属する技術の分野における通常の知識を有する者であれば、特許請求の範囲に記載された技術的思想の範疇内において、各種の変更例または修正例に想到し得ることは明らかであり、これらについても、当然に本発明の技術的範囲に属するものと了解される。
5・・・内燃機関、10・・・尿素SCRシステム、11・・・排気管、13・・・選択還元触媒、30・・・還元剤供給装置、31・・・噴射弁、41・・・ポンプ、51・・・濃度センサ、100・・・制御装置(診断装置)、110・・処理部、114・・・濃度検出部、115・・・第1の判定部、116・・・第2の判定部、120・・・噴射弁制御部、122・・・ポンプ制御部

Claims (7)

  1. 車両に搭載された内燃機関の排気の浄化に用いられる液体還元剤の濃度を、前記液体還元剤を貯蔵するタンクに設置された濃度センサを用いて診断する診断装置において、
    前記濃度センサの検出値と前記液体還元剤の基準濃度とのずれが第1の閾値以下であるか否かを判定する第1の判定を実行する第1の判定部と、
    前記濃度センサの検出値と前記液体還元剤の前記基準濃度とのずれが前記第1の閾値よりも大きい第2の閾値以下であるか否かを判定する第2の判定を実行する第2の判定部と、を備え、
    前記第1の判定部は、前記診断装置の起動後に前記第1の判定を実行開始し、前記タンク内の前記液体還元剤中の気泡が増大する第1の条件が成立したときに前記第1の判定の実行を終了し、
    前記第2の判定部は、少なくとも前記第1の条件の成立後に前記第2の判定を実行する、診断装置。
  2. 前記第1の条件は、前記内燃機関の排気通路に前記液体還元剤を供給する還元剤供給装置の始動である、請求項1に記載の診断装置。
  3. 前記第1の条件は、前記車両の走行開始である、請求項1に記載の診断装置。
  4. 前記第2の判定部は、前記診断装置の起動後に前記第2の判定を実行開始し、前記第1の条件の成立後においても前記第2の判定を継続する、請求項1に記載の診断装置。
  5. 前記第1の判定部は、前記診断装置の起動後であって前記タンク内の前記液体還元剤の解凍後に前記第1の判定を実行開始し、
    前記第2の判定部は、前記診断装置の起動後であって前記タンク内の前記液体還元剤の解凍後に前記第2の判定を実行開始する、請求項4に記載の診断装置。
  6. 前記第1の判定部は、前記第1の条件が成立して前記第1の判定の実行を終了した後、前記タンク内の前記液体還元剤の振動が減少する第2の条件が成立しているときに前記第1の判定を実行する、請求項1〜5のいずれか1項に記載の診断装置。
  7. 車両に搭載された内燃機関の排気の浄化に用いられる液体還元剤の濃度を、前記液体還元剤を貯蔵するタンクに設置された濃度センサを用いて診断する診断方法において、
    診断装置の起動後から前記タンク内の前記液体還元剤中の気泡が増大する第1の条件が成立するまでの期間に、前記濃度センサの検出値と前記液体還元剤の基準濃度とのずれが第1の閾値以下であるか否かを判定する第1の判定を実行するとともに、
    前記診断装置の起動後、少なくとも前記第1の条件の成立後に、前記濃度センサの検出値と前記液体還元剤の前記基準濃度とのずれが前記第1の閾値よりも大きい第2の閾値以下であるか否かを判定する第2の判定を実行する、診断方法。
JP2017198184A 2017-10-12 2017-10-12 診断装置及び診断方法 Active JP6905910B2 (ja)

Priority Applications (1)

Application Number Priority Date Filing Date Title
JP2017198184A JP6905910B2 (ja) 2017-10-12 2017-10-12 診断装置及び診断方法

Applications Claiming Priority (1)

Application Number Priority Date Filing Date Title
JP2017198184A JP6905910B2 (ja) 2017-10-12 2017-10-12 診断装置及び診断方法

Publications (2)

Publication Number Publication Date
JP2019073976A JP2019073976A (ja) 2019-05-16
JP6905910B2 true JP6905910B2 (ja) 2021-07-21

Family

ID=66545034

Family Applications (1)

Application Number Title Priority Date Filing Date
JP2017198184A Active JP6905910B2 (ja) 2017-10-12 2017-10-12 診断装置及び診断方法

Country Status (1)

Country Link
JP (1) JP6905910B2 (ja)

Families Citing this family (3)

* Cited by examiner, † Cited by third party
Publication number Priority date Publication date Assignee Title
DE102019210415B4 (de) * 2019-07-15 2021-03-25 Fraunhofer-Gesellschaft zur Förderung der angewandten Forschung e.V. Abgasnachbehandlung
JP7331763B2 (ja) * 2020-04-03 2023-08-23 コベルコ建機株式会社 排ガス処理装置の制御方法
CN114495447B (zh) * 2022-01-17 2024-03-19 潍柴动力股份有限公司 一种发动机尿素溶液浓度异常的报警方法及装置

Family Cites Families (2)

* Cited by examiner, † Cited by third party
Publication number Priority date Publication date Assignee Title
JP6220572B2 (ja) * 2013-06-17 2017-10-25 日野自動車株式会社 尿素水の適否判定装置
JP6167781B2 (ja) * 2013-09-12 2017-07-26 いすゞ自動車株式会社 尿素水濃度誤診断防止システム

Also Published As

Publication number Publication date
JP2019073976A (ja) 2019-05-16

Similar Documents

Publication Publication Date Title
JP5139765B2 (ja) 還元剤供給システムの制御装置及び制御方法
JP4964353B1 (ja) 還元剤供給装置の異常診断装置及び還元剤供給装置
CN101918687B (zh) 氧化催化剂的故障诊断装置、氧化催化剂的故障诊断方法及内燃机的排气净化装置
US9145817B2 (en) Reducing agent injection valve abnormality detection unit and reducing agent supply apparatus
JP4978635B2 (ja) 排気浄化システムの制御装置
US8973421B2 (en) Competence diagnosis system for urea water temperature sensor
JP4737312B2 (ja) 排気浄化システムの異常診断装置及び排気浄化システム
CN101910574A (zh) 温度传感器的合理性诊断装置、合理性诊断方法及内燃机的排气净化装置
JP5592759B2 (ja) 還元剤噴射弁の異常判定装置及び異常判定方法並びに内燃機関の排気浄化装置
JP5979770B2 (ja) 還元剤供給装置の制御装置及び制御方法
JP5051148B2 (ja) 排気浄化システムの異常診断装置
JP6905910B2 (ja) 診断装置及び診断方法
JP5136450B2 (ja) 排気浄化システムの異常診断装置
JPWO2018047554A1 (ja) 制御装置
JP5914151B2 (ja) 還元剤噴射弁の異常検出装置及び還元剤供給装置
JP2012127308A (ja) 還元剤供給装置及び内燃機関の排気浄化装置
JP2017129094A (ja) 異常判定装置
JPWO2015001858A1 (ja) 還元剤供給装置及びその制御方法
CN110017196B (zh) 喷射控制器
JP7108714B2 (ja) 還元剤供給装置の制御装置
JP6810628B2 (ja) 還元剤噴射装置の異常診断装置及び異常診断方法
JP6493953B2 (ja) 還元剤噴射装置の制御装置及び制御方法並びに還元剤噴射装置

Legal Events

Date Code Title Description
A621 Written request for application examination

Free format text: JAPANESE INTERMEDIATE CODE: A621

Effective date: 20200930

TRDD Decision of grant or rejection written
A01 Written decision to grant a patent or to grant a registration (utility model)

Free format text: JAPANESE INTERMEDIATE CODE: A01

Effective date: 20210617

A61 First payment of annual fees (during grant procedure)

Free format text: JAPANESE INTERMEDIATE CODE: A61

Effective date: 20210628

R151 Written notification of patent or utility model registration

Ref document number: 6905910

Country of ref document: JP

Free format text: JAPANESE INTERMEDIATE CODE: R151

R250 Receipt of annual fees

Free format text: JAPANESE INTERMEDIATE CODE: R250

R250 Receipt of annual fees

Free format text: JAPANESE INTERMEDIATE CODE: R250