JP6861448B1 - センタードリル - Google Patents

センタードリル Download PDF

Info

Publication number
JP6861448B1
JP6861448B1 JP2020106948A JP2020106948A JP6861448B1 JP 6861448 B1 JP6861448 B1 JP 6861448B1 JP 2020106948 A JP2020106948 A JP 2020106948A JP 2020106948 A JP2020106948 A JP 2020106948A JP 6861448 B1 JP6861448 B1 JP 6861448B1
Authority
JP
Japan
Prior art keywords
guide hole
drill
work material
center drill
diameter
Prior art date
Legal status (The legal status is an assumption and is not a legal conclusion. Google has not performed a legal analysis and makes no representation as to the accuracy of the status listed.)
Active
Application number
JP2020106948A
Other languages
English (en)
Other versions
JP2022001394A (ja
Inventor
聖三 早川
聖三 早川
Original Assignee
Fmd株式会社
Priority date (The priority date is an assumption and is not a legal conclusion. Google has not performed a legal analysis and makes no representation as to the accuracy of the date listed.)
Filing date
Publication date
Application filed by Fmd株式会社 filed Critical Fmd株式会社
Priority to JP2020106948A priority Critical patent/JP6861448B1/ja
Application granted granted Critical
Publication of JP6861448B1 publication Critical patent/JP6861448B1/ja
Publication of JP2022001394A publication Critical patent/JP2022001394A/ja
Active legal-status Critical Current
Anticipated expiration legal-status Critical

Links

Images

Landscapes

  • Drilling Tools (AREA)

Abstract

【課題】ガイド穴の径を好適に制御するセンタードリルを提供する。【解決手段】被削材に穴開け加工するドリルが被削材に対して位置決めするためのガイド穴を形成するためのセンタードリル1であって、ガイド穴の中心軸に略一致する方向に伸びる中心軸10を有する本体と、本体の一端に形成され所定の先端角aで形成された切刃部3と、を備える。先端角aは、切刃部3の被削材に対する切込深さdと、切込深さdだけ切り込んだ切刃部3が被削材に形成するガイド穴の直径Dとを、略同一とする角度である。【選択図】図2

Description

本発明は、被削材にドリルによる穴開け加工のためのガイド穴を形成するためのセンタードリルに関する。
センタードリルは、ドリルによる穴開け加工の位置決めを容易にするためのガイド穴を被削材に形成する。ドリルは、このガイド穴にチゼルエッジを当て、位置決めすることにより、被削材に対して滑ったり、ドリルの軸が湾曲したりすることを低減している。
特開2003−326410号公報
ガイド穴がドリルの径、すなわちチゼルエッジの寸法に対して適切でないと、作業性が損なわれる虞がある。すなわち、チゼルエッジの寸法に対してガイド穴が小さい場合、チゼルエッジがガイド穴に嵌まらず、ガイド穴の中心軸とドリルの中心軸とがずれてしまう虞がある。また、チゼルエッジの寸法に対してガイド穴が大きい場合にも同様に、ガイド穴の中心軸にドリルの中心軸を一致させることが困難である。
本発明は、このような事情を考慮してなされたもので、ガイド穴の径を好適に制御するセンタードリルを提供することを目的とする。
本発明に係るセンタードリルは、上述した課題を解決するために、被削材に穴開け加工するドリルが前記被削材に対して位置決めするためのガイド穴を形成するためのセンタードリルであって、前記ガイド穴の中心軸に略一致する方向に伸びる中心軸を有する本体と、前記本体の一端に形成され所定の先端角で形成された切刃部と、を備え、前記先端角は、前記本体の前記中心軸に直交する前記被削材の表面に対して前記切刃部が距離d進入した場合、前記被削材の表面の同一面上に位置する前記切刃部の断面の直径Dと、前記距離dとを、同一とする角度である。
本発明に係るセンタードリルにおいては、ガイド穴の径を好適に制御する。
本発明のセンタードリルの実施形態としてのセンタードリルの全体的な構成図。 センタードリルの切刃部を特に示す図。 ガイド穴とドリル先端との関係を示す第一の説明図。 ガイド穴とドリル先端との関係を示す第二の説明図。 本実施形態のセンタードリルにより形成されたガイド穴とドリル先端との関係を示す説明図。
本発明に係るセンタードリルの実施形態を添付図面に基づいて説明する。
図1は、本発明のセンタードリルの実施形態としてのセンタードリル1の全体的な構成図である。
図2は、センタードリル1の切刃部3を特に示す図である。
センタードリル1は、例えば、検査対象の加工精度を検査するための検査治具を被削材とする。センタードリル1は、別途のドリルが穴開け加工する被削材に対し、ドリル(ドリルの中心軸)の位置決めのためのガイド穴を形成する。センタードリル1は、本体2と、切刃部3と、を有する。
本体2は、円柱状の棒状部材であり、例えば直径が約3mmである。本体2は、ガイド穴の中心軸に略一致する方向に伸びる中心軸10を有する。
切刃部3は、本体2の一端に形成され、所定の先端角aで形成される。先端角aは、切刃部3の被削材に対する切込深さと、切り込んだ切刃部3が被削材に形成するガイド穴の直径(被削材表面の開口の直径であって、ガイド穴の最大直径)とを、略同一とする角度に設定されている。このような先端角aは、幾何学的に求められ、具体的には53.13度である。
すなわち、図2に示すように、被削材の表面から中心軸10方向に距離dだけ切り込んだ場合、被削材に形成されるガイド穴の直径、すなわち、被削材表面の同一面上に位置する切刃部3の断面の直径Dは、この距離dと略等しくなる。すなわち、例えば、切刃部3が0.5mm進入した場合、ガイド穴21の最大直径は、0.5mmとなる。
ここで、別途のドリルが被削材に穴を形成する際、ドリルの直径に対応する直径(チゼルエッジの長さ)に対応するガイド穴が形成されていることが好ましい。
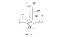
すなわち、図3に示すように、ドリル100の先端101の長さD1(チゼルエッジの長さ)に対して小さい直径d1を有するガイド穴121が形成されると、先端101がガイド穴121に嵌まり合うことができない。この場合、先端101が被削材110に対して滑ったり、ドリル100の中心軸がガイド穴121の中心軸に対して湾曲したりする虞がある。一方、図4に示すように、ドリル100の先端101の長さD2(ドリル100の直径)に対して大きい直径d2を有するガイド穴122が形成されると、ガイド穴122の中心軸131とドリル100の中心軸141とが一致せず、位置決め精度が得られない虞がある。
以上から、ガイド穴は、ドリルの径などに対応する径を有することが好ましい。例えば、ドリルに応じて直径の異なるセンタードリル1を用いてガイド穴を形成することが考えられる。しかし、センタードリル1の交換作業が都度生じてしまい、作業効率が低下してしまう。また、センタードリル1の切込深さを計測することにより、切刃部3の形状から幾何学的にガイド穴の直径を算出することも考えられる。例えば先端角が60度のセンタードリルの場合、直径1mmのガイド穴21を開けようとすると、√3/2mm分だけ切り込めばよい。しかしながら、得たい直径に対する切込深さを毎回算出する必要があり、加工現場においては作業を複雑化してしまう。
これに対し、本実施形態におけるセンタードリル1は、ガイド穴に形成する直径の制御に、好適に用いることができる。すなわち、センタードリル1は、図5に示すように、切込深さd10とガイド穴21の被削材110と同一面上における直径D10とが略一致する。このため、センタードリル1は、ドリル100の直径に応じて、得たいガイド穴21の直径に相当する切込深さ分だけ被削材に切り込めばよい。すなわち、切込深さを計測して切り込みさえすれば、直ちに得たい直径のガイド穴21を得ることができる。これにより、ガイド穴21の中心軸31と、ドリル100の中心軸41とを一致させることができ、高い位置決め精度を得ることができる。
なお、先端角aは、加工される穴の公差などに起因する誤差が許容されるため、完全に53.13度に一致している必要はない。例えば、先端角aは、±0.1度の誤差が許容され得る。
本発明のいくつかの実施形態を説明したが、これらの実施形態は、例として提示したものであり、発明の範囲を限定することは意図していない。これら新規な実施形態は、その他の様々な形態で実施されることが可能であり、発明の要旨を逸脱しない範囲で、種々の省略、置き換え、変更を行うことができる。これら実施形態やその変形は、発明の範囲や要旨に含まれるとともに、特許請求の範囲に記載された発明とその均等の範囲に含まれる。
1 センタードリル
2 本体
3 切刃部
10、131、141 中心軸
21、121、122 ガイド穴
100 ドリル
101 先端
110 被削材
a 先端角

Claims (3)

  1. 被削材に穴開け加工するドリルが前記被削材に対して位置決めするためのガイド穴を形成するためのセンタードリルであって、
    前記ガイド穴の中心軸に略一致する方向に伸びる中心軸を有する本体と、
    前記本体の一端に形成され所定の先端角で形成された切刃部と、を備え、
    前記先端角は、前記本体の前記中心軸に直交する前記被削材の表面に対して前記切刃部が距離d進入した場合、前記被削材の表面の同一面上に位置する前記切刃部の断面の直径Dと、前記距離dとを、同一とする角度である、センタードリル。
  2. 前記角度は、53.13度である、請求項1記載のセンタードリル。
  3. 前記センタードリルは、検査対象の加工精度を検査するための検査治具に前記ガイド穴を形成するために用いられる、請求項1または2記載のセンタードリル。
JP2020106948A 2020-06-22 2020-06-22 センタードリル Active JP6861448B1 (ja)

Priority Applications (1)

Application Number Priority Date Filing Date Title
JP2020106948A JP6861448B1 (ja) 2020-06-22 2020-06-22 センタードリル

Applications Claiming Priority (1)

Application Number Priority Date Filing Date Title
JP2020106948A JP6861448B1 (ja) 2020-06-22 2020-06-22 センタードリル

Publications (2)

Publication Number Publication Date
JP6861448B1 true JP6861448B1 (ja) 2021-04-21
JP2022001394A JP2022001394A (ja) 2022-01-06

Family

ID=75521014

Family Applications (1)

Application Number Title Priority Date Filing Date
JP2020106948A Active JP6861448B1 (ja) 2020-06-22 2020-06-22 センタードリル

Country Status (1)

Country Link
JP (1) JP6861448B1 (ja)

Family Cites Families (5)

* Cited by examiner, † Cited by third party
Publication number Priority date Publication date Assignee Title
NL189365C (nl) * 1984-04-09 1993-03-16 Fundex Naamloze Vennootschap Grondverdringingsboor, alsmede werkwijze voor het vormen van een fundatiepaal in de grond onder toepassing van die grondverdringingsboor.
JPH09253913A (ja) * 1996-03-22 1997-09-30 Unisia Jecs Corp 穴の加工方法
JP4206778B2 (ja) * 2002-02-27 2009-01-14 三菱マテリアル株式会社 センタドリル
US7540696B1 (en) * 2004-01-15 2009-06-02 Century Tool & Design, Inc. Spot drilling insert
JP2006231430A (ja) * 2005-02-22 2006-09-07 Tungaloy Corp センタリングドリル及びそれを用いた加工方法

Also Published As

Publication number Publication date
JP2022001394A (ja) 2022-01-06

Similar Documents

Publication Publication Date Title
US8192114B2 (en) Combination of center drill and drill holding tool
EP1319466A2 (en) System of laser positioning of an aperture processing machine
US10150168B2 (en) Drill
JP2008207327A (ja) 製作のために構成部品を所定の位置に固定する方法及び装置
KR20080104333A (ko) 비축 대칭 칼날 드릴
US20080115860A1 (en) Adjustable Guidebushes
CN100366405C (zh) 可转位的刀具
JP6861448B1 (ja) センタードリル
US3743433A (en) Drill jig apparatus
WO2017034032A1 (ja) 3枚刃ドリル
CN207138934U (zh) 用于弧面的钻模结构
CN105358276A (zh) 钻孔加工工具以及使用该钻孔加工工具的钻孔加工方法
US12151323B2 (en) Method of manufacturing a fixed square
JP6751571B2 (ja) エンドミルを用いた穴加工方法
EP3130421B1 (en) Apparatus for hole repair comprising a bottom cutting step up reamer
KR20160086237A (ko) 백 카운터 보링 가공용 공구
GB201223441D0 (en) A method for making a hole in a workpiece
KR101095245B1 (ko) 직각 홀 가공 치공구 및 이를 이용한 직각 홀 가공 방법
RU2176176C2 (ru) Способ сверления глубоких отверстий малого диаметра и лопаточное сверло одностороннего резания
JP2008049434A (ja) 切削工具
CN105792518A (zh) 高精度成品尺寸的控制方法
KR200373377Y1 (ko) 절삭 정밀도 향상을 위한 버니싱 드릴
JP2014200898A (ja) 切削インサート及びドリルヘッド
JP2010036295A (ja) ドリル及びドリルの製造方法
JP2014144517A (ja) ドリル、工具および被削材の切削方法

Legal Events

Date Code Title Description
A621 Written request for application examination

Free format text: JAPANESE INTERMEDIATE CODE: A621

Effective date: 20200622

A871 Explanation of circumstances concerning accelerated examination

Free format text: JAPANESE INTERMEDIATE CODE: A871

Effective date: 20200622

A975 Report on accelerated examination

Free format text: JAPANESE INTERMEDIATE CODE: A971005

Effective date: 20200722

A131 Notification of reasons for refusal

Free format text: JAPANESE INTERMEDIATE CODE: A131

Effective date: 20201006

A601 Written request for extension of time

Free format text: JAPANESE INTERMEDIATE CODE: A601

Effective date: 20201204

A521 Request for written amendment filed

Free format text: JAPANESE INTERMEDIATE CODE: A523

Effective date: 20201223

TRDD Decision of grant or rejection written
A01 Written decision to grant a patent or to grant a registration (utility model)

Free format text: JAPANESE INTERMEDIATE CODE: A01

Effective date: 20210316

A61 First payment of annual fees (during grant procedure)

Free format text: JAPANESE INTERMEDIATE CODE: A61

Effective date: 20210323

R150 Certificate of patent or registration of utility model

Ref document number: 6861448

Country of ref document: JP

Free format text: JAPANESE INTERMEDIATE CODE: R150

R250 Receipt of annual fees

Free format text: JAPANESE INTERMEDIATE CODE: R250

R250 Receipt of annual fees

Free format text: JAPANESE INTERMEDIATE CODE: R250