JP6781237B2 - 防振継手および防振継手構造 - Google Patents

防振継手および防振継手構造 Download PDF

Info

Publication number
JP6781237B2
JP6781237B2 JP2018223505A JP2018223505A JP6781237B2 JP 6781237 B2 JP6781237 B2 JP 6781237B2 JP 2018223505 A JP2018223505 A JP 2018223505A JP 2018223505 A JP2018223505 A JP 2018223505A JP 6781237 B2 JP6781237 B2 JP 6781237B2
Authority
JP
Japan
Prior art keywords
vibration
rubber
flow path
connecting surface
rubber member
Prior art date
Legal status (The legal status is an assumption and is not a legal conclusion. Google has not performed a legal analysis and makes no representation as to the accuracy of the status listed.)
Active
Application number
JP2018223505A
Other languages
English (en)
Other versions
JP2020085191A (ja
Inventor
小島 博
博 小島
雅人 真鍋
雅人 真鍋
譲 坂東
譲 坂東
Current Assignee (The listed assignees may be inaccurate. Google has not performed a legal analysis and makes no representation or warranty as to the accuracy of the list.)
Togawa Rubber Co Ltd
Original Assignee
Togawa Rubber Co Ltd
Priority date (The priority date is an assumption and is not a legal conclusion. Google has not performed a legal analysis and makes no representation as to the accuracy of the date listed.)
Filing date
Publication date
Application filed by Togawa Rubber Co Ltd filed Critical Togawa Rubber Co Ltd
Priority to JP2018223505A priority Critical patent/JP6781237B2/ja
Publication of JP2020085191A publication Critical patent/JP2020085191A/ja
Application granted granted Critical
Publication of JP6781237B2 publication Critical patent/JP6781237B2/ja
Active legal-status Critical Current
Anticipated expiration legal-status Critical

Links

Images

Landscapes

  • Joints Allowing Movement (AREA)

Description

本発明は、共に筒状の第1部材と第2部材とで環状のゴム部材を挟み、流体の流路を形成する第1流路部材および第2流路部材の間に接続される防振継手、および、このような防振継手を用いた防振継手構造に関する。
従来、このような防振継手および防振継手構造としては、例えば以下の特許文献に記載されたものがある。この防振継手は、地震等の衝撃が生じた場合に、継ぎ手部のフランジ面に曲げモーメントが集中してフランジどうしを繋げているボルトやパッキンが破損するのを防止しようとするものであり、一対の鉄製のフランジ板の間に合成繊維や金属板などの積層材を埋設したゴム部材が取り付けられている。この一対のフランジ板が、連結する夫々の配管の第1流路部材および第2流路部材のフランジにボルトを用いて連結される。
このように構成することで、第1流路部材のフランジおよび第2流路部材のフランジはゴム部材を介して連結され、双方のフランジの剪断変位が可能となる。そのため、ボルトが破壊されず地震等に耐えうる防振継手の実現が可能とされている(特許文献中〔0003〕〜〔0005〕参照)。
特開平9−96388号公報
上記従来技術では、ゴム部材の中に積層材が埋設されているが、このような積層材はゴム部材の全体の剛性を高め、流路の内圧が高まったときにゴム部材が径外方向に膨張するのを抑制すると考えられる。
ただし、この従来技術の場合、振動に基づいて第1部材と第2部材とが軸芯と直角な方向に相対変位するとき、その変位方向は、第1部材とゴム部材との接続面の面方向および第2部材とゴム部材との接続面の面方向と一致する。つまり、ゴム部材と第1部材等とは両者の接着が最も剥がれ易い面方向に沿って最大の変位を伴うこととなり、ゴム部材が最も剥がれ易い状態となる。よって、防振継手の耐久性の点で改善の余地がある。
また、防振継手の軸芯の方向に対して垂直な方向に振動が生じたとき、第1部材および第2部材はゴム部材の変形を伴いつつ相対移動する。このとき、ゴム部材の大部分の領域には引張変形が生じ、第1部材および第2部材の慣性力とゴム部材の引張力とが均衡するまでフランジが移動する。ゴム部材は一般に伸張性に優れているため、このようなゴム部材の引張力によって第1部材と第2部材の相対移動を止める構成では、フランジどうしの移動距離は大きくなりがちである。
このように、上記従来の防振継手および防振継手構造では、耐久性の観点および振動減衰の観点についてみたとき一定の限界があり、長期に亘って高い防振効果を維持できる防振継手等が求められている。
(特徴構成)
本発明に係る防振継手の特徴構成は、
流体の流路を形成する第1流路部材および第2流路部材の間に接続されるべく、
前記第1流路部材に接続される第1端部を有する筒状の第1部材と、
前記第2流路部材に接続される第2端部を有する筒状の第2部材とを備え、
前記第1部材に、前記流路の軸芯に直行する平面に対して傾斜する傾斜領域を備えた第1接続面が設けられ、
前記第2部材に、前記第1接続面の傾斜領域の各点に対して前記軸芯と平行な方向に対向する各点を持つ対向領域を備えた第2接続面が設けられ、
前記傾斜領域の各点と前記軸芯に平行な方向における前記対向領域の各点との距離が、前記軸芯から遠ざかるほど狭くなるか等しくなるように構成してあり、
前記第1接続面の径方向内側縁部と前記第1部材の内周面とを接続する曲面部、および、
前記第1接続面の径方向外側縁部と前記第1部材の外周面とを接続する曲面部、および、
前記第2接続面の径方向内側縁部と前記第2部材の内周面とを接続する曲面部、および、
前記第2接続面の径方向外側縁部と前記第2部材の外周面とを接続する曲面部が設けてあり、
前記第1接続面および前記第1接続面に接続された二つの前記曲面部と、
前記第2接続面および前記第2接続面に接続された二つの前記曲面部と、を接続し、その外周面が前記第1部材の外周面および前記第2部材の外周面と連続し、その内周面が前記第1部材の内周面および前記第2部材の内周面と連続する環状のゴム部材を備え、
前記軸芯を含む平面での断面視において、
前記第1接続面の一部と前記第2接続面の一部とが前記軸芯の延出方向に沿ってオーバーラップしている点にある。
(効果)
本構成の如く第1接続面を傾斜させることで、第1部材や第2部材に対してゴム部材を接続する場合に、従来のように流路の軸芯に垂直な面でゴム部材を接続する場合に比べてゴム部材の接続面積が大きくなる。よって、ゴム部材の接続強度が向上し、防振継手の耐圧性能が向上する。
また、第1部材と第2部材とが軸芯に対して垂直な方向に変位するような場合に、第1接続面が傾斜していることで、第1部材からゴム部材を介して第2部材に振動が伝達わる際にゴム部材が幾分かの圧縮を受ける。圧縮時のゴム部材の変形量は、一般に引張時の変形量に比べて小さくなる傾向にあるから、第1部材と第2部材との相対変位が所定の範囲に押さえられる。よって、防振継手が過度に変形せず、特にゴム部材の耐久性を向上させることができる。
特に、傾斜領域と対向領域との距離が軸芯から遠去かるほど狭くなる場合には、流体の内圧がゴム部材の内周面に作用した際に、ゴム部材が径外方向に変位しようとするのを傾斜領域と対向領域とで強く阻止するから、ゴム部材の変位を最小限に留めることができる。よって、第1部材および第2部材とゴム部材との接着状態が長期に亘って維持される。
また、傾斜領域と対向領域との距離が軸芯からの距離に拘わらず等しい場合には、ゴム部材の製造が容易になる。このゴム部材は、例えば薄板長尺状のゴム素材を芯材に巻き付けて形成する。例えば、円筒表面を有する芯材を第1部材に挿通し、芯材の円筒表面が第1接続面から突出する状態に固定する。この芯材の突出部分に、所定の幅および円筒表面の外周長さを有するゴム素材を巻き付ける。この時、ゴム素材の縁部を第1接続面に接触させ、ゴム素材の巻き付け作業の案内部として利用する。第1層の巻き付け作業が終了すると次の第2層を同様に重ねて巻く。このようにゴム素材を巻き付ける際に、傾斜領域と対向領域との距離を等しくすることで、巻き付け層の位置に拘わらず同じゴム素材を用いることができ、ゴム素材の管理や巻き付け作業を簡略化することができる。
さらに、本構成の防振継手においては、以下の四つの部位、即ち、前記第1接続面の径方向内側縁部と前記第1部材の内周面との間、および、前記第1接続面の径方向外側縁部と前記第1部材の外周面との間、および、前記第2接続面の径方向内側縁部と前記第2部材の内周面との間、および、前記第2接続面の径方向外側縁部と前記第2部材の外周面との間に、互いを接続する曲面部が設けてあり、前記第1部材の外周面と前記ゴム部材の最外面との間、および、前記第1部材の内周面と前記ゴム部材の最内面との間、および、前記第2部材の外周面と前記ゴム部材の最外面との間、および、前記第2部材の内周面と前記ゴム部材の最内面との間に、前記軸芯の方向に沿って前記ゴム部材の長さを伸ばした領域が形成してある。
本構成のように第1部材と第2部材に曲面部を設け、第1部材の外周面とゴム部材の最外面および第1部材の内周面とゴム部材の最内面との間に、軸芯の方向に沿ってゴム部材の長さを伸ばした領域を形成し、第2部材についても同様に構成することで、第1部材および第2部材とゴム部材との接触面積が拡大される。よって、ゴム部材の接着強度が高まる。特に、ゴム部材の内面側では、流路の内圧によってゴム部材が径方向外側に押され、ゴム部材が第1接続面の内側縁部および第2接続面の内側縁部に押し付けられることとなり、ゴム部材が剥離するのを抑えることができる。
加えて、第1接続面の一部と第2接続面の一部とが軸芯の延出方向に沿ってオーバーラップしている場合、防振継手の軸心に対して垂直な方向から第1部材あるいは第2部材に振動が加えられたとき、例えば第1接続面から生じた振動はゴム部材を介して確実に第2接続面に伝達される。よって、第1部材と第2部材とが協働して振動の吸収効果が高められる。
また、ゴム部材が前記軸芯と直交する方向に延び変形する量が抑えられ、ゴム部材の耐久性が向上する。
さらに、第1部材の軸芯と第2部材の軸芯とがずれ難くなる結果、流体の流通抵抗が小さくなる。
(特徴構成)
本発明に係る防振継手においては、前記傾斜領域および前記対向領域を円錐面で構成することができる。
(効果)
本発明の防振継手では、ゴム部材との接続面を軸芯に対して垂直にするのではなく傾斜させている。その場合、第1接続面や第2接続面は、軸芯の延出方向に沿って突出したり窪んだりした形状になる。本構成のように、傾斜領域および対向領域を円錐面にすることで、球面や曲面を形成することに比べて加工が容易となる。よって、製品精度も一定に維持し易くなる。
削除
削除
削除
(特徴構成)
本発明に係る防振継手構造においては、上記何れかの防振継手につき、
前記軸芯を含む平面での断面視において、
前記第1接続面を、前記径方向内側縁部が前記径方向外側縁部よりも前記第2部材の側に膨らんだ凸状に形成すると共に、
前記第2接続面を、前記径方向内側縁部が前記径方向外側縁部よりも前記第1部材から離れる側に窪んだ凹状に形成し、
前記第1流路部材および前記第2流路部材のうち、前記流体を流通させる際に、振動の小さい方の部材に前記第1部材を接続する点に特徴を有する。
(効果)
例えば、凸状の第1接続面を有する第1部材が振動の生じ易い第2流路部材に接続されると共に、凹状の第2接続面を有する第2部材が振動の生じ難い第1流路部材に接続され、かつ、第1部材が流路の軸芯に対して垂直な方向に加振される場合を想定する。この場合、第2部材に比べて第1部材の振動が大きくなり、加振された第1部材は、加振方向に並進運動するとともに、ゴム部材の何れかの場所が支点となって回転運動する。その結果、円環状のゴム部材のうちの特定箇所には、並進運動に基づく圧縮変形と、回転運動に基づく圧縮変形とが重畳される。一方、ゴム部材のうち当該位置と径方向に沿った反対側には両運動に基づく引張変形が重畳される。このようにゴム部材の特定箇所の夫々が強く圧縮されあるいは強く引張られることで、当該ゴム部材では振動が吸収しきれず、相手方の部材に振動が伝達されることとなる。
一方、第1部材が第1流路部材に接続されると共に、第2部材が第2流路部材に接続され、かつ、第2部材が流路の軸芯に対して垂直な方向に加振される場合には異なる態様となる。つまり、環状のゴム部材のうち、第2部材の並進運動によって圧縮変形が生じる場所には、回転運動によって引張変形が生じ、第2部材の並進運動によって引張変形が生じる場所には、回転運動によって圧縮変形が生じる。このため、圧縮変形と引張変形が一部相殺されて振動が大幅に緩和される。
第1実施形態に係る防振継手の構成を示す一部断面斜視図 防振継手におけるゴム部材の各種構成を示す説明図 防振継手の製造過程を示す一部断面斜視図 ゴム部材の内外周面に形成する曲面部の構成を示す断面図 第2実施形態に係る防振継手の構成を示す一部断面斜視図 第2実施形態に係る防振継手の製造過程を示す説明図 防振性能試験の実施要領を示す説明図 防振性能の方向性を示すグラフ ゴム部材に作用する外力の様子を示す説明図 防振性能試験の結果を示すグラフ 他の実施形態に係る防振継手の構成を示す断面図 他の実施形態に係る防振継手の構成を示す断面図
〔第1実施形態〕
〔概要〕
本発明に係る防振継手Jの概要を図1乃至図12に基づいて説明する。
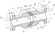
図1には、第1実施形態に係る防振継手Jの構造を示す。図1に示すように、当該防振継手Jは、流体の流路Rを形成する第1流路部材P1および第2流路部材P2を接続して両部材間での振動伝達を低減するものである。防振継手Jは筒状の三つの部材、即ち、第1流路部材P1に接続される第1部材1と、第2流路部材P2に接続される第2部材2、さらに、これら第1部材1と第2部材2との間に一体形成されるゴム部材Gとを有する。第1部材1の端部には第1流路部材P1に接続するためのフランジ状の第1端部11が設けられている。第2部材2の端部には第2流路部材P2に接続するための同じくフランジ状の第2端部21が設けられている。
第1部材1とゴム部材Gとの間には第1接続面1Fが設けられ、第2部材2とゴム部材Gとの間には第2接続面2Fが設けられる。本実施形態では、第1接続面1Fと第2接続面2Fのうち少なくとも何れか一方が、流路Rの軸芯Xに直行する平面に対して傾斜する傾斜領域1Aを備えている。こうすることで、従来の防振継手Jのように、ゴム部材Gの両端部の接続面が共に流路Rの軸芯Xに直行する平面となっているものに比べて、ゴム部材Gの接続面積が増大する。よって、防振継手Jにおいてゴム部材Gに剥離が生じる可能性が低減され、耐圧性能に優れた防振継手Jが得られる。
以下には、傾斜領域1Aが設けられた部材を第1部材1として説明する。尚、第2部材2に傾斜領域1Aが設けられていても構わない。傾斜領域1Aとは、流路Rの軸芯Xに垂直な面に対して傾斜している領域をいう。よって、傾斜領域1Aは、例えば円錐状であっても良いし曲面状であっても良い。何れもゴム部材Gと第1接続面1Fとの接続面積を増やすことができる。
また、本実施形態の防振継手Jでは、第1部材1が傾斜領域1Aを備えていることに加えて以下の構成を必要である。つまり、傾斜領域1Aと、この傾斜領域1Aに対して軸芯Xと平行な方向に位置する第2接続面2Fのうちの対向領域2Aと、の距離Lが、軸芯Xから遠ざかるほど狭くなるか等しくなるように構成する。
つまり、軸芯Xから径外方向に遠去かるほど第1接続面1Fと第2接続面2Fとの距離Lが狭くなれば、ゴム部材Gの内面に流体の圧力が作用した場合に、第1接続面1Fと第2接続面2Fとによるくさび効果が発揮され、ゴム部材Gが径外方向に変位するのを第1接続面1Fと第2接続面2Fとで効果的に阻止できるからである。
また、傾斜領域1Aと対向領域2Aとの距離Lが、軸芯Xから径外方向の位置に拘わらず同じであれば、上記くさび効果でゴム部材Gの膨らみを防止する効果は期待できない。しかし、第1接続面1Fとゴム部材Gとの接続面積、および、第2接続面2Fとゴム部材Gとの接続面積は傾斜によって広がるため、従来技術に比べて耐圧性は改善される。
図2(a)〜(f)には傾斜領域1Aの具体例を示す。尚、これらの図においては防振継手Jの一部を拡大表示している。ゴム部材Gは軸芯Xに対して紙面上方に位置する部位のみを示している。また、紙面左側が第1部材1であり、紙面右側が第2部材2である。
図2(a)は、第1接続面1Fにおける傾斜領域1Aと、これに対応する第2接続面2Fの対向領域2Aとが、軸芯Xに垂直な平面に対して互いに反対側に傾斜し、双方の距離Lが径方向の外側程狭くなっている例である。この構成では、ゴム部材Gに流体の内圧が作用した場合でも、ゴム部材Gは第1接続面1Fと第2接続面2Fとによって確実に膨張を止められるから耐圧性が向上する。
また、本構成の場合、第1部材1と第2部材2とが軸芯Xの方向に沿った防振継手Jの中央を挟んで略対称形となる。よって、詳細は後述するが、防振継手Jを所定の流路Rに装着する際に方向性を考慮する必要がない。さらに、第1部材1と第2部材2とを共通化できるため製造コストの削減も可能である。
尚、図2(a)では第1接続面1Fと第2接続面2Fとを共に円錐状に構成したが、この構成に限られず次のように規定しても良い。即ち、ゴム部材Gにおける軸芯Xの延出方向に沿う長さのうち、最内面GF1における長さL1を最外面GF2における長さL2よりも大きく構成する。この場合、第1接続面1Fおよび第2接続面2Fは曲面であっても良い。また、最内面GF1と最外面GF2との間の位置においては、ゴム部材Gの長さLが、最内面GF1の長さL1より長くなっていてもよいし、最外面GF2の長さL2より短くなっていても良い。
本構成であれば、軸芯Xを含む平面での断面視において、ゴム部材Gの形状が径方向の外側に向かうほど先細状になる部位が必ず存在する。よって、流体の圧力がゴム部材Gの最内面GF1に作用し、ゴム部材Gを外側に膨張させようとする場合に、傾斜領域1Aと対向領域2Aとによってゴム部材Gの径外方向への変位が効果的に阻止される。この結果、防振継手Jの耐圧性能が向上する。
図2(b)は、傾斜領域1Aと対向領域2Aとが径方向外方に位置するほど互いに接近するものであり、双方の領域が軸芯Xに垂直な面に対して同じ方向に傾斜している例である。本構成の場合、第1部材1と第2部材2とが軸芯Xに対して垂直方向に相対変位するとき、ゴム部材Gが第1接続面1Fと第2接続面2Fとで挟み込まれる。よって、例えば流体の流路Rから第1部材1に振動が加えられる場合、当該振動はゴム部材Gを介して第2部材2に伝達される。よって、第1部材1と第2部材2とが協働して防振効果を発揮することとなる。
図2(c)は、第1部材1に傾斜領域1Aが形成されるのに対し、第2部材2の対向領域2Aは軸芯Xに垂直な面で構成される例である。この場合にも、ゴム部材Gに流路Rからの内圧が作用したとき、ゴム部材Gの膨張が有効に抑えられる。また、第2部材2の第2接続面2Fは軸芯Xに対して垂直面であるから加工が極めて容易である。
図2(d)は、第1接続面1Fが二つの傾斜面を有する例である。このうち本構成でいう傾斜領域1Aは、図2(d)に強調線を記した軸芯Xに近い領域である。つまり、第1接続面1Fに対して軸芯Xの延出方向に対向する領域をみたとき、軸芯Xから径外方向に遠去かるほど距離Lが狭くなるか等しいのは強調線を記した領域のみとなる。このように、傾斜領域1Aに該当するのはゴム部材Gの径方向に沿った肉厚のうち約半分であるが、この傾斜領域1Aでは、上記くさび効果が発揮される。よって、図2(d)の場合でも、良好な耐圧性能を有する防振継手Jを得ることができる。
図2(e)も第1接続面1Fに二つの傾斜領域1Aを有する例である。この例では、径方向における肉厚の外側半分では、第1接続面1Fと第2接続面2Fとが平行に形成されている。よって、この外側の領域も、本実施形態における傾斜領域1Aと対向領域2Aとなる。この外側の傾斜領域1Aではくさび効果は期待できない。ただし、傾斜していることで、第1接続面1Fとゴム部材Gとの接着面積、および、第2接続面2Fとゴム部材Gとの接着面積は広くなっているから、この領域によっても耐圧効果の向上が期待できる。
図2(f)は、第1接続面1Fに傾斜面が二つ設けられている点では図2(e)と同じである。ただし、図2(f)では、内側半分において第1接続面1Fと第2接続面2Fとが平行であり、外側半分においては、両接続面どうしの長さLが外側に向けて広がっている。本構成では、内側半分だけが傾斜領域1Aと対向領域2Aとを形成する。当該領域では、傾斜領域1Aと対向領域2Aとが平行であるため、当該領域における第1部材1とゴム部材Gとの接着力の向上が期待できる。よって、防振継手Jの耐圧性能を向上させることができる。
図3には、防振継手Jを作製する例を示す。防振継手Jのうち第1部材1および第2部材2は所定の金属材料等を用いて構成する。金属材料の場合には、内部に流通させる流体に応じて耐食性能や耐熱性能さらには熱伝導特性等を勘案して適宜選択すると良い。例えばSUS304等のステンレス鋼材を使用することができる。因みに、金属材料の他に樹脂材料を用いることもできる。
ゴム部材Gは、図3に示すように、薄板状のゴム素材Gaを第1部材1と第2部材2との間で巻き重ねて形成する。その際には、第1部材1に芯材3を挿通し、この芯材3にゴム素材Gaを巻き重ねる。各層のゴム素材Gaの長さは各層においてちょうど1周分の長さとなるように設定される。長手方向の両端部はテーパ状に形成され、端部どうしを重ねて接着強度を確保するとともに、重ね部分の厚みが過大となるのを防止している。ゴム素材Gaの端部どうしの接続部は、各層において周方向に沿って異なる位置となるように設定してある。これにより、ゴム部材Gの仕上がり形状が極めて円筒面に近いものとなる。
また、ゴム部材Gの巻付作業を容易にするために、図3に示すように、第1部材1と第2部材2のうち接続面が径方向外側の位置ほど端部の側に変位している部材を用いて巻付作業を行うのが良い。図3は、凸状の第1接続面1Fが形成された第1部材1に各層で均等幅のゴム素材Gaを巻き付けている状態を示す。各層の巻き付け時には、ゴム素材Gaの縁部を第1接続面1Fに当接させながら巻き付けると他方の縁部も整った傾斜部を形成する。特にゴム素材Gaの幅が各層で同じであれば、ゴム素材Gaの準備や在庫管理が容易であり、製造コストを削減することができる。
ゴム素材Gaの積層に先立ち、第1部材1の第1接続面1Fおよび第2部材2の第2接続面2Fは、例えばサンドブラスト処理を施して面粗度を高めておく。また、ゴム素材Gaの積層に際しては、ゴム素材Gaどうしの間と、第1接続面1Fとゴム素材Gaとの間、および、第2接続面2Fとゴム素材Gaとの間には所定の接着剤を塗布しておく。これらにより、第1部材1および第2部材2に対してゴム素材Gaを強固に接続することができる。
ゴム素材Gaを巻き重ねたあと、図外の第2部材2を芯材3に挿入し、第1部材1とゴム部材Gと第2部材2とを所定の位置関係に保持した状態で加熱炉に投入し、所定の加熱条件にて加硫処理を行う。
尚、ゴム部材Gを構成するゴム材料としては、弾性特性や耐食性、耐熱温度、さらには、第1部材1・第2部材2との接着性能等に応じて適宜選択可能である。特に、流体に当接する最内層の材質は耐食性などを考慮して決定する。通常はニトリルゴム(NBR)を用いることが多い。
図1に示す例では、傾斜領域1Aおよび対向領域2Aを円錐面とし、双方の領域を平行に形成してある。第1接続面1Fおよび第2接続面2Fは、通常、研削加工によって成形するが、このように傾斜領域1Aおよび対向領域2Aを円錐面にすることで、球面や曲面を形成することに比べて第1接続面1Fおよび第2接続面2Fの加工が容易となる。よって、両接続面の精度が一定に維持され、ゴム部材Gとの密着程度が向上する。
また、傾斜領域1Aと対向領域2Aとが平行に形成されていると、例えば、第1部材1と第2部材2とに対して軸芯Xに対して垂直な方向に第1部材1と第2部材2とが相対変位する場合、傾斜領域1Aと対向領域2Aとの間にあるゴム部材Gが、軸芯Xに対して同一の径方向外方にある何れの部位においては引張・圧縮が均等に生じる。よって、変形が最内層や最外層の特定個所に集中することが緩和され、ゴム部材Gが破損し難くなって防振継手Jの耐久性を高めることができる。
さらに、このような軸芯Xと直交する方向の変位に対して防振継手Jの耐久性を高める場合には、図1に示すように、第1接続面1Fの一部と第2接続面2Fの一部とが、軸芯Xを含む平面での断面視において、軸芯Xの延出方向に沿ってオーバーラップするように構成すると良い。
本構成であれば、第1部材1あるいは第2部材2に対して軸芯Xに対して垂直な方向に振動が加えられたとき、例えば第1接続面1Fから生じた振動はゴム部材Gを介して確実に第2接続面2Fに伝達される。よって、第1部材1と第2部材2とが協働して振動吸収を行うこととなり、ゴム部材Gが軸芯Xと直交する方向に過度に延び変形する量が抑えられてゴム部材Gの耐久性が向上する。また、第1部材1と第2部材2とが芯ずれし難くなる結果、流体の流通抵抗が小さくなるという効果も得られる。
図4に示すように、ゴム部材Gの最内面GF1および最外面GF2には軸芯Xの方向に沿ってゴム部材Gの長さを伸ばした領域を設けることができる。具体的には、第1接続面1Fの径方向内側の縁部と径方向外側の縁部、および、第2接続面2Fの径方向内側の縁部と径方向外側の縁部のうち少なくとも何れか一つの縁部に、第1部材1にあっては、第1接続面1Fと第1部材1の外周面12あるいは内周面13とを滑らかに接続し、第2部材2にあっては、第2接続面2Fと第2部材2の外周面22あるいは内周面23とを滑らかに接続する曲面部4を設けておく。つまり、軸芯Xを含む平面での断面視において、図4に示すように、ゴム部材Gの最内面GF1の近傍と最外面GF2の近傍とを鼓状に幅広に構成することで、第1部材1とゴム部材Gとの接触面積あるいは第2部材2とゴム部材Gとの接触面積を増大させる。
例えば、第1部材1と第2部材2とがゴム部材Gを挟んで折れ曲がるように相対変位する場合に、当該折れ曲がりの凸部に位置するゴム部材Gの最外面GF2の近傍には特に大きな引張変形が生じる。そこで、本構成のように最外面GF2の近傍に曲面部4を設けて接着面積を増やすことで、ゴム部材Gの接着面に作用する単位面積当たりの応力を低減し、ゴム部材Gが剥離するのを防止している。
一方、ゴム部材Gの最内面GF1においては、ゴム部材Gの引張・圧縮変形が生じる他、内部を流通する流体が有する粘性によってもゴム部材Gの縁部が第1部材1等から剥がれ易くなる。その点、最内面GF1の縁部に曲面部4を設けることで、流路Rの内圧によってゴム部材Gが径方向外側に押圧され、ゴム部材Gと第1接続面1Fおよび第2接続面2Fとの当接力が高まってゴム部材Gの剥離が抑えられることとなる。
〔第2実施形態〕
本発明に係る防振継手Jの第2実施形態を図5に示す。この防振継手Jでは、ゴム部材Gの内部に、ゴム部材Gよりも硬質の材料で構成された環状部材5を備えている。環状部材5は、ゴム部材Gの内部に埋設した状態に設けられる。これにより、例えば振動が第1部材1に加わった場合に、この振動を受けたゴム部材Gが環状部材5を伴って振動する。環状部材5は、ゴム部材Gと異なった硬さを備える他、ゴム部材Gとは異なる比重を有することが多い。よって、環状部材5が一種のカウンタウェイトのように作用し、ゴム部材Gの振動を吸収する機能を発揮する。この結果、ゴム部材Gから第2部材2に伝達される振動が効果的に低減される。
環状部材5としては、例えば、金属材料で形成された板状のリング素材51を何枚か積層して構成することができる。また、金属材料の代わりに樹脂材料を用いても良い。リング素材51の形状は、板状のものであっても良いし線状や網状のものであっても良い。また、複数のリング素材51の間にゴム材料等を配した充填層52を設けて予め一つの環状部材5を形成しておき、この環状部材5をゴム部材Gの内部に埋設することもできる。リング素材51の間に充填するゴム材料は、ゴム部材Gを形成するものと同じであっても良いし別種類のものであっても良い。
図6に示すようにゴム部材Gの内部に環状部材5を設ける場合、環状部材5を挟んだ両側のゴム部材Gは夫々の領域ごとに積層する。まずは、芯材3に第1部材1を挿通し、この芯材3の表面に最内層を形成するゴム素材Gbを巻き付ける。特に、ゴム部材Gの最内面GF1は流体に触れるため耐食性等を有する必要がある。よって、通常はニトリルゴム(NBR)等の材料を用いるとよい。
このように最内層のゴム素材Gbを巻き付けた後、まず、第1部材1の第1接続面1Fをガイドにして、環状部材5と第1接続面1Fとの間のゴム素材Gaを積層する。ゴム素材Gaは、各層毎に予め所定の幅に形成しておき2〜3層を積層する。積層されたゴム素材Gaの開放側の縁部は軸芯Xに垂直な面となる。
次に、この縁部の垂直な面に当接させつつ最内層のゴム素材Gbの外側に、予め形成しておいた環状部材5を外挿する。環状部材5は芯材3の端部から挿入する。
環状部材5の位置が決まると、第1部材1の側にあっては、第1接続面1Fと環状部材5の端面とに当接させながら、ゴム素材Gaをさらに巻き重ねる。一方、環状部材5を挟んだ反対側にもゴム素材Gaを巻き重ねる。こちらは、ゴム素材Gaを環状部材5の端面にのみ当て付けながら巻き重ねる。第2部材2の第2接続面2Fが第1接続面1Fと平行である場合には、積層されたゴム素材Gaの開放側の縁部は第2接続面2Fと密着するように所定の傾斜面となる。尚、第1実施形態と同様に、第1部材1および第2部材2には予めサンドブラスト処理を施しておき、ゴム素材Gaの積層に際しては所定の接着剤を用いる。
〔耐圧試験および振動試験〕
このように形成した各種の防振継手Jに対して耐圧試験を行った。耐圧試験は、船舶設計基準付属図書(SD20610-20B)3.1.5(1)項「耐圧試験」に準じた。防振継手Jは図4に示す構成のものを用いた。第1端部11と第2端部21とを流体配管の途中に接続し、内部の流体を加圧した。加圧は、0.5MPaと1.0MPaとの2条件で行った。加圧状態で耐圧時間である10分間の保持を行い、流体の漏れがないことを確認した。
次に、船舶設計基準付属図書(SD20610-20B)3.1.5(2)項「繰り返し試験」を行った。図7に示すように、防振継手Jの一方の端部を固定し、他方の端部に加振機6を取り付けて繰り返し振動を付与した。繰り返し振動は、軸芯Xに対して垂直方向に付与した。加える振動の周波数は10Hz〜200Hzとし、10Hzから200Hzまでを5分間で変化させた。繰り返し振動の加速度は2m/sとした。加振は一方の部材で行い、ゴム部材Gを介して伝達された振動を他方の部材に設けた振動センサで計測した。
図8および図10には繰り返し試験の結果を示す。図8は、加振する部材を第1部材1と第2部材2とに入れ替えた場合の試験結果を示す。図10は、三種類の防振継手Jに係る試験結果を比較したグラフである。何れも、横軸が振動センサで得られた振動の周波数であり、縦軸が振動伝達された部材の加速度を示す。
〔防振継手の方向性〕
図8の試験では図4に示す防振継手Jを用いた。第1部材1および第2部材2はSUS304で形成してある。また、ゴム部材Gはニトリルゴム(NBR)を用いている。図8によれば、凸状の第1接続面1Fを有する第1部材1を加振した場合(図8中の点線)、加振周波数が大きくなるほど第2部材2に伝達される加速度が大きくなり、所定の周波数で第2部材2に生じる振動が最大となった。
一方、凹状の第2接続面2Fを有する第2部材2を加振した場合(図8中の実線)には、加速度が最大となる周波数が低くなると共に、加速度の最大値も約半分となった。
この試験で加えた振動は軸芯Xに垂直な方向の繰り返し振動であるから、第1部材1と第2部材2との相対変位だけを考えれば、何れの部材を加振しても結果は等しくなるはずである。ただし、図7に示すように、防振継手Jの一方の端部に接続した加振機6で繰り返し振動を付与する場合、少なくとも加振機6に接続されている部材の運動は並進運動のみならず、ゴム部材Gの中央近傍の位置を中心とした回転運動が加わる。そのため、振動の伝達態様に方向性が生じると考えられる。
この方向性が生じる理由について図9に示す。例えば、凸状の第1接続面1Fを有する第1部材1に振動が印加され、凹状の第2接続面2Fを有する第2部材2に振動が伝達される場合を図9(a)乃至図9(c)に示す。図9(a)は、第1部材1が上方に加振された直後に上方に向けて並進運動する状態を示す。第1部材1が上方に並進し、第2部材2との間で、図中上方のゴム部材Gが圧縮変形している。図9(b)は、上方に加振された第1部材1がゴム部材Gの例えば中央位置を中心に回転運動する状態を示す。これにより、ゴム部材Gのうち上方の部位が圧縮され、下方の部位が引っ張られる。図9(c)は、図9(a)および図9(b)の状態を重ねたものである。これによれば、第1部材1の並進運動と回転運動とによって、ゴム部材Gの上方部位ではゴム部材Gが強い圧縮を受け、下方部位では強い引張りを受けることがわかる。
一方、図9(d)乃至図9(f)には、凹状の第2接続面2Fを有する第2部材2に振動が印加される例を示す。図9(d)は、第2部材2が上方に加振された直後に上方に向けて並進運動する状態を示す。第2部材2が上方に並進し、第1部材1との間で、図中下方のゴム部材Gが圧縮変形している。図9(e)は、上方に加振された第2部材2が回転運動する状態を示す。これにより、ゴム部材Gのうち上方の部位が圧縮され、下方の部位が引っ張られる。
図9(f)は、図9(d)および図9(e)の状態を重ねたものである。これによれば、第2部材2の並進運動と回転運動とによって、ゴム部材Gの上方部位ではゴム部材Gが圧縮を受け、下方部位では引張りを受けることがわかる。ただし、第2部材2の場合には、圧縮を受ける場所および引張を受ける場所が夫々分散されるので、第1部材1に振動が印加される場合に比べて圧縮および引張の程度は小さい。つまり、第2部材2の側に振動が印加される場合の方が、他方の部材に伝達される振動が小さくなる。
このように本構成の防振継手Jは、取付態様によっては防振効果に差が生じる。よって、第1流路部材P1と第2流路部材P2の間に当該防振継手Jを接続する場合、流体を流通させる際に発生振動の少ない流路部材に、凸状の第1接続面1Fを有する第1部材1を接続する。
尚、第1部材1および第2部材2は、流体を供給するポンプや配管、あるいは、配管の途中に設けられる圧力計など各種の部材をいう。よって、例えば、ポンプに配管を接続する部位に当該防振継手Jを設ける場合には、通常は、重量が重く振動が生じ難いポンプに第1部材1を接続し、配管に第2部材2を接続する。
このような防振継手Jの方向性については、ゴム部材Gの形状の他に、第1部材1および第2部材2の重量や重心位置、さらには、ゴム部材Gの弾性特性など、他のパラメータの差によっても変化する可能性がある。よって、防振継手Jの接続の方向性を決定する場合には、上記パラメータに応じて個々に設定することが望ましい。
本実施形態の防振継手Jは、第1部材1および第2部材2の何れかに傾斜領域1Aを設けることで流体に対する耐圧性能を付与するものである。ただし、ゴム部材Gの構成や種類を変えることでさらに防振性能を変化させることができる。以下にはその幾つかの例を示す。
図10は、3種類の防振継手Jに対して上記条件で繰返振動を印加した場合の結果である。用いた防振継手Jは、何れも第1接続面1Fおよび第2接続面2Fが互いに平行な円錐面を有する。そのうちの一つは、ゴム部材GがNBRのみで構成されたもの(TP1)であり、他の二つは、ゴム部材Gの内部に環状部材5が埋設されたものである。環状部材5を設けたもののうちの一方が、ゴム部材GとしてNBRを用いたもの(TP2)であり、他方が、合成ゴムであってNBRとは異なる特殊ゴムを用いたもの(TP3)である。
加振は上記条件にて行い、凸状の第1接続面1Fを有する第1部材1に繰り返し振動を印加した。その結果、第2部材2で計測された最大振幅となる周波数は、夫々で異なっていた。図10に示すように、最大振幅を示す周波数が最も高かったのがTP1(図10中の点線)である。環状部材5を埋設したTP2(図10中の実線)およびTP3(図10中の一点鎖線)は、それよりも低い周波数で最大振幅を示した。TP1とTP2とはゴム部材Gの材料がNBRで共通であるため、周波数の差は環状部材5の有無によるものである。この結果から、環状部材5を埋設することで第2部材2に伝達される最大振幅の振動の周波数を下げる設計が可能であることがわかる。また、周波数が低下するとともに最大振幅が小さくなり、振動吸収機能が高まることがわかる。これは、環状部材5を埋設することで環状部材5が一種のカウンタウェイトのように作用し、ゴム部材Gの全体としての弾性特性が変化することに基づくと考えられる。
TP3については、第2部材2での振動が略抑えられ、優れた防振効果が発揮されていることがわかる。TP2とTP3とではゴム部材Gを形成するゴム材料が異なり、TP2ではNBRが用いられておりTP3では特殊ゴムが用いられている。
このようにゴム部材Gの構成を変更することで、防振継手Jを介して伝達される振動の周波数特性を適宜設定することができる。よって、防振継手Jを設置する配管の振動特性等に応じてゴム部材Gの構成を設定することで、高い防振機能を有する配管継手を構成することができる。
〔他の実施形態〕
ゴム部材Gの内部に埋設する環状部材5としては、例えば図11に示すように、断面形状がT形の部材を埋設するものであっても良い。特に、図11に示すように、内面の側に筒状部53を配置することで、流路Rの内圧に対してゴム部材Gが径外方向に向けて局所的に膨張することが阻止され、ゴム部材Gの耐圧性を向上させることができる。また、ゴム部材Gの最内面GF1の近傍の部位全体が流体の圧力に抵抗するからゴム部材Gの耐圧性が向上する。
また、筒状部53から径外方向に向けて突出する鍔部54を設けることで、ゴム部材Gの変形の自由度を低下させ、ゴム部材Gの全体の弾性特性を変化させることができる。つまり、断面形状がT字形であっても上記環状部材5を埋設したのと同等の効果を得ることができる。このような断面T形の環状部材5であれば、比較的構成が簡単で、耐圧性能および防振性能に優れた防振継手Jを安価に得ることができる。
図12に示すように、防振継手Jには第1ゴム部材G1と第2ゴム部材G2との二つを設けることもできる。第1ゴム部材G1および第2ゴム部材G2は、例えば上記実施形態と同様に互いに平行な円錐面を備えた形状とし、防振継手Jの長手方向の中央位置を基準にして対称形状となるように配置する。第1部材1の第1接続面1Fに第1ゴム部材G1を接続し、第2部材2の第2接続面2Fに第2ゴム部材G2を接続する。第1ゴム部材G1と第2ゴム部材G2との間には、例えば第1部材1と同じ材質の金属などで構成した第3部材7を接続する。
本構成であれば、第1ゴム部材G1および第2ゴム部材G2で生じる振動減衰効果の差異が相殺され、全体として接続方向に拘わらず安定した振動減衰効果を有する防振継手Jを得ることができる。
尚、第1ゴム部材G1および第2ゴム部材G2としては、上述の材質や形状を付与することができ、また、上述の環状部材5を設けること等も任意である。
本発明に係る防振継手および防振継手構造は、例えば、共に筒状の第1部材と第2部材とで環状のゴム部材を挟み、流体の流路を形成する第1流路部材および第2流路部材の間に接続される防振継手等に対して広く適用することができる。
1 第1部材
11 第1端部
1A 傾斜領域
1F 第1接続面
2 第2部材
21 第2端部
2A 対向領域
2F 第2接続面
4 曲面部
5 環状部材
G ゴム部材
J 防振継手
L 距離
P1 第1流路部材
P2 第2流路部材
R 流路
X 軸芯

Claims (3)

  1. 流体の流路を形成する第1流路部材および第2流路部材の間に接続されるべく、
    前記第1流路部材に接続される第1端部を有する筒状の第1部材と、
    前記第2流路部材に接続される第2端部を有する筒状の第2部材とを備え、
    前記第1部材に、前記流路の軸芯に直行する平面に対して傾斜する傾斜領域を備えた第1接続面が設けられ、
    前記第2部材に、前記第1接続面の傾斜領域の各点に対して前記軸芯と平行な方向に対向する各点を持つ対向領域を備えた第2接続面が設けられ、
    前記傾斜領域の各点と前記軸芯に平行な方向における前記対向領域の各点との距離が、前記軸芯から遠ざかるほど狭くなるか等しくなるように構成してあり、
    前記第1接続面の径方向内側縁部と前記第1部材の内周面とを接続する曲面部、および、
    前記第1接続面の径方向外側縁部と前記第1部材の外周面とを接続する曲面部、および、
    前記第2接続面の径方向内側縁部と前記第2部材の内周面とを接続する曲面部、および、
    前記第2接続面の径方向外側縁部と前記第2部材の外周面とを接続する曲面部が設けてあり、
    前記第1接続面および前記第1接続面に接続された二つの前記曲面部と、
    前記第2接続面および前記第2接続面に接続された二つの前記曲面部と、を接続し、その外周面が前記第1部材の外周面および前記第2部材の外周面と連続し、その内周面が前記第1部材の内周面および前記第2部材の内周面と連続する環状のゴム部材を備え、
    前記軸芯を含む平面での断面視において、
    前記第1接続面の一部と前記第2接続面の一部とが前記軸芯の延出方向に沿ってオーバーラップしている防振継手。
  2. 前記傾斜領域および前記対向領域が円錐面で構成されている請求項1に記載の防振継手。
  3. 請求項1または2に記載の防振継手につき、
    前記軸芯を含む平面での断面視において、
    前記第1接続面を、前記径方向内側縁部が前記径方向外側縁部よりも前記第2部材の側に膨らんだ凸状に形成すると共に、
    前記第2接続面を、前記径方向内側縁部が前記径方向外側縁部よりも前記第1部材から離れる側に窪んだ凹状に形成し、
    前記第1流路部材および前記第2流路部材のうち、前記流体を流通させる際に、振動の小さい方の部材に前記第1部材を接続する防振継手構造。
JP2018223505A 2018-11-29 2018-11-29 防振継手および防振継手構造 Active JP6781237B2 (ja)

Priority Applications (1)

Application Number Priority Date Filing Date Title
JP2018223505A JP6781237B2 (ja) 2018-11-29 2018-11-29 防振継手および防振継手構造

Applications Claiming Priority (1)

Application Number Priority Date Filing Date Title
JP2018223505A JP6781237B2 (ja) 2018-11-29 2018-11-29 防振継手および防振継手構造

Publications (2)

Publication Number Publication Date
JP2020085191A JP2020085191A (ja) 2020-06-04
JP6781237B2 true JP6781237B2 (ja) 2020-11-04

Family

ID=70907306

Family Applications (1)

Application Number Title Priority Date Filing Date
JP2018223505A Active JP6781237B2 (ja) 2018-11-29 2018-11-29 防振継手および防振継手構造

Country Status (1)

Country Link
JP (1) JP6781237B2 (ja)

Also Published As

Publication number Publication date
JP2020085191A (ja) 2020-06-04

Similar Documents

Publication Publication Date Title
US8857800B2 (en) Tank rubber cushion
CN102782359B (zh) 隔振结构体
CN115735069A (zh) 具有内部行程限制器的液压衬套
CN103317990A (zh) 车辆悬架用上支架
JP6781237B2 (ja) 防振継手および防振継手構造
JP3769731B2 (ja) フライホイール
JP5484488B2 (ja) ターボ機械又はピストン機械用のマフラ
JP4061818B2 (ja) 免震装置
JP5238545B2 (ja) 曲管の接合構造
JP2013137088A (ja) 管継手、及びその製造方法
JP6936051B2 (ja) ダイナミックダンパ
JP2006250179A (ja) 防振装置
JP2003254474A (ja) 鋼管の拡径接合継手構造
US11741927B2 (en) Friction damped insert for highly stressed engineering components
JP6418824B2 (ja) 接合構造
JP4264957B2 (ja) 防振用ベローズ管継手
JP2011236612A (ja) 杭頭部と基礎の接合部構造
JP2011149214A (ja) 鋼管矢板壁
JP7688263B2 (ja) シール構造
TWI704303B (zh) 防震支撐裝置
JP7254015B2 (ja) 配管固定具及びそれに用いる取付けプレート
JP3126644B2 (ja) 可撓性ヒューム管
JP2000179765A (ja) 防振用管継手
JPH0643596Y2 (ja) 可撓性継手のフランジ部構造
KR200467926Y1 (ko) 방진 고무 부재용 탄성체 지지체

Legal Events

Date Code Title Description
A621 Written request for application examination

Free format text: JAPANESE INTERMEDIATE CODE: A621

Effective date: 20190225

A131 Notification of reasons for refusal

Free format text: JAPANESE INTERMEDIATE CODE: A131

Effective date: 20200128

A521 Request for written amendment filed

Free format text: JAPANESE INTERMEDIATE CODE: A523

Effective date: 20200324

A131 Notification of reasons for refusal

Free format text: JAPANESE INTERMEDIATE CODE: A131

Effective date: 20200623

A521 Request for written amendment filed

Free format text: JAPANESE INTERMEDIATE CODE: A523

Effective date: 20200811

TRDD Decision of grant or rejection written
A01 Written decision to grant a patent or to grant a registration (utility model)

Free format text: JAPANESE INTERMEDIATE CODE: A01

Effective date: 20201013

A61 First payment of annual fees (during grant procedure)

Free format text: JAPANESE INTERMEDIATE CODE: A61

Effective date: 20201015

R150 Certificate of patent or registration of utility model

Ref document number: 6781237

Country of ref document: JP

Free format text: JAPANESE INTERMEDIATE CODE: R150

R250 Receipt of annual fees

Free format text: JAPANESE INTERMEDIATE CODE: R250

R250 Receipt of annual fees

Free format text: JAPANESE INTERMEDIATE CODE: R250

R250 Receipt of annual fees

Free format text: JAPANESE INTERMEDIATE CODE: R250