JP6685166B2 - アキシャルギャップ型回転電機 - Google Patents

アキシャルギャップ型回転電機 Download PDF

Info

Publication number
JP6685166B2
JP6685166B2 JP2016076266A JP2016076266A JP6685166B2 JP 6685166 B2 JP6685166 B2 JP 6685166B2 JP 2016076266 A JP2016076266 A JP 2016076266A JP 2016076266 A JP2016076266 A JP 2016076266A JP 6685166 B2 JP6685166 B2 JP 6685166B2
Authority
JP
Japan
Prior art keywords
magnet
electric machine
gap type
axial gap
protrusion
Prior art date
Legal status (The legal status is an assumption and is not a legal conclusion. Google has not performed a legal analysis and makes no representation as to the accuracy of the status listed.)
Active
Application number
JP2016076266A
Other languages
English (en)
Other versions
JP2017189019A (ja
Inventor
見多 出口
見多 出口
榎本 裕治
裕治 榎本
博洋 床井
博洋 床井
憲一 相馬
憲一 相馬
Current Assignee (The listed assignees may be inaccurate. Google has not performed a legal analysis and makes no representation or warranty as to the accuracy of the list.)
Hitachi Industrial Equipment Systems Co Ltd
Original Assignee
Hitachi Industrial Equipment Systems Co Ltd
Priority date (The priority date is an assumption and is not a legal conclusion. Google has not performed a legal analysis and makes no representation as to the accuracy of the date listed.)
Filing date
Publication date
Application filed by Hitachi Industrial Equipment Systems Co Ltd filed Critical Hitachi Industrial Equipment Systems Co Ltd
Priority to JP2016076266A priority Critical patent/JP6685166B2/ja
Priority to PCT/JP2017/003507 priority patent/WO2017175461A1/ja
Priority to TW106107593A priority patent/TWI648939B/zh
Publication of JP2017189019A publication Critical patent/JP2017189019A/ja
Application granted granted Critical
Publication of JP6685166B2 publication Critical patent/JP6685166B2/ja
Active legal-status Critical Current
Anticipated expiration legal-status Critical

Links

Images

Classifications

    • HELECTRICITY
    • H02GENERATION; CONVERSION OR DISTRIBUTION OF ELECTRIC POWER
    • H02KDYNAMO-ELECTRIC MACHINES
    • H02K1/00Details of the magnetic circuit
    • H02K1/06Details of the magnetic circuit characterised by the shape, form or construction
    • H02K1/22Rotating parts of the magnetic circuit
    • HELECTRICITY
    • H02GENERATION; CONVERSION OR DISTRIBUTION OF ELECTRIC POWER
    • H02KDYNAMO-ELECTRIC MACHINES
    • H02K1/00Details of the magnetic circuit
    • H02K1/06Details of the magnetic circuit characterised by the shape, form or construction
    • H02K1/22Rotating parts of the magnetic circuit
    • H02K1/27Rotor cores with permanent magnets
    • HELECTRICITY
    • H02GENERATION; CONVERSION OR DISTRIBUTION OF ELECTRIC POWER
    • H02KDYNAMO-ELECTRIC MACHINES
    • H02K21/00Synchronous motors having permanent magnets; Synchronous generators having permanent magnets
    • H02K21/12Synchronous motors having permanent magnets; Synchronous generators having permanent magnets with stationary armatures and rotating magnets
    • H02K21/24Synchronous motors having permanent magnets; Synchronous generators having permanent magnets with stationary armatures and rotating magnets with magnets axially facing the armatures, e.g. hub-type cycle dynamos

Landscapes

  • Engineering & Computer Science (AREA)
  • Power Engineering (AREA)
  • Permanent Field Magnets Of Synchronous Machinery (AREA)
  • Iron Core Of Rotating Electric Machines (AREA)
  • Permanent Magnet Type Synchronous Machine (AREA)

Description

本発明は、アキシャルギャップ型回転電機に関し、とくに回転電機の回転子の構造に関する。
アキシャルギャップ型回転電機は、固定子と、この固定子と所定の空隙(ギャップ)を介して回転軸方向に配置される回転子で構成される。回転子は、周方向に配置された複数の永久磁石と、前記磁石を保持する保持部材で構成される。
アキシャルギャップ型回転電機は、固定子と回転子との対向面積を広くすることで出力を増加させている。加えて、永久磁石の磁力を大きくすることでも出力を増加させることが可能となる。
これに伴い、磁石に働く吸引力(空隙を介して、固定子方向に作用する電磁力)も増加する。例えば、特許文献1に記載のように磁石のギャップ対向面から軸方向にテーパや切欠を設けることで、軸方向(固定子方向)に働く吸引力に対して磁石を保持する方法がある。また、特許文献2に記載のように、磁石の外径側に設けた筒部の一部を内径側に突出させ、ギャップ部分に磁石を保持するための突起を設けることで磁石を保持する方法がある。
特開2009-131087号公報 特開2010-259164号公報
しかしながら、 特許文献1に記載の保持構造では、テーパないしは切欠を設けているため、固定子と対向する磁石の表面積が減少するため、回転電機のトルク低下や効率低下を招くことが課題となる。一方、特許文献2に記載の保持構造では、磁石を保持するためにギャップ部分に突起を設けた構造となっており、突起の厚み分だけギャップ長が増加するために回転電機のトルク低下や効率低下を招くことが課題となる。
本発明は、上記の課題を解決するため、磁石表面積の減少やギャップ長の増加を招くおそれを低減させ、磁石の軸方向吸引力に対する保持強度を確保可能なアキシャルギャップ型回転電機を提供することを目的とする。
上記の目的を達成するために、本発明ではその一例として、回転軸方向に空隙を介して固定子と回転子とが配置されるアキシャルギャップ型回転電機において、前記回転子に配置される磁石の内径側または外周側であって、かつ軸方向の中途に切欠が設けられ、前記磁石を保持するヨークに、前記磁石の切欠と嵌合する突起が設けられおり、前記磁石の内径側に設けた前記突起の一部が除去されており、かつ、前記突起の除去部が前記磁石の内径側の周長よりも大きいように構成される。あるいは、回転軸方向に空隙を介して固定子と回転子とが配置されるアキシャルギャップ型回転電機において、前記回転子に配置される磁石の内径側または外周側であって、かつ軸方向の中途に切欠が設けられ、前記磁石を保持するヨークに、前記磁石の切欠と嵌合する突起が設けられており、前記突起が前記磁石の外径側に配置される外周リングに設けられており、前記外周リングに設けた突起の一部が除去されており、かつ、前記突起の除去部が前記磁石の外径側の周長よりも大きいように構成される
本発明によれば、磁石表面積の減少やギャップ長の増加を招くおそれを低減させ、モータのトルクや効率の低下を抑制しつつ、軸方向吸引力に対して磁石を保持することが可能となる。
本発明の実施形態のアキシャルギャップ型回転電機の斜視図。 本発明の実施形態のアキシャルギャップ型回転電機の断面図。 本発明の実施形態のアキシャルギャップ型回転電機の回転子構造の斜視図。 本発明の実施形態のアキシャルギャップ型回転電機の回転子構造の斜視図。 本発明の実施形態のアキシャルギャップ型回転電機の断面図。 本発明の実施形態のアキシャルギャップ型回転電機の断面図。 本発明の実施形態のアキシャルギャップ型回転電機の回転子構造の斜視図。 本発明の実施形態のアキシャルギャップ型回転電機の回転子構造の斜視図。 本発明の実施形態のアキシャルギャップ型回転電機の回転子構造の上面図。 本発明の実施形態のアキシャルギャップ型回転電機の回転子構造の上面図。
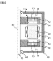
以下、本発明の実施例について説明する。図1および図2に本発明を適用する2ロータ型のアキシャルギャップ型回転電機の基本構成を説明するための斜視図を示す。同図に示すように、アキシャルギャップ型回転電機1は,回転軸50方向に一対の円板形状の回転子10を対向するように配置し,一対の回転子10の間に所定のギャップを介して固定子20を挟み込んだ構造を有している。
<固定子>
固定子20は,周方向に配置される複数のコア22と,各コアの周囲に巻回されるコイル21から構成され、例えば樹脂によるモールドや機械部品(図示省略)によってハウジング40へと保持される。コア21は,渦電流の発生を抑制するために,例えば電磁鋼板やアモルファス箔帯などの磁性薄板の積層体で構成されており,各磁性薄板間は絶縁層で絶縁されている。
<回転子>
回転子10は,軸方向に凹部を有するヨーク12と,各凹部に配置されるロータコア13を有する。ロータコア13は,例えば接着によってヨーク12の凹部に設置されている。
なお,本発明は上述した2ロータ型のアキシャルギャップ型回転電機に限定されるものではなく、例えば、軸方向に一対の固定子を対向するように配置して、所定のギャップを介して回転子が配置された2ステータ型のアキシャルギャップ型回転電機や、1つの固定子と回転子とが所定のギャップを配置して配置される1ロータ-1ステータ型のアキシャルギャップ型回転電機にも適用可能であることは言うまでもない。
以後,回転子構造に関する実施例を説明する。
実施例(1)
図2から図4に実施形態1のアキシャルギャップ型回転電機の回転子構造を示す。同図らに示すように、実施形態1の回転子構造によれば、ヨーク12の内径側に突起12aを設け、かつ、磁石11の内径側に切欠11aを設けている。磁石11は外径側から挿入され、切欠11aが突起12aに嵌合するように配置する。磁石11を周方向に複数配置したのち、磁石11の外径側に外周リング14を設ける。また、磁石11とロータコア13は、磁石の吸引力に加えて、例えば接着剤による接着力によって固定してもよい。
以上に示した第1実施例のアキシャルギャップ型回転電機の回転子構造によれば、ヨーク12に設けた突起12aに、磁石11の切欠11aを嵌合しているため、回転電機を駆動した際に磁石が軸方向(ステータ方向)に引っ張られて剥がれ落ちることを防ぐことが可能となる。また、突起12aと切欠11aの嵌合により、軸方向の位置決め精度を高めることも可能となる。さらに、突起12aと切欠11aは、磁石11の回転軸50方向に沿った側面の中途に設けているため、磁石11とコア22との対向面積をより多く確保し、高出力を維持しながら、磁石の軸方向吸引力に対する保持強度を確保することが出来る。
なお、突起12aと切欠11aを設ける位置は、磁石11の回転軸50方向に沿った側面の略中間が、保持強度の観点で望ましいが、本発明はこれに限定されるものではない。
また、本実施例では、突起12aを周方向の全周に設けているため、より磁石の軸方向吸引力に対する保持強度を確保することが出来る。なお、本発明は、これに限られず、突起12aを周方向の部分的に設けられても構わない。例えば、図10に示すように、磁石11の分割数に合わせて独立した突起12aを設け、各突起12に対応する切欠11aを設けて突起12aに、磁石11の切欠11aを嵌合させてもよい。これにより、軸方向の位置決め精度を高めることも可能となる。
実施例(2)
図5に実施形態2のアキシャルギャップ型回転電機の回転子構造を示す。同図に示すように、実施形態2の回転子構造によれば、実施形態1の構成に加えて、内周側に内周リング15を設ける。また、内周リング15に突起15aを設けて、磁石11に設けた切欠11aを嵌合して配置する。
以上に示した構造によれば、内周リング15および突起15aを別部材で構成することができるため、突起15aを製作する際の製作性が向上する。また、内周リング15および突起15aを別部材で構成しているため、例えば高強度部材を使用することで軸方向への引張力に対する耐強度を向上させることが出来る。また、内周リング15および突起15aを低損失部材にすることで、磁石11の漏れ磁束やコイル21が発生させる磁束が作用することで発生する損失を低減することも可能となる。このように、回転電機の特性に応じて部材の材質を変更することができる利点がある。
実施例(3)
図6は実施形態3のアキシャルギャップ型回転電機の回転子構造を示す。同図に示すように、実施形態3の回転子構造によれば、切欠11aを磁石11の外径側に設け、かつ、切欠11aと嵌合するための突起14aを外周リング14に設ける。
本実施例では、磁石11の外周側に切欠11aを設けているため、実施形態1および2とは逆に、磁石11を内径側から挿入して組み立てる必要があるが、内径側から挿入して組み立てる場合、最後に挿入する磁石を組み立てることが不可能となる。また、外周リング14を複数に分割することで組み立てることが可能となるが、耐遠心力強度が低下してしまう。そこで、全ての磁石を組み立てることを可能とし、かつ、外周リングを分割することなく本実施例を実現するための組立方法の一例を図7から図9に示す。
図7および図8に示すように、外周リング14に設けた突起14aの一部を取り除いている(同図14bで示した箇所)。また、突起除去部14bの幅は、磁石11の外径側の幅と同じか、それよりも大きくなるように構成する。次に、磁石11を軸方向から前述の突起除去部14bに挿入し、その後、切欠11aと突起14aを嵌合した状態で周方向にスライドさせる。全ての磁石について同様の方法をくり返すことで全ての磁石を設置することが可能となる。
図9は、上述により組み立てた回転子の構造を示している。同図に示すように、全ての磁石を組み立てた際、突起除去部14bに2つの磁石11が配置されるようにすることで、全ての磁石11に突起14aが嵌合された状態となる。
以上に示した構造によれば、外周リング14を分割することなく磁石11を組み立てることが可能となる。また、磁石11の外径側で切欠11aと突起14aを嵌合することで、実施形態1および2に示した構造と比較して嵌合する面積を広く確保することが可能となり、磁石11の軸方向への引張力に対する保持強度を向上させることが可能となる。
1:アキシャルギャップ型回転電機
10:回転子
11:磁石
11a:切欠
12:ヨーク
12a:突起
13:ロータコア
14:外周リング
14a:突起
14b:突起除去部
15:内周リング
15a:突起
20:固定子
21:コイル
22:コア
40:ケース(ハウジング)
50:回転軸
60:軸受
70:シャフト

Claims (7)

  1. 回転軸方向に空隙を介して固定子と回転子とが配置されるアキシャルギャップ型回転電機において、
    前記回転子に配置される磁石の内径側または外周側であって、かつ軸方向の中途に切欠が設けられ、
    前記磁石を保持するヨークに、前記磁石の切欠と嵌合する突起が設けられおり、
    前記磁石の内径側に設けた前記突起の一部が除去されており、かつ、前記突起の除去部が前記磁石の内径側の周長よりも大きいことを特徴とするアキシャルギャップ型回転電機
  2. 請求項1に記載されたアキシャルギャップ型回転電機であって、
    前記突起が前記磁石の内径側に配置される内周リングに設けられていることを特徴とするアキシャルギャップ型回転電機。
  3. 回転軸方向に空隙を介して固定子と回転子とが配置されるアキシャルギャップ型回転電機において、
    前記回転子に配置される磁石の内径側または外周側であって、かつ軸方向の中途に切欠が設けられ、
    前記磁石を保持するヨークに、前記磁石の切欠と嵌合する突起が設けられており、
    前記突起が前記磁石の外径側に配置される外周リングに設けられており、
    前記外周リングに設けた突起の一部が除去されており、かつ、前記突起の除去部が前記磁石の外径側の周長よりも大きいことを特徴とするアキシャルギャップ型回転電機。
  4. 請求項1からのいずれか1項に記載されたアキシャルギャップ型回転電機であって、
    前記磁石は周方向に分割された複数個の分割磁石で構成されることを特徴とするアキシャルギャップ型回転電機。
  5. 請求項1からのいずれか1項に記載されたアキシャルギャップ型回転電機であって、
    前記磁石に設けられた切欠が、前記磁石の軸方向中央部から前記ヨーク側にずれた位置に設けられており、かつ、前記ヨークとの接触面部分に切欠が露出しない位置に設けられていることを特徴とするアキシャルギャップ型回転電機。
  6. 請求項1からのいずれか1項に記載されたアキシャルギャップ型回転電機であって、
    前記磁石に設けられた切欠が、前記磁石の軸方向中央部から前記空隙側にずれた位置に設けられており、かつ、前記空隙部分に切欠が露出しない位置に設けられていることを特徴とするアキシャルギャップ型回転電機。
  7. 請求項1からのいずれか1項に記載されたアキシャルギャップ型回転電機であって、
    前記突起及び前記切欠は、前記磁石の軸方向の中央部に設けられていることを特徴とするアキシャルギャップ型回転電機。
JP2016076266A 2016-04-06 2016-04-06 アキシャルギャップ型回転電機 Active JP6685166B2 (ja)

Priority Applications (3)

Application Number Priority Date Filing Date Title
JP2016076266A JP6685166B2 (ja) 2016-04-06 2016-04-06 アキシャルギャップ型回転電機
PCT/JP2017/003507 WO2017175461A1 (ja) 2016-04-06 2017-02-01 アキシャルギャップ型回転電機
TW106107593A TWI648939B (zh) 2016-04-06 2017-03-08 軸流間隙型旋轉電機

Applications Claiming Priority (1)

Application Number Priority Date Filing Date Title
JP2016076266A JP6685166B2 (ja) 2016-04-06 2016-04-06 アキシャルギャップ型回転電機

Publications (2)

Publication Number Publication Date
JP2017189019A JP2017189019A (ja) 2017-10-12
JP6685166B2 true JP6685166B2 (ja) 2020-04-22

Family

ID=60000301

Family Applications (1)

Application Number Title Priority Date Filing Date
JP2016076266A Active JP6685166B2 (ja) 2016-04-06 2016-04-06 アキシャルギャップ型回転電機

Country Status (3)

Country Link
JP (1) JP6685166B2 (ja)
TW (1) TWI648939B (ja)
WO (1) WO2017175461A1 (ja)

Families Citing this family (1)

* Cited by examiner, † Cited by third party
Publication number Priority date Publication date Assignee Title
JP7139138B2 (ja) * 2018-04-18 2022-09-20 株式会社日立産機システム アキシャルギャップ型回転電機

Family Cites Families (6)

* Cited by examiner, † Cited by third party
Publication number Priority date Publication date Assignee Title
JPS617275U (ja) * 1984-06-18 1986-01-17 三洋電機株式会社 小型モ−タのロ−タ
JP2006014520A (ja) * 2004-06-28 2006-01-12 Toshiba Corp 回転電機の外転型回転子
ATE453947T1 (de) * 2005-04-22 2010-01-15 Infranor Holding S A System zur befestigung von dauermagneten
EP2081276A1 (en) * 2008-01-21 2009-07-22 Marco Cipriani Electro-magnetical device with reversible generator-motor operation
JP5066255B2 (ja) * 2008-04-30 2012-11-07 日本電産コパル株式会社 振動モータ
WO2015159329A1 (ja) * 2014-04-14 2015-10-22 株式会社日立産機システム アキシャルエアギャップ型回転電機

Also Published As

Publication number Publication date
TW201737596A (zh) 2017-10-16
TWI648939B (zh) 2019-01-21
JP2017189019A (ja) 2017-10-12
WO2017175461A1 (ja) 2017-10-12

Similar Documents

Publication Publication Date Title
CN109661760B (zh) 表面磁体型马达
JP5958502B2 (ja) 回転子およびそれを用いた回転電機
CN107408852B (zh) 转子、旋转电机以及转子的制造方法
JP6055725B2 (ja) 回転子および回転子を用いたアキシャル型回転電機
JP6640621B2 (ja) 電動機用ロータ、およびブラシレスモータ
WO2014034344A1 (ja) 回転電機
JP5902563B2 (ja) 回転子およびそれを用いた回転電機
JP6444497B2 (ja) 回転電機およびその製造方法
CN102457114A (zh) 旋转电机
JP2015012679A (ja) アキシャルギャップ型回転電機
CN100477446C (zh) 旋转电机
JP2014045634A (ja) ロータ及びこのロータを備える回転電機
JP2008131682A (ja) アキシャルエアギャップ型電動機
JP2005333762A (ja) 回転電機の回転子および回転電機
JP2012125111A (ja) アウターロータ型回転機のロータ
JP6685166B2 (ja) アキシャルギャップ型回転電機
CN113661635B (zh) 电动机和电气设备
JP2020010539A (ja) ロータ、及びブラシレスモータ
JPWO2018131402A1 (ja) 永久磁石埋込型の回転子およびこれを備えた電動機
JP2022011327A (ja) 永久磁石回転電機および回転子
CN111630752A (zh) 旋转电机的定子和旋转电机的定子的制造方法
JP2013187943A (ja) 永久磁石型モータ及びこのモータのロータ
JP2012244808A (ja) 回転電機のロータ
JP2007053864A (ja) 永久磁石埋込型ロータ
CN104242511A (zh) 电动机装置

Legal Events

Date Code Title Description
A521 Written amendment

Free format text: JAPANESE INTERMEDIATE CODE: A523

Effective date: 20160408

RD04 Notification of resignation of power of attorney

Free format text: JAPANESE INTERMEDIATE CODE: A7424

Effective date: 20170120

RD04 Notification of resignation of power of attorney

Free format text: JAPANESE INTERMEDIATE CODE: A7424

Effective date: 20170126

A621 Written request for application examination

Free format text: JAPANESE INTERMEDIATE CODE: A621

Effective date: 20190128

A521 Written amendment

Free format text: JAPANESE INTERMEDIATE CODE: A523

Effective date: 20190130

A131 Notification of reasons for refusal

Free format text: JAPANESE INTERMEDIATE CODE: A131

Effective date: 20191217

A521 Written amendment

Free format text: JAPANESE INTERMEDIATE CODE: A523

Effective date: 20200217

TRDD Decision of grant or rejection written
A01 Written decision to grant a patent or to grant a registration (utility model)

Free format text: JAPANESE INTERMEDIATE CODE: A01

Effective date: 20200303

A61 First payment of annual fees (during grant procedure)

Free format text: JAPANESE INTERMEDIATE CODE: A61

Effective date: 20200331

R150 Certificate of patent or registration of utility model

Ref document number: 6685166

Country of ref document: JP

Free format text: JAPANESE INTERMEDIATE CODE: R150