JP6630985B2 - ダクト、ガスタービン - Google Patents

ダクト、ガスタービン Download PDF

Info

Publication number
JP6630985B2
JP6630985B2 JP2016054554A JP2016054554A JP6630985B2 JP 6630985 B2 JP6630985 B2 JP 6630985B2 JP 2016054554 A JP2016054554 A JP 2016054554A JP 2016054554 A JP2016054554 A JP 2016054554A JP 6630985 B2 JP6630985 B2 JP 6630985B2
Authority
JP
Japan
Prior art keywords
frame
duct
flow
vibration
flow direction
Prior art date
Legal status (The legal status is an assumption and is not a legal conclusion. Google has not performed a legal analysis and makes no representation as to the accuracy of the status listed.)
Active
Application number
JP2016054554A
Other languages
English (en)
Other versions
JP2017166450A (ja
Inventor
真人 岩▲崎▼
真人 岩▲崎▼
英之 森田
英之 森田
貴也 甲田
貴也 甲田
敬介 松山
敬介 松山
智浩 後藤
智浩 後藤
Current Assignee (The listed assignees may be inaccurate. Google has not performed a legal analysis and makes no representation or warranty as to the accuracy of the list.)
Mitsubishi Power Ltd
Original Assignee
Mitsubishi Hitachi Power Systems Ltd
Priority date (The priority date is an assumption and is not a legal conclusion. Google has not performed a legal analysis and makes no representation as to the accuracy of the date listed.)
Filing date
Publication date
Application filed by Mitsubishi Hitachi Power Systems Ltd filed Critical Mitsubishi Hitachi Power Systems Ltd
Priority to JP2016054554A priority Critical patent/JP6630985B2/ja
Publication of JP2017166450A publication Critical patent/JP2017166450A/ja
Application granted granted Critical
Publication of JP6630985B2 publication Critical patent/JP6630985B2/ja
Active legal-status Critical Current
Anticipated expiration legal-status Critical

Links

Images

Landscapes

  • Vibration Prevention Devices (AREA)

Description

本発明はダクト、ガスタービンに関する。
ガスタービンの吸気ダクトには、外部からの異物がガスタービン内に入り込まないように、ラストチャンスフィルタが設置される。ラストチャンスフィルタは金網を流路に交差するように延在する角柱等からなるフレームで固定した構造であり、組立を容易とするために金網を複数の小さなブロックに分けている。それぞれの金網はL字アングルの枠に固定し、それらをラストチャンスフィルタのフレームに取り付けて組み立てる。(例えば、特許文献1,2参照)。
特許第4544723号公報 特開2012−145047号公報
しかし、このように所定の断面形状を有するフレームがダクト内に置かれ、流れの中に曝されるような場合、渦励振による応答の増加が問題となる。
また、フレームから剥離した流れが後流の構造物と干渉するような場合には、流力不安定振動の発生が懸念される。
本発明は、上記の事情に鑑みてなされたもので、ダクト内のラストチャンスフィルタにおいて、流力振動の発生を防止可能なダクトおよびこのダクトを備えたガスタービンを提供するという目的を達成しようとするものである。
上記課題を解決するために、本発明は以下の手段を採用している。
すなわち、本発明の一態様に係るダクトは、内部を流体が流通するダクト本体と、
該ダクト本体に固定されて、前記流体の流通方向に交差する方向に延びるフレームと、
該フレームにおける前記流通方向の下流側に固定された網部と、を備え、
前記フレームにおける前記流通方向の上流側を向く面が、前記フレームの延びる方向で突出寸法の異なる凹凸形状に形成されている。
ラストチャンスフィルタ等、ダクト内のフレームは、その延在する方向に対して、ダクト内における流れの方向が交差しているため、流れがフレームから剥離することによって、周期的な剥離渦がフレームの下流側に発生する場合があり、これにより、剥離渦の発生周波数に概ね一致する周波数を有する変動揚力がフレームに加わる。変動揚力の周波数とフレームの固有振動数とが一致すると、共振により、フレームに渦励振が発生することになる。
本発明の一態様に係る構成によれば、前記フレームにおける前記流通方向の上流側を向く面が、前記フレームの延びる方向で突出寸法の異なる凹凸形状に形成されていることにより、前記フレームの延びる方向におけるフレームの渦発生周波数を、凹凸形状の突出寸法により異なる分布とすることができる。これにより、個々の凹凸形状を形成した部分ごとに、発生した渦振動が拡大することを抑制して、フレーム全体に流力振動の発生することを防止可能とできる。
また、上記のダクトは、前記フレームの延びる方向において、前記凹凸形状の突出寸法が、渦励振による応答を抑制するように分布していることができる。
この構成によれば、凹凸形状の突出寸法を、フレームの延びる方向において、該当箇所における凹凸形状を設けない場合の渦発生周波数と異なる渦発生周波数を有するように積極的に設定することで、フレーム全体における流力振動の発生を抑制することが可能となる。
また、上記のダクトは、前記凹凸形状が、円形または楕円形の断面形状を有することができる。
この構成によれば、ラストチャンスフィルタにおいて、フレームの上流側となる凹凸形状が円形または楕円形の断面形状を有することで流体に対する抵抗を低減するとともに、剥離渦の発生を低減して、フレームにおける流力振動の発生を抑制することが可能となる。
また、上記のダクトは、前記凹凸形状が、前記フレームの延びる方向において、互いに離間して前記流通方向上流側に突出するように設けられることができる。
この構成によれば、凹凸形状を設けないフレームに対して、それぞれ、フレームの延びる方向に離間するように凹凸形状を上流側に形成するだけで、該当箇所における凹凸形状を設けない場合の渦発生周波数と異なる渦発生周波数を有するように積極的に設定することができる。これにより、フレーム全体における流力振動の発生を抑制することが可能となる。
また、上記のダクトは、前記フレームの前記流通方向下流側には、渦励振による応答を抑制する動吸振器または振動吸収手段が設けられることができる。
この構成によれば、凹凸形状を設けることで、フレーム全体における流力振動の発生を抑制するとともに、さらに、動吸振器または振動吸収手段によって、流力振動の発生を抑制することが可能となる。
また、本発明の一態様に係るダクトは、内部を流体が流通するダクト本体と、
該ダクト本体に固定されて、前記流体の流通方向に交差する方向に延びる断面矩形のフレームと、
該フレームにおける前記流通方向の下流側に固定された網部と、を備え、
前記フレームにおける前記流通方向の上流側を向く面には、前記フレームで発生した剥離渦が下流側の構造物と干渉しない形状とされたカバーが設けられる。
この構成によれば、カバーを設けることにより、フレーム下流側に位置する網部の固定手段等に対して、フレームで発生した剥離渦が干渉しないようにできるため、フレーム全体における流力振動の発生を抑制することが可能となる。
また、上記のダクトは、前記カバーが、前記フレームの延びる方向で突出寸法の異なる凹凸形状に形成されていることができる。
この構成によれば、凹凸形状に形成されたカバーを設けることで、前記フレームの延びる方向におけるフレームの固有振動数を、カバーの凹凸形状の突出寸法により異なる分布とすることができる。これにより、個々の凹凸形状を形成した部分ごとに、発生した渦振動が拡大することを抑制して、フレーム全体における流力振動の発生を抑制することが可能となる。
また、上記のガスタービンは、上記のいずれか記載のダクトを有することができる。
この構成によれば、流力振動の発生を抑制することが可能となる。
本発明によれば、流力振動の発生を抑制することが可能となるという効果を奏することが可能となる。
本発明に係るダクトを有するガスタービンの第1実施形態を示す模式図である。 本発明に係るダクトの第1実施形態における流れ方向視したラストチャンスフィルタを示す正面図である。 本発明に係るダクトの第1実施形態における流れ方向視したフレームを示す拡大正面図である。 本発明に係るダクトの第1実施形態における流れと直交する方向視したフレームを示す拡大側断面図である。 本発明に係るダクトの第1実施形態におけるフレームの凹凸形状を示す上面図(a)、凸部と流速分布との関係を説明する図(b)である。 本発明に係るダクトの第2実施形態における流れと直交する方向視したフレームを示す拡大側断面図である。 本発明に係るダクトの第3実施形態における流れと直交する方向視したフレームを示す拡大側断面図である。 本発明に係るダクトの第4実施形態における流れと直交する方向視したフレームを示す拡大側断面図である。 本発明に係るダクトの第4実施形態における流れと直交する方向視したフレームの他の例を示す拡大側断面図である。
以下、本発明に係るダクトを有するガスタービンの第1実施形態を、図面に基づいて説明する。
図1は、本実施形態におけるダクトを有するガスタービンを示す模式図であり、図において、符号Gは、ガスタービンである。
本実施形態に係るガスタービンGは、図1に示すように、圧縮機CPと、同圧縮機CPからの高圧空気が供給される燃焼器CBと、同燃焼器CBから供給された高温高圧燃焼ガスによって動力を発生するガスタービンGTと、圧縮機CPに空気を供給する側の吸気ダクト(ダクト)Dと、を主要な構成として備え、圧縮機CPの上流側に吸気を脱塵する前段のエアフィルタFと、および、騒音の発生を抑制するサイレンサSと、が付設されている。
吸気ダクト(ダクト)Dには、図1に示すように、内部を流体が流通する流路となる筒状のダクト本体D1と、該ダクト本体D1内で圧縮機CPの上流側にラストチャンスフィルタ(フィルタ)10と、が設けられている。
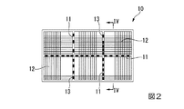
図2は、本実施形態における流れ方向視したラストチャンスフィルタを示す正面図である。
ラストチャンスフィルタ(フィルタ)10は、図1に示すように、ダクトDの流路を横切るようにその全面を覆うように設けられている。フィルタ10は、図2に示すように、ダクト本体D1に固定されて、流体の流通方向に交差する方向に延びるフレーム11と、フレーム11における流通方向の下流側に固定された網部12と、を備えている。
フレーム11は、図2に示すように、流体の流通方向に交差する方向に延びるようにその両端がダクト本体D1の内壁に固定されている。フレーム11は、矩形の断面を有するダクト本体D1の縦横の辺となる内壁面と並行状態に複数設けられることができる。図示例では、縦方向に延在するフレーム11が2本、横方向に延在するフレームが1本設けられている。
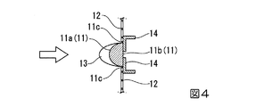
図3は、本実施形態における流れ方向視したフレームを示す拡大正面図であり、図4は、本実施形態における流れと直交する方向視したフレームを示す拡大側断面図であり、図5は、図2におけるフレーム付近を示す矢視断面図であり、本実施形態におけるフレームの凹凸形状を示す上面図(a)、凸部と流速分布との関係を説明する図(b)である。
フレーム11は、図3〜図5に示すように、渦が剥離しにくい断面略半円または半楕円の棒状体とされ、これらの凸側が、前記流通方向の上流側となるように配置されている。フレーム11の流通方向の上流側を向く上流面(面)11aには、フレーム11の延びる方向で突出寸法の異なる凹凸形状を有するように、複数の凸部13,13が形成されている。
上流面(面)11aは、フレーム11の延在する軸方向に対してほぼ同一形状となるように設定され、この上流面(面)11aに、フレーム11の延在する軸方向に離間して複数の凸部13,13が取り付けられている。
本実施形態において、凸部13,13は、ダクト本体D1の内壁に沿って配置されてフィルタ10をダクト本体D1に取り付ける部分には設けていないが、この部分にも、凸部13,13を設けることも可能である。
凸部13,13は、図3,図4,図5(a)に示すように、フレーム11と同様、渦が剥離しにくい略半円または半楕円の外側断面輪郭を有するものとされ、かつ、フレーム11の上流面(面)11aに被せるように部分的に取り付けられており、フレーム11の軸方向に所定の寸法を有する複数の凸部13,13が、フレーム11の延在する軸方向に離間するように設けられている。これら複数の凸部13,13は、図5(a)に示すように、フレーム11の上流面(面)11aからそれぞれが上流側に突出する寸法が、いずれも異なるように設定されている。なお、凸部13は、フレーム11と一体として形成されることもできる。
凸部13,13の上流側に突出する寸法は、図5(a),(b)に示すように、凸部13が取り付けられるフレーム11の各部分における渦発生周波数に対応して設定され、渦励振を効果的に抑えるように設定される。言い換えると、フレーム11における上流側に設けられた凹凸形状の突出寸法は、凹凸形状を設けない場合の渦発生周波数と異なる渦発生周波数を有するように設定されて、渦励振による応答を抑制するように分布するように設定されている。
具体的には、あらかじめ、凸部13を取り付けない状態において、ダクトDの形状を加味して、図5(b)に示すように、フレーム11の軸方向(分布方向)における流速分布を予測する。この予想された流速分布に基づいて、流速が大きい箇所に凸部13を取り付けるものである。このとき、あらかじめ予測した流速分布に対応して、図5(a)に示すように、それぞれの凸部13における流れ方向寸法の大きさを変更して設定する。
特に、図5(a),(b)に示すように、予想される流速が大きい場合には、凸部13の流れ方向寸法の大きさを小さくするとともに、流速が小さい場合には、凸部13の流れ方向寸法の大きさを大きくする。
凸部13,13の上流側に突出する寸法は、図4,図5(a)に示すように、単一の凸部13においては、フレーム11の軸方向に略同一となるように設定されている。このとき、上記の流速分布に対応した凸部13,13の上流側に突出する寸法は、フレーム11の軸方向における凸部13の中央付近における流速の値に対応して設定することができる。なお、凸部13,13の上流側に突出する寸法は、個々の凸部13においてフレーム11の軸方向に変化させることもできる。
これにより、凸部13の取り付けられる各部分における渦発生周波数の差を大きくすることが可能となる。
凸部13は、図示しないボルト等の取り付け手段によって取り外し可能としてフレーム11の上流面(面)11aに取り付けられている。
これにより、ダクトDにおいて、流路中の構造物の構成が変更された場合などにおいては、これにともなって変化した流速分布に対応して、上流側に突出する寸法が異なる凸部13に変更して取り付けるか、または、凸部13を取り外すことなどが可能である。
凸部13におけるフレーム11の幅方向における寸法は、図2,図3に示すように、フレーム11自体の幅方向寸法と同一となるように設定されている。また、それぞれの凸部13におけるフレーム11の軸方向における寸法は、取り付け時の利便性、および、製造コストなどから、適宜設定されることができる。
各凸部13におけるフレーム11の軸方向端部は、図3,図5(a)に示すように、フレーム11の径方向と平行な平面序になるよう設定されている。
フレーム11には、図2,図3に示すように、下流側となる下流面11bに、幅方向にはみ出すようにL字アングル(固定手段)14が設けられ、このL字アングル(固定手段)14の上流側に網部12が取り付けられている。網部12の下流側の面は、フレーム11の下流面11bと面一となるように設定されている。
なお、L字アングル(固定手段)14は、説明のため、図示を省略することもある。
網部12は、図2,図4に示すように、平面視矩形状の輪郭形状を有する金網とされている。網部12の網目のサイズ等は、ガスタービンGに必要な所定の値に設定されることができ、特に限定されるものではない。
網部12の縁部には、フレーム11のL字アングル(固定手段)14側端部11cが接触するように配置されていることができる。
本実施形態におけるラストチャンスフィルタ10が設けられたダクトDを有するガスタービンGにおいては、上記の構成とされているために、フレーム11および凸部13において、剥離流が発生することを低減できる。また、複数の凸部13を設けてフレーム11の延在する軸方向における固有周波数の分歩を変化させることにより、剥離渦の発生周波数に概ね一致する周波数でフレーム11に発生する渦励振を抑制してギャロッピングを防止することが可能となる。
また、軸方向に同一半円断面形状とされるフレーム11に、異なる突出寸法となる複数の凸部13を取り付けるだけで、簡単な構造で低コストに渦励振を抑制することが可能となる。また、フレーム11以外の構造を変更することなく、渦励振の発生を抑制することが可能となる。同時に、ボルト等で取り付け取り外し可能となっているため凸部13の大きさを適宜可変とすることができる。
ここで、軸方向に均一な断面のフレーム11では発生する振動する周波数がある特定の値に固定されているのに対し、本実施形態の凸部13が取り付けられたフレーム11においては、発生する振動周波数が軸方向に異なる値が分布するように設定されていることにより、フレーム11全体が単一の振動数で振動することが抑制できる。これにより、渦励振や流力不安定振動が発生した場合に、その振動を抑制することができる。
なお、本実施形態においては、フレーム11がラストチャンスフィルタ10の構成要素であるとして説明したが、この構成に限られることはなく、ダクトD内部で、流路を横切るような構成には、好適に用いることができる。
以下、本発明に係るダクトを有するガスタービンの第2実施形態を、図面に基づいて説明する。
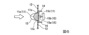
図6は、本実施形態におけるダクトにおける流れと直交する方向視したフレームを示す拡大側断面図である。
本実施形態において上述した第1実施形態と異なるのは動吸振器に関する点であり、これ以外の対応する構成要素に関しては、同一の符号を付してその説明を省略する。
本実施形態においては、図6に示すように、フレーム11の下流面11bに、渦励振による応答を抑制する動吸振器15が設けられている。
動吸振器15は、図6に示すように、フレーム11に渦励振や流力不安定振動が発生した場合に、その振動を抑制するものとされる。具体的には、フレーム11の下流側に、板バネなどの弾性体15aを介して重りとなる質量15bを接続した構成とされる。この動吸振器15においては、フレーム11の固有振動数(不安定振動の主要応答モード)を有するように調整されることができる。
動吸振器15において、質量15bおよび弾性体15aは、図6に示すように、上流側から視て、フレーム11およびL字アングル(固定手段)14で隠れるように、これらの幅寸法よりも小さい幅寸法を有するものとされる。また、弾性体15aは、例えばダクトDにおける流れ方向や、フレーム11における幅方向や軸方向あるいはこれらを組み合わせた方向に振動(弾性変形)可能として設定されることができる。弾性体15aは、設定された方向のフレーム11の振動モードに対してチューニングが可能とされている。
動吸振器15は、それぞれのフレーム11の軸方向における流速の値に対応して設定することができる。
また、動吸振器15は、図において1つのみが示されているが、これに限らず、フレーム11の軸方向に複数離間して設けることや、図2に示したラストチャンスフィルタ10の各フレーム11にそれぞれ設けることもできる。この場合、フレーム11全体のモード形状における固有振動数に対応して、フレーム11の応答を抑制するように、質量15bおよび弾性体15aの特性を変化させることもできる。
本実施形態によれば、複数の凸部13,13が取り付けられたフレーム11は、その延在する方向に対して、ダクトD内における流れの方向が交差しているため、流れがフレーム11から剥離することによって、周期的な剥離渦がフレーム11の下流側に発生する場合がある。これにより、剥離渦の発生周波数に概ね一致する周波数を有する変動揚力がフレーム11に加わる。変動揚力の周波数とフレーム11の固有振動数とが一致すると、共振により、フレームに渦励振が発生することになる。
凸部13が取り付けられることによって、フレーム11の固有振動数は、フレーム11の延在する方向に分散されているが、この凸部13によって振動が抑制仕切れなかった場合に、動吸振器15の質量15bが弾性体15aによって振動することで、フレーム11の振動を吸収する。
これにより、上記の第1実施形態と同様の効果を奏することができるとともに、さらに、凸部13のみでは抑制できないフレーム11に発生する渦励振が発生した場合でも、これを抑制してギャロッピングを防止することが可能となる。
本実施形態においては、動吸振器15の質量15bおよび弾性体15aの形状および特性は上記の構成に限定されるものではなく、フレーム11の振動を吸収可能でダクトD内の流体の流れを阻害しないものであれば、その構造は限定されない。
以下、本発明に係るダクトを有するガスタービンの第3実施形態を、図面に基づいて説明する。
図7は、本実施形態におけるダクトにおける流れと直交する方向視したフレームを示す拡大側断面図である。
本実施形態において上述した第2実施形態と異なるのは振動吸収手段に関する点であり、これ以外の対応する構成要素に関しては、同一の符号を付してその説明を省略する。
本実施形態においては、図7に示すように、フレーム11に、渦励振による応答を抑制する振動吸収手段16が設けられている。
振動吸収手段16は、図7に示すように、フレーム11を筒状としてその内部に空洞16aを形成し、空洞16a内部に渦励振や流力不安定振動が発生した場合に、その振動エネルギーを摩擦エネルギーや塑性変形のエネルギーに変換して抑制可能にする振動吸収材(変形摩擦材)16bが充填された構成とされている。具体的には、フレーム11の空洞16a内部に、ワイヤ、金属球、砂などが振動吸収材16bとして挿入される。空洞16aは、フレーム11外側のダクトDの流路に対して、密閉されることが好ましい。空洞16aの断面寸法は、振動吸収に必要な振動吸収材16bを充填できる大きさであればその大きさは限定されない。
振動吸収手段16においては、フレーム11断面に対して、小さな振動吸収材16bが、フレーム11断面とほぼ等しく、一回り小さいだけの空洞16aに充填されており、この微細な振動吸収材16bが移動変形することでフレーム11の振動を吸収ため、ダクトDにおける流れ方向、および、フレーム11における幅方向や軸方向などすべての方向における振動を同時に抑制することが可能となる。これにより、フレーム11の複雑な変形(振動)に対応することができ、このフレーム11の変形(振動)を吸収可能とされている。
振動吸収手段16は、それぞれのフレーム11の軸方向における流速の値に対応して設定することができる。
また、振動吸収手段16は、フレーム11の軸方向全長にわたって設けることや、図2に示したラストチャンスフィルタ10の各フレーム11にそれぞれ設けることもできる。また、振動吸収手段16を、フレーム11軸方向における部分的に1箇所または複数箇所離間して設けることもできる。
振動吸収材16bは、φ3mm程度長さ20mmのワイヤ、φ3mm程度の金属球、#2程度の砂などから選択されることが可能であるが、フレーム11の軸方向位置によって、空洞16aに充填する振動吸収材16bを変化させることもできる。これにより、上述した複数の凸部13における配置状態に対応するように、振動吸収手段16の設置される軸方向位置において、それぞれ振動吸収特性を変化させることもできる。
本実施形態によれば、複数の凸部13,13が取り付けられたフレーム11は、その延在する方向に対して、ダクトD内における流れの方向が交差しているため、流れがフレーム11から剥離することによって、周期的な剥離渦がフレーム11の下流側に発生する場合がある。これにより、剥離渦の発生周波数に概ね一致する周波数を有する変動揚力がフレーム11に加わる。変動揚力の周波数とフレーム11の固有振動数とが一致すると、共振により、フレームに渦励振が発生することになる。
凸部13が取り付けられることによって、フレーム11の固有振動数は、フレーム11の延在する方向に分散されているが、この凸部13によって振動が抑制仕切れなかった場合に、振動吸収手段16の振動吸収材16bが空洞16a内で変形・変位することで、フレーム11の振動発生時にその運動エネルギーを摩擦エネルギーとして消散させ、フレーム11の振動を吸収する。
これにより、上記の第1および第2実施形態と同様の効果を奏することができるとともに、さらに、凸部13のみでは抑制できないフレーム11に発生する渦励振が発生した場合でも、簡単な構造で低コストに、これを抑制してギャロッピングを防止することが可能となる。同時に、振動吸収手段16は、フレーム11内部に設けられるため、ダクトDの流路内における空力特性に影響を与えることがない。
本実施形態においては、振動吸収手段16の振動吸収材16bおよび空洞16aの形状および特性は上記の構成に限定されるものではなく、フレーム11の振動を吸収可能でダクトD内の流体の流れを阻害しないものであれば、その構造は限定されない。
以下、本発明に係るダクトを有するガスタービンの第4実施形態を、図面に基づいて説明する。
図8は、本実施形態におけるダクトにおける流れと直交する方向視したフレームを示す拡大側断面図であり、図9は、本実施形態におけるダクトにおける流れと直交する方向視したフレームの他の例を示す拡大側断面図である。
本実施形態において上述した第1〜第3実施形態と異なるのはカバーに関する点であり、これ以外の対応する構成要素に関しては、同一の符号を付してその説明を省略する。
本実施形態においては、図8,図9に示すように、矩形断面を有するフレーム11Aに、渦励振による応答を抑制するカバー18が設けられている。
フレーム11Aは、フレーム11に対応し、矩形断面を有すること以外は、前述したフレーム11と同様の構成とされている。
カバー18は、図8,図9に示すように、矩形断面とされるフレーム11Aの両側部にそれぞれ設けられ、フレーム11Aの外側断面形状を渦が剥離しにくい半円形に近づける構成とされている。具体的には、矩形断面のフレーム11の角部分からL字アングル(固定手段)14の幅方向外側位置にむけて、ダクトD内での下流方向にむかってフレーム11Aを拡径するように取り付けられる。
カバー18のL字アングル(固定手段)14側端部は、両側面11dよりも拡径する状態となっている。このため、フレーム11Aの両側面11dと接触するように配置されてL字アングル(固定手段)14に固定された網部12の端部よりも、カバー18のL字アングル(固定手段)14側端部が、網部12の中央側に位置することになる。また、カバー18のL字アングル(固定手段)14側端部には、網部12の表面が接触するように配置されていることもできる。
カバー18は、ボルト等で適宜取り付け・取り外し可能なように取り付けられる。カバー18は、フレーム11Aの軸方向全長に設けられることが好ましく、また、図1に示すダクト本体D1に取り付ける枠部分となっているフレーム11Aにも流路側に設けることが好ましい。
なお、カバー18とフレーム11Aの両側面11dとの間が離間しているように図示しているが、カバー18の厚さは任意に設定でき、この隙間をもうけないようにすることもできる。
フレーム11Aの上流面11aには、図8に示すように、凸部13に対応した凸部13Aが設けられる。凸部13Aは、上述した凸部13に対応した構成とされている。凸部13Aは、カバー18と一体として構成することもできるが、カバー18と別体としてフレーム11Aに取り付けることもできる。
凸部13Aの設けられていない部分では、図9に示すように、フレーム11Aの上流面11aが平面となっていることができる。
さらに、図示していないが、フレーム11Aの上流面11aまで、カバー18を延在させて、フレーム11と類似して上流側に突出した略円形の外側輪郭とすることもできる。この場合、カバー18は、フレーム11Aの軸方向全長に設けられることが好ましく、凸部13Aと一体として構成することもできる。
なお、凸部13Aとフレーム11Aの上流面11aとの間が離間しているように図示しているが、凸部13Aの厚さは任意に設定でき、この隙間をもうけないようにすることもできる。
本実施形態によれば、複数の凸部13A,13Aが取り付けられたフレーム11Aは、その延在する方向に対して、ダクトD内における流れの方向が交差しているため、流れがフレーム11Aから剥離することによって、周期的な剥離渦がフレーム11Aの下流側に発生する場合があるが、カバー18により、フレーム11Aの上流面11aとL字アングル(固定手段)14とを滑らかに結合して、剥離渦の発生を低減することができる。
さらに、凸部13Aが取り付けられることによって、フレーム11Aの固有振動数は、フレーム11の延在する方向に不均一になるよう分散されており、フレーム11Aにおける渦励振を低減することができる。また、容易な構造変更で、流体による不安定力を低減することが可能となる。
G…ガスタービン
D…ダクト
D1…ダクト本体
10…ラストチャンスフィルタ(フィルタ)
11,11A…フレーム
11a…上流面(面)
12…網部
13,13A…凸部
14…L字アングル(固定手段)
15…動吸振器
15a…弾性体
15b…質量
16…振動吸収手段
16a…空洞
16b…振動吸収材
18…カバー

Claims (8)

  1. 内部を流体が流通するダクト本体と、
    該ダクト本体に固定されて、前記流体の流通方向に交差する方向に延びるフレームと、
    該フレームにおける前記流通方向の下流側に固定された網部と、を備え、
    前記フレームにおける前記流通方向の上流側を向く面が、前記フレームの延びる方向で突出寸法の異なる凹凸形状に形成されていることを特徴とするダクト。
  2. 前記フレームの延びる方向において、前記凹凸形状の突出寸法が、渦励振による応答を抑制するように分布していることを特徴とする請求項1に記載のダクト。
  3. 前記凹凸形状が、円形または楕円形の断面形状を有することを特徴とする請求項1又は2に記載のダクト。
  4. 前記凹凸形状が、前記フレームの延びる方向において、互いに離間して前記流通方向上流側に突出するように設けられることを特徴とする請求項1から3のいずれかに記載のダクト。
  5. 前記フレームの前記流通方向下流側には、渦励振による応答を抑制する動吸振器または振動吸収手段が設けられることを特徴とする請求項1から4のいずれかに記載のダクト。
  6. 内部を流体が流通するダクト本体と、
    該ダクト本体に固定されて、前記流体の流通方向に交差する方向に延びる断面矩形のフレームと、
    該フレームにおける前記流通方向の下流側に固定された網部と、を備え、
    前記フレームにおける前記流通方向の上流側を向く面には、前記フレームで発生した剥離渦が下流側の構造物と干渉しない形状とされたカバーが設けられることを特徴とするダクト。
  7. 前記カバーが、前記フレームの延びる方向で突出寸法の異なる凹凸形状に形成されていることを特徴とする請求項6に記載のダクト。
  8. 請求項1から7のいずれかに記載のダクトを有するガスタービン。
JP2016054554A 2016-03-17 2016-03-17 ダクト、ガスタービン Active JP6630985B2 (ja)

Priority Applications (1)

Application Number Priority Date Filing Date Title
JP2016054554A JP6630985B2 (ja) 2016-03-17 2016-03-17 ダクト、ガスタービン

Applications Claiming Priority (1)

Application Number Priority Date Filing Date Title
JP2016054554A JP6630985B2 (ja) 2016-03-17 2016-03-17 ダクト、ガスタービン

Publications (2)

Publication Number Publication Date
JP2017166450A JP2017166450A (ja) 2017-09-21
JP6630985B2 true JP6630985B2 (ja) 2020-01-15

Family

ID=59912945

Family Applications (1)

Application Number Title Priority Date Filing Date
JP2016054554A Active JP6630985B2 (ja) 2016-03-17 2016-03-17 ダクト、ガスタービン

Country Status (1)

Country Link
JP (1) JP6630985B2 (ja)

Family Cites Families (7)

* Cited by examiner, † Cited by third party
Publication number Priority date Publication date Assignee Title
JPS5550565B2 (ja) * 1973-03-23 1980-12-18
JPH07224685A (ja) * 1994-02-16 1995-08-22 Toshiba Corp ガスタービン用サイレンサ
JP2000314441A (ja) * 1999-04-30 2000-11-14 Kumagai Gumi Co Ltd 同調質量型動吸収器
JP3999433B2 (ja) * 2000-02-24 2007-10-31 三菱重工業株式会社 制振ユニット及び制振装置
JP4667809B2 (ja) * 2004-09-27 2011-04-13 日本無機株式会社 ガスタービン吸気用フィルタ
US8273158B2 (en) * 2010-11-29 2012-09-25 General Electric Company Mist eliminator, moisture removal system, and method of removing water particles from inlet air
JP2016000962A (ja) * 2014-06-11 2016-01-07 株式会社東芝 ガスタービン用吸気サイレンサ

Also Published As

Publication number Publication date
JP2017166450A (ja) 2017-09-21

Similar Documents

Publication Publication Date Title
EP1992797B1 (en) Integrated acoustic damper with thin sheet insert
JP6579834B2 (ja) 燃焼器及びガスタービン
CN104179642A (zh) 用于减少噪音的翼片后缘设备
JP6113663B2 (ja) ガスタービンブレードを減衰させる方法、およびそれを実施するための振動ダンパ
US7322195B2 (en) Acoustic dampers
EP3108184A1 (en) Ventilation device with varying air velocity
WO2017029180A1 (en) Aircraft door arrangement with a noise reduced hollow space which can be covered by an aircraft door
JP4616055B2 (ja) コンプレッサ・ハウジング
JP5240857B2 (ja) 通気ダクト
JP6630985B2 (ja) ダクト、ガスタービン
JP6125651B2 (ja) ガスタービンエンジンの燃焼器のための音響減衰システム
KR100957142B1 (ko) 에너 클리너 흡기 덕트
JP6229058B2 (ja) ブレーキ装着ブラケット装置
JP6812706B2 (ja) スピーカーシステム
JP6304390B2 (ja) 吸気音低減装置
JP6503698B2 (ja) 軸流機械の翼
JP5956365B2 (ja) タービン動翼列組立体、および蒸気タービン設備
JP6835753B2 (ja) ターボ機械ロータブレード
JP2007219359A (ja) 流体音低減装置
WO2014034643A1 (ja) ガスタービン装置
JP6089749B2 (ja) ガスケット
JP2005188363A (ja) エアクリーナ
JP7376525B2 (ja) 内燃機関の吸気ダクト
JP6578225B2 (ja) 吸音スプリッタ、サイレンサ、ガスタービン用煙突、および、ガスタービン
JP2014163575A (ja) 渦抑制型点検口

Legal Events

Date Code Title Description
A521 Written amendment

Free format text: JAPANESE INTERMEDIATE CODE: A821

Effective date: 20160318

RD03 Notification of appointment of power of attorney

Free format text: JAPANESE INTERMEDIATE CODE: A7423

Effective date: 20181109

A625 Written request for application examination (by other person)

Free format text: JAPANESE INTERMEDIATE CODE: A625

Effective date: 20181218

A977 Report on retrieval

Free format text: JAPANESE INTERMEDIATE CODE: A971007

Effective date: 20191023

TRDD Decision of grant or rejection written
A01 Written decision to grant a patent or to grant a registration (utility model)

Free format text: JAPANESE INTERMEDIATE CODE: A01

Effective date: 20191112

A61 First payment of annual fees (during grant procedure)

Free format text: JAPANESE INTERMEDIATE CODE: A61

Effective date: 20191122

R150 Certificate of patent or registration of utility model

Ref document number: 6630985

Country of ref document: JP

Free format text: JAPANESE INTERMEDIATE CODE: R150

S533 Written request for registration of change of name

Free format text: JAPANESE INTERMEDIATE CODE: R313533

R350 Written notification of registration of transfer

Free format text: JAPANESE INTERMEDIATE CODE: R350