JP6568467B2 - 導電性粒子、導電材料及び接続構造体 - Google Patents

導電性粒子、導電材料及び接続構造体 Download PDF

Info

Publication number
JP6568467B2
JP6568467B2 JP2015239538A JP2015239538A JP6568467B2 JP 6568467 B2 JP6568467 B2 JP 6568467B2 JP 2015239538 A JP2015239538 A JP 2015239538A JP 2015239538 A JP2015239538 A JP 2015239538A JP 6568467 B2 JP6568467 B2 JP 6568467B2
Authority
JP
Japan
Prior art keywords
conductive
particles
particle
conductive portion
electroconductive
Prior art date
Legal status (The legal status is an assumption and is not a legal conclusion. Google has not performed a legal analysis and makes no representation as to the accuracy of the status listed.)
Active
Application number
JP2015239538A
Other languages
English (en)
Other versions
JP2016111023A (ja
Inventor
悠人 土橋
悠人 土橋
昌男 笹平
昌男 笹平
Current Assignee (The listed assignees may be inaccurate. Google has not performed a legal analysis and makes no representation or warranty as to the accuracy of the list.)
Sekisui Chemical Co Ltd
Original Assignee
Sekisui Chemical Co Ltd
Priority date (The priority date is an assumption and is not a legal conclusion. Google has not performed a legal analysis and makes no representation as to the accuracy of the date listed.)
Filing date
Publication date
Application filed by Sekisui Chemical Co Ltd filed Critical Sekisui Chemical Co Ltd
Publication of JP2016111023A publication Critical patent/JP2016111023A/ja
Application granted granted Critical
Publication of JP6568467B2 publication Critical patent/JP6568467B2/ja
Active legal-status Critical Current
Anticipated expiration legal-status Critical

Links

Images

Landscapes

  • Conductive Materials (AREA)
  • Non-Insulated Conductors (AREA)
  • Adhesives Or Adhesive Processes (AREA)
  • Chemically Coating (AREA)

Description

本発明は、基材粒子と、該基材粒子の外表面上に配置された導電部とを有する導電性粒子に関する。また、本発明は、上記導電性粒子を用いた導電材料及び接続構造体に関する。
異方性導電ペースト及び異方性導電フィルム等の異方性導電材料が広く知られている。上記異方性導電材料では、バインダー樹脂中に導電性粒子が分散されている。
上記異方性導電材料は、各種の接続構造体を得るために、例えば、フレキシブルプリント基板とガラス基板との接続(FOG(Film on Glass))、半導体チップとフレキシブルプリント基板との接続(COF(Chip on Film))、半導体チップとガラス基板との接続(COG(Chip on Glass))、並びにフレキシブルプリント基板とガラスエポキシ基板との接続(FOB(Film on Board))等に使用されている。
上記導電性粒子の一例として、下記の特許文献1には、平均粒径1〜20μmの球状の基材粒子の表面に、無電解めっき法によりニッケル導電層又はニッケル合金導電層が形成された導電性粒子が開示されている。この導電性粒子は、導電層の最表層に0.05〜4μmの微小な突起を有する。該導電層と該突起とは実質的に連続的に連なっている。
また、下記の特許文献2には、芯材粒子と、該芯材粒子を覆う金属皮膜による導電層とを有する導電性粒子が開示されている。上記芯材粒子は、コアシリカ粒子の粒子表面が、ポリオルガノシロキサン(b)で被覆された粒子である。上記金属皮膜としては、ニッケル又はニッケル合金被膜が記載されている。
特開2000−243132号公報 特開2013−251103号公報
特許文献1,2に記載のような従来の導電性粒子では、導通性が低く、接続抵抗が高くなることがある。
また、近年、電子部品の高精度化及び高密度化に伴って、小さい導電性粒子が用いられている。小さい導電性粒子では、導電層の厚みが比較的薄くなり、低い接続抵抗を達成することが困難である。さらに、導電層の厚みが薄い導電性粒子では、導電接続時に導電層が割れやすく、導通不良が生じることがある。
本発明の目的は、電極間を電気的に接続した場合に、導通信頼性を高めることができる導電性粒子を提供することである。また、本発明の目的は、上記導電性粒子を用いた導電材料及び接続構造体を提供することである。
本発明の広い局面によれば、基材粒子と、ニッケルシリサイドを含む第1の導電部と、第2の導電部とを備え、前記基材粒子の外表面上に前記第1の導電部が配置されており、前記第1の導電部の外表面上に前記第2の導電部が配置されており、前記第2の導電部が外表面に複数の突起を有する、導電性粒子が提供される。
本発明に係る導電性粒子のある特定の局面では、前記第1の導電部の厚みが0.5nm以上、50nm以下である。
本発明に係る導電性粒子のある特定の局面では、前記第2の導電部が、ニッケルを含む。
本発明に係る導電性粒子のある特定の局面では、前記導電性粒子は、前記第2の導電部の外表面を隆起させている複数の芯物質を備える。
本発明に係る導電性粒子のある特定の局面では、前記芯物質のモース硬度が4以上である。
本発明に係る導電性粒子のある特定の局面では、前記第2の導電部の外表面の全表面積100%中、前記突起がある部分の表面積が30%以上である。
本発明に係る導電性粒子のある特定の局面では、前記基材粒子の粒子径が1μm以上、5μm以下である。
本発明に係る導電性粒子のある特定の局面では、前記基材粒子の外表面の材料が珪素原子を含む。
本発明に係る導電性粒子のある特定の局面では、前記基材粒子の外表面の材料がシリカ又はシリコーンである。
本発明に係る導電性粒子のある特定の局面では、前記導電性粒子は、前記第2の導電部の外表面上に配置された絶縁性物質を備える。
本発明の広い局面によれば、上述した導電性粒子と、バインダー樹脂とを含む、導電材料が提供される。
本発明の広い局面によれば、第1の電極を表面に有する第1の接続対象部材と、第2の電極を表面に有する第2の接続対象部材と、前記第1の接続対象部材と前記第2の接続対象部材とを接続している接続部とを備え、前記接続部の材料が、上述した導電性粒子であるか、又は前記導電性粒子とバインダー樹脂とを含む導電材料であり、前記第1の電極と前記第2の電極とが前記導電性粒子により電気的に接続されている、接続構造体が提供される。
本発明に係る導電性粒子は、基材粒子と、ニッケルシリサイドを含む第1の導電部と、第2の導電部とを備え、上記基材粒子の外表面上に上記第1の導電部が配置されており、上記第1の導電部の外表面上に上記第2の導電部が配置されており、上記第2の導電部が外表面に複数の突起を有するので、電極間を電気的に接続した場合に、導通信頼性を高めることができる。
図1は、本発明の第1の実施形態に係る導電性粒子を示す断面図である。 図2は、本発明の第2の実施形態に係る導電性粒子を示す断面図である。 図3は、本発明の第3の実施形態に係る導電性粒子を示す断面図である。 図4は、本発明の第1の実施形態に係る導電性粒子を用いた接続構造体を模式的に示す断面図である。
以下、本発明の詳細を説明する。
(導電性粒子)
本発明に係る導電性粒子は、基材粒子と、ニッケルシリサイドを含む第1の導電部と、第2の導電部とを備える。本発明に係る導電性粒子では、上記基材粒子の外表面上に上記第1の導電部が配置されており、上記第1の導電部の外表面上に上記第2の導電部が配置されている。本発明に係る導電性粒子では、上記第2の導電部が外表面に、複数の突起を有する。
本発明における上述した構成によって、本発明に係る導電性粒子を用いて電極間を電気的に接続した場合に、接続抵抗を低くすることができ、導通信頼性を高めることができる。電極の表面には、酸化膜が形成されていることが多い。本発明に係る導電性粒子の使用により、電極間の接続時に、突起が酸化膜を貫通し、導電部と電極とを十分に接触させることができる。さらに、本発明に係る上述した構成によって、基材粒子と第1の導電部との間で密着性が大きく向上し、かつ実装時の衝撃が緩和されることで、第1の導電部の過度の割れを防ぐことができる。特に、第1の導電部がニッケルシリサイドを含むことで、基材粒子と第1の導電部との間で密着性が大きく向上し、かつ電極間の接続時に衝撃を緩和する効果を発現させることができ、第1の導電部の過度の割れを防ぐことができる。特に、粒子径の小さい導電性粒子をはじめとする導電層の厚みが薄い導電性粒子では、突起の基部で割れが発生することがあるが、本発明の構成により、この突起の基部の割れも防止することができる。このため、導通信頼性が高くなる。また、高温高湿下に晒された後の接続抵抗の上昇を抑えることができる。
以下、図面を参照しつつ、本発明の具体的な実施形態及び実施例を説明することにより、本発明を明らかにする。なお、参照した図面では、大きさ及び厚みなどは、図示の便宜上、実際の大きさ及び厚みから適宜変更している。また、以下に示す各実施形態における各構成は適宜組み合わせることが可能である。
図1は、本発明の第1の実施形態に係る導電性粒子を示す断面図である。
図1に示すように、導電性粒子1は、基材粒子2と、ニッケルシリサイドを含む第1の導電部3(導電層)と、第2の導電部4(導電層)と、複数の芯物質5と、絶縁性物質6を備える。導電性粒子1では、多層の導電部が形成されている。
第1の導電部3は、基材粒子2の外表面上に配置されている。第1の導電部3は、基材粒子2に接している。基材粒子2と第2の導電部4との間に、第1の導電部3が配置されている。第2の導電部4は、第1の導電部3の外表面上に配置されている。第2の導電部4は、第1の導電部3に接している。導電性粒子1は、基材粒子2の外表面が第1の導電部3及び第2の導電部4により被覆された被覆粒子である。
導電性粒子1は、第2の導電部4の外表面に複数の突起1aを有する。第1の導電部3は外表面に、複数の突起3aを有する。第2の導電部4は外表面に、複数の突起4aを有する。突起1a,3a,4aは複数である。複数の芯物質5は、基材粒子2の外表面上に配置されている。複数の芯物質5は、第1の導電部3の内側に配置されている。複数の芯物質5は、第1の導電部3及び第2の導電部4の内側に埋め込まれている。芯物質5は、突起1a,3a,4aの内側に配置されている。第1の導電部3及び第2の導電部4は、複数の芯物質5を被覆している。第2の導電部4は、第1の導電部3を介して、複数の芯物質5を被覆している。複数の芯物質5により、第1の導電部3及び第2の導電部4の外表面が隆起されており、突起1a,3a,4aが形成されている。
なお、第2の導電部4の外表面は防錆処理されている。導電性粒子1は、第2の導電部4の外表面上に、図示しない防錆膜が形成されている。
導電性粒子1は、第2の導電部4の外表面上に配置された絶縁性物質6を有する。第2の導電部4の外表面の少なくとも一部の領域が、絶縁性物質6により被覆されている。絶縁性物質6は、絶縁性を有する材料により形成されており、絶縁性粒子である。このように、本発明に係る導電性粒子は、第2の導電部の外表面上に配置された絶縁性物質を有していてもよい。
図2は、本発明の第2の実施形態に係る導電性粒子を示す断面図である。
図2に示すように、導電性粒子1Aは、基材粒子2と、ニッケルシリサイドを含む第1の導電部3A(導電層)と、第2の導電部4A(導電層)と、複数の芯物質5と、絶縁性物質6とを備える。
第1の導電部3Aは、基材粒子2の外表面上に配置されている。基材粒子2と第2の導電部4Aとの間に、第1の導電部3Aが配置されている。第2の導電部4Aは、第1の導電部3Aの外表面上に配置されている。
導電性粒子1Aは、第2の導電部4Aの外表面に複数の突起1Aaを有する。第1の導電部3Aは外表面に、突起を有さない。第1の導電部3Aの外表面形状は、球状である。第2の導電部4Aは外表面に、複数の突起4Aaを有する。突起1Aa,4Aaは複数である。複数の芯物質5は、第1の導電部3Aの外表面上に配置されている。複数の芯物質5は、第1の導電部3Aの外側に配置されている。複数の芯物質5は、第2の導電部4Aの内側に配置されている。複数の芯物質5は、第2の導電部4Aの内側に埋め込まれている。芯物質5は、突起1Aa,4Aaの内側に配置されている。第2の導電部4Aは、複数の芯物質5を被覆している。複数の芯物質5により、第2の導電部4Aの外表面が隆起されており、突起1Aa,4Aaが形成されている。このように、芯物質は、第1の導電部の外側に配置されていてもよい。芯物質は、第2の導電部の突起の内側に配置されていれば、その配置位置は特に限定されない。芯物質は、第1の導電部の内部又は内側に配置されていてもよい。芯物質は、第2の導電部の内部又は内側に配置されていてもよい。
導電性粒子1Aは、第2の導電部4Aの外表面上に配置された絶縁性物質6を有する。第2の導電部4Aの外表面の少なくとも一部の領域が、絶縁性物質6により被覆されている。
図3は、本発明の第3の実施形態に係る導電性粒子を示す断面図である。
図3に示すように、導電性粒子1Bは、基材粒子2と、ニッケルシリサイドを含む第1の導電部3B(導電層)と、第2の導電部4B(導電層)と、絶縁性物質6とを備える。
第1の導電部3Bは、基材粒子2の外表面上に配置されている。基材粒子2と第2の導電部4Bとの間に、第1の導電部3Bが配置されている。第2の導電部4Bは、第1の導電部3Bの外表面上に配置されている。
導電性粒子1Bは、第2の導電部4Bの外表面に複数の突起1Baを有する。第1の導電部3Bは外表面に、複数の突起3Baを有する。第2の導電部4Bは外表面に、複数の突起4Baを有する。突起1Ba,3Ba,4Baは複数である。
導電性粒子1Bは芯物質を有さない。導電性粒子1Bは、第1の導電部分と、第1の導電部分よりも厚みが厚い第2の導電部分とを有する。第1の導電部分が、突起1Ba,3Ba,4Baがない導電部分である。第2の導電部分が、突起1Ba,3Ba,4Baがある導電部分である。
このように、突起を形成するために、芯物質を用いなくてもよい。
接続抵抗を効果的に低くし、高温高湿下での電極間の接続信頼性を効果的に高める観点からは、上記第2の導電部の外表面の全表面積100%中、上記突起がある部分の表面積は好ましくは10%以上、より好ましくは20%以上、更に好ましくは30%以上である。上記第2の導電部の外表面の全表面積100%中、上記突起がある部分の表面積の占める割合の上限は特に限定されない。上記第2の導電部の外表面の全表面積100%中、上記突起がある部分の表面積は好ましくは99%以下、より好ましくは95%以下である。
以下、導電性粒子の詳細を説明する。なお、以下の説明において、「(メタ)アクリル」は「アクリル」と「メタクリル」との一方又は双方を意味し「(メタ)アクリレート」は「アクリレート」と「メタクリレート」との一方又は双方を意味する。
[基材粒子]
上記基材粒子としては、樹脂粒子、金属粒子を除く無機粒子、有機無機ハイブリッド粒子及び金属粒子等が挙げられる。上記基材粒子は、金属粒子を除く基材粒子であることが好ましく、樹脂粒子、金属粒子を除く無機粒子又は有機無機ハイブリッド粒子であることがより好ましい。上記基材粒子は、コアシェル粒子であってもよい。
上記基材粒子は、外表面に珪素原子を含むことが好ましく、外表面に珪素原子を含む有機無機ハイブリッド粒子又は外表面に珪素原子を含むコアシェルであることが更に好ましい。これらの好ましい基材粒子の使用により、電極間の電気的な接続により一層適した導電性粒子が得られる。
上記導電性粒子を用いて電極間を接続する際には、上記導電性粒子を電極間に配置した後、圧着することにより上記導電性粒子を圧縮させる。基材粒子が樹脂粒子又は有機無機ハイブリッド粒子であると、上記圧着の際に上記導電性粒子が変形しやすく、導電性粒子と電極との接触面積が大きくなる。このため、電極間の接続抵抗がより一層低くなる。
上記樹脂粒子を形成するための樹脂として、種々の有機物が好適に用いられる。上記樹脂粒子を形成するための樹脂としては、例えば、ポリエチレン、ポリプロピレン、ポリスチレン、ポリ塩化ビニル、ポリ塩化ビニリデン、ポリイソブチレン、ポリブタジエン等のポリオレフィン樹脂;ポリメチルメタクリレート、ポリメチルアクリレート等のアクリル樹脂;ポリアルキレンテレフタレート、ポリカーボネート、ポリアミド、フェノールホルムアルデヒド樹脂、メラミンホルムアルデヒド樹脂、ベンゾグアナミンホルムアルデヒド樹脂、尿素ホルムアルデヒド樹脂、フェノール樹脂、メラミン樹脂、ベンゾグアナミン樹脂、尿素樹脂、エポキシ樹脂、不飽和ポリエステル樹脂、飽和ポリエステル樹脂、ポリスルホン、ポリフェニレンオキサイド、ポリアセタール、ポリイミド、ポリアミドイミド、ポリエーテルエーテルケトン、ポリエーテルスルホン、及び、エチレン性不飽和基を有する種々の重合性単量体を1種もしくは2種以上重合させて得られる重合体等が挙げられる。導電材料に適した任意の圧縮時の物性を有する樹脂粒子を設計及び合成することができ、かつ基材粒子の硬度を好適な範囲に容易に制御できるので、上記樹脂粒子を形成するための樹脂は、エチレン性不飽和基を複数有する重合性単量体を1種又は2種以上重合させた重合体であることが好ましい。
上記樹脂粒子を、エチレン性不飽和基を有する単量体を重合させて得る場合には、上記エチレン性不飽和基を有する単量体としては、非架橋性の単量体と架橋性の単量体とが挙げられる。
上記非架橋性の単量体としては、例えば、スチレン、α−メチルスチレン等のスチレン系単量体;(メタ)アクリル酸、マレイン酸、無水マレイン酸等のカルボキシル基含有単量体;メチル(メタ)アクリレート、エチル(メタ)アクリレート、プロピル(メタ)アクリレート、ブチル(メタ)アクリレート、2−エチルヘキシル(メタ)アクリレート、ラウリル(メタ)アクリレート、セチル(メタ)アクリレート、ステアリル(メタ)アクリレート、シクロヘキシル(メタ)アクリレート、イソボルニル(メタ)アクリレート等のアルキル(メタ)アクリレート類;2−ヒドロキシエチル(メタ)アクリレート、グリセロール(メタ)アクリレート、ポリオキシエチレン(メタ)アクリレート、グリシジル(メタ)アクリレート等の酸素原子含有(メタ)アクリレート類;(メタ)アクリロニトリル等のニトリル含有単量体;メチルビニルエーテル、エチルビニルエーテル、プロピルビニルエーテル等のビニルエーテル類;酢酸ビニル、酪酸ビニル、ラウリン酸ビニル、ステアリン酸ビニル等の酸ビニルエステル類;エチレン、プロピレン、イソプレン、ブタジエン等の不飽和炭化水素;トリフルオロメチル(メタ)アクリレート、ペンタフルオロエチル(メタ)アクリレート、塩化ビニル、フッ化ビニル、クロルスチレン等のハロゲン含有単量体等が挙げられる。
上記架橋性の単量体としては、例えば、テトラメチロールメタンテトラ(メタ)アクリレート、テトラメチロールメタントリ(メタ)アクリレート、テトラメチロールメタンジ(メタ)アクリレート、トリメチロールプロパントリ(メタ)アクリレート、ジペンタエリスリトールヘキサ(メタ)アクリレート、ジペンタエリスリトールペンタ(メタ)アクリレート、グリセロールトリ(メタ)アクリレート、グリセロールジ(メタ)アクリレート、(ポリ)エチレングリコールジ(メタ)アクリレート、(ポリ)プロピレングリコールジ(メタ)アクリレート、(ポリ)テトラメチレングリコールジ(メタ)アクリレート、1,4−ブタンジオールジ(メタ)アクリレート等の多官能(メタ)アクリレート類;トリアリル(イソ)シアヌレート、トリアリルトリメリテート、ジビニルベンゼン、ジアリルフタレート、ジアリルアクリルアミド、ジアリルエーテル、γ−(メタ)アクリロキシプロピルトリメトキシシラン、トリメトキシシリルスチレン、ビニルトリメトキシシラン等のシラン含有単量体等が挙げられる。
上記エチレン性不飽和基を有する重合性単量体を、公知の方法により重合させることで、上記樹脂粒子を得ることができる。この方法としては、例えば、ラジカル重合開始剤の存在下で懸濁重合する方法、並びに非架橋の種粒子を用いてラジカル重合開始剤とともに単量体を膨潤させて重合する方法等が挙げられる。
上記基材粒子が金属粒子を除く無機粒子又は有機無機ハイブリッド粒子である場合に、上記基材粒子を形成するための無機物としては、シリカ、アルミナ、チタン酸バリウム、ジルコニア及びカーボンブラック等が挙げられる。上記無機物は金属ではないことが好ましい。上記シリカにより形成された粒子としては特に限定されないが、例えば、加水分解性のアルコキシシリル基を2つ以上持つケイ素化合物を加水分解して架橋重合体粒子を形成した後に、必要に応じて焼成を行うことにより得られる粒子が挙げられる。上記有機無機ハイブリッド粒子としては、例えば、架橋したアルコキシシリルポリマーとアクリル樹脂とにより形成された有機無機ハイブリッド粒子等が挙げられる。
上記有機無機ハイブリッド粒子は、コアと、該コアの表面上に配置されたシェルとを有するコアシェル型の有機無機ハイブリッド粒子であることが好ましい。上記コアが有機コアであることが好ましい。上記シェルが無機シェルであることが好ましい。電極間の接続抵抗を効果的に低くする観点からは、上記基材粒子は、有機コアと上記有機コアの表面上に配置された無機シェルとを有する有機無機ハイブリッド粒子であることが好ましい。
上記有機コアを形成するための材料としては、上述した樹脂粒子を形成するための樹脂等が挙げられる。
上記無機シェルを形成するための材料としては、上述した基材粒子を形成するための無機物が挙げられる。上記無機シェルを形成するための材料は、シリカであることが好ましい。上記無機シェルは、上記コアの表面上で、金属アルコキシドをゾルゲル法によりシェル状物とした後、該シェル状物を焼成させることにより形成されていることが好ましい。上記金属アルコキシドはシランアルコキシドであることが好ましい。上記無機シェルはシランアルコキシドにより形成されていることが好ましい。
上記基材粒子が金属粒子である場合に、該金属粒子を形成するための金属としては、銀、銅、ニッケル、ケイ素、金及びチタン等が挙げられる。但し、上記基材粒子は金属粒子ではないことが好ましい。
ニッケルシリサイドを含む第1の導電部との相性がよく、基材粒子と第1の導電部との密着性が高くなり、導通信頼性をより一層高めることができるので、上記基材粒子の外表面の材料が珪素原子を含むことが好ましい。
ニッケルシリサイドを含む第1の導電部との相性がよく、基材粒子と第1の導電部との密着性が高くなり、導通信頼性をより一層高めることができるので、上記基材粒子の外表面の材料がシリカ又はシリコーンであることが好ましく、シリカであることが好ましい。上記基材粒子がシリカである場合には、導電性粒子の突起による酸化膜の貫通性がより一層高くなる。
上記基材粒子の粒子径は、好ましくは0.1μm以上、より好ましくは0.5μm以上、更に好ましくは1μm以上であり、好ましくは100μm以下、より好ましくは20μm以下、更に好ましくは5μm以下である。特に好ましくは3μm以下である。上記基材粒子の粒子径が上記下限以上及び上記上限以下であると、電極間の間隔が小さくなり、かつ導電層の厚みを厚くしても、小さい導電性粒子が得られる。
より一層小さい導電性粒子を得ることができ、本発明の構成によって導電部の厚みが薄くても、高い導通信頼性を確保することができるので、上記基材粒子の粒子径は好ましくは0.1μm以上であり、好ましくは5μm以下である。
上記基材粒子の粒子径は、基材粒子が真球状である場合には、直径を示し、基材粒子が真球状ではない場合には、最大径を示す。
[導電部]
上記導電性粒子は、導電部として、ニッケルシリサイドを含む第1の導電部を備える。第1の導電部には、金属として、ニッケル及び珪素のみを用いた場合だけでなく、ニッケル及び珪素と他の金属とを用いた場合も含まれる。上記ニッケルシリサイドを含む第1の導電部は、ニッケル及び珪素以外の金属を含む合金層であってもよい。
上記第1の導電部におけるニッケル及び珪素以外の金属としては、金、銀、銅、白金、亜鉛、鉄、錫、鉛、アルミニウム、コバルト、インジウム、パラジウム、クロム、チタン、アンチモン、ビスマス、タリウム、ゲルマニウム、カドミウム、タングステン、モリブデン及び錫ドープ酸化インジウム(ITO)等が挙げられる。これらの金属は、1種のみが用いられてもよく、2種以上が併用されてもよい。
上記第1の導電部は、ニッケルを主金属として含むことが好ましい。上記第1の導電部全体100重量%中、ニッケルの含有量は50重量%以上であることが好ましい。上記第1の導電部全体100重量%中、ニッケルの含有量は好ましくは65重量%以上、より好ましくは80重量%以上、更に好ましくは90重量%以上である。ニッケルの含有量が上記下限以上であると、導電信頼性がより一層高くなる。
上記第1の導電部全体100重量%中、珪素原子の含有量は好ましくは0.01重量%以上、より好ましくは0.1重量%以上であり、好ましくは50重量%以下、より好ましくは40重量%以下である。珪素原子の含有量が上記下限以上であると、導電信頼性がより一層高くなる。
上記第1の導電部全体100重量%中、ニッケルと珪素原子との合計の含有量は好ましくは50.01重量%以上、より好ましくは50.1重量%以上であり、好ましくは100重量%以下である。上記第1の導電部全体100重量%中、ニッケルと珪素原子との合計の含有量の好ましい下限は、65.01重量%、65.1重量%、80.01重量%、80.1重量%、90.01重量%、90.1重量%である。ニッケルと珪素原子との合計の含有量が上記下限以上であると、導電信頼性がより一層高くなる。
上記第1の導電部の厚みは、好ましくは0.5nm以上、より好ましくは2nm以上であり、好ましくは50nm以下、より好ましくは40nm以下である。上記第1の導電部の厚みが上記下限以上及び上記上限以下であると、導電信頼性がより一層高くなる。
上記導電性粒子は、導電部として、ニッケルシリサイドを含む第1の導電部と、第2の導電部とを備える。第2の導電部は、ニッケルシリサイドを含む第1の導電部とは異なる導電部である。第2の導電部はニッケルを含むことが好ましい。第2の導電部がニッケルを含む導電部である場合に、第2の導電部には、ニッケルのみを用いた場合だけでなく、ニッケルと他の金属とを用いた場合も含まれる。第2の導電部及びニッケルを含む導電部は、合金層であってもよく、2層以上の多層構造を有していてもよい。上記第2の導電部は、導電性粒子における導電性部分の最表面に配置されていることが好ましい。
上記第2の導電部における金属としては、例えば、ニッケル、金、銀、銅、白金、亜鉛、鉄、錫、鉛、アルミニウム、コバルト、ニッケル、インジウム、パラジウム、ロジウム、クロム、チタン、アンチモン、ビスマス、タリウム、ゲルマニウム、カドミウム、タングステン、モリブデン及び錫ドープ酸化インジウム(ITO)等が挙げられる。これらの金属は、1種のみが用いられてもよく、2種以上が併用されてもよい。
上記第2の導電部はニッケルを主金属として含むことが好ましい。上記第2の導電部全体100重量%中、ニッケルの含有量は50重量%以上であることが好ましい。上記第2の導電部全体100重量%中、ニッケルの含有量は好ましくは65重量%以上、より好ましくは80重量%以上、更に好ましくは90重量%以上である。ニッケルの含有量が上記下限以上であると、導電信頼性がより一層高くなる。
また、上記第2の導電部がニッケルを含み、上記第2の導電部におけるニッケルを含む導電部全体100重量%中、ニッケルの含有量は50重量%以上であることが好ましい。上記第2の導電部における上記ニッケルを含む導電部全体100重量%中、ニッケルの含有量は好ましくは65重量%以上、より好ましくは80重量%以上、更に好ましくは90重量%以上である。ニッケルの含有量が上記下限以上であると、導電信頼性がより一層高くなる。
上記第2の導電部の厚みは、好ましくは50nm以上、より好ましくは80nm以上であり、好ましくは200nm以下、より好ましくは180nm以下である。上記第2の導電部の厚みが上記下限以上及び上記上限以下であると、導電信頼性がより一層高くなる。
上記第1の導電部と上記第2の導電部との合計の厚みは、好ましくは50nm以上、より好ましくは80nm以上であり、好ましくは250nm以下、より好ましくは220nm以下である。上記第1の導電部と上記第2の導電部との合計の厚みが上記下限以上及び上記上限以下であると、導電信頼性がより一層高くなる。
上記第2の導電部は外表面に複数の突起を有する。導電性粒子により接続される電極の表面には、酸化被膜が形成されていることが多い。導電性の突起を有する導電性粒子の使用により、電極間に導電性粒子を配置した後、圧着させることにより、突起により酸化被膜が効果的に排除される。このため、電極と導電性粒子とをより一層確実に接触させることができ、電極間の接続抵抗がより一層低くなる。さらに、導電性粒子が表面に絶縁性物質を有する場合、又は導電性粒子が樹脂中に分散されて導電材料として用いられる場合に、導電性粒子の突起によって、導電性粒子と電極との間の絶縁性物質又は樹脂が効果的に排除される。このため、電極間の導通信頼性が高くなる。
上記突起は複数である。上記導電性粒子1個当たりの上記第2の導電部の外表面の突起は、好ましくは3個以上、より好ましくは5個以上である。上記突起の数の上限は特に限定されない。突起の数の上限は導電性粒子の粒子径等を考慮して適宜選択できる。
複数の上記突起の平均高さは、好ましくは0.001μm以上、より好ましくは0.05μm以上であり、好ましくは0.9μm以下、より好ましくは0.2μm以下である。上記突起の平均高さが上記下限以上及び上記上限以下であると、電極間の接続抵抗が効果的に低くなる。
上記突起の高さは、導電性粒子の中心と突起の先端とを結ぶ線(図1に示す破線L1)上における、突起が無いと想定した場合の導電部の仮想線(図1に示す破線L2)上(突起が無いと想定した場合の球状の導電性粒子の外表面上)から突起の先端までの距離を示す。すなわち、図1においては、破線L1と破線L2との交点から突起の先端までの距離を示す。
[芯物質]
上記芯物質が上記導電層中に埋め込まれていることによって、上記第2の導電部が外表面に、複数の突起を有するようにすることが容易である。
上記突起を形成する方法としては、基材粒子の表面に芯物質を付着させた後、無電解めっきにより導電層を形成する方法、並びに基材粒子の表面に無電解めっきにより導電層を形成した後、芯物質を付着させ、更に無電解めっきにより導電層を形成する方法等が挙げられる。上記突起を形成する他の方法としては、基材粒子の表面上に、第1の導電部を形成した後、該第1の導電部上に芯物質を配置し、次に第2の導電部形成する方法、並びに基材粒子の表面上に導電部(第1の導電部又は第2の導電部等)を形成する途中段階で、芯物質を添加する方法等が挙げられる。また、突起を形成するために、上記芯物質を用いずに、基材粒子に無電解めっきにより導電部を形成した後、導電部の表面上に突起状にめっきを析出させ、更に無電解めっきにより導電層を形成する方法等を用いてもよい。
上記基材粒子の外表面上に芯物質を配置する方法としては、例えば、基材粒子の分散液中に、芯物質を添加し、基材粒子の表面に芯物質を、例えば、ファンデルワールス力により集積させ、付着させる方法、並びに基材粒子を入れた容器に、芯物質を添加し、容器の回転等による機械的な作用により基材粒子の表面に芯物質を付着させる方法等が挙げられる。なかでも、付着させる芯物質の量を制御しやすいため、分散液中の基材粒子の表面に芯物質を集積させ、付着させる方法が好ましい。
上記芯物質の材料は特に限定されない。上記芯物質の材料のモース硬度は高いことが好ましい。
上記芯物質の材料の具体例としては、チタン酸バリウム(モース硬度4.5)、ニッケル(モース硬度5)、シリカ(二酸化珪素、モース硬度6〜7)、酸化チタン(モース硬度7)、ジルコニア(モース硬度8〜9)、アルミナ(モース硬度9)、炭化タングステン(モース硬度9)及びダイヤモンド(モース硬度10)等が挙げられる。上記無機粒子は、ニッケル、シリカ、酸化チタン、ジルコニア、アルミナ、炭化タングステン又はダイヤモンドであることが好ましく、シリカ、酸化チタン、ジルコニア、アルミナ、炭化タングステン又はダイヤモンドであることがより好ましく、酸化チタン、ジルコニア、アルミナ、炭化タングステン又はダイヤモンドであることが更に好ましく、ジルコニア、アルミナ、炭化タングステン又はダイヤモンドであることが特に好ましい。上記芯物質の材料のモース硬度は好ましくは4以上、より好ましくは5以上、より一層好ましくは6以上、更に好ましくは7以上、特に好ましくは7.5以上である。
上記芯物質の形状は特に限定されない。芯物質の形状は塊状であることが好ましい。芯物質としては、例えば、粒子状の塊、複数の微小粒子が凝集した凝集塊、及び不定形の塊等が挙げられる。
上記芯物質の平均径(平均粒子径)は、好ましくは0.001μm以上、より好ましくは0.05μm以上であり、好ましくは0.9μm以下、より好ましくは0.2μm以下である。上記芯物質の平均径が上記下限以上及び上記上限以下であると、電極間の接続抵抗が効果的に低くなる。
上記芯物質の「平均径(平均粒子径)」は、数平均径(数平均粒子径)を示す。芯物質の平均径は、任意の芯物質50個を電子顕微鏡又は光学顕微鏡にて観察し、平均値を算出することにより求められる。
[絶縁性物質]
本発明に係る導電性粒子は、上記第2の導電部の外表面上に配置された絶縁性物質を備えることが好ましい。この場合には、導電性粒子を電極間の接続に用いると、隣接する電極間の短絡を防止できる。具体的には、複数の導電性粒子が接触したときに、複数の電極間に絶縁性物質が存在するので、上下の電極間ではなく横方向に隣り合う電極間の短絡を防止できる。なお、電極間の接続の際に、2つの電極で導電性粒子を加圧することにより、導電性粒子の導電部と電極との間の絶縁性物質を容易に排除できる。
電極間の圧着時に上記絶縁性物質をより一層容易に排除できることから、上記絶縁性物質は、絶縁性粒子であることが好ましい。
上記絶縁性物質の材料である絶縁性樹脂の具体例としては、ポリオレフィン類、(メタ)アクリレート重合体、(メタ)アクリレート共重合体、ブロックポリマー、熱可塑性樹脂、熱可塑性樹脂の架橋物、熱硬化性樹脂及び水溶性樹脂等が挙げられる。
上記ポリオレフィン類としては、ポリエチレン、エチレン−酢酸ビニル共重合体及びエチレン−アクリル酸エステル共重合体等が挙げられる。上記(メタ)アクリレート重合体としては、ポリメチル(メタ)アクリレート、ポリエチル(メタ)アクリレート及びポリブチル(メタ)アクリレート等が挙げられる。上記ブロックポリマーとしては、ポリスチレン、スチレン−アクリル酸エステル共重合体、SB型スチレン−ブタジエンブロック共重合体、及びSBS型スチレン−ブタジエンブロック共重合体、並びにこれらの水素添加物等が挙げられる。上記熱可塑性樹脂としては、ビニル重合体及びビニル共重合体等が挙げられる。上記熱硬化性樹脂としては、エポキシ樹脂、フェノール樹脂及びメラミン樹脂等が挙げられる。上記水溶性樹脂としては、ポリビニルアルコール、ポリアクリル酸、ポリアクリルアミド、ポリビニルピロリドン、ポリエチレンオキシド及びメチルセルロース等が挙げられる。なかでも、水溶性樹脂が好ましく、ポリビニルアルコールがより好ましい。
上記第2の導電部の外表面、及び絶縁性粒子の表面はそれぞれ、反応性官能基を有する化合物によって被覆されていてもよい。第2の導電部の外表面と絶縁性粒子の表面とは、直接化学結合していなくてもよく、反応性官能基を有する化合物によって間接的に化学結合していてもよい。第2の導電部の外表面にカルボキシル基を導入した後、該カルボキシル基がポリエチレンイミンなどの高分子電解質を介して絶縁性粒子の表面の官能基と化学結合していても構わない。
上記絶縁性物質の平均径(平均粒子径)は、導電性粒子の粒子径及び導電性粒子の用途等によって適宜選択できる。上記絶縁性物質の平均径(平均粒子径)は好ましくは0.005μm以上、より好ましくは0.01μm以上であり、好ましくは1μm以下、より好ましくは0.5μm以下である。絶縁性物質の平均径が上記下限以上であると、導電性粒子がバインダー樹脂中に分散されたときに、複数の導電性粒子における導電層同士が接触し難くなる。絶縁性粒子の平均径が上記上限以下であると、電極間の接続の際に、電極と導電性粒子との間の絶縁性物質を排除するために、圧力を高くしすぎる必要がなくなり、高温に加熱する必要もなくなる。
上記絶縁性物質の「平均径(平均粒子径)」は、数平均径(数平均粒子径)を示す。絶縁性物質の平均径は、粒度分布測定装置等を用いて求められる。
[防錆処理]
導電性粒子の腐食を抑え、電極間の接続抵抗を低くするために、上記第2の導電部の外表面は、酸化防止剤により防錆処理されていることが好ましい。
上記酸化防止剤は特に限定されない。上記酸化防止剤としては、窒素含有化合物等が挙げられる。上記窒素含有化合物としては、ベンゾトリアゾール化合物、イミダゾール化合物、チアゾール化合物、トリアジン、2−メルカプトピリミジン、インドール、ピロール、アデニン、チオバルビツル酸、チオウラシル、ロダニン、チオゾリジンチオン、1−フェニル−2−テトラゾリン−5−チオン及び2−メルカプトピリジン等が挙げられる。上記酸化防止剤は1種のみが用いられてもよく、2種以上が併用されてもよい。
上記ベンゾトリアゾール化合物としては、ベンゾトリアゾール、4−メチル−1H−ベンゾトリアゾール、4−カルボキシ−1H−ベンゾトリアゾール、5−メチル−1H−ベンゾトリアゾール、5,6−ジメチル−1H−ベンゾトリアゾール及びベンゾトリアゾールブチルエステル等が挙げられる。上記イミダゾール化合物としては、イミダゾール又はベンゾイミダゾール等が挙げられる。上記チアゾール化合物としては、チアゾール又はベンゾチアゾール等が挙げられる。
(導電材料)
本発明に係る導電材料は、上述した導電性粒子と、バインダー樹脂とを含む。上記導電性粒子は、バインダー樹脂中に分散されて用いられることが好ましく、バインダー樹脂中に分散されて導電材料として用いられることが好ましい。上記導電材料は、異方性導電材料であることが好ましい。上記導電材料は、電極間の電気的な接続に用いられることが好ましい。上記導電材料は回路接続用導電材料であることが好ましい。
上記バインダー樹脂は特に限定されない。上記バインダー樹脂として、公知の絶縁性の樹脂が用いられる。上記バインダー樹脂は、熱可塑性成分(熱可塑性化合物)又は硬化性成分を含むことが好ましく、硬化性成分を含むことがより好ましい。上記硬化性成分としては、光硬化性成分及び熱硬化性成分が挙げられる。上記光硬化性成分は、光硬化性化合物及び光重合開始剤を含むことが好ましい。上記熱硬化性成分は、熱硬化性化合物及び熱硬化剤を含むことが好ましい。
上記バインダー樹脂としては、例えば、ビニル樹脂、熱可塑性樹脂、硬化性樹脂、熱可塑性ブロック共重合体及びエラストマー等が挙げられる。上記バインダー樹脂は1種のみが用いられてもよく、2種以上が併用されてもよい。
上記ビニル樹脂としては、例えば、酢酸ビニル樹脂、アクリル樹脂及びスチレン樹脂等が挙げられる。上記熱可塑性樹脂としては、例えば、ポリオレフィン樹脂、エチレン−酢酸ビニル共重合体及びポリアミド樹脂等が挙げられる。上記硬化性樹脂としては、例えば、エポキシ樹脂、ウレタン樹脂、ポリイミド樹脂及び不飽和ポリエステル樹脂等が挙げられる。なお、上記硬化性樹脂は、常温硬化型樹脂、熱硬化型樹脂、光硬化型樹脂又は湿気硬化型樹脂であってもよい。上記硬化性樹脂は、硬化剤と併用されてもよい。上記熱可塑性ブロック共重合体としては、例えば、スチレン−ブタジエン−スチレンブロック共重合体、スチレン−イソプレン−スチレンブロック共重合体、スチレン−ブタジエン−スチレンブロック共重合体の水素添加物、及びスチレン−イソプレン−スチレンブロック共重合体の水素添加物等が挙げられる。上記エラストマーとしては、例えば、スチレン−ブタジエン共重合ゴム、及びアクリロニトリル−スチレンブロック共重合ゴム等が挙げられる。
上記導電材料は、上記導電性粒子及び上記バインダー樹脂の他に、例えば、充填剤、増量剤、軟化剤、可塑剤、重合触媒、硬化触媒、着色剤、酸化防止剤、熱安定剤、光安定剤、紫外線吸収剤、滑剤、帯電防止剤及び難燃剤等の各種添加剤を含んでいてもよい。
本発明に係る導電材料は、導電ペースト及び導電フィルム等として使用され得る。本発明に係る導電材料が、導電フィルムである場合には、導電性粒子を含む導電フィルムに、導電性粒子を含まないフィルムが積層されていてもよい。上記導電ペーストは、異方性導電ペーストであることが好ましい。上記導電フィルムは、異方性導電フィルムであることが好ましい。
上記導電材料100重量%中、上記バインダー樹脂の含有量は好ましくは10重量%以上、より好ましくは30重量%以上、更に好ましくは50重量%以上、特に好ましくは70重量%以上であり、好ましくは99.99重量%以下、より好ましくは99.9重量%以下である。上記バインダー樹脂の含有量が上記下限以上及び上記上限以下であると、電極間に導電性粒子が効率的に配置され、導電材料により接続された接続対象部材の接続信頼性がより一層高くなる。
上記導電材料100重量%中、上記導電性粒子の含有量は好ましくは0.01重量%以上、より好ましくは0.1重量%以上であり、好ましくは80重量%以下、より好ましくは60重量%以下、更に好ましくは40重量%以下、特に好ましくは20重量%以下、最も好ましくは10重量%以下である。上記導電性粒子の含有量が上記下限以上及び上記上限以下であると、電極間の導通信頼性がより一層高くなる。
(接続構造体)
上記導電性粒子を用いて、又は上記導電性粒子とバインダー樹脂とを含む導電材料を用いて、接続対象部材を接続することにより、接続構造体を得ることができる。
上記接続構造体は、第1の接続対象部材と、第2の接続対象部材と、第1,第2の接続対象部材を接続している接続部とを備え、上記接続部の材料が、上述した導電性粒子であるか、又は上述した導電性粒子とバインダー樹脂とを含む導電材料であることが好ましい。上記接続部が、上述した導電性粒子により形成されているか、又は上述した導電性粒子とバインダー樹脂とを含む導電材料により形成されている接続構造体であることが好ましい。導電性粒子が用いられた場合には、接続部自体が導電性粒子である。すなわち、第1,第2の接続対象部材が導電性粒子により接続される。
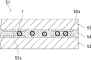
図4に、本発明の第1の実施形態に係る導電性粒子を用いた接続構造体を模式的に断面図で示す。
図4に示す接続構造体51は、第1の接続対象部材52と、第2の接続対象部材53と、第1,第2の接続対象部材52,53を接続している接続部54とを備える。接続部54は、導電性粒子1を含む導電材料により形成されている。上記導電材料が熱硬化性を有し、接続部54が導電材料を熱硬化させることにより形成されていることが好ましい。なお、図4では、導電性粒子1は、図示の便宜上、略図的に示されている。導電性粒子1にかえて、導電性粒子1A,1B等を用いてもよい。
第1の接続対象部材52は表面(上面)に、複数の第1の電極52aを有する。第2の接続対象部材53は表面(下面)に、複数の第2の電極53aを有する。第1の電極52aと第2の電極53aとが、1つ又は複数の導電性粒子1により電気的に接続されている。従って、第1,第2の接続対象部材52,53が導電性粒子1により電気的に接続されている。
上記接続構造体の製造方法は特に限定されない。接続構造体の製造方法の一例としては、第1の接続対象部材と第2の接続対象部材との間に上記導電材料を配置し、積層体を得た後、該積層体を加熱及び加圧する方法等が挙げられる。上記加圧の圧力は9.8×10〜4.9×10Pa程度である。上記加熱の温度は、120〜220℃程度である。
上記接続対象部材としては、具体的には、半導体チップ、コンデンサ及びダイオード等の電子部品、並びにプリント基板、フレキシブルプリント基板、ガラスエポキシ基板及びガラス基板等の回路基板などの電子部品等が挙げられる。上記接続対象部材は電子部品であることが好ましい。上記導電性粒子は、電子部品における電極の電気的な接続に用いられることが好ましい。
上記接続対象部材に設けられている電極としては、金電極、ニッケル電極、錫電極、アルミニウム電極、銀電極、SUS電極、銅電極、モリブデン電極及びタングステン電極等の金属電極が挙げられる。上記接続対象部材がフレキシブルプリント基板である場合には、上記電極は金電極、ニッケル電極、錫電極又は銅電極であることが好ましい。上記接続対象部材がガラス基板である場合には、上記電極はアルミニウム電極、銅電極、モリブデン電極又はタングステン電極であることが好ましい。なお、上記電極がアルミニウム電極である場合には、アルミニウムのみで形成された電極であってもよく、金属酸化物層の表面にアルミニウム層が積層された電極であってもよい。上記金属酸化物層の材料としては、3価の金属元素がドープされた酸化インジウム及び3価の金属元素がドープされた酸化亜鉛等が挙げられる。上記3価の金属元素としては、Sn、Al及びGa等が挙げられる。
以下、実施例及び比較例を挙げて、本発明を具体的に説明する。本発明は、以下の実施例のみに限定されない。
(実施例1)
(1)基材粒子の作製
攪拌機及び温度計が取り付けられた500mLの反応容器内に、0.13重量%のアンモニア水溶液300gを入れた。次に、反応容器内のアンモニア水溶液中に、3−メタクリロキシプロピルトリメトキシシラン2.4gと、ビニルトリメトキシシラン18.2gと、メチルトリメトキシシラン2.4gとの混合物をゆっくりと添加した。30rpmで撹拌しながら、加水分解及び縮合反応を進行させた後、25重量%アンモニア水溶液2.4mL添加した後、アンモニア水溶液中から粒子を単離して、縮合体粒子を得た。
得られた縮合体粒子を酸素分圧10−17atm、400℃(熱処理温度)で2時間焼成して、外表面に珪素原子を含む有機無機ハイブリッド粒子(基材粒子A、粒子径:3.00μm)を得た。
(2)芯物質の付着工程
上記基材粒子Aをエッチングし、水洗した。次に、パラジウム触媒を8重量%含むパラジウム触媒化液100mL中に上記基材粒子Aを添加し、攪拌した。その後、ろ過し、洗浄した。pH6の0.5重量%ジメチルアミンボラン液に上記基材粒子Aを添加し、パラジウムが付着された基材粒子Aを得た。
パラジウムが付着された基材粒子Aをイオン交換水300mL中で3分間攪拌し、分散させ、分散液を得た。次に、ニッケル粒子スラリー(平均粒子径150nm、モース硬度5)1gを3分間かけて上記分散液に添加し、芯物質が付着された基材粒子Aの懸濁液を得た。
(2)導電部の形成工程
また、硫酸ニッケル0.11mol/L、次亜リン酸ナトリウム1.40mol/L及びクエン酸ナトリウム0.25mol/Lを含むニッケルめっき液(pH4.0)を用意した。
得られた懸濁液を60℃にて攪拌しながら、上記ニッケルめっき液を懸濁液に徐々に滴下し、無電解ニッケルめっきを行い、ニッケル−リン導電部(リン含有量8重量%)を形成し、液をろ過することにより、粒子を取り出し、水洗し、乾燥し、窒素雰囲気で400℃、1時間熱処理を加えることで、ニッケルシリサイドを含む第1の導電部(導電層、厚み3nm、Ni含有量87重量%、Si含有量5重量%)を形成した。また、第1の導電部の外表面に、ニッケルとリンとを含む第2の導電部(導電層、厚み97nm、ニッケル含有量92重量%)が形成されていた。
このようにして、基材粒子Aの表面上に第1の導電部(厚み3nm)及び第2の導電部(厚み97nm)が形成されており、導電部の外表面の全表面積100%中、突起がある部分の表面積が70%である導電性粒子を得た。
(実施例2)
還元剤である次亜リン酸ナトリウム1.40mol/Lをジメチルアミンボラン0.92mol/Lに変更したこと、結果として第1の導電部のNi含有量を94重量%、第2の導電部のNi含有量を99重量%に変更したこと以外は実施例1と同様にして、導電性粒子を得た。
(実施例3)
還元剤である次亜リン酸ナトリウム1.40mol/Lを塩化チタン(III)2.70mol/Lに変更したこと、結果として第1の導電部のNi含有量を95重量%、第2の導電部のNi含有量を100重量%に変更したこと以外は実施例2と同様にして、導電性粒子を得た。
(実施例4)
ニッケル粒子スラリーをアルミナ粒子スラリー(平均粒子径150nm、モース硬度9)に変更したこと以外は実施例1と同様にして、導電性粒子を得た。
(実施例5)
ニッケル粒子スラリーを用いずに、導電部の形成時に部分的に析出量がかわるように調整して突起を形成したこと以外は、実施例1と同様にして、導電性粒子を得た。
(実施例6)
粒子径が2.5μmであるジビニルベンゼン共重合体樹脂粒子(積水化学工業社製「ミクロパールSP−2025」)の表面を、ゾルゲル反応による縮合反応を用いて無機シェル(厚み250nm)により被覆したコアシェル型の有機無機ハイブリッド粒子3.00μm(基材粒子B)を得た。上記基材粒子Aを上記基材粒子Bに変更したこと以外は実施例1と同様にして、導電性粒子を得た。
(実施例7)
実施例1における第2の導電部(厚み97nm)の厚みを87nmに変更したこと、並びに、この厚みを変更した第2の導電部の外表面に、無電解金めっきにより、金層(第2の導電部、厚み10nm)を形成して、多層の第2の導電部(第2の導電部全体でのNi含有量80重量%、第2の導電部におけるニッケルを含む導電部でのNi含有量92重量%)を形成したこと以外は実施例1と同様にして、導電性粒子を得た。
(実施例8)
熱処理温度を320℃に変更して、第1の導電部の厚みを0.5nm、Ni含有量を78重量%、Si含有量を20重量%、第2の導電部の厚みを99nm、Ni含有量92重量%に変更したこと以外は実施例1と同様にして、導電性粒子を得た。
(実施例9)
熱処理温度を480℃に変更して、第1の導電部の厚みを10nm、Ni含有量を91重量%、Si含有量を1重量%、第2の導電部の厚みを90nmに変更したこと以外は実施例1と同様にして、導電性粒子を得た。
(実施例10)
熱処理温度を600℃に変更して、第1の導電部の厚みを30nm、Ni含有量を92重量%、Si含有量を0.1重量%、第2の導電部の厚みを70nmに変更したこと以外は実施例1と同様にして、導電性粒子を得た。
(実施例11)
基材粒子Aを粒子径のみが異なり、粒子径が2.25μmである基材粒子Cを用意した。上記基材粒子Aを上記基材粒子Cに変更したこと以外は実施例1と同様にして、導電性粒子を得た。
(実施例12)
基材粒子Aを粒子径のみが異なり、粒子径が5.25μmである基材粒子Dを用意した。上記基材粒子Aを上記基材粒子Dに変更したこと以外は実施例1と同様にして、導電性粒子を得た。
(実施例13)
ニッケル粒子スラリーの使用量をかえて、導電部の外表面の全表面積100%中、突起がある部分の表面積を25%に変更したこと以外は実施例1と同様にして、導電性粒子を得た。
(実施例14)
(1)絶縁性粒子の作製
4ツ口セパラブルカバー、攪拌翼、三方コック、冷却管及び温度プローブが取り付けられた1000mLのセパラブルフラスコに、メタクリル酸メチル100mmolと、N,N,N−トリメチル−N−2−メタクリロイルオキシエチルアンモニウムクロライド1mmolと、2,2’−アゾビス(2−アミジノプロパン)二塩酸塩1mmolとを含むモノマー組成物を固形分率が5重量%となるようにイオン交換水に秤取した後、200rpmで攪拌し、窒素雰囲気下70℃で24時間重合を行った。反応終了後、凍結乾燥して、表面にアンモニウム基を有し、平均粒子径220nm及びCV値10%の絶縁性粒子を得た。
絶縁性粒子を超音波照射下でイオン交換水に分散させ、絶縁性粒子の10重量%水分散液を得た。
実施例1で得られた導電性粒子10gをイオン交換水500mLに分散させ、絶縁性粒子の水分散液4gを添加し、室温で6時間攪拌した。3μmのメッシュフィルターでろ過した後、更にメタノールで洗浄し、乾燥し、絶縁性粒子が付着した導電性粒子を得た。
走査型電子顕微鏡(SEM)により観察したところ、導電性粒子の表面に絶縁性粒子による被覆層が1層のみ形成されていた。画像解析により導電性粒子の中心より2.5μmの面積に対する絶縁性粒子の被覆面積(即ち絶縁性粒子の粒子径の投影面積)を算出したところ、被覆率は30%であった。
(比較例1)
芯物質を用いずに、突起を形成しなかったこと以外は実施例1と同様にして、導電性粒子を得た。
(比較例2)
熱処理温度を800℃に変更して、第1の導電部の厚みを55nm、Ni含有量を92重量%、Si含有量を0.01重量%に変更したこと以外は比較例1と同様にして、導電性粒子を得た。
(比較例3)
熱処理温度を280℃に変更して、第1の導電部の厚みを0.2nm、Ni含有量を42重量%、Si含有量を50重量%に変更したこと以外は比較例1と同様にして、導電性粒子を得た。
(参考例1)
基材粒子Aをジビニルベンゼン共重合体樹脂粒子(積水化学工業社製「ミクロパールSP−203」)(基材粒子E)に変更したこと、結果として第1の導電部を形成しなかったこと以外は実施例1と同様にして、導電性粒子を得た。
(評価)
(1)第1の導電部及び第2の導電部における金属の含有量
集束イオンビームを用いて、得られた導電性粒子の薄膜切片を作製した。透過型電子顕微鏡FE−TEM(日本電子社製「JEM−2010FEF」)を用いて、エネルギー分散型X線分析装置(EDS)により、第1の導電部全体及び第2の導電部全体における金属の含有量を測定した。
(2)初期の接続抵抗
得られた導電性粒子を含有量が10重量%となるように、三井化学社製「ストラクトボンドXN−5A」に添加し、分散させて、異方性導電ペーストを作製した。
L/Sが20μm/20μmであるITO電極パターンを上面に有する透明ガラス基板を用意した。また、L/Sが20μm/20μmである金電極パターンを下面に有する半導体チップを用意した。
上記透明ガラス基板上に、作製直後の異方性導電ペーストを厚さ30μmとなるように塗工し、異方性導電ペースト層を形成した。次に、異方性導電ペースト層上に上記半導体チップを、電極同士が対向するように積層した。その後、異方性導電ペースト層の温度が185℃となるようにヘッドの温度を調整しながら、半導体チップの上面に加圧加熱ヘッドを載せ、1MPaの圧力をかけて異方性導電ペースト層を185℃で硬化させて、接続構造体を得た。
得られた接続構造体の上下の電極間の接続抵抗を、4端子法により測定した。2つの接続抵抗の平均値を算出した。なお、電圧=電流×抵抗の関係から、一定の電流を流した時の電圧を測定することにより接続抵抗を求めることができる。初期の接続抵抗を下記の基準で判定した。
[初期の接続抵抗の判定基準]
○○○:接続抵抗が1.5Ω以下
○○:接続抵抗が1.5Ωを超え、2.0Ω以下
○:接続抵抗が2.0Ωを超え、3.0Ω以下
△:接続抵抗が3.0Ωを超え、5.0Ω以下
×:接続抵抗が5.0Ωを超える
(3)信頼性試験後の接続抵抗(導通信頼性)
上記(2)初期の接続抵抗の評価で得られた接続構造体を、85℃及び相対湿度85%の条件で放置した。放置開始から150時間後に、上記(2)初期の接続抵抗の評価と同様に電極間の接続抵抗を4端子法により測定した。信頼性試験後の接続抵抗を下記の基準で判定した。
[信頼性試験後の接続抵抗の判定基準]
○○○:接続抵抗(放置前)の平均値に比べ、接続抵抗(放置後)の平均値が110%未満
○○:接続抵抗(放置前)の平均値に比べ、接続抵抗(放置後)の平均値が110%以上、125%未満
○:接続抵抗(放置前)の平均値に比べ、接続抵抗(放置後)の平均値が125%以上、150%未満
△:接続抵抗(放置前)の平均値に比べ、接続抵抗(放置後)の平均値が150%以上、200%未満
×:接続抵抗(放置前)の平均値に比べ、接続抵抗(放置後)の平均値が200%以上
結果を下記の表1に示す。
Figure 0006568467
なお、上記(3)信頼性試験後の接続抵抗の評価では、得られた接続構造体を85℃及び相対湿度85%の条件で放置した。接続構造体を得る前の導電性粒子を85℃及び相対湿度85%の条件で放置した後に、接続構造体を得た場合にも、接続抵抗の上昇傾向について、上記(3)信頼性試験後の接続抵抗の評価結果と同様の傾向が見られた。
また、実施例12,13及び参考例1の初期の接続抵抗及び信頼性試験後の接続抵抗の評価結果はいずれも「△」であるが、初期の接続抵抗及び信頼性試験後の接続抵抗の具体的な数値に関しては、実施例12,13の方が参考例1よりも優れていた。また、参考例1において、基材粒子Eの粒子径は3.00μmであるが、粒子径を5.25μmに変更した場合に、初期の接続抵抗及び信頼性試験後の接続抵抗の結果が悪くなることを確認した。また、参考例1において、導電部の外表面の全表面積100%中、突起がある部分の表面積は70%であるが、ニッケル粒子スラリーの使用量をかえて、導電部の外表面の全表面積100%中、突起がある部分の表面積を25%に変更した場合に、初期の接続抵抗及び信頼性試験後の接続抵抗の結果が悪くなることを確認した。
初期の接続抵抗及び信頼性試験後の接続抵抗の具体的な数値に関しては、実施例3,4の方が実施例1,2,5〜7,9〜11,14よりも優れていた。
1,1A,1B…導電性粒子
1a,1Aa,1Ba…突起
2…基材粒子
3,3A,3B…第1の導電部
3a,3Ba…突起
4,4A,4B…第2の導電部
4a,4Aa,4Ba…突起
5…芯物質
6…絶縁性物質
51…接続構造体
52…第1の接続対象部材
52a…第1の電極
53…第2の接続対象部材
53a…第2の電極
54…接続部

Claims (12)

  1. 基材粒子と、
    ニッケルシリサイドを含む第1の導電部と、
    第2の導電部とを備え、
    前記基材粒子の外表面上に前記第1の導電部が配置されており、前記第1の導電部の外表面上に前記第2の導電部が配置されており、
    前記第2の導電部が外表面に複数の突起を有する、導電性粒子。
  2. 前記第1の導電部の厚みが0.5nm以上、50nm以下である、請求項1に記載の導電性粒子。
  3. 前記第2の導電部が、ニッケルを含む、請求項1又は2に記載の導電性粒子。
  4. 前記第2の導電部の外表面を隆起させている複数の芯物質を備える、請求項1〜3のいずれか1項に記載の導電性粒子。
  5. 前記芯物質のモース硬度が4以上である、請求項4に記載の導電性粒子。
  6. 前記第2の導電部の外表面の全表面積100%中、前記突起がある部分の表面積が30%以上である、請求項1〜5のいずれか1項に記載の導電性粒子。
  7. 前記基材粒子の粒子径が1μm以上、5μm以下である、請求項1〜6のいずれか1項に記載の導電性粒子。
  8. 前記基材粒子の外表面の材料が珪素原子を含む、請求項1〜7のいずれか1項に記載の導電性粒子。
  9. 前記基材粒子の外表面の材料がシリカ又はシリコーンである、請求項1〜8のいずれか1項に記載の導電性粒子。
  10. 前記第2の導電部の外表面上に配置された絶縁性物質を備える、請求項1〜9のいずれか1項に記載の導電性粒子。
  11. 請求項1〜10のいずれか1項に記載の導電性粒子と、バインダー樹脂とを含む、導電材料。
  12. 第1の電極を表面に有する第1の接続対象部材と、
    第2の電極を表面に有する第2の接続対象部材と、
    前記第1の接続対象部材と前記第2の接続対象部材とを接続している接続部とを備え、
    前記接続部の材料が、請求項1〜10のいずれか1項に記載の導電性粒子であるか、又は前記導電性粒子とバインダー樹脂とを含む導電材料であり、
    前記第1の電極と前記第2の電極とが前記導電性粒子により電気的に接続されている、接続構造体。
JP2015239538A 2014-12-08 2015-12-08 導電性粒子、導電材料及び接続構造体 Active JP6568467B2 (ja)

Applications Claiming Priority (2)

Application Number Priority Date Filing Date Title
JP2014248212 2014-12-08
JP2014248212 2014-12-08

Publications (2)

Publication Number Publication Date
JP2016111023A JP2016111023A (ja) 2016-06-20
JP6568467B2 true JP6568467B2 (ja) 2019-08-28

Family

ID=56124776

Family Applications (1)

Application Number Title Priority Date Filing Date
JP2015239538A Active JP6568467B2 (ja) 2014-12-08 2015-12-08 導電性粒子、導電材料及び接続構造体

Country Status (1)

Country Link
JP (1) JP6568467B2 (ja)

Families Citing this family (1)

* Cited by examiner, † Cited by third party
Publication number Priority date Publication date Assignee Title
JP7180981B2 (ja) * 2017-02-21 2022-11-30 積水化学工業株式会社 導電性粒子、導電材料及び接続構造体

Family Cites Families (5)

* Cited by examiner, † Cited by third party
Publication number Priority date Publication date Assignee Title
US6485831B1 (en) * 1999-05-13 2002-11-26 Shin-Etsu Chemical Co., Ltd. Conductive powder and making process
JP3716903B2 (ja) * 1999-11-29 2005-11-16 信越化学工業株式会社 金メッキシリカ及びその製造方法
JP5304812B2 (ja) * 2011-02-16 2013-10-02 信越化学工業株式会社 導電性パターン形成用組成物及び導電性パターンの形成方法
JP6009933B2 (ja) * 2011-12-22 2016-10-19 積水化学工業株式会社 導電性粒子、導電材料及び接続構造体
KR101614675B1 (ko) * 2013-09-12 2016-04-21 세키스이가가쿠 고교가부시키가이샤 도전성 입자, 도전 재료 및 접속 구조체

Also Published As

Publication number Publication date
JP2016111023A (ja) 2016-06-20

Similar Documents

Publication Publication Date Title
JP6475805B2 (ja) 絶縁性粒子付き導電性粒子、導電材料及び接続構造体
JP6333552B2 (ja) 導電性粒子、導電材料及び接続構造体
WO2016063941A1 (ja) 導電性粒子、導電材料及び接続構造体
JP2017069191A (ja) 導電性粒子、導電材料及び接続構造体
JP2022022293A (ja) 導電性粒子、導電材料及び接続構造体
JP6431411B2 (ja) 絶縁性粒子付き導電性粒子、導電材料及び接続構造体
JP6151990B2 (ja) 絶縁性粒子付き導電性粒子、導電材料及び接続構造体
JP6687408B2 (ja) 導電性粒子粉体、導電性粒子粉体の製造方法、導電材料及び接続構造体
JP6568467B2 (ja) 導電性粒子、導電材料及び接続構造体
JPWO2017051872A1 (ja) 接続構造体の製造方法、導電性粒子、導電フィルム及び接続構造体
JP7132274B2 (ja) 導電性粒子、導電材料及び接続構造体
JP6355474B2 (ja) 導電性粒子、導電材料及び接続構造体
JP6734161B2 (ja) 導電性粒子、導電フィルム、接続構造体及び接続構造体の製造方法
JP6445833B2 (ja) 導電性粒子、導電材料及び接続構造体
JP6577723B2 (ja) 絶縁性粒子付き導電性粒子、導電材料及び接続構造体
JP6345075B2 (ja) 導電性粒子、導電材料及び接続構造体
JP6411194B2 (ja) 導電性粒子、導電性粒子の製造方法、導電材料及び接続構造体
JP2018137225A (ja) 導電性粒子、導電材料及び接続構造体
JP6352103B2 (ja) 導電性粒子、導電材料及び接続構造体
JP6333624B2 (ja) 接続構造体
JP6798771B2 (ja) 導電性粒子の製造方法、導電材料の製造方法及び接続構造体の製造方法
JP6592298B2 (ja) 導電性粒子、導電材料及び接続構造体
JP2015109267A (ja) 導電性粒子、導電材料及び接続構造体

Legal Events

Date Code Title Description
A621 Written request for application examination

Free format text: JAPANESE INTERMEDIATE CODE: A621

Effective date: 20180801

A977 Report on retrieval

Free format text: JAPANESE INTERMEDIATE CODE: A971007

Effective date: 20190621

TRDD Decision of grant or rejection written
A01 Written decision to grant a patent or to grant a registration (utility model)

Free format text: JAPANESE INTERMEDIATE CODE: A01

Effective date: 20190709

A61 First payment of annual fees (during grant procedure)

Free format text: JAPANESE INTERMEDIATE CODE: A61

Effective date: 20190802

R151 Written notification of patent or utility model registration

Ref document number: 6568467

Country of ref document: JP

Free format text: JAPANESE INTERMEDIATE CODE: R151

R250 Receipt of annual fees

Free format text: JAPANESE INTERMEDIATE CODE: R250