JP6445833B2 - 導電性粒子、導電材料及び接続構造体 - Google Patents

導電性粒子、導電材料及び接続構造体 Download PDF

Info

Publication number
JP6445833B2
JP6445833B2 JP2014214665A JP2014214665A JP6445833B2 JP 6445833 B2 JP6445833 B2 JP 6445833B2 JP 2014214665 A JP2014214665 A JP 2014214665A JP 2014214665 A JP2014214665 A JP 2014214665A JP 6445833 B2 JP6445833 B2 JP 6445833B2
Authority
JP
Japan
Prior art keywords
layer
particles
conductive
nickel
gold layer
Prior art date
Legal status (The legal status is an assumption and is not a legal conclusion. Google has not performed a legal analysis and makes no representation as to the accuracy of the status listed.)
Active
Application number
JP2014214665A
Other languages
English (en)
Other versions
JP2015109269A (ja
Inventor
敬三 西岡
敬三 西岡
Current Assignee (The listed assignees may be inaccurate. Google has not performed a legal analysis and makes no representation or warranty as to the accuracy of the list.)
Sekisui Chemical Co Ltd
Original Assignee
Sekisui Chemical Co Ltd
Priority date (The priority date is an assumption and is not a legal conclusion. Google has not performed a legal analysis and makes no representation as to the accuracy of the date listed.)
Filing date
Publication date
Application filed by Sekisui Chemical Co Ltd filed Critical Sekisui Chemical Co Ltd
Priority to JP2014214665A priority Critical patent/JP6445833B2/ja
Publication of JP2015109269A publication Critical patent/JP2015109269A/ja
Application granted granted Critical
Publication of JP6445833B2 publication Critical patent/JP6445833B2/ja
Active legal-status Critical Current
Anticipated expiration legal-status Critical

Links

Images

Landscapes

  • Conductive Materials (AREA)
  • Non-Insulated Conductors (AREA)
  • Adhesives Or Adhesive Processes (AREA)

Description

本発明は、基材粒子と、該基材粒子の表面上に配置された導電層とを有する導電性粒子に関する。また、本発明は、上記導電性粒子を用いた導電材料及び接続構造体に関する。
異方性導電ペースト及び異方性導電フィルム等の異方性導電材料が広く知られている。上記異方性導電材料では、バインダー樹脂中に導電性粒子が分散されている。
上記異方性導電材料は、各種の接続構造体を得るために、例えば、フレキシブルプリント基板とガラス基板との接続(FOG(Film on Glass))、半導体チップとフレキシブルプリント基板との接続(COF(Chip on Film))、半導体チップとガラス基板との接続(COG(Chip on Glass))、並びにフレキシブルプリント基板とガラスエポキシ基板との接続(FOB(Film on Board))等に使用されている。
上記導電性粒子の一例として、下記の特許文献1には、ニッケル層と、該ニッケル層上に形成されており、かつ平均膜厚が300Å以下である金層とを備える導電性粒子が開示されている。この導電性粒子では、金層は最外層である。また、この導電性粒子では、X線光電子分光分析による導電性粒子の表面におけるニッケル及び金の元素組成比(Ni/Au)が0.4以下である。
下記の特許文献2の実施例には、架橋ポリスチレン粒子の表面に、ニッケルめっき層が形成されており、ニッケルめっき層の外表面上に金めっき層が形成されている導電性粒子が開示されている。
下記の特許文献3には、コア粒子と、Niめっき層と、貴金属めっき層と、防錆膜とを備える導電性粒子が開示されている。上記Niめっき層は、上記コア粒子を被覆し、Niを含む。上記貴金属めっき層は、上記Niめっき層の少なくとも一部を被覆し、Au及びPdのうちの少なくともいずれかを含む。上記防錆膜は、上記Niめっき層及び上記貴金属めっき層のうち少なくともいずれかを被覆し、有機化合物を含む。
特開2009−102731号公報 特開2009−280790号公報 特開2013−20721号公報
特許文献1〜3に記載のような従来の導電性粒子が高温高湿下に晒された後に電極間の接続に用いられたり、導電性粒子を用いた接続構造体が高温高湿下に晒されたりすると、接続抵抗が高くなりやすいという問題がある。
また、従来の防錆膜が表面に形成された導電性粒子では、防錆膜の疎水性が高すぎて、バインダー樹脂中への導電性粒子の分散性が低いことがある。
本発明の目的は、電極間を電気的に接続した場合に、高温高湿下での電極間の接続信頼性を高めることができる導電性粒子を提供することである。
本発明の広い局面によれば、基材粒子と、前記基材粒子の表面上に配置されており、かつニッケルを含むニッケル層と、前記ニッケル層の外表面上に配置されており、かつ金を含む金層と、前記金層に接するように配置されており、かつセリウム及びチタンの内の少なくとも1種の金属を含む金属酸化物部とを備える、導電性粒子が提供される。
本発明に係る導電性粒子のある特定の局面では、前記ニッケル層の外表面上に前記金層が配置された状態で、前記金層の外表面を表面処理することにより、前記金属酸化物部が形成されている。
本発明に係る導電性粒子のある特定の局面では、前記金層の厚みが30nm以下である。
本発明に係る導電性粒子のある特定の局面では、前記ニッケル層がリンを含む。
本発明に係る導電性粒子のある特定の局面では、前記導電性粒子は、前記金層の外表面に複数の突起を有する。
本発明に係る導電性粒子のある特定の局面では、前記導電性粒子は、複数の前記突起を形成するように、前記金層の外表面を隆起させている複数の芯物質を備える。
本発明に係る導電性粒子のある特定の局面では、前記芯物質の材料のモース硬度が5以上である。
本発明に係る導電性粒子のある特定の局面では、前記金層の外表面の全表面積100%中、前記突起がある部分の表面積が30%以上である。
本発明に係る導電性粒子のある特定の局面では、前記導電性粒子は、前記金層の外表面上に配置された絶縁物質を備える。
本発明に係る導電性粒子のある特定の局面では、前記導電性粒子は、バインダー樹脂中に分散され、導電材料として用いられる。
本発明の広い局面によれば、上述した導電性粒子と、バインダー樹脂とを含む、導電材料が提供される。
本発明の広い局面によれば、第1の電極を表面に有する第1の接続対象部材と、第2の電極を表面に有する第2の接続対象部材と、前記第1の接続対象部材と前記第2の接続対象部材とを接続している接続部とを備え、前記接続部が、上述した導電性粒子により形成されているか、又は前記導電性粒子とバインダー樹脂とを含む導電材料により形成されており、前記第1の電極と前記第2の電極とが前記導電性粒子により電気的に接続されている、接続構造体が提供される。
本発明に係る導電性粒子は、基材粒子と、上記基材粒子の表面上に配置されており、かつニッケル及びリンを含むニッケル層と、上記ニッケル層の外表面上に配置されており、かつ金を含む金層と、上記金層に接するように配置されており、かつセリウム及びチタンの内の少なくとも1種の金属を含む金属酸化物部とを備えるので、本発明に係る導電性粒子を用いて電極間を電気的に接続した場合に、高温高湿下での電極間の接続信頼性を高めることができる。
図1は、本発明の第1の実施形態に係る導電性粒子を示す断面図である。 図2は、本発明の第2の実施形態に係る導電性粒子を示す断面図である。 図3は、本発明の第1の実施形態に係る導電性粒子を用いた接続構造体を模式的に示す断面図である。
以下、本発明の詳細を説明する。
(導電性粒子)
本発明に係る導電性粒子は、基材粒子と、上記基材粒子の表面上に配置されたニッケル層と、上記ニッケル層の外表面上に配置された金層と、上記金層に接するように配置された金属酸化物部とを備える。上記ニッケル層は、ニッケルとリンとを含む。上記金層は、金を含む。上記金属酸化物部は、セリウム及びチタンの内の少なくとも1種の金属を含む。
本発明に係る導電性粒子における上述した構成の採用により、本発明に係る導電性粒子を用いて、電極間を電気的に接続した場合に、高温高湿下での接続信頼性を高めることができる。導電性粒子が高温高湿下に晒された後に電極間の接続に用いられたり、導電性粒子を用いた接続構造体が高温高湿下に晒されたりしても、接続抵抗の上昇を抑えることができる。さらに、接続抵抗のばらつきを低減し、接続信頼性を高めることができる。
さらに、本発明に係る導電性粒子における上述した構成の採用により、従来の疎水性が高い防錆膜が形成された導電性粒子と比べて、バインダー樹脂中での導電性粒子の分散性を高めることができる。
また、金層の厚みが30nmを超える場合や、金層の厚みが20nmを超える場合や、金層の厚みが15nm以上である場合や、金層の厚みが10nm以上である場合に、電極間の接続抵抗及び高温高湿下での電極間の接続信頼性がさほど問題にならなくても、金層の厚みがかなり薄い場合には、高温高湿下での電極間の接続信頼性が大きな問題となることがある。本発明では、金層の厚みが薄くも、セリウム及びチタンの内の少なくとも1種の金属を含む金属酸化物部が備えられているので、高温高湿下での電極間の接続信頼性を高めることができる。本発明では、金層の厚みが薄いほど、本発明の効果がより効果的に得られる。
上記金層又は上記金属酸化物部の外表面は防錆処理されていることが好ましい。上記金層の外表面は防錆処理されていることが好ましい。上記金属酸化物部の外表面は防錆処理されていることが好ましい。上記金層又は上記金属酸化物部の外表面が防錆処理されている場合には、高温高湿下などに長期間保管された導電性粒子を用いて、接続構造体を作製したときに、接続抵抗の上昇をより一層抑えることができる。
上記金属酸化物部は、上記金層に接している。上記金属酸化物部は、上記金層の外表面上及び上記金層の開口部内のいずれか一方の部位に配置されていることが好ましい。上記金属酸化物部は、上記金層の外表面上に配置されていることが好ましく、上記金層の開口部内に配置されていることが好ましい。上記金属酸化物部は、上記金層の外表面上で、上記金層に接するように配置されていることが好ましい。上記金属酸化物部は、上記金層に埋め込まれていなくてもよい。上記開口部は、ニッケル層の外表面上において、上記金層が形成されていない部分であり、例えば、ピンホール部分である。
本発明では、高温高湿下などに長期間保管された導電性粒子を用いて、接続構造体を作製したときに、接続抵抗の上昇を抑えることができる。また、接続構造体が高温高湿下などで長期間保管された場合でも、接続抵抗の上昇を抑えることができる。特に、本発明に係る導電性粒子では、上記金層に接するように上記金属酸化物部が配置されているため、上記金層の厚みが薄くかつ上記金層の内側にニッケル層があるにもかかわらず、接続抵抗の上昇を抑えることができる。また、上記金層の厚みが薄いと、金層におけるピンホールの存在量が多くなりやすい。上記金層の厚みが薄いと、上記導電性粒子では、ピンホール等の存在によって、ニッケル層が部分的に露出することがあり、またニッケル層が部分的に露出しやすい。ニッケル層が部分的に露出していたとしても、上記金層の上記開口部に上記金属酸化物部が配置されていることによって、接続抵抗の上昇を抑えることができる。
上記導電性粒子は、例えば、上記基材粒子の表面上に上記ニッケル層を配置する工程と、上記ニッケル層の外表面上に上記金層を配置する工程と、上記金層に接するように、上記金属酸化物部を形成する工程を経て得ることができる。上記金属酸化物部を形成する工程は、上記金層を配置した後、上記金層の外表面を表面処理することにより、上記金属酸化物部を形成する工程であることが好ましい。電極間の接続抵抗を効果的に低くし、高温高湿下での電極間の接続信頼性を効果的に高め、かつバインダー樹脂中での導電性粒子の分散性を効果的に高める観点からは、上記ニッケル層の外表面上に上記金層が配置された状態で、上記金層の外表面を表面処理することにより、上記金属酸化物部が形成されていることが好ましい。
以下、図面を参照しつつ、本発明の具体的な実施形態及び実施例を説明することにより、本発明を明らかにする。なお、参照した図面では、大きさ及び厚みなどは、図示の便宜上、実際の大きさ及び厚みから適宜変更している。
図1は、本発明の第1の実施形態に係る導電性粒子を示す断面図である。
図1に示すように、導電性粒子1は、基材粒子2と、ニッケル層3と、金層4と、金属酸化物部5とを備える。ニッケル層3は、ニッケルを含む。金層4は、金を含む。金属酸化物部5は、セリウム及びチタンの内の少なくとも1種の金属を含む。金属酸化物部5は、導電性粒子1では、多層の導電層が形成されている。
ニッケル層3は、基材粒子2の表面上に配置されている。基材粒子2と金層4との間に、ニッケル層3が配置されている。金層4は、ニッケル層3の外表面上に配置されている。導電性粒子1は、基材粒子2の表面がニッケル層3及び金層4により被覆された被覆粒子である。本実施形態では、金属酸化物部5は、金層4の外表面上に配置されている。金属酸化物部5は、金層4の外表面を被覆している。また、図示しないが、金層4には微小なピンホール(開口部)が存在する。ピンホール内(開口部内)にも、金属酸化物部5が配置されている。
導電性粒子1は、芯物質を有さない。導電性粒子1は、導電性の表面に突起を有さない。導電性粒子1は球状である。ニッケル層3及び金層4は外表面に突起を有さない。このように、本発明に係る導電性粒子は導電性の表面に突起を有していなくてもよく、球状であってもよい。また、導電性粒子1は、絶縁物質を有さない。但し、導電性粒子1は、金層4又は金属酸化物部5の外表面上に配置された絶縁物質を有していてもよい。
また、ニッケル層3は、導電性粒子1では、基材粒子2の表面上に直接積層されている。基材粒子2とニッケル層3との間に他の導電層が配置されていてもよい。基材粒子2の表面上に、他の導電層を介して、ニッケル層3が配置されていてもよい。
図2は、本発明の第2の実施形態に係る導電性粒子を示す断面図である。
図2に示す導電性粒子21は、基材粒子2と、ニッケル層22と、金層23と、金属酸化物部24と、芯物質25と、絶縁物質26とを備える。ニッケル層22は、ニッケルを含む。金層23は、金を含む。金属酸化物部24は、セリウム及びチタンの内の少なくとも1種の金属を含む。ニッケル層22は、基材粒子2の表面上に配置されている。金層23は、ニッケル層22の外表面上に配置されている。本実施形態では、金属酸化物部24は、金層23の外表面上に配置されている。金属酸化物部24は、金層23の外表面を被覆している。また、図示しないが、金層23には微小なピンホール(開口部)が存在する。ピンホール内(開口部内)にも、金属酸化物部24が配置されている。
導電性粒子21は、導電性の表面に突起21aを有する。突起21aは複数である。ニッケル層22及び金層23は外表面に、複数の突起22a,23aを有する。複数の芯物質25が、基材粒子2の表面上に配置されている。複数の芯物質25はニッケル層22及び金層23内に埋め込まれている。芯物質25は、突起21a,22a,23aの内側に配置されている。ニッケル層22及び金層23は、複数の芯物質25を被覆している。複数の芯物質25によりニッケル層22及び金層23の外表面が隆起されており、突起21a,22a,23aが形成されている。このように、本発明に係る導電性粒子は導電性の表面に突起を有していてもよい。本発明に係る導電性粒子は、導電層の外表面に突起を有していてもよい。また、本発明に係る導電性粒子は、ニッケル層の外表面に突起を有さず、かつ金層の外表面に突起を有していてもよい。本発明に係る導電性粒子は、金層の内部又は内側において、複数の突起を形成するように、金層の表面を隆起させている複数の芯物質を備えていてもよい。上記芯物質は、ニッケル層の内側に位置していてもよく、ニッケル層の外側に位置していてもよい。
導電性粒子21は、金層23の外表面上及び金属酸化物部24の表面上に配置された絶縁物質26を有する。金属酸化物部24の外表面の少なくとも一部の領域が、絶縁物質26により被覆されている。絶縁物質26は絶縁性を有する材料により形成されており、絶縁性粒子である。このように、本発明に係る導電性粒子は、金層又は金属酸化物部の外表面上に配置された絶縁物質を有していてもよい。絶縁物質26は、金属酸化物部24を介して、金層23の外表面上に配置されている。絶縁物質は、金層の外表面上に配置されていてもよく、金属酸化物部の表面上(外表面上)に配置されていてもよい。
以下、基材粒子、ニッケル層、金層及び金属酸化物部の詳細を説明する。
[基材粒子]
上記基材粒子としては、樹脂粒子、金属粒子を除く無機粒子、有機無機ハイブリッド粒子及び金属粒子等が挙げられる。上記基材粒子は、金属粒子を除く基材粒子であることが好ましく、樹脂粒子、金属粒子を除く無機粒子又は有機無機ハイブリッド粒子であることがより好ましい。上記基材粒子は、コアシェル粒子であってもよい。
上記基材粒子は、樹脂粒子又は有機無機ハイブリッド粒子であることが更に好ましく、樹脂粒子であってもよく、有機無機ハイブリッド粒子であってもよい。これらの好ましい基材粒子の使用により、電極間の電気的な接続により一層適した導電性粒子が得られる。
上記導電性粒子を用いて電極間を接続する際には、上記導電性粒子を電極間に配置した後、圧着することにより上記導電性粒子を圧縮させる。基材粒子が樹脂粒子又は有機無機ハイブリッド粒子であると、上記圧着の際に上記導電性粒子が変形しやすく、導電性粒子と電極との接触面積が大きくなる。このため、電極間の接続抵抗がより一層低くなる。
上記樹脂粒子を形成するための樹脂として、種々の有機物が好適に用いられる。上記樹脂粒子を形成するための樹脂としては、例えば、ポリエチレン、ポリプロピレン、ポリスチレン、ポリ塩化ビニル、ポリ塩化ビニリデン、ポリイソブチレン、ポリブタジエン等のポリオレフィン樹脂;ポリメチルメタクリレート、ポリメチルアクリレート等のアクリル樹脂;ポリアルキレンテレフタレート、ポリカーボネート、ポリアミド、フェノールホルムアルデヒド樹脂、メラミンホルムアルデヒド樹脂、ベンゾグアナミンホルムアルデヒド樹脂、尿素ホルムアルデヒド樹脂、フェノール樹脂、メラミン樹脂、ベンゾグアナミン樹脂、尿素樹脂、エポキシ樹脂、不飽和ポリエステル樹脂、飽和ポリエステル樹脂、ポリスルホン、ポリフェニレンオキサイド、ポリアセタール、ポリイミド、ポリアミドイミド、ポリエーテルエーテルケトン、ポリエーテルスルホン、及び、エチレン性不飽和基を有する種々の重合性単量体を1種もしくは2種以上重合させて得られる重合体等が挙げられる。導電材料に適した任意の圧縮時の物性を有する樹脂粒子を設計及び合成することができ、かつ基材粒子の硬度を好適な範囲に容易に制御できるので、上記樹脂粒子を形成するための樹脂は、エチレン性不飽和基を複数有する重合性単量体を1種又は2種以上重合させた重合体であることが好ましい。
上記樹脂粒子を、エチレン性不飽和基を有する単量体を重合させて得る場合には、上記エチレン性不飽和基を有する単量体としては、非架橋性の単量体と架橋性の単量体とが挙げられる。
上記非架橋性の単量体としては、例えば、スチレン、α−メチルスチレン等のスチレン系単量体;(メタ)アクリル酸、マレイン酸、無水マレイン酸等のカルボキシル基含有単量体;メチル(メタ)アクリレート、エチル(メタ)アクリレート、プロピル(メタ)アクリレート、ブチル(メタ)アクリレート、2−エチルヘキシル(メタ)アクリレート、ラウリル(メタ)アクリレート、セチル(メタ)アクリレート、ステアリル(メタ)アクリレート、シクロヘキシル(メタ)アクリレート、イソボルニル(メタ)アクリレート等のアルキル(メタ)アクリレート類;2−ヒドロキシエチル(メタ)アクリレート、グリセロール(メタ)アクリレート、ポリオキシエチレン(メタ)アクリレート、グリシジル(メタ)アクリレート等の酸素原子含有(メタ)アクリレート類;(メタ)アクリロニトリル等のニトリル含有単量体;メチルビニルエーテル、エチルビニルエーテル、プロピルビニルエーテル等のビニルエーテル類;酢酸ビニル、酪酸ビニル、ラウリン酸ビニル、ステアリン酸ビニル等の酸ビニルエステル類;エチレン、プロピレン、イソプレン、ブタジエン等の不飽和炭化水素;トリフルオロメチル(メタ)アクリレート、ペンタフルオロエチル(メタ)アクリレート、塩化ビニル、フッ化ビニル、クロルスチレン等のハロゲン含有単量体等が挙げられる。
上記架橋性の単量体としては、例えば、テトラメチロールメタンテトラ(メタ)アクリレート、テトラメチロールメタントリ(メタ)アクリレート、テトラメチロールメタンジ(メタ)アクリレート、トリメチロールプロパントリ(メタ)アクリレート、ジペンタエリスリトールヘキサ(メタ)アクリレート、ジペンタエリスリトールペンタ(メタ)アクリレート、グリセロールトリ(メタ)アクリレート、グリセロールジ(メタ)アクリレート、(ポリ)エチレングリコールジ(メタ)アクリレート、(ポリ)プロピレングリコールジ(メタ)アクリレート、(ポリ)テトラメチレングリコールジ(メタ)アクリレート、1,4−ブタンジオールジ(メタ)アクリレート等の多官能(メタ)アクリレート類;トリアリル(イソ)シアヌレート、トリアリルトリメリテート、ジビニルベンゼン、ジアリルフタレート、ジアリルアクリルアミド、ジアリルエーテル、γ−(メタ)アクリロキシプロピルトリメトキシシラン、トリメトキシシリルスチレン、ビニルトリメトキシシラン等のシラン含有単量体等が挙げられる。
上記エチレン性不飽和基を有する重合性単量体を、公知の方法により重合させることで、上記樹脂粒子を得ることができる。この方法としては、例えば、ラジカル重合開始剤の存在下で懸濁重合する方法、並びに非架橋の種粒子を用いてラジカル重合開始剤とともに単量体を膨潤させて重合する方法等が挙げられる。
上記基材粒子が金属粒子を除く無機粒子又は有機無機ハイブリッド粒子である場合に、上記基材粒子を形成するための無機物としては、シリカ、アルミナ、チタン酸バリウム、ジルコニア及びカーボンブラック等が挙げられる。上記無機物は金属ではないことが好ましい。上記シリカにより形成された粒子としては特に限定されないが、例えば、加水分解性のアルコキシシリル基を2つ以上持つケイ素化合物を加水分解して架橋重合体粒子を形成した後に、必要に応じて焼成を行うことにより得られる粒子が挙げられる。上記有機無機ハイブリッド粒子としては、例えば、架橋したアルコキシシリルポリマーとアクリル樹脂とにより形成された有機無機ハイブリッド粒子等が挙げられる。
上記有機無機ハイブリッド粒子は、コアと、該コアの表面上に配置されたシェルとを有するコアシェル型の有機無機ハイブリッド粒子であることが好ましい。上記コアが有機コアであることが好ましい。上記シェルが無機シェルであることが好ましい。電極間の接続抵抗を効果的に低くする観点からは、上記基材粒子は、有機コアと上記有機コアの表面上に配置された無機シェルとを有する有機無機ハイブリッド粒子であることが好ましい。
上記有機コアを形成するための材料としては、上述した樹脂粒子を形成するための樹脂等が挙げられる。
上記無機シェルを形成するための材料としては、上述した基材粒子を形成するための無機物が挙げられる。上記無機シェルを形成するための材料は、シリカであることが好ましい。上記無機シェルは、上記コアの表面上で、金属アルコキシドをゾルゲル法によりシェル状物とした後、該シェル状物を焼成させることにより形成されていることが好ましい。上記金属アルコキシドはシランアルコキシドであることが好ましい。上記無機シェルはシランアルコキシドにより形成されていることが好ましい。
上記基材粒子が金属粒子である場合に、該金属粒子を形成するための金属としては、銀、銅、ニッケル、ケイ素、金及びチタン等が挙げられる。但し、上記基材粒子は金属粒子ではないことが好ましい。
上記基材粒子の粒子径は、好ましくは0.1μm以上、より好ましくは0.5μm以上、更に好ましくは2μm以上、好ましくは5μm以下、より好ましくは3μm以下である。上記基材粒子の粒子径が上記下限以上及び上記上限以下であると、電極間の間隔が小さくなり、かつ導電層の厚みを厚くしても、小さい導電性粒子が得られる。
上記基材粒子の粒子径は、基材粒子が真球状である場合には、直径を示し、基材粒子が真球状ではない場合には、最大径を示す。
[導電層(ニッケル層及び金層)]
上記導電性粒子は、上記導電層として、上記ニッケル層を有する。上記ニッケル層には、金属として、ニッケルのみを用いた場合だけでなく、ニッケルと他の金属とを用いた場合も含まれる。上記ニッケル層は、ニッケル合金層であってもよい。
上記ニッケル層におけるニッケル以外の金属としては、銀、銅、白金、亜鉛、鉄、錫、鉛、アルミニウム、コバルト、インジウム、パラジウム、クロム、チタン、アンチモン、ビスマス、タリウム、ゲルマニウム、カドミウム、ケイ素、タングステン、モリブデン及び錫ドープ酸化インジウム(ITO)等が挙げられる。これらの金属は、1種のみが用いられてもよく、2種以上が併用されてもよい。導電層及び突起が効果的に硬くなるので、上記ニッケル層はタングステンを含むことが好ましい。導電層及び突起が硬くなると、酸化被膜が効果的に排除されやすくなる。
上記ニッケル層はニッケルを主金属として含むことが好ましい。上記ニッケル層全体100重量%中、ニッケルの含有量は50重量%以上であることが好ましい。上記ニッケル層全体100重量%中、ニッケルの含有量は好ましくは65重量%以上、より好ましくは80重量%以上、更に好ましくは90重量%以上である。ニッケルの含有量が上記下限以上であると、電極間の接続抵抗がより一層低くなる。
電極間の接続抵抗をより一層低くする観点からは、上記ニッケル層はリンを含むことが好ましい。上記ニッケル層全体100重量%中、リンの含有量は好ましくは0重量%を超え、より好ましくは0.1重量%以上、更に好ましくは2重量%以上、特に好ましくは5重量%以上、最も好ましくは10重量%を超え、好ましくは20重量%以下、より好ましくは15重量%以下である。リンの含有量が上記下限以上及び上記上限以下であると、接続抵抗がより一層低くなる。特に、リンの含有量が5重量%以上であると、接続抵抗の信頼性がより一層高くなり、リンの含有量が10重量%を超えると、密着性が向上し、接続抵抗の信頼性がより一層高くなる。
電極間の効果的に接続抵抗を低くし、かつ高温高湿下での電極間の接続信頼性を効果的に高める観点からは、上記ニッケル層はリンを含み、上記ニッケル層全体100重量%中、リンの含有量は好ましくは5重量%未満、より好ましくは4.9重量%以下、更に好ましくは4重量%以下、特に好ましくは3重量%以下である。
上記ニッケル層の厚み方向において、基材粒子側(内側)のリンの含有量よりも金層側(外側)のリンの含有量の方が多いように、リンの含有量が勾配を有することが好ましい。上記ニッケル層の厚み方向において、リンが、上記基材粒子側よりも上記金層側の方で多く存在するように偏在していることが好ましい。このような濃度勾配の存在により、接続抵抗の信頼性がより一層高くなる。
上記ニッケル層の厚み方向において、リンが、上記基材粒子側の厚み1/2の領域よりも上記金層側の厚み1/2の領域の方で多く存在するように偏在していることが好ましい。
上記基材粒子側の厚み1/2の領域全体におけるリンの含有量と、上記金層側の厚み1/2の領域全体におけるリンの含有量との差の絶対値は、好ましくは2重量%以上、より好ましくは5重量%以上、更に好ましくは10重量%以上、好ましくは19重量%以下である。リンの含有量の差の絶対値が上記下限以上及び上記上限以下であると、接続抵抗の信頼性がより一層高くなる。
上記ニッケル層の厚みは、好ましくは30nm以上、より好ましくは60nm以上、好ましくは200nm以下、より好ましくは100nm以下である。上記ニッケル層の厚みが上記下限以上及び上記上限以下であると、電極の表面の酸化被膜がより一層効果的に除去され、電極間の接続抵抗がより一層低くなる。上記ニッケル層の厚みは、導電性粒子におけるニッケル層の平均厚みを示す。
上記導電性粒子は、上記導電層として、上記金層を有する。上記金層には、金属として、金のみを用いた場合だけでなく、金と他の金属とを用いた場合も含まれる。上記金層は、金合金層であってもよい。上記導電性粒子では、導電層の最外層として、金層を備えることが好ましい。上記導電層の金属酸化物部を除く最表面に金層が配置されていることが好ましい。
上記金層における金以外の金属としては、例えば、銀、銅、白金、亜鉛、鉄、錫、鉛、アルミニウム、コバルト、インジウム、ニッケル、パラジウム、クロム、チタン、アンチモン、ビスマス、タリウム、ゲルマニウム、カドミウム、ケイ素、タングステン、モリブデン及び錫ドープ酸化インジウム(ITO)等が挙げられる。これらの金属は、1種のみが用いられてもよく、2種以上が併用されてもよい。
上記金層は金を主金属として含むことが好ましい。上記金層全体100重量%中、金の含有量は50重量%以上であることが好ましい。上記金層全体100重量%中、金の含有量は好ましくは90重量%以上、より好ましくは95重量%以上、更に好ましくは99.9重量%以上である。金の含有量が上記下限以上であると、電極と導電性粒子とがより一層適度に接触し、電極間の接続抵抗がより一層低くなる。
上記金層の厚みは、好ましくは30nm以下、より好ましくは20nm以下、更に好ましくは15nm以下、より好ましくは10nm未満、好ましくは3nm以上、より好ましくは5nm以上である。上記金層の厚みが上記下限以上及び上記上限以下であると、接続抵抗の上昇が効果的に抑えられる。本発明に係る導電性粒子では、上記金層の厚みが薄くても、上記金層が緻密であるために、電極間の接続抵抗を低くすることができ、電極間の接続抵抗のばらつきを抑えることができる。また、上記金層の厚みが10nm未満であって上記金層の厚みがかなり薄くても、上記金層の外表面が防錆処理されている場合には、上記金層の厚みが薄くかつ上記金層の内側にニッケル層があるにもかかわらず、接続抵抗の上昇を抑えることができる。また、上記金層は連続膜でなくてもよく、この場合でも上記金属酸化物部の存在によって、上記金層の厚みが薄くかつ上記金層の内側にニッケル層があったとしても、接続抵抗の上昇を抑えることができる。また、上記金層は連続膜でなくてもよく、この場合でも上記金層の外表面又は上記金属酸化物部の外表面が防錆処理されていることによって、上記金層の厚みが薄くかつ上記金層の内側にニッケル層があったとしても、接続抵抗の上昇を効果的に抑えることができる。
上記導電層を形成する方法は特に限定されない。上記導電層を形成する方法としては、例えば、無電解めっきによる方法、電気めっきによる方法、物理的蒸着による方法、並びに金属粉末もしくは金属粉末とバインダーとを含むペーストを粒子の表面にコーティングする方法等が挙げられる。なかでも、上記導電層の形成が簡便であるので、無電解めっきによる方法が好ましい。上記物理的蒸着による方法としては、真空蒸着、イオンプレーティング及びイオンスパッタリング等の方法が挙げられる。
上記導電層におけるニッケル、ボロン及びリンの含有量を制御する方法としては、例えば、無電解ニッケルめっきにより導電層を形成する際に、ニッケルめっき液のpHを制御する方法、無電解ニッケルめっきにより導電層を形成する際に、ボロン含有還元剤の濃度を調整する方法、無電解ニッケルめっきにより導電層を形成する際に、リン含有還元剤の濃度を調整する方法、並びにニッケルめっき液中のニッケル濃度を調整する方法等が挙げられる。
無電解めっきにより形成する方法では、一般的に、触媒化工程と、無電解めっき工程とが行われる。以下、無電解めっきにより、樹脂粒子の表面に、ニッケルとリンとを含む合金めっき層を形成する方法の一例を説明する。
上記触媒化工程では、無電解めっきによりめっき層を形成するための起点となる触媒を、樹脂粒子の表面に形成させる。
上記触媒を樹脂粒子の表面に形成させる方法としては、例えば、塩化パラジウムと塩化スズとを含む溶液に、樹脂粒子を添加した後、酸溶液又はアルカリ溶液により樹脂粒子の表面を活性化させて、樹脂粒子の表面にパラジウムを析出させる方法、並びに硫酸パラジウムとアミノピリジンとを含有する溶液に、樹脂粒子を添加した後、還元剤を含む溶液により樹脂粒子の表面を活性化させて、樹脂粒子の表面にパラジウムを析出させる方法等が挙げられる。上記還元剤として、リン含有還元剤が好適に用いられる。また、上記還元剤として、ボロン含有還元剤を用いることで、ボロンを含む導電層を形成できる。
上記無電解めっき工程では、ニッケル含有化合物及び上記リン含有還元剤を含むニッケルめっき浴が好適に用いられる。ニッケルめっき浴中に樹脂粒子を浸漬することにより、触媒が表面に形成された樹脂粒子の表面に、ニッケルを析出させることができ、ニッケルとリンとを含む導電層を形成できる。
上記ニッケル含有化合物としては、硫酸ニッケル及び塩化ニッケル等が挙げられる。上記ニッケル含有化合物は、ニッケル塩であることが好ましい。
上記リン含有還元剤としては、次亜リン酸ナトリウム等が挙げられる。上記ボロン含有還元剤としては、ジメチルアミンボラン、水素化ホウ素ナトリウム及び水素化ホウ素カリウム等が挙げられる。
上記導電性粒子の粒子径は、好ましくは0.5μm以上、より好ましくは1μm以上、好ましくは100μm以下、より好ましくは20μm以下、更に好ましくは5μm以下である。上記導電性粒子の粒子径が上記下限以上及び上記上限以下であると、導電性粒子を用いて電極間を接続した場合に、導電性粒子と電極との接触面積が充分に大きくなり、かつ導電層を形成する際に凝集した導電性粒子が形成されにくくなる。また、導電性粒子を介して接続された電極間の間隔が大きくなりすぎず、かつ導電層が基材粒子の表面から剥離し難くなる。上記導電性粒子の粒子径は、3μm以下であることも好ましい。
上記導電性粒子の粒子径は、導電性粒子が真球状である場合には、直径を示し、導電性粒子が真球状ではない場合には、最大径を示す。
本発明に係る導電性粒子は、導電性の表面に突起を有することが好ましい。上記ニッケル層は、外表面に突起を有することが好ましい。上記金層は、外表面に突起を有することが好ましい。導電性粒子により接続される電極の表面には、酸化被膜が形成されていることが多い。導電性の突起を有する導電性粒子の使用により、電極間に導電性粒子を配置した後、圧着させることにより、突起により酸化被膜が効果的に排除される。このため、電極と導電性粒子とをより一層確実に接触させることができ、電極間の接続抵抗をより一層低くすることができる。さらに、導電性粒子が表面に絶縁物質を有する場合、又は導電性粒子が樹脂中に分散されて導電材料として用いられる場合に、導電性粒子の突起によって、導電性粒子と電極との間の絶縁物質又は樹脂を効果的に排除できる。このため、電極間の導通信頼性を高めることができる。
上記突起は複数であることが好ましい。上記導電性粒子1個当たりの上記導電層の外表面の突起は、好ましくは3個以上、より好ましくは5個以上である。上記突起の数の上限は特に限定されない。突起の数の上限は導電性粒子の粒子径等を考慮して適宜選択できる。
複数の上記突起の平均高さは、好ましくは0.001μm以上、より好ましくは0.05μm以上、好ましくは0.9μm以下、より好ましくは0.2μm以下である。上記突起の平均高さが上記下限以上及び上記上限以下であると、電極間の接続抵抗が効果的に低くなる。
接続抵抗を効果的に低くし、高温高湿下での電極間の接続信頼性を効果的に高める観点からは、上記金層の外表面の全表面積100%中、上記突起がある部分の表面積は好ましくは10%以上、より好ましくは20%以上、更に好ましくは30%以上である。上記金層の外表面の全表面積100%中、上記突起がある部分の表面積の占める割合の上限は特に限定されない。上記金層の外表面の全表面積100%中、上記突起がある部分の表面積は好ましくは99%以下、より好ましくは95%以下である。
[芯物質]
上記芯物質が上記導電層中に埋め込まれていることによって、上記導電層(上記金層)が外表面に複数の突起を有するようにすることが容易である。但し、導電性粒子及び導電層の外表面に突起を形成するために、芯物質を必ずしも用いなくてもよく、芯物質を用いないことが好ましい。上記導電性粒子は、上記導電部の外表面を隆起させるための芯物質を有さないことが好ましく、上記ニッケル層の外表面を隆起させるための芯物質を有さないことが好ましい。但し、上記導電性粒子は、上記金層の外表面を隆起させている芯物質を有していてもよく、上記ニッケル層の外表面を隆起させている芯物質を有していてもよい。上記芯物質が用いられる場合に、上記芯物質は、上記金層の内側又は内部に配置されることが好ましい。
上記突起を形成する方法としては、基材粒子の表面に芯物質を付着させた後、無電解めっきにより導電層を形成する方法、並びに基材粒子の表面に無電解めっきにより導電層を形成した後、芯物質を付着させ、更に無電解めっきにより導電層を形成する方法等が挙げられる。上記突起を形成する他の方法としては、基材粒子の表面上に、第1の導電層(ニッケル層等)を形成した後、該第1の導電層上に芯物質を配置し、次に第2の導電層(金層等)を形成する方法、並びに基材粒子の表面上に導電層(ニッケル層又は金層等)を形成する途中段階で、芯物質を添加する方法等が挙げられる。
上記基材粒子の表面上に芯物質を配置する方法としては、例えば、基材粒子の分散液中に、芯物質を添加し、基材粒子の表面に芯物質を、例えば、ファンデルワールス力により集積させ、付着させる方法、並びに基材粒子を入れた容器に、芯物質を添加し、容器の回転等による機械的な作用により基材粒子の表面に芯物質を付着させる方法等が挙げられる。なかでも、付着させる芯物質の量を制御しやすいため、分散液中の基材粒子の表面に芯物質を集積させ、付着させる方法が好ましい。
上記芯物質を構成する物質としては、導電性物質及び非導電性物質が挙げられる。上記導電性物質としては、例えば、金属、金属の酸化物、黒鉛等の導電性非金属及び導電性ポリマー等が挙げられる。上記導電性ポリマーとしては、ポリアセチレン等が挙げられる。上記非導電性物質としては、シリカ、アルミナ、チタン酸バリウム及びジルコニア等が挙げられる。なかでも、導電性を高めることができ、更に接続抵抗を効果的に低くすることができるので、金属が好ましい。上記芯物質は金属粒子であることが好ましい。
上記金属としては、例えば、金、銀、銅、白金、亜鉛、鉄、鉛、錫、アルミニウム、コバルト、インジウム、ニッケル、クロム、チタン、アンチモン、ビスマス、ゲルマニウム及びカドミウム等の金属、並びに錫−鉛合金、錫−銅合金、錫−銀合金、錫−鉛−銀合金及び炭化タングステン等の2種類以上の金属で構成される合金等が挙げられる。なかでも、ニッケル、銅、銀又は金が好ましい。上記芯物質を形成するための金属は、上記導電層を形成するための金属と同じであってもよく、異なっていてもよい。上記芯物質を形成するための金属は、上記導電層を形成するための金属を含むことが好ましい。上記芯物質を形成するための金属は、ニッケルを含むことが好ましい。上記芯物質を形成するための金属は、ニッケルを含むことが好ましい。
上記芯物質の材料の具体例としては、チタン酸バリウム(モース硬度4.5)、ニッケル(モース硬度5)、シリカ(二酸化珪素、モース硬度6〜7)、酸化チタン(モース硬度7)、ジルコニア(モース硬度8〜9)、アルミナ(モース硬度9)、炭化タングステン(モース硬度9)及びダイヤモンド(モース硬度10)等が挙げられる。上記無機粒子は、ニッケル、シリカ、酸化チタン、ジルコニア、アルミナ、炭化タングステン又はダイヤモンドであることが好ましく、シリカ、酸化チタン、ジルコニア、アルミナ、炭化タングステン又はダイヤモンドであることがより好ましく、酸化チタン、ジルコニア、アルミナ、炭化タングステン又はダイヤモンドであることが更に好ましく、ジルコニア、アルミナ、炭化タングステン又はダイヤモンドであることが特に好ましい。上記芯物質の材料のモース硬度は好ましくは5以上、より好ましくは6以上、更に好ましくは7以上、特に好ましくは7.5以上である。
上記芯物質の形状は特に限定されない。芯物質の形状は塊状であることが好ましい。芯物質としては、例えば、粒子状の塊、複数の微小粒子が凝集した凝集塊、及び不定形の塊等が挙げられる。
上記芯物質の平均径(平均粒子径)は、好ましくは0.001μm以上、より好ましくは0.05μm以上、好ましくは0.9μm以下、より好ましくは0.2μm以下である。上記芯物質の平均径が上記下限以上及び上記上限以下であると、電極間の接続抵抗が効果的に低くなる。
上記芯物質の「平均径(平均粒子径)」は、数平均径(数平均粒子径)を示す。芯物質の平均径は、任意の芯物質50個を電子顕微鏡又は光学顕微鏡にて観察し、平均値を算出することにより求められる。
[絶縁物質]
本発明に係る導電性粒子は、上記金層の外表面上又は上記金属酸化物部の表面上(外表面上)に配置された絶縁物質を備えることが好ましい。この場合には、導電性粒子を電極間の接続に用いると、隣接する電極間の短絡を防止できる。具体的には、複数の導電性粒子が接触したときに、複数の電極間に絶縁物質が存在するので、上下の電極間ではなく横方向に隣り合う電極間の短絡を防止できる。なお、電極間の接続の際に、2つの電極で導電性粒子を加圧することにより、導電性粒子の導電層と電極との間の絶縁物質を容易に排除できる。導電性粒子が導電層の外表面に複数の突起を有する場合には、導電性粒子の導電層と電極との間の絶縁物質を容易に排除できる。
電極間の圧着時に上記絶縁物質をより一層容易に排除できることから、上記絶縁物質は、絶縁性粒子であることが好ましい。
上記絶縁物質の材料である絶縁性樹脂の具体例としては、ポリオレフィン類、(メタ)アクリレート重合体、(メタ)アクリレート共重合体、ブロックポリマー、熱可塑性樹脂、熱可塑性樹脂の架橋物、熱硬化性樹脂及び水溶性樹脂等が挙げられる。
上記ポリオレフィン類としては、ポリエチレン、エチレン−酢酸ビニル共重合体及びエチレン−アクリル酸エステル共重合体等が挙げられる。上記(メタ)アクリレート重合体としては、ポリメチル(メタ)アクリレート、ポリエチル(メタ)アクリレート及びポリブチル(メタ)アクリレート等が挙げられる。上記ブロックポリマーとしては、ポリスチレン、スチレン−アクリル酸エステル共重合体、SB型スチレン−ブタジエンブロック共重合体、及びSBS型スチレン−ブタジエンブロック共重合体、並びにこれらの水素添加物等が挙げられる。上記熱可塑性樹脂としては、ビニル重合体及びビニル共重合体等が挙げられる。上記熱硬化性樹脂としては、エポキシ樹脂、フェノール樹脂及びメラミン樹脂等が挙げられる。上記水溶性樹脂としては、ポリビニルアルコール、ポリアクリル酸、ポリアクリルアミド、ポリビニルピロリドン、ポリエチレンオキシド及びメチルセルロース等が挙げられる。なかでも、水溶性樹脂が好ましく、ポリビニルアルコールがより好ましい。
上記絶縁物質を配置する方法としては、化学的方法、及び物理的もしくは機械的方法等が挙げられる。上記化学的方法としては、例えば、界面重合法、粒子存在下での懸濁重合法及び乳化重合法等が挙げられる。上記物理的もしくは機械的方法としては、スプレードライ、ハイブリダイゼーション、静電付着法、噴霧法、ディッピング及び真空蒸着による方法等が挙げられる。なかでも、絶縁物質が脱離し難いことから、上記導電層の表面に、化学結合を介して上記絶縁物質を配置する方法が好ましい。
上記導電層(上記金層)の外表面、及び絶縁性粒子の表面はそれぞれ、反応性官能基を有する化合物によって被覆されていてもよい。導電層の外表面と絶縁性粒子の表面とは、直接化学結合していなくてもよく、反応性官能基を有する化合物によって間接的に化学結合していてもよい。導電層の外表面にカルボキシル基を導入した後、該カルボキシル基がポリエチレンイミンなどの高分子電解質を介して絶縁性粒子の表面の官能基と化学結合していても構わない。
上記絶縁物質の平均径(平均粒子径)は、導電性粒子の粒子径及び導電性粒子の用途等によって適宜選択できる。上記絶縁物質の平均径(平均粒子径)は好ましくは0.005μm以上、より好ましくは0.01μm以上、好ましくは1μm以下、より好ましくは0.5μm以下である。絶縁物質の平均径が上記下限以上であると、導電性粒子がバインダー樹脂中に分散されたときに、複数の導電性粒子における導電層同士が接触し難くなる。絶縁性粒子の平均径が上記上限以下であると、電極間の接続の際に、電極と導電性粒子との間の絶縁物質を排除するために、圧力を高くしすぎる必要がなくなり、高温に加熱する必要もなくなる。
上記絶縁物質の「平均径(平均粒子径)」は、数平均径(数平均粒子径)を示す。絶縁物質の平均径は、粒度分布測定装置等を用いて求められる。
[金属酸化物部]
上記金属酸化物部は、セリウム及びチタンの内の少なくとも1種の金属を含む。上記金属酸化物部は、セリウム及びチタンの内の1種のみを含んでいてもよく、セリウム及びチタンの双方を含んでいてもよい。上記金属酸化物部は、セリウムを少なくとも含むことが好ましく、チタンを少なくとも含むことが好ましい。上記金属酸化物部は、二酸化チタン粒子ではないことが好ましい。上記金層と上記金属酸化物部とは、点接触ではなく面接触していることが好ましい。金属酸化物粒子を用いた場合には、一般に、金層と金属酸化物粒子とは点接触する。
上記金層の外表面の全表面積に占める上記金属酸化物部が接触している表面積の割合は好ましくは20%以上、より好ましくは30%以上、更に好ましくは50%以上、最も好ましくは100%である。上記表面積の割合が上記下限以上であると、高温高湿下での接続信頼性がより一層高くなり、かつ導電性粒子のバインダー樹脂中での分散性がより一層高くなる。
上記金層の外表面上に上記金属酸化物部が形成されている場合に、上記金属酸化物部は、金属酸化物層であることが好ましい。上記金層の外表面上に上記金属酸化物部が形成されている場合に、上記金属酸化物部の厚みは、好ましくは0nmを超え、より好ましくは2nm以上、更に好ましく3nm以上、好ましくは10nm以下、より好ましくは5nm以下である。上記金属酸化物部の厚みが上記下限以上及び上記上限以下であると、電極間の接続抵抗が効果的に低くなり、高温高湿下での電極間の接続信頼性が効果的に高くなり、かつバインダー樹脂中での導電性粒子の分散性が効果的に高くなる。
上記金属酸化物部を形成する方法は特に限定されない。上記金属酸化物部を形成する方法としては、化成処理方法、並びに蒸着方法等が挙げられる。
[防錆処理]
導電性粒子の腐食を抑え、電極間の接続抵抗をより一層低くする観点からは、上記金層又は上記金属酸化物部の外表面は防錆処理されていることが好ましい。
導通信頼性をより一層高める観点からは、上記金層又は上記金属酸化物部の外表面は、炭素数6〜22のアルキル基を有する化合物により、防錆処理されていることが好ましい。上記金層又は上記金属酸化物部の表面は、リンを含まない化合物により防錆処理されていてもよく、炭素数6〜22のアルキル基を有しかつリンを含まない化合物により防錆処理されていてもよい。導通信頼性をより一層高める観点からは、上記金層又は上記金属酸化物部の外表面は、アルキルリン酸化合物、アルキルシランカンプリング化合物又はアルキルチオールにより、防錆処理されていることが好ましい。防錆処理により、上記金層又は上記金属酸化物部の外表面に、防錆膜を形成できる。
(導電材料)
本発明に係る導電材料は、上述した導電性粒子と、バインダー樹脂とを含む。上記導電性粒子は、バインダー樹脂中に分散されて用いられることが好ましく、バインダー樹脂中に分散されて導電材料として用いられることが好ましい。上記導電材料は、異方性導電材料であることが好ましい。上記導電材料は、電極の電気的な接続に好適に用いられる。上記導電材料は、回路接続材料であることが好ましい。
上記バインダー樹脂は特に限定されない。上記バインダー樹脂として、公知の絶縁性の樹脂が用いられる。
上記バインダー樹脂としては、例えば、ビニル樹脂、熱可塑性樹脂、硬化性樹脂、熱可塑性ブロック共重合体及びエラストマー等が挙げられる。上記バインダー樹脂は1種のみが用いられてもよく、2種以上が併用されてもよい。
上記ビニル樹脂としては、例えば、酢酸ビニル樹脂、アクリル樹脂及びスチレン樹脂等が挙げられる。上記熱可塑性樹脂としては、例えば、ポリオレフィン樹脂、エチレン−酢酸ビニル共重合体及びポリアミド樹脂等が挙げられる。上記硬化性樹脂としては、例えば、エポキシ樹脂、ウレタン樹脂、ポリイミド樹脂及び不飽和ポリエステル樹脂等が挙げられる。なお、上記硬化性樹脂は、常温硬化型樹脂、熱硬化型樹脂、光硬化型樹脂又は湿気硬化型樹脂であってもよい。上記硬化性樹脂は、硬化剤と併用されてもよい。上記熱可塑性ブロック共重合体としては、例えば、スチレン−ブタジエン−スチレンブロック共重合体、スチレン−イソプレン−スチレンブロック共重合体、スチレン−ブタジエン−スチレンブロック共重合体の水素添加物、及びスチレン−イソプレン−スチレンブロック共重合体の水素添加物等が挙げられる。上記エラストマーとしては、例えば、スチレン−ブタジエン共重合ゴム、及びアクリロニトリル−スチレンブロック共重合ゴム等が挙げられる。
上記導電材料は、上記導電性粒子及び上記バインダー樹脂の他に、例えば、充填剤、増量剤、軟化剤、可塑剤、重合触媒、硬化触媒、着色剤、酸化防止剤、熱安定剤、光安定剤、紫外線吸収剤、滑剤、帯電防止剤及び難燃剤等の各種添加剤を含んでいてもよい。
本発明に係る導電材料は、導電ペースト及び導電フィルム等として使用され得る。本発明に係る導電材料が、導電フィルムである場合には、導電性粒子を含む導電フィルムに、導電性粒子を含まないフィルムが積層されていてもよい。上記導電ペーストは、異方性導電ペーストであることが好ましい。上記導電フィルムは、異方性導電フィルムであることが好ましい。
上記導電材料100重量%中、上記バインダー樹脂の含有量は好ましくは10重量%以上、より好ましくは30重量%以上、更に好ましくは50重量%以上、特に好ましくは70重量%以上、好ましくは99.99重量%以下、より好ましくは99.9重量%以下である。上記バインダー樹脂の含有量が上記下限以上及び上記上限以下であると、電極間に導電性粒子が効率的に配置され、導電材料により接続された接続対象部材の接続信頼性がより一層高くなる。
上記導電材料100重量%中、上記導電性粒子の含有量は好ましくは0.01重量%以上、より好ましくは0.1重量%以上、好ましくは40重量%以下、より好ましくは20重量%以下、更に好ましくは10重量%以下である。上記導電性粒子の含有量が上記下限以上及び上記上限以下であると、電極間の導通信頼性がより一層高くなる。
(接続構造体)
上記導電性粒子を用いて、又は上記導電性粒子とバインダー樹脂とを含む導電材料を用いて、接続対象部材を接続することにより、接続構造体を得ることができる。
上記接続構造体は、第1の接続対象部材と、第2の接続対象部材と、第1,第2の接続対象部材を接続している接続部とを備え、該接続部が上述した導電性粒子により形成されているか、又は上述した導電性粒子とバインダー樹脂とを含む導電材料により形成されている接続構造体であることが好ましい。導電性粒子が用いられた場合には、接続部自体が導電性粒子である。すなわち、第1,第2の接続対象部材が導電性粒子により接続される。
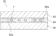
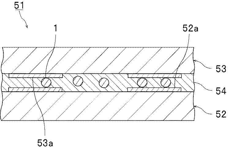
図3に、本発明の第1の実施形態に係る導電性粒子を用いた接続構造体を模式的に断面図で示す。
図3に示す接続構造体51は、第1の接続対象部材52と、第2の接続対象部材53と、第1,第2の接続対象部材52,53を接続している接続部54とを備える。接続部54は、導電性粒子1を含む導電材料を硬化させることにより形成されている。なお、図3では、導電性粒子1は、図示の便宜上、略図的に示されている。導電性粒子1にかえて、導電性粒子21等を用いてもよい。
第1の接続対象部材52は表面(上面)に、複数の第1の電極52aを有する。第2の接続対象部材53は表面(下面)に、複数の第2の電極53aを有する。第1の電極52aと第2の電極53aとが、1つ又は複数の導電性粒子1により電気的に接続されている。従って、第1,第2の接続対象部材52,53が導電性粒子1により電気的に接続されている。
上記接続構造体の製造方法は特に限定されない。接続構造体の製造方法の一例としては、第1の接続対象部材と第2の接続対象部材との間に上記導電材料を配置し、積層体を得た後、該積層体を加熱及び加圧する方法等が挙げられる。上記加圧の圧力は9.8×10〜4.9×10Pa程度である。上記加熱の温度は、120〜220℃程度である。
上記接続対象部材としては、具体的には、半導体チップ、コンデンサ及びダイオード等の電子部品、並びにプリント基板、フレキシブルプリント基板、ガラスエポキシ基板及びガラス基板等の回路基板などの電子部品等が挙げられる。上記接続対象部材は電子部品であることが好ましい。上記導電性粒子は、電子部品における電極の電気的な接続に用いられることが好ましい。
上記接続対象部材に設けられている電極としては、金電極、ニッケル電極、錫電極、アルミニウム電極、銅電極、銀電極、モリブデン電極及びタングステン電極等の金属電極が挙げられる。上記接続対象部材がフレキシブルプリント基板である場合には、上記電極は金電極、ニッケル電極、錫電極又は銅電極であることが好ましい。上記接続対象部材がガラス基板である場合には、上記電極はアルミニウム電極、銅電極、モリブデン電極又はタングステン電極であることが好ましい。なお、上記電極がアルミニウム電極である場合には、アルミニウムのみで形成された電極であってもよく、金属酸化物層の表面にアルミニウム層が積層された電極であってもよい。上記金属酸化物層の材料としては、3価の金属元素がドープされた酸化インジウム及び3価の金属元素がドープされた酸化亜鉛等が挙げられる。上記3価の金属元素としては、Sn、Al及びGa等が挙げられる。
以下、実施例及び比較例を挙げて、本発明を具体的に説明する。本発明は、以下の実施例のみに限定されない。
導電性粒子を得るために、下記の基材粒子を用意した。
基材粒子A:樹脂粒子;粒子径が3.0μmであるジビニルベンゼン共重合体樹脂粒子(積水化学工業社製「ミクロパールSP−203」)
基材粒子B:樹脂粒子;粒子径が3.0μmである樹脂粒子、ジビニルベンゼンとPTMGA(共栄社化学社製)とを重量比率3:7で重合して作製
基材粒子C:有機無機ハイブリッド粒子;粒子径が3.0μmの有機無機ハイブリッド粒子(後述する実施例8に記載)
基材粒子D:樹脂粒子;粒子径が2.5μmであるジビニルベンゼン共重合体樹脂粒子(積水化学工業社製「ミクロパールSP−2025」)
基材粒子E:樹脂粒子;粒子径が10μmであるジビニルベンゼン共重合体樹脂粒子(積水化学工業社製「ミクロパールSP−210」)
(実施例1)
(1)ニッケル層の形成
パラジウム触媒液を5重量%含むアルカリ溶液100重量部に、上記基材粒子A10重量部を、超音波分散器を用いて分散させた後、溶液をろ過することにより、基材粒子Aを取り出した。次いで、基材粒子Aをジメチルアミンボラン1重量%溶液100重量部に添加し、基材粒子Aの表面を活性化させた。表面が活性化された基材粒子Aを十分に水洗した後、蒸留水500重量部に加え、分散させることにより、懸濁液を得た。
また、硫酸ニッケル0.25mol/L、次亜リン酸ナトリウム0.25mol/L、及びクエン酸ナトリウム0.15mol/Lを含むニッケルめっき液(pH9.0)を用意した。
得られた懸濁液を70℃にて攪拌しながら、上記ニッケルめっき液を懸濁液に徐々に滴下し、無電解ニッケルめっきを行った。その後、懸濁液を濾過することにより、粒子を取り出し、水洗し、乾燥することにより、基材粒子Aの表面にニッケル−リン導電層(厚み0.1μm)配置された粒子を得た。導電層100重量%中のニッケルの含有量は97.7重量%、リンの含有量は2.3重量%であった。
(2)金層の形成
無電解金めっき処理することにより、上記ニッケル層の外表面上に金層(厚み30nm)が配置された粒子を得た。
(3)セリウム化成処理
得られた粒子10gを、1重量%の硫酸セリウム水溶液1Lに添加し、水溶液の液温を80℃に保ちながら6時間攪拌した。硫酸セリウム水溶液をろ過し、粒子を純水で洗浄したのち、100℃の真空乾燥機で乾燥させ、酸化セリウム層が形成された導電性粒子を作製した。なお、エネルギー分散型X線分光器により測定すると、金層の表面に酸化セリウム層が形成されていることが確認された。
(実施例2)
1重量%の硫酸セリウム水溶液を1重量%のシュウ酸チタンカリウム水溶液に変更したこと、並びに導電層100重量%中のニッケルの含有量を97.5重量%、リンの含有量を2.5重量%に変更したこと以外は実施例1と同様にして、導電性粒子を得た。なお、エネルギー分散型X線分光器により測定すると、金層の表面にチタンを含む金属酸化物層が形成されていることが確認された。
(実施例3)
(1)ニッケル層の形成
パラジウム触媒液を5重量%含むアルカリ溶液100重量部に、上記基材粒子A10重量部を、超音波分散器を用いて分散させた後、溶液をろ過することにより、基材粒子Aを取り出した。次いで、基材粒子Aをジメチルアミンボラン1重量%溶液100重量部に添加し、基材粒子Aの表面を活性化させた。表面が活性化された基材粒子Aを十分に水洗した後、蒸留水500重量部に加え、分散させることにより、懸濁液を得た。
また、硫酸ニッケル0.25mol/L、次亜リン酸ナトリウム0.25mol/L、クエン酸ナトリウム0.15mol/L及びタングステン酸ナトリウム0.12mol/Lを含むニッケルめっき液(pH7.0)を用意した。
得られた懸濁液を60℃にて攪拌しながら、上記ニッケルめっき液を懸濁液に徐々に滴下し、無電解ニッケルめっきを行った。続いて、硫酸ニッケル0.25mol/L、次亜リン酸ナトリウム0.25mol/L、クエン酸ナトリウム0.15mol/L及びタングステン酸ナトリウム0.12mol/Lを含むニッケルめっき液(pH10.0)を懸濁液に徐々に滴下し、無電解ニッケルめっきを行った。その後、懸濁液を濾過することにより、粒子を取り出し、水洗し、乾燥することにより、基材粒子Aの表面にニッケル−タングステン−リン導電層(厚み0.1μm)配置された粒子を得た。導電層100重量%中のニッケルの含有量は83.9重量%、リンの含有量は2.3重量%、タングステンの含有量は13.8重量%であった。
(2)金層の形成
無電解金めっき処理することにより、上記ニッケル層の外表面上に金層(厚み30nm)が配置された粒子を得た。
(3)セリウム化成処理
得られた粒子10gを、1重量%の硫酸セリウム水溶液1Lに添加し、水溶液の液温を80℃に保ちながら6時間攪拌した。硫酸セリウム水溶液をろ過し、粒子を純水で洗浄したのち、100℃の真空乾燥機で乾燥させ、酸化セリウム層が形成された導電性粒子を作製した。なお、エネルギー分散型X線分光器により測定すると、金層の表面に酸化セリウム層が形成されていることが確認された。
(実施例4)
実施例1で得られた導電性粒子を用いて防錆処理を行った。防錆剤として2−エチルヘキシルアシッドホスフェイトを用いて、導電性粒子を分散させることにより、上記金層及び上記酸化セリウム部の外表面が防錆処理された導電性粒子を得た。
(実施例5)
上記基材粒子Aをエッチングし、水洗した。次に、パラジウム触媒を8重量%含むパラジウム触媒化液100mL中に上記基材粒子Aを添加し、攪拌した。その後、ろ過し、洗浄した。pH6の0.5重量%ジメチルアミンボラン液に上記基材粒子Aを添加し、パラジウムが付着された基材粒子Aを得た。
パラジウムが付着された基材粒子Aをイオン交換水300mL中で3分間攪拌し、分散させ、分散液を得た。次に、金属ニッケル粒子スラリー(平均粒子径100nm)1gを3分間かけて上記分散液に添加し、芯物質が付着された基材粒子Aを得た。
芯物質が付着された基材粒子Aを用いて、ニッケル層及び金層を形成したこと以外は実施例1と同様にして、導電性粒子を得た。
(実施例6)
4ツ口セパラブルカバー、攪拌翼、三方コック、冷却管及び温度プローブが取り付けられた1000mLのセパラブルフラスコに、メタクリル酸メチル100mmolと、N,N,N−トリメチル−N−2−メタクリロイルオキシエチルアンモニウムクロライド1mmolと、2,2’−アゾビス(2−アミジノプロパン)二塩酸塩1mmolとを含むモノマー組成物を固形分率が5重量%となるようにイオン交換水に秤取した後、200rpmで攪拌し、窒素雰囲気下70℃で24時間重合を行った。反応終了後、凍結乾燥して、表面にアンモニウム基を有し、平均粒子径220nm及びCV値10%の絶縁性粒子を得た。
絶縁性粒子を超音波照射下でイオン交換水に分散させ、絶縁性粒子の10重量%水分散液を得た。
実施例5で得られた導電性粒子10gをイオン交換水500mLに分散させ、絶縁性粒子の水分散液4gを添加し、室温で6時間攪拌した。3μmのメッシュフィルターでろ過した後、更にメタノールで洗浄し、乾燥し、絶縁性粒子が付着した導電性粒子を得た。
走査型電子顕微鏡(SEM)により観察したところ、導電性粒子の表面に絶縁性粒子による被覆層が1層のみ形成されていた。画像解析により導電性粒子の中心より2.5μmの面積に対する絶縁性粒子の被覆面積(即ち絶縁性粒子の粒子径の投影面積)を算出したところ、被覆率は30%であった。
(実施例7)
基材粒子Aを基材粒子Bに変更したこと、並びに導電層100重量%中のニッケルの含有量を97.6重量%、リンの含有量を2.4重量%に変更したこと以外は実施例1と同様にして、導電性粒子を得た。
(比較例1)
セリウム化成処理を行わなかったこと、並びに導電層100重量%中のニッケルの含有量を92.5重量%、リンの含有量を7.5重量%に変更したこと以外は実施例1と同様にして、導電性粒子を得た。
(実施例8)
撹拌機及び温度計が取り付けられた500mLの反応容器内に、0.13重量%のアンモニア水溶液300gを入れた。次に、反応容器内のアンモニア水溶液中に、メチルトリメトキシシラン4.1gと、ビニルトリメトキシシラン19.2gと、シリコーンアルコキシオリゴマー(信越化学工業社製「X−41−1053」)0.7gとの混合物をゆっくりと添加した。撹拌しながら、加水分解及び縮合反応を進行させた後、25重量%アンモニア水溶液2.4mLを添加した後、アンモニア水溶液中から粒子を単離して、得られた粒子を酸素分圧10−17atm、350℃で2時間焼成して、粒子径が3.0μmの有機無機ハイブリッド粒子を得た。得られた有機無機ハイブリッド粒子を基材粒子Cとして用いたこと、並びに導電層100重量%中のニッケルの含有量を97.8重量%、リンの含有量を2.2重量%に変更したこと以外は実施例1と同様にして、導電性粒子を得た。
(実施例9)
基材粒子Aを基材粒子Dに変更したこと、並びに導電層100重量%中のニッケルの含有量を97.6重量%、リンの含有量を2.4重量%に変更したこと以外は実施例1と同様にして、導電性粒子を得た。
(実施例10)
基材粒子Aを基材粒子Eに変更したこと、並びに導電層100重量%中のニッケルの含有量を97.5重量%、リンの含有量を2.5重量%に変更したこと以外は実施例1と同様にして、導電性粒子を得た。
(実施例11)
次亜リン酸ナトリウム0.25mol/Lを含む前期無電解ニッケルめっき液を用意した。
また、次亜リン酸ナトリウム0.25mol/L及び水酸化ナトリウム0.05mol/Lを含む突起形成用めっき液を用意した。
上記基材粒子Aと、上記前期無電解ニッケルめっき液とを用いて、無電解めっき処理した。次に、その後、導電層に突起を形成するために、突起形成用めっき液を徐々に滴下し、突起を形成した。めっき液中に発生したNi突起核を超音波撹拌により分散しながらニッケルめっきを行った。上記後期無電解ニッケルめっき液を用いて、無電解めっき処理することにより、樹脂粒子の表面上にニッケル層(ニッケル−リン合金層、厚み80nm)と析出突起とが形成された粒子を得た。導電層100重量%中のニッケルの含有量は97.9重量%、リンの含有量は2.1重量%であった。
その後、実施例1と同様にして金層及び酸化セリウム層を形成して、導電性粒子を得た。
(実施例12)
次亜リン酸ナトリウム0.75mol/Lを含む前期無電解ニッケルめっき液を用意した。
また、次亜リン酸ナトリウム0.25mol/L及び水酸化ナトリウム0.05mol/Lを含む突起形成用めっき液を用意した。
上記基材粒子Aと、上記前期無電解ニッケルめっき液とを用いて、無電解めっき処理した。次に、その後、導電層に突起を形成するために、突起形成用めっき液を徐々に滴下し、突起を形成した。めっき液中に発生したNi突起核を超音波撹拌により分散しながらニッケルめっきを行った。上記後期無電解ニッケルめっき液を用いて、無電解めっき処理することにより、樹脂粒子の表面上にニッケル層(ニッケル−リン合金層、厚み80nm)と析出突起とが形成された粒子を得た。導電層100重量%中のニッケルの含有量は97.8重量%、リンの含有量は2.2重量%であった。
その後、実施例1と同様にして金層及び酸化セリウム層を形成して、導電性粒子を得た。
(比較例2)
金層形成工程を行わなかったこと、並びに導電層100重量%中のニッケルの含有量を97.5重量%、リンの含有量を2.5重量%に変更したこと以外は実施例1と同様にして、導電性粒子を得た。
(比較例3)
金層形成工程、及びセリウム化成処理を行わなかったこと以外は実施例1と同様にして、導電性粒子を得た。
(比較例4)
セリウム化成処理を行わなかったこと以外は実施例1と同様にして、導電性粒子を得た。
(実施例13)
無電解金めっき処理することにより、上記ニッケル層の外表面上に金層(厚み20nm)を形成したこと以外は実施例1と同様にして、導電性粒子を得た。
(実施例14)
無電解金めっき処理することにより、上記ニッケル層の外表面上に金層(厚み10nm)を形成したこと、並びに導電層100重量%中のニッケルの含有量を97.6重量%、リンの含有量を2.4重量%に変更したこと以外は実施例1と同様にして、導電性粒子を得た。
(実施例15)
無電解金めっき処理することにより、上記ニッケル層の外表面上に金層(厚み5nm)を形成したこと、並びに導電層100重量%中のニッケルの含有量を97.8重量%、リンの含有量を2.2重量%に変更したこと以外は実施例1と同様にして、導電性粒子を得た。
(実施例16)
無電解金めっき処理することにより、上記ニッケル層の外表面上に金層(厚み35nm)を形成したこと、並びに導電層100重量%中のニッケルの含有量を97.9重量%、リンの含有量を2.1重量%に変更したこと以外は実施例1と同様にして、導電性粒子を得た。
(評価)
(1)ニッケル層(導電層)100重量%中のニッケル、リン及びタングステンの含有量
集束イオンビームを用いて、得られた導電性粒子の薄膜切片を作製した。透過型電子顕微鏡FE−TEM(日本電子社製「JEM−2010FEF」)を用いて、エネルギー分散型X線分析装置(EDS)により、導電層におけるニッケル、リン及びタングステンの各含有量を測定した。ニッケル層全体における含有量を求めた。
(2)初期の接続抵抗
得られた導電性粒子を含有量が10重量%となるように、三井化学社製「ストラクトボンドXN−5A」に添加し、分散させて、異方性導電ペーストを作製した。
L/Sが15μm/15μmであるITO電極パターンを上面に有する透明ガラス基板を用意した。また、L/Sが15μm/15μmである金電極パターンを下面に有する半導体チップを用意した。
上記透明ガラス基板上に、作製直後の異方性導電ペーストを厚さ30μmとなるように塗工し、異方性導電ペースト層を形成した。次に、異方性導電ペースト層上に上記半導体チップを、電極同士が対向するように積層した。その後、異方性導電ペースト層の温度が185℃となるようにヘッドの温度を調整しながら、半導体チップの上面に加圧加熱ヘッドを載せ、1MPaの圧力をかけて異方性導電ペースト層を185℃で硬化させて、接続構造体を得た。
得られた接続構造体の上下の電極間の接続抵抗を、4端子法により測定した。2つの接続抵抗の平均値を算出した。なお、電圧=電流×抵抗の関係から、一定の電流を流した時の電圧を測定することにより接続抵抗を求めることができる。初期の接続抵抗を下記の基準で判定した。
[初期の接続抵抗の判定基準]
○○:接続抵抗が2.0Ω以下
○:接続抵抗が2.0Ωを超え、3.0Ω以下
△:接続抵抗が3.0Ωを超え、5.0Ω以下
×:接続抵抗が5.0Ωを超える
(3)信頼性試験後の接続抵抗(導通信頼性)
上記(2)初期の接続抵抗の評価で得られた接続構造体を、85℃及び相対湿度85%の条件で放置した。放置開始から100時間後に、上記(2)初期の接続抵抗の評価と同様に電極間の接続抵抗を4端子法により測定した。信頼性試験後の接続抵抗を下記の基準で判定した。
[信頼性試験後の接続抵抗の判定基準]
○○:接続抵抗(放置前)の平均値に比べ、接続抵抗(放置後)の平均値が125%未満
○:接続抵抗(放置前)の平均値に比べ、接続抵抗(放置後)の平均値が125%以上、150%未満
△:接続抵抗(放置前)の平均値に比べ、接続抵抗(放置後)の平均値が150%以上、200%未満
×:接続抵抗(放置前)の平均値に比べ、接続抵抗(放置後)の平均値が200%以上
結果を下記の表1に示す。
Figure 0006445833
なお、上記(3)信頼性試験後の接続抵抗の評価では、得られた接続構造体を85℃及び相対湿度85%の条件で放置した。接続構造体を得る前の導電性粒子を85℃及び相対湿度85%の条件で放置した後に、接続構造体を得た場合にも、接続抵抗の上昇傾向について、上記(3)信頼性試験後の接続抵抗の評価結果と同様の傾向が見られた。また、実施例1〜16の導電性粒子では、比較例1,3,4の導電性粒子と比べて、導電材料中での導電性粒子の分散性に優れており、電極間の接続抵抗のばらつきが小さかった。また、実施例5,6において、金層の外表面の全表面積100%中、突起がある部分の表面積が30%以上であった。
1…導電性粒子
2…基材粒子
3…ニッケル層
4…金層
5…金属酸化物部
21…導電性粒子
21a…突起
22…ニッケル層
22a…突起
23…金層
23a…突起
24…金属酸化物部
25…芯物質
26…絶縁物質
51…接続構造体
52…第1の接続対象部材
52a…第1の電極
53…第2の接続対象部材
53a…第2の電極
54…接続部

Claims (12)

  1. 基材粒子と、
    前記基材粒子の表面上に配置されており、かつニッケルを含むニッケル層と、
    前記ニッケル層の外表面上に配置されており、かつ金を含む金層と、
    前記金層に接するように配置されており、かつセリウム及びチタンの内の少なくとも1種の金属を含む金属酸化物部とを備え
    前記金層の外表面の全表面積に占める前記金属酸化物部が接触している表面積の割合が、20%以上である、導電性粒子。
  2. 前記ニッケル層の外表面上に前記金層が配置された状態で、前記金層の外表面を表面処理することにより、前記金属酸化物部が形成されている、請求項1に記載の導電性粒子。
  3. 前記金層の厚みが30nm以下である、請求項1又は2に記載の導電性粒子。
  4. 前記ニッケル層がリンを含む、請求項1〜3のいずれか1項に記載の導電性粒子。
  5. 前記金層の外表面に複数の突起を有する、請求項1〜4のいずれか1項に記載の導電性粒子。
  6. 複数の前記突起を形成するように、前記金層の外表面を隆起させている複数の芯物質を備える、請求項5に記載の導電性粒子。
  7. 前記芯物質の材料のモース硬度が5以上である、請求項6に記載の導電性粒子。
  8. 前記金層の外表面の全表面積100%中、前記突起がある部分の表面積が30%以上である、請求項5〜7のいずれか1項に記載の導電性粒子。
  9. 前記金層の外表面上に配置された絶縁物質を備える、請求項1〜8のいずれか1項に記載の導電性粒子。
  10. バインダー樹脂中に分散され、導電材料として用いられる、請求項1〜9のいずれか1項に記載の導電性粒子。
  11. 請求項1〜9のいずれか1項に記載の導電性粒子と、バインダー樹脂とを含む、導電材料。
  12. 第1の電極を表面に有する第1の接続対象部材と、
    第2の電極を表面に有する第2の接続対象部材と、
    前記第1の接続対象部材と前記第2の接続対象部材とを接続している接続部とを備え、
    前記接続部が、請求項1〜9のいずれか1項に記載の導電性粒子により形成されているか、又は前記導電性粒子とバインダー樹脂とを含む導電材料により形成されており、
    前記第1の電極と前記第2の電極とが前記導電性粒子により電気的に接続されている、接続構造体。
JP2014214665A 2013-10-21 2014-10-21 導電性粒子、導電材料及び接続構造体 Active JP6445833B2 (ja)

Priority Applications (1)

Application Number Priority Date Filing Date Title
JP2014214665A JP6445833B2 (ja) 2013-10-21 2014-10-21 導電性粒子、導電材料及び接続構造体

Applications Claiming Priority (3)

Application Number Priority Date Filing Date Title
JP2013218304 2013-10-21
JP2013218304 2013-10-21
JP2014214665A JP6445833B2 (ja) 2013-10-21 2014-10-21 導電性粒子、導電材料及び接続構造体

Publications (2)

Publication Number Publication Date
JP2015109269A JP2015109269A (ja) 2015-06-11
JP6445833B2 true JP6445833B2 (ja) 2018-12-26

Family

ID=53439465

Family Applications (1)

Application Number Title Priority Date Filing Date
JP2014214665A Active JP6445833B2 (ja) 2013-10-21 2014-10-21 導電性粒子、導電材料及び接続構造体

Country Status (1)

Country Link
JP (1) JP6445833B2 (ja)

Families Citing this family (2)

* Cited by examiner, † Cited by third party
Publication number Priority date Publication date Assignee Title
JP7180981B2 (ja) * 2017-02-21 2022-11-30 積水化学工業株式会社 導電性粒子、導電材料及び接続構造体
CN114479712A (zh) * 2017-04-28 2022-05-13 昭和电工材料株式会社 粘接剂组合物及连接体的制造方法

Family Cites Families (8)

* Cited by examiner, † Cited by third party
Publication number Priority date Publication date Assignee Title
JP4563110B2 (ja) * 2004-08-20 2010-10-13 積水化学工業株式会社 導電性微粒子の製造方法
KR100719802B1 (ko) * 2005-12-28 2007-05-18 제일모직주식회사 이방 전도 접속용 고신뢰성 전도성 미립자
JP2007242307A (ja) * 2006-03-06 2007-09-20 Sekisui Chem Co Ltd 導電性微粒子及び異方性導電材料
KR100882735B1 (ko) * 2007-03-19 2009-02-06 도레이새한 주식회사 이방성 전도필름 및 이의 접착방법
JP5529431B2 (ja) * 2008-03-27 2014-06-25 積水化学工業株式会社 導電性微粒子、異方性導電材料、及び、接続構造体
JP5271019B2 (ja) * 2008-09-29 2013-08-21 積水化学工業株式会社 導電性微粒子、異方性導電材料、及び、接続構造体
CN108806824B (zh) * 2011-12-21 2023-07-25 积水化学工业株式会社 导电性粒子、导电材料及连接结构体
JP6034177B2 (ja) * 2011-12-22 2016-11-30 積水化学工業株式会社 導電性粒子、導電材料及び接続構造体

Also Published As

Publication number Publication date
JP2015109269A (ja) 2015-06-11

Similar Documents

Publication Publication Date Title
JP6009933B2 (ja) 導電性粒子、導電材料及び接続構造体
JP5719483B1 (ja) 導電性粒子、導電材料及び接続構造体
JP7421580B2 (ja) 導電性粒子、導電材料及び接続構造体
JP6386163B2 (ja) 導電性粒子、導電材料及び接続構造体
JP6276351B2 (ja) 導電性粒子、導電材料及び接続構造体
JP6084868B2 (ja) 導電性粒子、導電材料及び接続構造体
JP7144472B2 (ja) 導電性粒子、導電材料及び接続構造体
WO2016080407A1 (ja) 導電性粒子、導電材料及び接続構造体
JP6453032B2 (ja) 導電性粒子、導電材料及び接続構造体
JP2019024006A (ja) 導電性粒子、導電材料及び接続構造体
JP2019140116A (ja) 導電性粒子、導電材料及び接続構造体
JP6687408B2 (ja) 導電性粒子粉体、導電性粒子粉体の製造方法、導電材料及び接続構造体
JP6445833B2 (ja) 導電性粒子、導電材料及び接続構造体
JP6423687B2 (ja) 導電性粒子、導電材料及び接続構造体
JP6357347B2 (ja) 導電性粒子、導電材料及び接続構造体
JP6411194B2 (ja) 導電性粒子、導電性粒子の製造方法、導電材料及び接続構造体
JP6491446B2 (ja) 導電性粒子、導電材料及び接続構造体
JP6596137B2 (ja) 導電性粒子、導電材料及び接続構造体
JP6592298B2 (ja) 導電性粒子、導電材料及び接続構造体
JP2015109267A (ja) 導電性粒子、導電材料及び接続構造体

Legal Events

Date Code Title Description
A621 Written request for application examination

Free format text: JAPANESE INTERMEDIATE CODE: A621

Effective date: 20170704

A977 Report on retrieval

Free format text: JAPANESE INTERMEDIATE CODE: A971007

Effective date: 20180425

A131 Notification of reasons for refusal

Free format text: JAPANESE INTERMEDIATE CODE: A131

Effective date: 20180508

A521 Request for written amendment filed

Free format text: JAPANESE INTERMEDIATE CODE: A523

Effective date: 20180628

TRDD Decision of grant or rejection written
A01 Written decision to grant a patent or to grant a registration (utility model)

Free format text: JAPANESE INTERMEDIATE CODE: A01

Effective date: 20181106

A61 First payment of annual fees (during grant procedure)

Free format text: JAPANESE INTERMEDIATE CODE: A61

Effective date: 20181130

R151 Written notification of patent or utility model registration

Ref document number: 6445833

Country of ref document: JP

Free format text: JAPANESE INTERMEDIATE CODE: R151

R250 Receipt of annual fees

Free format text: JAPANESE INTERMEDIATE CODE: R250

R250 Receipt of annual fees

Free format text: JAPANESE INTERMEDIATE CODE: R250