JP6567361B2 - Money handling apparatus and money handling method - Google Patents

Money handling apparatus and money handling method Download PDF

Info

Publication number
JP6567361B2
JP6567361B2 JP2015159112A JP2015159112A JP6567361B2 JP 6567361 B2 JP6567361 B2 JP 6567361B2 JP 2015159112 A JP2015159112 A JP 2015159112A JP 2015159112 A JP2015159112 A JP 2015159112A JP 6567361 B2 JP6567361 B2 JP 6567361B2
Authority
JP
Japan
Prior art keywords
money
coin
unit
image data
coins
Prior art date
Legal status (The legal status is an assumption and is not a legal conclusion. Google has not performed a legal analysis and makes no representation as to the accuracy of the status listed.)
Active
Application number
JP2015159112A
Other languages
Japanese (ja)
Other versions
JP2017037530A (en
Inventor
根 裕 志 刀
根 裕 志 刀
井 顕 今
井 顕 今
Current Assignee (The listed assignees may be inaccurate. Google has not performed a legal analysis and makes no representation or warranty as to the accuracy of the list.)
Glory Ltd
Original Assignee
Glory Ltd
Priority date (The priority date is an assumption and is not a legal conclusion. Google has not performed a legal analysis and makes no representation as to the accuracy of the date listed.)
Filing date
Publication date
Application filed by Glory Ltd filed Critical Glory Ltd
Priority to JP2015159112A priority Critical patent/JP6567361B2/en
Publication of JP2017037530A publication Critical patent/JP2017037530A/en
Application granted granted Critical
Publication of JP6567361B2 publication Critical patent/JP6567361B2/en
Active legal-status Critical Current
Anticipated expiration legal-status Critical

Links

Images

Landscapes

  • Cash Registers Or Receiving Machines (AREA)

Description

本発明は、貨幣を処理する貨幣処理装置及び貨幣処理方法に関する。   The present invention relates to a money handling apparatus and a money handling method for processing money.

従来から、金融機関、交通機関の窓口、スーパーマーケット等の精算所においては、紙幣や硬貨の入出金処理を機械的に自動処理するような貨幣処理装置や貨幣処理システムが導入されている。   2. Description of the Related Art Conventionally, money processing apparatuses and money handling systems that automatically process deposit and withdrawal processing of banknotes and coins have been introduced at checkout offices such as financial institutions, transportation counters, and supermarkets.

このような貨幣入出金処理システムは、紙幣の入出金処理を行う紙幣処理装置と、硬貨の入出金処理を行う硬貨処理装置と、商品、販売額、振込額等を登録するとともに紙幣処理装置及び硬貨処理装置に対して指令を送る登録装置と、を含んでいる。この登録装置については、スーパーマーケット等の精算所においてはPOSレジスタがその機能を持ち、また金融機関や交通機関の窓口においてはテラーズマシンがその機能を持つようになされている。   Such a money deposit / withdrawal processing system registers a banknote processing apparatus that performs deposit / withdrawal processing of banknotes, a coin processing apparatus that performs deposit / withdrawal processing of coins, a commodity, a sales amount, a transfer amount, etc. A registration device for sending a command to the coin processing device. As for this registration device, a POS register has a function at a checkout office such as a supermarket, and a Terras machine has a function at a counter of a financial institution or a transportation facility.

この点、特許文献1では、入金優先処理と出金優先処理との双方を選択的に行えるようにした貨幣処理装置が開示されている。この特許文献1による貨幣処理装置でも、入金金額を正確に算出するために入金優先処理を選択すると、入金された貨幣の繰り出し及び識別を経た後で釣銭が払い出されることから、レジ等において顧客を待たせる時間が長くなってしまう。他方、特許文献1における出金優先処理を選択することで、貨幣の出金処理を優先して行うことができ、顧客を待たせる時間を短くすることができる。しかしながら、出金優先処理を選択した場合には、レジ係等の操作者が顧客から預かった預かり金を数えて預かり金の合計金額を算出し、入力する必要があることから、釣銭金額に間違いが発生する可能性があり、違算の原因となってしまう。また、レジ係等の操作者による不正が発生するおそれもある。   In this regard, Patent Document 1 discloses a money handling apparatus that can selectively perform both deposit priority processing and withdrawal priority processing. Even in the money handling apparatus according to Patent Document 1, when the deposit priority processing is selected to accurately calculate the deposited amount, the change is paid out after the deposited money has been paid out and identified, so that the customer at the cash register etc. The waiting time will be longer. On the other hand, by selecting the withdrawal priority process in Patent Document 1, it is possible to prioritize the withdrawal process of money, and to shorten the time to wait for the customer. However, if withdrawal priority processing is selected, it is necessary to calculate and enter the total amount of deposits by counting deposits deposited by customers such as cashiers. May occur, causing miscalculation. There is also a risk of fraud by an operator such as a cashier.

特許第4128244号Japanese Patent No. 4128244

本発明は、このような課題に鑑みなされたものであり、違算が発生したり不正が発生したりする可能性を低く抑えつつ、顧客を待たせる時間を短くすることができる貨幣処理装置及び貨幣処理方法を提供する。   The present invention has been made in view of such problems, and it is possible to reduce the time that a customer waits while suppressing the possibility of miscalculation or fraud, and the money processing apparatus and money A processing method is provided.

本発明は、貨幣処理装置であって、装置外に載置される貨幣の画像データを取得する撮像手段と、前記撮像手段によって取得された貨幣の画像データに基づいて当該貨幣の金額情報を算出する算出手段と、前記画像データに基づいて算出された金額情報を記録する記録手段と、を備え、前記撮像手段によって取得された貨幣の画像データに基づいて当該貨幣の金額情報を算出する際の算出精度を確認する確認モードが用意されていて、所定のタイミングで実施されるようになっていることを特徴とする貨幣処理装置である。   The present invention is a money handling apparatus, which is an imaging unit that acquires image data of money placed outside the apparatus, and calculates monetary amount information based on the image data of money acquired by the imaging unit. And calculating means for recording the money amount information calculated based on the image data, and calculating the money amount information of the money based on the money image data acquired by the imaging means. The money handling apparatus is characterized in that a confirmation mode for confirming the calculation accuracy is prepared and is executed at a predetermined timing.

本発明によれば、載置外に載置される貨幣の画像データを取得して金額情報を算出することにより、金額情報を早く決めることができる。そして、本発明によれば、撮像手段によって取得された貨幣の画像データに基づいて当該貨幣の金額情報を算出する際の算出精度を確認する確認モードが用意されていて、所定のタイミングで実施されることにより、画像データに基づく預かり金額の算出精度を効果的に維持することができる。これにより、違算が発生したり不正が発生したりする可能性を、より一層低く抑えることができる。   According to the present invention, money amount information can be determined quickly by acquiring image data of money placed outside the placement and calculating money amount information. According to the present invention, there is provided a confirmation mode for confirming the calculation accuracy when calculating the money amount information of the money based on the money image data acquired by the imaging means, which is carried out at a predetermined timing. By doing so, it is possible to effectively maintain the calculation accuracy of the deposit amount based on the image data. As a result, the possibility of miscalculation or fraud can be further reduced.

ここで、「所定のタイミング」というのは、例えば、貨幣処理装置の設置時や、メンテナンス作業の実行時や、貨幣処理装置の構成要素の一部を変更した時、等である。   Here, the “predetermined timing” is, for example, when the money handling apparatus is installed, when maintenance work is performed, or when some of the components of the money handling apparatus are changed.

あるいは、季節による外来光の影響が気になる場合や、貨幣処理装置の経年劣化が気になる場合には、数ヶ月毎に「所定のタイミング」が設定されてもよい。   Alternatively, “predetermined timing” may be set every several months when the influence of the extraneous light depending on the season is concerned or when the aging of the money handling apparatus is concerned.

あるいは、日照による外来光の影響が気になる場合には、例えば毎日、複数の時間帯(例えば朝/昼/夕方/夜)の各々において「所定のタイミング」が設定されてもよい。   Alternatively, when the influence of extraneous light due to sunshine is a concern, for example, “predetermined timing” may be set in each of a plurality of time zones (for example, morning / daytime / evening / night).

前記のように設定された「所定のタイミング」が到来した時には、自動的に確認モードに切り替わってもよいし、確認モードの実施(入力指示)を促すメッセージが表示されるようになっていてもよい。後者の場合には、貨幣処理装置の操作者が、メッセージを確認した上で、確認モードの実施を入力指示することになる。当該入力指示の権限は、特定の担当者に限定されていてもよい。メッセージの表示は、貨幣処理装置に設けられた表示部においてなされてもよいし、貨幣処理装置に接続された上位の管理装置に設けられた表示部においてなされてもよい。   When the “predetermined timing” set as described above arrives, the mode may be automatically switched to the confirmation mode, or a message prompting the implementation (input instruction) of the confirmation mode may be displayed. Good. In the latter case, the operator of the money handling apparatus confirms the message and inputs an instruction to execute the confirmation mode. The authority of the input instruction may be limited to a specific person in charge. The message may be displayed on a display unit provided in the money handling apparatus, or may be displayed on a display unit provided in an upper management apparatus connected to the money handling apparatus.

確認モードが実施される際には、例えば、貨幣処理装置の設置環境が評価され得る。具体的には、例えば、貨幣処理装置の周囲の明るさが評価され得る。   When the confirmation mode is performed, for example, the installation environment of the money handling apparatus can be evaluated. Specifically, for example, the brightness around the money handling apparatus can be evaluated.

あるいは、確認モードが実施される際には、例えば、貨幣処理装置の設置状態が評価され得る。例えば、撮像手段の設置状態や、貨幣が載置される載置部の状態が評価され得る。 好ましくは、確認モードが実施される際、撮像手段は、装置外に載置される所定の確認モード用貨幣の画像データを取得するようになっており、算出手段は、前記撮像手段によって取得された確認モード用貨幣の画像データに基づいて当該確認モード用貨幣の金額情報を算出するようになっており、算出された前記金額情報と、予め特定されていた前記確認モード用貨幣の金額情報と、を比較する比較処理が行われて前記算出精度が確認されるようになっている。   Or when confirmation mode is implemented, the installation state of a money processor can be evaluated, for example. For example, the installation state of the imaging means and the state of the placement unit on which money is placed can be evaluated. Preferably, when the confirmation mode is performed, the imaging unit is configured to acquire image data of a predetermined confirmation mode currency placed outside the apparatus, and the calculation unit is acquired by the imaging unit. The amount information of the confirmation mode currency is calculated based on the image data of the confirmation mode currency, the calculated amount information, and the amount information of the confirmation mode currency specified in advance. Are compared to confirm the calculation accuracy.

この場合、予め金額情報が分かっている実際の貨幣である「確認モード用貨幣」を用いることにより、極めて効果的に算出精度が確認され得る。   In this case, the calculation accuracy can be confirmed extremely effectively by using “confirmation mode money” which is actual money whose amount information is known in advance.

また、この場合、確認モード用貨幣は、複数金種の各々の流通貨幣と新規貨幣であることが好ましい。経年劣化した流通貨幣と新規貨幣とでは、撮像及びその後の画像処理において性質が異なる可能性があるが、複数金種、例えば6金種の各々でそれらの両方を「確認モード用貨幣」とすることで、極めて効果的に算出精度(撮像、画像処理、演算といった一連の金額情報算出の精度)が確認(評価)され得る。   Further, in this case, it is preferable that the confirmation mode currency is each of a plurality of denominations and a new currency. Aged currency and new currency may have different properties in imaging and subsequent image processing. However, multiple denominations, for example, 6 denominations, both of them are designated as “confirmation mode currency”. Thus, the calculation accuracy (accuracy of a series of monetary information calculation such as imaging, image processing, and calculation) can be confirmed (evaluated) extremely effectively.

「確認モード用貨幣」の代わりに、例えば貨幣に摸した色や凹凸パターンを有する「確認モード用媒体」が用いられてもよい。すなわち、確認モードが実施される際、撮像手段は、装置外に載置される所定の確認モード用媒体の画像データを取得するようになっており、算出手段は、前記撮像手段によって取得された確認モード用媒体の画像データに基づいて当該確認モード用媒体が対応するであろう金額情報を算出するようになっており、算出された前記金額情報と、予め記録されていた前記確認モード用媒体が対応するべき金額情報と、を比較する比較処理が行われて前記算出精度が確認されるようになっている。   Instead of the “confirmation mode money”, for example, a “confirmation mode medium” having a color or a concavo-convex pattern fringed with money may be used. That is, when the confirmation mode is performed, the imaging unit acquires image data of a predetermined confirmation mode medium placed outside the apparatus, and the calculation unit is acquired by the imaging unit. Based on the image data of the confirmation mode medium, the amount information that the confirmation mode medium will correspond is calculated, and the calculated amount information and the confirmation mode medium recorded in advance are calculated. The calculation accuracy is confirmed by performing a comparison process of comparing the amount information to be corresponded with.

この場合も、予め対応するべき金額情報が特定されている「確認モード用媒体」を用いることにより、極めて効果的に算出精度が確認され得る。   Also in this case, the calculation accuracy can be confirmed extremely effectively by using a “confirmation mode medium” in which the amount information to be supported is specified in advance.

また、確認モードが実施されている間に、貨幣が装置内に受け入れられてしまった場合には、当該貨幣はリジェクト(返却)されることが好ましい。   In addition, when money is received in the apparatus while the confirmation mode is being performed, the money is preferably rejected (returned).

また、確認モードが実施されて、算出精度に問題がないと判断される際には、貨幣処理装置は前記確認モードから通常モードに自動的に復帰するようになっているか、あるいは、通常モードへの復帰を促すメッセージが表示されるようになっていることが好ましい。後者の場合には、貨幣処理装置の操作者が、メッセージを確認した上で、通常モードの復帰を入力指示することになる。メッセージの表示は、貨幣処理装置に設けられた表示部においてなされてもよいし、貨幣処理装置に接続された上位の管理装置に設けられた表示部においてなされてもよい。   In addition, when the confirmation mode is performed and it is determined that there is no problem in calculation accuracy, the money handling apparatus automatically returns from the confirmation mode to the normal mode, or enters the normal mode. It is preferable that a message prompting the user to return is displayed. In the latter case, the operator of the money handling apparatus inputs an instruction to return to the normal mode after confirming the message. The message may be displayed on a display unit provided in the money handling apparatus, or may be displayed on a display unit provided in an upper management apparatus connected to the money handling apparatus.

逆に、確認モードが実施されて、算出精度に問題があると判断される際には、当該算出精度を向上させるための調整方法が出力されるようになっていることが好ましい。調整方法の表示は、貨幣処理装置に設けられた表示部においてなされてもよいし、貨幣処理装置に接続された上位の管理装置に設けられた表示部においてなされてもよい。   Conversely, when it is determined that there is a problem in calculation accuracy when the confirmation mode is performed, it is preferable that an adjustment method for improving the calculation accuracy is output. The display of the adjustment method may be performed on a display unit provided in the money handling apparatus, or may be performed on a display unit provided in an upper management apparatus connected to the money handling apparatus.

また、本発明は、売上金額を入力するための外部端末と、以上に述べたいずれかの特徴を有する貨幣処理装置と、前記売上金額と少なくとも算出された前記金額情報を含む預かり金情報とから釣銭金額を算出する制御部と、を備えたことを特徴とする貨幣処理システムである。   The present invention also includes an external terminal for inputting a sales amount, a money processing apparatus having any of the above-described features, and deposit information including the sales amount and at least the calculated amount information. A money processing system comprising a control unit for calculating a change amount.

この場合、前記外部端末には、算出精度に関する情報を表示する表示部、及び/または、算出精度に問題があるか否かを判定する判定手段、が設けられていることが好ましい。   In this case, it is preferable that the external terminal is provided with a display unit that displays information related to calculation accuracy and / or a determination unit that determines whether there is a problem in calculation accuracy.

また、本発明は、撮像手段によって、確認モード用貨幣の画像データを取得する工程と、前記画像データに基づいて当該確認モード用貨幣の金額情報を算出する工程と、算出された前記金額情報と、予め記録されていた前記確認モード用貨幣の金額情報と、を比較する比較処理が行われて貨幣処理装置の算出精度を確認する確認工程と、を備えたことを特徴とする貨幣処理装置の算出精度の確認方法である。   Further, the present invention provides a step of acquiring confirmation mode money image data by the imaging means, a step of calculating amount information of the confirmation mode money based on the image data, and the calculated amount information. A confirmation process for confirming the calculation accuracy of the money handling apparatus by performing a comparison process for comparing the amount information of the confirmation mode money recorded in advance. This is a method for checking the calculation accuracy.

あるいは、本発明は、撮像手段によって、確認モード用媒体の画像データを取得する工程と、前記画像データに基づいて当該確認モード用媒体が対応するであろう金額情報を算出する工程と、算出された前記金額情報と、予め記録されていた前記確認モード用媒体が対応するべき金額情報と、を比較する比較処理が行われて貨幣処理装置の算出精度を確認する確認工程と、を備えたことを特徴とする貨幣処理装置の算出精度の確認方法である。   Alternatively, the present invention is a step of acquiring image data of a confirmation mode medium by an imaging unit, and a step of calculating amount information that the confirmation mode medium will correspond based on the image data. And a confirmation step of confirming the calculation accuracy of the money handling apparatus by performing a comparison process for comparing the amount information with the amount information that should be supported by the confirmation mode medium recorded in advance. This is a method for confirming the calculation accuracy of the money handling apparatus.

本発明によれば、装置外に載置される貨幣の画像データを取得して金額情報を算出することにより、金額情報を早く決めることができる。そして、本発明によれば、撮像手段によって取得された貨幣の画像データに基づいて当該貨幣の金額情報を算出する際の算出精度を確認する確認モードが用意されていて、所定のタイミングで実施されることにより、画像データに基づく金額情報の算出精度を効果的に維持することができる。これにより、違算が発生したり不正が発生したりする可能性を、より一層低く抑えることができる。   According to the present invention, money amount information can be determined quickly by obtaining image data of money placed outside the apparatus and calculating money amount information. According to the present invention, there is provided a confirmation mode for confirming the calculation accuracy when calculating the money amount information of the money based on the money image data acquired by the imaging means, which is carried out at a predetermined timing. Thus, the calculation accuracy of the amount information based on the image data can be effectively maintained. As a result, the possibility of miscalculation or fraud can be further reduced.

図1は、本発明の一実施の形態による貨幣処理システムの一部を示す斜視図である。FIG. 1 is a perspective view showing a part of a money handling system according to an embodiment of the present invention. 図2は、本発明の一実施の形態による貨幣処理システムの構成を示す概略構成図である。FIG. 2 is a schematic configuration diagram showing the configuration of the money handling system according to the embodiment of the present invention. 図3は、本発明の一実施の形態による貨幣処理システムの構成を簡略化して示した制御ブロック図である。FIG. 3 is a control block diagram showing a simplified configuration of the money handling system according to the embodiment of the present invention. 図4は、本発明の一実施の形態による貨幣処理システムの構成を示した制御ブロック図である。FIG. 4 is a control block diagram showing the configuration of the money handling system according to the embodiment of the present invention. 図5(a)は、本発明の一実施の形態で用いられる吟味台の第二部材が第一部材に対して閉状態となった際の斜視図であり、図5(b)は、吟味台の第二部材が第一部材に対して開状態となった際の斜視図であり、図5(c)は、図5(a)及び図5(b)に示した態様とは異なる態様における吟味台を示した斜視図である。FIG. 5A is a perspective view when the second member of the examination table used in the embodiment of the present invention is in a closed state with respect to the first member, and FIG. It is a perspective view when the 2nd member of a stand will be in an open state with respect to a 1st member, and FIG.5 (c) is a mode different from the mode shown to Fig.5 (a) and FIG.5 (b). It is the perspective view which showed the examination table in. 図6(a)は、本発明の一実施の形態で用いられる吟味台の一例を示した平面図であり、図6(b)は、本発明の一実施の形態で用いられる吟味台の別の例を示した平面図である。FIG. 6 (a) is a plan view showing an example of the examination table used in the embodiment of the present invention, and FIG. 6 (b) shows another example of the examination table used in the embodiment of the present invention. It is the top view which showed the example of. 図7は、本発明の一実施の形態で用いられる吟味台における第二部材及び第三部材の一例を示した平面図である。FIG. 7 is a plan view showing an example of the second member and the third member in the examination table used in the embodiment of the present invention. 図8は、本発明の一実施の形態で用いられる載置台を示した平面図である。FIG. 8 is a plan view showing a mounting table used in one embodiment of the present invention. 図9は、本発明の一実施の形態の表示部で表示される画像データの一例を示した図である。FIG. 9 is a diagram showing an example of image data displayed on the display unit according to the embodiment of the present invention. 図10は、本発明の一実施の形態の表示部で表示される画像データの別の例を示した図であり、異物が吟味台に載置されている態様を示した図である。FIG. 10 is a diagram illustrating another example of image data displayed on the display unit according to the embodiment of the present invention, and is a diagram illustrating a mode in which a foreign object is placed on the examination table. 図11は、本発明の一実施の形態の登録表示部又は客側表示部で表示される表示画面の一例を示した図である。FIG. 11 is a diagram showing an example of a display screen displayed on the registration display unit or the customer side display unit according to the embodiment of the present invention. 図12は、本発明の一実施の形態の登録表示部又は客側表示部で表示される表示画面の別の例を示した図である。FIG. 12 is a diagram showing another example of a display screen displayed on the registration display unit or the customer side display unit according to the embodiment of the present invention. 図13は、本発明の一実施の形態の登録表示部又は客側表示部で表示される表示画面のさらに別の例を示した図である。FIG. 13 is a diagram showing still another example of the display screen displayed on the registration display unit or the customer side display unit according to the embodiment of the present invention. 図14は、本発明の一実施の形態の表示部で表示されるアラーム表示の一例を示した図である。FIG. 14 is a diagram showing an example of an alarm display displayed on the display unit according to the embodiment of the present invention. 図15(a)−図15(d)は、本発明の一実施の形態による貨幣処理システムを用いた貨幣処理方法の一例を示すための図であり、一連の作業を示した図である。FIG. 15A to FIG. 15D are diagrams for illustrating an example of a money handling method using the money handling system according to the embodiment of the present invention and showing a series of operations. 図16は、図15(a)−図15(d)に対応する表示画面の例を示した図である。FIG. 16 is a diagram showing examples of display screens corresponding to FIGS. 15 (a) to 15 (d). 図17(a)−図17(d)は、硬貨の計数例を示す表である。FIG. 17A to FIG. 17D are tables showing examples of coin counting. 図18は、本発明の一実施の形態の通常モードの処理フローの一例を示すフロー図である。FIG. 18 is a flowchart illustrating an example of a processing flow in the normal mode according to the embodiment of this invention. 図19は、本発明の一実施の形態の確認モードの処理フローの一例を示すフロー図である。FIG. 19 is a flowchart showing an example of the processing flow in the confirmation mode according to the embodiment of this invention. 算出精度を向上させるための調整方法の図表である。It is a chart of the adjustment method for improving calculation accuracy. 設置環境確認モードに関連する図であって、(a)はメニュー画面の例、(b)はOK判定時の画面の例、(c)はNG判定時の画面の例、である。It is a figure relevant to installation environment confirmation mode, (a) is an example of a menu screen, (b) is an example of the screen at the time of OK determination, (c) is an example of the screen at the time of NG determination.

《構成》
以下、本発明に係る貨幣処理装置及び貨幣処理方法の一実施の形態について、図面を参照して説明する。ここで、図1乃至図15は本発明の一実施の形態を説明するための図である。なお、本願において「貨幣」とは、「硬貨」、「紙幣」、又は、「硬貨」及び「紙幣」の両方、のことを意味する。したがって、本願の「貨幣処理装置」は、「硬貨処理装置100」単体、「紙幣処理装置200」単体、又は、「硬貨処理装置100」及び「紙幣処理装置200」の両方、のことを意味する。なお、以下では、貨幣処理装置が硬貨処理装置100及び紙幣処理装置200の両方を含む態様を用いて説明する。
"Constitution"
Hereinafter, an embodiment of a money handling apparatus and a money handling method according to the present invention will be described with reference to the drawings. Here, FIG. 1 to FIG. 15 are diagrams for explaining an embodiment of the present invention. In the present application, “money” means “coin”, “banknote”, or both “coin” and “banknote”. Therefore, the “money processing device” of the present application means “coin processing device 100” alone, “banknote processing device 200” alone, or both “coin processing device 100” and “banknote processing device 200”. . In addition, below, it demonstrates using the aspect in which a money processing apparatus contains both the coin processing apparatus 100 and the banknote processing apparatus 200. FIG.

本実施の形態の貨幣処理システムは、硬貨処理装置100及び紙幣処理装置200のいずれかに接続されたPOSレジスタやテラーズマシン等の登録装置300、パソコン、サーバ400等を備えることができる(図1乃至図4参照)。硬貨処理装置100及び紙幣処理装置200は一体となっていてもよいし、各々が別体となっていてもよい。なお、外部装置とは、対象となっている装置以外の装置のことを意味し、例えば硬貨処理装置100から見た場合には硬貨処理装置100以外のあらゆる装置が外部装置に該当し、前述した例で言うと、紙幣処理装置200、登録装置300、パソコン、サーバ400等が外部装置に該当する。また、紙幣処理装置200から見た場合には紙幣処理装置200以外のあらゆる装置が外部装置に該当し、前述した例で言うと、硬貨処理装置100、登録装置300、パソコン、サーバ400等が外部装置に該当する。また、例えば硬貨処理装置100及び紙幣処理装置200を含む貨幣処理装置から見た場合には貨幣処理装置以外のあらゆる装置が外部装置に該当し、前述した例で言うと、登録装置300、パソコン、サーバ400等が外部装置に該当する。   The money handling system according to the present embodiment can include a registration device 300 such as a POS register or a Terras machine, a personal computer, a server 400, and the like connected to either the coin handling device 100 or the bill handling device 200 (FIG. 1). To FIG. 4). The coin processing device 100 and the banknote processing device 200 may be integrated, or each may be a separate body. The external device means a device other than the target device. For example, when viewed from the coin processing device 100, any device other than the coin processing device 100 corresponds to the external device, and is described above. For example, the banknote processing device 200, the registration device 300, the personal computer, the server 400, and the like correspond to external devices. In addition, when viewed from the banknote processing apparatus 200, any apparatus other than the banknote processing apparatus 200 corresponds to the external apparatus. In the example described above, the coin processing apparatus 100, the registration apparatus 300, the personal computer, the server 400, and the like are external. Applicable to the device. Further, for example, when viewed from a money handling device including the coin handling device 100 and the banknote handling device 200, any device other than the money handling device corresponds to an external device. In the example described above, the registration device 300, a personal computer, The server 400 or the like corresponds to an external device.

本実施の形態では、硬貨処理装置100、紙幣処理装置200、登録装置300及びサーバ(例えば店舗サーバ)400を備えた貨幣処理システムを用いて説明する。   In the present embodiment, description will be made using a money handling system including a coin handling device 100, a bill handling device 200, a registration device 300, and a server (for example, a store server) 400.

図2乃至図4に示すように、本実施の形態の登録装置300はサーバ400に通信接続されている。そして、登録装置300からサーバ400に売上金情報、紙幣の記番号等の情報が送信されるようになっている。また、各種設定情報等の情報が、サーバ400から登録装置300(複数台でも可)に配信されるようになっている。   As shown in FIGS. 2 to 4, the registration apparatus 300 according to the present embodiment is communicatively connected to a server 400. Information such as sales information, banknote serial number, and the like is transmitted from the registration device 300 to the server 400. In addition, information such as various setting information is distributed from the server 400 to the registration device 300 (a plurality of registration devices may be used).

図3及び図4に示すように、硬貨処理装置100は、後述する操作表示部152を含む硬貨処理装置100の一部や紙幣処理装置200の一部等を制御する上位制御部101と、硬貨処理装置100を制御する硬貨制御部102を有しており、これらの上位制御部101及び硬貨制御部102は通信接続されている。また、紙幣処理装置200は、紙幣処理装置200を制御する紙幣制御部202を有しており、この紙幣制御部202は硬貨処理装置100の上位制御部101に通信接続されている。また、図4に示すように、登録装置300は、登録装置300を制御する登録制御部302を有しており、この登録装置300の登録制御部302は硬貨処理装置100の上位制御部101に通信接続されている。   As shown in FIGS. 3 and 4, the coin processing device 100 includes a higher control unit 101 that controls a part of the coin processing device 100 including an operation display unit 152 described later, a part of the banknote processing device 200, and the like, A coin control unit 102 that controls the processing apparatus 100 is provided, and the host control unit 101 and the coin control unit 102 are connected for communication. Moreover, the banknote processing apparatus 200 has the banknote control part 202 which controls the banknote processing apparatus 200, and this banknote control part 202 is connected by communication with the high-order control part 101 of the coin processing apparatus 100. As illustrated in FIG. 4, the registration device 300 includes a registration control unit 302 that controls the registration device 300, and the registration control unit 302 of the registration device 300 is connected to the host control unit 101 of the coin processing device 100. Communication connection is established.

そして、硬貨処理装置100において硬貨の入金処理、出金処理、精査処理、回収処理等の様々な処理を行うと、硬貨処理装置100の硬貨識別部150で識別された結果は硬貨処理装置100から上位制御部101を介して登録装置300に出力されて、当該結果が後述する登録表示部351で表示される。また、紙幣処理装置200において紙幣の入金処理、出金処理、精査処理、回収処理等の様々な処理を行うと、紙幣処理装置200の紙幣識別部250で識別された結果も紙幣処理装置200から上位制御部101を介して登録装置300に出力されて、当該結果が登録表示部351で表示される。   When various processing such as coin deposit processing, withdrawal processing, scrutiny processing, and collection processing is performed in the coin processing device 100, the result identified by the coin identifying unit 150 of the coin processing device 100 is obtained from the coin processing device 100. The result is output to the registration device 300 via the host control unit 101 and the result is displayed on a registration display unit 351 described later. Moreover, when various processes, such as a banknote depositing process, a withdrawal process, a scrutiny process, and a collection process, are performed in the banknote processing apparatus 200, the result identified by the banknote identifying unit 250 of the banknote processing apparatus 200 is also obtained from the banknote processing apparatus 200. The result is output to the registration device 300 via the host control unit 101, and the result is displayed on the registration display unit 351.

以下、硬貨処理装置100、紙幣処理装置200及び登録装置300の構成について、説明する。   Hereinafter, the structure of the coin processing apparatus 100, the banknote processing apparatus 200, and the registration apparatus 300 is demonstrated.

《硬貨処理装置100》
まず、本実施の形態の硬貨処理装置100の構成について説明する。ちなみに、本実施の形態の硬貨処理装置100は、スーパー、コンビニエンスストア、ショッピングモール、百貨店等の様々な場所で利用され、硬貨の入出金処理を行う硬貨釣銭機となっている。
<< Coin Processing Device 100 >>
First, the structure of the coin processing apparatus 100 of this Embodiment is demonstrated. Incidentally, the coin processing apparatus 100 according to the present embodiment is used in various places such as a supermarket, a convenience store, a shopping mall, a department store, etc., and is a coin change machine that performs deposit / withdrawal processing of coins.

ところで、硬貨処理装置100としてはこのような硬貨釣銭機には限られることはなく、例えば硬貨入金機、硬貨出金機、券売機、自動販売機等も含まれる。   By the way, the coin processing apparatus 100 is not limited to such a coin change machine, and includes, for example, a coin depositing machine, a coin dispensing machine, a ticket vending machine, a vending machine, and the like.

図4に示すように、本実施の形態の硬貨処理装置100の上位制御部101には、インターフェース132と、操作表示部152と、物理的なボタン等からなるボタン式操作部153と、様々な情報を記憶する上位記憶部155が接続されており、これらと信号の送受信を行い、これらを制御するように構成されている。また、硬貨制御部102には、後述する、インターフェース133、硬貨受入部110、入金硬貨搬送部120、硬貨識別部150、硬貨収納部160、振分部127,129、出金硬貨搬送部180、硬貨払出部190、硬貨が通過したことを検知する検知センサ124,125,164及び様々な情報を記憶する硬貨記憶部105等が接続されている。そして、上位制御部101は、操作表示部152、ボタン式操作部153及び上位記憶部155等と信号の送受信を行い、これらを制御するように構成されている。また、硬貨制御部102は、硬貨受入部110、入金硬貨搬送部120、硬貨識別部150、硬貨収納部160、振分部127,129、出金硬貨搬送部180、硬貨払出部190、検知センサ124,125,164及び硬貨記憶部105等と信号の送受信を行い、これらを制御するように構成されている。なお、以下の硬貨処理装置100の説明において、硬貨処理装置100の制御を主に硬貨制御部102が行う態様を用いるが、このような態様に限られることはなく、硬貨制御部102ではなく、上位制御部101、紙幣制御部202及び登録制御部302のいずれか1つ以上の制御部が硬貨処理装置100の制御を行ってもよい。   As shown in FIG. 4, the upper control unit 101 of the coin processing apparatus 100 according to the present embodiment includes an interface 132, an operation display unit 152, a button type operation unit 153 including physical buttons, and various types. An upper storage unit 155 for storing information is connected to the apparatus, and is configured to transmit / receive signals to / from these and to control them. The coin control unit 102 includes an interface 133, a coin receiving unit 110, a deposit coin transport unit 120, a coin identification unit 150, a coin storage unit 160, a sorting unit 127, 129, a withdrawal coin transport unit 180, which will be described later. A coin dispensing unit 190, detection sensors 124, 125, and 164 that detect that a coin has passed, a coin storage unit 105 that stores various information, and the like are connected. The upper control unit 101 is configured to transmit and receive signals to and from the operation display unit 152, the button-type operation unit 153, the upper storage unit 155, and the like, and to control them. The coin control unit 102 includes a coin receiving unit 110, a deposited coin transport unit 120, a coin identifying unit 150, a coin storage unit 160, a sorting unit 127, 129, a withdrawal coin transport unit 180, a coin dispensing unit 190, and a detection sensor. 124, 125, 164, the coin storage unit 105 and the like are configured to transmit and receive signals and to control them. In the description of the coin processing device 100 below, a mode in which the coin control unit 102 mainly performs control of the coin processing device 100 is used. However, the present invention is not limited to this mode, and is not the coin control unit 102. Any one or more of the upper control unit 101, the bill control unit 202, and the registration control unit 302 may control the coin processing apparatus 100.

本実施の形態の硬貨処理装置100は、図2に示すように、硬貨筐体103と、硬貨を硬貨筐体103の外部から入金するための硬貨受入部110と、硬貨筐体103内に設けられ、硬貨を収納するとともに収納された硬貨を繰り出す硬貨収納部160と、硬貨筐体103内において、硬貨受入部110から投入された硬貨を1枚ずつ硬貨収納部160まで入金経路に沿って搬送する入金硬貨搬送部120と、入金経路に沿って設けられ、入金硬貨搬送部120で搬送される硬貨を識別して計数する硬貨識別部150と、を備えている。また、図1に示すように、硬貨筐体103の上面には、操作者が操作信号を入力したり操作者に所定の情報を表示したりするための操作表示部152が設けられている。本実施の形態の操作表示部152はタッチパネルとなっており、操作表示部152に直接触れることで、操作者が操作信号を入力することができる。なお、操作表示部152は液晶ディスプレイ(LCD)等からなってもよい。また、硬貨受入部110は、図1に示すような開閉自在のシャッター115を有してもよい。   As shown in FIG. 2, the coin processing apparatus 100 according to the present embodiment is provided in a coin housing 103, a coin receiving unit 110 for depositing coins from the outside of the coin housing 103, and the coin housing 103. The coin storage unit 160 for storing coins and feeding out the stored coins, and the coins inserted from the coin receiving unit 110 in the coin housing 103 are conveyed one by one along the deposit path to the coin storage unit 160. And a coin identifying unit 150 that is provided along the depositing path and that identifies and counts the coins conveyed by the deposited coin transport unit 120. As shown in FIG. 1, an operation display unit 152 is provided on the upper surface of the coin housing 103 so that the operator can input an operation signal or display predetermined information to the operator. The operation display unit 152 of this embodiment is a touch panel, and an operator can input an operation signal by directly touching the operation display unit 152. The operation display unit 152 may be a liquid crystal display (LCD) or the like. Moreover, the coin receiving part 110 may have an openable / closable shutter 115 as shown in FIG.

図2に示すように、入金経路には、後述する金種別硬貨収納部161(つまり金種別硬貨収納部161a〜161f)の各々に対応した検知センサ125と、当該検知センサ125からの情報を受けて各金種別硬貨収納部161に対応する金種の硬貨を振り分ける複数(本実施の形態では6つ)の入金振分部127が設けられている。各検知センサ125は、対応する金種別硬貨収納部161の上流位置に対応して設けられている。   As shown in FIG. 2, the payment path receives a detection sensor 125 corresponding to each of the later-described denomination coin storage units 161 (that is, denomination coin storage units 161 a to 161 f) and information from the detection sensor 125. A plurality of (six in this embodiment) deposit distribution units 127 that distribute coins of denominations corresponding to the respective denomination type coin storage units 161 are provided. Each detection sensor 125 is provided corresponding to the upstream position of the corresponding denomination coin storage unit 161.

また、図2に示すように、硬貨識別部150の下流位置であって硬貨収納部160の上流位置には、硬貨識別部150で金種等を識別することができなかった硬貨をリジェクト硬貨として振り分けるためのリジェクト振分部129が設けられている。本実施の形態では、図2に示すように、リジェクト振分部129は、硬貨識別部150の下流側であって入金振分部127の上流側に位置している。   In addition, as shown in FIG. 2, coins whose coin type could not be identified by the coin identifying unit 150 at the downstream position of the coin identifying unit 150 and upstream of the coin storage unit 160 are rejected coins. A reject distribution unit 129 for distribution is provided. In the present embodiment, as shown in FIG. 2, reject distribution unit 129 is located downstream of coin identification unit 150 and upstream of deposit distribution unit 127.

図2に示すように、リジェクト振分部129の直前の上流位置には検知センサ124が設けられている。そして、硬貨識別部150でリジェクト硬貨であると判断され、かつ、検知センサ124から硬貨が到達又は通過した旨の検知情報を受けた段階で、硬貨制御部102がリジェクト振分部129を開状態とし、リジェクト硬貨をリジェクト振分部129で取り込むようにしてもよい。なお、リジェクト振分部129が開状態となって当該リジェクト振分部129に取り込まれることで、硬貨は入金経路から外れ、リジェクト搬送経路(図示せず)を落下した後、後述する出金硬貨搬送部180によって硬貨払出部190まで送られることとなる。   As shown in FIG. 2, a detection sensor 124 is provided at an upstream position immediately before the reject distribution unit 129. Then, when the coin identifying unit 150 determines that the coin is a rejected coin and the detection information indicating that the coin has reached or passed from the detection sensor 124, the coin control unit 102 opens the reject sorting unit 129. The reject coins may be taken in by the reject distribution unit 129. In addition, after the reject distribution part 129 is opened and taken into the reject distribution part 129, the coin is removed from the deposit path and dropped in the reject transport path (not shown), and then the withdrawal coin described later. It is sent to the coin dispensing unit 190 by the transport unit 180.

図2に示すように、本実施の形態の硬貨処理装置100は、硬貨収納部160から繰り出された硬貨を出金経路に沿って搬送する出金硬貨搬送部180と、出金経路に繰り出されて出金硬貨搬送部180で搬送された硬貨を出金する硬貨払出部190も備えている。   As shown in FIG. 2, the coin processing apparatus 100 of the present embodiment is fed to a withdrawal coin transport unit 180 that transports coins fed from the coin storage unit 160 along the withdrawal path, and to the withdrawal path. A coin dispensing unit 190 that dispenses the coins conveyed by the dispensing coin conveying unit 180 is also provided.

本実施の形態の硬貨収納部160は、金種別に硬貨を収納する複数(本実施の形態では6つ)の金種別硬貨収納部161を有しており、各金種別硬貨収納部161が水平方向で並列に配置されている。金種別硬貨収納部161は、図2の下から順番に、500円硬貨、100円硬貨、50円硬貨、10円硬貨、5円硬貨及び1円硬貨を収納するようになっている。   The coin storage unit 160 of the present embodiment has a plurality (six in this embodiment) of denomination coin storage units 161 for storing coins by denomination, and each denomination coin storage unit 161 is horizontal. Arranged in parallel in the direction. The money type coin storage unit 161 stores 500 yen coins, 100 yen coins, 50 yen coins, 10 yen coins, 5 yen coins, and 1 yen coins in order from the bottom of FIG.

なお、金種別硬貨収納部161の各々は、硬貨を収納する金種別繰出収納庫と、金種別繰出収納庫内に収納された硬貨を出金経路に繰り出すための繰出部(図示せず)と、所定枚数の硬貨が繰り出された際にそれ以上の硬貨が繰り出されないように硬貨の繰り出しをストップさせるためのストッパ(図示せず)と、を有している。また、金種別硬貨収納部161の各々には、金種別繰出収納庫から繰出部で繰り出される硬貨の枚数を検知する検知センサ164(図4参照)が設けられている。   Each of the denomination coin storage units 161 includes a denomination delivery storage unit that stores coins, and a supply unit (not shown) for feeding out coins stored in the denomination supply storage unit to the withdrawal path. And a stopper (not shown) for stopping the feeding of coins so that no more coins are fed when a predetermined number of coins are fed. Each of the denomination coin storage units 161 is provided with a detection sensor 164 (see FIG. 4) that detects the number of coins that are fed out from the denomination payout storage by the feeding unit.

本実施の形態では、硬貨処理装置100の各金種に関する在高は、対象となる金種別硬貨繰出収納部161に収納された硬貨の枚数から当該金種別硬貨繰出収納部161から繰り出された硬貨の枚数を差し引くことで算出可能となる。金種別硬貨繰出収納部161に収納された硬貨の枚数を算出する際には、具体的には、各金種別硬貨繰出収納部161に対応して設けられた入金振分部127の上流位置の検知センサ125で硬貨の通過が確認されたが当該入金振分部127の下流位置の検知センサ125で硬貨の通過が確認されなかった場合には、当該入金振分部127で硬貨が取り込まれて、当該入金振分部127に対応する金種別硬貨繰出収納部161に硬貨が収納されたと判断されて算出される。ただし、最も下流側に位置する金種別硬貨繰出収納部161fに関しては、当該金種別硬貨繰出収納部161fの直前に位置する検知センサ125を通過した硬貨の枚数が当該金種別硬貨繰出収納部161fに収納された硬貨の枚数となる。他方、各金種別硬貨繰出収納部161から繰り出された硬貨の枚数は検知センサ164からの情報に基づいて算出される。   In the present embodiment, the amount of money related to each denomination of the coin processing device 100 is determined based on the number of coins stored in the target coin type coin feeding and storing unit 161 and coins fed from the coin type coin feeding and storing unit 161. It is possible to calculate by subtracting the number of sheets. When calculating the number of coins stored in the denominated coin payout storage unit 161, specifically, the upstream position of the deposit distribution unit 127 provided corresponding to each denomination coin payout storage unit 161. When the detection sensor 125 confirms the passage of the coin but the detection sensor 125 downstream of the deposit distribution unit 127 does not confirm the passage of the coin, the deposit distribution unit 127 takes in the coin. Then, it is determined that a coin has been stored in the denomination coin feeding and storing unit 161 corresponding to the deposit distribution unit 127. However, regarding the coin type coin feeding and storing unit 161f located on the most downstream side, the number of coins that have passed through the detection sensor 125 located immediately before the coin type coin feeding and storing unit 161f is the coin type coin feeding and storing unit 161f. The number of coins stored. On the other hand, the number of coins fed out from each denomination coin feeding and storing unit 161 is calculated based on information from the detection sensor 164.

本実施の形態では、硬貨受入部110の近傍(図1に示す態様では硬貨筐体103の上面)に硬貨を載置するための載置部10に含まれる吟味台14aが設けられている。そして、吟味台14aに載置された硬貨の画像データを取得するためのカメラ等からなる撮像部50が設けられている。図1に示す態様では、撮像部50は硬貨筐体103の奥行き側に配置されているが、当然、これに限られることはなく、撮像部50は吟味台14aに載置された硬貨の画像データを取得することができる位置であればどのような場所に配置されてもよく、例えば、登録装置300の一種であるPOSレジスタの近辺に設置されたポール等に取り付けてもよい。   In the present embodiment, the examination table 14a included in the placement unit 10 for placing coins is provided in the vicinity of the coin receiving unit 110 (in the aspect shown in FIG. 1, the upper surface of the coin housing 103). And the imaging part 50 which consists of a camera etc. for acquiring the image data of the coin mounted in the examination table 14a is provided. In the aspect shown in FIG. 1, the imaging unit 50 is disposed on the depth side of the coin housing 103, but is not limited to this, and the imaging unit 50 is an image of a coin placed on the examination table 14 a. As long as it is a position where data can be acquired, it may be arranged at any location, for example, it may be attached to a pole or the like installed in the vicinity of a POS register which is a kind of registration apparatus 300.

本実施の形態では、吟味台14aは、硬貨筐体103の上面に設けられており、吟味台14aの載置面は硬貨受入部110よりも上方位置に位置づけられている。そして、吟味台14aと硬貨受入部110との間には、吟味台14aに載置された硬貨を硬貨受入部110へと導くためのシュート20が設けられている。吟味台14aの載置面に載置された硬貨はレジ係等の操作者が手でシュート20に送り込むようになっていてもよいが、吟味台14aの載置面がベルトコンベア等の搬送機構16(図4参照)になっていたり、吟味台14aの載置面上でシュート20に向かう方向で進退したり吟味台14aの載置面上で一定の角度で回転運動したりするワイパー等の押出部60(図4参照)が設けられて、画像データに基づいて算出された硬貨の合計金額について確定処理が行われると、搬送機構16や押出部60が駆動されることで、吟味台14aの載置面に載置された硬貨がシュート20へ送られるようになっていてもよい。   In the present embodiment, the examination table 14 a is provided on the upper surface of the coin housing 103, and the placement surface of the examination table 14 a is positioned above the coin receiving unit 110. A chute 20 is provided between the examination table 14a and the coin receiving unit 110 to guide the coins placed on the examination table 14a to the coin receiving unit 110. The coins placed on the placement surface of the examination table 14a may be manually fed into the chute 20 by an operator such as a cashier, but the placement surface of the examination table 14a is a transport mechanism such as a belt conveyor. 16 (see FIG. 4), a wiper that moves forward and backward in the direction toward the chute 20 on the placement surface of the examination table 14a, or rotates at a certain angle on the placement surface of the examination table 14a. When the push-out unit 60 (see FIG. 4) is provided and the finalization process is performed on the total amount of coins calculated based on the image data, the transport mechanism 16 and the push-out unit 60 are driven, and the examination table 14a. The coin placed on the placement surface may be sent to the chute 20.

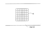
本実施の形態の吟味台14aは、図5(a)(b)に示すように、吟味台14a上に載置される硬貨を互いに離間させた状態に区分けするための区分け部15を有している。なお、このような区分け部15が設けられていることは必須ではなく、図5(c)に示すように、吟味台14aは一般的に用いられている平坦な皿状となっていてもよい。   As shown in FIGS. 5 (a) and 5 (b), the examination table 14a of the present embodiment has a sorting unit 15 for sorting coins placed on the examination table 14a into a state of being separated from each other. ing. In addition, it is not essential that such a division | segmentation part 15 is provided, and as shown in FIG.5 (c), the examination stand 14a may be a flat dish shape generally used. .

区分け部15の構造としては様々なものを挙げることができるが、一例としては、図5(a)(b)及び図6(b)に示すように、吟味台14aの載置面に設けられ、載置面に沿って形成される多角形状又は円形状の区画を画定する突出壁(いわゆるリブ)を挙げることができる。また、別の例としては、図6(a)に示すように、吟味台14aの載置面に設けられ、載置面に沿って形成される所定の区画の頂点に位置する複数の突起部を挙げることができる。なお、載置面に沿って形成される多角形状としては、図5(a)(b)に示すような略正方形であってもよいが、図6(b)に示すようにハニカム構造となっていてもよく、様々な形状が考えられる。また、区画を画定する突出壁と区画の頂点に位置する突起部とを組み合わせて採用することもできる。   Various structures can be cited as the structure of the sorting section 15, but as an example, as shown in FIGS. 5 (a), 5 (b) and 6 (b), it is provided on the mounting surface of the examination table 14a. And protruding walls (so-called ribs) that define polygonal or circular sections formed along the mounting surface. As another example, as shown in FIG. 6A, a plurality of protrusions provided on the placement surface of the examination table 14a and positioned at the apex of a predetermined section formed along the placement surface. Can be mentioned. The polygonal shape formed along the mounting surface may be a substantially square shape as shown in FIGS. 5 (a) and 5 (b), but has a honeycomb structure as shown in FIG. 6 (b). Various shapes are conceivable. Moreover, it is also possible to employ a combination of a projecting wall that delimits a partition and a protrusion located at the top of the partition.

前述した「区画」の大きさとしては、取扱い対象とする硬貨のうち最大径の硬貨の直径よりも大きく取扱い対象とする硬貨のうち最小径の硬貨の直径の2倍よりも小さくなっている態様を採用することができる。本願において「取扱い対象とする硬貨」とは、例えば硬貨識別部150によって識別可能な硬貨のことを意味する。かりに日本円しか硬貨識別部150で識別できないとすると、1円硬貨(最小径の硬貨)の直径は約2cmであり、500円硬貨(最大径の硬貨)の直径は約2.65cmであることから、「区画」の大きさは、2.65cmよりも大きく4cmよりも小さくなるように設定される。ところで、円形状の区画を画定する突出壁を採用した場合には、当該円形状の直径を、取扱い対象とする硬貨のうち最大径の硬貨の直径(日本円の場合だと2.65cm)よりも大きくし、取扱い対象とする硬貨のうち最小径の硬貨の直径の2倍(日本円の場合だと4cm)よりも小さくしてもよい。   As the size of the “compartment” described above, an aspect in which the diameter of the largest coin among the coins to be handled is larger than twice the diameter of the smallest coin among the coins to be handled. Can be adopted. In the present application, “a coin to be handled” means a coin that can be identified by the coin identifying unit 150, for example. Assuming that only the Japanese yen can be identified by the coin recognition unit 150, the diameter of a 1-yen coin (minimum diameter coin) is about 2 cm, and a 500-yen coin (maximum diameter coin) is about 2.65 cm. Therefore, the size of the “section” is set to be larger than 2.65 cm and smaller than 4 cm. By the way, when the protruding wall that demarcates the circular section is adopted, the diameter of the circular shape is determined from the diameter of the largest coin among the coins to be handled (2.65 cm in the case of Japanese yen). May be made smaller than twice the diameter of the smallest coin among the coins to be handled (4 cm in the case of Japanese yen).

また、区分け部15の厚み(高さ)は、取扱い対象とする硬貨のうち最も厚みの薄い硬貨の厚みよりも薄くなっていてもよい。かりに日本円しか硬貨識別部150で識別できないとすると、1円硬貨、5円硬貨及び10円硬貨の厚みが最も厚みの薄い硬貨であり、その厚さが約1.5mmである。このため、この場合には、区分け部15の厚み(高さ)を1.5mmよりも薄くし、例えば1mmとしてやればよい。   Moreover, the thickness (height) of the sorting part 15 may be thinner than the thickness of the thinnest coin among the coins to be handled. Assuming that only the Japanese yen can be identified by the coin identifying unit 150, the 1-yen coin, 5-yen coin, and 10-yen coin are the thinnest coins, and the thickness is about 1.5 mm. For this reason, in this case, the thickness (height) of the dividing portion 15 may be made thinner than 1.5 mm, for example, 1 mm.

吟味台14aは、図5(a)(b)で示すように、区分け部15を有する第一部材11と、第一部材11の下方に設けられるとともに第一部材11に対して開閉可能な底板部である第二部材12と、を有していてもよい。第二部材12は第一部材11の底板としての役割を果たしており、第二部材12が第一部材11に対して開状態となると、区分け部15の区画内に収容されていた硬貨等が下方に落下することとなる。本実施の形態では、図5(b)に示すように、第二部材12が第一部材11に対して下方に揺動可能となっており、第二部材12が第一部材11に対して下方に揺動すると、区分け部15の区画内に収容されていた硬貨等が下方に落下することとなる。但し、これに限られることはなく、例えば第二部材12が第一部材11に対してスライド可能となっており、第二部材12が第一部材11に対してスライドすることで、区分け部15の区画内に収容されていた硬貨等が下方に落下するようになっていてもよい。なおこのように、吟味台14aが第一部材11及び第二部材12を有している場合には、前述したシュート20は吟味台14aの下方に位置付けられることとなる。そして、第二部材12が第一部材11に対して開状態となると、区分け部15の区画内に収容されていた硬貨がシュート20上に落下し、そのまま硬貨受入部110に案内されることとなる。また、第二部材12の第一部材11に対する開閉は手動で行われてもよいが自動で行われてもよい。第二部材12の第一部材11に対する開閉が自動で行われる場合には、画像データに基づいて算出された硬貨の合計金額について確定処理が行われると、第二部材12が第一部材11に対して自動で開状態となり、その後、自動で閉状態に戻ることになっていてもよい。   As shown in FIGS. 5 (a) and 5 (b), the examination table 14 a includes a first member 11 having a dividing portion 15, and a bottom plate that is provided below the first member 11 and can be opened and closed with respect to the first member 11. And a second member 12 that is a part. The second member 12 plays a role as a bottom plate of the first member 11, and when the second member 12 is in an open state with respect to the first member 11, coins and the like accommodated in the section of the sorting portion 15 are downward. Will fall. In the present embodiment, as shown in FIG. 5B, the second member 12 can swing downward with respect to the first member 11, and the second member 12 is relative to the first member 11. When swinging downward, coins and the like housed in the section of the sorting section 15 fall downward. However, it is not restricted to this, For example, the 2nd member 12 is slidable with respect to the 1st member 11, and when the 2nd member 12 slides with respect to the 1st member 11, the division part 15 The coins and the like stored in the compartment may fall downward. In this way, when the examination table 14a includes the first member 11 and the second member 12, the above-described chute 20 is positioned below the examination table 14a. And when the 2nd member 12 will be in an open state with respect to the 1st member 11, the coin accommodated in the division of the division part 15 will fall on the chute | shoot 20, and will be guided to the coin receiving part 110 as it is. Become. Moreover, the opening and closing of the second member 12 with respect to the first member 11 may be performed manually or automatically. When the opening and closing of the second member 12 with respect to the first member 11 is automatically performed, when the finalization process is performed on the total amount of coins calculated based on the image data, the second member 12 is moved to the first member 11. On the other hand, it may be automatically opened and then automatically returned to the closed state.

ところで、本実施の形態のように第二部材12が第一部材11に対して開状態となる態様を採用した場合には、画像データに基づいて硬貨の確定処理をした後で区分け部15から硬貨受入部110へ硬貨を移動させる際に、区分け部15によって硬貨の移動が邪魔されることがない点でも有益である。つまり、吟味台14aが区分け部15を有する態様では、吟味台14a上の硬貨を載置面に沿って移動させてシュート20等の上に移動させようとしても、区分け部15が邪魔になってしまう。この点、第二部材12が第一部材11に対して開状態となる場合には、区分け部15内の硬貨がそのまま落下するので、区分け部15が邪魔になってしまう可能性を低減することができる。   By the way, when the mode which the 2nd member 12 will be in an open state with respect to the 1st member 11 like this Embodiment is used, after performing the finalization process of a coin based on image data, from the division part 15 It is also advantageous in that the movement of coins is not obstructed by the sorting unit 15 when the coins are moved to the coin receiving unit 110. That is, in the aspect in which the examination table 14a has the sorting portion 15, even if the coin on the examination table 14a is moved along the placement surface and moved onto the chute 20 or the like, the sorting portion 15 becomes an obstacle. End up. In this regard, when the second member 12 is in an open state with respect to the first member 11, the coins in the sorting portion 15 fall as they are, so that the possibility that the sorting portion 15 gets in the way is reduced. Can do.

また、前述した第二部材12に関しては、図7に示すように、当該第二部材12にゴミ抜き穴12aが形成されていてもよい。このゴミ抜き穴12aの大きさは取扱い対象とする硬貨のうち最小径の硬貨の直径よりも小さい大きさとなっており、最小径の硬貨がゴミ抜き穴12aから落下しないようになっている。なお、第二部材12の構造としては、例えば図7に示すように網目構造となっているものを挙げることができるが、所定の箇所に複数のゴミ抜き穴12aが形成されているような態様であってもよい。   Further, with respect to the second member 12 described above, as shown in FIG. 7, a dust removal hole 12 a may be formed in the second member 12. The size of the dust hole 12a is smaller than the diameter of the smallest diameter coin among the coins to be handled, so that the minimum diameter coin does not fall from the dust hole 12a. In addition, as a structure of the 2nd member 12, although what has a mesh structure as shown, for example in FIG. 7 can be mentioned, the aspect which the some dust removal hole 12a is formed in the predetermined location It may be.

また、このように第二部材12にゴミ抜き穴12aが形成されている態様においては、図7に示すように、第二部材12の下方に、当該第二部材12に対して取り外し自在又は開閉自在となった第三部材13が設けられていてもよい。この第三部材13は、ゴミ抜き穴12aから落下した少なくともゴミを収容するゴミ収容部13aを有しており、ゴミを収集する機能を果たす。ちなみに、第三部材13は第一部材11及び第二部材12から分離されており、第一部材11及び第二部材12の下方に載置されていてもよい。また、第三部材13が第二部材12に対して開閉自在となっている場合には、例えば第二部材12が第一部材11に対して取り外し自在となっており、第二部材12及び第三部材13を一体として第一部材11から取り外せるようにしてもよい。   Further, in the embodiment in which the dust removal hole 12a is formed in the second member 12 as described above, as shown in FIG. A free third member 13 may be provided. The third member 13 has a dust storage portion 13a for storing at least dust that has fallen from the dust removal hole 12a, and functions to collect dust. Incidentally, the third member 13 is separated from the first member 11 and the second member 12, and may be placed below the first member 11 and the second member 12. Further, when the third member 13 is openable and closable with respect to the second member 12, for example, the second member 12 is removable with respect to the first member 11, and the second member 12 and the second member 12 The three members 13 may be integrally removed from the first member 11.

本実施の形態では、上位制御部101が、撮像部50で取得された、吟味台14aに載置された硬貨の画像データに基づいて、顧客が支払った硬貨の合計金額を算出するようになっている(図9参照)。   In the present embodiment, the host control unit 101 calculates the total amount of coins paid by the customer based on the image data of the coins placed on the examination table 14a acquired by the imaging unit 50. (See FIG. 9).

そして、上位制御部101は、上位制御部101が算出した硬貨の合計金額(図9に示す態様では600円)と後述する紙幣制御部202で算出された紙幣の合計金額とを足し合わせて預かり金額を算出し、当該預かり金額と後述する登録装置300等から入力された売上金額とから釣銭金額を算出する。なお、本実施の形態では撮像部50が上位制御部101に接続された態様を用いて説明するが、これに限られることはなく、例えば登録装置300の登録制御部302に撮像部50が接続されてもよい。   And the high-order control part 101 adds together the total amount of coins (600 yen in the aspect shown in FIG. 9) which the high-order control part 101 calculated, and the total money amount of the banknote calculated by the banknote control part 202 mentioned later. A monetary amount is calculated, and a change amount is calculated from the deposit amount and a sales amount input from a registration device 300 or the like to be described later. In the present embodiment, description is given using a mode in which the imaging unit 50 is connected to the host control unit 101. However, the present invention is not limited to this. For example, the imaging unit 50 is connected to the registration control unit 302 of the registration apparatus 300. May be.

上位制御部101は、撮像部50で取得された画像データに基づいて、各硬貨の金種を判別するようになっていてもよい(図9参照)。より具体的には、上位制御部101は、硬貨の色、硬貨の中央部に穴が空いているか否か、硬貨の大きさ等に基づいて、画像データ中の硬貨の各々の金種を判別してもよい。また、硬貨の両面の模様を上位記憶部155等が記憶しており、上位制御部101は、上位記憶部155等で記憶されている模様と画像データ中の模様とを比較することで、画像データ中の硬貨の各々の金種を判別してもよい。そして、上位制御部101は、判別した金種を合計することで硬貨の合計金額を算出することになる。なお、図9に示す態様では、500円硬貨(図9の左側に示された硬貨)を円形状の枠で囲むとともに、500円硬貨の近辺に「500」という数値が表示されている。同様に、100円硬貨(図9の右側に示された硬貨)を円形状の枠で囲むとともに、100円硬貨の近辺に「100」という数値が表示されている。そして、画像データの右下には、これらの合計金額である「600yen」が表示されている。   The host control unit 101 may determine the denomination of each coin based on the image data acquired by the imaging unit 50 (see FIG. 9). More specifically, the upper control unit 101 determines the denomination of each coin in the image data based on the color of the coin, whether or not a hole is formed in the center of the coin, the size of the coin, and the like. May be. The upper storage unit 155 stores the patterns on both sides of the coin, and the upper control unit 101 compares the pattern stored in the upper storage unit 155 and the pattern in the image data with each other. You may discriminate | determine each denomination of the coin in data. Then, the upper control unit 101 calculates the total amount of coins by summing the determined denominations. In the embodiment shown in FIG. 9, a 500 yen coin (the coin shown on the left side of FIG. 9) is surrounded by a circular frame, and a numerical value “500” is displayed in the vicinity of the 500 yen coin. Similarly, a 100-yen coin (the coin shown on the right side of FIG. 9) is surrounded by a circular frame, and a numerical value “100” is displayed in the vicinity of the 100-yen coin. In the lower right of the image data, “600 yen” which is the total amount of these is displayed.

撮像部50ではリアルタイムで画像データが取得されている。そして、上位制御部101は、撮像部50によりリアルタイムで取得される画像データに基づいて、例えば画像データ内の硬貨の金種をリアルタイムで判別し、判別結果に基づく情報を登録装置300の登録表示部351及び/又は客側表示部356にリアルタイムで出力している。なお、客側表示部356は図1に示すような小型のものでもよいが、登録表示部351と同程度の大きさからなるような大型のものでもよい。客側表示部356が小型のものである場合には、売上金額、預かり金額及び釣銭金額等の取引情報が優先されて表示される。また、可能な場合には、客側表示部356には取引情報に加えて、画像データや画像に映し出された硬貨の金種の判別結果(図9における「500」や「100」の数値)が表示されてもよい。 In the imaging unit 50, image data is acquired in real time. Then, based on the image data acquired by the imaging unit 50 in real time, the upper control unit 101 determines, for example , the denomination of the coin in the image data in real time, and displays information based on the determination result on the registration device 300. It outputs to the part 351 and / or the customer side display part 356 in real time. The customer-side display unit 356 may be a small one as shown in FIG. 1, but may be a large one having the same size as the registration display unit 351. When the customer side display unit 356 is small, transaction information such as sales amount, deposit amount and change amount is displayed with priority. If possible, in addition to the transaction information, the customer side display unit 356 determines the image data and the denomination of the coin denomination displayed in the image (numerical values “500” and “100” in FIG. 9). May be displayed.

なお、後述するアラーム表示等は画像データに重ね合わせて表示されてもよい。ちなみに、客側表示部356は単に情報を表示するだけのものであってもよいが、タッチパネル等からなり、所定の入力を行うことができるようになっていてもよい。   Note that an alarm display, which will be described later, may be displayed superimposed on the image data. Incidentally, the customer-side display unit 356 may simply display information, but may be configured by a touch panel or the like so that predetermined input can be performed.

ところで、本願の「リアルタイム」には多少のタイムラグがある場合も含まれ、仮に数秒〜10秒未満(典型的には数秒)の遅れがあっても含まれる概念である。   By the way, the “real time” of the present application includes a case where there is a slight time lag, and is a concept that includes a delay of several seconds to less than 10 seconds (typically several seconds).

判別結果に基づく情報は、画像データ、当該画像データに映っている硬貨の金種、画像データに映っている硬貨の合計金額、画像データに映っている硬貨の金種別枚数等が含まれていてもよい。登録装置300の登録表示部351及び/又は客側表示部356では、判別結果に基づく情報に含まれている画像データ、当該画像データに映っている硬貨の金種、画像データに映っている硬貨の合計金額、画像データに映っている硬貨の金種別枚数等がリアルタイムで表示される。このため、顧客が吟味台14aに硬貨を足したり硬貨を取り除いたりすると、硬貨が足されたことや硬貨が取り除かれたこともリアルタイムで反映されて、登録装置300の登録表示部351及び/又は客側表示部356では、画像データに映っている硬貨の金種、硬貨の合計金額、硬貨の金種別枚数等がリアルタイムで変化する。図9に示す態様では、登録表示部351及び/又は客側表示部356において、画像データ、当該画像データに映っている硬貨の金種である100円及び500円、画像データに映っている硬貨の合計金額である600円がリアルタイムで表示されている。図11に示す態様では、登録表示部351及び/又は客側表示部356において、画像データ、当該画像データに映っている硬貨の金種である100円及び500円、画像データに映っている硬貨の合計金額である600円、硬貨の金種別枚数(500円硬貨が1枚及び100円硬貨が1枚)がリアルタイムで表示されている。なお、図11に示す態様では、後述する紙幣処理装置200の紙幣識別部250で計数された結果である33000円(図11では「釣銭機投入額」として示されている。)、売上金額である33555円(図11では「現金お支払い金額」として示されている。)、預かり金額の合計金額である33600円(図11では「現金お預かり金額」として示されている。)、釣銭金額である45円(図11では「おつり」として示されている。)と、後述する異物に関する情報(図11では「異物有り:取り除いてください」というメッセージ)も表示されている。   The information based on the determination result includes image data, the denomination of the coins reflected in the image data, the total amount of coins reflected in the image data, the number of coins denominated in the image data, etc. Also good. In the registration display unit 351 and / or the customer display unit 356 of the registration device 300, the image data included in the information based on the determination result, the denomination of the coin shown in the image data, and the coin shown in the image data The total amount of money and the number of coins in the image data are displayed in real time. For this reason, when the customer adds coins to the examination table 14a or removes coins, the addition of coins or the removal of coins is reflected in real time, and the registration display unit 351 and / or the registration device 300 is also reflected. In the customer side display unit 356, the denomination of the coins reflected in the image data, the total amount of coins, the number of denominations of coins, and the like change in real time. In the mode shown in FIG. 9, in the registration display unit 351 and / or the customer display unit 356, image data, 100 yen and 500 yen, which are denominations of coins shown in the image data, and coins shown in the image data The total amount of 600 yen is displayed in real time. In the mode shown in FIG. 11, in the registration display unit 351 and / or the customer-side display unit 356, image data, 100 yen and 500 yen that are denominations of coins shown in the image data, and coins shown in the image data The total amount of money is 600 yen, and the number of coins by type (one 500 yen coin and one 100 yen coin) are displayed in real time. In the embodiment shown in FIG. 11, the sales amount is 33,000 yen (shown as “change amount input” in FIG. 11), which is the result counted by the bill recognition unit 250 of the bill processing apparatus 200 described later. 33535 yen (shown as “cash payment amount” in FIG. 11), 33600 yen (shown as “cash payment amount” in FIG. 11), the total amount of deposit, and change amount 45 yen (indicated as “change” in FIG. 11) and information on a foreign substance described later (a message “existing foreign substance: please remove” in FIG. 11) are also displayed.

ちなみに、撮像部50で画像データが常時取得されている必要はなく、例えば売上金額が確定した時点で撮像部50によって画像データが取得され始め、取引の確定処理を行った時点で撮像部50による画像データの取得が終了してもよい。このような態様によれば、無駄な画像データが記憶されることを防止することができる。   Incidentally, the image data need not always be acquired by the image capturing unit 50. For example, image data starts to be acquired by the image capturing unit 50 when the sales amount is confirmed, and the image capturing unit 50 performs the transaction confirming process. Acquisition of image data may end. According to such an aspect, it is possible to prevent unnecessary image data from being stored.

また、本実施の形態では、撮像部50で取得された画像データがリアルタイムで取得されて、登録表示部351及び/又は客側表示部356で表示される態様を用いて説明するが、これに限られることはない。例えば、一定の間隔毎に断続的に画像データを取得するようにしてもよいし、また、操作者が後述する登録操作部352等から所定の入力(オン信号の入力)を行うことで撮像部50において画像が取得され始め、操作者が登録操作部352等から所定の入力(オフ信号の入力)を行うことで、撮像部50における画像の取得が停止されてもよい。   In the present embodiment, the image data acquired by the imaging unit 50 is acquired in real time and will be described using a mode displayed on the registration display unit 351 and / or the customer display unit 356. There is no limit. For example, the image data may be acquired intermittently at regular intervals, or the imaging unit may be configured such that the operator performs a predetermined input (input of an on signal) from a registration operation unit 352 or the like described later. The acquisition of an image in the imaging unit 50 may be stopped when an image starts to be acquired at 50 and the operator performs a predetermined input (input of an off signal) from the registration operation unit 352 or the like.

また、上位制御部101は、硬貨の画像データに基づいて硬貨の合計金額を算出し、硬貨の合計金額と紙幣の合計金額から預かり金額を算出し、当該預かり金額に基づいて入力された売上金額に対する釣銭金額又は不足金額を算出してもよい。この場合にも、リアルタイムで釣銭金額又は不足金額が登録装置300の登録表示部351及び/又は客側表示部356で表示されてもよい。このような態様によれば、釣銭金額又は不足金額に基づいて、顧客は硬貨を吟味台14aに追加したり硬貨を吟味台14aから取り除いたりすることができる。なお、図11における「おつり」(釣銭金額)はリアルタイムで変化するようになっており、仮に5円硬貨を吟味台14a上に載置すると「おつり」は「50円」となり、他方、仮に100円硬貨を吟味台14aから取り除くと「おつり」は「−55円」となり不足金額が表示されることとなる。なお、このように不足金額が表示される際には、「おつり」という表示ではなく「不足金額」といった預かり金額が不足していることを示す表示に切り替わってもよいし、赤色等の通常とは異なる色(強調色)で不足金額が表示されてもよい。   Further, the upper control unit 101 calculates the total amount of coins based on the image data of the coins, calculates the deposit amount from the total amount of coins and the total amount of banknotes, and the sales amount input based on the deposit amount A change amount or a shortage amount may be calculated. Also in this case, the change amount or the shortage amount may be displayed on the registration display unit 351 and / or the customer side display unit 356 of the registration device 300 in real time. According to such an aspect, based on the change amount or the shortage amount, the customer can add coins to the examination table 14a or remove coins from the examination table 14a. Note that the “change” (change amount) in FIG. 11 changes in real time. If a 5-yen coin is placed on the examination table 14a, the “change” becomes “50 yen”, while the “change” is 100 When the yen coin is removed from the examination table 14a, the “change” becomes “−55 yen”, and the shortage amount is displayed. In addition, when the shortage amount is displayed in this way, it may be switched to a display indicating that the amount of deposit is insufficient, such as “shortage amount” instead of “change”, The shortage amount may be displayed in a different color (emphasized color).

また、上位制御部101は、後述する登録操作部352等から入力された売上金額に基づいて吟味台14aに余分な硬貨が載置されているか否かをリアルタイムで判断してもよい。売上金額に基づいて吟味台14aに余分な硬貨が載置されている場合には、登録装置300の登録表示部351及び/又は客側表示部356で余分な硬貨が吟味台14aに載置されていることがリアルタイムで表示され、一例としては余分な硬貨を円形状や四角形状等の所定の形状で取り囲むとともに、余分である旨を表示してもよい。ちなみに、売上金額に基づいて吟味台14aに余分な硬貨が載置されている場合というのは、売上金額が110円であるにも関わらず、吟味台14aに1枚の500円硬貨と2枚の10円硬貨が載置されているような場合であり、このときには1枚の10円硬貨が余分な硬貨となる。   Further, the host control unit 101 may determine in real time whether or not extra coins are placed on the examination table 14a based on the sales amount input from a registration operation unit 352 or the like described later. When extra coins are placed on the examination table 14a based on the sales amount, the extra coins are placed on the examination table 14a in the registration display unit 351 and / or the customer display unit 356 of the registration device 300. It may be displayed in real time, and as an example, an extra coin may be surrounded by a predetermined shape such as a circular shape or a quadrangular shape, and an indication that it is excessive may be displayed. By the way, the case where extra coins are placed on the examination table 14a based on the sales amount is one 500 yen coin and two on the examination table 14a, even though the sale amount is 110 yen. In this case, one 10-yen coin becomes an extra coin.

すなわち、吟味台14aに載置された硬貨のうち、釣銭として払い出されうる硬貨が含まれている場合には、売上金額に基づいて吟味台14aに余分な硬貨が載置されていると判断されることになる。なお、前述した登録操作部352は、商品に印刷されたり貼り付けられたりしているバーコード情報を読み取るバーコードリーダを含んでいる。   That is, when coins that can be paid out as change are included among the coins placed on the examination table 14a, it is determined that extra coins are placed on the examination table 14a based on the sales amount. Will be. Note that the registration operation unit 352 described above includes a barcode reader that reads barcode information printed on or pasted on a product.

また、吟味台14a上で硬貨が重なって配置されている場合には、登録装置300の登録表示部351、客側表示部356等の報知部でその旨が報知されてもよい。この場合には、硬貨が重なっている旨のメッセージが登録装置300の登録表示部351、客側表示部356等で表示されてもよいし、登録装置300の登録表示部351、客側表示部356等で硬貨が重なっている箇所が所定の形状で囲まれて表示されてもよい。   In addition, when coins are arranged on the examination table 14a, the information may be notified by a notification unit such as the registration display unit 351 and the customer side display unit 356 of the registration device 300. In this case, a message indicating that coins are overlapping may be displayed on the registration display unit 351 and the customer side display unit 356 of the registration device 300, or the registration display unit 351 and the customer side display unit of the registration device 300. A portion where coins overlap at 356 or the like may be displayed surrounded by a predetermined shape.

前述したように、撮像部50ではリアルタイムで画像が取得されているが、登録装置300の登録操作部352等で確定処理する際には、撮像部50で取得された画像データが静止画として上位記憶部155に記憶されてもよい。このように上位記憶部155で記憶された静止画は、周期的に又は取引が確定される度に、登録装置300を介してサーバ400へと送られ、サーバ400のサーバ記憶部405(図4参照)で記憶されて管理されてもよい。なお、画像データの静止画は、取引日時、レジ番号、担当者、購入商品、売上金額、預かり金額、釣銭金額等の取引情報と関連付けされて、上位記憶部155やサーバ記憶部405等で記憶される。なお、一定の期間(例えば24時間以内)であれば、撮像部50で撮像された動画も上位記憶部155やサーバ記憶部405で記憶されていてもよい。この場合には、動画を用いて画像データに基づく硬貨の合計金額の算出経過を後で確認することができる。   As described above, an image is acquired in real time in the imaging unit 50. However, when the confirmation operation is performed by the registration operation unit 352 or the like of the registration apparatus 300, the image data acquired by the imaging unit 50 is higher-order as a still image. It may be stored in the storage unit 155. The still images stored in the upper storage unit 155 in this way are sent to the server 400 via the registration device 300 periodically or whenever a transaction is confirmed, and the server storage unit 405 of the server 400 (FIG. 4). Reference) may be stored and managed. The still image of the image data is associated with transaction information such as transaction date / time, cash register number, person in charge, purchased product, sales amount, deposit amount, change amount, etc., and stored in the upper storage unit 155, the server storage unit 405, or the like. Is done. Note that a moving image captured by the imaging unit 50 may also be stored in the upper storage unit 155 or the server storage unit 405 within a certain period (for example, within 24 hours). In this case, the calculation progress of the total amount of coins based on the image data can be confirmed later using a moving image.

上位制御部101は、撮像部50で取得された画像データに基づいて、硬貨以外の異物(例えば、ゴミ、クリップ、レシート、硬貨識別部150で識別できない外国硬貨等)をリアルタイムで検出するようになっていてもよい(図10参照)。そして、上位制御部101は、このように画像データに基づいて異物が検出された場合には、異物に関する情報を出力してもよい。異物に関する情報には、異物が存在する旨の情報だけではなく、異物が存在する場所、異物の大きさ、異物の種類に関する情報が含まれてもよい。ところで、汚損が激しい硬貨や変形してしまった硬貨等も異物として検出される。   Based on the image data acquired by the imaging unit 50, the upper control unit 101 detects in real time foreign matters other than coins (for example, dust, clips, receipts, foreign coins that cannot be identified by the coin identifying unit 150). It may be (see FIG. 10). Then, when the foreign object is detected based on the image data as described above, the upper control unit 101 may output information on the foreign object. The information regarding the foreign object may include not only information indicating the presence of the foreign object but also information regarding the location where the foreign object exists, the size of the foreign object, and the type of the foreign object. By the way, coins that are heavily soiled or have been deformed are also detected as foreign matters.

上位制御部101から異物に関する情報が出力されると、異物が吟味台14aに載っていることが登録装置300の登録表示部351及び/又は客側表示部356で表示される。このように異物が吟味台14aに載っていることを表示する際には、メッセージが表示されてもよいし、異物の箇所が円形状や四角形状等の所定の形状で取り囲まれて登録装置300の登録表示部351及び/又は客側表示部356で表示されるようにしてもよい。   When the information related to the foreign matter is output from the host control unit 101, the registration display unit 351 and / or the customer display unit 356 of the registration device 300 displays that the foreign matter is placed on the examination table 14a. In this way, when displaying that a foreign object is placed on the examination table 14a, a message may be displayed, or the position of the foreign object is surrounded by a predetermined shape such as a circular shape or a rectangular shape, and the registration apparatus 300. May be displayed on the registration display unit 351 and / or the customer display unit 356.

なお、図10に示す態様では、「異物有り」というメッセージが表示されるだけではなく、異物と判断された箇所が四角で囲まれている。また、異物の種類、例えば、ゴミ、クリップ、レシート、硬貨識別部150で識別できない外国硬貨等の種別が登録装置300の登録表示部351及び/又は客側表示部356で表示されてもよい。また、撮像部50で画像データを取得する際に用いられる撮像用の照明が設けられている場合には、当該照明の色が通常の場合から変化したり点滅したりする等して、異物が吟味台14aに載置されていることが報知されてもよい。ちなみに、このような撮像用の照明を採用した場合には、画像データ上での硬貨の輪郭を明確に読み取ることができる点で有益である。また、この撮像用の照明は、撮像部50で画像データを取得している間だけ点灯し、それ以外のときには消えていてもよい。   In addition, in the aspect shown in FIG. 10, not only the message “There is a foreign object” is displayed, but also the part that is determined to be a foreign object is surrounded by a square. In addition, the type of foreign matter, for example, the type of foreign coins that cannot be identified by the garbage, the clip, the receipt, or the coin identifying unit 150 may be displayed on the registration display unit 351 and / or the customer display unit 356 of the registration device 300. In addition, in the case where illumination for imaging that is used when the image capturing unit 50 acquires image data is provided, the color of the illumination changes or flashes from a normal case, so that a foreign object is detected. It may be notified that it is placed on the examination table 14a. Incidentally, when such illumination for imaging is adopted, it is advantageous in that the outline of the coin on the image data can be read clearly. The illumination for imaging may be turned on only while image data is acquired by the imaging unit 50, and may be turned off at other times.

なお、画像データから異物が存在していると判断されている間は、画像データに基づいて算出された硬貨の合計金額について確定処理を受け付けないようにしてもよい。この場合には、吟味台14aから当該異物が除去された時点で、画像データに基づいて算出された硬貨の合計金額について確定処理が受け付けられることとなる。ちなみに、画像データから異物が存在していると判断されている間であっても、強制的に確定処理を行うことができるようにしてもよい。   It should be noted that while it is determined from the image data that there is a foreign object, the confirmation process may not be accepted for the total amount of coins calculated based on the image data. In this case, when the foreign matter is removed from the examination table 14a, a confirmation process is accepted for the total amount of coins calculated based on the image data. Incidentally, the determination process may be forcibly performed even while it is determined from the image data that there is a foreign object.

前述したように汚損が激しい硬貨や変形してしまった硬貨等も異物として検出されることとなるが、このような事態に備えて、登録操作部352や操作表示部152から所定の入力(例えば加算許可入力)を行うことで、画像データに基づいて算出された硬貨の合計金額に、登録操作部352や操作表示部152から手入力した金種別枚数や合計金額を加算したものを硬貨の総合計金額として算出できるようにしてもよい。また、このような態様に限られることはなく、登録操作部352や操作表示部152から所定の入力(例えば加算許可入力)を行うことで、画像データに基づいて算出された硬貨の合計金額に、硬貨識別部150による識別結果に基づいて算出された硬貨の合計金額を加算したものを硬貨の総合計金額として算出できるようにしてもよい。この場合には、汚損が激しい硬貨や変形してしまった硬貨をとりあえず硬貨処理装置100の硬貨受入部110内に投入し、硬貨識別部150で識別不可能としてリジェクトされた場合には、当該硬貨の金種別枚数や合計金額を手入力するようにしてもよい。   As described above, a heavily damaged coin or a deformed coin is also detected as a foreign object. In preparation for such a situation, a predetermined input (for example, from the registration operation unit 352 or the operation display unit 152). (Addition permission input) is performed, and the total amount of coins calculated based on the image data is added to the total amount of coins by adding the number of denominations and the total amount of money manually input from the registration operation unit 352 and the operation display unit 152. It may be calculated as a total amount. Moreover, it is not restricted to such an aspect, By performing predetermined input (for example, addition permission input) from the registration operation part 352 or the operation display part 152, it is made into the total amount of the coin calculated based on image data. The total sum of coins calculated based on the identification result by the coin recognition unit 150 may be calculated as the total amount of coins. In this case, when a heavily damaged coin or a deformed coin is inserted into the coin receiving unit 110 of the coin processing device 100 for the time being and is rejected by the coin identifying unit 150 as being indistinguishable, You may make it input manually the number of money classifications and total amount.

ちなみに、図12に示す態様では、登録表示部351及び/又は客側表示部356において、手入力された金額が「手入力預かり額」として示されており、その金額は100円となっている。また、図13に示す態様では、登録表示部351及び/又は客側表示部356において、硬貨識別部150による識別結果に基づいて算出された硬貨の合計金額が「機械計数」として示されており、その金額は300円となっている。   Incidentally, in the mode shown in FIG. 12, the manually input amount is indicated as “manual input amount” in the registration display unit 351 and / or the customer side display unit 356, and the amount is 100 yen. . In the mode shown in FIG. 13, the total amount of coins calculated based on the identification result by the coin identifying unit 150 is indicated as “machine count” in the registration display unit 351 and / or the customer display unit 356. The amount is 300 yen.

硬貨制御部102は、硬貨識別部150による識別結果に基づいて硬貨受入部110で受け入れられた硬貨の合計金額を算出するようになっていてもよい。そして、撮像部50で取得された画像データに基づいて算出された硬貨の合計金額と、硬貨識別部150による識別結果に基づいて算出された合計金額とを比較するようになっていてもよい。この場合には、撮像部50で取得された画像データに基づいて算出された硬貨の合計金額と、硬貨識別部150による識別結果に基づいて算出された合計金額とが合致しない場合には、上位制御部101がその旨を出力するようにしてもよい。このように出力された情報に基づいて、登録表示部351に、撮像部50で取得された画像データに基づいて算出された硬貨の合計金額と硬貨識別部150による識別結果に基づいて算出された合計金額とが合致しないことが表示(例えばアラーム表示)されてもよい(図14参照)。図14に示す態様では、金額が合致していない旨のメッセージ(「金額不一致が発生しています。」及び「入金貨幣を確認して下さい。」というメッセージ)、画像データに基づいて算出された硬貨の合計金額、硬貨識別部150による識別結果に基づいて算出された合計金額、及び、画像データに基づいて算出された硬貨の合計金額と硬貨識別部150による識別結果に基づいて算出された合計金額との差分が示されている。   The coin control unit 102 may calculate the total amount of coins received by the coin receiving unit 110 based on the identification result by the coin identifying unit 150. Then, the total amount of coins calculated based on the image data acquired by the imaging unit 50 may be compared with the total amount calculated based on the identification result by the coin identifying unit 150. In this case, if the total amount of coins calculated based on the image data acquired by the imaging unit 50 and the total amount calculated based on the identification result by the coin identifying unit 150 do not match, The control unit 101 may output that fact. Based on the information output in this way, the registration display unit 351 was calculated based on the total amount of coins calculated based on the image data acquired by the imaging unit 50 and the identification result by the coin identifying unit 150. It may be displayed that the total amount does not match (for example, alarm display) (see FIG. 14). In the form shown in FIG. 14, a message indicating that the amounts do not match (“amount mismatch has occurred” and “please check the deposited money”), calculated based on the image data. The total amount calculated based on the total amount of coins, the total amount calculated based on the identification result by the coin identifying unit 150, and the total amount of coins calculated based on the image data and the identification result by the coin identifying unit 150 The difference with the amount is shown.

なお、前述した登録装置300の登録表示部351及び客側表示部356は、所定の情報を報知する報知部に含まれている。この報知部は、登録装置300の登録表示部351及び客側表示部356のように視覚を通じて情報を報知するものだけではなく、音等の聴覚を通じて情報を報知するものも含まれてもよい。この場合には、登録装置300の登録表示部351又は客側表示部356で表示されるあらゆる情報を音声で報知することもできる。一例として、報知部は、撮像部50で取得された画像データに基づいて算出された硬貨の合計金額と硬貨識別部150による識別結果に基づいて算出された合計金額とが合致しないこと、画像データに基づいて算出された硬貨の合計金額、硬貨識別部150による識別結果に基づいて算出された合計金額、及び、画像データに基づいて算出された硬貨の合計金額と硬貨識別部150による識別結果に基づいて算出された合計金額との差分の各々を音声で報知してもよい。   Note that the registration display unit 351 and the customer-side display unit 356 of the registration device 300 described above are included in a notification unit that notifies predetermined information. This notifying unit may include not only information notifying visually through the registration display unit 351 and customer display unit 356 of the registration device 300 but also notifying information through hearing such as sound. In this case, any information displayed on the registration display unit 351 or the customer display unit 356 of the registration device 300 can be notified by voice. As an example, the notification unit determines that the total amount of coins calculated based on the image data acquired by the imaging unit 50 and the total amount calculated based on the identification result by the coin identifying unit 150 do not match, the image data The total amount of coins calculated based on the identification amount, the total amount calculated based on the identification result by the coin identifying unit 150, and the total amount of coins calculated based on the image data and the identification result by the coin identifying unit 150 Each difference from the total amount calculated based on the information may be notified by voice.

前述のように撮像部50で取得された画像データに基づいて算出された硬貨の合計金額と硬貨識別部150による識別結果に基づいて算出された合計金額とが合致しない場合には、硬貨識別部150による識別結果に基づいて算出された合計金額が正しく撮像部50で取得された画像データに基づいて算出された硬貨の合計金額が誤っていたものとして、逆に、撮像部50で取得された画像データに基づいて算出された硬貨の合計金額が正しく硬貨識別部150による識別結果に基づいて算出された合計金額が誤っていたものとして、判断されて処理されてもよい。この場合には、撮像部50で取得された画像データに基づいて算出された硬貨の合計金額及び硬貨識別部150による識別結果に基づいて算出された合計金額と、どちらを「正」として処理したかが登録記憶部305やサーバ記憶部405に記憶されてもよい。   When the total amount of coins calculated based on the image data acquired by the imaging unit 50 as described above does not match the total amount calculated based on the identification result by the coin identifying unit 150, the coin identifying unit On the contrary, the total amount calculated based on the identification result of 150 was acquired by the imaging unit 50, assuming that the total amount of coins calculated based on the image data correctly acquired by the imaging unit 50 was incorrect. The total amount of coins calculated based on the image data may be determined and processed assuming that the total amount calculated based on the identification result by the coin identifying unit 150 is incorrect. In this case, the total amount of coins calculated based on the image data acquired by the imaging unit 50 and the total amount calculated based on the identification result by the coin identifying unit 150 are processed as “positive”. May be stored in the registration storage unit 305 or the server storage unit 405.

また、撮像部50で取得された画像データに基づいて算出された硬貨の合計金額と硬貨識別部150による識別結果に基づいて算出された合計金額とが合致しない場合には、硬貨処理装置100で受け入れられた硬貨の全てを硬貨払出部190から返却するようにしてもよい。このような態様を採用することで、硬貨識別部150による識別結果に基づいて算出された合計金額が正しかったかを操作者が確認することができる。また、撮像部50で取得された画像データに基づいて算出された硬貨の合計金額と硬貨識別部150による識別結果に基づいて算出された合計金額とが合致しない場合には、上位制御部101が上位記憶部155又はサーバ記憶部405に記憶された当該取引の画像データを読み出し、当該画像データを登録装置300の登録表示部351に表示させてもよい。このような態様を採用することで、画像データに基づいて算出された合計金額が正しかったかを操作者が確認することができる。   When the total amount of coins calculated based on the image data acquired by the imaging unit 50 and the total amount calculated based on the identification result by the coin identifying unit 150 do not match, the coin processing device 100 All accepted coins may be returned from the coin dispensing unit 190. By adopting such an aspect, the operator can check whether the total amount calculated based on the identification result by the coin identifying unit 150 is correct. When the total amount of coins calculated based on the image data acquired by the imaging unit 50 and the total amount calculated based on the identification result by the coin identifying unit 150 do not match, the upper control unit 101 The image data of the transaction stored in the upper storage unit 155 or the server storage unit 405 may be read and the image data may be displayed on the registration display unit 351 of the registration apparatus 300. By adopting such an aspect, the operator can check whether the total amount calculated based on the image data is correct.

また、前述のように撮像部50で取得された画像データに基づいて算出された硬貨の合計金額と硬貨識別部150による識別結果に基づいて算出された合計金額とが合致しない場合には、撮像部50で取得された画像データに基づいて算出された硬貨の合計金額又は硬貨識別部150による識別結果に基づいて算出された合計金額のいずれかが修正されるか、強制終了されるまでは、新規の取引を受け付けないようにしてもよい。   As described above, when the total amount of coins calculated based on the image data acquired by the imaging unit 50 and the total amount calculated based on the identification result by the coin identifying unit 150 do not match, imaging is performed. Until either the total amount of coins calculated based on the image data acquired by the unit 50 or the total amount calculated based on the identification result by the coin identifying unit 150 is corrected or forcibly terminated, New transactions may not be accepted.

ところで、画像データに基づいて算出された硬貨の合計金額について確定処理がなされることなく硬貨が硬貨処理装置100の硬貨受入部110で受け入れられたときには、画像データに基づいて硬貨の合計金額を算出することなく、硬貨処理装置100の硬貨識別部150による識別結果に基づいて算出された合計金額のみを用いて取引を行うようにしてもよい。ちなみに、このように画像データに基づいて算出された硬貨の合計金額について確定処理がなされない場合としては、硬貨の枚数がかなり多いことから吟味台14a上に硬貨を分離して配置するのに時間がかかってしまう場合や画像データによる硬貨の合計金額の算出に対して精度上多少の不安がある場合、誤って操作者が硬貨受入部110内に硬貨を投入してしまった場合、撮像部50の不具合等でそもそも画像データを取得できない場合、何らしかの不具合で画像データに基づいて各硬貨の金種を正確に識別できていない場合等を挙げることができる。   By the way, when the coin is received by the coin receiving unit 110 of the coin processing device 100 without performing the confirmation process on the total amount of coins calculated based on the image data, the total amount of coins is calculated based on the image data. Instead, the transaction may be performed using only the total amount calculated based on the identification result by the coin identifying unit 150 of the coin processing apparatus 100. Incidentally, in the case where the final processing is not performed for the total amount of coins calculated based on the image data in this way, since the number of coins is quite large, it takes time to separate and arrange the coins on the examination table 14a. If there is a slight concern about the accuracy of the calculation of the total amount of coins based on image data, or if the operator accidentally inserts coins into the coin receiving unit 110, the imaging unit 50 The case where the image data cannot be acquired in the first place due to the above problem or the like, the case where the denomination of each coin cannot be accurately identified based on the image data due to some problem, etc. can be mentioned.

前記では、撮像部50で取得された画像データに基づいて吟味台14a上の硬貨の合計金額を算出し、最終的には釣銭金額を算出する態様について説明したが、これに限られることはない。撮像部50で取得された画像データに基づいて吟味台14a上の硬貨の合計金額を算出し、当該合計金額を利用してICカードや携帯電話等に対する電子マネーのチャージを行うようにしてもよい。ちなみに、吟味台14aにカードリーダ17aやカードリーダライタ17bが組み込まれていてもよく(図4参照)、吟味台14aにICカードや携帯電話等を載置することで、電子マネーによって支払いができるようにしてもよいし、ICカードや携帯電話等に電子マネーのチャージを行うことができるようにしてもよい。   In the above description, the total amount of coins on the examination table 14a is calculated based on the image data acquired by the imaging unit 50, and finally the amount of change is calculated. However, the present invention is not limited to this. . A total amount of coins on the examination table 14a may be calculated based on the image data acquired by the imaging unit 50, and electronic money may be charged to an IC card, a mobile phone, or the like using the total amount. . Incidentally, the card reader 17a and the card reader / writer 17b may be incorporated in the examination table 14a (see FIG. 4), and payment can be made with electronic money by placing an IC card, a mobile phone or the like on the examination table 14a. You may make it possible to make it possible to charge electronic money to an IC card or a mobile phone.

前記では、カメラ等からなる撮像部50が硬貨筐体103の上面に載置されている態様を用いて説明したが、これに限られることはない。例えば、吟味台14aの載置面が透明になっている態様を採用した場合には、撮像部50を吟味台14aの下方に載置し、透明な載置面を介して、吟味台14a上に載置された硬貨の画像データを取得するようにしてもよい。また、シュート20の途中にライン状のイメージセンサ(ラインセンサ)等からなる撮像部50を載置し、シュート20に沿って落下する硬貨の画像データを取得するようにしてもよい。   In the above description, the imaging unit 50 including a camera or the like has been described using the aspect in which the imaging unit 50 is placed on the upper surface of the coin housing 103. However, the present invention is not limited to this. For example, in the case of adopting a mode in which the placement surface of the examination table 14a is transparent, the imaging unit 50 is placed below the examination table 14a, and on the examination table 14a via the transparent placement surface. You may make it acquire the image data of the coin mounted in. In addition, an imaging unit 50 including a line-shaped image sensor (line sensor) or the like may be placed in the middle of the chute 20 to acquire image data of coins falling along the chute 20.

また、前述した吟味台14aは必ずしも必要ではなく、カウンターのテーブル、登録装置300の置き台等の載置台14b(図8参照)に硬貨を載置するようにし、撮像部50は当該載置台14b上に載置された硬貨の画像データを取得するようにしてもよい。なお、このようにカウンターのテーブル等に硬貨を載置する場合には、撮像部50で撮像可能な位置であり硬貨を載置すべき場所をシール、プリント、光線等によって分かるようにしてもよい。なお、カウンターのテーブル等のうち硬貨を載置すべき箇所は、顧客及びレジ係等の操作者の両者の手が届く箇所であって、視認できる箇所であることが望ましい。ちなみに、登録装置300の置き台は登録操作部352の手前に位置していることが一般的である。ちなみに、吟味台14a及び載置台14bの両方が載置部10に含まれている。   Further, the examination table 14a described above is not necessarily required, and coins are placed on a placement table 14b (see FIG. 8) such as a counter table, a placement table of the registration apparatus 300, and the imaging unit 50 is configured to place the placement table 14b. You may make it acquire the image data of the coin mounted on the top. When coins are placed on the counter table or the like in this way, the place where the coins should be placed, which are positions that can be imaged by the imaging unit 50, may be identified by stickers, prints, light beams, or the like. . In addition, it is desirable that the place where coins should be placed on the counter table or the like is a place where both hands of the customer and an operator such as a cashier can reach and are visible. Incidentally, the cradle of the registration apparatus 300 is generally located in front of the registration operation unit 352. Incidentally, both the examination table 14 a and the mounting table 14 b are included in the mounting unit 10.

吟味台14a、載置台14b等の載置部10の載置面はLCD等の表示画面18(図4参照)となっていてもよい。このような態様を採用した場合には、撮像部50が撮像する際に表示画面18を発光させることでコントラストを高めることができ、硬貨の認識レベルを向上させることができる。また、異物を検出した際には異物の場所を表示画面18で直接示したり、異物の載置されている場所を異なる色で表示したり点滅させたりすることもできる。また、売上金額に基づいて載置部10に余分な硬貨が載置されている場合には、余分な硬貨の場所を表示画面18で直接示したり、余分な硬貨の載置されている場所を異なる色で表示したり点滅させたりしてもよい。また、前記で登録表示部351及び/又は客側表示部356で表示されるとした情報(例えば、売上金額、画像データに基づいて算出された硬貨の合計金額、釣銭金額、不足金額等を含む。)を表示画面18上で直接表示してもよい。一般に顧客の視線は硬貨を載置した場所を向くことから、このような態様を採用した場合には、顧客は載置部10に載置した硬貨に関する情報を容易に取得することができる点で有益である。また、載置部10自体に表示機能を持たせなくても、載置部10の近傍位置にプロジェクタ等の投影装置を配置して、各種情報を載置部10に映し出すようにしてもよい。このような態様を採用した場合には、カウンターのテーブルが載置部10を構成する場合でも、テーブル内に表示機器を埋め込んだり配線をつないだりする必要がなくなる点で有益である。   The mounting surface of the mounting unit 10 such as the examination table 14a and the mounting table 14b may be a display screen 18 (see FIG. 4) such as an LCD. When such an aspect is employ | adopted, a contrast can be raised by making the display screen 18 light-emit, when the imaging part 50 images, and the recognition level of a coin can be improved. When a foreign object is detected, the location of the foreign object can be directly displayed on the display screen 18, or the place where the foreign object is placed can be displayed in a different color or blinked. Further, when extra coins are placed on the placement unit 10 based on the sales amount, the location of the extra coins is indicated directly on the display screen 18 or the place where the extra coins are placed. It may be displayed or flashed in a different color. In addition, information that is displayed on the registration display unit 351 and / or the customer display unit 356 (including sales amount, total amount of coins calculated based on image data, change amount, shortage amount, etc.) .) May be displayed directly on the display screen 18. In general, since the customer's line of sight faces the place where the coin is placed, when such an aspect is adopted, the customer can easily obtain information on the coin placed on the placement unit 10. It is beneficial. Further, even if the placement unit 10 itself does not have a display function, a projection device such as a projector may be arranged in the vicinity of the placement unit 10 so that various types of information are displayed on the placement unit 10. Employing such an embodiment is advantageous in that it is not necessary to embed a display device or connect a wiring in the table even when a counter table constitutes the placement unit 10.

吟味台14a及び載置台14bに関して述べたことは、当然のことながら、硬貨だけではなく紙幣にも採用することができる。   As a matter of course, what has been described with respect to the examination table 14a and the mounting table 14b can be applied not only to coins but also to banknotes.

ところで、前述した態様とは異なり、硬貨受入部110に直接硬貨を載置し、当該硬貨の画像データを撮像部50で取得するようにしてもよい。この場合には、硬貨受入部110は比較的大型になっており、硬貨受入部110に投入された各硬貨を分離できるようになっていることが望ましい。   By the way, unlike the above-described embodiment, a coin may be directly placed on the coin receiving unit 110, and the image data of the coin may be acquired by the imaging unit 50. In this case, it is desirable that the coin receiving unit 110 is relatively large so that each coin input to the coin receiving unit 110 can be separated.

また、硬貨処理装置100とは全く別の場所で、硬貨の画像データを取得するようにしてもよい。この場合には、複数の撮像部50に対して1台の硬貨処理装置100が設置されるようにしてもよく、硬貨処理装置100をあくまでも硬貨の金種別枚数を再確認したり硬貨を保管したりするために用い、撮像部50で撮像された画像データに基づいて、一般的な取引が行われるようにしてもよい。   Moreover, you may make it acquire the image data of a coin in the place completely different from the coin processing apparatus 100. FIG. In this case, one coin processing device 100 may be installed for the plurality of imaging units 50, and the coin processing device 100 may reconfirm the number of coin types or store coins. General transaction may be performed based on image data captured by the imaging unit 50.

また、硬貨筐体103上に直接硬貨を載置できるようにしてもよい。この場合には、硬貨筐体103上に載置された硬貨の画像データを撮像部50で取得することとなる。この場合には、硬貨筐体103には硬貨を案内するための案内壁が設けられており、レジ係等の操作者が手によって硬貨筐体103上に載置された硬貨を滑らせるか、前述した押出部60のような部材によって硬貨筐体103上に載置された硬貨を滑らせることで、硬貨受入部110に硬貨を投入するようにしてもよい。   Moreover, you may enable it to place a coin directly on the coin housing | casing 103. FIG. In this case, image data of coins placed on the coin housing 103 is acquired by the imaging unit 50. In this case, the coin housing 103 is provided with a guide wall for guiding coins, and an operator such as a cashier can slide a coin placed on the coin housing 103 by hand, You may make it insert a coin into the coin receiving part 110 by sliding the coin mounted on the coin housing | casing 103 by members, such as the extrusion part 60 mentioned above.

なお、前述したシャッター115は、待機時から画像データに基づいて算出された硬貨の合計金額について確定処理がなされるまでの間、閉じられたままであってもよい。そして、画像データに基づいて算出された硬貨の合計金額について確定処理がなされるか強制的にシャッター115を開ける旨の指令が入力されるとシャッター115が開くようにしてもよい。このような態様を採用することで、画像データに基づいて算出された硬貨の合計金額について確定処理がなされていないにも関わらず、誤って硬貨が硬貨受入部110内に落下することを防止することができる。   It should be noted that the shutter 115 described above may remain closed until a finalizing process is performed for the total amount of coins calculated based on the image data from the standby state. Then, the shutter 115 may be opened when a confirmation process is performed on the total amount of coins calculated based on the image data or when a command for forcibly opening the shutter 115 is input. By adopting such an aspect, it is possible to prevent the coin from accidentally falling into the coin receiving unit 110 even though the final processing is not performed on the total amount of coins calculated based on the image data. be able to.

また、図1に示すようにシャッター115は上面が平坦な形状となっており、当該シャッター115上に硬貨を載置できるようになっていてもよい。そして、待機時から画像データに基づいて算出された硬貨の合計金額について確定処理がなされるまでの間、シャッター115は閉じられたままになっており、画像データに基づいて算出された硬貨の合計金額について確定処理がなされるか強制的にシャッター115を開ける旨の指令が入力されるとシャッター115が開き、シャッター115上に載置された硬貨が硬貨受入部110内に落下するようにしてもよい。この場合には、シャッター115上に載置された硬貨を撮像できる位置に撮像部50を載置すればよい。また、シャッター115の上面に、前述したような区分け部15が形成されていてもよい。   Further, as shown in FIG. 1, the shutter 115 may have a flat upper surface so that coins can be placed on the shutter 115. The shutter 115 remains closed until the confirmation process is performed for the total amount of coins calculated based on the image data from the standby time, and the total number of coins calculated based on the image data. When a confirmation process is performed for the amount of money or a command for forcibly opening the shutter 115 is input, the shutter 115 is opened, and the coin placed on the shutter 115 falls into the coin receiving unit 110. Good. In this case, the imaging unit 50 may be placed at a position where the coin placed on the shutter 115 can be imaged. Further, the section 15 as described above may be formed on the upper surface of the shutter 115.

また、本実施の形態では画像データに基づいて硬貨の金種を識別することから、硬貨識別部150によって識別する場合と比較して、容易に多種類の硬貨の金種を識別することができる。このため、例えば、ドル、セント、ユーロ、元等の所定の外国硬貨を識別するための情報と、当該外国硬貨に対する為替レートとを上位記憶部155等に記憶させておくことで、外国硬貨をそのまま支払いに用いるようにすることもできる。また、この場合には、複数の外国硬貨が入り交じっていてもよく、例えば日本円の硬貨とUSドルの硬貨とを混合して支払いに用いた場合であっても、日本円にしていくらの金額であるのかを算出することができる。ちなみに、このように外国硬貨でそのまま支払いを行う場合には、硬貨識別部150を別途開発することなく、硬貨識別部150によって硬貨の識別を行わないようにしたり、硬貨識別部150で硬貨の識別を行うものの日本円以外の硬貨はリジェクト硬貨として取り扱い、別途保管するようにしてもよい。   Further, in the present embodiment, since the denomination of the coin is identified based on the image data, it is possible to easily identify a variety of coin denominations as compared with the case where the coin identifying unit 150 identifies the coin denomination. . For this reason, for example, by storing information for identifying a predetermined foreign coin such as dollar, cent, euro, yuan, etc. and the exchange rate for the foreign coin in the upper storage unit 155 or the like, the foreign coin can be stored. It can also be used for payment as it is. In this case, a plurality of foreign coins may be intermingled. For example, even if Japanese yen coins and US dollar coins are mixed and used for payment, how much is converted into Japanese yen? It is possible to calculate whether it is a monetary amount. Incidentally, when paying with foreign coins as they are, the coin identifying unit 150 is not separately developed and the coin identifying unit 150 does not identify the coin, or the coin identifying unit 150 identifies the coin. However, coins other than Japanese yen may be handled as reject coins and stored separately.

また、硬貨を載置するための吟味台14aやカウンターのテーブル、登録装置300の置き台等の載置台14bは重量計19(図4参照)を含んでいてもよい。この場合には、金種別の硬貨の重量を上位記憶部155等に予め記憶させておいて、画像データに基づく硬貨の金種別枚数から全硬貨の重量を算出し、重量計19によって得られた重量と合致しているか否かを、上位制御部101等で判断することになる。そして、画像データに基づいて算出された全硬貨の重量が重量計19によって得られた重量と合致していることを、画像データに基づいて算出された硬貨の合計金額に対して確定処理を行うための条件としてもよい。また、画像データに基づいて算出された全硬貨の重量が重量計19によって得られた重量に基づくデータと合致していない場合には、登録表示部351、客側表示部356等の報知部でその旨が報知されてもよい。なお、両重量データが合致しない理由としては、硬貨が重なって配置されており下側の硬貨の画像を取得できていない場合や、外来光等の影響や装置の不具合等によって画像を取得できなかった硬貨が存在する場合等が想定される。   Further, the examination table 14a for placing coins, the table of the counter, and the loading table 14b such as the loading table of the registration device 300 may include a weigh scale 19 (see FIG. 4). In this case, the weight of the coins of each denomination is stored in advance in the upper storage unit 155 or the like, the weight of all coins is calculated from the number of denominations of coins based on the image data, and obtained by the weigh scale 19 Whether the weight matches the weight is determined by the host control unit 101 or the like. Then, a determination process is performed on the total amount of coins calculated based on the image data to confirm that the weight of all the coins calculated based on the image data matches the weight obtained by the weigh scale 19. It is good also as conditions for. In addition, when the weight of all coins calculated based on the image data does not match the data based on the weight obtained by the weigh scale 19, a notification unit such as the registration display unit 351, the customer side display unit 356, or the like. That fact may be notified. The reason why the two weight data do not match is that the coins are placed one on top of the other and the image of the lower coin cannot be acquired, or the image cannot be acquired due to the influence of extraneous light, malfunction of the device, etc. The case where there is a coin is assumed.

本実施の形態の上位制御部101には、撮像部50によって取得された貨幣の画像データに基づいて当該貨幣の金額情報を算出する際の算出精度を確認する確認モードが用意されている。当該確認モードは、上位制御部101によって、所定のタイミングで実施されるようになっている。   The upper control unit 101 of the present embodiment is provided with a confirmation mode for confirming the calculation accuracy when calculating the money amount information of the money based on the money image data acquired by the imaging unit 50. The confirmation mode is implemented at a predetermined timing by the host control unit 101.

ここで、「所定のタイミング」というのは、例えば、硬貨処理装置100ないし紙幣処理装置200の設置時や、メンテナンス作業の実行時や、硬貨処理装置100ないし紙幣処理装置200の構成要素の一部を変更した時、等である。   Here, “predetermined timing” refers to, for example, a part of the components of the coin processing apparatus 100 or the banknote processing apparatus 200 when the coin processing apparatus 100 or the banknote processing apparatus 200 is installed, when maintenance work is performed, or the like. And so on.

あるいは、季節による外来光の影響が気になる場合や、硬貨処理装置100ないし紙幣処理装置200の経年劣化が気になる場合には、数ヶ月毎に「所定のタイミング」が設定されてもよい。   Alternatively, “predetermined timing” may be set every several months when the influence of the extraneous light depending on the season is a concern or when the aging deterioration of the coin processing apparatus 100 or the banknote processing apparatus 200 is anxious. .

あるいは、日照による外来光の影響が気になる場合には、例えば毎日、複数の時間帯(例えば朝/昼/夕方/夜)の各々において「所定のタイミング」が設定されてもよい。   Alternatively, when the influence of extraneous light due to sunshine is a concern, for example, “predetermined timing” may be set in each of a plurality of time zones (for example, morning / daytime / evening / night).

前記のように設定された「所定のタイミング」が到来した時、上位制御部101は、自動的に確認モードに切り替わってもよいし、登録表示部351や客側表示部356等の報知部に確認モードの実施(入力指示)を促すメッセージを表示させるようになっていてもよい。後者の場合には、操作者が当該メッセージを確認した上で、確認モードの実施を入力指示することになる。   When the “predetermined timing” set as described above arrives, the host control unit 101 may automatically switch to the confirmation mode, or notify the notification unit such as the registration display unit 351 or the customer side display unit 356. A message that prompts implementation (input instruction) of the confirmation mode may be displayed. In the latter case, after confirming the message, the operator inputs an instruction to execute the confirmation mode.

確認モードの実施のために確認モード用貨幣が用意されている場合には、確認モード用貨幣の金額情報が予め上位記憶部155等に記憶される。そして、確認モードが実施される際、撮像部50は、装置外に載置される所定の確認モード用貨幣の画像データを取得するようになっており、算出手段としての上位制御部101が、撮像部50によって取得された確認モード用貨幣の画像データに基づいて当該確認モード用貨幣の金額情報を算出するようになっており、算出された前記金額情報と、予め記憶されていた前記確認モード用貨幣の金額情報と、を比較する比較処理が行われて前記算出精度が確認されるようになっている。このように、予め金額情報が分かっている実際の貨幣である「確認モード用貨幣」を用いることにより、極めて効果的に算出精度が確認され得る。   When confirmation mode money is prepared for carrying out the confirmation mode, the amount information of the confirmation mode money is stored in advance in the upper storage unit 155 or the like. Then, when the confirmation mode is performed, the imaging unit 50 is configured to acquire image data of a predetermined confirmation mode currency placed outside the apparatus. The amount information of the confirmation mode money is calculated based on the image data of the confirmation mode money acquired by the imaging unit 50, and the calculated amount information and the confirmation mode stored in advance are calculated. The calculation accuracy is confirmed by performing a comparison process for comparing the amount information of money for money. As described above, the calculation accuracy can be confirmed extremely effectively by using “confirmation mode money” which is actual money whose amount information is known in advance.

具体的には、例えば、確認モード用貨幣は、複数金種の各々の流通貨幣と新規貨幣である。   Specifically, for example, the confirmation mode currency is a current currency and a new currency of each of a plurality of denominations.

確認モード用貨幣の金額情報を上位記憶部155等に記憶するのは、装置の出荷前であってもよいが、確認モードを実際に開始する時に現場で手配できた確認モード用貨幣に合わせて適時に入力操作を介してなされてもよい。   The amount information of the confirmation mode money may be stored in the upper storage unit 155 or the like before the shipment of the device, but in accordance with the confirmation mode currency that can be arranged at the site when the confirmation mode is actually started. It may be made through an input operation in a timely manner.

「確認モード用貨幣」の代わりに、例えば貨幣に摸した色や凹凸パターンを有する「確認モード用媒体」が用意されている場合には、当該確認モード用媒体が対応するべき金額情報が予め上位記憶部155等に記憶される。そして、確認モードが実施される際、撮像部50は、装置外に載置される所定の確認モード用媒体の画像データを取得するようになっており、算出手段としての上位制御部101が、撮像部50によって取得された確認モード用媒体の画像データに基づいて当該確認モード用媒体が対応するであろう金額情報を算出するようになっており、算出された前記金額情報と、予め記憶されていた前記確認モード用媒体が対応するべき金額情報と、を比較する比較処理が行われて前記算出精度が確認されるようになっている。このように、予め対応するべき金額情報が分かっている「確認モード用媒体」を用いることによっても、極めて効果的に算出精度が確認され得る。   For example, in the case where a “confirmation mode medium” having a color or an uneven pattern that resembles money is prepared instead of “confirmation mode money”, the amount information that the confirmation mode medium should correspond to Stored in the storage unit 155 or the like. When the confirmation mode is performed, the imaging unit 50 is configured to acquire image data of a predetermined confirmation mode medium placed outside the apparatus. Based on the image data of the confirmation mode medium acquired by the imaging unit 50, the amount information that the confirmation mode medium will correspond is calculated, and the calculated amount information is stored in advance. The calculation accuracy is confirmed by performing a comparison process for comparing the amount information to be supported by the confirmation mode medium. In this way, the calculation accuracy can be confirmed extremely effectively by using a “confirmation mode medium” whose amount information to be supported is known in advance.

確認モード用媒体が対応するべき金額情報を上位記憶部155等に記憶するのは、装置の出荷前であってもよいが、確認モードを実際に開始する時に現場で手配できた確認モード用媒体に合わせて適時に入力操作を介してなされてもよい。   The amount information to be supported by the confirmation mode medium may be stored in the high-order storage unit 155 or the like before the shipment of the apparatus, but the confirmation mode medium that can be arranged on site when actually starting the confirmation mode It may be made through an input operation in a timely manner.

《紙幣処理装置200》
次に、本実施の形態の紙幣処理装置200の構成について説明する。ちなみに、本実施の形態の紙幣処理装置200は、スーパー、コンビニエンスストア、ショッピングモール、百貨店等の様々な場所で利用され、紙幣の入出金処理を行う紙幣釣銭機となっている。
<< Bill Processing Device 200 >>
Next, the structure of the banknote processing apparatus 200 of this Embodiment is demonstrated. Incidentally, the banknote processing apparatus 200 according to the present embodiment is used in various places such as a supermarket, a convenience store, a shopping mall, a department store, etc., and is a banknote change machine that performs banknote deposit and withdrawal processing.

ところで、紙幣処理装置200としてはこのような紙幣釣銭機には限られることはなく、例えば紙幣入金機、紙幣出金機、券売機、自動販売機等も含まれる。   By the way, the banknote handling apparatus 200 is not limited to such a banknote change machine, and includes, for example, banknote depositing machines, banknote dispensing machines, ticket vending machines, vending machines, and the like.

図2に示すように、紙幣処理装置200は、略直方体形状の紙幣筐体203と、紙幣を紙幣筐体203の外部から入金するための紙幣受入部210と、紙幣受入部210から入金された紙幣を搬送する紙幣搬送部220と、紙幣受入部210から入金された紙幣の金種等を識別して計数する紙幣識別部250と、紙幣搬送部220で搬送された紙幣を収納するとともに収納された紙幣を繰り出す紙幣収納部260と、リジェクト紙幣や紙幣収納部260に収納されていた紙幣を出金するための紙幣払出部290と、を備えている。なお、紙幣搬送部220は、図2に示すように、紙幣筐体203内の略中央部に設けられた環状の周回搬送部220aと、紙幣受入部210、紙幣収納部260、紙幣払出部290等と、周回搬送部220aとの間をそれぞれ接続する複数の接続搬送部220bとを有している。ちなみに、周回搬送部220aに紙幣識別部250が設けられている。また、本実施の形態の紙幣収納部260は金種別に紙幣を収納する3つの金種別紙幣収納部261(261a,261b,261c)を有している。   As shown in FIG. 2, the banknote handling apparatus 200 is deposited from the banknote housing 203 having a substantially rectangular parallelepiped shape, the banknote receiving unit 210 for depositing banknotes from the outside of the banknote housing 203, and the banknote receiving unit 210. The banknote transport unit 220 that transports banknotes, the banknote identification unit 250 that identifies and counts the denominations of banknotes deposited from the banknote receiving unit 210, and the banknotes transported by the banknote transport unit 220 are stored and stored. A banknote storage unit 260 for feeding out the banknotes, and a banknote dispensing unit 290 for withdrawing the banknotes stored in the reject banknotes or the banknote storage unit 260. As shown in FIG. 2, the banknote transport unit 220 includes an annular circulation transport unit 220 a provided at a substantially central part in the banknote housing 203, a banknote receiving unit 210, a banknote storage unit 260, and a banknote dispensing unit 290. And a plurality of connection transport sections 220b that connect the respective transport sections 220a to each other. Incidentally, the banknote identification part 250 is provided in the circulation conveyance part 220a. Moreover, the banknote storage part 260 of this Embodiment has the three money type banknote storage parts 261 (261a, 261b, 261c) which store a banknote in a money type.

紙幣受入部210は、紙幣が入金されると自動で又は操作表示部152、ボタン式操作部153、登録操作部352等からの入力信号を受けて駆動されて当該紙幣を紙幣筐体203内に繰り出す入金紙幣操出部(図示せず)を有している。また、紙幣収納部260は、必要に応じて紙幣収納部260から紙幣を繰り出す出金紙幣繰出部(図示せず)を有している。   The banknote receiving unit 210 is driven automatically upon receipt of a banknote or by receiving an input signal from the operation display unit 152, the button type operation unit 153, the registration operation unit 352, and the like, and the banknote is received in the banknote housing 203. It has a deposit banknote handling part (not shown). Moreover, the banknote storage part 260 has the withdrawal banknote delivery part (not shown) which pays out a banknote from the banknote storage part 260 as needed.

また、図2に示すように、紙幣搬送部220には、回収処理を行う際に紙幣収納部260から繰り出された紙幣を収納する紙幣回収カセット235が連結されている。なお、紙幣識別部250で識別された紙幣の金種を収納するための紙幣収納部260がフル(満杯)状態又はニアフル(ほぼ満杯)状態である場合には、この紙幣はオーバーフロー紙幣として、紙幣回収カセット235に収納されてもよい。   In addition, as shown in FIG. 2, the banknote transport unit 220 is connected to a banknote collection cassette 235 that stores banknotes fed out from the banknote storage unit 260 when performing the recovery process. In addition, when the banknote accommodating part 260 for accommodating the money type of the banknote identified by the banknote identification part 250 is a full (full) state or a near full (almost full) state, this banknote is a banknote as an overflow banknote. It may be stored in the collection cassette 235.

また、図2に示すように、紙幣搬送部220には、紙幣収納部260から繰り出された紙幣が紙幣識別部250によって識別できない場合に、当該紙幣(出金リジェクト紙幣)を収納する出金紙幣リジェクト部230が連結されている。   As shown in FIG. 2, when the banknote fed out from the banknote storage unit 260 cannot be identified by the banknote identification unit 250, the banknote transport unit 220 stores the banknote (withdrawal reject banknote). The reject unit 230 is connected.

紙幣処理装置200の各金種に関する在高は、対象となる金種別紙幣収納部261に収納された紙幣の枚数から当該金種別紙幣収納部261から繰り出された紙幣の枚数を差し引くことで算出可能となる。ちなみに、各金種別紙幣収納部261に対応して設けられた検知センサ225からの情報に基づいて対象となる金種別紙幣収納部261内に紙幣が収納されたことが検出され、他方、当該検知センサ225からの情報に基づいて対象となる金種別紙幣収納部261から紙幣が繰り出されたことが検出される。   The stock amount relating to each denomination of the banknote handling apparatus 200 can be calculated by subtracting the number of banknotes fed out from the denomination banknote storage unit 261 from the number of banknotes stored in the target banknote storage unit 261. It becomes. Incidentally, it is detected that a banknote is stored in the target banknote storage unit 261 based on information from the detection sensor 225 provided corresponding to each banknote storage unit 261, and the detection Based on the information from the sensor 225, it is detected that the bill has been fed out from the target denomination bill storage unit 261.

また、図2に示すように、検知センサ225は、出金紙幣リジェクト部230及び紙幣回収カセット235の各々に対応するようにも設けられており、当該検知センサ225からの情報に基づいて、出金紙幣リジェクト部230及び紙幣回収カセット235の各々に収納されている紙幣の枚数も検出できるようになっている。ちなみに、本実施の形態では、紙幣受入部210及び紙幣払出部290にも対応して検知センサ225が設けられている。紙幣受入部210に対応して設けられた検知センサ225は紙幣受入部210で受け入れられた紙幣が当該検知センサ225を通過したかを検知するために用いられる。また、紙幣払出部290に対応して設けられた検知センサ225は紙幣払出部290から払い出されるべき紙幣が当該検知センサ225を通過したかを検知するために用いられる。   In addition, as shown in FIG. 2, the detection sensor 225 is also provided to correspond to each of the withdrawal banknote reject unit 230 and the banknote collection cassette 235, and is based on information from the detection sensor 225. The number of banknotes stored in each of the gold banknote reject unit 230 and the banknote collection cassette 235 can also be detected. Incidentally, in the present embodiment, detection sensors 225 are provided corresponding to the banknote receiving unit 210 and the banknote dispensing unit 290 as well. The detection sensor 225 provided corresponding to the banknote receiving unit 210 is used to detect whether the banknote received by the banknote receiving unit 210 has passed the detection sensor 225. The detection sensor 225 provided corresponding to the banknote dispensing unit 290 is used to detect whether a banknote to be dispensed from the banknote dispensing unit 290 has passed the detection sensor 225.

図4に示すように、紙幣処理装置200の紙幣制御部202には、インターフェース232、紙幣受入部210、紙幣搬送部220、出金紙幣リジェクト部230、紙幣識別部250、紙幣収納部260、紙幣払出部290、紙幣記憶部205、検知センサ225等がそれぞれ接続されている。そして、紙幣制御部202は、紙幣受入部210、紙幣搬送部220、出金紙幣リジェクト部230、紙幣識別部250、紙幣収納部260、紙幣払出部290、紙幣記憶部205、検知センサ225等と信号の送受信を行い、これらを制御するように構成されている。なお、以下の紙幣処理装置200の説明において、紙幣処理装置200の制御を主に紙幣制御部202が行う態様を用いるが、このような態様に限られることはなく、紙幣制御部202ではなく、上位制御部101、硬貨制御部102及び登録制御部302のいずれか1つ以上の制御部が紙幣処理装置200の制御を行ってもよい。   As shown in FIG. 4, the banknote control unit 202 of the banknote processing apparatus 200 includes an interface 232, a banknote receiving unit 210, a banknote transport unit 220, a withdrawal banknote reject unit 230, a banknote recognition unit 250, a banknote storage unit 260, a banknote. A payout unit 290, a bill storage unit 205, a detection sensor 225, and the like are connected to each other. And the banknote control part 202 is with the banknote acceptance part 210, the banknote conveyance part 220, the withdrawal banknote rejection part 230, the banknote identification part 250, the banknote storage part 260, the banknote discharge part 290, the banknote memory | storage part 205, the detection sensor 225, etc. It is configured to transmit and receive signals and to control them. In the following description of the banknote handling apparatus 200, a mode in which the banknote control unit 202 mainly performs control of the banknote handling apparatus 200 is used, but the mode is not limited to such a mode, not the banknote control unit 202. Any one or more of the upper control unit 101, the coin control unit 102, and the registration control unit 302 may control the banknote handling apparatus 200.

ところで、撮像部50で取得された所定の場所に載置された紙幣の画像データに基づいて、紙幣の合計金額を算出し、当該紙幣の合計金額に硬貨の合計金額を加算することで預かり金額の合計金額を算出するようにしてもよい。   By the way, based on the image data of the banknotes placed at a predetermined location acquired by the imaging unit 50, the total amount of banknotes is calculated, and the total amount of coins is added to the total amount of the banknotes. May be calculated.

各紙幣の金種を判別する場合には、上位制御部101が、画像データ上の紙幣面に印刷された金額情報、例えば「1000」、「5000」、「1000」等を判別すればよい。なお、紙幣を所定の場所に載置する場合には、例えば紙幣が扇状に載置されるようにしてもよい。また、紙幣を載置するための専用の吟味台や載置台を設けてもよいし、同じ吟味台又は載置台の中で、紙幣を載置する部分と硬貨を載置する部分とを分けて設けてもよい。   When discriminating the denomination of each bill, the upper control unit 101 may discriminate money amount information printed on the bill surface on the image data, for example, “1000”, “5000”, “1000”, and the like. In addition, when mounting a banknote in a predetermined place, you may make it load a banknote, for example in fan shape. Moreover, you may provide the exclusive examination table and mounting table for mounting a banknote, and in the same screening table or mounting table, the part which mounts a banknote, and the part which mounts a coin are divided. It may be provided.

また、上位制御部101は、撮像部50で取得された所定の場所に載置された紙幣の画像データに基づいて、紙幣の記番号を判別するようにしてよい。このように紙幣の記番号が判別された場合には、当該記番号は、登録装置300を介してサーバ400に送られ、サーバ記憶部405で記憶されて管理されてもよい。また、上位制御部101で紙幣の記番号が判別されると、サーバ記憶部405に予め記憶されている偽札の記番号や盗難紙幣の記番号といったブラックリスト上の記番号と照合されて、照合した結果、ブラックリストに載っている記番号である場合にはその旨が登録装置300の登録表示部351に表示されるようにしてもよい。   Further, the host control unit 101 may determine the serial number of the banknote based on the image data of the banknote placed at a predetermined location acquired by the imaging unit 50. Thus, when the serial number of a banknote is discriminate | determined, the said serial number may be sent to the server 400 via the registration apparatus 300, may be memorize | stored and managed by the server memory | storage part 405. When the serial number of the banknote is determined by the host control unit 101, the serial number is collated with a serial number on a black list such as a serial number of a fake bill or a serial number of a stolen banknote stored in the server storage unit 405 in advance. As a result, if the serial number is on the black list, that fact may be displayed on the registration display unit 351 of the registration device 300.

また、前述したような紙幣に関する情報だけではなく、上位制御部101は、撮像部50で取得された紙葉類やカードの画像データに基づいて、当該紙葉類やカードの情報を取得するようにしてもよい。例えば、商品券の金額情報、クーポン券の割引情報、会員カードの会員番号等を、撮像部50で取得された画像データに基づいて取得してもよい。   Moreover, not only the information regarding a banknote as mentioned above but the high-order control part 101 seems to acquire the information of the said paper sheet and card | curd based on the image data of the paper sheet and card | curd acquired by the imaging part 50. FIG. It may be. For example, the amount information of the gift certificate, the discount information of the coupon, the membership number of the membership card, and the like may be acquired based on the image data acquired by the imaging unit 50.

本実施の形態の紙幣に関しても、硬貨に関して述べたのと同様の態様を採用することができる。以下では、重複する記載となるから適宜省略しつつ説明する。   With respect to the banknote of the present embodiment, the same mode as described with respect to the coin can be adopted. Below, since it becomes the description which overlaps, it demonstrates omitting suitably.

本実施の形態では、上位制御部101が、撮像部50で取得された、所定の場所に載置された紙幣の画像データに基づいて、顧客が支払った紙幣の合計金額を算出するようになっていてもよい。   In the present embodiment, the upper control unit 101 calculates the total amount of banknotes paid by the customer based on the image data of banknotes placed in a predetermined place acquired by the imaging unit 50. It may be.

そして、上位制御部101は、上位制御部101が算出した紙幣の合計金額と、同じく上位制御部101が硬貨の画像データに基づいて算出した硬貨の合計金額とを足し合わせて預かり金額とし、当該預かり金額と登録装置300等から入力された売上金額とから釣銭金額を算出してもよい。なお、硬貨の合計金額に関しては、画像データに基づいて算出されることなく、硬貨識別部150による識別結果に基づいて算出されてもよい。   Then, the upper control unit 101 adds the total amount of banknotes calculated by the upper control unit 101 and the total amount of coins calculated by the upper control unit 101 based on the image data of coins as a deposit amount, The change amount may be calculated from the deposit amount and the sales amount input from the registration device 300 or the like. Note that the total amount of coins may be calculated based on the identification result by the coin identifying unit 150 without being calculated based on the image data.

上位制御部101は、撮像部50で取得された画像データに基づいて、前述したように紙幣面に印刷された金額情報や、場合によっては紙幣の大きさ、紙幣の色等によって、各紙幣の金種を判別するようになっていてもよい。また、紙幣の両面の模様を上位記憶部155等が記憶しており、上位制御部101は、上位記憶部155等で記憶されている模様と画像データ中の模様とを比較することで、画像データ中の紙幣の各々の金種を判別してもよい。このように金種が判別されると、判別した金種別枚数を合計することで紙幣の合計金額を算出することができる。   Based on the image data acquired by the imaging unit 50, the upper control unit 101 determines the amount of money printed on the banknote surface as described above, and depending on the size of the banknote, the color of the banknote, etc. You may come to discriminate denominations. Further, the patterns on both sides of the banknote are stored in the upper storage unit 155 or the like, and the upper control unit 101 compares the pattern stored in the upper storage unit 155 or the like with the pattern in the image data. You may discriminate | determine each denomination of the banknote in data. When the denomination is thus determined, the total amount of the banknotes can be calculated by summing the determined number of denominations.

撮像部50ではリアルタイムで画像データが取得されている。そして、上位制御部101は、撮像部50によりリアルタイムで取得される画像データに基づいて、画像データ内の紙幣の金種をリアルタイムで判別し、判別結果に基づく情報を登録装置300の登録表示部351及び/又は客側表示部356にリアルタイムで出力している。この判別結果に基づく情報は、画像データ、当該画像データに映っている紙幣の金種、画像データに映っている紙幣の合計金額、画像データに映っている紙幣の金種別枚数等が含まれていてもよい。登録装置300の登録表示部351及び/又は客側表示部356では、画像データ、当該画像データに映っている紙幣の金種、画像データに映っている紙幣の合計金額、画像データに映っている紙幣の金種別枚数等がリアルタイムで表示される。このため、顧客が所定の場所である載置部10に紙幣を足したり紙幣を取り除いたりすると、紙幣が足されたことや紙幣が取り除かれたこともリアルタイムで反映されて、登録装置300の登録表示部351及び/又は客側表示部356では、画像データに映っている紙幣の金種、紙幣の合計金額、紙幣の金種別枚数等がリアルタイムで変化する。   In the imaging unit 50, image data is acquired in real time. Then, the upper control unit 101 determines the denomination of the banknote in the image data in real time based on the image data acquired in real time by the imaging unit 50, and displays information based on the determination result in the registration display unit of the registration device 300. 351 and / or the customer display unit 356 in real time. The information based on the determination result includes image data, the denomination of banknotes reflected in the image data, the total amount of banknotes reflected in the image data, the number of denominations of banknotes reflected in the image data, and the like. May be. In the registration display unit 351 and / or the customer display unit 356 of the registration apparatus 300, the image data, the denomination of the banknote reflected in the image data, the total amount of banknotes reflected in the image data, and the image data are reflected. The number of denominations of banknotes is displayed in real time. For this reason, when a customer adds or removes banknotes to the placement unit 10 which is a predetermined place, the addition of banknotes or the removal of banknotes is reflected in real time, and the registration of the registration device 300 is performed. In the display unit 351 and / or the customer-side display unit 356, the denomination of the banknote reflected in the image data, the total amount of banknotes, the number of banknote denominations, and the like change in real time.

また、上位制御部101は、紙幣の画像データに基づいて紙幣の合計金額を算出し、硬貨の合計金額と紙幣の合計金額から預かり金額を算出し、当該預かり金額に基づいて入力された売上金額に対する釣銭金額又は不足金額を算出してもよい。この場合にも、リアルタイムで釣銭金額又は不足金額が登録装置300の登録表示部351及び/又は客側表示部356で表示され、釣銭金額又は不足金額に基づいて、顧客は紙幣を所定の場所である載置部10に追加したり紙幣を載置部10から取り除いたりすることができる。   Further, the upper control unit 101 calculates the total amount of banknotes based on the image data of banknotes, calculates the deposit amount from the total amount of coins and the total amount of banknotes, and the sales amount input based on the deposit amount A change amount or a shortage amount may be calculated. Also in this case, the change amount or the shortage amount is displayed in real time on the registration display unit 351 and / or the customer side display unit 356 of the registration device 300, and the customer can pay the banknote at a predetermined place based on the change amount or the shortage amount. It is possible to add to a certain placement unit 10 or remove a bill from the placement unit 10.

また、上位制御部101は、売上金額に基づいて載置部10に余分な紙幣が載置されているか否かをリアルタイムで判断してもよい。そして、売上金額に基づいて載置部10に余分な紙幣が載置されている場合には、登録装置300の登録表示部351及び/又は客側表示部356で余分な紙幣が載置部10に載置されていることが表示され、一例としては余分な紙幣を所定の形状で取り囲むとともに、余分である旨を表示してもよい。ちなみに、売上金額に基づいて載置部10に余分な紙幣が載置されている場合というのは、前述した硬貨の場合と同様、載置部10に載置された紙幣のうち、釣銭として払い出されうる紙幣が含まれている場合には、売上金額に基づいて載置部10に余分な紙幣が載置されていると判断されることになる。   Further, the upper control unit 101 may determine in real time whether or not an extra banknote is placed on the placement unit 10 based on the sales amount. Then, when an extra banknote is placed on the placement unit 10 based on the sales amount, the extra bill is placed on the placement unit 10 on the registration display unit 351 and / or the customer side display unit 356 of the registration device 300. Is displayed, and as an example, an extra banknote may be surrounded by a predetermined shape and a message indicating that it is extra may be displayed. Incidentally, the case where an extra banknote is placed on the placement unit 10 based on the sales amount is paid as change in the banknotes placed on the placement unit 10 as in the case of the above-described coins. When the banknote which can be taken out is contained, it will be judged that the excess banknote is mounted in the mounting part 10 based on the sales amount.

また、載置部10で紙幣が重なって配置されて紙幣の金額情報が隠れてしまっており、紙幣の金種を判別することができない場合には、登録装置300の登録表示部351、客側表示部356等の報知部でその旨が報知されてもよい。この場合には、紙幣が重なっている旨のメッセージが登録装置300の登録表示部351、客側表示部356等で表示されてもよいし、登録装置300の登録表示部351、客側表示部356等で紙幣が重なっている箇所が所定の形状で囲まれて表示されてもよい。   Moreover, when the money amount information of the banknote is hidden and the denomination of the banknote cannot be determined because the banknotes are overlapped and placed on the placement unit 10, the registration display unit 351 of the registration device 300, the customer side This may be notified by a notification unit such as the display unit 356. In this case, a message indicating that the banknotes are overlapping may be displayed on the registration display unit 351, the customer side display unit 356, or the like of the registration device 300, or the registration display unit 351, the customer side display unit of the registration device 300. A place where banknotes overlap at 356 or the like may be displayed surrounded by a predetermined shape.

上位制御部101は、撮像部50で取得された画像データに基づいて、紙幣以外の異物(例えば、ゴミ、クリップ、レシート、紙幣識別部250で識別できない外国紙幣等)をリアルタイムで検出するようになっていてもよい。そして、上位制御部101は、このように画像データに基づいて異物が検出された場合には、異物に関する情報を出力してもよい。異物に関する情報には、異物が存在する旨の情報だけではなく、異物が存在する場所、異物の大きさ、異物の種類に関する情報が含まれてもよい。ところで、汚損が激しい紙幣等も異物として検出される。   Based on the image data acquired by the imaging unit 50, the upper control unit 101 detects in real time foreign matters other than banknotes (for example, garbage, clips, receipts, foreign banknotes that cannot be identified by the banknote recognition unit 250). It may be. Then, when the foreign object is detected based on the image data as described above, the upper control unit 101 may output information on the foreign object. The information regarding the foreign object may include not only information indicating the presence of the foreign object but also information regarding the location where the foreign object exists, the size of the foreign object, and the type of the foreign object. By the way, banknotes and the like that are heavily soiled are also detected as foreign matters.

上位制御部101から異物に関する情報が出力されると、異物が載置部10に載っていることが登録装置300の登録表示部351及び/又は客側表示部356で表示される。   When information related to the foreign matter is output from the host control unit 101, the registration display unit 351 and / or the customer-side display unit 356 of the registration device 300 displays that the foreign matter is placed on the placement unit 10.

このように異物が載置部10に載っていることを表示する際には、メッセージが表示されてもよいし、異物の箇所が円形状や四角形状等の所定の形状で取り囲まれて登録装置300の登録表示部351及び/又は客側表示部356で表示されるようにしてもよい。また、異物の種類、例えば、ゴミ、クリップ、レシート、紙幣識別部250で識別できない外国紙幣等の種別が登録装置300の登録表示部351及び/又は客側表示部356で表示されてもよい。また、撮像用の照明が設けられている場合等には、当該照明の色が通常の場合から変化したり点滅したりする等して、異物が載置部10に載置されていることが報知されてもよい。   In this way, when displaying that the foreign object is placed on the placement unit 10, a message may be displayed, or the location of the foreign object is surrounded by a predetermined shape such as a circular shape or a rectangular shape, and the registration device You may make it display on 300 registration display parts 351 and / or the customer side display part 356. FIG. Further, the type of foreign matter, for example, the type of dust, clips, receipts, foreign bills that cannot be identified by the bill identifying unit 250, may be displayed on the registration display unit 351 and / or the customer side display unit 356 of the registration device 300. Further, when an illumination for imaging is provided, the foreign matter may be placed on the placement unit 10 because the color of the illumination changes or flashes from a normal case. You may be notified.

なお、画像データから異物が存在していると判断されている間は、画像データに基づいて算出された紙幣の合計金額について確定処理を受け付けないようにしてもよい。この場合には、載置部10から当該異物が除去された時点で、画像データに基づいて算出された紙幣の合計金額について確定処理が受け付けられることとなる。ちなみに、画像データから異物が存在していると判断されている間であっても、強制的に確定処理を行うことができるようにしてもよい。   Note that while it is determined from the image data that a foreign object is present, the confirmation process may not be accepted for the total amount of banknotes calculated based on the image data. In this case, when the foreign matter is removed from the placement unit 10, the finalization process is accepted for the total amount of banknotes calculated based on the image data. Incidentally, the determination process may be forcibly performed even while it is determined from the image data that there is a foreign object.

前述したように汚損が激しい紙幣等も異物として検出されることとなるが、このような事態に備えて、登録操作部352や操作表示部152から所定の入力(例えば加算許可入力)を行うことで、画像データに基づいて算出された紙幣の合計金額に、登録操作部352や操作表示部152から手入力した金種別枚数や合計金額を加算したものを紙幣の総合計金額として算出できるようにしてもよい。また、このような態様に限られることはなく、登録操作部352や操作表示部152から所定の入力(例えば加算許可入力)を行うことで、画像データに基づいて算出された紙幣の合計金額に、紙幣識別部250による識別結果に基づいて算出された紙幣の合計金額を加算したものを紙幣の総合計金額として算出できるようにしてもよい。この場合には、汚損が激しい紙幣をとりあえず紙幣処理装置200の紙幣受入部210内に投入し、紙幣識別部250で識別不可能としてリジェクトされた場合には、当該紙幣の金種別枚数や合計金額を手入力するようにしてもよい。   As described above, banknotes and the like that are heavily soiled are also detected as foreign matters. In preparation for such a situation, a predetermined input (for example, addition permission input) is performed from the registration operation unit 352 or the operation display unit 152. Thus, the total amount of banknotes calculated based on the image data plus the number of denominations and total amount manually entered from the registration operation unit 352 and the operation display unit 152 can be calculated as the total amount of banknotes. May be. Moreover, it is not restricted to such an aspect, By performing predetermined | prescribed input (for example, addition permission input) from the registration operation part 352 or the operation display part 152, it becomes the total amount of the banknote calculated based on image data. The total sum of the bills calculated based on the recognition result by the bill recognition unit 250 may be calculated as the total amount of the bills. In this case, if the banknote is heavily soiled for the time being inserted into the banknote receiving unit 210 of the banknote processing apparatus 200 and rejected by the banknote recognition unit 250 as being indistinguishable, the number of denominations and the total amount of the banknote May be entered manually.

紙幣制御部202は、紙幣識別部250による識別結果に基づいて紙幣受入部210で受け入れられた紙幣の合計金額を算出するようになっていてもよい。そして、撮像部50で取得された画像データに基づいて算出された紙幣の合計金額と、紙幣識別部250による識別結果に基づいて算出された合計金額とを比較するようになっていてもよい。そして、撮像部50で取得された画像データに基づいて算出された紙幣の合計金額と、紙幣識別部250による識別結果に基づいて算出された合計金額とが合致しない場合には、上位制御部101がその旨を出力するようにしてもよい。このように出力された情報に基づいて、登録装置300の登録表示部351及び/又は客側表示部356に、撮像部50で取得された画像データに基づいて算出された紙幣の合計金額と紙幣識別部250による識別結果に基づいて算出された合計金額とが合致しないことが表示(例えばアラーム表示)されてもよい。この際、登録表示部351及び/又は客側表示部356は、画像データに基づいて算出された紙幣の合計金額、紙幣識別部250による識別結果に基づいて算出された合計金額、画像データに基づいて算出された紙幣の合計金額と紙幣識別部250による識別結果に基づいて算出された合計金額との差分等を表示してもよい。また、報知部は、撮像部50で取得された画像データに基づいて算出された紙幣の合計金額と紙幣識別部250による識別結果に基づいて算出された合計金額とが合致しないこと、画像データに基づいて算出された紙幣の合計金額、紙幣識別部250による識別結果に基づいて算出された合計金額、画像データに基づいて算出された紙幣の合計金額と紙幣識別部250による識別結果に基づいて算出された合計金額との差分等を音声で報知してもよい。   The banknote control unit 202 may be configured to calculate the total amount of banknotes received by the banknote receiving unit 210 based on the identification result by the banknote identification unit 250. Then, the total amount of banknotes calculated based on the image data acquired by the imaging unit 50 may be compared with the total amount calculated based on the identification result by the banknote identification unit 250. If the total amount of banknotes calculated based on the image data acquired by the imaging unit 50 does not match the total amount calculated based on the identification result by the banknote recognition unit 250, the upper control unit 101 May output that fact. Based on the information output in this way, the total amount of banknotes and banknotes calculated based on the image data acquired by the imaging unit 50 in the registration display unit 351 and / or the customer-side display unit 356 of the registration device 300. It may be displayed (for example, an alarm display) that the total amount calculated based on the identification result by the identification unit 250 does not match. At this time, the registration display unit 351 and / or the customer display unit 356 are based on the total amount of banknotes calculated based on the image data, the total amount calculated based on the identification result by the banknote recognition unit 250, and the image data. The difference between the total amount of banknotes calculated and the total amount calculated based on the recognition result by the banknote recognition unit 250 may be displayed. Further, the notifying unit determines that the total amount of banknotes calculated based on the image data acquired by the imaging unit 50 and the total amount calculated based on the identification result by the banknote identifying unit 250 do not match the image data. Calculated based on the total amount of banknotes calculated based on the total amount of money calculated based on the identification result by the banknote recognition unit 250, the total amount of banknotes calculated based on the image data, and the identification result by the banknote identification unit 250 A difference from the total amount of money that has been performed may be notified by voice.

前述のように撮像部50で取得された画像データに基づいて算出された紙幣の合計金額と紙幣識別部250による識別結果に基づいて算出された合計金額とが合致しない場合には、紙幣識別部250による識別結果に基づいて算出された合計金額が正しく撮像部50で取得された画像データに基づいて算出された紙幣の合計金額が誤っていたものとして、逆に、撮像部50で取得された画像データに基づいて算出された紙幣の合計金額が正しく紙幣識別部250による識別結果に基づいて算出された合計金額が誤っていたものとして、判断されて処理されてもよい。この場合には、撮像部50で取得された画像データに基づいて算出された紙幣の合計金額及び紙幣識別部250による識別結果に基づいて算出された合計金額と、どちらを「正」として処理したかが登録記憶部305やサーバ記憶部405に記憶されてもよい。   When the total amount of banknotes calculated based on the image data acquired by the imaging unit 50 as described above does not match the total amount calculated based on the recognition result by the banknote recognition unit 250, the banknote recognition unit On the contrary, the total amount calculated based on the identification result by 250 was acquired by the imaging unit 50, assuming that the total amount of banknotes calculated based on the image data acquired by the imaging unit 50 was incorrect. The total amount of banknotes calculated based on the image data may be determined and processed as if the total amount calculated based on the recognition result by the banknote recognition unit 250 is incorrect. In this case, the total amount of banknotes calculated based on the image data acquired by the imaging unit 50 and the total amount calculated based on the identification result by the banknote recognition unit 250, which is processed as “positive”. May be stored in the registration storage unit 305 or the server storage unit 405.

また、撮像部50で取得された画像データに基づいて算出された紙幣の合計金額と紙幣識別部250による識別結果に基づいて算出された合計金額とが合致しない場合には、紙幣処理装置200で受け入れられた紙幣の全てを紙幣払出部290から返却するようにしてもよい。このような態様を採用することで、紙幣識別部250による識別結果に基づいて算出された合計金額が正しかったかを操作者が確認することができる。また、撮像部50で取得された画像データに基づいて算出された紙幣の合計金額と紙幣識別部250による識別結果に基づいて算出された合計金額とが合致しない場合には、上位制御部101が上位記憶部155又はサーバ記憶部405に記憶された当該取引の画像データを読み出し、当該画像データを登録装置300の登録表示部351に表示させてもよい。このような態様を採用することで、画像データに基づいて算出された合計金額が正しかったかを操作者が確認することができる。   When the total amount of banknotes calculated based on the image data acquired by the imaging unit 50 and the total amount calculated based on the identification result by the banknote recognition unit 250 do not match, the banknote processing apparatus 200 You may make it return all the accepted banknotes from the banknote discharge part 290. FIG. By adopting such an aspect, the operator can check whether the total amount calculated based on the identification result by the banknote identification unit 250 is correct. When the total amount of banknotes calculated based on the image data acquired by the imaging unit 50 and the total amount calculated based on the identification result by the banknote recognition unit 250 do not match, the host control unit 101 The image data of the transaction stored in the upper storage unit 155 or the server storage unit 405 may be read and the image data may be displayed on the registration display unit 351 of the registration apparatus 300. By adopting such an aspect, the operator can check whether the total amount calculated based on the image data is correct.

また、前述のように撮像部50で取得された画像データに基づいて算出された紙幣の合計金額と紙幣識別部250による識別結果に基づいて算出された合計金額とが合致しない場合には、撮像部50で取得された画像データに基づいて算出された紙幣の合計金額又は紙幣識別部250による識別結果に基づいて算出された合計金額のいずれかが修正されるか、強制終了されるまでは、新規の取引を受け付けないようにしてもよい。   In addition, when the total amount of banknotes calculated based on the image data acquired by the imaging unit 50 as described above does not match the total amount calculated based on the identification result by the banknote recognition unit 250, imaging is performed. Until either the total amount of banknotes calculated based on the image data acquired by the unit 50 or the total amount calculated based on the identification result by the banknote recognition unit 250 is corrected or forcibly terminated, New transactions may not be accepted.

ところで、画像データに基づいて算出された紙幣の合計金額について確定処理がなされることなく紙幣が紙幣処理装置200の紙幣受入部210で受け入れられたときには、画像データに基づいて紙幣の合計金額を算出することなく、紙幣処理装置200の紙幣識別部250による識別結果に基づいて算出された合計金額のみを用いてもよい。   By the way, when a banknote is received by the banknote receiving unit 210 of the banknote processing apparatus 200 without performing a finalizing process on the total banknote amount calculated based on the image data, the total banknote amount is calculated based on the image data. Without doing, you may use only the total amount calculated based on the recognition result by the bill recognition part 250 of bill processing device 200. FIG.

なお、紙幣に関しても、撮像部50で取得された画像データに基づいて載置部10に載置された紙幣の合計金額を算出し、当該合計金額を利用してICカードや携帯電話等に対する電子マネーのチャージを行うようにしてもよい。   In addition, regarding the banknote, the total amount of the banknote placed on the placement unit 10 is calculated based on the image data acquired by the imaging unit 50, and the electronic money for the IC card, the mobile phone, etc. is calculated using the total amount. You may make it charge money.

カメラ等からなる撮像部50は、紙幣が載置される載置部10を上方から撮像してもよいが、紙幣が載置される載置部10の載置面が透明になっている態様を採用した場合には、撮像部50を載置面の下方に載置し、透明な載置面を介して、載置部10に載置された紙幣の画像データを取得するようにしてもよい。   Although the imaging part 50 which consists of a camera etc. may image the mounting part 10 in which a banknote is mounted from upper direction, the aspect in which the mounting surface of the mounting part 10 in which a banknote is mounted is transparent. Is used, the imaging unit 50 is placed below the placement surface, and the image data of the banknote placed on the placement unit 10 is acquired via the transparent placement surface. Good.

また、硬貨の場合と同様、載置部10の載置面が例えばLCD等の表示画面18となっていてもよい。この場合に採用されうる態様は、硬貨において説明したとおりである。   As in the case of coins, the placement surface of the placement unit 10 may be a display screen 18 such as an LCD. The modes that can be adopted in this case are as described in the coins.

また、紙幣処理装置200とは全く別の場所で、紙幣の画像データを取得するようにしてもよい。この場合には、複数の撮像部50に対して1台の紙幣処理装置200が設置されるようにしてもよく、紙幣処理装置200をあくまでも紙幣の金種別枚数を再確認したり紙幣を保管したりするために用い、撮像部50で撮像された画像データに基づいて、一般的な取引が行われるようにしてもよい。   Moreover, you may make it acquire the image data of a banknote in the place completely different from the banknote processing apparatus 200. FIG. In this case, one banknote processing apparatus 200 may be installed for a plurality of imaging units 50, and the banknote processing apparatus 200 may reconfirm the number of denominations of banknotes or store banknotes. General transaction may be performed based on image data captured by the imaging unit 50.

また、ドル、ユーロ、元、ウォン等の所定の外国紙幣を識別するための情報と、当該外国紙幣に対する為替レートとを上位記憶部155等に記憶させておくことで、外国紙幣をそのまま支払いに用いるようにしていてもよい。また、この場合には、複数の外国紙幣が入り交じっていてもよく、例えば日本円の紙幣とUSドルの紙幣とを混合して支払いに用いた場合であっても、日本円にしていくらの金額であるのかを算出することができる。ちなみに、このように外国紙幣でそのまま支払いを行う場合には、紙幣識別部250を別途開発することなく、紙幣識別部250によって紙幣の識別を行わないようにしたり、紙幣識別部250で紙幣の識別を行うものの日本円以外の紙幣はリジェクト紙幣として取り扱い、別途保管するようにしてもよい。   Further, by storing information for identifying a predetermined foreign banknote such as dollar, euro, yuan, won, etc. and the exchange rate for the foreign banknote in the upper storage unit 155 or the like, the foreign banknote can be paid as it is. It may be used. Also, in this case, a plurality of foreign banknotes may be mixed, for example, even if a Japanese yen banknote and a US dollar banknote are mixed and used for payment, It is possible to calculate whether it is a monetary amount. By the way, when paying with a foreign banknote as it is, the banknote identification section 250 does not identify the banknote without separately developing the banknote identification section 250, or the banknote identification section 250 identifies the banknote. However, banknotes other than Japanese yen may be handled as reject banknotes and stored separately.

《登録装置300》
次に、本実施の形態の登録装置300の構成について説明する。登録装置300の代表的な例はPOSレジスタやテラーズマシンである。この登録装置300では、商品の購入情報を登録したり、売上金額の算出、顧客から受け取った受取金額の算出及び釣銭金額の算出を行ったり、硬貨処理装置100や紙幣処理装置200に対して指令を入力して、釣銭の支払いを行わせたりするようになっている。なお、登録装置300は、硬貨処理装置100や紙幣処理装置200に対して指令を入力して、硬貨や紙幣の精査処理、回収処理等を行わせるようになっていてもよい。
<< Registration Device 300 >>
Next, the configuration of registration apparatus 300 according to the present embodiment will be described. A typical example of the registration device 300 is a POS register or a Terras machine. The registration device 300 registers product purchase information, calculates a sales amount, calculates a received amount received from a customer, calculates a change amount, and instructs the coin processing device 100 and the bill processing device 200. To change payments. In addition, the registration apparatus 300 may be configured to input a command to the coin processing apparatus 100 or the banknote processing apparatus 200 to perform a coin or banknote review process, a recovery process, and the like.

図4に示すように、登録装置300の登録制御部302は、硬貨処理装置100の上位制御部101に通信接続されるとともに、サーバ400にも通信接続されている。そして、この登録制御部302は、硬貨処理装置100の上位制御部101を介して硬貨制御部102及び紙幣制御部202に指令を送り、この結果、硬貨処理装置100に対して硬貨の入金処理、出金処理、精査処理、回収処理等を行わせ、紙幣処理装置200に対して紙幣の入金処理、出金処理、精査処理、回収処理等を行わせるようになっている。また、登録制御部302は、硬貨制御部102及び紙幣制御部202から、上位制御部101を介して、硬貨制御部102及び紙幣制御部202における硬貨及び紙幣の処理状況や在高に係る情報を受け取るようになっている。   As shown in FIG. 4, the registration control unit 302 of the registration device 300 is communicatively connected to the host control unit 101 of the coin processing device 100 and is also communicatively connected to the server 400. Then, the registration control unit 302 sends a command to the coin control unit 102 and the banknote control unit 202 via the host control unit 101 of the coin processing apparatus 100, and as a result, a coin deposit process to the coin processing apparatus 100, A withdrawal process, a scrutiny process, a recovery process, and the like are performed, and the banknote processing apparatus 200 is configured to perform a banknote deposit process, a withdrawal process, a scrutiny process, a collection process, and the like. In addition, the registration control unit 302 receives information on the processing status and cash amount of coins and banknotes in the coin control unit 102 and the banknote control unit 202 from the coin control unit 102 and the banknote control unit 202 via the host control unit 101. It is supposed to receive.

図1に示すように、登録装置300は、レジ係等の操作者が操作することのできる登録操作部352と、商品の取引状況、硬貨処理装置100における硬貨の処理状況、紙幣処理装置200における紙幣の処理状況、硬貨処理装置100の内部に収納された硬貨の在高、紙幣処理装置200の内部に収納された紙幣の在高等を表示する登録表示部351と、を備えている。そして、操作者は、登録操作部352を介して登録制御部302(図5参照)に対して様々な指令を与えることができるようになっている。ちなみに、本実施の形態では登録表示部351は単に情報を表示するものとして説明するが、これに限られることはなく、登録表示部351はタッチパネル等からなり、登録操作部352としての機能を果たしてもよい。   As shown in FIG. 1, the registration device 300 includes a registration operation unit 352 that can be operated by an operator such as a cashier, a transaction status of a product, a coin processing status in the coin processing device 100, and a bill processing device 200. A registration display unit 351 for displaying the processing status of banknotes, the amount of coins stored in the coin processing apparatus 100, the amount of banknotes stored in the banknote processing apparatus 200, and the like. The operator can give various commands to the registration control unit 302 (see FIG. 5) via the registration operation unit 352. Incidentally, in the present embodiment, the registration display unit 351 is described as merely displaying information. However, the present invention is not limited to this, and the registration display unit 351 includes a touch panel or the like and functions as the registration operation unit 352. Also good.

なお、登録装置300は、クレジットカード等の各種カードを読み取るカードリーダ360と、プリンタ等からなる印刷部370も有している。なお、登録表示部351で表示されるあらゆる情報や登録記憶部305で記憶されているあらゆる情報は、当該印刷部370で印字することができるようになっている。なお、カードリーダ360では、ICカード、タグ、携帯電話等の媒体に記録され情報を読み取ることができてもよい。   The registration apparatus 300 also includes a card reader 360 that reads various cards such as a credit card, and a printing unit 370 that includes a printer or the like. Note that any information displayed on the registration display unit 351 and any information stored in the registration storage unit 305 can be printed by the printing unit 370. Note that the card reader 360 may be able to read information recorded on a medium such as an IC card, a tag, or a mobile phone.

図4に示すように、登録装置300の登録制御部302には、客側表示部356、カードリーダ360、プリンタ等からなる印刷部370、登録表示部351、登録操作部352、登録記憶部305、インターフェース332等がそれぞれ接続されている。そして、登録制御部302は、客側表示部356、カードリーダ360、印刷部370、登録表示部351、登録操作部352、登録記憶部305、インターフェース332等と信号の送受信を行い、これらを制御するように構成されている。   As shown in FIG. 4, the registration control unit 302 of the registration apparatus 300 includes a customer display unit 356, a card reader 360, a printing unit 370 including a printer, a registration display unit 351, a registration operation unit 352, and a registration storage unit 305. , Interface 332 and the like are connected to each other. The registration control unit 302 transmits / receives signals to / from the customer display unit 356, the card reader 360, the printing unit 370, the registration display unit 351, the registration operation unit 352, the registration storage unit 305, the interface 332, and the like. Is configured to do.

ところで、本実施の形態の貨幣処理装置は音声認識部30を有していてよい。このような場合には、例えばレジ係等の操作者が口頭で発した預かり金額に関する情報(「○○円、お預かりします。」)が音声認識部30で認識され、その認識結果と、画像データに基づいて算出された硬貨の合計金額及び/又は紙幣の合計金額等に基づいて算出された預かり金額の合計金額とが合致しているかが照合されてもよい。また、音声認識部30で認識された預かり金額に関する情報が、画像データに基づいて算出された硬貨の合計金額及び/又は紙幣の合計金額等に基づいて算出された預かり金額の合計金額と合致していない場合には、登録装置300の登録表示部351、客側表示部356等の報知部でその旨が報知されてもよい。   By the way, the money handling apparatus of the present embodiment may include the voice recognition unit 30. In such a case, for example, information related to the deposit amount verbally issued by an operator such as a cashier (“XX yen, we will keep it”) is recognized by the voice recognition unit 30, and the recognition result and It may be verified whether the total amount of coins calculated based on the image data and / or the total amount of deposits calculated based on the total amount of banknotes and the like match. Further, the information related to the deposit amount recognized by the voice recognition unit 30 matches the total amount of the deposit amount calculated based on the total amount of coins and / or the total amount of bills calculated based on the image data. If not, the notification unit such as the registration display unit 351 and the customer side display unit 356 of the registration device 300 may notify the fact.

なお、上位記憶部155、硬貨記憶部105、紙幣記憶部205、登録記憶部305及びサーバ記憶部405の他にも、外部装置に外部記憶部(図示せず)が設けられていてもよい。また、上位制御部101、硬貨制御部102、紙幣制御部202及び登録制御部302の他にも、外部装置に外部制御部(図示せず)が設けられていてもよい。また、操作表示部152、ボタン式操作部153及び登録操作部352の他にも、外部装置に外部操作部(図示せず)が設けられていてもよい。また、操作表示部152、登録表示部351及び客側表示部356の他にも、外部装置に外部表示部(図示せず)が設けられていてもよい。   In addition to the upper storage unit 155, the coin storage unit 105, the banknote storage unit 205, the registration storage unit 305, and the server storage unit 405, an external storage unit (not shown) may be provided in the external device. In addition to the upper control unit 101, the coin control unit 102, the banknote control unit 202, and the registration control unit 302, an external control unit (not shown) may be provided in the external device. In addition to the operation display unit 152, the button type operation unit 153, and the registration operation unit 352, an external operation unit (not shown) may be provided in the external device. In addition to the operation display unit 152, the registration display unit 351, and the customer side display unit 356, an external display unit (not shown) may be provided in the external device.

ちなみに、本実施の形態では、上位記憶部155、硬貨記憶部105、紙幣記憶部205、登録記憶部305、サーバ記憶部405及び外部記憶部のいずれか一つで果たされる機能は、上位記憶部155、硬貨記憶部105、紙幣記憶部205、登録記憶部305、サーバ記憶部405及び外部記憶部の別の一つで果たされてもよい。また、上位制御部101、硬貨制御部102、紙幣制御部202、登録制御部302及び外部制御部のいずれか一つで果たされる機能は、上位制御部101、硬貨制御部102、紙幣制御部202、登録制御部302及び外部制御部の別の一つで果たされてもよい。また、操作表示部152、ボタン式操作部153、登録操作部352及び外部操作部のいずれか一つで果たされる機能は、操作表示部152、ボタン式操作部153、登録操作部352及び外部操作部の別の一つで果たされてもよい。また、操作表示部152、登録表示部351、客側表示部356及び外部表示部のいずれか一つで果たされる機能は、操作表示部152、登録表示部351、客側表示部356及び外部表示部の別の一つで果たされてもよい。   Incidentally, in the present embodiment, the function performed by any one of the upper storage unit 155, the coin storage unit 105, the banknote storage unit 205, the registration storage unit 305, the server storage unit 405, and the external storage unit is the upper storage unit. 155, another one of the coin storage unit 105, the bill storage unit 205, the registration storage unit 305, the server storage unit 405, and the external storage unit. In addition, the functions performed by any one of the upper control unit 101, the coin control unit 102, the banknote control unit 202, the registration control unit 302, and the external control unit are the upper control unit 101, the coin control unit 102, and the banknote control unit 202. It may be performed by another one of the registration control unit 302 and the external control unit. The function performed by any one of the operation display unit 152, the button type operation unit 153, the registration operation unit 352, and the external operation unit is the operation display unit 152, the button type operation unit 153, the registration operation unit 352, and the external operation unit. May be fulfilled by another part of the department. The function performed by any one of the operation display unit 152, the registration display unit 351, the customer side display unit 356, and the external display unit is the operation display unit 152, the registration display unit 351, the customer side display unit 356, and the external display. May be fulfilled by another part of the department.

以下では、上位記憶部155、硬貨記憶部105、紙幣記憶部205、登録記憶部305、サーバ記憶部405及び外部記憶部のいずれか一つ以上を示す用語として「記憶部505」を用いる。また、上位制御部101、硬貨制御部102、紙幣制御部202、登録制御部302及び外部制御部のいずれか一つ以上を示す用語として「制御部502」を用いる。また、操作表示部152、ボタン式操作部153、登録操作部352及び外部操作部のいずれか一つ以上を示す用語として「操作部552」を用いる。また、操作表示部152、登録表示部351、客側表示部356及び外部表示部のいずれか一つ以上を示す用語として「表示部551」を用いる。   Hereinafter, “storage unit 505” is used as a term indicating one or more of the upper storage unit 155, the coin storage unit 105, the banknote storage unit 205, the registration storage unit 305, the server storage unit 405, and the external storage unit. Further, “control unit 502” is used as a term indicating any one or more of the upper control unit 101, the coin control unit 102, the banknote control unit 202, the registration control unit 302, and the external control unit. Further, “operation unit 552” is used as a term indicating any one or more of the operation display unit 152, the button type operation unit 153, the registration operation unit 352, and the external operation unit. Further, “display unit 551” is used as a term indicating any one or more of the operation display unit 152, the registration display unit 351, the customer side display unit 356, and the external display unit.

《方法(作用)》
次に、本実施の形態の貨幣処理システムを用いた貨幣処理方法について説明する。以下では、一例として、硬貨に関しては、区分け部15を有する吟味台14aに載置された硬貨の画像データに基づいてその合計金額を算出し、紙幣に関しては、紙幣識別部250によって識別計数された結果に基づいてその合計金額を算出する態様を用いて説明する。しかしながら、これに限られることはなく、例えば、紙幣に関しても、所定の場所に載置された紙幣の画像データに基づいてその合計金額を算出するようにしてもよいし、硬貨に関して硬貨識別部150によって識別計数された結果に基づいてその合計金額を算出するとともに紙幣に関して所定の場所に載置された紙幣の画像データに基づいてその合計金額を算出するようにしてもよい。
<< Method (action) >>
Next, a money handling method using the money handling system of the present embodiment will be described. In the following, as an example, for coins, the total amount is calculated based on the image data of the coins placed on the examination table 14 a having the sorting unit 15, and the bills are identified and counted by the bill recognition unit 250. A description will be given using an aspect of calculating the total amount based on the result. However, the present invention is not limited to this. For example, with respect to banknotes, the total amount may be calculated based on image data of banknotes placed at a predetermined place. The total amount of money may be calculated based on the result of identification and counting, and the total amount of money may be calculated based on the image data of the banknote placed in a predetermined place with respect to the banknote.

まず、商品に印刷されたり貼り付けられたりしているバーコード情報等が登録操作部352に含まれるバーコードリーダ(読取部)で読み取られて、商品の登録が行われる(図15(a)参照)。その結果、顧客が購入した商品の売上金額が算出されて(図15(a)では「商品額入力」として示されている。)、例えば小計ボタンが押下されて最終的な売上金額が確定される(図15(a)参照:図15(a)では「小計押下」として示されている。)。なお、図15(a)−図15(d)において、矢印の終端は、操作者が行った操作に対して、対応する処理を行う部材や対応する処理が行われる部材を示している。   First, barcode information or the like printed or pasted on a product is read by a barcode reader (reading unit) included in the registration operation unit 352, and the product is registered (FIG. 15A). reference). As a result, the sales amount of the product purchased by the customer is calculated (indicated as “product amount input” in FIG. 15A). For example, the final sales amount is determined by pressing the subtotal button. (Refer to FIG. 15A: In FIG. 15A, this is indicated as “subtotal press”). 15A to 15D, the end of the arrow indicates a member that performs a corresponding process or a member that performs a corresponding process for an operation performed by the operator.

次に、顧客が売上金額に対応した貨幣を支払う。   Next, the customer pays money corresponding to the sales amount.

この際、硬貨(例えば、100円硬貨×1枚+500円硬貨×1枚)は顧客又はレジ係等の操作者によって吟味台14a上に載置される(図15(a)参照)。このように硬貨が吟味台14a上に載置されると、操作者や顧客等が硬貨を吟味台14aに沿ってならすことで、区分け部15の区画内に硬貨が1枚だけ載置され、各硬貨が分離されることになる。このように吟味台14a上に載置された硬貨の画像データが撮像部50によってリアルタイムで取得される(図15(b)参照)。そして、制御部502は、当該画像データに基づいて、画像データ内の硬貨の金種をリアルタイムで判別し、判別結果に基づく情報を登録装置300の登録表示部351及び客側表示部356にリアルタイムで出力する。この判別結果に基づく情報には、例えば、画像データ、当該画像データに映っている硬貨の金種、画像データに映っている硬貨の合計金額、画像データに映っている硬貨の金種別枚数、画像データに映っている硬貨の合計金額と紙幣の合計金額とを合算した預かり金額、釣銭金額又は不足金額等が含まれている。なお、紙幣の合計金額及び預かり金額は、紙幣識別部250による識別結果が算出された時点で表示されるようにしてもよい。   At this time, a coin (for example, 100 yen coin × 1 piece + 500 yen coin × 1 piece) is placed on the examination table 14a by an operator such as a customer or a cashier (see FIG. 15A). When the coins are placed on the examination table 14a in this way, an operator, a customer, or the like places the coins along the examination table 14a, so that only one coin is placed in the section of the sorting unit 15, Each coin will be separated. Thus, the image data of the coin placed on the examination table 14a is acquired in real time by the imaging unit 50 (see FIG. 15B). Then, based on the image data, the control unit 502 discriminates the denomination of the coin in the image data in real time, and information based on the discrimination result is displayed on the registration display unit 351 and the customer side display unit 356 of the registration device 300 in real time. To output. The information based on the determination result includes, for example, image data, the denomination of coins reflected in the image data, the total amount of coins reflected in the image data, the number of coins denominated in the image data, the image The total amount of coins reflected in the data and the total amount of banknotes are included in the deposit amount, change amount or shortage amount. Note that the total amount of banknotes and the deposit amount may be displayed when the identification result by the banknote identification unit 250 is calculated.

他方、顧客から差し出された紙幣(例えば、1000円紙幣×1枚)は、レジ係等の操作者によって紙幣処理装置200の紙幣受入部210に投入され、その後、紙幣筐体203内に繰り出される。そして、このように紙幣筐体203内に紙幣が繰り出されると、紙幣搬送部220によって当該紙幣は搬送されつつ紙幣識別部250によってその金種が識別されて、顧客から差し出された紙幣の合計金額が算出される(図15(b)参照)。なお、紙幣搬送部220によって搬送された紙幣はリジェクト紙幣でない限り紙幣収納部260まで搬送されて、当該紙幣収納部260内に収納されることとなる。   On the other hand, a banknote (for example, 1000 yen banknote × 1 sheet) presented by a customer is inserted into the banknote receiving unit 210 of the banknote processing apparatus 200 by an operator such as a cashier, and then fed out into the banknote housing 203. It is. And when a banknote is drawn out in the banknote housing | casing 203 in this way, the banknote identification part 250 will identify the denomination while the said banknote is conveyed by the banknote conveyance part 220, and the sum total of the banknote presented by the customer. The amount is calculated (see FIG. 15B). In addition, the banknote conveyed by the banknote conveyance part 220 will be conveyed to the banknote accommodating part 260, unless it is a reject banknote, and will be accommodated in the said banknote accommodating part 260. FIG.

預かり金額に問題がないようであれば、操作者が操作部552から取引を確定する旨の入力を行う(図15(c)参照:図15(c)では「現計押下」として示されている。)。この際、操作者が登録操作部352から取引を確定する旨の入力を行ってもよいが、客側表示部356がタッチパネル等からなっている場合には、顧客が当該客側表示部356の確認ボタンを押下することで取引を確定する旨の入力を行ってもよい。このように取引を確定する旨の入力が行われると、顧客からの預かり金額の合計金額が確定する。   If there is no problem with the deposit amount, the operator makes an input to confirm the transaction from the operation unit 552 (see FIG. 15C: shown as “actual press” in FIG. 15C). Yes.) At this time, the operator may input from the registration operation unit 352 to confirm the transaction. However, if the customer side display unit 356 is a touch panel or the like, the customer An input to confirm the transaction may be performed by pressing the confirmation button. When the input for confirming the transaction is performed in this way, the total amount of the deposit amount from the customer is confirmed.

預かり金額の合計金額の確定後、必要な場合には、硬貨処理装置100及び/又は紙幣処理装置200から釣銭が出金される。このように釣銭が出金される場合には、レジ係等の操作者が当該釣銭を硬貨処理装置100及び/又は紙幣処理装置200から抜き取り(図15(c)参照)、顧客に手渡すことで取引が終了する。   After determining the total amount of deposit, change is withdrawn from the coin processing device 100 and / or the banknote processing device 200, if necessary. Thus, when change is withdrawn, an operator such as a cashier extracts the change from the coin processing apparatus 100 and / or the banknote processing apparatus 200 (see FIG. 15C) and hands it to the customer. The transaction ends.

その後で、吟味台14a上の硬貨が硬貨処理装置100の硬貨受入部110に投入され(図15(d)参照)、その後、硬貨筐体103内に繰り出される。そして、このように硬貨筐体103内に硬貨が繰り出されると、入金硬貨搬送部120によって当該硬貨は搬送されつつ硬貨識別部150によってその金種が識別されて、その合計金額が算出され、画像データに基づいて算出された硬貨の合計金額と比較される。なお、入金硬貨搬送部120によって搬送された硬貨はリジェクト硬貨でない限り硬貨収納部160まで搬送されて、当該硬貨収納部160内に収納されることとなる。   Thereafter, the coins on the examination table 14 a are inserted into the coin receiving unit 110 of the coin processing apparatus 100 (see FIG. 15D), and then fed out into the coin housing 103. Then, when the coin is fed into the coin housing 103 in this way, the coin type is identified by the coin identifying unit 150 while the coin is being conveyed by the deposit coin conveying unit 120, and the total amount is calculated. It is compared with the total amount of coins calculated based on the data. Note that the coins conveyed by the deposited coin conveyance unit 120 are conveyed to the coin storage unit 160 and stored in the coin storage unit 160 as long as they are not reject coins.

吟味台14a上の硬貨を硬貨受入部110に投入する際には、シュート20がある場合には、シュート20に沿って硬貨を流せばよいし、第一部材11に対して開閉可能な第二部材12が設けられている場合には、手動又は自動で第二部材12を第一部材11に対して開状態としてやればよい。その他の変形例については、「構成」で述べたとおりであるので、ここでは省略する。   When the coin on the examination table 14a is inserted into the coin receiving unit 110, if there is a chute 20, the coin may be flowed along the chute 20, and the second member that can be opened and closed with respect to the first member 11. When the member 12 is provided, the second member 12 may be opened with respect to the first member 11 manually or automatically. Other modifications are as described in “Configuration”, and are omitted here.

そして、撮像部50で取得された画像データに基づいて算出された硬貨の合計金額と、硬貨識別部150による識別結果に基づいて算出された合計金額とが合致する場合には、そのまま、当該取引に関する処理は終了される。   If the total amount of coins calculated based on the image data acquired by the imaging unit 50 matches the total amount calculated based on the identification result by the coin identifying unit 150, the transaction is performed as it is. The process related to is terminated.

他方、撮像部50で取得された画像データに基づいて算出された硬貨の合計金額と、硬貨識別部150による識別結果に基づいて算出された合計金額とが合致しない場合には、制御部502がその旨を出力するようにしてもよい。このように出力された情報に基づいて、登録表示部351、客側表示部356等を含む報知部で、撮像部50で取得された画像データに基づいて算出された硬貨の合計金額と硬貨識別部150による識別結果に基づいて算出された合計金額とが合致しないことが報知されてもよい。また、硬貨識別部150による識別結果に基づいて算出された合計金額が正しく硬貨識別部150による識別結果に基づいて算出された合計金額が誤っていたものとして、逆に、硬貨識別部150による識別結果に基づいて算出された合計金額が正しく硬貨識別部150による識別結果に基づいて算出された合計金額が誤っていたものとして、判断されて処理されてもよい。この場合には、撮像部50で取得された画像データに基づいて算出された硬貨の合計金額及び硬貨識別部150による識別結果に基づいて算出された合計金額と、どちらを「正」として処理したかが記憶部505に記憶されてもよい。   On the other hand, when the total amount of coins calculated based on the image data acquired by the imaging unit 50 and the total amount calculated based on the identification result by the coin identifying unit 150 do not match, the control unit 502 You may make it output that. Based on the information output in this way, the total amount of coins and the coin identification calculated based on the image data acquired by the imaging unit 50 in the notification unit including the registration display unit 351, the customer side display unit 356, and the like. It may be notified that the total amount calculated based on the identification result by unit 150 does not match. In addition, the total amount calculated based on the identification result by the coin identifying unit 150 is correct and the total amount calculated based on the identification result by the coin identifying unit 150 is wrong, and conversely, the identification by the coin identifying unit 150 is performed. The total amount calculated based on the result may be determined and processed as if the total amount calculated based on the identification result by the coin identifying unit 150 was incorrect. In this case, the total amount of coins calculated based on the image data acquired by the imaging unit 50 and the total amount calculated based on the identification result by the coin identifying unit 150 are processed as “positive”. May be stored in the storage unit 505.

また、撮像部50で取得された画像データに基づいて算出された硬貨の合計金額と、硬貨識別部150による識別結果に基づいて算出された合計金額とが合致しない場合には、記憶部505に記憶された当該取引の画像データを読み出し、当該画像データを登録表示部351に表示させてもよい。また、硬貨処理装置100で受け入れられた硬貨の全てを硬貨払出部190から返却するようにしてもよい。これらの場合には、撮像部50で取得された画像データに基づいて算出された硬貨の合計金額若しくは硬貨識別部150による識別結果に基づいて算出された合計金額のいずれかが修正されるか、又は、当該取引が強制的に終了されることで、当該取引に関する処理は終了される。   If the total amount of coins calculated based on the image data acquired by the imaging unit 50 and the total amount calculated based on the identification result by the coin identifying unit 150 do not match, the storage unit 505 The stored image data of the transaction may be read, and the image data may be displayed on the registration display unit 351. Further, all the coins accepted by the coin processing apparatus 100 may be returned from the coin dispensing unit 190. In these cases, either the total amount of coins calculated based on the image data acquired by the imaging unit 50 or the total amount calculated based on the identification result by the coin identifying unit 150 is corrected, Or the process regarding the said transaction is complete | finished by the said transaction being forcedly complete | finished.

重複する記載となるため省略したが、前記では述べていない内容であっても「構成」で述べた内容を「方法」に適宜採用することができる点には留意が必要である。   Although omitted because it is an overlapping description, it should be noted that the contents described in “Configuration” can be appropriately adopted in the “method” even if the contents are not described above.

ここで、図15(a)−図15(d)の各工程に対応する硬貨処理装置100の表示画面の例を図16に示す。本例では、硬貨の画像データが撮像部50によって取得される前の時点(図15(a)参照)においては、硬貨処理装置100内に収容されている貨幣の量(機内在高)の大まかな状況が金種別に示されている(図16(a)の表示状態)。売上金額が確定すると、登録装置から売上金額(例えば、1530円)が取得される。   Here, FIG. 16 shows an example of the display screen of the coin processing device 100 corresponding to each step of FIG. 15 (a) to FIG. 15 (d). In this example, at the point in time before the image data of coins is acquired by the imaging unit 50 (see FIG. 15A), the amount of money (in-flight balance) accommodated in the coin processing device 100 is roughly. The situation is shown for each denomination (display state in FIG. 16A). When the sales amount is confirmed, the sales amount (for example, 1530 yen) is acquired from the registration device.

そして、硬貨の画像データが撮像部50によって取得されると(図15(b)参照)、画像データ内の硬貨の金種がリアルタイムで判別され、画像データ内の硬貨の合計金額が「カルトン計数」という欄に表示される(図16(b)の表示状態)。本例では、画像データ内の硬貨は、500円硬貨が1枚、100円硬貨が1枚である(図16(d)の表示状態参照)。また、紙幣処理装置200に投入された紙幣(例えば、1000円紙幣×1枚)の金額情報が「つり銭機計数」という欄に表示される。   When the image data of the coin is acquired by the imaging unit 50 (see FIG. 15B), the denomination of the coin in the image data is discriminated in real time, and the total amount of the coin in the image data is calculated as “Calton Count”. "(Display state of FIG. 16B). In this example, the coins in the image data are one 500-yen coin and one 100-yen coin (see the display state in FIG. 16D). Further, the amount information of the banknotes inserted into the banknote handling apparatus 200 (for example, 1000 yen banknotes × 1 sheet) is displayed in a column “Change Machine Count”.

そして、操作者が例えば操作部552から取引を確定する旨の入力を行うことで、預かり金額が確定する(図15(c)参照)。本例の売上金額は、1530円である。これらのデータに基づいて、硬貨制御部102は、画像データ内の硬貨と入金された紙幣の合計金額(1600円)と売上金額(1530円)とから釣銭金額(70円)を算出し、表示部に表示させ(図16(c)の表示状態参照)、出金させる(50円硬貨が1枚、10円硬貨が2枚)。   Then, for example, when the operator inputs to confirm the transaction from the operation unit 552, the deposit amount is confirmed (see FIG. 15C). The sales amount in this example is 1530 yen. Based on these data, the coin control unit 102 calculates the change amount (70 yen) from the total amount (1600 yen) and the sales amount (1530 yen) of the coins and banknotes received in the image data, and displays them. Display (see the display state in FIG. 16C) and withdraw money (one 50-yen coin and two 10-yen coins).

顧客との精算処理は、以上の工程で一応完了しているが、画像データにおいて生じ得るエラー(例えば貨幣が重なり合っていたり、貨幣の変色の程度が大きかったり、外光の影響が大きかったりした場合等に生じ得る画像判別上のエラー)を直ちに捕捉するべく、画像データが撮像部50によって取得された硬貨が硬貨識別部150によって直ちに識別されることが好ましい。本例では、この投入作業を促すような画面が表示される(図16(d)の表示状態)。   The checkout process with the customer has been completed in the above steps, but errors that may occur in the image data (for example, money is overlapped, the degree of discoloration of money is large, or the influence of external light is large) It is preferable that the coin whose image data has been acquired by the imaging unit 50 is immediately identified by the coin identifying unit 150 in order to immediately capture an error in image discrimination that may occur in the same manner. In this example, a screen for prompting this input operation is displayed (display state in FIG. 16D).

その後、吟味台14a上の硬貨が硬貨処理装置100の硬貨受入部110に投入されると(図15(d)参照)、硬貨筐体103内に繰り出され、入金硬貨搬送部120によって当該硬貨は搬送されつつ硬貨識別部150によってその金種が識別されて、その合計金額が算出される。そして、撮像部50で取得された画像データに基づいて算出された硬貨の合計金額と、硬貨識別部150による識別結果に基づいて算出された合計金額と、を比較して(「突合」という)、両者が合致すれば、当該取引に関する処理は終了される。そして、再び、硬貨処理装置100内に収容されている貨幣の量の大まかな状況が金種別に示される(図16(e)の表示状態)。   Thereafter, when the coins on the examination table 14a are inserted into the coin receiving unit 110 of the coin processing apparatus 100 (see FIG. 15D), the coins are drawn into the coin housing 103, and the coins are transferred by the deposit coin transport unit 120. The coin type is identified by the coin identifying unit 150 while being conveyed, and the total amount is calculated. Then, the total amount of coins calculated based on the image data acquired by the imaging unit 50 is compared with the total amount calculated based on the identification result by the coin identifying unit 150 (referred to as “match”). If the two match, the processing relating to the transaction is terminated. Then, again, a rough status of the amount of money accommodated in the coin processing apparatus 100 is indicated by denomination (display state in FIG. 16E).

次に、図17を用いて、硬貨の計数例及び突合例について説明する。ここでは、1取引毎に硬貨が硬貨処理装置に投入されて、突合処理が行われるものとする。   Next, an example of coin counting and an example of matching will be described with reference to FIG. Here, it is assumed that coins are inserted into the coin processing device for each transaction, and the matching process is performed.

図17(a)は、1取引分を突合し、OKであった場合を示す図表である。本例では、画像データ内の硬貨は、500円硬貨が1枚、100円硬貨が2枚、50円硬貨が1枚、10円硬貨が3枚、であって(図17(a)参照)、そのような画像判別結果が得られた後、当該データは例えば硬貨記憶部105等に記憶された。一方、硬貨識別部150によっても、同様の識別結果が得られた。そして、それらの突合の際の照合結果が一致することにより、取引に関する処理は終了され、各データはリセットされた(待機状態)。   FIG. 17 (a) is a chart showing a case where one transaction is matched and it is OK. In this example, the coins in the image data are one 500 yen coin, two 100 yen coins, one 50 yen coin, and three 10 yen coins (see FIG. 17A). After such an image discrimination result is obtained, the data is stored in, for example, the coin storage unit 105 or the like. On the other hand, a similar identification result was obtained by the coin identifying unit 150. And when the collation result in the case of those matches, the process regarding a transaction was complete | finished and each data was reset (standby state).

図17(b)は、1取引分を突合し、NG(不足)となり、追加投入でOKになった場合を示す図表である。本例では、画像データ内の硬貨は、100円硬貨が3枚、10円硬貨が4枚、5円硬貨が1枚、1円硬貨が3枚、であって(図17(b)参照)、そのような画像判別結果が得られた後、当該データは例えば硬貨記憶部105等に記憶された。一方、硬貨識別部150によって、100円硬貨が2枚、10円硬貨が4枚、5円硬貨が1枚、1円硬貨が3枚、という識別結果が得られた。すなわち、それらの突合の際の照合結果は不一致であった。このため、それらの差分である「100円硬貨が1枚不足」という情報が警告表示された。その後、硬貨処理装置100の周囲を探したら100円硬貨が1枚出てきたため、それを硬貨受入部110に追加投入することで差分が無くなり、警告状態が解消され、各データはリセットされた(待機状態)。   FIG. 17B is a chart showing a case where one transaction is matched, becomes NG (insufficiency), and becomes OK by additional input. In this example, the coins in the image data are three 100-yen coins, four 10-yen coins, one 5-yen coin, and three 1-yen coins (see FIG. 17B). After such an image discrimination result is obtained, the data is stored in, for example, the coin storage unit 105 or the like. On the other hand, the coin discriminating unit 150 obtains an identification result of two 100-yen coins, four 10-yen coins, one 5-yen coin, and three 1-yen coins. That is, the collation results at the time of matching did not match. For this reason, a warning is displayed indicating the difference between them, “100 yen coin is insufficient”. After that, when looking around the coin processing device 100, one 100-yen coin came out, so by adding it to the coin receiving unit 110, the difference disappeared, the warning state was eliminated, and each data was reset ( Standby state).

図17(c)は、1取引分を突合し、NG(過剰)となり、出金処理でOKになった場合を示す図表である。本例では、画像データ内の硬貨は、500円硬貨が1枚、100円硬貨が2枚、50円硬貨が1枚、10円硬貨が5枚、1円硬貨が7枚、であって(図17(c)参照)、そのような画像判別結果が得られた後、当該データは例えば硬貨記憶部105等に記憶された。一方、硬貨識別部150によって、500円硬貨が1枚、100円硬貨が2枚、50円硬貨が1枚、10円硬貨が6枚、1円硬貨が7枚、という識別結果が得られた。すなわち、それらの突合の際の照合結果は不一致であった。このため、それらの差分である「10円硬貨が1枚過剰」という情報が警告表示された。その後、10円硬貨を1枚追加出金して顧客に返すことで、警告状態が解消され、各データはリセットされた(待機状態)。尚、硬貨識別部150による識別結果が過剰となる原因としては、吟味台に載置された硬貨の一部(ここでは、10円硬貨1枚)が他の硬貨と重なって隠れていたことが推定される。   FIG. 17C is a chart showing a case where one transaction is matched, becomes NG (excess), and becomes OK in the withdrawal process. In this example, the coins in the image data are one 500-yen coin, two 100-yen coins, one 50-yen coin, five 10-yen coins, and seven one-yen coins ( After such an image determination result is obtained, the data is stored in, for example, the coin storage unit 105 or the like. On the other hand, the coin recognition unit 150 obtained identification results of 1 500 yen coin, 2 100 yen coins, 1 50 yen coin, 6 10 yen coins, and 7 1 yen coins. . That is, the collation results at the time of matching did not match. For this reason, a warning is displayed indicating that the difference between them is “one extra 10 yen coin”. Thereafter, an additional 10-yen coin was withdrawn and returned to the customer, so that the warning state was resolved and each data was reset (standby state). In addition, as a cause that the identification result by the coin identification unit 150 becomes excessive, a part of coins (here, one 10-yen coin) placed on the examination table is hidden by overlapping with other coins. Presumed.

図17(d)は、1取引分を突合し、NG(過剰)となり、クリア処理を行った場合を示す図表である。本例では、画像データ内の硬貨は、500円硬貨が1枚、100円硬貨が2枚、50円硬貨が1枚、10円硬貨が5枚、1円硬貨が7枚、であって(図17(d)参照)、そのような画像判別結果が得られた後、当該データは例えば硬貨記憶部105等に記憶された。一方、硬貨識別部150によって、500円硬貨が1枚、100円硬貨が2枚、50円硬貨が1枚、10円硬貨が6枚、1円硬貨が7枚、という識別結果が得られた。すなわち、それらの突合の際の照合結果は不一致であった。このため、それらの差分である「10円硬貨が1枚過剰」という情報が警告表示された。その後、10円硬貨を1枚追加出金して顧客に返そうとしたが、すでに顧客が退店してしまっていて不可能であった。そこで、やむを得ず、強制的に警告状態を解消するクリア処理を行った(過剰の10円硬貨は硬貨処理装置内に収納されたり、出金された後に例えばドロア等に収容される)。   FIG. 17D is a chart showing a case where one transaction is matched, NG (excess), and a clear process is performed. In this example, the coins in the image data are one 500-yen coin, two 100-yen coins, one 50-yen coin, five 10-yen coins, and seven one-yen coins ( After such an image determination result is obtained, the data is stored in, for example, the coin storage unit 105 or the like. On the other hand, the coin recognition unit 150 obtained identification results of 1 500 yen coin, 2 100 yen coins, 1 50 yen coin, 6 10 yen coins, and 7 1 yen coins. . That is, the collation results at the time of matching did not match. For this reason, a warning is displayed indicating that the difference between them is “one extra 10 yen coin”. After that, I tried to withdraw an additional 10 yen coin and return it to the customer, but it was impossible because the customer had already left the store. Therefore, a clear process forcibly canceling the warning state was unavoidably performed (excess 10 yen coins are stored in the coin processing device or stored in, for example, a drawer after being withdrawn).

ここで、クリア処理に関する情報は、例えば、対応する取引情報に紐付けされて記憶され得る。この場合、例えばその後に顧客から申告(クレーム)があった際に、返金することができる。また、クリア処理に関する情報は、操作者(例えばレジ担当者)が交代する時や、締めの処理を行う時などに、再度確認されることが好ましい。   Here, the information regarding the clear process can be stored in association with the corresponding transaction information, for example. In this case, for example, when there is a report (complaint) from the customer thereafter, it can be refunded. Further, it is preferable that the information related to the clear process is confirmed again when an operator (for example, a cashier person in charge) changes or when a tightening process is performed.

また、クリア処理の回数や、クリア処理に伴う各金額の情報が、硬貨処理装置100毎に、操作者(例えばレジ担当者)毎に、及び/または、所定の期間(例えば1時間)毎に把握されて、精算処理の状況の分析に活用されることが好ましい。また、同一の操作者のクリア処理の回数が上限値を超えた場合には、管理者による確認作業が行われるまで硬貨処理装置100を停止させてもよい。   Further, the number of times of the clear process and information on each amount of money associated with the clear process are stored for each coin processing device 100, for each operator (for example, cashier), and / or for each predetermined period (for example, 1 hour). It is preferable that it is grasped and used for analysis of the state of the settlement process. Further, when the number of clear processes of the same operator exceeds the upper limit value, the coin processing device 100 may be stopped until the confirmation work by the administrator is performed.

なお、本実施の形態では、図17(b)乃至図17(d)を用いて説明した各処理内容(対応パターン)について、所定の判別条件に基づいて選択的に実施されるようになっている。これについて図18を用いて説明する。図18は、本実施の形態の通常モードの処理フローの一例を示すフロー図である。   In the present embodiment, each processing content (corresponding pattern) described with reference to FIGS. 17B to 17D is selectively performed based on a predetermined determination condition. Yes. This will be described with reference to FIG. FIG. 18 is a flowchart showing an example of the processing flow in the normal mode of the present embodiment.

図18の例では、最初の工程として、売上情報が取得される(STEP01)。具体的には、登録装置300において確定された売上情報(金額)が通知される。   In the example of FIG. 18, sales information is acquired as the first step (STEP 01). Specifically, sales information (amount) confirmed in the registration apparatus 300 is notified.

当該入力工程が実施されたことをトリガとして(STEP01における「Yes])、例えば吟味台14a上に載置された硬貨について撮像部50によって例えばリアルタイムで画像データが取得され、画像判別処理を経て金種別枚数および合計金額が算出される(STEP02)。そして、確定した今回の取引の画像識別データ(画像データ、金種別枚数、合計金額等)が保存(記憶)される(STEP03)。   For example, image data is acquired in real time by the imaging unit 50 for a coin placed on the examination table 14a, for example, in response to the input process being performed ("Yes" in STEP01), and then the image is processed through an image discrimination process. The number of types and the total amount of money are calculated (STEP 02), and the image identification data (image data, number of money types, total amount, etc.) of the confirmed current transaction is saved (stored) (STEP 03).

図18の例では、紙幣については、撮像部50を用いることなく、紙幣識別部250による識別結果を用いて計数がなされるものとする(STEP04)。   In the example of FIG. 18, the banknote is counted using the identification result by the banknote recognition unit 250 without using the imaging unit 50 (STEP 04).

そして、今回の硬貨の金種別枚数と紙幣の金種別枚数とが合算され、更に売上金額との差分が釣銭金額として算出される(STEP05)。   Then, the current number of coins and the number of banknotes are added together, and the difference from the sales amount is calculated as a change amount (STEP 05).

釣銭があれば(STEP06における「Yes」)、釣銭(硬貨および/または紙幣)が払い出される(STEP07)。   If there is a change (“Yes” in STEP06), the change (coin and / or bill) is paid out (STEP07).

そして、その後、硬貨識別部150による硬貨の識別工程が実施される。顧客からの支払いが紙幣のみで行われ硬貨の支払いがない場合には(STEP08における「No」)、当該フローの最初に戻る(STEP16)。硬貨の支払いがあれば、硬貨受入部110への硬貨の一括投入がなされ(STEP08における「Yes」)、硬貨識別部150による硬貨の識別結果に基づいて硬貨の金額情報(金種別枚数、合計金額)が算出される(STEP09)。   Then, a coin identifying process by the coin identifying unit 150 is performed. When payment from the customer is made only with banknotes and no coin is paid (“No” in STEP08), the process returns to the beginning (STEP 16). If there is a coin payment, the coins are put into the coin receiving unit 110 in a lump (“Yes” in STEP08), and the amount information of the coin (the number of denominations and the total amount) based on the coin identification result by the coin identifying unit 150 ) Is calculated (STEP09).

そして、画像データに基づく硬貨の金種別枚数と、硬貨識別部150による識別結果に基づく硬貨の金種別枚数と、が突合される(STEP10)。あるいは、画像データに基づく硬貨の合計金額と、硬貨識別部150による識別結果に基づく硬貨の合計金額と、が突合されてもよい。   Then, the number of coin denominations based on the image data and the number of coin denominations based on the identification result by the coin identification unit 150 are matched (STEP 10). Alternatively, the total amount of coins based on the image data and the total amount of coins based on the identification result by the coin identifying unit 150 may be matched.

突合の結果が一致すれば(STEP11の「Yes」)、確認作業が終了するため、画像識別データがクリアされ(STEP15)、当該フローの最初に戻る(STEP16)。但し、クリアされた画像識別データは、サーバ等に記憶保存され、必要時には呼び出してデータ内容を確認できるものとする。   If the results of the matching match (“Yes” in STEP 11), the confirmation operation is completed, so the image identification data is cleared (STEP 15), and the process returns to the beginning (STEP 16). However, it is assumed that the cleared image identification data is stored and saved in a server or the like and can be recalled when necessary to confirm the data contents.

突合の結果が不一致である場合(STEP11の「No」)、本実施の形態では、予め用意されて上位記憶部155やサーバ記憶部405等(記憶部505)に記憶された複数の対応パターンのうち、いずれの対応パターンが採用されるべきかを決定するべく、判別条件が判定される(STEP12)。そして、判別条件の判定結果に基づいて対応パターンが選択され(STEP13)、当該選択された対応パターンが実施される(STEP14)。   In the case where the result of the match is inconsistent (“No” in STEP 11), in the present embodiment, a plurality of corresponding patterns prepared in advance and stored in the upper storage unit 155, the server storage unit 405, etc. (storage unit 505) are stored. Among these, the determination condition is determined in order to determine which corresponding pattern should be adopted (STEP 12). Then, a corresponding pattern is selected based on the determination result of the determination condition (STEP 13), and the selected corresponding pattern is executed (STEP 14).

判別条件としては、例えば、画像データに基づく硬貨の合算額が硬貨識別部150による識別結果に基づく硬貨の金額情報よりも多いか否か、という条件である。画像データに基づく硬貨の合算額が硬貨識別部150による識別結果に基づく硬貨の金額情報よりも多い場合には、対応パターンとして、例えば、貨幣の追加投入を促す表示がなされる。例えば、図17(b)の例のように、画像データに基づく硬貨の金種別枚数と硬貨識別部150による識別結果に基づく硬貨の金種別枚数との差分に関する「100円硬貨が1枚不足」という情報が警告表示される。   The determination condition is, for example, a condition that whether the total amount of coins based on the image data is greater than the amount information of coins based on the identification result by the coin identification unit 150. When the total amount of coins based on the image data is larger than the amount information of coins based on the identification result by the coin identification unit 150, for example, a display prompting for additional insertion of money is made as a corresponding pattern. For example, as in the example of FIG. 17B, “lack of one 100 yen coin” regarding the difference between the number of coins based on image data and the number of coins based on the identification result by the coin identification unit 150. Is displayed as a warning.

その後、不足硬貨を硬貨受入部110に追加投入することで差分が無くなれば、警告状態が解消され、各データはクリアされる(STEP15)。不足硬貨が見つからず硬貨受入部110に追加投入されない場合には、操作者の入力(選択)により、硬貨受入部110に一括投入された硬貨の全てを出金(返金)して取引自体がキャンセルされるか、あるいは、強制的に警告状態を解消するクリア処理(画像データに基づく硬貨の金種別枚数と硬貨識別部150による識別結果に基づく硬貨の金種別枚数とが合致する場合の状態に復帰させる処理)が行われる。ここで、クリア処理に関する情報は、例えば、対応する取引情報に紐付けされて記憶され得る。この場合、例えばその後に顧客から申告(クレーム)があった際に、正しく再精算することができる。また、クリア処理に関する情報は、操作者(例えばレジ担当者)が交代する時や、締めの処理を行う時などに、再度確認されることが好ましい。   Thereafter, if there is no difference by additionally inserting the insufficient coins into the coin receiving unit 110, the warning state is canceled and each data is cleared (STEP 15). If the missing coins are not found and are not additionally inserted into the coin receiving unit 110, the transaction itself is canceled by withdrawing (refunding) all of the coins that have been input into the coin receiving unit 110 by the input (selection) of the operator. Or clear processing for forcibly canceling the warning state (returns to a state in which the number of coins according to the image data matches the number of coins according to the identification result by the coin identification unit 150) Processing) is performed. Here, the information regarding the clear process can be stored in association with the corresponding transaction information, for example. In this case, for example, when there is a report (complaint) from the customer after that, it can be re-settled correctly. Further, it is preferable that the information related to the clear process is confirmed again when an operator (for example, a cashier person in charge) changes or when a tightening process is performed.

あるいは、判別条件としては、例えば、画像データに基づく硬貨の金種別枚数が硬貨識別部150による識別結果に基づく硬貨の金種別枚数よりも少ないか否か、という条件である。画像データに基づく硬貨の金種別枚数が硬貨識別部150による識別結果に基づく硬貨の金種別枚数よりも少ない場合には、対応パターンとして、例えば、過剰に投入された硬貨の出金(返金)がなされる。例えば、図17(c)及び図17(d)の例のように、画像データに基づく硬貨の金種別枚数と硬貨識別部150による識別結果に基づく硬貨の金種別枚数との差分に関する「10円硬貨が1枚過剰」という情報が警告表示されると共に、過剰硬貨が硬貨払出部190から払い出される。   Alternatively, the determination condition is, for example, a condition that the number of coins based on image data is less than the number of coins based on the identification result by the coin identifying unit 150. When the number of coins based on image data is less than the number of coins based on the result of identification by the coin identification unit 150, for example, as a corresponding pattern, an excessively thrown coin is refunded. Made. For example, as in the example of FIGS. 17C and 17D, “10 yen regarding the difference between the number of coins based on image data and the number of coins based on the identification result by the coin identifying unit 150. Information that “one coin is excessive” is displayed as a warning, and excess coins are paid out from the coin payout unit 190.

その後、払い出された過剰硬貨が顧客に返却されることで、警告状態は解消され、各データはリセットされる(STEP15)。すでに顧客が退店してしまっていて返却が不可能な場合には、強制的に警告状態を解消するクリア処理が行われる(過剰硬貨は硬貨処理装置内に再収納されたり、ドロア等に収容される)。この場合も、クリア処理に関する情報は、例えば、対応する取引情報に紐付けされて記憶されることが好ましい。この場合、例えばその後に顧客から申告(クレーム)があった際に、正しく返金することができる。また、クリア処理に関する情報は、操作者(例えばレジ担当者)が交代する時や、締めの処理を行う時などに、再度確認されることが好ましい。   Thereafter, the paid-out excess coins are returned to the customer, so that the warning state is canceled and each data is reset (STEP 15). If the customer has already left the store and cannot return it, a clear process is performed to forcibly cancel the warning state (excess coins are re-stored in the coin processing unit or stored in a drawer, etc.) ) Also in this case, it is preferable that the information regarding the clear process is stored in association with the corresponding transaction information, for example. In this case, for example, when there is a report (complaint) from the customer thereafter, it can be refunded correctly. Further, it is preferable that the information related to the clear process is confirmed again when an operator (for example, a cashier person in charge) changes or when a tightening process is performed.

あるいは、判別条件としては、例えば、硬貨識別部150によってリジェクト硬貨と識別された硬貨が存在するか否か、という条件である。リジェクト硬貨があれば、通常は、画像データに基づく硬貨の金種別枚数が硬貨識別部150による識別結果に基づく硬貨の金種別枚数よりも多くなる。従って、対応パターンとして、例えば、貨幣の追加投入を促す表示がなされる。例えば、図17(b)の例のように、画像データに基づく硬貨の金種別枚数と硬貨識別部150による識別結果に基づく硬貨の金種別枚数との差分に関する「100円硬貨が1枚不足」という情報が警告表示される。   Alternatively, the determination condition is, for example, a condition that there is a coin identified as a reject coin by the coin identifying unit 150. If there are rejected coins, the number of coins based on the image data is usually larger than the number of coins based on the result of identification by the coin identifying unit 150. Therefore, as a corresponding pattern, for example, a display for prompting the additional insertion of money is performed. For example, as in the example of FIG. 17B, “lack of one 100 yen coin” regarding the difference between the number of coins based on image data and the number of coins based on the identification result by the coin identification unit 150. Is displayed as a warning.

その後、リジェクト硬貨の代わりの硬貨が硬貨受入部110に追加投入されることで差分が無くなれば、警告状態が解消され、各データはクリアされる(STEP15)。リジェクト硬貨の代わりの硬貨が硬貨受入部110に追加投入されない場合には、操作者の入力(選択)により、硬貨受入部110に一括投入された硬貨の全てを出金(返金)して取引自体がキャンセルされるか、あるいは、強制的に警告状態を解消するクリア処理(画像データに基づく硬貨の金種別枚数と硬貨識別部150による識別結果に基づく硬貨の金種別枚数とが合致する場合の状態に復帰させる処理)が行われる。この場合も、クリア処理に関する情報は、例えば、対応する取引情報に紐付けされて記憶されることが好ましい。この場合、例えばその後に顧客から申告(クレーム)があった際に、正しく再精算することができる。また、クリア処理に関する情報は、操作者(例えばレジ担当者)が交代する時や、締めの処理を行う時などに、再度確認されることが好ましい。   Thereafter, if the difference is eliminated by additionally inserting a coin instead of the reject coin into the coin receiving unit 110, the warning state is canceled and each data is cleared (STEP 15). When coins instead of reject coins are not additionally inserted into the coin receiving unit 110, the transaction itself is made by withdrawing (refunding) all of the coins that have been input into the coin receiving unit 110 in response to an input (selection) by the operator. Is canceled or the warning process is forcibly canceled (a state in which the number of coins according to image data matches the number of coins according to the identification result by the coin identification unit 150) The process of returning to (1) is performed. Also in this case, it is preferable that the information regarding the clear process is stored in association with the corresponding transaction information, for example. In this case, for example, when there is a report (complaint) from the customer after that, it can be re-settled correctly. Further, it is preferable that the information related to the clear process is confirmed again when an operator (for example, a cashier person in charge) changes or when a tightening process is performed.

あるいは、判別条件としては、例えば、当該取引がなされたが繁忙時間帯であるか閑散時間帯であるか、という条件である。繁忙時間帯であれば、突合の不一致による不利益よりも顧客を待たせてしまうことの不利益の方が大きいので、対応パターンとして、優先的に、クリア処理(画像データに基づく硬貨の金種別枚数と硬貨識別部150による識別結果に基づく硬貨の金種別枚数とが合致する場合の状態に復帰させる処理)が行われる。この場合も、クリア処理に関する情報は、例えば、対応する取引情報に紐付けされて記憶されることが好ましい。この場合、例えばその後に顧客から申告(クレーム)があった際に、正しく再精算することができる。また、この場合も、クリア処理に関する情報は、操作者(例えばレジ担当者)が交代する時や、締めの処理を行う時などに、再度確認されることが好ましい。   Alternatively, the determination condition is, for example, a condition that the transaction has been performed, but whether it is a busy time zone or a quiet time zone. During busy hours, the disadvantage of waiting for the customer is greater than the disadvantage due to inconsistency of the match, so as a response pattern, clear processing (coin denomination based on image data) is given priority The process of returning to the state in the case where the number of coins matches the number of coins based on the identification result by the coin identifying unit 150 is performed. Also in this case, it is preferable that the information regarding the clear process is stored in association with the corresponding transaction information, for example. In this case, for example, when there is a report (complaint) from the customer after that, it can be re-settled correctly. Also in this case, it is preferable that the information regarding the clear process is confirmed again when an operator (for example, a cashier person) changes or when a tightening process is performed.

どの判別条件を適用するかについては、貨幣処理装置の設置時や運用形態の変更時などに、貨幣処理装置の管理権限者によって設定入力されることが好ましい。また、上位の管理装置に対する設定入力情報に基づいて、複数の貨幣処理装置の判別条件が一律に、あるいは個別的に、設定されるようになっていてもよい。あるいは、判別条件は、貨幣処理装置の電源を入れる度に設定入力されてもよい。   Which discrimination condition is applied is preferably set and input by a manager of the money handling apparatus when the money handling apparatus is installed or when the operation mode is changed. Further, the determination conditions of the plurality of money handling apparatuses may be set uniformly or individually based on setting input information for the upper management apparatus. Alternatively, the determination condition may be set and input every time the money handling apparatus is turned on.

また、対応パターンとしては、クリア処理の実行を管理権限者に限定して、警告状態が解消されるまで警告表示が継続するという態様も採用され得る(次の処理に進めない)。クリア処理の実行について、画像データに基づく硬貨の金種別枚数と硬貨識別部150による識別結果に基づく硬貨の金種別枚数との差分が大きい(例えば50円以上)場合にのみ制限するという態様も採用され得る。   Further, as a correspondence pattern, it is also possible to adopt a mode in which the execution of the clear process is limited to the administrative authority and the warning display is continued until the warning state is resolved (cannot proceed to the next process). The mode of limiting the execution of the clear process only when the difference between the number of coins based on image data and the number of coins based on the identification result by the coin identifying unit 150 is large (for example, 50 yen or more) is also adopted. Can be done.

また、取引キャンセルの際の入金硬貨の返金処理においては、入金された硬貨をそのまま返金する態様の他(入金硬貨一時保留部が必要となる)、入金された硬貨を収納して同一金種および同一枚数の硬貨を出金するという態様も採用され得る。   In addition, in the process of refunding deposited coins at the time of transaction cancellation, in addition to a mode in which the deposited coins are refunded as they are (a deposit coin temporary holding part is required), the received coins are stored and the same denomination and An aspect in which the same number of coins is withdrawn can also be employed.

以上のような図18に示すフローによれば、画像データに基づく硬貨の金種別枚数と硬貨識別部150による識別結果に基づく硬貨の金種別枚数とを比較することにより、硬貨が正しく貨幣処理装置内に受け入れられたか否か、確認できる。これにより、画像データにおいて生じ得るエラー(例えば硬貨が重なり合っていた場合等に生じ得る画像判別上のエラー)を捕捉することができる。   According to the flow shown in FIG. 18 as described above, the coin is correctly processed by comparing the number of coins according to the image data with the number of coins according to the identification result by the coin identification unit 150. It can be confirmed whether or not it has been accepted. This makes it possible to capture errors that can occur in image data (for example, errors in image discrimination that can occur when coins overlap).

また、図18に示すフローによれば、画像データに基づく硬貨の金種別枚数と硬貨識別部150による識別結果に基づく硬貨の金種別枚数とが合致しない場合の対応パターンが複数用意されて記憶されており、前記比較処理の結果、画像データに基づく硬貨の金種別枚数と硬貨識別部150による識別結果に基づく硬貨の金種別枚数とが合致しない場合に、前記記憶された複数の対応パターンのうちの一つが適宜の判別条件の判定結果に基づいて選択されて、当該選択された対応パターンが実施されることにより、店舗等の要望に合った柔軟な運用形態を常時実現することができる。   Further, according to the flow shown in FIG. 18, a plurality of corresponding patterns are prepared and stored when the number of coins according to image data and the number of coins according to the identification result by the coin identification unit 150 do not match. If the number of coins based on the image data does not match the number of coins based on the result of identification by the coin identifying unit 150 as a result of the comparison process, Is selected based on the determination result of an appropriate determination condition, and the selected corresponding pattern is implemented, so that a flexible operation mode that meets the demand of the store or the like can be always realized.

次に、本実施の形態の確認モードの処理フローについて図19を用いて説明する。図19は、本実施の形態の確認モードの処理フローの一例を示すフロー図である。   Next, the processing flow in the confirmation mode of the present embodiment will be described with reference to FIG. FIG. 19 is a flowchart showing an example of the processing flow in the confirmation mode of the present embodiment.

図19の例では、予め確認モード用に設定された「所定のタイミング」の到来をトリガとして、あるいは、「所定のタイミング」の到来後に確認モードの実施(入力指示)を促すメッセージが表示部551に表示され操作者が当該メッセージを確認して確認モードの実施を入力指示することで、通常モードから確認モードへの切替がなされた状態をスタート時の状態として説明を進める。通常モードから確認モードへの切替に関する制御は、制御部502によって実施される。   In the example of FIG. 19, a message for prompting the execution of the confirmation mode (input instruction) is triggered by the arrival of “predetermined timing” set in advance for the confirmation mode or after the arrival of “predetermined timing”. When the operator confirms the message and gives an instruction to input the confirmation mode, the state where the normal mode is switched to the confirmation mode is assumed to be the start state. Control related to switching from the normal mode to the confirmation mode is performed by the control unit 502.

ここで、「所定のタイミング」というのは、例えば、貨幣処理装置の設置時や、メンテナンス作業の実行時や、貨幣処理装置(撮像部や登録装置を含む)や周辺機材(光源、遮蔽物等)のレイアウトを変更した時、等である。あるいは、季節による外来光の変化の影響が気になる場合や、貨幣処理装置の経年劣化が気になる場合には、「所定のタイミング」というのは、数ヶ月毎である。あるいは、日照による外来光の影響が気になる場合には、「所定のタイミング」というのは、例えば毎日、複数の時間帯(例えば朝/昼/夕方/夜)の各々において設定された時間である。   Here, the “predetermined timing” refers to, for example, when a money handling apparatus is installed, when maintenance work is performed, a money handling apparatus (including an imaging unit and a registration apparatus), peripheral equipment (light source, shielding object, etc.) ) When the layout is changed. Or when the influence of the change of the extraneous light according to a season is worrisome, or when aged deterioration of a money processing apparatus is worrisome, "predetermined timing" is every several months. Alternatively, when the influence of extraneous light due to sunshine is a concern, the “predetermined timing” is, for example, the time set in each of a plurality of time zones (for example, morning / daytime / evening / night) every day. is there.

すなわち、図19に示す例では、最初の工程として、制御部502において確認モードへの切替がなされているか否かが判別される(STEP21)。確認モードへの切替がなされていなければ(STEP21における「No])、通常モードの処理が実施される(STEP22)。   That is, in the example shown in FIG. 19, as the first step, it is determined whether or not the control unit 502 has switched to the confirmation mode (STEP 21). If the mode has not been switched to the confirmation mode (“No” in STEP 21), normal mode processing is performed (STEP 22).

確認モードへの切替がなされている場合(STEP21における「Yes])、具体的には、図21(a)のメニュー画面において『(設置環境)確認モード』が選択される場合、貨幣処理装置の操作者は、吟味台14a上に「確認モード用硬貨」を載置する。本例では、6金種(1〜500円硬貨)の各々の流通硬貨と新規硬貨とが吟味台14a上に載置される(合計12枚)。そして、吟味台14a上に載置された確認モード用硬貨について、撮像部50によって例えばリアルタイムで画像データが取得され、画像判別処理を経て金種別枚数および合計金額が算出される(STEP23)。一方、吟味台14a上に載置された確認モード用硬貨の金種別枚数(6金種の硬貨が各2枚ずつ)および合計金額(1332円)は、予め特定されているため、それらの情報(真の情報)と、画像判別処理を経た金種別枚数および合計金額と、を比較する照合処理(比較処理)が行われて(STEP24)、算出精度に問題があるか否かが判定される(STEP25)。   When switching to the confirmation mode is made (“Yes” in STEP 21), specifically, when “(installation environment) confirmation mode” is selected on the menu screen of FIG. The operator places the “confirmation mode coin” on the examination table 14a. In this example, each circulation coin and new coin of 6 denominations (1 to 500 yen coins) are placed on the examination table 14a (12 in total). For the confirmation mode coins placed on the examination table 14a, for example, image data is acquired in real time by the imaging unit 50, and the number of denominations and the total amount are calculated through image discrimination processing (STEP 23). On the other hand, since the number of denominations of the confirmation mode coins placed on the examination table 14a (two each of six denomination coins) and the total amount (1332 yen) are specified in advance, such information A comparison process (comparison process) is performed to compare (true information) with the number of denominations and the total amount after the image determination process (STEP 24), and it is determined whether there is a problem in calculation accuracy. (STEP 25).

算出精度に問題がなく、算出精度が適正であると判定される場合(STEP25における「Yes」)、その旨を示す画面(図21(b)の画面)が表示部551に表示され(STEP26)、更に、通常モードへの復帰を促すメッセージが表示される。そして、貨幣処理装置の操作者が当該メッセージを確認した上で、通常モードへの復帰を入力操作(「承認」ボタン押下)を行うと(STEP27の「Yes」)、確認モードが終了して(STEP31)、通常モードに復帰される。   When it is determined that there is no problem in the calculation accuracy and the calculation accuracy is appropriate (“Yes” in STEP 25), a screen indicating that (screen in FIG. 21B) is displayed on the display unit 551 (STEP 26). Further, a message prompting to return to the normal mode is displayed. Then, when the operator of the money handling apparatus confirms the message and performs an input operation (pressing the “approval” button) to return to the normal mode (“Yes” in STEP 27), the confirmation mode ends ( (STEP 31), the normal mode is restored.

算出精度に問題があって、算出精度が不適正であると判定される場合(STEP25における「No」)、その旨を示す警告画面(図21(c)の画面)が表示部551に表示される(STEP28)。この画面には、算出精度を向上させるための調整方法が含まれる。当該調整方法は、警告表示と同時に表示されてもよいし、警告表示画面から例えば「対応策」というボタンが押下されることで別画面として表示されてもよい。   When there is a problem with the calculation accuracy and it is determined that the calculation accuracy is inappropriate (“No” in STEP 25), a warning screen (screen in FIG. 21C) indicating that is displayed on the display unit 551. (STEP 28). This screen includes an adjustment method for improving calculation accuracy. The adjustment method may be displayed simultaneously with the warning display, or may be displayed as a separate screen when, for example, a “Countermeasure” button is pressed from the warning display screen.

ここで、算出精度が不適正であると判断される場合というのは、典型的には照合処理の結果が不一致の場合であるが、照合処理の最終的な結果が一致していても画像判別時のパラメータ毎の照合の程度が十分でない場合を含み得る。算出精度が適正であるか不適正であるかの判別には、すでに公知の種々の画像判別プログラムを流用することが可能である。また、画像判別時のパラメータ毎の照合の程度を高めるために、どのような調整が必要であるか、の特定についても、すでに公知の種々の画像判別プログラムを流用することが可能である。   Here, the case where the calculation accuracy is determined to be inappropriate is typically a case where the result of the matching process is inconsistent, but the image discrimination is performed even if the final result of the matching process is the same. This may include a case where the degree of matching for each parameter at the time is not sufficient. For determining whether the calculation accuracy is appropriate or not, various known image determination programs can be used. In addition, various known image discrimination programs can be used for specifying what adjustment is necessary to increase the degree of collation for each parameter at the time of image discrimination.

例えば、画像判別プログラムによって、取得した画像データが「明る過ぎる」ために照合の程度が低い、と判別できる場合には、「照明を暗くする」という調整が必要であると特定することができる。   For example, when the acquired image data is “too bright” and thus it is possible to determine that the degree of matching is low, it is possible to specify that the adjustment of “darken the illumination” is necessary.

あるいは、画像判別プログラムによって、取得した画像データが「暗過ぎる」ために照合の程度が低い、と判別できる場合には、「照明を明るくする」という調整が必要であると特定することができる。   Alternatively, if the acquired image data is “too dark” and thus it is possible to determine that the degree of collation is low, it can be specified that adjustment of “brighten illumination” is necessary.

あるいは、画像判別プログラムによって、取得した画像データにおいて「光が斜めに照射されている」ために照合の程度が低い、と判別できる場合には、「斜めに差し込む光を遮蔽する」という調整が必要であると特定することができる。更には、差し込む光の方向まで特定して、出力するようにしてもよい。   Alternatively, if the image discrimination program can determine that the degree of verification is low because “light is radiated obliquely” in the acquired image data, an adjustment of “shielding light that is obliquely inserted” is necessary. Can be specified. Furthermore, the direction of the light to be inserted may be specified and output.

あるいは、画像判別プログラムによって、取得した画像データにおいて「影が映り込んでいる」ために照合の程度が低い、と判別できる場合には、「吟味台14aと撮像部50との配置関係を修正する」という調整が必要であると特定することができる。   Alternatively, when the image determination program can determine that the degree of matching is low because “shadows are reflected” in the acquired image data, “correct the arrangement relationship between the examination table 14 a and the imaging unit 50. Can be identified as requiring adjustment.

あるいは、画像判別プログラムによって、取得した画像データにおいて「ピントがあっていない」ために照合の程度が低い、と判別できる場合には、「撮像部50の位置を修正する」という調整が必要であると特定することができる。   Alternatively, when the acquired image data can be determined that the degree of matching is low because the image determination program is “not in focus”, an adjustment of “correcting the position of the imaging unit 50” is necessary. Can be specified.

あるいは、画像判別プログラムによって、取得した画像データにおいて「視野がずれている」ために照合の程度が低い、と判別できる場合には、「吟味台14aの位置を修正する」という調整が必要であると特定することができる。   Alternatively, if the image discrimination program can determine that the degree of collation is low because “the field of view is shifted” in the acquired image data, an adjustment of “correct the position of the examination table 14a” is necessary. Can be specified.

以上の関係の一例を纏めた図表を、図20に示す。これらの調整方法(対応策)が、必要に応じて、表示部551に表示される。操作者は、表示された調整方法に従って、貨幣処理装置の設置環境(例えば、貨幣処理装置の周囲の明るさ)を変更したり、及び/または、貨幣処理装置の設置状態(例えば、撮像部50や吟味台14aの設置状態)を変更したりする(STEP29)。その後(STEP29の「Yes」)、必要に応じて操作者による再確認の入力操作等を経て、確認モード用硬貨である6金種の各々の流通硬貨と新規硬貨とが吟味台14a上に再び載置され、当該確認モード用硬貨について撮像部50によって例えばリアルタイムで画像データが取得され、画像判別処理を経て金種別枚数および合計金額が再び算出される(STEP23)。そして、STEP24以降が繰り返される。   A chart summarizing an example of the above relationship is shown in FIG. These adjustment methods (measures) are displayed on the display unit 551 as necessary. The operator changes the installation environment of the money handling apparatus (for example, brightness around the money handling apparatus) according to the displayed adjustment method, and / or the installation state of the money handling apparatus (for example, the imaging unit 50). Or the installation state of the examination table 14a) (STEP 29). After that (STEP 29, “Yes”), through the input operation of reconfirmation by the operator as necessary, each circulation coin of the six denominations that is the confirmation mode coin and the new coin are again on the examination table 14a. The image data is acquired for the confirmation mode coin, for example, in real time by the imaging unit 50, and the number of denominations and the total amount are calculated again through an image discrimination process (STEP 23). Then, STEP 24 and subsequent steps are repeated.

算出精度が不適正である旨が表示部551に警告表示されたにも関わらず(STEP28)、算出精度を向上させるための調整方法が実施されない場合には(STEP29の「No」)、その状態で貨幣処理装置が利用されることを防止するために、強制終了操作(STEP30)を経なければ確認モードを終了できないようになっている。   When the adjustment method for improving the calculation accuracy is not performed (“No” in STEP 29), although the warning that the calculation accuracy is inappropriate is displayed on the display unit 551 (STEP 28), the state In order to prevent the money handling apparatus from being used, the confirmation mode cannot be terminated without a forced termination operation (STEP 30).

以上のような図19に示すフローによれば、撮像部50によって取得された貨幣の画像データに基づいて当該貨幣の金額情報を算出する際の算出精度を確認する確認モードが実施されることにより、画像データに基づく預かり金額の算出精度を効果的に維持することができる。これにより、違算が発生したり不正が発生したりする可能性を、より一層低く抑えることができる。   According to the flow shown in FIG. 19 as described above, the confirmation mode for confirming the calculation accuracy when calculating the money amount information of the money based on the money image data acquired by the imaging unit 50 is performed. Thus, the calculation accuracy of the deposit amount based on the image data can be effectively maintained. As a result, the possibility of miscalculation or fraud can be further reduced.

特に、予め金額情報が分かっている実際の貨幣である「確認モード用硬貨」として、6金種の各々の流通硬貨と新規硬貨とが用いられることにより、極めて効果的に算出精度が確認され得る。経年劣化した流通硬貨と新規硬貨とでは、撮像及びその後の画像処理において性質が異なる可能性があるが、6金種の各々でそれらの両方を「確認モード用硬貨」とすることで、極めて効果的に算出精度(撮像、画像処理、演算といった一連の金額情報算出の精度)が確認(評価)され得る。   In particular, the calculation accuracy can be confirmed extremely effectively by using each of the six denomination circulation coins and new coins as “confirmation mode coins” that are actual money whose amount information is known in advance. . There is a possibility that the properties of the distribution coins deteriorated over time and the new coins may differ in the imaging and the subsequent image processing, but it is extremely effective by making both of them “confirmation mode coins” for each of the six denominations. Thus, the calculation accuracy (accuracy of a series of money amount information calculation such as imaging, image processing, and calculation) can be confirmed (evaluated).

もっとも、STEP23〜STEP25において、「確認モード用硬貨」の代わりに、例えば複数金種の硬貨に摸した色や凹凸パターンを有する「確認モード用媒体」が用いられてもよい。この場合も、予め対応するべき金額情報が特定されている「確認モード用媒体」を用いることにより、極めて効果的且つ均質的に算出精度が確認され得る。   Of course, in STEP23 to STEP25, instead of “confirmation mode coins”, for example, “confirmation mode medium” having a color or a concavo-convex pattern on a coin of a plurality of denominations may be used. Also in this case, the calculation accuracy can be confirmed extremely effectively and uniformly by using a “confirmation mode medium” in which the amount information to be dealt with is specified in advance.

なお、STEP25及びSTEP28において、画像データ内で局所的に問題が生じている場合には、その場所を特定できるような座標情報ないし画像が表示されてもよい。また、STEP28の警告表示は、表示部551等の報知部でアラーム表示する(色や背景色を変えて表示する)ことが好ましいが、代わりに音声で知らせてもよい。音声は、「ピンポーン」という単純な警告音でもよいし、「問題があります」というような合成音声によるメッセージの類のものでもよい。   In STEP 25 and STEP 28, when a problem occurs locally in the image data, coordinate information or an image that can identify the location may be displayed. Further, the warning display in STEP 28 is preferably alarm-displayed by a notification unit such as the display unit 551 (displayed by changing the color or background color), but may be notified by voice instead. The voice may be a simple warning sound “Ping Pong” or a synthetic voice message such as “There is a problem”.

《効果》
次に、前述した構成からなる本実施の形態によって達成される効果であって、まだ述べていない効果又はとりわけ重要な効果について説明する。
"effect"
Next, effects achieved by the present embodiment having the above-described configuration, which have not yet been described, or particularly important effects will be described.

本実施の形態では、所定の場所に載置された貨幣に関して、撮像部50で取得された画像データに基づいて、預かり金額の金種別枚数を算出し、入力された売上金額と算出した預かり金額の金種別枚数とから釣銭金額を算出する。この点、撮像部50で取得された画像データに基づいて貨幣(つまり硬貨、紙幣又は硬貨及び紙幣の両方)の金種別枚数を算出する場合には、即座にその金種別枚数を算出することができるので、硬貨識別部150又は紙幣識別部250によって金種別枚数を算出する場合と比較して、格段に早く、その金種別枚数を算出することができる。また、画像データに基づいて貨幣の金種別枚数を算出することから、特許文献1で出金優先処理を選択した場合のようにレジ係等の操作者による数え間違いや不正が発生することもない。したがって、本実施の形態によれば、違算が発生したり不正が発生したりする可能性を低く抑えつつ、顧客を待たせる時間を短くすることができる。   In the present embodiment, with respect to money placed at a predetermined place, the number of denominations of the deposit amount is calculated based on the image data acquired by the imaging unit 50, the input sales amount and the calculated deposit amount The change amount is calculated from the number of money types. In this regard, when calculating the number of denominations of money (that is, coins, banknotes, or both coins and banknotes) based on the image data acquired by the imaging unit 50, the number of denominations can be calculated immediately. Therefore, the number of denominations can be calculated much faster than when the number of denominations is calculated by the coin recognition unit 150 or the banknote recognition unit 250. In addition, since the number of money denominations is calculated based on the image data, there is no possibility of miscounting or fraud by an operator such as a cashier as in the case where the withdrawal priority processing is selected in Patent Document 1. . Therefore, according to the present embodiment, it is possible to reduce the time to wait for the customer while suppressing the possibility of miscalculation or fraud.

また、本実施の形態によれば、撮像部50によって取得された貨幣の画像データに基づいて当該貨幣の金額情報を算出する際の算出精度を確認する確認モードが用意されていて、所定のタイミングで確認モードが実施されることにより、算出精度が適正であるか否かを確認できる。そして、不適正である場合には、調整作業を行うことにより、画像データに基づく預かり金額の算出精度を効果的に維持することができる。これにより、違算が発生したり不正が発生したりする可能性を、より一層低く抑えることができる。   In addition, according to the present embodiment, a confirmation mode for confirming calculation accuracy when calculating the money amount information of the money based on the money image data acquired by the imaging unit 50 is prepared, and a predetermined timing is provided. By executing the confirmation mode in step 1, it can be confirmed whether or not the calculation accuracy is appropriate. If it is inappropriate, the accuracy of calculating the deposit amount based on the image data can be effectively maintained by performing the adjustment work. As a result, the possibility of miscalculation or fraud can be further reduced.

また、本実施の形態によれば、確認モードが実施される際、撮像部50は、装置外に載置される所定の確認モード用貨幣の画像データを取得するようになっており、撮像部50によって取得された確認モード用貨幣の画像データに基づいて当該確認モード用貨幣の金額情報が算出されるようになっており、算出された前記金額情報と、予め特定されていた前記確認モード用貨幣の金額情報と、を比較する比較処理が行われて前記算出精度が確認されるようになっている。このように、予め金額情報が分かっている実際の貨幣である「確認モード用貨幣」が用いられる場合、極めて効果的に算出精度が確認され得る。   Further, according to the present embodiment, when the confirmation mode is performed, the imaging unit 50 acquires image data of the predetermined confirmation mode money placed outside the apparatus. The amount information of the confirmation mode money is calculated on the basis of the image data of the confirmation mode money acquired by 50, and the calculated amount information and the confirmation mode for the confirmation mode specified in advance are calculated. A comparison process for comparing the amount information of money is performed to confirm the calculation accuracy. In this way, when “confirmation mode money”, which is actual money whose amount information is known in advance, is used, the calculation accuracy can be confirmed extremely effectively.

特に、本実施の形態によれば、確認モード用貨幣として、6金種の各々の流通硬貨と新規硬貨が用いられるため、極めて効果的に算出精度(撮像、画像処理、演算といった一連の金額情報算出の精度)が確認(評価)され得る。   In particular, according to the present embodiment, each circulation coin and new coin of 6 denominations are used as the confirmation mode currency, so that the calculation accuracy (a series of monetary information such as imaging, image processing, calculation, etc.) is extremely effective. (Accuracy of calculation) can be confirmed (evaluated).

また、本実施の形態によれば、確認モードが実施されて算出精度に問題があると判断される際には、当該算出精度を向上させるための調整方法が表示されるようになっている。これにより、操作者は、極めて迅速に、貨幣処理装置の設置環境(例えば、貨幣処理装置の周囲の明るさ)、及び/または、貨幣処理装置の設置状態(例えば、撮像部50や吟味台14aの設置状態)を好適に調整することができる。   Further, according to the present embodiment, when it is determined that there is a problem in the calculation accuracy after the confirmation mode is performed, an adjustment method for improving the calculation accuracy is displayed. Accordingly, the operator can very quickly install the money handling apparatus (for example, brightness around the money handling apparatus) and / or the installed state of the money handling apparatus (for example, the imaging unit 50 or the examination table 14a). Can be suitably adjusted.

ちなみに、硬貨に関しては支払う枚数が多い傾向にあり、また硬貨が入金時に硬貨受入部110内で暴れてしまい取り込まれるまでに時間が掛かることがあるのに対して、紙幣に関しては支払う枚数が少ない傾向にあり、また紙幣が入金時に紙幣受入部210内で暴れてしまうことはないことから、画像データに基づいて硬貨の金種別枚数を算出する態様の方が、画像データに基づいて紙幣の金種別枚数を算出する態様よりも有益である。但し、画像データに基づいて紙幣の金種別枚数を算出しても当然よく、画像データに基づいて硬貨の金種別枚数と紙幣の金種別枚数の両方を算出しても当然よい。   By the way, there is a tendency that the number of coins to be paid tends to be large, and that coins may be violated in the coin receiving unit 110 at the time of deposit and take time to be taken in, whereas bills tend to be less to be paid. In addition, since the banknote is not violated in the banknote receiving unit 210 when the banknote is received, the mode of calculating the number of coin types based on the image data is more appropriate for the banknote type based on the image data. This is more advantageous than the aspect of calculating the number of sheets. However, the number of banknote denominations may be calculated based on the image data, and both the number of coin denominations and the number of banknotes may be calculated based on the image data.

また、本実施の形態において、画像データに基づいて各貨幣の金種を判別する態様を採用した場合には、所定の場所に載置された貨幣の各々に関する金種を判別することができるので、正確な金種別枚数を算出することができる。   Further, in the present embodiment, when the mode of discriminating the denomination of each currency based on the image data is adopted, the denomination related to each of the coins placed at a predetermined place can be discriminated. The exact number of denominations can be calculated.

また、前述した「所定の場所」として吟味台14aを採用した場合には、顧客に対して貨幣を載置すべき場所を直感的に理解させることができる。このため、画像データに基づいて貨幣の金種別枚数を算出する際の効率を高めることができる。   Further, when the examination table 14a is adopted as the “predetermined place” described above, the customer can intuitively understand the place where money should be placed. For this reason, the efficiency at the time of calculating the number of money denominations based on image data can be improved.

また、表示部551によって撮像部50で取得された画像データを表示する態様を採用した場合には、映し出された画像データに基づいて、操作者や顧客に対して様々な情報を提供することができる。一例として、表示部551が画像データに映し出された各貨幣に対して判断された金種を表示してもよく、この場合には、画像データに映し出された各貨幣の金種に対する判別が合っているか否かを操作者や顧客が一目で確認することができる。また、別の例としては、表示部551が画像データに映し出された貨幣に対して判断された金種別枚数を表示してもよく、この場合には、画像データに映し出された貨幣に対して判断された金種別枚数を操作者や顧客が一目で確認することができる。   Moreover, when the aspect which displays the image data acquired by the imaging part 50 by the display part 551 is employ | adopted, various information can be provided with respect to an operator or a customer based on the projected image data. it can. As an example, the display unit 551 may display the denomination determined for each currency displayed in the image data. In this case, the determination for the denomination of each currency displayed in the image data is appropriate. The operator and the customer can confirm at a glance whether or not As another example, the display unit 551 may display the number of denominations determined for the money displayed in the image data. In this case, the display unit 551 displays the money displayed in the image data. The operator or customer can confirm the determined number of denominations at a glance.

なお、操作者が利用するための登録表示部351と顧客が利用するための客側表示部356とが設けられている場合には、操作者だけでなく顧客にも画像データに基づく情報を提供することができる。このため、例えば顧客も納得したうえで画像データに基づいて算出された貨幣の金種別枚数を確定することができる。   When a registration display unit 351 for use by an operator and a customer side display unit 356 for use by a customer are provided, information based on image data is provided not only to the operator but also to the customer. can do. For this reason, for example, after the customer is convinced, the number of denominations of money calculated based on the image data can be determined.

貨幣の画像データに基づいて当該貨幣の金種をリアルタイムで判別し、判別結果に基づく情報を表示部551にリアルタイムで出力する態様によれば、例えば、画像データに映し出されている貨幣の金種をリアルタイムで把握することができ、画像データに基づいて金種別枚数が確定される前にその状況を操作者や顧客が把握することができる。   According to the aspect in which the denomination of the money is determined in real time based on the image data of money and the information based on the determination result is output to the display unit 551 in real time, for example, the denomination of the money displayed in the image data Can be grasped in real time, and the operator or customer can grasp the situation before the number of denominations is determined based on the image data.

また、貨幣の画像データに基づいて預かり金額の金種別枚数をリアルタイムで算出し、入力された売上金額と算出した預かり金額の金種別枚数とから釣銭金額又は不足金額をリアルタイムで算出する態様を採用した場合には、例えば、支払われた貨幣に基づいてリアルタイムに釣銭金額又は不足金額を表示部551で表示させることができる。仮に客側表示部356で釣銭金額又は不足金額がリアルタイムで表示されている場合には、後いくら出せば釣銭をまるめられるか(自身が受け取る釣銭の枚数を減らすことができるのか)、売上金額以上を支払うには後いくら以上の貨幣を出せばよいのか等を顧客に直感的に把握させることができる。また、このような態様によれば、自己が貨幣を支払い過ぎていることや、誤った金種の貨幣を支払っていることを顧客に気づかせることもできる。   In addition, the number of denominations of the deposit amount in real time is calculated based on the image data of money, and the change amount or shortage amount is calculated in real time from the input sales amount and the calculated number of denominations of the deposit amount In this case, for example, the change amount or the shortage amount can be displayed on the display unit 551 in real time based on the paid money. If the change amount or the shortage amount is displayed in real time on the customer side display unit 356, how much later can the change be rounded (can the number of changes received by the customer be reduced) or more than the sales amount? This makes it possible for the customer to intuitively know how much money should be paid later. Moreover, according to such an aspect, the customer can be made aware that he / she has paid too much money or that he / she has paid the wrong denomination.

とりわけ、判別結果に基づく情報が画像データに映し出された各貨幣に対して判別された金種を含む場合には、画像データ中の各貨幣の金種に対する判別が合っているか否かをリアルタイムで操作者や顧客が確認することができる。判別結果に基づく情報が画像データに映し出された貨幣の金種別枚数を含む場合には、画像データ中の貨幣の金種別枚数をリアルタイムで操作者や顧客が確認することができる。ちなみに、判別された金種に関しては、画像データ上の貨幣と重ね合わせて表示させてもよいし、画像データ上の貨幣に近接させた位置に表示させてもよい(図9参照)。   In particular, when the information based on the determination result includes the denomination determined for each currency displayed in the image data, it is determined in real time whether the determination for the denomination of each currency in the image data is correct. Can be confirmed by the operator or customer. When the information based on the determination result includes the number of money denominations displayed in the image data, the operator or the customer can check the number of money denominations in the image data in real time. By the way, the determined denomination may be displayed superimposed on money on the image data, or may be displayed at a position close to the money on the image data (see FIG. 9).

また、判別結果に基づく情報が画像データを含む場合には、画像データを見ながら、画像データ中の各貨幣の金種に対する判別が合っているか否かをリアルタイムで操作者や顧客が確認したり、画像データ中の貨幣の金種別枚数をリアルタイムで操作者や顧客が確認したりすることができる。   In addition, when the information based on the determination result includes image data, the operator and the customer can confirm in real time whether or not the determination for the denomination of each currency in the image data is appropriate while viewing the image data. The operator and the customer can confirm the number of money types in the image data in real time.

また、硬貨に関して撮像部50で取得された画像データに基づいて硬貨の金種別枚数を算出する場合において、硬貨識別部150による識別結果に基づいて硬貨受入部110で受け入れられた硬貨の金種別枚数を算出し、画像データに基づいて算出された硬貨の金種別枚数と、硬貨識別部150による識別結果に基づいて算出された硬貨の金種別枚数とを比較する態様を採用した場合には、画像データに基づいて算出された硬貨の金種別枚数と硬貨識別部150による識別結果に基づいて算出された硬貨の金種別枚数とを用いて二重に確認することができる。このため、より確実に、硬貨の違算の発生の可能性を低くすることができる。また、紙幣に関して撮像部50で取得された画像データに基づいて紙幣の金種別枚数を算出する場合において、紙幣識別部250による識別結果に基づいて紙幣受入部210で受け入れられた紙幣の金種別枚数を算出し、画像データに基づいて算出された紙幣の金種別枚数と、紙幣識別部250による識別結果に基づいて算出された紙幣の金種別枚数とを比較する態様を採用した場合には、画像データに基づいて算出された紙幣の金種別枚数と紙幣識別部250による識別結果に基づいて算出された紙幣の金種別枚数とを用いて二重に確認することができる。このため、より確実に、紙幣の違算の発生の可能性を低くすることができる。   In addition, when calculating the number of coin denominations based on the image data acquired by the imaging unit 50 for coins, the number of coin denominations received by the coin receiving unit 110 based on the identification result by the coin identifying unit 150. And calculating the number of coins calculated based on the image data and the number of coins calculated based on the result of identification by the coin identifying unit 150 are used. It is possible to double-check using the number of coin types calculated based on the data and the number of coin types calculated based on the identification result by the coin identifying unit 150. For this reason, the possibility of occurrence of coin miscalculation can be reduced more reliably. In addition, when calculating the number of denominations of banknotes based on the image data acquired by the imaging unit 50 for banknotes, the number of denominations of banknotes received by the banknote receiving unit 210 based on the identification result by the banknote identification unit 250. Is calculated and the number of banknotes calculated based on the image data is compared with the number of banknotes calculated based on the identification result by the banknote recognition unit 250. It is possible to double-check using the number of banknotes denominated based on the data and the number of banknotes denominated calculated based on the identification result by the banknote recognition unit 250. For this reason, the possibility of occurrence of miscalculation of banknotes can be reduced more reliably.

画像データに基づいて算出された硬貨の金種別枚数と硬貨識別部150による識別結果に基づいて算出された硬貨の金種別枚数とが合致しない場合や、画像データに基づいて算出された紙幣の金種別枚数と紙幣識別部250による識別結果に基づいて算出された紙幣の金種別枚数とが合致しない場合に、その旨を出力する態様を採用したときには、例えば、そのことを、表示部551等の報知部でアラーム表示したり、音声で知らせたりすることができる。   The amount of coin money calculated based on the image data does not match the number of coin money calculated based on the identification result by the coin recognition unit 150, or the money of the banknote calculated based on the image data When the number of types and the number of types of banknotes calculated based on the identification result by the banknote identification unit 250 do not match, when adopting a mode of outputting that effect, for example, the display unit 551 An alarm can be displayed on the notification unit or notified by voice.

また、画像データに基づいて算出された硬貨の金種別枚数と硬貨識別部150による識別結果に基づいて算出された硬貨の金種別枚数とが合致しないことや、画像データに基づいて算出された紙幣の金種別枚数と紙幣識別部250による識別結果に基づいて算出された紙幣の金種別枚数とが合致しないことの出力を受けて、合致していない旨のログを記憶部505に残すこともできる。   In addition, the number of coins calculated based on image data does not match the number of coins calculated based on the result of identification by the coin identifying unit 150, or the banknote calculated based on image data. In response to an output indicating that the number of denominations of the banknotes and the number of denominations of banknotes calculated based on the identification result by the banknote recognition unit 250 do not match, a log indicating that they do not match can be left in the storage unit 505. .

また、画像データに基づいて算出された硬貨の金種別枚数と硬貨識別部150による識別結果に基づいて算出された硬貨の金種別枚数とが合致しないことや、画像データに基づいて算出された紙幣の金種別枚数と紙幣識別部250による識別結果に基づいて算出された紙幣の金種別枚数とが合致しないことの出力を受けて、硬貨処理装置100又は紙幣処理装置200で受け入れられた硬貨又は紙幣の全てを硬貨払出部190又は紙幣払出部から返却したり、記憶部505に記憶されている当該取引に関する画像データを読み出して表示部551に表示させたりする場合には、操作者によって、硬貨識別部150又は紙幣識別部250による識別結果が正しかったのか、また、画像データに基づいて算出された算出結果が正しかったのか等を確認させることができる。   In addition, the number of coins calculated based on image data does not match the number of coins calculated based on the result of identification by the coin identifying unit 150, or the banknote calculated based on image data. Coins or banknotes received by the coin processing apparatus 100 or the banknote processing apparatus 200 in response to an output indicating that the number of banknote denominations calculated based on the identification result by the banknote recognition unit 250 does not match Is returned from the coin dispensing unit 190 or the banknote dispensing unit, or when the image data relating to the transaction stored in the storage unit 505 is read and displayed on the display unit 551, the operator identifies the coin. Whether the identification result by the unit 150 or the banknote identification unit 250 is correct, whether the calculation result calculated based on the image data is correct, etc. You can be sure.

また、本実施の形態においては、画像データに基づいて算出された硬貨の金種別枚数(あるいは合計金額)と硬貨識別部150による識別結果に基づいて算出された硬貨の金種別枚数(あるいは合計金額)とが合致しない場合の対応パターンが、複数用意されて記憶されている。そして、比較処理の結果、画像データに基づいて算出された硬貨の金種別枚数(あるいは合計金額)と硬貨識別部150による識別結果に基づいて算出された硬貨の金種別枚数(あるいは合計金額)とが合致しない場合に、複数の対応パターンのうちの一つが適宜の判別条件の判定結果に基づいて選択されて実施される。このことにより、店舗等の要望に合った柔軟な運用形態を常時実現することができる。   Further, in the present embodiment, the number of coin denominations (or the total amount) calculated based on the image data and the number of coin denominations (or the total amount) calculated based on the identification result by the coin identifying unit 150. ) And a plurality of corresponding patterns are prepared and stored. Then, as a result of the comparison processing, the number of coin types (or total amount) of coins calculated based on the image data and the number of coin types (or total amount) of coins calculated based on the identification result by the coin identifying unit 150 Is not selected, one of the plurality of corresponding patterns is selected and implemented based on the determination result of an appropriate determination condition. This makes it possible to always realize a flexible operation mode that meets the demands of stores and the like.

また、画像データに基づいて異物を検出する場合には、異物によって画像データに基づいて貨幣の金種別枚数(あるいは合計金額)を算出することができなくなったり、当該異物が硬貨処理装置100内に投入されることを未然に防止したりすることができる。なお、画像データに基づいて異物をリアルタイムで検出する場合には、状況の変化をリアルタイムで追従することができ、例えば異物が取り除かれた場合等には、そのことを即座に判断することができる。   Further, when a foreign object is detected based on image data, it becomes impossible to calculate the number of money types (or total amount) of money based on the image data by the foreign object, or the foreign object is in the coin processing apparatus 100. It can be prevented in advance. In addition, when detecting a foreign substance in real time based on image data, it is possible to follow a change in the situation in real time. For example, when the foreign substance is removed, this can be immediately determined. .

また、画像データに基づいて異物を検出した場合に当該異物に関する情報を出力する態様を採用したときには、異物が存在する場所、異物の大きさ、異物の種類等を、表示部551等の報知部で表示させたり、音声で知らせたりすることができる。なお、吟味台14a等の載置部10に予め番地が割り振られており、異物が存在する番地を登録表示部351等で表示するようにしてもよい。一例としては、吟味台14aの幅方向にA、B、・・・という番地が振られ、吟味台14aの奥行き方向に1、2、3、・・・という番地が振られており、登録表示部351で「3Cに異物有り」というような表示がなされてもよい。なおこの場合には、製造コストを抑える観点から、表示部551に画像データを表示させないようにしてもよい。また、吟味台14a等の載置部10内にLED等の発光部が複数埋め込まれており、異物が存在する箇所の最も近い位置に位置する発光部が発光するようにしてもよい。ところで、このような態様によれば、異物として判断された汚損硬貨や変形してしまった硬貨、汚損紙幣等を認識することなく預かり金を確定してしまう事態が発生することを防止できることから、顧客から預かった預かり金額をより正確に把握することができる。   In addition, when a foreign matter is detected based on the image data, and a mode in which information related to the foreign matter is output is adopted, a notification unit such as the display unit 551 indicates the location of the foreign matter, the size of the foreign matter, the type of foreign matter, and the like. Can be displayed with or can be notified by voice. Note that an address may be allocated in advance to the placement unit 10 such as the examination table 14a, and an address where a foreign object exists may be displayed on the registration display unit 351 or the like. As an example, addresses A, B,... Are assigned in the width direction of the examination table 14a, and addresses 1, 2, 3,... Are assigned in the depth direction of the examination table 14a. Display such as “There is a foreign object in 3C” may be made on the part 351. In this case, the image data may not be displayed on the display unit 551 from the viewpoint of reducing the manufacturing cost. Alternatively, a plurality of light emitting units such as LEDs may be embedded in the mounting unit 10 such as the examination table 14a, and the light emitting unit located closest to the location where the foreign matter exists may emit light. By the way, according to such an aspect, it is possible to prevent the occurrence of a situation in which deposits are confirmed without recognizing a damaged coin, a deformed coin, a damaged banknote, etc. It is possible to more accurately grasp the amount deposited from customers.

売上金額に基づいて余分な貨幣が載置されているか否かをリアルタイムで判断する態様を採用した場合であって、当該余分な貨幣に関する情報が出力される場合には、例えば、預かり金額を確定する前にそのことを顧客や操作者に知らせることができる。このため、無駄な釣銭を支払う作業をなくすことができる。ちなみに、このような態様によれば、外国人等の日本円に関する知識が乏しく、自己が支払っている貨幣の中に無駄があるのかないのかを把握していない顧客に対しても、余分な貨幣が支払われていることを操作者が容易に説明することができるし、当該顧客も余分な貨幣が支払われていることを自ら判断することができる。   For example, when information on excess money is output in real time based on the sales amount, it is determined whether or not extra money is placed. You can let your customers and operators know about it. For this reason, the work which pays useless change can be eliminated. By the way, according to such an aspect, even if the foreigner has little knowledge of the Japanese yen and does not know whether there is any waste in the money he or she pays, extra money The operator can easily explain that the money is paid, and the customer can determine that the extra money is paid.

本実施の形態の吟味台14a等からなる載置部10が区分け部15を有する場合には、載置部10に載置される貨幣を互いに離間させた状態に区分けすることができるので、載置部10上で貨幣が重なり合った結果、当該貨幣の金種を判断できない事態が発生することを極力防止することができる。   When the placement unit 10 including the examination table 14a of the present embodiment has the sorting unit 15, the money placed on the placement unit 10 can be sorted into a state of being separated from each other. As a result of the overlapping of money on the placement unit 10, it is possible to prevent as much as possible the situation in which the denomination of the money cannot be determined.

そして、区分け部15が、載置部10の載置面に沿って形成される多角形状又は円形状の区画を画定する突出壁である場合には、より確実に貨幣を分離することができる。他方、区分け部15が、載置面に沿って形成される所定の区画の頂点に位置する複数の突起部である場合には、より低い材料コストで区分け部15を製造することができる。   And when the division part 15 is a protrusion wall which demarcates the polygonal shape or circular section formed along the mounting surface of the mounting part 10, money can be isolate | separated more reliably. On the other hand, when the sorting part 15 is a plurality of protrusions located at the apexes of a predetermined section formed along the placement surface, the sorting part 15 can be manufactured at a lower material cost.

また、区画の大きさは、取扱い対象とする硬貨のうち最大径の硬貨の直径よりも大きく取扱い対象とする硬貨のうち最小径の硬貨の直径の2倍よりも小さい場合には、各区画の中に2枚以上の硬貨が入ってしまうことを防止することができる。   In addition, when the size of the section is larger than the diameter of the largest diameter coin among the coins to be handled and smaller than twice the diameter of the smallest diameter coin among the coins to be handled, It is possible to prevent two or more coins from entering.

また、区分け部15の厚みが、取扱い対象とする硬貨のうち最も厚みの薄い硬貨の厚みよりも薄くなっている場合には、各区画の中に2枚以上の硬貨が重なって配置されてしまうことを防止することができる。   Moreover, when the thickness of the division part 15 is thinner than the thickness of the thinnest coin among the coins to be handled, two or more coins will be arranged in each compartment. This can be prevented.

また、載置部10が、区分け部15を有する第一部材11と、第一部材11の下方に設けられるとともに第一部材11に対して開閉可能な第二部材12と、を有する場合には、第二部材12を第一部材11に対して開状態とすることで、載置部10の載置面に載置された硬貨を下方に落下させることができる。したがって、例えば硬貨受入部110やシュート20が載置部10の下方に位置している場合には、載置部10に載置された硬貨をそのまま又はシュート20を介して硬貨受入部110内に投入することができる。   Moreover, when the mounting part 10 has the 1st member 11 which has the division part 15, and the 2nd member 12 which can be opened and closed with respect to the 1st member 11 while being provided under the 1st member 11 By making the second member 12 open with respect to the first member 11, the coin placed on the placement surface of the placement unit 10 can be dropped downward. Therefore, for example, when the coin receiving unit 110 and the chute 20 are located below the placing unit 10, the coin placed on the placing unit 10 is left in the coin receiving unit 110 as it is or via the chute 20. Can be thrown in.

また、第二部材12が例えば網目構造となっており、ゴミ抜き穴12aが形成されている場合には、載置部10上の異物を除去することができ、異物が誤って硬貨受入部110内に投入されることを防止することができる。なお、載置部10が硬貨を載置するためのものである場合には、ゴミ抜き穴12aの大きさを取扱い対象とする硬貨のうち最小径の硬貨の直径よりも小さくすることで、第二部材12から硬貨が誤って落下してしまうことを防止することができる。   Further, when the second member 12 has, for example, a mesh structure and the dust removal hole 12a is formed, the foreign matter on the placement unit 10 can be removed, and the foreign matter is erroneously received by the coin receiving unit 110. Can be prevented. In addition, when the mounting part 10 is for mounting a coin, the size of the dust extraction hole 12a is made smaller than the diameter of the smallest coin among the coins to be handled. It is possible to prevent coins from accidentally falling from the two members 12.

また、第二部材12の下方に、ゴミ収容部13aを有するとともに、当該第二部材12に対して取り外し自在又は開閉自在となった第三部材13が設けられている態様を採用した場合には、ゴミ抜き穴12aを通過して落下したゴミ等の異物をゴミ収容部13aで収容し、このようにして収容された異物を、第三部材13を第二部材12から取り外したり、第三部材13及び第二部材12を第一部材11から取り外した後で、第三部材13を第二部材12に対して開状態としたりすることで適宜捨てることができる。   In addition, when adopting a mode in which the second member 12 is provided with the dust storage portion 13a and the third member 13 that is detachable or openable with respect to the second member 12 is employed. Foreign matter such as dust that has fallen through the dust removal hole 12a is stored in the dust storage portion 13a, and the third member 13 is removed from the second member 12 or the third member 13 is removed from the second member 12 as described above. After the 13 and the second member 12 are removed from the first member 11, the third member 13 can be appropriately discarded by opening the third member 13 with respect to the second member 12.

《更なる変形例1》
更なる変形例として、釣銭機(硬貨処理装置100及び紙幣処理装置200)を含まない構成も採用可能である。例えば、釣銭機の代わりに、貨幣ドロアが設けられてもよい。貨幣ドロアとは、POSレジスタ(登録装置300)の一部として設けられる貨幣用の引き出しタイプの収納部である。この場合、POSレジスタ(登録装置300)に吟味台14aや撮像部50が設けられる。
<< Further Modification 1 >>
As a further modification, a configuration that does not include a change machine (the coin processing device 100 and the banknote processing device 200) can be employed. For example, a money drawer may be provided instead of the change machine. The money drawer is a drawer-type storage unit for money provided as a part of the POS register (registration device 300). In this case, the examination table 14a and the imaging unit 50 are provided in the POS register (registration device 300).

このような変形例においては、顧客が支払った貨幣が吟味台14a上に載置され、撮像部50によって取得された画像データに基づいて、画像判別処理を経て金種別枚数が算出される。   In such a modification, the money paid by the customer is placed on the examination table 14a, and the number of denominations is calculated through an image discrimination process based on the image data acquired by the imaging unit 50.

当該変形例では、硬貨処理装置100及び紙幣処理装置200が無く、すなわち、硬貨識別部150及び紙幣識別部250が無いため、これら硬貨識別部150及び紙幣識別部250による貨幣の識別結果に基づいて貨幣の金額情報(金種別枚数、合計金額)が算出されることはない。従って、画像データに基づく硬貨ないし紙幣の金種別枚数と、硬貨識別部150ないし紙幣識別部250による識別結果に基づく硬貨ないし紙幣の金種別枚数と、が突合されることはない。   In the modification, since there are no coin processing device 100 and banknote processing device 200, that is, there is no coin recognition unit 150 and banknote recognition unit 250, based on the result of identifying the money by these coin recognition unit 150 and banknote recognition unit 250. Money amount information (number of denominations, total amount) is not calculated. Therefore, the number of coins or banknotes by money type based on image data and the number of coins or banknotes by money type based on the identification results by the coin recognition unit 150 or banknote recognition unit 250 are not matched.

もっとも、POSレジスタの操作者(レジ担当者)が視認した金額情報に基づく突合処理が行われてもよい。すなわち、画像データに基づく硬貨ないし紙幣の金種別枚数と、POSレジスタの操作者が視認した結果に基づいて例えば登録操作部352から入力された硬貨ないし紙幣の金種別枚数と、が突合されてもよい。この場合、硬貨や紙幣の重なりに起因する画像判別上のエラーに基づく違算の発生を効果的に回避することができる。   However, a reconciliation process may be performed based on the amount information visually recognized by the POS register operator (a cashier person in charge). That is, even if the number of coins or banknotes denominated based on the image data is matched with the number of coins or banknotes denominated by the registration operation unit 352 based on the result visually recognized by the POS register operator, for example. Good. In this case, it is possible to effectively avoid the occurrence of miscalculation based on an image discrimination error caused by the overlap of coins and bills.

預かり金額に問題がないようであれば、POSレジスタの操作者が例えば登録操作部352から取引を確定する旨の入力を行う(図15(c)参照:図15(c)では「現計押下」として示されている。)。この際、操作者が登録操作部352から取引を確定する旨の入力を行ってもよいが、客側表示部356がタッチパネル等からなっている場合には、顧客が当該客側表示部356の確認ボタンを押下することで取引を確定する旨の入力を行ってもよい。   If there is no problem with the deposit amount, the operator of the POS register makes an input to confirm the transaction from, for example, the registration operation unit 352 (see FIG. 15C: In FIG. ").) At this time, the operator may input from the registration operation unit 352 to confirm the transaction. However, if the customer side display unit 356 is a touch panel or the like, the customer An input to confirm the transaction may be performed by pressing the confirmation button.

このように取引を確定する旨の入力が行われると、顧客からの預かり金額の合計金額が確定する。この結果、必要な場合には、POSレジスタにおいて釣銭額の算出がなされ、釣銭の出金が必要な場合には、例えば対応する貨幣ドロアが自動的に開放され、当該貨幣ドロアからPOSレジスタの操作者が算出された釣銭額に相当する貨幣を手動で取り出して顧客に手渡す。一方、預かり金額の収納のため、例えば対応する貨幣ドロアが自動的に開放され、POSレジスタの操作者が例えば金種毎に対応する貨幣ドロアに吟味台14a上の貨幣を手動で収納する。   When the input for confirming the transaction is performed in this way, the total amount of the deposit amount from the customer is confirmed. As a result, if necessary, the amount of change is calculated in the POS register, and if the change needs to be withdrawn, for example, the corresponding money drawer is automatically opened, and the operation of the POS register is performed from the money drawer. The person manually takes out the money corresponding to the calculated change amount and hands it to the customer. On the other hand, in order to store the deposit amount, for example, the corresponding money drawer is automatically opened, and the operator of the POS register manually stores the money on the examination table 14a in, for example, the money drawer corresponding to each denomination.

《更なる変形例2》
更なる変形例として、算出精度が不適正であると判定される場合(図19のSTEP25における「No」参照)、その旨を示す警告画面(図21(c)の画面)が表示部551に表示される代わりに、あるいは、その旨を示す警告画面(図21(c)の画面)が表示部551に表示されることに加えて、その旨を示す警告画面及び/またはその際に算出精度を向上させるための調整方法がPOSレジスタ(登録装置300)の印刷部370によって印刷されてもよい。
<< Further Modification 2 >>
As a further modification, when it is determined that the calculation accuracy is inappropriate (see “No” in STEP 25 of FIG. 19), a warning screen (screen of FIG. 21C) to that effect is displayed on the display unit 551. Instead of being displayed, or in addition to being displayed on the display unit 551, a warning screen indicating that fact (screen of FIG. 21C), and / or calculating accuracy at that time An adjustment method for improving the image quality may be printed by the printing unit 370 of the POS register (registration device 300).

この場合、警告の内容及び/またはその際に算出精度を向上させるための調整方法について、印刷されたものを持参することが可能であるため、例えば他の場所にいる他の担当者に問い合わせることが容易である。   In this case, since it is possible to bring a printed version of the warning content and / or adjustment method for improving the calculation accuracy at that time, for example, contact other persons in charge at other locations. Is easy.

《まとめ》
最後になったが、前述した各実施の形態の記載及び図面の開示は、特許請求の範囲に記載された発明を説明するための一例に過ぎず、前述した実施の形態の記載又は図面の開示によって特許請求の範囲に記載された発明が限定されることはない。
<Summary>
Lastly, the description of each embodiment and the disclosure of the drawings described above are merely examples for explaining the invention described in the claims, and the description of the embodiment or the disclosure of the drawings described above. The invention described in the scope of claims is not limited by this.

10 載置部
14a 吟味台
50 撮像部(撮像手段)
100 硬貨処理装置
101 上位制御部(制御部)
102 硬貨制御部(制御部)
105 硬貨記憶部(記憶部)
109 硬貨処理ユニット
150 硬貨識別部
152 操作表示部(操作部、表示部)
153 ボタン式操作部(操作部)
155 上位記憶部(記憶部)
170 カードリーダ
200 紙幣処理装置
202 紙幣制御部(制御部)
205 紙幣記憶部(記憶部)
250 紙幣識別部
300 登録装置
400 サーバ
502 制御部
505 記憶部
551 表示部
552 操作部
10 Placement part 14a Examination stand 50 Imaging part (imaging means)
100 coin processing apparatus 101 Host control unit (control unit)
102 Coin control unit (control unit)
105 Coin storage unit (storage unit)
109 Coin Processing Unit 150 Coin Identification Unit 152 Operation Display Unit (Operation Unit, Display Unit)
153 Button-type operation unit (operation unit)
155 Host storage unit (storage unit)
170 Card reader 200 Banknote processing apparatus 202 Banknote control part (control part)
205 bill storage unit (storage unit)
250 bill recognition unit 300 registration device 400 server 502 control unit 505 storage unit 551 display unit 552 operation unit

Claims (16)

貨幣処理装置であって、
装置外に載置される貨幣の画像データを取得する撮像手段と、
貨幣の模様をあらかじめ記憶させておく記憶部と、
前記撮像手段によって取得された貨幣の画像データに基づいて当該貨幣の金額情報を算出する算出手段と、
前記画像データに基づいて算出された金額情報を記録する記録手段と、
を備え、
前記撮像手段によって取得された貨幣の画像データと、前記記憶部にあらかじめ記憶されている貨幣の模様とを比較し、当該貨幣の金額情報を算出する際の算出精度を確認する確認モードが用意されていて、所定のタイミングで実施されるようになっている
ことを特徴とする貨幣処理装置。
A money handling apparatus,
Imaging means for acquiring image data of money placed outside the apparatus;
A storage unit for storing a pattern of money in advance;
Calculation means for calculating money amount information based on image data of money acquired by the imaging means;
Recording means for recording money amount information calculated based on the image data;
With
A confirmation mode is provided for comparing the image data of money acquired by the imaging means with the pattern of money stored in advance in the storage unit and confirming the calculation accuracy when calculating the amount information of the money. The money handling apparatus is implemented at a predetermined timing.
前記確認モードが実施される際、当該貨幣処理装置の設置環境が要因となって算出精度に問題が生じたか否かの判定を行うようになっている
ことを特徴とする請求項1に記載の貨幣処理装置。
The determination according to claim 1, wherein when the confirmation mode is implemented, it is determined whether or not a problem has occurred in calculation accuracy due to an installation environment of the money handling apparatus. Money handling equipment.
前記設置環境として、当該貨幣処理装置の周囲の明るさが要因となって算出精度に問題が生じたか否かの判定を行うようになっていることを特徴とする請求項2に記載の貨幣処理装置。 3. The money processing according to claim 2, wherein as the installation environment, it is determined whether or not there is a problem in calculation accuracy due to brightness around the money handling apparatus. apparatus. 前記確認モードが実施される際、当該貨幣処理装置の設置状態が要因となって算出精度に問題が生じたか否かの判定を行うようになっている
ことを特徴とする請求項1に記載の貨幣処理装置。
The determination according to claim 1, wherein when the confirmation mode is performed, it is determined whether or not a problem has occurred in calculation accuracy due to an installation state of the money handling apparatus. Money handling equipment.
前記設置状態として、前記撮像手段の設置状態が要因となって算出精度に問題が生じたか否かの判定を行うようになっていることを特徴とする請求項4に記載の貨幣処理装置。 5. The money handling apparatus according to claim 4, wherein as the installation state, a determination is made as to whether or not a problem has occurred in calculation accuracy due to an installation state of the imaging means. 前記撮像手段は、装置外の載置部上に載置される貨幣の画像データを取得するようになっており、
前記設置状態として、前記載置部の状態が要因となって算出精度に問題が生じたか否かの判定を行うようになっている
ことを特徴とする請求項4に記載の貨幣処理装置。
The imaging means is adapted to acquire image data of money placed on a placement unit outside the apparatus,
5. The money handling apparatus according to claim 4, wherein as the installation state, it is determined whether or not a problem has occurred in calculation accuracy due to the state of the placement unit.
前記確認モードが実施される際、
前記撮像手段は、装置外に載置される所定の確認モード用貨幣の画像データを取得するようになっており、
前記算出手段は、前記撮像手段によって取得された確認モード用貨幣の画像データに基づいて当該確認モード用貨幣の金額情報を算出するようになっており、
算出された前記金額情報と、予め記録されていた前記確認モード用貨幣の金額情報と、を比較する比較処理が行われて前記算出精度が確認されるようになっている
ことを特徴とする請求項1乃至6のいずれかに記載の貨幣処理装置。
When the confirmation mode is performed,
The imaging means is adapted to obtain image data of a predetermined confirmation mode currency placed outside the apparatus,
The calculation means is configured to calculate the amount information of the confirmation mode money based on the image data of the confirmation mode money acquired by the imaging means,
The calculation accuracy is confirmed by performing a comparison process for comparing the calculated amount information and the amount information of the confirmation mode money recorded in advance. Item 7. A money handling apparatus according to any one of Items 1 to 6.
前記確認モード用貨幣は、複数金種の各々の流通貨幣と新規貨幣である
ことを特徴とする請求項7に記載の貨幣処理装置。
The money processing apparatus according to claim 7, wherein the money for confirmation mode is a current money and a new money of a plurality of denominations.
前記確認モードが実施される際、
前記撮像手段は、装置外に載置される所定の確認モード用媒体の画像データを取得するようになっており、
前記算出手段は、前記撮像手段によって取得された確認モード用媒体の画像データに基づいて当該確認モード用媒体が対応するであろう金額情報を算出するようになっており、
算出された前記金額情報と、予め記録されていた前記確認モード用媒体が対応する金額情報と、を比較する比較処理が行われて前記算出精度が確認されるようになっている
ことを特徴とする請求項1乃至6のいずれかに記載の貨幣処理装置。
When the confirmation mode is performed,
The imaging means is adapted to acquire image data of a predetermined confirmation mode medium placed outside the apparatus,
The calculating means calculates amount information that the confirmation mode medium will correspond based on the image data of the confirmation mode medium acquired by the imaging means,
A comparison process for comparing the calculated amount information with the amount information corresponding to the confirmation mode medium recorded in advance is performed to confirm the calculation accuracy. The money handling apparatus according to any one of claims 1 to 6.
前記確認モードが実施されて、前記算出精度に問題がないと判断される際には、前記確認モードから通常モードに復帰するようになっている
ことを特徴とする請求項1乃至9のいずれかに記載の貨幣処理装置。
10. The method according to claim 1, wherein when the confirmation mode is performed and it is determined that there is no problem in the calculation accuracy, the confirmation mode is returned to the normal mode. The money handling apparatus described in 1.
前記確認モードが実施されて、前記算出精度に問題があると判断される際には、当該算出精度を向上させるための調整方法が出力されるようになっている
ことを特徴とする請求項1乃至10のいずれかに記載の貨幣処理装置。
The adjustment method for improving the calculation accuracy is output when the confirmation mode is performed and it is determined that there is a problem in the calculation accuracy. The money handling apparatus in any one of thru | or 10.
売上金額を入力するための外部端末と、
請求項1乃至11のいずれかに記載の貨幣処理装置と、
前記売上金額と、少なくとも算出された前記金額情報を含む預かり金情報とから釣銭金額を算出する制御部と、
を備えたことを特徴とする貨幣処理システム。
An external terminal for entering the sales amount,
The money handling apparatus according to any one of claims 1 to 11,
A control unit that calculates a change amount from the sales amount and deposit information including at least the calculated amount information;
A money handling system characterized by comprising:
前記外部端末には、前記算出精度に関する情報を表示する表示部が設けられている
ことを特徴とする請求項12に記載の貨幣処理システム。
The money processing system according to claim 12, wherein the external terminal is provided with a display unit that displays information related to the calculation accuracy.
前記外部端末に、前記算出精度に問題があるか否かを判定する判定手段が設けられている
ことを特徴とする請求項12または13に記載の貨幣処理システム。
The money processing system according to claim 12 or 13, wherein the external terminal is provided with a determination unit that determines whether or not the calculation accuracy has a problem.
撮像手段によって取得された貨幣の画像データに基づいて当該貨幣の金額情報を算出する際の算出精度を確認する貨幣処理装置の算出精度の確認方法において、
前記撮像手段によって、確認モード用貨幣の画像データを取得する工程と、
前記画像データに基づいて当該確認モード用貨幣の金額情報を算出する工程と、
算出された前記金額情報と、予め記録されていた前記確認モード用貨幣の金額情報と、を比較する比較処理が行われて前記算出精度を確認する確認工程と、
を備えたことを特徴とする貨幣処理装置の算出精度の確認方法。
In the confirmation method of the calculation accuracy of the money handling apparatus for checking the calculation accuracy when calculating the money amount information of the money based on the image data of the money acquired by the imaging means,
By the image pickup means, a step of acquiring the image data of the confirmation mode for money,
Calculating the amount information of the confirmation mode money based on the image data;
And calculated the amount information, a confirmation step for comparison to verify the calculation accuracy is performed to compare the amount information prerecorded which was the confirmation mode for money, a,
A method for confirming the calculation accuracy of the money handling apparatus.
撮像手段によって取得された貨幣の画像データに基づいて当該貨幣の金額情報を算出する際の算出精度を確認する貨幣処理装置の算出精度の確認方法において、
前記撮像手段によって、確認モード用媒体の画像データを取得する工程と、
前記画像データに基づいて当該確認モード用媒体が対応するであろう金額情報を算出する工程と、
算出された前記金額情報と、予め記録されていた前記確認モード用媒体が対応するべき金額情報と、を比較する比較処理が行われて前記算出精度を確認する確認工程と、
を備えたことを特徴とする貨幣処理装置の算出精度の確認方法。
In the confirmation method of the calculation accuracy of the money handling apparatus for checking the calculation accuracy when calculating the money amount information of the money based on the image data of the money acquired by the imaging means,
By the image pickup means, a step of acquiring the image data of the confirmation mode for medium,
Calculating the amount information that the confirmation mode medium will correspond based on the image data;
And calculated the amount information, a confirmation step of confirming the calculation accuracy comparison process is performed to prerecorded the confirmation mode for medium had to compare the amount information should correspond, and
A method for confirming the calculation accuracy of the money handling apparatus.
JP2015159112A 2015-08-11 2015-08-11 Money handling apparatus and money handling method Active JP6567361B2 (en)

Priority Applications (1)

Application Number Priority Date Filing Date Title
JP2015159112A JP6567361B2 (en) 2015-08-11 2015-08-11 Money handling apparatus and money handling method

Applications Claiming Priority (1)

Application Number Priority Date Filing Date Title
JP2015159112A JP6567361B2 (en) 2015-08-11 2015-08-11 Money handling apparatus and money handling method

Publications (2)

Publication Number Publication Date
JP2017037530A JP2017037530A (en) 2017-02-16
JP6567361B2 true JP6567361B2 (en) 2019-08-28

Family

ID=58048415

Family Applications (1)

Application Number Title Priority Date Filing Date
JP2015159112A Active JP6567361B2 (en) 2015-08-11 2015-08-11 Money handling apparatus and money handling method

Country Status (1)

Country Link
JP (1) JP6567361B2 (en)

Families Citing this family (5)

* Cited by examiner, † Cited by third party
Publication number Priority date Publication date Assignee Title
EP3534391B1 (en) * 2018-03-01 2020-11-04 FEI Company Discriminative imaging technique in scanning transmission charged particle microscopy
JP7172060B2 (en) * 2018-03-02 2022-11-16 日本電気株式会社 Information processing device, information processing method and program
KR101951794B1 (en) * 2018-07-10 2019-05-02 (주)한국전자금화폐 A method of electronic cash generation using the identification of goldcoin
JP2020042485A (en) 2018-09-10 2020-03-19 グローリー株式会社 Currency information providing system, currency information providing database server, currency information providing method and currency information providing program
JP2021189990A (en) * 2020-06-04 2021-12-13 東芝テック株式会社 Management device and management system

Also Published As

Publication number Publication date
JP2017037530A (en) 2017-02-16

Similar Documents

Publication Publication Date Title
JP6604180B2 (en) Product sales data processing apparatus and program
JP6567361B2 (en) Money handling apparatus and money handling method
EP3171344A1 (en) Settlement apparatus
JP2016028316A (en) Currency processing device, currency processing system, and currency processing method
CN105303690B (en) Cash register system and its transaction control method
WO2011121735A1 (en) Currency transfer system, currency transfer method in same, and conveyor cassette for currency processing device
JP6585409B2 (en) Money handling apparatus, money handling system, and money handling method
JP2017037475A (en) Currency processing device, currency processing system, and currency processing method
US11455857B2 (en) Money handling apparatus, money handling system, and money handling method
JP2013020301A (en) Adjustment system
JP2016212756A (en) Currency processing device and currency processing method
JP5663547B2 (en) Money management apparatus and program thereof
WO2011121736A1 (en) Currency distribution system and currency distribution method in same
JP2016018546A (en) Money handling apparatus, money handling system, and money handling method
WO2011121733A1 (en) Bill storage and payout device, and bill output method in same
JP6584160B2 (en) Money handling apparatus and money handling method
JP6576687B2 (en) Money handling system and money handling method
JP2017021701A (en) Currency processing device and currency processing method
JP6840406B2 (en) Product sales data processing equipment and programs
JP5329612B2 (en) POS system
EP3054428A2 (en) Cash processing apparatus and system
EP4064233A1 (en) Money processing device
JP7226838B2 (en) Merchandise sales data processor and program
JP2016018547A (en) Currency processing device, and currency processing system
JP6882553B2 (en) Money processing device

Legal Events

Date Code Title Description
RD03 Notification of appointment of power of attorney

Free format text: JAPANESE INTERMEDIATE CODE: A7423

Effective date: 20160927

RD03 Notification of appointment of power of attorney

Free format text: JAPANESE INTERMEDIATE CODE: A7423

Effective date: 20180529

A621 Written request for application examination

Free format text: JAPANESE INTERMEDIATE CODE: A621

Effective date: 20180606

A977 Report on retrieval

Free format text: JAPANESE INTERMEDIATE CODE: A971007

Effective date: 20190314

A131 Notification of reasons for refusal

Free format text: JAPANESE INTERMEDIATE CODE: A131

Effective date: 20190409

A521 Written amendment

Free format text: JAPANESE INTERMEDIATE CODE: A523

Effective date: 20190524

TRDD Decision of grant or rejection written
A01 Written decision to grant a patent or to grant a registration (utility model)

Free format text: JAPANESE INTERMEDIATE CODE: A01

Effective date: 20190716

A61 First payment of annual fees (during grant procedure)

Free format text: JAPANESE INTERMEDIATE CODE: A61

Effective date: 20190731

R150 Certificate of patent or registration of utility model

Ref document number: 6567361

Country of ref document: JP

Free format text: JAPANESE INTERMEDIATE CODE: R150