JP6554300B2 - 光電変換装置の製造方法 - Google Patents

光電変換装置の製造方法 Download PDF

Info

Publication number
JP6554300B2
JP6554300B2 JP2015065901A JP2015065901A JP6554300B2 JP 6554300 B2 JP6554300 B2 JP 6554300B2 JP 2015065901 A JP2015065901 A JP 2015065901A JP 2015065901 A JP2015065901 A JP 2015065901A JP 6554300 B2 JP6554300 B2 JP 6554300B2
Authority
JP
Japan
Prior art keywords
semiconductor layer
type semiconductor
photoelectric conversion
conversion device
layer
Prior art date
Legal status (The legal status is an assumption and is not a legal conclusion. Google has not performed a legal analysis and makes no representation as to the accuracy of the status listed.)
Active
Application number
JP2015065901A
Other languages
English (en)
Other versions
JP2016186968A (ja
Inventor
将典 福田
将典 福田
Current Assignee (The listed assignees may be inaccurate. Google has not performed a legal analysis and makes no representation or warranty as to the accuracy of the list.)
Kaneka Corp
Original Assignee
Kaneka Corp
Priority date (The priority date is an assumption and is not a legal conclusion. Google has not performed a legal analysis and makes no representation as to the accuracy of the date listed.)
Filing date
Publication date
Application filed by Kaneka Corp filed Critical Kaneka Corp
Priority to JP2015065901A priority Critical patent/JP6554300B2/ja
Publication of JP2016186968A publication Critical patent/JP2016186968A/ja
Application granted granted Critical
Publication of JP6554300B2 publication Critical patent/JP6554300B2/ja
Active legal-status Critical Current
Anticipated expiration legal-status Critical

Links

Images

Classifications

    • YGENERAL TAGGING OF NEW TECHNOLOGICAL DEVELOPMENTS; GENERAL TAGGING OF CROSS-SECTIONAL TECHNOLOGIES SPANNING OVER SEVERAL SECTIONS OF THE IPC; TECHNICAL SUBJECTS COVERED BY FORMER USPC CROSS-REFERENCE ART COLLECTIONS [XRACs] AND DIGESTS
    • Y02TECHNOLOGIES OR APPLICATIONS FOR MITIGATION OR ADAPTATION AGAINST CLIMATE CHANGE
    • Y02EREDUCTION OF GREENHOUSE GAS [GHG] EMISSIONS, RELATED TO ENERGY GENERATION, TRANSMISSION OR DISTRIBUTION
    • Y02E10/00Energy generation through renewable energy sources
    • Y02E10/50Photovoltaic [PV] energy
    • Y02E10/549Organic PV cells
    • YGENERAL TAGGING OF NEW TECHNOLOGICAL DEVELOPMENTS; GENERAL TAGGING OF CROSS-SECTIONAL TECHNOLOGIES SPANNING OVER SEVERAL SECTIONS OF THE IPC; TECHNICAL SUBJECTS COVERED BY FORMER USPC CROSS-REFERENCE ART COLLECTIONS [XRACs] AND DIGESTS
    • Y02TECHNOLOGIES OR APPLICATIONS FOR MITIGATION OR ADAPTATION AGAINST CLIMATE CHANGE
    • Y02PCLIMATE CHANGE MITIGATION TECHNOLOGIES IN THE PRODUCTION OR PROCESSING OF GOODS
    • Y02P70/00Climate change mitigation technologies in the production process for final industrial or consumer products
    • Y02P70/50Manufacturing or production processes characterised by the final manufactured product

Landscapes

  • Electroluminescent Light Sources (AREA)
  • Photovoltaic Devices (AREA)

Description

本発明は、p型半導体層、i型半導体層、及びn型半導体層が接合されたpin接合を備えた光電変換装置に関する。特に、p型半導体層とi型半導体層の結晶構造がペロブスカイト構造をとる太陽電池に関する。
近年、太陽電池の新たな発電層の材料として、有機無機ハイブリッドペロブスカイト化合物を用いたペロブスカイト型太陽電池が注目されている。このペロブスカイト型太陽電池の一態様として、p型半導体層、i型半導体層、及びn型半導体層がこの順に接合されたプラナー型pin構造が知られている。
このようなペロブスカイト型太陽電池の例としては、例えば、特許文献1や非特許文献1に開示されたペロブスカイト型太陽電池がある。
特許文献1に記載のペロブスカイト型太陽電池は、pin構造を備えており、p型半導体層として有機物のSpiro−OMeTAD、i型半導体層として有機無機ハイブリッドペロブスカイト化合物であるCH3NH3PbI3、n型半導体層として酸化チタン(TiO2)が使用されている。また、上記の他、本発明に関連する先行技術を記載した文献として、特許文献2がある。
国際公開第2014/045021号 特開2014−49596号公報
Henry J.Snaithら著 NATURE VOL 501 p395, 2013年9月19日
特許文献1に記載のペロブスカイト型太陽電池は、上記したようにp型半導体層とi型半導体層が異なる結晶構造を持つ異種材料で形成されており、p型半導体層とi型半導体層の接合はヘテロ接合となっている。そのため、p型半導体層とi型半導体層の接合部分(接合界面)で欠損が生じてしまうおそれがあり、発電時において、当該欠損に起因して電荷再結合が生じてしまうおそれがある。この電荷再結合が生じると、変換効率等の太陽電池特性が低下してしまうため、p型半導体層とi型半導体層の接合部分の更なる改善が望まれていた。
そこで、本発明では、従来に比べて、p型半導体層とi型半導体層の接合界面における欠損の発生を抑制することができる光電変換装置を提供することを課題とする。
本発明者は、上記した課題を解決するために鋭意検討した結果、p型半導体層とi型半導体層の双方を、同種のペロブスカイト構造をとる同種材料を使用する。すなわち、p型半導体層とi型半導体層の接合をホモ接合にすることによって、p型半導体層とi型半導体層の接合界面の改善できると考察した。
このような考察のもと導き出された本発明に関連する発明は、p型半導体層と、n型半導体層と、前記p型半導体層と前記n型半導体層の間にi型半導体層を備える光電変換装置において、前記p型半導体層と前記i型半導体層とは直接接合されており、前記i型半導体層は、下記の一般式(1)で表されるペロブスカイト化合物を含み、前記p型半導体層は、前記ペロブスカイト化合物に対して、Li,Na,K,Rb,Cs,Cu,Ag,Au,O,S,Se,及びTeの元素群から選ばれる少なくとも1種の元素がドープされたp型ペロブスカイト化合物を含む光電変換装置である。
ABX3・・・(1)
(式中、Aは有機アンモニウム基又は1価の金属陽イオンであり、Bは2価の金属陰イオンであり、Xはフッ化物イオン、塩化物イオン、臭化物イオン、ヨウ化物イオンから選ばれる少なくとも1種のイオンである)
の構成によれば、i型半導体層とp型半導体層が直接接して接合界面を形成し、i型半導体層とp型半導体層の結晶構造は、同種のペロブスカイト構造をとる。そのため、p型半導体層とi型半導体層とがホモ接合となるため、当該接合部分での欠損の発生を抑制でき、欠損に起因する電荷再結合を抑制することができる。
それ故に、例えば、光電変換装置が太陽電池である場合には、従来のi型半導体層のみがペロブスカイト構造をとる太陽電池に比べて、太陽電池特性も向上させることができる。
上記した光電変換装置において、好ましくは、前記一般式(1)におけるAは、有機アンモニウム基であって、かつ、炭素数が1〜20の直鎖又は分岐を備えるアルキル基又はアリル基を備えることである。
すなわち、前記一般式(1)におけるAは、一般式RNH3で表される有機アンモニウム基であり、Rは炭素数が1〜20の直鎖又は分岐を備えるアルキル基又はアリル基であることが好ましい。
上記した光電変換装置において、好ましくは、前記一般式(1)におけるBは、鉛イオン又は錫イオンであることである。
上記した光電変換装置において、好ましくは、前記一般式(1)におけるXは、ヨウ化物イオンを最も多く含むことである。
すなわち、Xは、フッ化物イオン、塩化物イオン、臭化物イオン、ヨウ化物イオンのうち、ヨウ化物イオンの占有率が最も高いことが好ましい。
上記した光電変換装置において、好ましくは、前記p型半導体層は、下記の一般式(2)に表されるp型ペロブスカイト化合物を含むことである。
A(B,D)X3・・・(2)
(式中、DはLi,Na,K,Rb,Cs,Cu,Ag,Auの元素群から選ばれる少なくとも1種の元素である)
すなわち、p型半導体層は、一般式(1)のペロブスカイト化合物において、BサイトがIA族の元素であるリチウム(Li),ナトリウム(Na),カリウム(K),ルビジウム(Rb),セシウム(Cs)のいずれか、又は、IB族の元素である銅(Cu),銀(Ag),金(Au)のいずれかで置換されたp型ペロブスカイト化合物を含むことが好ましい。
上記した光電変換装置において、好ましくは、前記p型半導体層は、下記の一般式(3)に表されるp型ペロブスカイト化合物を含むことである。
AB(X,Y)3・・・(3)
(式中、YはO,S,Se,Teの元素群から選ばれる少なくとも1種の元素である)
すなわち、p型半導体層は、一般式(1)のペロブスカイト化合物において、XサイトがVIA族の元素である酸素(O),硫黄(S),セレン(Se),テルル(Te)のいずれかで置換されたp型ペロブスカイト化合物を含むことが好ましい。
上記した光電変換装置において、好ましくは、前記p型半導体層は、前記ペロブスカイト化合物に対して、S及び/又はSeをドープしたものであることである。
上記した光電変換装置において、好ましくは、前記一般式(1)で表されるペロブスカイト化合物は、CH3NH3PbI3であることである。
上記した光電変換装置において、好ましくは、光エネルギーを取り込んで光エネルギーを電気エネルギーに変換する太陽電池であることである。
本発明に関連する発明は、上記した光電変換装置の製造方法であって、前記p型半導体層を形成するp型半導体層形成工程を有し、前記p型半導体層形成工程では、前記一般式(1)で表されるペロブスカイト化合物の前駆体材料と、Li,Na,K,Rb,Cs,Cu,Ag,Au,O,S,Se,及びTeの元素群から選ばれる少なくとも1種の元素を包含する材料とを共蒸着することで前記p型半導体層を形成する光電変換装置の製造方法である。
本発明の請求項1に記載の発明は、p型半導体層と、n型半導体層と、前記p型半導体層と前記n型半導体層の間にi型半導体層を備える光電変換装置の製造方法であって、前記p型半導体層と前記i型半導体層とは直接接合され、前記i型半導体層は、下記の一般式(1)で表されるペロブスカイト化合物を含み、前記p型半導体層は、前記ペロブスカイト化合物に対して、Li,Na,K,Rb,Cs,Cu,Ag,Au,O,S,Se,及びTeの元素群から選ばれる少なくとも1種の元素がドープされたp型ペロブスカイト化合物を含む光電変換装置の製造方法であって、前記p型半導体層を形成するp型半導体層形成工程と、前記i型半導体層を形成するi型半導体層形成工程を有し、前記p型半導体層形成工程では、前記ペロブスカイト化合物の前駆体材料と、Li,Na,K,Rb,Cs,Cu,Ag,Au,O,S,Se,及びTeの元素群から選ばれる少なくとも1種の元素を包含する材料とを共蒸着することで前記p型半導体層を形成し、前記i型半導体層形成工程では、前記p型半導体層形成工程で使用する前記前駆体材料と共通の材料を用いて、前記ペロブスカイト化合物を形成することを特徴とする光電変換装置の製造方法である。
ABX 3 ・・・(1)
(式中、Aは有機アンモニウム基又は1価の金属陽イオンであり、Bは2価の金属陰イオンであり、Xはフッ化物イオン、塩化物イオン、臭化物イオン、ヨウ化物イオンから選ばれる少なくとも1種のイオンである)
本発明の方法によれば、i型半導体層の前駆体材料と同一の前駆体材料と、ドーパント材料を共蒸着することによって、p型半導体層を形成するので、i型半導体層と概ね同様のペロブスカイト構造をもつp型半導体層を形成でき、i型半導体層とp型半導体層を実質的にホモ接合にすることができる。また共蒸着によってp型半導体層を形成するので、製造しやすい。
請求項に記載の発明は、前記i型半導体層を形成するi型半導体層形成工程を有し、前記i型半導体層形成工程では、前記p型半導体層形成工程で使用する前記前駆体材料と同一材料を用いて、前記一般式(1)で表されるペロブスカイト化合物を形成する。
本発明の方法によれば、i型半導体層形成工程で使用する前駆体材料と、p型半導体層形成工程で使用する前駆体材料が同一材料であるので、i型半導体層とp型半導体層とで前駆体材料を共通にできる。そのため、材料ロスを抑制でき、材料コストを低減できる。
本発明に関連する発明は、複数の製膜室を備えた真空蒸着装置又は製膜室を備えた複数台の真空蒸着装置を使用する光電変換装置の製造方法であって、前記i型半導体層形成工程と前記p型半導体層形成工程を連続して実施し、前記i型半導体層と前記p型半導体層を異なる製膜室内で製膜する光電変換装置の製造方法である。
この発明の方法によれば、別の製膜室を使用してi型半導体層及びp型半導体層を形成するため、多量に光電変換装置を製造した場合でもp型半導体層を形成する際にドープする材料によって、i型半導体層が汚染されることを防止できる。
請求項に記載の発明は、製膜室を備えた真空蒸着装置を使用する光電変換装置の製造方法であって、前記i型半導体層形成工程と前記p型半導体層形成工程を連続して実施し、前記i型半導体層と前記p型半導体層を同一の製膜室内で製膜することを特徴とする請求項に記載の光電変換装置の製造方法である。
本発明の方法によれば、同一の製膜室内でi型半導体層とp型半導体層を連続して蒸着するので、製造時間が短縮でき、製造コストも低減できる。
請求項3に記載の発明は、前記i型半導体層形成工程で使用する前駆体材料と、前記p型半導体層形成工程で使用する前駆体材料は、同一の収容部に収容されて蒸着されることを特徴とする請求項2に記載の光電変換装置の製造方法である。
本発明に関連する発明は、上記した光電変換装置の製造方法であって、前記一般式(1)で表されるペロブスカイト化合物は、少なくとも2種の前駆体材料が反応して形成されるものであり、液体状の一の前駆体材料を溶液塗布法によって前駆体層を形成する前駆体層形成工程と、前記前駆体層を気体状の他の前駆体材料に晒して、前記一般式(1)で表されるペロブスカイト化合物を主成分とするペロブスカイト層を形成する前駆体層反応工程と、気体状のLi,Na,K,Rb,Cs,Cu,Ag,Au,O,S,Se,及びTeの元素群から選ばれる少なくとも1種の元素を包含する材料に前記ペロブスカイト層を晒すことによって、前記ペロブスカイト層の表面の一部をp型化させて前記p型半導体層を形成する表面処理工程と、を含む光電変換装置の製造方法である。
の方法によれば、製造プロセス時に高い真空度が必要とされないためプロセスコストを低減させることができる。
上記した光電変換装置の製造方法において、前記i型半導体層を形成するi型半導体層形成工程を有し、前記一般式(1)で表されるペロブスカイト化合物は、少なくとも2種の前駆体材料が反応して形成されるものであり、前記i型半導体層形成工程では、液体状の前記2種の前駆体材料を混合してn型半導体層の表面又はp型半導体層の表面に塗布し、加熱することとしてもよい。
この発明の方法によれば、液体状の2種の前駆体材料を混合して被製膜面たるn型半導体層の表面又はp型半導体層の表面に塗布し、加熱してn型半導体層の表面又はp型半導体層の表面上にi型半導体層を形成するので、量産化が容易である。
本発明の光電変換装置によれば、従来に比べて、p型半導体層とi型半導体層の接合界面における欠損の発生を抑制することができる。
本発明の光電変換装置の製造方法によれば、p型半導体層とi型半導体層を同一の前駆体材料を用いて製膜できるので、材料コストを低減することが可能である。
本発明の第1実施形態の光電変換装置を模式的に表した断面図である。 図1の光電変換装置の製造に推奨される真空蒸着装置を模式的に表した概念図である。 図2の真空蒸着装置を用いてi型半導体層を製膜する際の説明図である。 図2の真空蒸着装置を用いてp型半導体層を製膜する際の説明図である。 本発明の第2実施形態のi型半導体層及びp型半導体層を形成する際の工程を表す説明図であり、(a)〜(e)は各工程を表す。
以下、本発明の実施形態について詳細に説明する。なお、以下の説明において、特に断りのない限り、物性は標準状態(25℃、1気圧)を基準とする。
本発明の第1実施形態の光電変換装置1は、太陽光等の光エネルギーを電気エネルギーに変換する光電変換装置であり、具体的には、光エネルギーを電気エネルギーに変換し、外部に電気を取り出す太陽電池である。
また、本実施形態の光電変換装置1は、太陽電池の中でも、ペロブスカイト構造を骨格構造とするペロブスカイト型太陽電池である。
そして、本実施形態の光電変換装置1は、図1に示されるように、少なくともn型半導体層5、i型半導体層6、及びp型半導体層7が積層したpin構造11を備えており、少なくともその積層方向に隣接したi型半導体層6とp型半導体層7が同一のペロブスカイト構造を主な骨格構造とする点を特徴の一つとしている。
また、本実施形態の光電変換装置1は、i型半導体層6とp型半導体層7が同一のペロブスカイト構造をとるにあたって、同一の前駆体材料15,16及びドーパント材料17を使用して形成される点を特徴の一つとしている。
光電変換装置1は、図1に示されるように、透光性基材2上に、透明導電層3、n型半導体層5、i型半導体層6、p型半導体層7、バッファ層8、及び裏面電極層9がこの順に積層した光電変換素子10が形成されたものである。すなわち、光電変換装置1は、裏面電極層9側からp型半導体層7、i型半導体層6、及びn型半導体層5がこの順に直列的に接合されたpin構造11を備えている。
ここで、光電変換装置1の各構成部位の説明に先立って、光電変換装置1の機能について説明すると、この光電変換装置1は、透光性基材2側から光が入射すると、その入射光は主にi型半導体層6で吸収される。この光吸収により、主にi型半導体層6の内部で電荷分離が起こり、キャリア(電子及びホール)が形成される。そして、形成された電子及びホールは、それぞれn型半導体層5及びp型半導体層7に選択的に収集され、透明導電層3及び裏面電極層9のそれぞれに集電され、透明導電層3及び裏面電極層9を通じて外部に取り出される。
このように、光電変換装置1は、透明導電層3がカソードとして機能し、裏面電極層9がアノードとして機能することによって、pin構造11で発生したキャリアを電気として外部に取り出すことを可能にしている。
続いて、本実施形態の光電変換装置1の各構成部位について説明する。
透光性基材2は、面状に広がりをもち、光を少なくとも部材厚方向(積層方向)に透過する基材であり、一方の主面が光を入射する光入射面を構成する基板である。
また、透光性基材2は、絶縁体で形成された透光性絶縁基板であって、各構成層を支持する支持基板でもある。
透光性基材2としては、光を透過する機能及び支持基板としての機能を備えていれば特に限定されるものではなく、例えば、ガラス基板や、PET(Polyethylene terephthalate)などの透明樹脂基板などが採用できる。本実施形態では、支持基板としての剛性及び光透過率が高いという観点から、透光性基材2としてガラス基板を採用している。
また透光性基材2は、可撓性基板であってもよい。
透明導電層3は、光電変換素子10の一の極性の電極として機能する透明電極層であり、透光性基材2から入射した光をpin構造11側に透過することが可能となっている。
透明導電層3としては、電気伝導性と透光性を備えていれば、特に限定されるものではなく、例えば、インジウム錫酸化物(ITO)や、フッ素ドープ錫酸化物(FTO)、アルミニウムドープ錫酸化物(AZO)、酸化亜鉛(ZnO)などの透明導電性金属酸化物、グラフェンシートなどの有機導電性物質、銀、アルミニウム、銅など導電性金属の薄膜が採用できる。
また透明導電層3は、これらの単層構造であっても多層構造であってもよい。
透明導電層3は、化学安定性の点から透明導電性金属酸化物が好ましく、さらに耐熱特性を持つ観点からFTOが好ましい。また透明導電層3は、高い透明性及び電気伝導性を持つ観点からITOもまた好ましい。
透明導電層3の平均膜厚は、電気伝導性と透光性とのバランスによって適宜設定される。透明導電層3が透明導電性金属酸化物の場合、十分な電気伝導性を確保する観点から、50nm以上であることが好ましく、100nm以上であることがより好ましい。
また透明導電層3が透明導電性金属酸化物の場合、透明導電層3の平均膜厚は、十分な透光性を確保する観点から、2000nm以下であることが好ましく、500nm以下であることがより好ましい。
n型半導体層5は、不純物たるドナーがドープされたn型半導体を主成分とする層である。
n型半導体層5は、n型半導体として機能を有するものであれば、特に限定されるものではなく、例えば、n型の金属酸化物である酸化亜鉛(ZnO)、酸化チタン(TiO2)や、n型の有機半導体であるC60(フラーレン)、フェニルC61酪酸メチルエステル(PCBM)などのC60誘導体などが採用できる。
後述するi型半導体層6との良好な接合界面を形成する観点から、酸化チタンであることが好ましい。
n型半導体層5の平均膜厚は、1nm以上であることが好ましく、5nm以上であることがより好ましい。
n型半導体層5の平均膜厚は、150nm以下であることが好ましく、100nm以下であることがより好ましい。
i型半導体層6は、上記したように主に光電変換装置1への入射光を吸収し、キャリアを形成する層である。
i型半導体層6は、ペロブスカイト構造を骨格構造とする層であり、実質的に不純物がドープされていない真性な半導体層である。
具体的にはi型半導体層6は、下記の一般式(1)で表される化合物から形成された層である。
ABX3・・・(1)
(式中、Aは、有機アンモニウム基又は1価の金属陽イオンであり、Bは2価の金属陰イオンであり、Xはフッ化物イオン、塩化物イオン、臭化物イオン、ヨウ化物イオンから選ばれる少なくとも1種のイオンである)
i型半導体層6は、上記一般式(1)中のAが、有機アンモニウム基(RNH3)であることが好ましい。すなわち、i型半導体層6は、有機無機ハイブリッドペロブスカイト化合物で形成されることが好ましい。なお、Rは、炭素数が1〜20の直鎖又は分岐を有するアルキル基又はアリル基である。
Rは、立体障害を抑制する観点から、炭素数1〜5のアルキル基又はアリル基であることがより好ましく、メチル基であることが特に好ましい。
また、上記一般式(1)中のAが1価の金属陽イオンの場合には、使用できる金属陽イオンとしてリチウムイオン、ナトリウムイオン、カリウムイオン、ルビジウムイオン、セシウムイオンなどが挙げられる。
上記一般式(1)中のBは、2価の金属陰イオンの中でも、ペロブスカイト構造を形成するのに最適な原子サイズを有し、複数の価数を取り得る金属イオンである鉛イオン又は錫イオンであることが好ましい。
上記一般式(1)中のXは、ヨウ化物イオンのみ又はヨウ化物イオンを最も多く含むことが好ましく、ヨウ化物イオンを最も多く含み、かつ、次に塩化物イオンが多く含むことがより好ましい。
またXは、ヨウ化物イオンのみを含むことが好ましい。
本実施形態のi型半導体層6は、Rがメチル基であり、Bが鉛イオンであり、Xがヨウ化物イオンのみ含むCH3NH3PbI3である。すなわち、本実施形態のi型半導体層6は、有機無機ハイブリッドペロブスカイト化合物から形成されている。
i型半導体層6の平均膜厚は、十分なキャリアを形成する観点から50nm以上であることが好ましく、100nm以上であることがより好ましい。
またi型半導体層6の平均膜厚は、1000nm以下であることが好ましく、700nm以下であることがより好ましい。この範囲であれば、膜厚がキャリアの拡散長を超えることを防止でき、より確実にi型半導体層6内での電荷再結合によるキャリアの失活を防止することができる。
p型半導体層7は、i型半導体層6と概ね同一のペロブスカイト構造を骨格構造とする層であり、不純物たるアクセプターがドープされた半導体層である。
具体的にはp型半導体層7は、上記一般式(1)に表されるp型ペロブスカイト化合物に対してリチウム(Li),ナトリウム(Na),カリウム(K),ルビジウム(Rb),セシウム(Cs),銅(Cu),銀(Ag),金(Au),酸素(O),硫黄(S),セレン(Se),テルル(Te)から選択される少なくとも1種の元素をドープしたp型ペロブスカイト層である。
すなわち、p型半導体層7は、下記の一般式(2)又は(3)で表されるp型ペロブスカイト化合物から形成された半導体層である。
A(B,D)X3・・・(2)
AB(X,Y)3・・・(3)
(式中、Aは有機アンモニウム基又は1価の金属陽イオンであり、Bは2価の金属陰イオンであり、Xはフッ化物イオン、塩化物イオン、臭化物イオン、ヨウ化物イオンから選ばれる少なくとも1種のイオンであり、Dはリチウム、ナトリウム、カリウム、ルビジウム、セシウム、銅、銀、金、酸素、硫黄、セレン、テルルのいずれかである)
p型半導体層7は、i型半導体層6を構成するペロブスカイト化合物に対して、ドーパント材料として、硫黄(S)及び/又はセレン(Se)をドープしたものであることが好ましい。
本実施形態では、p型半導体層7は、i型半導体層6(CH3NH3PbI3)に対してSeをドープしたものであり、CH3NH3Pb(I,Se)3で表される有機無機ハイブリッドペロブスカイト化合物から形成されている。
p型半導体層7の平均膜厚は、ビルトインポテンシャルを形成するに十分な膜厚を確保する観点から、1nm以上であることが好ましく、5nm以上であることがより好ましく、10nm以上であることがさらに好ましい。
またp型半導体層7の平均膜厚は、p型半導体層7での電荷再結合ロスを抑制する観点から、100nm以下であることが好ましく、50nm以下であることがより好ましく、30nm以下であることがさらに好ましい。
バッファ層8は、透明導電層3と裏面電極層9との短絡を防止し、密着性を向上させる層である。また、バッファ層8は、キャリアの窓層としての機能を有する層でもある。バッファ層8は光電変換素子に必須な層ではないが、上記の観点からバッファ層8が設けられていることが好ましい。
バッファ層8の材料としては、3,4,9,10−ペリレン四酢酸ビスベンズイミダゾール(PTCBI)、1,4,5,8−ナフタレン−テトラカルボキシリック−ヂアナイドロキシド(NTCDA)、バトクプロイン(BCP)などが採用できる。
バッファ層8の平均膜厚は、5nm以上であることが好ましく、10nm以上でることがより好ましい。
バッファ層8の平均膜厚は、30nm以下であることが好ましく、50nm以下でることがより好ましい。
裏面電極層9は、光電変換素子10を構成する電極層のうち、透明導電層3の極性とは逆の電極として機能する層である。
裏面電極層9としては、導電性を有する材料であれば、特に限定されるものではなく、銅(Cu)や銀(Ag)、金(Au)、白金(Pt)などの金属や、金属合金、金属複合体などが採用できる。
裏面電極層9の平均膜厚は、十分な電気伝導性を確保する観点から20nm以上であることが好ましく、50nm以上であることがより好ましい。
裏面電極層9の平均膜厚は、コストを抑制する観点から400nm以下であることが好ましく、200nm以下であることがより好ましい。
ここで、上記したように光電変換装置1は、i型半導体層6とp型半導体層7が同一の前駆体材料15,16を用いて製膜され、p型半導体層7では前駆体材料15,16に加えてドーパント材料17を使用して製膜される。
そこで、本実施形態の光電変換装置1の製造方法では、後述するようにi型半導体層6とp型半導体層7を連続的に製膜することを特徴の一つとする。
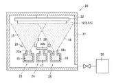
以下、本実施形態の光電変換装置1の製造方法の説明に先立って、この連続製膜に推奨される真空蒸着装置20について説明する。
真空蒸着装置20は、i型半導体層6とp型半導体層7を製膜可能な装置であり、図2に示されるように、製膜室21内に、ステージ22と、複数の蒸発部材23,24,25と、膜厚センサー26,27,28と、吸引装置30を備えている。
ステージ22は、被製膜基板12を回転可能に支持可能な基板固定部材である。
蒸発部材23,24,25は、蒸着源たる製膜材料を気化させる部材であり、収容部31と、遮蔽板32を備えている。
収容部31は、蒸着源たる製膜材料を収容する部位であり、製膜材料を収容する本体部35と、本体部35からステージ22に向かって開放した放出開口36と、本体部35内の製膜材料を加熱する図示しない加熱手段を備えている。すなわち、収容部31は、加熱手段によって、気化された製膜材料(以下、製膜蒸気ともいう)を放出開口36からステージ22に向かって放出させることが可能となっている。
遮蔽板32は、収容部31の放出開口36とステージ22との間に配され、収容部31の放出開口36からステージ22に向かう製膜蒸気を遮る部材である。
膜厚センサー26,27,28は、各放出開口36から放出された製膜蒸気を検知するセンサーであり、具体的には、クリスタルセンサーである。
膜厚センサー26,27,28は、各放出開口36,36,36の近傍に配されており、蒸着レートをin−situで評価することが可能となっている。
吸引装置30は、製膜室21内の気体を外部に吸引して、製膜室21内を所望の真空度にする真空引き装置である。
続いて、本実施形態の光電変換装置1の製造方法について説明する。
まず、透光性基材2上に透明導電層3を製膜し、透明導電層付き基板を形成する(透明導電層形成工程)。また必要に応じて、超音波洗浄等によって表面を洗浄してもよい。
このときに用いられる透明導電層3の製膜方法としては、特に限定されるものではなく、スパッタ法、RPD(Reactive Plasma Deposition)法、MOCVD(Metal Organic Chemical Vapor Deposition)法、ゾルゲル法などが採用できる。
なお、市販の透明導電層付き基板を使用してもよい。透光性基材2と透明導電層3との組み合わせとしては、例えば、PET/ITO,ガラス基板/FTO、ガラス基板/ITO、ガラス基板/ZnOなどが採用できる。
本実施形態の透光性基材2と透明導電層3の組み合わせは、ガラス基板/FTOとなっており、比較的高温環境に晒すことが可能となっている。
続いて、上記の工程によって透光性基材2上に透明導電層3が製膜された基板(以下、透光性基材2上の積層体を含めて、単に基板12ともいう)に対して、n型半導体層5を製膜する。
このときに用いられるn型半導体層5の製膜方法としては、特に限定されるものではなく、例えば、スパッタ法等のPVD(Physical Vapor Deposition)法やCVD法、ゾルゲル法などが採用できる。このときに用いられるn型半導体層5の製膜方法は、後に製膜するi型半導体層6との良好な接合界面を形成する観点及びコストを低減する観点からゾルゲル法が好ましい。本実施形態では、n型半導体層5は、湿式法であるゾルゲル法によって酸化チタンを製膜する。
続いて、本実施形態の光電変換装置1の製造方法の特徴の一つである、i型半導体層形成工程及びp型半導体層形成工程を実施する。
まず、n型半導体層5が製膜された基板12(被製膜基板)を真空蒸着装置20のステージ22に設置し、1×10-6mbar以下になるまで真空引きをする。そして、当該基板12に対してi型半導体層6を製膜する(i型半導体層形成工程)。
このとき、i型半導体層6は、2種以上のi型半導体層6の前駆体材料を蒸着源として共蒸着によって製膜される。本実施形態では、i型半導体層6は、第1前駆体材料15と、第2前駆体材料16とを共蒸着することによって形成する。
第1前駆体材料15は、化学式AXによって表されるものであり、本実施形態では、CH3NH3Iである。
第2前駆体材料16は、化学式BX2によって表されるものであり、本実施形態では、PbI2である。
続いて、i型半導体層6が製膜された基板12に対してp型半導体層7を製膜する(p型半導体層形成工程)。
このとき、p型半導体層7は、上記した2種以上のi型半導体層6の前駆体材料15,16と、アクセプターとしてLi,Na,K,Rb,Cs,Cu,Ag,Au,O,S,Se,及びTeの元素群から選ばれる少なくとも1種を包含するドーパント材料17を蒸着源として、共蒸着によって製膜される。すなわち、第1前駆体材料15及び第2前駆体材料16と、ドーパント材料17を同時に蒸着する。
本実施形態では、第1前駆体材料15、第2前駆体材料16、及びドーパント材料17たるセレンの3種を蒸着源として同時に共蒸着することで製膜する。
ここで、i型半導体層形成工程及びp型半導体層形成工程について、真空蒸着装置20を基準としてさらに詳説する。
真空蒸着装置20は、i型半導体層形成工程及びp型半導体層形成工程を実施する前に、あらかじめ蒸発部材23,24,25の各収容部31にp型半導体層7の前駆体材料15,16及びドーパント材料17を収容する。
具体的には、蒸発部材23の収容部31に第1前駆体材料15、蒸発部材25の収容部31に第2前駆体材料16、蒸発部材23,25に挟まれた蒸発部材24の収容部31にドーパント材料17をそれぞれ収容する。
そして、i型半導体層形成工程では、前駆体材料15,16が収容された蒸発部材23,25の収容部31a,31cの放出開口36a,36cを開放し、ドーパント材料17が収容された蒸発部材24の収容部31bの放出開口36bを遮蔽板32で閉塞し、その状態で蒸着を行う。こうすることによって、図3に示されるように、前駆体材料15,16のみが反応し、i型半導体層6が製膜される。
p型半導体層形成工程に移行すると、図4に示されるように、さらにドーパント材料17が収容された蒸発部材24の収容部31bの放出開口36bを開放させて、その状態で蒸着を行う。すなわち、蒸発部材23,24,25の各放出開口36a,36b,36cから気体状の前駆体材料15,16及びドーパント材料17を放出させる。こうすることによって、前駆体材料15,16及び、ドーパント材料17のそれぞれが製膜され、p型半導体層7が製膜される。
続いて、p型半導体層7が製膜された基板に対してバッファ層8を製膜する(バッファ層形成工程)。
このときに用いられるバッファ層8の製膜方法としては、特に限定されるものではなく、例えば、キャスト法等の湿式法や真空蒸着法等の乾式法などが採用できる。
続いて、バッファ層8が製膜された基板に対して裏面電極層9を製膜する(裏面電極層形成工程)。
このときに用いられる裏面電極層9の製膜方法としては、特に限定されるものではなく、例えば、スパッタ法や真空蒸着法などのPVD法が採用できる。
その後、裏面電極層9が形成された基板に対して適宜配線等を取り付けて光電変換装置1が形成される。
本実施形態の光電変換装置1によれば、i型半導体層6とp型半導体層7がともに同種のペロブスカイト構造を骨格構造とするため、i型半導体層6とp型半導体層7の界面接合が実質的にホモ接合となり、従来のヘテロ接合に比べてi型半導体層6とp型半導体層7の接合界面における欠損の発生を抑制することができる。
本実施形態の光電変換装置1の製造方法によれば、i型半導体層6とp型半導体層7を同一の蒸着源たる前駆体材料15,16を使用するので、同一の製膜室21内で連続的に製膜することができ、製膜時間の短縮が可能である。さらに、i型半導体層6を空気に暴露することなく、p型半導体層7を形成させることにより、i型半導体層6とp型半導体層7との界面での欠陥の生成を抑制することが可能となる。
上記した実施形態では、同一の製膜室内でi型半導体層6及びp型半導体層7を製膜したが、本発明はこれに限定されるものではなく、異なる製膜室内でi型半導体層6とp型半導体層7を製膜してもよい。
すなわち、i型半導体層形成工程において、一の製膜室内でi型半導体層6を製膜した後に、p型半導体層形成工程において他の製膜室内で製膜してもよい。
こうすることによって、i型半導体層6を形成する際に、前のp型半導体層7を形成する際に使用したドーパント材料17が残留することによるコンタミネーションを防止することができる。
上記した第1実施形態では、共蒸着によってi型半導体層6及びp型半導体層7を形成したが、本発明はこれに限定されるものではなく、他の方法でi型半導体層6及びp型半導体層7を形成してもよい。他の製膜方法の具体例を以下に第2,3実施形態として説明する。
第2実施形態の光電変換装置1の製造方法は、第1実施形態の光電変換装置1と製造方法において、i型半導体層及びp型半導体層の形成方法が異なる。
第2実施形態の光電変換装置1の製造方法では、i型半導体層6及びp型半導体層7をVASP(Vapor Assisted Solution Process)法を用いて製膜する。
具体的には、溶媒中に第2前駆体材料16たるBX2を分散させて液体状にし、当該液体状の前駆体材料16を溶液塗布法によってn型半導体層5が製膜された基板12上に塗布し、図5(a)に示されるように、基板12上に前駆体層50を形成する(前駆体層形成工程)。
その後、図5(b),図5(c)から読み取れるように、前駆体層50が形成された基板12を気体状の第1前駆体材料15たるAXに晒しながら加熱することによって、i型のペロブスカイト層51を形成する(前駆体層反応工程)。
そして、図5(d)に示されるようにペロブスカイト層51が製膜された基板に対して、気体状のドーパント材料17を吹き付けて、ペロブスカイト層51の表面構造を変化させてp型化し、図5(e)に示されるようにn型半導体層5上にi型半導体層6及びp型半導体層7を形成する(表面処理工程)。
このとき、ペロブスカイト層51のうち、表面構造が変化した部分は、ドーパント材料17がドープされることによってp型化されてp型半導体層7となり、残りの部分は構造そのままにしてi型半導体層6となる。
このように、ペロブスカイト層51の表面構造を変化させることによって、i型半導体層6とp型半導体層7がそれぞれ形成されるので、i型半導体層6とp型半導体層7は緻密に接合され、i型半導体層6とp型半導体層7の接合は、実質的に同じ結晶構造を持つ半導体層同士が接合されたホモ接合となる。
本実施形態では、有機溶媒たるN,N−ジメチルホルムアミド(DMF)中にPbI2を分散させて、スピンコートによって基板のn型半導体層5上に塗布して前駆体層50を形成する。
次に、ホットプレート上に前駆体層50が形成された基板12を載置し、この前駆体層50の周囲に粉末状のCH3NH3Iを敷き詰め、これらをシャーレで覆って加熱する。
このときの加熱温度は、CH3NH3Iの一部が気化する温度以上であって、かつ、ペロブスカイト層51を構成するペロブスカイト化合物の分解温度以下の温度であることが好ましい。
こうすることによって、CH3NH3Iを気化させて、前駆体層50の表面をCH3NH3Iの雰囲気下に置くことができ、この雰囲気下でPbI2とCH3NH3Iを反応させてi型のペロブスカイト層51を製膜することができる。
こうして得られたペロブスカイト層51の表面を、セレンを含む蒸気雰囲気下で加熱する。こうすることにより、ペロブスカイト層51の表面が変化して部分的にp型化し、i型半導体層6及びp型半導体層7が形成される。
第2実施形態の光電変換装置1の製造方法によれば、VASP法を用いてi型半導体層6及びp型半導体層7を形成するため、製造プロセス時に高い真空度が必要とされないためプロセスコストを低減させることができる。
続いて、第3実施形態の光電変換装置1の製造方法について説明する。
第3実施形態の光電変換装置1の製造方法では、i型半導体層6及びp型半導体層7をともに湿式法によって製膜する。
i型半導体層形成工程では、有機溶媒に第1前駆体材料15及び第2前駆体材料16を分散させて分散溶液を形成し、分散溶液をn型半導体層5が製膜された基板12上に塗布する。そして、所定の温度で加熱して、基板12上のi型半導体層6を形成する。
このときの分散溶液の塗布方法としては、例えば、グラビア塗布法、バー塗布法、印刷法、スプレー法、スピンコーティング法、ディップ法、ダイコート法等の湿式法が採用できる。
またこのときの加熱温度は、50℃以上140℃以下であることが好ましい。
p型半導体層形成工程でも、i型半導体層形成工程と同様、有機溶媒に第1前駆体材料15、第2前駆体材料16、及びドーパント材料17を分散させて分散溶液を形成し、当該分散溶液をi型半導体層6上に塗布する。そして、所定の温度で加熱して、i型半導体層6上のp型半導体層7を形成する。
このときの分散溶液の塗布方法としては、上記と同様、例えば、グラビア塗布法、バー塗布法、印刷法、スプレー法、スピンコーティング法、ディップ法、ダイコート法等の湿式法が採用できる。
またこのときの加熱温度は、50℃以上140℃以下であることが好ましい。
第3実施形態の光電変換装置1の製造方法によれば、i型半導体層6及びp型半導体層7を形成するにあたって、湿式法によって製膜するため、量産化が可能である。
上記した第3実施形態では、製膜対象に液体材料を塗布し、加熱焼結することによってi型半導体層6とp型半導体層7の双方を形成したが、本発明はこれに限定されるものではない。
例えば、i型半導体層6のみを塗布し加熱焼結することで比較的厚めになるように形成し、p型半導体層7を形成する際には、第2実施形態の光電変換装置1の製造方法と同様、ドーパント材料17のガスに晒してi型半導体層6の表面構造を変化させてp型半導体層7を形成してもよい。
上記した実施形態では、裏面電極層9側からp型半導体層7、i型半導体層6、n型半導体層5がこの順に積層されたpin構造11を取っていたが、本発明はこれに限定されるものではなく、裏面電極層9側からn型半導体層5、i型半導体層6、p型半導体層7がこの順に積層されたnip構造を取っていてもよい。
上記した実施形態では、光電変換装置1が太陽電池である場合について説明したが、本発明はこれに限定されるものではなく、光電変換装置1は有機発光層を備えた有機EL装置であってもよい。
上記した実施形態では、pin構造11と裏面電極層9との間にバッファ層8を介在させたが、本発明はこれに限定されるものではなく、バッファ層8を介在させなくてもよい。その場合、pin構造11の一主面上に透明導電層3側と反対側の面に裏面電極層9が設けられることが好ましい。
上記した実施形態では、pin構造11を一つ備えた構造であったが、本発明はこれに限定されるものではなく、複数のpin構造又はpn構造が接合されたタンデム構造であってもよい。
また、上記した実施形態のpin構造11と他のpin構造又はpn構造とを接合してタンデム構造を形成してもよい。他のpin構造又はpn構造とタンデム構造をとることによって、出力を向上させることが可能である。
他のpin構造又はpn構造としては、多結晶シリコン系材料を主成分とするpin構造又はpn構造、単結晶シリコン系材料を主成分とするpin構造又はpn構造、アモルファスシリコン系材料を主成分とするpin構造、CIS系材料を主成分とするpin構造、CIGS系材料を主成分とするpin構造、CZTSe系材料を主成分とするpin構造、有機薄膜系材料を主成分とするpin構造などがあげられる。多結晶シリコン系材料を主成分とするpin構造又はpn構造や単結晶シリコン材料を主成分とするpin構造又はpn構造はペロブスカイト太陽電池に比べナロウバンドギャップでより長波長な波長領域を利用できるため、他のpin構造又はpn構造としてより好ましい。
1 光電変換装置
2 透光性基材
3 透明導電層
5 n型半導体層
6 i型半導体層
7 p型半導体層
10 光電変換素子
11 pin構造
15 第1前駆体材料
16 第2前駆体材料
17 ドーパント材料
20 真空蒸着装置
21 製膜室

Claims (3)

  1. p型半導体層と、n型半導体層と、前記p型半導体層と前記n型半導体層の間にi型半導体層を備える光電変換装置の製造方法であって、
    前記p型半導体層と前記i型半導体層とは直接接合され、前記i型半導体層は、下記の一般式(1)で表されるペロブスカイト化合物を含み、前記p型半導体層は、前記ペロブスカイト化合物に対して、Li,Na,K,Rb,Cs,Cu,Ag,Au,O,S,Se,及びTeの元素群から選ばれる少なくとも1種の元素がドープされたp型ペロブスカイト化合物を含む光電変換装置の製造方法であって、
    前記p型半導体層を形成するp型半導体層形成工程と、前記i型半導体層を形成するi型半導体層形成工程を有し、
    前記p型半導体層形成工程では、前記ペロブスカイト化合物の前駆体材料と、Li,Na,K,Rb,Cs,Cu,Ag,Au,O,S,Se,及びTeの元素群から選ばれる少なくとも1種の元素を包含する材料とを共蒸着することで前記p型半導体層を形成し、
    前記i型半導体層形成工程では、前記p型半導体層形成工程で使用する前記前駆体材料と共通の材料を用いて、前記ペロブスカイト化合物を形成することを特徴とする光電変換装置の製造方法。
    ABX 3 ・・・(1)
    (式中、Aは有機アンモニウム基又は1価の金属陽イオンであり、Bは2価の金属陰イオンであり、Xはフッ化物イオン、塩化物イオン、臭化物イオン、ヨウ化物イオンから選ばれる少なくとも1種のイオンである)
  2. 製膜室を備えた真空蒸着装置を使用する光電変換装置の製造方法であって、
    前記i型半導体層形成工程と前記p型半導体層形成工程を連続して実施し、
    前記i型半導体層と前記p型半導体層を同一の製膜室内で製膜することを特徴とする請求項に記載の光電変換装置の製造方法。
  3. 前記i型半導体層形成工程で使用する前駆体材料と、前記p型半導体層形成工程で使用する前駆体材料は、同一の収容部に収容されて蒸着されることを特徴とする請求項2に記載の光電変換装置の製造方法。
JP2015065901A 2015-03-27 2015-03-27 光電変換装置の製造方法 Active JP6554300B2 (ja)

Priority Applications (1)

Application Number Priority Date Filing Date Title
JP2015065901A JP6554300B2 (ja) 2015-03-27 2015-03-27 光電変換装置の製造方法

Applications Claiming Priority (1)

Application Number Priority Date Filing Date Title
JP2015065901A JP6554300B2 (ja) 2015-03-27 2015-03-27 光電変換装置の製造方法

Publications (2)

Publication Number Publication Date
JP2016186968A JP2016186968A (ja) 2016-10-27
JP6554300B2 true JP6554300B2 (ja) 2019-07-31

Family

ID=57203426

Family Applications (1)

Application Number Title Priority Date Filing Date
JP2015065901A Active JP6554300B2 (ja) 2015-03-27 2015-03-27 光電変換装置の製造方法

Country Status (1)

Country Link
JP (1) JP6554300B2 (ja)

Cited By (1)

* Cited by examiner, † Cited by third party
Publication number Priority date Publication date Assignee Title
WO2022169128A1 (ko) * 2021-02-04 2022-08-11 아주대학교산학협력단 광전 소자를 구비하는 바이오 센싱 장치

Families Citing this family (8)

* Cited by examiner, † Cited by third party
Publication number Priority date Publication date Assignee Title
CN106848062B (zh) * 2016-12-29 2019-08-23 许昌学院 铜掺杂钙钛矿薄膜、原位制备方法及无空穴传输层太阳能电池器件
JP7098166B2 (ja) * 2017-05-10 2022-07-11 国立大学法人 東京大学 有機無機ハイブリッド材料ならびにこれを用いたペロブスカイト型太陽電池
KR102062864B1 (ko) * 2018-01-23 2020-01-06 연세대학교 산학협력단 페로브스카이트 발광소자 증착 시스템, 발광소자와 그 제조 방법
KR102186853B1 (ko) * 2018-12-05 2020-12-04 연세대학교 산학협력단 유무기 하이브리드 페로브스카이트 발광 소자 및 그 제조방법
CN111081884B (zh) * 2020-03-23 2020-06-19 潍坊市工程技师学院 一种光伏转化材料及其光伏发电结构
CN111916561A (zh) * 2020-07-22 2020-11-10 隆基绿能科技股份有限公司 钙钛矿太阳能电池、叠层太阳能电池以及电池组件
CN115132927A (zh) * 2022-05-20 2022-09-30 昆山协鑫光电材料有限公司 用于大面积钙钛矿薄膜表面处理设备及工艺
CN116396174B (zh) * 2023-03-03 2025-10-10 华南师范大学 钙钛矿材料、钙钛矿薄膜、光电子装置及其制备方法

Family Cites Families (6)

* Cited by examiner, † Cited by third party
Publication number Priority date Publication date Assignee Title
JPS6251271A (ja) * 1985-08-30 1987-03-05 Sharp Corp 太陽電池
JP5231515B2 (ja) * 2010-12-17 2013-07-10 シャープ株式会社 太陽電池の製造方法
US9181475B2 (en) * 2012-02-21 2015-11-10 Northwestern University Photoluminescent compounds
JP2013218924A (ja) * 2012-04-10 2013-10-24 Murata Mfg Co Ltd 光電変換素子、及び光電変換装置
US20130319515A1 (en) * 2012-06-01 2013-12-05 Semiconductor Energy Laboratory Co., Ltd. Photoelectric conversion device
KR102698732B1 (ko) * 2012-09-18 2024-08-27 옥스포드 유니버시티 이노베이션 리미티드 광전자 디바이스

Cited By (3)

* Cited by examiner, † Cited by third party
Publication number Priority date Publication date Assignee Title
WO2022169128A1 (ko) * 2021-02-04 2022-08-11 아주대학교산학협력단 광전 소자를 구비하는 바이오 센싱 장치
KR20220112424A (ko) * 2021-02-04 2022-08-11 아주대학교산학협력단 광전 소자를 구비하는 바이오 센싱 장치
KR102515325B1 (ko) * 2021-02-04 2023-03-29 아주대학교산학협력단 광전 소자를 구비하는 바이오 센싱 장치

Also Published As

Publication number Publication date
JP2016186968A (ja) 2016-10-27

Similar Documents

Publication Publication Date Title
JP6554300B2 (ja) 光電変換装置の製造方法
JP7032933B2 (ja) ペロブスカイト材料を堆積させる方法
Pisoni et al. Flexible NIR-transparent perovskite solar cells for all-thin-film tandem photovoltaic devices
Zuo et al. Advances in perovskite solar cells
Mohammadi et al. Encapsulation strategies for highly stable perovskite solar cells under severe stress testing: Damp heat, freezing, and outdoor illumination conditions
AU2014317208B2 (en) Amorphous material and the use thereof
Jiang et al. Metal halide perovskite-based flexible tandem solar cells: next-generation flexible photovoltaic technology
Schmager et al. Laminated perovskite photovoltaics: enabling novel layer combinations and device architectures
Jagt et al. Rapid vapor-phase deposition of high-mobility p-type buffer layers on perovskite photovoltaics for efficient semitransparent devices
JP7507383B2 (ja) 4端子タンデム太陽電池
Li et al. Two‐terminal perovskite‐based tandem solar cells for energy conversion and storage
Deepika et al. Device structures of Perovskite solar cells: A critical review
US20230019802A1 (en) Solar cell
KR20210072170A (ko) 실리콘 페로브스카이트 이중접합 태양전지의 제조 방법
JP2019134159A (ja) 太陽電池
JPWO2020175501A1 (ja) 太陽電池素子、および太陽電池素子の製造方法
JP2024545751A (ja) ペロブスカイト材料層を形成する方法
Chen et al. High-purity, thick CsPbCl3 films toward selective ultraviolet-harvesting visibly transparent photovoltaics
Goje et al. Advancements and challenges in lead-free flexible perovskite solar cells for sustainable energy solutions
Yuan et al. High-performance semi-transparent perovskite solar cells with over 22% visible transparency: pushing the limit through MXene interface engineering
Xu et al. Recent progresses in carbon counter electrode materials for perovskite solar cells and modules
JP7153166B2 (ja) 透明電極、透明電極の製造方法、および電子デバイス
JP6960233B2 (ja) 太陽電池モジュール
Muni Mounika et al. Exploring the Fabrication of Pioneering Tandem Solar Cell by Integrating Dye-Sensitized and Sb2S3-Sensitized Solar Cells
WO2022009636A1 (ja) 太陽電池および光電変換素子

Legal Events

Date Code Title Description
A621 Written request for application examination

Free format text: JAPANESE INTERMEDIATE CODE: A621

Effective date: 20180122

A977 Report on retrieval

Free format text: JAPANESE INTERMEDIATE CODE: A971007

Effective date: 20181031

A131 Notification of reasons for refusal

Free format text: JAPANESE INTERMEDIATE CODE: A131

Effective date: 20181206

A521 Request for written amendment filed

Free format text: JAPANESE INTERMEDIATE CODE: A523

Effective date: 20190204

TRDD Decision of grant or rejection written
A01 Written decision to grant a patent or to grant a registration (utility model)

Free format text: JAPANESE INTERMEDIATE CODE: A01

Effective date: 20190627

A61 First payment of annual fees (during grant procedure)

Free format text: JAPANESE INTERMEDIATE CODE: A61

Effective date: 20190708

R150 Certificate of patent or registration of utility model

Ref document number: 6554300

Country of ref document: JP

Free format text: JAPANESE INTERMEDIATE CODE: R150

R250 Receipt of annual fees

Free format text: JAPANESE INTERMEDIATE CODE: R250

R250 Receipt of annual fees

Free format text: JAPANESE INTERMEDIATE CODE: R250

R250 Receipt of annual fees

Free format text: JAPANESE INTERMEDIATE CODE: R250

R250 Receipt of annual fees

Free format text: JAPANESE INTERMEDIATE CODE: R250