JP6528611B2 - 制御回路およびスイッチング電源装置 - Google Patents

制御回路およびスイッチング電源装置 Download PDF

Info

Publication number
JP6528611B2
JP6528611B2 JP2015169595A JP2015169595A JP6528611B2 JP 6528611 B2 JP6528611 B2 JP 6528611B2 JP 2015169595 A JP2015169595 A JP 2015169595A JP 2015169595 A JP2015169595 A JP 2015169595A JP 6528611 B2 JP6528611 B2 JP 6528611B2
Authority
JP
Japan
Prior art keywords
output voltage
voltage
resistor
power supply
switching power
Prior art date
Legal status (The legal status is an assumption and is not a legal conclusion. Google has not performed a legal analysis and makes no representation as to the accuracy of the status listed.)
Active
Application number
JP2015169595A
Other languages
English (en)
Other versions
JP2017046548A (ja
Inventor
研 松浦
研 松浦
旻 林
旻 林
Current Assignee (The listed assignees may be inaccurate. Google has not performed a legal analysis and makes no representation or warranty as to the accuracy of the list.)
TDK Corp
Original Assignee
TDK Corp
Priority date (The priority date is an assumption and is not a legal conclusion. Google has not performed a legal analysis and makes no representation as to the accuracy of the date listed.)
Filing date
Publication date
Application filed by TDK Corp filed Critical TDK Corp
Priority to JP2015169595A priority Critical patent/JP6528611B2/ja
Priority to US15/042,965 priority patent/US9960673B2/en
Publication of JP2017046548A publication Critical patent/JP2017046548A/ja
Priority to US15/936,947 priority patent/US10186962B2/en
Application granted granted Critical
Publication of JP6528611B2 publication Critical patent/JP6528611B2/ja
Active legal-status Critical Current
Anticipated expiration legal-status Critical

Links

Images

Landscapes

  • Dc-Dc Converters (AREA)

Description

本発明は、出力電圧を制御する制御回路およびスイッチング電源装置に関する。
スイッチング電源装置には、起動時に突入電流を防ぐために出力電圧を緩やかに立ち上げるためのソフトスタート機能が知られている。
例えば、下記特許文献1では、ソフトスタートのためのコンデンサ電圧を、起動開始から瞬時にPWM用の三角波と同じレベルまで充電することで、起動開始から出力電圧上昇開始までの期間を短縮している。
また、下記特許文献2では、ソフトスタート電圧を、起動開始から急速に、PWMパルス信号を検出するまで増加させることで、起動開始から出力電圧上昇開始までの期間を短縮している。
国際公開第2005/101629号公報 特開2013−240159号公報
しかしながら、これらの制御方法は、スイッチング電源装置の制御回路に静電容量の大きなコンデンサを使用すると、そのコンデンサの電圧が起動時の0Vから定常値に充電されるまで時間がかかるので、起動時に出力電圧が目標値に達するまで時間がかかる。
本発明は、上記従来技術の有する課題に鑑みてなされたものであり、起動時に出力電圧が短時間で目標値に達することが可能な制御回路およびスイッチング電源装置を提供することを目的とする。
上記の課題を解決するために、本発明に係わる制御回路は、容量素子と、容量素子に接続されたスイッチ素子と、出力電圧検出回路を備え、出力電圧検出回路は、スイッチング電源装置の出力電圧を所定の値と比較し、出力電圧が所定の値より低い場合にはスイッチ素子を短絡して容量素子を充電し、出力電圧が所定の値より高い場合にはスイッチ素子を開放する。
これにより、スイッチング電源の制御回路に静電容量の大きなコンデンサを使用する場合に、起動時に0Vから定常値までスイッチ素子によって短い時間で充電するため、起動時に出力電圧が目標値に達するまで時間がかからない。
本発明に係わる制御回路は、容量素子と、容量素子に接続されたスイッチ素子と、出力電圧検出回路を備え、出力電圧検出回路は、スイッチング電源装置の起動時にはスイッチ素子を短絡して容量素子を充電し、前記スイッチング電源装置の出力電圧を所定の値と比較して、出力電圧が高い場合にはスイッチ素子を開放する。
これにより、スイッチング電源の制御回路に静電容量の大きなコンデンサを使用する場合に、起動時に0Vから定常値までスイッチ素子によって短い時間で充電するため、起動時に出力電圧が目標値に達するまで時間がかからない。また、起動期間が終了すれば2度とスイッチ素子の短絡が起こらないので、定常動作時に出力電圧が低下してスイッチ素子が短絡して出力電圧リプルが増えることがない。
そのため、出力電圧を比較する所定の値を高く設定することができるので、コンデンサ電圧が定常値になるときの出力電圧に近い値にできて、起動時に出力電圧が目標値に達するまでの時間を短くできる。
本発明に係わる制御回路は、容量素子がスイッチング電源装置の出力端子に接続されていてもよい。 これにより、容量素子によってスイッチング電源装置の出力電圧を安定化することができる。
本発明に係わる制御回路は、スイッチング電源装置の出力電圧を分圧する第1抵抗および第2抵抗と、第1抵抗および第2抵抗により分圧された電圧が第1の入力端子に入力され、第2の入力端子に基準電圧が入力される比較器と、比較器の出力信号に基づいてスイッチングトランジスタを制御する制御部とを備え、比較器の第2の入力端子に入力される基準電圧は、比較器の出力が第1のレベルの場合は第1の電圧となり、比較器の出力が第2のレベルの場合は第2の電圧となり、第1抵抗は、スイッチング電源装置の出力端子の正極と比較器の第1の入力端子間に接続され、第1抵抗と並列に容量素子を接続していてもよい。
これにより、分圧抵抗に並列に接続された容量素子を、起動時に急速に充電することで、起動時に出力電圧が目標値に達するまでの時間を短くできる。
本発明に係わる制御回路は、スイッチング電源装置の出力電圧を分圧する第1抵抗および第2抵抗と、第1抵抗および第2抵抗により分圧された電圧が第1の入力端子に入力され、第2の入力端子に基準電圧が入力される誤差増幅器と、誤差増幅器の出力電圧レベルに基づいてスイッチングトランジスタを制御する制御部とを備え、容量素子は、誤差増幅器の出力端子と誤差増幅器の第1の入力端子間に挿入されてもよい。
これにより、誤差増幅器の出力を入力にフィードバックする積分のための容量素子を起動時に急速に充電することで、起動時に出力電圧が目標値に達するまでの時間を短くできる。
本発明に係わる制御回路は、出力電圧検出回路は、スイッチング電源装置の出力電圧を分圧する第3抵抗および第4抵抗と、第2の比較器と、基準電圧を第2の比較器に入力する基準電圧源を含んでいてもよい。
これにより、起動時に出力電圧が目標値に達するまでの時間を短くできると共に、簡単な構成で出力電圧検出回路を構成することができる。
本発明に係わる制御回路は、出力電圧検出回路はさらに、フリップフロップ回路と、フリップフロップ回路に接続された信号源とを含んでいてもよい。
これにより、起動時に出力電圧が目標値に達するまでの時間を短くできると共に、簡単な構成で出力電圧検出回路を構成することができる。
本発明によれば、起動時に出力電圧が短時間で目標値に達することが可能な制御回路およびスイッチング電源装置を提供することができる。
本発明の第一の実施形態に係るスイッチング電源装置の構成を示す回路図である。 本発明の第二の実施形態に係るスイッチング電源装置の構成を示す回路図である。 本発明の第三の実施形態に係るスイッチング電源装置の構成を示す回路図である。
以下、本発明の好適な実施形態について説明する。なお、本発明の対象は以下の実施形態に限定されるものではない。また以下に記載した構成要素には、当業者が容易に想定できるもの、実質的に同一のものが含まれると共に、その構成要素は、適宜組み合わせることが可能である。
本発明の実施の形態を図面を参照し、詳細に説明する。なお、図面の説明においては同一要素には同一符号を付し、重複する説明を省略する。
(実施形態1)
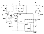
図1は、本発明の第一の実施形態に係るスイッチング電源装置1aの構成を示す回路図である。図1に示すスイッチング電源装置1aは、一例として、一対の入力端子2a,2b(以下、特に区別しないときには「入力端子2」ともいう)、一対の出力端子3a,3b(以下、特に区別しないときには「出力端子3」ともいう)、主回路4、制御回路10aを備え、入力端子2に入力される入力電圧(直流電圧)V1を出力電圧(直流電圧)V2に変換して出力端子3から出力すると共に、出力電圧V2を予め規定された目標電圧に制御する。スイッチング電源装置1aは、入力端子2に入力電圧V1、入力電流i1を入力して、出力端子3から出力電圧V2、負荷電流i2を出力する。
主回路4は、スイッチングトランジスタ5、ダイオード6、チョークコイル7、出力コンデンサ8を備えている。スイッチング電源装置1aの一例としてバックコンバータの回路方式で構成されており、入力端子2から入力される入力電圧V1を出力電圧V2に変換して出力端子3に出力する。
制御回路10aは、スイッチング電源装置1aの出力電圧V2を分圧する第1抵抗20および第2抵抗21と、分圧された電圧Vnが第1の反転入力端子に入力され、第2の非反転入力端子に基準電圧Vpが入力される比較器22と、チョークコイル7に流れる電流iLを検出する電流検出回路9と、比較器22の出力信号Vcoと電流検出回路9で検出された電流値に基づいてスイッチングトランジスタ5を制御する制御部30とを備える。制御回路10aは、出力端子の正極3aと比較器22の第1の反転入力端子間に接続された第1抵抗20と、この第1抵抗20と並列に接続した容量素子11を備える。制御回路10aの共通グランドGは、出力端子の負極3bに接続する。Vn、Vp、Vcoの各信号の電圧は、共通グランドGを基準とした電圧とする。
また、基準電圧Vpは、比較器22の出力Vcoが第1の高いレベルの場合は第1の高い電圧VpHとなり、比較器22の出力Vcoが第2の低いレベルの場合は第2の低い電圧VpLとなる。比較器22は、所謂ヒステリシスコンパレータであり、このヒステリシスコンパレータを用いた回路構成の一例として、比較器22と、比較器22の出力端子と非反転入力端子間に接続する抵抗23と、非反転入力端子と共通グランドG間に直列に接続する抵抗24と定電圧源25を備える。
次に、制御回路10aの動作について説明する。出力電圧V2を抵抗分圧した電圧Vnが第2の電圧VpLよりも低くなると、比較器出力Vcoが第1の高いレベルとなり制御部30がスイッチングトランジスタ5の駆動を開始し、基準電圧は第1の電圧VpHとなる。スイッチングトランジスタ5の駆動期間にチョークコイル7の電流が増加して、チョークコイル7から出力コンデンサ8に負荷電流i2よりも大きな電流iLが供給されることで出力コンデンサ8が充電されて出力電圧V2が上昇する。出力電圧V2を抵抗分圧した電圧Vnが第1の電圧VpHよりも高くなると、比較器出力Vcoが第2の低いレベルとなって駆動期間を終了して休止期間となる。このとき基準電圧は第2の電圧VpLとなる。休止期間はチョークコイル7からの電流iLよりも負荷電流i2が大きくなるので、出力コンデンサ8から放電して、出力電圧V2が低下する。再び出力電圧V2を抵抗分圧した電圧Vnが第2の電圧VpLよりも低くなると、再び駆動期間を開始して、基準電圧は第1の電圧VpHとなる。この動作を繰り返すことにより、抵抗分圧した電圧Vnが第1の電圧VpHと第2の電圧VpLの間の値となるように、駆動期間と休止期間が制御されて、出力電圧V2を予め規定された目標電圧に制御する。
さらに、容量素子11を第1抵抗20に接続することによって、第1抵抗20の両端の電圧がほぼ一定値Vr1に安定化される。これにより、比較器22の反転入力端子の電圧Vnは、出力電圧V2から一定のVr1を引き算した値となるので、Vnの電圧リプルは出力電圧V2の電圧リプルに等しくなる。制御回路10aは、VnがVpLとVpHの間の値になるように駆動期間と休止期間を制御して、出力電圧V2を予め規定された目標電圧に制御する。そのため、Vnの電圧リプルが第1の電圧と第2の電圧の差VpH−VpLに等しくなって、出力電圧V2の電圧リプルの大きさもVpH−VpLとなる。
また、容量素子11の静電容量を十分に大きくすることによりVr1がさらに安定となり、出力電圧V2の静的負荷変動も小さくすることができる。
しかしながら、容量素子11の静電容量を大きくすると、その両端電圧Vr1が起動時の0Vから定常値に充電されるまで時間がかかる。Vr1の定常値は、第1抵抗20の抵抗値をR1、第2抵抗21の抵抗値をR2として、Vr1=V2×R1/(R1+R2)である。このとき、出力電圧V2は、Vn=V2−Vr1がVpと等しくなるように、目標値Vp×(R1+R2)/R2に制御される。起動時のVr1が定常値よりも低い期間も、Vn=V2−Vr1がVpと等しくなるように制御されているため、V2は目標値よりも低くなる。起動時にVr1が定常値よりも低い期間が長く続くと、起動時に出力電圧が目標値に達していない期間が長く続く。
起動時の容量素子11の充電は、出力端子正極3aから容量素子11、第2抵抗21を通る経路で行われ、容量素子11の静電容量が大きく、第2抵抗21の抵抗値R2が大きいほど充電に時間がかかる。第1抵抗20と第2抵抗21とで出力電圧V2を分圧しているので、特に出力電圧V2が高い場合にR1とR2は大きな抵抗値として消費電力を抑える必要がある。
そこで起動時の容量素子11の充電のために、第2抵抗21に並列接続したスイッチ素子12と、出力電圧検出回路13を備える。出力電圧検出回路13は、第2の比較器である比較器14と、基準電圧を比較器14に入力する第2の基準電圧源15と、出力電圧V2を分圧する第3抵抗である抵抗16と第4抵抗である抵抗17から構成され、比較器14の非反転入力端子に電圧源15が入力され、比較器14の反転入力端子に出力電圧V2を抵抗16と抵抗17を分圧した電圧が入力される。比較器14の出力端子はスイッチ素子12を駆動する。スイッチング電源装置1aの出力電圧V2を、抵抗16と抵抗17の分圧比と電圧源15から決まる所定の値と比較して、出力電圧V2が低い場合にスイッチ素子12を短絡して容量素子11を充電し、出力電圧V2が高い場合にスイッチ素子12を開放する。
また、スイッチ素子12が短絡して容量素子11を急速に充電している期間は、比較器22の出力Vcoは第1の高いレベルとなっていて、電流検出回路9で検出された電流値が設定された最大値となるように、制御部30はスイッチングトランジスタ5を制御する。
これにより、出力電圧V2が所定の値よりも低い起動時は、容量素子11の充電が出力端子正極3aから容量素子11、スイッチ素子12を通る経路で行われ、容量素子11の静電容量が大きい場合でも急速に充電することができるので、起動時に出力電圧V2が目標値に達するまでの時間を短くできる。
(実施形態2)
図2は、本発明に係わる第二の実施形態に係るスイッチング電源装置1bの構成を示す回路図である。図2に示すスイッチング電源装置1bは、図1の第一の実施形態に係わるスイッチング電源装置1aとは出力電圧検出回路13の構成が異なる。出力電圧検出回路13bは、比較器14と、電圧源15と、出力電圧V2を分圧する抵抗16、抵抗17と、RSフリッププロップ18と信号源19から構成される。
出力電圧V2を抵抗16、抵抗17で分圧した電圧は、比較器14の非反転入力端子に入力され、電圧源15は比較器14の反転入力端子に入力され、比較器14の出力はRSフリッププロップ18のリセット入力端子に入力する。信号源19は、RSフリッププロップ18のセット入力端子に入力し、RSフリッププロップ18の出力はスイッチ素子12を駆動する。信号源19は、起動直後の短い期間のみハイレベルとなることで、RSフリッププロップ18の出力をハイレベルにセットする。そのため、スイッチ素子12は起動時に短絡されて、図1の実施形態1と同様に、容量素子11が急速に充電される。
起動時は出力電圧V2が低いため、出力電圧V2を抵抗16、抵抗17で分圧した電圧は、電圧源15よりも低く、比較器14の出力はローレベルとなっている。出力電圧V2が所定の電圧に達すると、出力電圧V2を抵抗16、抵抗17で分圧した電圧は、電圧源15よりも高くなり、比較器14の出力はハイレベルとなることで、RSフリッププロップ18の出力はローレベルにリセットされ、スイッチ素子12は開放となる。
これにより、出力電圧V2が所定の値よりも低い起動時は、容量素子11の充電が出力端子正極3aから容量素子11、スイッチ素子12を通る経路で行われ、容量素子11の静電容量が大きい場合でも急速に充電することができるので、起動時に出力電圧V2が目標値に達するまでの時間を短くできる。
また、起動期間が終了すれば2度とスイッチ素子12の短絡が起こらないので、定常動作時に出力電圧V2が低下したためにスイッチ素子12が短絡して出力電圧リプルが増えることがない。そのため、出力電圧V2を比較する所定の値を高く設定することができるので、コンデンサ電圧Vr1が定常値になるときの出力電圧に近い値にできて、起動時に出力電圧V2が目標値に達するまでの時間を短くできる。
(実施形態3)
図3は、本発明に係わる第三の実施形態に係るスイッチング電源装置1cの構成を示す回路図である。図2に示すスイッチング電源装置1cは、図2の第二の実施形態に係わるスイッチング電源装置1bとは制御回路10cの構成が異なる。スイッチング電源装置1cの出力電圧V2を分圧する第1抵抗20、第2抵抗21と、誤差増幅器26と、電圧源25と、抵抗27と、容量素子11cと、電流検出回路9と、制御部30cと、スイッチ素子12と、図2と同様の出力電圧検出回路13bから構成される。
誤差増幅器26の反転入力端子である第1の入力端子に第1抵抗20と第2抵抗21により分圧された電圧が入力され、その非反転入力端子である第1の入力端子に電圧源25が入力され、制御部30cは、誤差増幅器26の出力電圧レベルVaと電流検出回路9で検出された電流値に基づいてスイッチングトランジスタ5を制御する。
誤差増幅器26の出力端子と反転入力端子間に接続された抵抗27と容量素子11cにより、出力電圧V2と目標電圧の誤差の積分が行われる。大きな時定数の積分を行う場合には、容量素子11cの静電容量が大きくなる。
しかしながら、容量素子11cの静電容量を大きくすると、その両端電圧V11が起動時の0Vから定常値に充電されるまで時間がかかる。V11の定常値は、出力電圧V2が目標電圧で安定したときの誤差増幅器26の出力電圧レベルVa0から、誤差増幅器26の非反転入力端子電圧Vpを引き算した値Va0−Vpであって、このときの容量素子11cの充電電流i11は0である。このとき第1抵抗20の抵抗値をR1、第2抵抗21の抵抗値をR2、抵抗27の抵抗値をR3として、出力電圧V2は、VnがVpと等しくなるように、目標値Vp×(R1+R2)/R2に制御される。
起動時のV11が定常値よりも低い期間は、V2は目標値よりも低くなる。V11が定常値よりも低いために、容量素子11cの充電電流i11として、i11=(Va−Vp−V11)/R3の電流が流れ、この電流が第2抵抗21にも流れるために、出力電圧V2は分圧比によって決まる目標値よりも、R1*i11=(Va−Vp−V11)R1/R3だけ低くなる。容量素子11cの静電容量が大きいために、起動時にV11が定常値よりも低い期間が長く続くと、起動時に出力電圧V2が目標値に達していない期間が長く続く。
そこで起動時の容量素子11cの充電期間を短くするために、第2抵抗21に並列接続したスイッチ素子12と、出力電圧検出回路13bを備える。出力電圧検出回路13bは、図2の第二の実施形態と同様に、起動時にスイッチ素子12を短絡して容量素子11cを充電し、出力電圧V2が所定の電圧よりも高くなるとスイッチ素子12を開放する。
また、スイッチ素子12が短絡して容量素子11cを急速に充電している期間は、誤差増幅器26の出力Vaは高い電圧レベルとなっていて、電流検出回路9で検出された電流値が設定された最大値となるように、制御部30cはスイッチングトランジスタ5を制御する。
これにより、出力電圧V2が所定の値よりも低い起動時は、容量素子11cの充電が誤差増幅器26の出力端子から容量素子11c、スイッチ素子12を通る経路で行われ、容量素子11cの静電容量が大きい場合でも急速に充電することができるので、起動時に出力電圧V2が目標値に達するまでの時間を短くできる。
第三の実施形態の出力電圧検出回路13bは、第二の実施形態の出力電圧検出回路13bと同じ構成として説明したが、第一の実施形態の出力電圧検出回路13と同じ構成とすることもできる。
以上、本発明の一実施形態の制御回路およびスイッチング電源装置について説明したが、上記実施の形態の説明に限定されず種々の変形実施が可能である。
例えば、スイッチング電源装置は、バックコンバータを例示して説明したが、これに限らず、フォワードコンバータ、プッシュプルコンバータ等、各種スイッチング電源装置に適用することができる。
1・・・スイッチング電源装置
2・・・入力端子
3・・・出力端子
4・・・スイッチング電源装置の主回路
5・・・スイッチングトランジスタ
6・・・ダイオード
7・・・チョークコイル
8・・・出力コンデンサ
9・・・電流検出回路
10・・・スイッチング電源装置の制御回路
11・・・容量素子
12・・・スイッチ素子
13・・・出力電圧検出回路
14・・・誤差増幅器
15・・・電圧源
16、17、20、21、23、24、27・・・抵抗
18・・・RSフリップフロップ
19・・・信号源
22・・・比較器
26・・・誤差増幅器
30・・・制御部

Claims (8)

  1. スイッチング電源装置の制御回路であって、
    前記スイッチング電源装置の出力電圧を分圧する第1抵抗および第2抵抗と、
    前記第1抵抗および第2抵抗により分圧された電圧が第1の入力端子に入力され、第2の入力端子に基準電圧が入力される比較器と、
    前記比較器の出力信号に基づいてスイッチングトランジスタを制御する制御部と、
    前記スイッチング電源装置の出力端子の正極と前記比較器の前記第1の入力端子間に接続される前記第1抵抗に並列に接続された容量素子と、
    前記容量素子に接続されたスイッチ素子と、
    出力電圧検出回路を備え、
    前記比較器の第2の入力端子に入力される前記基準電圧は、前記比較器の出力が第1のレベルの場合は第1の電圧となり、前記比較器の出力が第2のレベルの場合は第2の電圧となり、
    前記出力電圧検出回路は、前記スイッチング電源装置の出力電圧を所定の値と比較し、前記出力電圧が前記所定の値より低い場合には前記スイッチ素子を短絡して前記容量素子を充電し、前記出力電圧が前記所定の値より高い場合には前記スイッチ素子を開放することを特徴とする制御回路。
  2. スイッチング電源装置の制御回路であって、
    前記スイッチング電源装置の出力電圧を分圧する第1抵抗および第2抵抗と、
    前記第1抵抗および第2抵抗により分圧された電圧が第1の入力端子に入力され、第2の入力端子に基準電圧が入力される比較器と、
    前記比較器の出力信号に基づいてスイッチングトランジスタを制御する制御部と、
    前記スイッチング電源装置の出力端子の正極と前記比較器の前記第1の入力端子間に接続される前記第1抵抗に並列に接続された容量素子と、
    前記容量素子に接続されたスイッチ素子と、
    出力電圧検出回路を備え、
    前記比較器の第2の入力端子に入力される前記基準電圧は、前記比較器の出力が第1のレベルの場合は第1の電圧となり、前記比較器の出力が第2のレベルの場合は第2の電圧となり、
    前記出力電圧検出回路は、前記スイッチング電源装置の起動時には前記スイッチ素子を短絡して前記容量素子を充電し、前記スイッチング電源装置の出力電圧を所定の値と比較して、前記出力電圧が前記所定の値より高い場合には前記スイッチ素子を開放することを特徴とする制御回路。
  3. 前記容量素子は、前記スイッチング電源装置の出力端子に接続されることを特徴とする請求項1または2に記載の制御回路。
  4. スイッチング電源装置の制御回路であって、
    前記スイッチング電源装置の出力電圧を分圧する第1抵抗および第2抵抗と、
    前記第1抵抗および第2抵抗により分圧された電圧が第1の入力端子に入力され、第2の入力端子に基準電圧が入力される誤差増幅器と、
    前記誤差増幅器の出力電圧レベルに基づいてスイッチングトランジスタを制御する制御部と、
    前記誤差増幅器の出力端子と前記誤差増幅器の第1の入力端子間に挿入された容量素子と、
    前記容量素子に接続されたスイッチ素子と、
    出力電圧検出回路を備え、
    前記出力電圧検出回路は、前記スイッチング電源装置の出力電圧を所定の値と比較し、前記出力電圧が前記所定の値より低い場合には前記スイッチ素子を短絡して前記容量素子を充電し、前記出力電圧が前記所定の値より高い場合には前記スイッチ素子を開放することを特徴とする制御回路。
  5. スイッチング電源装置の制御回路であって、
    前記スイッチング電源装置の出力電圧を分圧する第1抵抗および第2抵抗と、
    前記第1抵抗および第2抵抗により分圧された電圧が第1の入力端子に入力され、第2の入力端子に基準電圧が入力される誤差増幅器と、
    前記誤差増幅器の出力電圧レベルに基づいてスイッチングトランジスタを制御する制御部と、
    前記誤差増幅器の出力端子と前記誤差増幅器の第1の入力端子間に挿入された容量素子と、
    前記容量素子に接続されたスイッチ素子と、
    出力電圧検出回路を備え、
    前記出力電圧検出回路は、前記スイッチング電源装置の起動時には前記スイッチ素子を短絡して前記容量素子を充電し、前記スイッチング電源装置の出力電圧を所定の値と比較して、前記出力電圧が前記所定の値より高い場合には前記スイッチ素子を開放することを特徴とする制御回路。
  6. 前記出力電圧検出回路は、前記スイッチング電源装置の出力電圧を分圧する第3抵抗および第4抵抗と、第2の比較器と、基準電圧を前記第2の比較器に入力する基準電圧源を含むことを特徴とする請求項1〜5のいずれか一項に記載の制御回路。
  7. 前記出力電圧検出回路はさらに、フリップフロップ回路と、前記フリップフロップ回路に接続された信号源とを含むことを特徴とする請求項6に記載の制御回路。
  8. 請求項1から7のいずれか一項に記載の制御回路を備えることを特徴とするスイッチング電源装置。
JP2015169595A 2015-02-16 2015-08-28 制御回路およびスイッチング電源装置 Active JP6528611B2 (ja)

Priority Applications (3)

Application Number Priority Date Filing Date Title
JP2015169595A JP6528611B2 (ja) 2015-08-28 2015-08-28 制御回路およびスイッチング電源装置
US15/042,965 US9960673B2 (en) 2015-02-16 2016-02-12 Control circuit and switching power supply
US15/936,947 US10186962B2 (en) 2015-02-16 2018-03-27 Control circuit and switching power supply

Applications Claiming Priority (1)

Application Number Priority Date Filing Date Title
JP2015169595A JP6528611B2 (ja) 2015-08-28 2015-08-28 制御回路およびスイッチング電源装置

Publications (2)

Publication Number Publication Date
JP2017046548A JP2017046548A (ja) 2017-03-02
JP6528611B2 true JP6528611B2 (ja) 2019-06-12

Family

ID=58211883

Family Applications (1)

Application Number Title Priority Date Filing Date
JP2015169595A Active JP6528611B2 (ja) 2015-02-16 2015-08-28 制御回路およびスイッチング電源装置

Country Status (1)

Country Link
JP (1) JP6528611B2 (ja)

Family Cites Families (7)

* Cited by examiner, † Cited by third party
Publication number Priority date Publication date Assignee Title
JP3469172B2 (ja) * 2000-07-31 2003-11-25 シャープ株式会社 チョッパ型レギュレータ
JP3490711B2 (ja) * 2003-01-14 2004-01-26 富士通株式会社 直流−直流変換制御回路および直流−直流変換装置
JP4756936B2 (ja) * 2005-06-30 2011-08-24 キヤノン株式会社 電源制御装置
JP2010063231A (ja) * 2008-09-02 2010-03-18 Canon Inc スイッチングレギュレータ
JP2011244677A (ja) * 2010-04-23 2011-12-01 Rohm Co Ltd スイッチング電源の制御回路およびそれを用いたスイッチング電源、発光装置および電子機器
JP2013047893A (ja) * 2011-08-29 2013-03-07 Sharp Corp レギュレータおよび直流安定化電源装置
JP2015053833A (ja) * 2013-09-09 2015-03-19 ローム株式会社 Dc/dcコンバータおよびその制御回路、ならびに電子機器

Also Published As

Publication number Publication date
JP2017046548A (ja) 2017-03-02

Similar Documents

Publication Publication Date Title
US9974336B2 (en) Power control circuit and power control method for electronic cigarette
TWI458240B (zh) 根據操作模式控制切換模式電源供應器的切換拓撲的電源供應器系統、切換調整器及方法
KR102145165B1 (ko) 스위칭 레귤레이터 및 전자 기기
US20170049150A1 (en) Power converter, power control circuit and power control method of electronic cigarette
CN105452882B (zh) 电池监视装置
JP5405891B2 (ja) 電源装置、制御回路、電源装置の制御方法
US9362822B2 (en) Average load current detector for a multi-mode switching converter
WO2005046036A1 (ja) Dc/dcコンバータ
JP2014138303A (ja) 誘導性負荷駆動装置
WO2018037660A1 (ja) 充電装置
CN111492581A (zh) 开关电路
JP2014117045A (ja) チャージポンプ回路
JP5904245B2 (ja) 電源制御回路および電源装置
TWI514762B (zh) System connected to inverter device and its control method
US9166468B2 (en) Voltage regulator circuit with soft-start function
JP4630165B2 (ja) Dc−dcコンバータ
JP5398422B2 (ja) スイッチング電源装置
CN112714997A (zh) 在闭环系统中改善开关条件的方法和装置
JP6528611B2 (ja) 制御回路およびスイッチング電源装置
TWI547074B (zh) 電源轉換器、電壓調整單元及電壓調整方法
JP2012090420A (ja) 半導体スイッチ及び充電回路
JP6421707B2 (ja) 電源回路
WO2020121727A1 (ja) ゲート駆動回路
JP5881664B2 (ja) 電源装置、制御回路、電源装置の制御方法
US9318956B1 (en) Switching power-supply device

Legal Events

Date Code Title Description
A621 Written request for application examination

Free format text: JAPANESE INTERMEDIATE CODE: A621

Effective date: 20180314

A977 Report on retrieval

Free format text: JAPANESE INTERMEDIATE CODE: A971007

Effective date: 20190131

A131 Notification of reasons for refusal

Free format text: JAPANESE INTERMEDIATE CODE: A131

Effective date: 20190212

A521 Request for written amendment filed

Free format text: JAPANESE INTERMEDIATE CODE: A523

Effective date: 20190403

TRDD Decision of grant or rejection written
A01 Written decision to grant a patent or to grant a registration (utility model)

Free format text: JAPANESE INTERMEDIATE CODE: A01

Effective date: 20190416

A61 First payment of annual fees (during grant procedure)

Free format text: JAPANESE INTERMEDIATE CODE: A61

Effective date: 20190429

R150 Certificate of patent or registration of utility model

Ref document number: 6528611

Country of ref document: JP

Free format text: JAPANESE INTERMEDIATE CODE: R150

R250 Receipt of annual fees

Free format text: JAPANESE INTERMEDIATE CODE: R250