JP6465366B2 - 蓄熱式排熱回収装置及びこれを用いた燃焼装置並びにコージェネレーションシステム - Google Patents

蓄熱式排熱回収装置及びこれを用いた燃焼装置並びにコージェネレーションシステム Download PDF

Info

Publication number
JP6465366B2
JP6465366B2 JP2016571648A JP2016571648A JP6465366B2 JP 6465366 B2 JP6465366 B2 JP 6465366B2 JP 2016571648 A JP2016571648 A JP 2016571648A JP 2016571648 A JP2016571648 A JP 2016571648A JP 6465366 B2 JP6465366 B2 JP 6465366B2
Authority
JP
Japan
Prior art keywords
heat
heat storage
wall
storage medium
side space
Prior art date
Legal status (The legal status is an assumption and is not a legal conclusion. Google has not performed a legal analysis and makes no representation as to the accuracy of the status listed.)
Active
Application number
JP2016571648A
Other languages
English (en)
Other versions
JPWO2016121117A1 (ja
Inventor
健仁 福富
健仁 福富
山城 光
光 山城
Current Assignee (The listed assignees may be inaccurate. Google has not performed a legal analysis and makes no representation or warranty as to the accuracy of the list.)
THOMAS GIJUTSUKENKYUJO CORPORATION
Institute of National Colleges of Technologies Japan
Original Assignee
THOMAS GIJUTSUKENKYUJO CORPORATION
Institute of National Colleges of Technologies Japan
Priority date (The priority date is an assumption and is not a legal conclusion. Google has not performed a legal analysis and makes no representation as to the accuracy of the date listed.)
Filing date
Publication date
Application filed by THOMAS GIJUTSUKENKYUJO CORPORATION, Institute of National Colleges of Technologies Japan filed Critical THOMAS GIJUTSUKENKYUJO CORPORATION
Publication of JPWO2016121117A1 publication Critical patent/JPWO2016121117A1/ja
Application granted granted Critical
Publication of JP6465366B2 publication Critical patent/JP6465366B2/ja
Active legal-status Critical Current
Anticipated expiration legal-status Critical

Links

Images

Classifications

    • FMECHANICAL ENGINEERING; LIGHTING; HEATING; WEAPONS; BLASTING
    • F23COMBUSTION APPARATUS; COMBUSTION PROCESSES
    • F23GCREMATION FURNACES; CONSUMING WASTE PRODUCTS BY COMBUSTION
    • F23G5/00Incineration of waste; Incinerator constructions; Details, accessories or control therefor
    • F23G5/44Details; Accessories
    • F23G5/46Recuperation of heat
    • FMECHANICAL ENGINEERING; LIGHTING; HEATING; WEAPONS; BLASTING
    • F23COMBUSTION APPARATUS; COMBUSTION PROCESSES
    • F23MCASINGS, LININGS, WALLS OR DOORS SPECIALLY ADAPTED FOR COMBUSTION CHAMBERS, e.g. FIREBRIDGES; DEVICES FOR DEFLECTING AIR, FLAMES OR COMBUSTION PRODUCTS IN COMBUSTION CHAMBERS; SAFETY ARRANGEMENTS SPECIALLY ADAPTED FOR COMBUSTION APPARATUS; DETAILS OF COMBUSTION CHAMBERS, NOT OTHERWISE PROVIDED FOR
    • F23M5/00Casings; Linings; Walls
    • F23M5/08Cooling thereof; Tube walls
    • YGENERAL TAGGING OF NEW TECHNOLOGICAL DEVELOPMENTS; GENERAL TAGGING OF CROSS-SECTIONAL TECHNOLOGIES SPANNING OVER SEVERAL SECTIONS OF THE IPC; TECHNICAL SUBJECTS COVERED BY FORMER USPC CROSS-REFERENCE ART COLLECTIONS [XRACs] AND DIGESTS
    • Y02TECHNOLOGIES OR APPLICATIONS FOR MITIGATION OR ADAPTATION AGAINST CLIMATE CHANGE
    • Y02EREDUCTION OF GREENHOUSE GAS [GHG] EMISSIONS, RELATED TO ENERGY GENERATION, TRANSMISSION OR DISTRIBUTION
    • Y02E20/00Combustion technologies with mitigation potential
    • Y02E20/12Heat utilisation in combustion or incineration of waste
    • YGENERAL TAGGING OF NEW TECHNOLOGICAL DEVELOPMENTS; GENERAL TAGGING OF CROSS-SECTIONAL TECHNOLOGIES SPANNING OVER SEVERAL SECTIONS OF THE IPC; TECHNICAL SUBJECTS COVERED BY FORMER USPC CROSS-REFERENCE ART COLLECTIONS [XRACs] AND DIGESTS
    • Y02TECHNOLOGIES OR APPLICATIONS FOR MITIGATION OR ADAPTATION AGAINST CLIMATE CHANGE
    • Y02EREDUCTION OF GREENHOUSE GAS [GHG] EMISSIONS, RELATED TO ENERGY GENERATION, TRANSMISSION OR DISTRIBUTION
    • Y02E20/00Combustion technologies with mitigation potential
    • Y02E20/14Combined heat and power generation [CHP]
    • YGENERAL TAGGING OF NEW TECHNOLOGICAL DEVELOPMENTS; GENERAL TAGGING OF CROSS-SECTIONAL TECHNOLOGIES SPANNING OVER SEVERAL SECTIONS OF THE IPC; TECHNICAL SUBJECTS COVERED BY FORMER USPC CROSS-REFERENCE ART COLLECTIONS [XRACs] AND DIGESTS
    • Y02TECHNOLOGIES OR APPLICATIONS FOR MITIGATION OR ADAPTATION AGAINST CLIMATE CHANGE
    • Y02TCLIMATE CHANGE MITIGATION TECHNOLOGIES RELATED TO TRANSPORTATION
    • Y02T10/00Road transport of goods or passengers
    • Y02T10/10Internal combustion engine [ICE] based vehicles
    • Y02T10/12Improving ICE efficiencies

Landscapes

  • Engineering & Computer Science (AREA)
  • Mechanical Engineering (AREA)
  • General Engineering & Computer Science (AREA)
  • Chemical & Material Sciences (AREA)
  • Combustion & Propulsion (AREA)
  • Heat-Pump Type And Storage Water Heaters (AREA)

Description

本発明は、小規模の燃焼装置から排出される排熱を回収する蓄熱式排熱回収装置及びこれを用いた燃焼装置に関するものであり、また、回収した熱を顕熱として蓄熱し、蓄熱した熱を利用してタービンを駆動して発電を行うコージェネレーションシステムに関する。
化学プラントや燃焼設備等の排熱(または廃熱)を有効に活用する技術は、化石燃料の消費削減のほか、環境負荷の小さい、低炭素循環型の社会システムの構築に貢献できる技術として、今後ますます重要になると考えられる。
例えば、ごみ焼却設備からの排熱は主に、熱交換器を介して作動媒体の予熱を行なう形態、温水として回収、供給する形態、さらには、過熱蒸気によりタービンを駆動させて電気と熱の同時供給を行なうコージェネレーションシステム(熱電併用)の形態に大別される。
そして、いずれの形態についても、熱交換器の性能とともに排熱回収効率が向上し、各種センサーや制御技術を取り入れてシステム性能の進歩が図られてきた。
特に、排熱を利用して電気と熱の同時供給を行なうコージェネレーションシステムの形態については、経済的メリットを考慮しつつ、高温の排熱を安定的に確保できる大規模設備において広く普及している。一方、ごみ焼却量が1日100トン以下の小規模燃焼装置や間欠式の燃焼炉では、発電に必要な排熱を定常的に確保できない場合が多いために、タービンを駆動するための過熱蒸気を安定的に確保することが困難であり、小型燃焼装置のみの排熱ではコージェネレーションシステムを構築することは困難とされている。
小規模の燃焼装置や間欠型の燃焼炉については、近年、燃焼温度の高温化と排煙の急速冷却技術の進歩により、制御、モニタリング技術を融合させることでダイオキシン類を排出しないことが実現されている。これにより機器の需要が増加していることもあり、大型設備と同様に排熱の有効活用に向けた技術開発の動向が注目されている。
例えば、特許文献1では、焼却物に伐採木材や生物資源物を混入して、一定の燃焼熱を確保することで、蒸気タービンの発電出力を一定に保持する方法が開示されている。
また、特許文献2では、焼却炉内で熱交換を行なって予熱された作動媒体を、補助ボイラにより再加熱して、安定した過熱蒸気を確保する発電方法が開示されている。
さらに、近年、温泉熱など、温度100℃前後の排熱を利用する形態として、低沸点の作動媒体を用いて排熱を回収し、比較的低温の過熱蒸気でタービンを駆動させるバイナリー発電システムが実用化されているが、当該システムにおいても、一定温度の熱を充分かつ定常的に確保できることが重要となる。
特開2013−064571号公報 特開平07−012303号公報
小規模の燃焼装置の排熱を利用してコージェネレーションシステムを構築するには、次の課題の解決が必要である。
(1)装置が小型化すると、排熱を回収するための伝熱面積を確保し難く(有効伝熱面積が小さい)、燃焼熱の変動が大きいことから、一定温度または一定量の排熱を定常的に確保するための技術的手段が必要である。
(2)装置が小型化するほど単位体積当たりの表面積が大きくなることから、大型装置よりも外気への放熱量すなわち熱損失が大きくなり、熱媒体または作動媒体を用いて回収された熱が、外気へ放熱されて、熱回収率が大幅に低下する。
すなわち、小型燃焼装置特有の「熱し易く、さめ易い」性質を改善する必要がある。
(3)従来の排熱回収装置の形態では、水や低沸点または低温の熱媒体を用いて排熱回収を行った場合、熱媒体の熱的条件(温度、圧力、熱伝達率)が燃焼室や高温の壁面に直接影響を及ぼすことから、燃焼温度の低下、壁面の変形を生じ、場合によっては燃焼室壁面が焼損(バーンアウト)する危険がある。
(4)従来の排熱回収装置をコージェネレーションシステムに適用した場合、燃焼室の熱的変動(温度、発熱量)が作動媒体の温度や圧力に直接影響を及ぼし、安定した過熱蒸気すなわち安定した発電出力を得ることが難しい。
そこで、上記課題に鑑み、本発明は、熱変動が大きい小型燃焼炉等の排熱を蓄熱して、一定温度の安定した熱を確保、供給できる蓄熱式排熱回収装置及びこれを用いた燃焼装置並びにコージェネレーションシステムを提供する。
本発明に係る蓄熱式排熱回収装置は、
燃焼装置の高温の壁面から伝達される排熱を蓄熱して回収する蓄熱式排熱回収装置であって、
蓄熱式排熱回収装置は、
高温の壁面の外側に設けた蓄熱媒体を貯留または循環させるための壁面狭空間からなり、
壁面狭空間には、作動媒体を循環させるための伝熱管が配管されており、
壁面狭空間内に蓄熱媒体を貯留または循環させるとともに、伝熱管内に作動媒体を循環させることで、
作動媒体が、高温の壁面から伝達される排熱を直接回収するのではなく、蓄熱媒体を介して間接的に回収する
ことを特徴とする。
従来の排熱回収装置は、作動媒体または熱媒体(20℃前後の水)を高温の壁面に供給して、壁面と作動媒体とが直接接触した状態で、壁面から伝達される排熱を回収する形態である。この形態を、小規模の燃焼装置に適用した場合、次の問題がある。
(1)低温の作動媒体または熱媒体が装置内に供給されると、燃焼装置の壁面温度を低下させ、さらには燃焼室内部の燃焼状態(温度、発熱量)に影響を及ぼすおそれがある。これは、例えばごみの焼却装置においては、燃焼温度の低下が生じ、有害物質が発生する原因になる。
(2)燃焼装置の壁面の内側(燃焼室側、高温)と外側(熱媒体が接触している面)とで大きな温度差(温度勾配)が生じ、燃焼装置の壁面が熱応力により変形、破損の危険がある。
(3)熱媒体がドライアウトして過熱蒸気になると、壁面の急激な温度上昇と系内の圧力上昇とが起こり、壁面の焼損(バーンアウト)や加圧による壁面の変形が生じる。
(4)燃焼炉側壁面と外気側壁面とが作動媒体を介して接触している状態では、作動媒体の熱損失(外部への放熱)が大きくなり、熱回収率が低下して、蒸気生成が不安定となる。
そこで、本発明に係る蓄熱式排熱回収装置は、水の飽和温度(100℃、1気圧)よりも高い飽和温度となる液体すなわち高沸点かつ高熱容量の蓄熱媒体と、水または低沸点の作動媒体と、の2種類の熱媒体を用い、高温の壁面の外側に設けた蓄熱媒体を貯留または循環させる壁面狭空間内に伝熱管を配管して、伝熱管内に作動媒体を循環させることで、作動媒体が燃焼装置側壁面と外気側壁面に直接触れることなく、排熱を安全かつ効率よく回収できるようにした。
本願発明において、壁面とは、燃焼によって高温に熱せられる燃焼装置の燃焼室(燃焼炉)や煙突部等の壁面を意味する。
また、壁面狭空間とは、燃焼装置の燃焼室(燃焼炉)や煙突部等の壁面の外側に設けられる壁面で挟まれた空間であり、壁面の一部分だけで空間を設けることもできるし、全範囲、つまり、燃焼室(燃焼炉)や煙突部の壁面全てに設けることもできる。壁面狭空間の外気側壁面(外壁)は、外気環境の影響を受けないように断熱性を有することが望ましい。
本願発明において、伝熱管は、壁面狭空間内に配管され、管内部に作動媒体を循環させる。伝熱管は、壁面狭空間内を垂直方向に配管することもできるし、螺旋状に形成された管として壁面に沿って配管したり、壁面の周囲に沿って螺旋方向に配管することもできる。
なお、蓄熱媒体や作動媒体を装置外部で循環させる場合のポンプ等の動力源は、別に備えることができる。
本願発明における蓄熱媒体は、1気圧における沸点が約300〜400℃で、温度上昇とともに体積が増加する性質すなわち体積膨張率の温度依存性が大きい液体(例えば、温度25〜300℃における容積比1〜1.5以下)である。また、金属繊維または金属粒子等を埋入した蓄熱媒体で壁面狭空間を満たすと、高温壁面から蓄熱媒体への熱移動が促進され、蓄熱媒体の温度分布が均一化されて蓄熱性及び温度制御性が向上する。
本願発明における作動媒体は、水または低沸点(沸点100℃以下)のペンタンやブタンの他、フロン系冷媒を用いることができる。このような作動媒体を用いることで、温度100℃以下の低温の排熱回収が可能となり、蒸気タービンの駆動に必要な過熱蒸気を、より安定的に確保することができる。
本発明によれば、低温の水や低沸点の作動媒体を装置内に供給しても、燃焼装置の壁面や燃焼室内部の温度や発熱量を低下させることがなく、さらに壁面の変形や焼損を防ぐことができる。
また、低沸点の作動媒体が燃焼装置の高温の壁面と直に接触することがないため、壁面の内側と外側の温度差(温度勾配)が極端に大きくなることが回避されて、熱応力による壁面の変形や、熱伝達低下による燃焼炉壁面の焼損(バーンアウト)、過熱蒸気による壁面の加圧変形を防ぐことができる。
さらに、燃焼装置の排熱を発電に利用するコージェネレーションでは、発電に必要な熱エネルギーを常に確保することが必要である。
従って、当該発明により小型燃焼装置に蓄熱機能を持たせることで、排熱の熱的変動が大きい小型燃焼装置においても、過熱蒸気の安定供給すなわち安定した発電出力をえることができる。
本発明に係る蓄熱式排熱回収装置は、
燃焼装置の高温の壁面から伝達される排熱を蓄熱して回収する蓄熱式排熱回収装置であって、
蓄熱式排熱回収装置は、
高温の壁面の外側に設けた壁面狭空間からなり、
壁面狭空間は、空間の上方と下方とが開口した隔壁によって、高温の壁面側の空間(内壁側空間)と、壁面狭空間の外壁側の空間(外壁側空間)とに区画され、
内壁側空間には、作動媒体を循環させるための伝熱管が配管されており、
内壁側空間内に貯留する蓄熱媒体が排熱を蓄熱して高温になると、蓄熱媒体は、隔壁上方の開口部分から外壁側空間に流れて冷却され、隔壁下方の開口部分から内壁側空間に戻って再度排熱を蓄熱して高温になり、これが繰り返されることで両空間内を循環するとともに、この循環によって一定の温度に制御された蓄熱媒体が循環する内壁側空間に配管された伝熱管内に、作動媒体を循環させることによって、
作動媒体が、高温の壁面から伝達される排熱を直接回収するのではなく、蓄熱媒体を介して間接的に回収する
ことを特徴とする。
本発明は、前記蓄熱式排熱回収装置の壁面狭空間を、隔壁によって内壁側空間と外壁側空間とに区画し、壁面狭空間の上方と下方の開口している空間を通じて、蓄熱媒体が両空間間を自然循環するようにしたものである。
小規模の燃焼装置の排熱を発電に利用する場合には、熱的条件(温度、圧力、流量)が一定の過熱蒸気をタービン入口に供給して、周波数一定の安定した発電出力を得る必要がある。そのため、作動媒体の熱源となる蓄熱媒体の温度は、一定または一様に保たれていることが望ましい。
そこで、本発明では、高温の壁面の外側に設けた壁面狭空間を、上下両方に開口部を有する隔壁によって仕切り、高温の熱媒体(内壁側)と低温の熱媒体(外壁側)とが、開口部を通して循環できる構成とした。これにより、蓄熱媒体が熱的バランスを保つ形(密度差を補う様相)で自然循環をし、蓄熱媒体及び装置内の温度が一定または一様となるようにした。
本発明に用いる蓄熱媒体は、内壁側空間内で、壁面からの高温の排熱を顕熱として蓄熱し、温度上昇にともなって体積が増加し、隔壁上方の開口部分から外壁側空間に流れて、外壁側空間で放熱または冷却される。そして、冷却された蓄熱媒体は、比体積が減少(密度が増加)することで下降流となって隔壁下方の開口部分から内壁側空間に流れ込む。
これにより、加熱域と冷却域の熱的バランスを保つ形で自然循環が継続し、蓄熱媒体及び装置内の温度が、一定または一様に保たれて、熱的駆動力のみで温度制御が可能となる。
本発明における隔壁は、断熱性を有し、壁面狭空間を、高温の壁面側の空間(内壁側空間、高温)と、壁面狭空間の外壁側の空間(外壁側空間、低温)とに区画する。
しかし、壁面狭空間を外壁側空間と内壁側空間とに完全に隔てるものではなく、壁面狭空間の上方と下方の空間は開口した状態にしておく。この開口した状態の空間(開口部分)を通じて、蓄熱媒体が各空間を移動して循環する。壁面狭空間の外壁は、外気温の影響を受けないように断熱壁とする場合もあれば、蓄熱媒体を冷やすために冷却壁とする場合もあり、蓄熱媒体の温度条件により異なる。
また、壁面狭空間を内壁側空間と外壁側空間とに区画する隔壁は、内壁側空間と外壁側空間との間で隔壁を通じた熱の伝達が行われないように断熱性を有することが望ましい。
なお、この構成においても、低温の水や低沸点の作動媒体が装置内に供給されても、作動媒体が高温の壁面に直接触れることがないため、燃焼装置の壁面や燃焼室内部の温度を下げることがなく、壁面の変形や焼損に至ることもない。
なお、前述と同様、蓄熱媒体を循環させる壁面狭空間または内壁側空間に、金属繊維または金属粒子等を埋入することで、高温壁面から蓄熱媒体への熱移動が促進され、蓄熱媒体の温度分布が均一化されて蓄熱性及び温度制御性が向上する。
本発明に係る蓄熱式排熱回収装置は、
燃焼装置の高温の壁面から伝達される排熱を蓄熱して回収する蓄熱式排熱回収装置であって、
蓄熱式排熱回収装置は、
高温の壁面の外側に設けた壁面狭空間からなり、
壁面狭空間は、隔壁によって、高温の壁面側の空間(内壁側空間)と、壁面狭空間の外壁側の空間(外壁側空間)とに区画され、
内壁側空間には、作動媒体を循環させるための伝熱管が配管され、
外壁側空間には、内壁側空間の蓄熱媒体を外壁側空間へ移送し、循環させるため、隔壁上方に形成された開口部から外壁側空間内を通って隔壁下方に形成された開口部を繋ぐ環状の放熱管が配管されており、
内壁側空間内に貯留する蓄熱媒体が排熱を蓄熱して高温になると、蓄熱媒体は、隔壁上方に形成された開口部から外壁側空間内に配管されている放熱管を流れる間に冷却され、隔壁下方に形成された開口部から内壁側空間に戻って再度排熱を蓄熱して高温になり、これが繰り返されることで両空間間を循環するとともに、この循環によって一定(所望)の温度に制御された蓄熱媒体と接触するように内壁側空間に配管された伝熱管内に、作動媒体を循環させることによって、
作動媒体が、高温の壁面から伝達される排熱を直接回収するのではなく、蓄熱媒体と伝熱管壁面を介して間接的に回収する
ことを特徴とする。
本発明は、前記蓄熱式排熱回収装置の壁面狭空間を、隔壁によって内壁側空間と外壁側空間とに区画し、隔壁の上方と下方とに形成された開口部を放熱管で繋ぎ、蓄熱媒体が外壁側空間に配管された放熱管内を移動、下降しながら冷却されて、蓄熱媒体が両空間内を温度差による熱駆動力によって自然循環するようにしたものである。
小規模の燃焼装置の排熱を発電に利用する場合には、タービン入口に供給される過熱蒸気の熱的条件(温度、圧力、流量)を一定にして、安定した周波数の発電出力を得る必要がある。そのため、作動媒体の熱源となる蓄熱媒体の温度は、一定または一様に保たれていることが望ましい。
そこで、本発明では、高温の壁面の外側に設けた壁面狭空間を、上下両方に開口部を有する隔壁によって仕切り、高温の熱媒体(内壁側)と低温の熱媒体(外壁側)とが、開口部を通して循環できる構成とした。これにより、蓄熱媒体が熱的バランスを保つ形(密度差を補う様相)で自然循環をし、蓄熱媒体及び装置内の温度が一定または一様となるようにした。
蓄熱媒体は、内壁側空間内で、壁面からの高温の排熱を回収して蓄熱し、温度が上昇するにしたがって隔壁上方に形成された開口部から外壁側空間内に配管されている放熱管内を流れて、外壁側空間で放熱または冷却される。
そして、冷却される蓄熱媒体は、温度が低下するにしたがって比体積が小さく(密度が大きく)なって下降流となり、隔壁下方に形成された開口部から内壁側空間に流れる。以上の循環のプロセスを繰り返すことにより、蓄熱媒体の温度が一定または一様に保たれる。
以上の結果、高温の壁面から伝達される排熱は、高沸点かつ高熱容量の蓄熱媒体に蓄熱され、蓄熱媒体が保有している顕熱を作動媒体が回収する形態であるため、小規模の燃焼装置であっても、燃焼室内部の熱変動(温度、熱量の変化)の影響を作動媒体が直接受けることがなく、安定した過熱蒸気を生成、供給できる。
本発明における隔壁は、断熱性を有し、壁面狭空間を、高温の壁面側の空間(内壁側空間、高温)と、壁面狭空間の外壁側の空間(外壁側空間、低温)とに区画する。
本発明における隔壁は、隔壁の上方と下方とにそれぞれ開口部を設けてある。この上方と下方の開口部を繋ぐようにして環状の放熱管が配管されている。そのため、蓄熱媒体は、開口部を通じて内壁側空間から外壁側空間へと流れ、放熱管内を通過しながら冷却される。
また、壁面狭空間を内壁側空間と外壁側空間とに区画する隔壁は、内壁側空間と外壁側空間との間で隔壁を通じた熱移動がないように断熱性を有することが望ましい。
放熱管の冷却には水または冷媒が用いられる。水の場合には、放熱管から得た熱を回収して温水として、装置外部に供給、利用できる。
また、冷媒を循環させる場合には、チラーなどの冷却装置が用いられ、室温または外気温以下の低温の冷却が可能となる。
放熱管表面に、放熱管内を循環する蓄熱媒体の放熱または冷却の効果を高めるため、フィンまたは溝を形成することもできる。フィンは放熱管の外周側に形成することもできるし、溝は放熱管の内周側に形成することができる。すなわち、放熱管の内外表面にフィンや溝を施すことで、放熱管内を循環する蓄熱媒体の放熱量を大きくする効果がある。
壁面狭空間の外壁は、外気温の影響を受けないように断熱性を有する。外気への熱の移動を小さくして、蓄熱媒体および冷却水(冷媒)の熱損失の低減を図る構成であることが望ましい。
前述同様、この構成において、低温の水や低沸点の作動媒体が装置内に供給されても、作動媒体が高温の燃焼炉壁面に直接触れることがないため、燃焼装置壁面や燃焼室内部の温度を低下させることはなく、さらには壁面の変形や焼損を生ずることもない。
なお、蓄熱媒体を循環させる壁面狭空間、内壁側空間または外壁側空間に、金属繊維または金属粒子等を埋入することで、蓄熱性及び温度制御性を向上させることが可能である。
本願発明における放熱管は、内壁側空間の蓄熱媒体を外壁側空間で冷却するため、外壁側空間内に配管されている管である。隔壁上方に形成された開口部(放熱管の入口)から外壁側空間内を通って隔壁下方に形成された開口部(放熱管の出口)までを繋ぐ管であり、垂直方向に繋ぐ垂直管にすることもできるし、壁面狭空間内を螺旋状に繋ぐ螺旋管にすることもできる。
なお、蓄熱媒体を循環させる壁面狭空間または内壁側空間に、金属繊維または金属粒子等を混入することで、高温壁面から蓄熱媒体への熱移動が促進され、蓄熱媒体の温度分布が均一化されて蓄熱性能及び温度の制御性が向上する。
本発明に係る蓄熱式排熱回収装置は、
前記の内壁側空間を循環する蓄熱媒体は、
常圧における沸点が水のそれよりも高く、温度上昇とともに体積が増加する液体(25〜300℃における容積比が、常温時1に対して1.5倍以下)からなる熱媒体であり、
排熱を蓄熱する前の蓄熱媒体(初期状態)は、液面すなわち気液界面が隔壁上方の開口部または開口部分よりも低い位置で静止しているが、排熱を蓄熱した後の温度上昇に伴って体積が膨張し、隔壁上方の開口部または開口部分に向かって液面が上昇する場合において、
所望の温度に達すると、蓄熱媒体が、隔壁上方の開口部分から外壁側空間に、または隔壁上方に形成された開口部から外壁側空間内に配管された放熱管に、流れ込んで、内壁側空間と外壁側空間との間を循環して外壁側空間で放熱または冷却されるようにすることで、
排熱を回収して蓄熱した蓄熱媒体の温度を制御できる
ことを特徴とする。
本発明における蓄熱媒体は、常圧における沸点が水のそれよりも高く(例えば、常圧における沸点が約350℃)、温度上昇とともに体積が増加する性質すなわち体積膨張率の温度依存性が大きい液体(例えば、温度25〜300℃における容積比1〜1.5以下)である。
また、蓄熱媒体の液面は、排熱を蓄熱する前(初期状態)においては、隔壁上方の開口部または開口部分よりも低い位置にあり、排熱を蓄熱した後の温度上昇に伴って体積が膨張して液面が上昇し、隔壁上方の開口部または開口部分よりも高くなる場合において、所望の温度に達すると、蓄熱媒体が、隔壁上方の開口部分から外壁側空間に、または、隔壁上方に形成された開口部から外壁側空間内に配管された放熱管に流れ込んで、内壁側空間と外壁側空間との間を循環して外壁側空間で放熱または冷却されるようにすることで、排熱を回収した蓄熱媒体の温度すなわち蓄熱温度を制御できる。
小規模の燃焼装置の排熱を発電に利用する場合には、熱的条件(温度、圧力、流量)が一定の過熱蒸気を、タービン入口に供給して、周波数一定の安定した発電出力を得る必要がある。そのため、作動媒体の熱源となる蓄熱媒体の温度は、一定または一様に保たれていることが望ましい。
そこで、本発明は、蓄熱媒体が、所望の温度に達したときに内壁側空間と外壁側空間との間を自然循環して外壁側空間で放熱または冷却されることで、一定の温度を維持できるようにするため、常圧における沸点が水のそれよりも高く(例えば、常圧における沸点が約350℃)、温度が25〜300℃まで上昇する間に容積比が1〜1.5以下まで増加する性質を有する蓄熱媒体とした。
従って、この容積変化(蓄熱媒体の温度と体積膨張率の関係)を考慮して、壁面狭空間を満たす蓄熱媒体の充填量が決定される。すなわち、所望の温度に達すると、蓄熱媒体の液面高さが隔壁上方の開口部に達するように、初期状態での充填量および液面高さが決定され、蓄熱媒体が壁面挟空間内を自然循環する際の開始温度が設定される。
本発明に係る蓄熱式排熱回収装置は、
前記の内壁側空間を循環する蓄熱媒体は、
常圧における沸点が水のそれよりも高く、温度上昇とともに体積が増加する液体(25〜300℃における容積比が、常温時1に対して1.5倍以下)からなる熱媒体に、螺旋状にカールした金属繊維や金属薄帯が混入された混合蓄熱媒体であり、
排熱を蓄熱する前は、隔壁上方の開口部または開口部分よりも低い位置で静止している蓄熱媒体の液面が、排熱を蓄熱した後の温度上昇に伴って体積が膨張することで液面が上昇し、それが隔壁上方の開口部または開口部分よりも高くなる場合において、
一定温度に達すると、蓄熱媒体が、隔壁上方の開口部分から外壁側空間に、または、隔壁上方に形成された開口部から外壁側空間内に配管された放熱管に、流れ込んで、内壁側空間と外壁側空間との間を循環して外壁側空間で放熱または冷却されるようにすることで、
排熱を回収して蓄熱した蓄熱媒体の温度を制御できる
ことを特徴とする。
混合蓄熱媒体は、液体の蓄熱媒体に、螺旋状にカールした金属繊維や金属薄帯が混入されたものである。混合蓄熱媒体の金属繊維や金属薄帯は、断面形状が円形や楕円または角部を有する細線(等価直径De=0.02〜0.3mm)であり、螺旋状にカールした一連の連続体または寸断された細線の集合体からなる。ここに、等価直径Deとは、細線の断面積A[m2]を断面周長さS[m]で除した値として、De=A/Sで定義される。
また、混合蓄熱媒体に混入される金属繊維や金属薄帯の長さは、連続した一連のものでも良いし、一定長さでも良い、または短くカットしたフレーク状の物でも良い。
つまり、螺旋状にカールした金属繊維や金属薄帯は、壁面狭空間内に蓄熱媒体とともに充填する形態で使用される。
さらに、混合蓄熱媒体に混入される金属繊維や金属薄帯は、鉄、クロム、ニッケル、銅、アルミ等を主成分として製造されており、固体表面の摩擦損失の低減や固液界面の親和性を向上させるための表面処理が施されていてもよい。混合蓄熱媒体に使用される金属繊維や金属薄帯は、螺旋状にカールしており、その熱拡散率aは、0.1から100[mm2/s]で、蓄熱媒体のそれ(例えば、約0.02mm2/s)よりも大きいことを特徴とする。ここに、熱拡散率とは、熱容量を有する物体の熱が熱伝導により三次元的に広がる(拡散する)速度を表す物性値であり、物体の密度ρ[kg/m3]、比熱C「[J/kgK]、熱伝導率λ[W/m2]を用いて、a=λ/(ρ・C)で定義される。
混合蓄熱媒体に埋入されている金属繊維や金属薄帯は、上記の幾何形状および熱的特性を有することから、以下の効果を発揮して、蓄熱媒体単体よりも高い伝熱効果および蓄熱性能を奏する。
(1)空間内を三次元的に広がって蓄熱媒体と接触しているため、熱伝導と対流および熱拡散の効果が向上する。
(2)蓄熱媒体よりも高い熱容量の金属製の材料を含むため、蓄熱媒体単体の場合より単位体積当たりの蓄熱量(熱容量)が増加する。
(3)螺旋状にカールした形状であることから、キャピラリー効果(液の吸い上げ効果)が作用し、蓄熱媒体の液面到達位置が高くなり、循環力が向上する。
(4)金属繊維や金属薄帯の本数や螺旋状のカール形状および螺旋角を変えることで、金属繊維や金属薄帯全体の表面積、比体積及び空隙率をコントロールできる。
本発明に係る蓄熱式排熱回収装置は、
前記の壁面狭空間または内壁側空間の天井部分には内圧調整弁が設けられており、
内圧調整弁は、
蓄熱媒体が一定温度以上になって体積が増大し、壁面狭空間内または内壁側空間内が高圧になると、
壁面狭空間内または内壁側空間内に貯留する空気を排出し、
蓄熱媒体が一定温度以下になって体積が減少し、壁面狭空間内または内壁側空間内が低圧になると、
壁面狭空間外または内壁側空間外から外気を吸入する
ことで、壁面狭空間内または内壁側空間内の圧力を一定に保つ
ことを特徴とする。
高温の壁面から蓄熱媒体に排熱が伝達されると、蓄熱媒体は温度上昇とともに体積が増大する。このとき、壁面狭空間または内壁側空間が密閉された状態では、壁面狭空間または内壁側空間が高圧状態になり、壁面が変形したり、破損する原因になる。
さらに、蓄熱媒体の温度上昇に伴う液面の上昇(体積の増大)を利用して内壁側空間から外壁側空間内に蓄熱媒体が流れ込む方法によって蓄熱媒体を循環させる前記発明においては、蓄熱媒体を循環させることができなくなる。
そこで、本発明は、壁面狭空間または内壁側空間の内圧を調整できるように、内圧調整弁を設けた。内圧調整弁は、壁面狭空間または内壁側空間の天井部分(気相空間)に設けられ、蓄熱媒体が一定温度以上になって体積が増大すると、壁面狭空間内または内壁側空間内に存在する気体を排出し、蓄熱媒体が一定温度以下になって体積が減少すると、壁面狭空間外または内壁側空間外から外気を吸入する。空間内の圧力を一定に保つことで、例えば、高圧状態になることで生じる壁面の変形や破損を防ぎ、蓄熱媒体の温度上昇に伴う液面の上昇(体積の増大)を利用して内壁側空間から外壁側空間内に蓄熱媒体が流れ込む方法による蓄熱媒体の循環が行われる。
特に、蓄熱媒体の温度上昇に伴い、蓄熱媒体の液面が上昇して蓄熱媒体が循環する前記発明においては、内圧調整弁によって蓄熱媒体が自然循環を行うことができる。
また、内圧調整弁に、外気解放または伸縮性の蛇腹パック(袋)を設けることにより、壁面挟空間内を大気圧状態に保持することもできる。
本発明に係る蓄熱式排熱回収装置は、
前記の伝熱管が、
高温の壁面の外側に設けられた壁面狭空間内または内壁側空間内を、壁面の周囲を、壁面に沿って螺旋状に配管されている
ことを特徴とする。
作動媒体は、高温の壁面から伝達される排熱を直接回収するのではなく、蓄熱媒体を介して間接的に回収するが、蓄熱媒体が蓄熱した排熱を効率良く作動媒体に回収させるには、作動媒体が流れる伝熱管が蓄熱媒体と接する面積を増やすことが有効である。
そこで、本発明は、伝熱管を、壁面の周囲に設けられた壁面狭空間内または内壁側空間内に、壁面に沿って螺旋状に配管したものである。
本発明に係る燃焼装置は、
燃焼室や煙突部等の高温の壁面から伝達される排熱を蓄熱して回収する蓄熱式排熱回収装置を用いた燃焼装置であって、
燃焼室や煙突部等の壁面の外側に、
前記の蓄熱式排熱回収装置が設けられている
ことを特徴とする。
本発明に係る燃焼装置は、前記の蓄熱式排熱回収装置を備えた燃焼装置である。
前記の蓄熱式排熱回収装置は、燃焼室や煙突部等を有する燃焼装置に設けることができる。
燃焼装置の燃焼室や煙突部等の高温の壁面から伝達される排熱を、蓄熱式排熱回収装置が回収することで、外気への熱損失が小さくなり燃焼効率が向上するとともに、熱の有効利用に資する。
本発明に係るコージェネレーションシステムは、
前項の燃焼装置と、
作動媒体を圧送するポンプまたはコンプレッサーと、
蓄熱媒体との熱交換により過熱蒸気(飽和温度以上)になった作動媒体によって発電機を駆動するタービンと、
発電機及び復水器とから構成される
ことを特徴とする。
本発明に係るコージェネレーションシステムは、前記の燃焼装置を利用したコージェネレーションシステムである。前記の蓄熱式排熱回収装置を備えた燃焼装置に、タービン(発電機)、復水器(冷却器)、ポンプまたは圧縮機を接続し、高温の蓄熱媒体と熱交換することで飽和蒸気になった作動媒体がさらに加熱され、過熱蒸気となってタービンを駆動させることで、小規模の燃焼装置でも、安定的に200〜300℃の過熱蒸気を生成することができ、小規模の燃焼装置であってもコージェネレーションシステムを構築することが可能になる。
本発明に係わる蓄熱式排熱回収装置は、高沸点かつ高熱容量の「蓄熱媒体」と低沸点の「作動媒体」との2種類の熱媒体を用いて、高温の壁面から伝達される排熱を蓄熱媒体に蓄熱した後に、蓄熱媒体が保有した排熱を作動媒体が間接的に回収する構成である。
これにより、次の効果を発揮する。
(1)水や低沸点または低温の作動媒体が装置内に供給されても、高温の壁面に作動媒体が直に接触していないため、作動媒体が燃焼装置の壁面や燃焼室内部の温度を過度に低下させる事態を回避できる。
(2)燃焼炉壁面の厚さ方向の温度差が急激に大きくなる状況が生じない、すなわち高温の蓄熱媒体の存在により壁面の厚さ方向ならびに長手方向の温度差が小さくなって、壁面厚さ方向の温度勾配が緩やかになるため、壁面が熱応力により変形する事態を回避できる。
(3)作動媒体の状態変化(圧力上昇、ドライアウト、気泡振動など)が生じても、それらが燃焼炉壁面に直接影響する事態を回避できる。
(4)作動媒体を流す伝熱管が蓄熱媒体中に配置(浸漬)された形態であるため、作動媒体の熱が外気へ直に伝わらないため、従来の排熱回収装置よりも作動媒体の熱損失が小さくなり、安定した過熱蒸気を得ることができる。
また、本発明に係わる蓄熱式排熱回収装置は、熱膨張率の大きな蓄熱媒体を用いることで、蓄熱媒体の液面が上昇し、自然循環により対流・撹拌される構成を採用したことで、ポンプなどの動力源や高価な電気的センサーを用いずに温度制御が可能なシステムを構成できる。
従って、システムの消費電力の削減に資する。
さらに、本発明に係わるコージェネレーションシステムは、蓄熱媒体に蓄熱された排熱を、作動媒体が回収して過熱蒸気となり、タービンを駆動させる構成としたことで、次の効果を発揮する。
(5)作動媒体を流す伝熱管が蓄熱媒体中に浸漬されている状態であることから、燃焼炉の温度変動の影響を作動媒体が直に受けることが無く、比較的安定的安定した過熱蒸気を得ることができる。
(6)また、タービン入口の過熱蒸気の圧力や流量を大きくする操作を行なっても、作動媒体の温度圧力の変化が燃焼炉壁面や燃焼室内部に影響を及ぶことがない。
(7)さらに、放熱管の冷却に水を用いることで、電気と温水の同時供給(コージェネレーション)を行うシステムを構築できる。
以上、従来の廃熱回収装置よりも熱の安定確保及び熱制御性に優れた装置及びシステムを提供できる。
従来の排熱回収装置の概略を示す構成図 実施例1に係る蓄熱式排熱回収装置の概略を示す構成図 実施例2に係る蓄熱式排熱回収装置の概略を示す構成図 実施例3に係る蓄熱式排熱回収装置の概略を示す構成図 環状の管に蓄熱媒体を貯留した状態を示した模式図 環状の管に貯留する蓄熱媒体を熱し始めた状態であり、小さな循環流が管内で発生している様子を示した模式図 環状の管に貯留する蓄熱媒体が加熱及び冷却されている状態であり、蓄熱媒体の密度差による上昇流と下降流が管内で発生している様子を示した模式図 金属薄帯を蓄熱媒体に混入した状態の混合蓄熱媒体を模式的に示した図 蓄熱媒体と混合蓄熱媒体の液面上昇率を比較するために用いた実験装置の概要を示す断面図 蓄熱媒体と混合蓄熱媒体の液面上昇率を比較したグラフ 蓄熱媒体と混合蓄熱媒体および水について、ヒータ加熱時の経過時間と温度変化の関係(蓄熱量及び蓄熱速度)を比較したグラフ 蓄熱式排熱回収装置を備えた燃焼装置の概略を示す断面図 図12の煙突部分の蓄熱式排熱回収装置の概略を示す断面図 図13の蓄熱式排熱回収装置の一部を拡大した断面図 蓄熱式排熱回収装置を備えたコージェネレーションシステムの系統図
図1は、作動媒体1(20℃前後の水または低沸点の熱媒体)が燃焼装置へ供給されて、作動媒体が高温の壁面に直接触れた状態で、壁面から伝わる熱を回収して、発生させた過熱蒸気によりタービンを回転させる従来の排熱回収装置の概略を示した構成図である。
図1の実施形態では、作動媒体1が燃焼装置の壁面2に直接触れているため、次の問題がある。
(1) 常温近く(約20℃)の熱媒体1が接触する壁面2部分では、作動媒体1が壁面2の温度を急激に低下させ、壁面2の内側(燃焼装置側、高温)と外側(熱媒体側、低温)とで温度差(温度勾配)が大きくなるために、壁面2が熱応力によって変形する事態が生じる。
(2) 作動媒体1が壁面2の温度を急激に低下させ、燃焼熱が充分でないと、燃焼室内部の燃焼温度を低下させてしまい、不完全燃焼による有害ガスの発生を招く危険がある。
(3)液体と蒸気が混存する二相域において、ドライアウトが発生し、壁面2が焼損(バーンアウト)するおそれがある。
図1の実施形態では、燃焼装置の壁面2から熱を回収した作動媒体1が高温高圧の過熱蒸気3になって、タービン4を回転させる形態として利用した場合、次の事態を生じる。
(3)燃焼室内の発熱量の増減に伴って作動媒体1の蒸気発生量が増減することから、タービン4を駆動させる圧力や蒸気流量の変動が大きくなり、安定した回転数を維持できない。
(4)タービン4の入口に設置された流量調整バルブ5により、過熱蒸気3の流量を調整してタービン4の回転数を一定に保持する操作が行なわれるが、バルブの開閉に伴い過熱蒸気の圧力変動が生じて、それが炉内の燃焼条件に影響を及ぼし、操作性の低下を招く。
(5)タービン入口の圧力が燃焼炉壁面への力として直に作用する構造であることから、タービン入口の圧力によっては壁面の変形を生じる危険性がある。すなわち、タービン入口の圧力が燃焼炉壁面の耐圧により制限される。
上記を回避する手段として、壁面2の部材を厚くし、壁面2と熱源(火炎)との距離を十分に保つ方法が考えられる。しかし、部材の厚さが増すと、壁面2の熱抵抗が大きくなり、排熱回収量が大幅に低下するだけでなく、燃焼装置の巨大化につながる。
さらに、熱媒体1が充填されている流路上部に安全弁(バルブ)6を設けて、設定圧力値以上になると、蒸気を外気に放出(ベント)する安全策がとられる場合がある。しかし、作動媒体を外気へ放出することは、特に密閉系においては大幅な性能低下につながり、再充填の作業を必要とすることや、環境汚染をもたらすことから、極力回避することが望ましい。
図2は、実施例1に係る蓄熱式排熱回収装置の概略を示す構成図である。
実施例1に係る蓄熱式排熱回収装置は、高沸点かつ高熱容量の蓄熱媒体7と、水または低沸点の作動媒体8と、の2種類の熱媒体によって、排熱を回収、利用する装置である。蓄熱媒体7は、常圧における沸点が水のそれよりも高く、温度上昇とともに体積が増加する液体(25〜300℃における容積比が、常温時1に対して1.5倍以下)である。蓄熱式排熱回収装置は、燃焼装置の高温の壁面2の外側に、蓄熱媒体7を貯留する壁面狭空間9を設け、壁面狭空間9内に蓄熱媒体7を貯留する。
蓄熱媒体7を貯留する壁面狭空間9内には、伝熱管10が配管され、伝熱管内を作動媒体8が循環する。
このような構成によって、蓄熱媒体7が、燃焼装置の高温の壁面2から伝達される排熱を回収して蓄熱したあと、蓄熱媒体7が蓄熱した排熱を、低沸点の作動媒体8に伝達して回収する。ここに、低沸点とは圧力0.1MP(大気圧)において飽和温度100℃以下の液体を意味する。
これにより、作動媒体8が、燃焼装置の高温の壁面2に対して直に接することがないため、燃焼装置の壁面2や燃焼室温度を急激に低下させる事態を回避できる。
また、本実施例1に係る蓄熱式排熱回収装置によれば、壁面2部分の板厚方向および流れ方向の温度差(温度勾配)が従来装置(図1)よりも小さくなるため、壁面2が熱応力によって変形することがなく、作動媒体8の過熱蒸気3によって圧力が過大に上昇して壁面2が加圧による変形や破損を起こす危険がない。
そのため、壁面2を厚くする必要が無く、タービン4の入口の圧力値を大きく設定してタービン4を回転させることができる。
さらに、蓄熱媒体7を循環させる壁面狭空間9に、金属繊維または金属薄帯、金属粒子等を埋入することで、熱伝達の促進を図るとともに、蓄熱性能及び温度制御性を向上させることが可能である。
壁面狭空間9の外壁は、外気温の影響を受けないように断熱性を有することが望ましい。
なお、壁面狭空間9の天井部分には、内圧調整弁11が設けることができる。
内圧調整弁11は、蓄熱媒体7が熱せられて体積が増大すると、壁面狭空間9内に貯留する空気を排出し、蓄熱媒体7が冷却されて体積が減少すると、壁面狭空間9外から外気を吸入する。
このように、壁面狭空間9内の圧力を一定に保つことで、例えば、高圧状態になることで生じる壁面2の変形や破損を防ぐ。
また、内圧調整弁11に、外気解放または伸縮性の蛇腹パック(袋)を設けることにより、充填層内部を大気圧状態に保持することもできる。
図3は、実施例2に係る蓄熱式排熱回収装置の概略を示す構成図である。
実施例2に係る蓄熱式排熱回収装置は、高沸点かつ高熱容量の蓄熱媒体7と、低沸点の作動媒体8と、の2種類の熱媒体によって、排熱を回収する装置である。
蓄熱式排熱回収装置は、燃焼装置の高温の壁面2の外側に、蓄熱媒体7を充填する壁面狭空間9を設け、壁面狭空間9内で蓄熱媒体7を自然循環させる。
蓄熱媒体7を充填・循環させる壁面狭空間9は、断熱性を有する隔壁12によって、高温の壁面側の空間(内壁側空間13)と、壁面狭空間の外壁側の空間(外壁側空間14)とに区画されている。
隔壁12は、壁面狭空間9の上方と下方とが開口していることから、内壁側空間13内で高温の壁面2から伝達される排熱を回収した蓄熱媒体7が、温度の上昇に伴い体積が増加し、隔壁12を越えたところで、外壁側空間14(図中の右側)に流れ込む。
外壁側空間14に流れ込んだ蓄熱媒体7は、放熱または冷却されると比体積が小さく(密度が大きく)なり、下降流となって隔壁12の下方(壁面狭空間9の底面付近)から、内壁側空間13に流れ込み、これを繰り返すことで、蓄熱媒体7が循環し、蓄熱媒体7の温度を一定または一様に保つことができる。
蓄熱媒体7が循環する内壁側空間13には、作動媒体8が循環する伝熱管10が配管されており、作動媒体8は伝熱管10を介して蓄熱媒体7から排熱を間接的に回収する。
これにより、低温の作動媒体8が、燃焼装置の高温の壁面2に直接触れることがないため、燃焼装置の壁面2や燃焼室内部の温度を下げたり、壁面2の変形や焼損が発生することを、防ぐことができる。
本実施例2に係る蓄熱式排熱回収装置によれば、壁面2部分の温度差(温度勾配)が従来装置(図1)よりも小さく、極端に大きくなることがないため、壁面2が熱応力によって変形することがなく、作動媒体8の過熱蒸気3(飽和温度以上)によって急激に圧力が上昇しても壁面2が加圧による変形や破損を起こす危険がない。
また、蓄熱媒体7自体の温度上昇に伴って、蓄熱媒体7が内壁側空間13と外壁側空間14との間を自然循環する構成を採用したことで、蓄熱媒体7の温度を一定に制御するための電気的温度センサーや電力を用いることなく、自然循環のみによって蓄熱媒体7を一定または所望の温度に制御することができる。
さらに、循環のためにポンプなどの動力源を使う必要が無く、省エネ効果が高い排熱回収装置を提供できる。
さらに、蓄熱媒体7を循環させる壁面狭空間9に、金属繊維または金属薄帯、金属粒子等を埋入することで、蓄熱性及び温度制御性を向上させることが可能である(図10、11参照)。
壁面狭空間9の外壁は、蓄熱媒体の熱を外気へ放熱できるよう、フィンなどの拡大伝熱面を有する場合もある。
図4は、実施例3に係る蓄熱式排熱回収装置の概略を示す構成図である。
実施例3に係る蓄熱式排熱回収装置は、高沸点かつ高熱容量の蓄熱媒体7と、水や低沸点の作動媒体8と、蓄熱媒体7を冷却する冷媒17と、の3種類の熱媒体によって、排熱を回収、利用する装置である。蓄熱式排熱回収装置は、燃焼装置の高温の壁面2の外側に蓄熱媒体7を循環させる壁面狭空間9を設け、壁面狭空間9内で蓄熱媒体7と水などの冷媒17とを循環させ、熱交換する。
蓄熱媒体7を循環させる壁面狭空間9は、断熱性を有する隔壁12によって、燃焼装置の高温の壁面2側の空間(内壁側空間13)と、壁面狭空間9の外壁側の空間(外壁側空間14)とに区画されている。隔壁12は、内壁側空間13に貯留されている蓄熱媒体7が、隔壁12を越えて内壁側空間13から外壁側空間14へと流れ込むことがないように、設けられている。隔壁12には、その上方と下方に、内壁側空間13と外壁側空間14とを貫通する開口部15が形成されており、外壁側空間14には、隔壁12の上方に形成された開口部15と、隔壁12の下方に形成された開口部15とを結ぶ放熱管16が配管されている。放熱管16は、隔壁12の上方に形成された開口部15から外壁側空間14内を通って隔壁12の下方に形成された開口部15を繋ぐ環状の管であり、垂直方向に繋ぐ垂直管でも良いし、壁面狭空間9内を螺旋状に繋ぐ螺旋管も利用することができる。
外壁側空間14には、冷媒(水)17を循環させているため、蓄熱媒体7が外壁側空間14に配管された放熱管16内を循環することで、蓄熱媒体7は、外壁側空間14で放熱または冷却されて内壁側空間13に戻る。
そして、蓄熱媒体7が排熱の回収と放熱を繰り返すことで、液体の密度差による自然循環により、装置内の温度を一定または一様に保つとともに、冷媒(水)の熱を温水として利用することができる。
蓄熱媒体7を充填・循環させる内壁側空間13には、作動媒体8が循環する伝熱管10が配管されており、作動媒体8は伝熱管10を介して蓄熱媒体7から排熱を間接的に回収する。
これにより、低温の作動媒体8が、燃焼装置の高温の壁面2に直接触れることがないため、燃焼装置の壁面2や燃焼室内部の温度を下げたり、壁面2の変形や焼損が発生することを、防ぐことができる。
本実施例3に係る蓄熱式排熱回収装置によれば、壁面2部分の温度差(温度勾配)が従来装置(図1)よりも小さく、極端に大きくなることがないため、壁面2が熱応力によって変形することがなく、作動媒体8の過熱蒸気3(飽和温度以上)によって急激に圧力が上昇しても壁面2が加圧による変形や破損を起こす危険がない。
また、蓄熱媒体7自体の温度上昇に伴って蓄熱媒体7が内壁側空間13と外壁側空間14との間を自然循環する構成を採用したことで、蓄熱媒体7の温度を一定または一様に制御するための電気的温度センサーや電力を用いることなく、自然循環のみによって蓄熱媒体7を一定または一様温度に保持し、過度の温度上昇に至らぬよう制御することができるほか、循環のためにポンプなどの動力源を使う必要が無く、省エネ効果が高い排熱回収装置を提供できる。
さらに、蓄熱媒体7に蓄熱された排熱の余剰熱は、外壁側空間14で冷却されるが、冷媒(例えば、水)17は、排熱を得ることで、温水として利用できるようになる。
さらには、蓄熱媒体7を循環させる壁面狭空間9または内壁側空間13に、金属繊維または金属薄帯、金属粒子等を埋入することで、伝熱促進効果や蓄熱性及び温度制御性を向上させることが可能である(図10、11参照)。
なお、壁面狭空間9の外壁は、外気温の影響を受けないように断熱性を有することが望ましい。
図3及び4の実施例に係る蓄熱式排熱回収装置の蓄熱媒体7は、次の図5〜7に示す原理に基づいて、内壁側空間と外壁側空間内とを自然循環する。
図5〜7は、上方に静圧ポート18により系内が一定の圧力に保持され、環状の管(管の内周部壁面は断熱性を有している)の図中左側を加熱部、図中右側を冷却部として、管内に充填された高沸点かつ高熱容量の蓄熱媒体7の流動様相および液面上昇を模式的に示した図である。
すなわち、図5〜7は、断熱壁で仕切られた実施例2(図3)及び実施例3(図4)における、内壁空間13と外壁空間14の熱移動の構成、および蓄熱媒体7の液面上昇および自然循環の様相をモデル化(単純化)して示した図である。
図5は、蓄熱媒体7を充填した環状の管を示したものである。
管には、左右の管が連通する高さよりも低い位置に液面が位置する量の蓄熱媒体7が充填されている。
蓄熱媒体7は、熱の出入りが無い初期等温状態である。
蓄熱媒体7で満たされていない上方の空間は空気が存在し、静圧ポート18が大気開放の場合には、系内圧力は1気圧である。
静圧ポート18は、伸縮性の容器等(蛇腹、ピストン、テフロン(登録商標)パック等)を接続することによって、密閉状態で系内の圧力を調整することもできる。
図6は、管の図中左側だけを加熱した状態を示した模式図である。
環状の管の内周部分は断熱されているため、管の図中左側を加熱しても、その熱が直接管の図中右側に伝わることはない。管に充填されている蓄熱媒体7は、例えば、シリコン系、油脂系などの高沸点かつ高熱容量の液状の熱媒体の場合には、温度25℃から200℃上昇する間に体積が約20%増加する熱膨張性を有する。
従って、図中左側の管が加熱されると、温度が上昇にともなって熱膨張により体積が増加し、液面が上昇する。
また、加熱面近傍では、蓄熱媒体7の密度差(温度分布)に起因する対流(小さな循環流)が発生する。
図7は、図中左側の管を加熱し続けた結果、蓄熱媒体7の液面が上昇して、環状の管内を蓄熱媒体7が循環し続けている状態を示した模式図である。
液面が上昇して蓄熱媒体7が上方の空間を満たすことで、環状の管が一続きの流路を形成する。
そして、図中左側の管で加熱された蓄熱媒体7が図中右側の管へ流れて放熱、冷却され、図中右側の管で冷却されて比体積が小さく(密度が大きく)なると、蓄熱媒体7は下降流となって下方へ移動し、図中左側の管に戻る。
これが繰り返されることで、蓄熱媒体7が環状の管内を循環するようになる。
流動性を有し、高沸点かつ熱膨張率が大きい蓄熱媒体7を用いて、加熱部と冷却部を有する系を構築すると、加熱部において膨張による上昇流が、冷却部において収縮による下降流が発生して、一種の熱的ポンピング機構による流体輸送(自然循環)を実現できる排熱回収装置を構築できる。
蓄熱媒体7が一定の温度に達すると、蓄熱媒体7の液面が上昇して環状の管内を循環するように蓄熱媒体7の充填率を予め定めておくことで、蓄熱媒体7の温度を制御することが可能になる。
また、蓄熱媒体7に、螺旋状にカールした金属薄帯25を混入した混合蓄熱媒体26を用いることもできる。
図8は、蓄熱媒体7に螺旋状にカールした金属薄帯25を混入した状態の混合蓄熱媒体26を、それぞれ模式的に示した図である。
図中の混合蓄熱媒体に混入されている金属薄帯25は、断面形状が四角形の金属製の薄帯(すなわち薄い帯状の細線、等価直径De=0.1mm)であり、螺旋状にカールした状態で集合させて、塊状にした状態で壁面狭空間内に充填される。
蓄熱媒体7よりも熱伝導率が大きな金属製の細線25が、高温の伝熱面と接触した状態で蓄熱媒体7内を三次元的に分布していることから、蓄熱媒体単体の場合よりも熱の拡散速度が向上し、媒体内の温度分布の均一化を図る手段となる。また、細線が螺旋状にカールした幾何形状であることから、表面張力によるキャピラリー効果(液の吸い上げ効果)を液の循環力すなわち重力と逆向きに作用する力として利用できる。
このような特徴を有する混合蓄熱媒体26は、混入させる金属薄帯25の本数や螺旋状のカール形状を変えることで、金属薄帯25全体の表面積、比体積及び空隙率を変え、材質を替えることで、熱伝導率を変えることもできる。
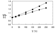
蓄熱媒体の温度と膨張率(液面高さ)の関係は、例えば図9に示す装置を用いて、予め定量化する必要がある。すなわち、液面高さを可視化できる断熱容器28に蓄熱媒体7を満たし、ヒータ27を用いて一定温度に加熱された蓄熱媒体27の温度と液面高さを測定する。そして、蓄熱媒体の温度と膨張率(液面上昇率)の関係(検定曲線)をもとにして、実機への充填量が推算により決定される。
図10は、図9の装置を用いて測定されたシリコン系蓄熱媒体の温度と液面上昇率の関係であり、蓄熱媒体単体7と混合蓄熱媒体26について比較にしたグラフである。
液面上昇率は、各温度における液面の高さh[mm]を、温度25℃における高さh0[mm]との相対比(h/h0)によって表した。また、図中の「●」が蓄熱媒体7、図中の「■」が混合蓄熱媒体26である。温度250℃における液面上昇率は、蓄熱媒体単体●では1.22(約22%の上昇)であるのに対して、混合蓄熱媒体■では約1.35(約35%の上昇率)である。このように、蓄熱媒体単体よりも混合蓄熱媒体が高い液面上昇率を示す原因として、熱伝導率及び熱拡散率の大きい金属繊維が媒体中に存在するために蓄熱媒体の温度分布が均一化されること、螺旋形状の金属繊維の存在により液体の吸い上げ効果(キャピラリー効果)が作用していること、等が考えられる。よって、液面高さによって排熱の蓄熱量及ぶ循環温度を制御する本蓄熱回収装置においては、液面上昇率が大きい混合蓄熱媒体を用いる方が高精度な温度制御ができる。
図11は、加熱時間と温度の関係を、蓄熱媒体7、混合蓄熱媒体26および水で比較した結果である。
図中の「●」が蓄熱媒体7で、「■」が混合蓄熱媒体26で、「○」が水の場合である。
このグラフによれば、蓄熱媒体7の温度上昇は、水よりも高く、混合蓄熱媒体26はさらに高いことが示されている。
この結果から、蓄熱媒体7は水よりも蓄熱性能が高い。また、蓄熱媒体に熱容量及び熱拡散率の大きい金属繊維を混入することで、蓄熱媒体単体よりもさらに蓄熱性能及び伝熱性能を向上させる効果がある。
図12は、蓄熱式排熱回収装置を備えた燃焼装置の概略を示す断面図である。
蓄熱式排熱回収装置は、種々の燃焼装置の壁面外側に設けることができる。
図12の実施例では、燃焼装置の煙突20と燃焼室21の壁面2の外側に、蓄熱式排熱回収装置を設置しているが、これは、燃焼装置の煙突20をエコノマイザーまたは蒸発器(ボイラー)として、燃焼装置の燃焼室21を過熱器として利用する実施形態である。
蓄熱式排熱回収装置は、煙突20や燃焼室21に限られず、高温の壁面部分であれば、どこに設けることもできる。蓄熱式排熱回収装置は、高温の壁面2の外側に設けられる壁面狭空間9からなる。壁面狭空間9は、内壁側空間13と外壁側空間14とからなる。内壁側空間13と外壁側空間14とは、断熱性を有する隔壁12によって区画されている。内壁側空間13には蓄熱媒体7が循環し、その外側に隣接する外壁側空間14には冷媒17が循環する。
図13は図12の煙突部を拡大した断面図である。
外壁側空間14には、フィン19を有する放熱管16が配管され、蓄熱媒体7は、内壁側空間13から開口部15を通じて放熱管16に流れ、放熱管16内を循環する間に外壁側空間14を循環する冷媒(水)によって冷却される(図13および図14も参照)。
冷却された蓄熱媒体7は、隔壁12の下方の開口部15から、内壁側空間13に流れ込み、これが繰り返されることで、蓄熱媒体7が循環し、蓄熱媒体7の温度を一定または一様に保つことができる。
すなわち、本実施形態において、蓄熱媒体7の温度を所望に保つことで、排熱量の変動が大きい小規模の燃焼装置においても、温度変動が小さい平準化された状態で、安定的に熱を確保できる。
内壁側空間13の天井部分には、内圧調整弁6を取付けるための静圧ポート18が設けられ、蓄熱媒体7が熱せられて体積が増大すると、内壁側空間13内に存在する空気を排出し、蓄熱媒体7が冷却されて体積が減少すると、内壁側空間13が低圧状態となり外部から空気を吸入する。
このように、内壁側空間13内の圧力を一定に保つことで、例えば、高圧状態になることで生じる壁面2の変形や破損を防ぐ。
内壁側空間13には、伝熱管10が螺旋状に配管されている。作動媒体8は、伝熱管10内を循環し、その間に、蓄熱媒体7が蓄熱した排熱が伝達され、排熱を回収する。作動媒体8は、燃焼室の領域を通過して過熱蒸気3になり、タービン4を駆動させて発電に利用される(図15を参照)。作動媒体8が、蓄熱媒体を介して排熱を間接的に回収するため、作動媒体8は高温の壁面2に直接触れることがない。
これにより、燃焼装置の壁面2や燃焼室21内部の温度を下げることがなく、特に壁面を熱応力によって変形させる心配がない。
また、作動媒体8が過熱蒸気3になって急激に伝熱管内が高圧になっても、過熱蒸気3は壁面2に直接触れることがないため、壁面2を変形や破損させる危険がなく、仮にドライアウトが発生しても、伝熱管10内で発生するだけで、壁面2に影響を及ぼすわけではないため、壁面2の焼損のおそれがない。
蓄熱式排熱回収装置を備えた燃焼装置によれば、高沸点かつ高熱容量の蓄熱媒体7が、燃焼装置を覆うように燃焼装置の壁面2外側を循環するため、燃焼装置全体の熱容量が実質的に大きくなる。そのため、外気環境の影響を受けやすい小規模の燃焼装置に蓄熱式排熱回収装置を設置すれば、燃焼室内の燃焼状態の変化や外気温度の変化に対する熱的変動を抑制する効果を発揮する。
また、高熱容量の蓄熱媒体7が伝熱管10全体を覆う形で保温し、その内部を流れる作動媒体へ熱を安定的に供給できるため、過熱蒸気の安定供給すなわちタービンの安定駆動および電気の安定供給に資することができる。
なお、蓄熱媒体7を冷却するために用いる冷媒(水)17を温水として利用することで、さらなる熱の有効活用及びシステム効率の向上に寄与できる。
壁面狭空間9の外壁は、外気温の影響を受けないように断熱性を有することが望ましい。
また、同じく、壁面狭空間9を内壁側空間13と外壁側空間14とに区画する隔壁12は、内壁側空間13と外壁側空間14との間で隔壁12を通じた熱の伝達が行われないように断熱性を有することが望ましい。
図13は図12の燃焼装置の煙突の壁面外側に設けた蓄熱式排熱回収装置の概略を示す断面図であり、また図14は図13の燃焼装置の煙突の壁面外側に設けた蓄熱式排熱回収装置の一部を拡大した断面図である。
蓄熱式排熱回収装置は、燃焼装置の煙突20の壁面2外側に設けることができる。
煙突20内は、図の下方から上方に向かって高温の排ガスが移動し、煙突20の内壁2は高温になっている。
蓄熱式排熱回収装置は、断熱性を有する隔壁12によって内壁側空間13(煙突20の壁面2側の空間)と外壁側空間14(壁面狭空間9の外壁側の空間)とに区画された壁面挟空間9からなる。
内壁側空間13には、作動媒体8を循環させるための伝熱管10が、円筒状の煙突20の壁面2に沿って煙突20の周囲を螺旋状に配管されている。
外壁側空間14には、隔壁12の上方に形成された開口部15から外壁側空間14内を通って隔壁12の下方に形成された開口部15を繋ぐ環状の放熱管16が配管されている。
放熱管16は、煙突20の周囲の任意の箇所で、隔壁12の上方に形成された開口部15から隔壁12の下方に形成された開口部15までを垂直方向に繋ぐ垂直管を1以上配管するのでも良いし、煙突20の周囲全体を隔壁12の上方に形成された開口部15から隔壁12の下方に形成された開口部15までを層状または二重管式に形成することもできる。
内壁側空間13には、蓄熱媒体7を貯留し、蓄熱媒体7が煙突20の壁面2から伝達される排熱を蓄熱して高温になると、蓄熱媒体7は、体積が膨張して液面が上昇する。蓄熱媒体7の液面が上昇すると、内壁側空間13と放熱管16とが一続きの流路を形成する。
そして、蓄熱媒体7の液面が上昇すると、内壁側空間13に貯留された蓄熱媒体7は、熱膨張による浮力すなわち上昇流を発生させながら隔壁12の上方に形成された開口部15の位置に到達し、開口部15から外壁側空間14内に配管されている放熱管16に流れ込む。
内壁側空間13の天井部分には、内圧調整弁6を取付けるための静圧ポート18が設けられ、蓄熱媒体7が熱せられて体積が増大すると、内壁側空間13内に貯留する空気を排出し、蓄熱媒体7が冷却されて体積が減少すると、内壁側空間13外から外気を吸入する。
このように、内壁側空間13内の圧力を一定に保つことで、例えば、高圧状態になることで生じる壁面2の変形や破損を防ぐ。
放熱管16が配管されている外壁側空間14には、冷媒(水)17が循環しており、放熱管16内を流れる蓄熱媒体7を冷却する。
放熱管16は、その周囲に放熱用のフィン19が形成されており、蓄熱媒体7の冷却を促進する。
放熱管16で冷却された蓄熱媒体7は、下降流を発生させながら隔壁12の下方に形成された開口部15から内壁側空間13に流れ込む。
これが繰り返されることで、蓄熱媒体7は、外部からポンプ動力を加えることなく、両空間間を自然循環し、加熱と冷却が連続して行われることで、温度が一定または一様に保たれる。
そして、蓄熱媒体7が蓄熱した排熱は、最終的には、内壁側空間13内に配管された伝熱管10内を循環する作動媒体8に伝達される。
このようにして、作動媒体8は、高温の壁面2から伝達される排熱を直接回収するのではなく、蓄熱媒体7を介して間接的に回収する。
蓄熱媒体7の充填量を増やすと、早い段階で、内壁側空間13と放熱管16とが一続きの流路を形成して循環を開始するため、蓄熱媒体7の温度は低く保たれる。また、蓄熱媒体7の充填量を減らすと、内壁側空間13と放熱管16とが一続きの流路を形成するまでに長時間を要するが、蓄熱媒体7が循環を開始するまで熱を蓄える結果、蓄熱媒体7を高い温度に保持できる。
このように、蓄熱媒体7の充填量(すなわち液面高さ)を変えることで、排熱を蓄熱する蓄熱媒体7の温度及び蓄熱量を制御できる。
本実施例によれば、煙突20の高温の壁面2の周囲は、高熱容量の蓄熱媒体7で被覆された状態になるため、従来装置よりも熱容量が大きくなり排熱回収率が向上する。また、伝熱管10全体が高熱容量の蓄熱媒体7に浸漬されて被覆、保温された状態であるため、作動媒体が燃焼室内の発熱変動や外気環境の影響を直接受けることが低減され、排熱の安定的な供給、利用に資する。壁面狭空間9の外壁は、外気温の影響を受けないように断熱性を有することが望ましい。
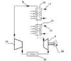
図15は、蓄熱式排熱回収装置を備えたコージェネレーションシステムの主要系統図であり、作動媒体および冷媒が流れる方向を図中の矢印で示している。
煙突20と燃焼室21に蓄熱式排熱回収装置を備えた燃焼装置、タービン4(発電機24)、復水器(冷却器)22、ポンプまたは圧縮機23が直列に接続されている。作動媒体8は、ポンプまたは圧縮機23によって煙突20の壁面2に設けられた蓄熱式排熱回収装置に送られ、高温の蓄熱媒体7と熱交換することで飽和蒸気になる。飽和蒸気になった作動媒体8は、燃焼室21の壁面2に設けられた蓄熱式排熱回収装置に送られてさらに加熱され、過熱蒸気3となってタービン4を駆動させる。
その後、作動媒体8は、復水器22へ送られて冷却される。
本実施例によれば、小規模の燃焼装置でも、安定的に200〜300℃の過熱蒸気3を生成することができ、小規模の燃焼装置であってもコージェネレーションシステムを構築することが可能になる。
また、過熱蒸気3となる作動媒体8は、伝熱管10内を循環して、燃焼室21の壁面2に直接触れることがないため、壁面2を変形させたり、損傷させることがないことから、タービン4の入口の圧力値は、燃焼室21の壁面2の耐圧値以上に設定することができ、その結果、蒸気圧力を効果的に発電に活かすことができる。
以上のとおり、本発明によれば、温度上昇にともなって体積が増加する性質の熱媒体を用いて排熱駆動による熱媒体の自然循環を実現し、温度変動が大きい排熱に対しても効率よく熱を回収して蓄熱できることから、熱の安定供給に資する蓄熱式排熱回収装置及びこれを用いた燃焼装置並びにコージェネレーションシステムを提供できる。
符合の説明
1 作動媒体
2 燃焼装置の壁面
3 過熱蒸気
4 タービン
5 流量調整バルブ
6 壁面挟空間内の圧力調整用バルブまたは安全弁
7 蓄熱媒体
8 作動媒体
9 壁面狭空間
10 伝熱管
11 伝熱管内の圧力調整用バルブまたは安全弁
12 隔壁
13 内壁側空間
14 外壁側空間
15 開口部
16 放熱管
17 冷媒(水など)
18 静圧ポート
19 フィン
20 煙突
21 燃焼室
22 復水器(冷却器)
23 圧縮機またはポンプ
24 発電機
25 金属薄帯または金属繊維
26 混合蓄熱媒体
27 ヒータ
28 断熱容器

Claims (8)

  1. 燃焼装置の高温の壁面から伝達される排熱を蓄熱して回収する蓄熱式排熱回収装置であって、
    蓄熱式排熱回収装置は、
    高温の壁面の外側に設けた壁面狭空間からなり、
    壁面狭空間は、空間の上方と下方とが開口した隔壁によって、高温の壁面側の空間(内壁側空間)と、壁面狭空間の外壁側の空間(外壁側空間)とに区画され、
    内壁側空間には、作動媒体を循環させるための伝熱管が配管されており、
    内壁側空間内に貯留する蓄熱媒体が排熱を蓄熱して高温になると、蓄熱媒体は、隔壁上方の開口部分から外壁側空間に流れて冷却され、隔壁下方の開口部分から内壁側空間に戻って再度排熱を蓄熱して高温になり、これが繰り返されることで両空間内を循環するとともに、この循環によって一定の温度に制御された蓄熱媒体が循環する内壁側空間に配管された伝熱管内に、作動媒体を循環させることによって、
    作動媒体が、高温の壁面から伝達される排熱を直接回収するのではなく、蓄熱媒体を介して間接的に回収する
    ことを特徴とする蓄熱式排熱回収装置。
  2. 燃焼装置の高温の壁面から伝達される排熱を蓄熱して回収する蓄熱式排熱回収装置であって、
    蓄熱式排熱回収装置は、
    高温の壁面の外側に設けた壁面狭空間からなり、
    壁面狭空間は、隔壁によって、高温の壁面側の空間(内壁側空間)と、壁面狭空間の外壁側の空間(外壁側空間)とに区画され、
    内壁側空間には、作動媒体を循環させるための伝熱管が配管され、
    外壁側空間には、内壁側空間の蓄熱媒体を外壁側空間内に移送し、循環させるため、隔壁上方に形成された開口部から外壁側空間内を通って隔壁下方に形成された開口部を繋ぐ環状の放熱管が配管されており、
    内壁側空間内に貯留する蓄熱媒体が排熱を蓄熱して高温になると、蓄熱媒体は、隔壁上方に形成された開口部から外壁側空間内に配管されている放熱管を流れる間に冷却され、隔壁下方に形成された開口部から内壁側空間に戻って再度排熱を蓄熱して高温になり、これが繰り返されることで両空間間を循環するとともに、この循環によって一定(所望)の温度に制御された蓄熱媒体と接触するように内壁側空間に配管された伝熱管内に、作動媒体を循環させることによって、
    作動媒体が、高温の壁面から伝達される排熱を直接回収するのではなく、蓄熱媒体と伝熱管壁面を介して間接的に回収する
    ことを特徴とする蓄熱式排熱回収装置。
  3. 前記の内壁側空間を循環する蓄熱媒体は、
    常圧における沸点が水のそれよりも高く、温度上昇とともに体積が増加する液体(25〜300℃における容積比が、常温時1に対して1.5倍以下)からなる熱媒体であり、
    排熱を蓄熱する前の蓄熱媒体(初期状態)は、液面すなわち気液界面が隔壁上方の開口部または開口部分よりも低い位置で静止しているが、排熱を蓄熱した後の温度上昇に伴って体積が膨張し、隔壁上方の開口部または開口部分に向かって液面が上昇する場合において、
    所望の温度に達すると、蓄熱媒体が、隔壁上方の開口部分から外壁側空間に、または、隔壁上方に形成された開口部から外壁側空間内に配管された放熱管に、流れ込んで、内壁側空間と外壁側空間との間を循環して外壁側空間で放熱または冷却されるようにすることで、
    排熱を回収して蓄熱した蓄熱媒体の温度を制御できる
    ことを特徴とする請求項またはのいずれかに記載の蓄熱式排熱回収装置。
  4. 前記の内壁側空間を循環する蓄熱媒体は、
    常圧における沸点が水のそれよりも高く、温度上昇とともに体積が増加する液体(25〜300℃における容積比が、常温時1に対して1.5倍以下)からなる熱媒体に、螺旋状にカールした金属繊維や金属薄帯が混入された混合蓄熱媒体であり、
    排熱を蓄熱する前は、隔壁上方の開口部または開口部分よりも低い蓄熱媒体の液面が、排熱を蓄熱した後の温度上昇に伴って体積が膨張することで液面が上昇し、それが隔壁上方の開口部または開口部分よりも高くなる場合において、
    一定温度に達すると、蓄熱媒体が、隔壁上方の開口部分から外壁側空間に、または、隔壁上方に形成された開口部から外壁側空間内に配管された放熱管に、流れ込んで、内壁側空間と外壁側空間との間を循環して外壁側空間で放熱または冷却されるようにすることで、
    排熱を回収して蓄熱した蓄熱媒体の温度を制御できる
    ことを特徴とする請求項またはのいずれかに記載の蓄熱式排熱回収装置。
  5. 前記の壁面狭空間または内壁側空間の天井部分には内圧調整弁が設けられており、
    内圧調整弁は、
    蓄熱媒体が一定温度以上になって体積が増大し、壁面狭空間内または内壁側空間内が高圧になると、
    壁面狭空間内または内壁側空間内に貯留する空気を排出し、
    蓄熱媒体が一定温度以下になって体積が減少し、壁面狭空間内または内壁側空間内が低圧になると、
    壁面狭空間外または内壁側空間外から外気を吸入する
    ことで、壁面狭空間内または内壁側空間内の圧力を一定に保つ
    ことを特徴とする請求項1乃至のいずれかに記載の蓄熱式排熱回収装置。
  6. 前記の伝熱管は、
    高温の壁面の外側に設けられた壁面狭空間内または内壁側空間内を、壁面の周囲を、壁面に沿って螺旋状に配管されている
    ことを特徴とする請求項1乃至のいずれかに記載の蓄熱式排熱回収装置。
  7. 前記の蓄熱式排熱回収装置を用いた燃焼装置であって、
    燃焼室または煙突部の壁面の外側に、
    請求項1乃至のいずれかに記載の蓄熱式排熱回収装置が設けられている
    ことを特徴とする燃焼装置。
  8. 請求項7の燃焼装置と、
    作動媒体を圧送するポンプまたはコンプレッサーと、
    蓄熱媒体との熱交換により過熱蒸気(飽和温度以上)になった作動媒体によって発電機を駆動するタービンと、
    発電機及び復水器とから構成される
    ことを特徴とするコージェネレーションシステム。
JP2016571648A 2015-01-30 2015-01-30 蓄熱式排熱回収装置及びこれを用いた燃焼装置並びにコージェネレーションシステム Active JP6465366B2 (ja)

Applications Claiming Priority (1)

Application Number Priority Date Filing Date Title
PCT/JP2015/052756 WO2016121117A1 (ja) 2015-01-30 2015-01-30 蓄熱式排熱回収装置及びこれを用いた燃焼装置並びにコージェネレーションシステム

Publications (2)

Publication Number Publication Date
JPWO2016121117A1 JPWO2016121117A1 (ja) 2017-11-16
JP6465366B2 true JP6465366B2 (ja) 2019-02-06

Family

ID=56542765

Family Applications (1)

Application Number Title Priority Date Filing Date
JP2016571648A Active JP6465366B2 (ja) 2015-01-30 2015-01-30 蓄熱式排熱回収装置及びこれを用いた燃焼装置並びにコージェネレーションシステム

Country Status (2)

Country Link
JP (1) JP6465366B2 (ja)
WO (1) WO2016121117A1 (ja)

Cited By (1)

* Cited by examiner, † Cited by third party
Publication number Priority date Publication date Assignee Title
JP7769773B1 (ja) * 2024-12-18 2025-11-13 カナデビアE&E株式会社 蓄熱装置

Families Citing this family (2)

* Cited by examiner, † Cited by third party
Publication number Priority date Publication date Assignee Title
JP7082800B2 (ja) * 2018-05-22 2022-06-09 独立行政法人国立高等専門学校機構 マイクロコジェネ発電装置
US20220404104A1 (en) * 2021-06-10 2022-12-22 Holtec International Green energy thermal storage system

Family Cites Families (8)

* Cited by examiner, † Cited by third party
Publication number Priority date Publication date Assignee Title
JPS5666645U (ja) * 1979-10-25 1981-06-03
JPH0712303A (ja) * 1993-06-25 1995-01-17 Ishikawajima Harima Heavy Ind Co Ltd 廃棄物焼却排熱利用発電方法及び装置
JPH08100606A (ja) * 1994-09-30 1996-04-16 Hitachi Ltd ランキンサイクル発電システム及びその運転方法
JPH09217909A (ja) * 1996-02-13 1997-08-19 Sanyo Electric Co Ltd 焼却機
JPH1144494A (ja) * 1997-07-23 1999-02-16 Mitsubishi Chem Eng Corp 蓄熱装置
JP2000356487A (ja) * 1999-06-11 2000-12-26 Yuuki:Kk 蓄熱システム
JP3700947B1 (ja) * 2003-11-05 2005-09-28 有限会社エイブル 可燃性廃棄物の焼却方法及び焼却炉
JP2013064571A (ja) * 2011-09-20 2013-04-11 Mitake Sogyo:Kk ごみ焼却施設における発電方法

Cited By (1)

* Cited by examiner, † Cited by third party
Publication number Priority date Publication date Assignee Title
JP7769773B1 (ja) * 2024-12-18 2025-11-13 カナデビアE&E株式会社 蓄熱装置

Also Published As

Publication number Publication date
JPWO2016121117A1 (ja) 2017-11-16
WO2016121117A1 (ja) 2016-08-04

Similar Documents

Publication Publication Date Title
CN105121978B (zh) 共烧吸收系统发生器
Elghool et al. Multi-objective optimization to enhance the performance of thermo-electric generator combined with heat pipe-heat sink under forced convection
JP6583617B2 (ja) 蒸発器、ランキンサイクル装置及び熱電併給システム
JP4931614B2 (ja) 液化ガスの冷熱を利用したコージェネレーションシステム及びその運転方法
JP6465366B2 (ja) 蓄熱式排熱回収装置及びこれを用いた燃焼装置並びにコージェネレーションシステム
KR101393315B1 (ko) 냉각라인이 형성되는 잠열 열교환기 커버
CN109990262A (zh) 一种辅助加热蒸汽发生器
JPWO2014185007A1 (ja) 熱電併給システム
US10180116B2 (en) Heat medium circulation structure and hot water temperature control method for micro combined heat and power generator
CN110195990B (zh) 一种蒸汽温度控制阀门蒸汽发生器
Law et al. Experimental investigation into the feasibility of using a variable conductance heat pipe for controlled heat release from a phase-change material thermal store
Tian et al. The start-up characteristics of a novel loop heat pipe with stainless steel capillary wick
CN207555643U (zh) 一种双层螺旋盘管膜式壁炉膛及其炉体、供热装置
RU2641775C1 (ru) Система подогрева установки с тепловым двигателем
Gan et al. Thermal management performance of phase change energy storage/three-dimensional pulsating heat pipe coupled modules under passive and active cooling modes
TWI548854B (zh) 逆流熱虹吸向下傳熱裝置
Sadhu et al. Experimental studies on an air-cooled natural circulation loop based on supercritical carbon dioxide–Part B: Transient operation
KR101583524B1 (ko) 고효율 에너지 발생장치
CN102840570A (zh) 一种节能型高效锅炉
CN209325751U (zh) 一种能快速产生蒸汽的小容量燃气锅炉
Liu et al. Investigation on the thermal performance of a dual driving force heat pipe under different working modes for thermal storage enhancement application
JP2008185273A (ja) 給湯システム
CN110273778B (zh) 用于斯特林发动机的加热器及斯特林循环系统
CN105658939B (zh) 斯特林发动机以及包括该斯特林发动机的组合
Yang et al. Thermal Performance of Two-phase Loop Thermosiyphon under Different Filling Ratios and Heat Transfer Distances

Legal Events

Date Code Title Description
A621 Written request for application examination

Free format text: JAPANESE INTERMEDIATE CODE: A621

Effective date: 20170919

A521 Request for written amendment filed

Free format text: JAPANESE INTERMEDIATE CODE: A821

Effective date: 20170919

A131 Notification of reasons for refusal

Free format text: JAPANESE INTERMEDIATE CODE: A131

Effective date: 20180622

A521 Request for written amendment filed

Free format text: JAPANESE INTERMEDIATE CODE: A523

Effective date: 20180815

TRDD Decision of grant or rejection written
A01 Written decision to grant a patent or to grant a registration (utility model)

Free format text: JAPANESE INTERMEDIATE CODE: A01

Effective date: 20181130

A61 First payment of annual fees (during grant procedure)

Free format text: JAPANESE INTERMEDIATE CODE: A61

Effective date: 20181226

R150 Certificate of patent or registration of utility model

Ref document number: 6465366

Country of ref document: JP

Free format text: JAPANESE INTERMEDIATE CODE: R150

R250 Receipt of annual fees

Free format text: JAPANESE INTERMEDIATE CODE: R250

R250 Receipt of annual fees

Free format text: JAPANESE INTERMEDIATE CODE: R250

R250 Receipt of annual fees

Free format text: JAPANESE INTERMEDIATE CODE: R250