JP6445841B2 - 測定装置 - Google Patents

測定装置 Download PDF

Info

Publication number
JP6445841B2
JP6445841B2 JP2014221143A JP2014221143A JP6445841B2 JP 6445841 B2 JP6445841 B2 JP 6445841B2 JP 2014221143 A JP2014221143 A JP 2014221143A JP 2014221143 A JP2014221143 A JP 2014221143A JP 6445841 B2 JP6445841 B2 JP 6445841B2
Authority
JP
Japan
Prior art keywords
voltage
external force
conductor portion
unit
measurement
Prior art date
Legal status (The legal status is an assumption and is not a legal conclusion. Google has not performed a legal analysis and makes no representation as to the accuracy of the status listed.)
Expired - Fee Related
Application number
JP2014221143A
Other languages
English (en)
Other versions
JP2016090248A (ja
Inventor
吉田 俊哉
俊哉 吉田
Current Assignee (The listed assignees may be inaccurate. Google has not performed a legal analysis and makes no representation or warranty as to the accuracy of the list.)
Tokyo Denki University
Original Assignee
Tokyo Denki University
Priority date (The priority date is an assumption and is not a legal conclusion. Google has not performed a legal analysis and makes no representation as to the accuracy of the date listed.)
Filing date
Publication date
Application filed by Tokyo Denki University filed Critical Tokyo Denki University
Priority to JP2014221143A priority Critical patent/JP6445841B2/ja
Publication of JP2016090248A publication Critical patent/JP2016090248A/ja
Application granted granted Critical
Publication of JP6445841B2 publication Critical patent/JP6445841B2/ja
Expired - Fee Related legal-status Critical Current
Anticipated expiration legal-status Critical

Links

Images

Landscapes

  • Measurement Of Length, Angles, Or The Like Using Electric Or Magnetic Means (AREA)

Description

本発明は、測定対象物の寸法を測定する測定装置に関する。
測定対象物について所定の部分の寸法を測定するために、巻尺テープを使用する方法が採用されてきた。即ち、巻尺テープを収納するケース部から巻尺テープを引き出し、巻尺テープを測定対象物に沿うように巻きつける。そして、ケース部から引き出された巻尺テープの長さによって寸法が測定される。このとき、巻尺テープの引き出された長さを静電容量や磁気を利用して取得することなどによって、目視で目盛りを読み取る必要のない測定装置が提案されている(例えば、特許文献1参照。)。これにより、目盛りを読み取る煩雑さが解消され、誤読による測定ミスが防止される。また、接触抵抗の測定によって押圧箇所の圧力検出及び位置検出を行う接触センサの構造が開示されている(例えば、特許文献2参照。)。
実用新案登録第3143409号公報 特表2003−523584号公報
しかしながら、ケース部から巻尺テープを引き出した部分の長さを測定する方法においては、巻尺テープの基準位置とケース部の基準位置とを測定対象物に正確に合わせる必要がある。更に、静電容量や磁気を利用して長さを取得する場合に、測定対象物に巻尺テープを合わせた後に測定を実行するボタンを押すなどの作業が必要である。したがって、上記方法では測定作業における作業者の負担の低減には限界があり、より容易に測定作業を行える測定装置が望まれている。
なお、特許文献2には、位置検出のための具体的な演算方法の記載がない。また、接触抵抗の差を用いて位置検出する上記方法を応用して高精度の寸法測定を行うためには、校正が必須である。しかし、特許文献2には校正方法については何ら開示されていない。したがって、寸法を測定する測定装置に特許文献2に記載の接触センサを応用することは困難である。
本発明は、測定ミスが抑制され、且つ容易に高精度の測定作業を行える測定装置を提供することを目的とする。
本発明の一態様によれば、単位長当たりの抵抗が一定であり且つ一定の電流値で電流が長手方向に流される第1の導体部、及び第1の導体部と対向する第2の導体部を有し、表面に外力が加わっていない状態では第1の導体部と第2の導体部とが電気的に絶縁するように離間して配置され、外力が加わった状態では外力を加えられた押圧点において第1の導体部と第2の導体部とが接触して電気的に接続する、屈曲性を有する帯形状のメジャー部と、メジャー部の端部の電圧を計測する電圧計測部と、押圧点に外力が加わった状態において計測された電圧及び第1の導体部に流される電流値を用いて、メジャー部の長手方向における押圧点の位置を算出する演算部とを備え、演算部が、メジャー部において所定の基準電位が設定された基準位置から押圧点までの距離を算出する測定装置が提供される。
本発明によれば、測定ミスが抑制され、且つ容易に高精度の測定作業を行える測定装置を提供できる。
本発明の実施形態に係る測定装置の構成を示す模式図である。 本発明の実施形態に係る測定装置に使用されるメジャー部の構造を示す模式図であり、図2(a)及び図2(b)は第1の導体部と第2の導体部とが対向する面の法線方向から見た平面図であり、図2(c)は図2(a)及び図2(b)のII−II方向に沿った断面図である。 本発明の実施形態に係る測定装置に使用されるメジャー部の他の構造を示す模式図である。 本発明の実施形態に係る測定装置による測定方法の例を説明するための模式図である(その1)。 本発明の実施形態に係る測定装置による測定方法の例を説明するための模式図である(その2)。 本発明の実施形態に係る測定装置による測定方法の例を説明するための模式図である(その3)。 本発明の実施形態に係る測定装置のメジャー部の構成例を説明するための模式図である。 電圧計測方法の例を説明する模式図であり、図8(a)は複数の電圧増幅器を使用する電圧計測方法を示し、図8(b)はアナログマルチプレクサを使用する電圧計測方法の例を示す。 本発明の実施形態に係る測定装置に使用される操作パラメータの例を示す表である。 本発明の実施形態に係る測定装置の測定対象物の例を示す模式図である。 本発明の実施形態の第1の変形例に係る測定装置の構成を示す模式図である。 本発明の実施形態の第2の変形例に係る測定装置のメジャー部の構成を示す模式図であり、図12(a)はリード線によって電流線と電極とが接続される例を示し、図12(b)及び図12(c)は電流線と電極が直接に接続される例を示す。
次に、図面を参照して、本発明の実施形態を説明する。以下の図面の記載において、同一又は類似の部分には同一又は類似の符号を付している。また、以下に示す実施形態は、この発明の技術的思想を具体化するための装置や方法を例示するものであって、この発明の技術的思想は、構成部品の形状、構造、配置等を下記のものに特定するものでない。この発明の実施形態は、特許請求の範囲において、種々の変更を加えることができる。
本発明の実施形態に係る測定装置1は、図1に示すように測定部10と演算部20を備える。測定部10は、メジャー部11、メジャー部11に一定の電流値で電流を流す電流源12、及びメジャー部11の電圧を計測する電圧計測部13を有する。詳細を後述するように、測定部10は、メジャー部11の端部の電圧を電気信号として出力する。演算部20は、メジャー部11の表面に外力が加わった状態において測定部10から出力された電圧及び第1の導体部111に流される電流の電流値を用いて、外力を加えられた押圧点についてメジャー部11の長手方向における位置を算出する。測定装置1は、演算部20によって算出された押圧点の位置を示す位置情報が入力されるデータ処理部30を更に備える。
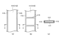
メジャー部11は屈曲性を有する帯形状であり、一定の電流値Ipで電流が長手方向に流される第1の導体部111と、第1の導体部111と対向する第2の導体部112とを備える。第1の導体部111及び第2の導体部112は、少なくとも互いの対向する面は導電性を有する。詳細を後述する測定装置1を用いた測定のために、第1の導体部111の単位長当りの抵抗R1は一定である。
メジャー部11に外力が加わっていない状態では、第1の導体部111と第2の導体部112とは電気的に絶縁するように離間して配置される。一方、メジャー部11の表面に外力が加わった状態では、押圧点において第1の導体部111と第2の導体部112とが接触し、電気的に接続する。
このために、第1の導体部111の一部と第2の導体部112の一部との間にスペーサ113が配置されている。スペーサ113は絶縁性を有し、第1の導体部111と第2の導体部112とはスペーサ113によって絶縁分離されている。なお、スペーサ113の配置されていない領域では、第1の導体部111と第2の導体部112とが空間を挟んで直接に対向している。
例えば図2(a)に示すように、第1の導体部111の外縁領域と第2の導体部112の外縁領域との間に、長手方向に沿ってスペーサ113が配置されている。図2(b)に示した例では、外縁領域と共に、長手方向の所定の間隔で短手方向に沿ってスペーサ113が配置され、スペーサ113がラダー形状である。図2(b)に示した形状の場合は、短手方向にスペーサ113が延伸する部分では外力を検知することはできない。しかし、図2(b)に示したラダー形状のスペーサ113によれば、メジャー部11が屈曲された場合などに押圧点以外の領域で第1の導体部111と第2の導体部112とが接触することをより有効に防止できる。
なお、図2(b)に示したラダー形状のスペーサ113について、図3(a)に示すように短手方向の部分の中央部を除去してもよい。或いは、図3(b)に示すように、ドット状にスペーサ113を配置してもよい。これらのスペーサ113の配置方法によって、メジャー部11の外力を検知する領域の減少を抑制できる。
電流源12は、メジャー部11の第1の導体部111に、長手方向に一定の電流値Ipで電流を流す。図1に示すように、電流源12は、第1の導体部111の一方の端部に接続され、第1の導体部111の他方の端部は接地されている。以下において、電流源12に接続された第1の導体部111の端部を「供給側端部S1」、接地された端部を「基準側端部G1」という。そして、基準側端部G1を測定における基準位置とし、基準側端部G1の電圧Vg1を基準電位とする。「基準位置」は、メジャー部11において所定の基準電位が設定された位置である。ここでは、基準電位は接地電位である。また、供給側端部S1の電圧をVs1とする。なお、図1に示した例では、第1の導体部111の端部を測定における基準位置とする例を示したが、端部よりも長手方向に移動した内側を基準位置にしてもよい。
一方、第1の導体部111の供給側端部S1に対向する第2の導体部112の端部を「供給側端部S2」とし、供給側端部S2の電圧をVs2とする。また、第1の導体部111の基準側端部G1に対向する第2の導体部112の端部を「基準側端部G2」とし、基準側端部G2の電圧をVg2とする。
電圧計測部13は、供給側端部S1の電圧Vs1、供給側端部S2の電圧Vs2及び基準側端部G2の電圧Vg2を計測する。即ち、図1に示したように、供給側端部S1、供給側端部S2及び基準側端部G2にそれぞれ接続された複数の接続線が、電圧計測部13に内蔵された電圧計ユニット(図示略)に接続されている。
以下に、測定装置1による測定方法の例を、図4〜図6を用いて説明する。なお、図4〜図6では、測定装置1のメジャー部11について図示し、その他の部分の図示は省略している。また、メジャー部11についても、説明をわかりやすくするためにスペーサ113は図示を省略している。図4〜図6に示すように、第1の導体部111に一定の電流値Ipの電流が長手方向に流れている。
図4に示すように、メジャー部11の表面に外力が加わっていない状態では、第1の導体部111と第2の導体部112とは離間しており、電気的に絶縁している。なお、測定における基準位置から電流源12が接続された端部までの距離を、メジャー部11の長さLとする。即ち、供給側端部S1〜基準側端部G1間の長さ及び供給側端部S2〜基準側端部G2間の長さはLである。
ここで、図5に示すように、スペーサ113の配置されていない領域で第2の導体部112に外力Nが加えられると、外力Nの加えられた押圧点Pにおいて第2の導体部112が第1の導体部111に押し付けられて、第1の導体部111と第2の導体部112とが接触する。これにより、第1の導体部111と第2の導体部とが押圧点Pで電気的に接続する。メジャー部11の表面に外力Nを加えるには、例えばメジャー部11の表面を指で押さえたり、先端の鋭利な道具を押し付けたりする。
このように第1の導体部111に一定の電流が流れ、外力Nがメジャー部11の表面に加えられた状態で、測定装置1は外力Nが加えられた押圧点Pの位置を算出する。より具体的には、基準電位を基準とする第1の導体部111の供給側端部S1の電圧Vs1、及び第2の導体部112の供給側端部S2の電圧Vs2と基準側端部G2の電圧Vg2が、押圧点Pの位置に応じた電気信号として測定部10から演算部20に出力される。演算部20は、測定部10から出力された電圧及び第1の導体部111に流れる電流の電流値Ipを使用して、メジャー部11の長手方向における押圧点Pの位置を算出する。即ち、測定装置1によって、押圧点Pの位置情報が、基準位置(基準側端部G1)から押圧点Pまでの距離(以下において、「第1距離」という。)X1として算出される。詳細を以下に説明する。
第1の導体部111と第2の導体部112が押圧点Pで接触した場合、第2の導体部112の基準側端部G2の電圧Vg2と供給側端部S2の電圧Vs2は、以下の式(1)で表される:

Vg2=Vs2=X1×R1×Ip ・・・(1)

このように、電圧Vg2及び電圧Vs2は押圧点Pの位置に応じて定まる。電圧計測部13によって測定された電圧Vg2及び電圧Vs2は、演算部20に送信される。演算部20は、測定された電圧Vg2を用いて、以下の式(2)によって第1距離X1を算出する:

X1=Vg2/(R1×Ip) ・・・(2)

上記のように、外力Nが加えられた押圧点Pの位置情報が、第1距離X1として演算部20によって算出される。一方、供給側端部S1から押圧点Pまでの距離(以下において、「第2距離」という。)X2は、以下の式(3)で算出される:

X2=(Vs1−Vs2)/(R1×Ip) ・・・(3)

次に、図6に示したように、メジャー部11の表面の2箇所に外力が加えられた場合について説明する。測定装置1は、外力を加えられた第1の押圧点P1と第2の押圧点P2との間の距離(以下において「2点間距離」という。)Xmを算出する。ここで、基準位置である基準側端部G1に近い方の押圧点を第1の押圧点P1とし、基準側端部G1から遠い方の押圧点を第2の押圧点P2としている。
メジャー部11の表面の2箇所に外力を同時に加えた状態において、電圧計測部13によって供給側端部S1の電圧Vs1、供給側端部S2の電圧Vs2及び基準側端部G2の電圧Vg2が測定される。測定されたこれらの電圧値は、電圧計測部13から演算部20に送信される。
第1距離X1で示される区間及び第2距離X2で示される区間において、第1の導体部111を流れる電流値Ipは、1箇所のみに外力Nが加えられた場合と同じである。したがって、式(2)と式(3)は、2箇所に外力Nが加えられた場合にも成立する。このため、演算部20は、第1の押圧点P1の第1距離X1と第2の押圧点P2の第2距離X2を用いて、2点間距離Xmを以下の式(4)を用いて算出する:

Xm=L−X2−X1 ・・・(4)

上記のように、測定装置1によれば、メジャー部11の表面の2箇所に外力が同時に加えられた場合に、その2箇所の2点間距離Xmを容易に算出することができる。
一方、測定装置1による測定方法とは異なる方法で2点間距離Xmを測定する比較例として、以下の測定方法が考えられる。ここで、第2の導体部112の単位長当たりの抵抗をR2とする。
2点に外力Nが同時に加えられた場合、2点間で第1の導体部111と第2の導体部112とは並列接続となる。それぞれの押圧点における接触抵抗をRcとすると、押圧点間の抵抗Rmは以下の式(5)で表される:

Rm={(R1×Xm+Rc)×(R2×Xm+Rc)}/{(R1+R2)×Xm+2×Rc} ・・・(5)

この状態での電圧Vs1は式(6)で表される:

Vs1={R1×(L―Xm)+Rm}×Ip ・・・(6)

式(6)で接触抵抗Rcを無視して2点間距離Xmについて解くと、式(7)が得られる:

Xm={(R1+R2)/R1}×L−{(R1+R2)/(Ip×R12)}×Vs1 ・・・(7)

式(7)を用いて、2点に外力Nが同時に加えられた場合の2点間距離Xmを算出することができる。
しかしながら、上記の比較例の測定方法では、第2の導体部112の単位長当たりの抵抗R2も既知でなければならない。また、接触抵抗Rcが大きい場合に生じる誤差が大きい。
これに対し、式(4)を用いて2点間距離Xmを算出する測定装置1の場合には、式(7)を用いた場合とは異なり、第2の導体部112の単位長当たりの抵抗R2を必要としない。更に、接触抵抗Rcの影響を受けない利点がある。
以上に説明したように、測定装置1によれば、メジャー部11の表面の2箇所に外力を同時に加えることによって2点間の距離を瞬時に測定できる。したがって、メジャー部11の基準の位置を測定対象物に合わせる作業が不要であり、素早く位置決めができる。このため、測定作業が効率化される。
第1の導体部111の材料には、例えば、銅やアルミニウムなどの金属材、導電性ゴム、金属などの導電性材料を樹脂などの薄膜にコーティングしたフィルムなどを採用可能である。第2の導体部112にも、第1の導体部111と同様の材料を採用できる。例えば、第1の導体部111と第2の導体部112に、互いに対向する面にアルミニウムを蒸着したPETフィルムなどを採用可能である。スペーサ113の材料には、例えば絶縁性の布やゴムなどを採用可能である。
なお、第1の導体部111と第2の導体部112には、形状変化や電気抵抗の温度依存性が小さい材料を使用することが好ましい。これにより、周囲の温度が測定結果に及ぼす影響を抑制できる。
また、第2の導体部112の抵抗を、第1の導体部111の抵抗よりも大きくすることが好ましい。これにより、電流源12から第1の導体部111に供給された電流が第2の導体部112に流れることが抑制され、測定精度が向上する。一方、第2の導体部112の抵抗が大きすぎると、測定される電圧値が小さくなり、測定誤差が大きくなる可能性がある。第2の導体部112の抵抗は、例えば、全体として数kΩ〜数十kΩ程度とする。
図7に示すように、第1の導体部111及び第2の導体部112がスペーサ113を挟んだ状態でメジャー部11の全体を外皮膜114によって被覆してもよい。これにより、メジャー部11は一体の帯形状として構成される。メジャー部11の表面から外力が加えられた場合に、第1の導体部111と第2の導体部112とが接触する必要がある。このため、外皮膜114には可撓性があり、絶縁性を有する材料が使用される。例えば、外皮膜114の材料には、絶縁性の布、ガラス繊維、軟質プラスチックなどを採用可能である。
湾曲した部分などの測定を容易にするために、メジャー部11の厚みは薄いことが好ましく、例えばスペーサ113の厚みは0.1mm〜0.2mm程度に設定される。スペーサ113の厚みやメジャー部11全体の厚みは、メジャー部11の材料や測定対象物の形状などに応じて適宜設定することができる。
なお、メジャー部11は屈曲性を有する帯形状であるため、例えば図7に示したようにメジャー部11を湾曲させて使用可能である。つまり、測定箇所が直線でなくでも、測定箇所に沿ってメジャー部11を配置することができる。このため、測定箇所が曲面などの場合にも測定が容易である。例えば身体測定において胸囲や腹囲などを容易に測定することができる。
次に、測定装置1の校正機能について説明する。以下に説明するように、測定装置1では、自動校正機能が実現されている。
図4に示したようにメジャー部11の表面に外力が加えられておらず、第1の導体部111と第2の導体部112とが離間している状態においては、以下の式(8)が成立している:

R1×Ip=Vs1/L ・・・(8)

長さLは既知であるため、メジャー部11の表面に外力が加えられていないときに、電圧Vs1が測定されることによってR1×Ipの値、即ち式(2)と式(3)の右辺分母の値を演算部20により算出することができる。メジャー部11の表面に外力が加えられていないことは、第2の導体部112の電位が不安定(ハイインピーダンス)であることを検知することによって演算部20により検出できる。例えば第2の導体部112の電位を高抵抗によってプルアップしておけば、電圧Vg2の値から第2の導体部112の状態を検出することができる。
このため、メジャー部11の表面に外力を加えていないことを検出するたびに、式(2)と式(3)で得られる位置情報を算出するための校正が可能である。即ち、測定毎に、その直前の状態で測定装置1の自動校正が行われる。このように、直前に取得されたR1×Ipの値を用いて第1距離X1及び第2距離X2が算出されるため、高精度の測定が可能である。例えば、温度変化などの環境変化によって第1の導体部111の抵抗値が変化したり、経時変化によって電流源12から供給される電流の電流値Ipが変動したりしても、測定精度の低下が抑制される。また、メジャー部11を構成する各部品の特性ばらつきが測定値に与える影響も抑制される。
このように、非測定時において自動的に校正される点は、測定装置1の奏する大きな効果である。本発明者らが作製した試作機では、演算部20に使用したマイコンに抵抗率などの情報をその都度入力することはせずに、単にメジャー部11の長さLを定数として使用しているだけである。即ち、測定装置1によれば、自動校正によって得られるIp×R1の値を用いて、高精度の測定を行うことができる。
なお、基準電位である基準位置の電圧についても、本実施形態では基準電位が接地電位であるため、電圧Vg1が0Vであることが検出されればよい。このように、基準電位の校正も容易である。
ところで、精度の高い測定結果を得るためには、電圧Vs1、電圧Vs2及び電圧Vg2を厳密に同一ゲインで計測する必要がある。それぞれの電圧を独立した専用の電圧計ユニットを用いてそれぞれ計測する場合には、電圧計ユニットのゲイン調整を慎重に行う必要がある。
或いは、電圧計ユニットを共通として、電圧計ユニットへの入力をアナログマルチプレクサなどにより切り替えて計測してもよい。これにより、電圧Vs1、電圧Vs2及び電圧Vg2についてゲインが一致した電圧計測を容易に実現できる。
例えば、電圧計測部13にワンチップマイコンを使用する場合を考える。図8(a)に示すように、一般的なワンチップマイコン130はA/D変換器130bを搭載し、アナログ電圧の入力が可能である。また、多入力に対応するために、ワンチップマイコン130内部にマルチプレクサ130aを内蔵している場合がほとんどである。図8(a)に示す例のように電圧Vs1、電圧Vs2及び電圧Vg2をそれぞれ別個の電圧増幅器131を経由してマルチプレクサ130aに入力させた場合には、3つの電圧増幅器131のゲインを厳密に合わせる調整が必要である。
このため、図8(b)に示すように、ワンチップマイコン130とは別にアナログマルチプレクサ132を用意し、電圧Vs1、電圧Vs2及び電圧Vg2を直接にアナログマルチプレクサ132に入力することが好ましい。そして、ワンチップマイコン130に内蔵されるCPU130cから送信される入力選択指令信号Scに従って、アナログマルチプレクサ132から電圧Vs1、電圧Vs2及び電圧Vg2が1台の電圧増幅器131に順次入力される。電圧増幅器131により増幅された各電圧がワンチップマイコン130に入力され、計測値としてワンチップマイコン130から順次出力される。
図8(b)に示す方法では、ワンチップマイコン130に内蔵されるマルチプレクサ130aは使用されずに無駄になる。しかし、アナログマルチプレクサ132を経由させて電圧Vs1、電圧Vs2及び電圧Vg2をワンチップマイコン130に入力することによって、使用する電圧増幅器131が1台で済む。これにより、電圧Vs1、電圧Vs2及び電圧Vg2についてゲインが一致した電圧計測を実現できる。厳密に同一ゲインに調整した3台の電圧増幅器131を用意する場合よりも低価格を実現できるなど、ワンチップマイコン130に内蔵されるマルチプレクサ130aを使用しないとしてもメリットが大きい。
したがって、測定装置1の電圧計測部13には、図8(b)に示した構成を採用することが好ましい。即ち、メジャー部11の複数箇所について同時に計測された各電圧(電圧Vs1、電圧Vs2及び電圧Vg2)がそれぞれ直接に入力されるアナログマルチプレクサ132と、アナログマルチプレクサ132から順次出力される電圧を増幅する電圧増幅器131を、ワンチップマイコン130とは別個に用意する。電圧Vs1、電圧Vs2及び電圧Vg2が同一の電圧増幅器131によって増幅されることにより、精度の高い測定結果を得ることができる。なお、マルチプレクサ130aを内蔵しないワンチップマイコン130を使用してもよいことはもちろんである。
測定装置1では、図1に示すように、演算部20によって算出された第1距離X1、第2距離X2、及び2点間距離Xmなどの測定データが、押圧点Pの位置情報としてデータ処理部30に入力される。演算部20からデータ処理部30へのデータ送信は、有線または無線によって行われる。
データ処理部30は、入力された位置情報をデジタル表示するディスプレイや、位置情報を記録する記録装置などを有する。データ処理部30には、例えばパーソナルコンピュータ(PC)などを採用可能である。
このとき、演算部20から送信される位置情報と共に、メジャー部11の表面に対する外力の加え方に応じて、データ処理部30における操作を指定することができる。具体的には、メジャー部11の表面に対するタッチ操作の仕方とデータ処理部30における測定データに対するデータ処理操作とを関連付けしておく。
演算部20は、メジャー部11の表面に対する外力の加え方を操作パラメータとして検出し、この操作パラメータを電気的な信号としてデータ処理部30に送信する。操作パラメータは、例えば外力が加えられた時間、一定時間内に外力が加わった回数、外力が加えられる位置の変化の仕方などである。操作パラメータに応じて、データ処理部30に入力された位置情報のデータ処理操作が制御される。即ち、測定装置1では、メジャー部11の表面を「ダブルクリック」したり「スワイプ」したりすることによって、測定データ以外の情報を入力用コマンドとしてデータ処理部30に入力できる。
例えば、一定時間内に電圧計測部13で計測される電圧が断続的に変化することにより、ダブルクリックが行われたことが演算部20によって検出される。「スワイプ」は、第1の導体部111と第2の導体部112を接触させた状態で外力を加える位置をずらす操作である。電圧計測部13で計測される電圧が連続的に変化することなどにより、スワイプが行われたことが演算部20によって検出される。
操作パラメータの例を図9に示す。例えば、操作パラメータ1の設定は、メジャー部11の表面の1点に外力が加えられ、外力が加えられた時間が時間T1以上である場合に、演算部20から入力された測定データをデータ処理部30に記録させるものである。これにより、押圧点の測定データがデータ処理部30に記録される。時間T1は任意に設定可能であるが、例えば0.8秒程度に設定する。
また、図9に示した操作パラメータ2の設定は、時間T1以上にわたってメジャー部11の表面の2点に外力が加えられた場合に、2点間距離の測定データをデータ処理部30に記録させるものである。例えば2点に外力が同時に加えられた場合に、2点間距離の測定データがデータ処理部30に記録される。
操作パラメータ3の設定は、メジャー部11の表面の1点をダブルクリックすることによって、データ処理部30に入力された測定データを確定値としてデータ処理部30に記録させるものである。例えば、操作パラメータ1、2では測定データがデータ処理部30に入力される操作だけを行うように設定しておき、操作パラメータ3によって測定データをデータ処理部30に保存する。
操作パラメータ4の設定は、メジャー部11の表面の1点に外力を加えた状態で、時間T2以内にメジャー部11の表面の他の部分をダブルクリックすることによって、データ処理部30に記録された測定データを削除させるものである。例えば、ダブルクリックする回数に応じて、記録された測定データが新しい順に削除されるようにしてもよい。時間T2は、例えば0.4秒程度に設定する。
操作パラメータ5は、メジャー部11の表面の1点に外力を加えた状態で、メジャー部11の表面の他の部分をスワイプすることによって、データ処理部30に記録される測定データに区切りを入れる操作を行わせるものである。例えば、連続測定を行っている場合に測定データをグループ分けしてデータ処理部30に記録するために、操作パラメータ5が入力されたタイミングで改行を行って測定データを記録する。
また、押圧点Pの基準位置側の領域においてダブルクリックやスワイプなどのタッチ操作をする場合と、反対側の領域においてタッチ操作する場合とによって、操作パラメータの意味を変えてもよい。
上記のように、測定装置1では、データ処理部30の入力制御装置としてメジャー部11を使用できる。即ち、メジャー部11の表面に対する外力の加え方に応じて、測定データをデータ処理部30にどのように記録するか、或いは記録した測定データをどのように処理するかを指定できる。
例えば、USBキーボードインターフェースなどを介して、演算部20により算出された測定データや操作パラメータを、データ処理部30とするPCなどに入力可能である。これにより、特別なデバイスが不要で、PCで動作する統計処理などの既存のソフトウェアを、測定データの処理ソフトウェアとして使用できる。
このために、例えば、操作パラメータに応じて操作を判定する制御用ソフトウェアを演算部20またはデータ処理部30に組み込んでもよい。この制御用ソフトウェアは、メジャー部11で入力された操作パラメータをデータ処理部30の動作を制御する入力信号に変換する。データ処理部30はこの入力信号に従って動作し、測定データを処理する。
或いは、メジャー部11で入力された操作パラメータをデータ処理部30の動作を制御する入力信号に変換してデータ処理部30に入力する制御装置を、演算部20とデータ処理部30との間に設置してもよい。
上記のように、メジャー部11から操作パラメータをデータ処理部30に送信してデータ処理部30における測定データに対する操作を指定できる。このため、種々の測定方法が考えられる。
例えば、操作パラメータの指定によって、連続して測定された複数の測定結果を合算してデータ処理部30に記録する。具体例として、測定対象物が立方体などの図10に示すような六面体の荷物100である場合に、荷物100の縦W・横D・高さHの3つの寸法の合計を算出するために、所定の操作パラメータの入力によって直前の3つの測定データの合計をデータ処理部30に記録させるように設定する。これにより、作業者の負担を大幅に軽減し、短時間に測定を実施することができる。
以上に説明したように、本発明の実施形態に係る測定装置1では、メジャー部11の表面を押すだけ測定が完了する。そして、基準位置から押した位置までの距離や任意の2点間の距離などが自動的に算出される。つまり、測定対象物にメジャー部11を重ねた状態などにおいて、容易に測定データを取得することができる。
また、測定装置1によれば、ケース部から巻尺テープを引き出した部分の長さを計測する場合のように巻尺テープの基準位置とケース部の基準位置とを精密に位置合わせをする必要がない。更に、測定対象物に巻尺テープを合わせた後に測定を実行するボタンを押すなどの作業が必要ない。このように、測定装置1を用いた測定においては、メジャー部11から手を離すことなく測定でき、測定データが記録される。このとき、連続的に測定しながら測定データを自動的に記録することが可能である。
したがって、測定装置1の測定によれば、測定作業の効率が向上する。更に、測定データが自動的に記録されるため、測定結果の誤読による測定ミスを防止できる。
この時、測定データを記録するデータ処理部30において、種々のデータ処理を行うことが可能である。例えば、連続して入力された複数の測定データの合計を自動的に記録するように設定しておいてもよい。また、直前の測定データとの差分を測定毎に記録するように設定しておいてもよい。これにより、測定対象物の複数の測定箇所にわたってメジャー部を沿わせながら、複数の箇所の寸法を連続して測定することができる。
このように、測定装置1を用いた測定によれば、測定作業における作業者の負担が大きく低減でき、測定ミスが抑制された測定を容易に行える。更に、例えば身体測定などにおいて測定値を読み上げる必要がないために、秘密保持の点でも効果がある。
また、測定装置1では、一定の電流値Ipを第1の導体部111に流す電流源12を電源として使用する。このため、接触抵抗により測定データに誤差が生じるという問題を回避できる。これに対し、電圧源を使用した場合には、接触抵抗の影響が測定結果に影響を及ぼすことを排除できない。
更に、測定装置1では、メジャー部11を構成する第1の導体部111や第2の導体部112の抵抗率の変化や電流源12の出力する電流値Ipの変化に対する校正が容易である。
上記のように、測定装置1では、メジャー部11における接触抵抗や第1の導体部111及び第2の導体部112の抵抗率の変化の影響を受けない測定を、作業者の負担を軽減しつつ容易に実施することができる。その結果、測定装置1によれば、測定ミスが抑制され、且つ容易に高精度の測定作業を行うことができる。
測定装置1は、大量に長さを測定して記録する業種において好適に使用される。例えば、搬送する荷物の3辺を測定して料金が設定される運送業界や、高品質の商品には全品検査が必須であるアパレル業界などにおいて、測定装置1による測定は効果的である。
<第1の変形例>
上記では、電圧Vs1、電圧Vs2及び電圧Vg2の基準電位である電圧Vg1が接地電位である場合を示した。しかし、基準電位は接地電位でなくてもよい。
例えば、図11に示すように、基準位置である基準側端部G1に所定のバイアス電圧Vbを印加する。即ち、Vg1=Vbとする。そして、電圧Vs1、電圧Vs2及び電圧Vg2と電圧Vg1との電位差を用いて測定データが算出される。演算部20は、電圧Vg1を常時測定することによって、基準電位を自動的に校正することができる。
<第2の変形例>
例えば図12(a)〜図12(c)に示すように、長手方向に沿って一定の間隔で配置された、短手方向に延伸する複数の電極110aを有する構造を第1の導体部111に採用してもよい。この場合、長手方向に延伸する電流線110bの一方の端部から他方の端部に電流が流される。そして、それぞれの電極110aが、電流線110bと電気的に接続されている。電極110a及び電流線110bには、単位長当たりの抵抗が一定の導体が使用される。例えば、帯形状の絶縁性の膜や軟質プラスチック膜などに電極110a及び電流線110bを配置することによって、第1の導体部111を形成する。
メジャー部11の表面に外力が加わった場合に、電極110aにおいて第1の導体部111と第2の導体部112とが電気的に接続する。例えば電極110aを1mm間隔で配置すると、測定装置1の分解能が1mmとなる。敢えて1mm未満の分解能を持たせないことによって、例えば太い指でメジャー部11の表面を押した場合でも、作業者の意図した測定結果が得られる。
図12(a)に示した例では、電極110aよりも細いリード線110cによって、電極110aと電流線110bとを電気的に接続している。これにより、電流線110bを流れる電流が電極110aに流れ込むことが抑制される。このようにして電極110aに流れる電流を無視できる場合には、それぞれの電極110aにおいて表面の電位が均一とみなせる。このため、電極110aのいずれの領域が第2の導体部112と接触しても、同一の距離が算出される。換言すると、電極110a全体が第2の導体部112と接触した場合にも、極細な領域で接触した場合と等価の結果が得られる。
図12(b)及び図12(c)は、リード線を介さずに、電極110aと電流線110bとが直接に接続する例を示す。図12(b)に示した例では、電極110aの端部で電流線110bと電極110aとが接触する。図12(c)に示した例では、電極110aの中央部付近で電流線110bと電極110aとが接触する。これらの場合には電極110aに電流がわずかに流れるが、図12(a)の場合に近い測定結果が得られる。
なお、上記のように第1の導体部111を電極110aと電流線110bとに分けることによって、メジャー部11に使用する導体の幅を細くすることができる。このため、材料の節約や抵抗均一化の容易さを実現できる。また、薄膜以外の、断面が円形状や四角形状の導体を使用することが可能になる。
(その他の実施形態)
上記のように、本発明は実施形態によって記載したが、この開示の一部をなす論述及び図面はこの発明を限定するものであると理解すべきではない。この開示から当業者には様々な代替実施形態、実施例及び運用技術が明らかとなろう。
例えば、既に述べた実施形態の説明においては、メジャー部11の第2の導体部112側の表面に外力を加える例を示した。これに対し、メジャー部11の第1の導体部111側の表面に外力を加えてもよい。
このように、本発明はここでは記載していない様々な実施形態等を含むことは勿論である。したがって、本発明の技術的範囲は上記の説明から妥当な特許請求の範囲に係る発明特定事項によってのみ定められるものである。
1…測定装置
10…測定部
11…メジャー部
12…電流源
13…電圧計測部
20…演算部
30…データ処理部
111…第1の導体部
112…第2の導体部
113…スペーサ
114…外皮膜
130…ワンチップマイコン
131…電圧増幅器
132…アナログマルチプレクサ

Claims (9)

  1. 単位長当たりの抵抗が一定であり且つ一定の電流値で電流が長手方向に流される第1の導体部、及び前記第1の導体部と対向する第2の導体部を有し、表面に外力が加わっていない状態では前記第1の導体部と前記第2の導体部とが電気的に絶縁するように離間して配置され、前記外力が加わった状態では前記外力を加えられた押圧点において前記第1の導体部と前記第2の導体部とが接触して電気的に接続する、屈曲性を有する帯形状のメジャー部と、
    前記メジャー部の端部の電圧を計測する電圧計測部と、
    前記押圧点に前記外力が加わった状態において計測された前記電圧及び前記第1の導体部に流される前記電流値を用いて、前記メジャー部の前記長手方向における前記押圧点の位置を算出する演算部と
    を備え
    前記演算部が、前記メジャー部において所定の基準電位が設定された基準位置から前記押圧点までの距離を算出することを特徴とする測定装置。
  2. 前記演算部が、前記メジャー部の表面の離間した2箇所に外力を加えられた場合に、前記2箇所の2点間距離を算出することを特徴とする請求項1に記載の測定装置。
  3. 前記第1の導体部に前記電流を供給する電流源を更に備えることを特徴とする請求項1又は2に記載の測定装置。
  4. 前記演算部が、前記押圧点において前記第1の導体部と前記第2の導体部とが電気的に接続した状態における前記第2の導体部の前記端部の電圧V2、前記一定の電流値Ip、及び前記第1の導体部の単位長当たりの抵抗R1を用いて、前記基準位置から前記押圧点までの長さXを
    X=V2/(R1×Ip)
    の関係式を用いて算出することを特徴とする請求項1乃至のいずれか1項に記載の測定装置。
  5. 前記メジャー部の表面に前記外力が加えられていないことを検出して前記R1×Ipの値を前記演算部が算出することによって前記長さXを算出するための校正を行う自動校正機能を備えることを特徴とする請求項に記載の測定装置。
  6. 前記電圧計測部が、
    複数箇所について計測された前記電圧がそれぞれ直接に入力されるアナログマルチプレクサと、
    前記アナログマルチプレクサから順次出力される前記電圧を増幅する電圧増幅器と
    を備え、前記複数箇所について計測された前記電圧が同一の前記電圧増幅器によって増幅されることを特徴とする請求項1乃至のいずれか1項に記載の測定装置。
  7. 前記第1の導体部が、
    長手方向に延伸し、前記電流が流される電流線と、
    前記電流線とそれぞれ電気的に接続され、前記長手方向に沿って一定の間隔で配置されて短手方向に延伸する複数の電極と
    を備えることを特徴とする請求項1乃至のいずれか1項に記載の測定装置。
  8. 前記演算部によって算出された前記押圧点の位置を示す位置情報が入力されるデータ処理部を更に備え、
    前記メジャー部の表面に対する前記外力の加え方を操作パラメータとして、前記データ処理部に入力された前記位置情報に対するデータ処理操作が制御されることを特徴とする請求項1乃至のいずれか1項に記載の測定装置。
  9. 前記操作パラメータが、前記外力が加えられた時間、一定時間内に前記外力が加わった回数、前記外力が加えられる位置の変化の仕方の少なくともいずれかを含むことを特徴とする請求項に記載の測定装置。
JP2014221143A 2014-10-30 2014-10-30 測定装置 Expired - Fee Related JP6445841B2 (ja)

Priority Applications (1)

Application Number Priority Date Filing Date Title
JP2014221143A JP6445841B2 (ja) 2014-10-30 2014-10-30 測定装置

Applications Claiming Priority (1)

Application Number Priority Date Filing Date Title
JP2014221143A JP6445841B2 (ja) 2014-10-30 2014-10-30 測定装置

Publications (2)

Publication Number Publication Date
JP2016090248A JP2016090248A (ja) 2016-05-23
JP6445841B2 true JP6445841B2 (ja) 2018-12-26

Family

ID=56019440

Family Applications (1)

Application Number Title Priority Date Filing Date
JP2014221143A Expired - Fee Related JP6445841B2 (ja) 2014-10-30 2014-10-30 測定装置

Country Status (1)

Country Link
JP (1) JP6445841B2 (ja)

Family Cites Families (6)

* Cited by examiner, † Cited by third party
Publication number Priority date Publication date Assignee Title
JPS6222960Y2 (ja) * 1981-09-25 1987-06-11
JPH01233301A (ja) * 1988-03-14 1989-09-19 Atsugi Motor Parts Co Ltd 変位センサ
JP4029332B2 (ja) * 2002-12-10 2008-01-09 株式会社デンソー 車両用衝突位置検出装置
GB0500530D0 (en) * 2005-01-12 2005-02-16 Zi Medical Plc Position transducer
JP3125044U (ja) * 2006-06-23 2006-09-07 株式会社東京センサ 長尺スイッチのオン位置検出装置
JP5086394B2 (ja) * 2009-07-07 2012-11-28 ローム株式会社 タッチパネルの制御回路、制御方法およびそれらを用いたタッチパネル入力装置、電子機器

Also Published As

Publication number Publication date
JP2016090248A (ja) 2016-05-23

Similar Documents

Publication Publication Date Title
US10001894B2 (en) Method for calibrating a resistive contact sensor
US10444091B2 (en) Row column architecture for strain sensing
CN111902689B (zh) 具有对于取向误差的自动补偿和/或警报的计量设备
Al-Mutlaq Getting started with load cells
JP6445841B2 (ja) 測定装置
ITMI992739A1 (it) Dispositivo di misura di corrente per interruttori di potenza di bassa tensione
CN110858108A (zh) 一种压力感测模组、触控面板以及触控面板两点触摸压力检测方法
JP5978868B2 (ja) 生体成分測定用の試験片、測定装置本体、およびそれらを含む生体成分測定装置
JP2017049878A (ja) タッチパネル装置
JP2014052259A5 (ja)
Kojima et al. Optimization of electrode positions for equalizing local spatial performance of a tomographic tactile sensor
JP2002277227A (ja) 気体式測定装置
KR102260386B1 (ko) 감지장치
JPH05196406A (ja) 位置検出プローブの検出回路
KR102171149B1 (ko) 길이 변환 측정장치
CN106679535A (zh) 一种卷筒纸端面凹凸量检测专用尺及其检测方法
KR102359654B1 (ko) 디지털 길이 측정 장치
JP2014226165A (ja) ゴルフクラブおよびシャフト撓り計測システム
CN206248068U (zh) 一种裂纹测量工具
CN210982319U (zh) 混凝土钢筋检测装置
JP3681359B2 (ja) ひずみ測定方法及び多点ひずみ測定システム
JPH0610283Y2 (ja) 亀裂長さ測定装置
JPH07159202A (ja) シート状物用測定方法および装置
JP3848661B2 (ja) ひずみ測定方法及び多点ひずみ測定システム
KR102100113B1 (ko) 압력센서 및 압력분포측정장치의 캘리브레이션 방법

Legal Events

Date Code Title Description
A621 Written request for application examination

Free format text: JAPANESE INTERMEDIATE CODE: A621

Effective date: 20171027

A977 Report on retrieval

Free format text: JAPANESE INTERMEDIATE CODE: A971007

Effective date: 20180913

A131 Notification of reasons for refusal

Free format text: JAPANESE INTERMEDIATE CODE: A131

Effective date: 20181002

A521 Request for written amendment filed

Free format text: JAPANESE INTERMEDIATE CODE: A523

Effective date: 20181015

TRDD Decision of grant or rejection written
A01 Written decision to grant a patent or to grant a registration (utility model)

Free format text: JAPANESE INTERMEDIATE CODE: A01

Effective date: 20181127

A61 First payment of annual fees (during grant procedure)

Free format text: JAPANESE INTERMEDIATE CODE: A61

Effective date: 20181130

R150 Certificate of patent or registration of utility model

Ref document number: 6445841

Country of ref document: JP

Free format text: JAPANESE INTERMEDIATE CODE: R150

R250 Receipt of annual fees

Free format text: JAPANESE INTERMEDIATE CODE: R250

LAPS Cancellation because of no payment of annual fees