JP6340407B2 - 磁気的に駆動される移動子を有する転換コンベヤ - Google Patents

磁気的に駆動される移動子を有する転換コンベヤ Download PDF

Info

Publication number
JP6340407B2
JP6340407B2 JP2016501124A JP2016501124A JP6340407B2 JP 6340407 B2 JP6340407 B2 JP 6340407B2 JP 2016501124 A JP2016501124 A JP 2016501124A JP 2016501124 A JP2016501124 A JP 2016501124A JP 6340407 B2 JP6340407 B2 JP 6340407B2
Authority
JP
Japan
Prior art keywords
conveyor
mover
magnetic field
pusher
belt
Prior art date
Legal status (The legal status is an assumption and is not a legal conclusion. Google has not performed a legal analysis and makes no representation as to the accuracy of the status listed.)
Active
Application number
JP2016501124A
Other languages
English (en)
Other versions
JP2016511207A (ja
JP2016511207A5 (ja
Inventor
ジー. ラーガン,ブライアント
ジー. ラーガン,ブライアント
Current Assignee (The listed assignees may be inaccurate. Google has not performed a legal analysis and makes no representation or warranty as to the accuracy of the list.)
Laitram LLC
Original Assignee
Laitram LLC
Priority date (The priority date is an assumption and is not a legal conclusion. Google has not performed a legal analysis and makes no representation as to the accuracy of the date listed.)
Filing date
Publication date
Application filed by Laitram LLC filed Critical Laitram LLC
Publication of JP2016511207A publication Critical patent/JP2016511207A/ja
Publication of JP2016511207A5 publication Critical patent/JP2016511207A5/ja
Application granted granted Critical
Publication of JP6340407B2 publication Critical patent/JP6340407B2/ja
Active legal-status Critical Current
Anticipated expiration legal-status Critical

Links

Images

Classifications

    • BPERFORMING OPERATIONS; TRANSPORTING
    • B65CONVEYING; PACKING; STORING; HANDLING THIN OR FILAMENTARY MATERIAL
    • B65GTRANSPORT OR STORAGE DEVICES, e.g. CONVEYORS FOR LOADING OR TIPPING, SHOP CONVEYOR SYSTEMS OR PNEUMATIC TUBE CONVEYORS
    • B65G47/00Article or material-handling devices associated with conveyors; Methods employing such devices
    • B65G47/74Feeding, transfer, or discharging devices of particular kinds or types
    • B65G47/84Star-shaped wheels or devices having endless travelling belts or chains, the wheels or devices being equipped with article-engaging elements
    • B65G47/841Devices having endless travelling belts or chains equipped with article-engaging elements
    • B65G47/844Devices having endless travelling belts or chains equipped with article-engaging elements the article-engaging elements being pushers transversally movable on the supporting surface, e.g. pusher-shoes
    • BPERFORMING OPERATIONS; TRANSPORTING
    • B65CONVEYING; PACKING; STORING; HANDLING THIN OR FILAMENTARY MATERIAL
    • B65GTRANSPORT OR STORAGE DEVICES, e.g. CONVEYORS FOR LOADING OR TIPPING, SHOP CONVEYOR SYSTEMS OR PNEUMATIC TUBE CONVEYORS
    • B65G17/00Conveyors having an endless traction element, e.g. a chain, transmitting movement to a continuous or substantially-continuous load-carrying surface or to a series of individual load-carriers; Endless-chain conveyors in which the chains form the load-carrying surface
    • B65G17/06Conveyors having an endless traction element, e.g. a chain, transmitting movement to a continuous or substantially-continuous load-carrying surface or to a series of individual load-carriers; Endless-chain conveyors in which the chains form the load-carrying surface having a load-carrying surface formed by a series of interconnected, e.g. longitudinal, links, plates, or platforms
    • B65G17/08Conveyors having an endless traction element, e.g. a chain, transmitting movement to a continuous or substantially-continuous load-carrying surface or to a series of individual load-carriers; Endless-chain conveyors in which the chains form the load-carrying surface having a load-carrying surface formed by a series of interconnected, e.g. longitudinal, links, plates, or platforms the surface being formed by the traction element
    • BPERFORMING OPERATIONS; TRANSPORTING
    • B65CONVEYING; PACKING; STORING; HANDLING THIN OR FILAMENTARY MATERIAL
    • B65GTRANSPORT OR STORAGE DEVICES, e.g. CONVEYORS FOR LOADING OR TIPPING, SHOP CONVEYOR SYSTEMS OR PNEUMATIC TUBE CONVEYORS
    • B65G17/00Conveyors having an endless traction element, e.g. a chain, transmitting movement to a continuous or substantially-continuous load-carrying surface or to a series of individual load-carriers; Endless-chain conveyors in which the chains form the load-carrying surface
    • B65G17/30Details; Auxiliary devices
    • B65G17/32Individual load-carriers
    • B65G17/34Individual load-carriers having flat surfaces, e.g. platforms, grids, forks
    • B65G17/345Individual load-carriers having flat surfaces, e.g. platforms, grids, forks the surfaces being equipped with a conveyor
    • BPERFORMING OPERATIONS; TRANSPORTING
    • B65CONVEYING; PACKING; STORING; HANDLING THIN OR FILAMENTARY MATERIAL
    • B65GTRANSPORT OR STORAGE DEVICES, e.g. CONVEYORS FOR LOADING OR TIPPING, SHOP CONVEYOR SYSTEMS OR PNEUMATIC TUBE CONVEYORS
    • B65G47/00Article or material-handling devices associated with conveyors; Methods employing such devices
    • B65G47/34Devices for discharging articles or materials from conveyor 

Landscapes

  • Engineering & Computer Science (AREA)
  • Mechanical Engineering (AREA)
  • Non-Mechanical Conveyors (AREA)
  • Discharge Of Articles From Conveyors (AREA)
  • Branching, Merging, And Special Transfer Between Conveyors (AREA)

Description

本発明は、一般的には動力駆動のコンベヤに関し、より詳しくはシュー型転換コンベヤに関する。
シュー選別機の如き転換コンベヤは、コンベヤが運搬方向に物を運ぶ際に、コンベヤの巾を横切って物品を転換する(脇へ逸らす)のに用いられる。典型的なシュー選別機は、1または2以上の送り出し位置へ物をコンベヤの片側または両側を押しやる、コンベヤを横切って横方向に駆動される靴(シュー)と呼ばれる物品押し出し要素を含む。スラットコンベヤおよびモジュール式コンベヤベルトは、スラットやベルトモジュールの幅を横切って伸びる軌道に乗るシュー用のプラットフォームとして使用される。シューは、従来、通常の軌道にシューを維持し、シューの横方向の位置を制御運搬路案内によって導かれるように、下に拡張する、カムフォロワー(追随機)として働く構造要素に依存して阻止された形状である。シュー選別機が広く、包材取扱い用途に使用されているが、掃除が容易ではないので、衛生が重要な食品の取り扱いやその他の用途においてそれほど有用ではない。もう一つの問題は、シューと運搬路案内の間の衝撃によって引き起こされる雑音(ノイズ)である。
本発明の特徴を具体化したコンベヤの1つの態様は、コンベヤベルトおよび磁場源を含む。コンベヤベルトは、ベルトの走行方向に対して横方向にコンベヤベルトを横切って伸びる軌道を有している。移動子はベルト全体の軌道に沿って移動する軌道内に保持されている。移動子は、ベルト上を搬送される物品に係合する接触面を持っている。磁場源は、軌道に沿って移動子を押し進め、コンベヤベルトの両端の接触面が係合される物品を運搬するための移動子と相互作用する磁場を提供する。
本発明の別の態様では、コンベヤベルトの走行方向に対して横方向にコンベヤベルトを横切って伸びる運搬面と軌道の上にあるコンベヤベルトを備える。軌道に保持された移動子は、ベルトを横切る軌道に沿って移動する。移動子は、ベルト上を搬送される物品に係合する接触面を持っている。移動子は、接触面がその上に形成されるプッシャーを含み、移動子の伸長位置に上部搬送面を横切って搬送される物品を押すように接触面が形成される。移動子上のジョイント(接合具)は、プッシャーを上部の搬送面、或いはそれ以下のレベルの後退位置において折り畳むことを可能にする。
本発明のさらに別の態様では、コンベヤの搬送面を横切って物品を移動させるための方法は、(a)コンベヤの幅に渡って空間的または時間的に変化する磁場を生成する。 (b)変化する磁場とコンベヤの幅に渡って移動子を前へ押し進めるためのコンベヤに取り付けられた移動子に結合する磁場、および(c)搬送面の幅を横切って物品を移動する移動子でコンベヤの搬送面上の物品を係合する。
本発明のこれらの態様および特徴は、以下の詳細な説明、特許請求の範囲、並びに添付図面によってより詳細に説明される。
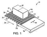
本発明の特徴を具体化する転換コンベヤの等角図である。 図1に於けるようなコンベヤに使用可能なベルトモジュールの一態様の等角図である。 図2のベルトモジュールの3−3線に沿って切り取られた断面図である。 図1に於けるが如きコンベヤ用の移動子の等角図である。 図1に於けるが如きコンベヤに用いられる移動子の底面図であり、その底部に永久磁石を有する。 図1に於けるが如きコンベヤに用いられる、別の移動子の底面図であり、その底部にハルバッハ配列磁石を有する。 図1に於けるが如きコンベヤに用いられるもう一つの移動子の等角図で、線形固定子によって駆動する歯状の線形回転子を有する移動子を表す。 ソーター(選別機)としてのコンベヤの逐次操作を説明する図1に於けるが如きコンベヤに用いられる移動子の等角図である。 ソーター(選別機)としてのコンベヤの逐次操作を説明する図1に於けるが如きコンベヤに用いられる移動子の等角図である。 ソーター(選別機)としてのコンベヤの逐次操作を説明する図1に於けるが如きコンベヤに用いられる移動子の等角図である。 ソーター(選別機)としてのコンベヤの逐次操作を説明する図1に於けるが如きコンベヤに用いられる移動子の等角図である。 図1に於けるが如きコンベヤに使用可能なベルトモジュールの等角図であり、移動子が伸長された位置から後退位置へ倒されている。 図9に於けるが如くベルトモジュールにおける使用のための移動子の等角図である。 移動子が後退位置にあることを示す、図9のベルトモジュールの外側端部の等角図である。 移動子が伸長位置から後退位置へ移動することを示す、図9のベルトモジュールの外側端部の拡大図である。 移動子が伸長位置から後退位置へ移動することを示す、図9のベルトモジュールの外側端部の拡大図である。
本発明の特徴を具現化するコンベヤの一部が図1に示されている。コンベヤ20は、ベルト24の走行方向にベルトが進むベルトコンベヤ22を含む。当該ベルトは、モータ駆動ドラム、プーリー、またはスプロケットのような任意の従来の駆動手段(図示せず)によって駆動されてもよい。図示の例では、コンベヤベルトは、ヒンジ接合部28で一緒に連結された列に配置された一連のベルトモジュール26から構成されたモジュール式のプラスチックコンベヤベルトであるが、スラットのベルトは、代替的に使用することができる。コンベヤベルト22は、第1外側縁部30から反対側の第2外側縁部31に幅が拡張する。幾つかの、または全てのモジュール−図1の実施例において全て−は、モジュールの幅を横切って横方向に延びる軌道32を持っている。図1および図2に示すように、シュー、より一般的に、移動子34は、それぞれのベルトモジュール26の軌道32に留め置かれる。移動子は、軌道に沿って両方向36にスライドすることができる。各モジュールの反対端部のヒンジ要素37は、隣接するモジュールのヒンジ要素と交互に配置され、ヒンジピン39によって連結され、隣接する列の間にヒンジ接合部28を形成する。コンベヤベルト22の上側搬送経路の下に位置する磁場源38は、図1の双頭の矢印40によって示されるように、いずれかの方向でコンベヤの幅に渡って空間的または時間的に変化する磁場または電磁場を生成する。変化する磁場は、移動子34における金属材料と相互作用し、カムに導かれた転換機に存在する非接触のベルトの幅に渡って移動子を押し進める。移動子は、選択された横方向の位置にまたは完全にベルトの側から離れてベルトを横切ってベルトの上部搬送面44の上に運ばれた物品42を逸らす。磁場源は、コンベヤの長さに沿った選択された位置に設置することができ、追加の転換(逸らし)区域または移動子リターンゾーンを提供する。
図3および4に示されるように、移動子はベルトの上部搬送面44の上のプッシャー部46を有する。プッシャー46は、本実施例の曲面として示された接触面48を有する。プッシャーの反対側は、平坦面50を有する。プッシャー部46は、留め置かれ、中間シャンク(軸または脚部)54によってベース(基部)52に接続されている。ベース52は、逆T字形状の溝56内のベルトモジュール26の幅を横切って横方向に載置する。べースは、この例では、逆T字状溝のベース(基部)58に載置するスキッド52として機能する。狭いシャンク(脚部)54は、逆T字状の溝の垂直枝部を通じてスキッドから上方に延び、当該枝部は、上部搬送面44に開口し、横方向の軌道32を形成する。ベルトモジュール26の内部に形成された肩部60は、スキッドを溝に保持する。スキッド52の上側と下側に形成された隆起部62は、溝のベース58を境界する壁との摩擦を減少し、溝の移動子のぐらつきをも減少する。プッシャーの代わりに、移動子は物品の底部に係合する平らな水平上部接触面と支持板を持つことができ、移動子の接触面の上に座する物品を逸らす。
スキッド52は、強磁性または導電性の金属要素を含む。前記要素は、スキッドに収容された金属板64の形態であり得、プラスチック結合剤と組合され、スキッドを形成するために成形された金属材料であることができる。金属板64はまた、増加した力のために、導電性材料上に層状になった強磁性材料から作り得る。別の例として、金属要素は、図5のようにベース68内に包囲されるか、または、それに取り付けることができる、永久磁石66であり得る。図6に示すように永久磁石70は、ハルバッハ配列72にベース68で配置することができ、コンベヤベルトの底部と磁場源に向かって、その磁場を集中させる。そして、図7に示す例において、金属要素は、強磁性線形回転子の形態であり得るか、または極を形成する一連の歯76を有する、フォーサ74であり得る。この場合、図1のコンベヤ20に使用される磁場発生器38は、歯76と一致する極80を有するステータ78を備え、ロータ74と、線形可変リラクタンスモータまたは線形ステッパーモータを形成する。図5および6の移動子は、その金属要素が永久磁石であり、線形固定子を持つ磁場源によってコンベヤベルトを横切って横方向に駆動され、磁石と相互作用する移動磁場を生成するように電圧を付加される。直線状のステータは、同期ACモータまたはブラシュレスDCモータのように永久磁石フォーサで操作することができる。導電性金属要素が移動子に使用される場合、磁場発生器は、導電性金属要素に電流を誘導する移動磁場を生成する線形ステータを有している。誘導電流は、軌道に沿って移動子の推進力を発生させる、移動磁場と相互作用する、移動子に磁場を生成する。この場合、磁場発生装置の固定子と移動子の導電性フォーサは、リニア誘導モータを形成する。
ソータコンベヤ20の動作は、図8A〜8Dに示されている。図8Aにおいて、物品42は、ベルト24の走行方向に搬送ベルト22によって搬送される。全ての移動子は、ベルトの一方の側のそのリセット位置に示されている。図8Bにおいて、磁場源38は、コンベヤと交差し、矢印82の方向に、コンベヤを横切って変化する磁場を生成するべく活性化される。移動子34中の金属要素との磁場の相互作用は、その横の軌道32に沿って移動子を前へ押し進める力を生成する。移動子の接触面48は物品42と係合し、矢印84の方向にコンベヤベルト22の上搬送面26を横切って、当該物品を押し出す。図8Cにおいて、物品42は、移動子34によりコンベヤベルト22の側部に押し出されるように示されている。図8Dにおいて、磁場源38は、ベルトの反対側のそのリセット位置に移動子34を戻すように反対方向86に変動する磁場を発生する。
図1のようコンベヤに使用できるコンベヤベルト・モジュールの別の態様は、図9−12に示されている。ベルトモジュール88は、同じ軌道92に載る、2個の移動子90、91を有する。移動子の接触面は平らに示されている。二つの面94,94’は、モジュールを横切って互いに対向する。図10に示すように。各移動子は下部ベースまたはシャンク100によって仲介されたスキッド98に接続された上部プッシャー96を持っている。一対の案内ピン102および一対のピボットピン104は、シャンクの側から伸びる。シャンクはまた、スキッドから離れて伸びるタブ106を含む。スキッド98の一端には、ピボットピン104は、スキッドの一端部のヒンジの目108で受け止められる。図9の矢印110、111によって示されるように、プッシャー96とシャンク100はスキッド98に対して旋回することを可能にされる。前記軌道92は、図3のように逆T字形の溝状に形成されるが、図11と12Bに最も良く示されるように、案内溝112と共に、基部58とモジュール88の上部搬送面113との間に、基部58に対して平行に形成される。移動子の案内ピン102が案内溝112に受け入れられる。案内溝112は、軌道92の各端部に下方に湾曲する湾曲部114を有する。案内溝の下向きの曲線は、プッシャー96とシャンク100を、モジュールの外側エッジ118のそれぞれにおける凹部116にフラットに載るまで、強制的にヒンジで回動させる。図11に示すように、移動子90は、その後退位置で示されている。引っ込められたプッシャー96の平坦な接触面94’は、ベルトモジュールの上部搬送面113のレベル略面一、またはそのレベル以下である。移動子90が後退位置に折り畳まれると、別の移動子91は、プッシャー96の平坦面94’に沿って後退させられた移動子90の上をベルトの側面から物品を押し出すことができる。図12Aおよび12Bは、ベルト全体に渡って物品を押し出すための拡張位置に起こされた移動子のプッシャー96を示している。磁場が、矢印120の方向に軌道に沿って移動子を強制したように、案内溝の湾曲部に乗り上げた案内ピンは、矢印110によって示されるように、その接合部で移動子90を図中の折り畳まれていない、図12Bにおける起立位置に回転させる。旋回可能なプッシャーを持つ移動子は、従来のカム案内式転換コンベヤ、並びに前述した磁気駆動移動子に使用し得る。
本発明のコンベヤは、動力駆動のコンベヤ、特にシュー型転換コンベヤに応用される。

Claims (18)

  1. 以下からなるコンベヤ:
    以下を含むコンベヤベルト:
    ベルトの進行方向に対して横方向にコンベヤベルトを横切って伸びる複数の軌道;
    前記軌道に保持された複数の移動子で、コンベヤベルトを横切る前記軌道に沿って
    移動し、前記移動子は、運搬物を係合するための接触面を有し;
    前記移動子と相互作用をする磁場を提供する磁場源であって、前記磁場は軌道に沿って移動子を押し出し、そうして前記接触面に係合する運搬物をコンベヤベルトを横切る横方向に押し出し;
    更に、前記コンベヤベルトは、上部搬送面を含み、軌道は上部搬送面に開口するコンベヤベルト内の横断溝を備え、前記移動子は前記溝内に存在する金属要素を含み、前記接触面は上部搬送面または上部搬送面の上に存在する
  2. 前記移動子が導電性である金属要素を含み、磁場源は、ステータによって駆動されるフォーサとして動作する金属要素でリニア誘導モータを構成するステータを含む、請求項1のコンベヤ。
  3. 前記移動子が、永久磁石である金属要素を含み、磁場源は、ステータによって駆動されるフォーサとして動作する金属要素でリニア同期モータを構成するステータを含む、請求項1のコンベヤ。
  4. 前記移動子は、ハルバッハ配列に配置された永久磁石である金属要素を含み、磁場源は、ステータによって駆動されるフォーサとして動作する金属要素で、リニア同期またはブラシレス直流モータを構成するステータを含む金属要素を含む、請求項1のコンベヤ。
  5. 前記移動子が、プラスチック結合剤と組合され、成形され、移動子の少なくとも一部を形成する、強磁性材料から作られる金属要素を含む、請求項1のコンベヤ。
  6. 前記移動子が、導電性材料又は強磁性材料で作られた金属要素を含む、請求項1のコンベヤ。
  7. 前記移動子は、強磁性材料から作られ、一連の歯を有する金属要素を含み、前記磁場源は、金属要素を有するモータを形成する、前記歯とマッチングする極を有するステータとを含む、請求項1に記載のコンベヤ。
  8. 前記移動子が金属板を含む、請求項1のコンベヤ。
  9. 前記溝が逆T字形状を有し、前記移動子は金属要素を含む基部を含み、そして前記移動子は基部と接触面間を接続するシャンク(脚部)を含み、前記基部は、逆T字形状の溝に滑動可能に保持されている、請求項のコンベヤ。
  10. 前記移動子が接触面の下に配置された金属要素を含み、磁場源は、間隙を横切って前記コンベヤベルトの下に配置され、前記コンベヤベルトに接近する、請求項1のコンベヤ。
  11. 前記コンベヤベルトが上部搬送面を有し、前記移動子が、接触面がその上に形成されるプッシャーを含み、移動子の伸張位置の上部搬送面を横切って運搬物を押し出し、移動子上のヒンジは、プッシャーが上部搬送面の、またはその下のレベルまで、後退位置に折り畳まれるのを可能にする、請求項1のコンベヤ。
  12. 前記プッシャーが後退位置にあるときに、前記接触面が上部搬送面のレベルと面一か、それ以下において平坦である、請求項11のコンベヤ。
  13. 各軌道に2つの移動子を含むコンベヤであって、それぞれのプッシャーは前記コンベヤベルトの各々の外側端部において折り畳まれ、他方のプッシャーが運搬物を折り畳まれたプッシャーの上に側部端から押し離すことを可能にする、請求項11のコンベヤ。
  14. 以下からなるコンベヤ:
    上部搬送面を有するコンベヤベルトで、以下を含む:
    ベルトの進行方向に対して横方向にコンベヤベルトを横切って伸びる複数の軌道;
    前記軌道に保持された複数の移動子で、コンベヤベルトを横切る軌道に沿って移動し、前記移動子は、運搬物に係合するための接触面を有し;
    ここで、前記移動子は、接触面がその上に形成されるプッシャーを含み、移動子の伸張位置の上部搬送面を横切って運搬物を押し出し、さらにプッシャーを上部の搬送面、或いはそれ以下のレベルの移動子の後退位置において折り畳むことを可能にする移動子上のジョイントを含む。
  15. プッシャーが後退位置にあるときに、前記接触面が、上部搬送面のレベルと面一で平坦であるか、または前記上部搬送面のレベル以下において平坦である、請求項14のコンベヤ。
  16. 各軌道に2つの移動子を備え、それぞれのプッシャーは前記コンベヤベルトの各々の外側端部において折り畳まれ、他方のプッシャーが運搬物を折り畳まれたプッシャーの上に側部端から押し離すことを可能にする、請求項14のコンベヤ。
  17. 移動子を軌道に沿って、そしてコンベヤベルトを横切って横に伸長位置にある接触面に係合された搬送物を押出すように移動子と相互作用する磁場を提供する場源をさらに備えた、請求項14のコンベヤ。
  18. コンベヤの搬送面を横切るように物品を移動する方法であって、以下からなる:
    コンベヤの巾に渡って空間的又は一時的に変動する磁場を作り;
    変動する磁場でコンベヤの巾を横切って移動子を押し進めるようにコンベヤに搭載された移動子へ磁場を結合し;
    搬送面の巾を横切って物品を移動するように、物品をコンベヤの搬送面上で移動子と係合させ
    前記移動子を、コンベヤの外側端部の搬送面のレベルへ、またはそのレベルの下へ移動子を下げる工程をさらに含む
JP2016501124A 2013-03-14 2014-03-11 磁気的に駆動される移動子を有する転換コンベヤ Active JP6340407B2 (ja)

Applications Claiming Priority (3)

Application Number Priority Date Filing Date Title
US201361781567P 2013-03-14 2013-03-14
US61/781,567 2013-03-14
PCT/US2014/022998 WO2014159317A1 (en) 2013-03-14 2014-03-11 Diverting conveyor with magnetically driven movers

Publications (3)

Publication Number Publication Date
JP2016511207A JP2016511207A (ja) 2016-04-14
JP2016511207A5 JP2016511207A5 (ja) 2017-04-06
JP6340407B2 true JP6340407B2 (ja) 2018-06-06

Family

ID=51625145

Family Applications (1)

Application Number Title Priority Date Filing Date
JP2016501124A Active JP6340407B2 (ja) 2013-03-14 2014-03-11 磁気的に駆動される移動子を有する転換コンベヤ

Country Status (5)

Country Link
US (1) US9371194B2 (ja)
EP (1) EP2969866B1 (ja)
JP (1) JP6340407B2 (ja)
CN (1) CN105026290B (ja)
WO (1) WO2014159317A1 (ja)

Families Citing this family (20)

* Cited by examiner, † Cited by third party
Publication number Priority date Publication date Assignee Title
US9908717B2 (en) * 2012-10-25 2018-03-06 Rexnord Industries, Llc Non contact active control conveying assembly
DE102015209613A1 (de) 2015-05-26 2016-12-01 Robert Bosch Gmbh Transportvorrichtung
US10752446B2 (en) * 2015-09-25 2020-08-25 Habasit Ag Hybrid modular belt
WO2018165489A1 (en) 2017-03-08 2018-09-13 Advanced Technology & Research Corp. Package sorting transfer module and systems and methods therefor
US10532894B2 (en) 2017-03-10 2020-01-14 Regal Beloit America, Inc. Modular transfer units, systems, and methods
CN106956887B (zh) * 2017-05-05 2022-09-30 北京京东乾石科技有限公司 立式分拣机
DE102017122232A1 (de) * 2017-09-26 2019-03-28 Krones Ag Linienverteiler mit Linearmotoren
WO2019078997A1 (en) * 2017-10-17 2019-04-25 Laitram, L.L.C. DEVICE FOR MOVING LIM BOXES
BR112020010279A2 (pt) 2017-11-22 2020-11-17 Regal Beloit America, Inc. unidades, sistemas e métodos de classificação modular
NL2020334B1 (en) * 2018-01-26 2019-07-31 Optimus Sorter Holding B V Sorting device with improved capacity
US10486917B1 (en) 2018-07-11 2019-11-26 Laitram, L.L.C. Conveyor-belt platform diverter
ES2966530T3 (es) * 2019-02-18 2024-04-22 Eurosort Bv Un clasificador de correa cruzada
EP3786089A1 (de) * 2019-08-26 2021-03-03 Siemens Aktiengesellschaft Vorrichtung und verfahren zum fördern und sortieren von stückgütern
FR3103800B1 (fr) * 2019-11-28 2021-11-12 Solystic Installation de tri d’articles tels que colis ou paquets avec un système de contrôle de position des articles par détection de contour
EP3835238A1 (de) * 2019-12-09 2021-06-16 Siemens Aktiengesellschaft Fördervorrichtung und verfahren zum stabilisierten fördern von stückgütern
CN112246657B (zh) * 2020-03-06 2021-12-31 北京京东乾石科技有限公司 分拣输送装置以及分拣输送系统
US11066244B1 (en) * 2020-05-13 2021-07-20 Amazon Technologies, Inc. Linear induction sorter
NL2026037B1 (en) * 2020-07-09 2022-03-15 Vanderlande Ind Bv System for sorting products.
US11174109B1 (en) * 2020-07-31 2021-11-16 Lafayette Engineering, Inc. Electromagnetic switch for sliding shoe sorter conveyor system utilizing multiple electromagnetic coils
CA3228713A1 (en) * 2021-08-19 2023-02-23 Trew, Llc Pusher element retention assembly for use with a sortation conveyor

Family Cites Families (31)

* Cited by examiner, † Cited by third party
Publication number Priority date Publication date Assignee Title
US3167171A (en) * 1963-09-03 1965-01-26 Sperry Rand Corp Checkweigher reject mechanism
US3731782A (en) * 1971-06-09 1973-05-08 Hi Speed Checkweigher Co Magnetic flow director
US4143752A (en) * 1977-03-21 1979-03-13 Hi-Speed Checkweigher Co., Inc. Multiple distribution conveyor system
GB2114083B (en) * 1982-01-29 1985-11-06 Metal Box Plc Guiding articles between a single common path and a plurality of other paths
JP3051230B2 (ja) * 1991-11-28 2000-06-12 マブチモーター株式会社 小型モータ用固定子の製造方法
US5409095A (en) * 1992-07-30 1995-04-25 Toyokanetsu Kabushiki Kaisha Sorting apparatus
JPH0761570A (ja) * 1993-08-26 1995-03-07 Sanki Eng Co Ltd リニアモータを用いた貨物仕分け装置
JP2683317B2 (ja) 1993-11-19 1997-11-26 マルヤス機械株式会社 コンベア
US5927465A (en) 1996-10-08 1999-07-27 Mannesmann Dematic Rapistan Corp. Conveyor sortation system with parallel divert
US5732814A (en) * 1996-12-04 1998-03-31 Mannesmann Dematic Rapistan Corp. Method and apparatus for reducing noise and wear in a conveyor transition section
US5921378A (en) * 1997-01-22 1999-07-13 United Parcel Service Of America Automatic lateral translation conveyor
US5967289A (en) 1997-03-06 1999-10-19 Ziniz, Inc. Electromagnetic switch for diverting objects in high speed conveyors
US6044956A (en) * 1998-07-01 2000-04-04 Fki Industries, Inc. Sortation conveyor system for high friction articles
NL1010989C2 (nl) 1999-01-11 2000-07-13 Ebm Techniek Bv Verdeelinrichting.
US6615972B2 (en) 2000-04-27 2003-09-09 Rapistan Systems Advertising Corp. Sortation system diverter switch
EP1373109B1 (en) 2000-09-28 2006-06-21 Siemens Aktiengesellschaft Positive displacement shoe and slat sorter apparatus and method
EP1353867A2 (en) 2001-01-22 2003-10-22 Crisplant A/S Sorter conveyor
US6951274B2 (en) * 2001-06-07 2005-10-04 Rapistan Systems Advertising Corp. Tiered control architecture for material handling
US20030132143A1 (en) 2002-01-11 2003-07-17 Cochran Gary D. Sortation system magnetic diverter
US6705452B2 (en) 2002-05-13 2004-03-16 Laitram, L.L.C. Article-diverting conveyor belt and modules
US6802412B2 (en) 2002-11-19 2004-10-12 The Laitram Corporation Conveyor with a motorized transport element
DE10354777B4 (de) * 2003-11-21 2008-03-27 Sult Gmbh Sortiereinrichtung zum Sortieren von unterschiedlichen Stoffen
DE102004008330A1 (de) * 2004-02-20 2005-09-29 Robert Bosch Gmbh Einrichtung zum Verschieben oder Einschieben von Gegenständen
ATE398496T1 (de) 2004-09-23 2008-07-15 Dematic Corp Zwangsverschiebungssortierer
US8502422B2 (en) 2007-04-16 2013-08-06 Crisplant A/S Sorting system with linear synchronous motor drive
JP5104119B2 (ja) * 2007-08-09 2012-12-19 株式会社村田製作所 部品整列装置
JP5387891B2 (ja) * 2009-03-03 2014-01-15 村田機械株式会社 仕分け装置
RU2011139221A (ru) 2009-03-16 2013-04-27 Лэйтрэм, Эл.Эл.Си. Конвейерное ленточное устройство и способ, в которых используются приводимые в действие магнитами ролики
DE102009014251B4 (de) 2009-03-20 2010-12-30 Siemens Aktiengesellschaft Behälterförderanlage zum Transportieren von Stückgütern, insbesondere von Gepäckstücken
JP5527426B2 (ja) * 2010-11-16 2014-06-18 株式会社安川電機 リニアモータ
US8985304B2 (en) * 2012-07-05 2015-03-24 Laitram, L.L.C. Cleanable diverter

Also Published As

Publication number Publication date
EP2969866A1 (en) 2016-01-20
EP2969866B1 (en) 2022-04-27
US20160001978A1 (en) 2016-01-07
US9371194B2 (en) 2016-06-21
WO2014159317A1 (en) 2014-10-02
EP2969866A4 (en) 2016-09-28
CN105026290A (zh) 2015-11-04
JP2016511207A (ja) 2016-04-14
CN105026290B (zh) 2017-09-12

Similar Documents

Publication Publication Date Title
JP6340407B2 (ja) 磁気的に駆動される移動子を有する転換コンベヤ
JP2016511207A5 (ja)
CN111527036B (zh) 卫生磁性托盘及输送机
US20150034455A1 (en) Conveyor having rollers actuated by electromagnetic induction
US6669001B1 (en) Linear belt sorter and methods of using linear belt sorter
CN105712090B (zh) 用于输送产品的输送设备
CN106458458B (zh) 用于输送机的无触摸引导装置
US12122619B2 (en) Magnetic tray router
CN106573737A (zh) 可清洁的分流机
WO2008098785A3 (de) Fördereinrichtung zum transport von fördergutträgern längs einer förderstrecke
US9988214B2 (en) Radius conveyor with magnetic bearing
JP7161524B2 (ja) 受動ガイドレールを有するモノレールトレイコンベヤ
EP1585693B1 (en) Chain module and modular conveyor chain
JP4935724B2 (ja) 搬送設備

Legal Events

Date Code Title Description
A521 Request for written amendment filed

Free format text: JAPANESE INTERMEDIATE CODE: A523

Effective date: 20151001

A521 Request for written amendment filed

Free format text: JAPANESE INTERMEDIATE CODE: A523

Effective date: 20170306

A621 Written request for application examination

Free format text: JAPANESE INTERMEDIATE CODE: A621

Effective date: 20170306

A521 Request for written amendment filed

Free format text: JAPANESE INTERMEDIATE CODE: A523

Effective date: 20170314

RD02 Notification of acceptance of power of attorney

Free format text: JAPANESE INTERMEDIATE CODE: A7422

Effective date: 20171030

A977 Report on retrieval

Free format text: JAPANESE INTERMEDIATE CODE: A971007

Effective date: 20171116

RD02 Notification of acceptance of power of attorney

Free format text: JAPANESE INTERMEDIATE CODE: A7422

Effective date: 20171213

A131 Notification of reasons for refusal

Free format text: JAPANESE INTERMEDIATE CODE: A131

Effective date: 20180109

A521 Request for written amendment filed

Free format text: JAPANESE INTERMEDIATE CODE: A523

Effective date: 20180312

TRDD Decision of grant or rejection written
A01 Written decision to grant a patent or to grant a registration (utility model)

Free format text: JAPANESE INTERMEDIATE CODE: A01

Effective date: 20180501

A61 First payment of annual fees (during grant procedure)

Free format text: JAPANESE INTERMEDIATE CODE: A61

Effective date: 20180514

R150 Certificate of patent or registration of utility model

Ref document number: 6340407

Country of ref document: JP

Free format text: JAPANESE INTERMEDIATE CODE: R150

R250 Receipt of annual fees

Free format text: JAPANESE INTERMEDIATE CODE: R250

R250 Receipt of annual fees

Free format text: JAPANESE INTERMEDIATE CODE: R250

R250 Receipt of annual fees

Free format text: JAPANESE INTERMEDIATE CODE: R250

R250 Receipt of annual fees

Free format text: JAPANESE INTERMEDIATE CODE: R250

R250 Receipt of annual fees

Free format text: JAPANESE INTERMEDIATE CODE: R250