JP6301351B2 - 誘導発電機及び誘導発電機を使用する電流発生方法 - Google Patents

誘導発電機及び誘導発電機を使用する電流発生方法 Download PDF

Info

Publication number
JP6301351B2
JP6301351B2 JP2015541099A JP2015541099A JP6301351B2 JP 6301351 B2 JP6301351 B2 JP 6301351B2 JP 2015541099 A JP2015541099 A JP 2015541099A JP 2015541099 A JP2015541099 A JP 2015541099A JP 6301351 B2 JP6301351 B2 JP 6301351B2
Authority
JP
Japan
Prior art keywords
coil
induction generator
air flow
pole portion
flow path
Prior art date
Legal status (The legal status is an assumption and is not a legal conclusion. Google has not performed a legal analysis and makes no representation as to the accuracy of the status listed.)
Expired - Fee Related
Application number
JP2015541099A
Other languages
English (en)
Other versions
JP2016500243A (ja
Inventor
ラフ エドゥアルト
ラフ エドゥアルト
Current Assignee (The listed assignees may be inaccurate. Google has not performed a legal analysis and makes no representation or warranty as to the accuracy of the list.)
ZF Friedrichshafen AG
Original Assignee
ZF Friedrichshafen AG
Priority date (The priority date is an assumption and is not a legal conclusion. Google has not performed a legal analysis and makes no representation as to the accuracy of the date listed.)
Filing date
Publication date
Application filed by ZF Friedrichshafen AG filed Critical ZF Friedrichshafen AG
Publication of JP2016500243A publication Critical patent/JP2016500243A/ja
Application granted granted Critical
Publication of JP6301351B2 publication Critical patent/JP6301351B2/ja
Expired - Fee Related legal-status Critical Current
Anticipated expiration legal-status Critical

Links

Images

Classifications

    • HELECTRICITY
    • H02GENERATION; CONVERSION OR DISTRIBUTION OF ELECTRIC POWER
    • H02KDYNAMO-ELECTRIC MACHINES
    • H02K35/00Generators with reciprocating, oscillating or vibrating coil system, magnet, armature or other part of the magnetic circuit
    • H02K35/04Generators with reciprocating, oscillating or vibrating coil system, magnet, armature or other part of the magnetic circuit with moving coil systems and stationary magnets
    • HELECTRICITY
    • H02GENERATION; CONVERSION OR DISTRIBUTION OF ELECTRIC POWER
    • H02KDYNAMO-ELECTRIC MACHINES
    • H02K7/00Arrangements for handling mechanical energy structurally associated with dynamo-electric machines, e.g. structural association with mechanical driving motors or auxiliary dynamo-electric machines
    • H02K7/18Structural association of electric generators with mechanical driving motors, e.g. with turbines
    • H02K7/1892Generators with parts oscillating or vibrating about an axis
    • HELECTRICITY
    • H01ELECTRIC ELEMENTS
    • H01HELECTRIC SWITCHES; RELAYS; SELECTORS; EMERGENCY PROTECTIVE DEVICES
    • H01H2239/00Miscellaneous
    • H01H2239/076Key stroke generating power

Landscapes

  • Engineering & Computer Science (AREA)
  • Power Engineering (AREA)
  • Reciprocating, Oscillating Or Vibrating Motors (AREA)
  • Apparatuses For Generation Of Mechanical Vibrations (AREA)
  • Geophysics And Detection Of Objects (AREA)
  • Connection Of Motors, Electrical Generators, Mechanical Devices, And The Like (AREA)
  • Reciprocating Pumps (AREA)

Description

本発明は、誘導発電機及び誘導発電機を使用する電流発生方法に関するものである。
例えば無線スイッチに使用されている、すでに既知の電磁エネルギ変換器は、基本的に常に同一の原理を使用している。永久磁石を備えた磁石システムが動くこと、又は磁心自体が動くことにより、磁石回路内の磁束に急激な変化が引き起こされ、これにより磁心上に静止して位置するコイルに、誘導により電気エネルギを発生させるというものである。一般的にこのシステムは、切換え過程の間、磁石回路における複雑な磁気極性反転を使用している。
ドイツ国特許出願公開第10112072号公報は、操作ユニットを備えたスイッチ素子を開示している。操作ユニットは、操作ユニットの動きをエネルギ変換器に伝達可能であるよう、レバー機構を介し、スイッチ素子のエネルギ変換器と作動接続する。これによりエネルギ変換器は、操作ユニットの作動のための機械エネルギの少なくとも一部を、電気エネルギに変換する。
ドイツ国特許出願公開第10112072号公報
こうした背景に鑑み、本発明の独立請求項により、改良型の誘導発電機及び改良型の電流発生方法が提案される。有利な実施形態は、従属請求項及び以下の記述から明らかとなる。
誘導発電機に関しては、以下の関係性により電気エネルギが算出される。
Ee = Em - Ev
Ev = Evm + Evmg + Eve
この場合、以下のとおりである:
Ee = 電気エネルギ
Em = 機械エネルギ
Ev = 損失エネルギ
Evm = 機械的損失エネルギ
Evmg = 磁気的損失エネルギ
Eve = 電気的損失エネルギ
エネルギ変換のために、実質的により重い磁石システムに替えて、発電機のコイルを動かした場合、誘導発電機の出力を著しく向上可能であるという事実に加えて、電流発生のために、コイルの巻回部外周の可及的に広い部分を磁場にさらした場合、誘導発電機の効率性が更に大幅に向上可能であるという知見が、特に重要である。例えば、コイルの巻回部の全体、ほぼ全体、四分の三、又は三分の二を超えて、磁場にさらすことが可能である。従って、すなわち巻回部領域の抵抗損失を効果的に低減可能であり、これによりエネルギ収率の向上を達成可能である。上述の構想により、両方のアプローチ、つまり磁石システムに替えてコイルを動かす、並びに可及的にコイルの全体へ磁場を行き渡らせることを組み合わせて実行可能であり、特に出力の優れた誘導発電機を実現可能である。
ここで提案された発明の実施形態に従って考えられた誘導発電機は、例えば無線ウォールスイッチ、ライトスイッチ又は類似の設置スイッチのような、作動方向が構成体に対して垂直となるべき、平坦なタイプの部品を備えた機器における使用に適する。なぜなら、ここで提案された構想においては、パワーフローの向きを追加的に機械で変更する必要がないためである。従って、効率性を更に向上可能である。
運動エネルギ又は移動によるエネルギに関しては、以下の関係性が適用される。
Ekin. = 0.5 × m× v2
この場合、以下のとおりである:
Ekin. = 運動エネルギ
m = 質量
v = 速度
発電機の電気エネルギは、以下のように算出される:
Eel. = U2 × t/R
この場合、以下のとおりである:
Eel. = 電気エネルギ
U = 電圧
t = 時間
R = 電気抵抗
v ≒ U
そのため、質量又は時間を高めることに替えて、速度又は電圧を高めることに注力することが、鉄回路の磁束密度を高めるのが可能なのは、本質的に或る程度までである、という事実を特に考慮するとより効果的である。なぜなら、磁気的に柔らかい最善の材料でも、約2.4Tの最大磁束密度のみが達成可能であるためである。もちろん、磁束密度又は磁場を可及的に高く維持することが望ましいが、費用の観点からも、磁束密度を1.8乃至2.0Tの領域内で選択することが有意義であろう(Fe,FeSi)。コイルの抵抗を低減することも、エネルギを得るために、更にプラスの作用を及ぼす可能性がある。
本発明の複数の実施形態により、電磁エネルギ変換の効率性を決定的に改善可能である。それにより、鉄回路の比較的重い素子である磁石又は磁心を、短い経路上で可及的速やかに加速し、サイクルの最後で可及的速やかに制動するステップが省略可能である。
ここで提案された構想により、さもなくば、はね返る際に無駄になってしまうエネルギの大部分を変換可能である。更に、騒音の発生が低減され、発電機の寿命を延ばすことが可能である。ここで提案された誘導発電機の効率性が高いのは、比較的重く、可動の磁石システムを加速するための力を、もはや必要としないという事実によるところが特に大きい。副次的な作用として、可動部分の線状の支承部における機械的損失、並びに、比較的固有周波数が低いことに起因して、システムが実際の振動スペクトルにおいて不所望な共鳴振動に陥り、無線スイッチが不所望な無線信号に至りかねないエネルギを発生させる危険性が無くなる。
ここで提案されたアプローチにより、誘導コイルと共に作用する磁心又はコイル芯の極性を完全に逆転させることが不要になる。磁気損失は全く受けないか、又はあったとしてもごく僅かである。本発明の実施形態に従って構成された誘導発電機は、効率性を低減させる変速機及び機械的に敏感で複雑な構成を必要としない。
ここで提案された構想により設計された誘導発電機は、例えば自律型無線システム用に最適な電磁式エネルギ変換器を構成するための、全ての基準を組み合わせたものである。その基準の中には、構造空間が小さい、エネルギ密度が高い、効率性が高い、起動経路が短い、起動力が僅かである、騒音の発生が僅かである、エネルギ量が可及的に一定である、機能が作動速度に左右されない、温度変化に対する堅牢性、機械的堅牢性、並びに製造コストが低い、等か含まれている。
上述のアプローチは、自律型無線システムへの需要が高まりに対応したものである。自律型無線システムは、KNX-RF,ZigBe,Bluetooth(登録商標) Low Energy又はW-LANのような複雑な無線プロトコルを、高い送信性能を備え、及び複数回の繰り返しが可能であるよう実現すべき状況にある。こうしたことは、まれに見る高性能の発電機(0.7乃至2mWs)によってのみ可能である。この場合、既知のエネルギ変換器を単に大きくしても目的を達成することはできない。なぜならそうしたシステムは、操作力及び寸法が更に増大し、騒音の発生が増加しているため、その有用性が除外されるか又は非常に弱められているためである。以下に記述される誘導発電機は、小さな構成形状で大きなエネルギ収量が要求される、そうした適用領域のために使用可能である。
永久磁場を発生させる磁石配置と、環状のコイルと、ばね素子と、永久磁場が広がる空気流路と、を備える誘導発電機であって、磁石配置は、第1極部分と、第2極部分と、第1極部分と第2極部分の間に配置された磁石と、を備え、コイルが、ばね素子と接続され及び空気流路内に可動な状態で配置され、ばね素子が、コイルの偏向に対応して、空気流路内のコイルの振動運動が、空気流路内部の永久磁場の磁束を横切る向きに作用するよう構成されている誘導発電機において、空気流路が、環形状を備え及び環状のコイルの全体を受容するよう構成されていることを特徴とする誘導発電機である。
誘導発電機又は発電機とは、電磁誘導により電流又は電圧を発生させるよう構成された装置である。この種の誘導発電機は、例えば自律型無線スイッチと共に使用可能である。こうした自律型無線スイッチは、例えば照明装置のスイッチをオン及びオフするために使用される。磁石装置の構成部品は、例えば鉄、コバルト、ニッケル又はフェライト、又はこれらの金属の複数からなる合金を含むことが可能であり、静磁場、永久磁場を形成するよう構成される。磁石配置は一個の部分で構成可能であるため、第1極部分、第2極部分及びこれらの間の磁石は、外面的には、磁石配置において区別可能な個々の領域を構成できない。この場合、領域間の移行部は流動的とすることが可能で、その際、第1極部分又は第2極部分がN極を、及び対応する他の部分が磁石システムのS極を構成可能である。磁石の各半分を、磁石配置のN極部分及びS極部分に割り当て可能である。
代替的に、磁石配置は複数部分からも構成可能である。この実施形態により磁石を、独立した永久磁石、又はN極及びS極を備えた持続磁石として構成可能である。第1及び第2極部分は、例えば各1つの磁極片より構成可能である。その際、磁極片の一方は磁石のS極に境を接し、他方の磁極片は磁石のN極に境を接して配置可能である。磁極片は、高い導磁性を備えた材料、例えば鉄等から製造可能である。磁極片は、磁石の各々境を接する極の極性により磁性をつけられ、磁石の磁力線を規定の形状で出現させることが可能である。特に、第1及び第2極部分は異なる大きさ及び形状を備えることが可能である。
更に、空気流路の環形状は、円形、又は例えば矩形、三角形又は四角形等の角張った形状することが可能である。空気流路は、底部、内壁、及び内壁に対向する外壁を備える。空気流路の底部は、第1極部分により構成された、誘導発電機の基本面に対して平行に走ることが可能である。空気流路は、上方に向かって開放可能であるか、又は流路カバーで覆うことが可能である。空気流路の横断面は、一貫して同一の形状とすることが可能である。永久磁場の磁束は、磁石の極性により、空気流路の内壁から外壁へ、又は反対方向に、空気流路の外壁から内壁へ走ることが可能である。
環状のコイルとは、1本又は複数本の電気伝導体、例えば銅線の巻回部である。特に、空気流路の寸法に適合されたコイルの環形状は、環形状の空気流路に対応可能であるため、好適にも、空気流路の壁面及び底部から同様の間隔を空け、この間隔内にコイルを配置可能である。従って、環状のコイルをばね素子と接続可能であり、コイルはその巻回面に対して垂直に偏向可能な状態で、空気流路内に支承可能である。環状のコイルは、ばね素子により可能なコイルの振動運動が導かれるよう、誘導発電機の偏向手段により偏向可能である。振動運動とは弱められた揺動と理解可能であり、揺動の強度は、ばね素子の具体的な構造及び/又は具体的なばね力に左右され、時間と共に弱まり、最終的には止む。コイルが永久磁場の磁束を横切って振動することにより、コイルを構成する導体内で電流が発生可能である。特に、環状のコイルを心部無しで構成可能である。換言すると、コイルの巻回部をコイル巻回部支承部上で構成可能である。その際、コイル巻回部支承部は、保持可能又は固定可能な巻回部により環状のコイルを構成可能であるよう形成される。コイル巻回部支承部は、好適にはフレーム素子により構成可能であり、フレーム素子は一個部分又は複数部分で形成可能である。このようにして、特に重量を僅かに抑えてコイルを構成可能である。従って、コイルがごく僅かな抵抗に抗して、非常に迅速に静止位置から振動に移動可能であり、振動自体も非常に高い周波数を備えることができる。このようにして、誘導発電機の効率性も向上可能である。1つ又は複数のばね素子を使用可能である。ばね素子はコイルを支承し、コイルの振動運動を可能にする。ばね素子は、1つ又は複数の適切に構成されたばね、例えば屈曲ばね、引張ばね又は圧縮ばねとすることができる。ばね素子は、コイルを支承し、コイルの振動運動を可能にするよう構成可能である。
誘導発電機の一実施形態により、空気流路は少なくとも2つの、対向する壁面領域により区切られる。その際、壁面領域の一方の壁面領域は、第1極部分の壁部分により、壁面領域の他方の壁面領域は、第2極部分の側面により構成可能である。そのために、第1極部分、磁石及び第2極部分を、積層体を構成しつつ互いに重なり合って配置可能である。その際第1極部分は、好適には更に誘導発電機の底部又は基本素子を構成可能である。磁石配置の好適な設計に応じて、第1極部分の壁部分が空気流路の内壁を、及び第2極部分の壁部分が空気流路の外壁を構成可能、又は反対に第1極部分の壁部分が空気流路の外壁を、及び第2極部分の壁部分が空気流路の内壁を構成可能である。
例えば、第1極部分は磁石及び第2極部分を受容する鉢を形成可能である。その際、第1極部分の壁部分は、鉢状の第1極部分の外周縁領域により構成される。鉢を構成するために、第1極部分の外周縁領域は縁の形状で折り返され、折り返された領域は第1極部分の残りの領域に対して垂直に走る。その際、誘導発電機の中心に向いた又は径方向で内側に向いた壁部分が、空気流路の外壁を構成する。対応して、鉢の内部に配置された第2極部分の側面は、空気流路の外壁に平行して走る内壁を構成可能である。この場合、側面は径方向に外側を向く。この実施形態には、誘導発電機の外側領域に対して磁石を良好に保護する利点がある。
代替的に、磁石配置を環状に構成可能である。その際第1極部分は、磁石及び第2極部分を受容するハブ状の環状受容部を形成する。この場合第1極部分の壁部分は、第1極部分のシリンダ状の中心領域により構成されている。更に折り返された領域は、第1極部分の残りの領域に対して垂直に走ることができる。しかしその際、折り返された領域又は壁部分は、この場合には空気流路の内壁を構成し、残りの領域が、環状の磁石及び環状の第2極部分を受容する支承面を形成する。対応して、環状であり、シリンダ状の中心領域に搭載された第2極部分の内面は、空気流路の外壁を構成可能である。例えば、磁石配置を環状リングとして構成可能である。環状の磁石を使用すると省コストの材料を使用可能であるため、誘導発電機を特に省コストで製造できる。
特に、第1極部分のシリンダ状の中心領域は、中心領域を囲む残りの領域から、磁石及び第2極部分の材料強度に対応した高さを有することが可能である。換言すると、第1及び第2極部分の、同一方向を示す開放された表面側が同一面上にあり、それにより、最大の支承面又は接触面を備えた平坦又は滑らかな支承面が達成可能である。更に両極部分は、コイル及び磁石配置を保護する、適切に形成されたハウジングを構成可能である。
環状のコイルの巻回部は、空気流路に沿って走ることが可能であり、従ってコイルの導体は空気流路の底部に対して平行又は略平行に走ることが可能である。そのため、単純な方法で確実に、導体が常に永久磁場の磁束に対して横向きに配置され、永久磁場内で電圧を誘導可能である。
更に、ばね素子はコイルの振動運動がコイルの中心軸に沿って作用するよう構成可能である。コイルの巻回部がコイルの中心軸の周りを走るため、中心軸は、巻回部を含むコイルの巻回面に対して直交できる。対応して、振動の間のいかなる時点でも永久磁場の各磁束から離れることなく、環状のコイルが空気流路の壁面に対して平行又は略平行し、及び磁束に対して直角に、交互に空気流路に深く沈み及び再びはね返ることが可能である。従って振動運動により、単純な方法でコイルの巻回部において最大電圧を誘導可能である。
特に、永久磁場はトーラス状の磁場回路を構成可能である。この磁場回路の磁束は、空気流路を第1極部分と第2極部分の間で横切る。これにより、コイルの全体に磁場が浸透可能である。
誘導発電機の代替的な一実施形態により、空気流路は少なくとも2つの、対向する壁面領域により区切られる。その際、一方の壁面領域は磁石配置の壁部分により、他方の壁面領域は、磁石配置に対向して配置された、磁束リーダの壁部分により構成可能である。そのために、第1極部分、磁石及び第2極部分は、積層体を構成しつつ互いに重なり合って配置可能である。その際、この積層配置の側面は磁石配置の壁部分を構成可能である。磁束リーダは誘導発電機の構成部分することが可能であり、例えば鉄、コバルト、ニッケル又はフェライト、又はこれらの金属の複数からなる合金を含むことが可能で、磁石配置により発生された永久磁場が、一方の極部分から他方の極部分の部分へ導かれるよう構成可能である。誘導発電機の好適な設計に応じて、磁石配置の壁部分が空気流路の内壁を、及び磁束リーダの壁部分が空気流路の外壁を構成可能であるか、又は反対に、磁石配置の壁部分が空気流路の外壁を、及び磁束リーダの壁部分が空気流路の内壁を構成可能である。先に述べた設計は、後に述べた設計に比べよりコンパクトに構成可能であるため、特に好適である。
本発明のために、誘導発電機の中央又は中心から、誘導発電機の径方向で中心に近接する部分を内部とし、及びそれに対して、径方向で中心から離れた領域を外部と理解する。
特に磁束リーダは、磁石、第1極部分及び第2極部分の材料強度に対応した寸法を、積層体の積層軸に平行に走る方向に沿って備えることが可能である。従って、第1及び第2極部分は各々、磁束リーダの端部領域に対向して配置可能である。その際、磁束リーダに導かれる、永久磁場の部分は、磁石の極性次第で、両端部領域の一方の端部領域に受容され、その間に位置する中間領域を経て、両端部領域の他方の端部領域に導かれ、他方の端部領域に再び放射可能である。
好適には、磁石配置及び磁束リーダは環状に構成される。例えば、磁石配置及び磁束リーダを環状リングとして構成可能である。環状の磁石及び環状の磁束リーダを使用すると、省コストの材料を使用可能なため、誘導発電機を特に省コストで製造可能である。
更に好適には、環状のコイルは、2つの互いに間隔を空けた、例えば巻回電線である少なくとも1つの巻回体から構成された、対向して走る巻回部を備える。その際、一方の巻回部は、両極部分の一方の極部分と磁束リーダとの間で永久磁場の磁束を横切り、及び他方の巻回部は、両極部分の他方の極部分と磁束リーダとの間で永住磁場の磁束を横切り、振動して可動である。好適には、両巻回部は共通のコイル支承部上に配置される。コイル支承部は、両巻回部の各々のための巻回領域を備える。その際、両巻回部領域は、少なくとも1つの巻回体インバータにより互いに接続される。各巻回部領域は、好適には巻回路により形成される。その際巻回体インバータは、巻回路を接続する中間路により構成される。この場合中間路は、コイル支承部の周方向を示す接触面部分を形成する。接触面部分には、一方の巻回方向から他方の対向する巻回方向へ反転させるための巻回体が接触可能である。これにより、環状のコイルは右巻き及び左巻きの巻回部を備えることが可能である。巻回部は互いに作動接続し、及び更に好適には、1つの巻回体から構成される。これにより、磁石配置と磁束リーダとの間で対向する方向の永久磁場の磁束を、誘導電圧を発生させるために同時に取り上げ可能となり、これにより効率性が上昇する。
誘導発電機の一実施形態により、誘導発電機は磁石配置及びばね素子を支承するための支承構造を備える。その際、ばね素子の端部は、支承構造により固定された状態で保持可能である。この場合、磁石配置は支承構造に直接、又は例えば第1極部分を介して間接的に保持可能である。支承構造とは誘導発電機の1つの素子である。素子により、一方では誘導発電機をハウジングに固定可能であり、及び他方では誘導発電機により発生された電流を放出可能である。支承構造は、例えばプラスチックから製造可能であり、コイル−磁石システム−配置の側部領域が係合するよう構成可能である。ばね素子により、支承構造に対し、及び従って永久磁場に対しコイルを可動な状態で支承できる。この実施形態には、比較的重い磁石を、静止させて電流発生に使用可能である利点が特にあり、これにより騒音の発生が低減され、誘導発電機の寿命を延ばすことが可能である。ハウジング又は支承構造が重い磁石を加速することによる負荷に耐える必要が無いため、誘導発電機の構造寸法も同様に低減可能である。
これに対して代替的に、支承構造を、少なくともばね素子及び磁束リーダを支承するために装備可能である。その際ばね素子の端部は、支承構造により固定した状態で保持可能である。更に好適には、支承構造は環状に構成可能である。その際、環状のコイル−磁石システム−配置は支承構造の中心領域において受容可能であり、及び環状のコイルは、ばね素子の端部により偏向又は振動可能である。従ってばね素子により、支承構造に対し及び従って永久磁場に対し、コイルを可動な状態で支承できる。この場合、環状の磁束リーダは締め付けた状態で、支承構造により支承可能である。これは例えば、支承構造の中心領域に、圧入により磁束リーダを支承することで達成可能である。代替的又は追加的に、1つ又は複数の例えば吊り金具等の支承素子を介して、支承構造は磁束リーダを支承可能である。更に代替的又は追加的に、接着剤による接続を介して、支承構造は磁束リーダを支承可能である。更に代替的に、ねじ山を介して、支承構造は磁束リーダを支承可能である。更に代替的に、支承構造自体が、コイルに対向する領域に磁束リーダを形成可能である。支承構造は、例えばプラスチックから製造可能である。その際、支承構造の磁束リーダを形成する部分は、永久磁場の磁束を導く素子を備える。この場合、支承構造の磁束リーダを形成する部分全体を、磁束を導く素子により構成可能であり、支承構造の残りのプラスチック構造と接続可能である。これに対して代替的に、支承構造の磁束リーダを形成する部分は、プラスチック内に磁束を導く素子を埋め込み一体化する、又はプラスチック上にこうした素子を塗布することにより、プラスチックで形成可能である。こうした実施形態は、前述の利点を同様に備えるものである。
好適には、環状の支承構造は径方向に、磁束リーダを支承する第1支承リングを、及びこの径方向外側に境を接する第2支承リングを備え、第2支承リングは、ばね素子の端部と接触する。その際、第1支承リングは、径方向に直交する支承構造の中心軸に沿って、第2支承リングよりも小さく構成される。これにより、一方では磁束リーダがコイルに密着し、並びに他方では、径方向に走る大きな振動領域を、ばね素子のために提供可能である。
更に好適には、第2支承リングは中断された弓形部分を備え、弓形部分では、第1支承リングが径方向に露出される。これにより、操作領域を提供可能であり、操作領域において、コイルを偏向するための操作素子が支承構造の中心領域から突出可能である。
更に好適には、第2支承リングは、弓形部分において、径方向に対して直交する中心軸に沿って走る貫通部を備える。貫通部は、支承構造の表面から対向する表面に達する。これにより、表面間を接続可能である。この接続を、例えばコイル−磁石システム−配置の電気接触部を、コイル−磁石システム−配置の電気接触へと導くため、1つのみの表面から取り上げ可能である。
好適には、支承構造は径方向に、第2支承リングと径方向外側に境を接する閉鎖リングを備える。閉鎖リングは、径方向に対して直交する中心軸に沿って、第2支承リングよりも大きく構成されている。これにより、ばね素子を囲む面及びコイル−磁石システム−配置を保護するハウジングが構成可能である。
更に好適には、支承構造は、径方向に走る、支承構造の中心面に対して対称に構成されている。互いに対向する、支承構造の中心軸方向を示す表面の各々を、誘導発電機のための上下側として取り上げ可能であるため、支承構造の取り扱いが容易になる。
好適には、支承構造は磁石配置を支承するための支承素子を備える。支承素子は、第2支承リング又は閉鎖リングから径方向に、少なくとも支承構造の中心領域にまで延在する。更に好適には、支承素子は一個部品とし、支承構造と共に、例えば射出成形で形成する。これに対して代替的に、支承素子は支承構造に固定可能であり、又更に代替的には、支承構造に接触可能である。好適には、支承素子は支承構造のための底部を構成する。底部は少なくとも、コイル−磁石システム−配置を受容可能である支承構造の中心領域及び第1支承リングを覆うために装備される。これにより、コイル−磁石システム−配置が確実に保護可能である。これに対して代替的に、支承素子は追加的に、第2支承リング又は閉鎖リングを覆うために装備可能である。これにより、支承構造は支承素子に容易に接触可能となる。
好適には、支承構造は少なくとも、支承構造に受容可能なコイル−磁石システム−配置を電気接触させるための接触素子を備える。その際、接触素子は消費装置と連結可能である。消費装置とは、コイル−磁石システム−配置に発生されたエネルギを消費する各装置をみなす。更に好適には、接触素子は支承構造のためのカバー素子を構成する。その際カバー素子は、少なくとも支承構造の中心領域及び第1支承リングを覆うために装備される。これに対して代替的に、カバー素子は第2支承リング又は閉鎖リングを覆うために装備可能である。更に代替的に、接触素子は好適には、前述したような支承素子を構成可能であり、又はそうした支承素子と共に使用可能である。後者の場合、コイル−磁石システム−配置を支承構造にカプセル化可能であり、これにより良好な状態で保護可能である。
好適には、コイルはコイル支承部を備える。コイル支承部は、ばね素子の保持された端部に対向する、ばね素子の自由端と接続されている。好適には、コイル支承部は直接的に、又は代替的には少なくとも1つの更なる素子を介して、ばね素子の自由端に接続可能である。従ってコイル支承部を介して、ばね素子のばね力を、損失を僅かに押さえかつ均一にコイルに伝達可能である。同時にこの実施形態により、コイルで発生された電流を、例えばばね素子に一体化された接触部を介して集電すべく、ばね素子に容易に転送可能である。
更に好適には、コイル支承部はコイルを偏向するための操作素子を備える。操作素子は、例えば操作舌部の形状で構成可能であり、操作者の手が届き易く、かつコイルが静止状態から2つの対向方向の一方の方向に偏向可能であるよう配置可能である。操作素子を解除した後、コイルは振動運動を開始できる。
誘導発電機の一実施形態により、ばね素子は第1二重薄板ばね及び第2二重薄板ばねを備えることが可能である。この第1二重薄板ばね及び第2二重薄板ばねの間で、空気流路内で振動する状態でコイルを支承している。両二重薄板ばねは同様に構成可能である。二重薄板ばねは、2つの互いに接続された薄板曲げばねであり、コイルの巻回面に対して直交し、互いに重なり合って配置されている。個々の薄板曲げばねの間隔は、およそコイルの高さと対応させることが可能である。こうした配置においては、二重薄板ばねは二重平行四辺形を構成する。二重平行四辺形においては、互いに重なり合って配置されたばねは、巻回面に対して直交し、2つの対向する方向で変形可能であり、コイルはこの方向に沿って振動運動する。このように構成された二重平行四辺形の助けにより、コイルは、特に均一にかつ長く継続して振動可能である。これにより、誘導発電機の効率性を最大化できる。
更に、ばね素子はコイルの電気接触のための導電体を形成可能である。そのために、ばね素子の一部分は、振動運動によりコイルから供給される交流電流を集電するための接触素子を備える。従ってばね素子を、コイル内で誘導された電流を、例えばコイルと電力消費装置の間へと導くためにも使用可能である。有利なことにばね素子は、2つの互いに電気的に絶縁された部分を備えることが可能である。この部分を介して、コイルを電気接触させ、並びに誘導発電機の支承構造に対して可動な状態でコイルを支承可能である。例えば、コイルの電気接続部を、2つの二重薄板ばねを介して電気接触させることが可能であり、その際、二重薄板ばねは互いにに電気的に絶縁されている。このような実施形態により、分離型の集電器が省力可能であるため、構造空間を節約できる。
コイルの両側に配置された二重薄板ばねを、ばね素子並びにコイル支承部とする好適な適用例においては、コイル支承部は例えば2つの突起部を備えることが可能である。突起部の各々の内部に二重薄板ばねの端部が係合可能であり、コイル支承部を保持する。
二重平行四辺形によりコイルを支承することが有利ではあるが、必ずしも必須というわけではない。コイルを、例えば単純な板ばね又は膜により、振動する状態で支承することも可能である。曲げばね、引張ばね又は圧縮ばねを組み合わせた単純な線形支承部も可能である。この場合、二重薄板ばねは集電のために、柔軟性箔、滑り接触又は電線を使用可能である。
の代替的な一実施形態により、ばね素子は第1薄板曲げばね及び第2薄板曲げばねを備えることが可能である。第1薄板曲げばね及び第2薄板曲げばねの間で、コイルを空気流路内で振動する状態で支承可能である。両薄板曲げばねは同様に構成可能である。薄板曲げばねは、板ばねの基本形状から製造できる。例えば、薄板曲げばねの既定の形状を、板ばねの基本形状から穿孔により達成可能である。好適には、薄板曲げばねは保持可能な端部、及び保持可能な端部に対向する、コイル、特にコイル支承部を保持するための端部を備える。保持可能な端部は、支承構造に保持されるよう装備される。好適には、保持可能な端部は支承構造に接触可能であるよう装備される。自由端は、励振力の作用が加えられた後に、保持可能な端部に対して自在に振動するよう装備される。好適には、弧形のばねアームを介して、自由端が保持可能な端部に接続される。好適には、薄板曲げばねは環状に構成される。更に好適には、保持可能な端部は、少なくとも半円形の薄板曲げばねの縁部により構成され、縁部の端部領域から、弧形のばねアームが各々、薄板曲げばねの半円形の中心方向に、半円形の中心領域に配置された保持領域にまで、弧形に延長する。その際保持領域は、薄板曲げばねの自由端を構成し、コイル又はコイル支承部を保持するために装備される。更に好適には、保持領域は、薄板曲げばねの環状の中心部により構成される。好適には、中心部はシリンダ状のコイル支承部に固定可能であるよう構成される。更に好適には、中心部は対向する位置において弧形のばねアームに接続する。
更に好適には、薄板曲げばねはコイルを偏向するための操作素子を備える。操作素子は、例えば操作舌部の形状で構成可能であり、操作者の手が届き易く、かつコイルが静止状態から2つの対向方向の一方の方向に偏向可能であるよう配置可能である。操作素子を解除した後、コイルは振動運動を開始可能である。更に好適には、操作舌部は、弧形のばねアームが薄板曲げばねの環状の中心部に移行する領域に配置され、及び中心部に対向する方向に突出する。
好適には、個々の薄板曲げばねの間隔は、およそコイル又はコイル支承部の高さと対応させることが可能であり、その際、薄板曲げばねは互いに平行して配置されている。この配置において、各薄板曲げばねのばねアームは、コイルが振動運動するよう巻回面に対して斜めに変形可能である。両ばねアームの力の作用点が、中心部で互いに対向することにより、コイルが巻回面に対して直交する向きとなり、特に均一にかつ長く継続して振動可能である。これにより、誘導発電機の効率性を最大化できる。
しかし好適には、薄板曲げばねの各々がコイルの電気接触のための導電体を形成可能である。そのために、薄板まげばねの一部分が、振動運動によりコイルから供給される交流電流を集電するための接触素子を備える。好適には、接触素子は薄板曲げばねに配置される。更に好適には、接触素子は薄板曲げばねの基本形状を含む面から突出する。更に好適には、接触素子は自由端において、滑り接触部として形成される。更に好適には、第1及び第2薄板曲げばねの各自由端の滑り接触部は、共通面に配置される。これにより単純かつ効率的な方法で、コイル内で誘導された電流を、例えばコイルと電力消費装置の間へと導くためにも薄板曲げばねを使用可能である。更に、コイルの電気接触は、支承構造又はコイルの一つの側からのみ達成される。
誘導発電機の一実施形態により、誘導発電機はシリンダ状のコイル支承部を備える。コイル支承部上に、好適な薄板曲げばねを固定可能である。コイル支承部は、少なくとも1つの正面側の端部において、1つ又は複数の保持突起部を備える。保持突起部は、シリンダ体から径方向に突出し、薄板曲げばねの保持領域と接触するために装備される。更に好適には、コイル支承部は正面側の端部の領域に内径ねじを備える。内径ねじは、外径ねじを備えて構成された保持素子とねじ留めされるために、コイル支承部の正面側の端部に装備される。保持素子はそのために、好適にはシリンダ状で外径ねじを備えて構成され、及び更に好適には、外径ねじの開始部分に対向する端部に、1つ又は複数の保持突起部を備える。保持突起部は、径方向に、保持素子のシリンダ体から突出し、及び薄板曲げばねの保持領域と接触するために装備される。保持素子がコイル支承部上にねじ留めされることより、薄板曲げばねはコイル支承部の正面側の端部において、保持素子の保持突起部とコイル支承部の間に保持、又は締め付けた状態で固定可能である。更に好適には、コイル支承部は正面側の各端部に、上述したような保持素子を固定するための内径ねじを備える。
は、振動運動に起因してコイルから供給される交流電圧の初期極性を検出する、検出ユニットを備えることができる。初期極性は、偏向に続く振動運動の初期方向に依存し、従ってコイルの偏向方向に依存する。対応して検出ユニットは、振動運動に起因してコイルから供給される交流電流の初期方向を検出するよう構成可能である。これにより、例えば振動運動の準備のため、2つの対向方向のいずれにコイルが操作素子により偏向されたか決定できる。このようにして、いずれの方向に誘導発電機の操作素子が動かされたか認識できる。従って単純な方法で、例えばスイッチオン操作及びスイッチオフ操作を、例えば照明ユニットである誘導発電機と接続する装置に関して区別可能である。
誘導発電機を使用する電流発生方法であって、誘導発電機は、永久磁場を発生させる磁石配置と、環状のコイルと、ばね素子と、永久磁場が広がる空気流路と、を備える誘導発電機であって、磁石配置は、第1極部分と、第2極部分と、第1極部分と第2極部分の間に配置された磁石と、を備え、コイルが、ばね素子と接続され及び空気流路内に可動な状態で配置され、空気流路が、環形状を備え及び環状のコイルの全体を受容するよう構成されており、方法は:
コイルを、空気流路内のコイルの振動運動が、空気流路内部の永久磁場の磁束を横切る向きに作用するよう偏向するステップと、
コイルの振動運動に基づく電磁誘導により、コイル内で電流を発生させるステップと、
を備える方法である。
本明細書で提案された構想は、本明細書で提案された本発明の実施形態である方法のこうした形態においても、有利なことに実行可能である。
本発明は、添付の図面を参照して例示的に詳説される。
誘導システムの効率性を説明するための原理を示す図である。 本発明の実施形態による誘導発電機の原理を示す平面図である。 図2Aの誘導発電機の横断面図である。 図1A及び図1Bの誘導発電機の詳細を示す斜視図である。 図2Cの誘導発電機の側面図である。 図2C及び図2Dの誘導発電機のハウジング内の平面図である。 図2Eの誘導発電機の断面図である。 図2Eの誘導発電機の斜視的な上面図である。 図2Eの誘導発電機を斜視的な下面図である。 図2Hの誘導発電機の分解図である。 本発明の更なる一実施形態による誘導発電機の磁石システムの平面図である。 図3Aの磁石システムの横断面図である。 図3A及び図3Bの磁石システムの分解図である。 更なる一実施形態による誘導発電機の磁石システムの斜視的な平面図である。 図4の磁石システムの横断面の部分図である。 図4の磁石システムを囲むコイル振動システムの斜視的な平面図である。 更なる実施形態による誘導発電機の斜視的な平面図である。 図6のコイル振動システムの、巻回部を除いた状態の斜視的な側面図である。 図8のコイル振動システムの、巻回部を備えた状態の斜視的な側面図である。 コイル振動システムの更なる斜視的な側面図である。 本発明の実施形態による、誘導発電機を使用する電流発生方法のフローチャートである。
本発明の好適な実施形態に関する以下の記載において,種々の図面に記された類似の作用を有する素子に関しては同一又は類似の符号を使用し,これら素子を繰り返して記載することを控えている。
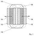
図1は、誘導システムの効率性を説明するための原理を示す図である。磁場において、矢印で示された振動する相対運動104を実行するコイル又は巻回部100が示される。異なる二重矢印は、コイル100の発振振幅106、コイル100において効果的に使用された巻回部長108並びに巻回部100の損失領域110を示す。作動中のコイル100は、矢印104で示された長手方向に振動するため、コイル100の両脚部は、磁場102の独立した対向部分112及び114に位置する必要がある。損失領域を構成する、コイル100の2つの部分は、この図においては上下に示され、この場合単に「連結器」及び「仕切り部」となる。この場合、巻回部100において誘発されたエネルギの一部分は、抵抗損失に規定され、巻回部100を構成する導体、例えば銅線において消去される。
以下の図面により、本発明による誘導発電機の原則的な構成を図示する。図に記載された代表的な誘導発電機は、特に自律型無線スイッチを作動するために使用可能である。
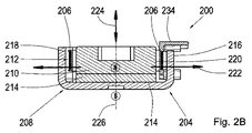
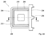
図2Aは、本発明の一実施形態による誘導発電機200の原理を示す平面図を示す。誘導発電機200は平面図で示される。環状のコイル206を支承するためのコイル支承部234が示される。コイル支承部234は、環状のコイル206を偏向するための操作素子236、並びにコイル206内で電圧を誘発させるために、環状のコイル206と作動接続する磁石配置204を含む。磁石配置204の第1極部分208と第2極部分110の間には空気流路112が走る。空気流路112は、コイル206のような環形状を備え、コイル206の全体を受容する。空気流路112部分並びにその中に配置されたコイル206は、図2Aにおいてはコイル支承部234に覆われている。図示のように、ここで示す誘導発電機200の実施形態においては、磁石配置204及びコイル206の両方共が矩形、すなわちほぼ正方形に構成されている。
図2Bは、本発明の一実施形態による、図2Aの線A−Aに沿った、図2Aの誘導発電機200の横断面図を示す。この図において誘導発電機200の構成を良く認識できる。第1極部分208及び第2極部分210は、この場合2つの、異なる形状の磁極片として構成されている。磁極片は、磁極片の間に位置する磁石214に接して配置されている。ここでは、第1磁極片208が磁石配置204のS極を、第2磁極片210が磁石配置204のN極を構成する。図示のように、第1磁極片208の外周縁領域を形成している壁部分は上方に曲げられ、第1磁極片208が鉢を構成する。この鉢の中心領域には、磁石214及び第2磁極片210が、互いに積層状に配置されている。ここでは、第2磁極片210がディスク状に構成され、その体積で、その下に位置する磁石214を覆っている。第1磁極片208の外周縁領域216及び第2磁極片210の上面は、同じ高さで完結するか、又は磁石配置204の、第1磁極片208と反対側の表面側で同一の表面を形成する。図2Bで示す誘導発電機200の実施形態においては、第1極部分208の、曲げられて周囲を走る壁部分216が、空気流路212の外壁を構成する。第2磁極片210の側面は、空気流路212の内壁220を構成する。対向する向きの矢印は、第1極部分208及び第2極部分210の間にある、磁石配置204により構成される永久磁場のトーラス状の磁場回路の磁束222を示す。磁石配置204の極性に対応して、図2Bで示す誘導発電機200の実施形態においては、この場合矢印で示されるように磁束222が空気流路212を内側から外側へ横断する。コイル206が休止状態にある場合、磁束222は、第1磁極片208の底部分に対して少なくとも実質的に平行し、及びコイル206の巻回面に対して少なくとも略平行する。以下の図面でより詳述されるばね素子により、コイル206は間隙又は空気流路212内で振動する状態で支承されている。コイル206は、コイル206の操作素子236を操作した後に、ローレンツ力を利用してコイル206の巻回部内で電流を発生させるために、二重矢印で示された振動する相対運動又は振動運動224を、点線で示されたコイル206の中心軸226に沿って行なう。
既述のように、磁石配置204により構成された誘導発電機200の磁石システムは、静止するよう構成されており、実質的に、鉢状の第1磁極片208とディスク状の第2磁極片210の間に位置する磁石214からなる。曲げられた縁領域216により構成された、鉢状の磁極片208の垂直の脚部は、ディスク状の第2磁極片210の上角部まで延在し、磁極片208,210の間に、間隙又は空気流路212が構成される。間隙212により磁石回路が閉鎖し、間隙212内に永久磁場が構成される。永久磁場は、誘導発電機200が作動している間、方向を反転しない。間隙212又は磁石システムは、円形、四角形、正方形等に構成可能である。図2A及び図2Bに示す例では、磁石システムは構成的又は経済的な観点から、正方形に構成されたが、誘導発電機200の構成は正方形に限定されない。誘導発電機200は必要に応じて、例えば三角形、矩形又は四角形、並びに円形又は楕円形の、任意の形状をとることが可能である。
間隙212内には、鉄心が無く軽量の、四角形の巻回部又はコイル206がある。コイル206の単数又は複数の電線は、第2磁極片210を包囲する。コイル206は、可動な状態で支承され、間隙212に沿う上下の相対運動224が可能である。巻回部206は、その略全長が第1磁極片208と第2磁極片210の間にあるため、巻回部206における抵抗損失は、従来技術比で最低にまで低減される。これにより効率性が更に向上し、構造空間の最小化を達成可能である。
図2Cは、本発明の一実施形態による、図1A及び図1Bの誘導発電機200を斜視図で詳細に示す。ここでは、動きが可能な状態でコイル206を空気流路212内に支承するばね素子228を、良好に認めることができる。ここで示す誘導発電機200の実施形態においては、ばね素子228は二個組の「ばね平行四辺形」の形状であり、共同して略「二重平行四辺形」を構成する。図示のように二重平行四辺形は、第1二重薄板ばね230及び第1二重薄板ばね230に平行して走る第2二重薄板ばね232により構成され、この第1及び第2二重薄板ばねの間に、コイル206が配置されている。第1及び第2二重薄板ばね230,232は各々、2枚の薄板曲げばねから組立てられている。更に、この2枚の二重薄板曲げばねは互いに平行して走る。ばね素子228の第1端部領域は、ハウジング内又は支承構造202に固定され、第1端部領域に対向する、ばね素子228の更なる端部領域は、コイル本体又はコイル支承部234に固定されている。平行四辺形のこうした配置のために、第1二重薄板ばね230及び第2二重薄板ばね232は、振動運動224の両方向に平行に変形するため、コイル206は、略平行運動において振動224の相対運動を可能とし、従って4枚の薄板ばねを備えた、極めて良好な振動体を構成可能である。
この実施形態により、支承構造202に固定された、二重薄板ばね230,232の端部は支承構造202を貫通し、支承構造202を経て外側に突出する、これら端部の末端部は、U字型に曲げられ、例えば電気接点として使用可能であり、例えば無線モジュール、又は誘導発電機200の作動で電気エネルギを供給可能である他の電気回路へ向けてのエネルギ供給に使用可能である。
ハウジング又は支承構造202を介して、誘導発電機200は、例えば壁面等の対象物に固定可能である。そのために、例えばねじ等である適切な固定素子を使用可能である。振動224の間、コイル206は動いているが、一方支承構造202、磁石配置204並びに磁石配置により作用を受ける磁石回路は静止状態にある。誘導発電機200が対象物に固定されていると、コイル206は振動224の間に動くことになるが、一方支承構造202、磁石配置204並びに磁石配置により作用を受ける磁石回路及び対象物は静止状態にある。
図2Cに示す構想の本質的な利点は、機械的損失が、殆ど無視可能な個々のばねの内部摩擦及びコイル206の振動の間の空気抵抗に起因する機械的損失のみだということである。
第1二重薄板ばね230及び第2二重薄板ばね232は互いに電気的に絶縁されているため、同時に集電目的又はコイル206の電気的接続のために使用可能である。コイル206の端部電線は、直接的又は間接的に追加接触ピンにより、更なるばね端部に接触可能である。第1端部領域のばね端部は、片側又は両側をばね接触部として構成可能であり、随意の電子モジュールに、極めて容易かつ省コストで接触可能である。
図2Cは更に、コイル支承部234に構成された、誘導発電機200の操作素子236を示す。この場合、舌部形状に構成された操作素子236によりコイル206を偏向可能であり、ローレンツ力を利用して電流を発生させるため、ばね素子228の助けにより、誘導発電機200の永久磁場においてコイル206を振動させることが可能である。
二重平行四辺形228によりコイル206を支承することが有利ではあるが、必ずしも必須というわけではない。コイル206を、例えば単純な板ばね又は膜により、振動する状態で支承することもできる。曲げばね、引張ばね又は圧縮ばねを組み合わせた、単純な線形支承部も可能である。この場合二重薄板ばね230,232は、集電のために柔軟性箔、滑り接触又は電線を使用可能である。
図2Dは、本発明の一実施形態による誘導発電機200の構成の側面図を示す。コイル106を支承しているために、少なくとも互いに略反対方向の直線運動により振動224を示すことが可能である。代替的に、振動224が僅かな回転過程を有することも可能である。
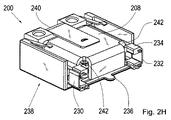
図2Eは、本発明の一実施形態による誘導発電機200を、完全に組立てた状態の平面図を示す。前出の図面において詳説された磁石システム及び振動システムの配置は、この場合、保護用のハウジング238内に収容されている。固定クランプ240が使用され、これにより、電流発生に必要とされる誘導発電機200の全ての素子が、負荷のかかった状態のもとでも、互いに対して理想的な位置に留まり、誘導発電機200が誤作動無く機能するよう保証可能である。
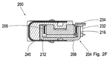
図2Fは、本発明の一実施形態による、完全に組立てた状態の誘導発電機200の、図2Eの線A−Aに沿った横断面図を示す。この図において、磁石配置204を静止した状態で固定して支えるために固定クランプ240が適しており、一方では、コイル支承部234により空気流路212に位置決めされたコイル206が、空気流路212内で自在に振動可能であると良好に認めることができる。
図示したように、誘導発電機200を平坦でコンパクトな構造で設計可能である。
図2Gは、本発明の一実施形態に従って設計した誘導発電機200の、斜視的な平面図を示す。
図2Hは、本発明の一実施形態による誘導発電機200の斜視的な下面図を示す。この実施形態によっては、第1極部分208の外周縁領域216は、その中でコイルが振動可能である空気流路に対して、周囲で閉鎖された外壁部を構成していない。その代わり、第1極部分208の外周縁領域216は、角部にスリット242を備える。スリット242は、第1極部分208及び第2極部分210により構成された空気流路の底部にまで延在する。従って、空気流路の外壁はスリット242により中断される。スリット242は、矩形に巻かれたコイル206の角部の領域に存在する。スリット242を介して、コイル支承部234の自由端が突出する。コイル支承部234の自由端は、第1二重薄板ばね230及び第2二重薄板ばね232の自由端に接続されている。これによりコイル206は、鉢形状の第1極部分208に全体を受容され、支承及び保護可能である。コイル206は、第1極部分208の外側に配置された支承及び操作素子、詳細には、第1極部分208の外側で支承構造202からコイル支承部234にまで延在する二重薄板ばね230,232及び第1極部分208の側方に突出する操作素子236を介して、支承及び作動される。
図2Iは、本発明の一実施形態による誘導発電機200の分解図を示す。この図は、誘導発電機200の組立が比較的容易に実行可能であることを示す。個々の部品206,208,210,214,230,232,234はハウジング238に取り付けられ、続いて固定クランプ240の助けにより固定される。磁極片208,210の磁石214は完全に包囲されており、強い磁場、並びに機械的及び温度的な負荷から良好に保護されている。
ハウジング238は、二方向に開放する矩形の槽を形成する。槽内領域244は、磁石配置204及びコイル206を受容するための受容領域を構成する。換言すると、受容領域244は側方で、3つの互いに直角をなして配置された、周囲を走るハウジング壁を形成する側壁246、及び側壁246を互いに接続するハウジング底部248により、区切られている。ハウジング底部248は、その受容領域244に向いた表面側に、位置及び固定ユニット250,252を含む。位置及び固定ユニット250,252は、誘導発電機200を組立てた状態において、特に第2極部分210及び第1極部分208の向きを決定し固定すべく、磁石配置204を位置決めし、固定する。詳細には、位置及び固定ユニットはハウジング底部248の中心に配置された突起部250を備え、突起部250は、第2極部分210に対応して形成されたリセス内に係合する。突起部250の外寸並びにリセスの内寸は、係合が可及的に遊びのない状態で達成され、その際公差に限定されて、これらの素子の間にある程度の遊びが存在可能であるよう、互いに調整される。この好適に実施形態においては、突起部250は正方形である。代替的に、突起部250は係合に適した他のいかなる形状とすることも可能である。更に、位置及び固定ユニットには4つの更なる突起部252が割り当てられる。更なる突起部252は、鉢状の第1極部分208が、組立てられた状態において、第1極部分208の外側が更なる突起部252の内側に接触するように、ハウジング底部248上に配置されている。この場合の接触は、前述の係合の場合と同様に可及的に遊びのない状態で達成される。対応して、第1磁極片208の外寸及び更なる突起部252の間隔が互いに調整される。位置及び固定ユニットにより、磁石配置204が確実に位置決めされ、ハウジング壁246の方向で確実に固定可能である。
2枚の側壁246に区切られた中心のハウジング壁246は、隣接する側壁246に対する各角領域において通路を備える。第1二重薄板ばね230又は第2二重薄板ばね232の自由端は、組立て時にこの通路を介して貫通する。ハウジング底部248は、バックラッシュを備えたばね受容部254を備える。ばね受容部254は、二重薄板ばね230,232の端部間の中心領域を受容する。各ばね受容部254は通路の延長部に構成され、側方で、ハウジング壁246並びにハウジング壁246に対向する更なる突起部252のうちの2つの突起部により、区切られている。ばね受容部254は、リセスによりハウジング底部248に形成され、二重薄板ばね230,232の振動が妨げられない、又は操作素子236によりコイル206が作動した後にコイル206の振動が妨げられないような内寸を備える。換言すると、二重薄板ばね230,232は、各ばね受容部254に、少なくともコイル206の振動方向に自在に可動な状態で配置されている。この場合、境を接するハウジング壁246並びに2つの更なる突起部252は、二重薄板ばね230,232に対して振動方向へのリード部を構成可能であり、これにより、振動方向に交差する、二重薄板ばね230,232の運動を抑制可能であり、従ってコイル206の運動を抑制可能である。
以下に、図2A乃至2Iで示す誘導発電機200の機能について詳述する。
発電機200を操作するためには、操作者はコイル支承部234の操作舌部236を摘み、相対運動224両方向の一方に、所定の経路まで又は所定の力で偏向し、急激に放す。コイル206は一定の磁場内で振動を始め、ローレンツの法則によりコイル206内で電気エネルギが誘導される。電気エネルギは、送信モジュールに供給されるために、両二重薄板ばね230,232により集電される。相互誘導に規定され、コイル206の発振振幅は消費装置の出力に応じ、コイル支承部234が静止するまで減衰する。ばね素子228のばね定数及びコイル206の重量により、パルス幅が制御される。この場合、損失は実質的に、振動の間の空気抵抗によってのみ発生する。この構想により達成可能な効率は、75%と90%の間である。エネルギ変換器200の磁石システムの鉄回路は、従来のシステムと比較すると、磁石のヒステリシスの部分領域のみで使用され、従って高度の磁気特性が要求されず、システムの費用が著しく低減される。誘導発電機200は交流電流を発生させる。極性、例えば第1半正弦の極性を計測し、方向認識のために使用可能である。従って、発電機200の作動方向に応じて、しかも追加の符号器接触部無しで、例えば「オン」及び「オフ」信号を生成し、送信可能である。
既述したように及び以下の図面で示すように、エネルギ変換器200の磁石システムは異なる態様で構成可能である。特に空気流路の形状を変化可能であり、これによりコイルの形状も変化可能となる。
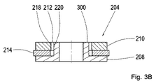
図3Aは、本発明の更なる一実施形態による誘導発電機の磁石システムの平面図を示す。磁石システムは、磁石配置204により構成される。図2A乃至図2Iで例示的に示された誘導発電機と比較すると、この誘導発電機では、平坦なブロック磁石が、スペースを省略しつつコイル内に配置されている。この場合、磁石配置204の磁石として、環状の磁石が使用されている。この場合でも、第1極部分208と第2極部分210の間に空気流路212を構成するために、第1極部分208、磁石214及び第2極部分210が互いに積層状に配置されている。極部分208,210は、磁石に接する磁極片として構成されている。誘導発電機の残りの素子は、既述のように構成可能であり、又は磁石システムの円形の構成形状に適合可能である。
図3Bは、本発明の一実施形態による、図3Aの線C−Cに沿った、図3Aの磁石システムの横断面図である。
図示のように、この場合第1磁極片208が磁石配置204の基底部を構成する。しかし、上述の更なる実施形態と異なり、この場合シリンダ状の中心領域300は、中心領域300から側方に突出する受容面を備え、第1磁極片208はハブ状の環状受容部を構成する。環状受容部へ、環状の磁石214及び第2磁極片210が搭載されている。更に第2磁極片210は、ディスク状又は環状に形成され、磁石システムの蓋を構成する。第1磁極片208のシリンダ状の中心領域300及び第2磁極片210の上側は、同一の高さで完結する。換言すると、中心領域300は、側方に突出する受容面から、磁石214及び第2磁極片210の材料強度に対応した高さを備えることになる。図3Bに示す、誘導発電機の実施形態においては、第1磁極片208の中心領域300の径方向の外面が、空気流路212の内壁220を構成し、第2磁極片210の側面又は径方向の側方内壁が、空気流路212の外壁218を構成する。
図3Cは、本発明の一実施形態による、図3A及び図3Bの磁石システムを分解図で示す。この場合、磁石214並びに第2磁極片210の環形状が示される。
図3A乃至図3Cで示された誘導発電機の実施形態は、誘導発電機の必要スペースがそれほど厳しく制限されない場合に提案可能である。そのような場合、誘導発電機の磁石システムは、図3A乃至図3Bに示す環状の磁石を備えて構成可能であり、環状の磁石としては、例えばフェライト磁石等の費用対効果に優れた磁石を使用可能である。
図4は、更なる一実施形態による誘導発電機301の磁石システムの斜視的な平面図を示す。図3Aで示す磁石システムのように、図4で示す磁石システムは磁石配置304により構成されている。磁石配置304は、第1極部分308、磁石314及び第2極部分314からなる環状の磁石を備える。これら構成部品は、互いに積層状に配置されている。極部分308,310は、磁石314に接する磁極片として構成されている。追加的に環状の磁束リーダ305が備わり、磁束リーダ305は間隔をおいて磁石配置304を包囲し、これにより、磁石配置304と磁束リーダ305の間に空気流路312が構成される。磁束リーダ305は、磁石配置304の積層配置に平行して走る方向に、磁石配置304と比較してより小さな寸法を有する。この場合、磁束リーダ305は空気流路312の外壁を構成し、それに対して磁石配置304は空気流路312の内壁を形成する。このような配置により、構造空間の損失が可及的に低減される。
図4に示す磁石システムの代替として、磁石配置と磁束リーダの配置を交換可能である。その場合、環状の磁束リーダは、極部分及び磁石を上述のように積層配置した環状の磁石配置に包囲されるであろう。この場合、磁石配置は空気流路の外壁を構成し、それに対して磁束リーダは、空気流路の内壁を形成する。
図5は、図4の磁石システムの横断面の部分図を示す。磁束リーダ305は、磁石配置304により発生された永久磁場の磁束322を端部領域において受容し、対向する端部領域に導き、磁石配置304の方向に再び放射するために装備されている。永久磁場の磁束322を、空気流路312内において、磁束リーダ305と各極部分308,310の間で磁束密度が高まり、それらの間の領域においては磁束密度が僅かになるよう、極部分308,310の間で導くことが可能である。
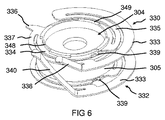
図6は、図4の磁石システムを包囲するコイル振動システムの斜視的な平面図を示す。コイル振動システムは、シリンダ状のコイル支承部324を備える。シリンダ状のコイル支承部324上には、2つの互いに間隔をあけた環状のコイル巻回部が、巻回電線のように巻回部体によって巻かれており(図9A参照)、コイル巻回部は電気的に互いに接続され、コイル306を構成する。シリンダ状のコイル支承部324は、磁石配置304を受容するために設けられた内径を備える。コイル支承部324は、各薄板曲げばね330;332をコイル支承部324上に固定可能とするために、2つ又は複数部分からなる組み立て可能な素子として構成可能である。そのために、コイル支承部324は正面側の端部に内径ねじを備え、内径ねじに、シリンダ状の保持素子348をねじ留め可能である。シリンダ状の保持素子348は、外周に配置された、複数の保持突起部349を備える。保持突起部349は、2つの薄板曲げばね330,332からなるばね素子328の保持領域334に接触する。コイル支承部324は、その各正面側の端部に、同様に保持突起部325を備える。保持突起部325は、保持領域334に接触する(図8A参照)。薄板曲げばね330;332の保持領域334は、保持素子348がねじ留めされた状態で、コイル支承部324の保持突起部325,349と保持素子348の間に締め付けられ、これによりコイル支承部324に固定される。
この構成の代替として、図示されていない好適な一実施形態においては、コイル支承部324が周方向に走る分割部を備えることが可能である。分割部により、コイル支承部324はその周方向に対して横に分割可能及び組み立て可能である。分割部は、少なくとも2つの、互いに接続可能及び解除可能なコイル支承角部により構成される。従って、コイル支承部324は複数部分から構成可能であり、その際コイル支承部の各部分は、複数のコイル支承角部のうちの1つを備える。
この構成の代替として、図示されていない更なる好適な一実施形態においては、コイル支承部324を一個部分として構成可能である。その際、コイル支承部324を周方向に分割可能及び組立て可能とするために、分割部はその周方向に対して横に走る。この場合コイル支承角部は、周方向に存在する、コイル支承部324の正面角部により構成される。追加的にコイル支承部324は、分割後にコイル支承部324の直径をできる限り低減可能とし、各薄板曲げばね330;332をコイル支承部324上で延在可能とするために、弾性材料から構成可能である。
更に、一個部分又は複数部分として構成されたコイル支承部324は、分割部の領域で偶発的に分割が起こることを防ぐために、分割部の領域に固定素子を備えることが可能であり、固定素子は、固定される分割角部に係合する係合手段により形成可能である。更に係合手段は、各分割角部を互いにロックするためのロック手段を構成可能である。その際係合手段は、例えば保持突起又はロック突起等である保持手段、或いは分割角部を分割方向で相互に保持するためのねじ山を更に備える。コイル支承部324は、プラスチック素材を含んだ材料から構成可能である。
更にコイル支承部324は、コイル支承部324のシリンダ状の本体が、その上に巻かれたコイル306と共に空気流路312内に配置可能であり、その際コイル306の両方のコイル巻回部の各々が、極部分308,310のいずれか1つの極部分に対向するような厚みを、径方向に備える。
コイル支承部324と共に固定可能なばね素子328は、薄板曲げばね330,332を備える。薄板曲げばね330,332は、基本形状と略同一に構成される。薄板曲げばね330;332の各々は、板ばねの基本形状から形成される。各薄板曲げばね330;332は、半円形の支承縁333、及び支承縁333と接続された、コイル支承部324を保持するための円形の保持領域334を備える。この場合、保持領域334は保持突起部325に接し、これにより、薄板曲げばね330;332がコイル支承部324から滑ることが防止される。支承縁333は、2つの弧形のばねアーム335,337を介して、保持領域334に接続されている。第1ばねアーム335は、支承縁333の一方の長手側の端部から、半円形の支承縁333の内部に位置する、保持領域334部分にまで弧形に延在する。第2ばねアーム337は、支承縁333の他方の長手側の端部から、半円形の支承縁333の外部に位置する、保持領域334部分にまで弧形に延在する。その際、第2ばねアーム337の、外側に位置する接続点は、第1ばねアーム335の、内側に位置する接続点に対向する。これにより、保持領域334はコイル支承部324と共に、半円形の支承縁333に対して同軸上に保持される。その際、保持領域334はコイル支承部324と共に、支承縁333に対して、コイル支承部324の長手方向軸に平行して自在に振動可能である。
第1薄板曲げばね330は、支承縁333の端部領域に、第1接触素子338を備える。接触素子338は、支承縁333の長手側端部から続き、第1薄板曲げばね330の基本形状を含む面から突出する。接触素子338の自由端は、滑り接触部を構成する。そのために、接触素子338の自由端は僅かに曲げられ、その際、第1薄板曲げばね330と反対側へのカーブが、滑り接触点、滑り接触線又は滑り接触面を形成する。従って第1薄板曲げばね330を、コイル振動システムにより発生されたエネルギを導くための電気伝導体として使用可能である。そのために第1薄板曲げばね330は、接続位置339によりコイル306と電気的に接続されている。接続位置339は、第1ばねアーム335の保持領域334への接続点と、第2ばねアーム337がそこから延在する、支承縁333の長手側端部との間で、保持領域334に配置されている。
更に第1薄板曲げばね330は、第2ばねアーム337の保持領域334への接続点の領域において、コイル振動システムを操作するための操作素子を備える。これにより、コイル振動システムを励振するための力は、薄板曲げばね330の材料強度の強い部分に伝達される。
第2薄板曲げばね332は第2接触素子340を備える。第2接触素子340は、支承縁333の長手側端部から続き、第2薄板曲げばね332の基本形状を含む面から突出する。第2接触素子340の自由端は、カーブにより滑り接触部を構成する。カーブは、滑り接触点、滑り接触線又は滑り接触面を形成する。滑り接触部は、第1接触素子338の滑り接触部と共通面か、又は第1接触素子338の滑り接触部に近接する面に配置されている。従って、コイル306により誘発された電圧をタップ可能とするために、電気伝導体として構成された薄板曲げばね330;332の各々に、コイル振動システムの側面により電気接触可能である。接触素子338,340が突出して構成されているために、接触相手の圧力下で接触素子338,340が接触するため、予め附勢された接触素子338,340が対応する接触相手に接触可能となる。これにより、接触素子338,340と各接触相手の間で、常に電気接点を確保可能である。各接触相手は、例えば滑り面として回路上に構成可能である。
第2薄板曲げばね332は同様に、例えばコイル306を構成するための巻回電線である巻回体のための接続位置339を備える。その際接続位置339は、第1薄板曲げばね330の場合と同様の位置に配置されている。
図7は、更なる実施形態による誘導発電機301の斜視的な平面図を示す。誘導発電機301は、環状の支承構造302を備える。支承構造302は、プラスチック素材を含んだ材料から形成されている。支承構造302は、磁石配置304及び磁束リーダ305を受容するための内径を備える。支承構造302は、磁束リーダ305を支承する第1支承リング341、第1支承リング341と径方向外側で境を接する第2支承リング342であって、第1及び第2薄板曲げばね330,332の支承縁333と各々接触する、対向する接触面343を備えた第2支承リング342、及び第2支承リング342と径方向外側で境を接する閉鎖リング344であって、支承構造302に受容された構成部品を径方向で保護するための閉鎖リング344を備える。この場合第2支承リング342は、支承構造302の径方向の延在に対して直交して走る方向に沿って、第1支承リング341よりも大きな寸法及び閉鎖リング344よりも小さな寸法を備える。第2支承リング342は、この方向に沿って両側で等しく第1支承リング341を超える。更に第2支承リング342は、この方向に沿って両側で等しく閉鎖リング344により超えられる。支承構造302は、支承構造302の中心点を経て径方向に走る中心面に対して、対称に形成されている。
磁束リーダ305は、第1支承リング341に支承される。例えば第1支承リング341の内径は、磁束リーダ305が圧入により第1支承リング341内に受容されるよう選択可能である。代替的又は追加的に、磁束リーダ305と第1支承リング341の間で保持手段を使用可能である。保持手段として、接着手段、係合手段、ロック手段又は固定手段、あるいは保持に適した他の手段を考慮可能である。これに対して代替的に、対応する磁束リード素材を第1支承リングと一体化することで、第1支承リング341が磁束リーダ305を形成することも可能である。
第2支承リング342は、弓形部分に切り欠き345を備える。切り欠き345により、第1支承リング341の外側の表面側が露出される。切り欠き345は、径方向外側で第2支承リング342に境を接する閉鎖リング344を介して続く。切り欠き345は、支承構造302に受容されたコイル振動システムを操作するための操作領域を構成する。操作領域345において、第1薄板曲げばね330の操作素子336が突出する。
第2支承リング342は、更なる弓形部分に貫通部346を備える。貫通部346は、径方向に対して直交して走る方向を示す、支承構造302の側面を、この側面に対向する他の側面と接続する。貫通部を経て、第2薄板曲げばね332の接触素子340が突出する。これにより、コイル306は支承構造302の側面で、コイル306により発生された誘導電圧をタップ可能とするために電気接触可能である。
操作領域345と貫通部346の間にある、支承構造302の弓形部分において、接触面343は、第1及び第2薄板曲げばね330,332の支承縁333と各々接触するよう配置されている。
コイル振動システムが支承構造302内に受容された状態で、第1支承リング341の、第1及び第2薄板曲げばね330,332を示す縁側は、コイル306が、操作素子336の操作により励振された後に、妨げられることなく支承構造302内で振動可能であるような間隔を、第1及び第2薄板曲げばね330,332に対して備える。そのために、第1支承リング341の、支承構造302の径方向に対して直交して走る寸法は、磁束リーダ305の、同方向に走る寸法を上回ることがない。
図8は、図6のコイル振動システムの、巻回部を除いた状態の斜視的な側面図を示す。図9A及び図9Bは、コイル振動システムの、巻回部を備えた状態の斜視的な側面図を示す。コイル支承部324は、正面側の端部の間に、周方向に走る2つのコイル路350を備える。コイル路350は、コイル306を構成するための各コイル巻回部を受容する。両コイル路350は、コイル支承部324を部分的に包囲する分割ブリッジ351により互いに分割されている。その際、分割ブリッジ351の側方縁部並びにコイル支承部324の保持突起部325の側方縁部は、コイル支承部324の長手軸方向で各コイル路350を画定する。分割ブリッジ351は、その長手側端部で周回端352を形成する。周回端352を介して、コイル巻回部はコイル路350の一方から、他方のコイル路350へと移動可能である。その際、コイル路350を走るコイル巻回部のコイル巻回方向は、互いに対向する。これにより、第1及び第2極部分308,310の領域で優勢である磁束の、空気流路312に存在する対向する磁束方向が考慮され、コイル306のコイル面が拡大される。
図示の実施形態のために選択された構成形状により、例えば防塵性又は防水性のある実施形態が所望される場合に、誘導発電機200,301を簡単にカプセル化できる。
当然のことながら、図示の実施形態に加え、磁石システムの更なる上部構造が可能である。重要なのは、コイル206,306の巻回部が、可及的に強い磁場において振動可能なことである。誘導発電機200,301の可動の振動システムは、非常にコンパクトかつ軽量に構成されている。この場合コイル206,306は、外部からの振動が極めて強い場合にのみ、不所望な振動に陥る。「誤った」無線信号の発生を防ぐために、振動体又はコイル206,306を、操作者によりスイッチハウジングに対して静止位置及び端位置にブロック可能である。更なる可能性として、誘導された電圧を計測し、所定のレベルを超えた電圧上昇のみをスイッチ信号として分類することがある。
図10は、誘導発電機を使用して電流を発生させる方法400の実施形態のためのフローチャートを示す。方法400は、図2A乃至図9Bで詳細に既述されたような誘導発電機に関連して、有利に実行可能である。ステップ402において、誘導発電機の操作素子の操作者は、ばね素子により可動な状態で支承されたコイルを、所定の量又は所定の力で偏向する。その結果、コイルは誘導発電機内の永久磁場の磁束を横切る向きの振動運動を実行する。ステップ404において、コイルの振動運動に基づく電磁誘導により、コイルの巻回部内に電流が誘導される。適切な接触部を介して、電流が、例えば自律型スイッチを作動するためタップに接続される。
上述及び図示の実施形態は、単に例示的に選択されたものである。異なる実施形態を、全体として又は個々の特徴に関して互いに組み合わせ可能である。一実施形態を、更なる一実施形態の特徴により補完することもできる。実施形態は第1の特徴及び第2の特徴を「及び/又は」として結合した特徴を含むため、一実施形態による実施形態は第1の特徴と第2の特徴の双方を有し、更なる一実施形態による実施形態は第1の特徴又は第2の特徴の何れか一方のみを有すると解釈可能である。
100 コイル
102 磁場
104 振動する相対運動
106 発振振幅
108 効果的に使用された巻回部長
110 損失領域
112 磁場部分
114 更なる磁場部分
200,301 誘導発電機
202,302 支承構造
204,304 磁石配置
206,306 環状のコイル
208,308 第1極部分
210,310 第2極部分
212,312 空気流路
214,314 磁石
216 第1極部分の外周縁領域
218 空気流路の外壁
220 空気流路の内壁
222,322 永久磁場の磁束
224 振動運動
226 コイルの中心軸
228,328 ばね素子
230 第1二重薄板ばね
232 第2二重薄板ばね
234,324 コイル支承部
236,336 操作素子
238 ハウジング
240 固定クランプ
242 スリット
244 受容領域
246 ハウジング壁
248 ハウジング底部
250 突起部
252 更なる突起部
254 ばね受容部
300 第1極部分のシリンダ状の中心領域
305 磁束リーダ
325,349 保持突起部
330 第1薄板曲げばね
332 第2薄板曲げばね
333 支承縁
334 保持領域
335 第1ばねアーム
337 第2ばねアーム
338 第1接触素子
339 接続位置
340 第2接触素子
341 第1支承リング
342 第2支承リング
343 接触面
344 閉鎖リング
345 操作領域
346 貫通部
348 保持素子
350 コイル路
351 分割ブリッジ
352 周回端
400 電流発生方法
402 偏向ステップ
404 発生ステップ

Claims (14)

  1. 永久磁場を発生させる磁石配置(204;304)と、環状のコイル(206;306)と、ばね素子(228;328)と、前記永久磁場が広がる空気流路(212;312)と、を備える誘導発電機(200;301)であって、前記磁石配置(204;304)は、第1極部分(208;308)と、第2極部分(210;310)と、前記第1極部分(208;308)と第2極部分(210;310)の間に配置された磁石(214;314)と、を備え、前記コイル(206;306)が、前記ばね素子(228;328)と接続され及び前記空気流路(212;312)内に可動な状態で配置され、前記ばね素子(228;328)が、前記コイル(206;306)の偏向に対応して、前記空気流路(212;312)内の前記コイル(206;306)の振動運動(224)が、前記空気流路(212;312)内部の前記永久磁場の磁束(222;322)を横切る向きに作用するよう構成されている誘導発電機(200;301)において、前記空気流路(212;312)が、環形状を備え及び前記環状のコイル(206;306)の全体を受容するよう構成されており、
    前記ばね素子(228;328)は、第1二重薄板ばね(230;330)及び第2二重薄板ばね(232;332)を備え、前記第1二重薄板ばね(230;330)及び第2二重薄板ばね(232;332)の間で、前記コイル(206;306)を前記空気流路(212;312)内で振動する状態で支承していることを特徴とする誘導発電機。
  2. 請求項1に記載の誘導発電機(200)であって、前記空気流路(212)は少なくとも2つの、互いに対向する壁面領域(218,220)により区切られ、前記壁面領域(218;220)の一方の壁面領域は、前記第1極部分(208)の壁部分により、前記壁面領域(218;220)の他方の壁面領域は、前記第2極部分(210)の側面により構成されていることを特徴とする誘導発電機(200)。
  3. 請求項2に記載の誘導発電機(200)であって、前記第1極部分(208)は前記磁石(214)及び前記第2極部分(210)を受容する鉢を形成し、前記第1極部分(208)の壁部分(218)は、鉢状の前記第1極部分(208)の外周縁領域(216)により構成されていることを特徴とする誘導発電機(200)。
  4. 請求項2に記載の誘導発電機(200)であって、前記磁石配置(204)は環状に構成され、前記第1極部分(208)は、前記磁石(214)及び前記第2極部分(210)を受容するハブ状の環状受容部を形成し、前記第1極部分(208)の壁部分(220)は、前記第1極部分(208)のシリンダ状の中心領域(300)により構成されていることを特徴とする誘導発電機(200)。
  5. 請求項1〜4の何れか一項に記載の誘導発電機(200)であって、前記永久磁場はトーラス状の磁場回路を構成し、該磁場回路の磁束(222)は、前記空気流路(212)を前記第1極部分(208)と前記第2極部分(210)の間で横切ることを特徴とする誘導発電機(200)。
  6. 請求項1に記載の誘導発電機(301)であって、該誘導発電機(301)が、前記磁石配置(304)に対向する磁束リーダ(305)を備え、前記空気流路(312)は少なくとも、前記磁石配置(304)の1つの壁部分及び該壁部分に対向する前記磁束リーダ(305)の1つの壁部分により区切られていることを特徴とする誘導発電機(301)。
  7. 請求項1〜6の何れか一項に記載の誘導発電機(200;301)であって、前記ばね素子(228;328)が更に、前記コイル(206;306)の前記振動運動(224;324)が前記コイル(206;306)の中心軸(226;326)に沿って作用するよう構成されていることを特徴とする誘導発電機(200;301)。
  8. 請求項1〜7の何れか一項に記載の誘導発電機(200;301)であって、前記コイル(206;306)の巻回部は、前記空気流路(212;312)に沿って走ることを特徴とする誘導発電機(200;301)。
  9. 請求項1〜8の何れか一項に記載の誘導発電機(200;301)であって、前記磁石配置(204)及び前記ばね素子(228;328)を支承するための支承構造(202;302)を備え、前記ばね素子(228;328)の端部は、前記支承構造(202;302)により固定された状態で保持されていることを特徴とする誘導発電機(200;301)。
  10. 請求項9に記載の誘導発電機(200;301)であって、前記コイル(206;306)はコイル支承部(234;334)を備え、該コイル支承部(234;334)は、前記ばね素子(228;328)の保持された端部に対向する、前記ばね素子(228;328)の自由端と接続されていることを特徴とする誘導発電機(200;301)。
  11. 請求項10に記載の誘導発電機(200;301)であって、前記コイル支承部(234;334)は、前記コイル(206;306)を偏向するための操作素子(236;336)を備えていることを特徴とする誘導発電機(200;301)。
  12. 請求項1〜11の何れか一項に記載の誘導発電機(200;301)であって、前記ばね素子(228;328)は、前記コイル(206;306)の電気接触のための導電体を形成することを特徴とする誘導発電機(100)。
  13. 請求項1〜12の何れか一項に記載の誘導発電機(200;301)であって、該誘導発電機(200;300)は、前記振動運動(224;324)に起因して前記コイル(206;306)から供給される交流電圧の初期極性を検出する、検出ユニットを備えていることを特徴とする誘導発電機(200;301)。
  14. 誘導発電機(200;301)を使用する電流発生方法(400)であって、該誘導発電機(200;301)は、永久磁場を発生させる磁石配置(204;304)と、環状のコイル(206;306)と、ばね素子(228;328)と、前記永久磁場が広がる空気流路(212;312)と、を備える誘導発電機(200;301)であって、前記磁石配置(204;304)は、第1極部分(208;308)と、第2極部分(210;310)と、前記第1極部分(208;308)と第2極部分(210;310)の間に配置された磁石(214;314)と、を備え、前記コイル(206;306)が、前記ばね素子(228;328)と接続され及び前記空気流路(212;312)内に可動な状態で配置され、前記空気流路(212;312)が、環形状を備え及び前記環状のコイル(206;306)の全体を受容するよう構成されており、
    前記ばね素子(228;328)は、第1二重薄板ばね(230;330)及び第2二重薄板ばね(232;332)を備え、前記第1二重薄板ばね(230;330)及び第2二重薄板ばね(232;332)の間で、前記コイル(206;306)を前記空気流路(212;312)内で振動する状態で支承しており、
    前記方法(400)は:
    前記コイル(206;306)を、前記空気流路(212;312)内の前記コイル(206;306)の振動運動(224;324)が、前記空気流路(212;312)内部の前記永久磁場の磁束(222;322)を横切る向きに作用するよう偏向するステップ(402)と、
    前記コイル(206;306)の前記振動運動(224)に基づく電磁誘導により、前記コイル(206;306)内で電流を発生させるステップ(404)と、
    を備える方法(400)。
JP2015541099A 2012-11-09 2013-11-05 誘導発電機及び誘導発電機を使用する電流発生方法 Expired - Fee Related JP6301351B2 (ja)

Applications Claiming Priority (3)

Application Number Priority Date Filing Date Title
DE102012220418.0A DE102012220418A1 (de) 2012-11-09 2012-11-09 Induktionsgenerator und Verfahren zum Generieren eines elektrischen Stroms unter Verwendung eines Induktionsgenerators
DE102012220418.0 2012-11-09
PCT/EP2013/072985 WO2014072267A2 (de) 2012-11-09 2013-11-05 Induktionsgenerator und verfahren zum generieren eines elektrischen stroms unter verwendung eines induktionsgenerators

Publications (2)

Publication Number Publication Date
JP2016500243A JP2016500243A (ja) 2016-01-07
JP6301351B2 true JP6301351B2 (ja) 2018-03-28

Family

ID=49518963

Family Applications (1)

Application Number Title Priority Date Filing Date
JP2015541099A Expired - Fee Related JP6301351B2 (ja) 2012-11-09 2013-11-05 誘導発電機及び誘導発電機を使用する電流発生方法

Country Status (7)

Country Link
US (1) US10079532B2 (ja)
EP (1) EP2939334B1 (ja)
JP (1) JP6301351B2 (ja)
KR (1) KR20150082584A (ja)
CN (1) CN105075080B (ja)
DE (1) DE102012220418A1 (ja)
WO (1) WO2014072267A2 (ja)

Families Citing this family (5)

* Cited by examiner, † Cited by third party
Publication number Priority date Publication date Assignee Title
JP5948391B2 (ja) * 2014-10-29 2016-07-06 Kyb株式会社 リニアアクチュエータ
CN110635658A (zh) * 2016-02-04 2019-12-31 广东易百珑智能科技有限公司 高功率动能自生电装置
DE102017205707A1 (de) * 2017-04-04 2018-10-04 Zf Friedrichshafen Ag Vorrichtung mit Energie abhängigen Sendeleistung
CN107681863B (zh) * 2017-11-07 2023-06-16 中国计量大学 机械按压微能量收集装置
CN114421809A (zh) * 2022-01-24 2022-04-29 中北大学 一种磁路开关式悬臂梁结构压电-电磁复合振动发电装置

Family Cites Families (19)

* Cited by examiner, † Cited by third party
Publication number Priority date Publication date Assignee Title
US3067404A (en) * 1958-11-06 1962-12-04 Jersey Prod Res Co Vibration detector
JPH01132470A (ja) * 1987-11-17 1989-05-24 Kayaba Ind Co Ltd パワーステアリング装置の安全装置
EP0580117A3 (en) * 1992-07-20 1994-08-24 Tdk Corp Moving magnet-type actuator
DE69526164T2 (de) 1994-09-06 2002-08-14 Bridgestone Corp., Tokio/Tokyo Schwingungsisolierungsgerät und von Schwingungen isolierter Tisch
JPH1132470A (ja) 1997-07-10 1999-02-02 Yamatake Honeywell Co Ltd 現場型機器
DE10112072B4 (de) 2000-03-16 2006-11-09 Marquardt Gmbh Schalter zum Schalten von Verbrauchern
FR2826204B1 (fr) * 2001-06-15 2003-09-19 Legrand Sa Utilisation d'un organe piezo-actif ainsi qu'appareil et systeme le comportant
US7569952B1 (en) * 2003-04-18 2009-08-04 Ferro Solutions, Inc. High efficiency, inductive vibration energy harvester
JP4633342B2 (ja) * 2003-08-01 2011-02-16 中部電力株式会社 音エネルギーを利用した発電装置
US20070108850A1 (en) * 2005-11-17 2007-05-17 Tiax Llc Linear electrical machine for electric power generation or motive drive
FR2893780A1 (fr) * 2005-11-22 2007-05-25 Schneider Electric Ind Sas Dispositif autonome de generation d'energie electrique
CN1881759A (zh) * 2006-05-10 2006-12-20 李培芳 微型磁极相向振动发电机
CN101353981B (zh) * 2007-07-29 2010-12-22 天津蹊径动力技术有限公司 带加速弹簧受迫振动直动发电系统
DE102009041023A1 (de) * 2009-09-09 2011-03-10 Technische Universität Ilmenau Elektrodynamischer Energiewandler
CN101764495B (zh) * 2010-01-21 2012-05-30 浙江工业大学 环绕式振动发电装置
JP2012034475A (ja) * 2010-07-29 2012-02-16 Brother Ind Ltd 振動発電機
JP4756405B1 (ja) * 2010-09-15 2011-08-24 有限会社 加納 発電装置とその充電装置
CN103208899B (zh) * 2012-01-16 2016-02-17 曾胜克 发电装置
JP6060621B2 (ja) * 2012-10-29 2017-01-18 ミツミ電機株式会社 発電装置および発電システム

Also Published As

Publication number Publication date
WO2014072267A3 (de) 2015-09-17
CN105075080B (zh) 2018-05-11
DE102012220418A1 (de) 2014-05-15
EP2939334A2 (de) 2015-11-04
KR20150082584A (ko) 2015-07-15
EP2939334B1 (de) 2021-04-28
CN105075080A (zh) 2015-11-18
US20150295484A1 (en) 2015-10-15
US10079532B2 (en) 2018-09-18
WO2014072267A2 (de) 2014-05-15
JP2016500243A (ja) 2016-01-07

Similar Documents

Publication Publication Date Title
JP6389822B2 (ja) 誘導発電機及び該誘導発電機を使用する電流発生方法
JP5248598B2 (ja) 機械的振動エネルギーを電気エネルギーに変換するための永久磁石による発電機
US10811949B2 (en) Vibration power generator with elastic members fixed to a housing and coils poistioned between magnets
JP6301351B2 (ja) 誘導発電機及び誘導発電機を使用する電流発生方法
US9653980B2 (en) Energy harvesting system using several energy sources
US10097071B2 (en) Vibration motor
US20110291532A1 (en) Coreless electromechanical device
JP2013055714A (ja) 振動発電機
US20120062049A1 (en) Electromechanical energy converter
JP2010089061A (ja) 振動モータおよびそれを用いた携帯端末装置
KR101047451B1 (ko) 코인형 선형모터
JP2014050204A (ja) 振動発電機
JP5370285B2 (ja) 振動発電機
WO2013014975A1 (ja) 振動発電機
US10298107B2 (en) Non-contact power generator
JP2007020269A (ja) 発電装置
CN109302041A (zh) 一种互嵌式抗干扰大推力音圈马达
JP2016502323A (ja) 電磁変換器および振動制御システム
KR101431779B1 (ko) 진동모터
JP2011172391A (ja) 振動発電機
KR101702026B1 (ko) 복합재료를 포함하는 자속 집중형 리니어 발전기
JP2014150621A (ja) 振動発電機
RU199092U1 (ru) Сейсмодатчик
KR20000040796A (ko) 이중마그네트를 갖는 스피커장치
JP2018042330A (ja) 振動発電装置

Legal Events

Date Code Title Description
A621 Written request for application examination

Free format text: JAPANESE INTERMEDIATE CODE: A621

Effective date: 20160927

A131 Notification of reasons for refusal

Free format text: JAPANESE INTERMEDIATE CODE: A131

Effective date: 20170912

A977 Report on retrieval

Free format text: JAPANESE INTERMEDIATE CODE: A971007

Effective date: 20170913

A521 Request for written amendment filed

Free format text: JAPANESE INTERMEDIATE CODE: A523

Effective date: 20171212

TRDD Decision of grant or rejection written
A01 Written decision to grant a patent or to grant a registration (utility model)

Free format text: JAPANESE INTERMEDIATE CODE: A01

Effective date: 20180130

A61 First payment of annual fees (during grant procedure)

Free format text: JAPANESE INTERMEDIATE CODE: A61

Effective date: 20180228

R150 Certificate of patent or registration of utility model

Ref document number: 6301351

Country of ref document: JP

Free format text: JAPANESE INTERMEDIATE CODE: R150

LAPS Cancellation because of no payment of annual fees