JP6284806B2 - フィルタエレメント、フィルタエレメント組立体、および空気清浄システム - Google Patents

フィルタエレメント、フィルタエレメント組立体、および空気清浄システム Download PDF

Info

Publication number
JP6284806B2
JP6284806B2 JP2014074337A JP2014074337A JP6284806B2 JP 6284806 B2 JP6284806 B2 JP 6284806B2 JP 2014074337 A JP2014074337 A JP 2014074337A JP 2014074337 A JP2014074337 A JP 2014074337A JP 6284806 B2 JP6284806 B2 JP 6284806B2
Authority
JP
Japan
Prior art keywords
filter element
filter medium
processed
upstream
filter
Prior art date
Legal status (The legal status is an assumption and is not a legal conclusion. Google has not performed a legal analysis and makes no representation as to the accuracy of the status listed.)
Active
Application number
JP2014074337A
Other languages
English (en)
Other versions
JP2015196117A (ja
Inventor
洋二郎 宮地
洋二郎 宮地
栄作 阿部
栄作 阿部
新舎 範一
範一 新舎
数弘 杉本
数弘 杉本
幸浩 今野
幸浩 今野
Current Assignee (The listed assignees may be inaccurate. Google has not performed a legal analysis and makes no representation or warranty as to the accuracy of the list.)
Nippon Muki Co Ltd
Original Assignee
Nippon Muki Co Ltd
Priority date (The priority date is an assumption and is not a legal conclusion. Google has not performed a legal analysis and makes no representation as to the accuracy of the date listed.)
Filing date
Publication date
Application filed by Nippon Muki Co Ltd filed Critical Nippon Muki Co Ltd
Priority to JP2014074337A priority Critical patent/JP6284806B2/ja
Publication of JP2015196117A publication Critical patent/JP2015196117A/ja
Application granted granted Critical
Publication of JP6284806B2 publication Critical patent/JP6284806B2/ja
Active legal-status Critical Current
Anticipated expiration legal-status Critical

Links

Images

Landscapes

  • Filtering Of Dispersed Particles In Gases (AREA)

Description

本発明は、フィルタエレメント、フィルタエレメント組立体、および空気清浄システムに関する。
室内の空気を清浄化するためのフィルタエレメントが知られている。フィルタエレメントは、気体中の塵埃を捕集するためのエアフィルタ濾材にプリーツ加工を施して、プリーツ形状に加工した加工済み濾材を備える。フィルタエレメントは、例えば、室内又は室外に設けられたダクトに沿って配されており、ダクトを介して室内の空気を取り込み、フィルタエレメントを介して室内に供給することを繰り返すことで、室内の清浄度を高く保つことができる。
従来、加工済み濾材を、気体が通過する方向に見たときの上流側の部分が内側を向き、下流側の部分が外側を向いた円弧状に湾曲した状態で用いることがある。このような湾曲した形状の加工済み濾材によれば、下流側の広い角度範囲に風を送ることができ、室内で、循環せずに滞留する空気を減らすことができる。
ところで、プリーツ形状を有する加工済み濾材は、上流側の山部同士の間、および、下流側の谷部同士の間で、プリーツ間隔を広げようとする反発力が生じ、上記の円弧状に湾曲した状態にすることが難しい。このような点に鑑みて、湾曲した形状の2枚のパンチング板の間に加工済み濾材を挟持させることで、加工済み濾材を湾曲させたフィルタエレメントが知られている(例えば、特許文献1参照)
実公平5−38821号公報
特許文献1のフィルタエレメントでは、加工済み濾材は、2枚のパンチング板の間で、濾材自体によるプリーツ間隔を広げようとする力によって、プリーツ間隔が保たれている。しかし、濾材を構成する繊維材料は、濾材の全域において均一でなく、上記反発力は濾材の場所によって異なる。その結果、プリーツ間隔が均一にならず、下流側に流れる空気の風量が均一でなくなる。風量が均一でなくなると、室内で乱流が発生し局所的な対流が生じることで、室内に浮遊する微粒子等が舞ったり、室内の塵埃が巻き上げられたりする場合がある。
本発明は、プリーツ形状を有する加工済み濾材を備えるフィルタエレメントにおいて、円弧状に湾曲した形状を保持しつつプリーツ間隔を均一に保つことのできるフィルタエレメント、フィルタエレメント組立体、および空気浄化システムを提供することを目的とする。
本発明の一態様は、気体中の塵埃を捕集するエアフィルタ濾材を、気体が前記エアフィルタ濾材を通過する方向に見たときの上流側に配される山部と下流側に配される谷部とが交互に並ぶプリーツ形状に加工してなる加工済み濾材を備えるフィルタエレメントであって、
前記加工済み濾材は、前記プリーツ形状における前記上流側のプリーツ間隔より前記下流側のプリーツ間隔が広いことで円弧状に湾曲しており、
前記加工済み濾材の山部には、前記下流側のプリーツ間隔が前記上流側のプリーツ間隔よりも広くなるよう前記上流側のプリーツ間隔を保持する間隔保持部としてスペーサが設けられ
前記スペーサは、前記山部の前記上流側および前記下流側の2つの面のうち前記上流側の面に形成され、前記谷部の前記上流側および前記下流側の2つの面のいずれにも形成されていない、ことを特徴とする。
また、本発明の別の一態様は、気体中の塵埃を捕集するエアフィルタ濾材を、気体が前記エアフィルタ濾材を通過する方向に見たときの上流側に配される山部と下流側に配される谷部とが交互に並ぶプリーツ形状に加工してなる加工済み濾材を備えるフィルタエレメントであって、
前記加工済み濾材は、前記プリーツ形状における前記上流側のプリーツ間隔より前記下流側のプリーツ間隔が広いことで円弧状に湾曲しており、
前記加工済み濾材の山部には、前記下流側のプリーツ間隔が前記上流側のプリーツ間隔よりも広くなるよう前記上流側のプリーツ間隔を保持する間隔保持部が設けられ、
前記間隔保持部は、前記山部の頂部と交差するよう延びて形成された樹脂からなるスペーサを有し、
前記スペーサは、前記山部の前記上流側および前記下流側の2つの面のうち前記上流側の面に形成され、前記谷部の前記上流側および前記下流側の2つの面のいずれにも形成されていない、ことを特徴とする。
本発明の別の一態様は、フィルタエレメント組立体であって、2つの上記フィルタエレメントと、
前記フィルタエレメントが取り付けられるフレームユニットと、を含み、
前記2つのフィルタエレメントは、前記フレームユニットとともに気体が流れる筒形状をなすよう配されていることを特徴とする。
本発明のさらに別の一態様は、壁に取り付けられ、室内の空気を清浄化する空気清浄システムであって、
上記フィルタエレメント組立体と、
前記室内の空気を取り込むための吸気口と、
前記吸気口から取り込んだ空気を前記フィルタエレメント組立体内に供給するファンと、を備えることを特徴とする。
本発明のフィルタエレメント、フィルタエレメント組立体、および空気浄化システムによれば、加工済み濾材の山部に設けられた間隔保持部によって、加工済み濾材を円弧状に湾曲した形状に保ちつつ、プリーツ間隔が均一に保持される。これにより、フィルタエレメントの下流側の風量分布を均一にすることができる。
本実施形態のフィルタエレメントの分解斜視図である。 本実施形態のフィルタエレメントの加工済み濾材の断面を模式的に示す図である。 (a)は、本実施形態のフィルタエレメントの加工済み濾材の断面を一部拡大して示す図である。(b)は、本実施形態の他の態様のフィルタエレメントの加工済み濾材の断面を一部拡大して示す図である。 本実施形態のフィルタエレメント組立体を一部分解して示す分解斜視図である。 本実施形態のフィルタエレメント組立体を側面視して示す図である。 本実施形態のフィルタエレメント組立体の、図5に示すA−A線断面を示す図である。 本実施形態のフィルタエレメント組立体の取付機構の一方の部分を示す図である。 本実施形態のフィルタエレメント組立体の取付機構の他方の部分を示す図である。 本実施形態のフィルタエレメント組立体の取付機構の一方の部分の変形例を示す図である。 本実施形態のフィルタエレメント組立体の変形例を側面視して示す図である。 本実施形態の空気清浄システムおよび当該システムにより発生する気流を説明する図である。 本実施形態の空気清浄システムおよび当該システムにより発生する気流を説明する図である。
以下、本発明のフィルタエレメント、フィルタエレメント組立体、空気清浄システムについて説明する。
(フィルタエレメント)
図1に、本実施形態のフィルタエレメント1の分解斜視図を示す。
フィルタエレメント1は、加工済み濾材3と、後述する形状保持部材13および枠材14と、を備える。
加工済み濾材3は、図2に示されるように、気体中の塵埃を捕集するエアフィルタ濾材を、気体が当該エアフィルタ濾材を通過する方向に見たときの上流側に配される山部5と、下流側に配される谷部7とが交互に並ぶプリーツ形状に加工してなる。図2は、加工済み濾材3の断面を模式的に示す。気体が通過する方向は、図2において、左上から右下に向かう方向である。なお、図2において、山部5および谷部7の数は、説明の便宜ため、実際と異なる態様で表される。また、加工済み濾材3が湾曲した形状を分かりやすく説明するために、実際には現れない円弧状の曲線を示している。
エアフィルタ濾材の諸性能は、特に制限されないが、例えば、下記の中性能フィルタまたは高性能フィルタが好ましく用いられる。
中性能フィルタは、定格風量において捕集効率が、重量法(質量法)で90〜96%、比色法(光散乱積算法)で50〜80%、計数法で0.3μmの粒子に対して5〜50%のいずれかであって、圧力損失が79〜247Pa、粉塵保持容量が300〜800g/mのものが用いられる。捕集効率の測定は、重量法では、JIS Z8901に規定される15種の粉体、又は、米国暖房冷凍空調学会(ASHRAE)に規定される粉塵を用いて行われる。比色法では、JIS Z8901に規定される11種の粉体を用いて行われる。計数法では、粒径0.3mmの、大気塵、ポリアルファオレフィン(PAO)、シリカのいずれかの粒子を用いて行われる。粉塵保持容量は、エアフィルタ濾材が所定の最終圧力損失に達するまでに捕集した粉塵量である。
高性能フィルタは、定格風量において計数法による0.3μmの粒子に対して捕集効率が80%以上、圧力損失が150〜493Pa、粉塵保持容量が200〜800g/mのものが用いられる。
エアフィルタ濾材の繊維材料には、例えば、ガラス繊維または合成繊維が用いられる。エアフィルタ濾材には、これらの繊維材料からなる不織布、または、マット状またはフェルト状のものが用いられる。エアフィルタ濾材は、エレクトレット処理が施されてもよい。これにより、エアフィルタ濾材本来の捕集性能に、濾材の繊維が帯電することによる捕集性能が付与される。また、エアフィルタ濾材は、抗菌剤を付着させる抗菌処理を施して、抗菌性能を付与したものであってもよい。これらエレクトレット処理および抗菌処理は、組み合わせて行なってもよい。
加工済み濾材3は、エアフィルタ濾材にプリーツ加工が施されることで、山部5と谷部7が交互に並ぶプリーツ形状をなしている。プリーツ加工は、公知の方法によって行うことができ、例えば、ロータリー式またはレシプロ式の折り機を用いて行うことができる。加工済み濾材3のプリーツの数は特に制限されないが、例えば、加工済み濾材3の半径が30cmである場合は、55〜65個である。また、加工済み濾材3のプリーツの折り幅(山部5の頂部5a(図3(a)参照)と谷部7の谷底7a(図3(b)参照))は特に制限されないが、例えば、加工済み濾材3の半径が30cmである場合は、30〜50個である。
加工済み濾材3は、プリーツ形状における上流側のプリーツ間隔P1より下流側のプリーツ間隔P2が広いことで円弧状に湾曲している。「円弧状」には、加工済み濾材3を図2に示されるように断面視したとき、加工済み濾材3の山部5および谷部7が交互に現れる方向(以降、延在方向ともいう)が一定の曲率で湾曲している(円弧をなしている)ことのほか、一定でない曲率で湾曲していることも含まれる。一定でない曲率には、大きさが徐々に変化する曲率や、複数の大きさの曲率が組み合わされたものが含まれる。一定でない曲率に従って湾曲することには、例えば、楕円の弧をなすよう湾曲していることが含まれる。一定の曲率で湾曲する場合および一定でない曲率で湾曲する場合のいずれの場合も、加工済み濾材3は、延在方向に90度の角度範囲で延在していることが好ましい。これにより、フィルタエレメント1を天井等の壁に設置した場合に、壁に垂直な方向から壁と平行な方向にわたる広い範囲に気流が生成する。
加工済み濾材3の山部5には、間隔保持部が設けられている。間隔保持部は、下流側のプリーツ間隔P2が上流側のプリーツ間隔P1よりも広くなるよう上流側のプリーツ間隔P1を保持する機能を有する。このような間隔保持部の機能によって、加工済み濾材3が円弧状に湾曲した形状を保持しつつ、プリーツ間隔を均一に保持することができる。
ここで、間隔保持部によってこのような作用が得られる理由を説明する。加工済み濾材を湾曲させる際には、上流側の隣り合う山部同士が接触して気体の流路が塞がれないよう山部同士の間隔を確保しつつ、同時に、上流側のプリーツ間隔を下流側よりも短くすることを行う必要がある。しかし、上流側で生じる隣り合う山部同士が離れようとする反発力と、下流側で生じる隣り合う谷部同士が離れようとする反発力とが同様に存在していることから、これらの力を制御しながら、いずれの山部同士の間隔も塞がることがなく、かつ、上流側のプリーツ間隔を下流側よりも短くなるよう湾曲させることは難しい。しかし、本実施形態のフィルタエレメントでは、間隔保持部材が山部に設けられており、例えば、上流側の山部同士の間隔が短くなるよう上流側の部分に力を作用させても、上流側の山部同士の間隔が塞がることがないことから、上流側の部分に対しては単純に山部同士の間隔が短くなるように力を作用させるとともに下流側の部分に対してはそれより弱い力を作用させることで、山部同士の間隔を確保しつつ、かつ、湾曲した形状を簡単に得ることができる。
また、加工済み濾材は、繊維材料によって生じるプリーツ間隔が広がろうとする反発力が濾材の全域において均一ではないため、濾材自身の持つ当該反発力にまかせてプリーツ間隔を均一に保つことが難しい。しかし、本実施形態のフィルタエレメントでは、間隔保持部材によって、上記したように、上流側においてプリーツ間隔を均一に保持することができる。このように、上流側においてプリーツ間隔が均一に保たれる結果、下流側でもプリーツ間隔が均一に保たれる。
フィルタエレメント1は、さらに、プリーツの折り目(例えば、図3(a)に示す山部5の頂部5a)が延びる方向(以降、折り目方向ともいう)の加工済み濾材3の両端に取り付けられた1対の形状保持部材13(図1参照)を備えることが好ましい。1対の形状保持部材13は、前記間隔保持部とともに加工済み濾材3の湾曲した形状を保持する部材である。形状保持部材13は、断面略コ字形状を有し、加工済み濾材3の延在方向と同様に湾曲して延びる形状を有する。フィルタエレメント1は、1対の形状保持部材13を備える場合に、さらに、図1に示すように、1対の枠材14を備えることが好ましい。枠材14は、加工済み濾材の折り目方向に延びる形状の部材であり、加工済み濾材3の延在方向の端に取り付けられる。枠材14と形状保持部材13は互いに連結されて、加工済み濾材3の外周部を覆う枠体として機能する。形状保持部材13および枠材14の材質は、特に限定されず、例えば金属又はプラスチックが用いられる。
間隔保持部は、図3(a)および(b)に示すように、樹脂からなるスペーサ11を有することが好ましい。スペーサ11は、山部5の上流側および下流側の2つの面のうちの上流側の面にのみ形成されており、谷部7の上流側および下流側の2つの面のいずれにも形成されていない。スペーサ11に用いられる樹脂は、粘着性、非粘着性のいずれのものであってもよく、例えば、ホットメルト樹脂が好ましく用いられる。スペーサ11は、例えば、加工済み濾材3を平面状に広げた状態で、山部5の頂部5aとなる折り目と交差するよう、延在方向に延びて形成される。スペーサ11の形状、長さ、濾材からの高さ等は、特に制限されず公知のものを採用でき、プリーツ間隔P1、P2の長さに応じて適宜定められる。
間隔保持部は、図3(b)に示すように、さらに、加工済み濾材3の下流側の部分を覆うよう、加工済み濾材3に取り付けられる通気性シート部材13を有することが好ましい。通気性シート部材13は、粒径0.3μmの粒子の捕集効率が実質的に0であり、濾過速度5.3cm/秒であるときの圧力損失が1〜2Pa程度である。好ましい通気性シート部材13として、例えば、アイレックス社製の「CGスクリーン」が好ましく用いられる。通気性シート部材13は、谷部7のプリーツの折り目であって下流側の面(以降、谷底ともいう)7aを含む部分に、例えばホットメルト樹脂を介して接着されることが好ましい。これにより、使用中に、加工済み濾材3の下流側のプリーツ間隔P2が変化するのを抑制できる。通気性シート部材13の接着は、例えば次の要領で行うことができる。加工済み濾材3の下流側の部分がなす曲面と同じ曲率の曲面を有し、上方を向いて形成された凹状の載置面を有する載置台を用意し、当該載置台の載置面に通気性シート部材13を載置する。次いで、加工済み濾材3の谷部7の谷底7aにホットメルト樹脂等の接着剤を塗布したものを、下流側の部分を下方に向けて、通気性シート部材13を介して載置台の載置面に載せる。接着剤が硬化することで、通気性シート部材13を加工済み濾材3に取り付けられる。
本実施形態のフィルタエレメント1では、間隔保持部により円弧状に湾曲した加工済み濾材の形状が保持されるとともに、プリーツ間隔が均一に保持される。これにより、フィルタエレメントの下流側に広い範囲にわたって風量を均一にすることができ、フィルタエレメント1の下流側で乱流が生じるのを抑えることができる。このような本実施形態のフィルタエレメント1を用いて、後述するフィルタエレメント組立体10、空気清浄システム100を構成した場合は、室内の塵埃の巻上げ等を抑えることができる。
間隔保持部は、上記スペーサ11に代えて、または、上記スペーサ11と合わせて、加工済み濾材の山部に設けられたエンボス突起(不図示)を有していてもよい。エンボス突起は、公知の方法でつくることができ、例えば、隣り合う山部の向かい合う2つの面のそれぞれにエンボス突起を設け、当該2つの面を近づけるとエンボス突起同士が当接し、これによって隣り合う山部同士の間隔が保持されるものを挙げることができる。
(フィルタエレメント組立体)
次に、本実施形態のフィルタエレメント組立体を説明する。
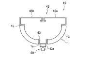
図4ないし図6に、本実施形態のフィルタエレメント組立体10を示す。図4は、フィルタエレメント組立体10を一部分解して示す分解斜視図である。図5は、フィルタエレメント組立体10を側面視して示す図である。図6は、フィルタエレメント組立体10の、図5に示すA−A線断面図である。
フィルタエレメント組立体10は、2つの上記フィルタエレメント1と、フィルタエレメント1が取り付けられるフレームユニット40と、を含み、2つのフィルタエレメントは、前記フレームユニットとともに気体が流れる筒形状をなすよう配されている。なお、フィルタエレメント1の数は、少なくとも2つであれば、特に限定されない。例えば、3つ以上であってもよいが、偶数個であることが好ましい。図4および図5に示すフィルタエレメント組立体10は、計8個のフィルタエレメント1を含む。また、本明細書において、2つのフィルタエレメントという場合は、特に断りのない場合を除き、後述する接続フレーム4の両側に配された2つのフィルタエレメントを指す。
フレームユニット40は、図4および図6に示されるように、接続フレーム43と、支持フレーム45と、を有し、フィルタエレメント1と支持フレーム45とで筒形状がつくられることが好ましい。
接続フレーム43は、2つのフィルタエレメント1の間に、2つのフィルタエレメント1を接続するよう配される。接続フレーム43は、フィルタエレメント組立体10が延びる方向と同じ方向に延びる棒状の部分である。なお、接続フレーム43と両側のフィルタエレメント1との間には、それぞれ筒形状の内側の空気のリークを防止するための例えばガスケット44(図8参照)が配されている。接続フレーム43の形状、長さ等は特に制限されない。なお、接続フレーム43は、後述する照明具が取り付けられる台座43aが設けられてもよい。
支持フレーム45は、室内の天井(壁)90(図11参照)に接続フレーム43と向かい合うよう設けられ、フィルタエレメント1の接続フレーム43と接する端1a(図6参照)と反対側の端1b(図6参照)を天井側から支持する。なお、フィルタエレメント1と接続フレーム43が接するという場合、直接接している場合のほか、図8に示されるガスケット44等を介して間接的に接している場合も含まれる。支持フレーム45は、単一の部材であってもよく、図6に示されるように、2つの部材45a、45bが組み合わされたものであってもよい。2つの部材45a、45bはそれぞれ、板状に延在する部分を有し、天井にビス止め等により取り付けられ、図6に示されるように並べて配されて、1つの平面状の形状を有する。上記筒形状は、具体的には、支持フレーム45、接続フレーム43、および2つのフィルタエレメント1により囲まれた空間の形状である。なお、2つの部材45a、45bの間には、筒形状の内側の空気のリークを防止するための例えば図示されないガスケットが配されている。また、支持フレーム45とフィルタエレメント1との間にも、筒形状の内側の空気のリークを防止するガスケット46(図7および図9参照)が配されている。ガスケットの材質は、他で説明したものも含め、例えば、発泡ポリウレタン樹脂が用いられるが、特にこれに限定されない。支持フレーム45の形状、長さ等は特に制限されない。
フレームユニット40は、さらに、その長手方向に等間隔で設けられた複数の区画フレーム47を有することが好ましい。区画フレーム47は、具体的に、プリーツの折り目方向の長さに対応する間隔を開けて複数設けられている。区画フレーム47は、プリーツの折り目方向に見たときに、フィルタエレメント1の加工済み濾材3と同様の円弧状に湾曲した形状を有するとともに、内側に上記筒形状が形成されている。フレームユニット40には、接続フレーム43を挟む両側に、接続フレーム43,支持フレーム41、および区画フレーム47に囲まれてなる開口部49が設けられる。開口部49は、フィルタエレメント1の大きさに対応している。開口部49の数は、特に制限されないが、図4に示す例では、接続フレーム43の両側に4個ずつ、計8個の開口部49が形成されている。
接続フレーム43および支持フレーム45は一体に形成されてもよく、別個に作成されて互いに接続されてもよい。フレームユニット40は、例えば金属又はプラスチック製の部材である。
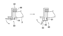
フィルタエレメント組立体10は、図7および図8に示されるように、さらに、フィルタエレメント1をフレームユニット40に着脱自在に取り付けるための取付機構60を含むことが好ましい。図7は、取付機構60を構成する2つの部分のうちの一方の部分を示す図である。図8は、取付機構60を構成する2つの部分のうちの他方の部分を示す図である。
取付機構60は、図7に示される、フィルタエレメント1の上端側に配されるものと、図8に示されるフィルタエレメント1の下端側に配されるものとで構成される。なお、取付機構60は、フィルタエレメント1のプリーツの折り目方向に、1又は複数配されてもよい。また、図7および図8には、接続フレーム43の片方の側(図6の右側)に配されたフィルタエレメント1側に設けられたものを示すが、接続フレーム43の他方の側(図6の左側)に配されたフィルタエレメント1側にも、図7および図8に示されるものと同様のものが設けられている。
図7および図8に示される取付機構60の部分には、公知のものを採用でき、フィルタエレメント1の枠材14に設けられたフック61と、支持フレーム45に設けられたレバー63、およびレバー63に設けられたリング65と、を備える。リング65は、図7および図8において側面視して示されるが、環状、または一部(レバー63に接続される部分)が欠けた環状の形状を有する。図7では、レバー63を倒した状態で、リング65をフック61に係止してレバー63を起こすことで、フィルタエレメント1が上方に引き上げられる。図8では、レバー63を先端が下方を向いた状態で、リング65をフック61に係止してレバー63を起こすことで、フィルタエレメント1が左方に引き寄せられる。この機構には、市販のものを採用できる。なお、ここで説明した取付機構60に代えて、例えば、タキゲン社製のローレットつまみや、蝶ネジを用いて、フィルタエレメント1をフレームユニット40に着脱自在に取り付けてもよい。
なお、取付機構は、上記説明したものに限定されず、例えば、図7に示すものに代えて図9に示す、取付機構80の一方の部分が採用されたものであってもよい。図9は、図7に示される取付機構80の部分の変形例を示す図である。取付機構80の他方の部分は、図8に示されるものと同じものを採用できる。また、上記取付機構60の代わりに、一方の部分として図7に示されるものが用いられるとともに、他方の部分として、図9に示されるものと同様に機能するものが用いられてもよい。
図9に示される取付機構80は、フィルタエレメント1の枠材14に設けられたフック83と、支持フレーム45に設けられた軸81とで構成される。フック83は、軸81に係止させることができ、軸81に係止した状態で軸81を中心として回動することができる。これにより、フィルタエレメント1を回動させることができる。軸81が取り付けられた支持フレーム45には、フック83の先端が入り込むことが可能な図示されない穴が形成されている。フィルタエレメント1をフレームユニット40に取り付ける場合は、まず、フック83を軸81に係止し、フィルタエレメント1を回動させてフィルタエレメント1の下端側を接続フレーム43に近づけ、次いで、図8に示される機構を操作して、フィルタエレメント1をフレームユニット40に固定する。
以上の取付機構60,80を用いて、フィルタエレメント1をフレームユニット40に取り付けることで、フィルタエレメント1がガスケット44,46を介してフレームユニット40に圧接されるので、フィルタエレメント1とフレームユニット40との間のリークを確実に防止できる。
フィルタエレメント組立体10は、さらに、接続フレーム43の室内(例えば図11および図12に示される空気清浄システム100が配された空間)側の面に取り付けられた照明具を含むことが好ましい。照明具は、可視光を照射しうるものであれば特に制限されず、例えば蛍光灯50が用いられる。照明具は、蛍光灯50のほか、LEDであってもよい。照明具は、例えば、室内で食品加工等を行う場合は、食材の美観、衛生上の面から、紫外線を含まない光を照射する無紫外タイプのものが好ましく用いられる。
本実施形態では、上記開口部49のすべてにフィルタエレメント1が配されたものについて説明したが、フレームユニット40に設けられる開口部49には、フィルタエレメント1が配されたもののほか、図10に示されるように、上記筒形状の内側と室内の空間とを遮断するパネル部材70が配されたものが含まれてもよい。言い換えると、フレームユニット40に設けられる開口部49には、フィルタエレメント1、パネル部材70のいずれかが配されていてもよい。図10は、本実施形態のフィルタエレメント組立体10の変形例を示す図である。
フィルタエレメント1に気体を通過させるためには、後述するファンを駆動してフィルタエレメント1に空気を供給する必要がある。しかし、例えば、室内の清浄度を上げるスピードよりもファン駆動に伴う電力消費の抑制を優先させたい場合は、室内に配するフィルタエレメント1の数を抑えることが有効である。この場合は、具体的に、開口部の数に対してフィルタエレメントの数を少なくし、少なくした分だけパネル部材を配することで開口部を塞げばよい。上記説明したフィルタエレメント組立体10によれば、このように開口部を用いることで、所定の清浄度を速く得ることと、電力消費を抑えることとのバランスを図りながら、フィルタエレメント1の数とパネル部材70の数を適宜調節することができ、そのための作業を、モジュール化された上記フィルタエレメント1およびパネル部材を用いることで、簡単に素早く行うことができる。
パネル部材70には、気体の通過を遮断するものであれば特に制限なく使用でき、金属、プラスチック、ガラス、木製のものを採用できる。なお、フィルタエレメント組立体10の美観の点で、パネル部材70は、フィルタエレメント1と同様に円弧状に湾曲したものを用いることが好ましい。
本実施形態のフィルタエレメント組立体10は、円弧状に湾曲した加工済み濾材3の形状が保持され、プリーツ間隔が均一に保持された上記フィルタエレメント1を備えることで、フィルタエレメント1の下流側に広い範囲にわたって風量を均一にすることができる。これにより、フィルタエレメント組立体10の下流側で乱流が生じるのを抑えることができ、室内の塵埃の巻き上げ等を抑えることができる。したがって、本実施形態のフィルタエレメント組立体10は、室内で、例えば食材など、塵埃の付着が問題となるような物が扱われている場合に、そのような問題が生じるのを効果的に防ぐことができる。
加工済み濾材3が90度の角度範囲に延在している場合は、フィルタエレメント組立体10を天井に設置した場合に、フィルタエレメント組立体10の下方向のみでなく、天井と平行な方向にも送風されるため、天井に沿ってフィルタエレメント組立体10側に向かって流れる気流が発生しにくい。このため、フィルタエレメント組立体10の下方向に放出された空気が室内で床、側壁、天井に順に沿って流れる対流が生じるのを抑え、当該対流に室内の塵埃が混ざることで、天井側から下方に塵埃が落下することを抑えることができる。
(空気清浄システム)
次に、本実施形態の空気清浄システムについて説明する。
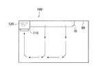
図11に、室内に設置された本実施形態システム100を側面視して示す。図12に、空気清浄システム100を、その長手方向に見て示す。なお、空気清浄システム100は、室内に、1台のみ配されてもよく、複数台配されてもよい。
本実施形態の空気清浄システム100は、天井90に取り付けられ、室内の空気を清浄化するシステムであって、上記フィルタエレメント組立体10と、室内の空気を取り込むための吸気口110と、吸気口110から取り込んだ空気をフィルタエレメント組立体10内に供給するファン120と、を備える。
吸気口110は、フィルタエレメント1内を流れる気流の上流側(図11において左側)に設けられている。吸気口110は、図11において矢印で示される気流をつくる観点から、下方を向いて取り付けられていることが好ましい。これにより、下方から上昇する気流を取り込みやすくなり、余分に気流を発生させずに済む。
ファン120は、吸気口110に対し気流の下流側に配されている。ファン120は、風量に応じて回転数が制御される。
本実施形態の空気清浄システム100では、図12に示すように、システム100の下方のみでなく、天井に沿った方向にも均一な風量で気体を放出する。これにより、システム100の下方では部屋の床面にかけて上方から包み込むような空気の流れが形成されるとともに、室内の側壁、天井に順に沿って室内の塵埃がシステム100に向かって流れる気流の発生を防止することができる。このような包み込む気流がつくられたスペースは、塵埃の付着を防止すべきもの(例えば、食品、半導体部品)を扱うのに適しており、システム100の直下に作業台等を配することで、清浄な空間内で当該ものを扱うことができる。
本実施形態の空気清浄システム100は、図12に示されるように、部屋の壁に沿って上昇する気流が発生させず、図11に示されるように、システム100に取り込まれる気流を、吸気口110の下方において1つの上昇気流から取り込む。
空気清浄システム100は、さらに、図示されない粗塵フィルタを備えていてもよい。粗塵フィルタには、フィルタエレメント1の加工済み濾材3よりも捕集性能が低いものが用いられる。また、空気清浄システム100は、気体の流路に沿って配された、熱交換器、加湿器等を備えていてもよい。
以上、本発明のフィルタエレメント、フィルタエレメント組立体、および空気浄化システムについて詳細に説明したが、本発明は上記実施形態に限定されず、本発明の主旨を逸脱しない範囲において、種々の改良や変更をしてもよいのはもちろんである。
例えば、フィルタエレメント組立体、および空気清浄システムは、室内の天井でなく、側壁に設置されてもよい。
1 フィルタエレメント
3 加工済み濾材
5 山部
5a 頂部
7 谷部
11 間隔保持部
13 形状保持部材
40 フレームユニット
43 接続フレーム
45 支持フレーム
49 開口部
50 照明具
60,80 取付機構
70 パネル部材
90 壁
100 空気清浄システム
110 吸気口
120 ファン
P1 上流側のプリーツ間隔
P2 下流側のプリーツ間隔

Claims (10)

  1. 気体中の塵埃を捕集するエアフィルタ濾材を、気体が前記エアフィルタ濾材を通過する方向に見たときの上流側に配される山部と下流側に配される谷部とが交互に並ぶプリーツ形状に加工してなる加工済み濾材を備えるフィルタエレメントであって、
    前記加工済み濾材は、前記プリーツ形状における前記上流側のプリーツ間隔より前記下流側のプリーツ間隔が広いことで円弧状に湾曲しており、
    前記加工済み濾材の山部には、前記下流側のプリーツ間隔が前記上流側のプリーツ間隔よりも広くなるよう前記上流側のプリーツ間隔を保持する間隔保持部としてスペーサが設けられ
    前記スペーサは、前記山部の前記上流側および前記下流側の2つの面のうち前記上流側の面に形成され、前記谷部の前記上流側および前記下流側の2つの面のいずれにも形成されていない、ことを特徴とするフィルタエレメント。
  2. 気体中の塵埃を捕集するエアフィルタ濾材を、気体が前記エアフィルタ濾材を通過する方向に見たときの上流側に配される山部と下流側に配される谷部とが交互に並ぶプリーツ形状に加工してなる加工済み濾材を備えるフィルタエレメントであって、
    前記加工済み濾材は、前記プリーツ形状における前記上流側のプリーツ間隔より前記下流側のプリーツ間隔が広いことで円弧状に湾曲しており、
    前記加工済み濾材の山部には、前記下流側のプリーツ間隔が前記上流側のプリーツ間隔よりも広くなるよう前記上流側のプリーツ間隔を保持する間隔保持部が設けられ、
    前記間隔保持部は、前記山部の頂部と交差するよう延びて形成された樹脂からなるスペーサを有し、
    前記スペーサは、前記山部の前記上流側および前記下流側の2つの面のうち前記上流側の面に形成され、前記谷部の前記上流側および前記下流側の2つの面のいずれにも形成されていない、ことを特徴とするフィルタエレメント。
  3. 前記間隔保持部は、さらに、前記加工済み濾材の前記下流側の部分を覆うよう、前記加工済み濾材に取り付けられる通気性シート部材を有する、請求項1又は2に記載のフィルタエレメント。
  4. さらに、前記プリーツの折り目が延びる方向の前記加工済み濾材の両端に取り付けられた1対の形状保持部材を備え、
    前記1対の形状保持部材は、前記間隔保持部とともに前記加工済み濾材の湾曲した形状を保持する、請求項1〜3のいずれか1項に記載のフィルタエレメント。
  5. 請求項1から4のいずれか1項に記載の2つのフィルタエレメントと、
    前記フィルタエレメントが取り付けられるフレームユニットと、を含み、
    前記2つのフィルタエレメントは、前記フレームユニットとともに気体が流れる筒形状をなすよう配されていることを特徴とするフィルタエレメント組立体。
  6. さらに、前記フィルタエレメントを前記フレームユニットに着脱自在に取り付けるための取付機構を含む、請求項5に記載のフィルタエレメント組立体。
  7. 前記フレームユニットは、前記2つのフィルタエレメントの間に配され、前記フィルタエレメントを接続する接続フレームと、室内の壁に前記接続フレームと向かい合うよう設けられ、前記フィルタエレメントの前記接続フレームと接する端と反対側の端を前記壁側から支持する支持フレームと、を有し、
    前記フィルタエレメントと前記支持フレームとで前記筒形状がつくられる、請求項5または6に記載のフィルタエレメント組立体。
  8. さらに、前記接続フレームの前記室内側の面に取り付けられた照明具を含む、請求項7に記載のフィルタエレメント組立体。
  9. 前記フレームユニットには、前記接続フレームを挟む両側に、前記フィルタエレメントの大きさに対応して形成された複数の開口部が設けられ、
    前記開口部には、前記フィルタエレメントが配されたものと、前記筒形状の内側と前記室内の空間とを遮断するパネル部材が配されたものとが含まれる、請求項7又は8に記載のフィルタエレメント組立体。
  10. 壁に取り付けられ、室内の空気を清浄化する空気清浄システムであって、
    請求項5から9のいずれか1項に記載のフィルタエレメント組立体と、
    前記室内の空気を取り込むための吸気口と、
    前記吸気口から取り込んだ空気を前記フィルタエレメント組立体内に供給するファンと、を備えることを特徴とする空気清浄システム。
JP2014074337A 2014-03-31 2014-03-31 フィルタエレメント、フィルタエレメント組立体、および空気清浄システム Active JP6284806B2 (ja)

Priority Applications (1)

Application Number Priority Date Filing Date Title
JP2014074337A JP6284806B2 (ja) 2014-03-31 2014-03-31 フィルタエレメント、フィルタエレメント組立体、および空気清浄システム

Applications Claiming Priority (1)

Application Number Priority Date Filing Date Title
JP2014074337A JP6284806B2 (ja) 2014-03-31 2014-03-31 フィルタエレメント、フィルタエレメント組立体、および空気清浄システム

Publications (2)

Publication Number Publication Date
JP2015196117A JP2015196117A (ja) 2015-11-09
JP6284806B2 true JP6284806B2 (ja) 2018-02-28

Family

ID=54546198

Family Applications (1)

Application Number Title Priority Date Filing Date
JP2014074337A Active JP6284806B2 (ja) 2014-03-31 2014-03-31 フィルタエレメント、フィルタエレメント組立体、および空気清浄システム

Country Status (1)

Country Link
JP (1) JP6284806B2 (ja)

Cited By (2)

* Cited by examiner, † Cited by third party
Publication number Priority date Publication date Assignee Title
KR102583371B1 (ko) * 2022-10-28 2023-09-26 주식회사 신성이엔지 케미컬 필터 일체형 팬 필터 유닛
US11897003B2 (en) 2006-06-28 2024-02-13 Monsanto Technology Llc Small object sorting system and method

Families Citing this family (2)

* Cited by examiner, † Cited by third party
Publication number Priority date Publication date Assignee Title
KR101707784B1 (ko) * 2016-12-12 2017-02-16 임성빈 잉크 분진 제거 기능을 갖는 잉크젯 프린터 전용 헤파필터
KR101707783B1 (ko) * 2016-12-12 2017-02-16 임성빈 잉크 분진 제거 기능을 갖는 헤파필터

Family Cites Families (8)

* Cited by examiner, † Cited by third party
Publication number Priority date Publication date Assignee Title
JPS57199026U (ja) * 1981-06-10 1982-12-17
JPS5932916A (ja) * 1982-08-20 1984-02-22 Tokyo Roka Kogyosho:Kk 濾過材の製造方法
JPH0244827Y2 (ja) * 1986-08-22 1990-11-28
JPS6343621U (ja) * 1986-09-08 1988-03-23
JPH0538821Y2 (ja) * 1988-07-27 1993-09-30
JPH02111411A (ja) * 1988-10-20 1990-04-24 Sanki Eng Co Ltd 天吊型クリーンユニット
US5512086A (en) * 1994-06-14 1996-04-30 Appliance Development Corporation High-efficiency air filtering apparatus
JP3872573B2 (ja) * 1997-11-04 2007-01-24 三機工業株式会社 クリーンルーム用天井構造

Cited By (2)

* Cited by examiner, † Cited by third party
Publication number Priority date Publication date Assignee Title
US11897003B2 (en) 2006-06-28 2024-02-13 Monsanto Technology Llc Small object sorting system and method
KR102583371B1 (ko) * 2022-10-28 2023-09-26 주식회사 신성이엔지 케미컬 필터 일체형 팬 필터 유닛

Also Published As

Publication number Publication date
JP2015196117A (ja) 2015-11-09

Similar Documents

Publication Publication Date Title
JP7240117B2 (ja) 個人化された空気浄化装置
AU674977B2 (en) Air purifying apparatus
JP6284806B2 (ja) フィルタエレメント、フィルタエレメント組立体、および空気清浄システム
KR102258030B1 (ko) 집진 기류 유인팬
KR102311002B1 (ko) 2개의 광촉매 미디어 사이에 uv led가 구비되어 유해물질, 세균, 바이러스를 제거하는 기능을 가지는 공기조화기용 다기능 필터 어셈블리와 이를 구비하는 공기조화기
KR102554996B1 (ko) 환기장치용 필터박스 및 이를 포함하는 환기장치
CN113163922A (zh) 用于美甲师工作区域的空气净化器
ATE330186T1 (de) Reinraum mit einem gebläse, das einen filter (hepa) und leitungen enthält
KR20100012376A (ko) 공기조화기용 필터유닛
KR102267416B1 (ko) 필터 교환형 환기 디퓨저
CN107243201B (zh) 空气净化模组和空气净化器
KR102225287B1 (ko) 필터가 구비되는 환기 디퓨저
KR20200000231U (ko) 공기청정기용 원형필터
JP2018110689A (ja) 互換性を有する通気継手で連結した清浄・浄化システム
CN207307475U (zh) 空气净化模组和空气净化器
TW200626845A (en) Air conditioner
KR20170040498A (ko) 360도 전방향 공기순환 및 밀폐성능을 구현한 공기청정기
KR20140011437A (ko) 크린룸용 환기장치가 구비된 내장판넬
FI125673B (fi) Laitteisto ja menetelmä huonetilan ilmanpaineen säätämiseksi
CN212179088U (zh) 一种空气净化器
JP5122427B2 (ja) ファンヒータ
CN206463686U (zh) 用于水洗式空气净化器的出风口结构
CN205481395U (zh) 一种高效空气净化器
KR102280707B1 (ko) 천정형 공기정화장치 및 이를 사용한 공기정화시스템
JP7485963B2 (ja) 天井設置型空気調和機

Legal Events

Date Code Title Description
A621 Written request for application examination

Free format text: JAPANESE INTERMEDIATE CODE: A621

Effective date: 20170125

A977 Report on retrieval

Free format text: JAPANESE INTERMEDIATE CODE: A971007

Effective date: 20170706

A131 Notification of reasons for refusal

Free format text: JAPANESE INTERMEDIATE CODE: A131

Effective date: 20170711

A521 Request for written amendment filed

Free format text: JAPANESE INTERMEDIATE CODE: A523

Effective date: 20170907

TRDD Decision of grant or rejection written
A01 Written decision to grant a patent or to grant a registration (utility model)

Free format text: JAPANESE INTERMEDIATE CODE: A01

Effective date: 20180130

A61 First payment of annual fees (during grant procedure)

Free format text: JAPANESE INTERMEDIATE CODE: A61

Effective date: 20180131

R150 Certificate of patent or registration of utility model

Ref document number: 6284806

Country of ref document: JP

Free format text: JAPANESE INTERMEDIATE CODE: R150

R250 Receipt of annual fees

Free format text: JAPANESE INTERMEDIATE CODE: R250

R250 Receipt of annual fees

Free format text: JAPANESE INTERMEDIATE CODE: R250

R250 Receipt of annual fees

Free format text: JAPANESE INTERMEDIATE CODE: R250

R250 Receipt of annual fees

Free format text: JAPANESE INTERMEDIATE CODE: R250

R250 Receipt of annual fees

Free format text: JAPANESE INTERMEDIATE CODE: R250

R250 Receipt of annual fees

Free format text: JAPANESE INTERMEDIATE CODE: R250