JP6251635B2 - コンデンサモジュール及び電力変換装置 - Google Patents

コンデンサモジュール及び電力変換装置 Download PDF

Info

Publication number
JP6251635B2
JP6251635B2 JP2014100726A JP2014100726A JP6251635B2 JP 6251635 B2 JP6251635 B2 JP 6251635B2 JP 2014100726 A JP2014100726 A JP 2014100726A JP 2014100726 A JP2014100726 A JP 2014100726A JP 6251635 B2 JP6251635 B2 JP 6251635B2
Authority
JP
Japan
Prior art keywords
potting
welded
bus bar
potting surface
terminal
Prior art date
Legal status (The legal status is an assumption and is not a legal conclusion. Google has not performed a legal analysis and makes no representation as to the accuracy of the status listed.)
Active
Application number
JP2014100726A
Other languages
English (en)
Other versions
JP2015220789A (ja
Inventor
和成 小島
和成 小島
芳樹 冨田
芳樹 冨田
Current Assignee (The listed assignees may be inaccurate. Google has not performed a legal analysis and makes no representation or warranty as to the accuracy of the list.)
Denso Corp
Toyota Motor Corp
Original Assignee
Denso Corp
Toyota Motor Corp
Priority date (The priority date is an assumption and is not a legal conclusion. Google has not performed a legal analysis and makes no representation as to the accuracy of the date listed.)
Filing date
Publication date
Application filed by Denso Corp, Toyota Motor Corp filed Critical Denso Corp
Priority to JP2014100726A priority Critical patent/JP6251635B2/ja
Publication of JP2015220789A publication Critical patent/JP2015220789A/ja
Application granted granted Critical
Publication of JP6251635B2 publication Critical patent/JP6251635B2/ja
Active legal-status Critical Current
Anticipated expiration legal-status Critical

Links

Images

Landscapes

  • Inverter Devices (AREA)

Description

本発明は、コンデンサモジュール及びこれを備えた電力変換装置に関する。
例えばインバータ等の電力変換装置には、コンデンサ素子を内蔵したコンデンサモジュールが組み込まれている。コンデンサモジュールとしては、コンデンサ素子と、該コンデンサ素子を埋設してなるポッティング樹脂と、コンデンサ素子の電極に接続されると共にポッティング面から突出した複数の板状のバスバ端子とを有するものがある。かかるコンデンサモジュールのバスバ端子をリアクトル等の他の部品の端子と接続するにあたっては、ネジ等の締結部材が用いられている(特許文献1)。
特開2013−132136号公報
しかしながら、コンデンサモジュールのバスバ端子をネジ締結によって他の部品と接続する構成は、部品点数、組付工数等の観点において改善の余地がある。すなわち、バスバ端子を他の部品の端子と溶接によって接続すれば、部品点数の削減、組付工数の低減につながる。
ところが、溶接を行うと、溶接部からの高温ガスの発生や、スパッタの発生を避けることができないため、これらによってコンデンサモジュールのポッティング面が熱害を受けるおそれがある。すなわち、ポッティング面に高温ガスやスパッタが当たることにより、ポッティング樹脂の防湿機能、絶縁機能等に悪影響を及ぼすことが懸念される。また、この熱害を防ぐために、バスバ端子の溶接部をポッティング面から大きく離した構成とすることも考えられるが、この場合には、コンデンサモジュール全体の体格が大きくなってしまうため、現実的ではない。
本発明は、かかる背景に鑑みてなされたものであり、部品点数、組付工数を低減することができると共に、大型化を招くことなくポッティング樹脂を熱害から保護することができるコンデンサモジュール及びこれを備えた電力変換装置を提供しようとするものである。
本発明の一態様は、コンデンサ素子と、
該コンデンサ素子を埋設してなるポッティング樹脂と、
上記コンデンサ素子の電極に接続されると共に上記ポッティング樹脂の表面であるポッティング面から突出した複数の板状のバスバ端子と、を有し、
上記複数のバスバ端子の少なくとも一つは、他の部品と溶接される溶接部を有する溶接用端子であって、
上記ポッティング面の法線方向から見たとき、上記溶接部は上記ポッティング面の外側に配置されており、
上記複数のバスバ端子の少なくとも一つは、上記溶接部と上記ポッティング面の少なくとも一部との間を遮蔽する遮蔽部を有し、
上記コンデンサ素子と電気的に絶縁された付属バスバを一体的に設けてなり、該付属バスバの少なくとも一つは、他の部品と溶接される付属溶接部を有する溶接用付属端子であって、上記ポッティング面の法線方向から見たとき、上記付属溶接部は上記ポッティング面の外側に配置されており、上記付属バスバの少なくとも一つは、上記付属溶接部と上記ポッティング面の少なくとも一部との間を遮蔽する付属遮蔽部を有することを特徴とするコンデンサモジュールにある。
本発明の他の態様は、ンデンサモジュールを備えた電力変換装置であって、
上記コンデンサモジュールは、コンデンサ素子と、
該コンデンサ素子を埋設してなるポッティング樹脂と、
上記コンデンサ素子の電極に接続されると共に上記ポッティング樹脂の表面であるポッティング面から突出した複数の板状のバスバ端子と、を有し、
上記複数のバスバ端子の少なくとも一つは、他の部品と溶接される溶接部を有する溶接用端子であって、
上記ポッティング面の法線方向から見たとき、上記溶接部は上記ポッティング面の外側に配置されており、
上記複数のバスバ端子の少なくとも一つは、上記溶接部と上記ポッティング面の少なくとも一部との間を遮蔽する遮蔽部を有し、
上記コンデンサモジュールと、該コンデンサモジュールに電気的に接続された電子部品とは、装置ケース内に収容されており、上記電子部品の部品端子と上記溶接用端子とは、溶接されており、上記装置ケースは、上記ポッティング面の一部と上記溶接部との間に配された保護板部を有することを特徴とする電力変換装置にある。
上記コンデンサモジュールにおいて、複数のバスバ端子の少なくとも一つは、他の部品と溶接される溶接部を有する溶接用端子である。それゆえ、溶接用端子と他の部品とを、ネジ締結ではなく、溶接により接続することができる。その結果、部品点数、組み付け工数を低減することができる。
また、ポッティング面の法線方向から見たとき、溶接部はポッティング面の外側に配置されている。それにより、溶接部と他の部品との溶接時に発生する高温ガスやスパッタが、ポッティング面に向かって飛散することを低減することができる。すなわち、溶接時には、高温ガスやスパッタが溶接部から四方八方に飛散するが、溶接部をポッティング面の外側に配置することにより、ポッティング面に向かって飛散する高温ガスやスパッタを減らすことができる。
また、複数のバスバ端子の少なくとも一つは、溶接部とポッティング面の少なくとも一部との間を遮蔽する遮蔽部を有する。それゆえ、ポッティング面に向かって飛散する高温ガスやスパッタの少なくとも一部は、遮蔽部に遮られる。その結果、ポッティング樹脂を熱害から保護することができる。
また、これに伴い、溶接部をポッティング面から大きく離す必要もなくなる。その結果、溶接用端子を大きく突出させる必要がなく、コンデンサモジュールの体格の大型化を防ぐことができる。
また、上記電力変換装置においては、上記電子部品の部品端子と溶接用端子とが、溶接されている。それゆえ、部品点数、組み付け工数を低減することができる。また、上記装置ケースは、ポッティング面の一部と溶接部との間に配された保護板部を有する。それゆえ、溶接時に発生する高温ガスやスパッタを、バスバ端子の遮蔽部と共に保護板部によっても遮ることができる。その結果、ポッティング面をより広い範囲で熱害から保護することができる。
以上のごとく、本発明によれば、部品点数、組付工数を低減することができると共に、大型化を招くことなくポッティング樹脂を熱害から保護することができるコンデンサモジュール及びこれを備えた電力変換装置を提供することができる。
参考例における、コンデンサモジュールの斜視図。 参考例における、コンデンサモジュールの正面図。 参考例における、コンデンサモジュールの上面図。 参考例における、溶接部と他の部品の端子との(a)溶接前の状態の説明図、(b)溶接後の状態の説明図。 実施例1における、コンデンサモジュールの正面図。 実施例1における、コンデンサモジュールの斜視図。 実施例1における、コンデンサモジュールの別の斜視図。 実施例2における、電力変換装置の断面図。 図8のIX−IX矢視断面図。
コンデンサモジュールは、電気自動車、ハイブリッド自動車等に搭載されるインバータ等の電力変換装置の一部を構成するものである。電力変換装置は、例えば、電気自動車、ハイブリッド自動車等の動力源である交流モータに通電する駆動電流の生成に用いられる。
参考例
上記コンデンサモジュールの参考例につき、図1〜図4を用いて説明する。
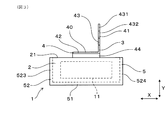
本例のコンデンサモジュール1は、図1〜図3に示すごとく、コンデンサ素子11と、コンデンサ素子11を埋設してなるポッティング樹脂2と、コンデンサ素子11の電極に接続されると共にポッティング樹脂2の表面であるポッティング面21から突出した複数の板状のバスバ端子3とを有する。
複数のバスバ端子3の少なくとも一つは、他の部品と溶接される溶接部41を有する溶接用端子4である。図2に示すごとく、ポッティング面21の法線方向(以下において、この方向を、適宜「法線方向Y」という。)から見たとき、溶接部41はポッティング面21の外側に配置されている。複数のバスバ端子3の少なくとも一つは、溶接部41とポッティング面21の少なくとも一部との間を遮蔽する遮蔽部40を有する。本例においては、バスバ端子3のうちの溶接用端子4が、遮蔽部40を有する。そして、遮蔽部40は、ポッティング面21に平行に形成されている。なお、図1〜図3においては、一つのバスバ端子3(溶接用端子4)のみを図示し、他のバスバ端子の図示を省略している。
図2、図3に示すごとく、コンデンサ素子11とポッティング樹脂2とは、コンデンサケース5内に収容されている。コンデンサケース5は、四角形板状の底壁部51と、底壁部51の端縁から垂直に立設する側壁部52とから構成されている。コンデンサケース5は、底壁部51と反対側が開放している。
図1、図2に示すごとく、側壁部52は、互いに対向する第1側壁部521と第2側壁部522とを有する。また、側壁部52は、第1側壁部521と第2側壁部522とが対向する方向に直交する方向において、互いに対向する第3側壁部523と第4側壁部524とを有する。なお、以下において、第1側壁部521と第2側壁部522とが対向する方向を、適宜「高さ方向Z」といい、高さ方向Zにおける第1側壁部521側を「上側」、第2側壁部522側を「下側」という。また、高さ方向Zと法線方向Yとの双方に直交する方向を「横方向X」という。また、法線方向Yにおけるポッティング面21が向く側を「前方」といい、その反対側を「後方」という。なお、上下、前後の表現は、便宜的なものであり、鉛直方向や、コンデンサモジュール1の配置方向等を特に限定するものではない。
コンデンサ素子11は、コンデンサケース5内に充填されたポッティング樹脂2によって封止されている。コンデンサケース5の底壁部51と反対側には、ポッティング面21が露出している。ポッティング樹脂2としては、例えば、耐湿性及び絶縁性に優れるエポキシ樹脂を用いることができる。ポッティング面21からは、バスバ端子3が突出している。
図1〜図3に示すごとく、バスバ端子3のうちの溶接用端子4は、ポッティング面21に平行に形成された平行部42と、平行部42の端縁から前方へ屈曲した立設部43とを有する。そして、溶接用端子4は、平行部42に遮蔽部40を有し、立設部43の端部に溶接部41を有する。
具体的には、溶接用端子4は、コンデンサケース5内のコンデンサ素子11の一方の電極に接続されていると共に、コンデンサケース5における第1側壁部521に近い位置において、ポッティング面21から露出している。溶接用端子4は、ポッティング面21からその法線方向Yに立ち上がる立上部44から第1壁部521側に屈曲されて平行部42を形成している。平行部42の上端は、ポッティング面21の上端よりも上側に位置している。平行部42の第4側壁部524に近い側の端縁から法線方向Yに立設部43が立設されている。平行部42と立設部43とは互いに直交している。また、立設部43は、第4側壁部524と略平行である。
立設部43には、上側に突出する第1突出部431と、第1突出部431の一部からさらに上側に突出する第2突出部432とが設けられている。この第2突出部432が、溶接部41である。溶接部41は、ポッティング面21の上端よりも上側に配されている。すなわち、溶接部41は、法線方向Yから見て、ポッティング面21と重ならない位置に配されている。
図2に示すごとく、平行部42は、四角形板状に形成されている。平行部42は、法線方向Yから見て、一部がポッティング面21と重なっている。そして、溶接部41とポッティング面21の少なくとも一部との間は、平行部42により遮蔽されている。すなわち、この平行部42が遮蔽部40となる。換言すると、平行部42(遮蔽部40)は、溶接部41とポッティング面21の各部とを結ぶあらゆる線分のうち、少なくとも一部の線分と交差するように配されている。
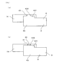
溶接用端子4と他の部品とを溶接する際には、まず、図4(a)に示すごとく、溶接部41と他の部品の端子14とを、これらの厚み方向、すなわち横方向Xに重ね合わせる。そして、TIG溶接等により、溶接部41と他の部品の端子14とを溶接する。これにより、コンデンサモジュール1と他の部品とが接続される。溶接後は、図4(b)に示すごとく、溶接部41と他の部品の端子14とが溶融、変形し、溶融部46を形成する。なお、他の部品の端子14としては、例えば、リアクトルの端子もしくはリアクトルと接続されるバスバーの端子とすることができる。
次に、本例の作用効果につき説明する。
本例のコンデンサモジュール1において、複数のバスバ端子3の少なくとも一つは、他の部品と溶接される溶接部41を有する溶接用端子4である。それゆえ、溶接用端子4と他の部品とを、ネジ締結ではなく、溶接により接続することができる。その結果、部品点数、組み付け工数を低減することができる。
また、法線方向Yから見たとき、溶接部41はポッティング面21の外側に配置されている。それにより、溶接部41と他の部品との溶接時に発生する高温ガスやスパッタが、ポッティング面21に向かって飛散することを低減することができる。すなわち、溶接時には、高温ガスやスパッタが溶接部41から四方八方に飛散するが、溶接部41をポッティング面21の外側に配置することにより、ポッティング面21に向かって飛散する高温ガスやスパッタを減らすことができる。
また、複数のバスバ端子3の少なくとも一つは、溶接部41とポッティング面21の少なくとも一部との間を遮蔽する遮蔽部40を有する。それゆえ、ポッティング面21に向かって飛散する高温ガスやスパッタの少なくとも一部は、遮蔽部40に遮られる。その結果、ポッティング樹脂2を熱害から保護することができる。
また、これに伴い、溶接部41をポッティング面21から大きく離す必要もなくなる。その結果、溶接用端子4を大きく突出させる必要がなく、コンデンサモジュール1の体格の大型化を防ぐことができる。
また、溶接用端子4は、遮蔽部40を有する。それゆえ、溶接用端子4自身の遮蔽部40で、ポッティング樹脂2を熱害から保護することができる。その結果、溶接用端子4以外のバスバ端子3の配置位置の自由度を向上させることができる。また、遮蔽部40は、ポッティング面21に平行に形成されている。それゆえ、遮蔽部40により、ポッティング面21を効率的に覆うことができる。
また、溶接用端子4は、ポッティング面21に平行に形成された平行部42と、平行部42の端縁から法線方向Yに屈曲した立設部43とを有し、平行部42に遮蔽部40を有し、立設部43の端部に溶接部41を有する。それゆえ、溶接用端子4の構造を簡易にすることができると共に、溶接部41をポッティング面21から大きく離すことなく、ポッティング樹脂2を熱害から保護することができる。
以上のごとく、本例によれば、部品点数、組付工数を低減することができると共に、大型化を招くことなくポッティング樹脂を熱害から保護することができるコンデンサモジュールを提供することができる。
実施例1
本例は、図5〜図7に示すごとく、より具体的なコンデンサモジュール1の例である。
本例のコンデンサモジュール1においては、溶接用端子4以外のバスバ端子3も、遮蔽部340を有する。また、本例のコンデンサモジュール1は、コンデンサ素子11と電気的に絶縁された付属バスバ700を一体的に設けてなる。付属バスバ700の少なくとも一つは、他の部品と溶接される付属溶接部71を有する溶接用付属端子7である。法線方向Yから見たとき、付属溶接部71はポッティング面21の外側に配置されている。付属バスバ700の少なくとも一つは、付属溶接部71とポッティング面21の少なくとも一部との間を遮蔽する付属遮蔽部70を有する。本例のコンデンサモジュール1は、付属バスバ700を1つ有し、それが溶接用付属端子7である。
本例のコンデンサモジュール1は、4つのバスバ端子3(31、32、33、34)を有する。これらのうちの一つのバスバ端子33は、参考例において説明したバスバ端子3に相当し、溶接用端子4である。他の3つのバスバ端子31、32、34は、溶接用端子4ではない。そして、バスバ端子34は、昇圧コンバータを構成するスイッチング素子に接続される。また、バスバ端子31、32は、直流電源における一対の電極にそれぞれ接続される。
バスバ端子31、32は、コンデンサモジュール1における下端部付近において、ポッティング面21から突出している。また、バスバ端子33、34は、コンデンサモジュール1における上端部付近において、ポッティング面21から突出している。
バスバ端子33は、立上部44が二股形状を有し、それぞれの部位がポッティング面21から法線方向Yに突出している。また、バスバ端子33は、平行部42(遮蔽部40)から上方へ延びると共に第1側壁部521の上面に沿って後方へ屈曲された後方屈曲部45を有する。
また、平行部42の横方向Xの一端から、立設部43が前方へ屈曲しており、立設部43の上端部に溶接部41が形成されている。
溶接用端子4の立設部43の第4側壁部524側に隣接する位置に、バスバ端子34が配されている。バスバ端子34は、ポッティング面21から突出する立上部344と、立上部344の端縁から上側に延設された平行部342と、平行部342の上端から第1側壁部521の上面に沿って後方に屈曲された後方屈曲部345を有する。
バスバ端子34の平行部342は、四角形板状に形成されている。図5に示すごとく、平行部342は、法線方向Yから見て、一部がポッティング面21と重なっている。そして、バスバ端子34の平行部342も、溶接用端子4の溶接部41とポッティング面21の少なくとも一部との間を遮蔽している。すなわち、バスバ端子34の平行部342は、溶接用端子4の溶接部41とポッティング面21の少なくとも一部との間を遮蔽する遮蔽部340である。つまり、溶接用端子4の溶接部41とポッティング面21の少なくとも一部との間は、溶接用端子4の平行部42(遮蔽部40)と共に、バスバ端子34の平行部342(遮蔽部340)によっても遮蔽されている。
コンデンサケース5の第3側壁部523の上側端部には、付属バスバ700を載置するための載置部53が形成されている。載置部53の上端は、第1側壁部521の上端よりも上側に形成されている。また、載置部53は、コンデンサケース5の前方まで突出している。載置部53の前端部の上面には、付属バスバ700が載置され、保持されている。
付属バスバ700は、コンデンサ素子11、溶接用端子4、バスバ端子3とは電気的に接続されておらず、絶縁されている。付属バスバ700は、例えば、リアクトルと半導体積層ユニット(後述する実施例2参照)とをつなぐ中継バスバとして用いることができる。
付属バスバ700は、載置部53に載置保持される被保持部75と、該被保持部75におけるバスバ端子33側の端縁から下方へ屈曲した下方屈曲部76と、該下方屈曲部76における後端からバスバ端子33側へ屈曲した平行部72と、該平行部72におけるバスバ端子33側の端縁から前方へ屈曲した立設部73とを有する。平行部72は、ポッティング面21に平行に形成されている。そして、付属バスバ700は、平行部72に付属遮蔽部70を有し、立設部73の上端部に付属溶接部71を有する。
立設部73は、法線方向Yからみて、少なくとも一部が溶接用端子4の平行部42と重なる位置に配されている。立設部73には、上側に突出する第1突出部731と、第1突出部731の一部からさらに上側に突出する第2突出部732とが設けられている。この第2突出部732が、付属溶接部71である。図5に示すごとく、付属溶接部7は、ポッティング面21の上側に位置するように配されている。すなわち、付属溶接部71は、法線方向Yから見て、ポッティング面21と重ならない位置に配されている。
平行部72は、四角形板状に形成されている。平行部72は、法線方向Yから見て、一部がポッティング面21と重なっている。また、平行部72は、溶接用端子4の平行部42よりも前方に位置している。そして、付属溶接部71とポッティング面21の少なくとも一部との間は、平行部72により遮蔽されている。すなわち、この平行部72が付属遮蔽部70となる。換言すると、平行部72(付属遮蔽部70)は、付属溶接部71とポッティング面21の各部とを結ぶあらゆる線分のうち、少なくとも一部の線分と交差するように配されている。
さらに、付属溶接部71とポッティング面21の少なくとも一部との間は、溶接用端子4の平行部42(遮蔽部40)によっても遮蔽されている。すなわち、付属溶接部71とポッティング面21の少なくとも一部との間は、平行部72と共に、溶接用端子4の平行部42(遮蔽部40)によっても遮蔽されている。
付属バスバ700と他の部品とを溶接する際にも、溶接用端子41の溶接と同様に、付属溶接部71と他の部品の端子15とを、これらの厚み方向、すなわち横方向Xに重ね合わせ、TIG溶接等により、溶接する(図4参照)。
図5〜図7に示すごとく、第3側壁部523には、ワイヤーハーネス151を保持するハーネスホルダ50が形成されている。ワイヤーハーネス151は、例えばDC−DCコンバータに接続される。そして、ワイヤーハーネス151の先端にはコネクタ152が設けてあり、図5に示すごとく、コンデンサケース5の第2側壁部522の下面には、コネクタ152を係止させるための爪部54が形成されている。コネクタ152を爪部54に係合させることにより、コンデンサモジュール1を電力変換装置等に組み込む際にワイヤーハーネス151が揺動することを防ぎ、円滑な作業の妨げとなることを防止している。
その他は、参考例と同様である。なお、本例又は本例に関する図面において用いた符号のうち、参考例において用いた符号と同一のものは、特に示さない限り、参考例と同様の構成要素等を表す。
本例の場合には、溶接用端子4以外のバスバ端子3が、遮蔽部340を有する。それゆえ、ポッティング面21に向かって飛散する高温ガスやスパッタを、溶接用端子4の遮蔽部40だけではなく、溶接用端子4以外のバスバ端子3の遮蔽部340によっても、防ぐことができる。それゆえ、ポッティング樹脂2を熱害から一層保護することができる。
また、付属バスバ700の少なくとも一つは、付属溶接部71とポッティング面21の少なくとも一部との間を遮蔽する付属遮蔽部70を有するため、ポッティング面21に向かって飛散する高温ガスやスパッタを、付属バスバ700の付属遮蔽部70によっても、防ぐことができる。
その他、参考例と同様の作用効果を有する。
なお、本例においては、付属バスバは他の部品と溶接される付属溶接部を有するものを示したが、他の部品と溶接されないものを用いても良い。この場合、溶接用端子の溶接部とポッティング面の少なくとも一部との間を遮蔽する位置に付属バスバを配することで、ポッティング面の熱害を防ぐことができる。
実施例2
本例は、図8、図9に示すごとく、コンデンサモジュール1を備えた電力変換装置10の例である。
図8に示すごとく、コンデンサモジュール1と、コンデンサモジュール1に電気的に接続された電子部品(リアクトル12)とは、装置ケース8内に収容されている。リアクトル12のリアクトル端子13と溶接用端子4とは、互いに溶接されている。装置ケース8は、ポッティング面21の一部と溶接部41との間に配された保護板部80を有する。
装置ケース8は、第1ケース部81と第2ケース部82とからなる。第1ケース部81は、ケース底部811と、その端縁から上下方向に延設された本体側壁部812とを有する。第1ケース部81の上側は、第2ケース部82によって覆われている。
装置ケース8内には、リアクトル12及びコンデンサモジュール1の他に、半導体積層ユニット16が収容されている。
半導体積層ユニット16は、複数の半導体モジュール161と複数の冷却管162とを積層してなる。積層方向の一端に配された冷却管162には、冷却管162に冷媒を導入・排出するための冷媒導入管162aと冷媒排出管162bとが接続されており、それらの先端は装置ケース8から外側に突出している。
半導体積層ユニット16とリアクトル12とコンデンサモジュール1とは、半導体積層ユニット16の積層方向に、この順にて配置されている。
コンデンサモジュール1は、第1ケース部81に形成されたコンデンサ収容部813に収容配置されている。コンデンサモジュール1の構造は、参考例のコンデンサモジュール1と同様である。
コンデンサモジュール1の溶接用端子4と、リアクトル12のリアクトル端子13とは、これらの厚み方向、すなわち横方向Xに重なり合っており、溶接部41において互いに溶接されている。
図9に示すごとく、保護板部80は、第1ケース部81のケース底部811から上方へ立設されている。そして、保護板部80は、ポッティング面21に隣接する位置に配され、四角形板状に形成されている。保護板部80は、ポッティング面21に対向している。図9に示すごとく、法線方向Yから見て、横方向Xにおけるポッティング面21は、保護板部80の内側に位置する。すなわち、保護板部80は、横方向Xにおけるポッティング面21の全域を覆っている。高さ方向Zにおいては、保護板部80は、溶接用端子4の下側に隣接する位置まで形成されている。つまり、保護板部80は、溶接用端子4の平行部42(遮蔽部40)の下側において、ポッティング面21を覆っている。
溶接部41とポッティング面21の少なくとも一部との間は、保護板部80によって遮蔽されている。換言すると、保護板部80は、溶接部41とポッティング面21の各部とを結ぶあらゆる線分のうち、少なくとも一部の線分と交差するように配されている。つまり、溶接部41とポッティング面21の少なくとも一部との間は、溶接用端子4の平行部42(遮蔽部40)と共に、保護板部80によっても遮蔽されている。
その他は、参考例と同様である。なお、本例又は本例に関する図面において用いた符号のうち、参考例において用いた符号と同一のものは、特に示さない限り、参考例と同様の構成要素等を表す。
本例においては、装置ケース8は、ポッティング面21の一部と溶接部41との間に配された保護板部80を有する。それゆえ、ポッティング面21に向かって飛散する高温ガスやスパッタを、溶接用端子4の遮蔽部40だけではなく、保護板部80によっても、防ぐことができる。
その他、参考例と同様の作用効果を有する。
なお、実施例2においては、コンデンサモジュールとして、参考例のものを用いたが、実施例1のコンデンサモジュールを用いても良い。
1 コンデンサモジュール
10 電力変換装置
11 コンデンサ素子
12 電子部品
13 部品端子
2 ポッティング樹脂
21 ポッティング面
3 バスバ端子
4 溶接用端子
40 遮蔽部
41 溶接部

Claims (11)

  1. コンデンサ素子(11)と、
    該コンデンサ素子(11)を埋設してなるポッティング樹脂(2)と、
    上記コンデンサ素子(11)の電極に接続されると共に上記ポッティング樹脂(2)の表面であるポッティング面(21)から突出した複数の板状のバスバ端子(3)と、を有し、
    上記複数のバスバ端子(3)の少なくとも一つは、他の部品と溶接される溶接部(41)を有する溶接用端子(4)であって、
    上記ポッティング面(21)の法線方向から見たとき、上記溶接部(41)は上記ポッティング面(21)の外側に配置されており、
    上記複数のバスバ端子(3)の少なくとも一つは、上記溶接部(41)と上記ポッティング面(21)の少なくとも一部との間を遮蔽する遮蔽部(40)を有し、
    上記コンデンサ素子(11)と電気的に絶縁された付属バスバ(700)を一体的に設けてなり、該付属バスバ(700)の少なくとも一つは、他の部品と溶接される付属溶接部(71)を有する溶接用付属端子(7)であって、上記ポッティング面(21)の法線方向から見たとき、上記付属溶接部(71)は上記ポッティング面(21)の外側に配置されており、上記付属バスバ(700)の少なくとも一つは、上記付属溶接部(71)と上記ポッティング面(21)の少なくとも一部との間を遮蔽する付属遮蔽部(70)を有することを特徴とするコンデンサモジュール(1)。
  2. 上記溶接用端子(4)は、上記遮蔽部(40)を有することを特徴とする請求項1に記載のコンデンサモジュール(1)。
  3. 上記遮蔽部(40)は、上記ポッティング面(21)に平行に形成されていることを特徴とする請求項1又は2に記載のコンデンサモジュール(1)。
  4. 上記溶接用端子(4)は、上記ポッティング面(21)に平行に形成された平行部(42)と、該平行部(42)の端縁から上記ポッティング面(21)の法線方向に屈曲した立設部(43)とを有し、上記平行部(42)に上記遮蔽部(40)を有し、上記立設部(43)の端部に上記溶接部(41)を有することを特徴とする請求項3に記載のコンデンサモジュール(1)。
  5. 上記溶接用端子(4)以外の上記バスバ端子(3)は、上記遮蔽部(340)を有することを特徴とする請求項1〜4のいずれか一項に記載のコンデンサモジュール(1)。
  6. コンデンサモジュール(1)を備えた電力変換装置(10)であって、
    上記コンデンサモジュール(1)は、コンデンサ素子(11)と、
    該コンデンサ素子(11)を埋設してなるポッティング樹脂(2)と、
    上記コンデンサ素子(11)の電極に接続されると共に上記ポッティング樹脂(2)の表面であるポッティング面(21)から突出した複数の板状のバスバ端子(3)と、を有し、
    上記複数のバスバ端子(3)の少なくとも一つは、他の部品と溶接される溶接部(41)を有する溶接用端子(4)であって、
    上記ポッティング面(21)の法線方向から見たとき、上記溶接部(41)は上記ポッティング面(21)の外側に配置されており、
    上記複数のバスバ端子(3)の少なくとも一つは、上記溶接部(41)と上記ポッティング面(21)の少なくとも一部との間を遮蔽する遮蔽部(40)を有し、
    上記コンデンサモジュール(1)と、該コンデンサモジュール(1)に電気的に接続された電子部品(12)とは、装置ケース(8)内に収容されており、上記電子部品(12)の部品端子(13)と上記溶接用端子(4)とは、溶接されており、上記装置ケース(8)は、上記ポッティング面(21)の一部と上記溶接部(41)との間に配された保護板部(80)を有することを特徴とする電力変換装置(10)。
  7. 上記溶接用端子(4)は、上記遮蔽部(40)を有することを特徴とする請求項6に記載の電力変換装置(10)。
  8. 上記遮蔽部(40)は、上記ポッティング面(21)に平行に形成されていることを特徴とする請求項6又は7に記載の電力変換装置(10)。
  9. 上記溶接用端子(4)は、上記ポッティング面(21)に平行に形成された平行部(42)と、該平行部(42)の端縁から上記ポッティング面(21)の法線方向に屈曲した立設部(43)とを有し、上記平行部(42)に上記遮蔽部(40)を有し、上記立設部(43)の端部に上記溶接部(41)を有することを特徴とする請求項8に記載の電力変換装置(10)。
  10. 上記溶接用端子(4)以外の上記バスバ端子(3)は、上記遮蔽部(340)を有することを特徴とする請求項6〜9のいずれか一項に記載の電力変換装置(10)。
  11. 上記コンデンサモジュール(1)は、上記コンデンサ素子(11)と電気的に絶縁された付属バスバ(700)を一体的に設けてなり、該付属バスバ(700)の少なくとも一つは、他の部品と溶接される付属溶接部(71)を有する溶接用付属端子(7)であって、上記ポッティング面(21)の法線方向から見たとき、上記付属溶接部(71)は上記ポッティング面(21)の外側に配置されており、上記付属バスバ(700)の少なくとも一つは、上記付属溶接部(71)と上記ポッティング面(21)の少なくとも一部との間を遮蔽する付属遮蔽部(70)を有することを特徴とする請求項6〜10のいずれか一項に記載の電力変換装置(10)。
JP2014100726A 2014-05-14 2014-05-14 コンデンサモジュール及び電力変換装置 Active JP6251635B2 (ja)

Priority Applications (1)

Application Number Priority Date Filing Date Title
JP2014100726A JP6251635B2 (ja) 2014-05-14 2014-05-14 コンデンサモジュール及び電力変換装置

Applications Claiming Priority (1)

Application Number Priority Date Filing Date Title
JP2014100726A JP6251635B2 (ja) 2014-05-14 2014-05-14 コンデンサモジュール及び電力変換装置

Publications (2)

Publication Number Publication Date
JP2015220789A JP2015220789A (ja) 2015-12-07
JP6251635B2 true JP6251635B2 (ja) 2017-12-20

Family

ID=54779790

Family Applications (1)

Application Number Title Priority Date Filing Date
JP2014100726A Active JP6251635B2 (ja) 2014-05-14 2014-05-14 コンデンサモジュール及び電力変換装置

Country Status (1)

Country Link
JP (1) JP6251635B2 (ja)

Families Citing this family (3)

* Cited by examiner, † Cited by third party
Publication number Priority date Publication date Assignee Title
JP6547527B2 (ja) * 2015-09-04 2019-07-24 トヨタ自動車株式会社 電力変換装置
JP7334613B2 (ja) * 2019-12-23 2023-08-29 株式会社デンソー 電気機器及びその製造方法
JP7435107B2 (ja) * 2020-03-19 2024-02-21 株式会社デンソー コンデンサユニットおよび電力変換装置

Family Cites Families (2)

* Cited by examiner, † Cited by third party
Publication number Priority date Publication date Assignee Title
JP4940665B2 (ja) * 2006-01-16 2012-05-30 パナソニック株式会社 ケースモールド型コンデンサ
JP5888185B2 (ja) * 2012-08-24 2016-03-16 株式会社デンソー コンデンサ装置

Also Published As

Publication number Publication date
JP2015220789A (ja) 2015-12-07

Similar Documents

Publication Publication Date Title
JP5429151B2 (ja) 電力変換装置
CN100544180C (zh) 电容器搭载型逆变器单元
US10199804B2 (en) Busbar locating component
CN100511896C (zh) 电气连接箱的布置结构
JP5700022B2 (ja) 電力変換装置
JP6699464B2 (ja) 接続モジュール
JP6372620B2 (ja) 端子及び配線モジュール
US9859810B2 (en) Power converter
JP6330633B2 (ja) 蓄電モジュール
JP6590212B2 (ja) 配線モジュール、及び蓄電モジュール
JP5482406B2 (ja) 電力変換装置
JP6251635B2 (ja) コンデンサモジュール及び電力変換装置
JP6406562B2 (ja) 蓄電ユニット
JP5931778B2 (ja) 電力変換モジュール結線用のバスバーアッセンブリ
JP6576360B2 (ja) 電力変換装置
CN107004816B (zh) 蓄电模块
JPWO2017047371A1 (ja) 端子及び配線モジュール
JP2011114872A (ja) 電力変換装置
JP4282592B2 (ja) 電気接続箱及び電気接続箱の組立方法
JP2015118827A (ja) バスバーモジュール
JP6287776B2 (ja) 蓄電モジュール
WO2017014049A1 (ja) 配線モジュール、及び蓄電モジュール
JP5648627B2 (ja) 電力変換装置
JP2014165044A (ja) 接続部材および配線モジュール
JP5797220B2 (ja) キャパシタモジュール

Legal Events

Date Code Title Description
A621 Written request for application examination

Free format text: JAPANESE INTERMEDIATE CODE: A621

Effective date: 20160805

A977 Report on retrieval

Free format text: JAPANESE INTERMEDIATE CODE: A971007

Effective date: 20170524

A131 Notification of reasons for refusal

Free format text: JAPANESE INTERMEDIATE CODE: A131

Effective date: 20170704

A521 Request for written amendment filed

Free format text: JAPANESE INTERMEDIATE CODE: A523

Effective date: 20170830

A131 Notification of reasons for refusal

Free format text: JAPANESE INTERMEDIATE CODE: A131

Effective date: 20170912

A521 Request for written amendment filed

Free format text: JAPANESE INTERMEDIATE CODE: A523

Effective date: 20171013

TRDD Decision of grant or rejection written
A01 Written decision to grant a patent or to grant a registration (utility model)

Free format text: JAPANESE INTERMEDIATE CODE: A01

Effective date: 20171031

A61 First payment of annual fees (during grant procedure)

Free format text: JAPANESE INTERMEDIATE CODE: A61

Effective date: 20171127

R150 Certificate of patent or registration of utility model

Ref document number: 6251635

Country of ref document: JP

Free format text: JAPANESE INTERMEDIATE CODE: R150

R250 Receipt of annual fees

Free format text: JAPANESE INTERMEDIATE CODE: R250

R250 Receipt of annual fees

Free format text: JAPANESE INTERMEDIATE CODE: R250

R250 Receipt of annual fees

Free format text: JAPANESE INTERMEDIATE CODE: R250

R250 Receipt of annual fees

Free format text: JAPANESE INTERMEDIATE CODE: R250

R250 Receipt of annual fees

Free format text: JAPANESE INTERMEDIATE CODE: R250

R250 Receipt of annual fees

Free format text: JAPANESE INTERMEDIATE CODE: R250