JP6161925B2 - 照明装置 - Google Patents

照明装置 Download PDF

Info

Publication number
JP6161925B2
JP6161925B2 JP2013052027A JP2013052027A JP6161925B2 JP 6161925 B2 JP6161925 B2 JP 6161925B2 JP 2013052027 A JP2013052027 A JP 2013052027A JP 2013052027 A JP2013052027 A JP 2013052027A JP 6161925 B2 JP6161925 B2 JP 6161925B2
Authority
JP
Japan
Prior art keywords
light emitting
heat
heat radiating
radiator
lighting device
Prior art date
Legal status (The legal status is an assumption and is not a legal conclusion. Google has not performed a legal analysis and makes no representation as to the accuracy of the status listed.)
Active
Application number
JP2013052027A
Other languages
English (en)
Other versions
JP2014179224A (ja
Inventor
海老原 聡
聡 海老原
Current Assignee (The listed assignees may be inaccurate. Google has not performed a legal analysis and makes no representation or warranty as to the accuracy of the list.)
AI Tec System Co Ltd
Original Assignee
AI Tec System Co Ltd
Priority date (The priority date is an assumption and is not a legal conclusion. Google has not performed a legal analysis and makes no representation as to the accuracy of the date listed.)
Filing date
Publication date
Application filed by AI Tec System Co Ltd filed Critical AI Tec System Co Ltd
Priority to JP2013052027A priority Critical patent/JP6161925B2/ja
Publication of JP2014179224A publication Critical patent/JP2014179224A/ja
Application granted granted Critical
Publication of JP6161925B2 publication Critical patent/JP6161925B2/ja
Active legal-status Critical Current
Anticipated expiration legal-status Critical

Links

Images

Landscapes

  • Non-Portable Lighting Devices Or Systems Thereof (AREA)
  • Cooling Or The Like Of Electrical Apparatus (AREA)
  • Arrangement Of Elements, Cooling, Sealing, Or The Like Of Lighting Devices (AREA)

Description

本発明は、複数の発光素子を複数並べ製品検査などの用いられる照明装置に関するものである。
従来、この種の検査などに用いられる照明装置として例えば特許文献1に記載されたものが知られている。
この照明装置は、横長のLED実装基板に単列又は複数列のLEDを長手方向に配置した発光部を有し、LEDから照射された光を丸棒レンズ及び光拡散フィルムを通じて所定の照明位置に投光するもので、各種機器の製品検査用の照明装置として用いられている。また、この照明装置で使用されるLEDはその使途の点から高輝度なものとなっているため、LEDから発せられる熱が非常の多量となり、LED等の照度向上やLEDの熱による破損などに対する電子機器の保全上、強制冷却が必要不可欠なものとなっている。
そこで、従来の照明装置においては、LED実装基板に接触した熱伝導性の良好な放熱部を設けており、これにより、LEDにて発生した熱がLED実装基板を通じて放熱部に伝導し、続いて、送風機の空気により放熱部が強制空冷され、照明装置の熱が外部に放出される構造となっている。
特開2009−117228号公報
ところで、特許文献1に記載された照明装置に係る放熱部は、LED実装基板に接触するプレートとプレートから横方向に向かって延びる多数の放熱フィンから構成されている。このため、送風機から送風された空気が先ずプレートに直進して衝突し、しかる後、直角に曲がって左右方向に流れ、各放熱フィンによって放熱される構造となっている。
しかしながら、特許文献1の照明装置では、LED実装基板に接触する放熱部のみによって排熱しているため、LED等の電子機器の冷却が不十分となるおそれがあった。特に、LEDの冷却分布において、照明装置の長手方向(X方向)の中央寄りのLED基板と両端寄りのLED基板とを比較したとき、中央寄りのLEDが隣接する素子排熱の影響を最も受けるため冷却不良となり易く、これにより、中央寄りのLEDの性能が低下し、照明装置の照度にムラが発生するというおそれがあった。また、特許文献1の照明装置では、基板の一方の面から放熱部に熱伝導しているが、LEDから発生した熱は基板の他方の面(丸棒レンズや光拡散フィルタが配置された側)にも放熱されており、この他方の面の熱が全く回収されていなかった。更に、放熱部の外面は比較的高い温度となっているため、放熱部に人が接触した際、火傷は負わないまでも、不快感を与えるという問題点を有していた。
本発明の目的は、前記従来の課題に鑑み、基板を通じて伝導した熱を放熱部を介して効率よく放出することはもとより、基板を含む発光部全体の熱を放熱することができ、更には、放熱部の外側に触れた際に熱的に不快感を感受することがない照明装置を提供することにある。
本発明は前記課題を解決するため、光を照射する発光素子を基板の長手方向に沿う方向(X方向とする)に単列又は複数列に配置した発光部と、発光部に沿って配置され発光部で発生した熱を放出する放熱部と、放熱部に空気を送風する送風機とを備え、X方向と直交する方向(Z方向とする)に発光部、放熱部及び送風機を順次並設した照明装置において、前記放熱部は、発光部の周囲を覆うとともに発光素子が搭載された基板に熱的に接触し発光部側から送風機側に向かって延びる内側放熱体と、内側放熱体の側面のうちX方向及びZ方向のいずれにも直交する方向(Y方向とする)の側面から離隔するとともに該側面に対向配置し放熱伝播可能な外側放熱体とを有し、内側放熱体と外側放熱体との間には発光部と送風機との間に亘って延びる放熱通風路を設け、前記内側放熱体は、一方が基板に接触し送風機側に延びる本体放熱部と、本体放熱部と熱的に接触するとともに発光部の両側面を覆う発光部側放熱部とから構成した構造となっている。
本発明によれば、内側放熱体が発光部の周囲を覆うように形成しているため、発光素子の熱が基板を通じて内側放熱体に伝導することはもとより、発光部全体の熱が内側放熱体に伝導し、照明装置全体が効率よく冷却される。また、外側放熱体が内側放熱体に対して対向配置されているため、内側放熱体から放熱通風路を挟んで外側放熱体に向かって輻射放熱及び熱伝導にて熱伝播がなされ、これにより、外側放熱体からも外部に熱を排出でき、極めて効率のよい放熱構造となっている。更に、外側放熱体が内側放熱体から離隔しているため、外側放熱体はさほど高い温度にはならず、外側放熱体に接触した際に熱的に不快感を感受することがない。
本発明によれば、発光素子を実装した基板を通じて伝導した熱を放熱部を介して効率よく放出できることはもとより、基板を含む発光部全体の熱を効率よく放熱できる。また、放熱部の外側に触れた際に熱的に不快感を感受することがない。
本発明に係る照明装置の第1実施形態において平面側から見た斜視図 本発明に係る照明装置の第1実施形態において底面側から見た斜視図 本発明に係る照明装置の第1実施形態の縦断面図 本発明に係る照明装置の第1実施形態における内側放熱体と外側放熱体の組立断面図 本発明に係る照明装置の第1実施形態における内側放熱体と外側放熱体の組立斜視図 本発明に係る照明装置の第2実施形態の一部省略縦断面図 本発明に係る照明装置の第3実施形態の一部省略縦断面図 本発明に係る照明装置の第4実施形態の一部省略縦断面図 本発明に係る照明装置の第5実施形態の要部断面図
図1乃至図5は本発明の係る照明装置の第1実施形態を示すもので、照明装置1は、照明装置1のケーシング兼用となっている放熱部2と、LED光を発光する発光部3と、放熱部2に強制的に空気を送風する送風機4を有している。
照明装置1は、製品検査等に使用される照明手段であり、図1に示すように、全体として略横長直方体形状となっている。照明装置1の上面には図1に示すように、送風機4を照明装置1の長手方向(X方向)に一列に等間隔に複数台(例えば10台)設置しているが、送風機4が一台或いは中央部が密で両端寄りが粗の状態で複数台設置しても良い(図示しない)。他方、照明装置1の下面には図2に示すように発光部3が下方に向かって突出するとともに横方向に略直方体形状に延在してなり、内部には後述するLED31が設置されている。なお、照明装置1の左右両端は上下の側面板11a,11bで閉塞され、上側の側面板11aの一方(図1及び図2に向かって右側の側面板11a)には1本の送風機用の電源コード12と4本の発光部用の電源コード13が貫通している。
放熱部2は、図3〜5に示すように、照明装置1の長手方向に延びる内側放熱体21と、内側放熱体21の外側に照明装置1の長手方向に延びる一対の外側放熱体22とからなる。これら内側放熱体21及び外側放熱体22は共に熱伝導性の良好な材料(例えば、アルミニウム、銅など)で押出成形したもので、発光部3から放出された熱が効率よく各放熱体21,22に伝導されるようになっている。なお、図示しないが、各放熱体21,22の表面に、輻射効率を向上させるため、放熱塗料を塗布しても良いし、或いは、放熱シートを貼り付けるようにしても良い。
内側放熱部21は、図3〜5に示すように、送風機4側から発光部3に向かって延在された本体放熱部211と、本体放熱部211の下端の両側から下方に向かって延びる一対の発光部側放熱部212とから構成されている。
本体放熱部211において、その上部には送風機用コネクタ設置用の上突出部211aを有し、下部にはLED設置用の下突出部211bを有する。また、上突出部211aの基部には外側放熱体22の上部を固定する上固定部211cを有する一方、下突出部211bの基部には外側放熱体22の下部を固定する下固定部211dを有し、下固定部211dは本体放熱部211の厚さ方向(Y方向)両側面から略逆L字状に屈曲した構成になっている。また、本体放熱部211の厚さ方向両側面において、上固定部211cと下固定部211dの間には、複数の放熱フィン211eが一体に形成されている。各放熱フィン211eは本体放熱部211から外方向に延在してなるとともに、各放熱フィン211eの間隔は放熱効果が最大になるように上下に等間隔、或いは、図示しないが、発光部3側が密で送風機4側が粗となるよう設計しても良い。
各発光部側放熱部212は本体放熱部211の幅方向両側から発光部3の側面を覆うように延びているもので、、発光部3の取り付けケーシングと兼用になっている。各発光部側放熱部212の上端が下固定部211dに固定され、これにより、各発光部側放熱部212が本体放熱部211に連結されている。また、各発光部側放熱部212の下部寄りが内側に向かって屈曲し各発光部側放熱部212の対向幅が狭くなっており、この対向幅の狭くなっている部分がネジ212aにより照明装置1の下側の側面板11bに固定している。
各外側放熱体22は図3〜5に示すように板状に形成されもので、内側放熱体21の厚さ方向(Y方向)両側面の外側に対向配置され、各外側放熱体22の上端が送風機4側に達する一方、下端が各発光部側放熱部212の下部寄りに達しており、これにより、照明装置1のケーシング兼用となっている。また、各外側放熱体22の上部寄りは内側放熱体21に固定されるもので、各外側放熱体22を内側放熱体21にボルト221aによって固定する際、図4に示すように、上固定部211cの外面に固着されたナット形スペーサ211fを介して内側放熱体21に螺合している。ナット型スペーサ211fは断面積が大きく且つ後述する放熱通風路5の通風抵抗を小さくして内側放熱体21の熱を外側放熱体22に効率よく伝播できるよう形成するとともに、内側放熱体21と外側放熱体22を互いにネジ止め可能な部材となっている。また、各外側放熱体22の下部寄りは内側放熱体21に固定されるもので、各外側放熱体22を内側放熱体21にボルト221bによって固定する際、図4に示すように、下固定部211dの外面に固着されたナット型スペーサ211gを介して内側放熱体21に螺合している。このように、各外側放熱体22がナット型スペーサ211f,211gを挟んで内側放熱体21に互いにネジ固定されるため、内側放熱体21と各外側放熱体22が離隔した状態となっている。
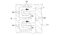
更に、各外側放熱体22の内側で各ボルト221a,221bの間には、複数の放熱フィン221cが一体に形成されている。各放熱フィン221cは各外側放熱体22から内方向に延在してなるとともに、各放熱フィン221cの間隔は内側放熱体21の放熱フィン211eと同一の間隔となっている。これにより、図4及び図5に示すように、内側放熱体21の各放熱フィン211eに対して外側放熱体22の各放熱フィン221cが交互になるよう配置するときは、図3に示すように、各放熱フィン211e,221c間に蛇行状の通路が形成される。
このように、放熱部2の内側放熱体21及び外側放熱体22を構成することにより、図3の一点鎖線矢印に示すように、発光部3の外側から送風機4に達する蛇行した放熱通風路5が形成される。
発光部3は、図3及び図4に示すように、高輝度発光素子で構成されたLED31と、LED31を搭載したLED実装基板32と、LED光を屈曲する丸棒レンズ33(リニアフレネルレンズ、シリンドリカルレンズなどでも良い)と、丸棒レンズ33で屈曲したLED光を拡散する光拡散フィルム34(レンチキュラーレンズ、微小楕円レンズの集合体でも良い)と、光拡散フィルム34の外側から発光部3をカバーするカバー体35(例えば、透明アクリル板、半透明アクリル板、ガラス板など)とを有している。LED実装基板32は各発光部側放熱部212の内側に配置されるとともに、内側放熱体21の下突出部211bの下面にネジ321により接触固定されており、これにより、LED31から発生した熱が内側放熱体21に伝導するようになっている。丸棒レンズ33は各発光部側放熱部212の内側に対向して形成されたレンズ取り付け溝212bに挟持固定され、光拡散フィルム34及びカバー体35は同じく発光部側放熱部212の内側に対向して形成されたフィルム・カバー取り付け溝212cに挟持固定されている。
各送風機4はプロペラ翼を配置したプロペラファンであり、図3に示すように、ボルト41によって取り付け板42に設置している。取り付け板42は外側放熱体22との隙間が最小となるように嵌合されるとともに、内側放熱体21に設置されており、送風機4と対向するよう部位には各外側放熱体22の内側に臨む吸入口42aを形成し、各外側放熱体22の内側を通る空気が吸入口42aを通じて送風機4に流れるようにしている。なお、内側放熱体21の上突出部211aにはナット43及びネジ44によってコネクタ基板45が固定され、コネクタ基板45に設置されたコネクタ46を通じて送風機4に給電されるようになっている。
本実施形態において、LED31に通電するときは、LED光が発光し丸棒レンズ33、光拡散フィルム34及びカバー体35を通じて高輝度LED光が外部に照射される一方、LED31への通電により多量の熱が発生する。この発生熱はLED実装基板32を通じて下突出部211bに伝導し、更に本体放熱部211の全体に伝導する。また、LED31の発生熱は各発光部側放熱部212の内側にも滞留し、この滞留熱が各発光部側放熱部212に伝導する。
このLED31への通電時に送風機4を駆動するときは、空冷用の空気が図3の一点鎖線矢印に示すように流れる(なお、一点鎖線矢印と逆方向に空気を流すようにしても良い)。即ち、送風機4の駆動(送風機4の吸い込み駆動)により、照明装置1の外部空気が各外側放熱体22の下端と各発光部側放熱部212の下端の間から放熱通風路5内に流入する。これにより、流入空気と各発光部側放熱部212との間で熱交換し、各発光部側放熱部212の内側に滞留した熱が確実に放熱される。
各外側放熱体22と各発光部側放熱部212の間を通った空気は、本体放熱部211と各外側放熱体22との間の蛇行空間に流れる。蛇行空間では熱交換するための道程が長くなる分、本体放熱部211の熱交換面積が拡大し、これにより、本体放熱部211に伝導した熱が効率よく放出される。そして、蛇行空間を通った空気は吸入口42aを通じて送風機4に吸い込まれ、照明装置1の外側に排出される。
以上のように、本実施形態に係る照明装置4は、内側放熱体21の各発光部側放熱部212が発光部3の周囲を覆うように形成しているため、LED31の熱が各発光部側放熱部212を通じて放熱され、照明装置全体が効率よく冷却される。また、外側放熱体22が内側放熱体21に対して対向配置されているため、内側放熱体21に伝導した熱が放熱通風路5に伝導され送風機4によって強制排出されることはもとより、内側放熱体21から外側放熱体22に向かって輻射放熱及び熱伝導により放熱され、これにより、外側放熱体22からも外部に排出でき、極めて効率のよい放熱構造となっている。更に、外側放熱体22が内側放熱体21から離隔しているため、外側放熱体22はさほど高い温度にならず、外側放熱体22に接触した際に熱的に不快感を感受することがない。
また、放熱部2を構成する部材、即ち、内側放熱体21(本体放熱部211及び発光部側放熱部212)及び外側放熱体22がそれぞれ熱伝導性の良好な材料(例えば、アルミニウム、銅など)の押出成形製造となっているため、照明装置1の長さを任意に変更でき、各種の照明装置1を製造することができる。更に、放熱部2を構成する部品は、本体放熱部211と一対の発光部側放熱部212と一対の外側放熱体22とで構成されているため、押出成形型も3種類あれば足り、各種の照明装置1を容易に製造することができる。
図6は本発明に係る照明装置の第2実施形態を示すもので、第1実施形態に係る発光部側放熱部212を主に改良したものである。即ち、本実施形態に係る発光部側放熱部212の上下寸法を短くしたものであり、発光部3の基板32の裏面全体に本体放熱部211の下突出部211bが接触状態で固定されている。
本実施形態によれば、照明装置1の高さ方向寸法(Z方向寸法)が小さくなり、小型の照明装置1が実現される。また、LED31が実装されるLED実装基板32としてアルミニウム基板やガラスエポキシ基板が用いられ、このLED実装基板32の裏面全体が本体放熱部211に接触しているため、LED実装基板32から本体放熱部211への放熱効率が向上する。なお、その他の構成及び効果は前記第1実施形態と同様であるため、その説明を省略する。
図7は本発明に係る照明装置の第3実施形態を示すもので、第1実施形態に係る放熱通風路5を改良したものである。即ち、本実施形態に係る放熱通風路5は放熱フィン221cのうち最下位の放熱フィン221c’を断面略逆L字状に形成するとともに、最下位の放熱フィン221c’と本体放熱部211及び下固定部211dとの間にU字状蛇行部5aを形成している。
本実施形態によれば、U字状蛇行部5aにより放熱通風路5の熱交換通路寸法が第1実施形態の放熱通風路5のそれよりも長くなり、その分、熱交換効率が向上する。なお、その他の構成及び効果は前記第1実施形態と同様であるため、その説明を省略する。
図8は本発明に係る照明装置の第4実施形態を示すもので、第3実施形態に係る外側放熱体22を改良したものである。本実施形態に係る外側放熱体22はその外面に多数の溝23aを有している。各溝23aは外側放熱体22の長手方向(X方向)に延びている。
本実施形態によれば、各溝23aによって外側放熱体22の外面に多数の凹凸ができ、熱交換面積が大きくなるので放熱効果が向上する。また、この凹凸が外側放熱体22のリブとしても機能し、リブ効果により外側放熱体22の上下方向(Z方向)へのせん断応力に対して対抗し、外側放熱体22の耐久性が向上する。なお、その他の構成及び効果は前記第1実施形態と同様であるため、その説明を省略する。
図9は本発明に係る照明装置の第5実施形態を示すもので、第1実施形態に係る放熱通風路5を改良したものである。即ち、本実施形態に係る放熱通風路5のうち本体放熱部211と外側放熱体22との対向面には多数の溝23bを有している。各溝23bは本体放熱部211及び外側放熱体22の長手方向(X方向)に延びている。
本実施形態によれば、各溝23bによって本体放熱部211と外側放熱体22との対向面に多数の凹凸ができ、放熱通路路5内を通る空気との熱交換面積が大きくなるので、照明装置の熱交換効率が向上する。なお、本実施形態では溝を交互に設けることにより凹凸形状を形成したが、凹凸形状に形成できるものであれば、溝に限定されるものではなく、多数の窪みを設けても良い。その他の構成及び効果は前記第1実施形態と同様であるため、その説明を省略する。
以上のように、第1実施形態乃至第5実施形態を説明したが、各実施形態の特徴的構成を互いに組み合わせることができることは勿論である。
1…照明装置、2…放熱部、3…発光部、4…送風機、5…放熱通風路、21…内側放熱体、22…外側放熱体、23a,23b…溝、31…LED、32…LED実装基板、33…丸棒レンズ、34…光拡散フィルム、35…カバー体、211…本体放熱部、212…発光部側放熱部、211f,211g…ナット型スペーサ、221a,221b…ネジ。

Claims (6)

  1. 光を照射する発光素子を基板の長手方向に沿う方向(X方向とする)に単列又は複数列に配置した発光部と、発光部に沿って配置され発光部で発生した熱を放出する放熱部と、放熱部に空気を送風する送風機とを備え、X方向と直交する方向(Z方向とする)に発光部、放熱部及び送風機を順次並設した照明装置において、
    前記放熱部は、発光部の周囲を覆うとともに発光素子が搭載された基板に熱的に接触し発光部側から送風機側に向かって延びる内側放熱体と、内側放熱体の側面のうちX方向及びZ方向のいずれにも直交する方向(Y方向とする)の側面から離隔するとともに該側面に対向配置し放熱伝播可能な外側放熱体とを有し、内側放熱体と外側放熱体との間には発光部と送風機との間に亘って延びる放熱通風路を設け、
    前記内側放熱体は、一方が基板に接触し送風機側に延びる本体放熱部と、本体放熱部と熱的に接触するとともに発光部の両側面を覆う発光部側放熱部とから構成した
    ことを特徴とする照明装置。
  2. 前記発光部側放熱部は、レンズ部材、光拡散部材及びカバー体を取り付ける取付ケーシングとなっている
    ことを特徴とする請求項記載の照明装置。
  3. 内側放熱体と外側放熱体との間にスペーサ部材を介在して放熱通風路を形成し、スペーサ部材は断面積が大きく且つ放熱通風路の通風抵抗を小さくして内側放熱体の熱を外側放熱体に効率よく伝播できるよう形成するとともに、内側放熱体と外側放熱体を互いにネジ止め可能な部材で形成した
    ことを特徴とする請求項1又は請求項2記載の照明装置。
  4. 前記放熱通風路のうち少なくとも一部を蛇行状に形成した
    ことを特徴とする請求項1乃至請求項の何れか一項記載の照明装置。
  5. 前記外側放熱体の外面の少なくとも一部に複数の溝を形成した
    ことを特徴とする請求項1乃至請求項の何れか一項記載の照明装置。
  6. 前記内側放熱体と前記外側放熱体との対向面の少なくとも一部を凹凸形状に形成した
    ことを特徴とする請求項1乃至請求項の何れか一項記載の照明装置。
JP2013052027A 2013-03-14 2013-03-14 照明装置 Active JP6161925B2 (ja)

Priority Applications (1)

Application Number Priority Date Filing Date Title
JP2013052027A JP6161925B2 (ja) 2013-03-14 2013-03-14 照明装置

Applications Claiming Priority (1)

Application Number Priority Date Filing Date Title
JP2013052027A JP6161925B2 (ja) 2013-03-14 2013-03-14 照明装置

Publications (2)

Publication Number Publication Date
JP2014179224A JP2014179224A (ja) 2014-09-25
JP6161925B2 true JP6161925B2 (ja) 2017-07-12

Family

ID=51698974

Family Applications (1)

Application Number Title Priority Date Filing Date
JP2013052027A Active JP6161925B2 (ja) 2013-03-14 2013-03-14 照明装置

Country Status (1)

Country Link
JP (1) JP6161925B2 (ja)

Families Citing this family (1)

* Cited by examiner, † Cited by third party
Publication number Priority date Publication date Assignee Title
JP7190160B2 (ja) * 2018-10-09 2022-12-15 アクア株式会社 冷蔵庫

Family Cites Families (5)

* Cited by examiner, † Cited by third party
Publication number Priority date Publication date Assignee Title
US7144140B2 (en) * 2005-02-25 2006-12-05 Tsung-Ting Sun Heat dissipating apparatus for lighting utility
JP2006350237A (ja) * 2005-06-20 2006-12-28 Sharp Corp 光源装置、ランプハウジング、ランプユニット、及び投影型画像表示装置
JP4909620B2 (ja) * 2006-04-14 2012-04-04 Necディスプレイソリューションズ株式会社 光源を備えた装置の防塵・光漏れ防止機構およびプロジェクタ
JP2009117228A (ja) * 2007-11-08 2009-05-28 Aitec System:Kk 照明装置
US8487517B2 (en) * 2011-03-15 2013-07-16 Sunowealth Electric Machines Industry Co., Ltd. Led lamp incorporating fan and heat sink assembly

Also Published As

Publication number Publication date
JP2014179224A (ja) 2014-09-25

Similar Documents

Publication Publication Date Title
JP5555084B2 (ja) 光源装置
CN205664125U (zh) 光源装置
JP2018092755A (ja) 照射装置
US9752770B2 (en) Light-emitting diode light fixture with channel-type heat dissipation system
KR20100138836A (ko) 조명장치
JP6377432B2 (ja) Led投光器
JP2009104858A (ja) 液晶表示装置
CN204201836U (zh) 照明模块
JP5777262B2 (ja) 照明機能付き天井用放射パネル
EP2952383A1 (en) Vehicular lighting device
JP6161925B2 (ja) 照明装置
TWI616616B (zh) 發光二極體面光源燈具
CN201363576Y (zh) 发光二极管灯具
CN105953191A (zh) 散热灯具
JP5390781B2 (ja) 光源冷却装置
JP6042619B2 (ja) ヒートシンク及びこれを備えた照明装置
TW201812213A (zh) 散熱器
CN110671686B (zh) 一种led光源散热平台
JP2014077837A (ja) 液晶表示装置
JP7057115B2 (ja) 光射出装置
KR20100094210A (ko) 히트 싱크 및 이를 구비하는 발광소자 패키지
JP6813307B2 (ja) 投光照明装置
JP2013229396A (ja) ヒートシンク及びこれを備えた照明装置
CN105090774B (zh) 照明装置
KR101548323B1 (ko) 히트싱크 및 이것이 장착된 방열장치

Legal Events

Date Code Title Description
RD02 Notification of acceptance of power of attorney

Free format text: JAPANESE INTERMEDIATE CODE: A7422

Effective date: 20140709

A621 Written request for application examination

Free format text: JAPANESE INTERMEDIATE CODE: A621

Effective date: 20151211

A977 Report on retrieval

Free format text: JAPANESE INTERMEDIATE CODE: A971007

Effective date: 20160923

A131 Notification of reasons for refusal

Free format text: JAPANESE INTERMEDIATE CODE: A131

Effective date: 20160928

A521 Request for written amendment filed

Free format text: JAPANESE INTERMEDIATE CODE: A523

Effective date: 20161125

TRDD Decision of grant or rejection written
A01 Written decision to grant a patent or to grant a registration (utility model)

Free format text: JAPANESE INTERMEDIATE CODE: A01

Effective date: 20170607

A61 First payment of annual fees (during grant procedure)

Free format text: JAPANESE INTERMEDIATE CODE: A61

Effective date: 20170614

R150 Certificate of patent or registration of utility model

Ref document number: 6161925

Country of ref document: JP

Free format text: JAPANESE INTERMEDIATE CODE: R150

R250 Receipt of annual fees

Free format text: JAPANESE INTERMEDIATE CODE: R250

R250 Receipt of annual fees

Free format text: JAPANESE INTERMEDIATE CODE: R250

R250 Receipt of annual fees

Free format text: JAPANESE INTERMEDIATE CODE: R250