JP6157211B2 - 撮像装置の製造方法 - Google Patents

撮像装置の製造方法 Download PDF

Info

Publication number
JP6157211B2
JP6157211B2 JP2013104327A JP2013104327A JP6157211B2 JP 6157211 B2 JP6157211 B2 JP 6157211B2 JP 2013104327 A JP2013104327 A JP 2013104327A JP 2013104327 A JP2013104327 A JP 2013104327A JP 6157211 B2 JP6157211 B2 JP 6157211B2
Authority
JP
Japan
Prior art keywords
imaging
substrate
imaging device
manufacturing
cutting
Prior art date
Legal status (The legal status is an assumption and is not a legal conclusion. Google has not performed a legal analysis and makes no representation as to the accuracy of the status listed.)
Active
Application number
JP2013104327A
Other languages
English (en)
Other versions
JP2014225793A (ja
Inventor
和洋 吉田
和洋 吉田
Current Assignee (The listed assignees may be inaccurate. Google has not performed a legal analysis and makes no representation or warranty as to the accuracy of the list.)
Olympus Corp
Original Assignee
Olympus Corp
Priority date (The priority date is an assumption and is not a legal conclusion. Google has not performed a legal analysis and makes no representation as to the accuracy of the date listed.)
Filing date
Publication date
Application filed by Olympus Corp filed Critical Olympus Corp
Priority to JP2013104327A priority Critical patent/JP6157211B2/ja
Publication of JP2014225793A publication Critical patent/JP2014225793A/ja
Application granted granted Critical
Publication of JP6157211B2 publication Critical patent/JP6157211B2/ja
Active legal-status Critical Current
Anticipated expiration legal-status Critical

Links

Images

Landscapes

  • Transforming Light Signals Into Electric Signals (AREA)
  • Studio Devices (AREA)
  • Solid State Image Pick-Up Elements (AREA)

Description

本発明は、光学部材が受光部の上に接着された撮像チップを具備する撮像装置の製造方法に関する。
撮像チップを具備する撮像装置は、例えば電子内視鏡の先端部に配設されて使用される。内視鏡の先端部の細径化は重要な課題であり、撮像装置の小型化が求められている。
最初に、比較のため、ウエハレベルパッケージング型の撮像装置について簡単に説明する。ウエハレベルパッケージング型の撮像装置は、複数の撮像チップを含む撮像ウエハとガラスウエハとを接着した接合ウエハを切断し個片化することで作製される。このため、撮像チップの受光部が形成された第1の主面の全面がカバーガラスで覆われている。受光部と信号を送受信するための電極パッドは貫通配線を介して第2の主面(裏面)に形成する必要がある。しかし、貫通配線形成工程は、貫通孔形成、絶縁層形成、導体層形成等を含む複雑な工程である。
特開2008−118568号公報には、第1の主面に受光部と電極パッドとが配設された撮像装置が開示されている。この撮像装置は、ウエハレベルパッケージング型の撮像装置と異なり貫通配線を形成する必要がないため、生産が容易である。しかし、撮像チップの受光部を保護するためのカバーガラスは、電極パッドを覆わないように位置決めし接着する必要がある、しかし、撮像チップの一辺が数mm以下と小型の場合、カバーガラスを受光部を覆い電極パッドを覆わないように正確に位置決めして接着することは容易ではない。位置決め精度を考慮して、撮像チップよりも平面視寸法が大きいカバーガラスを接着すると、撮像装置の外寸が大きくなってしまう。
このため、主面に受光部と電極パッドとが配設され、受光部がカバーガラスで覆われた撮像装置を容易に製造できる撮像装置の製造方法が求められていた。
特開2008−118568号公報
本発明は、撮像装置を容易に製造できる小型の撮像装置の製造方法を提供することを目的とする。
本発明の実施形態の撮像装置の製造方法は、平面視が短辺と長辺とからなる長方形で、短辺方向中央部に前記長辺に平行に2列に複数の受光部が形成されており、それぞれの受光部の外周側に、前記それぞれの受光部と接続された複数の電極パッドからなる複数の電極群が前記長辺にそって列設されている撮像基板を作製する工程と、2列の前記受光部を覆い2列の前記電極群を覆わない幅の平面視長方形の光学基板を作製する工程と、前記光学基板を、前記撮像基板に前記電極群を覆わないように透明な接着層を介して接着し、接合基板を作製する工程と、前記接合基板を切断し、複数の撮像装置に個片化する工程と、を具備する。
本発明によれば、撮像装置を容易に製造できる小型の撮像装置の製造方法を提供できる。
第1実施形態の撮像装置の斜視図である。 第1実施形態の撮像装置の上面図である。 第1実施形態の撮像装置の断面図である。 第1実施形態の撮像装置の製造方法を説明するためのフローチャートである。 第1実施形態の撮像装置の製造方法を説明するための撮像チップウエハの平面図である。 第1実施形態の撮像装置の製造方法を説明するための図である。(A)は撮像基板の平面図であり、(B)は断面図である。 第1実施形態の撮像装置の製造方法を説明するための図である。(A)は撮像基板の平面図であり、(B)は断面図である。 第1実施形態の撮像装置の製造方法を説明するための分解斜視図である。 第1実施形態の撮像装置の製造方法を説明するための図である。(A)は撮像基板の平面図であり、(B)は断面図である。 第1実施形態の変形例の撮像装置の製造方法を説明するための断面図である。 第1実施形態の変形例の撮像装置の製造方法を説明するための断面図である。 第1実施形態の変形例の撮像装置の上面図である。 第1実施形態の変形例の撮像装置の断面図である。 第2実施形態の撮像装置の製造方法を説明するための分解斜視図である。 第2実施形態の変形例の撮像装置の製造方法を説明するための断面図である。 第2実施形態の変形例の撮像装置の製造方法を説明するための断面図である。 第3実施形態の撮像装置の製造方法を説明するための分解斜視図である。 第3実施形態の撮像装置の断面図である。
<第1実施形態>
<撮像装置の構造>
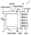
図1、図2A及び図2Bに示すように、本実施形態の撮像装置1は、撮像チップ10と、接着層20を介して撮像チップ10と接着されている光学部材であるカバーガラス30と、撮像チップ10の電極パッド12と接合された信号ケーブル40と、を具備する。
直方体の撮像チップ10は第1の主面10SAと第2の主面10SBと第1の側面10S1と、第2の側面10S2と、第3の側面10S3と、第4の側面10S4と、を有する。撮像チップ10の第1の主面10SAには、CMOSイメージセンサ等からなる受光部11と、それぞれが受光部11と配線(不図示)で接続された複数の電極パッド12からなる電極群12Sとが形成されている。複数の電極パッド12は、第1の側面10S1に平行に列設されている。
透明なカバーガラス30も直方体で、第1の側面30S1と、第2の側面30S2と、第3の側面30S3と、第4の側面30S4と、を有する。カバーガラス30は受光部11を覆い電極群12Sを覆わないように、透明な接着層20を介して撮像チップ10と接着されている。
そして、撮像装置1では、カバーガラス30の3つの側面(30S2、30S3、30S4)と、撮像チップ10の3つの側面(10S2、10S3、10S4)とは、端面が揃っており、同じ平面視位置にある。
言い換えれば、カバーガラス30の第2の側面30S2と撮像チップ10の第2の側面との間隔D2と、カバーガラス30の第3の側面30S3と撮像チップ10の第3の側面との間隔D3と、カバーガラス30の第4の側面30S4と撮像チップ10の第4の側面との間隔D4と、は、いずれもゼロである。
撮像装置1は、平面視寸法が数mm以下、例えば1mmの撮像チップ10と同じ平面視寸法であり小型である。すなわち、平面視寸法が撮像チップ10よりも更に小さいカバーガラス30が、受光部11を覆い、かつ、受光部11と信号を送受信する電極パッド12を覆わないように接着されている。
撮像装置1は、カバーガラス30は撮像チップ10と、非常に正確に位置合わされた状態で接着されていると見なすことができ、小型である。これは、撮像装置1が、後述する製造方法により製造されているためである。
<撮像装置の製造方法>
次に、撮像装置1の製造方法を図3のフローチャートに沿って説明する。
<ステップS11>撮像基板作製
シリコン等の半導体からなるウエハの主面に公知の半導体製造技術を用いて、図4に示す、複数の撮像チップ10を含む撮像ウエハ10Wが作製される。撮像ウエハ10Wは、ウエハ上の複数の撮像チップ10の配置に大きな特徴がある。
すなわち、平行に2列にCMOSイメージセンサ等からなる複数の受光部11が形成されており、それぞれの受光部11の外周側に、それぞれの受光部11と接続された複数の電極パッド12が列設された複数の電極群12Sが形成されている。
そして、撮像ウエハ10Wを切断することで、撮像基板10S(図5、図6参照)が作製される。撮像基板10Sの平面視形状は、幅がW10Sの短辺と長さがLSの長辺とからなる長方形である。撮像基板10Sは、短辺方向中央部に辺に平行に2列に複数の受光部11が形成されており、それぞれの受光部11の外周側に、それぞれの受光部11と接続された複数の電極パッド12からなる複数の電極群12Sが長辺にそって列設されている。
図5〜図8に示した撮像基板10Sは、16個の撮像チップ10を含む。撮像基板10Sは4個以上140個以下の撮像チップ10を含むことが好ましい。撮像チップ10が前記以上であれば、生産性が優れており、前記以下であれば、一般的な半導体実装装置を用いて撮像基板10Sの位置決めをして接着や追加工等を行うことが容易である。
<ステップS12>光学基板作製
ガラスからなるガラスウエハが撮像基板10Sの平面視寸法を基準に切断され、直方体の光学基板であるガラス基板30Sが作製される(図7参照)。なお撮像ウエハ10Wとガラスウエハとは形状及び大きさが異なっていてもよい。
ガラス基板30Sは、撮像基板10Sの2列の受光部11を覆い2列の電極群12Sを覆わない幅W30Sであり、長さL30Sは撮像基板10Sの長さL10Sと同じか、又は少し長い。
なお、ステップS11(撮像基板作製)とステップS12(光学基板作製)とは逆でもよい。
<ステップS13>接着
図6及び図7に示すように、ガラス基板30Sが、撮像基板10Sに電極群12Sを覆わないように透明な接着層20Sを介して接着され、接合基板1Sが作製される。ガラス基板30Sと撮像基板10Sとは、一般的な電子部品実装装置を用いて位置決めして接着できる。
接着層20は、例えば、エポキシ系、アクリル系又はシリコーン系の、紫外線硬化樹脂又は熱硬化樹脂を用いることができる。また、硬化前の状態は、液体又はフィルム状のいずれでもよい。
<ステップS14>切断
図8に示すように、接合基板1Sが切断され、複数の撮像装置1に個片化される。そして、複数の電極パッド12のそれぞれに信号ケーブル40が接合される。
なお、接合基板1Sに信号ケーブル40が接合されていてもよい。
撮像装置1は、すでに説明したように、カバーガラス30の3つの側面(30S2、30S3、30S4)と、撮像チップ10の第2〜第4の側面(10S2、10S3、10S4)とは、端面が揃っており、同じ平面視位置にある。
すなわち、カバーガラス30の3つの側面(30S2、30S3、30S4)と、撮像チップ10の3つの側面(10S2、10S3、10S4)とは、接合基板1Sの切断により同時に形成されるために、非常に正確に位置合わされたのと同じ状態である。
実施形態の製造方法によれば、カバーガラス30と撮像チップ10とが、正確に位置合わされた状態の小型の撮像装置1を容易に製造できる。
<第1実施形態の変形例>
次に、第1実施形態の変形例の撮像装置1A、及び撮像装置1Aの製造方法について説明する。撮像装置1A等は、撮像装置1と類似しているので同じ構成要素には同じ符号を付し説明は省略する。
撮像装置1Aは、切断工程が撮像装置1と少し異なり、いわゆるステップカット法が用いられる。すなわち、切断工程が、ガラス基板30Sを第1の切りしろ(cutting margin)W1で切断する第1の切断工程(図9A)と、第1の切りしろW1よりも狭い第2の切りしろW2で、撮像基板10Sを切断する第2の切断工程(図9B)と、からなる。
ガラス基板30Sの最適切断条件と、撮像基板10Sの最適切断条件とは、異なる。すなわち、ガラスとシリコンとは硬度等が異なる材料であるため、同じ条件で同時に切断するとチッピング等が発生するおそれがある。またチッピング等を防止するためには低速で加工する必要がある。
これに対して撮像装置1Aはステップカット法により切断を行うため、チッピング等が発生するおそれがなく、かつ第1の切断工程及び第2の切断工程を高速で行うことができる。なお、接着層20Sは第1の切断工程又は第2の切断工程で切断される。
撮像装置1Aの製造方法は撮像装置1Aの製造方法と同じ効果を有し、更に生産性に優れている。
図10A及び図10Bは、ステップカット法により切断された撮像装置1Aを示している。
撮像装置1Aでは、カバーガラス30Aが、電極群12Sを覆わないように接着層20Aを介して接着されており、その3つの側面30S2〜30S4が、それぞれ撮像チップ10の第2〜第4の側面10S2〜10S4の内周側に位置している。
そして、カバーガラス30の第2の側面30S2と撮像チップ10の第2の側面との間隔D2と、カバーガラス30の第3の側面30S3と撮像チップ10の第3の側面との間隔D3と、カバーガラス30の第4の側面30S4と撮像チップ10の第4の側面との間隔D4とは、略同じである。すなわち、側面間隔は、D2≒D3≒D4≒((W1−W2)/2)である。
撮像装置1Aは撮像装置1Aと同じ効果を有している。
なお、図9A〜図10Bに示すように、撮像装置1Aでは、接着層20A(20SA)は受光部11を覆っていない。すなわち、受光部11の上には空間20Vが形成されている。空間20Vには空気等の気体が存在してもよいし、真空状態でもよい。
受光部11には図示しないマイクロレンズが配設されている。マイクロレンズの外面が接着層で覆われているとレンズ効果が小さくなる。しかし、撮像装置1Aでは空間20Vが形成されているため、レンズ効果が損なわれることがない。
なお、他の実施形態の撮像装置においても、受光部11にマイクロレンズが配設されている場合等には、接着層が受光部11を覆わないようにすることが好ましい。また、受光部11にカラーフィルタが配設されていてもよい。
<第2実施形態>
次に、第2実施形態の撮像装置1B、及び撮像装置1Bの製造方法について説明する。撮像装置1B等は、撮像装置1と類似しているので同じ構成要素には同じ符号を付し説明は省略する。
図11及び12Aに示すように、撮像装置1Bの製造方法において作製される光学基板30SBは、ガラスからなり、断面が略直角2等辺三角形の棒状である。
このため、図12Bに示すように、接合基板1SBを切断して作製される撮像装置1Bは、撮像チップ10に光学部材であるプリズム30Bが接着されている。
受光部11と平行方向からの光が直角プリズム30Bで反射され光路が90度変化して、受光部11に入射する、撮像装置1Bは斜視型、又は横置き型の撮像装置である。
撮像装置1Bは、撮像装置1の効果を有し、更に光学部材としてプリズム30Bが接着されているため、機能性が高い。
また、カバーガラスに更にプリズムを接着した撮像装置と比較すると、撮像装置1Bは高さが低く小型である。
<第3実施形態>
次に、第3実施形態の撮像装置1C、及び撮像装置1Cの製造方法について説明する。撮像装置1C等は、撮像装置1と類似しているので同じ構成要素には同じ符号を付し説明は省略する。
図13に示すように、撮像装置1Cの製造方法において作製される光学基板30SCは、受光部11の撮像光学系である複数のレンズ30Cを含んでいる。
そして、図14に示すように、接合基板1SCの切断により作製される撮像装置1Cは、撮像チップ10に光学部材としての撮像光学系であるレンズ30Cが接着されている。レンズ30Cの機能部は略円形であるが、切断により作製されるレンズ30Cは平面視矩形である。
撮像装置1Cは、撮像装置1の効果を有し、更に撮像チップ10に接着されている光学部材が、高機能のレンズ30Cであるため付加価値が高い。なお、使用する光学部材としては、本実施形態におけるレンズ30Cとともに第1実施形態におけるカバーガラス30を併せて用いてもよく、また第1〜3実施形態における光学部材に加えて、IRカットフィルタ及びローパスフィルタ等のフィルタを用いてもよい。
上記実施形態の撮像装置等は、小型であることから特に電子内視鏡の先端部に配設される撮像装置に好ましく用いることができる。
本発明は上述した実施の形態及び変形例に限定されるものではなく、本発明の要旨を変えない範囲において、種々の変更、改変等ができる。
1、1A〜1C…撮像装置、1S、1SB、1SC…接合基板、10…撮像チップ、10S…撮像基板、10S1〜10S4…側面、10SA、10SB…主面、10W…撮像ウエハ、11…受光部、12…電極パッド、12S…電極群、20、20A、20S…接着層、20V…空間、30、30A…カバーガラス、30B…プリズム、30C…レンズ、30S…ガラス基板、30SB、30SC…光学基板、30S1〜30S4…側面、40…信号ケーブル

Claims (6)

  1. 平面視が短辺と長辺とからなる長方形で、短辺方向中央部に前記長辺に平行に2列に複数の受光部が形成されており、それぞれの受光部の外周側に、前記それぞれの受光部と接続された複数の電極パッドからなる複数の電極群が前記長辺にそって列設されている撮像基板を作製する工程と、
    2列の前記受光部を覆い2列の前記電極群を覆わない幅の平面視長方形の光学基板を作製する工程と、
    前記光学基板を、前記撮像基板に前記電極群を覆わないように透明な接着層を介して接着し、接合基板を作製する工程と、
    前記接合基板を切断し、複数の撮像装置に個片化する工程と、を具備することを特徴とする撮像装置の製造方法。
  2. 前記接合基板の切断工程が、前記光学基板を第1の切りしろで切断する第1の切断工程と、前記第1の切りしろよりも狭い第2の切りしろで、前記撮像基板を切断する第2の切断工程と、からなることを特徴とする請求項1に記載の撮像装置の製造方法。
  3. 前記光学基板が、ガラスからなることを特徴とする請求項1又は請求項2に記載の撮像装置の製造方法。
  4. 前記接着層が、前記受光部を覆っていないことを特徴とする請求項1から請求項3のいずれか1項に記載の撮像装置の製造方法。
  5. 前記光学基板が、前記接合基板の切断により、プリズムになることを特徴とする請求項1から請求項4のいずれか1項に記載の撮像装置の製造方法。
  6. 前記光学基板が、それぞれの前記受光部の撮像光学系を含むことを特徴とする請求項1から請求項4のいずれか1項に記載の撮像装置の製造方法。
JP2013104327A 2013-05-16 2013-05-16 撮像装置の製造方法 Active JP6157211B2 (ja)

Priority Applications (1)

Application Number Priority Date Filing Date Title
JP2013104327A JP6157211B2 (ja) 2013-05-16 2013-05-16 撮像装置の製造方法

Applications Claiming Priority (1)

Application Number Priority Date Filing Date Title
JP2013104327A JP6157211B2 (ja) 2013-05-16 2013-05-16 撮像装置の製造方法

Publications (2)

Publication Number Publication Date
JP2014225793A JP2014225793A (ja) 2014-12-04
JP6157211B2 true JP6157211B2 (ja) 2017-07-05

Family

ID=52124158

Family Applications (1)

Application Number Title Priority Date Filing Date
JP2013104327A Active JP6157211B2 (ja) 2013-05-16 2013-05-16 撮像装置の製造方法

Country Status (1)

Country Link
JP (1) JP6157211B2 (ja)

Family Cites Families (6)

* Cited by examiner, † Cited by third party
Publication number Priority date Publication date Assignee Title
JP4551638B2 (ja) * 2003-08-01 2010-09-29 富士フイルム株式会社 固体撮像装置の製造方法
JP2006049371A (ja) * 2004-07-30 2006-02-16 Fuji Photo Film Co Ltd 固体撮像装置の梱包構造
JP4714499B2 (ja) * 2005-04-08 2011-06-29 パナソニック株式会社 半導体撮像装置およびその製造方法
JP2011119925A (ja) * 2009-12-02 2011-06-16 Olympus Corp 撮像装置および撮像装置の製造方法
JP5701532B2 (ja) * 2010-07-23 2015-04-15 オリンパス株式会社 撮像装置の製造方法
JP2012054331A (ja) * 2010-08-31 2012-03-15 Fujifilm Corp 固体撮像装置の製造方法

Also Published As

Publication number Publication date
JP2014225793A (ja) 2014-12-04

Similar Documents

Publication Publication Date Title
CN109952650B (zh) 摄像模块以及内窥镜
JP5701532B2 (ja) 撮像装置の製造方法
CN100581216C (zh) 超小型摄像模块及其制造方法
JP6270339B2 (ja) 撮像装置、撮像装置の製造方法、及び内視鏡システム
CN107240591A (zh) 固态成像装置
KR20040084989A (ko) 광학장치용 모듈 및 그 제조방법
CN104078479A (zh) 图像传感器的晶圆级封装方法和图像传感器封装结构
CN110061017A (zh) 光学传感器封装及光学传感器总成
US20180247962A1 (en) Image sensor package structure and packaging method thereof
US20130183010A1 (en) Optical Components Including Bonding Slots For Adhesion Stability
CN101827208B (zh) 微型相机模块
JP2018160763A (ja) 撮像モジュール、内視鏡、および、撮像モジュールの製造方法
WO2018198247A1 (ja) 内視鏡、撮像モジュール、および、撮像モジュールの製造方法
CN103378217B (zh) 光感装置及其制法
JP6157211B2 (ja) 撮像装置の製造方法
JPWO2016166809A1 (ja) 撮像モジュール、および撮像モジュールの製造方法
US20130075850A1 (en) Flip-chip bonded imager die
CN204905258U (zh) 影像传感器封装结构
US20100225799A1 (en) Image pickup unit, method of manufacturing image pickup unit and electronic apparatus provided with image pickup unit
JP2014036090A (ja) 撮像センサモジュール及びその製造方法
JP2011176105A (ja) 光学デバイス装置及びその製造方法
KR100747611B1 (ko) 미소소자 패키지 및 그 제조방법
JP2015081769A (ja) 光学式物体位置検出装置
WO2013028616A2 (en) Flip-chip bonded imager die
JP2011128297A (ja) 撮像装置

Legal Events

Date Code Title Description
A621 Written request for application examination

Free format text: JAPANESE INTERMEDIATE CODE: A621

Effective date: 20160502

A977 Report on retrieval

Free format text: JAPANESE INTERMEDIATE CODE: A971007

Effective date: 20170116

A131 Notification of reasons for refusal

Free format text: JAPANESE INTERMEDIATE CODE: A131

Effective date: 20170124

A521 Request for written amendment filed

Free format text: JAPANESE INTERMEDIATE CODE: A523

Effective date: 20170303

TRDD Decision of grant or rejection written
A01 Written decision to grant a patent or to grant a registration (utility model)

Free format text: JAPANESE INTERMEDIATE CODE: A01

Effective date: 20170523

A61 First payment of annual fees (during grant procedure)

Free format text: JAPANESE INTERMEDIATE CODE: A61

Effective date: 20170606

R151 Written notification of patent or utility model registration

Ref document number: 6157211

Country of ref document: JP

Free format text: JAPANESE INTERMEDIATE CODE: R151

R250 Receipt of annual fees

Free format text: JAPANESE INTERMEDIATE CODE: R250

R250 Receipt of annual fees

Free format text: JAPANESE INTERMEDIATE CODE: R250

R250 Receipt of annual fees

Free format text: JAPANESE INTERMEDIATE CODE: R250

R250 Receipt of annual fees

Free format text: JAPANESE INTERMEDIATE CODE: R250

R250 Receipt of annual fees

Free format text: JAPANESE INTERMEDIATE CODE: R250

R250 Receipt of annual fees

Free format text: JAPANESE INTERMEDIATE CODE: R250