JP6071908B2 - 分割可能なトレー - Google Patents

分割可能なトレー Download PDF

Info

Publication number
JP6071908B2
JP6071908B2 JP2013554486A JP2013554486A JP6071908B2 JP 6071908 B2 JP6071908 B2 JP 6071908B2 JP 2013554486 A JP2013554486 A JP 2013554486A JP 2013554486 A JP2013554486 A JP 2013554486A JP 6071908 B2 JP6071908 B2 JP 6071908B2
Authority
JP
Japan
Prior art keywords
tray
wall
compartments
perforation
portions
Prior art date
Legal status (The legal status is an assumption and is not a legal conclusion. Google has not performed a legal analysis and makes no representation as to the accuracy of the status listed.)
Expired - Fee Related
Application number
JP2013554486A
Other languages
English (en)
Other versions
JP2014509288A (ja
Inventor
マイケル トッド スクリムガー,
マイケル トッド スクリムガー,
Current Assignee (The listed assignees may be inaccurate. Google has not performed a legal analysis and makes no representation or warranty as to the accuracy of the list.)
Nestec SA
Original Assignee
Nestec SA
Priority date (The priority date is an assumption and is not a legal conclusion. Google has not performed a legal analysis and makes no representation as to the accuracy of the date listed.)
Filing date
Publication date
Application filed by Nestec SA filed Critical Nestec SA
Publication of JP2014509288A publication Critical patent/JP2014509288A/ja
Application granted granted Critical
Publication of JP6071908B2 publication Critical patent/JP6071908B2/ja
Expired - Fee Related legal-status Critical Current
Anticipated expiration legal-status Critical

Links

Images

Classifications

    • BPERFORMING OPERATIONS; TRANSPORTING
    • B65CONVEYING; PACKING; STORING; HANDLING THIN OR FILAMENTARY MATERIAL
    • B65DCONTAINERS FOR STORAGE OR TRANSPORT OF ARTICLES OR MATERIALS, e.g. BAGS, BARRELS, BOTTLES, BOXES, CANS, CARTONS, CRATES, DRUMS, JARS, TANKS, HOPPERS, FORWARDING CONTAINERS; ACCESSORIES, CLOSURES, OR FITTINGS THEREFOR; PACKAGING ELEMENTS; PACKAGES
    • B65D5/00Rigid or semi-rigid containers of polygonal cross-section, e.g. boxes, cartons or trays, formed by folding or erecting one or more blanks made of paper
    • B65D5/42Details of containers or of foldable or erectable container blanks
    • B65D5/44Integral, inserted or attached portions forming internal or external fittings
    • B65D5/48Partitions
    • B65D5/48002Partitions integral
    • B65D5/48022Partitions integral formed by two parallel panels located in the base of a tray being folded up towards each other
    • BPERFORMING OPERATIONS; TRANSPORTING
    • B65CONVEYING; PACKING; STORING; HANDLING THIN OR FILAMENTARY MATERIAL
    • B65DCONTAINERS FOR STORAGE OR TRANSPORT OF ARTICLES OR MATERIALS, e.g. BAGS, BARRELS, BOTTLES, BOXES, CANS, CARTONS, CRATES, DRUMS, JARS, TANKS, HOPPERS, FORWARDING CONTAINERS; ACCESSORIES, CLOSURES, OR FITTINGS THEREFOR; PACKAGING ELEMENTS; PACKAGES
    • B65D5/00Rigid or semi-rigid containers of polygonal cross-section, e.g. boxes, cartons or trays, formed by folding or erecting one or more blanks made of paper
    • B65D5/20Rigid or semi-rigid containers of polygonal cross-section, e.g. boxes, cartons or trays, formed by folding or erecting one or more blanks made of paper by folding-up portions connected to a central panel from all sides to form a container body, e.g. of tray-like form
    • BPERFORMING OPERATIONS; TRANSPORTING
    • B65CONVEYING; PACKING; STORING; HANDLING THIN OR FILAMENTARY MATERIAL
    • B65DCONTAINERS FOR STORAGE OR TRANSPORT OF ARTICLES OR MATERIALS, e.g. BAGS, BARRELS, BOTTLES, BOXES, CANS, CARTONS, CRATES, DRUMS, JARS, TANKS, HOPPERS, FORWARDING CONTAINERS; ACCESSORIES, CLOSURES, OR FITTINGS THEREFOR; PACKAGING ELEMENTS; PACKAGES
    • B65D5/00Rigid or semi-rigid containers of polygonal cross-section, e.g. boxes, cartons or trays, formed by folding or erecting one or more blanks made of paper
    • B65D5/42Details of containers or of foldable or erectable container blanks
    • B65D5/44Integral, inserted or attached portions forming internal or external fittings
    • B65D5/52External stands or display elements for contents
    • BPERFORMING OPERATIONS; TRANSPORTING
    • B65CONVEYING; PACKING; STORING; HANDLING THIN OR FILAMENTARY MATERIAL
    • B65DCONTAINERS FOR STORAGE OR TRANSPORT OF ARTICLES OR MATERIALS, e.g. BAGS, BARRELS, BOTTLES, BOXES, CANS, CARTONS, CRATES, DRUMS, JARS, TANKS, HOPPERS, FORWARDING CONTAINERS; ACCESSORIES, CLOSURES, OR FITTINGS THEREFOR; PACKAGING ELEMENTS; PACKAGES
    • B65D5/00Rigid or semi-rigid containers of polygonal cross-section, e.g. boxes, cartons or trays, formed by folding or erecting one or more blanks made of paper
    • B65D5/42Details of containers or of foldable or erectable container blanks
    • B65D5/44Integral, inserted or attached portions forming internal or external fittings
    • B65D5/52External stands or display elements for contents
    • B65D5/5253Containers initially closed but folded about a central axis to display the contents in two or more cells
    • BPERFORMING OPERATIONS; TRANSPORTING
    • B65CONVEYING; PACKING; STORING; HANDLING THIN OR FILAMENTARY MATERIAL
    • B65DCONTAINERS FOR STORAGE OR TRANSPORT OF ARTICLES OR MATERIALS, e.g. BAGS, BARRELS, BOTTLES, BOXES, CANS, CARTONS, CRATES, DRUMS, JARS, TANKS, HOPPERS, FORWARDING CONTAINERS; ACCESSORIES, CLOSURES, OR FITTINGS THEREFOR; PACKAGING ELEMENTS; PACKAGES
    • B65D5/00Rigid or semi-rigid containers of polygonal cross-section, e.g. boxes, cartons or trays, formed by folding or erecting one or more blanks made of paper
    • B65D5/42Details of containers or of foldable or erectable container blanks
    • B65D5/54Lines of weakness to facilitate opening of container or dividing it into separate parts by cutting or tearing
    • B65D5/5475Lines of weakness to facilitate opening of container or dividing it into separate parts by cutting or tearing for dividing a "cross-like" container body into separate parts
    • BPERFORMING OPERATIONS; TRANSPORTING
    • B65CONVEYING; PACKING; STORING; HANDLING THIN OR FILAMENTARY MATERIAL
    • B65DCONTAINERS FOR STORAGE OR TRANSPORT OF ARTICLES OR MATERIALS, e.g. BAGS, BARRELS, BOTTLES, BOXES, CANS, CARTONS, CRATES, DRUMS, JARS, TANKS, HOPPERS, FORWARDING CONTAINERS; ACCESSORIES, CLOSURES, OR FITTINGS THEREFOR; PACKAGING ELEMENTS; PACKAGES
    • B65D5/00Rigid or semi-rigid containers of polygonal cross-section, e.g. boxes, cartons or trays, formed by folding or erecting one or more blanks made of paper
    • B65D5/42Details of containers or of foldable or erectable container blanks
    • B65D5/54Lines of weakness to facilitate opening of container or dividing it into separate parts by cutting or tearing
    • B65D5/5495Lines of weakness to facilitate opening of container or dividing it into separate parts by cutting or tearing for separating interconnected containers
    • BPERFORMING OPERATIONS; TRANSPORTING
    • B65CONVEYING; PACKING; STORING; HANDLING THIN OR FILAMENTARY MATERIAL
    • B65DCONTAINERS FOR STORAGE OR TRANSPORT OF ARTICLES OR MATERIALS, e.g. BAGS, BARRELS, BOTTLES, BOXES, CANS, CARTONS, CRATES, DRUMS, JARS, TANKS, HOPPERS, FORWARDING CONTAINERS; ACCESSORIES, CLOSURES, OR FITTINGS THEREFOR; PACKAGING ELEMENTS; PACKAGES
    • B65D5/00Rigid or semi-rigid containers of polygonal cross-section, e.g. boxes, cartons or trays, formed by folding or erecting one or more blanks made of paper
    • B65D5/42Details of containers or of foldable or erectable container blanks
    • B65D5/64Lids
    • B65D5/68Telescope flanged lids
    • BPERFORMING OPERATIONS; TRANSPORTING
    • B65CONVEYING; PACKING; STORING; HANDLING THIN OR FILAMENTARY MATERIAL
    • B65DCONTAINERS FOR STORAGE OR TRANSPORT OF ARTICLES OR MATERIALS, e.g. BAGS, BARRELS, BOTTLES, BOXES, CANS, CARTONS, CRATES, DRUMS, JARS, TANKS, HOPPERS, FORWARDING CONTAINERS; ACCESSORIES, CLOSURES, OR FITTINGS THEREFOR; PACKAGING ELEMENTS; PACKAGES
    • B65D2203/00Decoration means, markings, information elements, contents indicators

Landscapes

  • Engineering & Computer Science (AREA)
  • Mechanical Engineering (AREA)
  • Cartons (AREA)
  • Packages (AREA)
  • Pallets (AREA)

Description

[0001]本開示は、一般に、包装に関する。より詳細には、本開示は、製品及び/又は消費可能な製品を含む二次容器を保管及び陳列するためのトレーに関する。製品及び/又は消費可能な製品を含む二次容器を保管及び陳列するいくつかの態様を、限定しないが、輸送、保管又は取扱い中に損傷を受けることから製品を保護すること、及び小売り陳列のために同一パッケージのいくつかの異なる構造を提供することを含めて本開示で検討することができる。
[0002]消費可能な製品のための包装には、様々なサイズ、形状、材料及びデザインがある。これらのサイズ、形状、材料及びデザインは一般的に、例えば美観上の理由又はマーケティング目的のために異なる。しかしながら、ある種の機能的特徴を有する、消費可能な製品の包装は、そのようなパッケージのユーザに、見込まれる美観上及びマーケティング上の利点に追加して利点を提供する。
[0003]製品及び/又は製品を含む二次容器を保管及び陳列するためのパッケージが提供される。一般的な実施形態では、本開示は、第1と第2の外側部分と、第1と第2の中間部分と、ミシン目と刻み目のうちの一方により接合された第1と第2の内側部分とを有するパッケージブランクから形成されるパッケージ又はトレーを提供する。第1の中間部分は第1の外側部分と第1の内側部分との間に配置され、第2の中間部分は第2の外側部分と第2の内側部分との間に配置される。このブランクは実質的に平坦である。
[0004]一実施形態では、第1と第2の内側部分は1/8インチ×1/8インチの孔であるミシン目によって接合される。
[0005]一実施形態では、第1の外側部分と第1の中間部分とは刻み目とミシン目のうちの一方によって接合され、第2の外側部分と第2の中間部分とは刻み目とミシン目のうちの一方によって接合される。第1の中間部分と第1の内側部分とが刻み目とミシン目のうちの一方によって接合され、第2の中間部分と第2の内側部分とが刻み目とミシン目のうちの一方によって接合されてもよい。
[0006]一実施形態では、外側部分、内側部分及び中間部分は各々第1と第2の端部分を有してもよい。この第1と第2の端部分は各々端部パネルを含んでもよい。外側部分、内側部分及び中間部分は、刻み目とミシン目のうちの一方によってそれぞれの端部パネルに接合されてもよい。第1と第2の中間部分の端部パネルは、第1と第2の中間部分と実質的に同じ幅であってもよい。
[0007]一実施形態では、第1と第2の外側部分の端部パネルは、第1と第2の中間部分の端部パネルに実質的に隣接して配置されてもよい。第1と第2の内側部分の端部パネルもやはり実質的に相互に隣接して配置されてもよい。第1と第2の内側部分の端部パネルは同じ長さであってもよく、又は第1の内側部分の端部パネルが第2の内側部分の端部パネルよりも短くてもよい。第1の内側部分の端部パネルは第2の内側部分の端部パネルよりも約1/8インチ〜約1/2インチ、又は約1/4インチの長さ分短くてもよい。
[0008]一実施形態では、外側部分、内側部分、及び中間部分は約5インチ〜約15インチ、又は約10インチの長さを有する。
[0009]一実施形態では、第1と第2の外側部分、及び第1と第2の中間部分の端部パネルは約13/16インチ〜約2+7/16インチ、又は約3+1/4インチの長さを有する。
[0010]一実施形態では、外側部分は約1+13/16インチ〜約5+7/16インチ、又は約3+5/8インチの幅を有する。
[0011]一実施形態では、内側部分は約3/4インチ〜約2+1/4インチ、又は約1.5インチの幅を有する。
[0012]一実施形態では、中間部分は約1+23/32インチ〜約5+5/32インチ、又は約3+7/16インチの幅を有する。
[0013]一実施形態では、ブランクは約6+5/8インチ〜約19+7/8インチ、又は約13+1/4インチの長さを有する。
[0014]一実施形態では、ブランクは約8+9/16インチ〜約26+5/8インチ、又は約17+1/8インチの幅を有する。
[0015]別の実施形態では、トレーが提供される。このトレーは第1と第2の対向する側壁、複数のパネルを含む前壁、複数のパネルを含む後壁、及びトレーを2つの区画に分離するように構成されるミシン目と刻み目のうちの一方を有する底壁を含む。
[0016]一実施形態では、ミシン目と刻み目のうちの一方は、第1と第2の対向する側壁と実質的に平行するミシン目である。
[0017]一実施形態では、2つの区画は同じ寸法を有する。このようにして、2つの区画は分離されると互いに鏡像をなしてもよい。
[0018]一実施形態では、前壁の複数のパネルは異なる長さを有する。前壁の複数のパネルは異なる幅を有することもやはり可能である。
[0019]一実施形態では、後壁の複数のパネルは異なる長さを有する。後壁の複数のパネルは異なる幅を有することもやはり可能である。
[0020]一実施形態では、トレーは一片の材料から形成される。この材料はプラスチック、厚紙、繊維板、板紙、ジュート、発泡スチロール、金属、又はこれらの組み合わせからなる群から選択されてもよい。一実施形態では、この材料は段ボール紙である。
[0021]一実施形態では、第1と第2の対向する側壁は、側壁から延びて、前壁と後壁のうちの一方に付着するように構成される少なくとも1つのパネルを含む。
[0022]別の実施形態において、トレーが提供される。このトレーは外部側壁、内部側壁、前壁、後壁、及び底壁を有する第1の区画と、外部側壁、内部側壁、前壁、後壁、及び底壁を有する第2の区画とを含む。第1の区画の内部壁と第2の区画の内部壁はミシン目と刻み目のうちの一方によって接合される。
[0023]一実施形態では、ミシン目と刻み目のうちの一方は、第1と第2の区画を分離することができるように構成されるミシン目である。
[0024]一実施形態では、第1と第2の区画の前壁及び第1と第2の区画の後壁は、各々単一のパネルを含む。第1の区画の単一のパネルは第1の区画の底壁の延長部であってもよく、第2の区画の単一のパネルは第2の区画の底壁の延長部であってもよい。
[0025]一実施形態では、第1の区画の前壁と後壁は、第1の区画の外部側壁から延びる付属パネルをさらに含む。付属パネルは第2の区画の外部側壁から延びるパネルであってもよい。付属パネルは第1の区画の内部側壁から延びるパネルであってもよい。付属パネルはさらに、第2の区画の内部側壁から延びるパネルであってもよい。
[0026]一実施形態では、第1の区画の内部壁と第2の区画の内部壁は隣接し、実質的に相互に重なる。
[0027]一実施形態では、第1及び第2の区画の外部側壁は、第1及び第2の区画の内部側壁よりも高い。
[0028]さらに別の実施形態では、トレーが提供される。このトレーは、第1と第2の対向する側壁、前壁、後壁、及び底壁によって画定される空洞部を含む。底壁の一部分はトレーの少なくとも2つの区画を形成するように空洞部の中へ折り曲げられる。
[0029]一実施形態では、空洞部の中へ折り曲げられる底壁の部分は、実質的に垂直に配向させられる。空洞部の中へ折り曲げられる底壁の部分の最上部は、少なくとも2つの区画を分離することを可能にするように構成されるミシン目と刻み目のうちの一方を含んでもよい。一実施形態では、空洞部の中へ折り曲げられる底壁の部分は、底壁の実質的に互いに重なる2つの隣接する層を含む。空洞部の中へ折り曲げられない底壁の部分は、空洞部の中へ折り曲げられる底壁の部分に対して実質的に直角である実質的に平坦な表面を形成してもよい。
[0030]一実施形態では、前壁は少なくとも2つのパネルから形成され、各々のパネルが底壁から延びる。少なくとも2つのパネルは端と端をつないで配向させられてもよく、前壁を形成するように実質的に互いに隣接して配置される。前壁は第1の側壁から延びるパネル、第2の側壁から延びるパネル、空洞部の中へ折り曲げられる底壁の部分から延びるパネル、又はこれらの組み合わせからなる群から選択されるパネルをさらに含んでもよい。
[0031]一実施形態では、後壁は少なくとも2つのパネルを含み、各々のパネルが底壁から延びる。少なくとも2つのパネルは端と端をつないで配向させられてもよく、後壁を形成するように実質的に互いに隣接して配置されている。後壁は第1の側壁から延びるパネル、第2の側壁から延びるパネル、空洞部の中へ折り曲げられる底壁の部分から延びるパネル、又はこれらの組み合わせからなる群から選択されるパネルをさらに含んでもよい。
[0032]一実施形態では、第1と第2の対向する壁は空洞部の中へ折り曲げられる底壁の部分よりも高い。
[0033]別の実施形態では、トレーが提供される。このトレーは、第1と第2の対向する側壁、前壁、後壁、底壁、及びトレーを少なくとも2つの分離された区画に分割する内部壁を含む。内部壁は、ミシン目と刻み目のうちの一方によって接合される第1と第2の隣接するパネルを含む。
[0034]一実施形態では、隣接するパネルは隣接するパネルの最上部でミシン目によって接合される。
[0035]一実施形態では、内部壁は底壁の一部分から形成される。
[0036]一実施形態では、前壁は少なくとも2つのパネルを含み、各々のパネルが底壁から延びる。少なくとも2つのパネルは端と端をつないで配向させられてもよく、前壁を形成するように実質的に互いに隣接して配置されてもよい。前壁は第1の側壁から延びるパネル、第2の側壁から延びるパネル、空洞部の中へ折り曲げられる底壁の部分から延びるパネル、又はこれらの組み合わせからなる群から選択されるパネルをさらに含んでもよい。
[0037]一実施形態では、後壁は少なくとも2つのパネルを含み、各々のパネルが底壁から延びる。少なくとも2つのパネルは端と端をつないで配向させられてもよく、後壁を形成するように実質的に互いに隣接して配置されてもよい。後壁は第1の側壁から延びるパネル、第2の側壁から延びるパネル、空洞部の中へ折り曲げられる底壁の部分から延びるパネル、又はこれらの組み合わせからなる群から選択されるパネルをさらに含んでもよい。
[0038]一実施形態では、第1と第2の対向する側壁は内部壁よりも高い。
[0039]別の実施形態では、トレーが提供される。このトレーは、第1と第2の対向する側壁、前壁、後壁、及びミシン目と刻み目のうちの一方を含む底壁によって画定される空洞部を含む。ミシン目と刻み目のうちの一方は、(i)第1の実施形態において底壁が平坦になることを可能にするように、及び(ii)第2の実施形態において底壁の一部が空洞部の中へ折り曲げられ、それによって少なくとも2つの区画を形成するように構成される。
[0040]一実施形態では、前壁は第1と第2の実施形態の両方において少なくとも2つのパネルを含む。これらのパネルは底壁から延びてもよい。前壁は第1と第2の対向する側壁の少なくとも一方から延びるパネルをさらに含んでもよく、このパネルが底壁から延びるパネルに付けられる。
[0041]一実施形態では、後壁は第1と第2の実施形態の両方において少なくとも2つのパネルを含む。これらのパネルは底壁から延びてもよい。後壁は第1と第2の対向する側壁の少なくとも一方から延びるパネルをさらに含んでもよく、このパネルが底壁から延びるパネルに付けられる。
[0042]一実施形態では、第1と第2の対向する側壁は第2の実施形態において空洞部の中へ折り曲げられる後壁の部分よりも高い。
[0043]一実施形態では、少なくとも2つの区画は、ミシン目と刻み目のうちの一方に沿って互いに鏡像をなす。
[0044]さらに別の実施形態では、トレーが提供される。このトレーは、第1と第2の対向する側壁、前壁、後壁、及びミシン目と刻み目のうちの一方を含む底壁によって画定される空洞部を含む。ミシン目と刻み目のうちの一方は、(i)第1の実施形態において底壁が平坦になることを可能にするように、及び(ii)第2の実施形態においてトレーを少なくとも2つの区画に分離することを可能にするように構成される。
[0045]一実施形態では、前壁が第1の実施形態において少なくとも2つのパネルを含む。これらのパネルは底壁から延びてもよい。前壁は、第1と第2の対向する側壁の少なくとも一方から延びるパネルをさらに含んでもよく、このパネルが底壁から延びるパネルに付けられる。
[0046]一実施形態では、後壁は、第1の実施形態おいて少なくとも2つのパネルを含む。これらのパネルは底壁から延びてもよい。後壁は第1と第2の対向する側壁の少なくとも一方から延びるパネルをさらに含んでもよく、このパネルが底壁から延びるパネルに付けられる。
[0047]一実施形態では、少なくとも2つの区画は、分離されたときに互いに鏡像をなす。
[0048]他の実施形態では、トレーを作製するための方法が提供される。本方法は、第1と第2の外側部分と、ミシン目と刻み目のうちの一方により接合された第1と第2の内側部分と、第1と第2の中間部分とを有するブランクを用意するステップを含む。第1の中間部分は第1の外側部分と第1の内側部分との間に配置され、第2の中間部分は第2の外側部分と第2の内側部分との間に配置される。本方法は、ミシン目と刻み目のうちの一方に沿ってブランクを折り曲げるステップと、第1の中間部分と第1の内側部分との境となる線及び第2の中間部分と第2の内側部分との境となる線に沿ってブランクを折り曲げるステップと、第1の中間部分と第1の外側部分との境となる線及び第2の中間部分と第2の外側部分との境となる線に沿ってブランクを折り曲げ、それによりトレーを形成するステップとをさらに含む。
[0049]一実施形態では、ブランクは第1と第2の端部をさらに含み、第1と第2の端部の各々が複数のパネルを有する。
[0050]一実施形態では、本方法は前壁を形成するために第1の端部の複数のパネルを折り曲げるステップ、及び/又は後壁を形成するために第2の端部の複数のパネルを折り曲げるステップをさらに含む。
[0051]一実施形態では、第1の端部の複数のパネルは前壁を形成するために互いに接着される。付け加えると、第2の端部の複数のパネルは後壁を形成するために互いに接着される。
[0052]一実施形態では、本方法は、第1の中間部分と第1の内側部分との境となる線及び第2の中間部分と第2の内側部分との境となる線に沿ってブランクを折り曲げた後に、ブランクの上に二次パッケージを設置するステップをさらに含む。
[0053]一実施形態では、本方法は、第1の中間部分と第1の外側部分との境となる線及び第2の中間部分と第2の外側部分との境となる線に沿ってブランクを折り曲げた後に、トレーの中に消費可能な製品を設置するステップをさらに含む。
[0054]一実施形態では、本方法はトレーの上に覆いを設置するステップをさらに含む。
[0055]別の実施形態では、消費可能な製品を陳列するための方法が提供される。本方法は、消費可能な製品を収容するトレーを用意するステップを含み、このトレーは第1と第2の対向する側壁、複数のパネルを備えた前壁、複数のパネルを備えた後壁、及びトレーを2つの区画に分離するように構成されるミシン目と刻み目のうちの一方を備える底壁を有する。本方法はトレーを小売り棚に設置するステップをさらに含む。
[0056]一実施形態では、消費可能な製品は二次パッケージ内に含まれる。
[0057]一実施形態では、本方法は、トレーを小売り棚に設置する前にトレーから覆いを取り外すステップをさらに含む。
[0058]さらに別の実施形態では、消費可能な製品を陳列するための方法が提供される。本方法は、消費可能な製品を収容するトレーを用意するステップを含み、このトレーは、第1と第2の対向する側壁、複数のパネルを備えた前壁、複数のパネルを備えた後壁、及びトレーを2つの区画に分離するように構成されるミシン目と刻み目のうちの一方を含む底壁を有する。本方法はトレーを2つの区画に分離するためのミシン目と刻み目のうちの一方に沿ってトレーを引き裂くステップと、2つの区画のうちの少なくとも一方を小売り棚に設置するステップとをさらに含む。
[0059]一実施形態では、本方法は、トレーを引き裂く前にトレーから覆いを取り外すステップをさらに含む。
[0060]一実施形態では、本方法は、第1と第2の区画を小売り棚に設置する前に、2つの区画のうちの一方の上端に2つの区画のうちの他方を積み重ねるステップをさらに含む。
[0061]他の実施形態では、消費可能な製品を陳列するための方法が提供される。本方法は消費可能な製品を収容するトレーを用意するステップを含み、このトレーが外部側壁、内部側壁、前壁、後壁、及び底壁を有する第1の区画と、外部側壁、内部側壁、前壁、後壁、及び底壁を有する第2の区画とを有する。第1の区画の内部壁と第2の区画の内部壁はミシン目と刻み目のうちの一方によって接合される。本方法はトレーを小売り棚に設置するステップをさらに含む。
[0062]一実施形態では、本方法はトレーを小売り棚に設置する前にトレーから覆いを取り外すステップをさらに含む。
[0063]別の実施形態では、消費可能な製品を陳列するための方法が提供される。本方法は消費可能な製品を収容するトレーを用意するステップを含み、このトレーは、外部側壁、内部側壁、前壁、後壁、及び底壁を有する第1の区画と、外部側壁、内部側壁、前壁、後壁、及び底壁を有する第2の区画とを有する。第1の区画の内部壁と第2の区画の内部壁はミシン目と刻み目のうちの一方によって接合される。本方法は、トレーを第1と第2の区画に分離するためにミシン目と刻み目のうちの一方に沿ってトレーを引き裂くステップと、第1と第2の区画のうちの少なくとも一方を小売り棚に設置するステップとをさらに含む。
[0064]一実施形態では、本方法はトレーを引き裂く前にトレーから覆いを取り外すステップをさらに含む。
[0065]一実施形態では、本方法は、第1と第2の区画を小売り棚に設置する前に、第2の区画の上端に第1の区画を積み重ねるステップをさらに含む。
[0066]さらに別の実施形態では、消費可能な製品を陳列するための方法が提供される。本方法は消費可能な製品を収容するトレーを用意するステップを含み、このトレーは、第1と第2の対向する側壁、前壁、後壁、及び底壁によって画定される空洞部を有する。底壁の一部分はトレーの少なくとも2つの区画を形成するために空洞部の中へ折り曲げられる。本方法はトレーを小売り棚に設置するステップをさらに含む。
[0067]一実施形態では、本方法は、トレーを小売り棚に設置する前にトレーから覆いを取り外すステップをさらに含む。
[0068]別の実施形態では、消費可能な製品を陳列するための方法が提供される。本方法は、消費可能な製品を収容するトレーを用意するステップを含み、このトレーが第1と第2の対向する側壁、前壁、後壁、及び底壁によって画定される空洞部を有する。底壁の一部分はトレーの少なくとも2つの区画を形成するために空洞部の中へ折り曲げられる。本方法は、トレーの少なくとも2つの区画を分離するステップ、及び少なくとも2つの区画のうちの少なくとも1つを小売り棚に設置するステップをさらに含む。
[0069]一実施形態では、本方法は、トレーの少なくとも2つの区画を分離する前にトレーから覆いを取り外すステップをさらに含む。
[0070]一実施形態では、本方法は、区画を小売り棚に設置する前に少なくとも2つの区画のうちの第1の区画の上端に、少なくとも2つの区画のうちの第2の区画を積み重ねるステップをさらに含む。
[0071]他の実施形態では、消費可能な製品を陳列するための方法が提供される。本方法は消費可能な製品を収容するトレーを用意するステップを含み、このトレーは、第1と第2の対向する側壁、前壁、後壁、底壁、及びトレーを少なくとも2つの分離した区画に分割する内部壁を含む。内部壁は、ミシン目と刻み目のうちの一方によって接合された第1と第2の隣接するパネルを含む。本方法はトレーを小売り棚に設置するステップをさらに含む。
[0072]一実施形態では、本方法はトレーを小売り棚に設置する前にトレーから覆いを取り外すステップをさらに含む。
[0073]別の実施形態では、消費可能な製品を陳列するための方法が提供される。本方法は、消費可能な製品を収容するトレーを用意するステップを含み、このトレーは、第1と第2の対向する側壁、前壁、後壁、底壁、及びトレーを少なくとも2つの分離した区画に分割する内部壁を有する。内部壁はミシン目と刻み目のうちの一方によって接合された第1と第2の隣接するパネルを含む。本方法はトレーを少なくとも2つの分離した区画に分離するためのミシン目と刻み目のうちの一方に沿ってトレーを引き裂くステップと、少なくとも2つの区画のうちの少なくとも1つを小売り棚に設置するステップとをさらに含む。
[0074]一実施形態では、本方法は、トレーを引き裂く前にトレーから覆いを取り外すステップをさらに含む。
[0075]一実施形態では、本方法は、区画を小売り棚に設置する前に少なくとも2つの分離した区画のうちの第1の区画の上端に少なくとも2つの分離した区画のうちの第2の区画を積み重ねるステップをさらに含む。
[0076]改善されたパッケージを提供することが本開示の利点である。
[0077]複数の配列に構成することができるパッケージを提供することが本開示の別の利点である。
[0078]本開示のさらに別の利点は、2つの区画に分割されるように構成されるパッケージを提供することである。
[0079]本開示のさらに別の利点は、消費可能な製品及び/又は消費可能な製品を含む二次パッケージを収容するように構成されるパッケージを提供することである。
[0080]美観上の満足を与えるパッケージを提供することもやはり本開示の利点である。
[0081]小売り棚に陳列することが容易なパッケージを提供することが本開示のさらなる利点である。
[0082]パッケージを作製するための改善された方法を提供することが本開示のさらに別の利点である。
[0083]パッケージを小売り棚に陳列するための改善された方法を提供することが別の利点である。
[0084]追加的な特徴及び利点は本明細書で述べられるが、下記の詳細な説明及び図面から明らかになろう。
本開示の一実施形態による包装ブランクの上面を例示する図である。 本開示の一実施形態によるパッケージを例示する斜視図である。 本開示の一実施形態によるパッケージを例示する斜視図である。 本開示の一実施形態による、二次パッケージを含むパッケージを例示する斜視図である。 本開示の一実施形態による、2つの区画に分離されたパッケージを例示する斜視図である。 本開示の一実施形態による、2つの区画に分離されて二次パッケージを含むパッケージを例示する斜視図である。 本開示の一実施形態による、2つの区画に分離されて二次パッケージを含むパッケージを例示する斜視図である。 本開示の一実施形態による、パッケージを作製するための方法を例示する図である。 本開示の一実施形態による、パッケージを作製するための方法を例示する図である。 本開示の一実施形態による、パッケージを作製するための方法を例示する図である。 本開示の一実施形態による、パッケージを作製するための方法を例示する図である。 本開示の一実施形態による、パッケージを作製するための方法を例示する図である。 本開示の一実施形態による、パッケージを作製するための方法を例示する図である。 本開示の一実施形態による、パッケージを作製するための方法を例示する図である。
[0093]本開示及び添付の特許請求の範囲に使用されるとき、単数形の「a」、「an」及び「the」は、文脈上異なる意味で明確に規定されない限り複数の対象を含む。したがって、例えば「あるパネル」への言及は単一のパネル、2つ以上のパネル等々を含む。
[0094]本明細書で使用されるとき、「約」は数のある範囲に言及すると理解される。さらに、本明細書の全ての数値範囲はその範囲内の全ての整数、完全な整数又は分数を含むと理解されるべきである。
[0095]本明細書で使用されるとき、「栄養学的製品」又は「栄養学的組成」は、従来の(合成又は天然の)食品添加物、例えば1つ又は複数の酸味料、添加増粘剤、pH調節のためのバッファ又は薬剤、キレート剤、着色剤、乳化剤、賦形剤、香料、ミネラル、浸透剤、薬学的に許容可能な担体、保存剤、安定剤、糖、甘味料、調質剤、及び/又はビタミンを含めたいずれの数の随意使用の添加成分も含むと理解される。随意使用の成分はいずれの適量で添加されることもあり得る。栄養学的な製品又は組成は完全栄養の供給源であってもよく、又は不完全栄養の供給源であることもあり得る。
[0096]本明細書で使用されるとき、「ミシン目」は繰り返し又は無作為のパターンのどちらかで構成される、材料内の一連の切れ目又は孔である。本開示のミシン目は、通常では、直線状のミシン目であるが、いずれの形状又はサイズのミシン目も本開示で使用され得ることを当業者は理解するであろう。ミシン目は普通、紙がミシン目の線に沿って容易に引き裂かれることを可能にするように、材料の2つの部分の容易な分離を可能にするために使用される。厚紙又はプラスチックフィルムにミシン目を備えたパッケージは、消費者により開けることがより容易であり、包装の中に含まれる製品の多様な提示を可能にする。ミシン目を使用する他の目的は、例えば流体の濾過、消音、光若しくは流体の通過を可能にすること、及び美観的デザインを作り出すことを含む。
[0097]本開示は一般的に包装に関連する。より詳細には、本開示は、消費可能な製品又は消費可能な製品(例えば栄養学的組成)を含む二次パッケージを収容するために使用されるトレーに関連する。本開示のトレーは、4つの壁と底部を有する開放された空洞部と、第1の実施形態では1つの開放されたトレーとして、第2の実施形態では2つの区画を備えた1つのトレーとしてトレーが構成されることを可能にするミシン目と刻み目のうちの一方と含む。トレーは、さらに別の実施形態で、トレーを2つの区画に分離することを可能にするためのミシン目又は刻み目に沿って引き裂かれることができる。2つの区画は同じ寸法(例えば互いに鏡像)を有してもよく、又は異なる寸法を有してもよい。言い換えると、トレーが2つの区画に分離されたときに、これらの部分が等しいサイズ又は等しくないサイズであってもよい。
[0098]本開示のトレーは、限定されないが、小売り製品を輸送、保管、及び陳列することを含めた多くの目的のために使用されることが可能である。輸送に関して、トレーはそれ自体で、又はより大きい箱に入れて、又は開放された空洞部の最上部の上に配置された蓋若しくは覆いを備えて輸送されてもよい。蓋若しくは覆いはトレーと同じ材料から形成されてもよく、トレーに接着されてもよく、又はトレーを包む収縮包装若しくはプラスチックカバーを単に含むこともあり得る。陳列に関して、本開示のトレーは、トレー内に含まれる製品を陳列するためのいくつかの異なる方式を小売り業者に提供することができる。上述したように、トレーは複数の製品を含む1つの開放されたトレーであってもよく、又は少なくとも2つの区画に分割されてもよく、又はミシン目及び/又は刻み目によって物理的に分離されてもよい。このように、小売り業者が陳列のためにトレーを小売り棚に設置することができるいくつかの構成がある。本開示のトレーは、例えば商品棚上、冷蔵庫内、冷凍庫内などの多様な異なる環境で陳列されることもやはり可能である。
[0099]トレーは、例えば、消費可能な製品又は二次容器を収容してもよい。一実施形態では、トレーは消費可能な製品を収容する。消費可能な製品は、固体、液体、半液体、又はこれらの組み合わせであってもよい。例えば、消費可能な製品は、例えば、ベビーフード、スナック食品、フルミール、サイドミール、菓子、医薬、チューインガム、ハッカなどを含む任意の消費可能な製品であってもよい。トレーは異なる色の同じ若しくは異なる消費可能な製品を保持してもよい。異なるように香り付けられ、コーティング又は調質された製品を中に保管することもできる。消費可能な製品は個々に包装されてもよく、又は多数で包装されてもよい。しかしながら、トレーが無菌状態のプラスチック材料から形成される場合、製品が包装される必要はない。一実施形態では、パッケージは、例えば、ベビーフード、フルーツ、野菜、穀類、シリアル、パスタなどを含む子供(例えば幼児、乳幼児、保育園児など)用の食品を収容する。消費可能な製品はフィンガーフードであってもよく、又は台所用品を使用して消費されるように作られてもよい。しかしながら、本開示の教示は、製品が本明細書に述べられるトレーの中に適合する限り、いずれの特定のタイプの消費可能な製品にも依存しない。
[00100]一実施形態では、パッケージは消費可能な製品を収容するように設計されることが可能な二次パッケージを収容する。二次パッケージは、限定されないが、缶、瓶、小袋、箱、カップ、ボール箱、壺、トレー、袋などを含んでもよい。二次パッケージに収容される消費可能な製品は、上記で検討されたものと同じ消費可能な製品であってもよく、例えば固体、液体、半液体、又はこれらの組み合わせを含む。例えば、二次容器は、例を挙げると、ベビーフード、フルーツ、野菜、穀類、シリアル、パスタなどを含む子供(例えば幼児、乳幼児、保育園児など)用の食品を中に入れてもよい。消費可能な製品はフィンガーフードであってもよく、又は台所用品を使用して消費されるように作られてもよい。しかしながら、本開示の教示は、製品が本明細書に述べられる二次容器の中に適合する限り、いずれの特定のタイプの消費可能な製品にも依存しない。本開示は消費可能な製品を収容するようなトレー及び二次容器を検討するが、製品がトレー及び/又はトレー内の二次容器の中に適合する限り、本開示のパッケージがいずれの製品(例えば食用に適さない製品)も収容できることを当業者は即座に理解するであろう。
[00101]本開示のトレーは当技術分野で知られている任意の形状又はサイズを有し得る。例えば、トレーは、実質的に、立方体、長方形、ピラミッド形、円筒形、円錐形及び球形、又はこれらの組み合わせであってもよい。トレーが、中に収容されるように意図される製品を収容することができる限り、及びトレーが消費者によってミシン目及び/又は刻み目に沿って別々に引き裂かれることができる限り、トレーも特定のサイズに限定されない。
[00102]パッケージは、ミシン目を入れられて引き裂かれることが可能ないずれの材料から製造されてもよい。例えば、パッケージは、プラスチック、厚紙、繊維板、板紙、ジュート、発泡スチロール、金属、又はこれらの組み合わせから製造されてもよい。一実施形態では、パッケージは段ボール紙から製造される。例えば、材料がプラスチックである一実施形態では、消費可能な製品は二次包装の必要性を伴わずにトレー内に収容されてもよい。
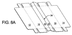
[00103]図1は、本開示のトレーを形成するために使用され得る切り抜きブランク10の一例を例示している。ブランク10は、第1と第2の外側部分12、14それぞれと、第1と第2の中間部分16、18それぞれと、第1と第2の内側部分20、22それぞれとを含む。図1に示されるように、内側部分20、22は相互に及び中間部分16、18と接しており、外側部分12、14は中間部分16、18と接している。ブランク10は第1と第2の端部24、26それぞれをやはり含み、これら各々が複数の端部パネル28を含む。本図は第1の端部24と第2の端部26の両方の複数の端部パネル28を例示しているが、ブランク10がいずれの数の端部パネル28を含んでもよいことを当業者は理解するであろう。例えば、第1の端部24は約1〜約10個の端部パネル28を含んでもよい。一実施形態では、第1の端部24は、外側、中間及び内側部分の各々に1つで6個の端部パネルを含む。
[00104]第1と第2の外側部分12、14、第1と第2の内側部分20、22、及び第1と第2の中間部分16、18は約5インチ〜約15インチ、又は約10インチの長さを有してもよい。第1と第2の外側部分12、14は、約1+13/16インチ〜約5+7/16インチ、又は約3+5/8インチの幅を有してもよい。第1と第2の内側部分20、22は、約3/4インチ〜約2+1/4インチ、又は約1.5インチの幅を有してもよい。第1と第2の中間部分16、18は、約1+23/32インチ〜約5+5/32インチ、又は約3+7/16インチの幅を有してもよい。
[00105]第1の内側部分20の端部パネル28は、第2の内側部分22の端部パネル28よりも約1/8インチ〜約1/2インチ、又は約1/4インチの長さ分短くてもよい。第1と第2の外側部分12、14の端部パネル28、及び第1と第2の中間部分16、18の端部パネル28は、約13/16インチ〜約2+7/16インチ、又は約3+1/4インチの長さを有する。第1と第2の外側部分12、14の端部パネル28は、第1と第2の中間部分16、18の端部パネル28と実質的に隣接してもよい。同様に、第1と第2の内側部分20、22の端部パネル28は、図1に示されるように、互いに隣接してもよい。
[00106]ブランク10は、約6+5/8インチ〜約19+7/8インチ、又は約13+1/4インチの合計長を有してもよい。ブランク10は、約8+9/16インチ〜約26+5/8インチ、又は約17+1/8インチの合計幅を有し得る。さらに、パッケージの寸法が所望通りに、又は製造仕様によって、又は中に収容される消費可能な製品若しくは二次容器のサイズと形状によって変わり得ることを当業者は理解するであろう。
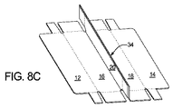
[00107]ブランク10の部分の各々は、意図される折り曲げ線、ミシン目、刻み目、又はこれらの組み合わせに沿って別の部分と接してもよい。例えば、第1の外側部分12は、ミシン目の折り曲げ線30に沿って第1の中間部分16と接してもよい。同様に、ブランク10の各々の端部パネル28は、意図された折り曲げ線、ミシン目、刻み目、又はそれらの組み合わせに沿ってそれぞれの外側、中間又は内側部分と接してもよい。例えば、第1の外側部分12の端部パネル28はミシン目の折り曲げ線32に沿って第1の外側部分12と接してもよい。2つの隣接する第1と第2の内側部分20、22の間に位置するミシン目又は刻み目34は、下記でさらに検討されるように本開示のトレーが輸送、保管、陳列などのために異なる構造を採ることを可能にする。
[00108]上記で簡単に述べたように、ブランク10は輸送、保管又は陳列のニーズに応じていくつかの異なる形態に折り曲げられることが可能である。例えば、図2に示されるように、ブランク10は、第1と第2の外側部分12、14、及び端部パネル28が実質的に垂直になり、その一方で中間部分16、18及び内側部分20、22が実質的に水平に留まるように、トレー40へと折り曲げられることができる。この実施形態では、中間部分16、18及び内側部分20、22は、トレー40の底壁を形成し、上記で検討したように消費可能な製品を収容することができる。図2で示されるように、第1と第2の外側部分12、14はトレー40の側壁を形成し、端部パネル28は第1の端部24で前壁、第2の端部26で後壁を形成する。図2で示されるように、第1と第2の外壁12、14の端部パネル28は、側壁12、14と、底壁16、18、20、22と、前壁及び後壁28とにより形成される空洞部の内側に折り曲げられる。このようにして、空洞部の内側に折り曲げられた第1と第2の外壁12、14の端部パネル28は、中間部分16、18の少なくとも端部パネル28に取り付けられてもよい。第1と第2の外壁12、14の端部パネル28は、例えばテープ、糊、化学接着剤、留め具、ホチキスの針などを含む任意の知られている接着具によって、中間部分16、18の端部パネル28に取り付けられてもよい。
[00109]図2に例示された実施形態では、端部パネル28は、図8Gで示されるように、トレー40の上に蓋又は覆い42を設置することによって垂直で真っ直ぐの姿勢に留まることが可能である。蓋42は、トレー40の開放された空洞部を閉じることができる当技術分野で知られる任意の蓋であってもよい。蓋42は、トレー40と同じ材料(例えば、プラスチック、厚紙、繊維板、板紙、ジュート、発泡スチロール、金属、又はこれらの組み合わせ)から製造されてもよく、又は異なる材料であってもよい。例えば、蓋42はトレー40に糊付け、溶着又は他の方法で封止されるポリマーのカバーであってもよい。このように、蓋42はプラスチック製包装材、セロハン又は収縮包装材であってもよい。蓋42はさらに、トレー40の上にパチンと嵌まる半硬質又は硬質のカバーであってもよい。付け加えると、蓋42はトレー40の上端に位置する覆い又はカバー蓋であってもよい。本開示の蓋42が図2のトレー40の実施形態に限定されないこと、及び本明細書に開示される任意のトレーの実施形態でも使用され得ることを当業者は理解するであろう。
[00110]図3は本開示のトレーの別の実施形態を例示している。図3に示されるように、トレー50は折り曲げられたブランク10の別の実施形態である。しかしながら、図2とは対照的に、図3のトレー50はミシン目/刻み目34に沿って、及び中間部分16、18と内側部分20、22が接する折り目又は線に沿って折り曲げられる。ミシン目/刻み目34に沿ってブランク10を折り曲げることにより、2つの分離された別個の区画52、54を含むトレー50が形成される。第1の区画52は第1の外側部分12と、第1の中間部分16と、第1の内側部分20と、これらのそれぞれの端部パネル28とによって形成される。第2の区画54は、第2の外側部分14と、第2の中間部分18と、第2の内側部分22と、これらのそれぞれの端部パネル28とによって形成される。
[00111]2つの分離された区画を有するように例示されているが、ブランク10がトレーへと折り曲げられると、任意の数の分離された別個の区画を形成できるように、ブランク10がミシン目の線34と同様の任意の数のミシン目/刻み目を含んでもよいことを当業者は理解するであろう。また、刻み目若しくはミシン目は、トレーの材料が折れ曲がること及び/又は裂けることを可能にするために適した任意のサイズ又は形状であってもよい。例えば、トレーの少なくとも2つの部分に分離するためにトレーが引き裂かれるように意図される一実施形態では、ミシン目34と同様のミシン目が、引き裂きを容易にするサイズで設けられてもよい。そのようなミシン目の一例は、1/8インチ×1/8インチの孔を含む。しかしながら、トレーの一部分が折り曲げられるが引き裂かれないように意図される別の実施形態では、ミシン目は、製品の保持とパッケージの保全を容易にするサイズで設けられてもよい。
[00112]さらに、個々の区画が本開示のトレー内に形成された後で、個々の区画が繋がったままであってもよく、又は分離されてもよいことを当業者は理解するであろう。例えば、トレー50内に形成された後で、分割された区画52、54は互いに連結されたままであってもよく、又は互いから分離されてもよい。区画52、54は、切断、引き裂き、開封帯、開封テープ、又は他の知られている分離用材料によってミシン目34に沿って互いから分離されてもよい。
[00113]上述のように、ブランク10がトレーへと折り曲げられると、任意の数の分離された別個の区画を形成できるように、ミシン目の線34と同様の任意の数のミシン目/刻み目が設けられてもよい。このようにして、トレー50は、任意の数の個別区画を含んでもよい。個別区画は、等しいサイズの区画であってもよく、又は異なるサイズの区画であってもよい。同じように、トレー50内に形成される各々、又は全ての区画は、2つ以上の下位の区画へと分割されてもよい。例えば、図3のトレー50は、第1の区画52と第2の区画54とを含む。第1と第2の区画52、54のうちの一方又は両方が2つ以上の下位の区画へと分割されてもよい。
[00114]分離された区画52、54及び下位の区画(図示せず)を設けることは、異なるタイプ及び異なる量の製品をトレー50内に収容することを可能にするであろう。例えば、より大きいサイズの消費可能な製品に関して、第1の区画52が1つ若しくは複数の製品を含んでもよく、その一方で第2の区画54が1つ若しくは複数の製品、又は1つ若しくは複数の異なる製品含んでさえもよい。図4は、消費可能な製品を収容する複数の二次パッケージ56をトレー50が含む一実施形態を例示している。
[00115]別の実施形態では、本開示のトレーは、個々の食事を給仕するために使用されることが可能である。例えば、図3のトレー50は、2人の子供達に給仕する2つの個別食、つまり、第1の区画52内の1つの個別食と第2の区画54内の1つの個別食とを含むように構成されてもよい。このように、トレー50は2人の子供達に食べ物を提供してもよく、各々の子供が独自の食品の個別区画を所有する。上述のように、個々の区画52、54は、3人以上の子供達に食事を提供するために下位の区画へと部分分割されてもよい。当業者は、第1の区画52と第2の区画54の分離に先行してトレー50が保管、冷凍、冷蔵、加熱されても、中の製品が消費されてもよいことをやはり理解するであろう。
[00116]例えば、第1の区画52は、図5に示されるように、2つの分離された別個の区画を提供するために、第2の区画54から切り離されることが可能である。第1と第2の区画52、54を切り離すことによって、第1の区画52の製品が消費され、その一方で区画54の製品が棚に保管、冷蔵、又は冷凍されることが可能になる。場合によっては、第1の区画52の製品が冷蔵され、その一方で第2の区画54の製品が加熱されることも可能である。保管、冷凍、冷蔵、加熱、又は消費の任意の組み合わせも第1と第2の区画52、54で利用可能であることを当業者は理解するであろう。
[00117]第1と第2の区画52、54を切り離す別の利点は、商品性の向上である。本開示の一実施形態では、図6に示されるように、第1と第2の区画52、54は二次容器56を含み、例えばこれらが食用に適した食料製品を含んでもよい。図6に示されるように、二次容器56の前面の大部分が、第1と第2の区画52、54の正面から視認可能となる。例えば二次容器56の視認を可能にする第1と第2の区画52、54を設けることは、商品性の向上という利点を提供する。これに関して、小売り業者はトレー50から蓋42を取り外し、第1の区画52を第2の区画54から切り離し、販売用に二次パッケージ56を陳列するために区画52、54を小売り棚に設置することが可能である。このようにして、本開示のトレーは製品の商品性を向上させるための迅速で簡単な方式を提供する。
[00118]製品の商品性をさらに向上させるために、第1と第2の区画52、54は上下に積み重ねられてもよく、それにより、図7に示されるようにさらに多くの量の製品を小売り棚に積み重ねることを可能にする。このようにして、本開示によるパッケージは、保管スペースの削減、保管の容易性、及び商品性の向上という利益もやはり提供する。
[00119]本パッケージの市場性は、本開示のトレーの外部面及び/又は内部面に設けられる標示、又はトレーに含まれる二次パッケージの外部面に設けられる標示の存在によってさらに向上させられることができる。標示は、例えば、商標、広告、銘柄情報、栄養情報、製品情報、製造元情報など、又はこれらの組み合わせを含んでもよい。例えば、トレーは外面又は内面のいずれかに銘柄情報を含んでもよい。標示がいくつかの方法で設けられてもよい。例えば、一実施形態では、標示が粘着テープ(例えばステッカー)上に印刷されること、トレーに直接印刷されること、トレーに型で成形されることなどが見込まれる。異なる一実施形態では、トレーは、標示を印刷された収縮包装材料のような材料の層により取り巻かれてもよい。銘柄付きのパッケージ又は二次パッケージのタイプ又は方法が、本明細書に開示される実例により限定されないこと、及び標示又はこれを施す方法が当技術分野で知られている適用の任意のタイプ又は方法も含み得ることを当業者は理解するであろう。
[00120]一実施形態では、本開示のトレーを作製するための方法が提供される。例えば、図8Aに示されるように、ブランク10にはミシン目34が設けられ、これが「切断され」又は「折り目を付けられ」、それによって折り曲げ工程が始まる。ブランク10がミシン目34に沿って折り曲げられると、ブランク10は、図8Bに示されるように、中間部分16、18と内側部分20、22それぞれの接触領域でもやはり折れ曲がる。ブランク10は内側部分20、22がトレーの実質的に垂直な内部壁を形成するまでミシン目34に沿って折れ曲がり続ける。内壁は、図8Cに示されるように、実質的に垂直で、互いに隣接し、実質的に重なる内側部分20、22を含む。工程のこの段階で、ブランク10の残りはまだ実質的に水平である。トレーが二次パッケージを収容するように意図される場合、二次パッケージは、図8Dに示されるように、この時点でトレーの上に搭載されてもよい。しかしながら、当業者は、トレーの中身がこの時点でトレーの上に搭載される必要がないこと、トレーの形成が完了した後、又はトレーの作製中の任意の適切な時にトレーの中に搭載されてもよいことを理解するであろう。
[00121]内壁の形成の後に、第1の外側部分12と第1の中間部分16との中間の折り曲げ線及び第2の外側部分14と第2の中間部分18との中間の折り曲げ線に沿って第1と第2の外側部分12、14を折り曲げることによって、トレーの側壁が形成される。トレーの形成のこの段階では、図8Eに示されるように、端部パネル28はまだ折り曲げられていない。
[00122]トレーの前壁と後壁を形成するために、端部パネル28が折り曲げられて互いに固定される。トレーの前壁と後壁の両方を形成するために同じ工程が使用されてもよいが、この工程は前壁の観点から説明され、これは図8E及び8Fに見られる。前壁を形成するために、第1の外側部分12の端部パネル28及び第1の内側部分20の端部パネル28が互いに向けて折り曲げられる。同様に、第2の外側部分14の端部パネル28及び第2の内側部分22の端部パネル28が互いに向けて折り曲げられる。次いで、第1の中間部分16の端部パネル28が上方向に折り曲げられ、第1の外側部分12の端部パネル28及び第1の内側部分20の端部パネル28に取り付けられる。同様に、第2の中間部分18の端部パネル28が上方向に折り曲げられ、第2の外側部分14の端部パネル28及び第1の内側部分22の端部パネル28に取り付けられる。当技術分野で知られている、例えば糊、テープ、化学接着剤、ホチキスの針、エポキシなどを含む任意の取り付け手段で、任意の端部パネル28が任意の他の端部パネル28に取り付けられることもあり得る。一実施形態では、第1の外側部分12の端部パネル28及び第1の内側部分20の端部パネル28が第1の中間部分16の端部パネル28に取り付けられる。
[00123]図8Gに示されるように、トレー50が完全に形成された後で、中に収容された製品が落ちることを防止するため、及び輸送中、保管中などに製品を保護するために、蓋又は覆い42がトレー50の開放された空洞部の上端に設置されてもよい。上記で検討したように、蓋又は覆い42はトレーと同じ材料から形成されてもよく、トレーに接着されてもよく、又はトレーを包む収縮包装材若しくは、プラスチックのカバーを単に含んでもよい。このようにして、蓋42はプラスチック、厚紙、繊維板、板紙、ジュート、発泡スチロール、金属、又はこれらの組み合わせから製造されてもよい。一実施形態では、蓋42は段ボール紙から製造される。
[00124]代案の一実施形態で、製品はブランク10が図2に示されるように構成されているときにブランク10に搭載されてもよい。この実施形態では、内側部分20、22はトレー40内の内壁を形成しない。むしろ、底壁が中間部分16、18と内側部分20、22とから形成され、製品がこの底壁の上に搭載されてもよい。外側部分12、14及び端部パネル28が上方向に折り曲げられるとき、中に収容された製品が落ちることを防止するため、及び輸送中、保管中などに製品を保護するために、この上に蓋42が設置されてもよい。この実施形態における蓋は、蓋42と同じであってもよいが、実質的に垂直な内側部分20、22に代わる実質的に水平な内側部分20、22を覆うために僅かに長くなってもよい。
[00125]図2の実施形態では、消費者又は小売り業者は、トレー40から蓋42を取り外し、ミシン目34に沿ってトレー40を切り離し、第1の内側部分20の端部パネル28を第1の外側部分12に向けて折り曲げ、第2の内側部分22の端部パネル28を第2の外側部分14に向けて折り曲げ、これらを他方の端部パネルに取り付けてもよい。このようにして、消費者又は小売り業者は1つの空洞部が(図2のような)開放されたトレーを設けること、又は内壁と切り離し可能な(図3のような)空洞部とを有するトレーを設けることのどちらが最良であるかを決定することが許される。
[00126]本開示のトレーの中に含まれる製品を陳列するための方法も提供される。第1の実施形態では、1つの一体型トレーが陳列のために供給される。本方法は、消費可能な製品を収容するトレーを用意するステップを含み、このトレーは、第1と第2の対向する側壁と、複数のパネルを有する前壁と、複数のパネルを有する後壁と、トレーを2つの区画に分離するように構成されるミシン目と刻み目のうちの一方を有する底壁とを備える。本方法はトレーを小売り棚に設置するステップをさらに含む。
[00127]別の実施形態では、消費可能な製品を陳列するための方法が提供される。本方法は、消費可能な製品を収容するトレーを用意するステップを含み、このトレーは外部側壁、内部側壁、前壁、後壁、及び底壁を有する第1の区画と、外部側壁、内部側壁、前壁、後壁、及び底壁を有する第2の区画とを有する。第1の区画の内部壁及び第2の区画の内部壁はミシン目及び刻み目のうちの一方によって接合される。本方法は、トレーを小売り棚に設置するステップをさらに含む。
[00128]さらに別の実施形態では、消費可能な製品を陳列するための方法が提供される。本方法は、消費可能な製品を収容するトレーを用意するステップを含み、このトレーは、第1と第2の対向する側壁と、前壁と、後壁と、底壁とによって画定される空洞部を有する。底壁の一部分は、トレーの少なくとも2つの区画を形成するために空洞部の中へ折り曲げられる。本方法は、トレーを小売り棚に設置するステップをさらに含む。
[00129]別の実施形態では、消費可能な製品を陳列するための方法が提供される。本方法は、消費可能な製品を収容するトレーを用意するステップを含み、このトレーは、第1と第2の対向する側壁と、前壁と、後壁と、底壁と、トレーを少なくとも2つの分離した区画に分割する内部壁とを含む。内部壁は、ミシン目と刻み目のうちの一方によって接合された第1と第2の隣接するパネルを含む。本方法はトレーを小売り棚に設置するステップをさらに含む。
[00130]第2の実施形態では、トレーの第1と第2の区画は、互いから切り離されて陳列のために提供される。例えば、本方法は、消費可能な製品を収容するトレーを用意するステップを含み、このトレーは、第1と第2の対向する側壁と、複数のパネルを有する前壁と、複数のパネルを有する後壁と、トレーを2つの区画に分離するように構成されるミシン目と刻み目のうちの一方を含む底壁とを備える。本方法は、トレーを2つの区画に分離するためのミシン目と刻み目のうちの一方に沿ってトレーを引き裂くステップと、2つの区画のうちの少なくとも一方を小売り棚に設置するステップとをさらに含む。
[00131]別の実施形態では、消費可能な製品を陳列するための方法が提供される。本方法は、消費可能な製品を収容するトレーを用意するステップを含み、このトレーは、外部側壁、内部側壁、前壁、後壁、及び底壁を有する第1の区画と、外部側壁、内部側壁、前壁、後壁、及び底壁を有する第2の区画とを有する。第1の区画の内部壁と第2の区画の内部壁は、ミシン目と刻み目のうちの一方によって接合される。本方法は、トレーを第1と第2の区画に分離するためにミシン目と刻み目のうちの一方に沿って引き裂くステップと、第1と第2の区画のうちの少なくとも一方を小売り棚に設置するステップとをさらに含む。
[00132]別の実施形態では、消費可能な製品を陳列するための方法が提供される。本方法は、消費可能な製品を収容するトレーを用意するステップを含み、このトレーは、第1と第2の対向する側壁と、前壁と、後壁と、底壁とによって画定される空洞部を有する。底壁の一部分はトレーの少なくとも2つの区画を形成するために空洞部の中へ折り曲げられる。本方法は、トレーの少なくとも2つの区画を分離するステップと、少なくとも2つの区画のうちの一方を小売り棚に設置するステップとをさらに含む。
[00133]別の実施形態では、消費可能な製品を陳列するための方法が提供される。本方法は、消費可能な製品を収容するトレーを用意するステップを含み、このトレーは、第1と第2の対向する側壁と、前壁と、後壁と、底壁と、トレーを少なくとも2つの分離した区画に分割する内部壁とを有する。内部壁は、ミシン目と刻み目のうちの一方によって接合された第1と第2の隣接するパネルを含む。本方法はトレーを少なくとも2つの分離した区画に分離するためにミシン目と刻み目のうちの一方に沿ってトレーを引き裂くステップと、少なくとも2つの区画のうちの少なくとも一方を小売り棚に設置するステップとをさらに含む。
[00134]製品を陳列するための上述の方法が、製品を保管、製品を冷蔵、製品を冷凍、製品を加熱するなどのための方法にも適用され得ることを当業者は理解するであろう。食事を(例えば子供達に)給仕するための方法も本開示によってサポートされる。
[00135]本明細書に述べられた現在の好ましい実施形態に対する様々な変更及び改造は当業者に明らかであると考えられる。そのような変更及び改造は、本主題事項の精神と範囲から逸脱することなく、且つ意図された利点を減らさずに為され得る。したがって、そのような変更及び改造は添付の特許請求の範囲によって網羅されることが意図されている。

Claims (6)

  1. トレーであって、
    第1と第2の外側部分である第1と第2の対向する側壁と、前壁と、後壁と、底壁とによって画定される空洞部を備え、
    前記底壁がミシン目と刻み目のうちの一方によって接合された第1と第2の内側部分と、前記第1の外側部分と前記第1の内側部分との間に位置する第1の中間部分、及び前記第2の外側部分と前記第2の内側部分との間に位置する第2の中間部分とを備え、
    前記第1の外側部分と前記第1の中間部分とが刻み目とミシン目のうちの一方によって接合され、前記第2の外側部分と前記第2の中間部分とが刻み目とミシン目のうちの一方によって接合され、
    前記第1の中間部分と前記第1の内側部分とが刻み目とミシン目のうちの一方によって接合され、前記第2の中間部分と前記第2の内側部分とが刻み目とミシン目のうちの一方によって接合され、前記第1と第2の外側部分、前記第1と第2の内側部分及び前記第1と第2の中間部分が各々第1と第2の端部分を含み、前記第1と第2の端部分が各々端部パネルを含み、前記前壁と前記後壁が前記第1と第2の端部分の前記端部パネルによって形成され、
    前記底壁が平坦になっているとき、前記第1と第2の内側部分の端部パネルは前記第1と第2の中間部分の前記端部パネルに接続されておらず、
    前記第1と第2の内側部分を互いに区切る前記刻み目と前記ミシン目、前記第1の中間部分と前記第1の内側部分とをそれぞれ区切る前記刻み目と前記ミシン目、及び、前記第2の中間部分と前記第2の内側部分とをそれぞれ区切る前記刻み目と前記ミシン目が、それぞれ前記トレーが第1と第2の構成を有することを可能にするように構成され、
    前記第1の構成において前記底壁が平坦になっており、
    前記第2の構成において前記第1と第2の内側部分が前記空洞部内で分離壁を形成することによって、少なくとも2つの区画を形成し、
    前記前壁が、前記第1と第2の対向する側壁の少なくとも一方から延びる端部パネルをさらに備え、前記端部パネルが、前記底壁から延びる端部パネルに取り付けられ、
    前記分離壁が、前記トレーを2つの個別の区画に分離するように、前記内側部分を分離する前記刻み目と前記ミシン目のうちの前記一方に沿って引き裂き可能であるように構成される、トレー。
  2. 前記前壁が、前記第1と第2の構成の両方において少なくとも2つの端部パネルを備え、前記端部パネルが前記底壁から延びる、請求項1に記載のトレー。
  3. 一片の材料から形成される、請求項1に記載のトレー。
  4. 材料が、プラスチック、厚紙、繊維板、板紙、ジュート、発泡スチロール、金属、及びこれらの組み合わせからなる群から選択される、請求項1に記載のトレー。
  5. 材料が段ボール紙である、請求項1に記載のトレー。
  6. 前記少なくとも2つの区画が、ミシン目と刻み目のうちの前記一方に沿って互いに鏡像をなす、請求項1に記載のトレー。
JP2013554486A 2011-02-18 2012-02-10 分割可能なトレー Expired - Fee Related JP6071908B2 (ja)

Applications Claiming Priority (5)

Application Number Priority Date Filing Date Title
US201161444420P 2011-02-18 2011-02-18
US61/444,420 2011-02-18
US201161479014P 2011-04-26 2011-04-26
US61/479,014 2011-04-26
PCT/US2012/024628 WO2012112387A1 (en) 2011-02-18 2012-02-10 Dividable tray

Publications (2)

Publication Number Publication Date
JP2014509288A JP2014509288A (ja) 2014-04-17
JP6071908B2 true JP6071908B2 (ja) 2017-02-01

Family

ID=45768308

Family Applications (1)

Application Number Title Priority Date Filing Date
JP2013554486A Expired - Fee Related JP6071908B2 (ja) 2011-02-18 2012-02-10 分割可能なトレー

Country Status (18)

Country Link
US (1) US9227751B2 (ja)
EP (1) EP2675716B1 (ja)
JP (1) JP6071908B2 (ja)
CN (1) CN103380060B (ja)
AU (1) AU2012218046B2 (ja)
BR (1) BR112013020730A2 (ja)
CA (1) CA2826011C (ja)
CL (1) CL2013002319A1 (ja)
ES (1) ES2581757T3 (ja)
MX (1) MX342340B (ja)
MY (1) MY161278A (ja)
PH (1) PH12013501595A1 (ja)
PL (1) PL2675716T3 (ja)
PT (1) PT2675716T (ja)
RU (1) RU2013142434A (ja)
SG (1) SG192162A1 (ja)
WO (1) WO2012112387A1 (ja)
ZA (1) ZA201306989B (ja)

Families Citing this family (13)

* Cited by examiner, † Cited by third party
Publication number Priority date Publication date Assignee Title
GB201205243D0 (en) 2012-03-26 2012-05-09 Kraft Foods R & D Inc Packaging and method of opening
GB2511560B (en) 2013-03-07 2018-11-14 Mondelez Uk R&D Ltd Improved Packaging and Method of Forming Packaging
GB2511559B (en) 2013-03-07 2018-11-14 Mondelez Uk R&D Ltd Improved Packaging and Method of Forming Packaging
US9796499B2 (en) * 2013-04-30 2017-10-24 Tidi Products, Llc Eye shield and frames dispenser
GB2521870A (en) * 2014-01-07 2015-07-08 Kraft Foods R & D Inc Sub-dividable container
US9938038B2 (en) * 2014-02-05 2018-04-10 Menasha Corporation Shipping and display containers and methods of making same
NL2013928B1 (en) * 2014-12-05 2016-10-11 Smurfit Kappa Mnl Golfkarton B V A one-piece shipping tray convertible to a display configuration.
US10781011B2 (en) 2017-06-23 2020-09-22 Menasha Corporation Tear-away package and shipping tray converted therefrom
IT201800002643A1 (it) * 2018-02-13 2019-08-13 Assograph Italia Struttura divisoria e di rivestimento alloggiabile in una scatola per scarpe, scatola per scarpe includente detta struttura ed elemento pieghevole per l’ottenimento di detta struttura
IT201800002603A1 (it) * 2018-02-13 2019-08-13 Noe Carlalberto Vassoio da trasporto in cartone ondulato Mid Wall
WO2023196457A1 (en) * 2022-04-07 2023-10-12 Graphic Packaging International, Llc Tray with separable features
USD1094092S1 (en) 2023-04-05 2025-09-23 Graphic Packaging International, Llc Tray for articles
US20250368385A1 (en) * 2024-05-31 2025-12-04 Graphic Packaging International, Llc Tray With Divider Features

Family Cites Families (18)

* Cited by examiner, † Cited by third party
Publication number Priority date Publication date Assignee Title
US2706075A (en) * 1949-08-19 1955-04-12 Sutherland Paper Co Collapsible cartons
US2718997A (en) * 1952-06-27 1955-09-27 Container Corp Bottle carrier with handle
JPS5996121U (ja) * 1982-12-21 1984-06-29 平賀 貞明 連結包装箱
JPS60134726U (ja) * 1984-02-17 1985-09-07 千代田紙工業株式会社 容器
JPS60228203A (ja) * 1984-04-16 1985-11-13 エービー テトラパック トレ−シ−トによる集団包装方法及びその装置
GB2209152A (en) 1987-09-01 1989-05-04 Christopher Charles Waters Divisible container
US5979747A (en) * 1994-12-07 1999-11-09 Lever Brothers Company Carrier for packages
ATE172681T1 (de) * 1995-02-10 1998-11-15 Bernhard Saam Zuschnitte für einen ausstell- und transportbehälter
DE29503684U1 (de) * 1995-03-04 1995-04-27 Moreno, Dámaso, 41836 Hückelhoven Transport- und Verkaufsverpackung
US5855315A (en) * 1997-04-16 1999-01-05 Mastercraft Packaging Corporation Reclosable food container
JP3058221U (ja) * 1998-10-03 1999-06-18 児島段ボール株式会社 包装箱
US6676012B1 (en) 1999-10-22 2004-01-13 Packaging Corporation Of America Displayable modular container for produce
JP4573955B2 (ja) * 2000-06-28 2010-11-04 大日本印刷株式会社 分離可能な複数の収容部を備えたカートン
US6789726B2 (en) * 2001-08-30 2004-09-14 Weyerhaeuser Company Multi-purpose packing, shipping and display container
CN2815898Y (zh) * 2005-05-25 2006-09-13 永丰余造纸股份有限公司 配件包装盒
JP5363203B2 (ja) * 2009-06-11 2013-12-11 菱江産業株式会社 包装用プラスチックケース
CN201703622U (zh) * 2010-04-22 2011-01-12 上海紫丹食品包装印刷有限公司 一种隔档纸盒
MX2012011769A (es) * 2010-04-26 2013-02-21 Georgia Pacific Corrugated Llc Embalaje listo para la venta al publico.

Also Published As

Publication number Publication date
PT2675716T (pt) 2016-07-14
ES2581757T3 (es) 2016-09-07
US20140054360A1 (en) 2014-02-27
RU2013142434A (ru) 2015-04-10
PL2675716T3 (pl) 2016-12-30
AU2012218046B2 (en) 2016-02-11
WO2012112387A1 (en) 2012-08-23
JP2014509288A (ja) 2014-04-17
US9227751B2 (en) 2016-01-05
MX2013009088A (es) 2013-09-13
AU2012218046A1 (en) 2013-08-15
CA2826011C (en) 2016-08-30
EP2675716B1 (en) 2016-04-27
CL2013002319A1 (es) 2014-04-04
MX342340B (es) 2016-09-26
EP2675716A1 (en) 2013-12-25
BR112013020730A2 (pt) 2016-10-18
PH12013501595A1 (en) 2013-09-30
SG192162A1 (en) 2013-08-30
CA2826011A1 (en) 2012-08-23
MY161278A (en) 2017-04-14
CN103380060A (zh) 2013-10-30
ZA201306989B (en) 2015-04-29
CN103380060B (zh) 2017-02-08

Similar Documents

Publication Publication Date Title
JP6071908B2 (ja) 分割可能なトレー
US8607986B2 (en) Wraparound packaging sleeve with stand-up feature
US5921398A (en) Storage and display carton
US7413101B2 (en) Dispensing package
US6386369B2 (en) Shipper and display carton
US6729475B2 (en) Shipper and display carton
JP4607894B2 (ja) 複合化した出荷カートン及びツインディスペンサーボックス
US7988034B2 (en) Dual dispensing container
JP2008541885A (ja) 吊り下げ及び陳列用バスケット
US20090039079A1 (en) Multiple-tray, multiple-compartment food package
US6892513B1 (en) Method of forming and filling an end load carton with a food delivery system
US20110315585A1 (en) Packaging System For Shipping, Storing, Displaying, And/Or Dispensing Absorbent Articles
RU2596470C2 (ru) Упаковка для хранения и выдачи потребляемых изделий и способ изменения ее конфигурации
JP2025527713A (ja) 仕切り構造を有するトレイ
JPH033501Y2 (ja)
Sand Packaging for sweet treats
JPH0411985Y2 (ja)
US20050127152A1 (en) Lid for packing box with display feature
CN107848695A (zh) 用于糖果产品的包装和用于形成该包装的方法
JPH033500Y2 (ja)
JP2004059021A (ja) 展示トレー
CA2131765A1 (en) Consumer pack
GB2526058A (en) Box

Legal Events

Date Code Title Description
A977 Report on retrieval

Free format text: JAPANESE INTERMEDIATE CODE: A971007

Effective date: 20140807

A131 Notification of reasons for refusal

Free format text: JAPANESE INTERMEDIATE CODE: A131

Effective date: 20140902

A521 Request for written amendment filed

Free format text: JAPANESE INTERMEDIATE CODE: A523

Effective date: 20141201

A02 Decision of refusal

Free format text: JAPANESE INTERMEDIATE CODE: A02

Effective date: 20150310

A521 Request for written amendment filed

Free format text: JAPANESE INTERMEDIATE CODE: A523

Effective date: 20160906

A61 First payment of annual fees (during grant procedure)

Free format text: JAPANESE INTERMEDIATE CODE: A61

Effective date: 20161227

R150 Certificate of patent or registration of utility model

Ref document number: 6071908

Country of ref document: JP

Free format text: JAPANESE INTERMEDIATE CODE: R150

S111 Request for change of ownership or part of ownership

Free format text: JAPANESE INTERMEDIATE CODE: R313111

R350 Written notification of registration of transfer

Free format text: JAPANESE INTERMEDIATE CODE: R350

R250 Receipt of annual fees

Free format text: JAPANESE INTERMEDIATE CODE: R250

R250 Receipt of annual fees

Free format text: JAPANESE INTERMEDIATE CODE: R250

LAPS Cancellation because of no payment of annual fees