JP6024924B2 - 遊技台 - Google Patents

遊技台 Download PDF

Info

Publication number
JP6024924B2
JP6024924B2 JP2013272809A JP2013272809A JP6024924B2 JP 6024924 B2 JP6024924 B2 JP 6024924B2 JP 2013272809 A JP2013272809 A JP 2013272809A JP 2013272809 A JP2013272809 A JP 2013272809A JP 6024924 B2 JP6024924 B2 JP 6024924B2
Authority
JP
Japan
Prior art keywords
special
effect
color led
state
light emission
Prior art date
Legal status (The legal status is an assumption and is not a legal conclusion. Google has not performed a legal analysis and makes no representation as to the accuracy of the status listed.)
Active
Application number
JP2013272809A
Other languages
English (en)
Other versions
JP2015126769A (ja
Inventor
郷 伊東
郷 伊東
Current Assignee (The listed assignees may be inaccurate. Google has not performed a legal analysis and makes no representation or warranty as to the accuracy of the list.)
Daito Giken KK
Original Assignee
Daito Giken KK
Priority date (The priority date is an assumption and is not a legal conclusion. Google has not performed a legal analysis and makes no representation as to the accuracy of the date listed.)
Filing date
Publication date
Application filed by Daito Giken KK filed Critical Daito Giken KK
Priority to JP2013272809A priority Critical patent/JP6024924B2/ja
Publication of JP2015126769A publication Critical patent/JP2015126769A/ja
Application granted granted Critical
Publication of JP6024924B2 publication Critical patent/JP6024924B2/ja
Active legal-status Critical Current
Anticipated expiration legal-status Critical

Links

Images

Landscapes

  • Pinball Game Machines (AREA)

Description

本発明は、回胴遊技機(スロットマシン)や弾球遊技機(パチンコ機)に代表される遊技台に関する。
従来、基板を備える遊技台が知られている(例えば、特許文献1参照)。
特開2008−200302号公報
しかしながら、従来の遊技台は、基板について改良の余地がある。
本発明の目的は、基板に特徴を持った遊技台を提供することにある。
上記目的は、
複数の発光手段と、
前記複数の発光手段を駆動可能な複数の発光駆動手段と、
を備えた遊技台であって、
前記発光手段とは、複数色の発光素子を含んで構成された手段のことであり、
前記複数の発光手段のうちの一つは、第一の発光手段であり、
前記複数の発光手段のうちの一つは、第二の発光手段であり、
前記複数の発光駆動手段のうちの一つは、第一の発光駆動手段であり、
前記複数の発光駆動手段のうちの一つは、第二の発光駆動手段であり、
前記第一の発光手段は、第一の発光素子を含んで構成された手段であり、
前記第一の発光手段は、第二の発光素子を含んで構成された手段であり、
前記第一の発光手段は、第三の発光素子を含んで構成された手段であり、
前記第一の発光素子は、前記第一の発光駆動手段によって駆動される素子であり、
前記第二の発光素子は、前記第二の発光駆動手段によって駆動される素子であり、
前記第二の発光手段は、前記第二の発光駆動手段によって駆動される手段であり、
前記第一の発光手段は、第一の発光態様で発光可能な手段であり、
前記第二の発光手段は、前記第一の発光態様で発光可能な手段であり、
前記第一の発光手段による前記第一の発光態様の発光期間と前記第二の発光手段による該第一の発光態様の発光期間が重なる場合がある、
ことを特徴とする遊技台
によって達成される。
本発明によれば、基板に特徴を持った遊技台を実現できる。
本発明の第1の実施の形態によるパチンコ機100を正面側(遊技者側)から見た外観斜視図である。 本発明の第1の実施の形態によるパチンコ機100を背面側から見た外観図である。 本発明の第1の実施の形態によるパチンコ機100の遊技盤200を正面から見た略示正面図である。 本発明の第1の実施の形態によるパチンコ機100の制御部の回路ブロック図である。 本発明の第1の実施の形態によるパチンコ機100での表示図柄の一例であって、(a)は特図の停止表示図柄の一例を示し、(b)は装飾図柄の一例を示し、(c)は普図の停止表示図柄の一例を示し、(d)は普図の装飾図柄の一例を示す図である。 本発明の第1の実施の形態によるパチンコ機100の主制御部メイン処理の流れを示すフローチャートである。 本発明の第1の実施の形態によるパチンコ機100の主制御部タイマ割込処理の流れを示すフローチャートである。 本発明の第1の実施の形態によるパチンコ機100の第1副制御部での処理の流れを示すフローチャートであり、(a)は第1副制御部メイン処理の流れを示し、(b)は第1副制御部コマンド受信割込処理の流れを示し、(c)は第1副制御部タイマ割込処理の流れを示している。 本発明の第1の実施の形態によるパチンコ機100の実施例1を示す図である。 本発明の第1の実施の形態によるパチンコ機100の実施例1を示す図である。 本発明の第1の実施の形態によるパチンコ機100の実施例2を示す図である。 本発明の第1の実施の形態によるパチンコ機100の実施例3を示す図である。 本発明の第1の実施の形態によるパチンコ機100の実施例3を示す図である。 本発明の第1の実施の形態によるパチンコ機100の実施例3の変形例1を示す図である。 本発明の第1の実施の形態によるパチンコ機100の実施例3の変形例2を示す図である。 本発明の第1の実施の形態によるパチンコ機100の実施例3の変形例3を示す図である。 本発明の第1の実施の形態によるパチンコ機100の実施例1の変形例を示す図である。 本発明の第2の実施の形態によるパチンコ機100の実施例1を示す図である。 本発明の第2の実施の形態によるパチンコ機100の実施例1を示す図である。 本発明の第2の実施の形態によるパチンコ機100の実施例2を示す図である。 本発明の第2の実施の形態によるパチンコ機100の実施例2を示す図である。 本発明の第2の実施の形態によるパチンコ機100の実施例3を示す図である。 本発明の第2の実施の形態によるパチンコ機100の実施例3を示す図である。 本発明の第2の実施の形態によるパチンコ機100の実施例3を示す図である。 本発明の第2の実施の形態によるパチンコ機100の実施例4を示す図である。 本発明の第2の実施の形態によるパチンコ機100の実施例5を示す図である。 本発明の第2の実施の形態によるパチンコ機100の実施例5を示す図である。 本発明の第3の実施の形態によるパチンコ機100の実施例1を示す図である。 本発明の第3の実施の形態によるパチンコ機100の実施例2を示す図である。 本発明の第3の実施の形態によるパチンコ機100の実施例3を示す図である。 本発明の第3の実施の形態によるパチンコ機100の実施例4を示す図である。 本発明の第3の実施の形態によるパチンコ機100の第1副制御部でメイン処理の流れを示すフローチャートを示す図である。 本発明の第3の実施の形態によるパチンコ機100の電源制御について説明する図である。 本発明の第3の実施の形態によるパチンコ機100で用いるフルカラーLEDの構成を示す図である。 本発明の第3の実施の形態によるパチンコ機100での演出例(その1)を示す図である。 本発明の第3の実施の形態によるパチンコ機100での演出例(その2)を示す図である。 本発明の第3の実施の形態によるパチンコ機100での演出例(その3)を示す図である。 本発明の第3の実施の形態によるパチンコ機100での演出例(その4)を示す図である。 本発明の第3の実施の形態によるパチンコ機100の実施例5を示す図である。 本発明の第3の実施の形態によるパチンコ機100の実施例6を示す図である。 本発明の第3の実施の形態によるパチンコ機100の実施例7を示す図である。 本発明の第3の実施の形態によるパチンコ機100の実施例8を示す図である。 本発明の第3の実施の形態によるパチンコ機100の実施例9を示す図である。 本発明の第3の実施の形態によるパチンコ機100の実施例10を示す図である。 本発明の第3の実施の形態によるパチンコ機100の実施例11を示す図である。 本発明の第3の実施の形態によるパチンコ機100の実施例12を示す図である。 本発明の第3の実施の形態によるパチンコ機100の実施例13を示す図である。 本発明の第3の実施の形態によるパチンコ機100の実施例14を示す図である。 本発明の一実施の形態の変形例による遊技台としてのスロットマシンを正面から見た略示正面図である。
[第1の実施の形態]
以下、図面を用いて、本発明の第1の実施の形態に係る遊技台(例えば、パチンコ機100等の弾球遊技機やスロット機等の回胴遊技機)について詳細に説明する。まず、図1を用いて、本実施の形態に係るパチンコ機100の全体構成について説明する。なお、同図はパチンコ機100を正面側(遊技者側)から見た外観斜視図である。パチンコ機100は、外部的構造として、外枠102と、本体104と、前面枠扉106と、球貯留皿付扉108と、発射装置110と、遊技盤200と、をその前面に備える。
外枠102は、遊技機設置営業店に設けられた設置場所(島設備等)へと固定させるための縦長方形状からなる木製の枠部材である。本体104は、内枠と呼ばれ、外枠102の内部に備えられ、ヒンジ部112を介して外枠102に回動自在に装着された縦長方形状の遊技機基軸体となる部材である。また、本体104は、枠状に形成され、内側に空間部114を有している。また、本体104が開放された場合、本体104の開放を検出する不図示の内枠開放センサを備える。
前面枠扉106は、ロック機能付きで且つ開閉自在となるようにパチンコ機100の前面側となる本体104の前面に対しヒンジ部112を介して装着され、枠状に構成されることでその内側を開口部116とした扉部材である。なお、前面枠扉106には、開口部116にガラス製又は樹脂製の透明板部材118が設けられ、前面側には、スピーカ120や枠ランプ122が取り付けられている。前面枠扉106の後面と遊技盤200の前面とで遊技領域124を区画形成する。また、前面枠扉106が開放された場合、前面枠扉106の開放を検出する不図示の前面枠扉開放センサを備える。
球貯留皿付扉108は、パチンコ機100の前面において本体104の下側に対して、ロック機能付きで且つ開閉自在となるように装着された扉部材である。球貯留皿付扉108は、複数の遊技球(以下、単に「球」と称する場合がある)が貯留可能で且つ発射装置110へと遊技球を案内させる通路が設けられている上皿126と、上皿126に貯留しきれない遊技球を貯留する下皿128と、遊技者の操作によって上皿126に貯留された遊技球を下皿128へと排出させる球抜ボタン130と、遊技者の操作によって下皿128に貯留された遊技球を遊技球収集容器(俗称、ドル箱)へと排出させる球排出レバー132と、遊技者の操作によって発射装置110へと案内された遊技球を遊技盤200の遊技領域124へと打ち出す球発射ハンドル134と、遊技者の操作によって各種演出装置206の演出態様に変化を与えるチャンスボタン136と、チャンスボタン136を発光させるチャンスボタンランプ138と、遊技店に設置されたカードユニット(CRユニット)に対して球貸し指示を行う球貸操作ボタン140と、カードユニットに対して遊技者の残高の返却指示を行う返却操作ボタン142と、遊技者の残高やカードユニットの状態を表示する球貸表示部144と、を備える。また、下皿128が満タンであることを検出する不図示の下皿満タンセンサを備える。
発射装置110は、本体104の下方に取り付けられ、球発射ハンドル134が遊技者に操作されることによって回動する発射杆146と、遊技球を発射杆146の先端で打突する発射槌148と、を備える。
遊技盤200は、前面に遊技領域124を有し、本体104の空間部114に臨むように、所定の固定部材を用いて本体104に着脱自在に装着されている。なお、遊技領域124は、遊技盤200を本体104に装着した後、開口部116から観察することができる。
図2は、図1のパチンコ機100を背面側から見た外観図である。パチンコ機100の背面上部には、上方に開口した開口部を有し、遊技球を一時的に貯留するための球タンク150と、球タンク150の下方に位置し、球タンク150の底部に形成した連通孔を通過して落下する球を背面右側に位置する払出装置152に導くためのタンクレール154とを配設している。
払出装置152は、筒状の部材からなり、その内部には、不図示の払出モータとスプロケットと払出センサとを備えている。スプロケットは、払出モータによって回転可能に構成されており、タンクレール154を通過して払出装置152内に流下した遊技球を一時的に滞留させると共に、払出モータを駆動して所定角度だけ回転することにより、一時的に滞留した遊技球を払出装置152の下方へ1個ずつ送り出すように構成している。
払出センサは、スプロケットが送り出した遊技球の通過を検知するためのセンサであり、遊技球が通過しているときにハイまたはローの何れか一方の信号を、遊技球が通過していないときはハイまたはローの何れか他方の信号を払出制御部600へ出力する。なお、この払出センサを通過した遊技球は、不図示の球レールを通過してパチンコ機100の表側に配設した上皿126に到達するように構成しており、パチンコ機100は、この構成により遊技者に対して球の払い出しを行う。
払出装置152の図中左側には、遊技全般の制御処理を行う主制御部300を構成する主基板156を収納する主基板ケース158、主制御部300が生成した処理情報に基づいて演出に関する制御処理を行う第1副制御部400を構成する第1副基板160を収納する第1副基板ケース162、第1副制御部400が生成した処理情報に基づいて演出に関する制御処理を行う第2副制御部500を構成する第2副基板164を収納する第2副基板ケース166、遊技球の払出に関する制御処理を行う払出制御部600を構成すると共に遊技店員の操作によってエラーを解除するエラー解除スイッチ168を備える払出基板170を収納する払出基板ケース172、遊技球の発射に関する制御処理を行う発射制御部630を構成する発射基板174を収納する発射基板ケース176、各種電気的遊技機器に電源を供給する電源制御部660を構成すると共に遊技店員の操作によって電源をオンオフする電源スイッチ178と電源投入時に操作されることによってRWMクリア信号を主制御部300に出力するRWMクリアスイッチ180とを備える電源基板182を収納する電源基板ケース184、および払出制御部600とカードユニットとの信号の送受信を行うCRインターフェース部186を配設している。
図3は、遊技盤200を正面から見た略示正面図である。遊技盤200には、外レール202と内レール204とを配設し、遊技球が転動可能な遊技領域124を区画形成している。遊技領域124の略中央には、演出装置206を配設している。演出装置206には、略中央に装飾図柄表示装置208を配設し、その上部に演出可動物209を配設し、その下部に、普通図柄表示装置210と、第1特別図柄表示装置212と、第2特別図柄表示装置214と、普通図柄保留ランプ216と、第1特別図柄保留ランプ218と、第2特別図柄保留ランプ220と、高確中ランプ222を配設している。演出装置206は、演出可動体224を動作して演出を行うものであり、詳細については後述する。なお、以下、普通図柄を「普図」、特別図柄を「特図」、第1特別図柄を「特図1」、第2特別図柄を「特図2」と称する場合がある。
装飾図柄表示装置208は、装飾図柄ならびに演出に用いる様々な表示を行うための表示装置であり、本実施の形態では液晶表示装置(Liquid Crystal Display)によって構成する。装飾図柄表示装置208は、左図柄表示領域208a、中図柄表示領域208b、右図柄表示領域208cおよび演出表示領域208dの4つの表示領域に分割し、左図柄表示領域208a、中図柄表示領域208bおよび右図柄表示領域208cはそれぞれ異なった装飾図柄を表示し、演出表示領域208dは演出に用いる画像を表示する。さらに、各表示領域208a、208b、208c、208dの位置や大きさは、装飾図柄表示装置208の表示画面内で自由に変更することを可能としている。また、装飾図柄表示装置208は、1個の小さな例えば円形の図柄を表示可能な表示範囲を有し、演出表示領域208dの例えば左下角部に設けられた第4図柄表示領域(図3では不図示)を有している。なお、装飾図柄表示装置208として液晶表示装置を採用しているが、液晶表示装置でなくとも、種々の演出や種々の遊技情報を表示可能に構成されていればよく、例えば、ドットマトリクス表示装置、7セグメント表示装置、有機EL(ElectroLuminescence)表示装置、リール(ドラム)式表示装置、リーフ式表示装置、プラズマディスプレイ、プロジェクタを含む他の表示デバイスを採用してもよい。演出可動物209は、演出に用いる様々な表示を行うための第二の演出表示装置であってもよく液晶表示装置(LCD)で構成されていてもよい。
普図表示装置210は、普図の表示を行うための表示装置であり、本実施形態では7セグメントLEDによって構成する。特図1表示装置212および特図2表示装置214は、特図の表示を行うための表示装置であり、本実施形態では7セグメントLEDによって構成する。
普図保留ランプ216は、保留している普図変動遊技(詳細は後述)の数を示すためのランプであり、本実施形態では、普図変動遊技を所定数(例えば、4つ)まで保留することを可能としている。特図1保留ランプ218および特図2保留ランプ220は、保留している特図変動遊技(詳細は後述)の数を示すためのランプであり、本実施形態では、特図変動遊技を所定数(例えば、4つ)まで保留することを可能としている。高確中ランプ222は、遊技状態が大当りが発生し易い高確率状態であること、または高確率状態になることを示すためのランプであり、遊技状態を大当りが発生し難い低確率状態から高確率状態にする場合に点灯し、高確率状態から低確率状態にする場合に消灯する。
また、演出装置206の周囲には、所定の球進入口、例えば、一般入賞口226と、普図始動口228と、特図1始動口230と、特図2始動口232と、可変入賞口234を配設している。
一般入賞口226は、本実施形態では遊技盤200に複数配設しており、一般入賞口226への入球を所定の球検出センサ(図示省略)が検出した場合(一般入賞口226に入賞した場合)、払出装置152を駆動し、所定の個数(例えば、10個)の球を賞球として上皿126に排出する。上皿126に排出した球は遊技者が自由に取り出すことが可能であり、これらの構成により、入賞に基づいて賞球を遊技者に払い出すようにしている。なお、一般入賞口226に入球した球は、パチンコ機100の裏側に誘導した後、遊技島側に排出する。本実施形態では、遊技球には、入賞の対価として遊技者に払い出す球(以下、「賞球」と呼ぶ場合がある)と、遊技者に貸し出す球(以下、「貸球」と呼ぶ場合がある)とが含まれる。
普図始動口228は、ゲートやスルーチャッカと呼ばれる、遊技領域124の所定の領域を球が通過したか否かを判定するための装置で構成しており、本実施形態では遊技盤200の左側に1つ配設している。普図始動口228を通過した球は一般入賞口226に入球した球と違って、遊技島側に排出することはない。球が普図始動口228を通過したことを所定の球検出センサが検出した場合、パチンコ機100は、普図表示装置210による普図変動遊技を開始する。
特図1始動口230は、本実施形態では遊技盤200の中央に1つだけ配設している。特図1始動口230への入球を所定の球検出センサが検出した場合、後述する払出装置152を駆動し、所定の個数(例えば、3個)の球を賞球として上皿126に排出するとともに、特図1表示装置212による特図変動遊技を開始する。なお、特図1始動口230に入球した球は、パチンコ機100の裏側に誘導した後、遊技島側に排出する。
特図2始動口232は、電動チューリップ(電チュー)と呼ばれ、本実施形態では特図1始動口230の真下に1つだけ配設している。特図2始動口232は、左右に開閉自在な羽根部材232aを備え、羽根部材232aの閉鎖中は球の入球が不可能であり、普図変動遊技に当選し、普図表示装置210が当り図柄を停止表示した場合に羽根部材232aが所定の時間間隔、所定の回数で開閉する。特図2始動口232への入球を所定の球検出センサが検出した場合、払出装置152を駆動し、所定の個数(例えば、4個)の球を賞球として上皿126に排出するとともに、特図2表示装置214による特図変動遊技を開始する。なお、特図2始動口232に入球した球は、パチンコ機100の裏側に誘導した後、遊技島側に排出する。
可変入賞口234は、大入賞口またはアタッカと呼ばれ、本実施形態では遊技盤200の中央部下方に1つだけ配設されている。可変入賞口234は、開閉自在な扉部材234aを備え、扉部材234aの閉鎖中は球の入球が不可能であり、特図変動遊技に当選して特図表示装置が大当り図柄を停止表示した場合に扉部材234aが所定の時間間隔(例えば、開放時間29秒、閉鎖時間1.5秒)、所定の回数(例えば15回)で開閉する。可変入賞口234への入球を所定の球検出センサが検出した場合、払出装置152を駆動し、所定の個数(例えば、15個)の球を賞球として上皿126に排出する。なお、可変入賞口234に入球した球は、パチンコ機100の裏側に誘導した後、遊技島側に排出する。
さらに、これらの入賞口や始動口の近傍には、風車と呼ばれる円盤状の打球方向変換部材236や、遊技釘238を複数個、配設していると共に、内レール204の最下部には、いずれの入賞口や始動口にも入賞しなかった球をパチンコ機100の裏側に誘導した後、遊技島側に排出するためのアウト口240を設けている。
パチンコ機100は、遊技者が上皿126に貯留している球を発射レールの発射位置に供給し、遊技者の操作ハンドルの操作量に応じた強度で発射モータを駆動し、発射杆146および発射槌148によって外レール202、内レール204を通過させて遊技領域124に打ち出す。そして、遊技領域124の上部に到達した球は、打球方向変換部材236や遊技釘238等によって進行方向を変えながら下方に落下し、入賞口(一般入賞口226、可変入賞口234)や始動口(特図1始動口230、特図2始動口232)に入賞するか、いずれの入賞口や始動口にも入賞することなく、または普図始動口228を通過するのみでアウト口240に到達する。
次に、パチンコ機100の演出装置206について説明する。演出装置206の前面側には、遊技球の転動可能な領域にワープ装置242およびステージ244を配設し、遊技球の転動不可能な領域に演出可動物209および演出可動体224を配設している。また、演出装置206の背面側には、装飾図柄表示装置208および遮蔽装置246(以下、扉と称する場合がある)を配設している。すなわち、演出装置206において、装飾図柄表示装置208および遮蔽装置246は、ワープ装置242、ステージ244、演出可動物209、および演出可動体224の後方に位置することとなる。ワープ装置242は、演出装置206の左上方に設けたワープ入口242aに入った遊技球を演出装置206の前面下方のステージ244にワープ出口242bから排出する。ステージ244は、ワープ出口242bから排出された球や遊技盤200の釘などによって乗り上げた球などが転動可能であり、ステージ244の中央部には、通過した球が特図1始動口230へ入球し易くなるスペシャルルート244aを設けている。
演出可動物209は、本実施形態では横長長方形の板状部に「番長」の文字を配した構成を有している。演出可動物209の板状部は不図示のソレノイドに接続されており、ソレノイドが非励磁状態で板状部は図3に示すように装飾図柄表示装置208および遮蔽装置246の上方に位置する。ソレノイドを励磁することにより板状部は下降して、装飾図柄表示装置208および遮蔽装置246の前方上部に移動して、装飾図柄表示装置208の表示領域を一部隠すようになっている。
演出可動体224は、本実施形態では人間の右腕の上腕と前腕を模した上腕部224aと前腕部224bとからなり、肩の位置に上腕部224aを回動させる不図示の上腕モータと肘の位置に前腕部224bを回動させる不図示の前腕モータを備える。演出可動体224は、上腕モータと前腕モータによって装飾図柄表示装置208の前方を移動する。
遮蔽装置246は、格子状の左扉246aおよび右扉246bからなり、装飾図柄表示装置208および前面ステージ244の間に配設する。左扉246aおよび右扉246bの上部には、不図示の2つのプーリに巻き回したベルトをそれぞれ固定している。すなわち、左扉246aおよび右扉246bは、モータによりプーリを介して駆動するベルトの動作に伴って左右にそれぞれ移動する。遮蔽装置246は、左扉246aおよび右扉246bを閉じた状態ではそれぞれの内側端部が重なり、遊技者が装飾図柄表示装置208を視認し難いように遮蔽する。左扉246aおよび右扉246bを開いた状態ではそれぞれの内側端部が装飾図柄表示装置208の表示画面の外側端部と若干重なるが、遊技者は装飾図柄表示装置208の表示の全てを視認可能である。また、左扉246aおよび右扉246bは、それぞれ任意の位置で停止可能であり、例えば、表示した装飾図柄がどの装飾図柄であるかを遊技者が識別可能な程度に、装飾図柄の一部だけを遮蔽するようなことができる。なお、左扉246aおよび右扉246bは、格子の孔から後方の装飾図柄表示装置208の一部を視認可能にしてもよいし、格子の孔の障子部分を半透明のレンズ体で塞ぎ、後方の装飾図柄表示装置208による表示を漠然と遊技者に視認させるようにしてもよいし、格子の孔の障子部分を完全に塞ぎ(遮蔽し)、後方の装飾図柄表示装置208を全く視認不可にしてもよい。
次に、図4を用いて、パチンコ機100の制御部の回路構成について詳細に説明する。なお、同図は制御部の回路ブロック図を示したものである。パチンコ機100の制御部は、大別すると、遊技の中枢部分を制御する主制御部300と、主制御部300が送信するコマンド信号(以下、単に「コマンド」と呼ぶ)に応じて主に演出の制御を行う第1副制御部400と、第1副制御部400より送信されたコマンドに基づいて各種機器を制御する第2副制御部500と、主制御部300が送信するコマンドに応じて主に遊技球の払い出しに関する制御を行う払出制御部600と、遊技球の発射制御を行う発射制御部630と、パチンコ機100に供給される電源を制御する電源制御部660と、によって構成している。
まず、パチンコ機100の主制御部300について説明する。主制御部300は、主制御部300の全体を制御する基本回路302を備えており、基本回路302には、CPU304と、制御プログラムや各種データを記憶するためのROM306と、一時的にデータを記憶するためのRAM308と、各種デバイスの入出力を制御するためのI/O310と、時間や回数等を計測するためのカウンタタイマ312と、プログラム処理の異常を監視するWDT314を搭載している。なお、ROM306やRAM308については他の記憶装置を用いてもよく、この点は後述する第1副制御部400についても同様である。基本回路302のCPU304は、水晶発振器316bが出力する所定周期のクロック信号をシステムクロックとして入力して動作する。
また、基本回路302には、水晶発振器316aが出力するクロック信号を受信する度に0〜65535の範囲で数値を変動させるハードウェア乱数カウンタとして使用している乱数値生成回路318(この回路には2つのカウンタを内蔵しているものとする)と、所定の球検出センサ、例えば各始動口、入賞口、可変入賞口を通過する遊技球を検出するセンサや、前面枠扉開放センサや内枠開放センサや下皿満タンセンサを含む各種センサ320が出力する信号を受信し、増幅結果や基準電圧との比較結果を乱数値生成回路318および基本回路302に出力するためのセンサ回路322と、所定の図柄表示装置、例えば特図1表示装置212や特図2表示装置214の表示制御を行うための駆動回路324と、所定の図柄表示装置、例えば普図表示装置210の表示制御を行うための駆動回路326と、各種状態表示部328(例えば、普図保留ランプ216、特図1保留ランプ218、特図2保留ランプ220、高確中ランプ222等)の表示制御を行うための駆動回路330と、所定の可動部材、例えば特図2始動口232の羽根部材232aや可変入賞口234の扉部材234a等を開閉駆動する各種ソレノイド332等を制御するための駆動回路334を接続している。
なお、特図1始動口230に球が入賞したことを球検出センサ320が検出した場合には、センサ回路322は球を検出したことを示す信号を乱数値生成回路318に出力する。この信号を受信した乱数値生成回路318は、特図1始動口230に対応するカウンタのそのタイミングにおける値をラッチし、ラッチした値を、特図1始動口230に対応する内蔵のカウンタ値記憶用レジスタに記憶する。また、乱数値生成回路318は、特図2始動口232に球が入賞したことを示す信号を受信した場合も同様に、特図2始動口232に対応するカウンタのそのタイミングにおける値をラッチし、ラッチした値を、特図2始動口232に対応する内蔵のカウンタ値記憶用レジスタに記憶する。
さらに、基本回路302には、情報出力回路336を接続しており、主制御部300は、情報出力回路336を介して、外部のホールコンピュータ(図示省略)等が備える情報入力回路350にパチンコ機100の遊技情報(例えば、遊技状態)を出力する。
また、主制御部300には、電源制御部660から主制御部300に供給している電源の電圧値を監視する電圧監視回路338を設けており、電圧監視回路338は、電源の電圧値が所定の値(本実施例では9V)未満である場合に電圧が低下したことを示す低電圧信号を基本回路302に出力する。
また、主制御部300には、電源が投入されると起動信号(リセット信号)を出力する起動信号出力回路(リセット信号出力回路)340を設けており、CPU304は、起動信号出力回路340から起動信号を入力した場合に、遊技制御を開始する(後述する主制御部メイン処理を開始する)。
また、主制御部300は、第1副制御部400にコマンドを送信するための出力インタフェースと、払出制御部600にコマンドを送信するための出力インタフェースをそれぞれ備えており、この構成により、第1副制御部400および払出制御部600との通信を可能としている。なお、主制御部300と第1副制御部400および払出制御部600との情報通信は一方向の通信であり、主制御部300は第1副制御部400および払出制御部600にコマンド等の信号を送信できるように構成しているが、第1副制御部400および払出制御部600からは主制御部300にコマンド等の信号を送信できないように構成している。
次に、パチンコ機100の第1副制御部400について説明する。第1副制御部400は、主に主制御部300が送信したコマンド等に基づいて第1副制御部400の全体を制御する基本回路402を備えており、この基本回路402には、CPU404と、一時的にデータを記憶するためのRAM408と、各種デバイスの入出力を制御するためのI/O410と、時間や回数等を計測するためのカウンタタイマ412を搭載している。この基本回路402のCPU404は、水晶発振信器414が出力する所定周期のクロック信号をシステムクロックとして入力して動作する。
また、基本回路402には、スピーカ120(およびアンプ)の制御を行うための音源IC416と、各種ランプ418の制御を行うための駆動回路420と、演出可動体224の駆動制御を行うための駆動回路422と、演出可動体224の現在位置を検出する演出可動体センサ424と、チャンスボタン136の押下を検出するチャンスボタン検出センサ426と、所定の検出センサ、例えば演出可動体センサ424やチャンスボタン検出センサ426からの検出信号を基本回路402に出力するセンサ回路428と、制御プログラムや各種演出データを記憶するためのROM406と、演出可動物209の駆動制御を行うための駆動回路421と、を接続している。なお、ROM406は、制御プログラムと各種演出データとを別々のROMに記憶させてもよい。
次に、パチンコ機100の第2副制御部500について説明する。第2副制御部500は、第1副制御部400が送信した制御コマンドを入力インタフェースを介して受信し、制御コマンドに基づいて第2副制御部500の全体を制御する基本回路を備えている。基本回路には、装飾図柄表示装置208および遮蔽装置246の制御を行うための駆動回路を接続している。
次に、パチンコ機100の払出制御部600、発射制御部630、電源制御部660について説明する。払出制御部600は、主に主制御部300が送信したコマンド等の信号に基づいて払出装置152の払出モータ602を制御すると共に、払出センサ604が出力する制御信号に基づいて賞球または貸球の払い出しが完了したか否かを検出すると共に、インタフェース部606を介して、パチンコ機100とは別体で設けられたカードユニット608との通信を行う。
発射制御部630は、払出制御部600が出力する、発射許可または停止を指示する制御信号や、球発射ハンドル134内に設けた発射強度出力回路が出力する、遊技者による球発射ハンドル134の操作量に応じた発射強度を指示する制御信号に基づいて、発射杆146および発射槌148を駆動する発射モータ632の制御や、上皿126から発射装置110に球を供給する球送り装置634の制御を行う。
電源制御部660は、パチンコ機100に外部から供給される交流電源を直流化し、所定の電圧に変換して主制御部300、第1副制御部400等の各制御部や払出装置152等の各装置に供給する。さらに、電源制御部660は、外部からの電源が断たれた後も所定の部品(例えば主制御部300のRAM308等)に所定の期間(例えば10日間)電源を供給するための蓄電回路(例えば、コンデンサ)を備えている。なお、本実施形態では、電源制御部660から払出制御部600と第2副制御部500に所定電圧を供給し、払出制御部600から主制御部300と第2副制御部500と発射制御部630に所定電圧を供給しているが、各制御部や各装置に他の電源経路で所定電圧を供給してもよい。
次に、図5(a)〜(d)を用いて、パチンコ機100の特図1表示装置212、特図2表示装置214、装飾図柄表示装置208、普図表示装置210が停止表示する特図および普図の種類について説明する。図5(a)は特図の停止図柄態様の一例を示したものである。特図1始動口230に球が入球したことを第1始動口センサが検出したことを条件として特図1変動遊技が開始され、特図2始動口232に球が入球したことを第2始動口センサが検出したことを条件として特図2変動遊技が開始される。特図1変動遊技が開始されると、特図1表示装置212は、7個のセグメントの全点灯と、中央の1個のセグメントの点灯を繰り返す「特図1の変動表示」を行う。また、特図2変動遊技が開始されると、特図2表示装置214は、7個のセグメントの全点灯と、中央の1個のセグメントの点灯を繰り返す「特図2の変動表示」を行う。これらの「特図1の変動表示」および「特図2の変動表示」が本実施形態にいう図柄の変動表示の一例に相当する。そして、特図1の変動開始前に決定した変動時間が経過すると、特図1表示装置212は特図1の停止図柄態様を停止表示し、特図2の変動開始前に決定した変動時間が経過すると、特図2表示装置214は特図2の停止図柄態様を停止表示する。したがって、「特図1の変動表示」を開始してから特図1の停止図柄態様を停止表示するまで、あるいは「特図2の変動表示」を開始してから特図2の停止図柄態様を停止表示するまでが本実施形態にいう図柄変動停止表示の一例に相当し、以下、この「特図1又は2の変動表示」を開始してから特図1又は2の停止図柄態様を停止表示するまでの一連の表示を図柄変動停止表示と称する。後述するように、図柄変動停止表示は複数回、連続して行われることがある。
図5(a)には、図柄変動停止表示における停止図柄態様として「特図A」から「特図J」までの10種類の特図が示されている。図5(a)においては、図中の白抜きの部分が消灯するセグメントの場所を示し、黒塗りの部分が点灯するセグメントの場所を示している。「特図A」は15ラウンド(15R)特別大当り図柄であり、「特図B」は15R大当り図柄である。本実施形態のパチンコ機100では、後述するように、特図変動遊技における大当りか否かの決定はハードウェア乱数の抽選によって行い、特別大当りか否かの決定はソフトウェア乱数の抽選によって行う。大当りと特別大当りの違いは、大当り遊技終了後の特図変動遊技で、大当りに当選する確率が高い(特別大当り)か低い(大当り)かの違いである。以下、この大当りに当選する確率が高い状態のことを特図高確率状態と称し、その確率が低い状態のことを特図低確率状態と称する。また、15R特別大当り遊技終了後および15R大当り遊技終了後はいずれも電サポ状態(特図変動遊技の変動時間短縮状態と合わせて時短状態と呼ぶ)に移行する。時短状態については詳しくは後述するが、時短状態に移行する状態のことを普図高確率状態と称し、時短状態に移行しない状態のことを普図低確率状態と称する。15R特別大当り図柄である「特図A」は、特図高確率普図高確率状態であり、15R大当り図柄である「特図B」は、特図低確率普図高確率状態である。これらの「特図A」および「特図B」は、遊技者に対する有利度が相対的に大きくなる図柄である。
「特図C」は突然確変と称される2R大当り図柄であり、特図高確率普図高確率状態である。すなわち、15Rである「特図A」と比べて、「特図C」は2Rである点が異なる。「特図D」は突然時短と称される2R大当り図柄であり、特図低確率普図高確率状態である。すなわち、15Rである「特図B」と比べて、「特図D」は2Rである点が異なる。「特図E」は隠れ確変と称される2R大当り図柄であり、特図高確率普図低確率状態である。「特図F」は突然通常と称される2R大当り図柄であり、特図低確率普図低確率状態である。これら「特図E」および「特図F」はいずれも、2Rであると共に、時短状態に移行しない状態である。
「特図G」は第1小当り図柄であり、「特図H」は第2小当り図柄であり、何れも特図低確率普図低確率状態である。ここにいう小当りは、2R時短無し大当りと同じものに相当する。すなわち、この「特図G」、「特図H」は「特図F」と同じ状態であるが、両者では装飾図柄表示装置208に表示される演出が異なり、あえて、同じ状態でも「特図G」、「特図H」と「特図F」を設けておくことで、遊技の興趣を高めている。
また、「特図I」は第1はずれ図柄であり、「特図J」は第2はずれ図柄であり、遊技者に対する有利度が相対的に小さくなる図柄である。なお、本実施形態のパチンコ機100には、15R特別大当り図柄として「特図A」以外の図柄も用意されており、15R大当り図柄等の他の図柄についても同様である。
図5(b)は装飾図柄の一例を示したものである。本実施形態の装飾図柄には、「装飾1」〜「装飾10」の10種類がある。特図1始動口230または特図2始動口232に球が入賞したこと、すなわち、特図1始動口230に球が入球したことを第1始動口センサが検出したこと、あるいは特図2始動口232に球が入球したことを第2始動口センサが検出したことを条件にして、装飾図柄表示装置208の左図柄表示領域208a、中図柄表示領域208b、右図柄表示領域208cの各図柄表示領域に、「装飾1」→「装飾2」→「装飾3」→・・・・「装飾9」→「装飾10」→「装飾1」→・・・の順番で表示を切り替える「装飾図柄の変動表示」を行う。
そして、「特図A」の15R特別大当りまたは「特図B」の15R大当りを報知する場合には、図柄表示領域208a〜208cに同じ装飾図柄が3つ並んだ図柄組合せ(例えば「装飾1−装飾1−装飾1」や「装飾2−装飾2−装飾2」等)を停止表示する。「特図A」の15R特別大当りを明示的に報知する場合には、同じ奇数の装飾図柄が3つ並んだ図柄組合せ(例えば「装飾3−装飾3−装飾3」や「装飾7−装飾7−装飾7」等)を停止表示する。
また、「特図E」の隠れ確変と称される2R大当り、「特図F」の突然通常と称される2R大当り、あるいは「特図G」の第1小当り、「特図H」の第2小当りを報知する場合には、「装飾1−装飾2−装飾3」を停止表示する。さらに、「特図C」の突然確変と称される2R大当り、あるいは「特図D」の突然時短と称される2R大当りを報知する場合には、「装飾1−装飾3−装飾5」を停止表示する。
一方、「特図I」の第1はずれ、「特図J」の第2はずれを報知する場合には、図柄表示領域208a〜208cに図5(b)に示す図柄組合せ以外の図柄組合せを停止表示する。
図5(c)は普図の停止表示図柄の一例を示したものである。本実施形態の普図の停止表示態様には、当り図柄1である「普図A」と、当り図柄2である「普図B」と、はずれ図柄である「普図C」の3種類がある。本実施の形態によるパチンコ機100は、普図変動遊技における当りか否かの決定および停止図柄の決定はソフトウェア乱数の抽選によって行う。例えば当り図柄1、2は、特図2始動口232(電チュー)の開放パターンが異なっている。普図始動口228を球が通過したことを上述のゲートセンサが検出したことに基づいて、普図表示装置210は、7個のセグメントの全点灯と、中央の1個のセグメントの点灯を繰り返す「普図の変動表示」を行う。そして、普図変動遊技の当選を報知する場合には「普図A」または「普図B」を停止表示し、普図変動遊技のはずれを報知する場合には「普図C」を停止表示する。図5(c)においても、図中の白抜きの部分が消灯するセグメントの場所を示し、黒塗りの部分が点灯するセグメントの場所を示している。
図5(d)は普通図柄用装飾図柄の一例を示したものである。本実施形態の普通図柄用装飾図柄には、「普図装飾1」、「普図装飾2」、「普図装飾3」の3種類がある。普図装飾1は例えば「○」を想起させる図柄態様を有しており、普図装飾2は例えば「◎」を想起させる図柄態様を有しており、普図装飾3は例えば「×」を想起させる図柄態様を有している。所定期間(例えば、電サポ状態中、スーパーリーチ演出実行中、大当り遊技中)以外に普図始動口228を球が通過したことを所定の球検出センサが検出したことを条件にして、装飾図柄表示装置208に、「普図装飾1」→「普図装飾2」→「普図装飾3」・・・の順番で表示を切り替える普図装飾図柄変動ゲームを所定の確率で行う。
「普図A」の当りを報知する場合には、「普図装飾1」を停止表示し、「普図B」の当りを報知する場合には、「普図装飾2」を停止表示し、「普図C」のはずれを報知する場合には、「普図装飾3」を停止表示する。
次に、図6を用いて、主制御部300のCPU304が実行する主制御部メイン処理について説明する。なお、同図は主制御部メイン処理の流れを示すフローチャートである。上述したように、主制御部300には、電源が投入されると起動信号(リセット信号)を出力する起動信号出力回路(リセット信号出力回路)340を設けている。この起動信号を入力した基本回路302のCPU304は、リセット割込によりリセットスタートしてROM306に予め記憶している制御プログラムに従って図6に示す主制御部メイン処理を実行する。
ステップS101では、初期設定1を行う。初期設定1では、CPU304のスタックポインタ(SP)へのスタック初期値の設定(仮設定)、割込マスクの設定、I/O310の初期設定、RAM308に記憶する各種変数の初期設定、WDT314への動作許可および初期値の設定等を行う。なお、本実施形態では、WDT314に、初期値として32.8ms(ミリ秒)に相当する数値を設定する。
ステップS101の次のステップS103では、WDT314のカウンタの値をクリアし、WDT314による時間計測を再始動する。ステップS103の次のステップS105では、低電圧信号がオンであるか否か、すなわち、電圧監視回路338が、電源制御部660から主制御部300に供給している電源の電圧値が所定の値(本実施形態では9V)未満である場合に電圧が低下したことを示す低電圧信号を出力しているか否かを監視する。そして、低電圧信号がオンの場合(CPU304が電源の遮断を検知した場合)にはステップS103に戻り、低電圧信号がオフの場合(CPU304が電源の遮断を検知していない場合)にはステップS107に進む。なお、電源が投入された直後で未だ上記所定の値(9V)に達しない場合にもステップS103に戻り、供給電圧がその所定の値以上になるまで、ステップS105は繰り返し実行される。
ステップS107では、初期設定2を行う。初期設定2では、後述する主制御部タイマ割込処理を定期毎に実行するための周期を決める数値をカウンタタイマ312に設定する処理、I/O310の所定のポート(例えば試験用出力ポート、第1副制御部400への出力ポート)からクリア信号を出力する処理、RAM308への書き込みを許可する設定等を行う。
ステップS107の次のステップS109では、電源の遮断前(電断前)の状態に復帰するか否かの判定を行い、電断前の状態に復帰しない場合(主制御部300の基本回路302を初期状態にする場合)には初期化処理(ステップS113)に進む。具体的には、最初に、電源基板に設けたRWMクリアスイッチ180を遊技店の店員などが操作した場合に送信されるRAMクリア信号がオン(操作があったことを示す)であるか否か、すなわちRAMクリアが必要であるか否かを判定し、RAMクリア信号がオンの場合(RAMクリアが必要な場合)には、基本回路302を初期状態にすべくステップS113に進む。一方、RAMクリア信号がオフの場合(RAMクリアが必要でない場合)には、RAM308に設けた電源ステータス記憶領域に記憶した電源ステータスの情報を読み出し、この電源ステータスの情報がサスペンドを示す情報であるか否かを判定する。そして、電源ステータスの情報がサスペンドを示す情報でない場合には、基本回路302を初期状態にすべくステップS113に進み、電源ステータスの情報がサスペンドを示す情報である場合には、RAM308の所定の領域(例えば全ての領域)に記憶している1バイトデータを初期値が0である1バイト構成のレジスタに全て加算することによりチェックサムを算出し、算出したチェックサムの結果が特定の値(例えば0)であるか否か(チェックサムの結果が正常であるか否か)を判定する。そして、チェックサムの結果が特定の値(例えば0)の場合(チェックサムの結果が正常である場合)には電断前の状態に復帰すべくステップS111に進み、チェックサムの結果が特定の値(例えば0)以外である場合(チェックサムの結果が異常である場合)には、パチンコ機100を初期状態にすべくステップS113に進む。同様に電源ステータスの情報が「サスペンド」以外の情報を示している場合にもステップS113に進む。
ステップS111では、復電時処理を行う。この復電時処理では、電断時にRAM308に設けられたスタックポインタ退避領域に記憶しておいたスタックポインタの値を読み出し、スタックポインタに再設定(本設定)する。また、電断時にRAM308に設けられたレジスタ退避領域に記憶しておいた各レジスタの値を読み出し、各レジスタに再設定した後、割込許可の設定を行う。以降、CPU304が、再設定後のスタックポインタやレジスタに基づいて制御プログラムを実行する結果、パチンコ機100は電源断時の状態に復帰する。すなわち、電断直前にタイマ割込処理(後述)に分岐する直前に行った(ステップS115内の所定の)命令の次の命令から処理を再開する。また、図4に示す主制御部300における基本回路302に搭載されているRAM308には、送信情報記憶領域が設けられている。このステップS111では、その送信情報記憶領域に、復電コマンドをセットする。この復電コマンドは、電源断時の状態に復帰したことを表すコマンドであり、後述する、主制御部300のタイマ割込処理におけるステップS233において、第1副制御部400へ送信される。
ステップS113では、初期化処理を行う。この初期化処理では、割込禁止の設定、スタックポインタへのスタック初期値の設定(本設定)、RAM308の全ての記憶領域の初期化などを行う。さらにここで、主制御部300のRAM308に設けられた送信情報記憶領域に正常復帰コマンドをセットする。この正常復帰コマンドは、主制御部300の初期化処理(ステップS113)が行われたことを表すコマンドであり、復電コマンドと同じく、主制御部300のタイマ割込処理におけるステップS233において、第1副制御部400へ送信される。
ステップS113の次のステップS115では、割込禁止の設定を行った後、基本乱数初期値更新処理を行う。この基本乱数初期値更新処理では、特図変動遊技での停止図柄を決定する抽選に用いる特図決定用乱数値を生成する特図決定用乱数値カウンタの初期値を生成するための初期値生成用乱数カウンタを更新する。また、普図変動遊技の当否判定に用いる普図当選乱数値を生成する普図当選乱数値カウンタの初期値を生成するための初期値生成用乱数カウンタを更新する。主制御部300のRAM308には、特図決定用乱数値カウンタとその初期値生成用乱数カウンタ、および普図当選乱数値カウンタとその初期値生成用乱数カウンタが設けられている。ステップS115では、これらのうち2つの初期値生成用乱数カウンタの初期値をそれぞれ更新する。例えば、初期値生成用乱数カウンタの取り得る数値範囲が0〜99とすると、初期値生成用乱数カウンタから値を取得し、取得した値に1を加算してから元の初期値生成用乱数カウンタに記憶する。このとき、取得した値に1を加算した結果が100であれば0を元の初期値生成用乱数カウンタに記憶する。他の初期値生成用乱数カウンタもそれぞれ同様に更新する。なお、初期値生成用乱数カウンタは、後述するステップS207でも更新する。主制御部300は、所定の周期ごとに開始するタイマ割込処理を行っている間を除いて、ステップS115の処理を繰り返し実行する。
次に、図7を用いて、主制御部300のCPU304が実行する主制御部タイマ割込処理について説明する。なお、同図は主制御部タイマ割込処理の流れを示すフローチャートである。主制御部300は、所定の周期(本実施形態では約2msに1回)でタイマ割込信号を発生するカウンタタイマ312を備えており、このタイマ割込信号を契機として主制御部タイマ割込処理を所定の周期で開始する。
ステップS201では、タイマ割込開始処理を行う。このタイマ割込開始処理では、CPU304の各レジスタの値をスタック領域に一時的に退避する処理などを行う。ステップS201の次のステップS203では、WDT314のカウント値が初期設定値(本実施形態では32.8ms)を超えてWDT割込が発生しないように(処理の異常を検出しないように)、WDTを定期的に(本実施形態では、主制御部タイマ割込の周期である約2msに1回)リスタートを行う。
ステップS203の次のステップS205では、入力ポート状態更新処理を行う。この入力ポート状態更新処理では、I/O310の入力ポートを介して、上述の前面枠扉開放センサや内枠開放センサや下皿満タンセンサ、各種の球検出センサを含む各種センサ320の検出信号を入力して検出信号の有無を監視し、RAM308に各種センサ320ごとに区画して設けた信号状態記憶領域に記憶する。球検出センサの検出信号を例にして説明すれば、前々回のタイマ割込処理(約4ms前)で検出した各々の球検出センサの検出信号の有無の情報を、RAM308に各々の球検出センサごとに区画して設けた前回検出信号記憶領域から読み出し、この情報をRAM308に各々の球検出センサごとに区画して設けた前々回検出信号記憶領域に記憶し、前回のタイマ割込処理(約2ms前)で検出した各々の球検出センサの検出信号の有無の情報を、RAM308に各々の球検出センサごとに区画して設けた今回検出信号記憶領域から読み出し、この情報を上述の前回検出信号記憶領域に記憶する。また、今回検出した各々の球検出センサの検出信号を、上述の今回検出信号記憶領域に記憶する。
また、ステップS205では、上述の前々回検出信号記憶領域、前回検出信号記憶領域、および今回検出信号記領域の各記憶領域に記憶した各々の球検出センサの検出信号の有無の情報を比較し、各々の球検出センサにおける過去3回分の検出信号の有無の情報が入賞判定パターン情報と一致するか否かを判定する。一個の遊技球が一つの球検出センサを通過する間に、約2msという非常に短い間隔で起動を繰り返すこの主制御部タイマ割込処理は何回か起動する。このため、主制御部タイマ割込処理が起動する度に、ステップS205では、同じ遊技球が同じ球検出センサを通過したことを表す検出信号を確認することになる。この結果、上述の前々回検出信号記憶領域、前回検出信号記憶領域、および今回検出信号記領域それぞれに、同じ遊技球が同じ球検出センサを通過したことを表す検出信号が記憶される。すなわち、遊技球が球検出センサを通過し始めたときには、前々回検出信号無し、前回検出信号有り、今回検出信号有りになる。本実施形態では、球検出センサの誤検出やノイズを考慮して、検出信号無しの後に検出信号が連続して2回記憶されている場合には、入賞があったと判定する。図4に示す主制御部300のROM306には、入賞判定パターン情報(本実施形態では、前々回検出信号無し、前回検出信号有り、今回検出信号有りであることを示す情報)が記憶されている。ステップS205では、各々の球検出センサにおいて過去3回分の検出信号の有無の情報が、予め定めた入賞判定パターン情報(本実施形態では、前々回検出信号無し、前回検出信号有り、今回検出信号有りであることを示す情報)と一致した場合に、一般入賞口226、可変入賞口234、特図1始動口230、および特図2始動口232への入球、または普図始動口228の通過があったと判定する。すなわち、これらの入賞口226、234やこれらの始動口230、232、228への入賞があったと判定する。例えば、一般入賞口226への入球を検出する一般入賞口センサにおいて過去3回分の検出信号の有無の情報が上述の入賞判定パターン情報と一致した場合には、一般入賞口226へ入賞があったと判定し、以降の一般入賞口226への入賞に伴う処理を行うが、過去3回分の検出信号の有無の情報が上述の入賞判定パターン情報と一致しなかった場合には、以降の一般入賞口226への入賞に伴う処理を行わずに後続の処理に分岐する。なお、主制御部300のROM306には、入賞判定クリアパターン情報(本実施形態では、前々回検出信号有り、前回検出信号無し、今回検出信号無しであることを示す情報)が記憶されている。入賞が一度あったと判定した後は、各々の球検出センサにおいて過去3回分の検出信号の有無の情報が、その入賞判定クリアパターン情報に一致するまで入賞があったとは判定せず、入賞判定クリアパターン情報に一致すれば、次からは上記入賞判定パターン情報に一致するか否かの判定を行う。
ステップS205の次のステップS207およびステップS209では、基本乱数初期値更新処理および基本乱数更新処理を行う。これらの基本乱数初期値更新処理および基本乱数更新処理では、上記ステップS115で行った初期値生成用乱数カウンタの更新を行い、次に主制御部300で使用する、特図決定用乱数値を生成する特図決定用乱数値カウンタおよび普図当選乱数値を生成する普図当選乱数値カウンタを更新する。例えば、特図決定用乱数値として取り得る数値範囲が0〜99とすると、特図決定用乱数値を生成するためにRAM308に設けた特図決定用乱数値カウンタから値を取得し、取得した値に1を加算してから元の特図決定用乱数値カウンタに記憶する。このとき、取得した値に1を加算した結果が100であれば0を元の特図決定用乱数値カウンタに記憶する。また、取得した値に1を加算した結果、特図決定用乱数値カウンタが一周していると判定した場合には特図決定用乱数値カウンタに対応する初期値生成用乱数カウンタの値を取得し、特図決定用乱数値カウンタにセットする。例えば、0〜99の数値範囲で変動する特図決定用乱数値カウンタから値を取得し、取得した値に1を加算した結果が、RAM308に設けた所定の初期値記憶領域に記憶している前回設定した初期値と等しい値(例えば7)である場合に、特図決定用乱数値カウンタに対応する初期値生成用乱数カウンタから値を初期値として取得し、特図決定用乱数値カウンタにセットすると共に、特図決定用乱数値カウンタが次に1周したことを判定するために、今回設定した初期値を上述の初期値記憶領域に記憶しておく。また、特図決定用乱数値カウンタが次に1周したことを判定するための上述の初期値記憶領域とは別に、普図当選乱数値カウンタが1周したことを判定するための初期値記憶領域をRAM308に設けている。特図決定用乱数値カウンタは、特図1用の乱数値を取得するためのカウンタと特図2用の乱数値を取得するためのカウンタとを別に設けてもよいし、あるいは、同一のカウンタを用いてもよい。
ステップS209の次のステップS211では、演出乱数更新処理を行う。この演出乱数更新処理では、主制御部300で使用する演出用乱数値を生成するための乱数カウンタを更新する。具体的には、特図変動遊技での図柄変動時間を決めるための特図タイマ番号決定用乱数値を生成する特図タイマ番号決定用乱数値カウンタの値あるいはその初期値を更新する。また、本実施の形態では、普図変動遊技の変動時間は、例えば普図低確率状態で20000msになっており、普図高確率状態で1000msになっている。パチンコ機100は、普図変動遊技の変動時間を所定のテーブルを用いた抽選で決定してもよく、普図変動遊技での図柄変動時間を決めるための普図タイマ番号決定用乱数値を生成する普図タイマ番号決定用乱数値カウンタの値あるいはその初期値を更新してもよい。
ステップS211の次のステップS213では、タイマ更新処理を行う。このタイマ更新処理では、普図表示装置210に図柄を変動・停止表示する時間を計時するための普図表示図柄更新タイマ、特図1表示装置212に図柄を変動・停止表示する時間を計時するための特図1表示図柄更新タイマ、特図2表示装置214に図柄を変動・停止表示する時間を計時するための特図2表示図柄更新タイマ、所定の入賞演出時間、所定の開放時間、所定の閉鎖時間、所定の終了演出期間などを計時するためのタイマなどを含む各種タイマを更新する。
ステップS213の次のステップS215では、入賞口カウンタ更新処理を行う。この入賞口カウンタ更新処理では、入賞口226、234や始動口230、232、228に入賞があった場合に、RAM308に各入賞口ごと、あるいは各始動口ごとに設けた賞球数記憶領域の値を読み出し、1を加算して、元の賞球数記憶領域に設定する。
また、ステップS215の次のステップS217では、入賞受付処理を行う。この入賞受付処理では、特図1始動口230、特図2始動口232、普図始動口228および可変入賞口234への入賞があったか否かを判定する。ここでは、ステップS205における入賞判定パターン情報と一致するか否かの判定結果を用いて判定する。
特図1始動口230へ入賞があった場合且つRAM308に設けた対応する特図1保留数記憶領域が満タン(本例では、保留数4で満タンとなる)でない場合、乱数値生成回路(ハード乱数回路)318の特図1始動口230に対応する内蔵のカウンタ値記憶用レジスタに記憶された値に所定の加工を施して生成した大当り判定用乱数値を取得すると共に、RAM308に設けた特図決定用乱数値カウンタから特図決定用乱数値を取得して特図1乱数値記憶領域に取得順に格納する。特図1乱数値記憶領域内の大当り判定用乱数値および特図決定用乱数値の組(以下、「特図1乱数値の組」と略称する)は、特図1保留数記憶領域に記憶された特図1保留数と同数分だけ格納される。特図1乱数値記憶領域内では、特図1保留数が1つ減るごとに保留順位が最上位(最先であり最も過去に記憶されている)の特図1乱数値の組のデータが消去されると共に、残余の特図1乱数値の組のデータの保留順位が1ずつ繰り上がるように処理される。また、特図1保留数が1つ増えるごとに、保留順位が最下位(最後)の特図1乱数値の組のデータの次の保留順位に新たな特図1乱数値の組のデータが書き込まれる。
特図2始動口232へ入賞があった場合且つRAM308に設けた対応する特図2保留数記憶領域が満タン(本例では、保留数4で満タンとなる)でない場合、乱数値生成回路318の特図2始動口232に対応する内蔵のカウンタ値記憶用レジスタに記憶された値に所定の加工を施して生成した大当り判定用乱数値を取得すると共に、RAM308に設けた大当り時用特図決定用乱数値カウンタから大当り時用特図決定用乱数値を取得して特図2乱数値記憶領域に取得順に格納する。特図2乱数値記憶領域内の大当り判定用乱数値および大当り時用特図決定用乱数値の組(以下、「特図2乱数値の組」と略称する)は、特図2保留数記憶領域に記憶された特図2保留数と同数分だけ格納される。特図2乱数値記憶領域内では、特図2保留数が1つ減るごとに保留順位が最上位の特図2乱数値の組のデータが消去されると共に、残余の特図2乱数値の組のデータの保留順位が1ずつ繰り上がるように処理される。また、特図2保留数が1つ増えるごとに、保留順位が最下位の特図2乱数値の組のデータの次の保留順位に新たな特図2乱数値の組のデータが書き込まれる。
普図始動口228へ入賞があった場合且つRAM308に設けた対応する普図保留数記憶領域が満タンでない場合、普図当選乱数値カウンタから値を普図当選乱数値として取得して対応する普図乱数値記憶領域に格納する。可変入賞口234へ入賞があった場合には、可変入賞口用の入賞記憶領域に、可変入賞口234に球が入球したことを示す情報を格納する。
ステップS217の次のステップS219では、払出要求数送信処理を行う。なお、払出制御部600に出力する出力予定情報および払出要求情報は、例えば1バイトで構成しており、ビット7にストローブ情報(オンの場合、データをセットしていることを示す)、ビット6に電源投入情報(オンの場合、電源投入後一回目のコマンド送信であることを示す)、ビット4〜5に暗号化のための今回加工種別(0〜3)、およびビット0〜3に暗号化加工後の払出要求数を示すようにしている。
ステップS219の次のステップS221では、普図状態更新処理を行う。この普図状態更新処理は、普図の状態に対応する複数の処理のうちの1つの処理を行う。例えば、普図変動表示の途中(上述する普図表示図柄更新タイマの値が1以上)における普図状態更新処理では、普図表示装置210を構成する7セグメントLEDの点灯と消灯を繰り返す点灯・消灯駆動制御を行う。この制御を行うことで、普図表示装置210は普図の変動表示(普図変動遊技)を行う。
また、普図変動表示時間が経過したタイミング(普図表示図柄更新タイマの値が1から0になったタイミング)における普図状態更新処理では、第1普図当りフラグがオンの場合には当り図柄1(普図A)の表示態様となるように、第2普図当りフラグがオンの場合には当り図柄2(普図B)に表示態様となるように、はずれフラグがオンの場合にははずれ図柄(普図C)の表示態様となるように、普図表示装置210を構成する7セグメントLEDの点灯・消灯駆動制御を行い、普図当りフラグがオフの場合には、はずれ図柄の表示態様となるように普図表示装置210を構成する7セグメントLEDの点灯・消灯駆動制御を行う。また、主制御部300のRAM308には、普図状態更新処理に限らず各種の処理において各種の設定を行う設定領域が用意されている。ここでは、上記点灯・消灯駆動制御を行うと共に、その設定領域に普図停止表示中であることを示す設定を行う。この制御を行うことで、普図表示装置210は、当り図柄1(普図A)、当り図柄2(図5普図B)、およびはずれ図柄(普図C)のいずれかの図柄の確定表示を行う。さらにその後、所定の停止表示期間(例えば500ms間)、その表示を維持するためにRAM308に設けた普図停止時間管理用タイマの記憶領域に停止期間を示す情報を設定する。この設定により、確定表示された図柄が所定期間停止表示され、普図変動遊技の結果が遊技者に報知される。
また、普図変動遊技の結果が当りであれば、普図決定結果に基づき第1普図当りフラグまたは第2普図当りフラグのいずれかがオンにされる。この第1、第2普図当りフラグがオンの場合には、所定の停止表示期間が終了したタイミング(普図停止時間管理用タイマの値が1から0になったタイミング)における普図状態更新処理では、RAM308の設定領域に普図作動中を設定すると共に、所定の開放期間(例えば2秒間)、特図2始動口232の羽根部材232aの開閉駆動用のソレノイド(各種ソレノイド332の一部)に、羽根部材232aを開放状態に保持する信号を出力すると共に、RAM308に設けた羽根開放時間管理用タイマの記憶領域に開放期間を示す情報を設定する。
また、所定の開放期間が終了したタイミング(羽根開放時間管理用タイマの値が1から0になったタイミング)で開始する普図状態更新処理では、所定の閉鎖期間(例えば500m秒間)、羽根部材の開閉駆動用のソレノイド332に、羽根部材を閉鎖状態に保持する信号を出力すると共に、RAM308に設けた羽根閉鎖時間管理用タイマの記憶領域に閉鎖期間を示す情報を設定する。
また、所定の閉鎖期間が終了したタイミング(羽根閉鎖時間管理用タイマの値が1から0になったタイミング)で開始する普図状態更新処理では、RAM308の設定領域に普図非作動中を設定する。さらに、普図変動遊技の結果がはずれであれば、後述するように、普図当りフラグがオフにされる。この普図当りフラグがオフの場合には、上述した所定の停止表示期間が終了したタイミング(普図停止時間管理用タイマの値が1から0になったタイミング)における普図状態更新処理でも、RAM308の設定領域に普図非作動中を設定する。普図非作動中の場合における普図状態更新処理では、何もせずに次のステップS223に移行するようにしている。
ステップS223では、普図関連抽選処理を行う。この普図関連抽選処理では、普図変動遊技および特図2始動口232の開閉制御を行っておらず(普図の状態が非作動中)、且つ、保留している普図変動遊技の数が1以上である場合に、上述の普図乱数値記憶領域に記憶している普図当選乱数値に基づいた乱数抽選により普図変動遊技の結果を当選とするか、不当選とするかを決定する当り判定(普図変動遊技の当否判定)を行う。当り判定の結果が当りの場合には、乱数値記憶領域に記憶している普図決定用乱数値に基づいた乱数抽選により図柄の決定を行う。普図決定結果が当り図柄1である場合にはRAM308に設けた第1普図当りフラグをオンに設定し、普図決定結果が当り図柄2である場合にはRAM308に設けた第2普図当りフラグをオンに設定する。当り判定の結果がはずれの場合には、RAM308に設けた普図はずれフラグをオンに設定する。また、本実施の形態では、普図高確率状態での普図の図柄変動時間は1000msであり、普図低確率状態での普図の図柄変動時間は20000msになっている。普図の図柄変動時間を抽選で決定する場合には、普図変動時間決定用乱数値を生成する普図変動時間決定用乱数値カウンタの値を普図変動時間決定用乱数値として取得し、取得した普図変動時間決定用乱数値に基づいて複数の変動時間のうちから普図表示装置210に普図を変動表示する時間を1つ選択し、この変動表示時間を、普図変動表示時間として、RAM308に設けた普図変動時間記憶領域に記憶する。なお、保留している普図変動遊技の数は、RAM308に設けた普図保留数記憶領域に記憶するようにしており、当り判定をするたびに、保留している普図変動遊技の数から1を減算した値を、この普図保留数記憶領域に記憶し直すようにしている。また当り判定に使用した乱数値を消去する。
次いで、特図1および特図2それぞれについての特図状態更新処理を行うが、最初に、特図2についての特図状態更新処理(特図2状態更新処理)を行う(ステップS225)。この特図2状態更新処理は、特図2の状態に応じて、次の複数(本例では9つ)の処理のうちの1つの処理を行う。
例えば、特図2変動開始のタイミングにおける特図2状態更新処理では、RAM308に設けた特図2保留数記憶領域に記憶された特図2保留数の値を1だけ減算した値を特図2保留数記憶領域に記憶し直す。それと共に、特図2保留ランプ220の点滅を制御する。例えば、図3の特図2保留ランプ220の4つのLEDを図左から右に向かって順にLED番号1−4とすると、LED番号の若い方から順に特図2保留数分のLEDを例えば赤色に点灯させ、他を消灯させる。
また例えば、特図2変動表示の途中(上述の特図2表示図柄更新タイマの値が1以上)における特図2状態更新処理では、特図2表示装置214を構成する7セグメントLEDの点灯と消灯を繰り返す点灯・消灯駆動制御を行う。この制御を行うことで、特図2表示装置214は特図2の変動表示(特図2変動遊技)を行う。また、コマンド設定送信処理(ステップS233)で回転開始設定送信処理を実行させることを示す所定の送信情報を上述の送信情報記憶領域に追加記憶してから処理を終了する。
また、主制御部300のRAM308には、15R大当りフラグ、2R大当りフラグ、第1小当りフラグ、第2小当りフラグ、第1はずれフラグ、第2はずれフラグ、特図確率変動フラグ、および普図確率変動フラグそれぞれのフラグが用意されている。特図2変動表示時間が経過したタイミング(特図2表示図柄更新タイマの値が1から0になったタイミング)で開始する特図2状態更新処理では、15R大当りフラグはオン、特図確率変動フラグもオン、普図確率変動フラグもオンの場合には図5(a)に示す特図A、15R大当りフラグはオン、特図確率変動フラグはオフ、普図確率変動フラグはオンの場合には特図B、2R大当りフラグはオン、特図確率変動フラグもオン、普図確率変動フラグもオンの場合には特図C、2R大当りフラグはオン、特図確率変動フラグはオフ、普図確率変動フラグはオンの場合には特図D、2R大当りフラグはオン、特図確率変動フラグもオン、普図確率変動フラグはオフの場合には特図E、2R大当りフラグはオン、特図確率変動フラグはオフ、普図確率変動フラグもオフの場合には特図F、第1小当りフラグがオンの場合には特図G、第2小当りフラグがオンの場合には特図H、第1はずれフラグがオンの場合には特図I、第2はずれフラグがオンの場合には特図Jそれぞれの態様となるように、特図2表示装置214を構成する7セグメントLEDの点灯・消灯駆動制御を行い、RAM308の設定領域に特図2停止表示中であることを表す設定を行う。この制御を行うことで、特図2表示装置214は、15R特別大当り図柄(特図A)、15R大当り図柄(特図B)、突然確変図柄(特図C)、突然時短図柄(特図D)、隠れ確変図柄(特図E)、突然通常図柄(特図F)、第1小当り図柄(特図G)、第2小当り図柄(特図H)、第1はずれ図柄(特図I)、および第1はずれ図柄(特図J)のいずれか一つの図柄の確定表示を行う。さらにその後、所定の停止表示期間(例えば500ms間)その表示を維持するためにRAM308に設けた特図2停止時間管理用タイマの記憶領域に停止期間を示す情報を設定する。この設定により、確定表示された特図2が所定期間停止表示され、特図2変動遊技の結果が遊技者に報知される。また、RAM308に設けられた電サポ(詳細は後述)回数記憶部に記憶された電サポ回数が1以上であれば、その電サポ回数から1を減算し、減算結果が1から0となった場合は、特図確率変動中(詳細は後述)でなければ、時短フラグをオフにする。さらに、大当り遊技中(特別遊技状態中)にも、時短フラグをオフにする。また、コマンド設定送信処理(ステップS233)で回転停止設定送信処理を実行させることを示す所定の送信情報を上述の送信情報記憶領域に追加記憶すると共に、変動表示を停止する図柄が特図2であることを示す特図2識別情報を、後述するコマンドデータに含める情報としてRAM308に追加記憶してから処理を終了する。
また、特図2変動遊技の結果が大当りであれば、後述するように、大当りフラグがオンにされる。この大当りフラグがオンの場合には、所定の停止表示期間が終了したタイミング(特図2停止時間管理用タイマの値が1から0になったタイミング)における特図2状態更新処理では、RAM308の設定領域に特図2作動中を設定すると共に、所定の入賞演出期間(例えば3秒間)すなわち装飾図柄表示装置208による大当りを開始することを遊技者に報知する画像を表示している期間待機するためにRAM308に設けた特図2待機時間管理用タイマの記憶領域に入賞演出期間を示す情報を設定する。また、コマンド設定送信処理(ステップS233)で入賞演出設定送信処理を実行させることを示す所定の送信情報を上述の送信情報記憶領域に追加記憶する。
また、所定の入賞演出期間が終了したタイミング(特図2待機時間管理用タイマの値が1から0になったタイミング)で開始する特図2状態更新処理では、所定の開放期間(例えば29秒間、または可変入賞口234に所定球数(例えば10球)の遊技球の入賞を検出するまで)可変入賞口234の扉部材234aの開閉駆動用のソレノイドに、扉部材234aを開放状態に保持する信号を出力すると共に、RAM308に設けた扉開放時間管理用タイマの記憶領域に開放期間を示す情報を設定する。また、コマンド設定送信処理(ステップS233)で大入賞口開放設定送信処理を実行させることを示す所定の送信情報を上述の送信情報記憶領域に追加記憶する。
また、所定の開放期間が終了したタイミング(扉開放時間管理用タイマの値が1から0になったタイミング)で開始する特図2状態更新処理では、所定の閉鎖期間(例えば1.5秒間)可変入賞口234の扉部材234aの開閉駆動用のソレノイドに、扉部材234aを閉鎖状態に保持する信号を出力すると共に、RAM308に設けた扉閉鎖時間管理用タイマの記憶領域に閉鎖期間を示す情報を設定する。また、コマンド設定送信処理(ステップS233)で大入賞口閉鎖設定送信処理を実行させることを示す所定の送信情報を上述の送信情報記憶領域に追加記憶する。
また、この扉部材の開放・閉鎖制御を所定回数(本実施形態では15ラウンドか2ラウンド)繰り返し、終了したタイミングで開始する特図2状態更新処理では、所定の終了演出期間(例えば3秒間)すなわち装飾図柄表示装置208による大当りを終了することを遊技者に報知する画像を表示している期間待機するように設定するためにRAM308に設けた演出待機時間管理用タイマの記憶領域に演出待機期間を示す情報を設定する。また、普図確率変動フラグがオンに設定されていれば、この大当り遊技の終了と同時に、RAM308に設けられた電サポ回数記憶部に電サポ回数(例えば、100回)をセットするともに、RAM308に設けられた時短フラグをオンにする。なお、その普図確率変動フラグがオフに設定されていれば、電サポ回数記憶部に電サポ回数をセットすることもなく、また時短フラグをオンにすることもない。ここでの時短状態とは、大当り遊技を終了してから、次の大当り遊技を開始するまでの時間を短くするため、パチンコ機が遊技者にとって有利な状態になることをいう。この時短フラグがオンに設定されていると、普図高確率(普図確変)状態である。普図高確率状態では普図低確率状態に比べて、普図変動遊技で当りになる確率が高い。また、普図高確率状態の方が、普図低確率状態に比べて普図変動遊技の変動時間は短くなる(普図変短)。さらに、普図高確率状態では普図低確率状態に比べて、特図2始動口232の一対の羽根部材232aの1回の開放における開放時間が長くなり易い(電チュー開延)。加えて、普図高確率状態では普図低確率状態に比べて、一対の羽根部材232aは多く開き易い。これらの普図確変、普図変短、電チュー開延による制御状態をまとめて、電サポ(電動チューリップによる始動口入賞サポート)状態と呼ぶ。また、特図変動遊技の変動時間も短くする制御状態を含めて時短状態と呼ぶ。
また、上述のごとく、時短フラグは、大当り遊技中(特別遊技状態中)にはオフに設定される。したがって、大当り遊技中には、普図低確率状態が維持される。これは、大当り遊技中に普図高確率状態であると、大当り遊技中に可変入賞口234に所定の個数、遊技球が入球するまでの間に特図2始動口232に多くの遊技球が入球し、大当り中に獲得することができる遊技球の数が多くなってしまい射幸性が高まってしまうという問題があり、これを解決するためのものである。
さらに、コマンド設定送信処理(ステップS233)で終了演出設定送信処理を実行させることを示す所定の送信情報を上述の送信情報記憶領域に追加記憶する。
また、所定の終了演出期間が終了したタイミング(演出待機時間管理用タイマの値が1から0になったタイミング)で開始する特図2状態更新処理では、RAM308の設定領域に特図2非作動中を設定する。さらに、特図2変動遊技の結果がはずれであれば、後述するように、はずれフラグがオンにされる。このはずれフラグがオンの場合には、上述した所定の停止表示期間が終了したタイミング(特図2停止時間管理用タイマの値が1から0になったタイミング)における特図2状態更新処理でも、RAM308の設定領域に特図2非作動中を設定する。特図2非作動中の場合における特図2状態更新処理では、何もせずに次のステップS227に移行するようにしている。
続いて、特図1についての特図状態更新処理(特図1状態更新処理)を行う(ステップS227)。この特図1状態更新処理では、特図1の状態に応じて、上述の特図2状態更新処理で説明した各処理を行う。この特図1状態更新処理で行う各処理は、上述の特図2状態更新処理で説明した内容の「特図2」を「特図1」と読み替えた処理と同一であるため、その説明は省略する。なお、特図2状態更新処理と特図1状態更新処理の順番は逆でもよい。
ステップS225およびステップS227における特図状態更新処理が終了すると、今度は、特図1および特図2それぞれについての特図関連抽選処理を行う。ここでも先に、特図2についての特図関連抽選処理(特図2関連抽選処理)を行い(ステップS229)、その後で、特図1についての特図関連抽選処理(特図1関連抽選処理)を行う(ステップS231)。これらの特図関連抽選処理についても、主制御部300が特図2関連抽選処理を特図1関連抽選処理よりも先に行うことで、特図2変動遊技の開始条件と、特図1変動遊技の開始条件が同時に成立した場合でも、特図2変動遊技が先に変動中となるため、特図1変動遊技は変動を開始しない。また、特図2変動遊技の保留数が0より多い場合には、特図1変動遊技の保留に関する抽選処理や変動遊技は行われない。装飾図柄表示装置208による、特図変動遊技の大当り判定の結果の報知は、第1副制御部400によって行われ、特図2始動口232への入賞に基づく抽選の抽選結果の報知が、特図1始動口230への入賞に基づく抽選の抽選結果の報知よりも優先して行われる。特図2関連抽選処理(ステップS229)の場合には、特図2乱数値記憶領域内の最先の(最も過去に記憶された)保留位置から特図2乱数値の組(始動情報)を取得し、不図示の判定用テーブルを用いて大当りとするか否かの決定、小当りとするか否かの決定、特図2の変動表示を開始してから停止表示するまでの時間の決定、特図2の変動表示後に停止表示する図柄(停止図柄)の決定などを行う。特図2乱数値記憶領域から最先の特図2乱数値の組を取り出した後、特図2乱数値記憶領域における当該特図2乱数値の組の記憶はクリアされると共に、特図2保留数を1減算する。このとき特図2乱数値記憶領域から取り出した特図2乱数値の組をRAM308に設けた一時領域(第2の始動情報記憶手段の一例)に当該特図2乱数値の組を記憶し、この一時領域に記憶している当該特図2乱数値の組に基づいて上述の決定を行うようにしてもよい。
ステップS231の次のステップS233では、コマンド設定送信処理を行い、各種のコマンドが第1副制御部400に送信される。なお、第1副制御部400に送信する出力予定情報は例えば16ビットで構成しており、ビット15はストローブ情報(オンの場合、データをセットしていることを示す)、ビット11〜14はコマンド種別(本実施形態では、基本コマンド、図柄変動開始コマンド、図柄変動停止コマンド、入賞演出開始コマンド、終了演出開始コマンド、大当りラウンド数指定コマンド、復電コマンド、RAMクリアコマンドなどコマンドの種類を特定可能な情報)、ビット0〜10はコマンドデータ(コマンド種別に対応する所定の情報)で構成している。
具体的には、ストローブ情報は上述のコマンド送信処理でオンまたはオフになるようにしている。また、コマンド種別が図柄変動開始コマンドの場合であればコマンドデータに、主制御部300のRAM308に格納されている15R大当りフラグや2R大当りフラグの値、特図確率変動フラグの値、特図関連抽選処理で選択したタイマ番号などを示す情報を含み、図柄変動停止コマンドの場合であれば、15R大当りフラグや2R大当りフラグの値、特図確率変動フラグの値などを含み、入賞演出コマンドおよび終了演出開始コマンドの場合であれば、特図確率変動フラグの値などを含み、大当りラウンド数指定コマンドの場合であれば特図確率変動フラグの値、大当りラウンド数などを含むようにしている。コマンド種別が基本コマンドを示す場合は、コマンドデータにデバイス情報、特図1始動口230への入賞の有無、特図2始動口232への入賞の有無、可変入賞口234への入賞の有無などを含む。
また、上述の回転開始設定送信処理では、コマンドデータにRAM308に記憶している、15R大当りフラグや2R大当りフラグの値、特図確率変動フラグの値、特図1関連抽選処理および特図2関連抽選処理で選択したタイマ番号、保留している特図1変動遊技または特図2変動遊技の数などを示す情報を設定する。上述の回転停止設定送信処理では、コマンドデータにRAM308に記憶している、15R大当りフラグや2R大当りフラグの値、特図確率変動フラグの値などを示す情報を設定する。上述の入賞演出設定送信処理では、コマンドデータに、RAM308に記憶している、入賞演出期間中に装飾図柄表示装置208・各種ランプ418・スピーカ120に出力する演出制御情報、特図確率変動フラグの値、保留している特図1変動遊技または特図2変動遊技の数などを示す情報を設定する。上述の終了演出設定送信処理では、コマンドデータに、RAM308に記憶している、演出待機期間中に装飾図柄表示装置208・各種ランプ418・スピーカ120に出力する演出制御情報、特図確率変動フラグの値、保留している特図1変動遊技または特図2変動遊技の数などを示す情報を設定する。上述の大入賞口開放設定送信処理では、コマンドデータにRAM308に記憶している大当りラウンド数、特図確率変動フラグの値、保留している特図1変動遊技または特図2変動遊技の数などを示す情報を設定する。上述の大入賞口閉鎖設定送信処理では、コマンドデータにRAM308に記憶している大当りラウンド数、特図確率変動フラグの値、保留している特図1変動遊技または特図2変動遊技の数などを示す情報を設定する。また、このステップS233では一般コマンド特図保留増加処理も行われる。この一般コマンド特図保留増加処理では、コマンドデータにRAM308の送信用情報記憶領域に記憶している特図識別情報(特図1または特図2を示す情報)、予告情報(事前予告情報、偽事前予告情報、または事前予告無情報のいずれか)を設定する。第1副制御部400では、受信した出力予定情報に含まれるコマンド種別により、主制御部300における遊技制御の変化に応じた演出制御の決定が可能になると共に、出力予定情報に含まれているコマンドデータの情報に基づいて、演出制御内容を決定することができるようになる。
ステップS233の次のステップS235では、外部出力信号設定処理を行う。この外部出力信号設定処理では、RAM308に記憶している遊技情報を、情報出力回路336を介してパチンコ機100とは別体の情報入力回路350に出力する。
ステップS235の次のステップS237では、デバイス監視処理を行う。このデバイス監視処理では、ステップS205において信号状態記憶領域に記憶した各種センサの信号状態を読み出して、所定のエラーの有無、例えば前面枠扉開放エラーの有無または下皿満タンエラーの有無などを監視し、前面枠扉開放エラーまたは下皿満タンエラーを検出した場合に、第1副制御部400に送信すべき送信情報に、前面枠扉開放エラーの有無または下皿満タンエラーの有無を示すデバイス情報を設定する。また、各種ソレノイド332を駆動して特図2始動口232や、可変入賞口234の開閉を制御したり、駆動回路324、326、330を介して普図表示装置210、特図1表示装置212、特図2表示装置214、各種状態表示部328などに出力する表示データを、I/O310の出力ポートに設定する。また、払出要求数送信処理(ステップS219)で設定した出力予定情報を出力ポート(I/O310)を介して第1副制御部400に出力する。
ステップS237の次のステップS239では、低電圧信号がオンであるか否かを監視する。そして、低電圧信号がオンの場合(電源の遮断を検知した場合)にはステップS243に進み、低電圧信号がオフの場合(電源の遮断を検知していない場合)にはステップS241に進む。ステップS241では、タイマ割込終了処理を行う。このタイマ割込終了処理では、ステップS201で一時的に退避した各レジスタの値を元の各レジスタに設定したり、割込許可の設定などを行い、その後、図6に示す主制御部メイン処理に復帰する。一方、ステップS243では、復電時に電断時の状態に復帰するための特定の変数やスタックポインタを復帰データとしてRAM308の所定の領域に退避し、入出力ポートの初期化等の電断処理を行い、その後、図6に示す主制御部メイン処理に復帰する。
次に、図8を用いて、第1副制御部400の処理について説明する。なお、同図(a)は、第1副制御部400のCPU404が実行するメイン処理のフローチャートである。同図(b)は、第1副制御部400のコマンド受信割込処理(ストローブ割込み処理)のフローチャートである。同図(c)は、第1副制御部400のタイマ変数更新割込処理のフローチャートである。
まず、同図(a)のステップS301では、各種の初期設定を行う。電源投入が行われると、まずステップS301で初期化処理が実行される。この初期化処理では、入出力ポートの初期設定や、RAM408内の記憶領域の初期化処理等を行う。この初期化処理は、例えば約30秒の時間を要する。
ステップS301の次のステップS303では、タイマ変数が10以上か否かを判定し、タイマ変数が10となるまでこの処理を繰り返し、タイマ変数が10以上となったときには、ステップS305の処理に移行する。ステップS305では、タイマ変数に0を代入する。
ステップS305の次のステップS307では、コマンド処理を行う。第1副制御部400のCPU404は、主制御部300からコマンドを受信したか否かを判別する。
ステップS307の次のステップS309では、演出制御処理を行う。例えば、ステップS307で新たなコマンドがあった場合には、このコマンドに対応する演出データをROM406から読み出す等の処理を行い、演出データの更新が必要な場合には演出データの更新処理を行う。
ステップS309の次のステップS311では、チャンスボタンの押下を検出していた場合、ステップS309で更新した演出データをチャンスボタンの押下に応じた演出データに変更する処理を行う。
ステップS311の次のステップS313では、ステップS309で読み出した演出データの中に音源IC416への命令がある場合には、この命令を音源IC416に出力する。
ステップS313の次のステップS315では、ステップS309で読み出した演出データの中に各種ランプ418への命令がある場合には、この命令を駆動回路420に出力する。
ステップS315の次のステップS317では、ステップS309で読み出した演出データの中に演出可動体224への命令がある場合には、この命令を駆動回路422に出力する。
ステップS317の次のステップS319では、ステップS309で読み出した演出データの中に第2副制御部500に送信する制御コマンドがある場合には、この制御コマンドを出力する設定を行い、ステップS303へ戻る。
次に、同図(b)を用いて、第1副制御部400のコマンド受信割込処理について説明する。このコマンド受信割込処理は、第1副制御部400が、主制御部300が出力するストローブ信号を検出した場合に実行する処理である。コマンド受信割込処理のステップS401では、主制御部300が出力したコマンドを未処理コマンドとしてRAM408に設けたコマンド記憶領域に記憶する。
次に、同図(c)を用いて、第1副制御部400のCPU404によって実行する第1副制御部タイマ割込処理について説明する。第1副制御部400は、所定の周期(本実施例では2msに1回)でタイマ割込を発生するハードウェアタイマを備えており、このタイマ割込を契機として、タイマ割込処理を所定の周期で実行する。第1副制御部タイマ割込処理のステップS501では、図8(a)に示す第1副制御部メイン処理におけるステップS303において説明したRAM408のタイマ変数記憶領域の値に、1を加算して元のタイマ変数記憶領域に記憶する。従って、ステップS303において、タイマ変数の値が10以上と判定されるのは20ms毎(2ms×10)となる。
ステップS501の次のステップS503では、第1副制御部400のメイン処理におけるステップS319で設定された第2副制御部500への制御コマンドの送信やその他演出用乱数値の更新処理等を行う。
次に、図9乃至図17を用いて本発明の第1の実施の形態によるパチンコ機100の実施例について説明する。まず、図9および図10を用いて本発明の第1の実施の形態によるパチンコ機100の実施例1について説明する。本実施例は演出手段が可動物である場合を示している。図9(a)は本実施例による演出装置をブロック図で示している。演出可動物209は第一の動作手段としての第一ソレノイド711と第二の動作手段としての第二ソレノイド713とに接続されている。第一ソレノイド711の可動鉄心(不図示)は、第一の動作として、例えば、パチンコ機100を島設備に設置した状態で上下方向に移動可能になっている。第二ソレノイド713の可動鉄心(不図示)は、第二の動作として、例えば、パチンコ機100を島設備に設置した状態で上下方向に移動可能になっている。演出可動物209側の基板には、第一ソレノイド711を制御可能な第一の制御手段としての第一ドライバ707と、第二ソレノイド713を制御可能な第二の制御手段としての第二ドライバ709とが配置されている。
第1副制御部400の基本回路402は駆動回路421を介して演出可動物209に接続されている。より具体的には、基本回路402は、第1副制御部400を構成する第1副基板160に設けられたコネクタ701からケーブル703を介して演出可動物209側の基板上に配置されたコネクタ705に電気的に接続される。コネクタ705からは所定配線が第一ドライバ707に接続され、別の所定配線が第二ドライバ709に接続されている。第一ドライバ707は演出可動物209の第一ソレノイド711に所定の信号を出力して第一ソレノイド711の動作を制御するようになっている。第二ドライバ709は演出可動物209の第二ソレノイド713に所定の信号を出力して第二ソレノイド713の動作を制御するようになっている。
図9(b)は本実施例による演出手段としての演出可動物209で実行可能な演出例を示している。図9(b)の左側は特図変動遊技の最中であってリーチ演出が実行されており、装飾図柄表示装置208の左右図柄表示領域208a、208cに「装飾7」が停止表示され、中図柄表示領域208bには装飾図柄が上から下に回転して移動する状態(図中、下向きの矢印で示す)において、「番長」の文字が水平方向に表示された横長長方形状枠の演出可動物209が装飾図柄表示装置208の上方に位置している状態を示している。第一ソレノイド711と第二ソレノイド713は水平方向に離間して配置されている。
図9(b)の右側は特図変動遊技の最中であってリーチ演出が実行されており、装飾図柄表示装置208の左右図柄表示領域208a、208cに「装飾7」が停止表示され、中図柄表示領域208bには装飾図柄が上から下に回転して移動する状態において、「番長」の文字が水平方向に表示された横長長方形状枠の演出可動物209が装飾図柄表示装置208の手前側に移動して装飾図柄表示装置208の表示領域上方を一部隠している状態を示している。
演出可動物209は、図9(b)の左側の状態から右側の状態に連続的に位置変化する演出(第一の演出)を実行可能である。演出可動物209がこの演出を行うために、複数の動作手段が共働して動作する。図9(c)は演出可動物209で行われる演出の実行動作を例示している。図9(c)の左側および右側はそれぞれ、装飾図柄表示装置208と演出可動物209および第一および第二ソレノイド711、713の配置関係および動作を説明するために遊技盤200の盤面法線方向かつ鉛直方向に切断した断面を模式的に示している。
第一ソレノイド711は、不図示のヨークおよびコイルを収容したボビンと、ボビン内に挿通された可動鉄心とを有している。可動鉄心の先端には、所定位置に回転軸を有する揺動冶具の一端が固定されている。可動鉄心は上下方向に移動可能に保持されている。第一ドライバ707の制御によりコイルに電流を流さない状態で可動鉄心はばねにより下方に付勢されており、コイルに電流を流す(励磁する)ことにより上方に移動する。これにより、可動鉄心の先端に取り付けられた揺動冶具の一端が上下動するとともに回転軸を挟んで反対側の搖動治具の他端に回動可能に取り付けられた演出可動物209が搖動治具の一端と逆向きに上下動するようになっている。第二ソレノイド713も第一ソレノイド711と同一構成で同一形状の搖動治具を介して演出可動物209に接続されている。
図9(c)の左側は、演出可動物209が装飾図柄表示装置208の上方に位置している状態を例示している。第一ドライバ707の制御により第一ソレノイド711の可動鉄心は下方に付勢されており、第二ドライバ709の制御により第二ソレノイド713の可動鉄心も第一ソレノイド711の可動鉄心と同じ上下位置になるように下方に付勢されている。このように、第一ソレノイド711と第二ソレノイド713とが共働して演出可動物209を装飾図柄表示装置208の上方に位置させた状態を維持している。
図9(c)の右側は、演出可動物209が装飾図柄表示装置208の手前側に移動して装飾図柄表示装置208の表示領域上方を一部隠している状態を示している。第一ドライバ707の制御により第一ソレノイド711の可動鉄心は上方に移動されており、第二ドライバ709の制御により第二ソレノイド713の可動鉄心も第一ソレノイド711の可動鉄心と同じ上下位置になるように上方に移動されている。このように、第一ソレノイド711と第二ソレノイド713とが共働して演出可動物209が装飾図柄表示装置208の手前側に移動して装飾図柄表示装置208の表示領域上方を一部隠している状態を維持している。
第一ドライバ707の制御による第一ソレノイド711の第一の動作と、第二ドライバ709の制御による第二ソレノイド713の第二の動作が共働して、演出可動物209は、図9(b)および(c)の左側の状態から右側の状態に連続的に位置変化する演出(第一の演出)を実行可能である。第一の演出では、第一の位置(初期位置)から第二の位置(移動位置)に移動し、演出可動物209の左右方向が第一の位置と同じとなる。
なお、本実施例において、第一ソレノイド711と第二ソレノイド713に代えて、双方にモータを用いてもよいし、一方にソレノイドを用い他方にモータを用いてもよい。また、演出可動物209は液晶表示装置であってもよい。液晶表示装置の場合は、移動後に装飾図柄表示装置208で表示されていた画像の少なくとも一部を表示するようにしてもよい。
また、上記実施例では、装飾図柄表示装置208にはリーチ表示中を例示したが、これに限らず、特図変動中、はずれ表示中、大当り表示中、大当り中、デモ表示中、操作演出中、エラー表示中などの他の表示演出中に移動演出をしてもよい。また、第一の演出中に、他の演出デバイス(音、ランプ、他の可動物、他の表示装置)で演出を行ってもよい。
図10(a)は、図9(a)に示すブロック図と同一であり、第二ドライバ709内に異常発生部715が生じて正常な制御ができない場合を例示している。異常発生部715での異常原因は、例えばノイズの影響による異常制御、高温による熱暴走、経年劣化や遊技台に加わる衝撃による接触不良や基板からの脱落などがある。
図10(b)は、図9(b)と同様の図示であるが第二ドライバ709に異常が発生した場合の演出可動物209で実行可能な演出例を示している。図10(b)の左側は、第一および第二ソレノイド711、713が非励磁状態で演出可動物209が装飾図柄表示装置208の上方に位置しており、図9(b)の左側と同一の状態である。
図10(b)の右側は、第二ドライバ709の異常で第二ソレノイド713が励磁されずに第一ソレノイド711だけが励磁されて演出可動物209が装飾図柄表示装置208の手前側に移動して装飾図柄表示装置208の表示領域上方を一部隠している状態を示している。第一ドライバ707の制御により第一ソレノイド711の可動鉄心は上方に移動しているが、第二ドライバ709の異常により第二ソレノイド713の可動鉄心は励磁されず上方に移動していない。このため、演出可動物209は、図10(b)の左側の状態から右側の状態に連続的に位置変化する演出を実行するが、この演出は図9(b)に示す第一の演出とは異なっている。第一の演出では、第一の位置(初期位置)から第二の位置(移動位置)に移動し、また、演出可動物209の左右方向が第一の位置と同じとなるが、図10(b)に示す例では、遊技者から見て演出可動物209の左方だけが装飾図柄表示装置208の表示領域上方を一部隠すような左下斜めの配置となる。
本実施例によれば、演出装置が第一ドライバ707に制御される第一ソレノイド711と第二ドライバ709に制御される第二ソレノイド713を有しているので、第一ドライバ707または第二ドライバ709のうちの何れかが異常で当該ドライバに係る第一ソレノイド711または第二ソレノイド713を動作させられない場合であっても、何らかの演出を行うことができ、遊技の興趣を向上させることができる場合がある。また、遊技店の店員が演出可動物209の正常な演出態様を予め知っている場合には、演出態様の違いから第一または第二ドライバ707、709の異常を発見することができる場合がある。
また、本実施例において、制御を少なくとも実行可能な第三の制御手段としての第1副制御部400の基本回路402を備え、基本回路402は、演出可動物209に第一の演出を実行させることが可能なものであることを特徴とする。こうすることにより、基本回路402の制御で第一の演出を行うことができるため、第一ソレノイド711と第二ソレノイド713の動作を同期しやすくすることができる場合がある。
また、基本回路402は、第一ドライバ707と第二ドライバ709に所定の制御信号を出力可能なものであることを特徴とする。こうすることにより、第1副制御部400が制御信号を第一および第二ドライバ707、709に出力するので、第一および第二ソレノイド711、713の動作を同期しやすくすることができる場合がある。
また、第一ドライバ707と第二ドライバ709は、第一のコネクタとしてのコネクタ705に接続されるものであり、基本回路402は、コネクタ705を介して、第一ドライバ707と第二ドライバ709に信号を出力可能なものである。
次に、図11を用いて本発明の第1の実施の形態によるパチンコ機100の実施例2について説明する。本実施例は演出手段が7セグメント表示器727である場合を示している。図11(a)は本実施例による演出装置をブロック図で示している。7セグメント表示器727は第一の動作手段としてのセグメントa〜dと第二の動作手段としてのセグメントe〜gとを有している。セグメントa〜dは、第一の動作としてセグメントa〜dを全て点灯させる全点灯を実行できるようになっている。セグメントe〜gは、第二の動作としてセグメントe〜gを全て点灯させる全点灯を実行できるようになっている。7セグメント表示器727が搭載された照明基板729には、セグメントa〜dを制御可能な第一の制御手段としての第一ドライバ723と、セグメントe〜gを制御可能な第二の制御手段としての第二ドライバ725とが配置されている。
第1副制御部400の基本回路402は駆動回路420を介して照明基板729に接続されている。より具体的には、基本回路402は、第1副制御部400を構成する第1副基板160に設けられたコネクタ717からケーブル719を介して照明基板729上に配置されたコネクタ721に電気的に接続される。コネクタ721からは所定配線が第一ドライバ723に接続され、別の所定配線が第二ドライバ725に接続されている。第一ドライバ723は7セグメント表示器727のセグメントa〜dに所定の信号を出力してセグメントa〜dの点灯動作を制御するようになっている。第二ドライバ725は7セグメント表示器727のセグメントe〜gに所定の信号を出力してセグメントe〜gの点灯動作を制御するようになっている。
図11(b)は本実施例による演出手段としての7セグメント表示器727で実行可能な演出例を示している。図11(b)の左側は、7セグメント表示器727の全セグメントa〜gが消灯した状態を示している。図11(b)の右側は、7セグメント表示器727の全セグメントa〜gが点灯して算用数字の「8」を想起させる模様が視認できる状態になっていることを示している。
7セグメント表示器727は、図11(b)の左側の全消灯状態から右側の全点灯状態に変化する演出(第一の演出)を実行可能である。7セグメント表示器727がこの演出を行うために、複数の動作手段が共働して動作する。
第一ドライバ723の制御による7セグメント表示器727のセグメントa〜dの第一の動作と、第二ドライバ725の制御による7セグメント表示器727のセグメントe〜gの第二の動作が共働して、7セグメント表示器727は、図11(b)の左側の全消灯状態から右側の全点灯状態に変化する演出(第一の演出)を実行可能である。なお、第一の演出中に、他の演出デバイス(音、ランプ、他の可動物、他の表示装置)で演出を行ってもよい。
図11(c)は、図11(a)に示すブロック図と同一であり、第二ドライバ725内に異常発生部731が生じて正常な制御ができない場合を例示している。異常発生部731での異常原因は、例えばノイズの影響による異常制御、高温による熱暴走、経年劣化や遊技台に加わる衝撃による接触不良や基板からの脱落などがある。
図11(d)は、図11(b)と同様の図示であるが第二ドライバ725に異常が発生した場合の7セグメント表示器727で実行可能な演出例を示している。図11(d)の左側は、7セグメント表示器727の全セグメントa〜gが消灯した図11(b)の左側と同一の状態である。
図11(d)の右側は、第二ドライバ725の異常でセグメントe〜gが消灯状態を維持している状態を示している。第一ドライバ723の制御によりセグメントa〜dは点灯しているが、第二ドライバ725の異常によりセグメントe〜gは消灯したままである。このため、7セグメント表示器727は、図11(d)の左側の状態から右側の状態に点灯状態を変化させる演出を実行するが、この演出は図11(b)に示す第一の演出とは異なっている。第一の演出では、第一の状態(全消灯)から第二の状態(全点灯)に点灯状態を変化させるが、図11(d)に示す例では、セグメントa〜dの点灯とセグメントe〜gの消灯により全体視でアルファベットの「C」を想起させる模様が視認できる状態になる。
本実施例によれば、7セグメント表示器727が第一ドライバ723に制御されるセグメントa〜dと第二ドライバ725に制御されるセグメントe〜gを有しているので、第一ドライバ723または第二ドライバ725のうちの何れかが異常で当該ドライバに係るセグメントa〜dまたはセグメントe〜gを発光動作させられない場合であっても、何らかの演出を行うことができ、遊技の興趣を向上させることができる場合がある。また、遊技店の店員が7セグメント表示器727の正常な演出態様を予め知っている場合には、演出態様の違いから第一または第二ドライバ723、725の異常を発見することができる場合がある。
また、本実施例において、制御を少なくとも実行可能な第三の制御手段としての第1副制御部400の基本回路402を備え、基本回路402は、7セグメント表示器727に第一の演出を実行させることが可能なものであることを特徴とする。こうすることにより、基本回路402の制御で第一の演出を行うことができるため、セグメントa〜dとセグメントe〜gの発光動作を同期しやすくすることができる場合がある。
また、基本回路402は、第一ドライバ723と第二ドライバ725に所定の制御信号を出力可能なものであることを特徴とする。こうすることにより、第1副制御部400が制御信号を第一および第二ドライバ723、725に出力するので、セグメントa〜dとセグメントe〜gの発光動作を同期しやすくすることができる場合がある。
また、第一ドライバ723と第二ドライバ725は、第一のコネクタとしてのコネクタ721に接続されるものであり、基本回路402は、コネクタ721を介して、第一ドライバ723と第二ドライバ725に信号を出力可能なものである。
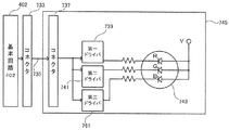
次に、図12および図13を用いて本発明の第1の実施の形態によるパチンコ機100の実施例3について説明する。本実施例は演出手段がフルカラーLED743である場合を示している。図12(a)は本実施例による演出装置をブロック図で示している。フルカラーLED743は第一の動作手段としての赤色LED(以下、「R」と表記する場合がある)と第二の動作手段としての緑色LED(以下、「G」と表記する場合がある)と青色LED(以下、「B」と表記する場合がある)とを有している。「R」は、第一の動作として例えば256階調のうちの最大階調255(以下、R255と表記する場合がある)で発光することができるようになっている。「G」、「B」は、第二の動作として例えば256階調のうちの最大階調255(以下、G255、B255と表記する場合がある)で発光することができるようになっている。フルカラーLED743が搭載された照明基板745には、「R」を制御可能な第一の制御手段としての第一ドライバ739と、「G」、「B」を制御可能な第二の制御手段としての第二ドライバ741とが配置されている。なお、第一ドライバ739と第二ドライバ741の両方または何れか一方のみを別の基板(例えば、第一副基板160または第二副基板164)に配置してもよい。また、第一ドライバ739と第二ドライバ741とフルカラーLED743をそれぞれ別の基板に配置してもよい。
第1副制御部400の基本回路402は駆動回路420を介して照明基板745に接続されている。より具体的には、基本回路402は、第1副制御部400を構成する第1副基板160に設けられたコネクタ733からケーブル735を介して照明基板745上に配置されたコネクタ737に電気的に接続される。コネクタ737からは所定配線が第一ドライバ739に接続され、別の所定配線が第二ドライバ741に接続されている。第一ドライバ739はフルカラーLED743の「R」に所定の信号を出力して「R」の発光動作を制御するようになっている。第二ドライバ741はフルカラーLED743の「G」、「B」に所定の信号を出力して「G」、「B」の発光動作を制御するようになっている。フルカラーLED743の「R」のカソード側は所定の抵抗等を介して第一ドライバ739に接続されている。フルカラーLED743の「G」と「B」のカソード側は所定の抵抗等を介して第二ドライバ741に接続されている。フルカラーLED743の各「R」、「G」、「B」のアノード側には電圧Vが印加されている。
図12(b)は本実施例による演出手段としてのフルカラーLED743で実行可能な演出例を示している。図12(b)の左側は特図変動遊技の最中であってリーチ演出が実行されており、装飾図柄表示装置208の左右図柄表示領域208a、208cに「装飾7」が停止表示され、中図柄表示領域208bには装飾図柄が上から下に回転して移動する状態において、「番長」の文字が水平方向に表示された横長長方形状枠の演出可動物209が装飾図柄表示装置208の上方に位置している状態を示している。演出可動物209に表示されている「番」と「長」の間の領域にフルカラーLED743が配置されている。フルカラーLED743は非発光状態に制御されている。
図12(b)の右側は、同左側と同一構成だが演出可動物209に配置されているフルカラーLED743が、各「R」、「G」、「B」が最大階調255のR255、G255、B255で白色発光している状態を示している。
フルカラーLED743は、図12(b)の左側の全消灯状態から右側の白色発光状態に変化する演出(第一の演出)を実行可能である。フルカラーLED743がこの演出を行うために、複数の動作手段が共働して動作する。
第一ドライバ739の制御によるフルカラーLED743の「R」の第一の動作と、第二ドライバ741の制御によるフルカラーLED743の「G」、「B」の第二の動作が共働して、フルカラーLED743は、図12(b)の左側の全消灯状態から右側の白色発光状態に変化する演出(第一の演出)を実行可能である。
図13(a)は、図12(a)に示すブロック図と同一であり、第二ドライバ741内に異常発生部747が生じて正常な制御ができない場合を例示している。異常発生部747での異常原因は、例えばノイズの影響による異常制御、高温による熱暴走、経年劣化や遊技台に加わる衝撃による接触不良や基板からの脱落などがある。
図13(b)は、図12(b)と同様の図示であるが第二ドライバ741に異常が発生した場合のフルカラーLED743で実行可能な演出例を示している。図13(b)の左側は、フルカラーLED743の全LEDの「R」、「G」、「B」が消灯した図12(b)の左側と同一の状態に制御されている。
図13(b)の右側は、第二ドライバ741の異常でフルカラーLED743の「G」、「B」が消灯状態を維持している状態を示している。第一ドライバ739の制御により「R」は赤色発光しているが、第二ドライバ741の異常により「G」、「B」は消灯したままである。このため、フルカラーLED743は、図13(b)の左側の状態から右側の状態に発光状態を変化させる演出を実行するが、この演出は図12(b)に示す第一の演出とは異なっている。第一の演出では、第一の状態(全消灯)から第二の状態(白色発光)に発光状態を変化させるが、図13(b)に示す例では、「R」の赤色発光と「G」、「B」の消灯により赤色点灯(R255、G0、B0)が視認できる状態になる。
本実施例によれば、フルカラーLED743が第一ドライバ739に制御される「R」と第二ドライバ741に制御される「G」、「B」を有しているので、第一ドライバ739または第二ドライバ741のうちの何れかが異常で当該ドライバに係る「R」、または「G」および「B」を発光動作させられない場合であっても、何らかの演出を行うことができ、遊技の興趣を向上させることができる場合がある。また、遊技店の店員がフルカラーLED743の正常な演出態様を予め知っている場合には、演出態様の違いから第一または第二ドライバ739、741の異常を発見することができる場合がある。
また、本実施例において、制御を少なくとも実行可能な第三の制御手段としての第1副制御部400の基本回路402を備え、基本回路402は、フルカラーLED743に第一の演出を実行させることが可能なものであることを特徴とする。こうすることにより、基本回路402の制御で第一の演出を行うことができるため、「R」と、「G」および「B」の発光動作を同期しやすくすることができる場合がある。
また、基本回路402は、第一ドライバ739と第二ドライバ741に所定の制御信号を出力可能なものであることを特徴とする。こうすることにより、第1副制御部400が制御信号を第一および第二ドライバ739、741に出力するので、「R」と、「G」および「B」の発光動作を同期しやすくすることができる場合がある。
また、第一ドライバ739と第二ドライバ741は、第一のコネクタとしてのコネクタ737に接続されるものであり、基本回路402は、コネクタ737を介して、第一ドライバ739と第二ドライバ741に信号を出力可能なものである。
また、上記実施例では、装飾図柄表示装置208にはリーチ表示中を例示したが、これに限らず、特図変動中、はずれ表示中、大当り表示中、大当り中、デモ表示中、操作演出中、エラー表示中などの他の表示演出中に移動演出をしてもよい。また、第一の演出中に、他の演出デバイス(音、ランプ、他の可動物、他の表示装置)で演出を行ってもよい。
次に、図14を用いて本発明の第1の実施の形態によるパチンコ機100の実施例3の変形例1について説明する。本変形例は演出手段が2つあり、第一の演出手段がフルカラーLED743であり、第二の演出手段がフルカラーLED749である場合を示している。図14(a)は本変形例による演出装置の一部をブロック図で示している。図14(a)に示していない演出装置の残余の構成は図12(a)と同一なので説明は省略する。フルカラーLED743は第一の動作手段としての赤色LED(以下、「R」と表記する場合がある)と第二の動作手段としての緑色LED(以下、「G」と表記する場合がある)と青色LED(以下、「B」と表記する場合がある)とを有している。「R」は、第一の動作として例えば256階調のうちの最大階調255(以下、R255と表記する場合がある)で発光することができるようになっている。「G」、「B」は、第二の動作として例えば256階調のうちの最大階調255(以下、G255、B255と表記する場合がある)で発光することができるようになっている。フルカラーLED743が搭載された照明基板745には、「R」を制御可能な第一の制御手段としての第一ドライバ739と、「G」、「B」を制御可能な第二の制御手段としての第二ドライバ741とが配置されている。
また、上記の第一の演出(例えば、白色発光)を実行可能な第二の演出手段としてのフルカラーLED749は、第四の動作としてR255、G255、B255の白色発光を実行可能な第四の動作手段としての「R」、「G」、「B」を備えている。
第一ドライバ739はフルカラーLED743の「R」に所定の信号を出力して「R」の発光動作を制御するとともに、フルカラーLED749の「R」、「G」、「B」に所定の信号を出力してフルカラーLED749の「R」、「G」、「B」の発光動作を制御するようになっている。第二ドライバ741はフルカラーLED743の「G」、「B」に所定の信号を出力して「G」、「B」の発光動作を制御するようになっている。フルカラーLED743の「R」のカソード側と、フルカラーLED749の「R」、「G」、「B」のカソード側はそれぞれ所定の抵抗等を介して第一ドライバ739に接続されている。フルカラーLED743の「G」と「B」のカソード側は所定の抵抗等を介して第二ドライバ741に接続されている。2つのフルカラーLED743、749の各「R」、「G」、「B」のアノード側には電圧Vが印加されている。
図14(b)は本変形例による演出手段としての2つのフルカラーLED743、749で実行可能な演出例を示している。図14(b)の上側は、横長長方形状枠の演出可動物209に表示されている「番」と「長」の間の領域で「番」に近い方にフルカラーLED743が配置され、「長」に近い方にフルカラーLED749が配置されている。2つのフルカラーLED743、749は非発光状態に制御されている。
図14(b)の下側は、同上側と同一構成だが演出可動物209に配置されている2つのフルカラーLED743、749の各「R」、「G」、「B」が最大階調R255、G255、B255で白色発光状態に制御されている。
2つのフルカラーLED743、749は、図14(b)の上側の全消灯状態から下側の白色発光状態に変化する演出(第一の演出)を実行可能である。2つのフルカラーLED743、749がこの演出を行うために、複数の動作手段が共働して動作する。
第一ドライバ739の制御によるフルカラーLED743の「R」の第一の動作と、フルカラーLED749の「R」、「G」、「B」の第四の動作と、第二ドライバ741の制御によるフルカラーLED743の「G」、「B」の第二の動作が共働して、2つのフルカラーLED743、749は、図14(b)の上側の全消灯状態から下側の白色発光状態に変化する演出(第一の演出)を実行可能である。
図14(c)は、図14(a)に示すブロック図と同一であり、第二ドライバ741内に異常発生部751が生じて正常な制御ができない場合を例示している。異常発生部751での異常原因は、例えばノイズの影響による異常制御、高温による熱暴走、経年劣化や遊技台に加わる衝撃による接触不良や基板からの脱落などがある。
図14(d)は、図14(b)と同様の図示であるが第二ドライバ741に異常が発生した場合の2つのフルカラーLED743、749で実行可能な演出例を示している。図14(d)の上側は、2つのフルカラーLED743、749の全LEDの「R」、「G」、「B」が消灯した図14(b)の上側と同一の状態である。
図14(d)の下側は、第二ドライバ741の異常でフルカラーLED743の「G」、「B」が消灯状態を維持している状態を示している。第一ドライバ739の制御によりフルカラーLED743の「R」は赤色発光しているが、第二ドライバ741の異常によりフルカラーLED743の「G」、「B」は消灯したままである。一方、正常な第一ドライバ739に接続されているフルカラーLED749の各「R」、「G」、「B」は最大階調R255、G255、B255で白色発光している。
このため、フルカラーLED743は、図14(d)の上側の状態から下側の状態に発光状態を変化させる演出を実行するが、この演出は図14(b)に示す第一の演出とは異なっている。第一の演出では、第一の状態(全消灯)から第二の状態(白色発光)に発光状態を変化させるが、図14(d)に示す例では、フルカラーLED743の「R」の赤色発光と「G」、「B」の消灯により赤色点灯(R255、G0、B0)が視認できる状態になる。一方、フルカラーLED749では第一の演出と同じ演出が実行される。
このように本変形例によれば、第二ドライバ741が異常の場合にはフルカラーLED749で第一の演出を実行可能だがフルカラーLED743で第一の演出を実行不可能となるため、フルカラーLED749とフルカラーLED743の発光態様の違いで異常を発見しやすくなる場合がある。
図14(e)は、図14(a)に示すブロック図と同一であり、第一ドライバ739内に異常発生部753が生じて正常な制御ができない場合を例示している。異常発生部753での異常原因は、例えばノイズの影響による異常制御、高温による熱暴走、経年劣化や遊技台に加わる衝撃による接触不良や基板からの脱落などがある。
図14(f)は、図14(b)と同様の図示であるが第一ドライバ739に異常が発生した場合の2つのフルカラーLED743、749で実行可能な演出例を示している。図14(f)の上側は、2つのフルカラーLED743、749の全LEDの「R」、「G」、「B」が消灯した図14(b)の上側と同一の状態である。
図14(f)の下側は、第一ドライバ739の異常でフルカラーLED749の「R」、「G」、「B」が消灯状態を維持している状態を示している。また、第一ドライバ739の異常によりフルカラーLED743の「R」は非発光状態となるが、正常な第二ドライバ741の制御によりフルカラーLED743の「G」、「B」は最大階調G255、B255で青緑色発光をしている。
このため、フルカラーLED743は、図14(f)の上側の状態から下側の状態に発光状態を変化させる演出を実行するが、この演出は図14(b)に示す第一の演出とは異なっている。第一の演出では、第一の状態(全消灯)から第二の状態(白色発光)に発光状態を変化させるが、図14(f)に示す例では、「R」の非発光と「G」、「B」の発光により青緑色発光(R0、G255、B255)が視認できる状態になる。一方、フルカラーLED749では第一の演出とは異なる非発光状態が維持される。
このように本変形例によれば、第一ドライバ739が異常の場合にはフルカラーLED743で第一の演出とは異なる演出を実行可能だがフルカラーLED749で演出を実行不可能となるため、フルカラーLED749とフルカラーLED743の態様の違いで異常を発見しやすくなる場合がある。
次に、図15を用いて本発明の第1の実施の形態によるパチンコ機100の実施例3の変形例2について説明する。本変形例は演出手段が3つあり、第一の演出手段がフルカラーLED743であり、第二の演出手段がフルカラーLED749であり、第三の演出手段がフルカラーLED755である場合を示している。図15(a)は本変形例による演出装置の一部をブロック図で示している。図15(a)に示していない演出装置の残余の構成は図12(a)と同一なので説明は省略する。フルカラーLED743は第一の動作手段としての赤色LED(以下、「R」と表記する場合がある)と第二の動作手段としての緑色LED(以下、「G」と表記する場合がある)と青色LED(以下、「B」と表記する場合がある)とを有している。「R」は、第一の動作として例えば256階調のうちの最大階調255(以下、R255と表記する場合がある)で発光することができるようになっている。「G」、「B」は、第二の動作として例えば256階調のうちの最大階調255(以下、G255、B255と表記する場合がある)で発光することができるようになっている。フルカラーLED743が搭載された照明基板745には、「R」を制御可能な第一の制御手段としての第一ドライバ739と、「G」、「B」を制御可能な第二の制御手段としての第二ドライバ741とが配置されている。
また、上記の第一の演出(例えば、白色発光)を実行可能な第二の演出手段としてのフルカラーLED749は第一の制御手段である第一ドライバ739で制御される。フルカラーLED749の「R」、「G」、「B」は第四の動作手段であり、第四の動作となる白色発光(R255、G255、B255)を実行可能である。
また、上記の第一の演出(例えば、白色発光)を実行可能な第三の演出手段としてのフルカラーLED755は第二の制御手段である第二ドライバ741で制御される。フルカラーLED755の「R」、「G」、「B」は第五の動作手段であり、第五の動作となる白色発光(R255、G255、B255)を実行可能である。
第一ドライバ739はフルカラーLED743の「R」に所定の信号を出力して当該「R」の発光動作を制御するとともに、フルカラーLED749の「R」、「G」、「B」に所定の信号を出力してフルカラーLED749の「R」、「G」、「B」の発光動作を制御するようになっている。第二ドライバ741はフルカラーLED743の「G」、「B」に所定の信号を出力して当該「G」、「B」の発光動作を制御するとともに、フルカラーLED755の「R」、「G」、「B」に所定の信号を出力してフルカラーLED755の「R」、「G」、「B」の発光動作を制御するようになっている。フルカラーLED743の「R」のカソード側と、フルカラーLED749の「R」、「G」、「B」のカソード側はそれぞれ所定の抵抗等を介して第一ドライバ739に接続されている。フルカラーLED743の「G」と「B」のカソード側と、フルカラーLED755の「R」、「G」、および「B」は所定の抵抗等を介して第二ドライバ741に接続されている。3つのフルカラーLED743、749、755の各「R」、「G」、「B」のアノード側には電圧Vが印加されている。
図15(b)は本変形例による演出手段としての3つのフルカラーLED743、749、755で実行可能な演出例を示している。図15(b)の上側は、横長長方形状枠の演出可動物209に表示されている「番」と「長」の間の領域で「番」に近い方にフルカラーLED755が配置され、「長」に近い方にフルカラーLED749が配置され、フルカラーLED755とフルカラーLED749の間にフルカラーLED743が配置されている。3つのフルカラーLED743、749、755は非発光状態に制御されている。
図15(b)の下側は、同上側と同一構成だが演出可動物209に配置されている3つのフルカラーLED743、749、755の各「R」、「G」、「B」が最大階調R255、G255、B255で白色発光状態に制御されている。
3つのフルカラーLED743、749、755は、図15(b)の上側の全消灯状態から下側の白色発光状態に変化する演出(第一の演出)を実行可能である。3つのフルカラーLED743、749、755がこの演出を行うために、複数の動作手段が共働して動作する。
第一ドライバ739の制御によるフルカラーLED743の「R」の第一の動作と、フルカラーLED749の「R」、「G」、「B」の第四の動作と、第二ドライバ741の制御によるフルカラーLED743の「G」、「B」の第二の動作と、フルカラーLED755の「R」、「G」、「B」の第五の動作とが共働して、3つのフルカラーLED743、749、755は、図15(b)の上側の全消灯状態から下側の白色発光状態に変化する演出(第一の演出)を実行可能である。
図15(c)は、図15(a)に示すブロック図と同一であるが第二ドライバ741内に異常発生部757が生じて正常な制御ができない場合を例示している。異常発生部757での異常原因は、例えばノイズの影響による異常制御、高温による熱暴走、経年劣化や遊技台に加わる衝撃による接触不良や基板からの脱落などがある。
図15(d)は、図15(b)と同様の図示であるが第二ドライバ741に異常が発生した場合の3つのフルカラーLED743、749、755で実行可能な演出例を示している。図15(d)の上側は、3つのフルカラーLED743、749、755の全LEDの「R」、「G」、「B」が消灯した図15(b)の上側と同一の状態である。
図15(d)の下側は、第二ドライバ741の異常でフルカラーLED743の「G」、「B」が消灯状態を維持し、フルカラーLED755の「R」、「G」、「B」が消灯状態を維持している状態を示している。正常な第一ドライバ739の制御によりフルカラーLED743の「R」は赤色発光し、フルカラーLED749は「R」、「G」、「B」が発光して白色点灯(R255、G255、B255)している。
このため、フルカラーLED743は、図15(d)の上側の状態から下側の状態に発光状態を変化させる演出を実行するが、この演出は図15(b)に示す第一の演出とは異なっている。第一の演出では、第一の状態(全消灯)から第二の状態(白色発光)に発光状態を変化させるが、図15(d)に示す例では、フルカラーLED743の「R」の赤色発光と「G」、「B」の消灯により赤色点灯(R255、G0、B0)が視認できる状態になる。一方、フルカラーLED749では第一の演出と同じ演出が実行される。また、フルカラーLED755では非発光状態が維持される。
このように本変形例によれば、第二ドライバ741が異常の場合にはフルカラーLED749で第一の演出を実行可能だがフルカラーLED743で第一の演出を実行不可能となるため、フルカラーLED749とフルカラーLED743の発光態様の違いで異常を発見しやすくなる場合がある。また、フルカラーLED755が非発光状態を維持しているので、フルカラーLED749やフルカラーLED743と発光態様が異なることから異常を発見しやすくなる場合がある。
図15(e)は、図15(a)に示すブロック図と同一であり、第一ドライバ739内に異常発生部759が生じて正常な制御ができない場合を例示している。異常発生部759での異常原因は、例えばノイズの影響による異常制御、高温による熱暴走、経年劣化や遊技台に加わる衝撃による接触不良や基板からの脱落などがある。
図15(f)は、図15(b)と同様の図示であるが第一ドライバ739に異常が発生した場合の3つのフルカラーLED743、749、755で実行可能な演出例を示している。図15(f)の上側は、3つのフルカラーLED743、749、755の全LEDの「R」、「G」、「B」が消灯した図15(b)の上側と同一の状態である。
図15(f)の下側は、第一ドライバ739の異常でフルカラーLED749の「R」、「G」、「B」が消灯状態を維持している。また、第一ドライバ739の異常によりフルカラーLED743の「R」は非発光状態となるが、正常な第二ドライバ741の制御によりフルカラーLED743の「G」、「B」は最大階調G255、B255で青緑色発光をしている。また、正常な第二ドライバ741の制御によりフルカラーLED755の「R」、「G」、「B」は最大階調R255、G255、B255で白色発光をしている。
このため、フルカラーLED743は、図15(f)の上側の状態から下側の状態に発光状態を変化させる演出を実行するが、この演出は図15(b)に示す第一の演出とは異なっている。第一の演出では、第一の状態(全消灯)から第二の状態(白色発光)に発光状態を変化させるが、図15(f)に示す例では、フルカラーLED743の「R」の非発光と「G」、「B」の発光により青緑色発光(R0、G255、B255)が視認できる状態になる。一方、フルカラーLED749では第一の演出とは異なる非発光状態が維持される。また、フルカラーLED755では第一の演出が実行される。
このように本変形例によれば、第一ドライバ739が異常の場合にはフルカラーLED743で第一の演出とは異なる演出を実行可能だがフルカラーLED749で演出を実行不可能となるため、フルカラーLED749とフルカラーLED743の発光態様の違いで異常を発見しやすくなる場合がある。また、フルカラーLED755が白色発光状態になるので、フルカラーLED749やフルカラーLED743と発光態様が異なることから異常を発見しやすくなる場合がある。
次に、図16を用いて本発明の第1の実施の形態によるパチンコ機100の実施例3の変形例3について説明する。図16は本変形例による演出装置をブロック図で示している。図16に示す構成において、実施例3の図12(a)に示す構成と同一の構成には同一符号を付してその説明は省略する。本変形例は1つの演出手段に対して、制御手段が3つある場合を示している。図12(a)に示す構成に対し本変形例では、フルカラーLED743の各動作手段にそれぞれ制御手段を設けている点に特徴を有している。第一の動作手段としての「R」は第一の制御手段としての第一ドライバ739に接続され、第二の動作手段としての「G」は第二の制御手段としての第二ドライバ741に接続され、第三の動作手段としての「B」は第三の制御手段としての第三ドライバ761に接続されている。
このように本変形例によれば、第一ドライバ739、第二ドライバ741、第三ドライバ761のうちのいずれか一つまたは二つが異常の場合にはフルカラーLED743で第一の演出とは異なる演出を実行可能であるので、フルカラーLED743の発光態様の違いで異常を発見しやすくなる場合がある。
次に、図17を用いて本発明の第1の実施の形態によるパチンコ機100の実施例1の変形例について説明する。図17(a)〜(d)のそれぞれは本変形例による演出装置をブロック図で示している。図17に示す構成において、実施例1の図9(a)に示す構成と同一の構成には同一符号を付してその説明は省略する。本変形例は演出可動物209の第一ソレノイド711および第二ソレノイド713に代えて種々の手段や装置を組み合わせて第一の動作手段と第二の動作手段が異なる点に特徴を有している。
図17(a)は、演出可動物209が第一の動作手段としての駆動手段773と第二の動作手段としての発光手段775とに接続されている場合を示している。この構成により、演出可動物209で移動演出と発光演出が実行可能となる。駆動手段773としては例えば、ソレノイドやモータを用いることができる。本変形例によれば、第一ドライバ707または第二ドライバ709のうちの何れかが異常で当該ドライバに係る駆動手段773または発光手段775を動作させられない場合であっても、何らかの演出を行うことができ、遊技の興趣を向上させることができる場合がある。また、遊技店の店員が演出可動物209の正常な演出態様を予め知っている場合には、演出態様の違いから第一または第二ドライバ707、709の異常を発見することができる場合がある。
図17(b)は、演出可動物209が第一の動作手段としての駆動手段773と第二の動作手段としての表示装置779とに接続されている場合を示している。この構成により、演出可動物209で移動演出と表示演出が実行可能となる。駆動手段773としては例えば、ソレノイドやモータを用いることができる。表示装置779としては、例えば、セグメント表示器や、ドットマトリクス表示器、液晶表示器を用いることができる。本変形例によれば、第一ドライバ707または第二ドライバ709のうちの何れかが異常で当該ドライバに係る駆動手段773または表示装置779を動作させられない場合であっても、何らかの演出を行うことができ、遊技の興趣を向上させることができる場合がある。また、遊技店の店員が演出可動物209の正常な演出態様を予め知っている場合には、演出態様の違いから第一または第二ドライバ707、709の異常を発見することができる場合がある。
図17(c)は、演出可動物209が第一の動作手段としての駆動手段773と第二の動作手段としての音出力手段781とに接続されている場合を示している。この構成により、演出可動物209で移動演出と音演出が実行可能となる。駆動手段773としては例えば、ソレノイドやモータを用いることができる。音出力手段781としては、例えば、スピーカ120等を用いることができる。本変形例によれば、第一ドライバ707または第二ドライバ709のうちの何れかが異常で当該ドライバに係る駆動手段773または音出力手段781を動作させられない場合であっても、何らかの演出を行うことができ、遊技の興趣を向上させることができる場合がある。また、遊技店の店員が演出可動物209の正常な演出態様を予め知っている場合には、演出態様の違いから第一または第二ドライバ707、709の異常を発見することができる場合がある。
図17(d)は、演出可動物209が第一の動作手段としての駆動手段773と第二の動作手段としての風出力手段783とに接続されている場合を示している。この構成により、演出可動物209で移動演出と風演出が実行可能となる。駆動手段773としては例えば、ソレノイドやモータを用いることができる。風出力手段783としては、例えば、送風装置等を用いることができる。なお、上記(a)〜(d)以外の駆動手段773を含まない他の組み合わせであってもよい。本変形例によれば、第一ドライバ707または第二ドライバ709のうちの何れかが異常で当該ドライバに係る駆動手段773または風出力手段783を動作させられない場合であっても、何らかの演出を行うことができ、遊技の興趣を向上させることができる場合がある。また、遊技店の店員が演出可動物209の正常な演出態様を予め知っている場合には、演出態様の違いから第一または第二ドライバ707、709の異常を発見することができる場合がある。
[第2の実施の形態]
次に、図18乃至図27を用いて本発明の第2の実施の形態によるパチンコ機100の実施例について説明する。まず、図18および図19を用いて本発明の第2の実施の形態によるパチンコ機100の実施例1について説明する。本実施例は演出手段がフルカラーLED805と赤色LED807である場合を示している。図18(a)は本実施例による演出装置をブロック図で示している。フルカラーLED805は第一の動作手段としての赤色LED(以下、「R」と表記する場合がある)と第二の動作手段としての緑色LED(以下、「G」と表記する場合がある)と青色LED(以下、「B」と表記する場合がある)とを有している。「R」は、第一の動作として例えば256階調のうちの最大階調255(以下、R255と表記する場合がある)で発光することができるようになっている。「G」、「B」は、第二の動作として例えば256階調のうちの最大階調255(以下、G255、B255と表記する場合がある)で発光することができるようになっている。フルカラーLED805が搭載された照明基板801には、「R」、「G」、「B」を制御可能な制御手段としてのドライバ803が配置されている。
また、照明基板801には第三の動作としてR255の発光を実行可能な第三の動作手段としての赤色LED807が配置されている。
図示は省略しているが、本実施例においても、図12(a)に示したのと同様に第1副制御部400の基本回路402が駆動回路420を介して照明基板801に接続されている。より具体的には、基本回路402は、第1副制御部400を構成する第1副基板160に設けられた不図示のコネクタから不図示のケーブルを介して照明基板801上に配置された不図示のコネクタに電気的に接続される。照明基板801上のコネクタからは所定配線がドライバ803に接続されている。ドライバ803はフルカラーLED805の「R」、「G」、「B」に所定の信号を出力して「R」、「G」、「B」の発光動作を制御するようになっている。フルカラーLED805の各「R」、「G」、「B」のカソード側は所定の抵抗等を介してドライバ803に接続されている。なお、ドライバ803を別の基板(例えば、第一副基板160または第二副基板164)に配置してもよい。
フルカラーLED805の「R」のアノード側には赤色LED807のカソード側が接続されている。赤色LED807のアノード側とフルカラーLED743の各「G」、「B」のアノード側には電圧Vが印加されている。このように本実施例では、第一の動作手段であるフルカラーLED805の「R」は、第三の動作手段の赤色LED807と直列に接続されている。これにより、赤色LED807もドライバ803により発光動作を制御されるようになっている。また、第二の動作手段であるフルカラーLED805の「G」、「B」は、赤色LED807と直列に接続されていない。
図18(b)は本実施例による演出手段としてのフルカラーLED805で実行可能な演出例を示している。図18(b)の左側は特図変動遊技の最中であってリーチ演出が実行されており、装飾図柄表示装置208の左右図柄表示領域208a、208cに「装飾7」が停止表示され、中図柄表示領域208bには装飾図柄が上から下に回転して移動する状態において、「番長」の文字が水平方向に表示された横長長方形状枠の演出可動物209が装飾図柄表示装置208の上方に位置している状態を示している。演出可動物209に表示されている「番」と「長」の間の領域にフルカラーLED805が配置されている。フルカラーLED805は非発光状態に制御されている。また、演出可動物209の右上角部には赤色LED807が配置されている。赤色LED807は非発光状態に制御されている。
図18(b)の右側は、同左側と同一構成だが演出可動物209に配置されているフルカラーLED805が、各「R」、「G」、「B」が最大階調255で白色発光している状態を示している。また、赤色LED807は最大階調で赤色発光(R255)している。
フルカラーLED805は、図18(b)の左側の全消灯状態から右側の白色発光状態に変化する演出(第一の演出)を実行可能である。また、赤色LED807も第一の演出に同期して非発光状態から赤色発光状態に変化する演出を実行可能である。フルカラーLED805がこの演出を行うために、複数の動作手段が共働して動作する。
ドライバ803の制御によるフルカラーLED805の「R」、「G」、「B」の発光動作が共働して、フルカラーLED805は、図18(b)の左側の全消灯状態から右側の白色発光状態に変化する演出(第一の演出)を実行可能である。
図19(a)は、図18(a)に示すブロック図と同一であり、赤色LED807に異常発生部809が生じて正常な発光ができない場合を例示している。異常発生部809での異常原因は、例えば経年劣化や遊技台に加わる衝撃による接触不良や基板からの脱落などがある。
図19(b)は、図18(b)と同様であるが赤色LED807に異常が発生した場合のフルカラーLED805で実行可能な演出例を示している。図19(b)の左側は、フルカラーLEDの全LEDの「R」、「G」、「B」が消灯した図18(b)の左側と同一の状態である。赤色LED807も非発光状態である。
図19(b)の右側は、赤色LED807の異常で赤色LED807とともにフルカラーLED805の「R」が消灯している状態を示している。ドライバ803の制御により「G」は緑色発光し、「B」は青色発光しているが、異常が発生している赤色LED807に直列接続されているフルカラーLED805の「R」は所定の駆動電圧が印加されないため消灯したままである。このため、フルカラーLED805は、図19(b)の左側の状態から右側の状態に発光状態を変化させる演出を実行するが、この演出は図18(b)に示す第一の演出とは異なっている。第一の演出では、第一の状態(全消灯)から第二の状態(白色発光)に発光状態を変化させるが、図19(b)に示す例では、フルカラーLED805の「R」の非発光と「G」、「B」の発光により青緑色点灯(R0、G255、B255)が視認できる演出になる。
本実施例によれば、フルカラーLED805を構成する複数の動作手段「R」、「G」、「B」のうちの第一の動作手段である「R」が第三の動作手段である赤色LED807と直列に接続されるので、赤色LED807が異常でフルカラーLED805の「R」も動作不可能な場合であっても、赤色LED807と直列に接続されないフルカラーLED805の「G」、「B」で何らかの演出を行うことができ、遊技の興趣を向上させることができる場合がある。また、遊技店の店員がフルカラーLED805の正常な演出態様を予め知っている場合には、演出態様の違いから赤色LED807の異常を発見することができる場合がある。
また、本実施例において、制御を少なくとも実行可能な制御手段としてドライバ803を備え、ドライバ803は、第一の動作手段である「R」を制御可能であり、また、第二の動作手段である「G」、「B」を制御可能である。このため、複数の動作手段の動作を同期しやすくすることができる場合がある。また、本実施例において、ドライバ803は、第三の動作手段である赤色LED807を制御可能であるので、複数の動作手段の動作を同期しやすくすることができる場合がある。
また、上記実施例では、装飾図柄表示装置208にはリーチ表示中を例示したが、これに限らず、特図変動中、はずれ表示中、大当り表示中、大当り中、デモ表示中、操作演出中、エラー表示中などの他の表示演出中に移動演出をしてもよい。また、第一の演出中に、他の演出デバイス(音、ランプ、他の可動物、他の表示装置)で演出を行ってもよい。
次に、図20および図21を用いて本発明の第2の実施の形態によるパチンコ機100の実施例2について説明する。本実施例は演出手段のうちの一部の動作手段と他の演出手段のうちの一部の動作手段が直列に接続されている場合を示している。図20(a)は本実施例による演出装置をブロック図で示している。第一の演出手段としてのフルカラーLED805は第一の動作手段としての赤色LED(以下、「R」と表記する場合がある)と第二の動作手段としての緑色LED(以下、「G」と表記する場合がある)と青色LED(以下、「B」と表記する場合がある)とを有している。「R」は、第一の動作として例えば256階調のうちの最大階調255(以下、R255と表記する場合がある)で発光することができるようになっている。「G」、「B」は、第二の動作として例えば256階調のうちの最大階調255(以下、G255、B255と表記する場合がある)で発光することができるようになっている。
第二の演出手段としてのフルカラーLED811は第三の動作手段としての「R」と第四の動作手段としての「G」、「B」とを有している。「R」は、第三の動作として例えばR255で発光することができるようになっている。「G」、「B」は、第四の動作として例えばG255、B255で発光することができるようになっている。
フルカラーLED805およびフルカラーLED811が搭載された照明基板801には、各「R」、「G」、「B」を制御可能な制御手段としてのドライバ803が配置されている。
図示は省略しているが、本実施例においても、図12(a)に示したのと同様に第1副制御部400の基本回路402が駆動回路420を介して照明基板801に接続されている。より具体的には、基本回路402は、第1副制御部400を構成する第1副基板160に設けられた不図示のコネクタから不図示のケーブルを介して照明基板801上に配置された不図示のコネクタに電気的に接続される。照明基板801上のコネクタからは所定配線がドライバ803接続されている。ドライバ803はフルカラーLED805の「R」、「G」、「B」に所定の信号を出力して「R」、「G」、「B」の発光動作を制御するようになっている。また、ドライバ803はフルカラーLED811の「G」、「B」に所定の信号を出力して「G」、「B」の発光動作を制御するようになっている。フルカラーLED805の「R」、「G」、「B」のカソード側、およびフルカラーLED811の「G」、「B」のカソード側は所定の抵抗等を介してドライバ803に接続されている。なお、フルカラーLED805とフルカラーLED811をそれぞれ別の基板に配置してもよい。
フルカラーLED805の「R」のアノード側にはフルカラーLED811の「R」のカソード側が接続されている。フルカラーLED805の「G」、「B」のアノード側とフルカラーLED811の「R」、「G」、「B」のアノード側には電圧Vが印加されている。このように本実施例では、第一の動作手段であるフルカラーLED805の「R」は、第三の動作手段のフルカラーLED811の「R」と直列に接続されている。これにより、フルカラーLED811の「R」もドライバ803により発光動作を制御されるようになっている。また、第一の動作手段であるフルカラーLED805の「R」は、第四の動作手段であるフルカラーLED811の「G」、「B」と直列に接続されておらず、第二の動作手段であるフルカラーLED805の「G」、「B」は、第四の動作手段であるフルカラーLED811の「G」、「B」と直列に接続されていない。
図20(b)は本実施例による第一の演出手段としてのフルカラーLED805と第二の演出手段としてのフルカラーLED811で実行可能な演出例を示している。図20(b)の左側は特図変動遊技の最中であってリーチ演出が実行されており、装飾図柄表示装置208の左右図柄表示領域208a、208cに「装飾7」が停止表示され、中図柄表示領域208bには装飾図柄が上から下に回転して移動する状態において、「番長」の文字が水平方向に表示された横長長方形状枠の演出可動物209が装飾図柄表示装置208の上方に位置している状態を示している。演出可動物209に表示されている「番」と「長」の間の領域の「番」に近い側にフルカラーLED805が配置され、「長」に近い側にフルカラーLED811が配置されている。図20(b)の左側はドライバ803から所定の信号が出力されておらず2つのフルカラーLED805、811はともに非発光状態になっている。
図20(b)の右側は、同左側と同一構成だがドライバ803から所定の信号が出力されて演出可動物209に配置されている2つのフルカラーLED805、811の各「R」、「G」、「B」が最大階調255で白色発光している状態を示している。
ドライバ803の制御によるフルカラーLED805の「R」、「G」、「B」の発光動作が共働して、フルカラーLED805は、図20(b)の左側の全消灯状態から右側の白色発光状態に変化する演出(第一の演出)を実行可能である。ドライバ803の制御によるフルカラーLED811の「R」、「G」、「B」の発光動作が共働して、フルカラーLED811は、図20(b)の左側の全消灯状態から右側の白色発光状態に変化する演出(第二の演出)を実行可能である。
図21(a)は、図20(a)に示すブロック図と同一であり、フルカラーLED811に異常発生部815が生じて正常な制御ができない場合を例示している。異常発生部815での異常原因は、例えば経年劣化や遊技台に加わる衝撃による接触不良や基板からの脱落などがある。
図21(b)は、図20(b)と同様の図示であるがフルカラーLED811に異常が発生した場合のフルカラーLED805で実行可能な演出例を示している。図21(b)の左側は、2つのフルカラーLED805、811の全LEDの「R」、「G」、「B」が消灯した図20(b)の左側と同一の状態である。
図21(b)の右側は、ドライバ803から所定の信号が出力されているにも関わらずフルカラーLED811の異常でフルカラーLED805の「R」が消灯状態を維持している状態を示している。ドライバ803の制御によりフルカラーLED805の「G」は緑色発光し、「B」は青色発光しているが、異常が発生しているフルカラーLED811の「R」に直列接続されているフルカラーLED805の「R」は所定の駆動電圧が印加されないため消灯したままである。このため、フルカラーLED805は、図21(b)の左側の状態から右側の状態に発光状態を変化させる演出を実行するが、この演出は図20(b)に示す第一の演出とは異なっている。第一の演出では、第一の状態(全消灯)から第二の状態(白色発光)に発光状態を変化させるが、図21(b)に示す例では、「R」の非発光と「G」、「B」の発光により青緑色点灯(R0、G255、B255)が視認できる演出になる。なお、異常が発生しているフルカラーLED811は全LEDが非発光状態である。
本実施例によれば、第二の演出手段のフルカラーLED811が異常で動作不可能な場合であっても、フルカラーLED811の第三の動作手段の「R」と直列に接続されないフルカラーLED805の第二の動作手段の「G」、「B」で何らかの演出を行うことができ、遊技の興趣を向上させることができる場合がある。また、遊技店の店員がフルカラーLED805の正常な演出(発光)態様を予め知っている場合には、フルカラーLED805の発光態様の違いからフルカラーLED811の異常を発見することができる場合がある。
また、上記実施例によれば、フルカラーLED805は、フルカラーLED811による第二の演出中に第一の演出を実行可能である。フルカラーLED811が異常で動作不可能な場合であっても、フルカラーLED811の「R」と直列に接続されないフルカラーLED805の「G」、「B」で何らかの演出を同時に行うことができ、遊技の興趣を向上させることができる場合がある。また、演出手段の演出態様の違いから第二の演出手段の異常を発見することができる場合がある。
また、上記実施例では、装飾図柄表示装置208にはリーチ表示中を例示したが、これに限らず、特図変動中、はずれ表示中、大当り表示中、大当り中、デモ表示中、操作演出中、エラー表示中などの他の表示演出中に移動演出をしてもよい。また、第一の演出中に、他の演出デバイス(音、ランプ、他の可動物、他の表示装置)で演出を行ってもよい。
次に、図22〜図24を用いて本発明の第2の実施の形態によるパチンコ機100の実施例3について説明する。本実施例は第一の演出手段のうちの一部の動作手段と第二の演出手段のうちの一部の動作手段が直列に接続されている場合であって、第二の演出手段が複数のドライバに制御される点に特徴を有している。図22(a)は本実施例による演出装置をブロック図で示している。第一の演出手段としてのフルカラーLED805は第一の動作手段としての赤色LED(以下、「R」と表記する場合がある)と第二の動作手段としての緑色LED(以下、「G」と表記する場合がある)と青色LED(以下、「B」と表記する場合がある)とを有している。「R」は、第一の動作として例えば256階調のうちの最大階調255(以下、R255と表記する場合がある)で発光することができるようになっている。「G」、「B」は、第二の動作として例えば256階調のうちの最大階調255(以下、G255、B255と表記する場合がある)で発光することができるようになっている。
第二の演出手段としてのフルカラーLED811は第三の動作手段としての「R」と第四の動作手段としての「G」、「B」とを有している。「R」は、第三の動作として例えばR255で発光することができるようになっている。「G」、「B」は、第四の動作として例えばG255、B255で発光することができるようになっている。
フルカラーLED805およびフルカラーLED811が搭載された照明基板801には、フルカラーLED805の「R」、「G」、「B」と、フルカラーLED811の「R」を制御可能な制御手段としての第一ドライバ823と、フルカラーLED811の「G」、「B」を制御可能な制御手段としての第二ドライバ825が配置されている。
第1副制御部400の基本回路402は駆動回路420を介して照明基板801に接続されている。より具体的には、基本回路402は、第1副制御部400を構成する第1副基板160に設けられたコネクタ817からケーブル819を介して照明基板801上に配置されたコネクタ821に電気的に接続される。コネクタ821からは所定配線が第一ドライバ823に接続され、別の所定配線が第二ドライバ825に接続されている。第一ドライバ823はフルカラーLED805の「R」、「G」、「B」に所定の信号を出力してフルカラーLED805の「R」、「G」、「B」の発光動作を制御するようになっている。また、第二ドライバ825はフルカラーLED811の「G」、「B」に所定の信号を出力してフルカラーLED811の「G」、「B」の発光動作を制御するようになっている。フルカラーLED805の「R」、「G」、「B」のカソード側は所定の抵抗等を介して第一ドライバ823に接続されている。フルカラーLED811の「G」、「B」のカソード側は所定の抵抗等を介して第二ドライバ825に接続されている。
フルカラーLED805の「R」のアノード側にはフルカラーLED811の「R」のカソード側が接続されている。フルカラーLED805の「G」、「B」のアノード側とフルカラーLED811の「R」、「G」、「B」のアノード側には電圧Vが印加されている。このように本実施例では、第一の動作手段であるフルカラーLED805の「R」は、第三の動作手段のフルカラーLED811の「R」と直列に接続されている。これにより、フルカラーLED811の「R」も第一ドライバ823により発光動作を制御されるようになっている。また、第一の動作手段であるフルカラーLED805の「R」は、第四の動作手段であるフルカラーLED811の「G」、「B」と直列に接続されておらず、第二の動作手段であるフルカラーLED805の「G」、「B」は、第四の動作手段であるフルカラーLED811の「G」、「B」と直列に接続されていない。
図22(b)は本実施例による第一の演出手段としてのフルカラーLED805と第二の演出手段としてのフルカラーLED811で実行可能な演出例を示している。図22(b)の左側は特図変動遊技の最中であってリーチ演出が実行されており、装飾図柄表示装置208の左右図柄表示領域208a、208cに「装飾7」が停止表示され、中図柄表示領域208bには装飾図柄が上から下に回転して移動する状態において、「番長」の文字が水平方向に表示された横長長方形状枠の演出可動物209が装飾図柄表示装置208の上方に位置している状態を示している。演出可動物209に表示されている「番」と「長」の間の領域の「番」に近い側にフルカラーLED805が配置され、「長」に近い側にフルカラーLED811が配置されている。図22(b)の左側は第一および第二ドライバ823、825から所定の信号が出力されておらず2つのフルカラーLED805、811はともに非発光状態になっている。
図22(b)の右側は、同左側と同一構成だが第一および第二ドライバ823、825から所定の信号が出力されて演出可動物209に配置されている2つのフルカラーLED805、811の各「R」、「G」、「B」が最大階調255で白色発光している状態を示している。
第一ドライバ823の制御によるフルカラーLED805の「R」、「G」、「B」の発光動作が共働して、フルカラーLED805は、図22(b)の左側の全消灯状態から右側の白色発光状態に変化する演出(第一の演出)を実行可能である。また、第一ドライバ823の制御によるフルカラーLED811の「R」の発光動作と、第二ドライバ825の制御によるフルカラーLED811の「G」および「B」の発光動作が共働して、フルカラーLED811は、図22(b)の左側の全消灯状態から右側の白色発光状態に変化する演出(第二の演出)を実行可能である。
図23(a)は、図22(a)に示すブロック図と同一であり、第二ドライバ825内に異常発生部827が生じて正常な制御ができない場合を例示している。異常発生部827での異常原因は、例えばノイズの影響による異常制御、高温による熱暴走、経年劣化や遊技台に加わる衝撃による接触不良や基板からの脱落などがある。
図23(b)は、図23(b)と同様の図示であるが第二ドライバ825に異常が発生した場合の2つのフルカラーLED805、811で実行可能な演出例を示している。図23(b)の左側は、2つのフルカラーLED805、811の全LEDの「R」、「G」、「B」が消灯した図22(b)の左側と同一の状態である。
図23(b)の右側は、第二ドライバ825の異常でフルカラーLED811の「G」、「B」が消灯状態を維持している状態を示している。第一ドライバ823の制御によりフルカラーLED811の「R」は赤色発光しているが、第二ドライバ825の異常によりフルカラーLED811の「G」、「B」は消灯したままである。一方、正常な第一ドライバ823に接続されているフルカラーLED805の各「R」、「G」、「B」は最大階調R255、G255、B255で白色発光している。
このため、フルカラーLED811は、図23(b)の左側の状態から右側の状態に発光状態を変化させる演出を実行するが、この演出は図22(b)に示す第一の演出とは異なっている。第一の演出では、第一の状態(全消灯)から第二の状態(白色発光)に発光状態を変化させるが、図23(b)に示す例では、フルカラーLED811の「R」の赤色発光と「G」、「B」の消灯により赤色点灯(R255、G0、B0)が視認できる状態になる。一方、フルカラーLED805では第一の演出と同じ演出が実行される。
このように本実施例によれば、第二ドライバ825が異常の場合にはフルカラーLED805で第一の演出を実行可能だがフルカラーLED811で第一の演出を実行不可能となるため、フルカラーLED811とフルカラーLED805の発光態様の違いで異常を発見しやすくなる場合がある。
図24(a)は、図22(a)に示すブロック図と同一であり、第一ドライバ823内に異常発生部829が生じて正常な制御ができない場合を例示している。異常発生部829での異常原因は、例えばノイズの影響による異常制御、高温による熱暴走、経年劣化や遊技台に加わる衝撃による接触不良や基板からの脱落などがある。
図24(b)は、図22(b)と同様の図示であるが第一ドライバ823に異常が発生した場合の2つのフルカラーLED805、811で実行可能な演出例を示している。図24(b)の左側は、2つのフルカラーLED805、811の全LEDの「R」、「G」、「B」が消灯した図22(b)の上側と同一の状態である。
図24(b)の右側は、第一ドライバ823の異常でフルカラーLED805の「R」、「G」、「B」が消灯状態を維持している状態を示している。また、第一ドライバ823の異常によりフルカラーLED811の「R」は非発光状態となるが、正常な第二ドライバ825の制御によりフルカラーLED811の「G」、「B」は最大階調G255、B255で青緑色発光をしている。
このため、フルカラーLED811は、図24(b)の左側の状態から右側の状態に発光状態を変化させる演出を実行するが、この演出は図22(b)に示す第一の演出とは異なっている。第一の演出では、第一の状態(全消灯)から第二の状態(白色発光)に発光状態を変化させるが、図24(b)に示す例では、「R」の非発光と「G」、「B」の発光により青緑色発光(R0、G255、B255)が視認できる状態になる。一方、フルカラーLED805では第一の演出とは異なる非発光状態が維持される。
このように本実施例によれば、第一ドライバ823が異常の場合にはフルカラーLED811で第一の演出とは異なる演出を実行可能だがフルカラーLED805で演出を実行不可能となるため、フルカラーLED805とフルカラーLED811の発光態様の違いで異常を発見しやすくなる場合がある。
次に、図25を用いて本発明の第2の実施の形態によるパチンコ機100の実施例4について説明する。本実施例はフルカラーLEDのうちの一部の色のLEDを多く直列させる場合を示している。図25(a)は本実施例による演出装置をブロック図で示している。本演出装置は例えば6個のフルカラーLED837〜847を有している。各フルカラーLED837〜847は、赤色LED(以下、「R」と表記する場合がある)と緑色LED(以下、「G」と表記する場合がある)と青色LED(以下、「B」と表記する場合がある)とを有している。「R」、「G」、「B」は、例えば256階調のうちの最大階調255(以下、R255、G255、B255と表記する場合がある)で発光することができるようになっている。
フルカラーLED837の「R」、「G」、「B」のカソード側は抵抗等を介してドライバ835に接続されている。フルカラーLED837の「R」、「G」、「B」のアノード側はフルカラーLED839の「R」、「G」、「B」のカソード側にそれぞれ接続されている。フルカラーLED839の「R」のアノード側はフルカラーLED841の「R」のカソード側に接続されている。フルカラーLED839の「G」、「B」のアノード側は電圧Vが印加されている。従って、フルカラーLED837の「G」とフルカラーLED839の「G」は直列に接続され、フルカラーLED837の「B」とフルカラーLED839の「B」は直列に接続されている。
フルカラーLED839の「R」のアノード側はフルカラーLED841の「R」のカソード側に接続されている。フルカラーLED841の「R」のアノード側は電圧Vが印加されている。従って、3つのフルカラーLED837、839、841の「R」は直列に接続されている。
フルカラーLED843の「R」、「G」、「B」のカソード側は抵抗等を介してドライバ835に接続されている。フルカラーLED841の「G」、「B」のアノード側はフルカラーLED843の「G」、「B」のカソード側にそれぞれ接続されている。フルカラーLED841の「G」、「B」のアノード側は電圧Vが印加されている。従って、フルカラーLED843の「G」とフルカラーLED841の「G」は直列に接続され、フルカラーLED843の「B」とフルカラーLED841の「B」は直列に接続されている。
フルカラーLED843の「R」のアノード側はフルカラーLED845の「R」のカソード側に接続されている。フルカラーLED845の「G」、「B」のカソード側は抵抗等を介してドライバ835に接続されている。フルカラーLED845の「R」、「G」、「B」のカソード側はフルカラーLED847の「R」、「G」、「B」のアノード側にそれぞれ接続されている。フルカラーLED847の「R」、「G」、「B」のアノード側は電圧Vが印加されている。従って、フルカラーLED845の「G」とフルカラーLED847の「G」は直列に接続され、フルカラーLED845の「B」とフルカラーLED847の「B」は直列に接続されている。また、3つのフルカラーLED843、845、847の「R」は直列に接続されている。
図25(b)は本実施例によるフルカラーLED837〜847で実行可能な演出例を示している。図25(b)の左側は特図変動遊技の最中であってリーチ演出が実行されており、装飾図柄表示装置208の左右図柄表示領域208a、208cに「装飾7」が停止表示され、中図柄表示領域208bには装飾図柄が上から下に回転して移動する状態において、「番長」の文字が水平方向に表示された横長長方形状枠の演出可動物209が装飾図柄表示装置208の上方に位置している状態を示している。また、演出可動物209には6つのフルカラーLED837〜847が配置されている。図25(b)の左側はドライバ835から所定の信号が出力されておらず6つのフルカラーLED837〜847はともに非発光状態になっている。
図25(b)の右側は、同左側と同一構成だがドライバ835から所定の信号が出力されて演出可動物209に配置されている6つのフルカラーLED837〜847の各「R」、「G」、「B」が最大階調255で白色発光している状態を示している。
ドライバ835の制御によるフルカラーLED837〜847のそれぞれの「R」、「G」、「B」の発光動作が共働して、フルカラーLED837〜847は、図25(b)の左側の全消灯状態から右側の白色発光状態に変化する演出(第一の演出)を実行可能である。
各「R」、「G」、「B」に印加される印加電圧に関して「G」=「B」>「R」が一般に成り立つので、本実施例のように「G」や「B」に比して「R」の直列数を多くさせることによって、ポート数を削減することができる場合がある。第一の動作としての例えばR255は、第一の動作手段としての「R」に第一の電圧を印加して得ることができる。また、第二の動作としての例えばG255、B255は、第二の動作手段としての「G」、「B」に第二の電圧を印加して得ることができる。ここで、第一の電圧は、第二の電圧よりも低いものであってもよい。本実施例によれば、複数のフルカラーLEDを同色で点灯させる場合に有効となる場合がある。
次に、図26および図27を用いて本発明の第2の実施の形態によるパチンコ機100の実施例5について説明する。本実施例は演出手段と他の動作手段が異なる組み合わせである場合を示している。図26(a)は本実施例による演出装置をブロック図で示している。演出手段としてのフルカラーLED855は第一の動作手段としての赤色LED(以下、「R」と表記する場合がある)と第二の動作手段としての緑色LED(以下、「G」と表記する場合がある)と青色LED(以下、「B」と表記する場合がある)とを有している。「R」は、第一の動作として例えば256階調のうちの最大階調255(以下、R255と表記する場合がある)で発光することができるようになっている。「G」、「B」は、第二の動作として例えば256階調のうちの最大階調255(以下、G255、B255と表記する場合がある)で発光することができるようになっている。フルカラーLED855が搭載された基板には、「R」、「G」、「B」を制御可能な制御手段としてのドライバ853が配置されている。
また、基板には第三の動作として演出可動物209を上下に移動可能な第三の動作手段として駆動手段(例えば、ソレノイド)が配置されている。
図示は省略しているが、本実施例においても、図12(a)に示したのと同様に第1副制御部400の基本回路402が駆動回路420を介して基板に接続されている。より具体的には、基本回路402は、第1副制御部400を構成する第1副基板160に設けられた不図示のコネクタから不図示のケーブルを介して基板上に配置された不図示のコネクタに電気的に接続される。基板上のコネクタからは所定配線がドライバ853に接続されている。ドライバ853はフルカラーLED855の「R」、「G」、「B」に所定の信号を出力して「R」、「G」、「B」の発光動作を制御するようになっている。フルカラーLED855の各「R」、「G」、「B」のカソード側は所定の抵抗等を介してドライバ853に接続されている。
フルカラーLED855の「R」のアノード側には駆動手段としてのソレノイド857を励磁する励磁回路(不図示)が直列に接続されている。ソレノイド857とフルカラーLED855の各「G」、「B」のアノード側には電圧Vが印加されている。このように本実施例では、第一の動作手段であるフルカラーLED855の「R」は、第三の動作手段のソレノイド857と直列に接続されている。これにより、ソレノイド857もドライバ853により励磁動作を制御されるようになっている。また、第二の動作手段であるフルカラーLED855の「G」、「B」は、ソレノイド857と直列に接続されていない。
図26(b)は本実施例による演出手段としてのフルカラーLED855で実行可能な演出例を示している。図26(b)の左側は特図変動遊技の最中であってリーチ演出が実行されており、装飾図柄表示装置208の左右図柄表示領域208a、208cに「装飾7」が停止表示され、中図柄表示領域208bには装飾図柄が上から下に回転して移動する状態において、「番長」の文字が水平方向に表示された横長長方形状枠の演出可動物209が装飾図柄表示装置208の上方に位置している状態を示している。演出可動物209に表示されている「番」と「長」の間の領域にフルカラーLED855が配置されている。フルカラーLED855は非発光状態に制御されている。また、演出可動物209を上下に移動可能に配置されたソレノイド857は非励磁状態であり、演出可動物209を装飾図柄表示装置208の上方位置に停止させている。
図26(b)の右側は、同左側と同一構成だが演出可動物209に配置されているフルカラーLED855が、各「R」、「G」、「B」が最大階調255(以下、R255、G255、B255と表記する)で白色発光している状態を示している。また、ソレノイド857は励磁されて演出可動物209を装飾図柄表示装置208の表示領域の前面上方位置に停止させている。
フルカラーLED855は、図26(b)の左側の全消灯状態から右側の白色発光状態に変化する演出(第一の演出)を実行可能である。また、ソレノイド857も第一の演出に同期して演出可動体物209を上方から下方に移動させる演出を実行可能である。フルカラーLED855がこの演出を行うために、複数の動作手段が共働して動作する。
ドライバ853の制御によるフルカラーLED855の「R」、「G」、「B」の発光動作が共働して、フルカラーLED855は、図26(b)の左側の全消灯状態から右側の白色発光状態に変化する演出(第一の演出)を実行可能である。
図27(a)は、図26(a)に示すブロック図と同一であり、ソレノイド857に異常発生部859が生じて正常な発光ができない場合を例示している。異常発生部859での異常原因は、例えば経年劣化や遊技台に加わる衝撃による接触不良や基板からの脱落などがある。
図27(b)は、図26(b)と同様であるがソレノイド857に異常が発生した場合のフルカラーLED855で実行可能な演出例を示している。図27(b)の左側は、フルカラーLEDの全LEDの「R」、「G」、「B」が消灯した図26(b)の左側と同一の状態である。ソレノイド857は非動作状態であるので、演出可動物209は図26(b)の左側と同一の状態である。
図27(b)の右側は、ソレノイド857の異常でソレノイド857の非動作とともにフルカラーLED855の「R」が消灯している状態を示している。ドライバ853の制御により「G」は緑色発光し、「B」は青色発光しているが、異常が発生しているソレノイド857に直列接続されているフルカラーLED855の「R」は所定の駆動電圧が印加されないため消灯したままである。このため、フルカラーLED855は、図27(b)の左側の状態から右側の状態に発光状態を変化させる演出を実行するが、この演出は図26(b)に示す第一の演出とは異なっている。第一の演出では、第一の状態(全消灯)から第二の状態(白色発光)に発光状態を変化させるが、図27(b)に示す例では、フルカラーLED855の「R」の非発光と「G」、「B」の発光により青緑色点灯(R0、G255、B255)が視認できる演出になる。
本実施例によれば、フルカラーLED855を構成する複数の動作手段「R」、「G」、「B」のうちの第一の動作手段である「R」が第三の動作手段であるソレノイド857と直列に接続されるので、ソレノイド857が異常でフルカラーLED855の「R」も動作不可能な場合であっても、ソレノイド857と直列に接続されないフルカラーLED855の「G」、「B」で何らかの演出を行うことができ、遊技の興趣を向上させることができる場合がある。また、遊技店の店員がフルカラーLED855の正常な演出態様を予め知っている場合には、演出態様の違いからソレノイド857の異常を発見することができる場合がある。
また、本実施例において、制御を少なくとも実行可能な制御手段としてドライバ853を備え、ドライバ853は、第一の動作手段であるフルカラーLED855の「R」を制御可能であり、また、第二の動作手段であるフルカラーLED855の「G」、「B」を制御可能である。このため、複数の動作手段の動作を同期しやすくすることができる場合がある。また、本実施例において、ドライバ853は、第三の動作手段であるソレノイド857を制御可能であるので、複数の動作手段の動作を同期しやすくすることができる場合がある。
また、上記実施例では、装飾図柄表示装置208にはリーチ表示中を例示したが、これに限らず、特図変動中、はずれ表示中、大当り表示中、大当り中、デモ表示中、操作演出中、エラー表示中などの他の表示演出中に移動演出をしてもよい。また、第一の演出中に、他の演出デバイス(音、ランプ、他の可動物、他の表示装置)で演出を行ってもよい。
[第3の実施の形態]
次に、図28乃至図48を用いて本発明の第3の実施の形態によるパチンコ機100の実施例について説明する。まず、図28を用いて本発明の第3の実施の形態によるパチンコ機100の実施例1について説明する。図28(a)は本実施例による演出装置の一部をブロック図で示している。図28(a)に示していない演出装置の残余の構成は図12(a)と同一なので説明は省略する。本実施例は発光基板861上に演出手段としての発光手段が少なくとも2つ(本例では3つ)搭載されており、第一の発光手段がフルカラーLED743であり、第二の発光手段がフルカラーLED749であり、第三の発光手段がフルカラーLED755である場合を示している。
フルカラーLED743は第一の発光素子としての緑色LED(以下、「G」と表記する場合がある)と第二の発光素子としての赤色LED(以下、「R」と表記する場合がある)と第三の発光素子としての青色LED(以下、「B」と表記する場合がある)とを有している。フルカラーLED749、755もそれぞれ「R」、「G」、および「B」を有している。「R」は、第一の動作として例えば256階調のうちの最大階調255(以下、R255と表記する場合がある)で発光することができるようになっている。「G」、「B」は、第二の動作として例えば256階調のうちの最大階調255(以下、G255、B255と表記する場合がある)で発光することができるようになっている。
フルカラーLED743が搭載された発光基板861には、フルカラーLED743の「R」を制御可能な第二の発光駆動手段としての第一ドライバ739と、フルカラーLED743の「G」、「B」を制御可能な第一の発光駆動手段としての第二ドライバ741とが配置されている。第一ドライバ739はフルカラーLED749の「R」、「G」、「B」も制御可能に配線されている。第二ドライバ741はフルカラーLED755の「R」、「G」、「B」も制御可能に配線されている。
また、上記の第一の演出(例えば、白色発光)を実行可能な第二の発光手段としてのフルカラーLED749は第二の発光駆動手段である第一ドライバ739で駆動される。フルカラーLED749の「R」、「G」、「B」は第四の動作手段であり、第四の動作となる白色発光(R255、G255、B255)を実行可能である。
また、上記の第一の演出(例えば、白色発光)を実行可能な第三の発光手段としてのフルカラーLED755は第一の発光駆動手段である第二ドライバ741で制御される。フルカラーLED755の「R」、「G」、「B」は第五の動作手段であり、第五の動作となる白色発光(R255、G255、B255)を実行可能である。
第一ドライバ739はフルカラーLED743の「R」に所定の信号を出力して当該「R」の発光動作を制御するとともに、フルカラーLED749の「R」、「G」、「B」に所定の信号を出力してフルカラーLED749の「R」、「G」、「B」の発光動作を制御するようになっている。第二ドライバ741はフルカラーLED743の「G」、「B」に所定の信号を出力して当該「G」、「B」の発光動作を制御するとともに、フルカラーLED755の「R」、「G」、「B」に所定の信号を出力してフルカラーLED755の「R」、「G」、「B」の発光動作を制御するようになっている。フルカラーLED743の「R」のカソード側と、フルカラーLED749の「R」、「G」、「B」のカソード側はそれぞれ所定の抵抗等を介して第一ドライバ739に接続されている。フルカラーLED743の「G」と「B」のカソード側と、フルカラーLED755の「R」、「G」、および「B」は所定の抵抗等を介して第二ドライバ741に接続されている。3つのフルカラーLED743、749、755の各「R」、「G」、「B」のアノード側には電圧Vが印加されている。
本実施例によれば、フルカラーLED743は、フルカラーLED749が搭載された発光基板861に搭載されている。この構成を備えたパチンコ機100によれば、遊技の興趣を向上させることができる。第一ドライバ739と第二ドライバ741のうちのいずれかが異常でフルカラーLED743を正常に動作させられない場合であっても、何らかの演出を行うことができ、遊技の興趣を向上させることができる場合がある。また、演出態様の違いから第一ドライバ739または第二ドライバ741の異常を発見することができる場合がある。また、フルカラーLED743とフルカラーLED749を同じ発光基板861に搭載するので、フルカラーLED743とフルカラーLED749とが比較し易くなるので、異常を発見し易くなる場合がある。
図28(b)は本実施例による演出装置の一部の断面構成を示しており、少なくとも第一の発光手段と第二の発光手段とが一つのカバーで覆われている場合を例示している。図左側に示す上下方向に延びる両矢印は装置の前後方向を示しており、図上方が前側であって遊技者に近い側であり、図下方が後側であって遊技者から遠い側である。発光基板861の前面にフルカラーLED743、749、755が搭載され、発光基板861の後面は発光基板取付部863の前面に固定されている。フルカラーLED743、749、755の前面を覆ってカバー865が取り付けられている。カバー865は、透明または半透明の樹脂部材で形成されている。カバー865はランプカバーを兼ねていてもよいし、一部が光拡散可能なレンズ形状であってもよい。
次に、図29を用いて本発明の第3の実施の形態によるパチンコ機100の実施例2について説明する。本実施例の演出装置の各構成要素は図28に示す演出装置と同一であるので同一の構成要素には同一の符号を付してその説明は省略する。本実施例では第一の発光手段から第一の発光駆動手段までの距離(配線長)と第一の発光手段から第二の発光駆動手段までの距離(配線長)とが異なる点に特徴を有している。図29(a)は本実施例による演出装置の一部をブロック図で示している。同図は、第一の発光手段であるフルカラーLED743から第二の発光駆動手段である第一ドライバ739までの距離(配線長)が、第一の発光手段から第一の発光駆動手段である第二ドライバ741までの距離(配線長)より長い例を示している。なお、第一の発光手段から第二の発光駆動手段までの距離と第二の発光手段(フルカラーLED749)から第二の発光駆動手段までの距離が同じ例を示しているが、異なっていてもよい。また、第一の発光手段から第一の発光駆動手段までの距離と第三の発光手段(フルカラーLED755)から第一の発光駆動手段までの距離が同じ例を示しているが、異なっていてもよい。
図29(b)は本実施例による演出装置の一部をブロック図で示している。同図は、第一の発光手段であるフルカラーLED743から第二の発光駆動手段である第一ドライバ739までの距離(配線長)が、第一の発光手段から第一の発光駆動手段である第二ドライバ741までの距離(配線長)より短い例を示している。なお、第一の発光手段から第二の発光駆動手段までの距離と第二の発光手段(フルカラーLED749)から第二の発光駆動手段までの距離が同じ例を示しているが、異なっていてもよい。また、第一の発光手段から第一の発光駆動手段までの距離と第三の発光手段(フルカラーLED755)から第一の発光駆動手段までの距離が同じ例を示しているが、異なっていてもよい。
次に、図30を用いて本発明の第3の実施の形態によるパチンコ機100の実施例3について説明する。本実施例の演出装置の各構成要素のうち図28に示す演出装置と同一の構成要素には同一の符号を付してその説明は省略する。本実施例では第一の発光駆動手段が駆動可能な発光手段の数と、第二の発光駆動手段が駆動可能な発光手段の数が異なる点に特徴を有している。図30(a)は本実施例による演出装置の一部をブロック図で示している。同図に示す演出装置は、図28に示す構成に加えて、第二ドライバ741にフルカラーLED867が接続されている。このため、第一の発光駆動手段である第二ドライバ741だけで駆動可能な発光手段はフルカラーLED755、867の2つであるのに対し、第二の発光駆動手段である第一ドライバ739だけで駆動可能な発光手段はフルカラーLED749の1つだけである。このように図30(a)に示す演出装置の構成では、第一の発光駆動手段で駆動可能な発光手段の数が第二の発光駆動手段で駆動可能な発光手段の数より多い点に特徴を有している。
図30(b)は本実施例による演出装置の一部をブロック図で示している。同図に示す演出装置は、図28に示す構成に加えて、第一ドライバ739にフルカラーLED869が接続されている。このため、第二の発光駆動手段である第一ドライバ739だけで駆動可能な発光手段はフルカラーLED749、869の2つであるのに対し、第一の発光駆動手段である第二ドライバ741だけで駆動可能な発光手段はフルカラーLED755の1つだけである。このように図30(b)に示す演出装置の構成では、第二の発光駆動手段で駆動可能な発光手段の数が第一の発光駆動手段で駆動可能な発光手段の数より多い点に特徴を有している。
次に、図31を用いて本発明の第3の実施の形態によるパチンコ機100の実施例4について説明する。図31(a)は本実施例による演出装置の一部をブロック図で示している。同図に示す演出装置は、フルカラーLED749を単色LED871に代えた以外は図30(a)に示す演出装置と同様である。本実施例の演出装置の各構成要素のうち図30(a)に示す演出装置と同一の構成要素には同一の符号を付してその説明は省略する。このように図31(a)に示す演出装置の構成では、フルカラーLEDと単色LEDとを一の発光駆動手段で駆動可能としている点に特徴を有している。
図31(b)は本実施例による演出装置の一部をブロック図で示している。同図に示す演出装置は、図30(b)に示す構成に加えて、第二ドライバ741に例えば2つの空きポート875、877が設けられている点に特徴を有している。本実施例の演出装置の各構成要素のうち図30(b)に示す演出装置と同一の構成要素には同一の符号を付してその説明は省略する。このように図31(b)に示す演出装置の構成では、一の発光駆動手段に空きポートを設けている点に特徴を有している。
図示は省略するが、本実施形態による演出装置においては、上記実施例に限らず、例えば、一の発光駆動手段の一のポートに対して複数の発光手段を直列に接続したり、一のポートに対して複数の発光手段を並列に接続したり、あるいはそれらを組み合わせた配線構造としたりしてももちろんよい。
図32は、本発明の第3の実施の形態によるパチンコ機100の第1副制御部400でのメイン処理の流れを示すフローチャートを示している。図8に示す第1の実施の形態による第1副制御部メイン処理と同一の処理には同一のステップ番号を付してその説明は省略する。本実施形態での第1副制御部400のメイン処理では、ステップS301での初期設定処理とステップS303でのタイマ変数が10以上か否かを判定する処理との間に、電源投入動作処理(ステップS302)を設けた点に特徴を有している。
電源投入動作処理(ステップS302)では、電源投入時に、各デバイスに対して初期動作を行わせる。例えば、各種ランプ418は、初期動作として、所定の時間(例えば、30秒)に渡って所定の態様(例えば、255階調で発光)の発光を行う。また、スピーカ120は、所定の時間(例えば、30秒)に渡って所定の音出力(例えば、「電源を投入しました」という音声出力)を行う。また、演出可動物209や演出可動体224は、所定の態様(例えば、第一の位置(初期位置)から第二の位置(最大可動位置)へ移動した後に第一の位置に移動する動作)の動作を行う。
本実施例では、第1副制御部400はステップS302の電源投入動作処理において、例えば図28(a)に示す演出装置について、第一の場合として電源投入時(初期動作時)に複数の発光手段である3つのフルカラーLED743、749、755が同じ色(白色発光(R255、G255、B255))になるように発光させる。
こうすることにより、遊技の興趣を向上させることができる。第一の発光駆動手段である第二ドライバ741と第二の発光駆動手段である第一ドライバ739のうちのいずれかが異常でいずれかの発光手段を正常に動作させられない場合であっても、何らかの演出を行うことができ、遊技の興趣を向上させることができる場合がある。また、演出態様の違いから発光駆動手段の異常を発見することができる場合がある。また、第一の発光手段としてのフルカラーLED743と第二の発光手段としてのフルカラーLED749とが同じ発光態様で発光可能であるため、第一の発光手段と第二の発光手段を例えば初期動作時に同じ色で発光させることにより、第一の発光手段と第二の発光手段を比較し易く、異常を発見し易くなる場合がある。
図33は、本実施形態の電源制御について説明する図である。図33(a)は、電源の遮断及び供給のタイミングに伴う各制御部の動作状態を示す概要図であり、図33(b)は、電源遮断時における各制御部の動作状態を示す概要図である。
電源制御部660は、パチンコ機100に外部から供給される電源を直流に変換し、払出制御部600および第1副制御部400に供給する。払出制御部600は主制御部300に電源を供給し、第1副制御部400は第2副制御部500に電源を供給する。つまり、電源がOFF状態からON状態に立ち上がると(図33(a)の時点(あ))、第1副制御部400がリセット状態からリセット解除状態に立ち上がり(図33(a)の時点(い))、その後、第2副制御部500がリセット状態からリセット解除状態に立ち上がる(図33(a)の時点(う))。同様に、電源がOFF状態からON状態に立ち上がると、払出制御部600がリセット状態からリセット解除状態に立ち上がり(図33(a)の時点(え))、その後、主制御部300がリセット状態からリセット解除状態に立ち上がる(図33(a)の時点(お))。なお、電源はAC100Vを入力してもよい。
払出制御部600がリセット解除状態に立ち上がってから主制御部300がリセット解除状態に立ち上がるまでの期間において、払出制御部600は、コマンドを受信することができ、受信したコマンドを解析することもできる。また、払出制御部600は、賞球数を設定することも可能であるが、払出処理は実行されない。その後、主制御部300がリセット解除状態に立ち上がった後に、主制御部300から送信された初回の主制御通信確認コマンドを払出制御部600で受信した場合に、設定した賞球数を(意図しないタイミングで送信された賞球コマンドとして)消去する場合がある。また、主制御部300がリセット解除状態に立ち上がった後(かつ、払出制御部600がリセット解除状態に立ち上がった後)、賞球コマンドが主制御部300から払出制御部600に送信された場合は、正常なコマンドとして処理を行う。
ここで、上記説明した内容を踏まえて、遊技台への電圧供給が低下した場合の動作について説明する。例えば大当り中の状態で停電などによって電源が切られた場合、再度電源投入によって遊技台が初期状態になると、遊技者にとって著しく不利益な状態になる。このような事態にならないよう、コンデンサに蓄えられた電力により遊技台の状態を保持する電断時処理が実行される。この電断時処理は、電源が切られた場合(以下、電源オフと称する)の他、静電気などの要因により供給電圧が一時的に低下した場合(以下、瞬断と称する)にも実行される。同図(b)は、電断時処理の動作を示す図である。
電源が切られた場合、電圧が供給されなくなる(電断発生)が、すぐに電圧は0にはならず、コンデンサに蓄えられた電力により供給電圧が徐々に降下する。例えば、12Vの供給電圧が所定の電圧(本実施形態では9.66V)まで降下すると電圧監視回路338から低電圧信号が主制御部300のCPU304に送信される。この信号を受信したことにより、主制御部300のメイン処理(後述する)により電断が発生したと判定され、電断時処理が実行される。つまり、同図(b)に示すように、主制御部300の電源監視状態としては、電断が発生してから供給電圧が9.66Vに降下するまでは電源断解除状態であり、供給電圧が9.66Vより降下した後は、電源断状態となる。なお、ここでの電源断状態とは、電圧が所定の値を下回り、後述する低電圧信号がオンになる状態を意味するものであり、電源が実際に遮断された状態を意味するものではない。
同様に、払出制御部600では、12Vの供給電圧が所定の電圧(本実施形態では8.3V)まで降下すると、電断が発生したと判定され、電断時処理が実行される。つまり、同図(b)に示すように、払出制御部600の電源監視状態としては、電断が発生してから供給電圧が8.3Vに降下するまでは電源断解除状態であり、供給電圧が8.3Vより降下した後は、電源断状態となる。
また、主制御部300と払出制御部600はそれぞれに、電源が投入されると起動信号(リセット信号)を出力する起動信号出力回路340を設けている。例えば主制御部300では、基本回路302のCPU304が起動信号の入力を受付けると、リセット割込によりリセットスタートして(リセット解除状態となり)ROM306に予め記憶している制御プログラムに従って主制御部メイン処理を実行する。払出制御部600も同様である。そして、12Vの供給電圧が所定の電圧を下回った場合には、リセット状態となり、電源断解除状態になるまで待機する。
図32のステップS302における電源投入動作処理は、図33(a)に示す時点(う)〜時点(え)の期間に行うことができる。なお、電源投入動作処理は、時点(え)〜時点(お)の期間に行ってもよく、時点(お)以降の期間に行ってもよい。
図34は、本発明の第3の実施の形態によるパチンコ機100で用いるフルカラーLEDの構成を示している。図34(a)は、本実施例で用いる発光手段(フルカラーLED)Lの発光面形状を示している。発光手段Lの発光面はほぼ正方形形状をしており、正方形の3つの角部にそれぞれ赤色発光素子Rと緑色発光素子Gと青色発光素子Bとが配置されている。残りの角部には面取りが施されて発光手段Lを基板上に配置する際の位置決めマークMとして用いられるようになっている。図34(b)は、発光手段Lの発光面に対向する裏面側の形状を示している。発光手段Lの裏面はほぼ正方形形状をしており、正方形の3つの角部にそれぞれ赤色発光素子Rのカソード端子CRと緑色発光素子Gのカソード端子CGと青色発光素子Bのカソード端子CBとが配置されている。残りの角部には3つの発光素子に共通接続されているアノード端子Aが配置されている。各端子CR、CG、CB、Aが互いに電気的に接触しないように発光手段Lの裏面の端子間は絶縁されている。図34(c)は本実施例で用いる発光手段Lを示す回路図である。図34(c)に示すように、各カソード端子CR、CG、CBは各発光素子R、G、Bのカソードにそれぞれ独立して接続され、アノード端子Aは各発光素子R、G、Bのアノードに共通接続されている。
次に、図35〜図38を用いて本実施の形態によるパチンコ機100での演出動作について説明する。図35は、特図1変動遊技における演出等を示している。図35(a)〜(h)はこの順にほぼ時系列にパチンコ機100の動作を示している。図35(a)、(c)〜(f)、(h)の各図は、図3に示す遊技盤200から装飾図柄表示装置208の表示領域と、普図表示装置210、特図1表示装置212、特図2表示装置214、普図保留ランプ216、特図1保留ランプ218、および特図2保留ランプ220を抜き出して示している。図35(b)は、普図始動口228を遊技球が通過することを示している。図35(g)は、特図2始動口232の羽根部材232aが左右に開放した状態を示している。
装飾図柄表示装置208の長方形の表示領域の左側縦辺近傍には、上から順に、特図1保留数表示領域a1、特図1の第4図柄表示領域a2、特図2保留数表示領域a3、特図2の第4図柄表示領域a4、普図保留数表示領域a5、および普図の第4図柄表示領域a6が配置されている。また、装飾図柄表示装置208の長方形の表示領域の下側横辺の中央から左側は、特図1保留表示領域901になっている。装飾図柄表示装置208の長方形の表示領域の下側横辺の中央から右側は、特図2保留表示領域になっている。装飾図柄表示装置208の長方形の表示領域の下側横辺の中央部は、普図演出表示または変動アイコン表示を行う特別演出領域903になっている。
図35(a)は、特図1変動遊技の実行中であり、特図1表示装置212は、7個のセグメントの全点灯と、中央の1個のセグメントの点灯を繰り返す特図1の変動表示を行っている状態を示している。装飾図柄表示装置208の左中右図柄表示領域208a、208b、208cにはそれぞれ装飾図柄が上から下に移動する装飾図柄の変動表示が行われている(図中、下向きの矢印で示す)。また、特図1の第四図柄表示領域a2には特図1変動遊技が実行中であることを示す表示がされている。また、特図2変動遊技は停止中であり、特図2表示装置214には、停止図柄態様として例えば第1はずれ図柄「特図I」が停止表示されている。また、特図2の第四図柄表示領域a4には特図2変動遊技が停止中であることを示す表示がされている。また、普図変動遊技は停止中であり、普図表示装置210には、停止図柄態様として例えばはずれ図柄「普図C」が停止表示されている。また、普図の第四図柄表示領域a6には普図変動遊技が停止中であることを示す表示がされている。
特図1保留ランプ218には3つのLEDが点灯しており特図1の保留数が「3」であることが示されている。また、装飾図柄表示装置208の特図1保留表示領域901には、3つの保留アイコンh1〜h3が表示されて特図1の保留数が3であることが示されている。また、特図1保留数表示領域a1には、特図1の保留数を示す数字「3」が表示されている。特図1保留表示領域901の1番目の保留アイコンh1は特図1の先読み結果を報知する先読み報知保留アイコンであり、例えば、「爺」のキャラクタ画像が表示される。2番目と3番目の保留アイコンh2、h3は通常保留表示であり、例えば黒丸の画像が表示される。
特図2保留ランプ220には全てのLEDが消灯しており特図2の保留数が「0」であることが示されている。また、装飾図柄表示装置208の特図2保留表示領域には、保留表示がされておらず特図2の保留数が0であることが示されている。また、特図2保留数表示領域a3には、特図2の保留数を示す数字「0」が表示されている。
普図保留ランプ216には全てのLEDが消灯しており普図の保留数が「0」であることが示されている。また、特別演出領域903には普図演出表示も変動アイコン表示も行われずデフォルト表示が行われている。装飾図柄表示装置208の普図保留数表示領域a5には、普図の保留数を示す数字「0」が表示されている。
図35(b)は、普図始動口228を連続的に遊技球が3つ通過したことを示している。
図35(c)は、図35(a)に示す特図1変動遊技の最中に図35(b)に示すように普図始動口228を遊技球が3つ通過して1回目の普図変動遊技が開始された状態を示している。普図表示装置210は、7個のセグメントの全点灯と、中央の1個のセグメントの点灯を繰り返す普図の変動表示を行っている。装飾図柄表示装置208の特別演出領域903には図5(d)に示した3つの普図の装飾図柄が順次上から下に移動する普図装飾図柄の変動表示が行われている(図中、下向きの矢印で示す)。また、普図の第四図柄表示領域a6には普図変動遊技が実行中であることを示す表示がされている。普図保留ランプ216には2個のLEDが点灯しており普図の保留数が「2」であることが示されている。また、装飾図柄表示装置208の普図保留数表示領域a5には、普図の保留数を示す数字「2」が表示されている。
図35(d)は、図35(a)に示す特図1変動遊技の最中に図35(c)に示す普図変動遊技が終了して、普図表示装置210に停止図柄態様として例えばはずれ図柄「普図C」が停止表示されている状態を示している。また、装飾図柄表示装置208の特別演出領域903には、普図停止期間中に普図変動遊技の結果がはずれであることを示す普図装飾3(例えば、バツ印を表す画像)が停止表示されている。また、普図の第四図柄表示領域a6には普図変動遊技が停止中であることを示す表示がされている。
図35(e)は、図35(a)に示す特図1変動遊技の最中に2回目の普図変動遊技が開始された状態を示している。普図表示装置210は、7個のセグメントの全点灯と、中央の1個のセグメントの点灯を繰り返す普図の変動表示を行っている。装飾図柄表示装置208の特別演出領域903には普図の装飾図柄が順次上から下に移動する普図装飾図柄の変動表示が行われている。また、普図の第四図柄表示領域a6には普図変動遊技が実行中であることを示す表示がされている。普図保留ランプ216には1個のLEDが点灯しており普図の保留数が「1」であることが示されている。また、装飾図柄表示装置208の普図保留数表示領域a5には、普図の保留数を示す数字「1」が表示されている。
図35(f)は、図35(a)に示す特図1変動遊技の最中に図35(e)に示す普図変動遊技が終了して、普図表示装置210に停止図柄態様として例えば当り図柄「普図B」が停止表示されている状態を示している。また、装飾図柄表示装置208の特別演出領域903には、普図停止期間中に普図変動遊技の結果が当りであることを示す普図装飾2(例えば、二重丸を表す画像)が停止表示されている。また、普図の第四図柄表示領域a6には普図変動遊技が停止中であることを示す表示がされている。装飾図柄表示装置208の演出表示領域であって特別演出領域903の周囲には普図当選時のエフェクト画像g1が表示されている。
図35(f)に示すように普図変動遊技に当選すると、図35(g)に示すように、特図2始動口232の羽根部材232aが左右に開放した電チュー開放状態となる。
図35(h)は、特図2始動口232が図35(g)に示す電チュー開放状態において行われる演出の一例を示している。特別演出領域903には電チュー開放中を示す「殿」のキャラクタ画像が表示され、殿の発声を示す吹き出し領域には例えば「電チュー開放中!」というチュートリアル(遊技台説明)画像g2が表示されている。このように本例では、図35に示すような普図変動遊技に対応する普図演出表示が行われる。
図36は、特図1変動遊技における演出等を示している。図36(a)〜(h)はこの順に時系列にパチンコ機100の動作を示している。図36(a)〜(h)の各図は、図3に示す遊技盤200から装飾図柄表示装置208の表示領域と、普図表示装置210、特図1表示装置212、特図2表示装置214、普図保留ランプ216、特図1保留ランプ218、および特図2保留ランプ220を抜き出して示している。
装飾図柄表示装置208の長方形の表示領域の左側縦辺近傍には、上から順に、特図1保留数表示領域a1、特図1の第4図柄表示領域a2、特図2保留数表示領域a3、特図2の第4図柄表示領域a4、普図保留数表示領域a5、および普図の第4図柄表示領域a6が配置されている。また、装飾図柄表示装置208の長方形の表示領域の下側横辺の中央から左側は、特図1保留表示領域901になっている。装飾図柄表示装置208の長方形の表示領域の下側横辺の中央から右側は、特図2保留表示領域になっている。装飾図柄表示装置208の長方形の表示領域の下側横辺の中央部は、普図演出表示または変動アイコン表示を行う特別演出領域903になっている。
図36(a)は、特図変動遊技が終了した状態を示している。特図1表示装置212には、停止図柄態様として第1はずれ図柄の「特図I」が停止表示されている。装飾図柄表示装置208の左中右図柄表示領域208a、208b、208cには、はずれを示す「装飾5−装飾3−装飾4」が停止表示されている。また、特図1の第四図柄表示領域a2には特図1変動遊技が停止中であることを示す表示がされている。また、特図2変動遊技は停止中であり、特図2表示装置214には、停止図柄態様として例えば第2はずれ図柄「特図J」が停止表示されている。また、特図2の第四図柄表示領域a4には特図2変動遊技が停止中であることを示す表示がされている。また、普図変動遊技は停止中であり、普図表示装置210には、停止図柄態様として例えばはずれ図柄「普図C」が停止表示されている。また、普図の第4図柄表示領域a6には普図変動遊技が停止中であることを示す表示がされている。また、特別演出領域903には普図演出表示も変動アイコン表示も行われずデフォルト表示が行われている。
特図1保留ランプ218には3つのLEDが点灯しており特図1の保留数が「3」であることが示されている。また、装飾図柄表示装置208の特図1保留表示領域901には、3つの保留アイコンh1〜h3が表示されて特図1の保留数が3であることが示されている。また、特図1保留数表示領域a1には、特図1の保留数を示す数字「3」が表示されている。特図1保留表示領域901の1番目と2番目の保留アイコンh1、h2は通常保留表示であり、例えば黒丸の画像が表示される。3番目の保留アイコンh3は特図1の先読み結果を報知する先読み保留表示であり、例えば、「爺」のキャラクタ画像が表示される。
特図2保留ランプ220には全てのLEDが消灯しており特図2の保留数が「0」であることが示されている。また、装飾図柄表示装置208の特図2保留表示領域には、保留表示がされておらず特図2の保留数が0であることが示されている。また、特図2保留数表示領域a3には、特図2の保留数を示す数字「0」が表示されている。
普図保留ランプ216には全てのLEDが消灯しており普図の保留数が「0」であることが示されている。また、特別演出領域903には普図演出表示も変動アイコン表示も行われずデフォルト表示が行われている。装飾図柄表示装置208の普図保留数表示領域a5には、普図の保留数を示す数字「0」が表示されている。
図36(b)は、特図1変動遊技の実行中であり、特図1表示装置212は、7個のセグメントの全点灯と、中央の1個のセグメントの点灯を繰り返す特図1の変動表示を行っている状態を示している。装飾図柄表示装置208の左中右図柄表示領域208a、208b、208cにはそれぞれ装飾図柄が上から下に移動する装飾図柄の変動表示が行われている(図中、下向きの矢印で示す)。また、特図1の第四図柄表示領域a2には特図1変動遊技が実行中であることを示す表示がされている。当該特図1変動遊技の開始に伴い特図1の保留が1つ減るため、特図1保留ランプ218には2つのLEDが点灯しており特図1の保留数が「2」であることが示されている。また、装飾図柄表示装置208の特図1保留表示領域901には、2つの保留アイコンh1、h2が表示されて特図1の保留数が2であることが示されている。また、特図1保留数表示領域a1には、特図1の保留数を示す数字「2」が表示されている。特図1保留表示領域901の1番目の保留アイコンh1は通常保留表示であり、2番目の保留アイコンh2は特図1の先読み結果を報知する先読み保留表示である。装飾図柄表示装置208の長方形の表示領域の下側横辺の中央部の特別演出領域903には消化された保留アイコンがあたかも移動してきたかのように黒丸の画像による変動アイコン表示がされている。
図36(c)は特図1変動遊技が所定時間経過して、装飾図柄表示装置208の特別演出領域903にデフォルト画像が表示された状態を示している。
図36(d)は、装飾図柄表示装置208の左図柄表示領域208aに装飾4が仮停止表示され、中右図柄表示領域208b、208cにはそれぞれ装飾図柄の変動表示が行われている状態を示している。
図36(e)は、装飾図柄表示装置208の左図柄表示領域208aに装飾4が仮停止表示され、さらに右図柄表示領域208cに装飾7が仮停止表示され、中図柄表示装置208bだけが装飾図柄の変動表示を行っている状態を示している。
図36(f)は、特図1変動遊技が終了した状態を示している。特図1表示装置212には、停止図柄態様として第2はずれ図柄の「特図J」が停止表示されている。装飾図柄表示装置208の左中右図柄表示領域208a、208b、208cには、はずれを示す「装飾4−装飾5−装飾7」が停止表示されている。また、特図1の第四図柄表示領域a2には特図1変動遊技が停止中であることを示す表示がされている。
図36(g)は、特図1変動遊技の実行中であり、特図1表示装置212が特図1の変動表示を行っている状態を示している。装飾図柄表示装置208の左中右図柄表示領域208a、208b、208cは装飾図柄の変動表示を行っている。また、特図1の第四図柄表示領域a2には特図1変動遊技が実行中であることを示す表示がされている。当該特図1変動遊技の開始に伴い特図1の保留が1つ減るため、特図1保留ランプ218には1つのLEDが点灯しており特図1の保留数が「1」であることが示されている。また、装飾図柄表示装置208の特図1保留表示領域901には、1つの保留アイコンh1が表示されて特図1の保留数が1であることが示されている。また、特図1保留数表示領域a1には、特図1の保留数を示す数字「1」が表示されている。特図1保留表示領域901の1番目の保留アイコンh1は特図1の先読み結果を報知する先読み保留表示である。特別演出領域903には消化された保留アイコンがあたかも移動してきたかのように黒丸の画像による変動アイコン表示がされている。
図36(h)は特図1変動遊技が所定時間経過して、装飾図柄表示装置208の特別演出領域903にデフォルト画像が表示された状態を示している。また、装飾図柄表示装置208の左図柄表示領域208aに装飾5が仮停止表示され、中右図柄表示領域208b、208cにはそれぞれ装飾図柄の変動表示が行われている状態を示している。
図37は、特図1変動遊技における演出等を示している。図37(a)〜(h)はこの順に時系列にパチンコ機100の動作を示している。また、図37(a)に示す状態は図36(h)に示す状態から引き続いている。
図37(a)は、装飾図柄表示装置208の左図柄表示領域208aに装飾5が仮停止表示され、さらに右図柄表示領域208cに装飾5が仮停止表示され、中図柄表示装置208bだけが装飾図柄の変動表示を行っているノーマルリーチ状態を示している。
図37(b)は、特図1変動遊技が終了した状態を示している。特図1表示装置212には、停止図柄態様として第1はずれ図柄の「特図I」が停止表示されている。装飾図柄表示装置208の左中右図柄表示領域208a、208b、208cには、はずれを示す「装飾5−装飾6−装飾5」が停止表示されている。また、特図1の第四図柄表示領域a2には特図1変動遊技が停止中であることを示す表示がされている。
図37(c)は、特図1変動遊技の実行中であり、特図1表示装置212は、特図1の変動表示を行っている状態を示している。装飾図柄表示装置208の左中右図柄表示領域208a、208b、208cには装飾図柄の変動表示が行われている。また、特図1の第四図柄表示領域a2には特図1変動遊技が実行中であることを示す表示がされている。当該特図1変動遊技の開始に伴い特図1の保留が1つ減るため、特図1保留ランプ218には全てのLEDが消灯しており特図1の保留数が「0」であることが示されている。また、装飾図柄表示装置208の特図1保留表示領域901には、保留表示がされておらず特図1の保留数が0であることが示されている。また、特図1保留数表示領域a1には、特図1の保留数を示す数字「0」が表示されている。装飾図柄表示装置208の特別演出領域903には消化された保留アイコンがあたかも移動してきたかのように「爺」の画像による変動アイコン表示がされている。さらに、装飾図柄表示装置208の演出表示領域には、「ボタンを押せ!」というメッセージとともにチャンスボタン136を模した画像でボタン押下示唆表示がされている。また、チャンスボタン136の押下を受け付ける期間を示すボタン受付期間表示画像が表示されている。
ボタン受付期間表示画像に示す残り時間内に遊技者がチャンスボタン136を押下するかボタン受付期間が経過すると、図37(d)に示すように、日の丸を模した画像が当該特図1変動遊技の結果を予告する予告画像として表示される。左図柄表示領域208aには装飾7が仮停止表示されている。
図37(e)は、左図柄表示領域208aに装飾7が仮停止表示され、さらに右図柄表示領域208cに装飾7が仮停止表示され、中図柄表示装置208bだけが装飾図柄の変動表示を行っているノーマルリーチ状態を示している。
図37(f)は、ノーマルリーチからスーパーリーチに発展した状態を示している。左中右図柄表示領域208a、208b、208cは装飾図柄表示装置208の表示領域の右上角部に縮小表示され、表示領域の大部分が演出表示領域208dとして使用される。本例では、武士が大声で「勝負じゃ!」と叫んでいるスーパーリーチ画像が表示されている。
図37(g)は、武士が勝負に勝って「勝ち」の文字が表示されるとともに、左中右図柄表示領域208a、208b、208cに「装飾7−装飾7−装飾7」が 停止表示された状態を示している。
図37(h)は、表示領域の右上角部に縮小表示されていた左中右図柄表示領域208a、208b、208cが表示領域の中央に移動して大当りを示す「装飾7−装飾7−装飾7」が拡大されて停止表示された状態を示している。また、特図1の第四図柄表示領域a2には特図1変動遊技が停止中であることを示す表示がされている。このように本例では、図36および図37に示すような特図変動遊技に対応する特図演出表示が行われる。
図38は、本実施の形態によるパチンコ機100での演出例を示している。図38(a)は、装飾図柄表示装置208の表示領域に表示される時刻設定表示画面を例示している。図38(b)は、装飾図柄表示装置208の表示領域に表示される演出設定表示画面を例示している。図38(c)は、装飾図柄表示装置208の表示領域に表示される音量設定表示画面を例示している。図38(d)は、装飾図柄表示装置208の表示領域に表示される輝度設定表示画面を例示している。遊技者は、図38(a)〜(d)に示す各画面によってパチンコ機100に対し種々の設定を行うことができる。
図38(e)は、装飾図柄表示装置208の表示領域に表示される当り中表示画面を例示している。表示領域の中央部大画面が演出表示領域に用いられ、本例では馬に乗った武士が山道を移動している当り中表示画像が表示されている。表示領域の周囲には、例えば、左上角部には当該大当りが特別大当りであることを示す「7」の数字の特別大当り画像が表示されている。また、表示領域上辺部には獲得球数表示画像が表示されている(本例では「80球」と表示されている)。また、表示領域右上角部にはラウンド数表示画像が表示されている(本例では、「1R」と表示されている)。また、右下角部には大当り回数(連荘回数)表示画像が表示されている(本例では、「大当り回数:1」と表示されている)。
図38(f)は、装飾図柄表示装置208の表示領域に表示される電サポ中表示画面を例示している。電サポ状態時に特図変動遊技が行われており、表示領域中央の左中右図柄表示領域208a、208b、208cで装飾図柄の変動表示が行われている。いわゆる右打ち機の場合は、電サポ状態時は右打ちをして右側に配置された普図始動口に多くの遊技球を通過させるとともに、特図2始動口232に多くの遊技球を入賞させるようにすべきであるため、装飾図柄の変動表示を背景表示として装飾図柄表示装置208の表示領域の中央部に大きく「右打ちしてね!」の文字列と拡大された遊技球に時計回りの矢印による打ち出し方向示唆表示がされている。なお、特別演出領域903には、特図2の通常保留の画像による変動アイコン表示がされており、さらに、特図2保留表示領域には1個の通常保留表示の保留アイコンh4が表示されている。
図38(g)は、装飾図柄表示装置208の表示領域に表示されるデモ表示画面を例示している。本例では、「Daito」の文字列が表示されている。図38(h)は、装飾図柄表示装置208の表示領域に表示されるエラー表示画面を例示している。本例では、扉開放エラー画面と皿満タンエラー画面が表示されている。
次に、図39を用いて本発明の第3の実施の形態によるパチンコ機100の実施例5について説明する。本実施例は、装飾図柄表示装置208の表示画面の手前側に透明LED基板905を配置した点に特徴を有している。
図39(a)は、装飾図柄表示装置208を遊技者側から見た状態を示している。図39(b)は、右斜め上から装飾図柄表示装置208を見た状態の斜視図である。図39(a)、(b)に示すように、装飾図柄表示装置208の画像表示領域には、図37(d)に示す画像と類似した画像が表示されている。但し、特図1保留表示領域901には、2つの保留アイコンh1、h2が表示されて特図1の保留数が2であることが示されている。また、特図1保留数表示領域a1には、特図1の保留数を示す数字「2」が表示されている。特図1保留表示領域901の1番目の保留アイコンh1は通常保留表示であり、2番目の保留アイコンh2は特図1の先読み結果を報知する先読み保留表示である。
また、図39(a)、(b)に示すように、装飾図柄表示装置208の表示画面手前には透明LED基板905が配置されている。透明LED基板905は、例えば透明樹脂フィルム基板上に所定間隔でマトリクス状に複数のフルカラーLEDが配置されている。フルカラーLEDへの電力供給は透明樹脂フィルム基板上に形成された例えばITO(インジウム・錫・オキサイド)による透明電極配線層や、銅あるいはアルミニウム等による金属配線層により行われる。透明LED基板905には、図28〜図31に示す構成の少なくともいずれかを備えた演出装置が搭載されている。
図39では、透明LED基板905には5行5列のマトリクス状にフルカラーLEDの発光手段L11〜L55が配列され、そのうちの隣り合って正方形状に並ぶ4つの発光手段L41、L51、L42、L52が発光しており、残りの発光手段は消灯している状態を示している。発光手段L11〜L55のそれぞれは発光状態において所定の拡がり角で円錐状に光が拡散するようになっている。このため、パチンコ機100の遊技盤200の前面に設けられた透明板部材118に発光手段からの光が照射されると円形の高輝度領域(図中、薄墨色の円形で示している)として遊技者に観察される。発光している発光手段L41、L51、L42、L52の後側には、装飾図柄表示装置208の画像表示領域における特図1保留表示領域901の2つの保留アイコンh1、h2が位置している。このため、発光手段L41、L51、L42、L52を発光させることにより、正方形の各角部から拡がる4つの円形の高輝度領域を形成して遊技者の注意を向けることができ、その背後に表示される2つの保留アイコンh1、h2に注目させることができる場合がある。
次に、図40を用いて本発明の第3の実施の形態によるパチンコ機100の実施例6について説明する。図40は、パチンコ機100を例えば島設備に設置した場合に、遊技盤200の盤面の中心に立てた垂線を含み鉛直方向に延びる平面でパチンコ機100を切断した断面の一部を示している。図の上側に示す左右方向に延びる両矢印はパチンコ機100の前後方向を示しており、図右側が前側であって遊技者に近い側であり、図左側が後側であって遊技者から遠い側である。これ以降に示す図41、図42、図45、図46も同様である。
図40に示すように、装飾図柄表示装置208の前側には演出可動物209および演出可動体224が配置されている。また、演出可動体224の前側にはステージ244が配置されている。演出可動体224とステージ244との間には、ステージ244に到達する遊技球が演出可動体224側に進入しないように阻止する球進入阻止板910が配置されている。透明LED基板905は、装飾図柄表示装置208の前側で演出可動物209および演出可動体224の後側に配置されている。
次に、図41を用いて本発明の第3の実施の形態によるパチンコ機100の実施例7について説明する。図41(a)に示すように、装飾図柄表示装置208の前側には演出可動物209および演出可動体224が配置されている。また、演出可動体224の前側にはステージ244が配置されている。演出可動体224とステージ244との間には球進入阻止板910が配置されている。透明LED基板905は、演出可動体224の前側で球進入阻止板910の後側に配置されている。
また、図41(b)に示すように、装飾図柄表示装置208の前側には演出可動物209が配置されている。演出可動物209の前側には演出可動体224が配置されている。また、演出可動体224の前側にはステージ244が配置されている。演出可動体224とステージ244との間には球進入阻止板910が配置されている。透明LED基板905は、演出可動物209の前側で演出可動体224の後側に配置されている。
次に、図42を用いて本発明の第3の実施の形態によるパチンコ機100の実施例8について説明する。図42に示すように、装飾図柄表示装置208の前側には演出可動物209および演出可動体224が配置されている。また、演出可動体224の前側にはステージ244が配置されている。演出可動体224とステージ244との間には球進入阻止板910が配置されている。ステージ244の前側には遊技球の流下を阻害しない距離を隔てて透明板部材118´が配置されている。透明板部材118´の前側には所定の距離を隔てて透明板部材118が配置されている。透明LED基板905は、2枚の透明板部材118、118´の間の空間部に配置されている。
次に、図43を用いて本発明の第3の実施の形態によるパチンコ機100の実施例9について説明する。図43は図3に示す遊技盤200の遊技領域124の前面ほぼ全体に透明LED基板905を配設した状態を示している。透明LED基板905には遊技領域124の前面を覆うように6行6列のマトリクス状に36個のフルカラーLEDの発光手段L11〜L66が配置されている。図中の網掛けのように見えるパターンは各発光手段Lに電力を供給する配線wを示している。図43では、全ての発光手段L11〜L66が発光状態になっている。図43から明らかなように、発光手段L11〜L66の発光制御により、発光手段L11〜L66をすべて発光させて遊技領域124の全面で発光させたり、遊技領域124内の構造物(例えば、遊技釘238、打球方向変換部材236、一般入賞口226、特図1始動口230、あるいはランプ類)の前側にある発光手段Lだけを発光させたり、演出可動物209または演出可動体224の一方または双方の前側にある発光手段Lだけを発光させたりすることができるようになっている。
次に、図44を用いて本発明の第3の実施の形態によるパチンコ機100の実施例10について説明する。本実施例は、装飾図柄表示装置208の表示画面の手前側に2枚の透明LED基板905a、905bを所定間隔で配置した点に特徴を有している。図44(a)は、装飾図柄表示装置208を遊技者側から見た状態を示している。図44(b)は、右斜め上から装飾図柄表示装置208を見た状態の斜視図である。図44(a)、(b)に示すように、装飾図柄表示装置208の画像表示領域には、図37(d)に示す画像と類似した画像が表示されている。但し、特図1保留表示領域901には、2つの保留アイコンh1、h2が表示されて特図1の保留数が2であることが示されている。また、特図1保留数表示領域a1には、特図1の保留数を示す数字「2」が表示されている。特図1保留表示領域901の1番目の保留アイコンh1は通常保留表示であり、2番目の保留アイコンh2は特図1の先読み結果を報知する先読み保留表示である。
また、図44(a)、(b)に示すように、装飾図柄表示装置208の表示画面手前には2枚の透明LED基板905a、905bが所定間隔で配置されている。透明LED基板905a、905bは、例えば透明樹脂フィルム基板上に所定間隔でマトリクス状に複数のフルカラーLEDが配置されている。フルカラーLEDへの電力供給は透明樹脂フィルム基板上に形成された例えばITOによる透明電極配線層や、銅あるいはアルミニウム等による金属配線層により行われる。
図44では、透明LED基板905aには5行5列のマトリクス状にフルカラーLEDの発光手段L11〜L55が配列され、そのうちの隣り合って正方形状に並ぶ4つの発光手段L41、L51、L42、L52が発光しており、残りの発光手段は消灯している状態を示している。また、透明LED基板905bには5行5列のマトリクス状にフルカラーLEDの発光手段L11´〜L55´が配列され、そのうちの隣り合って正方形状に並ぶ4つの発光手段L41´、L51´、L42´、L52´が発光しており、残りの発光手段は消灯している状態を示している。透明LED基板905aの発光手段L11〜L55と透明LED基板905bの発光手段L11´〜L55´は遊技者から見てほぼ重なるような配置関係となっている。
発光手段L11〜L55、L11´〜L55´のそれぞれは発光状態において所定の拡がり角で円錐状に光が拡散するようになっている。このため、パチンコ機100の遊技盤200の前面に設けられた透明板部材118に発光手段からの光が照射されると円形の高輝度領域(図中、薄墨色の円形で示している)として遊技者に観察される。発光している発光手段L41、L51、L42、L52および発光手段L41´、L51´、L42´、L52´の後側には、装飾図柄表示装置208の画像表示領域における特図1保留表示領域901の2つの保留アイコンh1、h2が位置している。このため、発光手段L41、L51、L42、L52および発光手段L41´、L51´、L42´、L52´を発光させることにより、斜めから見ると隣接する発光手段Lを結んだ線で構成される立方体(箱形状)を想起させる点灯態様において保留アイコンが表示されるようになるとともに、立方体の各角部から拡がる8つの円形の高輝度領域を形成して遊技者の注意を向けることができ、その背後に表示される2つの保留アイコンh1、h2を強調させて注目させることができる場合がある。
次に、図45を用いて本発明の第3の実施の形態によるパチンコ機100の実施例11について説明する。図45(a)に示すように、装飾図柄表示装置208の前側には演出可動物209および演出可動体224が配置されている。また、演出可動体224の前側にはステージ244が配置されている。演出可動体224とステージ244との間には、ステージ244に到達する遊技球が演出可動体224側に進入しないように阻止する球進入阻止板910が配置されている。所定の間隔で対向配置される2枚の透明LED基板905a、905bは、装飾図柄表示装置208の前側で演出可動物209および演出可動体224の後側に配置されている。
図45(b)は、装飾図柄表示装置208の前側に演出可動物209および演出可動体224が配置され、演出可動体224の前側にステージ244が配置されている状態を示している。演出可動体224とステージ244との間には球進入阻止板910が配置されている。所定の間隔で対向配置される2枚の透明LED基板905a、905bは、演出可動体224の前側で球進入阻止板910の後側に配置されている。
図45(c)は、装飾図柄表示装置208の前側に演出可動物209が配置され、演出可動物209の前側に演出可動体224が配置されている状態を示している。演出可動体224の前側にはステージ244が配置されている。演出可動体224とステージ244との間には球進入阻止板910が配置されている。所定の間隔で対向配置される2枚の透明LED基板905a、905bは、演出可動物209の前側で演出可動体224の後側に配置されている。
図45(d)は、装飾図柄表示装置208の前側に演出可動物209および演出可動体224が配置されている状態を示している。演出可動体224の前側にはステージ244が配置されている。演出可動体224とステージ244との間には球進入阻止板910が配置されている。ステージ244の前側には遊技球の流下を阻害しない距離を隔てて透明板部材118´が配置されている。透明板部材118´の前側には所定の距離を隔てて透明板部材118が配置されている。所定の間隔で対向配置される2枚の透明LED基板905a、905bは、2枚の透明板部材118、118´の間の空間部に配置されている。
次に、図46を用いて本発明の第3の実施の形態によるパチンコ機100の実施例12について説明する。図46(a)に示すように、装飾図柄表示装置208の前側には演出可動物209および演出可動体224が配置されている。また、演出可動体224の前側にはステージ244が配置されている。演出可動体224とステージ244との間には、ステージ244に到達する遊技球が演出可動体224側に進入しないように阻止する球進入阻止板910が配置されている。透明LED基板905aは、装飾図柄表示装置208の前側で演出可動物209および演出可動体224の後側に配置されている。透明LED基板905bは、演出可動体224の前側で球進入阻止板910の後側に配置されている。このようにして、2枚の透明LED基板905a、905bは、所定の間隔で対向配置されている。
図46(b)は、装飾図柄表示装置208の前側に演出可動物209が配置され、演出可動物209の前側に演出可動体224が配置されている状態を示している。演出可動体224の前側にはステージ244が配置されている。演出可動体224とステージ244との間には球進入阻止板910が配置されている。ステージ244の前側には遊技球の流下を阻害しない距離を隔てて透明板部材118´が配置されている。透明板部材118´の前側には所定の距離を隔てて透明板部材118が配置されている。本例では、4つの透明LED基板905a〜905dが配置されている。透明LED基板905aは、装飾図柄表示装置208の前側で演出可動物209の後側に配置されている。透明LED基板905bは、演出可動物209の前側で演出可動体224の後側に配置されている。透明LED基板905cは、演出可動体224の前側で球進入阻止板910の後側に配置されている。透明LED基板905基板905dは、2枚の透明板部材118、118´の間の空間部に配置されている。このようにして、4枚の透明LED基板905a、905b、905c、905dは、それぞれ所定の間隔で対向配置されている。
次に、図47を用いて本発明の第3の実施の形態によるパチンコ機100の実施例13について説明する。図47(a)〜(c)はこの順に時系列に装飾図柄表示装置208とその前側に位置する透明LED基板905の状態を示している。図47(a)〜(c)に示すように、透明LED基板905は右側から左方向に向かって移動している。図47(a)は、装飾図柄表示装置208に対し、透明LED基板905が相対的に右側に位置している状態を示している。図47(b)は、透明LED基板905が左に移動して装飾図柄表示装置208の前面ほぼ中央に位置している状態を示している。図47(c)は、透明LED基板905がさらに左方に移動して装飾図柄表示装置208に対し相対的に左側に位置している状態を示している。なお、図47では透明LED基板905を右から左に移動する例を示しているが、これに限らず、上下左右前後の少なくともいずれかに移動可能であってもよい。
次に、図48を用いて本発明の第3の実施の形態によるパチンコ機100の実施例14について説明する。図48(a)は、透明LED基板905が装飾図柄表示装置208の前面ほぼ中央に位置している状態を示している。透明LED基板905にはフルカラーLEDである発光手段Lがマトリクス状に配列されている。本例では、25個の発光手段L11〜L55が5行5列のマトリクス状に配置されている。図48(a)´は、図48(a)に示す状態において、装飾図柄表示装置208の画像表示面の法線に平行で第1列の発光手段L11〜L15を含む平面で切断した断面を示している。図48(a)、(a)´に示すように、平板状の透明LED基板905は、平板状の装飾図柄表示装置208の前面に所定の間隔で装飾図柄表示装置208の画像表示面に平行に配置されている。マトリクス配列の第1行にある発光手段L11〜L51は装飾図柄表示装置208の長方形の画像表示領域の上端辺に近い位置で当該上端辺にほぼ平行に配置され、第5行にある発光手段L15〜L55は装飾図柄表示装置208の長方形の画像表示領域の下端辺に近い位置で当該下端辺にほぼ平行に配置されている。
図48(b)は、透明LED基板905が不図示の変形機構(駆動手段)により変形させられている状態を示している。図48(b)´は図48(a)と同様の断面を示している。図48(b)、(b)´に示すように、透明LED基板905は、平板状の装飾図柄表示装置208の前面で前側に凸となるように変形している。マトリクス配列の第1行にある発光手段L11〜L51は装飾図柄表示装置208の長方形の画像表示領域の上端辺から内側に所定距離だけ入り込み当該上端辺にほぼ平行に配置され、第5行にある発光手段L15〜L55は装飾図柄表示装置208の長方形の画像表示領域の下端辺から内側に所定距離だけ入り込み当該下端辺にほぼ平行に配置されている。このように透明LED基板905を変形させることにより、発光手段L11〜L55の光射出方向を変化させることができる。本例では、装飾図柄表示装置208の画像表示面の法線に平行で各列の発光手段Lを含む平面内で各列の発光手段Lが円弧状に並ぶため、鉛直方向に光を拡散させることができる。また、中央部の発光手段(例えば、発光手段L13)を周辺部の発光手段(例えば、発光手段L11、L15)より前側に位置させることができる。
図48(c)は、透明LED基板905が不図示の変形機構により図48(b)に示す状態からさらに変形させられている状態を示している。図48(c)´は図48(a)と同様の断面を示している。図48(c)、(c)´に示すように、透明LED基板905は、平板状の装飾図柄表示装置208の前面で前側にさらに凸となるように変形している。マトリクス配列の第1行にある発光手段L11〜L51は装飾図柄表示装置208の長方形の画像表示領域の上端辺からさらに内側に所定距離だけ入り込み当該上端辺にほぼ平行に配置され、第5行にある発光手段L15〜L55は装飾図柄表示装置208の長方形の画像表示領域の下端辺からさらに内側に所定距離だけ入り込み当該下端辺にほぼ平行に配置されている。このように透明LED基板905をさらに変形させることにより、発光手段L11〜L55の光射出方向をさらに変化させることができる。本例では、各列の発光手段Lが図48(b)、(b)´に示す円弧より大きい曲率の円弧状に並ぶため、鉛直方向に光をさらに拡散させることができる。また、中央部の発光手段(例えば、発光手段L13)を周辺部の発光手段(例えば、発光手段L11、L15)よりさらに前側に位置させることができる。
次に、以上説明した実施形態によるパチンコ機100の特徴的構成について再度図1乃至図48を参照しつつ説明する。
(1)本実施の形態によるパチンコ機100は、
第一の動作(例えば、(a)上下方向の移動、(b)7セグメント表示器727のセグメントa〜dの全点灯、(c)フルカラーLED743のR255の発光)を少なくとも実行可能な第一の動作手段(例えば、(a)第一ソレノイド711、(b)7セグメント表示器727のセグメントa〜d、(c)フルカラーLED743の「R」)と、
第二の動作(例えば、(a)上下方向の移動、(b)7セグメント表示器727のセグメントe〜gの全点灯、(c)フルカラーLED743のG255、B255の発光)を少なくとも実行可能な第二の動作手段(例えば、(a)第二ソレノイド713、(b)7セグメント表示器727のセグメントe〜g、(c)フルカラーLED743の「G」、「B」)と、
前記第一の動作手段を少なくとも制御可能な第一の制御手段(例えば、(a)第一ドライバ707、(b)第一ドライバ723、(c)第一ドライバ739)と、
前記第二の動作手段を少なくとも制御可能な第二の制御手段(例えば、(a)第二ドライバ709、(b)第二ドライバ725、(c)第二ドライバ741)と、
演出を少なくとも実行可能な演出手段(例えば、(a)演出可動物209、(b)7セグメント表示器727、(c)フルカラーLED743)と、
を備えた遊技台であって、
前記演出手段は、複数の動作手段(例えば、(a)第一ソレノイド711と第二ソレノイド713、(b)セグメントa〜dとe〜g、(c)「R」と「G」、「B」)が共働することにより、第一の演出(例えば、(a)上下方向の移動、(b)全点灯、(c)白色発光(R255、G255、B255))を少なくとも実行可能なものであり、
前記複数の動作手段のうちの少なくとも一つは、前記第一の動作手段であり、
前記複数の動作手段のうちの少なくとも一つは、前記第二の動作手段である、
ことを特徴とする。
上記構成を備えたパチンコ機100によれば、演出装置が異なる制御手段にそれぞれ制御される複数の動作手段を有しているので、制御手段のうちの何れかが異常で当該制御手段に係る動作手段を動作させられない場合であっても、何らかの演出を行うことができ、遊技の興趣を向上させることができる場合がある。また、演出態様の違いから制御手段の異常を発見することができる場合がある。
(2)上記パチンコ機100において、
制御を少なくとも実行可能な第三の制御手段(例えば、第1副制御部400の基本回路402)を備え、
前記第三の制御手段は、前記演出手段に前記第一の演出を実行させることが可能なものである、
ことを特徴とする。
上記パチンコ機100によれば、第三の制御手段の制御で第一の演出を行うことができるため、複数の動作手段の動作を同期しやすくすることができる場合がある。
(3)上記パチンコ機100において、
前記第三の制御手段は、前記第一の制御手段に信号を少なくとも出力可能なものであり、
前記第三の制御手段は、前記第二の制御手段に信号を少なくとも出力可能なものである、
ことを特徴とする。
上記パチンコ機100によれば、サブ制御手段が信号をドライバに出力するので、複数の動作手段の動作を同期しやすくすることができる場合がある。
(4)上記パチンコ機100において、
第三の動作(例えば、音)を少なくとも実行可能な第三の動作手段(例えば、スピーカ120)と、
前記第三の動作手段を少なくとも制御可能な第四の制御手段(例えば、音源IC416)と、
を備え、
前記第三の制御手段は、前記第四の制御手段に信号を少なくとも出力可能なものである、
ことを特徴とする。
上記パチンコ機100によれば、サブ制御手段は他のドライバにも信号を出力するので、複数の動作手段の動作を同期しやすくすることができる場合がある。
(5)上記パチンコ機100において、
前記第三の動作手段は、前記第一の演出の実行期間のうちの少なくとも一部の期間中に、前記第三の動作を実行可能なものである、
ことを特徴とする。
上記パチンコ機100によれば、第一の演出中に他の演出装置も動作するので、第一の演出をより盛り上げることができ、遊技の興趣を向上させることができる場合がある。
また、第一の演出(例えば、白色発光)を実行可能な第二の演出手段(例えば、フルカラーLED749)を第一の制御手段(例えば、第一ドライバ739)で制御するようにしてもよい。例えば、第四の動作(例えば、フルカラーLED749のR255、G255、B255の白色発光)を少なくとも実行可能な第四の動作手段(例えば、フルカラーLED749の「R」、「G」、「B」)と、演出を少なくとも実行可能な第二の演出手段(例えば、フルカラーLED749)と、を備え、前記第一の制御手段は、前記第四の動作手段を少なくとも制御可能なものであり、前記第二の演出手段は、前記第四の動作手段を少なくとも有するものであり、前記第二の演出手段は、前記第一の演出を少なくとも実行可能なものであってもよい。
この場合、第二の制御手段が異常の場合には第二の演出手段で第一の演出を実行可能だが演出手段で第一の演出を実行不可能となるため、第二の演出手段と演出手段の態様の違いで異常を発見しやすくなる場合がある。また、第一の制御手段が異常の場合には演出手段で第一の演出とは異なる演出を実行可能だが第二の演出手段で演出を実行不可能となるため、第二の演出手段と演出手段の態様の違いで異常を発見しやすくなる場合がある。
また、第一の制御手段と第二の制御手段と演出手段を有する基板に関し、第一の基板を備え、前記第一の基板は、前記第一の制御手段を少なくとも有するものであり、前記第一の基板は、前記第二の制御手段を少なくとも有するものであり、前記第一の基板は、前記演出手段を少なくとも有するものであってもよい。
また、前記第一の制御手段と前記第二の制御手段は、第一のコネクタに接続されるものであり、前記第三の制御手段は、前記第一のコネクタを介して、前記第一の制御手段と前記第二の制御手段に信号を出力可能なものであってもよい。
また、第一の制御手段が異常時に実行される演出は、第一の制御手段が正常時に実行不可能な演出であってもよい。
また、第一の制御手段が異常時に実行される演出は、第一の制御手段が正常時に実行可能な演出であってもよい。
また、前記演出手段は、可動役物であってもよい。前記動作手段は、ソレノイド、モータのうちの何れかであってもよい。前記演出手段は、表示手段であってもよい。前記表示手段は、フルカラーLED、セグメント表示器、ドットマトリクス表示器のうちの何れかであってもよい。前記動作手段は、スピーカであってもよい。前記第三の動作手段は、ランプ、スピーカ、表示装置、可動役物のうちの何れかであってもよい。前記演出手段は、前記第一の演出のみを実行可能なものであってもよい。前記演出手段は、前記第三の動作中にのみ前記第一の演出を実行可能なものであってもよい。
(6)本実施の形態によるパチンコ機100は、
第一の動作(例えば、フルカラーLED805のR255の発光)を少なくとも実行可能な第一の動作手段(例えば、フルカラーLED805の「R」)と、
第二の動作(例えば、フルカラーLED805のG255、B255の発光)を少なくとも実行可能な第二の動作手段(例えば、フルカラーLED805の「G」、「B」)と、
第三の動作(例えば、赤色LED807のR255の発光)を少なくとも実行可能な第三の動作手段(例えば、赤色LED807)と、
演出を少なくとも実行可能な演出手段(例えば、フルカラーLED805)と、
を備えた遊技台であって、
前記演出手段は、複数の動作手段(例えば、フルカラーLED805の「R」、「G」、「B」)が共働することにより、第一の演出(例えば、白色発光(R255、G255、B255))を少なくとも実行可能なものであり、
前記複数の動作手段のうちの少なくとも一つは、前記第一の動作手段であり、
前記複数の動作手段のうちの少なくとも一つは、前記第二の動作手段であり、
前記第一の動作手段は、前記第三の動作手段と少なくとも直列に接続されるものであり、
前記第二の動作手段は、前記第三の動作手段と少なくとも直列に接続されないものである、
ことを特徴とする。
上記構成を備えたパチンコ機100によれば、演出手段を構成する複数の動作手段のうちの第一の動作手段が第三の動作手段と直列に接続されるので、第三の動作手段が異常で動作不可能な場合であっても、第三の動作手段と直列に接続されない第二の動作手段で何らかの演出を行うことができ、遊技の興趣を向上させることができる場合がある。また、演出手段の演出態様の違いから第三の動作手段の異常を発見することができる場合がある。
(7)上記パチンコ機100において、
第四の動作(例えば、フルカラーLED811のG255、B255の発光)を少なくとも実行可能な第四の動作手段(例えば、フルカラーLED811の「G」、「B」)と、
演出を少なくとも実行可能な第二の演出手段(例えば、フルカラーLED811)と、を備え、
前記第二の演出手段は、複数の動作手段(例えば、フルカラーLED811の「R」、「G」、「B」)が共働することにより、第二の演出(例えば、白色発光(R255、G255、B255))を少なくとも実行可能なものであり、
前記複数の動作手段のうちの少なくとも一つは、前記第三の動作手段(例えば、フルカラーLED811の「R」)であり、
前記複数の動作手段のうちの少なくとも一つは、前記第四の動作手段(例えば、フルカラーLED811の「G」、「B」)であり、
前記第一の動作手段(例えば、フルカラーLED805の「R」)は、前記第四の動作手段と少なくとも直列に接続されないものであり、
前記第二の動作手段(例えば、フルカラーLED805の「G」、「B」)は、前記第四の動作手段と少なくとも直列に接続されないものである、
ことを特徴とする。
上記パチンコ機100によれば、第二の演出手段が異常で動作不可能な場合であっても、第二の演出手段と直列に接続されない動作手段で何らかの演出を行うことができ、遊技の興趣を向上させることができる場合がある。また、演出手段の演出態様の違いから第二の演出手段の異常を発見することができる場合がある。
(8)上記パチンコ機100において、
前記演出手段は、前記第二の演出の実行期間のうちの少なくとも一部の期間中に前記第一の演出を実行可能なものである、
ことを特徴とする。
上記パチンコ機100によれば、第二の演出手段が異常で動作不可能な場合であっても、第二の演出手段と直列に接続されない動作手段で何らかの演出を同時に行うことができ、遊技の興趣を向上させることができる場合がある。また、演出手段の演出態様の違いから第二の演出手段の異常を発見することができる場合がある。
(9)上記パチンコ機100において、
制御を少なくとも実行可能な制御手段(例えば、ドライバ803)を備え、
前記制御手段は、前記第一の動作手段を少なくとも制御可能なものであり、
前記制御手段は、前記第二の動作手段を少なくとも制御可能なものである、
ことを特徴とする。
上記パチンコ機100によれば、複数の動作手段の動作を同期しやすくすることができる場合がある。
(10)上記パチンコ機100において、
前記制御手段は、前記第三の動作手段を少なくとも制御可能なものである、
ことを特徴とする。
上記パチンコ機100によれば、複数の動作手段の動作を同期しやすくすることができる場合がある。
また、第一の基板(例えば、照明基板801)を備え、前記第一の基板は、前記演出手段と前記第二の演出手段を有してもよい。
また、前記第一の動作手段は、前記第一の動作を第一の電圧を印加して実行可能なものであり、前記第二の動作手段は、前記第二の動作を第二の電圧を印加して実行可能なものであり、前記第一の電圧は、前記第二の電圧よりも低いものであってもよい。
また、前記第三の動作手段が異常時に実行される前記演出手段による演出(例えば、白色発光以外の発光態様)は、前記演出手段が正常時に実行不可能な演出(例えば、正常時に実行可能な演出が白色発光の発光態様である場合)であってもよい。また、前記第三の動作手段が異常時に実行される前記演出手段による演出(例えば、R0、G255、B255の発光態様)は、前記演出手段が正常時に実行可能な演出(例えば、R0、G255、B255の発光態様)であってもよい。
また前記演出手段は、表示手段であってもよい。また、前記表示手段は、フルカラーLEDであってもよい。
(11)本実施の形態によるパチンコ機100は、
複数の発光手段(例えば、フルカラーLED743、749、755(図28参照))と、
前記複数の発光手段を少なくとも駆動可能な複数の発光駆動手段(例えば、第一ドライバ739と第二ドライバ741)と、
を備えた遊技台であって、
前記発光手段とは、複数色の発光素子(例えば、赤色LEDと緑色LEDと青色LED)を少なくとも含んで構成された手段のことであり、
前記複数の発光手段のうちの少なくとも一つは、第一の発光手段(例えば、フルカラーLED743)であり、
前記複数の発光手段のうちの少なくとも一つは、第二の発光手段(例えば、フルカラーLED749)であり、
前記複数の発光駆動手段のうちの少なくとも一つは、第一の発光駆動手段(例えば、第二ドライバ741)であり、
前記複数の発光駆動手段のうちの少なくとも一つは、第二の発光駆動手段(例えば、第一ドライバ739)であり、
前記第一の発光手段は、第一の発光素子(例えば、緑色LED)を少なくとも含んで構成された手段であり、
前記第一の発光手段は、第二の発光素子(例えば、赤色LED)を少なくとも含んで構成された手段であり、
前記第一の発光手段は、第三の発光素子(例えば、青色LED)を少なくとも含んで構成された手段であり、
前記第一の発光素子は、前記第一の発光駆動手段によって少なくとも駆動される素子であり、
前記第二の発光素子は、前記第二の発光駆動手段によって少なくとも駆動される素子であり、
前記第二の発光手段は、前記第二の発光駆動手段によって少なくとも駆動される手段であり、
前記第一の発光手段は、前記第二の発光手段が搭載された基板(例えば、発光基板861)に搭載される手段である、
ことを特徴とする。
上記構成を備えたパチンコ機100によれば、遊技の興趣を向上させることができる。第一の発光駆動手段と第二の発光駆動手段のうちのいずれかが異常でいずれかの発光手段を正常に動作させられない場合であっても、何らかの演出を行うことができ、遊技の興趣を向上させることができる場合がある。また、演出態様の違いから発光駆動手段の異常を発見することができる場合がある。また、第一の発光手段と第二の発光手段を同じ基板に搭載するので、第一の発光手段と第二の発光手段とを比較し易く、異常を発見し易くなる場合がある。
(12)本実施の形態によるパチンコ機100は、
複数の発光手段(例えば、フルカラーLED743、749、755(図28参照))と、
前記複数の発光手段を少なくとも駆動可能な複数の発光駆動手段(例えば、第一ドライバ739と第二ドライバ741)と、
を備えた遊技台であって、
前記発光手段とは、複数色の発光素子(例えば、赤色LEDと緑色LEDと青色LED)を少なくとも含んで構成された手段のことであり、
前記複数の発光手段のうちの少なくとも一つは、第一の発光手段(例えば、フルカラーLED743)であり、
前記複数の発光手段のうちの少なくとも一つは、第二の発光手段(例えば、フルカラーLED749)であり、
前記複数の発光駆動手段のうちの少なくとも一つは、第一の発光駆動手段(例えば、第二ドライバ741)であり、
前記複数の発光駆動手段のうちの少なくとも一つは、第二の発光駆動手段(例えば、第一ドライバ739)であり、
前記第一の発光手段は、第一の発光素子(例えば、緑色LED)を少なくとも含んで構成された手段であり、
前記第一の発光手段は、第二の発光素子(例えば、赤色LED)を少なくとも含んで構成された手段であり、
前記第一の発光手段は、第三の発光素子(例えば、青色LED)を少なくとも含んで構成された手段であり、
前記第一の発光素子は、前記第一の発光駆動手段によって少なくとも駆動される素子であり、
前記第二の発光素子は、前記第二の発光駆動手段によって少なくとも駆動される素子であり、
前記第二の発光手段は、前記第二の発光駆動手段によって少なくとも駆動される手段であり、
前記第一の発光手段は、第一の場合(例えば、図32のステップS302の電源投入動作処理時)に、第一の発光態様(例えば、白色発光(R255、G255、B255))で発光可能な手段であり、
前記第二の発光手段は、前記第一の場合に、前記第一の発光態様で発光可能な手段である、
ことを特徴とする。
上記構成を備えたパチンコ機100によれば、遊技の興趣を向上させることができる。第一の発光駆動手段と第二の発光駆動手段のうちのいずれかが異常でいずれかの発光手段を正常に動作させられない場合であっても、何らかの演出を行うことができ、遊技の興趣を向上させることができる場合がある。また、演出態様の違いから発光駆動手段の異常を発見することができる場合がある。また、第一の発光手段と第二の発光手段が同じ発光態様で発光可能であるため、第一の発光手段と第二の発光手段を例えば初期動作時に同じ色で発光させることにより、第一の発光手段と第二の発光手段を比較し易く、異常を発見し易くなる場合がある。
(13)上記パチンコ機100であって、
前記第一の発光素子(例えば、緑色LED)は、前記第二の発光素子(例えば、赤色LED)とは異なる色の光を少なくとも発光可能な素子である、
ことを特徴とする。
上記パチンコ機100によれば、正常時と異常時の演出態様の違いから発光駆動手段の異常を発見することができる場合がある。
(14)上記パチンコ機100であって、
前記第一の発光素子(例えば、緑色LED)は、前記第三の発光素子(例えば、青色LED)とは異なる色の光を少なくとも発光可能な素子である、
ことを特徴とする。
上記パチンコ機100によれば、正常時と異常時の演出態様の違いから発光駆動手段の異常を発見することができる場合がある。
(15)上記パチンコ機100であって、
前記第三の発光素子は、前記第一の発光駆動手段によって少なくとも駆動される素子である、
ことを特徴とする。
上記パチンコ機100によれば、正常時と異常時の演出態様の違いから発光駆動手段の異常を発見することができる場合がある。
(16)上記パチンコ機100であって、
前記第三の発光素子は、前記第二の発光駆動手段によって少なくとも駆動される素子である、
ことを特徴とする。
(A1)
複数の発光手段(例えば、フルカラーLED743、749、755(図28参照))と、
前記複数の発光手段を駆動可能な複数の発光駆動手段(例えば、第一ドライバ739、第二ドライバ741)と、
を備えた遊技台であって、
前記発光手段とは、複数色の発光素子(例えば、赤色LED、緑色LED、青色LED)を含んで構成された手段のことであり、
前記複数の発光手段のうちの一つは、第一の発光手段(例えば、フルカラーLED743)であり、
前記複数の発光手段のうちの一つは、第二の発光手段(例えば、フルカラーLED749)であり、
前記複数の発光駆動手段のうちの一つは、第一の発光駆動手段(例えば、第二ドライバ741)であり、
前記複数の発光駆動手段のうちの一つは、第二の発光駆動手段(例えば、第一ドライバ739)であり、
前記第一の発光手段は、第一の発光素子(例えば、緑色LED)を含んで構成された手段であり、
前記第一の発光手段は、第二の発光素子(例えば、赤色LED)を含んで構成された手段であり、
前記第一の発光手段は、第三の発光素子(例えば、青色LED)を含んで構成された手段であり、
前記第一の発光素子は、前記第一の発光駆動手段によって駆動される素子であり、
前記第二の発光素子は、前記第二の発光駆動手段によって駆動される素子であり、
前記第二の発光手段は、前記第二の発光駆動手段によって駆動される手段であり、
前記第一の発光手段は、第一の発光態様(例えば、白色発光(R255、G255、B255))で発光可能な手段であり、
前記第二の発光手段は、前記第一の発光態様で発光可能な手段であり、
前記第一の発光手段による前記第一の発光態様の発光期間と前記第二の発光手段による該第一の発光態様の発光期間が重なる場合がある(例えば、段落「0273」〜「0276」、図28(a)参照)、
ことを特徴とする遊技台。
(A2)
上記A1に記載の遊技台であって、
前記複数の発光手段のうちの一つは、第三の発光手段(例えば、フルカラーLED755)であり、
前記第三の発光手段は、前記第一の発光駆動手段によって駆動される手段であり、
前記第三の発光手段は、前記第一の発光態様で発光可能な手段であり、
前記第一の発光手段による前記第一の発光態様の発光期間と前記第三の発光手段による該第一の発光態様の発光期間が重なる場合がある(例えば、段落「0273」〜「0278」、図28(a)参照)、
ことを特徴とする遊技台。
(A3)
上記A1またはA2に記載の遊技台であって、
前記第一の発光手段による前記第一の発光態様の発光と前記第二の発光手段による該第一の発光態様の発光とは同時に開始されるように構成される(例えば、段落「0290」、「0405」、図28(a)参照)、
ことを特徴とする遊技台。
(A4)
上記A1乃至A3のいずれか一項に記載の遊技台であって、
前記第一の発光素子は、前記第二の発光駆動手段に接続されていない素子であり(例えば、図28(a)参照)、
前記第二の発光素子は、前記第一の発光駆動手段に接続されていない素子である(例えば、図28(a)参照)、
ことを特徴とする遊技台。
(A5)
上記A1乃至A4のいずれか一項に記載の遊技台であって、
前記第一の発光素子(例えば、緑色LED)は、前記第二の発光素子(例えば、赤色LED)とは異なる色の光を発光可能な素子である、
ことを特徴とする遊技台。
(A6)
上記A1乃至A5のいずれか一項に記載の遊技台であって、
前記第一の発光素子は、前記第三の発光素子(例えば、青色LED)とは異なる色の光を発光可能な素子である、
ことを特徴とする遊技台。
(A7)
上記A1乃至A6のいずれか一項に記載の遊技台であって、
前記第三の発光素子は、前記第一の発光駆動手段によって駆動される素子である(例えば、図28(a)参照)、
ことを特徴とする遊技台。
(A8)
上記A1乃至A6のいずれか一項に記載の遊技台であって、
前記第三の発光素子は、前記第二の発光駆動手段によって駆動される素子である(例えば、図28(a)に示すフルカラーLED743の「B」(青色LED)が第一ドライバ739に接続されている場合)、
ことを特徴とする遊技台。
上記パチンコ機100によれば、正常時と異常時の演出態様の違いから発光駆動手段の異常を発見することができる場合がある。
また、前記第二の発光素子は、前記第二の発光駆動手段によってのみ駆動される素子としてもよい。
また、前記第二の発光手段は、前記第二の発光駆動手段によってのみ駆動される手段としてもよい。
また、前記複数の発光駆動手段に制御信号を少なくとも出力可能な制御手段を備えてもよい。前記制御手段は、前記制御信号をシリアル通信で出力可能なものであってもよい。
また、前記第一の発光手段は、第一の場合(例えば、発光条件の成立があった場合)に、第一の発光態様で発光可能なものであってもよい。前記第一の場合とは、遊技開始時、図柄変動時、図柄停止時、リーチ演出時、大当り開始時、操作手段への操作があった時、遊技媒体投入時、遊技媒体払出時、デモ演出開始時、電源投入時、遊技設定の設定時、音量設定時、電源投入時、電源投入後の初期設定時、電源投入後の電源投入動作処理時、所定の報知実行時、所定の演出報知実行時、所定のエラー検知報知実行時、所定の異常検知報知実行時、のうちの少なくともいずれかがあったことを成立要件の一つとして含んでもよい。また、前記第一の発光手段は、前記第一の場合に、第一の発光態様で発光可能なものであり、前記第二の発光手段は、前記第一の場合に、前記第一の発光態様で発光可能なものであってもよい。前記第一の発光態様は、白色発光を含むものであってもよい。前記第一の発光手段が前記第一の発光態様である場合に、前記第一の発光素子と前記第二の発光素子と前記第三の発光素子のうちの全てが発光していてもよい。前記第一の発光態様は、赤色発光のみを含むものであってもよい。前記第一の発光態様は、青色発光のみを含むものであってもよい。前記第一の発光態様は、緑色発光のみを含むものであってもよい。前記第一の発光手段が前記第一の発光態様である場合に、前記第一の発光素子と前記第二の発光素子と前記第三の発光素子のうちのいずれか一つまたは二つは発光していなくてもよい。
可動可能な可動手段を備え、該可動手段は、前記第一の場合に、第一の可動態様で可動可能なものであってもよい。音を出力可能な音出力手段を備え、該音出力手段は、前記第一の場合に、第一の音を出力可能なものであってもよい。
前記第一の発光素子は、第四の発光素子と直列に接続されていてもよい。前記第二の発光素子は、第五の発光素子と直列に接続されていてもよい。前記第三の発光素子は、第六の発光素子と直列に接続されていてもよい。
前記第一の発光手段は、第二の場合(例えば、異常報知条件の成立があった場合)に、第二の発光態様で発光可能なものであってもよい。前記第二の場合とは、異常検知手段(扉開放検知センサ、振動検知センサ、磁力検知センサ、電波検知センサ、電磁波検知センサ、球皿満タン検知センサ、異常検知センサ)のうちの少なくとも何れかが異常の発生を検知したことを成立要件の一つとして含んでもよい。前記第二の発光態様は、前記第一の発光態様とは異なる発光態様であってもよい。
前記複数の発光手段は、単色LED、複数色LED(2色LED、3色LED(RGB)、4色LED(RGBW))、ランプ、のうちのいずれか1または複数であってもよく、前記発光手段の数は、1つのみでもよいし、2つのみでもよいし、3つ以上でもよい。前記複数色LEDは、ワンパッケージで構成されるものであってもよい。
前記基板は、遊技盤に備えられるものであってもよい。前記基板は、扉枠に備えられるものであってもよい。前記基板は、可動物に備えられるものであってもよい。前記基板は、前記遊技台の左右方向と平行に配置されるものであってもよい。前記基板は、前記遊技台の左右方向に対して斜めに配置されるものであってもよい。前記基板は、前記遊技台の上下方向と平行に配置されるものであってもよい。前記基板は、前記遊技台の上下方向に対して斜めに配置されるものであってもよい。前記基板は、遊技者が視認可能な位置に配置されるものであってもよい。
前記第一の発光手段は、前記基板のうちの前記第二の発光手段が搭載された面に搭載されていてもよい。前記第一の発光手段は、前記基板のうちの前記第二の発光手段が搭載された面とは異なる面に搭載されていてもよい。前記第一の発光手段は、前記第二の発光手段を覆うカバーによって覆われていてもよい。前記第一の発光手段は、前記第二の発光手段を覆うレンズによって覆われていてもよい。前記カバーは、透明または半透明であってもよい。前記レンズは、透明または半透明であってもよい。前記第一の発光手段は、前記第二の発光手段と同一の規格のものであってもよい。前記第一の発光手段は、前記第二の発光手段と同一の数の色を発光可能なものであってもよい。
前記第一の発光駆動手段は、前記第二の発光駆動手段が搭載された基板に搭載されるものであってもよい。前記第一の発光駆動手段は、前記基板のうちの前記第二の発光駆動手段が搭載された面に搭載されていてもよい。前記第一の発光駆動手段は、前記基板のうちの前記第二の発光駆動手段が搭載された面と異なる面に搭載されていてもよい。
前記第一の発光手段から前記第一の発光駆動手段までの距離は第一の距離であり、前記第一の発光手段から前記第二の発光駆動手段までの距離は第二の距離であり、前記第一の距離は前記第二の距離と同じであってもよいし、前記第一の距離は前記第二の距離よりも短くてもよいし、前記第一の距離は前記第二の距離よりも長くてもよい。
前記第一の発光手段から前記第一の発光駆動手段までの配線長は第一の配線長であり、前記第一の発光手段から前記第二の発光駆動手段までの配線長は第二の配線長であり、前記第一の配線長は前記第二の配線長と同じであってもよいし、前記第一の配線長は前記第二の配線長よりも短くてもよいし、前記第一の配線長は前記第二の配線長よりも長くてもよい。
前記第一の発光駆動手段のポート数は、前記第二の発光駆動手段のポート数と同じであってもよいし、異なっていてもよい。前記第二の発光駆動手段が搭載された基板に第三の発光駆動手段を搭載してもよい。前記基板のレジストの色は白色であってもよい。
前記第一の発光駆動手段が駆動可能な発光手段の数は、前記第二の発光駆動手段が駆動可能な発光手段の数と比べて、同じでもよいし、少なくてもよいし、多くてもよい。前記第一の発光駆動手段が駆動可能な発光素子の数は、前記第二の発光駆動手段が駆動可能な発光素子の数と比べて、同じでもよいし、少なくてもよいし、多くてもよい。
前記基板の少なくとも一部は、透過性を有してもよい。前記基板の後方に演出手段を備えてもよい。前記演出手段は、構造物であってもよい。前記構造物は、動作不可能なものであってもよい。
前記遊技手段は、報知手段であってもよい。前記報知手段は、音出力手段(スピーカ)、発光手段(LED、ランプ)、表示手段(液晶、CRT、ドットマトリクス表示器、セグメント表示器)、可動物、振動装置、のうちのいずれか1または複数であってもよく、前記報知手段の数は1つのみでもよいし、2つのみでもよいし、3つ以上でもよい。前記報知手段は、前記第二の場合に、第二の報知態様で報知可能なものであってもよい。前記報知手段は、第三の場合(例えば、報知条件の成立があった場合)に、第一の報知態様で報知可能なものであってもよい。前記第三の場合とは、遊技開始時、図柄変動時、図柄停止時、リーチ演出時、大当り開始時、操作手段への操作があった時、遊技媒体投入時、遊技媒体払出時、デモ演出開始時、電源投入時、遊技設定の設定時、音量設定時、電源投入時、電源投入後の初期設定時、電源投入後の電源投入動作処理時、所定の報知実行時、所定の演出報知実行時、所定のエラー検知報知実行時、所定の異常検知報知実行時、のうちの少なくとも何れかがあったことを成立要件の一つとして含んでもよい。
前記基板は、第四の場合(例えば、移動条件の成立があった場合)に、移動可能なものであってもよい。前記第四の場合とは、遊技開始時、図柄変動時、図柄停止時、リーチ演出時、大当り開始時、操作手段への操作があった時、遊技媒体投入時、遊技媒体払出時、デモ演出開始時、電源投入時、遊技設定の設定時、音量設定時、電源投入時、電源投入後の初期設定時、電源投入後の電源投入動作処理時、所定の報知実行時、所定の演出報知実行時、所定のエラー検知報知実行時、所定の異常検知報知実行時、のうちの少なくとも何れかがあったことを成立要件の一つとして含んでもよい。前記基板は、フレキシブル基板であってもよい。
前記基板は、第五の場合(例えば、変形条件の成立があった場合)に、変形可能なものであってもよい。前記第五の場合とは、遊技開始時、図柄変動時、図柄停止時、リーチ演出時、大当り開始時、操作手段への操作があった時、遊技媒体投入時、遊技媒体払出時、デモ演出開始時、電源投入時、遊技設定の設定時、音量設定時、電源投入時、電源投入後の初期設定時、電源投入後の電源投入動作処理時、所定の報知実行時、所定の演出報知実行時、所定のエラー検知報知実行時、所定の異常検知報知実行時、のうちの少なくとも何れかがあったことを成立要件の一つとして含んでもよい。
また、前記基板を変形させることが可能な駆動手段を備えてもよい。前記基板は、第一の状態では平面を有し、第二の状態では曲面を有するものであってもよい。前記基板の第一の発光手段の照射方向は、変化可能なものであってもよい。前記基板は、第二の基板と前後方向に重なる位置に配置されるものであってもよい。前記第二の基板の少なくとも一部は、透過性を有するものであり、前記基板は、第二の発光手段が設けられたものであり、前記第一の発光手段と前記第二の発光手段とは前後方向に重なる位置に配置されるものであってもよい。
本発明は、上記実施の形態に限らず種々の変形が可能である。
例えば、上記実施例および変形例では、フルカラーLEDによる第一の演出が最高輝度による白色発光(R255、G255、B255)としたが、これに限らず、第一の演出は、例えば、(R127、G127、B127)や、(R63、G127、G255)等の中間調であってもよい。
また、上記実施の形態は、遊技機内に封入された遊技球を循環使用する封入式遊技機にも適用可能である。なお、上記詳細な説明で説明した事項、特に実施例および変形例で説明した事項は組み合わせることが可能である。
上記実施の形態では、遊技台の例としてパチンコ機を用いたが本発明はこれに限られない。本発明は、図49に示すようなスロットマシン1000にも適用可能である。
本発明に係る遊技台は、図49に示す「複数種類の図柄が施され、回転駆動される複数のリール1002と、リールの回転を指示するためのスタートレバー1004と、各々のリールに対応して設けられ、リールの回転を個別に停止させるための停止ボタン1006と、複数種類の役の内部当選の当否を抽選により判定する抽選手段(入賞役内部抽選)と、抽選手段の抽選結果に基づいてリールの回転の停止に関する停止制御を行うリール停止制御手段(リール停止制御処理)と、抽選手段の抽選結果に基づいて停止されたリールによって表示される図柄組合せが、内部当選した役に対応して予め定めた図柄組合せであるか否かの判定をする判定手段(入賞判定処理)と、図柄の停止態様が所定の入賞態様である場合、所定の入賞態様に対応する遊技媒体を払出す遊技媒体払出処理を行う払出制御手段(メダル払出処理1008)と、に加え、抽選手段の抽選結果に基づいて演出を実行する演出手段1010を備え、この演出手段が、所定の遊技領域1012に球を発射する発射装置1014と、発射装置から発射された球を入球可能に構成された入賞口1016と、入賞口1016に入球した球を検知する検知手段1018と、検知手段1018が球を検知した場合に球を払出す払出手段1020と、所定の図柄(識別情報)を変動表示する可変表示装置1022と、可変表示装置1022を遮蔽する位置に移動可能なシャッタ1024と、所定動作態様で動作する可動体1026と、を備え、入賞口に遊技球が入って入賞することを契機として、可変表示装置1022が図柄を変動させた後に停止表示させて、遊技を演出するような演出装置1010、であるスロットマシン1000」にも好適である。
上記実施の形態による本発明は以下のようにまとめられる。
(付記1)
第一の動作を少なくとも実行可能な第一の動作手段と、
第二の動作を少なくとも実行可能な第二の動作手段と、
前記第一の動作手段を少なくとも制御可能な第一の制御手段と、
前記第二の動作手段を少なくとも制御可能な第二の制御手段と、
演出を少なくとも実行可能な演出手段と、
を備えた遊技台であって、
前記演出手段は、複数の動作手段が共働することにより、第一の演出を少なくとも実行可能なものであり、
前記複数の動作手段のうちの少なくとも一つは、前記第一の動作手段であり、
前記複数の動作手段のうちの少なくとも一つは、前記第二の動作手段である、
ことを特徴とする遊技台。
(付記2)
付記1に記載の遊技台であって、
制御を少なくとも実行可能な第三の制御手段を備え、
前記第三の制御手段は、前記演出手段に前記第一の演出を実行させることが可能なものである、
ことを特徴とする遊技台。
(付記3)
付記2に記載の遊技台であって、
前記第三の制御手段は、前記第一の制御手段に信号を少なくとも出力可能なものであり、
前記第三の制御手段は、前記第二の制御手段に信号を少なくとも出力可能なものである、
ことを特徴とする遊技台。
(付記4)
付記2または3に記載の遊技台であって、
第三の動作を少なくとも実行可能な第三の動作手段と、
前記第三の動作手段を少なくとも制御可能な第四の制御手段と、
を備え、
前記第三の制御手段は、前記第四の制御手段に信号を少なくとも出力可能なものである、
ことを特徴とする遊技台。
(付記5)
付記4に記載の遊技台であって、
前記第三の動作手段は、前記第一の演出の実行期間のうちの少なくとも一部の期間中に、前記第三の動作を実行可能なものである、
ことを特徴とする遊技台。
(付記6)
第一の動作を少なくとも実行可能な第一の動作手段と、
第二の動作を少なくとも実行可能な第二の動作手段と、
第三の動作を少なくとも実行可能な第三の動作手段と、
演出を少なくとも実行可能な演出手段と、
を備えた遊技台であって、
前記演出手段は、複数の動作手段が共働することにより、第一の演出を少なくとも実行可能なものであり、
前記複数の動作手段のうちの少なくとも一つは、前記第一の動作手段であり、
前記複数の動作手段のうちの少なくとも一つは、前記第二の動作手段であり、
前記第一の動作手段は、前記第三の動作手段と少なくとも直列に接続されるものであり、
前記第二の動作手段は、前記第三の動作手段と少なくとも直列に接続されないものである、
ことを特徴とする遊技台。
(付記7)
付記6に記載の遊技台であって、
第四の動作を少なくとも実行可能な第四の動作手段と、
演出を少なくとも実行可能な第二の演出手段と、を備え、
前記第二の演出手段は、複数の動作手段が共働することにより、第二の演出を少なくとも実行可能なものであり、
前記複数の動作手段のうちの少なくとも一つは、前記第三の動作手段であり、
前記複数の動作手段のうちの少なくとも一つは、前記第四の動作手段であり、
前記第一の動作手段は、前記第四の動作手段と少なくとも直列に接続されないものであり、
前記第二の動作手段は、前記第四の動作手段と少なくとも直列に接続されないものである、
ことを特徴とする遊技台。
(付記8)
付記7に記載の遊技台であって、
前記演出手段は、前記第二の演出の実行期間のうちの少なくとも一部の期間中に前記第一の演出を実行可能なものである、
ことを特徴とする遊技台。
(付記9)
付記6〜8のいずれか一項に記載の遊技台であって、
制御を少なくとも実行可能な制御手段を備え、
前記制御手段は、前記第一の動作手段を少なくとも制御可能なものであり、
前記制御手段は、前記第二の動作手段を少なくとも制御可能なものである、
ことを特徴とする遊技台。
(付記10)
付記9に記載の遊技台であって、
前記制御手段は、前記第三の動作手段を少なくとも制御可能なものである、
ことを特徴とする遊技台。
(付記11)
複数の発光手段と、
前記複数の発光手段を少なくとも駆動可能な複数の発光駆動手段と、
を備えた遊技台であって、
前記発光手段とは、複数色の発光素子を少なくとも含んで構成された手段のことであり、
前記複数の発光手段のうちの少なくとも一つは、第一の発光手段であり、
前記複数の発光手段のうちの少なくとも一つは、第二の発光手段であり、
前記複数の発光駆動手段のうちの少なくとも一つは、第一の発光駆動手段であり、
前記複数の発光駆動手段のうちの少なくとも一つは、第二の発光駆動手段であり、
前記第一の発光手段は、第一の発光素子を少なくとも含んで構成された手段であり、
前記第一の発光手段は、第二の発光素子を少なくとも含んで構成された手段であり、
前記第一の発光手段は、第三の発光素子を少なくとも含んで構成された手段であり、
前記第一の発光素子は、前記第一の発光駆動手段によって少なくとも駆動される素子であり、
前記第二の発光素子は、前記第二の発光駆動手段によって少なくとも駆動される素子であり、
前記第二の発光手段は、前記第二の発光駆動手段によって少なくとも駆動される手段であり、
前記第一の発光手段は、前記第二の発光手段が搭載された基板に搭載される手段である、
ことを特徴とする遊技台。
(付記12)
複数の発光手段と、
前記複数の発光手段を少なくとも駆動可能な複数の発光駆動手段と、
を備えた遊技台であって、
前記発光手段とは、複数色の発光素子を少なくとも含んで構成された手段のことであり、
前記複数の発光手段のうちの少なくとも一つは、第一の発光手段であり、
前記複数の発光手段のうちの少なくとも一つは、第二の発光手段であり、
前記複数の発光駆動手段のうちの少なくとも一つは、第一の発光駆動手段であり、
前記複数の発光駆動手段のうちの少なくとも一つは、第二の発光駆動手段であり、
前記第一の発光手段は、第一の発光素子を少なくとも含んで構成された手段であり、
前記第一の発光手段は、第二の発光素子を少なくとも含んで構成された手段であり、
前記第一の発光手段は、第三の発光素子を少なくとも含んで構成された手段であり、
前記第一の発光素子は、前記第一の発光駆動手段によって少なくとも駆動される素子であり、
前記第二の発光素子は、前記第二の発光駆動手段によって少なくとも駆動される素子であり、
前記第二の発光手段は、前記第二の発光駆動手段によって少なくとも駆動される手段であり、
前記第一の発光手段は、第一の場合に、第一の発光態様で発光可能な手段であり、
前記第二の発光手段は、前記第一の場合に、前記第一の発光態様で発光可能な手段である、
ことを特徴とする遊技台。
(付記13)
付記11または12に記載の遊技台であって、
前記第一の発光素子は、前記第二の発光素子とは異なる色の光を少なくとも発光可能な素子である、
ことを特徴とする遊技台。
(付記14)
付記11乃至13のいずれか一項に記載の遊技台であって、
前記第一の発光素子は、前記第三の発光素子とは異なる色の光を少なくとも発光可能な素子である、
ことを特徴とする遊技台。
(付記15)
付記11乃至14のいずれか一項に記載の遊技台であって、
前記第三の発光素子は、前記第一の発光駆動手段によって少なくとも駆動される素子である、
ことを特徴とする遊技台。
(付記16)
付記11乃至14のいずれか一項に記載の遊技台であって、
前記第三の発光素子は、前記第二の発光駆動手段によって少なくとも駆動される素子である、
ことを特徴とする遊技台。
(付記17)
複数の発光手段と、
前記複数の発光手段を駆動可能な複数の発光駆動手段と、
を備えた遊技台であって、
前記発光手段とは、複数色の発光素子を含んで構成された手段のことであり、
前記複数の発光手段のうちの一つは、第一の発光手段であり、
前記複数の発光手段のうちの一つは、第二の発光手段であり、
前記複数の発光駆動手段のうちの一つは、第一の発光駆動手段であり、
前記複数の発光駆動手段のうちの一つは、第二の発光駆動手段であり、
前記第一の発光手段は、第一の発光素子を含んで構成された手段であり、
前記第一の発光手段は、第二の発光素子を含んで構成された手段であり、
前記第一の発光手段は、第三の発光素子を含んで構成された手段であり、
前記第一の発光素子は、前記第一の発光駆動手段によって駆動される素子であり、
前記第二の発光素子は、前記第二の発光駆動手段によって駆動される素子であり、
前記第二の発光手段は、前記第二の発光駆動手段によって駆動される手段であり、
前記第一の発光手段は、第一の発光態様で発光可能な手段であり、
前記第二の発光手段は、前記第一の発光態様で発光可能な手段であり、
前記第一の発光手段による前記第一の発光態様の発光期間と前記第二の発光手段による該第一の発光態様の発光期間が重なる場合がある、
ことを特徴とする遊技台。
(付記18)
付記17に記載の遊技台であって、
前記複数の発光手段のうちの一つは、第三の発光手段であり、
前記第三の発光手段は、前記第一の発光駆動手段によって駆動される手段であり、
前記第三の発光手段は、前記第一の発光態様で発光可能な手段であり、
前記第一の発光手段による前記第一の発光態様の発光期間と前記第三の発光手段による該第一の発光態様の発光期間が重なる場合がある、
ことを特徴とする遊技台。
(付記19)
付記17または18に記載の遊技台であって、
前記第一の発光手段による前記第一の発光態様の発光と前記第二の発光手段による該第一の発光態様の発光とは同時に開始されるように構成される、
ことを特徴とする遊技台。
(付記20)
付記17乃至19のいずれか一項に記載の遊技台であって、
前記第一の発光素子は、前記第二の発光駆動手段に接続されていない素子であり、
前記第二の発光素子は、前記第一の発光駆動手段に接続されていない素子である、
ことを特徴とする遊技台。
(付記21)
付記17乃至20のいずれか一項に記載の遊技台であって、
前記第一の発光素子は、前記第二の発光素子とは異なる色の光を発光可能な素子である、
ことを特徴とする遊技台。
(付記22)
付記17乃至21のいずれか一項に記載の遊技台であって、
前記第一の発光素子は、前記第三の発光素子とは異なる色の光を発光可能な素子である、
ことを特徴とする遊技台。
(付記23)
付記17乃至22のいずれか一項に記載の遊技台であって、
前記第三の発光素子は、前記第一の発光駆動手段によって駆動される素子である、
ことを特徴とする遊技台。
(付記24)
付記17乃至22のいずれか一項に記載の遊技台であって、
前記第三の発光素子は、前記第二の発光駆動手段によって駆動される素子である、
ことを特徴とする遊技台。
100 パチンコ機
110 発射装置
146 発射杆
148 発射槌
208 装飾図柄表示装置
209 演出可動物
226 一般入賞口
228 普図始動口
230 特図1始動口
232 特図2始動口
234 可変入賞口
421 駆動回路
634 球送り装置
701、705、717、721、733、737、817、821 コネクタ
703、719、735、819 ケーブル
707、723、739、823 第一ドライバ
709、725、741、825 第二ドライバ
711 第一ソレノイド
713 第二ソレノイド
715、731、747、751、753、757、759、809、815、827、829、859 異常発生部
727 7セグメント表示器
729、745、801 照明基板
743、749、755、805、811、837、839、841、843、845、847、855 フルカラーLED
761 第三ドライバ
801、831 照明基板
803、835、853 ドライバ
807 赤色LED
857 駆動手段
861 発光基板
865 カバー
863 発光基板取付部
871 単色LED
875、877 空きポート
901 特図1保留表示領域
903 特別演出領域
905、905a、905b、905c、905d 透明LED基板
910 球進入阻止板

Claims (8)

  1. 複数の発光手段と、
    前記複数の発光手段を駆動可能な複数の発光駆動手段と、
    を備えた遊技台であって、
    前記発光手段とは、複数色の発光素子を含んで構成された手段のことであり、
    前記複数の発光手段のうちの一つは、第一の発光手段であり、
    前記複数の発光手段のうちの一つは、第二の発光手段であり、
    前記複数の発光駆動手段のうちの一つは、第一の発光駆動手段であり、
    前記複数の発光駆動手段のうちの一つは、第二の発光駆動手段であり、
    前記第一の発光手段は、第一の発光素子を含んで構成された手段であり、
    前記第一の発光手段は、第二の発光素子を含んで構成された手段であり、
    前記第一の発光手段は、第三の発光素子を含んで構成された手段であり、
    前記第一の発光素子は、前記第一の発光駆動手段によって駆動される素子であり、
    前記第二の発光素子は、前記第二の発光駆動手段によって駆動される素子であり、
    前記第二の発光手段は、前記第二の発光駆動手段によって駆動される手段であり、
    前記第一の発光手段は、第一の発光態様で発光可能な手段であり、
    前記第二の発光手段は、前記第一の発光態様で発光可能な手段であり、
    前記第一の発光手段による前記第一の発光態様の発光期間と前記第二の発光手段による該第一の発光態様の発光期間が重なる場合がある、
    ことを特徴とする遊技台。
  2. 請求項1に記載の遊技台であって、
    前記複数の発光手段のうちの一つは、第三の発光手段であり、
    前記第三の発光手段は、前記第一の発光駆動手段によって駆動される手段であり、
    前記第三の発光手段は、前記第一の発光態様で発光可能な手段であり、
    前記第一の発光手段による前記第一の発光態様の発光期間と前記第三の発光手段による該第一の発光態様の発光期間が重なる場合がある、
    ことを特徴とする遊技台。
  3. 請求項1または2に記載の遊技台であって、
    前記第一の発光手段による前記第一の発光態様の発光と前記第二の発光手段による該第一の発光態様の発光とは同時に開始されるように構成される、
    ことを特徴とする遊技台。
  4. 請求項1乃至3のいずれか一項に記載の遊技台であって、
    前記第一の発光素子は、前記第二の発光駆動手段に接続されていない素子であり、
    前記第二の発光素子は、前記第一の発光駆動手段に接続されていない素子である、
    ことを特徴とする遊技台。
  5. 請求項1乃至のいずれか一項に記載の遊技台であって、
    前記第一の発光素子は、前記第二の発光素子とは異なる色の光を発光可能な素子である、
    ことを特徴とする遊技台。
  6. 請求項1乃至5のいずれか一項に記載の遊技台であって、
    前記第一の発光素子は、前記第三の発光素子とは異なる色の光を発光可能な素子である、
    ことを特徴とする遊技台。
  7. 請求項1乃至6のいずれか一項に記載の遊技台であって、
    前記第三の発光素子は、前記第一の発光駆動手段によって駆動される素子である、
    ことを特徴とする遊技台。
  8. 請求項1乃至6のいずれか一項に記載の遊技台であって、
    前記第三の発光素子は、前記第二の発光駆動手段によって駆動される素子である、
    ことを特徴とする遊技台。
JP2013272809A 2013-12-27 2013-12-27 遊技台 Active JP6024924B2 (ja)

Priority Applications (1)

Application Number Priority Date Filing Date Title
JP2013272809A JP6024924B2 (ja) 2013-12-27 2013-12-27 遊技台

Applications Claiming Priority (1)

Application Number Priority Date Filing Date Title
JP2013272809A JP6024924B2 (ja) 2013-12-27 2013-12-27 遊技台

Related Child Applications (1)

Application Number Title Priority Date Filing Date
JP2016187963A Division JP6402759B2 (ja) 2016-09-27 2016-09-27 遊技台

Publications (2)

Publication Number Publication Date
JP2015126769A JP2015126769A (ja) 2015-07-09
JP6024924B2 true JP6024924B2 (ja) 2016-11-16

Family

ID=53837080

Family Applications (1)

Application Number Title Priority Date Filing Date
JP2013272809A Active JP6024924B2 (ja) 2013-12-27 2013-12-27 遊技台

Country Status (1)

Country Link
JP (1) JP6024924B2 (ja)

Cited By (1)

* Cited by examiner, † Cited by third party
Publication number Priority date Publication date Assignee Title
JP2016214992A (ja) * 2016-09-27 2016-12-22 株式会社大都技研 遊技台

Families Citing this family (1)

* Cited by examiner, † Cited by third party
Publication number Priority date Publication date Assignee Title
JP2018093981A (ja) * 2016-12-09 2018-06-21 株式会社三共 遊技機

Family Cites Families (3)

* Cited by examiner, † Cited by third party
Publication number Priority date Publication date Assignee Title
JP2006141816A (ja) * 2004-11-22 2006-06-08 Aruze Corp 遊技機用制御装置
JP2011250967A (ja) * 2010-06-01 2011-12-15 Takasago Electric Ind Co Ltd 遊技機
JP5945750B2 (ja) * 2015-02-03 2016-07-05 株式会社大都技研 遊技台

Cited By (1)

* Cited by examiner, † Cited by third party
Publication number Priority date Publication date Assignee Title
JP2016214992A (ja) * 2016-09-27 2016-12-22 株式会社大都技研 遊技台

Also Published As

Publication number Publication date
JP2015126769A (ja) 2015-07-09

Similar Documents

Publication Publication Date Title
JP5793760B1 (ja) 遊技台
JP2017029332A (ja) 遊技台
JP2011200423A (ja) 遊技台
JP5824705B2 (ja) 遊技台
JP2012120617A (ja) 遊技台
JP2012200465A (ja) 遊技台
JP5812497B2 (ja) 遊技台
JP2015195806A (ja) 遊技台
JP2011200470A (ja) 遊技台
JP5352866B2 (ja) 遊技台
JP5945750B2 (ja) 遊技台
JP6024924B2 (ja) 遊技台
JP5403721B1 (ja) 遊技台
JP2015157154A (ja) 遊技台
JP2012045060A (ja) 遊技台
JP6402759B2 (ja) 遊技台
JP2015202169A (ja) 遊技台
JP2015202168A (ja) 遊技台
JP6024923B2 (ja) 遊技台
JP2016193263A (ja) 遊技台
JP6402758B2 (ja) 遊技台
JP5693694B2 (ja) 遊技台
JP6056011B2 (ja) 遊技台
JP6002920B2 (ja) 遊技台
JP6216960B2 (ja) 遊技台

Legal Events

Date Code Title Description
A131 Notification of reasons for refusal

Free format text: JAPANESE INTERMEDIATE CODE: A131

Effective date: 20160105

A977 Report on retrieval

Free format text: JAPANESE INTERMEDIATE CODE: A971007

Effective date: 20160108

A521 Request for written amendment filed

Free format text: JAPANESE INTERMEDIATE CODE: A523

Effective date: 20160302

TRDD Decision of grant or rejection written
A01 Written decision to grant a patent or to grant a registration (utility model)

Free format text: JAPANESE INTERMEDIATE CODE: A01

Effective date: 20160830

A61 First payment of annual fees (during grant procedure)

Free format text: JAPANESE INTERMEDIATE CODE: A61

Effective date: 20160927

R150 Certificate of patent or registration of utility model

Ref document number: 6024924

Country of ref document: JP

Free format text: JAPANESE INTERMEDIATE CODE: R150

R250 Receipt of annual fees

Free format text: JAPANESE INTERMEDIATE CODE: R250

R250 Receipt of annual fees

Free format text: JAPANESE INTERMEDIATE CODE: R250

R250 Receipt of annual fees

Free format text: JAPANESE INTERMEDIATE CODE: R250