JP6002139B2 - 補助液体を主液体に計量供給する比例計量計 - Google Patents

補助液体を主液体に計量供給する比例計量計 Download PDF

Info

Publication number
JP6002139B2
JP6002139B2 JP2013537254A JP2013537254A JP6002139B2 JP 6002139 B2 JP6002139 B2 JP 6002139B2 JP 2013537254 A JP2013537254 A JP 2013537254A JP 2013537254 A JP2013537254 A JP 2013537254A JP 6002139 B2 JP6002139 B2 JP 6002139B2
Authority
JP
Japan
Prior art keywords
chamber
meter
proportional
liquid
outlet
Prior art date
Legal status (The legal status is an assumption and is not a legal conclusion. Google has not performed a legal analysis and makes no representation as to the accuracy of the status listed.)
Active
Application number
JP2013537254A
Other languages
English (en)
Other versions
JP2014500951A (ja
Inventor
フレ,セバスティアン
ドゥケノイ,フィリップ
カリエール,クリストフ
Original Assignee
ドサトロン アンテルナショナル
ドサトロン アンテルナショナル
Priority date (The priority date is an assumption and is not a legal conclusion. Google has not performed a legal analysis and makes no representation as to the accuracy of the date listed.)
Filing date
Publication date
Application filed by ドサトロン アンテルナショナル, ドサトロン アンテルナショナル filed Critical ドサトロン アンテルナショナル
Publication of JP2014500951A publication Critical patent/JP2014500951A/ja
Application granted granted Critical
Publication of JP6002139B2 publication Critical patent/JP6002139B2/ja
Active legal-status Critical Current
Anticipated expiration legal-status Critical

Links

Images

Classifications

    • FMECHANICAL ENGINEERING; LIGHTING; HEATING; WEAPONS; BLASTING
    • F04POSITIVE - DISPLACEMENT MACHINES FOR LIQUIDS; PUMPS FOR LIQUIDS OR ELASTIC FLUIDS
    • F04BPOSITIVE-DISPLACEMENT MACHINES FOR LIQUIDS; PUMPS
    • F04B43/00Machines, pumps, or pumping installations having flexible working members
    • F04B43/02Machines, pumps, or pumping installations having flexible working members having plate-like flexible members, e.g. diaphragms
    • F04B43/06Pumps having fluid drive
    • F04B43/067Pumps having fluid drive the fluid being actuated directly by a piston
    • FMECHANICAL ENGINEERING; LIGHTING; HEATING; WEAPONS; BLASTING
    • F04POSITIVE - DISPLACEMENT MACHINES FOR LIQUIDS; PUMPS FOR LIQUIDS OR ELASTIC FLUIDS
    • F04BPOSITIVE-DISPLACEMENT MACHINES FOR LIQUIDS; PUMPS
    • F04B13/00Pumps specially modified to deliver fixed or variable measured quantities
    • FMECHANICAL ENGINEERING; LIGHTING; HEATING; WEAPONS; BLASTING
    • F04POSITIVE - DISPLACEMENT MACHINES FOR LIQUIDS; PUMPS FOR LIQUIDS OR ELASTIC FLUIDS
    • F04BPOSITIVE-DISPLACEMENT MACHINES FOR LIQUIDS; PUMPS
    • F04B13/00Pumps specially modified to deliver fixed or variable measured quantities
    • F04B13/02Pumps specially modified to deliver fixed or variable measured quantities of two or more fluids at the same time
    • FMECHANICAL ENGINEERING; LIGHTING; HEATING; WEAPONS; BLASTING
    • F04POSITIVE - DISPLACEMENT MACHINES FOR LIQUIDS; PUMPS FOR LIQUIDS OR ELASTIC FLUIDS
    • F04BPOSITIVE-DISPLACEMENT MACHINES FOR LIQUIDS; PUMPS
    • F04B43/00Machines, pumps, or pumping installations having flexible working members
    • F04B43/08Machines, pumps, or pumping installations having flexible working members having tubular flexible members
    • F04B43/10Pumps having fluid drive
    • F04B43/107Pumps having fluid drive the fluid being actuated directly by a piston
    • FMECHANICAL ENGINEERING; LIGHTING; HEATING; WEAPONS; BLASTING
    • F04POSITIVE - DISPLACEMENT MACHINES FOR LIQUIDS; PUMPS FOR LIQUIDS OR ELASTIC FLUIDS
    • F04BPOSITIVE-DISPLACEMENT MACHINES FOR LIQUIDS; PUMPS
    • F04B9/00Piston machines or pumps characterised by the driving or driven means to or from their working members
    • F04B9/08Piston machines or pumps characterised by the driving or driven means to or from their working members the means being fluid
    • F04B9/10Piston machines or pumps characterised by the driving or driven means to or from their working members the means being fluid the fluid being liquid
    • F04B9/103Piston machines or pumps characterised by the driving or driven means to or from their working members the means being fluid the fluid being liquid having only one pumping chamber
    • F04B9/105Piston machines or pumps characterised by the driving or driven means to or from their working members the means being fluid the fluid being liquid having only one pumping chamber reciprocating movement of the pumping member being obtained by a double-acting liquid motor
    • FMECHANICAL ENGINEERING; LIGHTING; HEATING; WEAPONS; BLASTING
    • F04POSITIVE - DISPLACEMENT MACHINES FOR LIQUIDS; PUMPS FOR LIQUIDS OR ELASTIC FLUIDS
    • F04BPOSITIVE-DISPLACEMENT MACHINES FOR LIQUIDS; PUMPS
    • F04B9/00Piston machines or pumps characterised by the driving or driven means to or from their working members
    • F04B9/08Piston machines or pumps characterised by the driving or driven means to or from their working members the means being fluid
    • F04B9/10Piston machines or pumps characterised by the driving or driven means to or from their working members the means being fluid the fluid being liquid
    • F04B9/103Piston machines or pumps characterised by the driving or driven means to or from their working members the means being fluid the fluid being liquid having only one pumping chamber
    • F04B9/105Piston machines or pumps characterised by the driving or driven means to or from their working members the means being fluid the fluid being liquid having only one pumping chamber reciprocating movement of the pumping member being obtained by a double-acting liquid motor
    • F04B9/1053Piston machines or pumps characterised by the driving or driven means to or from their working members the means being fluid the fluid being liquid having only one pumping chamber reciprocating movement of the pumping member being obtained by a double-acting liquid motor one side of the double-acting liquid motor being always under the influence of the liquid under pressure
    • YGENERAL TAGGING OF NEW TECHNOLOGICAL DEVELOPMENTS; GENERAL TAGGING OF CROSS-SECTIONAL TECHNOLOGIES SPANNING OVER SEVERAL SECTIONS OF THE IPC; TECHNICAL SUBJECTS COVERED BY FORMER USPC CROSS-REFERENCE ART COLLECTIONS [XRACs] AND DIGESTS
    • Y10TECHNICAL SUBJECTS COVERED BY FORMER USPC
    • Y10TTECHNICAL SUBJECTS COVERED BY FORMER US CLASSIFICATION
    • Y10T137/00Fluid handling
    • Y10T137/8593Systems
    • Y10T137/85978With pump
    • Y10T137/85986Pumped fluid control

Landscapes

  • Engineering & Computer Science (AREA)
  • Mechanical Engineering (AREA)
  • General Engineering & Computer Science (AREA)
  • Reciprocating Pumps (AREA)
  • Details Of Reciprocating Pumps (AREA)
  • Measuring Volume Flow (AREA)
  • Infusion, Injection, And Reservoir Apparatuses (AREA)
  • Apparatus Associated With Microorganisms And Enzymes (AREA)
  • Pharmaceuticals Containing Other Organic And Inorganic Compounds (AREA)
  • Feeding, Discharge, Calcimining, Fusing, And Gas-Generation Devices (AREA)
  • Coating Apparatus (AREA)

Description

本発明は、補助液体を主液体に計量供給する以下のような種類の比例計量計(proportional dosimeter)に関する。計量計は、主液体の入口および出口を有する計量計本体、ならびに本体に収容され主液体で駆動されプランジャ・ピストンに連結されてそれを往復直線運動で駆動する液圧モータを備える。プランジャ・ピストンは、液圧モータから離れた第1の端部で開口し第2の端部で主液体を収容する計量計本体の内部容積に開口する第1のチャンバ内で移動し、チャンバの第1の端部から離れるように移動する往行程の間、吸込段階を実施し、往行程の終点で第1のチャンバから離れることができる。計量計は、さらに、復行程の間、第1のチャンバ内において特定の圧力を超えると液体が本体の内部容積に流入できるように設けられる弁を備える。
このタイプの比例計量計は、特に、特許EP0255791B1から既知である。このような比例計量計は、電力なしで動作し、主液体だけで作動され、補助液体を構成する製品の一般的に吸込圧力が比較的低い水である主液体への注入が可能である。
非常に多くの既知の比例計量計は、計量計本体の送出オリフィスが混合物を供給するように、計量計の本体内で主液体と補助液体を混合する。いくつかの場合、特に、補助液体が計量計本体内にある要素に有害であるとき、または計量供給製品と動力製品(motive product)の間の反応が、計量計に時期尚早な摩耗を引き起こす恐れがある石炭化を招く応用例の場合、補助液体の計量計本体へのいかなる侵入も回避し、計量計本体の下流での混合を実施することが望まれる。
本出願会社名の特許EP0885357B1では、拡張するベローズを含むこの問題の解決策が提案されている。この解決策は、効果的であるが、計量ポンプに大きな変更を加える必要がある。
本発明の特別な目的は、モジュール方式の助けにより簡単な適合を可能にするように従来の計量計に対して簡単な変更を使用して、補助液体が計量計の本体に入るのを回避し、計量計の下流にある出口で2つの液体の混合を実施する、比例計量計を提供することである。さらに、下流にある出口での混合を実施すると同時に、計量される量の調節を可能にする比例計量計が望まれている。
本発明によれば、上文で明確に述べた種類の比例計量計は、容量可変の第2のチャンバを備えることを特徴とする。第2のチャンバは、第1のチャンバ内における圧力を受ける薄膜によって境界が定められ、補助液体用の吸込オリフィスおよび補助液体用の送出オリフィスを備える。この送出オリフィスは、管路を介して計量計本体の出口の下流に位置する注入チャンバに連結され、それによって補助液体と流れている主液体との混合が可能になる。
計量計は、有利には、計量計本体の内部容積内の圧力が、注入チャンバ内の圧力と、第2のチャンバと注入チャンバの間の連結部における水頭損失の合計よりも大きくなるように構成される。
参考のため、絞り部材は、水頭損失、具体的には、吸込段階の終点、特にプランジャ・ピストンが往行程の終点で第1のチャンバから離れるときに薄膜を押し戻すのに十分な水頭損失を引き起こすために、計量計の出口の下流かつ注入チャンバの上流に設けられる。
計量計本体の内部容積が出口と直接連通しているポンプ構成の場合、圧力は本体の内部容積と出口で実質的に同じになり、絞り部材によって引き起こされる水頭損失によって、計量計本体の内部容積と注入チャンバの間における十分な圧力差が確実になり得る。
計量計本体の内部容積が計量計の入口と直接連通しているポンプ構成の場合、計量計本体の内部容積と出口の間におけるモータによる水頭損失は、第2のチャンバと注入チャンバの間の連結部における水頭損失よりも大きければ、薄膜の押し戻しに十分となり得る。
第2のチャンバは、吸込弁および送出弁を装備する。これらの弁および絞り部材は、計量計の正確な動作を確実にするように調節される。
有利には、薄膜は、第2のチャンバの反対側に、第1のチャンバの第1の端部と連通する空間の境界を定める。
参考のため、第2のチャンバは、互いに組み付けられる第1のカップおよび第2のカップの対向する凹部によって境界が定められる容積内に位置し、薄膜の周縁は、2つの互いに組み付けられるカップの間に流体密封にするような方法でクランプ締めされる。第1のカップは、計量計本体の第1のチャンバの第1の端部まわりに取り付けられ、第2のカップは、吸込オリフィスと送出オリフィスを装備する。第2のチャンバは、このように薄膜と第2のカップの凹部の間に形成される。薄膜は、第1のカップの凹部または第2のカップの凹部に押し付けられ得る。
有利には、薄膜の中央部分は、軸方向ロッドに固定される剛性円板に固定される。軸方向ロッドは、第2のチャンバから離れた方を向き、液体の通路を出る間、計量計本体の案内ボア内を滑動することができる。そうした案内は任意選択にすぎない。
参考のため、プランジャ・ピストンが内部を移動する円筒形の第1のチャンバの境界を画定するスリーブの軸方向位置は、回転リングを使用して調節可能である。
計量計本体の出口の下流に位置する絞り部材は、計量計本体の出口に連結されるユニオンの吸込オリフィスに取り付けられる、少なくとも1つの特に長手方向のスロットを有する円筒形のスカートが付いたプラグから構成され得る。絞り部材の軸方向位置は調節可能である。
復行程の間第1のチャンバ内の圧力が特定の圧力を超えると液体が本体の内部容積に流入できるように設けられる弁は、プランジャの端部に設けられるチャンバ内に取り付けられる予荷重が加えられた弁であってよい。
一代替実施形態によれば、計量計本体の内部容積は、計量計の入口と直接連通し、それによって計量計本体の内部容積と出口の間におけるモータによる水頭損失が薄膜の押し戻しをもたらすようになる。計量計本体の内部容積と出口の間のモータによる水頭損失は、第2のチャンバと注入チャンバの間の連結部における水頭損失よりも大きければ、薄膜を押し戻すのに十分であり、その場合絞り部材を省くことができる。
上文で明確に記載した定義(provision)とは別に、本発明は、添付の図面を参照して説明されるいくつかの例示的な実施形態に関連して本明細書において以下により明確に考慮されるいくつかの他の定義に存するが、それらに多少なりとも限定されるものではない。図面は以下のとおりである。
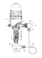
補助液体が流入可能な上昇行程段階にある、本発明による比例計量計の、いくつかの部分が外観図で示されている軸方向縦断面図である。 補助液体を注入する下降行程段階にある計量計の図1と同様の図である。 本発明による計量計のより小さいスケールの外観斜視図である。 下降行程段階にある、本発明による計量計の代替形態の、いくつかの部分が外観図で示されている軸方向縦断面図である。 図4の領域Vの拡大詳細図である。 水入口が計量計本体と直接連通している、計量計の他の代替形態の、いくつかの部分が外観図で示されている軸方向縦断面図である。
図面、特に図1を参照すると、補助液体を主液体に計量供給する比例計量計Dが示されている。比例計量計Dは、全体的に2つの部分すなわち基部1aおよびこの基部にねじで取り付けられるキャップ1bからなり、主液体の入口2および出口3を有する、計量計本体1を備える。本体1内には液圧モータ4が収容され、図にはその下側部分が見える。本体1の幾何学的軸は、概ね垂直方向に位置し、モータ4は、本質的に、キャップ1b内部に位置する。モータ4は、主液体によって作動され、一般的に、運動の方向を逆転させるために往行程および復行程の終点で切り替えを行う液圧手段を有する差動ピストンを備える。このタイプのモータは、本出願会社から販売されている。そうしたモータの一例は、本出願会社名の特許EP1971774B1に記載されている。
液圧モータ4は、図1のレイアウトでは垂直であるプランジャ・ピストン5に連結され、それを往復直線運動で駆動する。プランジャ・ピストン5は、液圧モータ4から離れた第1の端部7で開口しているスリーブ6aによって境界が画成される円筒形の第1のチャンバ6の内部を移動する。チャンバ6は、第2の端部8で、主液体を収容する計量計本体の内部容積9に開口している。
プランジャ・ピストン5は、その下方端部近くに、プランジャ・ピストンを囲繞し溝11内に収容される、弁として働くシーリング・リング10を装備する。ピストン5の送出行程(下降行程)の間、特定の圧力を超えると液体がチャンバ6から空間9に流入できるようにするために、溝11によってシーリング・リング10はある程度偏位することができる。
プランジャ・ピストン5は、それをチャンバの第1の端部7から遠ざかるように動かす往行程にされると、吸込段階になり、前記第1の端部7の方に向かう復行程にされると、ピストン5によってチャンバ6内の圧力の増大が引き起こされる。
本発明によれば、計量計Dは、第1のチャンバ6内における液体圧力を受ける薄膜Mによって境界が定められる容量可変の第2のチャンバ12を備える。薄膜Mは、可撓性であり変形可能である。第2のチャンバ12は、有利には、互いに分解可能に組み付けられる2つの中空カップ13、14の対向する凹部によって境界が定められる容積内に位置する。図1の描写では上側カップであるカップ13は、スリーブ6aおよびチャンバ6が内部に存在する計量計本体のポスト15の下側端部に固定される。薄膜Mの中央部分は、チャンバ6の方に向く軸方向ロッド17にそれに対して直交するように固定される剛性円板16に取り付けられる。ロッド17は、液体が通過できる十分な径方向のクリアランスがあるかたちで、ポスト15の下側部分に設けられる端部嵌合部19のボア18に嵌合される。ロッド17は、ディスク16と薄膜をそれらが動く間案内するのに十分な長さである。薄膜の周縁は、2つのカップ13、14の間に流体密封にするような方法でクランプ締めされ、良好な密封を促進するより厚いリップを有することができる。
第2のチャンバ12は、図1の描写では下側カップであるカップ14に設けられる吸込オリフィス20を備える。補助液体は、オリフィス20に装着されるカップリング21に管を介して連結されるリザーバ(図示せず)から供給され得る。このオリフィス20にはさらに吸込弁22が設けられ、それによって補助液体がチャンバ12に流入可能になり、またそこからの補助液体の送出が防止され得るようになる。
カップ14は、チャンバ12と連通する送出オリフィス23をさらに備える。送出オリフィス23には、送出弁24が装備され、さらに可撓性パイプ26が連結されるカップリング25が装備される。送出カップリング24は、チャンバ12内の圧力が上昇すると開き、それによって液体がパイプ26に流入できるようになる。この送出弁24は、補助液体が流入しているとき閉じる。
可撓性パイプ26は、カップリング27によって、出口3下流にある注入チャンバSの境界を画定するユニオン28に連結される。T字形ユニオン28は、カップリング27が嵌合される横方向オリフィス、出口3と同じ側にある軸方向オリフィス29、および反対側にあるもう1つの軸方向オリフィス30を有する。オリフィス29には、計量計からの出口3にカップリング31が装着される。
ユニオン28、カップリング27および補助液体入口が全て計量計の出口3の下流に位置するので、補助液体が計量計の内部容積9に入ることはない。補助液体と主液体の混合は、出口3の下流で行われ、その混合物は、矢印Fで示されるようにオリフィス30を通って排出される。
薄膜Mは、第2のチャンバ12の反対側に、ボア18を介して第1のチャンバ6と連通する空間E(図2参照)の境界を画定する。空間Eは、カップ13の凹部の底部によってさらに境界が定められる。
絞り部材32は、計量計本体の出口側において、カップリング27および補助液体注入部の上流に設けられる。この絞り部材32は、下流端と上流に位置する内部容積9の間の水頭損失が十分になるように設計される。したがって、容積9と注入チャンバSの間に生じる圧力差は、パイプ26と弁25、27を備える送出ラインの水頭損失(第2のチャンバと注入チャンバの間のカップリングにおける水頭損失)よりも高い値に設定され、それによって薄膜Mが吸込段階の終点で押し戻され得るようになる。容積9とチャンバSの圧力差は、少なくとも0.2barであるのが有利である。絞り部材32は、一般的に、予荷重が加えられた逆止め弁から構成され、それによって製品が計量計本体に戻らないようになる。
絞り部材32は、ある程度の弾性を与える少なくとも1つのスロット34、特に長手方向スロットを有する円筒形スカート33があるプラグから構成され得る。オリフィス29内における部材32の長手方向位置は調節することができ、それによって水頭損失を変えることができる。部材32は、両端それぞれに肩部を有し、それによってオリフィス29内で保持されるようになっている。部材32を所望の絞り位置の方に戻すようにばねを設けてもよい。
計量計は以下のように動作する。
吸込段階は、図1によって、液圧モータ4およびプランジャ・ピストン5の上昇行程すなわち往行程に相当し、それによって第1のチャンバ6が減圧される。この減圧によって薄膜Mが上方に動かされ、それに対応してチャンバ12の容積が増大する。薄膜M自体によってチャンバ12が減圧され、それによって吸込弁22が上げられ、補助液体がチャンバ12に入り、その間送出弁24は閉じた状態にある。
プランジャ・ピストン5が往行程の終点でチャンバ6から離れると、計量計本体の内部容積9と注入チャンバSの間の圧力差によって薄膜Mが押し戻され、それによって弁24が開けられることによる送出、ならびにパイプ26およびチャンバSへの注入の開始が引き起こされ得るようになる。
参考のため、チャンバ6の長手方向位置は、特に、回すことでスリーブ6aの軸方向位置を調節することができその壁部が本体内部を滑動することができるリングBを使用して調節することができる。FR2681646に開示されるような手段もそうした調節を可能にするのに設置することができる。
吸込弁22、送出弁24、プランジャ・ピストンのシーリング・リング10および絞り部材32は、計量計の正確な動作を確実にするように寸法設定され調節される。
図2に相当する送出段階の間、ピストン5は、チャンバ6内を下方に移動し、それによって、弁として働くシーリング・リング10にわたる水頭損失により計量計Bの本体内の圧力が若干上昇する。ピストン5の下方移動は、注入チャンバSへの送出を引き起こすのには十分でない。送出は、内部容積9内の圧力が連結ライン25、26、27における水頭損失よりも大きくなることにより実施される。このようにして薄膜Mが完全に動かされ、弁24は開いたままになる。
薄膜Mが下方に動かされると、吸込弁22が閉じ、その間送出弁24が開いて補助液体がチャンバSに注入される。薄膜Mは、カップ14の凹面の壁部に押し付けられる。
プランジャ5の可動シーリング・リング10は、安全弁のように働き、チャンバ6、12内の圧力の過度の上昇を防ぐ。
図4、5には、プランジャ5.1に上昇行程および下降行程の間密閉する固定シーリング・リング10.1ならびに予荷重が加えられた安全弁35が装着される計量計本体1.1を有する実施形態の代替形態が示されている。前の図面に関連してすでに説明した要素と同一または類似するものは、同じ参照番号によって示され、再度説明は行わない。
弁35は、ボール式およびばね式のものが有利であり、プランジャ5.1の端部に設けられその端部で開口するチャンバ36内に取り付けられる。チャンバ36は、管路37を介して、計量計本体の容積9と同じ側にある、シーリング・リング10.1の奥に位置する空間と連通する。弁35は、プランジャ5.1の下降行程の間、チャンバ6の下側部分の圧力が弁の予荷重によって設定される限界を超えると開くことができる。プランジャ5.1の上昇行程の間、弁35は閉じた状態にある。
図4、5の代替形態の動作方法は、図1〜3の計量計と類似している。しかし、弁機能35によって、薄膜が押し戻されるような開口圧力の設定が可能になる。
図4、5の代替形態の利点は、予荷重が加えられた弁35を使用して設定開口圧力が掛けられることである。その一方で、浮動シーリング・リングを使用する従来の実施形態は、流速が低いとき、著しく低い水頭損失を伴う。
図1〜3は、計量計本体の内部容積9が出口3と直接連通し、本体の内部容積内の圧力と出口の圧力が実質的に同じであり、絞り部材32により生じる水頭損失によって確実に計量計本体の内部容積9と注入チャンバSの間に十分な圧力差が生じ得るようになるポンプ構造に該当する。
図6には、計量計本体の内部容積9.2が計量計の入口2.2と直接連通するポンプ構造が示されている。計量計本体の内部容積9.2と出口3.2の間のモータによる水頭損失は、第2のチャンバ12.2と注入チャンバS.2の間の連結部における水頭損失よりも大きければ、薄膜を押し戻すのに十分であり、その場合絞り部材32を省くことができる。
本発明による比例計量計によって、効果的かつ経済的なやり方で、計量計本体への補助液体のあらゆる侵入が回避され得るようになり、一方それと同時に、標準的な吸込弁を取り付けが簡単なキットと交換することによって、従来の計量計本体および液圧モータを使用することが可能になる。
薄膜Mは、一般的に動力水である主液体、および計量供給プランジャ・ピストン5を使用して制御される。それによって全体の構築が簡単になる。プランジャ・ピストン5を使用した直接制御は、介在流体を用いて液圧により制御される電気ポンプに必要な圧力を均等化するある種のシステムが必要ないことを意味する。送出弁24の下流にあるライン26が詰まった場合、プランジャ・ピストン5のシーリング・リング10が安全弁としての機能を果たす。

Claims (11)

  1. 補助液体を主液体に計量供給する比例計量計であって、主液体の入口(2、2.2)および主液体の出口(3、3.2)を有する計量計本体(1)と、前記計量計本体に収容され前記主液体で駆動されプランジャ・ピストン(5、5.1)に連結されてそれを往復直線運動で駆動する液圧モータ(4)とを備え、前記プランジャ・ピストン(5、5.1)が、前記液圧モータ(4)から離れた第1の端部(7)で開口し、第2の端部(8)で主液体を収容する前記計量計本体(1)の内部容積(9、9.2)に開口する第1のチャンバ(6)内で移動し、前記チャンバ(6)の前記第1の端部(7)から離れるように移動する往行程の間吸込段階を実施し、前記往行程の終点で前記第1のチャンバ内に残ることができ、前記比例計量計は、復行程の間前記第1のチャンバ(6)において特定の圧力を超えるときは前記主液体が前記第1のチャンバ(6)から前記本体の前記内部容積(9、9.2)に流入することができるように設けられる弁手段(10、35)をさらに備える、比例流量計において、
    前記第1のチャンバ(6)内に存在する圧力を受ける薄膜(M)によって境界が定められる容量可変の第2のチャンバ(12)を備え、前記第2のチャンバ(12)が前記補助液体用の吸込オリフィス(20)および前記補助液体用の送出オリフィス(23)を有し、前記送出オリフィスが、パイプ(26)によって前記計量計本体の前記出口の下流に位置する注入チャンバ(S)に連結され、それによって前記補助液体と流れている前記主液体との混合が可能になることを特徴とする比例計量計。
  2. 前記計量計本体の前記内部容積(9、9.2)内の圧力が、前記注入チャンバ(S)内の圧力と、前記第2のチャンバ(12)と前記注入チャンバ(S)の間の連結部における水頭損失の合計よりも大きくなるように構成されることを特徴とする、請求項1に記載の比例計量計。
  3. 絞り部材(32)が、水頭損失を引き起こすために、前記計量計の前記出口(3)の下流かつ前記注入チャンバ(S)の上流に設けられることを特徴とする、請求項1または2に記載の比例計量計。
  4. 前記第2のチャンバ(12)が、吸込弁(20)と送出弁(23)を装備することを特徴とする、前記請求項1ないし3のいずれか一項に記載の比例計量計。
  5. 前記薄膜(M)が、前記第2のチャンバ(12)の反対側に、前記第1のチャンバ(6)の前記第1の端部(7)と連通する空間(E)の境界を定めることを特徴とする、前記請求項1ないし4のいずれか一項に記載の比例計量計。
  6. 前記第2のチャンバ(12)が、互いに組み付けられる第1のカップ(13)および第2のカップ(14)の対向する凹部によって境界が定められる容積内に位置し、前記薄膜(M)の周縁が、2つの前記互いに組み付けられるカップの間に流体密封にするような方法でクランプ締めされ、前記第1のカップ(13)が、前記計量計本体(1)の前記第1のチャンバの前記第1の端部(7)まわりに取り付けられ、前記第2のカップが、前記吸込オリフィス(20)と前記送出オリフィス(23)を装備することを特徴とする、前記請求項1ないし5のいずれか一項に記載の比例計量計。
  7. 前記薄膜(M)の中央部分が、軸方向ロッド(17)に固定される剛性ディスク(16)自体に固定され、前記軸方向ロッド(17)が、前記第2のチャンバ(12)から離れる方を向き、前記第1のチャンバ(6)内へのまた前記チャンバ(6)からの前記主液体の通路を出る間、前記軸方向ロッド(17)が前記計量計本体の案内ボア(18)内を滑動することができることを特徴とする、請求項6に記載の比例計量計。
  8. 前記プランジャ・ピストンが内部を移動する円筒形の前記第1のチャンバ(6)の境界を画定するスリーブ(6a)の軸方向位置が、回転リングを使用して調節され得ることを特徴とする、前記請求項1ないし7のいずれか一項に記載の比例計量計。
  9. 前記計量計本体の前記出口(3)の下流に位置する前記絞り部材(32)が、前記計量計本体の前記出口に連結されるユニオン(28)の吸込オリフィスに取り付けられる、少なくとも1つのスロット(34)を有する円筒形のスカート(33)が付いたプラグから構成されることを特徴とする、前記請求項1ないし8のいずれか一項に記載の比例計量計。
  10. 前記復行程の間前記第1のチャンバ(6)内の圧力が特定の圧力を超えると前記液体が前記本体の前記内部容積(9)に流入することができるように設けられる前記弁が、前記プランジャ(5.1)の端部に設けられるチャンバ(36)内に取り付けられる予荷重が加えられた弁(35)であることを特徴とする、前記請求項1ないし9のいずれか一項に記載の比例計量計。
  11. 前記計量計本体の前記内部容積(9.2)が、前記計量計の前記入口(2.2)と直接連通し、それによって前記計量計本体の前記内部容積(9.2)と前記前記出口(3.2)の間における前記モータによる水頭損失が前記薄膜の押し戻しをもたらすことを特徴とする、請求項1ないし3のいずれか一項に記載の比例計量計。
JP2013537254A 2010-11-08 2011-11-07 補助液体を主液体に計量供給する比例計量計 Active JP6002139B2 (ja)

Applications Claiming Priority (3)

Application Number Priority Date Filing Date Title
FR1059182A FR2967218B1 (fr) 2010-11-08 2010-11-08 Doseur proportionnel d'un liquide auxiliaire dans un liquide principal.
FR1059182 2010-11-08
PCT/IB2011/054948 WO2012063184A1 (fr) 2010-11-08 2011-11-07 Doseur proportionnel d'un liquide auxiliaire dans un liquide principal.

Publications (2)

Publication Number Publication Date
JP2014500951A JP2014500951A (ja) 2014-01-16
JP6002139B2 true JP6002139B2 (ja) 2016-10-05

Family

ID=44486826

Family Applications (1)

Application Number Title Priority Date Filing Date
JP2013537254A Active JP6002139B2 (ja) 2010-11-08 2011-11-07 補助液体を主液体に計量供給する比例計量計

Country Status (19)

Country Link
US (1) US9303634B2 (ja)
EP (1) EP2638287B8 (ja)
JP (1) JP6002139B2 (ja)
CN (1) CN103237985B (ja)
AP (1) AP2013007093A0 (ja)
AU (1) AU2011327826B2 (ja)
BR (1) BR112013011178B1 (ja)
CA (1) CA2815098C (ja)
DK (1) DK2638287T3 (ja)
EA (1) EA022907B1 (ja)
ES (1) ES2488168T3 (ja)
FR (1) FR2967218B1 (ja)
MX (1) MX2013005119A (ja)
NZ (1) NZ609542A (ja)
PL (1) PL2638287T3 (ja)
PT (1) PT2638287E (ja)
UA (1) UA107739C2 (ja)
WO (1) WO2012063184A1 (ja)
ZA (1) ZA201305956B (ja)

Families Citing this family (20)

* Cited by examiner, † Cited by third party
Publication number Priority date Publication date Assignee Title
FR3001003B1 (fr) * 2013-01-17 2015-03-20 Dosatron International Dispositif de dosage pour introduire un additif liquide dans un courant de liquide principal.
FR3012538B1 (fr) 2013-10-30 2018-05-18 Dosatron International Pompe a membrane et dispositif a clapets pour une telle pompe
FR3016302B1 (fr) 2014-01-10 2016-02-05 Dosatron International Melangeur statique pour homogeneiser un melange d'au moins deux liquides et dispositif de dosage equipe d'un tel melangeur
FR3020839B1 (fr) * 2014-05-06 2016-05-13 Dosatron International Dispositif de surveillance du fonctionnement d'un doseur d'additif liquide dans un liquide principal, et doseur equipe d'un tel dispositif.
CN107002665B (zh) 2014-12-30 2019-11-29 固瑞克明尼苏达有限公司 轴向往复泵上的一体式安装系统
AU366231S (en) * 2015-06-18 2015-12-23 Dosatron International Metering pump
FR3039862B1 (fr) * 2015-08-06 2017-08-11 Dosatron International Dispositif de dosage proportionnel supervise et procedes de supervision d'une pompe doseuse
USD803892S1 (en) * 2016-01-11 2017-11-28 Timmer Gmbh Pump
FR3049993B1 (fr) * 2016-04-07 2018-04-20 Dosatron International Mecanisme de dosage d'une pompe, procedes de verrouillage et de deverrouillage d'un tel mecanisme
FR3049992B1 (fr) * 2016-04-07 2018-04-20 Dosatron International Pompe a dosage proportionnel, procede de montage et de demontage d'une telle pompe
BR102018003284B1 (pt) 2017-02-21 2021-07-20 Graco Minnesota Inc. Haste de pistão para uma bomba, bomba, pulverizador, e, método para substituir uma luva de desgaste
IT201900004619A1 (it) 2019-03-27 2020-09-27 Luca Greco Apparato per preparare ed erogare un prodotto liquido lubrificante e refigerante per macchine utensili
USD933714S1 (en) * 2019-05-30 2021-10-19 Mixtron S.R.L. Metering pump
EP3987182B1 (en) 2019-07-29 2024-05-22 Diversey, Inc. Fluid dosing system
WO2021202698A1 (en) 2020-03-31 2021-10-07 Graco Minnesota Inc. Electrically operated pump for a plural component spray system
CN115362317A (zh) 2020-03-31 2022-11-18 固瑞克明尼苏达有限公司 电动线性泵
AU2021248838A1 (en) 2020-03-31 2022-10-13 Graco Minnesota Inc. Pump drive system
US11596911B2 (en) * 2020-04-07 2023-03-07 Mpw Industrial Services Group, Inc. Chemical injection system for connection to a chemical tank and a process line
FR3120402B1 (fr) * 2021-03-02 2023-04-14 Dosatron International Procede et pompe de dosage proportionnel a faible debit
USD1006833S1 (en) * 2021-07-08 2023-12-05 Mixtron S.R.L. Pump for liquids

Family Cites Families (17)

* Cited by examiner, † Cited by third party
Publication number Priority date Publication date Assignee Title
US2871789A (en) * 1955-07-11 1959-02-03 Chamberlain Corp Pulse pumps
DE1221028B (de) * 1960-07-12 1966-07-14 Michel Pequignot Dosiereinrichtung fuer Fluessigkeiten
JPS591352B2 (ja) * 1975-10-16 1984-01-11 カブシキガイシヤ マルヤマセイサクシヨ チユウニユウポンプ
FR2329980A2 (fr) * 1975-11-03 1977-05-27 Economics Lab Dispositif de dosage de fluide perfectionne
GB2089440B (en) * 1980-12-16 1984-08-01 Nestle Sa Pump
US4809731A (en) * 1985-01-17 1989-03-07 Frank A. Walton Liquid injection apparatus having an external adjustor
FR2602282B1 (fr) * 1986-07-31 1988-09-23 Cloup Jean Perfectionnement aux dispositifs d'injection d'un produit additif dose dans un fluide principal
US5055008A (en) * 1990-01-29 1991-10-08 Chemilizer Products, Inc. Proportionating pump for liquid additive metering
ZA93287B (en) * 1992-01-24 1993-08-19 Aeci Ltd Method of an apparatus for dispensing a substance.
US5234322A (en) * 1992-12-24 1993-08-10 Chemilizer Products, Inc. Proportioning pump improvements
FR2745858B1 (fr) * 1996-03-07 2000-12-22 Ile De Rech Ody Soc Civ Perfectionnenents apportes aux pompes doseuses
US5951265A (en) * 1997-12-29 1999-09-14 Diemold International, Inc. Fluid driven reciprocating engine or pump having overcenter, snap-action mechanical valve control
FR2873172B1 (fr) * 2004-07-15 2007-11-02 Dosatron Internat Sa Dispositif de dosage pour introduire un additif dans un courant de liquide
WO2007044711A1 (en) 2005-10-07 2007-04-19 University Of Florida Research Foundation, Inc. Multiple component nanoparticles for multiplexed signaling and optical encoding
FR2896281B1 (fr) 2006-01-13 2008-02-29 Dosatron International Machine hydraulique, en particulier moteur hydraulique, a mouvement alternatif.
AU2009278007B2 (en) 2008-07-31 2015-08-27 Alma Mater Studiorum - Universita' Di Bologna Active particles for bio-analytical applications and methods for their preparation
IT1391530B1 (it) 2008-07-31 2012-01-11 Cyanagen S R L Particelle attive per applicazioni bio-analitiche e metodi per la loro preparazione

Also Published As

Publication number Publication date
MX2013005119A (es) 2013-06-13
AP2013007093A0 (en) 2013-09-30
BR112013011178B1 (pt) 2020-12-22
EA201390668A1 (ru) 2013-09-30
FR2967218A1 (fr) 2012-05-11
BR112013011178A2 (pt) 2016-08-02
PT2638287E (pt) 2014-08-28
US20130233421A1 (en) 2013-09-12
NZ609542A (en) 2014-09-26
US9303634B2 (en) 2016-04-05
CA2815098C (fr) 2016-06-28
EA022907B1 (ru) 2016-03-31
AU2011327826A1 (en) 2013-06-20
PL2638287T3 (pl) 2014-11-28
CA2815098A1 (fr) 2012-05-18
EP2638287B8 (fr) 2014-11-19
ES2488168T3 (es) 2014-08-26
DK2638287T3 (da) 2014-09-15
EP2638287B1 (fr) 2014-06-04
FR2967218B1 (fr) 2016-09-02
WO2012063184A1 (fr) 2012-05-18
ZA201305956B (en) 2014-04-30
JP2014500951A (ja) 2014-01-16
CN103237985B (zh) 2016-06-22
AU2011327826B2 (en) 2015-09-24
EP2638287A1 (fr) 2013-09-18
CN103237985A (zh) 2013-08-07
UA107739C2 (en) 2015-02-10

Similar Documents

Publication Publication Date Title
JP6002139B2 (ja) 補助液体を主液体に計量供給する比例計量計
AU2013373659B2 (en) Metering device for introducing a liquid additive into a stream of main liquid
US11015726B2 (en) Ball cage with directed flow paths for a ball pump
EP2405137B1 (en) Pump
CN101802388B (zh) 具有簧片阀的流体喷射器
AU2016257652B2 (en) Pneumatic timing valve
EP3478967B1 (en) Piston pump and seal ring
CN107352152A (zh) 液压泵
EP3730797B1 (en) Non-return valve for a submersible pump and related submersible pump
SE430528B (sv) Dubbelverkande differentialkolvpump
AU2015220693B2 (en) Method and arrangement for maintaining fluid flow pressure in a system at a preset, almost constant level
HK1185931A (en) Proportional dosimeter for metering an auxiliary liquid into a main liquid
HK1185931B (en) Proportional dosimeter for metering an auxiliary liquid into a main liquid
RU2171398C1 (ru) Насос дозировочный мембранный гидроприводной
US11572876B2 (en) Pump piston
US4809549A (en) Apparatus for metering, measuring, or dosing flowing media
EP4575281A1 (en) Valve assembly for pumps
JP2004011535A5 (ja)
RU123550U1 (ru) Регулятор расхода жидкости
AU660619B2 (en) A fluid valve device and a positive-displacement pump
CN208348923U (zh) 一种递进分油集成化润滑装置
RU31831U1 (ru) Регулятор перепада давлений
US336940A (en) normand
AU639071B2 (en) Fluid pump apparatus and valve device
UA23901U (en) Membrane hydraulic pump

Legal Events

Date Code Title Description
A621 Written request for application examination

Free format text: JAPANESE INTERMEDIATE CODE: A621

Effective date: 20131206

A131 Notification of reasons for refusal

Free format text: JAPANESE INTERMEDIATE CODE: A131

Effective date: 20140930

A601 Written request for extension of time

Free format text: JAPANESE INTERMEDIATE CODE: A601

Effective date: 20141219

A521 Request for written amendment filed

Free format text: JAPANESE INTERMEDIATE CODE: A523

Effective date: 20150330

A131 Notification of reasons for refusal

Free format text: JAPANESE INTERMEDIATE CODE: A131

Effective date: 20150908

A601 Written request for extension of time

Free format text: JAPANESE INTERMEDIATE CODE: A601

Effective date: 20151204

A521 Request for written amendment filed

Free format text: JAPANESE INTERMEDIATE CODE: A523

Effective date: 20160223

TRDD Decision of grant or rejection written
A01 Written decision to grant a patent or to grant a registration (utility model)

Free format text: JAPANESE INTERMEDIATE CODE: A01

Effective date: 20160809

A61 First payment of annual fees (during grant procedure)

Free format text: JAPANESE INTERMEDIATE CODE: A61

Effective date: 20160902

R150 Certificate of patent or registration of utility model

Ref document number: 6002139

Country of ref document: JP

Free format text: JAPANESE INTERMEDIATE CODE: R150

R250 Receipt of annual fees

Free format text: JAPANESE INTERMEDIATE CODE: R250

R250 Receipt of annual fees

Free format text: JAPANESE INTERMEDIATE CODE: R250

R250 Receipt of annual fees

Free format text: JAPANESE INTERMEDIATE CODE: R250

R250 Receipt of annual fees

Free format text: JAPANESE INTERMEDIATE CODE: R250

R250 Receipt of annual fees

Free format text: JAPANESE INTERMEDIATE CODE: R250

R250 Receipt of annual fees

Free format text: JAPANESE INTERMEDIATE CODE: R250

R250 Receipt of annual fees

Free format text: JAPANESE INTERMEDIATE CODE: R250