JP5829068B2 - 開閉装置の開閉体停止装置 - Google Patents

開閉装置の開閉体停止装置 Download PDF

Info

Publication number
JP5829068B2
JP5829068B2 JP2011155342A JP2011155342A JP5829068B2 JP 5829068 B2 JP5829068 B2 JP 5829068B2 JP 2011155342 A JP2011155342 A JP 2011155342A JP 2011155342 A JP2011155342 A JP 2011155342A JP 5829068 B2 JP5829068 B2 JP 5829068B2
Authority
JP
Japan
Prior art keywords
opening
closing
shutter curtain
closing body
shutter
Prior art date
Legal status (The legal status is an assumption and is not a legal conclusion. Google has not performed a legal analysis and makes no representation as to the accuracy of the status listed.)
Active
Application number
JP2011155342A
Other languages
English (en)
Other versions
JP2013019230A (ja
Inventor
裕幸 日野
裕幸 日野
Current Assignee (The listed assignees may be inaccurate. Google has not performed a legal analysis and makes no representation or warranty as to the accuracy of the list.)
Bunka Shutter Co Ltd
Original Assignee
Bunka Shutter Co Ltd
Priority date (The priority date is an assumption and is not a legal conclusion. Google has not performed a legal analysis and makes no representation as to the accuracy of the date listed.)
Filing date
Publication date
Application filed by Bunka Shutter Co Ltd filed Critical Bunka Shutter Co Ltd
Priority to JP2011155342A priority Critical patent/JP5829068B2/ja
Publication of JP2013019230A publication Critical patent/JP2013019230A/ja
Application granted granted Critical
Publication of JP5829068B2 publication Critical patent/JP5829068B2/ja
Active legal-status Critical Current
Anticipated expiration legal-status Critical

Links

Images

Landscapes

  • Operating, Guiding And Securing Of Roll- Type Closing Members (AREA)

Description

本発明は、閉じ移動中の開閉体が障害物に当接したときにこの閉じ移動を停止させるための開閉装置の開閉体停止装置に係り、例えば、シャッターカーテンが開閉体となっているシャッター装置や、オーニング装置、さらには、防煙垂れ幕装置等の各種の開閉装置に利用できるものである。
開閉装置となっていて、防煙等の防災機能を有しているシャッターカーテンが開閉移動する開閉体となっている防災用シャッター装置では、シャッターカーテンが火災等の異常事態の発生時に閉じ移動することにより、建物等の構造物内に防災区画が形成される。このような防災用シャッター装置や、操作装置の操作によりシャッターカーテンが開閉移動や移動停止を行うようになっている管理用シャッター装置、さらには、管理及び防災併用のシャッター装置では、シャッターカーテンの閉じ方向に障害物が存在し、閉じ移動中のシャッターカーテンがこの障害物に当接したときに、シャッターカーテンの閉じ移動を停止させることが行われる。この停止を実行させるための装置が下記の特許文献1に示されている。
特許文献1に示されている装置は、上下方向に開閉移動するシャッターカーテンと、このシャッターカーテンの閉じ移動を停止させるためのブレーキ手段と、シャッターカーテンが閉じ移動中に障害物に当接したときに緊張力が作用する緊張力作用部材と、ブレーキ手段を機械的にオン、オフさせる装置であって、緊張力作用部材に緊張力が作用したときにブレーキ手段をオンとさせてシャッターカーテンの閉じ移動を停止させるための自動閉鎖装置と、緊張力作用部材と自動閉鎖装置との間に配置され、緊張力作用部材が連結されているとともに、この緊張力作用部材に緊張力が作用したときに自動閉鎖装置を作動させてブレーキ手段をオンとさせるための中間部材と、を備えたものとなっている。そして、この装置では、ブレーキ手段がオフとなってシャッターカーテンが閉じ移動しているときに、シャッターカーテンが障害物に当接すると、緊張力作用部材に緊張力が作用し、この緊張力によって中間部材を介して自動閉鎖装置が作動することにより、ブレーキ手段がオンとなり、これにより、シャッターカーテンの閉じ移動が停止する。
特開2010−59775号公報
シャッター装置には、シャッターカーテンの幅寸法が異なる各種のものがあり、シャッターカーテンの幅寸法、すなわち、シャッターカーテンの左右寸法が大きくなっているものもある。シャッターカーテンの左右寸法が大きいシャッター装置では、シャッターカーテンの下端部を形成している座板に上下方向の大きな撓みが生じながらシャッターカーテンは閉じ移動することになり、そして、このままの状態でシャッターカーテンが床に着床して全閉となる。
このようにしてシャッターカーテンが床に着床して全閉になる場合には、座板のうち、撓みにより最下位置にあった一部が床に着床したときに、シャッターカーテンが障害物に当接したときと同様に、緊張力作用部材に緊張力が作用し、この後に、座板の他の部分がさらに下降してシャッターカーテンが全閉となるため、緊張力作用部材がさらに引っ張られることにより、この緊張力作用部材には大きな引張量が生ずることになる。
このため、緊張力作用部材に作用する大きな引張量に有効に対処することができる工夫が求められる。
本発明の目的は、緊張力作用部材に作用する大きな引張量に有効に対処できるようになる開閉装置の開閉体停止装置を提供するところにある。
本発明に係る開閉装置の開閉体停止装置は、上下方向に開閉移動する開閉体と、この開閉体の閉じ移動を停止させるためのブレーキ手段と、前記開閉体が閉じ移動中に障害物に当接したときに緊張力が作用する緊張力作用部材と、前記ブレーキ手段を機械的にオン、オフさせる装置であって、前記緊張力作用部材に前記緊張力が作用したときに前記ブレーキ手段をオンとさせて前記開閉体の閉じ移動を停止させるための自動閉鎖装置と、前記緊張力作用部材と前記自動閉鎖装置との間に配置され、前記緊張力作用部材が連結されているとともに、この緊張力作用部材に前記緊張力が作用したときに前記自動閉鎖装置を作動させて前記ブレーキ手段をオンとさせるための中間部材と、を備えている開閉装置の開閉体停止装置において、前記中間部材に連結されている前記緊張力作用部材の連結部は、前記中間部材に移動可能に連結されていることを特徴とするものである。
本発明に係る装置では、中間部材に連結されている緊張力作用部材の連結部は、中間部材に移動可能に連結されており、緊張力作用部材に大きな引張量が生じたときには、緊張力作用部材の連結部は、中間部材に対して移動することになり、このため、緊張力作用部材に作用する大きな引張量に有効に対処できるようになる。
本発明において、前記中間部材が運動することにより自動閉鎖装置を作動させてブレーキ手段をオンとさせる場合には、緊張力作用部材の連結部を、緊張力作用部材に大きな引張量が生じたときに中間部材に対して移動させるためには、例えば、この大きな引張量を基準の引張量よりも大きい引張量とし、この基準の引張量を、緊張力作用部材の連結部が中間部材に対して移動せず又は殆ど移動せずに前記中間部材が前記運動を行うことにより緊張力作用部材に生じる引張量とし、前記大きな引張量を、前記中間部材が前記運動を行い、かつ緊張力作用部材の連結部が前記中間部材に対して移動することにより生ずる引張量とすることができる。
また、本発明において、前記自動閉鎖装置を、往復スライドすることによりブレーキ手段をオン、オフさせるためのスライド部材を有するものとする場合には、緊張力作用部材の連結部を、緊張力作用部材に大きな引張量が生じたときに中間部材に対して移動させるためには、例えば、この大きな引張量を、オンとなったブレーキ手段をオフに復帰させることができない位置まで緊張力作用部材がさらに前記スライド部材を移動させる引張量とすることができる。
また、本発明において、前述したように緊張力作用部材の連結部を、緊張力作用部材の大きな引張量に対して中間部材に移動可能に連結するためには、中間部材にガイド部を形成し、緊張力作用部材の連結部を、このガイド部に案内されて中間部材に対し移動可能とすることが好ましい。
これによると、中間部材に対する緊張力作用部材の連結部の移動を、ガイド部の案内作用により円滑に行わせることができる。
このガイド部は、中間部材に対する緊張力作用部材の連結部の移動を案内することができるものであれば、任意な構造、形状のものでよく、その一例は長孔であり、他の例は溝や突条等である。
また、ガイド部を、第1部分と第2部分とを有するものにするとともに、これらの第1部分と第2部分とが屈曲角度をもって接続された屈曲形状のものとしてもよい。
さらに、ガイド部をこのような屈曲形状のものとする場合には、ガイド部を、屈曲角度が90度よりも大きくなっているV字形状又は略V字形状としてもよい。
また、ガイド部を屈曲形状のものとする場合には、ガイド部に案内されて緊張力作用部材の前記連結部が中間部材に対して移動するときの前記第2部分を、緊張力作用部材に作用している緊張力の方向と同じ又は略同じ方向に延びているものとし、この第2部分に案内されることにより、緊張力作用部材の連結部が中間部材に対して移動するようにすることが好ましい。
これによると、緊張力作用部材に大きな引張量が生じたときに、第2部分は、緊張力作用部材に作用している緊張力の方向と同じ又は略同じ方向に延びているため、大きな引張量に基づく緊張力作用部材の連結部の移動を、第2部分により、中間部材との間で大きな摩擦力等を発生させることなく、円滑に行わせることができる。
また、本発明に係る装置において、中間部材に弾性部材を配置し、緊張力作用部材の前記連結部には、この連結部の前記移動の方向とは反対方向への成分を有する前記弾性部材の弾性力を作用させ、この弾性力に対抗して緊張力作用部材の連結部が中間部材に対して移動するようにしてもよい。
これによると、緊張力作用部材に大きな引張量が生じる以前では、緊張力作用部材の連結部を、弾性部材の弾性力により、移動前のもとの位置に止めておくことができ、また、緊張力作用部材に大きな引張量が生じたときには、弾性部材の弾性力に対抗して緊張力作用部材の連結部を中間部材に対して移動させることができるようになる。
そして、弾性部材の弾性力に対抗して緊張力作用部材の連結部を中間部材に対して移動させることにより、弾性部材には、緊張力作用部材の連結部を移動前のもとの位置に復帰させるための弾性復帰力が蓄圧されることになるため、上述の大きな引張量が消滅したときには、この弾性復帰力により、緊張力作用部材の連結部を移動前のもとの位置に復帰させることができる。
このように大きな引張量が消滅したときに、弾性部材に蓄圧された弾性復帰力により、緊張力作用部材の連結部を移動前のもとの位置に復帰させるためには、弾性部材を、緊張力作用部材の連結部が移動する範囲の全体において、この連結部と接触状態を維持している部分を有するものとすればよい。
このような弾性部材は、任意な構造、形状のものでよく、例えば、ねじりコイルばねでもよく、あるいは、コイルばねでもよい。
また、中間部材が軸を中心に回動自在な回動部材となっていて、この回動部材が、ばねにより一方向への回動力が付与されるものである場合には、前述の弾性復帰力が蓄圧される弾性部材をこのばねとしてもよい。
これによると、弾性復帰力が蓄圧される弾性部材と、中間部材に一方向への回動力を付与するためのばねとを同じ部材とすることができるため、部材の兼用化により構造の簡単化を図ることができるようになる。
さらに本発明に係る装置において、前述したブレーキ手段は、これ単独で1個の装置となっているものでもよく、あるいは、このブレーキ手段は、前記開閉体に、開き移動と閉じ移動のうち、少なくとも開き移動を行わせるための電動モータ手段を備えている開閉機の一部を構成するものとなっていてもよい。
さらに、本発明は、任意な開閉体が開閉移動自在となっている任意な開閉装置に適用することができ、その開閉装置の一例は、開閉体がシャッターカーテンとなっているシャッター装置であり、また、本発明は、オーニング装置、さらには、防煙垂れ幕装置等の各種の開閉装置に適用することができる。
また、本発明がシャッター装置に適用される場合には、このシャッター装置は、全閉となったシャッターカーテンで防災区画を形成するための防災用シャッター装置でもよく、あるいは、操作装置の操作によりシャッターカーテンが開閉移動や移動停止を行う管理用シャッター装置、さらには、管理及び防災併用のシャッター装置でもよい。
本発明によると、緊張力作用部材に作用する大きな引張量に有効に対処することができるという効果を得られる。
図1は、本発明の一実施形態に係る開閉装置となっているシャッター装置の全体を示す正面図である。 図2は、図1のS2−S2線断面図である。 図3は、図1及び図2で示されている開閉機の内部構造を示す断面図である。 図4は、開閉体であるシャッターカーテンが閉じ移動中に障害物に当接したときに、この障害物を機械式に検知するための機械式障害物検知装置を示す斜視図である。 図5は、図4で示されている機械式結合装置のケースの正面側を示す図である。 図6は、機械式結合装置の構造を示す図5の正断面図である。 図7は、機械式結合装置がシャッターカーテンに取り付けられたときを示す正面図である。 図8は、図7のS8−S8線断面図である。 図9は、機械式結合装置をシャッターカーテンの座板の固定部に取り付ける構造を示す断面図である。 図10は、図9とは異なる実施形態の構造を示す図9と同様の図である。 図11は、座板の固定部の内部に配置されている揺動部材が、複数の押し出し成形品又は引く抜き成形品を連結部材で連結することにより形成されていることを示す正面図である。 図12は、座板の可動部が、複数の押し出し成形品又は引く抜き成形品を連結することなく単に長さ方向に並べることにより形成されていることを示す正面図である。 図13は、図7のS13−S13線断面図である。 図14は、開閉体副部であって、カーテン副部となっている座板の可動部が障害物への当接により座板の固定部に対して上昇したときを示す図13と同様の図である。 図15は、閉じ移動中のシャッターカーテンが障害物に当接したときに、機械式結合装置により緊張力作用部材であって紐状部材となっているロック用ワイヤーがロックされ、シャッターカーテンとロック用ワイヤーとが結合されたときを示す図6と同様の図である。 図16は、図4で示されている機械式障害物検知装置の第2処理装置の内部構造を示す図である。 図17は、図16で示されているローラと、このローラが当接している被当接面とを示すために、図16の回動部材とリンク部材を上から見た図である。 図18は、図16で示されているリンク部材が図16のD方向へ少し回動したときを示す図16と同様の図である。 図19は、図18で示されているリンク部材が図16のD方向へさらに回動したときを示す図16と同様の図である。 図20は、図1等で示されている自動閉鎖装置の内部構造を示す正面図である 図21は、自動閉鎖装置の内部構造を示す平面図である。 図22は、火災等の災害が発生したことで自動閉鎖装置のソレノイドが通電、励磁されたときを示す図21と同様の図である。 図23は、自動閉鎖装置のソレノイドの通電、励磁が停止されたときを示す図21と同様の図である。 図24は、閉じ移動中のシャッターカーテンが障害物に当接したときを示す図21と同様の図である。 図25は、別実施形態に係るシャッター装置の全体を示す正面図である。 図26は、遅延装置と自動閉鎖装置とが隣接配置された図25で示されている複合装置の内部構造を示す平面図である。 図27は、図26の複合装置のうち、遅延装置だけを示す正面図である。 図28は、図27で示されているローラと、このローラが当接している被当接部とを示すために、図27の回動部材とリンク部材を上から見た平断面である。 図29は、図26のS29−S29線断面図であって、複合装置の背面正断面図である。 図30は、図29では二点鎖線で示されている押圧手段の部分を実線で示した図29の平断面図である。 図31は、図25で示すシャッター装置が管理用シャッター装置となってシャッターカーテンが閉じ移動しているときに、シャッターカーテンが障害物に当接したときを示す図27を同様の図である。 図32は、火災等の災害が発生したことで自動閉鎖装置のソレノイドが通電、励磁されたときを示す図26と同様の図である。 図33は、自動閉鎖装置のソレノイドの通電、励磁が停止されたときを示す図26と同様の図である。 図34は、図33のときを示す図27と同様の図である。 図35は、図25で示すシャッター装置が防災用シャッター装置となってシャッターカーテンが閉じ移動しているときに、シャッターカーテンが障害物に当接したときを示す図26と同様の図である。 図36は、図35のときを示す図27と同様の図である。 図37は、図35及び図36のときを示す図29と同様の図である。
以下に本発明を実施するための形態を図面に基づいて説明する。本実施形態に係る開閉装置は、開閉体がシャッターカーテンとなっているシャッター装置である。また、本実施形態に係るシャッター装置は、管理及び防災の併用シャッター装置である。すなわち、本実施形態に係るシャッター装置は、シャッターカーテンが出入口等の開口部を開閉するために、操作装置の操作により開き移動、閉じ移動、移動停止を行う管理用シャッター装置としての機能と、防煙等の防災機能を有しているシャッターカーテンが火災等の異常事態の発生時に閉じ移動することにより、全閉となったこのシャッターカーテンにより建物等の構造物内に防災区画を形成するための防災用シャッター装置としての機能と、を有している。
図1には本実施形態に係るシャッター装置の全体が示されており、この図1は、開閉移動方向が上下方向になっていて、下向きに閉じ移動するシャッターカーテン1が半分程度まで閉じた半閉状態になっているときを示している。シャッターカーテン1で開閉される開口部は、建物に形成された出入口2であり、この出入口2は、壁等の左右の建物躯体3と、全閉となったときのシャッターカーテン1の下端部が当たる相手部材となっている床4と、天井部材5とで囲まれている。左右の建物躯体3には、シャッターカーテン1の左右方向の両端部、言い換えると、シャッターカーテン1の幅方向の両端部がスライド自在に挿入された左右一対のガイドレール6が取り付けられており、ガイド部材となっているこれらのガイドレール6に案内されてシャッターカーテン1は上下に開閉移動する。
出入口2に対して天井部材5で仕切られている天井裏空間7には、シャッターボックス8が配置されており、このシャッターボックス8は、図1のS2−S2線断面図である図2に示されているように、天井裏空間7に存在する下がり壁等の建物躯体9にボルト等の結合具10で結合されている。シャッターボックス8の内部には巻取軸11が水平に収納配置され、この巻取軸11は、シャッターボックス8の図1で示されている左右の側面部8A,8Bに回転自在に支持されている。また、図1に示されているように、巻取軸11の一方の端部には、スプロケットホイールとローラチェーンによる駆動力伝達手段12を介して開閉機13が接続されている。巻取軸11を駆動させるための駆動装置となっているこの開閉機13は図2でも示されており、開閉機13の駆動軸14の回転力は、この駆動軸14に取り付けられた駆動スプロケットホイール12Aと、巻取軸11の上記一方の端部に取り付けられた被動スプロケットホイール12Bと、これらのスプロケットホイール12A、12Bの間に架け渡された無端ローラチェーン12Cとによる駆動力伝達手段12を経て巻取軸11に伝達される。
なお、本実施形態の開閉機13は、図2に示されているように、シャッターボックス8の左右の側面部8A,8Bのうち、一方の側面部8Bに結合されたブラケット部材15に取り付けられている。
図2から分かるように、シャッターカーテン1は巻取軸11に巻回されているとともに、シャッターカーテン1の上端は巻取軸11の外周面に結合されている。また、シャッターカーテン1における巻取軸11より下側の部分は、天井部材5に配置されているまぐさ16に設けられたスリット17を通って天井部材5の下側へ垂下され、さらに、シャッターカーテン1の幅方向の両端部は、前述のように左右のガイドレール6にスライド自在に挿入されている。まぐさ16は、互いに対向配置されたまぐさ部材16A,16Bにより形成され、これらのまぐさ部材16A,16Bの間がスリット17となっている。
図3は、開閉機13の内部構造を示す断面図である。この図3に示されているように、開閉機13は、直流又は交流の電動モータ手段18とブレーキ手段19とを軸方向に並設したものであり、上述の駆動軸14は、電動モータ手段18の回転する回転子18Aの中心に固定配置された回転軸となっている。この駆動軸14におけるブレーキ手段19側の端部には、円盤状のブレーキシュー20が結合されている。ブレーキ手段19には、軸方向に一定距離だけスライド自在となっているブレーキ軸21が設けられ、このブレーキ軸21には、ブレーキシュー20と軸方向に対面するブレーキドラム22が結合されている。通常時のブレーキ軸21及びブレーキドラム22は、ばね23で電動モータ手段18側へ押圧されており、このため、ブレーキシュー20とブレーキドラム22との圧接によりブレーキ手段19はオンとなっている。したがって、このときの電動モータ手段18の駆動軸14は、ブレーキ手段19の制動力によって回転しない。
一方、ブレーキ手段19に配置されているソレノイド24に通電されたときには、このソレノイド24の磁力により、ブレーキ軸21及びブレーキドラム22はばね23に対抗して電動モータ手段18から離れる方向へスライドする。このため、ブレーキシュー20とブレーキドラム22との圧接が解除され、ブレーキ手段19はオフとなる。したがって、このときには、電動モータ手段18の駆動軸14は、コイル25への通電により回転できることになる。
このようにソレノイド24への通電によリ、ブレーキ手段19はオフとなり、この通電を停止すると、ブレーキ手段19はオンとなるため、このブレーキ手段19は電気的にオン、オフするブレーキ手段となっている。
本実施形態では、図1に示されているように、開閉機13には制御装置26が取り付けられており、この制御装置26は、開閉機13の電動モータ手段18及びブレーキ手段19を電気的に制御するものである。なお、制御装置26は、開閉機13とは別の部材や手段、装置等に取り付けてもよく、その配置箇所は任意である。
図1で示した左右の建物躯体3のうち、一方の建物躯体3Aには、シャッターカーテン1を出入口2に対して上向きに開き移動させることと、下向きに閉じ移動させることと、移動停止させることとを行わせるための操作装置30が取り付けられている。この操作装置30には、「開」ボタンと、「閉」ボタンと、「停」ボタンとが設けられている。また、シャッターカーテン1は、シャッターカーテン1の大部分の面積を占めていて、上端が巻取軸11に結合されているカーテン本体1Aと、このカーテン本体1Aの下端部に設けられた座板1Bとを有したものとなっている。本実施形態のカーテン本体1Aは、多数のスラットを上下に連設することによって形成されている。
カーテン本体1Aは、本実施形態における開閉体本体となっており、座板1Bは、本実施形態におけるエンド部材となっている。
座板1Bが前述の天井部材5に配置されたまぐさ16の高さ位置に達しているシャッターカーテン1の全開時に、又は、座板1Bが図1に示すようにまぐさ16と床4との間の途中位置に達しているシャッターカーテン1の半閉状態(半開状態)のときに、操作装置30の「閉」ボタンを操作すると、この「閉」ボタンからの信号が入力する制御装置26の制御により、ブレーキ手段19のソレノイド24に通電されるため、ブレーキ手段19がオフとなる。これにより、シャッターカーテン1は、シャッターカーテン1の自重により巻取軸11及び駆動軸14を正回転させて巻取軸11から下向きに繰り出され、これにより閉じ移動したシャッターカーテン1が全閉位置に達すると、この全閉位置を検知した図示しないセンサからの信号が入力する制御装置26の制御により、ソレノイド24への通電は遮断され、ブレーキ手段19はばね23でオンに復帰する。また、シャッターカーテン1が全閉となっているときに、又は、座板1Bが図1に示すようにまぐさ16と床4との間の途中位置に達しているシャッターカーテン1の半開状態(半閉状態)のときに、「開」ボタンを操作すると、この「開」ボタンからの信号が入力する制御装置26の制御により、ブレーキ手段19のソレノイド24に通電されるため、ブレーキ手段19がオフになるとともに、制御装置26の制御により電動モータ手段18のコイル25に通電される。このため、駆動軸14は逆回転し、この回転は前述の駆動力伝達手段12を介して巻取軸11に伝達され、巻取軸11の逆回転により、シャッターカーテン1は巻取軸11に巻き取られて開き移動する。シャッターカーテン1が全開位置に達すると、この全開位置を検知した図示しないセンサからの信号が入力する制御装置26の制御により、ソレノイド24への通電は遮断され、ブレーキ手段19がばね23でオンに復帰するとともに、制御装置26の制御によりコイル25への通電が遮断される。
また、シャッターカーテン1が閉じ移動している途中で「停」ボタンを操作すると、この「停」ボタンからの信号が入力する制御装置26の制御により、ソレノイド24への通電は遮断されるため、ブレーキ手段19がばね23でオンに復帰することにより、シャッターカーテン1はその位置で停止する。さらに、シャッターカーテン1が開き移動している途中で「停」ボタンを操作すると、この「停」ボタンからの信号が入力する制御装置26の制御により、ソレノイド24への通電は遮断されるため、ブレーキ手段19がばね23でオンに復帰するとともに、制御装置26の制御により電動モータ手段18のコイル25への通電が遮断され、これにより、シャッターカーテン1はその位置で停止する。
以上の説明から分かるように、開閉移動するシャッターカーテン1に対して、前述の床4やガイドレール6、シャッターボックス8、このシャッターボックス8に結合されたブラケット部材15、さらには、まぐさ16等は不動となっているため、これらの床4、ガイドレール6、シャッターボックス8、ブラケット部材15、まぐさ16等は、シャッターカーテン1に対する不動部材となっている。
なお、シャッターカーテン1の下向きの閉じ移動をシャッターカーテン1の自重だけで行わせるのではなく、この自重と、電気モータ手段18の駆動による駆動軸14の正回転とにより、シャッターカーテン1を閉じ移動させるようにしてもよい。
また、前述のように正逆回転自在となっている巻取軸11に、シャッターカーテン1の閉じ移動中に戻し力が蓄圧されるねじりコイルばねやぜんまいばねによる戻しばねを設けておき、シャッターカーテン1の上向きの開き移動を、この戻しばねに蓄圧された戻し力を補助力として利用して行うようにしてもよい。
本実施形態では、図3に示されているとおり、ブレーキ軸21における電動モータ手段18側とは反対側の端部にはレバー部材31が配置されている。このレバー部材31はブレーキ軸21を貫通したものであって、ブレーキ軸21を境界として区分される第1部分31Aと第2部分31Bとからなる。第1部分31Aには第1屈曲部31Cが形成され、第2部分31Bには第2屈曲部31Dが形成されている。第1部分31AにA方向、すなわち、電動モータ手段18側とは反対側への荷重が作用したときには、第1部分31Aが第2屈曲部31Dを支点としてA方向へ揺動するため、ブレーキ軸21及びブレーキドラム22は、A方向と同じ方向であるA’方向へスライドする。このため、ソレノイド24に通電しなくても、ブレーキ手段19をオフとすることができる。
このため、ブレーキ手段19は、第1部分31AへのA方向の荷重の作用と、この荷重が解除されたときのばね23とにより、オン、オフする機械的のブレーキ手段にもなっている。
なお、第1部分31AにA方向への荷重が作用することは、開閉機13に取り付けられている後述の自動閉鎖装置32によって行われる。この自動閉鎖装置32は、後述の説明で分かるように、シャッターカーテン1を駆動させる駆動装置になっている開閉機13を機械式に制御するための機械式制御装置となっている。
また、第2部分31BにA方向と同じ方向の荷重が作用したときには、第2部分31Bが第1屈曲部31Cを支点としてA方向と同じ方向へ揺動するため、この場合にも、ブレーキ軸21及びブレーキドラム22は、A’方向へスライドする。このため、このときにもソレノイド24に通電しなくても、ブレーキ手段19をオフとすることができる。
このように第2部分31BにA方向と同じ方向の荷重を作用させることは、手作業により行うことができる。このため、この実施形態に係る開閉機13は、手操作によってもブレーキ手段19をオフにすることができるようになっている。なお、第2部分31Bは、第2屈曲部31Dを残して省略してもよい。
図4は、シャッターカーテン1の閉じ移動中にシャッターカーテン1の座板1Bが図1で示す障害物34に当接したときに、この障害物34を機械式に検知するための機械式障害物検知装置35を示す。機械式障害物検知装置35は、前述の不動部材となっているこのまぐさ16とシャッターカーテン1との間に架け渡された部分を有している架け渡し部材となっているロック用ワイヤー36と、可撓性を有するこのロック用ワイヤー36の一方の端部が結合され、この一方の端部を処理している第1処理装置37と、ロック用ワイヤー36の他方の端部が連結され、この他方の端部を処理している第2処理装置38と、ロック用ワイヤー36の長さの途中に配置され、シャッターカーテン1が障害物34に当接したときにロック用ワイヤー36を機械式にロックするための、言い換えると、シャッターカーテン1とロック用ワイヤー36とを機械式に結合した状態にするための機械式結合装置39と、を備えている。機械式結合装置39は、後述するように、シャッターカーテン1に取り付けられる。
上述の架け渡し部材となっているロック用ワイヤー36は、本実施形態における可撓性を有している紐状部材でもあり、細長部材でもある。
第1処理装置37と第2処理装置38と機械式結合装置39は、ロック用ワイヤー36で連結された状態になっており、したがって、これらの装置37〜39を構成要素とする機械式障害物検知装置35は、取り扱い等が容易なユニットとなっている。
第1処理装置37には回転自在なリール40が設けられ、ロック用ワイヤー36の一方の端部が結合されているこのリール40にロック用ワイヤー36が巻回されている。リール40には、ぜんまいばね等による戻しばね41が連結されており、ロック用ワイヤー36がリール40を回転させてこのリール40から繰り出される際に、戻しばね41には戻し力が蓄圧される。また、ロック用ワイヤー36に弛みが生じたときには、戻しばね41に蓄圧された戻し力により、リール40はロック用ワイヤー36を巻き取る方向へ回転することになる。このため、第1処理装置37は、本実施形態において、ロック用ワイヤー36を繰り出し自在に巻き取るための巻取装置となっている。
第2処理装置38には回動部材42とリンク部材43とが設けられており、このリンク部材43にロック用ワイヤー36の他方の端部が連結されている。
また、第1処理装置37と第2処理装置38は、まぐさ16にボルト又は溶接等で固定配置されたベース部材44の上面に配置されており、このため、第1処理装置37と第2処理装置38はベース部材44で連結されたユニット構造物45となっている。したがって、ロック用ワイヤー36をまぐさ16とシャッターカーテン1との間に架け渡す作業等を行うために、第1処理装置37と第2処理装置38をまぐさ16に配置する作業は、ユニット構造物45をまぐさ16にボルト又は溶接等で固定設置する作業を行うだけで終了することができ、この作業を容易に行えるようになっている。
また、上述したようにロック用ワイヤー36の他方の端部を第2処理装置38のリンク部材43に連結するために、図2に示されているように、ロック用ワイヤー36は前述の天井部材5に配置されたまぐさ16のスリット17に通されている。すなわち、ロック用ワイヤー36は、天井部材5の上下に跨る長さを有しており、また、ロック用ワイヤー36は、まぐさ16と接触せずにこのまぐさ16のスリット17に挿通されている。
まぐさ16における第1処理装置37と第2処理装置38の配置位置は、シャッターカーテン1の厚さ方向に調整可能となっている。これについて説明すると、図4に示されているとおり、第1処理装置37の機枠46は、ベース部材44の側面部44Aに形成されている長孔47に挿入されたビス等の止着具48でこの側面部44Aに取り付けられている。このため、長孔47の長さ分だけ、ベース部材44における第1処理装置37の取付位置がシャッターカーテン1の厚さ方向に調整可能となっている。さらに、第2処理装置38の機枠49の基板部49Aは、この基板部49Aに形成されている長孔50に挿入されたビス等の止着具51でベース部材44に取り付けられている。このため、長孔50の長さ分だけ、ベース部材44における第2処理装置38の取付位置がシャッターカーテン1の厚さ方向に調整可能となっている。
なお、まぐさ16における第1処理装置37と第2処理装置38の配置位置をシャッターカーテン1の厚さ方向に調整可能する構造は、長孔47,50による方式のものに限定されず、例えば、ボルト等のねじ軸部材の回転を利用したねじ送り方式や、ガイド溝の途中に複数のストップ部又はストップ部材を設けたスライドアンドストップ方式等のものでもよい。
前述したように、本実施形態の架け渡し部材となっているロック用ワイヤー36の一方の端部は第1処理装置37に連結され、ロック用ワイヤー36の他方の端部は第2処理装置38に連結されているため、これらの処理装置37,38を備えて構成されているユニット構造物45は、本実施形態における架け渡し部材連結装置となっている。
図4で示されている機械式結合装置39のケース55は、図4で示されている裏面部55A及び上面部55Bと、図5で示されている正面部55Cとを有する。すなわち、図4と図5では、機械式結合装置39の表裏が逆となっている。図6は、ケース55の内部に収納されている機械式結合装置39の構造を示す図5の正断面図である。図4に示されているように、ケース55の上面部55Bには、ロック用ワイヤー36が出入りする2個の孔56,57が形成され、また、図6に示されているように、ケース55の内部には、ロック用ワイヤー36を案内する2個の回転自在なローラ58,59がシャッターカーテン1の幅方向に離れて配置されているとともに、これらのローラ58,59と共にロック用ワイヤー36を案内するためのピン等による複数のガイド部材60も配置されている。
また、ケース55の内部には、ロック用ワイヤー36におけるローラ58とローラ59の間の部分(後述する折り返し部)36Aを上下から挟着するための挟着部材となっている第1レバー部材61と第2レバー部材62が配置され、これらのレバー部材61,62は、同一の支点軸63を中心に上下に揺動自在となっている。上側の第1レバー部材61には、ねじりコイルばね64による下向きの押圧力が作用しており、また、この第1レバー部材61には下向きに湾曲形成された凸部61Aが設けられ、この凸部61Aがロック用ワイヤー36の上記の部分36Aに当たることにより、支点軸63を中心とする第1レバー部材61の下向きの揺動限が規定されるようになっている。また、上記の部分36Aが弛緩しているときに第1レバー部材61が支点軸63を中心として下向きに大きく揺動することを防止できるようにするために、ケース55には、第1レバー部材61における支点軸63側とは反対側の端部を受けるためのピン等によるストップ部材65が固定されている。
下側の第2レバー部材62における支点軸63側とは反対側の端部には、重り部材66が取り付けられており、この重り部材66の重量により、第2レバー部材62には支点軸63を中心とする下向きの揺動力が作用している。また、第2レバー部材62には、上向きに湾曲形成された凸部62Aが設けられている。
また、上側の第1レバー部材61の下面と、下側の第2レバー部材62の上面には、言い換えると、これらのレバー部材61,62の互いに対面する面には、摩擦部材67,68が取り付けられている。これらの摩擦部材67,68は、第1レバー部材61と第2レバー部材62がロック用ワイヤー36の上記の部分36Aを挟着してロックするときに、この部分36Aとの間の摩擦力を大きくし、ロックを一層確実なものにするためのものである。そして、上側の第1レバー部材61には下向きの突片部61Bが形成され、この突片部61Bと、ケース55の裏面部55Aとにより、ロック用ワイヤー36における上記の部分36Aが2個のレバー部材61,62の間から外れることが防止されている。また、第2レバー部材62の凸部62Aは、この第2レバー部材62が支点軸63を中心に上向きに揺動することにより摩擦部材67,68がロック用ワイヤー36の上記の部分36Aを挟着、ロックする直前に、この部分36Aを上向きに押し上げることになり、これにより、摩擦部材67,68による上記の部分36Aを挟着、ロックをさらに一層確実に行えるようにしている。また、下側の第2レバー部材62には、下向きに湾曲形成された凸部62Bが設けられている。
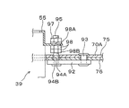
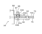
図7には、機械式結合装置39がシャッターカーテン1に取り付けられたときの正面図が示されている。図8は、図7のS8−S8線断面図であり、この図8には、前述したシャッターカーテン1の座板1Bの内部構造が示され、また、図8には、ロック用ワイヤー36及び機械式結合装置39が2点鎖線で示されている。シャッターカーテン1は、図1で説明したように、シャッターカーテン1の大部分の面積を占めていて、本実施形態における開閉体本体となっているカーテン本体1Aと、図8に示されているように、このカーテン本体1Aの下端部に設けられ、本実施形態におけるエンド部材となっている座板1Bとを有する。また、座板1Bは、カーテン本体1Aの下部に固定された固定部70Aと、この固定部70Aの下側に配置され、固定部70Aに対して上下方向に移動可能となっている可動部70Bとからなる。
また、本実施形態のシャッターカーテン1は、図7で示されているように、カーテン主部71Aと、カーテン副部71Bとを有し、カーテン主部71Aは、カーテン本体1Aと、座板1Bのうちの固定部70Aとによって構成されており、カーテン副部71Bは、座板1Bのうちの可動部70Bによって構成されている。したがって、このカーテン副部71Bは、シャッターカーテン1の閉じ側の端部に配置されている。そして、カーテン主部71Aは、本実施形態における開閉体主部となっており、カーテン副部71Bは、本実施形態における開閉体副部となっている。
図8に示されているように、座板1Bの固定部70Aは、共に断面箱型となった内外の部材75,76で形成され、外部材75は、シャッターカーテン1の厚さ方向に分割配置された2個の分割部材75A,75Bで形成されており、これらの分割部材75A,75Bは、カーテン本体1Aの下端部にボルト、ナット等による結合具77で結合されている。また、内外の部材75,76の下面は開口部78となっており、この開口部78から座板1Bの可動部70Bの立上り部79の上端が固定部70Aの内部空間に挿入されている。立上り部79の上端には、シャッターカーテン1の厚さ方向外側へ延出する延出部79A,79Bが形成され、これらの延出部79A,79Bが、固定部70Aの内部材76の下端に形成された突片部76A,76Bの上面に乗ることにより、固定部70Aに対する可動部70Bの下側への移動限が規定される。
固定部70Aの内部には、シャッターカーテン1の幅方向に延びる支点軸80を中心に上下揺動自在となった揺動部材81が収納されている。この揺動部材81は、図14で示されているように可動部70Bが固定部70Aに対して上昇したときには、すなわち、閉じ移動中のシャッターカーテン1が図1で示した障害物34に当接したときには、可動部70Bの立上り部79の延出部79Aが揺動部材81の突出片81Aを押し上げることにより、揺動部材81は支点軸80を中心に上向きに揺動する。また、座板1Bを構成している固定部70Aと可動部70Bは、図1で示した左右のガイドレール6まで延びる長さを有しており、揺動部材81も左右のガイドレール6まで延びる長さを有している。
揺動部材81及び可動部70Bは、例えば、アルミ合金製等の押し出し成形品又は引き抜き成形品で形成されている。図1で示した出入口2の左右幅寸法が大きく、このため、揺動部材81及び可動部70Bを、それぞれ一本の連続した押し出し成形品又は引き抜き成形品で形成することが困難である場合には、長さ方向(シャッターカーテン1の幅方向)に並べた複数の押し出し成形品又は引き抜き成形品により、揺動部材81及び可動部70Bが形成される。
図11は、揺動部材81を、上記の長さ方向に並べた複数の成形品82により形成した場合を示す。この揺動部材81は、互いに隣接する2個の成形品82を、これらの成形品82の内部に圧入される部分83A,83Bが両端に設けられた連結部材83により連結したものとなっている。成形品82と連結部材83との結合は、上記の圧入でもよく、ビス等の止着具を用いたものでもよく、溶接でもよく、接着等でもよい。また、図12は、可動部70Bを、上記の長さ方向に並べた複数の成形品84により形成した場合を示す。この可動部70Bは、複数の成形品84を単に上記の長さ方向に並べることによって形成されており、このため、成形品84同士は、揺動部材81の場合と異なり、連結されていない。
このように成形品84同士を連結しないことで可動部70Bを形成し、これによって可動部70Bの構造を単純化してその製造を容易にしても、揺動部材81は左右のガイドレール6まで延びる連続した1本の状態となっているため、図1で示した障害物34が左右のガイドレール6の間のどの位置に存在していても、シャッターカーテン1の閉じ移動中に、可動部70Bを形成している複数個の成形品84のうち、障害物34が当たる1個又は互いに隣接している2個の成形品84が固定部70Aに対して上昇することにより、揺動部材81を上向きに揺動させることができる。
図4で説明した機械式結合装置39は、図7で示されているように、座板1Bのうち、固定部70Aに組み込まれる。すなわち、機械式結合装置39は、シャッターカーテン1の前述したカーテン主部71Aを構成しているカーテン本体1Aと、座板1Bの固定部70Aとのうち、固定部70Aに配置される。図13は、図7のS13−S13線断面図であって、機械式結合装置39が配置された部分での座板1Bの断面図である。この図13で示されているように、座板1Bの固定部70Aを形成している内外の部材75,76の上面部及び正面部には、機械式結合装置39の配置位置と対応する位置において、切欠加工による開口部90が形成されており、この開口部90に機械式結合装置39が上から挿入されて固定部70Aに結合されている。このため、開口部90は、機械式結合装置39を配置するための機械式結合装置用配置部となっている。
図13及び図14で示されているように、支点軸80を中心に上下方向に揺動自在となっている揺動部材81の突出片81Aには、図6で示した下側の第2レバー部材62の下向きの凸部62Bと対応する位置において、押圧部材91が取り付けられている。このため、シャッターカーテン1の閉じ移動中に、この閉じ移動方向である下側に存在していた障害物34に座板1Bの可動部70Bが当接し、これにより、図14で説明したように、可動部70Bの延出部79Aが揺動部材81を支点軸80を中心に上向きに揺動させたときには、凸部62Bを押圧する押圧部材91により、図15に示されているように、第2レバー部材62は支点軸63を中心に上向きに揺動する。これにより、第2レバー部材62に取り付けられている摩擦部材68は、ロック用ワイヤー36におけるローラ58とローラ59の間の部分36Aを上側へ押し上げることになる。
この押し上げにより、上側の第1レバー部材61は、この第1レバー部材61に取り付けられている摩擦部材67を介して支点軸63を中心に上向きに揺動することになり、この上向きの揺動によりねじりコイルばね64は圧縮されるため、ロック用ワイヤー36におけるローラ58とローラ59の間の部分36Aは、2個のレバー部材61,62の摩擦部材67,68により上下から大きな荷重で挟着され、この挟着により、ロック用ワイヤー36の部分36Aはロックされることになり、このロックにより、シャッターカーテン1とロック用ワイヤー36とが機械式結合装置39で機械式に結合された状態となる。
なお、図13に示されているように、座板1Bの可動部70Bが固定部70Aに対して最下降位置に達しているときには、揺動部材81の突出片81Aが可動部70Bの延出部79Aに当たることにより、支点軸80を中心とする揺動部材81の下向きの揺動が規制されるようになっている。
上述したように閉じ移動中のシャッターカーテン1が障害物34に当接したときに、2個のレバー部材61,62の摩擦部材67,68により、ロック用ワイヤー36の前記部分36Aが大きな荷重でロックされるようにするためには、シャッターカーテン1が障害物34に当接する前において、言い換えると、座板1Bの可動部70Bが固定部70Aに対して最下降位置に達しているときにおいて、揺動部材81の押圧部材91に対して機械式結合装置39が適切な上下方向の位置に配置されていることが重要である。機械式結合装置39を揺動部材81の押圧部材91に対して適切な上下方向の位置に配置することは、機械式結合装置39を座板1Bの固定部70Aに取り付ける際に、この機械式結合装置39を固定部70Aにおける適切な上下方向の位置に取り付けることである。本実施形態には、機械式結合装置39を固定部70Aにおける適切な上下方向の位置に取り付けることができる工夫が施されている。
次に、この工夫について説明する。図4で示されているように、機械式結合装置39のケース55の両方の側面部には突片部55Dが形成され、これらの突片部55Dを利用して機械式結合装置39は座板1Bの固定部70Aに取り付けられる。これらの突片部55Dを利用した取付構造は同じであるため、一方の突片部55Dについての取付構造を図9により説明する。
固定部70Aの内部上面には、ベース部材92がリベット等の止着具93で結合され、このベース部材92には、固定部70Aを形成している前述の内外部材75,76に形成された孔94A,94Bを貫通して固定部70Aの上側へ突出しているねじ軸部材95が設けられている。このねじ軸部材95に1個又は複数個の座金96を挿入した後に、突片部55Dの孔55Eにねじ軸部材95を挿入する。ねじ軸部材95に挿入する座金96の枚数を変更したり、ねじ軸部材95に座金96を挿入しないことにより、固定部70Aにおける機械式結合装置39の上下方向の配置位置が調整されることになる。これにより、機械式結合装置39の配置位置を、揺動部材81の押圧部材91に対して適切な上下方向の位置に設定することができる。
このように機械式結合装置39が揺動部材81の押圧部材91に対して適切な上下方向の位置に配置されているか否かを確認できるようにするために、図7に示されているように、機械式結合装置39のケース55の正面部55Cには、窓孔55Fが形成されている。この窓孔55Fから、座板1Bの可動部70Bが固定部70Aに対して最下降位置に達しているときにおける前述した下側の第2レバー部材62の摩擦部材68と、ロック用ワイヤー36の前述した部分36Aとの間の上下方向の間隔を調べることができ、この上下方向の間隔が予め定められている適性範囲内の値になったときに、図9に示されているナット97をねじ軸部材95に螺合して締め付ける。これにより、機械式結合装置39を座板1Bの固定部70Aに固定する。そして、窓孔55Fをテープ等の遮蔽部材で遮蔽し、ケース55の内部に塵埃等が侵入することを防止する。
以上により、機械式結合装置39は固定部70Aにおける適切な上下方向の位置に取り付けられることになり、この結果として、閉じ移動中のシャッターカーテン1が障害物34に当接したときには、機械式結合装置39に設けられている2個のレバー部材61,62の摩擦部材67,68により、ロック用ワイヤー36の上記部分36Aを大きな荷重でロックできるようになる。
上述のように機械式結合装置39の配置位置を揺動部材81の押圧部材91に対して適切な上下方向の位置に設定するための構造は、以上の方式による構造に限定されない。
図10は、他の方式による構造を示している。この図10の構造では、図9の座金96の代わりにナット98が用いられている。このナット98は回転操作されることにより、ねじ軸部材95に沿って少しずつ上下動するため、ナット98の高さ位置により、機械式結合装置39の配置位置を揺動部材81の押圧部材91に対して一層適切な上下方向の位置に設定でき、また、固定部70Aにおける機械式結合装置39の高さ位置を微調整することもできる。
ナット98は1個でもよい。しかし、図10では、2個のナット98A,98Bが用いられており、これらのナット98A、98Bは、一方のナットを他方のナットに圧接できて、ねじ軸部材95におけるナット98A,98Bの高さ位置を固定できるダブルナットとなっている。このため、機械式結合装置39の配置位置を一層確実に固定することができることになる。
なお、以上のように機械式結合装置39を座板1Bの固定部70Aに取り付けるための作業は、後述するように、本実施形態のシャッター装置のシャッターカーテン1を、本実施形態に係るシャッター装置を設置する建物の図1に示す左右の建物躯体3に取り付けたガイドレール6に沿って上下に開閉移動自在とした後に行う。すなわち、図4で説明した前述の機械式障害物検知装置35を除くシャッター装置自体の設置作業が先に行われ、この後に、機械式障害物検知装置35の設置作業が行われる。この機械式障害物検知装置35の設置作業には、前述したユニット構造物45をまぐさ16に取り付ける作業と、機械式結合装置39を座板1Bの固定部70Aに取り付ける作業とが含まれ、ユニット構造物45をまぐさ16に取り付ける作業と、機械式結合装置39を座板1Bの固定部70Aに取り付ける作業とのうち、どちらの作業を先に行ってもよく、これらの作業を同時(実質的に同時と言える場合を含む。)に行ってもよい。
そして、このように機械式障害物検知装置35の設置作業を行う場合には、座板1Bの固定部70Aに、機械式結合装置39を配置して取り付けるための図14で示した開口部90等を、予め工場において、形成しておくことが好ましい。
本実施形態では、前述したようにロック用ワイヤー36と、第1処理装置37と、第2処理装置38と、機械式結合装置39とからなる機械式障害物検知装置35は、ユニット化されたものとなっているため、工場から本実施形態に係るシャッター装置が設置される建物へ搬送されたこの機械式障害物検知装置35についての設置作業を容易に行え、また、第1処理装置37と第2処理装置38はユニット構造物45となっていて、これらの第1処理装置37と第2処理装置38だけでもユニット化されているため、第1処理装置37と第2処理装置38をまぐさ16に取り付ける作業も容易に行える。
以上のように機械式結合装置39が座板1Bの固定部70Aに取り付けられることにより、不動部材である前述のまぐさ16に設置された図4の第1処理装置37と第2処理装置38に両端部が結合されたロック用ワイヤー36は、まぐさ16とシャッターカーテン1との間に架け渡されることになる。また、このロック用ワイヤー36は、機械式結合装置39で折り返されているため、図1に示されているように、まぐさ16からシャッターカーテン1へと延びる第1部分36Bと、シャッターカーテン1からまぐさ16へと延びる第2部分36Cとを有するU字形となる。そして、ロック用ワイヤー36のうち、機械式結合装置39と対応している図6や図15で示された前記部分36Aは、U字形のロック用ワイヤー36の折り返し部となる。
シャッターカーテン1が閉じ移動したときは、ロック用ワイヤー36は、シャッターカーテン1の重量により第1処理装置37のリール40を回転させて、このリール40から繰り出されることになり、これにより、第1部分36Bと第2部分36Cのそれぞれの長さが長くなる。また、シャッターカーテン1が、前述の開閉機13の駆動軸14の回転で上方へ開き移動したときには、ロック用ワイヤー36には弛みが生ずるため、前述した戻しばね41の戻し力で上記とは反対方向へ回転するリール40によりロック用ワイヤー36は巻き取られ、これにより、第1部分36Bと第2部分36Cのそれぞれの長さは短くなる。このため、ロック用ワイヤー36は、シャッターカーテン1の開閉移動に対して追従することになる。
本実施形態では、図1から分かるように、機械式結合装置39と、第1処理装置37及び第2処理装置38からなるユニット構造物45は、シャッターカーテン1の幅方向の中央位置Bに配置されておらず、前述した機械式障害物検知装置35を構成しているこれらの機械式結合装置39とユニット構造物45は、中央位置Bからシャッターカーテン1の幅方向のうちの一方の側へ変位している位置に配置されている。この変位している位置は、シャッターカーテン1を駆動させる駆動装置となっている前述の開閉機13及びこの開閉機13に取り付けられた前述の自動閉鎖装置32が配置されている側の位置である。
また、図1に示されているように、ロック用ワイヤー36の第1部分36Bと第2部分36Cの延び方向は、シャッターカーテン1のカーテン本体1Aに沿った鉛直方向(実質的に鉛直方向と言えるものを含む。)となっており、また、これらの第1部分36Bと第2部分36Cは、互いに平行(実質的に互いに平行と言えるものを含む。)となっている。
また、図2及び図4に示されているように、ロック用ワイヤー36の第1部分36Bと第2部分36Cは、まぐさ16におけるシャッターカーテン垂下用のスリット17の内部位置に配置されており、このため、第1部分36Bと第2部分36Cは、まぐさ16と干渉していない。言い換えると、まぐさ16の上面に配置された第1処理装置37及び第2処理装置38は、ロック用ワイヤー36の第1部分36Bと第2部分36Cを垂下する部分の位置が、まぐさ16におけるシャッターカーテン垂下用のスリット17の内部位置の上側の位置となるように、まぐさ16に配置されている。
さらに、図13に示されているとおり、座板1Bの固定部70Aにおける機械式結合装置39の配置位置は、シャッターカーテン1の厚さ方向中央位置ではなく、この中央位置からシャッターカーテン1の厚さ方向のうちの一方の側へ変位している位置となっている。このため、ロック用ワイヤー36は、第1部分36Bと第2部分36Cの両方について、図8に示されているように、シャッターカーテン1のうち、前述したカーテン本体1Aと干渉しない位置に、言い換えると、カーテン本体1Aからシャッターカーテン1の厚さ方向に離れた位置に配置されている。すなわち、前述したカーテン主部71Aは、カーテン本体1Aと、座板1Bのうちの固定部70Aとにより構成されているため、ロック用ワイヤー36の第1部分36Bと第2部分36Cの両方は、機械式結合装置39が配置されている固定部70Aを除くカーテン主部71A(カーテン本体1A)からシャッターカーテン1の厚さ方向に離れた位置に配置されていることになる。
機械式結合装置39が配置されている固定部70Aを除くカーテン主部71Aの部分はカーテン本体1Aであり、このカーテン本体1Aはシャッターカーテン1の大部分の面積を占める大きな部分である。このため、上述のように、ロック用ワイヤー36の第1部分36Bと第2部分36Cの両方が、機械式結合装置39が配置されている固定部70Aを除くカーテン主部71Aからシャッターカーテン1の厚さ方向に離れた位置に配置されていて、カーテン主部71Aと干渉していないことにより、まぐさ16とシャッターカーテン1との間に架け渡された架け渡し部材となっていて、本実施形態における機械的部材となっているロック用ワイヤー36は、シャッターカーテン1の開閉移動を阻害しないことになる。
また、前述したとおり、座板1Bの可動部70Bはカーテン副部71Bを形成するものとなっており、図8に示されているとおり、この可動部70Bについてのシャッターカーテン1の厚さ方向寸法はW1である。また、前述したカーテン主部71Aの一部を構成するものとなっている座板1Bの固定部70Aについてのシャッターカーテン1の厚さ方向寸法はW2であり、このW2は、W1よりも小さい。ロック用ワイヤー36は、W1の範囲内であって、W2の範囲内に配置されている。可動部70Bは、カーテン副部71Bを形成するものとなっているため、ロック用ワイヤー36は、このカーテン副部71Bのシャッターカーテン厚さ方向寸法W1内に配置されていることになり、そしてW1は、シャッターカーテン1の全体の厚さ寸法を規定する寸法にもなっているため、ロック用ワイヤー36は、シャッターカーテン1の全体の厚さ寸法内に配置されていることになる。
したがって、シャッターカーテン1のカーテン本体1Aに沿ってロック用ワイヤー36を配置し、これにより、このロック用ワイヤー36の第1部分36Bと第2部分36Cをカーテン本体1Aと干渉しない位置に配置しても、このロック用ワイヤー36を含むシャッターカーテン1の全体の厚さ寸法が大きくなることを抑制することができる。
なお、W1をW2と等しいとした場合(多少の差がある場合であって、実質的に等しいと言うことできる場合を含む。)にも、ロック用ワイヤー36を含むシャッターカーテン1の全体の厚さ寸法が大きくなることを抑制することができる。
また、本実施形態では、図4で説明したように、まぐさ16における第1処理装置37と第2処理装置38の配置位置は、長孔47,50によりシャッターカーテン1の厚さ方向に調整可能となっているため、ロック用ワイヤー36の第1部分36Bと第2部分36Cの両方を、機械式結合装置39が配置されている固定部70Aを除くカーテン主部71Aからシャッターカーテン1の厚さ方向に離れた位置に一層確実に配置できるようになっている。また。まぐさ16における第1処理装置37と第2処理装置38の配置位置の調整作業を、第1処理装置37と第2処理装置38について個別に行うことにより、第1部分36Bと第2部分36Cを、機械式結合装置39が配置されている固定部70Aを除くカーテン主部71Aからシャッターカーテン1の厚さ方向に同じ距離だけ離すための作業も行える。
図16は、第2処理装置38の内部構造を示している。この第2処理装置38には、前述したように、回動部材42と、ロック用ワイヤー36の端部が連結されたリンク部材43とが設けられ、厚さ方向に互いに対面して配置されているこれらの回動部材42とリンク部材43は、同じ軸42Aを中心して上下方向に回動自在となっており、このため、回動部材42とリンク部材43は、同軸的回動部材となっている。リンク部材43には、リンク部材43を軸42Aを中心にC方向へ回動付勢するための手段、すなわち、ロック用ワイヤー36の第2部分36Cを引き上げる方向にリンク部材43を回動付勢するための付勢手段となっているばね101が配置されている。このばね101は、軸42Aにコイル部が巻回されたねじりコイルばねであって、一方の延出部101Aが第2処理装置38の機枠49に係止されており、ばね101によるリンク部材43のC方向への回動は、リンク部材43の上面が、機枠49の開口部49Bに当接することにより規制される。また、回動部材42と機枠49との間にはコイルばね100が架け渡され、回動付勢手段となっているこのコイルばね100により、回動部材42は軸42Aを中心にC方向に回動付勢されている。
リンク部材43におけるロック用ワイヤー36の連結部43Aは、ピン105が構成部材となって構成されており、このピン105は、リンク部材43に形成された長孔106にスライド自在に挿入され、この長孔106は、第1部分106Aと第2部分106Bとが屈曲角度をもって接続されたV字形状又は略V字形状となっており、この屈曲角度は90度よりも大きい。また、ねじりコイルばね101の他方の延出部101Bはピン105に係止され、これにより、リンク部材43に軸42Aを中心にC方向への回動付勢力が付与されている。さらに、長孔106から突出しているピン105の一方の端部には、ローラ107が回転自在に取り付けられ、回動部材42には、このローラ107が上から当接する被当接面42Bが形成されている。図17は、これらのローラ107と被当接面42Bとの関係を示すために、回動部材42とリンク部材43を上から見た図である。
図16に示されているように、第2処理装置38の機枠49の内部には、電気スイッチ108がリンク部材43の上側において、このリンク部材43と近接して配置され、この電気スイッチ108のアクチュエータ109がリンク部材43の上面に当接している。電気スイッチ108は図1で示されている制御装置26に電気回路により接続されているため、電気スイッチ108からの信号はこの制御装置26に送られる。
また、図16に示されているように、回動部材42の外周部の一部にはギヤ歯42Cが形成され、このため、回動部材42は、一部にギヤ歯42Cが形成されたセクターギヤとなっている。また、機枠49にはロータリー式のダンパー102が取り付けられ、このダンパー102は、回動部材42のギヤ歯42Cと噛み合うピニオンギヤ103を備えている。ピニオンギヤ103の回転中心軸104には、ワンウエイクラッチを介してダンパー102の内部に配置された複数のブレードが取り付けられており、回動部材42がC方向に回動することでピニオンギヤ103及び中心軸104がE方向に回転した場合には、接続されたワンウエイクラッチを介してそれぞれのブレードが、ダンパー102の内部に充填されている粘性流体内において回転する。このため、粘性流体の抵抗力により回動部材42は、C方向へ低速で回動することになる。一方、回動部材42がC方向とは逆のD方向に回動し、ピニオンギヤ103及び中心軸104がF方向に回転した場合には、この方向への回転は、ワンウエイクラッチの切断作用によりそれぞれのブレードに伝達されない。このため、回動部材42は、D方向へは高速で回動することができる。
なお、ダンパー102の個数は、2個等の複数個としてもよい。このようにダンパー102を複数個とすると、回動部材42をC方向へ低速で回動させるための上記の抵抗力を大きくでき、これにより、回動部材42のC方向への速度を所望する速度まで充分に遅くすることができる。
以上のように構成されている第2処理装置38では、図16で示されているロック用ワイヤー36の第2部分36Cに下向きの引張力が作用すると、リンク部材43は、軸42Aを中心にねじりコイルばね101に対抗してD方向に回動し、この回動により、回動部材42は、この回動部材42の被当接面42Bに当接しているローラ107からの押圧力により、軸42Aを中心にコイルばね100に対抗してD方向に回動する。これにより、ダンパー102のピニオンギヤ103及び中心軸104はF方向に回転し、このF方向への回転は、上述のように、ワンウエイクラッチの切断作用によりダンパー102のそれぞれのブレードに伝達されないため、回動部材42及びリンク部材43は、D方向へ高速で回動する。
また、ロック用ワイヤー36の第2部分36Cに作用していた下向きの引張力が減少又は消滅したときには、リンク部材43は、ねじりコイルばね101に蓄圧された付勢力により、軸42Aを中心にC方向に復帰回動し、また、回動部材42も、コイルばね100に蓄圧された付勢力により、軸42Aを中心にC方向へ復帰回動する。このときには、ダンパー102のピニオンギヤ103及び中心軸104はE方向に回転し、このE方向への回転は、ワンウエイクラッチの接続作用によりダンパー102のそれぞれのブレードに伝達されるため、コイルばね100による回動部材42のC方向への復帰回動は低速で行われる。
しかし、このときのリンク部材43は、ローラ107が回動部材42の被当接面42Bから上方へ離れることにより、言い換えると、回動部材42から分離することにより、ねじりコイルばね101の蓄圧された付勢力で軸42Aを中心にC方向へ復帰回動するため、このリンク部材43のC方向への回動復帰は、迅速に行われることになる。したがって、回動部材42の旧位への復帰がダンパー102による遅延作用のために遅れても、リンク部材43は早期に旧位に復帰することになる。
以上の説明から分かるように、第2処理装置38に設けられているダンパー102は、回動部材42の旧位への復帰を遅延させるための遅延装置99を構成するものとなっており、そして、回動部材42は、この遅延装置99の作動部材となっているとともに、本実施形態における第1作動部材となっている。
また、リンク部材43は、本実施形態における第2作動部材となっている。すなわち、紐状部材となっていて、緊張力作用部材ともなっているロック用ワイヤー36の第2部分36Cに下向きの引張力が作用したときに、第1作動部材となっている回動部材42は、ローラ107及び被当接面42Bを介してリンク部材43と接続され、このリンク部材43により回動部材42がD方向に回動するとともに、リンク部材43は、上記の引張力が減少又は消滅したときに、回動部材42から分離し、この分離により、このリンク部材43は、ねじりコイルばね101の蓄圧された付勢力で回動部材42よりもC方向に早期に旧位に復帰するため、リンク部材43は、本実施形態における第2作動部材となっている。
そして、同じ軸42Aを中心に回動する同軸的回動部材となっている回動部材42とリンク部材43には、共に弾性部材となっているコイルばね100とねじりコイルばね101によりC方向への回動復帰力が付与しており、したがって、これらのコイルばね100とねじりコイルばね101は、回動部材42とリンク部材43を旧位に付勢復帰させるための付勢手段となっている。
また、リンク部材43にはローラ107が設けられ、このローラ107は、回動部材42の被当接面42Bに当接して回動部材42を回動させるため、ローラ107は、リンク部材43に設けられた当接部となっているとともに、被当接面42Bは、回動部材42に設けられた被当接部となっている。また、本実施形態の当接部は回転自在なローラ107となっているため、回動部材42がローラ107及び被当接面42Bを介してリンク部材43と接続され、このリンク部材43により回動部材42がD方向に回動するときには、ローラ107は、回動部材42に対する回転を行いながら被当接面42Bに当接しており、このため、リンク部材43から回動部材42への回動力の伝達を摩擦力を軽減して円滑に行わせることができる。
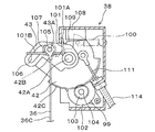
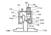
図20は、図1〜図3で示されている前述の自動閉鎖装置32の内部構造を示す正面図であり、図21は、この自動閉鎖装置32の内部構造を示す平面図である。自動閉鎖装置32は、火災等の災害の発生時において、図1〜図3で示されている前述の開閉機13を機械式に制御することにより、全開位置に達していたシャッターカーテン1を自動的に閉じ移動させて全閉とし、防煙性及び/又は防火性を有しているシャッターカーテン1により図1の出入口2を閉鎖するためのものである。自動閉鎖装置32は、この自動閉鎖装置32の機枠110に設けられている図20のブラケット部110Aにより、開閉機13の上部に載置されて取り付けられている。また、図21に示されているように、自動閉鎖装置32まで、この自動閉鎖装置32を制御するための第1制御用ワイヤー111、第2制御用ワイヤー112、第3制御用ワイヤー113のそれぞれの端部が延設されている。これらの制御用ワイヤー111〜113は、前述のロック用ワイヤー36と同じく、可撓性を有する紐状部材となっていて、細長部材ともなっている。
また、これらの制御用ワイヤー111〜113は、可撓性を有するアウターケーブル114〜116の内部にスライド自在に挿通されている。このため、制御用ワイヤー111〜113はアウターケーブル114〜116により保護されている。
図16に示されているように、第1制御用ワイヤー111は第2処理装置38まで延びており、この第1制御用ワイヤー111の端部は、第2処理装置38の回動部材42に連結されている。したがって、この第1制御用ワイヤー111は、自動閉鎖装置32と第2処理装置38との間に架け渡されている。また、図2に示されているように、第1制御用ワイヤー111及びこの第1制御用ワイヤー111が内部に挿通されたアウターケーブル114は、第2処理装置38が一部の構成要素となっている前述のユニット構造物45と開閉機13とが配置されている天井裏空間7において配線されているとともに、この天井裏空間7に存在する物体117を避けて、言い換えると、物体117を迂回して、第1制御用ワイヤー111とアウターケーブル114とが配線可能なスペースにおいて配線されている。なお、このスペースは、予め存在しているものでもよく、第1制御用ワイヤー111とアウターケーブル114の配線時において、物体117の一部を切欠したり、物体117に孔を設けたりすることにより、形成したものでもよい。
そして、このように第1制御用ワイヤー111とアウターケーブル114を物体117と干渉しないで配線することは、第1制御用ワイヤー111とアウターケーブル114が可撓性を有しているために可能である。なお、物体117は、本実施形態のシャッター装置が設置される建物自体に関係したものでよく、本実施形態のシャッター装置の一部、例えば、前述したシャッターボックス8に関係したものでもよい。
また、図16に示されているように、第1制御用ワイヤー111及びアウターケーブル114は、第2処理装置38の近くでは、第2処理装置38に対して斜めの向きとなっている。これにより、第1制御用ワイヤー111及びアウターケーブル114が、図2で示されているまぐさ16のまぐさ部材16Aとシャッターボックス8とを結合している結合部材27と干渉しないようになっている。
図20及び図21に示されているように、自動閉鎖装置32の機枠110には、互いに対向する2個の立上り部110B、110Cが設けられており、これらの立上り部110B、110Cに形成された孔110D,110Eに、2個の立上り部110B、110Cに跨る長さを有している板状のスライド部材120がスライド自在に挿入されている。このスライド部材120の外周にはばね121が巻回されており、このばね121のばね力により、スライド部材120には立上り部110B側への前進力が常時作用している。この前進力の方向は、図3で説明した開閉機13に設けられている前述のレバー部材31の第1部分31AをA方向へ移動させる方向である。
図3及び図20に示されているとおり、スライド部材120の前端に下向きに折曲形成された折曲部120Aには、作動部材122が取り付けられており、また、レバー部材31の第1部分31Aには、被作動部材123が立設結合されている。スライド部材120がばね121のばね力によって前進した場合には、作動部材122が被作動部材123に当接することにより、レバー部材31の第1部分31Aに図3で示したA方向への荷重が作用するようになっている。図20に示されているように、本実施形態では、作動部材122はボルト124の頭部124Aとなっているため、この頭部124Aを回転操作してボルト124をスライド部材120の折曲部120Aに対して進退させることにより、作動部材122と被作動部材123との間の間隔を適切な寸法に調整できる。この調整を行った後に、ボルト124に螺合させておいたロックナット125を回転操作し、このロックナット125を折曲部120Aに圧接させることにより、被作動部材123に対する作動部材122の位置を、適切な位置にして固定できることになる。
図21に示されているように、自動閉鎖装置32の機枠110には、ソレノイド126が取り付けられており、このソレノイド126のプランジャ127には、ばね128のばね力がプランジャ127をソレノイド126から突出させる方向へ常時作用している。このプランジャ127の先端には、中心軸129Aを中心に回動自在となっているL字形の屈曲レバー部材129の一方の端部がスライド式の連結部129Bで連結されており、トリガーレバー部材となっているこの屈曲レバー部材129の他方の端部には、ローラ130が回転自在に設けられている。
このローラ130と対面するスライド部材120の部分には凹部120Bが形成されている。この凹部120Bにおけるスライド部材120の後退側の部分は、傾斜面120Cとなっている。また、自動閉鎖装置32には、屈曲レバー部材129に中心軸129Aを中心とするG方向への回動力を付与するためのばね131と、プランジャ127を前述のばね128と共にソレノイド126から突出させる方向へ付勢し、かつ屈曲レバー部材129を中心軸129Aを中心にG方向へ回動させるばね132とが設けられている。これらのばね128,131,132のばね力により、通常時のローラ130は、図21に示されているように、凹部120Bに嵌合しており、この嵌合により、前述したばね121によるスライド部材120の前進は止められている。このように凹部120Bに嵌合したローラ130で前進が止められているときにおけるスライド部材120の前端の位置は、図21で示す3個の位置H,I,Jのうち、H位置である。
なお、スライド部材120は、後述の説明で明らかになるとおり、開閉機13のブレーキ手段19を機械的にオン、オフさせるための部材となっている。
図21に示されているとおり、自動閉鎖装置32には、電気スイッチであるマイクロスイッチ135が配置され、このマイクロスイッチ135には、ばねでマイクロスイッチ135から突出する方向へ付勢されているアクチュエータ136が設けられている。また、スライド部材120には、凹部120Bと反対側の部分において、ドグ部材137が取り付けられており、アクチュエータ136はこのドグ部材137に当接している。
スライド部材120には、第1連結部138Aと第2連結部138Bが設けられた連結部材138が結合されており、ソレノイド126のプランジャ127の先端には連結部材140が結合されており、前述したばね132の一方の端部は、この連結部材140に連結されている。図4で示した第2処理装置38の回動部材42に一方の端部が連結されている前述の第1制御用ワイヤー111の他方の端部は、スライド部材120の連結部材138の第1連結部138Aに連結され、第2制御用ワイヤー112の端部は、プランジャ127に結合された連結部材140に連結され、第3制御用ワイヤー113の端部は、スライド部材120の連結部材138の第2連結部138Bに連結されている。
そして、図20に示されているように、自動閉鎖装置32の内部において、第1制御用ワイヤー111には撓み部111Aが設けられている。
また、アウターケーブル115の内部に挿通された第2制御用ワイヤー112は、図1で示されている操作装置30まで延びており、この第2制御用ワイヤー112の端部は、操作装置30に配置されているレバー部材等の手動操作部材に連結されている。さらに、アウターケーブル116の内部に挿通された第3制御用ワイヤー113も操作装置30まで延びており、この第3制御用ワイヤー113の端部は、操作装置30に配置されているレバー部材等の手動操作部材に連結されている。
本実施形態に係るシャッター装置が管理用シャッター装置として用いられるときには、前述したように、操作装置30に設けられている「開」「閉」「停」のそれぞれのボタンの操作により、シャッターカーテン1は、制御装置26による開閉機13の電気的制御で開き移動、閉じ移動、移動停止を行う。
そして、「閉」ボタンの操作によりシャッターカーテン1が閉じ移動しているときに、言い換えると、本実施形態に係るシャッター装置が、操作装置30でシャッターカーテン1の開閉移動、移動停止が行われる管理用シャッター装置となっていて、図3で示す開閉機13のブレーキ手段19がソレノイド24への通電により電気的にオフとなってシャッターカーテン1が閉じ移動しているときに、シャッターカーテン1の下方に図1で示す障害物34が存在している場合には、シャッターカーテン1の閉じ移動の途中において、このシャッターカーテン1の閉じ側の先端部に配置されている図8、図13及び図14のカーテン副部71Bが、言い換えると、シャッターカーテン1の座板1Bの下側部分を形成している前述の可動部70Bが障害物34に当接し、この可動部70Bの下降が停止する。
可動部70Bの下降が停止しても、カーテン本体1Aと、座板1Bのうちの前述した固定部70Aとで構成される前述のカーテン主部71Aは、下降するため、この下降で生ずるカーテン主部71Aに対するカーテン副部71Bの相対的な上昇により、図15等で説明したように、前述した機械式結合装置39の第1レバー部材61と第2レバー部材62は、摩擦部材67,68において、ロック用ワイヤー36の前述した折り返し部36Aを挟着し、この挟着によりロック用ワイヤー36をロックする。これにより、シャッターカーテン1と、本実施形態に係る架け渡し部材となっているロック用ワイヤー36とが、機械式結合装置39により機械式に結合された状態となる。
それまでのロック用ワイヤー36は、シャッターカーテン1の閉じ移動に追従して前述の第1処理装置37のリール40から繰り出されており、したがって、シャッターカーテン1の閉じ移動により、シャッターカーテン1に対する移動がロック用ワイヤー36に生じており、ロック用ワイヤー36の折り返し部36Aが摩擦部材67,68で挟着されて、ロック用ワイヤー36がロックされると、障害物34のへこみ変形に基づき、折り返し部36Aで折り返された状態になっているロック用ワイヤー36の第1部分36Bと第2部分36Cには、カーテン副部71Bよりも上側のシャッターカーテン1の部分の重量、すなわち、カーテン主部71Aの重量が作用するため、ロック用ワイヤー36には、特に、第2部分36Cには、大きな緊張力が作用する。
したがって、シャッターカーテン1に障害物34が当接することにより、ロック用ワイヤー36は、カーテン主部71Aの重量による下向きの緊張力が作用する緊張力作用部材となり、この緊張力作用部材により、シャッターカーテン1と、図16のロータリー式のダンパー102を含めて構成された遅延装置99を有している第2処理装置38とが連結されることになる。
そして、本実施形態では、図15に示されているように、ロック用ワイヤー36の折り返し部36Aは、第1レバー部材61と第2レバー部材62に設けられた摩擦力が大きい摩擦部材67,68で挟着、ロックされるため、これらの摩擦部材67,68により、ロック用ワイヤー36が第1レバー部材61と第2レバー部材62に対して滑り移動することを阻止することができる。また、本実施形態では、第1レバー部材61と第2レバー部材62の揺動中心軸となっている前述の軸63は、第1レバー部材61と第2レバー部材62について共通化されているため、部材点数の削減により機械式結合装置39の構造を簡単化できるとともに、摩擦部材67,68同士の位置関係を適切に設定できることになり、このため、ロック用ワイヤー36の上記の折り返し部36Aを摩擦部材67,68で一層確実に挟着、ロックできるようになっている。
さらに、障害物34へのシャッターカーテン1の当接が、前述の機械式結合装置39が配置された位置の下側で行われず、この機械式結合装置39の配置位置の下側からシャッターカーテン1の幅方向にずれた位置で行われ、このため、シャッターカーテン1における機械式結合装置39が配置された部分がシャッターカーテン1の閉じ方向へ少し移動しようとした場合には、第1処理装置37のリール40から繰り出されているロック用ワイヤー36は、摩擦部材67,68で挟着されている箇所が第1部分36B側から第2部分36C側へ移行するための移動を行おうとするが、この移動方向とは反対方向へ摩擦部材67,68の間隔は次第に小さくなっているため、ロック用ワイヤー36が第1レバー部材61と第2レバー部材62に対して滑り移動することを一層有効に阻止することができる。
また、本実施形態では、ロック用ワイヤー36の折り返し部36Aが摩擦部材67,68で挟着、ロックされるときには、図15で示されているように、折り返し部36Aには、前述した複数個のガイド部材60のうちの1個のガイド部材60Aや、第2レバー部材62により、直線状となっていない迂回部36Fが形成されるようになっている。このため、障害物34がへこみ変形しない又は殆どへこみ変形しない硬質の物体であっても、ロック用ワイヤー36に迂回部36Fが形成されることにより、ロック用ワイヤー36の第2部分36Cを下向きに引っ張ることができ、これにより、この第2部分36Cに大きな緊張力を作用させることができる。
以上のようにして、ロック用ワイヤー36が第1レバー部材61と第2レバー部材62に対して滑り移動することが摩擦部材67,68により阻止されて、ロック用ワイヤー36の第2部分36Cに大きな下向きの緊張力が作用すると、このロック用ワイヤー36の第2部分36Cの端部は、図16の第2処理装置38に設けられているリンク部材43に連結されているため、このリンク部材43が軸42Aを中心にD方向へ回動し始める。
図18は、リンク部材43が図16の状態から軸42Aを中心にD方向へ少し回動したときを示しており、このようにリンク部材43が軸42Aを中心にD方向へ少し回動すると、リンク部材43の上面に接触していた電気スイッチ108のアクチュエータ109が作動するため、この電気スイッチ108からの信号が図1の制御装置26に入力する。これにより、制御装置26は、図2で示した開閉機13のそれまで通電されていたソレノイド24への通電を短時間停止して開閉機13のブレーキ手段19を電気的にオンとすること、及びそれまでのシャッターカーテン1の閉じ移動が、開閉機13のコイル25への通電により図1の巻取軸11を正回転させて行われている場合には、コイル25への通電を短時間停止することとを行い、これより、障害物34に当接したシャッターカーテン1を制御装置26で設定されている短時間だけ一旦停止させた後に、制御装置26は、ソレノイド24への通電によりブレーキ手段19を電気的にオフとすることと、コイル25に通電することとを行うことにより、巻取軸11の逆回転によってシャッターカーテン1を反転上昇させる。
このようにシャッターカーテン1が反転上昇すると、シャッターカーテン1が障害物34から離れるため、ロック用ワイヤー36の第2部分36Cに作用していた上記の緊張力が減少又は消滅し始めることになり、このように緊張力が減少又は消滅し始めると、図18で示されている第2処理装置38のリンク部材43は、ねじりコイルばね101の蓄圧された付勢力により、図16のC方向へ回動復帰することになる。これにより、電気スイッチ108のアクチュエータ109も図16で示されているもとの状態に復帰するため、このアクチュエータ109の復帰作動による電気スイッチ108からの信号が入力する図1の制御装置26は、開閉機13のソレノイド24への通電を遮断してブレーキ手段19をオンとするとともに、コイル25への通電を遮断することにより、シャッターカーテン1の上昇反転を停止させる。
このため、シャッターカーテン1は少し反転上昇した位置で停止することになり、これにより、図1で示されている出入口2から障害物34を除去するなどの作業を行うことができるようになる。また、操作装置30の操作により、シャッターカーテン1を、管理用シャッター装置のシャッターカーテンとして、閉じ移動や開き移動させることもできるようになる。
なお、上述したように、ロック用ワイヤー36の第2部分36Cに下向きの緊張力が作用して第2処理装置38のリンク部材43が図16のD方向に少し回動するときには、第2処理装置38の回動部材42も、この回動部材42の被当接面42Bに当接するローラ107からの押圧力によりD方向に少し回動するが、このD方向への回動時には、前述の説明から分かるように、ロータリー式ダンパー102が遅延装置99として機能しないため、ロック用ワイヤー36の第2部分36Cに下向きの緊張力が作用することにより、リンク部材43は直ちにD方向に回動し、この回動により、電気スイッチ108を直ちに作動させることができる。
また、本実施形態では、ロータリー式ダンパー102による遅延装置99と、図20及び図21に示されている自動閉鎖装置32は、互いに離れて配置されており、遅延装置99をロータリー式ダンパー102と共に構成している回動部材42と、自動閉鎖装置32を構成しているスライド部材120は、第1制御用ワイヤー111を介して互いに連結されているが、この第1制御用ワイヤー111は、遅延装置99と自動閉鎖装置32とを連結するための可撓性を有する連結部材となっており、紐状部材にもなっているこの第1制御用ワイヤー111には図20で示した撓み部111Aが設けられているため、回動部材42がD方向に少し回動して、この回動によって第1制御用ワイヤー111が少し引っ張られても、この撓み部111Aの撓み量が減少又は消滅するだけであって、回動部材42のD方向への少しの回動は、図20及び図21に示されている自動閉鎖装置32のスライド部材120に影響を与えない。
すなわち、スライド部材120は、回動部材42がD方向に少し回動しても、図21で示されている位置からスライド移動せず、この位置を維持することになる。
また、上述したように、シャッターカーテン1の反転上昇でロック用ワイヤー36の第2部分36Cに作用していた緊張力が減少又は消滅し始めることにより、第2処理装置38のリンク部材43が、ねじりコイルばね101の蓄圧された付勢力により図16のC方向へ回動復帰するときには、第2処理装置38の回動部材42もコイルばね100の蓄圧された付勢力により図16のC方向へ回動復帰し、この回動部材42の回動復帰は、ロータリー式ダンパー102が遅延装置99として機能するため、低速で行われるが、このときには、ローラ107が回動部材42の被当接面42Bから離れるため、言い換えると、リンク部材43は回動部材42から分離するため、リンク部材43のC方向への回動復帰を迅速に行わせることができ、したがって、電気スイッチ108のアクチュエータ109を図16で示されているもとの状態に復帰させることも、迅速に行わせることができる。
なお、本実施形態に係る電気スイッチ108はB接点型の電気スイッチとなっており、言い換えると、図16で示されている通常時の電気スイッチ108には電気が流れておらず、図18で示されている状態になった電気スイッチ108に電気が流れることになる。このように電気スイッチ108をB接点型の電気スイッチとすると、電気スイッチ108をA接点型の電気スイッチとした場合よりも、回動部材42がD方向に少し回動しただけで一層確実に電気スイッチ108から制御装置26に信号を送信することが可能となるため、この制御装置26の制御により、上述したように、閉じ移動シャッターカーテン1を一旦短時間だけ停止させた後に反転上昇させる作動を、シャッターカーテン1の障害物34への当接後に一層迅速に行わせることができる。
以上の説明から分かるように、本実施形態によると、本実施形態のシャッター装置が、操作装置30の操作により開閉移動、移動停止する管理用シャッター装置となっているときに、閉じ移動中のシャッターカーテン1が障害物34に当接すると、この当接は、紐状部材となっているロック用ワイヤー36とリンク部材43を介して電気スイッチ108により検出できることになる。このため、この電気スイッチ108からの信号を受ける制御装置26で開閉機13を電気的に制御することにより、開閉機13のブレーキ手段19を電気的に短時間だけオンさせて、シャッターカーテン1を一旦停止させ、そして、ブレーキ手段19を電気的にオフとさせてコイル25への通電により、シャッターカーテン1を反転上昇させることができる。
また、シャッターカーテン1が反転上昇することによりロック用ワイヤー36の第2部分36Cに作用していた緊張力が減少又は消滅したときには、回動部材42の低速の復帰回動に影響されることなく、リンク部材43を迅速に復帰回動させることができるため、電気スイッチ108をもとの状態に早期に復帰作動させることができ、この早期の復帰作動により、シャッターカーテン1の反転上昇の開始直後にシャッターカーテン1を停止させるという制御を、電気スイッチ108からの信号が入力する制御装置26により行うことができる。
なお、シャッターカーテン1が反転上昇することでロック用ワイヤー36の第2部分36Cに作用していた緊張力が減少又は消滅したときに、電気スイッチ108からの信号が入力する制御装置26によってシャッターカーテン1について行う制御は、以上のようにシャッターカーテン1の反転上昇を停止させるという制御だけに限定されない。
すなわち、シャッターカーテン1が反転上昇することでロック用ワイヤー36の第2部分36Cに作用していた緊張力が減少又は消滅したときに、電気スイッチ108からの信号が入力する制御装置26によってシャッターカーテン1について行う制御は、反転上昇したシャッターカーテン1に、反転上昇を停止させてから閉じ移動を再開させるための制御でもよく、あるいは、障害物34に当接したシャッターカーテン1を反転上昇させることなく停止させる場合においては、この停止を解除して閉じ移動を再開させるための制御でもよい。
本実施形態のシャッター装置が設置された建物において、シャッターカーテン1が全開となって停止しているときに、火災等の災害が発生すると、この災害を検知したセンサからの信号が入力した図示しない制御装置(この制御装置は、図1の制御装置26が兼用化されたものでもよい。)により、図21の自動閉鎖装置32のソレノイド126は通電され、このソレノイド126が励磁されるため、このソレノイド126のプランジャ127は、ばね128に対抗して後退する。これにより、屈曲レバー部材129は、ばね131,132に対抗して中心軸129Aを中心に図21のG方向とは逆方向に回動することになる。このときの状態が図22で示されている。屈曲レバー部材129が中心軸129Aを中心にG方向とは逆方向に回動すると、屈曲レバー部材129のローラ130はスライド部材120の凹部120Bから脱出するため、スライド部材120はばね121のばね力で前進し、この前進は、連結部材138の前端が自動閉鎖装置32の機枠110の前述の立上り部110Bに当接することにより停止する。このときにおけるスライド部材120の前端の位置は、図21で示した3個の位置H,I,Jのうち、図22に示されているように、最前位置であるI位置である。
なお、火災等の災害の発生を検知した上述のセンサからの信号は図1の制御装置26に送られ、この信号を受信した制御装置26は、これ以後に図16の電気スイッチ108が作動しても、この電気スイッチ108から送られてくる信号を無効とする。
スライド部材120が図22のI位置まで前進すると、マイクロスイッチ135のアクチュエータ136は、スライド部材120に取り付けられているドグ部材137の位置から外れるため、アクチュエータ136がばねの付勢力で突出移動した作動を行ったマイクロスイッチ135からの信号により、上記の制御装置はソレノイド126への通電を停止する。
このソレノイド126への通電の停止により、プランジャ127はばね128のばね力でソレノイド126から突出移動し、屈曲レバー部材129はばね131,132のばね力で中心軸129Aを中心に図21のG方向へ回動する。このときのスライド部材120は、このスライド部材120の前端がI位置まで達している移動限まで前進しているため、屈曲レバー部材129のローラ130は、図23に示されているように、スライド部材120の前述した傾斜面120Cに当たる。このため、プランジャ127の突出移動、及び中心軸129Aを中心とする屈曲レバー部材129のG方向への回動は、途中で停止する。
以上のようにして自動閉鎖装置32のスライド部材120が前進すると、このスライド部材120の前端に設けられている作動部材122が、図3で示されている被作動部材123を介して開閉機13のレバー部材31の第1部分31Aを図3のA方向に押圧するため、前述したように、この第1部分31Aがレバー部材31の第2屈曲部31Dを支点としてA方向へ揺動することにより、開閉機13のブレーキ手段19のブレーキ軸21及びブレーキドラム22は、A方向と同じ方向であるA’方向へスライドし、これにより、それまでオンとなっていたブレーキ手段19は、機械的にオフとなる。このため、全開となっていたシャッターカーテン1は、巻取軸11よりも下側の部分の座板1B等の自重により、前述した巻取軸11を回転させながら下向きに閉じ移動することになり、開閉機13の前述した駆動軸14も駆動力伝達手段12を介して自由回転し、シャッターカーテン1が全閉となることにより、このシャッターカーテン1による防災区画が形成されることになる。
また、火災等の災害が発生したことを人が発見した場合には、この人が、図1で示した操作装置30に配置されていて、前述した第2制御用ワイヤー112の端部に連結されているレバー部材等の手動操作部材により、第2制御用ワイヤー112を引っ張り操作する。これにより、ソレノイド126のプランジャ127は後退するため、ソレノイド126が通電、励磁される前であっても、ソレノイド126が通電、励磁されたときと同じく、屈曲レバー部材129は中心軸129Aを中心に図21のG方向とは逆方向へ回動するため、屈曲レバー部材129のローラ130はスライド部材120の凹部120Bから脱出し、スライド部材120はばね121のばね力で前進することになる。
このため、本実施形態では、自動閉鎖装置32と操作装置30との間に架け渡されている第2制御用ワイヤー112は、操作装置30で引っ張り操作される引っ張り操作部材になっているとともに、この第2制御用ワイヤー112を利用した手動操作でも、開閉機13のブレーキ手段19を機械的にオフにし、全開となっていたシャッターカーテン1を自重により閉じ移動させて全閉とすることができる。
なお、スライド部材120が図23で示すI位置まで前進したときには、図20で示した第1制御用ワイヤー111に設けられていた撓み部111Aは、消滅している。
そして、本実施形態では、図1に示されているように、操作装置30は、シャッターカーテン1の幅方向両側に配置されている左右の壁等の建物躯体3のうち、開閉機13及び自動閉鎖装置32に近い位置となっている一方の建物躯体3Aに配置されている。このため、自動閉鎖装置32と操作装置30との間に架け渡されていて、操作装置30で引っ張り操作される引っ張り操作部材となっている第2制御用ワイヤー112の長さを短くできることになる。したがって、左右の壁等の建物躯体3のうち、他方の建物躯体3Bに操作装置30を配置した場合よりも、上述のレバー部材等の手動操作部材により第2制御用ワイヤー112を引っ張り操作したときの引っ張り力を自動閉鎖装置32に瞬時に入力させることができ、これにより、開閉機13のブレーキ手段19を瞬時にオフにすることができ、全開となっていたシャッターカーテン1の閉じ移動を迅速に開始させることができる。
シャッターカーテン1が全閉位置に達し、そして、火災等の災害が解消したときには、図1で示した操作装置30に配置されていて、前述した第3制御用ワイヤー113の端部に連結されているレバー部材等の手動操作部材により、第3制御用ワイヤー113を引っ張り操作する。これにより、第3制御用ワイヤー113は自動閉鎖装置32のスライド部材120に連結されているため、このスライド部材120はばね121のばね力に対抗して後退することになる。このため、スライド部材120は、図23に示されている位置から、前端が図21のH位置となる初期位置へ復帰することになる。また、スライド部材120がこの初期位置へ復帰するときに、屈曲レバー部材129が中心軸129Aを中心としてばね131,132のばね力で図21のG方向へ回動するため、屈曲レバー部材129のローラ130は、図21に示されているように、スライド部材120の凹部120Bに嵌合することになり、スライド部材120は、スライド部材120の前端がH位置に達した状態で停止する。これにより、自動閉鎖装置32は、火災等の災害が発生する前の初期状態に戻る。
また、スライド部材120が初期位置へ復帰すると、開閉機13のブレーキ手段19のブレーキ軸21及びブレーキドラム22は図3の前述したばね23でA’方向とは逆方向へ移動するため、ブレーキ手段19は機械的にオンに復帰する。この後に、操作装置30に設けられている前述の「開」ボタンを操作することにより、シャッターカーテン1は、前述したとおり、全開位置まで開き移動する。
なお、前述したように、火災等の災害を検知したセンサからの信号が入力した制御装置により自動閉鎖装置32のソレノイド126が通電、励磁され、あるいは、第2制御用ワイヤー112の端部に連結されているレバー部材等の手動操作部材により第2制御用ワイヤー112が引っ張り操作され、これにより、開閉機13のブレーキ手段19がオフとなって、シャッターカーテン1が全開位置から下向きに閉じ移動するときは、本実施形態のシャッター装置が防災用シャッター装置となっているときである。このときには、図3で示されている開閉機13のブレーキ手段19は、上述の説明で明らかなように、自動閉鎖装置32のスライド部材120のスライドにより機械的にオン、オフするブレーキ手段となっている。
また、このように本実施形態に係るシャッター装置が防災用シャッター装置となって、シャッターカーテン1が全開位置から下向きに閉じ移動しているときに、言い換えると、自動閉鎖装置32が図23で示した状態になって、シャッターカーテン1が全開位置から下向きに閉じ移動しているときに、閉じ移動方向であるシャッターカーテン1の下側に図1で示す障害物34が存在している場合には、シャッターカーテン1の閉じ移動の途中において、このシャッターカーテン1の閉じ側の先端部に配置されているカーテン副部71Bが、言い換えると、シャッターカーテン1の座板1Bの下側部分を形成している前述の可動部70Bが障害物34に当接する。なお、この障害物は、例えば、火災等の災害から避難する避難者である。
これにより、本実施形態のシャッター装置が防災用シャッター装置となっている場合にも、本実施形態に係るシャッター装置が前述した管理用シャッター装置となっている場合と同様に、機械式結合装置39の第1レバー部材61と第2レバー部材62の摩擦部材67,68がロック用ワイヤー36の折り返し部36Aを挟着、ロックするため、緊張力作用部材であるロック用ワイヤー36の第2部分36Cには、シャッターカーテン1のカーテン主部71Aの重量による下向きの緊張力が作用することになる。
これにより、第2処理装置38のリンク部材43は図16のD方向へ回動し、リンク部材43のローラ107が被当接面42Bに当接している回動部材42もD方向へ回動する。リンク部材43がD方向へ少し回動すると、図16で示されている電気スイッチ108のアクチュエータ109は作動するが、このときには、前述したように、電気スイッチ108から制御装置26に入力する信号は無効とされるため、この制御装置26は、開閉機13にシャッターカーテン1を反転上昇させる制御を行うことはない。
このため、リンク部材43は、ロック用ワイヤー36の第2部分36Cに作用する下向きの緊張力により図16のD方向に、図18の状態を経て図19の状態へと回動し、これにより、第1制御用ワイヤー111は、本実施形態のシャッター装置が管理用シャッター装置となっているときよりも長く引っ張られる。このときには、図20で示されている撓み部111Aが消滅しており、自動閉鎖装置32のスライド部材120は、第1制御用ワイヤー111の引張作用により、図21で示されているJ位置まで後退する。すなわち、スライド部材120は、H位置とI位置との中間のJ位置で停止する。このときの状態が図24に示されている。このときの屈曲レバー部材129のローラ130が当接しているスライド部材120位置は、図23のときよりも、スライド部材120のスライド方向であるスライド部材120の長さ方向へ移動しているが、ローラ130は、前述した傾斜面120Cにまだ当接している。
また、このときのスライド部材120の前端の位置は、I位置からJ位置へ後退しているため、このスライド部材120の作動部材122が図3及び図20のレバー部材31の第1部分31Aを図3のA方向に押圧していた荷重は、解除されることになる。このため、開閉機13のブレーキ手段19は、オフからオンに機械的に切り替えられることになる。そして、このブレーキ手段19のオンにより、開閉機13の前述の駆動軸14は回転できないため、シャッターカーテン1の上端が結合されている巻取軸11も回転することはできない。
したがって、障害物34に当接したシャッターカーテン1は、その当接位置で閉じ移動を停止することになる。この停止は、ロック用ワイヤー36を摩擦部材67,68でロックする第1レバー部材61と第2レバー部材62を備えた前述の機械式結合装置39や、同じく機械式となっている第2処理装置38、さらには機械式にスライドする自動閉鎖装置32の部材となっているスライド部材120、機械式にオンとなる開閉機13のブレーキ手段19等により構成されている機械式構造によって行われる。このため、シャッターカーテン1が閉じ移動を開始した後に、火災等の災害の発生を原因として、あるいは、他の理由を原因として、本実施形態に係るシャッター装置が設置された建物が停電になっても、閉じ移動中に障害物34に当接したシャッターカーテン1を機械的に停止させることができる。
また、本実施形態では、図1で説明したように、前述した機械式障害物検知装置35を構成している機械式結合装置39とユニット構造物45は、シャッターカーテン1の幅方向の中央位置Bに配置されておらず、この中央位置Bから、シャッターカーテン1の幅方向のうち、開閉機13及び自動閉鎖装置32が配置されている一方の側へ変位している位置に配置されている。このため、第2処理装置38と自動閉鎖装置32は、中央位置Bに対してシャッターカーテン1の幅方向の同じ側に配置されていることになり、このため、第2処理装置38と自動閉鎖装置32との間に配線され、ロック用ワイヤー36と同様に、前述の緊張力が作用する緊張力作用部材となっている第1制御用ワイヤー111の長さを短くすることができる。したがって、閉じ移動中のシャッターカーテン1が障害物34に当接したときには、第1制御用ワイヤー111に作用する緊張力を第2処理装置38を介して短時間で自動閉鎖装置32に入力させることができ、これにより、開閉機13のブレーキ手段19を迅速に機械的にオンにすることができる。
また、本実施形態では、図1に示されているように、第2処理装置38を備えたユニット構造物45と、自動閉鎖装置32は、シャッターカーテン1の幅方向の中央位置Bからこの幅方向の同じ側へずれた位置に配置されているとともに、これらのユニット構造物45と自動閉鎖装置32は、シャッターカーテン1の幅方向の同じ位置に配置されておらず、ユニット構造物45と自動閉鎖装置32のうち、ユニット構造物45が自動閉鎖装置32よりもシャッターカーテン開閉体の幅方向の中央位置Bに近い位置に配置されている。このため、本実施形態では、ユニット構造物45にロック用ワイヤー36を介して連結されている前述の機械式結合装置39も、自動閉鎖装置32よりもシャッターカーテン1の幅方向の中央位置Bに近い位置に配置されていることになる。これによると、閉じ移動の途中のシャッターカーテン1が障害物34に当接することがシャッターカーテン1の幅方向のどの位置で生じても、機械式結合装置36に、シャッターカーテン1とロック用ワイヤー36とを機械式に結合された状態とするための作動を一層確実に行わせることができる。
また、ユニット構造物45が自動閉鎖装置32よりもシャッターカーテン開閉体の幅方向の中央位置Bに近い位置に配置されることにより、自動閉鎖装置32はユニット構造物45よりもシャッターカーテン1の幅方向の中央位置Bから遠い位置に配置されることになる。この自動閉鎖装置32の配置位置は、シャッターカーテン1を開閉自在に支持するための部材、具体的には、シャッターカーテン1の巻き取り、繰り出しでこのシャッターカーテン1を開閉移動させる巻取軸11を支持するための支持部材となっているシャッターボックス8のうち、側面部8Bに近い位置となっている。この側面部8Bには、ブラケット部材15を介して開閉機13が取り付けられており、この開閉機13に自動閉鎖装置32が取り付けられているため、自動閉鎖装置32がユニット構造物45よりもシャッターカーテン1の幅方向の中央位置Bから遠い位置に配置されることにより、この自動閉鎖装置32を、シャッターボックス8の側面部8Bに、ブラケット部材15と開閉機13を介して有効に配置することができる。
上述したように、閉じ移動中のシャッターカーテン1が障害物34に当接し、開閉機13のブレーキ手段19が機械的にオンになってシャッターカーテン1の閉じ移動が停止した後に、障害物34が除去されると、シャッターカーテン1のカーテン副部71Bが下降するため、機械式結合装置39の第1レバー部材61と第2レバー部材62の摩擦部材67,68によるロック用ワイヤー36の挟着、ロックは解除され、機械式結合装置39によるシャッターカーテン1とロック用ワイヤー36との機械式結合状態も解除される。これにより、ロック用ワイヤー36の緊張力は消滅し、このため、図16のねじりコイルばね101及びコイルばね100による戻し力が作用している第2処理装置38のリンク部材43及び回動部材42は、図16のC方向に回動し、回動部材42のC方向への回動により、第1制御用ワイヤー111によって後退方向へ引っ張られていた自動閉鎖装置32のスライド部材120は、ばね121により、前端の位置が図24で示すJ位置から図23で示すI位置へ移行する前進を行う。このため、開閉機13のブレーキ手段19は、オンからオフへ再度機械的に切り替られ、シャッターカーテン1は閉じ移動を再開することとなる。
また、第2処理装置38の回動部材42が図16のC方向に回動するときには、ロータリー式のダンパー102のピニオンギヤ103は図16のE方向に回転し、このE方向についてはダンパー102に粘性流体による抵抗力が生ずる。このため、スライド部材120の前端の位置が図24で示すJ位置から図23で示すI位置へ移行すること、及びこの移行により開閉機13のブレーキ手段19がオンからオフへ機械的に切り替られることは、ダンパー102の遅延作用により、瞬時に行われない。したがって、障害物34の除去によりシャッターカーテン1が閉じ移動を再開することは、障害物34の除去から時間遅れをもって開始されることになり、このため、障害物34の除去作業を時間的余裕をもって行うことができる。
この説明で分かるように、第2処理装置38におけるダンパー102及び回動部材42は、障害物34の除去後にシャッターカーテン1が閉じ移動を再開するときに、この再開を遅延させるための遅延装置99を構成するものとなっている。
なお、この遅延装置99のダンパー102からの粘性流体の漏れがあっても、この粘性流体が図4で示すユニット構造物45から落下することを防止するために、例えば、ユニット構造物45のベース部材44の周囲に立ち上り壁を設けることにより、このベース部材44を皿形状としてもよい。
また、この遅延装置は、ダンパー102の代わりに、例えば、ぜんまい式タイマーを含む機械式手段を採用したものとしてもよい。この機械式手段によると、粘性流体式ダンパー102と異なり、環境温度に影響されることなく遅延時間をより正確に設定することができる。
そして、閉じ移動を再開したシャッターカーテン1が全閉となった後において、第3制御用ワイヤー113を、操作装置30に配置されたレバー部材等の前述した手動操作部材により引っ張ることにより、自動閉鎖装置32のスライド部材120は、前端の位置が図21のH位置に戻る復帰移動を行うため、自動閉鎖装置32の全体は図21の初期状態に復帰する。
以上において、ロック用ワイヤー36が機械式結合装置39によりロックされたときに、緊張力作用部材となっているこのロック用ワイヤー36の第2部分36Cに大きな下向きの引張量が生ずる場合がある。このような大きな下向きの引張量は、例えば、シャッターカーテン1の幅寸法である左右方向の幅寸法が大きいために、シャッターカーテン1の下端部を形成している座板1Bに上下方向の大きな撓みが生じ、このままの状態でシャッターカーテン1が図1の床4に着床して全閉となるときに生じる。すなわち、座板1Bに上下方向の大きな撓みが生じることにより、座板1Bの一部が先に床4に接触し、このときに、ロック用ワイヤー36の前述の折り返し部36Aが機械式結合装置39でロックされてロック用ワイヤー36とシャッターカーテン1とが結合されるため、床4に先に着床した座板1Bの一部の箇所と、機械式結合装置39の配置箇所とがシャッターカーテン1の幅方向にずれている場合には、座板1Bの他の部分が遅れて床4に着床することにより、ロック用ワイヤー36の第2部分36Cには、座板1Bの上下方向の大きな撓み量に応じた大きな下向きの引張量が生ずることになる。
また、大きな下向きの引張量は、障害物34に当接したシャッターカーテン1の箇所と、機械式結合装置39が配置されているシャッターカーテン1の箇所とが左右方向に大きくずれていて、障害物34にシャッターカーテン1が当接した後も、機械式結合装置39が配置されているシャッターカーテン1の箇所が大きく下方へ移動するときにも生ずる。
大きな下向きの引張量がロック用ワイヤー36の第2部分36Cに生じた場合には、前述の説明から分かるように、往復スライドすることによりブレーキ手段19をオン、オフさせるための自動閉鎖装置32のスライド部材120が後方へ過度にスライドしてしまい、スライド部材120の前端位置が、図21のJ位置とならずに、H位置になってしまい、これにより、屈曲レバー部材129のローラ130が、図21のときと同様に、スライド部材120の凹部120Bに嵌合し、このため、障害物34が除去されても、ブレーキ手段19をオフに復帰させることができなくなってしまうことになる。
このため、本実施形態に係るシャッター装置には、ロック用ワイヤー36の第2部分36Cに大きな下向きの引張量が作用した場合に、有効に機能する工夫が施されている。
すなわち、図16のリンク部材43には、長孔106が形成されており、この長孔106に、ロック用ワイヤー36の第2部分36Cとリンク部材43との連結部43Aを構成しているピン105が挿入されているとともに、後述から明らかになるように連結部43Aの移動を案内するためのガイド部となっているこの長孔106は、第1部分106Aと第2部分106Bとが屈曲角度をもって接続されたV字形状又は略V字形状となっていて、この屈曲角度は90度よりも大きくなっている。そして、本実施形態では、閉じ移動中のシャッターカーテン1が障害物34に当接することにより、回動部材42及びリンク部材43が図16や図18の状態から図19の状態になったときには、リンク部材43にC方向への回動力を付与するための弾性部材となっているねじりコイルばね101の端部となっている延出部101Bが、リンク部材43とロック用ワイヤー36の第2部分36Cとの連結部43Bを構成しているピン105に係止しているため、連結部43Bは、ねじりコイルばね101の延出部101Bの弾性力により、図16及び図18のときと同様に、長孔106の第1部分106Aと第2部分106Bのうち、第1部分106Aの位置に止まっている又は殆ど止まった状態になっている。
そして、ロック用ワイヤー36の第2部分36Cに大きな下向きの引張量が生じたときには、本実施形態に係るリンク部材43及び回動部材42は図19の状態から回動せず又は殆ど回動せずに、連結部43Aは、ねじりコイルばね101の延出部101Bの弾性力に対抗しながら、長孔106の第1部分106Aから第2部分106Bへと移行し、言い換えると、連結部43Aは、ねじりコイルばね101の延出部101Bの弾性力に対抗しながらリンク部材43に対して移動し、連結部43Aは、図19の二点鎖線で示されているように、第2部分106Bの終端まで達する。
リンク部材43は、前述した説明から分かるように、ロック用ワイヤー36と自動閉鎖装置32との間に配置された中間部材となっており、このため、上述の大きな引張量のうち、後述する基準の引張量よりも大きい分は、この中間部材にガイド部として形成されている長孔106により吸収されることになり、この結果、第1制御用ワイヤー111を介して自動閉鎖装置32のスライド部材120が後方へ過度にスライドすることを防止できる。すなわち、本実施形態に係るシャッター装置では、緊張力作用部材となっているロック用ワイヤー36に大きな引張量が生じたときには、連結部43Aがリンク部材43に対して移動可能となっているため、自動閉鎖装置32のスライド部材120が後方へ過度にスライドすることを防止でき、また、ロック用ワイヤー36の第2部分36Cや第1制御用ワイヤー111に大きな緊張力が作用することも防止できる。
以上のことから分かるように、緊張力作用部材となっているロック用ワイヤー36の大きな引張量とは、基準の引張量よりも大きい引張量であって、この基準の引張量は、ロック用ワイヤー36の連結部43Aがリンク部材43に対して移動せず又は殆ど移動せずに、リンク部材43が図16の軸42Aを中心としてD方向への回動という運動を行うことでロック用ワイヤー36に生じる引張量であり、このロック用ワイヤー36の大きな引張量は、リンク部材43が軸42Aを中心としてD方向の回動という運動を行い、かつロック用ワイヤー36の連結部43Aがリンク部材43に対して長孔106に沿って移動することにより生ずる引張量になっている。
また、自動閉鎖装置32は、前述したように、往復スライドすることによりブレーキ手段19をオン、オフさせるためのスライド部材120を有しており、ロック用ワイヤー36の大きな引張量は、オンとなったブレーキ手段19をオフに復帰させることができない位置までロック用ワイヤー36がさらにスライド部材120を後退させる引張量にもなっている。
また、本実施形態によると、ロック用ワイヤー36の第2部分36Cに大きな引張量が生じたときに連結部43Aが移行する部分は、図19に示されているように、長孔106のうち、鉛直又は略鉛直となっている第2部分106Bであり、この第2部分106Bが延びている方向は、ロック用ワイヤー36の第2部分36Cに作用する緊張力の方向と同じ又は略同じであるため、上述の大きな引張量により、連結部43Aを第2部分106Bの終端まで円滑に到達させることができる。
さらに、ロック用ワイヤー36の第2部分36Cに大きな引張量が作用する以前の図19で示す状態のときは、ねじりコイルばね101の延出部101Bの弾性力には、連結部43Aの移動方向である長孔106の延出方向とは反対側への成分があるため、連結部43Aが長孔106に沿って移動することは、ねじりコイルばね101により阻止され、このときの長孔106における連結部43Aの位置を、図16、図18及び図19で示す位置に止めておくことができる。
また、連結部43Aが長孔106に案内されて図19の二点鎖線で示されている位置まで移動する範囲の全体において、ねじりコイルばね101の延出部101Bは、常に連結部43Aとの接触状態を維持するため、連結部43Aが長孔106に案内されて移動しているときに、ねじりコイルばね101には、連結部43Aを移動前のもとの位置に復帰させるための弾性復帰力が蓄圧されることになり、このため、シャッターカーテン1が開き移動等して上述の大きな引張量が消滅したときには、ねじりコイルばね101に蓄圧された弾性復帰力により、連結部43Aは、長孔106の第1部分106Aにおけるもとの位置に自ずと戻ることになる。
さらに、ねじりコイルばね101は、ロック用ワイヤー36と自動閉鎖装置32との間に配置された中間部材となっているリンク部材43に図1のC方向への回動力を付与するための弾性部材としてこのリンク部材43に配置されているものとなっており、このため、弾性部材の兼用化により、連結部43Aに、長孔106の延出方向とは反対側への成分を有する弾性力を作用させることや、連結部43Aを移動前のもとの位置に復帰させることを実現することができる。
また、本実施形態では、遅延装置99をロータリー式ダンパー102と共に構成している回動部材42と、自動閉鎖装置32を構成しているスライド部材120とを連結する連結部材となっている第1制御用ワイヤー111には、通常時において、図20で示した撓み部111Aが設けられているため、閉じ移動中のシャッターカーテン1が障害物34に当接したときに、自動閉鎖装置32のスライド部材120により開閉機13のブレーキ手段19をオフからオンに切り替えることを一層確実に行えるようになっている。
これについて具体的に説明すると、通常時の第1制御用ワイヤー111に撓み部111Aを設けることなく、この制御用ワイヤー111を緊張させて遅延装置99と自動閉鎖装置32との間に架け渡し場合には、第1制御用ワイヤー111に経年変化等による撓みが生じるおそれがあり、これによると、閉じ移動中のシャッターカーテン1が障害物34に当接することにより、自動閉鎖装置32の前進限まで達していたスライド部材120が第1制御用ワイヤー111の引張作用により後退するときに、この後退の移動量が撓み分だけ少なくなるおそれがあり、この結果、開閉機13のブレーキ手段19をオフからオンに切り替えることが困難になる場合がある。しかし、通常時の第1制御用ワイヤー111に撓み部111Aを設けることにより、この制御用ワイヤー111に経年変化等による撓みが生ずることを防止でき、これにより、閉じ移動中のシャッターカーテン1が障害物34に当接したときに、自動閉鎖装置32のスライド部材120により開閉機13のブレーキ手段19をオフからオンに切り替えることを一層確実に行えることになる。
なお、以上の説明は、シャッターカーテン1が全開となって停止しているときに前述した火災等の災害が発生した場合であったが、シャッターカーテン1が図1の操作装置30による操作で開き移動しているときや、停止しているとき、また、閉じ移動しているときや、閉じ移動中に障害物に当接して停止しているとき、さらには、全閉位置に達して停止しているときに、火災等の災害が発生し、この災害を検知したセンサからの信号が入力した前記制御装置により、自動閉鎖装置32のソレノイド126が通電励磁された場合や、火災等の災害を発見した人が第2制御用ワイヤー112を引っ張り操作した場合にも、スライド部材120は、図22及び図23に示されているように、最前位置であるI位置に達する。
これを言い換えると、開閉機13のブレーキ手段19は、操作装置30と自動閉鎖装置32との両方により制御されるものとなっているとともに、このブレーキ手段30がオン、オフのいずれかに操作装置30によって電気的に制御された状態になっているときでも、自動閉鎖装置32のスライド部材120がI位置まで前進したときには、ブレーキ手段19はオフとなるため、操作装置30による電気的制御よりも自動閉鎖装置32による機械的制御を優先させて、ブレーキ手段19をオフにすることができる。そして、第1作動部材になっている回動部材42と、第2作動部材になっているリンク部材43とに関する前述した作動を、矛盾等の不都合が発生することなく所定どおり行わせることができる。
次に、別実施形態に係るシャッター装置について説明する。このシャッター装置の全体は図25に示されており、このシャッター装置も管理及び防災併用のシャッター装置となっている。なお、以下の説明では、前述の実施形態におけるシャッター装置における装置、部材、手段等と対応する装置、部材、手段等には、前述の実施形態で用いた符号と同じ符号を用いることとし、これらについての説明は省略する。
図25で示すシャッター装置では、開閉機13の上部に載置されている装置233は、遅延装置と自動閉鎖装置とが隣接して配置されたものとなっている。このため、この装置233は、遅延装置としての機能と、自動閉鎖装置としての機能とを備えた複合装置となっている。このため、図25のシャッター装置では、まぐさ16に遅延装置が設置されておらず、まぐさ16には、前記実施形態における図4で示された第1処理装置37に相当する装置、すなわち、ロック用ワイヤー236の一方の端部が連結されていて、このロック用ワイヤー236を繰り出し自在に巻き取るための巻取装置237が設置されている。
このようにこの実施形態では、遅延装置と自動閉鎖装置とが複合装置233となって隣接して配置されているため、装置の兼用化と、これによるシャッター装置全体の小型化が図られている。
ロック用ワイヤー236の他方の端部は、複合装置233の遅延装置まで延びており、紐状部材となっているロック用ワイヤー236には、閉じ移動中のシャッターカーテン1が障害物34に当接したときに、シャッターカーテン1の重量のうち、カーテン主部71Aの重量が緊張力となって作用する。ロック用ワイヤー236のうち、巻取装置237から、シャッターカーテン1に配置された機械式結合装置39までの部分が第1部分236Bとなっているとともに、この機械式結合装置39から複合装置233の遅延装置までの部分が第2部分236Cとなっており、そして、機械式結合装置39の内部に挿入されている部分が、前記実施形態と同様に折り返し部となっている。
図26には、複合装置233の内部構造を示す平面図が示され、図27には、複合装置233のうち、遅延装置299の正面図が示されている。図26に示されているように、複合装置233の機枠310に補助部材310Aが設けられ、この補助部材310Aに、図27に示されているように、回動部材242とリンク部材243とが回動自在に配置され、これらの回動部材242とリンク部材243の回動中心部は、図26から分かるように、補助部材310Aに固定されている段付き状の軸242Aとなっている。このため、回動部材242とリンク部材243は、この段付き状の軸242Aによる同軸的回動部材となっている。リンク部材243には、ロック用ワイヤー236の第2部分236Cの端部が連結されており、また、リンク部材243には、リンク部材243を軸242Aを中心に図27のP方向へ、すなわち、ロック用ワイヤー236の第2部分236Cを引っ張る方向へ回動付勢するための付勢手段となっているばね301が配置されている。図26に示されているように、このばね301は、軸242Aにコイル部が巻回されたねじりコイルばねであって、一方の延出部301Aが補助部材310Aに設けられたピン310Cに係止されている。
また、回動部材242は、ねじりコイルばね300により、軸242Aを中心に図27のP方向に回動付勢され、両端が軸242Aと回動部材242とに係止されているこのねじりコイルばね300は、回動部材242をP方向へ回動付勢するための付勢手段となっている。
なお、ロック用ワイヤー236の第2部分236Cは、図27に示されているように、ガイドローラ350により水平又は略水平にリンク部材243へ案内され、このガイドローラ350は、図26に示されているように、補助部材310Aに配置されている。
図29は、図26のS29−S29線断面図である。この図29に示されているように、リンク部材243とロック用ワイヤー236との連結部243Aは、ピン305が構成部材となって構成されており、このピン305は、リンク部材43に形成された長孔306にスライド自在に挿入され、この長孔306は、第1部分306Aと第2部分306Bとが90度よりも大きな屈曲角度をもって接続されたV字形状又は略V字形状となっている。また、ねじりコイルばね301の他方の延出部301Bはピン305に係止され、これにより、リンク部材243に軸242Aを中心に図27のP方向への回動付勢力が付与されている。さらに、長孔306から突出しているピン305の一方の端部には、ローラ307が回転自在に取り付けられ、回動部材242には、このローラ307が側面に当接する被当接部242Bが形成されている。この被当接部242Bは、回動部材242の一部の厚さを大きくすることにより形成された厚肉部として、又は回動部材242に取り付けた板状部材により形成されている。図28は、これらのローラ307と被当接部242Bとの関係を示すために、回動部材242とリンク部材243との部分を示している図27の平断面図となっている。
図27に示されているように、補助部材310Aには、電気スイッチ308がリンク部材243と近接して配置され、この電気スイッチ308のアクチュエータ309がリンク部材243の上部側面に当接している。電気スイッチ308は、前記実施形態と同様に、図25で示されている制御装置26に電気回路により接続されているため、電気スイッチ308からの信号はこの制御装置26に送られる。
また、図27に示されているように、回動部材242の外周部の一部にはギヤ歯242Cが形成され、このため、回動部材242は、一部にギヤ歯242Cが形成されたセクターギヤとなっている。また、補助部材310Aにはロータリー式のダンパー302が取り付けられ、このダンパー302は、回動部材242のギヤ歯242Cと噛み合うピニオンギヤ303を備えている。ピニオンギヤ303の回転中心軸304には、ワンウエイクラッチを介してダンパー302の内部に配置された複数のブレードが取り付けられており、回動部材242がP方向に回動することでピニオンギヤ303及び中心軸304が図27のR方向に回転した場合には、接続されたワンウエイクラッチを介してそれぞれのブレードが、ダンパー302の内部に充填されている粘性流体内において回転する。このため、粘性流体の抵抗力により回動部材242は、P方向へ低速で回動することになる。一方、回動部材242がP方向とは逆のQ方向に回動し、ピニオンギヤ303及び中心軸304がS方向に回転した場合には、この方向への回転は、ワンウエイクラッチの切断作用によりそれぞれのブレードに伝達されない。このため、回動部材242は、Q方向へは高速で回動することができる。
回動部材242における厚さ方向の両面のうち、上記の被当接部242Bが設けられている面とは反対側の面には、図27に示されているように、回動部材242の突起となっているローラ351が取り付けられ、このローラ351は回転自在である。
以上のように構成されている複合装置233では、図27で示されているロック用ワイヤー236の第2部分236Cに横向きの引張力が作用すると、リンク部材243は、軸242Aを中心にねじりコイルばね301に対抗してQ方向に回動し、この回動により、回動部材242は、この回動部材242の被当接部242Bの側面242D(図28を参照)に当接しているローラ307からの押圧力により、軸242Aを中心にねじりコイルばね300に対抗して図27のQ方向に回動する。これにより、ダンパー302のピニオンギヤ303及び中心軸304はS方向に回転し、このS方向への回転は、上述のように、ワンウエイクラッチの切断作用によりダンパー302のそれぞれのブレードに伝達されないため、回動部材242及びリンク部材243は、Q方向へ高速で回動する。
また、ロック用ワイヤー236の第2部分236Cに作用していた引張力が減少又は消滅したときには、リンク部材243は、ねじりコイルばね301に蓄圧された付勢力により、軸242Aを中心にP方向に復帰回動し、また、回動部材242も、ねじりコイルばね300に蓄圧された付勢力により、軸242Aを中心にP方向へ復帰回動する。このときには、ダンパー302のピニオンギヤ303及び中心軸304はR方向に回転し、このR方向への回転は、ワンウエイクラッチの接続作用によりダンパー302のそれぞれのブレードに伝達されるため、ねじりコイルばね300による回動部材242のP方向への復帰回動は低速で行われる。
しかし、このときのリンク部材243は、ローラ307が回動部材242の被当接部242Bの側面242Dから離れることにより、言い換えると、回動部材242から分離することにより、ねじりコイルばね301の蓄圧された付勢力で軸242Aを中心にP方向へ復帰回動するため、このリンク部材243のP方向への回動復帰は、迅速に行われることになる。
以上の説明から分かるように、複合装置233に設けられているダンパー302は、回動部材242の旧位への復帰を遅延させるための遅延装置299を構成するものとなっており、そして、回動部材242は、この遅延装置299の作動部材となっているとともに、この実施形態における第1作動部材となっている。また、リンク部材43は、この実施形態における第2作動部材となっている。また、ねじりコイルばね300とねじりコイルばね301は、回動部材242とリンク部材243を旧位に付勢復帰させるための付勢手段となっている。
また、この実施形態では、リンク部材243における厚さ方向の両面のうち、回動部材242と対面する面にはローラ307が設けられ、このローラ307は、回動部材242の被当接部242Bの側面242Dに当接して回動部材242を回動させるため、ローラ307は、リンク部材243に設けられた当接部となっているとともに、被当接部242Bは、回動部材242に設けられた被当接部となっている。
また、この実施形態でも、当接部は回転自在なローラ307となっているため、回動部材242がローラ307及び被当接部242Bを介してリンク部材243と接続され、このリンク部材243により回動部材242がQ方向に回動するときには、ローラ307は、回動部材242に対する回転を行いながら被当接部242Bに当接しており、このため、リンク部材243から回動部材242への回動力の伝達を摩擦力を軽減して円滑に行わせることができる。
さらに、この実施形態では、図26に示されているように、補助部材310Aには、リンク部材243を軸242Aを中心にロック用ワイヤー236の側へ、言い換えると、リンク部材243を軸242Aを中心に図27のQ方向へ弾性的に押圧するための押圧手段352が設けられている。このため、通常時のロック用ワイヤー236の第2部分236Cには、図27及び図29で示す撓み部236Dが設けられている。
図30は、図29では二点鎖線で示されているこの押圧手段352の部分を実線で示した図29の平断面図であり、この実施形態に係る押圧手段352は板ばねにより形成されている。
次に、図26で示されている自動閉鎖装置232について説明する。この自動閉鎖装置232は、図21で説明した前記実施形態の自動閉鎖装置32と基本的に同じ部材により同様の構造で構成されている。
すなわち、図26で示されている自動閉鎖装置232は、板状のスライド部材320と、このスライド部材320に前進力を付与するためにスライド部材320の外周に巻回されているばね321と、スライド部材320の前端に取り付けられた作動部材322と、ソレノイド326と、このソレノイド326のプランジャ327に突出方向への弾性力を付与しているばね328と、プランジャ327の先端にスライド式の一方の連結部329Bで連結され、中心軸329Aを中心に回動自在となっているL字形の屈曲レバー部材329と、トリガーレバー部材となっているこの屈曲レバー部材329の他方の端部に回転自在に取り付けられたローラ330と、プランジャ327の先端に取り付けられた連結部材340と、屈曲レバー部材329に中心軸329Aを中心とするT方向への回動力を付与するためのばね331,332とを含んで構成されている。
ローラ330と対面するスライド部材320の部分には凹部320Bが形成され、この凹部320Bにおけるスライド部材320の後退側の部分は、傾斜面320Cとなっており、通常時のローラ330は、図26に示されているように、ばね328,331,332のばね力により、凹部120Bに嵌合している。この嵌合により、ばね321によるスライド部材320の前進は止められている。このように凹部320Bに嵌合したローラ330で前進が止められているときにおけるスライド部材320の前端の位置は、図26で示す3個の位置U,V,Wのうち、U位置である。
図26に示されているとおり、自動閉鎖装置232には、電気スイッチであるマイクロスイッチ335が配置され、このマイクロスイッチ335はアクチュエータ336を備えている。また、スライド部材320には、凹部320Bと反対側の部分において、ドグ部材337が取り付けられており、アクチュエータ336はこのドグ部材337に当接している。
ソレノイド326のプランジャ327の先端に取り付けられた連結部材340には、第1手動用ワイヤー312の一方の端部が連結され、この第1手動用ワイヤー312は、図21で示した前記実施形態における第2制御用ワイヤー112に相当するものであるため、第1手動用ワイヤー312は、図25で示されている操作装置30まで延びていて、この第1手動用ワイヤー312の他方の端部は、操作装置30に配置されているレバー部材等の手動操作部材に連結されている。
以上の構造が、この実施形態の自動閉鎖装置232が、図21で説明した前記実施形態の自動閉鎖装置32と基本的に同じ部材により同様に構成されている点である。
また、この実施形態の自動閉鎖装置232では、スライド部材320に設けられている連結部材338の連結部338Bには、第2手動用ワイヤー313の一方の端部が連結され、この第2手動用ワイヤー313は、図21で示した前記実施形態における第3制御用ワイヤー113に相当するものであるため、第2手動用ワイヤー313も、図25で示されている操作装置30まで延びていて、この第2手動用ワイヤー313の他方の端部は、操作装置30に配置されているレバー部材等の手動操作部材に連結されている。
そして、この実施形態では、図26に示されているように、スライド部材320には、回動部材242に設けられている前述のローラ351よりもスライド部材320のスライド方向後側において、突起353が設けられ、この突起353は、この実施形態では、スライド部材320に設けられている連結部材338の後端部を折り曲げることにより形成されている。
この実施形態に係るシャッター装置が、操作装置30に設けられている「開」「閉」「停」のボタンの操作により、管理用シャッター装置となって用いられているときに、シャッターカーテン1の閉じ方向に図25で示す障害物34が存在している場合には、シャッターカーテン1の閉じ移動の途中において、このシャッターカーテン1の閉じ側の先端部が障害物34に当接する。
これにより、前記実施形態と同様に、シャッターカーテン1と、本実施形態に係る紐状部材となっているロック用ワイヤー236とが、機械式結合装置39により機械式に結合された状態となり、ロック用ワイヤー236の第2部分236Cには、シャッターカーテン1のカーテン副部71Bよりも上側のシャッターカーテン1の部分の重量、すなわち、カーテン主部71Aの重量が作用するため、ロック用ワイヤー36の第2部分36Cには、図27において、横向きの引張力、言い換えると、横向きの緊張力が作用する。したがって、シャッターカーテン1に障害物34が当接することにより、ロック用ワイヤー236は、カーテン主部71Aの重量による緊張力が作用する緊張力作用部材となり、この緊張力作用部材により、シャッターカーテン1と、図27のロータリー式のダンパー302を含めて構成された遅延装置299とが連結されることになる。
また、ロック用ワイヤー236の第2部分236Cに、図27において、横向きの緊張力が作用すると、この第2部分236Cの端部は、図27のリンク部材243に連結されているため、第2部分236Cに設けられている撓み部236Dが消滅した後に、このリンク部材243がねじりコイルばね301に対抗しながら軸242Aを中心にQ方向へ回動し始める。
図31は、リンク部材243が図27の状態から軸242Aを中心にQ方向へ回動したときを示しており、このようにリンク部材243が軸242Aを中心にQ方向へ回動すると、リンク部材243に接触していた電気スイッチ308のアクチュエータ309が作動するため、この電気スイッチ308からの信号が図25の制御装置26に入力する。これにより、制御装置26は、図25で示した開閉機13のそれまで通電されていたソレノイド24への通電を短時間停止して開閉機13のブレーキ手段19を電気的にオンとすること、及びそれまでのシャッターカーテン1の閉じ移動が、開閉機13のコイル25への通電により図25の巻取軸11を正回転させて行われている場合には、コイル25への通電を短時間停止することとを行い、これより、前記実施形態と同様に、障害物34に当接したシャッターカーテン1を制御装置26で設定されている短時間だけ一旦停止させた後に、制御装置26は、ソレノイド24への通電によりブレーキ手段19を電気的にオフとすることと、コイル25に通電することとを行うことにより、巻取軸11の逆回転によってシャッターカーテン1を反転上昇させる。
このようにシャッターカーテン1が反転上昇すると、シャッターカーテン1が障害物34から離れるため、ロック用ワイヤー236の第2部分236Cに作用していた緊張力が減少又は消滅し始めることになり、このように緊張力が減少又は消滅し始めると、図27リンク部材43は、ねじりコイルばね301に蓄圧された付勢力により、図27のP方向へ回動復帰することになる。これにより、電気スイッチ308のアクチュエータ309も図27で示されているもとの状態に復帰するため、このアクチュエータ309の復帰作動による電気スイッチ308からの信号が入力する図25の制御装置26は、開閉機13のソレノイド24への通電を遮断してブレーキ手段19をオンとするとともに、コイル25への通電を遮断することにより、シャッターカーテン1の上昇反転を停止させる。
このため、この実施形態でも、シャッターカーテン1は少し反転上昇した位置で停止することになり、これにより、図25で示されている出入口2から障害物34を除去するなどの作業を行うことができるようになる。また、操作装置30の操作により、シャッターカーテン1を、管理用シャッター装置のシャッターカーテンとして、閉じ移動や開き移動させることもできるようになる。
なお、上述したように、ロック用ワイヤー36の第2部分36Cに横向きの緊張力が作用してリンク部材43が図27のQ方向に回動するときには、遅延装置299の構成部材となっている回動部材242も、この回動部材242の被当接部242Bの側面に当接するローラ307からの押圧力により、ねじりコイルばね300に対抗してQ方向に回動するが、このQ方向への回動時には、前述の説明から分かるように、ロータリー式ダンパー302が遅延装置299の構成部材として機能しないため、ロック用ワイヤー36の第2部分36Cに横向きの緊張力が作用することにより、リンク部材43は直ちにQ方向に回動し、この回動により、電気スイッチ308を直ちに作動させることができる。
また、この実施形態では、前述した補助部材310Aには、図27及び図31で示すストップ部材354が設けられており、リンク部材243のQ方向への回動は、図31に示されているように、このストップ部材354にリンク部材243が当接することにより、停止する。このため、ストップ部材354は、リンク部材243のQ方向への回動限を規定するための回動限規定部材となっている。
また、この実施形態では、ロータリー式ダンパー102による遅延装置299と自動閉鎖装置232は、複合装置233を構成するものとして互いに隣接して配置されており、回動部材242が図31の状態まで回動すると、この回動部材242に設けられているローラ351は、自動閉鎖装置232のスライド部材320に設けられている突起353に向かって移動するが、リンク部材243がストップ部材354で規定されるQ方向の回動限に達したときには、図31に示されているように、ローラ351は突起353の位置まで達していない。このため、リンク部材243のQ方向への回動は、自動閉鎖装置232のスライド部材320に影響を与えない。
すなわち、スライド部材320は、回動部材242がQ方向に回動しても、図26で示されている位置からスライド移動せず、この位置を維持することになる。
また、上述したように、シャッターカーテン1の反転上昇でロック用ワイヤー236の第2部分236Cに作用していた緊張力が減少又は消滅し始めることにより、リンク部材243が、ねじりコイルばね301に蓄圧された付勢力により図27のP方向へ回動復帰するときには、遅延装置299の回動部材242もねじりコイルばね300に蓄圧された付勢力によりP方向へ回動復帰し、この回動部材42の回動復帰は、ロータリー式ダンパー102によって構成されている遅延装置299の遅延作用により、低速で行われるが、このときには、ローラ307が回動部材242の被当接部242Bの側面から離れるため、言い換えると、リンク部材243は回動部材242から分離するため、リンク部材243のP方向への回動復帰を迅速に行わせることができ、したがって、電気スイッチ308のアクチュエータ309を図27で示されているもとの状態に復帰させることも、迅速に行わせることができる。
また、この実施形態に係る電気スイッチ308は、図16で示した前記実施形態の電気スイッチ108と同じく、B型接点の電気スイッチとなっているため、A型接点の電気スイッチよりも、回動部材242がQ方向に少し回動しただけで一層確実に電気スイッチ308から制御装置26に信号を送信することが可能となっており、このため、この制御装置26の制御により、閉じ移動シャッターカーテン1を一旦短時間だけ停止させた後に反転上昇させる作動を、シャッターカーテン1の障害物34への当接後に一層迅速に行わせることができる。
以上の説明から分かるように、この実施形態でも、この実施形態のシャッター装置が、操作装置30の操作により開閉移動、移動停止する管理用シャッター装置となっているときに、閉じ移動中のシャッターカーテン1が障害物34に当接すると、この当接を、紐状部材となっているロック用ワイヤー236とリンク部材243を介して電気スイッチ308により検出できることになる。このため、この電気スイッチ308からの信号を受ける制御装置26で開閉機13を電気的に制御することにより、開閉機13のブレーキ手段19を電気的に短時間だけオンさせて、シャッターカーテン1を一旦停止させ、そして、ブレーキ手段19を電気的にオフとさせてコイル25への通電により、シャッターカーテン1を反転上昇させることができる。
また、シャッターカーテン1が反転上昇することによりロック用ワイヤー236の第2部分236Cに作用していた緊張力が減少又は消滅したときには、回動部材242のP方向への低速の復帰回動に影響されることなく、リンク部材243を迅速に復帰回動させることができるため、電気スイッチ308をもとの状態に早期に復帰作動させることができ、この早期の復帰作動により、シャッターカーテン1の反転上昇の開始直後にシャッターカーテン1を停止させるという制御を、電気スイッチ308からの信号が入力する制御装置26により行うことができる。
なお、シャッターカーテン1が反転上昇することでロック用ワイヤー236の第2部分236Cに作用していた緊張力が減少又は消滅したときに、電気スイッチ308からの信号が入力する制御装置26によってシャッターカーテン1について行う制御は、この実施形態でも、以上のようにシャッターカーテン1の反転上昇を停止させるという制御だけに限定されない。
すなわち、この実施形態でも、シャッターカーテン1が反転上昇することでロック用ワイヤー236の第2部分236Cに作用していた緊張力が減少又は消滅したときに、電気スイッチ308からの信号が入力する制御装置26によってシャッターカーテン1について行う制御は、反転上昇したシャッターカーテン1に、反転上昇を停止させてから閉じ移動を再開させるための制御でもよく、あるいは、障害物34に当接したシャッターカーテン1を反転上昇させることなく停止させる場合においては、この停止を解除して閉じ移動を再開させるための制御でもよい。
この実施形態に係るシャッター装置が設置された建物において、シャッターカーテン1が全開となって停止しているときに、火災等の災害が発生すると、この災害を検知したセンサからの信号が入力した図示しない制御装置(この制御装置は、この実施形態でも、図25の制御装置26が兼用化されたものでもよい。)により、図26の自動閉鎖装置232のソレノイド326が通電、励磁されるため、このソレノイド326のプランジャ327は、ばね328のばね力に対抗して後退し、屈曲レバー部材329は、ばね331,332のばね力に対抗して中心軸229Aを中心に図26のT方向とは逆方向に回動する。このときの状態が図32で示されている。このときには、屈曲レバー部材329のローラ330はスライド部材320の凹部320Bから脱出するため、スライド部材320はばね321のばね力で前進し、この前進は、連結部材338の前端が自動閉鎖装置232の機枠310の立上り部310Bに当接することにより停止する。このときにおけるスライド部材120の前端の位置は、図26で示した3個の位置U,V,Wのうち、図32に示されているように、最前位置であるW位置である。
なお、火災等の災害の発生を検知したセンサからの信号は図25の制御装置26に送られ、この信号を受信した制御装置26は、これ以後に図27の電気スイッチ308が作動しても、この電気スイッチ308から送られてくる信号を無効とする。
スライド部材320が図32のW位置まで前進すると、マイクロスイッチ335のアクチュエータ336は、スライド部材320に取り付けられているドグ部材337が図32の位置まで移動することにより、このドク部材337から外れるため、マイクロスイッチ335からの信号により、上記の制御装置はソレノイド326への通電を停止する。これにより、プランジャ327はばね328のばね力でソレノイド326から突出移動し、屈曲レバー部材329はばね331,332のばね力で中心軸329Aを中心に図26のT方向へ回動する。このときのスライド部材320は、このスライド部材320の前端がW位置まで達する移動限まで前進しているため、屈曲レバー部材329のローラ330は、図33に示されているように、スライド部材320の前述した傾斜面320Cに当たる。このため、プランジャ327の突出移動、及び中心軸329Aを中心とする屈曲レバー部材329のT方向への回動は、途中で停止する。
このときには、スライド部材320に設けられている突起353は、図33に示されているように、遅延装置299の回動部材242に突起として設けられている前述のローラ351の位置又はこの位置に近い位置まで達している。このときの状態は、図34にも示されている。
以上のようにして自動閉鎖装置232のスライド部材320が前進すると、この実施形態でも、スライド部材320の前端に設けられている作動部材322が、図3で示されている被作動部材123を介して開閉機13のレバー部材31の第1部分31Aを図3のA方向に押圧するため、開閉機13のブレーキ手段19のブレーキ軸21及びブレーキドラム22は、A方向と同じ方向であるA’方向へスライドし、それまでオンとなっていたブレーキ手段19は、機械的にオフとなる。このため、全開となっていたシャッターカーテン1は、巻取軸11よりも下側の部分の座板1B等の自重により、巻取軸11を回転させながら下向きに閉じ移動することになり、シャッターカーテン1が全閉となることでこのシャッターカーテン1による防災区画が形成されることになる。
また、火災等の災害が発生したことを人が発見した場合には、この人が、図25で示した操作装置30に配置されていて、図26の第1手動用ワイヤー312の端部に連結されているレバー部材等の手動操作部材により、第1手動用ワイヤー312を引っ張り操作する。これにより、図21で説明した前記実施形態の第2制御用ワイヤー112を引っ張り操作した場合と同じく、屈曲レバー部材329のローラ330はスライド部材320の凹部320Bから脱出することになり、これによっても、スライド部材320は、ばね321のばね力により前進することになる。
シャッターカーテン1が全閉位置に達し、そして、火災等の災害が解消したときには、図25で示した操作装置30に配置されていて、前述した第2手動用ワイヤー313の端部に連結されているレバー部材等の手動操作部材により、第2手動用ワイヤー313を引っ張り操作する。これにより、図21で説明した前記実施形態の第3制御用ワイヤー113を引っ張り操作した場合と同じく、スライド部材320はばね321のばね力に対抗して後退することになる。このため、スライド部材320は、図33に示されている位置から、前端が図26のU位置となる初期位置へ復帰することになる。また、スライド部材320がこの初期位置へ復帰するときに、屈曲レバー部材329が中心軸329Aを中心としてばね331,332のばね力で図26のT方向へ回動するため、屈曲レバー部材329のローラ330は、図26に示されているように、スライド部材320の凹部320Bに嵌合し、スライド部材320の後退は、スライド部材320の前端がU位置に達した状態で停止する。これにより、自動閉鎖装置232は、火災等の災害が発生する前の初期状態に戻る。
また、スライド部材320が初期位置へ復帰すると、開閉機13のブレーキ手段19のブレーキ軸21及びブレーキドラム22は図3の前述したばね23でA’方向とは逆方向へ移動するため、ブレーキ手段19は機械的にオンに復帰する。この後に、操作装置30に設けられている前述の「開」ボタンを操作することにより、シャッターカーテン1は、前述したとおり、全開位置まで開き移動する。
なお、この実施形態でも、火災等の災害を検知したセンサからの信号が入力した制御装置により自動閉鎖装置232のソレノイド326が通電、励磁され、あるいは、第1手動用ワイヤー312の端部に連結されているレバー部材等の手動操作部材により第1手動用ワイヤー312が引っ張り操作され、これにより、開閉機13のブレーキ手段19がオフとなって、シャッターカーテン1が全開位置から下向きに閉じ移動するときは、この実施形態のシャッター装置が防災用シャッター装置となっているときである。このときには、図3で示されている開閉機13のブレーキ手段19は、上述の説明で明らかなように、自動閉鎖装置232のスライド部材320のスライドにより機械的にオン、オフするブレーキ手段となっている。
また、このようにこの実施形態に係るシャッター装置が防災用シャッター装置となって、シャッターカーテン1が全開位置から下向きに閉じ移動しているときに、言い換えると、自動閉鎖装置232が図33で示した状態になって、シャッターカーテン1が全開位置から下向きに閉じ移動しているときに、閉じ移動方向であるシャッターカーテン1の下側に図1で示す障害物34が存在している場合には、シャッターカーテン1の閉じ移動の途中において、このシャッターカーテン1の閉じ側の先端部が障害物34に当接する。
これにより、この実施形態のシャッター装置が防災用シャッター装置となっている場合にも、この実施形態に係るシャッター装置が前述の管理用シャッター装置となっている場合と同様に、シャッターカーテン1とロック用ワイヤー236とが、機械式結合装置39により機械式に結合され、これにより、ロック用ワイヤー236の第2部分236Cには、シャッターカーテン1のカーテン主部71Aの重量による緊張力が作用することになる。
このため、リンク部材243は図27のQ方向へ回動し、リンク部材243のローラ307が被当接部242Bの側面に当接している回動部材242もQ方向へ回動する。リンク部材43がQ方向へ回動すると、図27で示されている電気スイッチ308のアクチュエータ309は作動するが、このときには、前述したように、電気スイッチ308から制御装置26に入力する信号は無効とされるため、この制御装置26は、開閉機13にシャッターカーテン1を反転上昇させる制御を行わせることはない。
また、リンク部材243が、ロック用ワイヤー236の第2部分236Cに作用した緊張力によりQ方向に回動すると、回動部材242もQ方向へ回動するため、この回動部材242に突起として設けられているローラ351と、スライド部材320に設けられている突起353との当接により、スライド部材320は、ばね321に対抗して後退のスライドを行う。すなわち、この実施形態では、遅延装置299を構成している回動部材242に設けられたローラ351と、自動閉鎖装置232の構成部材となっているスライド部材320に設けられた突起353とが直接当接することにより、スライド部材320はばね321に対抗して後退のスライドを行うことになる。これにより、スライド部材120の前端は、図26のW位置とU位置との中間位置であるV位置まで後退する。このときの状態が図35及び図36に示されている。このときのスライド部材320は後退しているが、図35に示されているように、屈曲レバー部材329のローラ330は、スライド部材320の凹部320Bに嵌合していない。また、図36に示されているように、リンク部材243のQ方向への回動限は、リンク部材243が前述のストップ部材354に当接することにより、このストップ部材354により規定される。
なお、回動部材242の回動は、軸242Aを中心とする回動であり、このため、回動部材242に突起として設けられているローラ351が、スライド部材320に設けられている突起353との当接により、スライド部材320に後退のスライドを行わせるときには、ローラ351は突起353に対して上下に移動するが、ローラ351は回転自在であるため、このローラ351が突起353に対して回転することにより、スライド部材320は円滑に後退のスライドを行うことになる。
また、上述のように、スライド部材320の前端の位置がW位置からV位置へ後退することにより、このスライド部材320の作動部材322が図3のレバー部材31の第1部分31Aを図3のA方向に押圧していた荷重は、解除されることになる。このため、開閉機13のブレーキ手段19は、オフからオンに機械的に切り替えられることになる。そして、このブレーキ手段19のオンにより、開閉機13の前述の駆動軸14は回転できないため、シャッターカーテン1の上端が結合されている巻取軸11も回転することはできない。したがって、障害物34に当接したシャッターカーテン1は、その当接位置で閉じ移動を停止する。
このように閉じ移動中のシャッターカーテン1が障害物34に当接し、開閉機13のブレーキ手段19が機械的にオンになってシャッターカーテン1の閉じ移動が停止した後に、障害物34が除去されると、機械式結合装置39によるシャッターカーテン1とロック用ワイヤー236との機械式結合状態が解除される。これにより、ロック用ワイヤー236の第2部分236Cの緊張力は消滅し、このため、図26のねじりコイルばね301,300による戻し力が作用しているリンク部材243及び回動部材242は、図27のP方向に回動し、回動部材242のP方向への回動により、自動閉鎖装置232のスライド部材320は、ばね321により、前端の位置が図35で示すV位置から図26で示すW位置へ移行する前進を行う。このため、開閉機13のブレーキ手段19は、オンからオフへ再度機械的に切り替られ、シャッターカーテン1は閉じ移動を再開することとなる。
また、回動部材242が図27のP方向に回動するときには、ロータリー式のダンパー302のピニオンギヤ303は図27のR方向に回転し、このR方向についてはダンパー302に粘性流体による抵抗力が生ずる。このため、スライド部材320の前端の位置が図35で示すV位置から図26で示すW位置へ移行すること、及びこの移行により開閉機13のブレーキ手段19がオンからオフへ機械的に切り替られることは、ダンパー302の遅延作用により、瞬時に行われない。したがって、障害物34の除去によりシャッターカーテン1が閉じ移動を再開することは、障害物34の除去から時間遅れをもって開始されることになり、このため、障害物34の除去作業を時間的余裕をもって行うことができる。
以上の説明で分かるように、ダンパー302及び回動部材242は、障害物34の除去後にシャッターカーテン1が閉じ移動を再開するときに、この再開を遅延させるための遅延装置299を構成するものとなっている。
この遅延装置は、ダンパー302の代わりに、例えば、環境温度に影響されることなく遅延時間をより正確に設定できるぜんまい式タイマーを含む機械式手段を採用したものでもよい。
そして、閉じ移動を再開したシャッターカーテン1が全閉となった後において、第2手動用ワイヤー313を、操作装置30に配置されたレバー部材等の前述した手動操作部材により引っ張ることにより、自動閉鎖装置232のスライド部材320は、前端の位置が図26のU位置に戻る復帰移動を行うため、自動閉鎖装置32の全体は図26の初期状態に復帰する。
以上において、この実施形態でも、図27のリンク部材243に長孔306が形成され、この長孔306に、ロック用ワイヤー236の第2部分236Cとリンク部材243との連結部243Aを構成しているピン305が挿入されているとともに、長孔306は、第1部分306Aと第2部分306Bとが屈曲角度をもって接続されたV字形状又は略V字形状となっていて、この屈曲角度は90度よりも大きくなっている。そして、閉じ移動中のシャッターカーテン1が障害物34に当接することにより、回動部材242及びリンク部材243が図36の状態になったときには、図29と同じく複合装置233の背面側から見た正断面図を示している図37のとおり、リンク部材243に図27のP方向への回動力を付与するためのねじりコイルばね301の延出部301Bが、リンク部材243とロック用ワイヤー236の第2部分236Cとの連結部243Aの構成部材となっているピン305に係止しているため、連結部243Aは、図27のときと同様に、長孔306の第1部分306Aと第2部分306Bのうち、第1部分306Aの位置に止まっている。
そして、この実施形態でも、前記実施形態の場合と同様の理由により、ロック用ワイヤー236の第2部分236Cに大きな横向きの引張量が生ずることがある。
ロック用ワイヤー236の第2部分236Cに大きな横向きの引張量が生じたときには、本実施形態に係るリンク部材243及び回動部材242は、リンク部材243の図27のQ方向への回動はストップ部材354で規制されているため、図36の状態からQ方向に回動しない。このため、連結部243Aは、弾性部材であるねじりコイルばね301の弾性力に対抗しながら、連結部243Aの移動を案内するガイド部となっている長孔306の第1部分306Aから第2部分306Bへと移行し、連結部243Aは、図37の二点鎖線で示されているように、第2部分306Bの終端まで達する。
この実施形態でも、リンク部材243は、前述した説明から分かるように、緊張力作用B部材となっているロック用ワイヤー236と自動閉鎖装置232との間に配置された中間部材となっており、連結部243Aが、この中間部材にガイド部として形成されている長孔306の第2部分306Bの終端まで達することにより、上記の大きな引張量は長孔306により吸収されることになる。このため、この実施形態でも、ロック用ワイヤー236の第2部分236Cに大きな引張量が生じたときには、連結部243Aがリンク部材243に対して移動可能となっており、このため、ロック用ワイヤー236の第2部分236Cに大きな緊張力が作用することを防止できる。
また、ロック用ワイヤー236の第2部分236Cに大きな引張量が生じたときに連結部243Aが移動する部分は、図37に示されているように、長孔306のうち、水平方向又は略水平方向に延びている第2部分306Bであり、この第2部分306Bが延びている方向は、ロック用ワイヤー236の第2部分236Cに作用する緊張力の方向と同じ又は略同じであるため、上記の大きな引張量により、連結部243Aを第2部分306Bの終端まで円滑に到達させることができる。
さらに、ロック用ワイヤー236の第2部分236Cに大きな引張量が作用する以前の図37で示す状態のときは、ねじりコイルばね301の延出部301Bの弾性力には、連結部243Aの移動方向である長孔306の延出方向とは反対側への成分があるため、連結部243Aが長孔306に沿って移動することは、ねじりコイルばね301により阻止され、このときの長孔306における連結部243Aの位置を、図29及び図37で示す位置に止めておくことができる。
また、連結部243Aが長孔306に案内されて図37の二点鎖線で示されている位置まで移動する範囲の全体において、ねじりコイルばね301の延出部301Bは、常に連結部43Aとの接触状態を維持するため、連結部243Aが長孔306に案内されて移動しているときに、ねじりコイルばね301には、連結部243Aを移動前のもとの位置に復帰させるための弾性復帰力が蓄圧されることになり、このため、シャッターカーテン1が開き移動等して上述の大きな引張量が消滅したときには、ねじりコイルばね301に蓄圧された弾性復帰力により、連結部243Aは、長孔306の第1部分306Aにおけるもとの位置に自ずと戻ることになる。
さらに、ねじりコイルばね301は、ロック用ワイヤー236と自動閉鎖装置232との間に配置された中間部材となっているリンク部材243に図27のP方向への回動力を付与するための弾性部材として、このリンク部材243に配置されているものとなっており、このため、弾性部材の兼用化により、連結部243Aに、長孔306の延出方向とは反対側への成分を有する弾性力を作用させることや、連結部243Aを移動前のもとの位置に復帰させることを実現することができる。
また、この実施形態では、図30の押圧手段352によってリンク部材243に図27のQ方向への押圧力が付与されることにより、通常時のロック用ワイヤー236の第2部分236Cには、図27及び図29で示した撓み部236Dが設けられているため、前記実施形態で説明した第1制御用ワイヤー111に撓み部111Aを設けた場合と同様に、通常時のロック用ワイヤー236の第2部分236Cを緊張させた場合に生ずる経年変化等による撓みがこの第2部分236Cに発生するおそれがない。このため、閉じ移動中のシャッターカーテン1が障害物34に当接することにより、自動閉鎖装置232の前進限まで達していたスライド部材320がロック用ワイヤー236の第2部分236Cの引張作用により後退するときに、この後退の移動量が上記の撓み分だけ少なくなるおそれがなく、この結果、開閉機13のブレーキ手段19をオフからオンに切り替えることが一層確実に行えることになる。
本発明は、例えば、シャッターカーテンが開閉体となっている管理及び防災併用のシャッター装置や、オーニング装置、さらには、防煙垂れ幕装置等の各種の開閉装置に利用することができる。
1 開閉体であるシャッターカーテン
13 開閉機
18 電動モータ手段
19 ブレーキ手段
32,232 自動閉鎖装置
34 障害物
36,236 緊張力作用部材であるロック用ワイヤー
42A,242A リンク部材の回動中心部の軸
43,243 中間部材であるリンク部材
43A,243A ロック用ワイヤーにおけるリンク部材との連結部
101,301 弾性部材であるねじりコイルばね
101B,301B ねじりコイルばねにおける連結部との接触状態を維持している部分である延出部
101,301 弾性部材であるねじりコイルばね
106,306 ガイド部である長孔
106A,306A 第1部分
106B,306B 第2部分
120 スライド部材

Claims (13)

  1. 上下方向に開閉移動する開閉体と、この開閉体の閉じ移動を停止させるためのブレーキ手段と、前記開閉体が閉じ移動中に障害物に当接したときに緊張力が作用する緊張力作用部材と、前記ブレーキ手段を機械的にオン、オフさせる装置であって、前記緊張力作用部材に前記緊張力が作用したときに前記ブレーキ手段をオンとさせて前記開閉体の閉じ移動を停止させるための自動閉鎖装置と、前記緊張力作用部材と前記自動閉鎖装置との間に配置され、前記緊張力作用部材が連結されているとともに、この緊張力作用部材に前記緊張力が作用したときに前記自動閉鎖装置を作動させて前記ブレーキ手段をオンとさせるための中間部材と、を備えている開閉装置の開閉体停止装置において、
    前記中間部材に連結されている前記緊張力作用部材の連結部は、前記中間部材に移動可能に連結されていることを特徴とする開閉装置の開閉体停止装置。
  2. 請求項1に記載の開閉装置の開閉体停止装置において、前記中間部材は運動することにより前記自動閉鎖装置を作動させて前記ブレーキ手段をオンとさせるものであり、前記緊張力作用部材の前記連結部は、前記緊張力作用部材に大きな引張量が生じたときに前記中間部材に対して移動し、この大きな引張量とは、基準の引張量よりも大きい引張量であって、この基準の引張量は、前記緊張力作用部材の前記連結部が前記中間部材に対して移動せず又は殆ど移動せずに前記中間部材が前記運動を行うことにより前記緊張力作用部材に生じる引張量であり、前記大きな引張量は、前記中間部材が前記運動を行い、かつ前記緊張力作用部材の前記連結部が前記中間部材に対して移動することにより生ずる引張量であることを特徴とする開閉装置の開閉体停止装置。
  3. 請求項1又は2に記載の開閉装置の開閉体停止装置において、前記自動閉鎖装置は、往復スライドすることにより前記ブレーキ手段をオン、オフさせるためのスライド部材を有し、前記緊張力作用部材の前記連結部は、前記緊張力作用部材に大きな引張量が生じたときに前記中間部材に対して移動し、この大きな引張量とは、オンとなった前記ブレーキ手段をオフに復帰させることができない位置まで前記緊張力作用部材が前記スライド部材を移動させる引張量であることを特徴とする開閉装置の開閉体停止装置。
  4. 請求項1〜3のいずれかに記載の開閉装置の開閉体停止装置において、前記中間部材にガイド部が形成され、前記緊張力作用部材の前記連結部は、前記ガイド部に案内されて前記中間部材に対し移動可能となっていることを特徴とする開閉装置の開閉体停止装置。
  5. 請求項4に記載の開閉装置の開閉体停止装置において、前記ガイド部は長孔であることを特徴とする開閉装置の開閉体停止装置。
  6. 請求項4又は5に記載の開閉装置の開閉体停止装置において、前記ガイド部は、第1部分と第2部分とを有するものになっているとともに、これらの第1部分と第2部分とが屈曲角度をもって接続された屈曲形状のものになっていることを特徴とする開閉装置の開閉体停止装置。
  7. 請求項6に記載の開閉装置の開閉体停止装置において、前記屈曲形状は、前記屈曲角度が90度よりも大きくなっているV字形状又は略V字形状であることを特徴とする開閉装置の開閉体停止装置。
  8. 請求項6又は7に記載の開閉装置の開閉体停止装置において、前記ガイド部に案内されて前記緊張力作用部材の前記連結部が前記中間部材に対して移動するときの前記第2部分は、前記緊張力作用部材に作用している前記緊張力の方向と同じ又は略同じ方向に延びており、前記第2部分に案内されて前記緊張力作用部材の前記連結部が前記中間部材に対して移動することを特徴とする開閉装置の開閉体停止装置。
  9. 請求項1〜8のいずれかに記載の開閉装置の開閉体停止装置において、前記中間部材に弾性部材が配置されているとともに、前記緊張力作用部材の前記連結部には、前記移動の方向とは反対方向への成分を有する前記弾性部材の弾性力が作用しており、この弾性力に対抗して前記緊張力作用部材の前記連結部が前記中間部材に対して移動することを特徴とする開閉装置の開閉体停止装置。
  10. 請求項9に記載の開閉装置の開閉体停止装置において、前記弾性部材は、前記緊張力作用部材の前記連結部が移動する範囲の全体において、前記連結部と接触状態を維持している部分を有するものとなっていることを特徴とする開閉装置の開閉体停止装置。
  11. 請求項9又は10に記載の開閉装置の開閉体停止装置において、前記弾性部材はねじりコイルばねであることを特徴とする開閉装置の開閉体停止装置。
  12. 請求項9〜11のいずれかに記載の開閉装置の開閉体停止装置において、前記中間部材は軸を中心に回動自在となっている回動部材であり、前記弾性部材は、この回動部材に一方向への回動力を付与するためのばねであることを特徴とする開閉装置の開閉体停止装置。
  13. 請求項1〜12のいずれかに記載の開閉装置の開閉体停止装置において、前記ブレーキ手段は、前記開閉体に、開き移動と閉じ移動のうち、少なくとも開き移動を行わせるための電動モータ手段を備えている開閉機の一部を構成するものとなっていることを特徴とする開閉装置の開閉体停止装置。
JP2011155342A 2011-07-14 2011-07-14 開閉装置の開閉体停止装置 Active JP5829068B2 (ja)

Priority Applications (1)

Application Number Priority Date Filing Date Title
JP2011155342A JP5829068B2 (ja) 2011-07-14 2011-07-14 開閉装置の開閉体停止装置

Applications Claiming Priority (1)

Application Number Priority Date Filing Date Title
JP2011155342A JP5829068B2 (ja) 2011-07-14 2011-07-14 開閉装置の開閉体停止装置

Related Child Applications (1)

Application Number Title Priority Date Filing Date
JP2015206861A Division JP6159773B2 (ja) 2015-10-21 2015-10-21 開閉装置の開閉体停止装置

Publications (2)

Publication Number Publication Date
JP2013019230A JP2013019230A (ja) 2013-01-31
JP5829068B2 true JP5829068B2 (ja) 2015-12-09

Family

ID=47690915

Family Applications (1)

Application Number Title Priority Date Filing Date
JP2011155342A Active JP5829068B2 (ja) 2011-07-14 2011-07-14 開閉装置の開閉体停止装置

Country Status (1)

Country Link
JP (1) JP5829068B2 (ja)

Families Citing this family (1)

* Cited by examiner, † Cited by third party
Publication number Priority date Publication date Assignee Title
KR102300889B1 (ko) * 2021-01-07 2021-09-09 이경규 승강식 개폐문의 비상정지장치

Family Cites Families (1)

* Cited by examiner, † Cited by third party
Publication number Priority date Publication date Assignee Title
JP5651300B2 (ja) * 2008-10-06 2015-01-07 文化シヤッター株式会社 開閉装置

Also Published As

Publication number Publication date
JP2013019230A (ja) 2013-01-31

Similar Documents

Publication Publication Date Title
JP6360548B2 (ja) 開閉装置の開閉体停止装置
JP6035011B2 (ja) 開閉装置の機械式開閉体停止装置
JP6387137B2 (ja) 開閉装置の開閉体停止装置
JP5827041B2 (ja) 開閉装置の開閉体停止装置
JP5829068B2 (ja) 開閉装置の開閉体停止装置
JP6159773B2 (ja) 開閉装置の開閉体停止装置
JP5864953B2 (ja) 開閉装置の開閉体停止装置
JP6349370B2 (ja) 開閉装置の開閉体停止装置
JP5121670B2 (ja) 開閉装置の機械式開閉体停止装置
JP6553425B2 (ja) 開閉装置の開閉体停止装置
JP6039169B2 (ja) 開閉装置の開閉体停止装置
JP5945134B2 (ja) 開閉装置の開閉体停止装置
JP6140494B2 (ja) 開閉装置の開閉体停止装置
JP6047613B2 (ja) 開閉装置の開閉体停止装置
JP6209559B2 (ja) 開閉装置の機械式開閉体停止装置
JP5758477B2 (ja) 開閉装置の機械式開閉体停止装置
JP6225221B2 (ja) 開閉装置の開閉体停止装置
JP5726573B2 (ja) 開閉装置の開閉体停止装置
JP6140399B2 (ja) 防災用開閉装置
JP6498939B2 (ja) 開閉装置の開閉体停止装置
JP2017210870A (ja) 開閉装置の機械式開閉体停止装置

Legal Events

Date Code Title Description
A621 Written request for application examination

Free format text: JAPANESE INTERMEDIATE CODE: A621

Effective date: 20140529

A977 Report on retrieval

Free format text: JAPANESE INTERMEDIATE CODE: A971007

Effective date: 20150204

A131 Notification of reasons for refusal

Free format text: JAPANESE INTERMEDIATE CODE: A131

Effective date: 20150303

A521 Request for written amendment filed

Free format text: JAPANESE INTERMEDIATE CODE: A523

Effective date: 20150420

TRDD Decision of grant or rejection written
A01 Written decision to grant a patent or to grant a registration (utility model)

Free format text: JAPANESE INTERMEDIATE CODE: A01

Effective date: 20150929

A61 First payment of annual fees (during grant procedure)

Free format text: JAPANESE INTERMEDIATE CODE: A61

Effective date: 20151021

R150 Certificate of patent or registration of utility model

Ref document number: 5829068

Country of ref document: JP

Free format text: JAPANESE INTERMEDIATE CODE: R150

RD04 Notification of resignation of power of attorney

Free format text: JAPANESE INTERMEDIATE CODE: R3D04

R250 Receipt of annual fees

Free format text: JAPANESE INTERMEDIATE CODE: R250

R250 Receipt of annual fees

Free format text: JAPANESE INTERMEDIATE CODE: R250

R250 Receipt of annual fees

Free format text: JAPANESE INTERMEDIATE CODE: R250