JP5709727B2 - 操作ペダル - Google Patents

操作ペダル Download PDF

Info

Publication number
JP5709727B2
JP5709727B2 JP2011244859A JP2011244859A JP5709727B2 JP 5709727 B2 JP5709727 B2 JP 5709727B2 JP 2011244859 A JP2011244859 A JP 2011244859A JP 2011244859 A JP2011244859 A JP 2011244859A JP 5709727 B2 JP5709727 B2 JP 5709727B2
Authority
JP
Japan
Prior art keywords
fitting
fitted
pedal
pad
insertion hole
Prior art date
Legal status (The legal status is an assumption and is not a legal conclusion. Google has not performed a legal analysis and makes no representation as to the accuracy of the status listed.)
Expired - Fee Related
Application number
JP2011244859A
Other languages
English (en)
Other versions
JP2013101497A (ja
Inventor
都築 弘明
弘明 都築
有範 柳谷
有範 柳谷
Current Assignee (The listed assignees may be inaccurate. Google has not performed a legal analysis and makes no representation or warranty as to the accuracy of the list.)
Toyoda Iron Works Co Ltd
Original Assignee
Toyoda Iron Works Co Ltd
Priority date (The priority date is an assumption and is not a legal conclusion. Google has not performed a legal analysis and makes no representation as to the accuracy of the date listed.)
Filing date
Publication date
Application filed by Toyoda Iron Works Co Ltd filed Critical Toyoda Iron Works Co Ltd
Priority to JP2011244859A priority Critical patent/JP5709727B2/ja
Publication of JP2013101497A publication Critical patent/JP2013101497A/ja
Application granted granted Critical
Publication of JP5709727B2 publication Critical patent/JP5709727B2/ja
Expired - Fee Related legal-status Critical Current
Anticipated expiration legal-status Critical

Links

Images

Landscapes

  • Auxiliary Drives, Propulsion Controls, And Safety Devices (AREA)
  • Mechanical Control Devices (AREA)

Description

本発明は操作ペダルに係り、特に、ペダルアームとペダルパッドとの取付構造の改良に関するものである。
(a) 所定角度で曲げられた曲折部を挟んで先端側に挿入部が設けられ、反対側に嵌合部が設けられたパッド取付部を備えている棒状のペダルアームと、(b) 足踏み操作される踏面と反対側の裏面にそれぞれ設けられ、前記挿入部が軸方向から挿入される挿入穴を有する被挿入部と、前記嵌合部が軸心と交差する方向から嵌め込まれる被嵌合部と、から成る被取付部を備えているペダルパッドと、を有し、(c) 前記パッド取付部および前記被取付部を介して前記ペダルパッドが前記ペダルアームに取り付けられて使用される操作ペダルが提案されている(特許文献1参照)。
図10の車両用アクセルペダル100は、上記特許文献1に記載されているもので、ペダルアーム102の下端部分に設けられたパッド取付部104にペダルパッド120が一体的に取り付けられるようになっている。パッド取付部104は、丸棒状のペダルアーム102を所定形状に曲げ成形したもので、曲げ角度θr≒90°の曲折部106を挟んで先端側に挿入部108が設けられ、反対側に嵌合部110が設けられている。挿入部108および嵌合部110は何れも直線状を成している。一方、ペダルパッド120の裏面122には、被挿入部124および被嵌合部126が設けられており、それ等の被挿入部124および被嵌合部126によって被取付部128が構成されている。被挿入部124には挿入穴130が裏面122と平行に設けられており、前記挿入部108が裏面122と平行になる姿勢で軸方向の先端側からその挿入穴130内に挿入される。また、被嵌合部126は、互いに平行で且つ裏面122と平行に設けられた長手状の一対の把持爪132から成り、前記嵌合部110が裏面122と略平行な姿勢で軸心と直角な方向、すなわち図10における紙面の手前(表面)側から押圧されて一対の把持爪132の間に嵌め込まれることにより、それ等の把持爪132の弾性により所定の取付強度で係止されるようになっている。ペダルパッド120は、所定の弾性を有する合成樹脂材料にて構成されている。
そして、このような車両用アクセルペダル100において、ペダルパッド120をペダルアーム102に取り付ける際には、先ず、ペダルアーム102の挿入部108を裏面122と平行な姿勢に保持して被挿入部124の挿入穴130内に挿入する。その場合に、ペダルアーム102の嵌合部110と被嵌合部126との干渉を避けるため、その嵌合部110が裏面122から手前(図10の紙面の表面)側へ離間するようにペダルアーム102を立てた状態で挿入作業を行なう。その後、その挿入部108の軸心まわりにペダルアーム102を回転させて、図10における右上方向へ倒し、嵌合部110を被嵌合部126に嵌め込む。これにより、ペダルパッド120がペダルアーム102のパッド取付部104に一定の姿勢で一体的に取り付けられる。
特開平10−959号公報
しかしながら、このような従来の操作ペダルにおいては、挿入部を被挿入部に挿入した後にペダルアームを倒して嵌合部を被嵌合部に嵌め込む必要があるため、取付作業が必ずしも容易でない。また、ペダルパッドやペダルアームの各部の寸法や角度のばらつきにより、取付けの際に干渉したり無理な力が掛かったりして取付状態が不安定になる恐れがあるとともに、取付作業性が損なわれることがあった。例えば図10の車両用アクセルペダル100において、曲折部106の曲げ角度θrがばらつくと、嵌合部110が被嵌合部126に対して傾斜するため、一対の把持爪132の間に嵌め込むことができなくなることがあるとともに、嵌め込むことができても片方の把持爪132のみに係止されるなどして取付強度が低下する可能性があった。ペダルパッド120側の被挿入部124および被嵌合部126の姿勢や位置関係がばらつく場合も同様である。
本発明は以上の事情を背景として為されたもので、その目的とするところは、ペダルパッドとペダルアームとを一動作で簡単に取り付けることができるとともに、部材各部の寸法や角度のばらつきに拘らず所定の取付状態で安定して取り付けることができるようにすることにある。
かかる目的を達成するために、第1発明は、(a) 所定角度で曲げられた曲折部を挟んで先端側に直線状の挿入部が設けられ、反対側に直線状の嵌合部が設けられたパッド取付部を備えている棒状のペダルアームと、(b) 足踏み操作される踏面と反対側の裏面にそれぞれ設けられ、前記挿入部が軸方向から挿入される直線状の挿入穴を有する被挿入部と、前記嵌合部が軸心と交差する方向から嵌め込まれる直線状の被嵌合部と、から成る被取付部を備えているペダルパッドと、を有し、(c) 前記パッド取付部および前記被取付部を介して前記ペダルパッドが前記ペダルアームに取り付けられて使用される操作ペダルにおいて、(d) 前記被嵌合部は、前記挿入穴に対する前記挿入部の挿入と並行して前記嵌合部が嵌め込まれるようにその挿入穴の中心線と平行に嵌合方向が定められているとともに、その嵌合方向においてその嵌合部を嵌め込むのに必要な嵌合寸法W1よりも大きな嵌合深さ寸法W2を、直線状のその被嵌合部の全長に亘って備えており、且つ、(e) その嵌合深さ寸法W2は、前記ペダルアームの前記曲折部の曲げ角度θrのばらつき、および前記ペダルパッドの前記被嵌合部と前記挿入穴との交差角度θpのばらつきに拘らず、前記嵌合部を前記被嵌合部に嵌め込むことができるように定められている一方、(f) 前記挿入部は前記挿入穴内に圧入されて任意の位置で位置決め固定されることを特徴とする。
第2発明は、第1発明の操作ペダルにおいて、前記被嵌合部には、前記嵌合部が抜け出すことを防止するために前記嵌合方向に対して直角な方向へ凹んだ段差が設けられていることを特徴とする。
第3発明は、第1発明または第2発明の操作ペダルにおいて、前記嵌合深さ寸法W2は、前記曲折部の曲げ角度θrのばらつきに拘らず前記嵌合部を嵌め込むことができるように定められていることを特徴とする。
このような操作ペダルにおいては、挿入穴に対する挿入部の挿入と並行して嵌合部が被嵌合部に嵌め込まれるように、その挿入穴の中心線と平行に被嵌合部の嵌合方向が定められているため、ペダルアームをペダルパッドに対して一動作で取り付けることができ、取付作業が容易になる。また、被嵌合部の嵌合深さ寸法W2が嵌合寸法W1よりも大きく、嵌合部の位置が嵌合方向においてばらつくことが許容されるため、部材各部の寸法や角度のばらつきに拘らず挿入部を挿入穴内に挿入しつつ嵌合部を被嵌合部に適切に嵌め込むことが可能となり、ペダルパッドをペダルアームに対して常に所定の取付状態で安定して取り付けることができるとともに、取付作業性が向上する。
特に、ペダルアームの曲折部の曲げ角度θrのばらつきやペダルパッドの被嵌合部と挿入穴との交差角度θpのばらつきに拘らず、嵌合部を被嵌合部に嵌め込むことができるように、前記嵌合深さ寸法W2が定められているため、曲げ角度θrや交差角度θpのばらつきに拘らずペダルパッドをペダルアームに対して一層確実に取り付けることができる。
第2発明では、嵌合部が抜け出すことを防止するための段差が被嵌合部に設けられているため、ペダルパッドがペダルアームから離脱することが適切に防止される。
本発明が適用された車両用アクセルペダルの一例を示す図で、ペダルパッドの裏面側から見た背面図である。 図1の車両用アクセルペダルを図1の右方向から見た側面図である。 図1におけるIII −III 断面の拡大図である。 図1におけるIV−IV断面の拡大図である。 図1の車両用アクセルペダルのペダルパッドに対してペダルアームを取り付ける際の取付方向を説明する図である。 本発明の他の実施例を示す図で、図2に対応する側面図である。 図6におけるVII −VII 断面の拡大図である。 図6におけるVIII−VIII断面の拡大図である。 図6の車両用アクセルペダルのペダルパッドに対してペダルアームを取り付ける際の取付方向を説明する図である。 従来の車両用アクセルペダルを示す図で、図1に対応する背面図である。
本発明は、例えば運転者によって足踏み操作される車両用のアクセルペダルに好適に適用されるが、車両用の他の操作ペダルや車両用以外の操作ペダルにも適用され得る。
ペダルアームは、例えば断面円形の丸棒鋼や断面角形の角棒等の金属製の棒材が好適に用いられ、プレスによる曲げ加工等によって所定形状に曲げ成形されるが、丸パイプや角パイプを用いることもできるし、繊維強化プラスチック等の所定の要求強度を満たす金属以外の材料を採用することもできる。このペダルアームは、例えばパッド取付部よりも上方位置において略水平な支持軸まわりに回動可能に車両等に配設されて使用される。ペダルパッドは、例えば合成樹脂材料にて構成されるが、金属材料等の他の材料製とすることもできる。合成樹脂製のペダルパッドの一部に必要に応じて金属等をインサート成形することも可能である。
ペダルアームに設けられる曲折部の曲げ角度は、ペダルパッドを安定して支持する上で90°程度が適当で、例えば70°〜110°程度の範囲内が望ましいが、それ以外の角度で構成することも可能である。その曲折部の両側の挿入部および嵌合部は、何れも直線状を成すように構成され、ペダルパッドに設けられる挿入穴および被嵌合部も、同様に直線状を成すように構成される。ペダルアームとペダルパッドとの取付態様は相対的なもので、ペダルアームに対してペダルパッドを取り付ける場合でも、ペダルパッドに対してペダルアームを取り付ける場合でも良い。
挿入穴および被嵌合部は、例えばペダルアームがペダルパッドの裏面に略接する状態で取り付けられるように、その裏面に接するように裏面と平行に設けることが望ましいが、ペダルアームがペダルパッドの裏面から浮いた状態で取り付けられるようにしても良い。その場合に、ペダルアームはペダルパッドの裏面と平行に取り付けられても良いが、例えば被嵌合部を裏面に対して傾斜させることにより、ペダルアームの嵌合部がペダルパッドの裏面に対して傾斜する姿勢で取り付けられるようになっていても良い。ペダルアームの挿入部が裏面に対して垂直になる姿勢でペダルアームをペダルパッドに取り付けることもできるなど、種々の態様が可能である。
被挿入部に設けられる挿入穴は貫通穴であっても良いが、曲折部と反対側の端部が塞がっている有底穴であっても良い。被嵌合部は、嵌合部が遊びを有して嵌合されるようになっていても良いが、嵌合部を嵌合深さ寸法W2内の任意の位置に固定できるように、自身の弾性で嵌合部を挟圧して位置決めするように構成することもできる。第2発明では、被嵌合部に段差が設けられて嵌合部を抜止めするようになっているが、係止爪や係止突起等の係止部を設けて抜止めすることもできる。
以下、本発明の実施例を、図面を参照しつつ詳細に説明する。
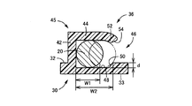
図1は、本発明が適用された車両用アクセルペダル10の一例を示す図で、ペダルパッド30の裏面32側から見た背面図である。図2は、車両用アクセルペダル10を図1の右方向から見た側面図で、図3は図1におけるIII −III 断面の拡大図、図4は図1におけるIV−IV断面の拡大図、図5はペダルパッド30とペダルアーム12との取付手順を説明する図である。この車両用アクセルペダル10は、断面円形の丸棒鋼にて構成されているペダルアーム12の下端部分に設けられたパッド取付部14にペダルパッド30が一体的に取り付けられたもので、ペダルアーム12はパッド取付部14よりも上方部分において略水平な支持軸まわりに回動可能に車両に配設される。パッド取付部14は、ペダルアーム12をプレスにより所定形状に曲げ成形したもので、曲げ角度θr≒90°の曲折部16を挟んで先端側に挿入部18が設けられ、反対側に嵌合部20が設けられている。挿入部18および嵌合部20は何れも直線状を成している。
一方、ペダルパッド30の裏面32、すなわち運転者によって足踏み操作される踏面33と反対側の面には、被挿入部34および被嵌合部36が設けられており、それ等の被挿入部34および被嵌合部36によって被取付部38が構成されている。被挿入部34には挿入穴40が裏面32と平行で且つ略水平方向に設けられており、前記挿入部18が裏面32と平行な姿勢で軸方向の先端側から挿入されるようになっている。この挿入穴40は貫通穴で、挿入部18を容易に挿入できるように遊びを有するように設けることもできるが、本実施例では挿入部18が圧入されて任意の位置で位置決め固定されるように、挿入部18よりも僅かに小さい径寸法で設けられている。
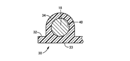
被嵌合部36は、図3に示すように裏面32から略垂直に立設された縦壁部42と、その縦壁部42の先端から裏面32と略平行に延び出す平行壁部44と、を有する断面L字形状の挟持爪45を備えており、裏面32との間に形成される嵌合溝46内に前記嵌合部20が裏面32と略平行になる姿勢で嵌め込まれるようになっている。平行壁部44は、前記挿入穴40の中心線と平行な方向に延び出していて、嵌合溝46は、その平行壁部44の延び出し方向に開口しており、図5に示すようにペダルアーム12が取付方向Aに沿ってペダルパッド30に接近させられることにより、挿入部18が挿入穴40内に挿入されるとともに、嵌合部20が被嵌合部36の嵌合溝46内に嵌合される。取付方向Aは、挿入部18の挿入方向で且つ嵌合部20の嵌合方向である。
挟持爪45の縦壁部42は、挿入穴40の中心線に対して所定の交差角度θpで交差するように設けられている。交差角度θpは、前記ペダルアーム12の曲げ角度θr(≒90°)を目標値として定められており、本実施例では縦壁部42が略上下方向に延びるように設けられている。したがって、曲げ角度θrおよび交差角度θpが、目標通りに互いに等しい角度であれば、ペダルアーム12は図1および図3に実線で示すようにペダルパッド30に取り付けられ、嵌合部20が縦壁部42と略平行となり且つその縦壁部42に接するように嵌合される。
裏面32には所定の段差寸法dで凹所48が設けられており、嵌合部20は平行壁部44を弾性変形させつつ凹所48内に落ち込んで嵌合溝46内に嵌め込まれるようになっており、凹所48の段差50によって嵌合溝46から抜け出すことが防止される。被嵌合部36は、前記挟持爪45の他に凹所48や段差50を含んで構成されている。平行壁部44の先端にも、裏面32側へ向かって僅かに突き出す係止突起52が段差50に対向する位置に設けられており、この係止突起52によっても嵌合部20の抜出しが抑制される。平行壁部44の先端にはまた、係止突起52よりも先端側に裏面32から離間する方向へ傾斜する傾斜面54が設けられており、嵌合部20が前記取付方向Aに沿って接近させられる際に、嵌合部20が傾斜面54と係合させられることにより平行壁部44が拡開方向(図3の上方)へ弾性変形させられる。図3では、上記段差寸法dや係止突起52が拡大して示されているが、実際は極小さく、図2ではそれ等が省略されている。
上記嵌合溝46の嵌合深さ寸法W2は、嵌合部20を嵌め込むのに必要な嵌合寸法W1よりも大きい。本実施例では、ペダルアーム12の曲折部16の曲げ角度θrのばらつきやペダルパッド30の被嵌合部36と挿入穴40との交差角度θpのばらつきに拘らず、嵌合部20を嵌合溝46内に嵌め込むことができるように定められており、例えば嵌合寸法W1の1.5倍程度の寸法とされている。平行壁部44と凹所48との間の初期状態(嵌合前)の内寸法は、嵌合部20の断面の径寸法よりも僅かに小さく、嵌合部20は平行壁部44の弾性復元力により嵌合溝46内の任意の位置に位置決めされる。図1および図3において二点鎖線で示すペダルアーム12は、曲げ角度θrが大きくなる方向へばらついた場合の取付状態を示したもので、嵌合溝46内に嵌め込まれている。
このように本実施例の車両用アクセルペダル10においては、挿入穴40に対する挿入部18の挿入と並行して嵌合部20が被嵌合部36に嵌め込まれるように、その挿入穴40の中心線と平行に被嵌合部36の嵌合方向(取付方向A)が定められているため、ペダルアーム12をペダルパッド30に対して一動作で取り付けることができ、取付作業が容易になる。
また、被嵌合部36の嵌合深さ寸法W2が嵌合寸法W1よりも大きく、嵌合部20の位置が嵌合方向においてばらつくことが許容されるため、部材各部の寸法や曲げ角度θr、交差角度θpのばらつきに拘らず挿入部18を挿入穴40内に挿入しつつ嵌合部20を被嵌合部36に対して適切に嵌め込むことが可能となり、ペダルアーム12をペダルパッド30に対して常に所定の取付状態で安定して取り付けることができるとともに、取付作業性が向上する。
また、嵌合部20が抜け出すことを防止するための段差50が被嵌合部36に設けられているため、ペダルパッド30がペダルアーム12から離脱することが適切に防止される。本実施例では、挟持爪45の平行壁部44の先端部分にも段差50に対応して係止突起52が設けられているため、嵌合部20の抜出しが一層確実に防止される。
また、嵌合溝46の嵌合深さ寸法W2が、ペダルアーム12の曲折部16の曲げ角度θrのばらつきやペダルパッド30の被嵌合部36と挿入穴40との交差角度θpのばらつきに拘らず、嵌合部20を嵌合溝46内に嵌め込むことができるように定められているため、曲げ角度θrや交差角度θpのばらつきに拘らずペダルアーム12をペダルパッド30に対して一層確実に取り付けることができる。
次に、本発明の他の実施例を説明する。なお、以下の実施例において前記実施例と実質的に共通する部分には同一の符号を付して詳しい説明を省略する。
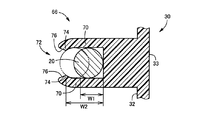
図6の車両用アクセルペダル60は、図9に示すようにペダルパッド30の裏面32に対して略垂直な取付方向Aからペダルアーム12が取り付けられるようになっている。図7は、図6におけるVII −VII 断面の拡大図で、図8は図6におけるVIII−VIII断面の拡大図であり、図9は、図6の車両用アクセルペダル60におけるペダルパッド30とペダルアーム12との取付手順を説明する図である。そして、ペダルパッド30の裏面32の下端部には、前記挿入部18が挿入される挿入穴62を有する円筒形状の被挿入部64が裏面32に対して略垂直に立設されているとともに、その被挿入部64の上方部分には、被嵌合部66が上下方向に設けられて、嵌合部20が裏面32と略平行となる姿勢で嵌合されるようになっている。本実施例では、これ等の被挿入部64および被嵌合部66によって被取付部68が構成されている。
上記被挿入部64の挿入穴62は前記挿入部18の径寸法よりも僅かに小径で、挿入部18が圧入固定されるようになっている。また、被嵌合部66は、図7から明らかなように裏面32に対して略垂直な方向、すなわち挿入穴62の中心線と略平行な方向に延び出す互いに平行な一対の把持爪70を備えており、それ等の内側の嵌合溝72内に嵌合部20を保持するようになっている。把持爪70の先端には、互いに接近する内方向へ僅かに突き出す係止突起74が設けられており、この係止突起74によって嵌合部20の抜出しが抑制される。把持爪70の先端にはまた、係止突起74よりも先端側に互いに離間する外方向へ傾斜する傾斜面76が設けられており、嵌合部20が前記取付方向Aに沿って接近させられる際に、嵌合部20が傾斜面76と係合させられることにより把持爪70が拡開方向(図7の上下方向)へ弾性変形させられ、これにより一対の把持爪70の内側の嵌合溝72内に嵌合部20を嵌め込むことが許容される。
嵌合溝72は、挿入穴62の中心線に対して所定の交差角度θpで交差するように設けられている。交差角度θpは、ペダルアーム12の曲げ角度θrを目標値として定められており、本実施例ではペダルパッド30の裏面32と平行に上下方向に延びるように設けられている。したがって、曲げ角度θrおよび交差角度θpが、目標通りに互いに等しい角度であれば、ペダルアーム12は図6および図7に実線で示すようにペダルパッド30に取り付けられ、嵌合部20が嵌合溝72と略平行となり且つその嵌合溝72の溝底に接するように嵌合される。
上記嵌合溝72の嵌合深さ寸法W2は、嵌合部20を嵌め込むのに必要な嵌合寸法W1よりも大きい。本実施例では、ペダルアーム12の曲折部16の曲げ角度θrのばらつきやペダルパッド30の被嵌合部66と挿入穴62との交差角度θpのばらつきに拘らず、嵌合部20を嵌合溝72内に嵌め込むことができるように定められており、例えば嵌合寸法W1の1.6倍程度の寸法とされている。一対の把持爪70の初期状態(嵌合前)の内寸法は、嵌合部20の断面の径寸法よりも僅かに小さく、嵌合部20は一対の把持爪70の弾性復元力により嵌合溝72内の任意の位置に位置決めされる。図6および図7において二点鎖線で示すペダルアーム12は、曲げ角度θrが大きくなる方向へばらついた場合の取付状態を示したものである。
本実施例においても、挿入穴62に対する挿入部18の挿入と並行して嵌合部20が被嵌合部66に嵌め込まれるように、その挿入穴62の中心線と平行に被嵌合部66の嵌合方向(取付方向A)が定められているため、ペダルアーム12をペダルパッド30に対して一動作で取り付けることができ、取付作業が容易になる。
また、被嵌合部66の嵌合深さ寸法W2が嵌合寸法W1よりも大きく、嵌合部20の位置が嵌合方向においてばらつくことが許容されるため、部材各部の寸法や曲げ角度θr、交差角度θpのばらつきに拘らず挿入部18を挿入穴62内に挿入しつつ嵌合部20を被嵌合部66に対して適切に嵌め込むことが可能となり、ペダルアーム12をペダルパッド30に対して所定の取付状態で安定して取り付けることができるとともに、取付作業性が向上する。
また、一対の把持爪70の先端部にはそれぞれ内向きに係止突起74が設けられ、嵌合溝72内に嵌め入れられた嵌合部20に係止されるようになっているため、その嵌合部20が嵌合溝72から抜け出してペダルパッド30がペダルアーム12から離脱することが適切に防止される。
また、嵌合溝72の嵌合深さ寸法W2が、ペダルアーム12の曲折部16の曲げ角度θrのばらつきやペダルパッド30の被嵌合部66と挿入穴62との交差角度θpのばらつきに拘らず、嵌合部20を嵌合溝72内に嵌め込むことができるように定められているため、曲げ角度θrや交差角度θpのばらつきに拘らずペダルアーム12をペダルパッド30に対して一層確実に取り付けることができる。
以上、本発明の実施例を図面に基づいて詳細に説明したが、これ等はあくまでも一実施形態であり、本発明は当業者の知識に基づいて種々の変更,改良を加えた態様で実施することができる。
10、60:車両用アクセルペダル(操作ペダル) 12:ペダルアーム 14:パッド取付部 16:曲折部 18:挿入部 20:嵌合部 30:ペダルパッド 32:裏面 34、64:被挿入部 36、66:被嵌合部 38、68:被取付部 40、62:挿入穴 50:段差 W1:嵌合寸法 W2:嵌合深さ寸法 θr:曲げ角度 A:取付方向(嵌合方向)

Claims (2)

  1. 所定角度で曲げられた曲折部を挟んで先端側に直線状の挿入部が設けられ、反対側に直線状の嵌合部が設けられたパッド取付部を備えている棒状のペダルアームと、
    足踏み操作される踏面と反対側の裏面にそれぞれ設けられ、前記挿入部が軸方向から挿入される直線状の挿入穴を有する被挿入部と、前記嵌合部が軸心と交差する方向から嵌め込まれる直線状の被嵌合部と、から成る被取付部を備えているペダルパッドと、
    を有し、前記パッド取付部および前記被取付部を介して前記ペダルパッドが前記ペダルアームに取り付けられて使用される操作ペダルにおいて、
    前記被嵌合部は、前記挿入穴に対する前記挿入部の挿入と並行して前記嵌合部が嵌め込まれるように該挿入穴の中心線と平行に嵌合方向が定められているとともに、該嵌合方向において該嵌合部を嵌め込むのに必要な嵌合寸法W1よりも大きな嵌合深さ寸法W2を、直線状の該被嵌合部の全長に亘って備えており、
    且つ、該嵌合深さ寸法W2は、前記ペダルアームの前記曲折部の曲げ角度θrのばらつき、および前記ペダルパッドの前記被嵌合部と前記挿入穴との交差角度θpのばらつきに拘らず、前記嵌合部を前記被嵌合部に嵌め込むことができるように定められている一方、
    前記挿入部は前記挿入穴内に圧入されて任意の位置で位置決め固定される
    ことを特徴とする操作ペダル。
  2. 前記被嵌合部には、前記嵌合部が抜け出すことを防止するために前記嵌合方向に対して直角な方向へ凹んだ段差が設けられている
    ことを特徴とする請求項1に記載の操作ペダル。
JP2011244859A 2011-11-08 2011-11-08 操作ペダル Expired - Fee Related JP5709727B2 (ja)

Priority Applications (1)

Application Number Priority Date Filing Date Title
JP2011244859A JP5709727B2 (ja) 2011-11-08 2011-11-08 操作ペダル

Applications Claiming Priority (1)

Application Number Priority Date Filing Date Title
JP2011244859A JP5709727B2 (ja) 2011-11-08 2011-11-08 操作ペダル

Publications (2)

Publication Number Publication Date
JP2013101497A JP2013101497A (ja) 2013-05-23
JP5709727B2 true JP5709727B2 (ja) 2015-04-30

Family

ID=48622063

Family Applications (1)

Application Number Title Priority Date Filing Date
JP2011244859A Expired - Fee Related JP5709727B2 (ja) 2011-11-08 2011-11-08 操作ペダル

Country Status (1)

Country Link
JP (1) JP5709727B2 (ja)

Family Cites Families (1)

* Cited by examiner, † Cited by third party
Publication number Priority date Publication date Assignee Title
JPS57189228A (en) * 1981-05-19 1982-11-20 Nissan Motor Co Ltd Pedal fitting construction

Also Published As

Publication number Publication date
JP2013101497A (ja) 2013-05-23

Similar Documents

Publication Publication Date Title
CN102947604B (zh) 夹子
JP5031904B2 (ja) 支持部材に取付部材を固定するための固定具、並びに該固定具を備えた固定装置
JP5275127B2 (ja) クリップ
JP2009041673A (ja) クリップ及び支持部材
CN103649565B (zh) 卡夹
JP2004108593A (ja) トグルクランプ
WO2017203935A1 (ja) 回転コネクタおよび回転コネクタの固定構造
WO2015099117A1 (ja) コネクタ
JP6353734B2 (ja) 車両用ペダルアーム
JP5709727B2 (ja) 操作ペダル
JP5186289B2 (ja) ワイヤハーネス保持クリップ
US8425135B2 (en) System for mounting a clip to the body of a writing instrument
JPWO2019035273A1 (ja) クリップ
JP6922979B2 (ja) 液面検出装置
JP4863078B2 (ja) 車両用部品の取付構造
JP6623742B2 (ja) クリップおよびピラーガーニッシュ取付構造
JP2006009867A (ja) Ea材、その取付用クリップ及び取付構造
JP2010266053A (ja) クリップ
JP2009113697A (ja) オーバーヘッドコンソールの仮固定用爪
WO2018043612A1 (ja) フック及びフックの取付構造
JP5389773B2 (ja) 操作ペダル
JP4322727B2 (ja) 自動車のフロアマットの留め具
JP6699086B2 (ja) ブラケット
JP2009079612A (ja) 樹脂成形品における取付構造
CN212098676U (zh) 一种传感器安装支架及汽车

Legal Events

Date Code Title Description
A621 Written request for application examination

Free format text: JAPANESE INTERMEDIATE CODE: A621

Effective date: 20130708

A977 Report on retrieval

Free format text: JAPANESE INTERMEDIATE CODE: A971007

Effective date: 20131121

A131 Notification of reasons for refusal

Free format text: JAPANESE INTERMEDIATE CODE: A131

Effective date: 20140121

A521 Written amendment

Free format text: JAPANESE INTERMEDIATE CODE: A523

Effective date: 20140319

A02 Decision of refusal

Free format text: JAPANESE INTERMEDIATE CODE: A02

Effective date: 20140902

A521 Written amendment

Free format text: JAPANESE INTERMEDIATE CODE: A523

Effective date: 20141128

A911 Transfer to examiner for re-examination before appeal (zenchi)

Free format text: JAPANESE INTERMEDIATE CODE: A911

Effective date: 20141208

TRDD Decision of grant or rejection written
A01 Written decision to grant a patent or to grant a registration (utility model)

Free format text: JAPANESE INTERMEDIATE CODE: A01

Effective date: 20150210

A61 First payment of annual fees (during grant procedure)

Free format text: JAPANESE INTERMEDIATE CODE: A61

Effective date: 20150303

R150 Certificate of patent or registration of utility model

Ref document number: 5709727

Country of ref document: JP

Free format text: JAPANESE INTERMEDIATE CODE: R150

R250 Receipt of annual fees

Free format text: JAPANESE INTERMEDIATE CODE: R250

R250 Receipt of annual fees

Free format text: JAPANESE INTERMEDIATE CODE: R250

R250 Receipt of annual fees

Free format text: JAPANESE INTERMEDIATE CODE: R250

LAPS Cancellation because of no payment of annual fees