JP5659020B2 - 多重ビーム穿孔システム - Google Patents

多重ビーム穿孔システム Download PDF

Info

Publication number
JP5659020B2
JP5659020B2 JP2010541887A JP2010541887A JP5659020B2 JP 5659020 B2 JP5659020 B2 JP 5659020B2 JP 2010541887 A JP2010541887 A JP 2010541887A JP 2010541887 A JP2010541887 A JP 2010541887A JP 5659020 B2 JP5659020 B2 JP 5659020B2
Authority
JP
Japan
Prior art keywords
beams
holes
sub
pulse
energy
Prior art date
Legal status (The legal status is an assumption and is not a legal conclusion. Google has not performed a legal analysis and makes no representation as to the accuracy of the status listed.)
Active
Application number
JP2010541887A
Other languages
English (en)
Other versions
JP2011523373A (ja
Inventor
ナヴェ・ベニー
コトレル・ズヴィ
ゴラン・ハニナ
Current Assignee (The listed assignees may be inaccurate. Google has not performed a legal analysis and makes no representation or warranty as to the accuracy of the list.)
Orbotech Ltd
Original Assignee
Orbotech Ltd
Priority date (The priority date is an assumption and is not a legal conclusion. Google has not performed a legal analysis and makes no representation as to the accuracy of the date listed.)
Filing date
Publication date
Application filed by Orbotech Ltd filed Critical Orbotech Ltd
Publication of JP2011523373A publication Critical patent/JP2011523373A/ja
Application granted granted Critical
Publication of JP5659020B2 publication Critical patent/JP5659020B2/ja
Active legal-status Critical Current
Anticipated expiration legal-status Critical

Links

Images

Classifications

    • BPERFORMING OPERATIONS; TRANSPORTING
    • B23MACHINE TOOLS; METAL-WORKING NOT OTHERWISE PROVIDED FOR
    • B23KSOLDERING OR UNSOLDERING; WELDING; CLADDING OR PLATING BY SOLDERING OR WELDING; CUTTING BY APPLYING HEAT LOCALLY, e.g. FLAME CUTTING; WORKING BY LASER BEAM
    • B23K26/00Working by laser beam, e.g. welding, cutting or boring
    • B23K26/02Positioning or observing the workpiece, e.g. with respect to the point of impact; Aligning, aiming or focusing the laser beam
    • B23K26/04Automatically aligning, aiming or focusing the laser beam, e.g. using the back-scattered light
    • BPERFORMING OPERATIONS; TRANSPORTING
    • B23MACHINE TOOLS; METAL-WORKING NOT OTHERWISE PROVIDED FOR
    • B23KSOLDERING OR UNSOLDERING; WELDING; CLADDING OR PLATING BY SOLDERING OR WELDING; CUTTING BY APPLYING HEAT LOCALLY, e.g. FLAME CUTTING; WORKING BY LASER BEAM
    • B23K26/00Working by laser beam, e.g. welding, cutting or boring
    • B23K26/02Positioning or observing the workpiece, e.g. with respect to the point of impact; Aligning, aiming or focusing the laser beam
    • B23K26/06Shaping the laser beam, e.g. by masks or multi-focusing
    • BPERFORMING OPERATIONS; TRANSPORTING
    • B23MACHINE TOOLS; METAL-WORKING NOT OTHERWISE PROVIDED FOR
    • B23KSOLDERING OR UNSOLDERING; WELDING; CLADDING OR PLATING BY SOLDERING OR WELDING; CUTTING BY APPLYING HEAT LOCALLY, e.g. FLAME CUTTING; WORKING BY LASER BEAM
    • B23K26/00Working by laser beam, e.g. welding, cutting or boring
    • B23K26/02Positioning or observing the workpiece, e.g. with respect to the point of impact; Aligning, aiming or focusing the laser beam
    • B23K26/06Shaping the laser beam, e.g. by masks or multi-focusing
    • B23K26/067Dividing the beam into multiple beams, e.g. multifocusing
    • B23K26/0676Dividing the beam into multiple beams, e.g. multifocusing into dependently operating sub-beams, e.g. an array of spots with fixed spatial relationship or for performing simultaneously identical operations
    • GPHYSICS
    • G01MEASURING; TESTING
    • G01BMEASURING LENGTH, THICKNESS OR SIMILAR LINEAR DIMENSIONS; MEASURING ANGLES; MEASURING AREAS; MEASURING IRREGULARITIES OF SURFACES OR CONTOURS
    • G01B11/00Measuring arrangements characterised by the use of optical techniques
    • G01B11/26Measuring arrangements characterised by the use of optical techniques for measuring angles or tapers; for testing the alignment of axes
    • GPHYSICS
    • G02OPTICS
    • G02BOPTICAL ELEMENTS, SYSTEMS OR APPARATUS
    • G02B26/00Optical devices or arrangements for the control of light using movable or deformable optical elements
    • G02B26/08Optical devices or arrangements for the control of light using movable or deformable optical elements for controlling the direction of light

Landscapes

  • Physics & Mathematics (AREA)
  • Optics & Photonics (AREA)
  • Engineering & Computer Science (AREA)
  • Plasma & Fusion (AREA)
  • Mechanical Engineering (AREA)
  • General Physics & Mathematics (AREA)
  • Laser Beam Processing (AREA)
  • Length Measuring Devices By Optical Means (AREA)
  • Mechanical Light Control Or Optical Switches (AREA)
  • Lasers (AREA)

Description

(関連出願の相互参照)
2008年1月10日付け米国仮特許出願第61/020,273号「多重レーザ・ビーム位置決めおよびエネルギー配給システム」(Multiple Laser Beam Positioning and Energy Delivery System)を参照して,その開示内容をこの明細書中に参考として援用するとともに,その優先権を米国特許法施行規則(CFR)第1.78条(a)(4)項および(5)(i)項に基づいて主張する。
本願は,同日出願され,この発明の譲受人に譲渡されたPCT特許出願「多重ミラー較正システム」(Multiple Mirror Calibration System)に関連し,その開示内容についてもこの明細書中に参考として援用する。
この発明は包括的には穿孔装置(drilling apparatus)に関し,具体的にはレーザ・ビームを用いた複数孔(multiple holes)の穿孔に関する。
長年にわたって,基板のような対象物の穿孔,溶融,または切断等を目的に動作する製造システムにおいてレーザ・ビームが利用されている。このようなシステムでは製造時間を短縮するために多重レーザ・ビーム(multiple laser beams)を使用することができる。しかしながら,穿孔に多重ビームを使用する周知のシステムの動作の柔軟性を向上させる必要がある。
この発明は,種々同時性(様々な同時性)をもって(with varying simultaneity),基板にレーザ穿孔を行う改良されたシステムおよび方法を提供する。
この発明の好適な実施形態によると,レーザを動作させて,ビーム・パルスがあるトータル・エネルギー(a total energy)を有する,単一の出力ビーム(a single output beam)を生成し,上記単一出力ビームを時間経過の中で(to an extent which varies over time)複数のビームに分割し,上記複数のビームを基板上の複数の穿孔位置に当てる,種々同時性をもって基板にレーザ穿孔を行う方法であって,上記トータル・エネルギーの第1の割合(比率,部分,フラクション)(a first fraction)を占めるパルス・エネルギーを有する上記複数のビームのうちの対応する複数のビームを用いて(using corresponding ones of the plural beams),複数孔の第1の部分(first parts of multiple holes)を同時穿孔し,その後,上記第1の割合と異なる,上記トータル・エネルギーの少なくとも第2の割合(比率,部分,フラクション)(a second fraction)を占めるパルス・エネルギーをそれぞれが有する上記複数のビームのうちの少なくとも1つのビームを用いて,上記複数孔の少なくとも1つの孔の少なくとも1つの第2の部分(at least one second part of at least one of said multiple holes)を穿孔することを含む方法が提供される。
この発明の好適な実施形態によると,上記第1の割合は上記複数孔の数の関数(a function)である。
この発明の好適な実施形態によると,上記第2の割合は上記少なくとも第2の部分が穿孔された上記複数孔の数の関数である。
また,この発明の好適な実施形態によると,レーザを動作させて,あるトータル・パワー(a total power)を有する単一の出力ビームを生成し,上記単一出力ビームを時間経過の中で複数のビームに分割し,上記複数のビームを基板上の複数の穿孔位置に当てる,種々同時性をもって基板にレーザ穿孔を行う方法であって,上記トータル・パワーの第1の割合(比率,部分,フラクション)を占めるビーム・パワーを有する上記複数のビームのうちの対応する複数のビームを用いて複数孔の第1の部分を同時穿孔し,その後,上記第1の割合と異なる,上記トータル・パワーの少なくとも第2の割合を占めるビーム・パワーをそれぞれが有する上記複数のビームのうちの少なくとも1つのビームを用いて,上記複数孔の少なくとも1つの孔の少なくとも1つの第2の部分を穿孔する方法が提供される。
この発明の好適な実施形態によると,上記第1の割合は上記複数孔の数の関数である。
この発明の好適な実施形態によると,上記第2の割合は上記少なくとも第2の部分が穿孔された上記複数孔の数の関数である。
好適には,上記単一出力ビームが,あるパルス繰返速度で(at a pulse repetition rate)生成された単一ビーム・パルス・エネルギー(single beam pulse energies)を有する複数のパルス(pulses)を含み,複数孔の第1の部分を穿孔する上記複数のビームのうちの対応する複数のビームが,上記パルス繰返速度と,上記単一ビーム・パルス・エネルギーの上記第1の割合を占めるパルス・エネルギーとを有する複数のパルスを含む。また,上記複数孔の少なくとも1つの孔の少なくとも1つの第2の部分を穿孔する上記複数のビームのうちの少なくとも1つのビームが,上記パルス繰返速度と,上記単一ビーム・パルス・エネルギーの少なくとも上記第2の割合を占めるパルス・エネルギーとを有する複数のパルスを含む。あるいは,上記複数孔の少なくとも1つの孔の少なくとも1つの第2の部分を穿孔する上記複数のビームのうちの少なくとも1つのビームが,上記パルス繰返速度の約数(a sub-multiple of the pulse repetition rate)と,上記単一ビーム・パルス・エネルギーの関数であるパルス・エネルギー(pulse energies which are a function of the single beam pulse energies)とを有する複数のパルスを含み,上記約数および関数が上記第2の割合に応じて選択される。
この発明の好適な実施形態によると,上記単一の出力ビームは,あるパルス繰返速度で生成された単一ビーム・パルス・エネルギーを有する複数のパルスを含み,複数孔の第1の部分を穿孔する上記複数のビームのうちの対応する複数のビームは,上記第1の割合に応じて選択された上記パルス繰返速度の第1の約数と,上記単一ビーム・パルス・エネルギーの第1の関数であるパルス・エネルギーとを有する複数のパルスを含む。また,上記複数孔の少なくとも1つの孔の少なくとも1つの第2の部分を穿孔する上記複数のビームの少なくとも1つのビームは,上記パルス繰返速度の第2の約数と,上記単一ビーム・パルス・エネルギーの第2の関数であるパルス・エネルギーとを有する複数のパルスを含み,上記第2の約数および第2の関数が上記第2の割合に応じて選択される。
この発明は,図面と併せて示した実施形態に関する以下の詳細な説明を参照すれば,より深い理解が得られる。図面の簡単な説明は,以下の通りである。
この発明の実施形態による,多重穿孔装置の概略模式図である。 この発明の実施形態による,音響光学偏向器の異なる動作モードを示した概略模式図である。 この発明の実施形態による,音響光学偏向器の異なる動作モードを示した概略模式図である。 この発明の実施形態による,音響光学偏向器の異なる動作モードを示した概略模式図である。 この発明の実施形態による,第1の基板の穿孔過程における様々な段階を示した概略模式図である。 この発明の実施形態による,第1の基板の穿孔過程における様々な段階を示した概略模式図である。 この発明の実施形態による,第1の基板の穿孔過程における様々な段階を示した概略模式図である。 この発明の実施形態による,第1の基板の穿孔過程における様々な段階を示した概略模式図である。 この発明の実施形態による,第1の基板の穿孔過程における様々な段階を示した概略模式図である。 この発明の実施形態による,第1の基板の穿孔過程における様々な段階を示した概略模式図である。 この発明の実施形態による,第1の基板の穿孔過程における様々な段階を示した概略模式図である。 この発明の実施形態による,第1の基板の穿孔過程における様々な段階を示した概略模式図である。 この発明の実施形態による,第1の基板の穿孔過程における様々な段階を示した概略模式図である。 この発明の実施形態による,第2の基板の穿孔過程における様々な段階を示した概略模式図である。 この発明の実施形態による,第2の基板の穿孔過程における様々な段階を示した概略模式図である。 この発明の実施形態による,第2の基板の穿孔過程における様々な段階を示した概略模式図である。 この発明の実施形態による,第2の基板の穿孔過程における様々な段階を示した概略模式図である。 この発明の実施形態による,第2の基板の穿孔過程における様々な段階を示した概略模式図である。 この発明の実施形態による,第2の基板の穿孔過程における様々な段階を示した概略模式図である。 この発明の実施形態による,第2の基板の穿孔過程における様々な段階を示した概略模式図である。 この発明の実施形態による,第2の基板の穿孔過程における様々な段階を示した概略模式図である。 この発明の実施形態による,第2の基板の穿孔過程における様々な段階を示した概略模式図である。 この発明の実施形態による,基板の穿孔のために処理ユニットで実施されるステップを示した概略フローチャートである。
図1を参照して,図1はこの発明の実施形態による多重穿孔装置20を模式的に示す概略図である。装置20は,典型的には上記装置のオペレータによって操作される処理ユニット36において,その全体が制御される。
処理ユニット36は典型的には汎用コンピュータ・プロセッサを備え,それがこの明細書に記載の機能(複数)を実行するためにソフトウェアにおいてプログラムされている。このソフトウェアは,たとえば,ネットワークを介して,電子的形態で上記プロセッサにダウンロードすることできる。これに代えてまたは加えて,光学記憶媒体,磁気記憶媒体,または電子記憶媒体といった有形媒体に上記ソフトウェアを設けてもよい。さらにはこれに代えて,上記プロセッサの機能の少なくとも一部について,専用ハードウェアまたはプログラマブル・ハードウェアによって実行してもよい。
装置20は,選択的に方向を変更することができるミラー群(選択的方向可変ミラー群)(a set of selectably directable mirrors)38を備え,各方向可変ミラーの方向が処理ユニット36によって生成されたコマンドまたは指令によって個別に制御される。この明細書中において,方向可変ミラー(複数)は「方向付け可能ミラー」(複数)(orientable mirrors)とも呼ばれ,ミラー(複数)に入射するビーム(複数)に対するステアリング・ミラー(複数)(steering mirrors)として機能する。装置20はレーザ穿孔設備(a laser drilling facility)として使用することができ,そこでは,上記多数の(multiple)方向付け可能ミラーは,可動テーブル42上に搭載された基板44に複数の孔を穿孔するために,上記装置における生産段階において各レーザ・サブビーム(respective laser sub-beams)の方向を合わせるために用いられる。上記基板44は単層基板または多層基板のいずれであってもよい。生産段階において,上記設備を穿孔以外の同様な工程,たとえば,材料の切断および/または加工にも用いることができることは理解されよう。以下の説明では,必要に応じて,基板の識別符号44に異なる文字を添えることによって異なる基板44を区別する。テーブル42は,処理ユニット36からの受信コマンドにしたがって直交するx,y,およびz方向に移動可能である。
装置20はレーザ22を備え,このレーザ22は典型的には固体レーザであり,紫外線波長のパルス(複数)からなる単一ビーム24(a single beam 24 of pulses at ultra-violet wavelength)を生成する。上記ビームのパラメータ(複数)が,その全体的なエネルギーを含み,上記処理ユニット36からの指令にしたがって設定される。以下の説明では,一例として,レーザ22は固定繰返速度F[Hz]で単一ビーム24のパルス(複数)を生成し,各パルスがトータル・エネルギーEt[J]を有するものとする。したがって上記ビームはP=EtF〔W〕の平均パワーを持つ。この発明の一実施形態において,上記ビームのパルス(複数)はおよそ30nsの幅を持つ。上記パルス(複数)は固定繰返速度F≒100kHzで生成され,各パルスはトータル・エネルギーEt≒100[μJ]を有し,したがって上記ビームの平均パワーはP≒10[W]となる。通常,レーザ・パルスのほぼ全てのエネルギーが上記生産段階において使用される。
ビーム24は円筒状レンズ26を通過してそこで実質的に平行ビームに集光され,平行ビームが音響光学型偏向器(AOD:Acousto-Optic Deflector)28に進む。AOD28は処理ユニット36から高周波(RF:Radio-Frequency)の駆動入力を受取る。このRF入力によって,入射平行レーザ・ビーム(the incident collimated laser beam)は回折されて一または複数のサブ・ビーム29となる。サブ・ビーム29は,通常,2次元面内において(in a two-dimensional plane)生成される。処理ユニット36は,AOD28に対する上記RF入力のパラメータを変更することによって,上記サブ・ビームの数,および上記サブ・ビーム間のエネルギー分布を選択することができる。この発明の実施形態において用いることができるAODの一例は,仏国Saint-Remy-Les-ChevreuseのAA Optoelectronic社製のthe part MQ180-A0,2-UVである。
一または複数のサブ・ビーム29を生成するために,処理ユニット36はAOD28を多数の異なるモードにおいて動作させることができる。サブ・ビームは異なるモードで種々の特性を有するものになる。これらの異なる動作モード,および生成されるサブ・ビーム29の考え得る種々の特性(different possible characteristics of generated sub-beams 29)について,図2A,図2B,および図2Cに関連して以下により詳しく説明する。
複数のサブ・ビーム29は中継レンズ30によって第1のミラー群32に送られる。ミラー群(Mirrors)32は,各入射ビームを,3次元サブ・ビーム群41として第2のミラー群34に向けて反射するように方向合わせされている(oriented)。分かりやすくするために,図1において,3次元のサブ・ビーム群のうちの一つのビームの経路39のみが示されている。以下の説明では,必要に応じて,サブ・ビーム群41の各ビームを添字によって区別する。したがって,図1に示すように,20個のミラー34および20個のミラー38が存在する場合,サブ・ビーム群41は20本のサブ・ビーム41A,41B,・・・,41Tを含む。以下の説明では,適切な場合には,区別が必要な要素(elements)にも対応する文字が添えられる。たとえば,はじめにサブ・ビーム41Bがサブ・ビーム29Bから生成される。サブ・ビーム41Bは,その後ミラー32Bおよび34Bによって順番に反射され,最後に方向合わせ可能ミラー38Bによって反射される。ミラー群32および34は,典型的には位置および方向が固定されており,ミラー群34からの反射された3次元サブ・ビーム群が互いに略平行となるように構成されている。
ミラー群34において反射された3次元サブ・ビーム群が,方向合わせ可能ミラー群38に送られる。ミラー群32,ミラー群34およびミラー群38の間にはビーム調整および中継用の光学素子(複数)が設けられおり,分かりやすくするために,図1では,レンズ35によって概略的に示されている。これらビーム調整および中継用の光学素子(複数)によって,ミラー群38において反射されたサブ・ビーム群は平行かつ幅狭(collimated and narrow)となる。これらの光学素子(複数)は処理ユニット36によって制御され,必要に応じて,直径が異なるサブ・ビーム群を生成する。以下の説明では,サブ・ビーム群41を生成する装置20の要素(構成),すなわち要素22,26,28,30,32,34および35をサブ・ビーム生成システム33とも呼ぶ。
ミラー群38の各ミラーは,マウント群中(in a set of mounts)の各ステアリング・アセンブリ(steering assembly)に結合されており,上記ステアリング・アセンブリをこの明細書中において調整可能マウント(adjustable mount)43と呼ぶ。上記マウント群の各マウント43は処理ユニット36によって個別に制御される。処理ユニット36は,特定のマウントの向き(the orientation),したがって上記マウントに結合された上記ミラーの向きを,そのマウントの特性にしたがう範囲内において方向付けする(direct)ことができる。上記マウント群およびこれに結合されたミラー群は,上記ミラー群によって反射されたサブ・ビーム群が可動テーブル42の表面とほぼ直交するように構成されている。典型的には,マウント群43はミラー群38が取付けられたガルバノメトリック要素(galvanometric elements)を用いて2軸ミラー・ステアリング(two-axis mirror steering)を実現する。
図2A,図2Bおよび図2Cは,この発明の実施形態による,AOD28の異なる3つの動作モード(three different modes of operation)を示す概略図である。最初の2つのモードは,上記例示したAA Optoelectronic社製AODのようなAODによって実現することができる。全てのモードにおいて,入射レーザ・ビーム,AOD内を進行する音響波の方向,および上記音響波によって生成される一または複数のサブ・ビームは,単一面内に存在する。
図2Aに示す第1のモードにおいて,処理ユニット36は振幅A1かつ周波数F1のRF信号を生成する。上記RF信号は音響波(弾性液)(acoustic wave)を構成し,この音響波によってAOD28は単一ピッチを有する回折格子として機能する。上記格子はレンズ26(図1)からの入射レーザ・ビーム24を角度α1だけ偏向し,単一のサブ・ビーム29を形成する。処理ユニット36は周波数F1の値を変化させることによって角度α1を変更することができる。また,上記サブ・ビーム中のパルス(複数)のエネルギーは振幅A1を変化させることによって変更することができる。
第1のモードにおいて,AODは,通常,最大でおよそ90%のビーム伝達効率(η)のもとで動作し,したがってA1の値を変化させることによって上記単一サブ・ビームのパルス(複数)のエネルギーはE=ηEtとなる。ここでEtはビーム24のパルス・エネルギー(the pulse energy)であり,η≦0.9である。残りのエネルギーは無偏向パルス・エネルギー(undeflected pulse energy)および低効率の高調波(low efficiency higher harmonics)である。上記無偏向パルス・エネルギーは,通常,ビーム・ダンプ(beam dump)によって吸収される。上記単一サブ・ビームのパルス(複数)の繰返速度はビーム24のパルス(複数)の繰返速度と同じであり,上記サブ・ビームの平均パワーはηPとなる。ここでPはビーム24の平均パワーである。
図2Bに示す第2のモードにおいて,処理ユニット36は2以上の異なる周波数F1,F2,・・・を有する結合RF信号(combined RF signal)を生成する。第2の動作モードについては,D. L. Hechtの論文“Multifrequency acoustooptic deffraction”,IEEE Trans. Sonics Ultrasonics SU-24(1),7-18(1977)に記載されている。
簡単にするために,図2Bにおいて,異なる2つの周波数の影響(効果)(effects)のみが示されている。処理ユニット36は,それぞれの振幅がA1,A2,・・・である各周波数(each of the frequencies)を生成する。処理ユニット36がRF信号の異なる周波数を生成することによって,AOD28はマルチ・ピッチの回折格子(multi-pitched diffraction grating)として効果的に機能し,上記RF入力によって音響波がAOD内を進行する。この場合,入射レーザ・ビーム24は異なる周波数F1,F2,・・・の数に対応する多数のサブ・ビーム29A,29B,・・・に分割される。サブ・ビーム群のそれぞれのサブ・ビームの角度α1,α2,・・・はそれぞれ周波数F1,F2,・・・によって定まる。
各サブ・ビームのパルス(複数)のエネルギーEa,EbはEa=ηaEtおよびEb=ηbEtと表すことができる(ηa<1,ηb<1)。典型的には,上記AODの特性によって出射ビームの全パルス・エネルギー(the total pulse energy of the exiting beams)を約70%以下とすることができ,したがってここではEa+Eb≦0.7Etとなる。この全体的な制約の範囲内において,処理ユニット36は,各RF周波数の振幅値,ここではA1およびA2を変化させることによって,上記サブ・ビームのそれぞれのパルス・エネルギーを変更することができる。第1のモードと同様に,任意の無偏向エネルギーはビーム・ダンプによって吸収させることができる。出射サブ・ビーム(複数)のパルス繰返速度は入射ビームのパルス繰返速度と同じであり,入射ビームの平均パワーがPであれば,各サブ・ビームの平均パワーはPa=ηaPおよびPb=ηbPで与えられる。
図2Cに示す第3のモードにおいて,処理ユニット36は,ピッチが異なる2以上の格子となるようにAOD28を効果的に分割するRF信号を生成する。この第3のモードを実現するためには,例示したAODのような「市販」の音響光学偏向器において通常利用可能な値から,AODの動作範囲(the operating window)が拡張される必要がある。上記拡張によって,AOD内に,「隣接」形態で(in a “side-by-side” manner)異なる格子(different gratings)を形成することができる。当業者であれば,必要以上の実験を行うことなく,上記拡張の量(the amount of the extension)および上記拡張を得るための要件(the requirements for producing the extension)を定めることができよう。
簡単にするために,第3のモードに関する以下の説明では,AOD28が2つの格子となるように効果的に分割されるものとする。第3のモードのためのRF信号は,それぞれの振幅がA1,A2である2つの周波数成分F1およびF2を有する。上記第2のモードのRF入力とは異なり,第3のモードのためのRF入力は,第2のモードのように周波数成分を組合わせるのではなく,異なる周波数成分が交互に切替わる。
第3のモードにおいて,AOD28の前段のビーム・スプリッタ(図2Cにおいて図示略)が入射ビーム24を2つのビーム24Aおよび24Bに分割する。上記ビーム・スプリッタは典型的には光学ビーム・スプリッタであり,50:50といった任意の好適な分割比率を有することができる。これに代えて,典型的には上述した第2のモードにおいて動作するように構成された別のAODをビームスプリッタとして使用してもよい。ビーム24がパルス・エネルギーEtを有する場合,ビーム24Aおよび24Bはそれぞれパルス・エネルギーaEtおよびbEtを有する。ここで,aおよびbはa,b<1を満たし,かつa,bの値は上記ビーム・スプリッタに固有のものである。
各ビーム24A,24Bは,第1のモードに関して上述した通り,異なる格子(a different grating)によってそれぞれのピッチにしたがって偏向される。第3の動作モードによって結果的に生成されるサブ・ビーム29Cおよび29Dは,それぞれEc=aηaEtおよびEd=bηbEt(ηa<1,ηb<1)で与えられるパルス・エネルギーEcおよびEdを有する。第1のモードと同様に,ηaおよびηbの値は,それぞれA1およびA2の値を変化させることによって変更することができ,典型的には最大約0.9の値を有する。また,入射平均ビームパワーがPであるときに,上記サブ・ビームの平均パワーはPc=aηaPおよびPd=bηbPで与えられる。
さらに,第1および第2のモードと同様に,第3のモードにおける任意の無偏向エネルギーはビーム・ダンプによって吸収させることができる。
AOD28の上記3つの動作モードの説明において,AOD28からのサブ・ビーム出力は,入射ビーム24と同じパルス繰返速度,すなわち同じ周波数を有する。しかしながら,このことは必要条件ではなく,この発明の一実施形態においては,上記サブ・ビーム出力の周波数が入力周波数の約数(a sub-multiple of the input frequency)となるように,処理ユニット36がAODへの上記RF入力を調整する。たとえば,図2Aに示すシステムにおいて,処理ユニット36が,ビーム24のパルス繰返速度にしたがって,AOD28への入力周波数をF1とF2との間で交互に切替えるようにしてもよい。これによって,ビーム24からのパルスの分散が角度α1とα2間で切替えられ,上記サブ・ビームのそれぞれにおけるパルス出力の周波数がビーム24のパルス周波数の半分となる。
ここで,上記パルス・エネルギー(複数)は入射パルス・エネルギー(複数)とほぼ同じであってもよい。しかしながら,上記サブ・ビーム(複数)におけるパルス(複数)の繰返速度が低下することに起因して,上記平均サブ・ビーム・パワーが上記平均入射ビーム・パワーから大幅に相違することになる。たとえば,上記入射ビームがパルス・エネルギーEtおよび平均パワーPを有し,各サブ・ビームのパルス(複数)が等しいエネルギーηEtを有するようにA1およびA2の値が設定されている場合,パルスの繰返率が半分になることに起因して,上記サブ・ビーム(複数)の平均パワーはηP/2となる。
上記サブ・ビーム(複数)のパルス繰返速度を上記入射ビームのパルス繰返速度の約数に設定できるようにすることによって,特定材料の穿孔にさらなる柔軟性がもたらされる。上記パルス・エネルギーは,典型的には,上記材料に最も影響を及ぼすパラメータであるので,上記に例示したように,上記パルス・エネルギーを入射ビームとほぼ同等に保ちつつ上記サブ・ビームの平均パワーを低減すると,材料の穿孔時に都合が良い。たとえば,上記平均パワーを低くすることでパルス間の冷却時間が伸ばされる(reducing the average power provides extra cooling time between pulses)。
上述の種々サブ・ビームに加えて,処理ユニット36は,AODへの上記RF入力のパラメータを調整して各パルスのエネルギーを効果的に設定することにより,任意の特定サブ・ビームの全体的なエネルギー・プロファイルを時間的に(over time)適合させる(tailor)ことができる。たとえば,上記第1のモードにおいて,処理ユニットは,A1の急激な変化によってサブ・ビーム・パルス(複数)のエネルギーを急激に変化させるのではなく,多数のパルスにわたって上記エネルギーが線形的に減少するように構成してもよい。このような勾配を持つ線形的な減少(a ramped linear decrease)は,基板層から銅などの金属が意に反して除去されることを防止するために用いることができる。
AOD28の動作に関する上記説明を考慮すると,任意の特定時間に同時利用されるレーザ・サブ・ビーム29の数を処理ユニット36によって変更可能なシステムが,装置20によって提供されることが分かる。さらに,処理ユニット36は,各サブ・ビーム29におけるパルス・エネルギーの割合(比率)(fraction)を選択することができ,全体的なエネルギー・プロファイルを各サブ・ビームの時間で調整することができ,かつ各サブ・ビーム29のパルス周波数を入射ビーム24と同じ周波数またはその約数に設定することができる。
以下の説明では,サブ・ビームの数,各サブ・ビームにおけるパルス・エネルギー,およびサブ・ビームの特性を装置20において種々変更することによって,異なる基板を効果的に穿孔する方法を示した様々な例を提供する。以下に示すように,ビーム数,パルス・エネルギーおよびビーム特性を種々変更することによって,異なる基板を穿孔するのに要する時間を最小化することができる。以下の説明では,処理ユニット36は,最大サブ・ビーム・パルス・エネルギーEmを有する任意の単一サブ・ビームと,Em未満のパルス・エネルギーを有する複数のサブ・ビームとが,処理ユニット36によって生成できるものとする。
また,以下の説明では3層基板を一例として用いるが,当然に,必要に応じて変更を加えることによって,2層またはその他任意の層数を有する基板への穿孔または加工に適用することもできる。
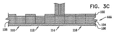
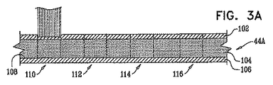
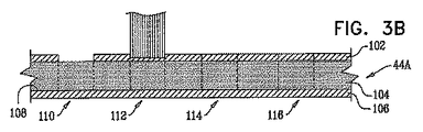
図3A〜図3Iは,この発明の実施形態による,基板44Aの穿孔過程における(in a time progression of drilling)様々な段階の概略図である。図3A〜図3Iは基板44Aの概略断面であり,図3Aが最初の段階に対応し,図3Iが最後の段階に対応している。上記基板は,穿孔が比較的困難な上側第1レイヤ102,穿孔が容易な第2レイヤ104,および穿孔されない第3レイヤ106を有するものとする。また,実質的に同様の,すなわち同一直径を有する4つの孔110,112,114および116が上記基板に穿孔されるものとする。ただし,2つの孔114および116は,第1プロセスにおいて仕上げられる上記2つの孔の下側境界(the lower bound)を,レイヤ104の上面108に有するものとする。その他2つの孔110および112については,相違する第2プロセスにおいて仕上げられる下側境界を有するものとする。
一例として,4つの孔110,112,114および116は,ミラー38A,38B,38Cおよび38Dのそれぞれで反射された4つの分離した(独立の)(separate)サブ・ビーム41A,41B,41Cおよび41Dによって穿孔されるものとする。上述したように,サブ・ビーム41A,41B,41Cおよび41Dは,それぞれサブ・ビーム29A,29B,29Cおよび29Dから形成される。
レイヤ102は穿孔が困難であるので,処理ユニット36はまず,一度に1つのサブ・ビームを用いて(using one sub-beam at a time)レイヤ102を穿孔する。各サブ・ビームは,パルス・エネルギーEmを有する。たとえば,各サブ・ビームはAOD28を第1のモード(図2A参照)で動作させて,異なる周波数F1,F2,F3およびF4を順次AODに供給することによって生成されるものとする。異なる周波数によって,サブ・ビーム29A,29B,29C,そして29Dが順次生成され,それぞれサブ・ビーム41A,41B,41C,および41Dを形成する。処理ユニット36は,ミラー38A,38B,38Cおよび38Dにおいてそれぞれ反射されたサブ・ビーム41A,41B,41Cおよび41Dを順次照射して,レイヤ102における孔110,112,114および116の各部位を穿孔する。図3Aに示すように,孔110の位置のレイヤ102が最初に穿孔される。その後,図3B,図3Cおよび図3Dに示すように,孔112,114および116の位置のレイヤ102が順次穿孔される。パルス・エネルギーEmのサブ・ビームがそれぞれ用いられる。図3Eはレイヤ102に4つの孔が全て穿孔された後の基板44Aの状態を示している。
レイヤ104は穿孔が容易であり,かつ4つの孔全てに対して穿孔のためのアクセスが可能となっているので,処理ユニット36は,図3Fに示すように,レイヤ102の穿孔時と同じ4つのサブ・ビーム41A,41B,41Cおよび41Dを同時に動作させる。これらの4つのサブ・ビームは,利用可能なトータル・サブ・ビーム・エネルギーEavailableを実質的に等しい割合(比率)1/4Eavailableで使用するものとする。これら4つのサブ・ビームは,処理ユニットによってAOD28を第2のモード(図2B参照)において動作させ,それぞれが振幅A1,A2,A3およびA4を有する各周波数の結合周波数F1,F2,F3およびF4を有するRF入力をAODに与えることによって同時に形成される。
振幅A1,A2,A3,およびA4は,各サブ・ビームのパルス・エネルギーがほぼ同等となるように選択されるが,上記第2のモードは上述の第1のモードと異なる特性を有するので,Eavailableが典型的にはEm未満となることが分かる。上記4つのサブ・ビームがミラー38A,38B,38Cおよび38Dを用いてレイヤ104を穿孔し,これら4つのサブ・ビームを用いた穿孔は,必要とされる適切な深さを有するレイヤ104の孔の穿孔が4本のサブ・ビーム全てについて完了するまで継続される。
図3Gに示す次の穿孔段階において,処理ユニット36は,AOD28を第2または第3のモードで動作させることによって,孔114および116に対して,1/4Eavailableよりも大きな,ほぼ割合(比率)の等しいパルス・エネルギー(approximately equal fractional pulse energies)Efを持つサブ・ビーム41Cおよび41Dを動作させる。孔114および116の穿孔は孔が上面108に到達するまで継続される。一例では,この時点で,孔114および116の穿孔に最終仕上げが施される。この仕上げは,一例として,2つのサブ・ビームのエネルギーをEfから0まで低下させることによって施されるものとする。孔114および116に対する2つのサブ・ビームのエネルギーが低下するとき,処理ユニット36は,孔110および112に対するサブ・ビーム41Aおよび41Bのパルス・エネルギーを0からEfまで上昇させて,孔110および112の穿孔を開始してもよい。エネルギーの低下および上昇は,上述の通り,処理ユニットによって適当なRF入力をAOD28に与えることによって実現される。
図3Hに示すように,処理ユニットは,上面108に到達するまで,パルス・エネルギーEfを用いた孔110および112の穿孔を継続する。一例では,処理ユニット36は,上面108の必要に応じた仕上げが完了するまで,上記パルス・エネルギーをEfに維持するものとする。仕上げが完了したとき,処理ユニットは孔110および112の穿孔を終了する。完成した孔を図3Iに示す。
図4A〜図4Iは,この発明の実施形態による,基板44Bの穿孔過程における様々な段階を示す概略図である。図4A〜図4Iは基板44Bの概略断面であり,図4Aが最初の段階に対応し,図4Iが最後の段階に対応する。
基板44Bは,穿孔が比較的困難な上側第1レイヤ202,穿孔が容易な第2レイヤ204,および穿孔されない第3レイヤ206を有するものとする。また,8つの孔209,210,212,214,216,218,220および222が上記基板に穿孔されるものとする。一例として,孔212,214,216,218,220および222が同一の直径D1を有し,孔209および210がD1よりも大きな同一直径D2を有するものとする。
一例において,8つの孔209,210,212,214,216,218,220および222は,ミラー38A,38B,38C,38D,38E,38F,38Gおよび38Hでそれぞれ反射された8つの分離した(独立の)サブ・ビーム41A,41B,41C,41D,41E,41F,41Gおよび41Hによって穿孔されるものとする。また,サブ・ビーム41A,・・・,41Hはそれぞれサブ・ビーム29A,・・・,29Hから形成される。
図4Aに示すように,処理ユニット36はまず,ミラー38Aによって方向が合わせられる,パルス・エネルギーE1および直径D2を持つサブ・ビーム41Aを用いて,孔209を穿孔する。レイヤ202の穿孔はレイヤ204の上面208に到達するまで継続され,そこに到達すると処理ユニットは孔209の穿孔を停止する。
図4Bに示すように,処理ユニット36は次に,ミラー38Bによって方向が合わせられる,パルス・エネルギーE1および直径D2を有するサブ・ビーム41Bを用いて孔210を穿孔する。この穿孔は上面208に到達するまで継続され,そこに到達すると,処理ユニットは孔210の穿孔を停止し,かつ孔212および214の穿孔を開始する。
孔212および214は直径が小さいので,図4Cに示すように,処理ユニット36はこれらの両孔を同時に穿孔する。両孔を穿孔するために,処理ユニットは同じパルス・エネルギーE2および直径D1を有する2つのサブ・ビーム41Cおよび41Dを生成する。ここで,E2は,E1のある割合(一部)(a fraction)である。ユニット36は2つのミラー38Cおよび38Dを用いてこれらサブ・ビームを各孔に向ける。また,処理ユニットは,典型的にはAOD28の第2の動作モードを用いて2つのサブ・ビームを生成するので,これらサブ・ビームのパルス繰返速度はビーム24のパルス繰返速度と等しい。
あるいは,上記2つのサブ・ビームを,AOD28に関して上述した一または複数の他の方法によって生成してもよい。たとえば,処理ユニットはAOD28を第1のモードで動作させて,2つの異なる入力周波数を切替えることもできる。この場合,2つのサブ・ビーム41Cおよび41Dは同じパルス・エネルギーを有するが,パルス繰返速度はビーム24のパルス繰返速度の1/2となる。
孔212および214の穿孔は各孔が上面208に到達するまで継続される。
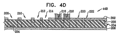
図4Dに示すように,孔212および214が上面208に到達すると,処理ユニットは穿孔を停止しかつ孔216および218の穿孔を開始する。孔216および218を穿孔するために,処理ユニット36は2つのサブ・ビーム41Eおよび41Fを生成し,2つのミラー38Eおよび38Fを用いてこれらのサブ・ビームを方向を合わせる。これらのサブ・ビームの生成方法は,典型的にはサブ・ビーム41C,41Dに関して上述した通りである。孔216および218の穿孔は,各孔が上面208に到達するまで継続される。
図4Eに示すように,孔216および218が上面208に到達すると,処理ユニットは穿孔を停止し,孔220および222の穿孔を開始する。孔220および222を穿孔するために,処理ユニット36は2本のサブ・ビーム41Gおよび41Hを生成し,2つのミラー38Gおよび38Hを用いてこれらのサブ・ビームの方向を合わせる。これらのサブ・ビームの生成方法は,典型的にはサブ・ビーム41C,41Dに関して上述した通りである。孔220および222の穿孔は,各孔が上面208に到達するまで継続される。
この時点で,基板44Bのレイヤ202における8つの孔の全て穿孔が完了する。
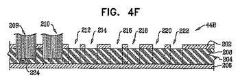
図4Fに示すように,処理ユニットは次に,レイヤ204に対する孔209および210の穿孔を開始する。レイヤ204はレイヤ202よりも穿孔が容易であるので,処理ユニット36は,2つのサブ・ビーム41Aおよび41Bを使用して,これら2つのサブ・ビームがE1よりも小さいほぼ同等のパルス・エネルギーを有するように設定する。処理ユニットは,レイヤ206の上面224に到達するまで孔209および210の穿孔を継続し,そこに到達するとサブ・ビーム41Aおよび41Bをオフする。
図4Gに示すように孔209および210が完成したら,処理ユニット36は,必要に応じて,典型的には基板44Bの他の領域をその後に穿孔するために,ミラー38Aおよび/または39Bの向きを再び合わせる(reorient)ことができる。
レイヤ204はレイヤ202よりも穿孔が容易である。このため,処理ユニット36は,典型的には孔212,214,216,218,220および222を,2つずつ3回に分けて穿孔するのではなく,3つずつ2回に分けて穿孔する。
図4Gに示すように,処理ユニット36はまず,孔212,214および216を穿孔する。処理ユニットは,これらの孔を穿孔するために,実質的には上述の通りで3つのサブ・ビーム41C,41Dおよび41Eを生成するが,これらのサブ・ビームのそれぞれは,E2のある割合(一部)(a fraction)である,同一のパルス・エネルギーE3を有する。あるいは,これら3つのサブ・ビームを,たとえば3つの異なる入力周波数の間で切替えるようにして,AOD28に関して上述した一または複数のその他の方法によって生成してもよい。この場合,3つのサブ・ビーム41C,41Dおよび41EはE1とほぼ同等のパルス・エネルギーを有するが,パルス繰返速度はビーム24のパルス繰返速度の1/3となる。
孔212,214および216の穿孔が完了すると,必要に応じて,処理ユニット36は基板44Bのその他の領域を穿孔するために,ミラー38C,38Dおよび/または38Eの向きを合わせることができる。
図4Hに示すように,処理ユニット36はその後,レイヤ202の穿孔に用いたサブ・ビームのパラメータを適宜変更したサブ・ビーム41F,41Gおよび41Hを用いて,図4Gを参照して上述したプロセスとほぼ同様にして,孔218,220および222を穿孔する。これらの孔の穿孔が完了すると,処理ユニット36は,基板の他の領域をその後に穿孔するために,必要に応じてミラー38F,28Gおよび/または38Hの向きを合わせることができる。
図4Iは全ての孔が穿孔された基板44Bの最終状態を示している。
図5は,この発明の実施形態による,基板44を穿孔するために処理ユニット36において実行されるステップを示すフローチャート250である。このフローチャートの各ステップは,図3A〜図3Iおよび図4A〜図4Iを参照して上述した,複数孔の穿孔工程に対応している。
ビーム生成ステップ252において,処理ユニット36は,図1を参照して説明したように,レーザ22を動作させて,ビームのパルス(複数)のトータル・エネルギーがEtJである単一の出力ビーム24を生成する。通常,パルス繰返速度は一定である。
ビーム分割ステップ254において,処理ユニット36は,RF入力をAOD28に供給することによって上記単一ビームを2つ以上のサブ・ビームに分割する。この単一ビームの分割は,図3Fおよび図4Cを参照して上記例示した通りである。上述のように,この分割によって,上記サブ・ビームのパルス・エネルギーを,ビーム24のトータル・エネルギーEtのある割合(比率,一部)(a fraction)とすることができる。
第1の穿孔ステップ256において,処理ユニット36は,図3Fおよび図4Cを参照して上述した通り,上記サブ・ビーム(複数)が複数孔のそれぞれの一部を同時に穿孔するように,上記サブ・ビーム(複数)を反射するミラー(複数)の向きを合わせる。
サブ・ビーム調整ステップ258において,処理ユニットは,上記サブ・ビーム(複数)の少なくとも1つのビームがステップ254のパルス・エネルギーと異なる割合のパルス・エネルギー(different fractional energy)を有するように,上記サブ・ビーム(複数)を調整(変更)する。
第2の穿孔ステップ260において,ユニット36は,調整された一または複数またはサブ・ビームを供給して各孔の穿孔を継続する。上記サブ・ビームの調整は,たとえば図3Gおよび図4Gを参照して説明した上記例示の通りである。
典型的には,処理ユニット36は,必要に応じてフローチャート250のすべてまたは一部のステップを繰返すことにより,特定基板の全ての孔を穿孔する。
当然のことながら,上述の実施形態は一例として挙げたものであって,この発明は,上記図示および説明した内容には何ら限定されない。むしろ,この発明の範囲には,上述した様々な特徴のコンビネーションおよびサブ・コンビネーション,ならびに上記説明の解釈によって当業者が想到し得る,従来技術に開示されていない変形例および改良例が含まれる。

Claims (8)

  1. レーザを動作させて,ビーム・パルスがあるトータル・エネルギーを有する単一の出力ビームを生成し,
    上記単一出力ビームを時間経過の中で複数のビームに分割し,
    上記複数のビームを多層基板上の複数の孔位置に当てる,
    種々同時性をもって多層基板に複数の孔をレーザ穿孔する方法であって,
    上記多層基板の複数層のそれぞれを穿孔するために実際に必要とされるエネルギー量に応じて,上記単一出力ビームから形成される複数のビームの数を制御して同時穿孔される複数孔の数を制御し,
    同時穿孔される上記複数孔の数の関数である上記トータル・エネルギーの第1の割合を占めるパルス・エネルギーを有する上記複数のビームのうちの対応する複数のビームを用いて,少なくとも2つの複数孔の一の層を同時穿孔し,
    その後,上記第1の割合と異なる,上記トータル・エネルギーの少なくとも第2の割合を占めるパルス・エネルギーをそれぞれが有する上記複数のビームのうちの少なくとも1つのビームを用いて,上記複数孔のうちの少なくとも1つの孔について少なくとも1つの追加層を穿孔する,
    方法。
  2. 上記第2の割合が上記少なくとも1つの追加層が穿孔される上記複数孔の数の関数である,請求項1に記載の方法。
  3. レーザを動作させて,あるトータル・パワーを有する単一の出力ビームを生成し,
    上記単一出力ビームを時間経過の中で複数のビームに分割し,
    上記複数のビームを多層基板上の複数の孔位置に当てる,
    種々同時性をもって多層基板に複数の孔をレーザ穿孔する方法であって,
    上記多層基板の複数層のそれぞれを穿孔するために実際に必要とされるエネルギー量に応じて,上記単一出力ビームから形成される複数のビームの数を制御して同時穿孔される複数孔の数を制御し,
    同時穿孔される上記複数孔の数の関数である上記トータル・パワーの第1の割合を占めるビーム・パワーを有する上記複数のビームのうちの対応する複数のビームを用いて,少なくとも2つの複数孔の一の層を同時穿孔し,
    その後,上記第1の割合と異なる,上記トータル・パワーの少なくとも第2の割合を占めるビーム・パワーをそれぞれが有する上記複数のビームのうちの少なくとも1つのビームを用いて,上記複数孔のうちの少なくとも1つの孔について少なくとも1つの追加層を穿孔する,
    方法。
  4. 上記第2の割合が上記少なくとも1つの追加層が穿孔される上記複数孔の数の関数である,請求項3に記載の方法。
  5. 上記単一出力ビームが,あるパルス繰返速度で生成された単一ビーム・パルス・エネルギーを有する複数のパルスを含み,
    上記複数孔の上記一の層を穿孔する上記複数のビームのうちの対応する複数のビームが,上記パルス繰返速度の第1の割合を占めるパルス繰返速度と,上記単一ビーム・パルス・エネルギーの上記第1の割合を占めるパルス・エネルギーとを有する複数のパルスを含み,
    上記複数孔のうちの少なくとも1つについて少なくとも1つの追加層を穿孔する上記複数のビームのうちの少なくとも1つのビームが,上記パルス繰返速度の第2の割合を占めるパルス繰返速度と,上記単一ビーム・パルス・エネルギーの上記第2の割合を占めるパルス・エネルギーとを有する複数のパルスを含む,
    請求項3または4に記載の方法。
  6. 上記複数孔の少なくとも1つについて少なくとも1つの追加層を穿孔する上記複数のビームのうちの少なくとも1つのビームが,上記パルス繰返速度の約数と,上記単一ビーム・パルス・エネルギーの関数であるパルス・エネルギーとを有する複数のパルスを含み,上記約数および関数が上記第2の割合に応じて選択される,請求項5に記載の方法。
  7. 上記複数孔の上記一の層を穿孔する上記複数のビームのうちの対応する複数のビームが,上記第1の割合に応じて選択された上記パルス繰返速度の第1の約数と,上記単一ビーム・パルス・エネルギーの第1の関数であるパルス・エネルギーとを有する複数のパルスを含む,請求項5に記載の方法。
  8. 上記複数孔の少なくとも1つについて少なくとも1つの追加層を穿孔する上記複数のビームのうちの少なくとも1つのビームが,上記パルス繰返速度の第2の約数と,上記単一ビーム・パルス・エネルギーの第2の関数であるパルス・エネルギーとを有する複数のパルスを含み,上記第2の約数および第2の関数が上記第2の割合に応じて選択される,請求項7に記載の方法。
JP2010541887A 2008-01-10 2009-01-11 多重ビーム穿孔システム Active JP5659020B2 (ja)

Applications Claiming Priority (3)

Application Number Priority Date Filing Date Title
US2027308P 2008-01-10 2008-01-10
US61/020,273 2008-01-10
PCT/IL2009/000042 WO2009087639A2 (en) 2008-01-10 2009-01-11 Multiple beam drilling system

Publications (2)

Publication Number Publication Date
JP2011523373A JP2011523373A (ja) 2011-08-11
JP5659020B2 true JP5659020B2 (ja) 2015-01-28

Family

ID=40853536

Family Applications (2)

Application Number Title Priority Date Filing Date
JP2010541886A Active JP5443390B2 (ja) 2008-01-10 2009-01-11 多重ミラー較正システム
JP2010541887A Active JP5659020B2 (ja) 2008-01-10 2009-01-11 多重ビーム穿孔システム

Family Applications Before (1)

Application Number Title Priority Date Filing Date
JP2010541886A Active JP5443390B2 (ja) 2008-01-10 2009-01-11 多重ミラー較正システム

Country Status (5)

Country Link
US (2) US8395083B2 (ja)
JP (2) JP5443390B2 (ja)
KR (2) KR101528385B1 (ja)
CN (2) CN101909804B (ja)
WO (2) WO2009087639A2 (ja)

Families Citing this family (19)

* Cited by examiner, † Cited by third party
Publication number Priority date Publication date Assignee Title
CN103066479A (zh) * 2012-12-14 2013-04-24 青岛镭创光电技术有限公司 激光晶体装配装置及方法
CN103394809A (zh) * 2013-08-06 2013-11-20 孙树峰 汽车喷油器微细喷油孔飞秒激光高效精密加工装置及方法
EP2902148B1 (en) 2013-11-25 2019-08-28 Preco, Inc. High density galvo housing for use with multiple laser beams ; galvo system and laser beam processing system with such housing
CN103658975B (zh) * 2013-12-03 2017-02-15 张立国 一种激光分束加工装置
US10239155B1 (en) * 2014-04-30 2019-03-26 The Boeing Company Multiple laser beam processing
US9269149B2 (en) 2014-05-08 2016-02-23 Orbotech Ltd. Calibration of a direct-imaging system
CN106575077A (zh) 2014-08-07 2017-04-19 奥宝科技有限公司 Lift印刷系统
US10193004B2 (en) 2014-10-19 2019-01-29 Orbotech Ltd. LIFT printing of conductive traces onto a semiconductor substrate
KR102446523B1 (ko) 2014-11-12 2022-09-22 오르보테크 엘티디. 다중 출력 빔을 갖는 음향-광학 편향기
CN107208256B (zh) 2015-01-19 2020-08-11 奥博泰克有限公司 使用牺牲支持体的三维金属结构体的打印
KR20180030609A (ko) * 2015-07-09 2018-03-23 오르보테크 엘티디. Lift 토출 각도의 제어
IL258026B2 (en) 2015-11-22 2023-03-01 Orbotech Ltd Control of surface properties in 3D printed structures
KR102406333B1 (ko) * 2016-11-18 2022-06-08 아이피지 포토닉스 코포레이션 재료 가공 레이저 시스템 및 방법
TW201901887A (zh) 2017-05-24 2019-01-01 以色列商奧寶科技股份有限公司 於未事先圖樣化基板上電器互連電路元件
US10330460B2 (en) 2017-06-13 2019-06-25 Raytheon Company Calibration method and system for a fast steering mirror
CN107199408A (zh) * 2017-07-25 2017-09-26 英诺激光科技股份有限公司 采用多束超快激光减小切割锥度提升切割速度的方法
CN107907876A (zh) * 2017-11-27 2018-04-13 合肥通彩自动化设备有限公司 一种激光定位系统及方法
EP3521483A1 (en) * 2018-02-06 2019-08-07 Nederlandse Organisatie voor toegepast- natuurwetenschappelijk onderzoek TNO Lift deposition apparatus and method
WO2020225810A1 (en) 2019-05-07 2020-11-12 Orbotech Ltd. Lift printing using thin donor foils

Family Cites Families (15)

* Cited by examiner, † Cited by third party
Publication number Priority date Publication date Assignee Title
US4270130A (en) * 1979-01-08 1981-05-26 Eastman Kodak Company Thermal deformation record device with bleachable dye
US4822974A (en) * 1988-02-18 1989-04-18 United Technologies Corporation Laser hold drilling system with lens and two wedge prisms including axial displacement of at least one prism
JP3691221B2 (ja) * 1997-09-24 2005-09-07 三菱電機株式会社 レーザ加工方法
DE19831340C1 (de) * 1998-07-13 2000-03-02 Siemens Ag Verfahren und Anordnung zum Kalibrieren einer Laserbearbeitungsmaschine zum Bearbeiten von Werkstücken
JP3553451B2 (ja) * 2000-02-18 2004-08-11 独立行政法人 科学技術振興機構 光干渉断層像観測装置
US6433043B1 (en) * 2000-11-28 2002-08-13 Transitions Optical, Inc. Removable imbibition composition of photochromic compound and kinetic enhancing additive
CN1131122C (zh) * 2001-05-10 2003-12-17 中国科学技术大学 一种激光打孔装置及其二步打孔方法
JP4113495B2 (ja) * 2001-06-13 2008-07-09 オーボテック リミテッド マルチビーム微細機械加工システム及び方法
US7065121B2 (en) * 2001-07-24 2006-06-20 Gsi Group Ltd. Waveguide architecture, waveguide devices for laser processing and beam control, and laser processing applications
DE10145184B4 (de) * 2001-09-13 2005-03-10 Siemens Ag Verfahren zum Laserbohren, insbesondere unter Verwendung einer Lochmaske
KR100759544B1 (ko) * 2001-09-24 2007-09-18 삼성에스디아이 주식회사 이중 다이나믹 포커스 전자총
US6740847B1 (en) 2003-03-10 2004-05-25 Siemens Vdo Automotive Corporation Method of forming multiple machining spots by a single laser
US9022037B2 (en) * 2003-08-11 2015-05-05 Raydiance, Inc. Laser ablation method and apparatus having a feedback loop and control unit
JP3872462B2 (ja) * 2003-09-01 2007-01-24 住友重機械工業株式会社 レーザ加工装置、及びレーザ加工方法
US7521651B2 (en) * 2003-09-12 2009-04-21 Orbotech Ltd Multiple beam micro-machining system and method

Also Published As

Publication number Publication date
JP2011523373A (ja) 2011-08-11
WO2009087639A2 (en) 2009-07-16
WO2009087638A3 (en) 2010-03-11
US20100328643A1 (en) 2010-12-30
KR101540137B1 (ko) 2015-07-28
WO2009087638A2 (en) 2009-07-16
CN101910787B (zh) 2013-03-13
JP2011510817A (ja) 2011-04-07
CN101909804A (zh) 2010-12-08
KR101528385B1 (ko) 2015-06-11
US8395083B2 (en) 2013-03-12
JP5443390B2 (ja) 2014-03-19
KR20100113068A (ko) 2010-10-20
US20100282726A1 (en) 2010-11-11
CN101910787A (zh) 2010-12-08
KR20100102654A (ko) 2010-09-24
CN101909804B (zh) 2014-10-22
US8390795B2 (en) 2013-03-05
WO2009087639A3 (en) 2010-03-11

Similar Documents

Publication Publication Date Title
JP5659020B2 (ja) 多重ビーム穿孔システム
US7176409B2 (en) Multiple beam micromachining system for removing at least two different layers of a substrate
DE102004043895A1 (de) Mehrstrahliges Mikro-Bearbeitungssystem und Verfahren
CN106067432B (zh) 用于切割晶元的方法和设备
EP2377375B1 (en) Method and apparatus for laser machining relatively narrow and relatively wide structures
TW202105863A (zh) 雷射加工設備、其操作方法以及使用該雷射加工設備加工工件的方法
CN1213997A (zh) 采用可变功率密度的紫外激光脉冲在多层靶上形成盲通道的方法
JP2014523347A (ja) 工作物を機械加工する、特に切削工具を製造するための方法および装置
DE112005001418T5 (de) Halbleiterstruktur-Bearbeitung unter Verwendung von mehreren Laserstrahlpunkten
DE102009047995B3 (de) Verfahren zur gratfreien trennenden Bearbeitung von Werkstücken
KR20210154813A (ko) 레이저 가공 장치, 레이저 가공 시스템, 로테이터 유닛 장치, 레이저 가공 방법 및 프로브 카드의 생산 방법
DE112006001294T5 (de) Bearbeitung mit synthetischer Impulswiederholungsrate für Mikrobearbeitungssysteme mit Doppelkopflaser
TWI460040B (zh) 於一基板中具有變化同時性之雷射鑽孔方法
KR102727762B1 (ko) 재료를 가공하기 위한 방법
RU2492036C1 (ru) Способ пробивки микроотверстий лазерным импульсным излучением
DE102024203187A1 (de) Verfahren zum Laserbohren und Laserbohranlage
TW202600274A (zh) 雷射加工設備、其操作方法以及使用該雷射加工設備加工工件的方法

Legal Events

Date Code Title Description
A621 Written request for application examination

Free format text: JAPANESE INTERMEDIATE CODE: A621

Effective date: 20111104

A131 Notification of reasons for refusal

Free format text: JAPANESE INTERMEDIATE CODE: A131

Effective date: 20130319

A977 Report on retrieval

Free format text: JAPANESE INTERMEDIATE CODE: A971007

Effective date: 20130322

A601 Written request for extension of time

Free format text: JAPANESE INTERMEDIATE CODE: A601

Effective date: 20130619

A602 Written permission of extension of time

Free format text: JAPANESE INTERMEDIATE CODE: A602

Effective date: 20130626

A601 Written request for extension of time

Free format text: JAPANESE INTERMEDIATE CODE: A601

Effective date: 20130717

A602 Written permission of extension of time

Free format text: JAPANESE INTERMEDIATE CODE: A602

Effective date: 20130724

A601 Written request for extension of time

Free format text: JAPANESE INTERMEDIATE CODE: A601

Effective date: 20130819

A602 Written permission of extension of time

Free format text: JAPANESE INTERMEDIATE CODE: A602

Effective date: 20130826

A521 Request for written amendment filed

Free format text: JAPANESE INTERMEDIATE CODE: A523

Effective date: 20130918

A131 Notification of reasons for refusal

Free format text: JAPANESE INTERMEDIATE CODE: A131

Effective date: 20140225

A601 Written request for extension of time

Free format text: JAPANESE INTERMEDIATE CODE: A601

Effective date: 20140523

A602 Written permission of extension of time

Free format text: JAPANESE INTERMEDIATE CODE: A602

Effective date: 20140530

A601 Written request for extension of time

Free format text: JAPANESE INTERMEDIATE CODE: A601

Effective date: 20140624

A602 Written permission of extension of time

Free format text: JAPANESE INTERMEDIATE CODE: A602

Effective date: 20140701

A521 Request for written amendment filed

Free format text: JAPANESE INTERMEDIATE CODE: A523

Effective date: 20140711

TRDD Decision of grant or rejection written
A01 Written decision to grant a patent or to grant a registration (utility model)

Free format text: JAPANESE INTERMEDIATE CODE: A01

Effective date: 20141111

A61 First payment of annual fees (during grant procedure)

Free format text: JAPANESE INTERMEDIATE CODE: A61

Effective date: 20141201

R150 Certificate of patent or registration of utility model

Ref document number: 5659020

Country of ref document: JP

Free format text: JAPANESE INTERMEDIATE CODE: R150

R250 Receipt of annual fees

Free format text: JAPANESE INTERMEDIATE CODE: R250

R250 Receipt of annual fees

Free format text: JAPANESE INTERMEDIATE CODE: R250

R250 Receipt of annual fees

Free format text: JAPANESE INTERMEDIATE CODE: R250

R250 Receipt of annual fees

Free format text: JAPANESE INTERMEDIATE CODE: R250

R250 Receipt of annual fees

Free format text: JAPANESE INTERMEDIATE CODE: R250

R250 Receipt of annual fees

Free format text: JAPANESE INTERMEDIATE CODE: R250

R250 Receipt of annual fees

Free format text: JAPANESE INTERMEDIATE CODE: R250

R250 Receipt of annual fees

Free format text: JAPANESE INTERMEDIATE CODE: R250

R250 Receipt of annual fees

Free format text: JAPANESE INTERMEDIATE CODE: R250