JP5532547B2 - Working method - Google Patents

Working method Download PDF

Info

Publication number
JP5532547B2
JP5532547B2 JP2008133472A JP2008133472A JP5532547B2 JP 5532547 B2 JP5532547 B2 JP 5532547B2 JP 2008133472 A JP2008133472 A JP 2008133472A JP 2008133472 A JP2008133472 A JP 2008133472A JP 5532547 B2 JP5532547 B2 JP 5532547B2
Authority
JP
Japan
Prior art keywords
floor
work
ceiling
various
lifting
Prior art date
Legal status (The legal status is an assumption and is not a legal conclusion. Google has not performed a legal analysis and makes no representation as to the accuracy of the status listed.)
Expired - Fee Related
Application number
JP2008133472A
Other languages
Japanese (ja)
Other versions
JP2009281029A (en
Inventor
信行 浅田
清豪 広瀬
達也 西村
Current Assignee (The listed assignees may be inaccurate. Google has not performed a legal analysis and makes no representation or warranty as to the accuracy of the list.)
Obayashi Corp
Original Assignee
Obayashi Corp
Priority date (The priority date is an assumption and is not a legal conclusion. Google has not performed a legal analysis and makes no representation as to the accuracy of the date listed.)
Filing date
Publication date
Application filed by Obayashi Corp filed Critical Obayashi Corp
Priority to JP2008133472A priority Critical patent/JP5532547B2/en
Publication of JP2009281029A publication Critical patent/JP2009281029A/en
Application granted granted Critical
Publication of JP5532547B2 publication Critical patent/JP5532547B2/en
Expired - Fee Related legal-status Critical Current
Anticipated expiration legal-status Critical

Links

Images

Landscapes

  • Movable Scaffolding (AREA)

Description

本発明は、作業方法に関し、特に、建築物の屋内において、床面の上部に配置された机、椅子等の備品の上方の天井部に対して行う各種の工事に有効な作業方法に関する。 The present invention relates to a working method , and more particularly, to a working method effective for various kinds of work performed on a ceiling portion above a fixture such as a desk and a chair arranged on the upper surface of a floor in a building.

一般に、オフィルビル等の既設の建築物においては、屋内の床面上に多数の机、椅子等の備品が配置されており、これらの備品を用いて各種の業務が行われている。   In general, in an existing building such as an office building, a lot of equipment such as desks and chairs are arranged on an indoor floor surface, and various operations are performed using these equipment.

また、上記のような構成の建築物においては、屋内の天井部に対して各種の工事(天井面の改修工事、天井裏の配管、配線等の改修工事、天井面の照明器具の取り替え工事など)を行うことがあり、この場合、天井部が屋内の高所にあるため、各種の作業足場を用いて天井部に対して各種の工事を行っている。   In addition, for buildings with the above-mentioned structure, various constructions for the ceiling of the interior (ceiling surface repair work, ceiling back piping, wiring repair work, ceiling surface lighting fixture replacement work, etc. In this case, since the ceiling part is at an indoor high place, various constructions are performed on the ceiling part using various work scaffolds.

この種の作業足場の一例が特許文献1に記載されている。この作業足場は、枠組みと、枠組み内に水平に架け渡された作業床と、枠組みに組み込まれるとともに、枠組みの一部を上下方向に移動させることにより、作業床を上下方向に昇降させる昇降手段とを備えており、このような構成の作業足場を用いることにより、天井部に対して行う各種の工事の作業性を高めることができ、各種の工事を効率良く行うことができる。
特開平10−110526号公報
An example of this type of work scaffold is described in Patent Document 1. This work scaffold is constructed by a framework, a work floor horizontally spanned in the framework, and a lifting means that moves up and down the work floor by moving a part of the framework up and down while being incorporated in the framework. By using the work scaffold with such a configuration, workability of various constructions performed on the ceiling can be improved, and various constructions can be performed efficiently.
JP-A-10-110526

ところで、上記のような構成の作業足場にあっては、屋内の天井部に対して各種の工事を行う際に、天井部の下方の床面上に机、椅子等の備品が配置されている場合、枠組みの構造上、それらの備品が邪魔になるため、それらの備品を他の場所に移動させた上で作業足場を配置しなければならず、その作業に多大な労力と時間と手間がかかる。   By the way, in the work scaffold having the above-described configuration, when various kinds of construction are performed on the indoor ceiling portion, fixtures such as desks and chairs are arranged on the floor surface below the ceiling portion. In this case, because of the structure of the framework, those fixtures are in the way, so it is necessary to arrange the work scaffolds after moving those fixtures to other places, which requires a great deal of labor, time and labor. Take it.

また、天井部に対して行う各種の工事の休止時においては、作業足場を他の場所に移動させなければならないとともに、机等の備品を元の位置に戻して、通常の業務に支障のない状態に復帰させなければならず、その作業に多大な労力と時間と手間がかかる。   In addition, when various kinds of work to be performed on the ceiling are suspended, the work platform must be moved to another location, and the desk and other equipment must be returned to their original positions so that normal operations are not hindered. It must be restored to the state, and the work takes a lot of labor, time and labor.

本発明は、上記のような従来の問題に鑑みなされたものであって、建築物の屋内において、床面の上部に配置された机、椅子等の備品の上方の天井部に対して各種の工事を行う際に、机、椅子等の備品を移動させることなく天井部に対して各種の工事を行うことができ、これにより、天井部に対して行う各種の工事の作業性を高めることができ、各種の工事の作業効率を大幅に高めることができる、作業方法を提供することを目的とする。 The present invention has been made in view of the above-described conventional problems, and various types of indoor ceilings of a building, such as desks, chairs, and other fixtures arranged above the floor surface. When performing construction, it is possible to perform various constructions on the ceiling without moving desks, chairs, and other fixtures, thereby improving the workability of various constructions performed on the ceiling. It is possible to provide a work method that can greatly improve the work efficiency of various constructions.

上記のような課題を解決するために、本発明は、以下のような手段を採用している。
すなわち、本発明は、床面の上部に各種の備品が配置される建築物の屋内において、前記各種の備品を避けて前記各種の備品の上方の天井部に対して行う各種の工事の作業方法であって、前記天井部の一部に対応するように、該天井部の一部の下方の前記床面の上部に、前記床面上を移動可能な移動台と、該移動台の上部に立設されるとともに、上下方向に進退可能なロッドを有するアクチュエータとを備えた複数の昇降部材を有する昇降手段を、前記各種の備品を避けて配置するとともに、該昇降手段の複数の昇降部材のアクチュエータのロッドの上端部間に、該昇降手段の隣接する昇降部材のアクチュエータのロッドの上端の凹部に両端部を嵌合させることにより、該隣接する昇降部材のアクチュエータのロッドの上端間に着脱自在に水平に取り付けられる梁と、該隣接する梁の上面側の長手方向の両端部間、及び中央部間にそれぞれ着脱自在に取り付けられる根太とからなるフレームと、該フレームの根太の上部に、該フレームの内側の開口を閉塞するように着脱自在に取り付けられる複数の床材とからなる作業床を、前記各種の備品を跨いだ状態架け渡して、該作業床を前記複数の昇降部材のアクチュエータのロッドの進退に追従して上下方向に昇降可能とするとともに、前記作業床の下面に照明器具を取り付け、前記各種の備品の上方の前記天井部の一部に対して各種の工事を行う際には、前記昇降手段の複数の昇降部材のアクチュエータのロッドの進退に追従して前記作業床を昇降させて、該作業床を前記各種の備品の上方の所定の位置に位置決めして、前記天井部の一部に対して各種の工事を行い、前記天井部の一部に対する各種の工事の休止時には、前記昇降手段の複数の昇降部材のアクチュエータのロッドの進退に追従して前記作業床を昇降させて、該作業床を前記天井部の下面側に密着又は近接した位置に位置決めすることを特徴とする。
In order to solve the above problems, the present invention employs the following means.
That is, the present invention is a method for performing various constructions on a ceiling portion above various types of equipment while avoiding the various types of equipment in a building where various types of equipment are arranged on the upper surface of the floor. A movable table that is movable on the floor surface, and a movable table that is movable on the floor surface, so as to correspond to a part of the ceiling portion; Elevating means having a plurality of elevating members provided with an actuator having a rod that can be moved up and down in an up-and-down direction is disposed avoiding the various fixtures, and a plurality of elevating members of the elevating means By fitting both ends into the concave portion of the upper end of the actuator rod of the lifting member adjacent to the lifting means between the upper end portions of the actuator rod, it is detachable between the upper ends of the actuator rods of the adjacent lifting member. Water A frame comprising: a beam attached to the upper surface of the adjacent beam; and a joist that is detachably attached between both ends in the longitudinal direction on the upper surface side of the adjacent beam; and a center joist of the frame; the work bed of a plurality of flooring which is detachably attached so as to close the inside of the opening, and hung in a state straddling the various fixtures, rods the working floor of the actuator of the plurality of elevating members When performing various constructions on a part of the ceiling part above the various fixtures by attaching a lighting fixture to the lower surface of the work floor Following the advance and retreat of the rods of the actuators of the plurality of lifting members of the lifting means, the working floor is moved up and down, the working floor is positioned at a predetermined position above the various fixtures, and the ceiling portion Various work is performed on a part, and when the various work on the part of the ceiling is suspended, the work floor is moved up and down following the advance and retreat of the actuator rods of the lift members of the lift means. The work floor is positioned at a position in close contact with or close to the lower surface side of the ceiling portion.

本発明の作業方法によれば、昇降手段の移動台、昇降部材、及び作業床が各種の備品(机、椅子等)を避けて配置されるので、各種の備品を移動させることなく、各種の備品の上方の天井部の一部に対して各種の工事を行うことができる。また、作業床は、天井部の一部に対する各種の工事を行う際に、複数の昇降部材のアクチュエータのロッドの進退に追従して作業床を昇降させることにより、作業床を各種の備品の上方の所定の位置に位置決めすることができるとともに、天井部の一部に対する各種の工事の休止時には、作業床を天井部の下面側に密着又は近接した位置に位置決めすることができるので、天井部の一部に対して各種の工事を行う際に各種の備品が邪魔になるようなことはなく、また、休止時に作業床が各種の備品を用いて行う通常の業務の邪魔になることもない。
また、天井部に対する各種の工事の休止時に、作業床の下面の証明器具を、床面上に配置されている各種の備品を利用して行う通常の業務の証明として使用することができる。
According to the working method of the present invention, the moving platform of the elevating means, the elevating member, and the work floor are arranged avoiding various types of equipment (desks, chairs, etc.), so that various types of equipment can be used without moving various types of equipment. Various constructions can be performed on a part of the ceiling above the fixture. In addition, when performing various types of work on a part of the ceiling, the work floor is moved above and below various fixtures by moving the work floor up and down following the advance and retreat of the actuator rods of a plurality of lifting members. The work floor can be positioned in close contact with or close to the lower surface side of the ceiling part when various works are suspended for a part of the ceiling part. Various kinds of equipment do not get in the way when performing various kinds of construction work on a part, and the work floor does not disturb the normal work performed using various kinds of equipment during a stoppage.
Further, when various works on the ceiling portion are suspended, the certification device on the lower surface of the work floor can be used as a proof of normal work performed using various fixtures arranged on the floor surface.

以上、説明したように、本発明の作業方法によれば、床面の上部に配置された机、椅子等の備品の上方の天井部の一部に対して各種の工事を行う際や該工事の休止時に、机、椅子等の備品を移動させる必要がない。従って、机、椅子等の備品を移動させる作業や、机、椅子等の備品を元の位置に戻す作業が不要になるので、天井部の一部に対して行う各種の工事の作業性を高めることができ、各種の工事の作業効率を大幅に高めることができる。
また、天井部の一部に対して行う各種の工事の休止時には、作業床を机、椅子等の備品の上方の天井部に密着又は近接させておくことができるので、作業床が机、椅子等の備品を用いて行う通常の業務の邪魔になることはない。さらに、天井部の一部に対する工事によって天井部から照明器具を取り外した場合には、作業床の下面側に取り付けた照明器具を照明として利用することができるので、通常の業務に支障をきたすようなことはない。
As described above, according to the working method of the present invention, when various kinds of constructions are performed on a part of the ceiling part above the fixtures such as desks and chairs arranged on the upper surface of the floor, the constructions are performed. There is no need to move equipment such as desks, chairs, etc. during the pause. This eliminates the need to move the equipment such as desks and chairs and return the equipment such as desks and chairs to their original positions, thus improving the workability of various constructions performed on a part of the ceiling. It is possible to greatly improve the work efficiency of various constructions.
In addition, when various types of work to be performed on a part of the ceiling are suspended, the work floor can be kept in close contact with or close to the ceiling above the fixtures such as desks and chairs. It will not interfere with normal business operations using equipment such as. In addition, if the lighting fixture is removed from the ceiling due to construction on a part of the ceiling, the lighting fixture attached to the lower surface of the work floor can be used as lighting, which may hinder normal operations. There is nothing wrong.

以下、図面を参照しながら本発明の実施の形態について説明する。   Hereinafter, embodiments of the present invention will be described with reference to the drawings.

図1〜図7には、本発明による作業方法の一実施の形態が示されている。図1は作業方法に用いる作業足場の全体を示す概略図、図2は作業足場を構成する各部材の説明図、図3は作業足場の昇降手段の組み立て手順を示す説明図、図4は作業足場のフレームの組み立て手順を示す説明図、図5は天井面の改修工事を示す説明図、図6は、天井裏の改修工事を示す説明図、図7は工事の休止時の状態を示す説明図である。
本発明の作業方法に用いられる作業足場100は、図1に示すように、既設の建築物の屋内において、天井部(天井面や天井裏等)に対して各種の工事(天井面の改修工事、天井裏の配管、配線等の改修工事、天井面の照明器具の取り替え工事等)を行う際に使用され、工事対象箇所の天井部の下方の床面10上に配置される机、椅子等の備品11を移動させることなく、その天井部に対して工事を行うことができるものである。
1 to 7 show an embodiment of a working method according to the present invention. FIG. 1 is a schematic view showing the entire work scaffold used in the work method, FIG. 2 is an explanatory view of each member constituting the work scaffold, FIG. 3 is an explanatory view showing an assembly procedure of lifting means of the work scaffold, and FIG. FIG. 5 is an explanatory diagram showing a ceiling surface renovation work, FIG. 6 is an explanatory diagram showing a ceiling back renovation work, and FIG. 7 is an explanatory diagram showing a state when the work is suspended. FIG.
As shown in FIG. 1, the work scaffold 100 used in the work method of the present invention is a variety of work (ceiling surface renovation work) on a ceiling portion (ceiling surface, back of the ceiling, etc.) inside an existing building. Desks, chairs, etc. that are used on the floor 10 below the ceiling of the construction site, etc. The work can be performed on the ceiling without moving the fixture 11.

作業足場100は、図1に示すように、工事対象箇所の天井部の下方の床面10上に机、椅子等の備品11を避けて配置される昇降手段110と、昇降手段110によって昇降可能に支持される作業床150とを備えており、工事対象箇所の天井部の下方の床面10上又はその近傍で組み立てられて使用される。   As shown in FIG. 1, the work platform 100 can be moved up and down by the lifting means 110 disposed on the floor surface 10 below the ceiling of the construction target site, avoiding the equipment 11 such as a desk and a chair, and the lifting means 110. And a work floor 150 supported by the floor, and is assembled and used on the floor surface 10 below the ceiling of the construction target site or in the vicinity thereof.

昇降手段110は、複数の昇降部材110a(本実施の形態では4つの昇降部材110a)と、各昇降部材110aを昇降させる駆動源とを備え、各昇降部材110aの上端間に作業床150が水平に架け渡された状態に取り付けられている。   The elevating means 110 includes a plurality of elevating members 110a (four elevating members 110a in the present embodiment) and a drive source for elevating each elevating member 110a, and the work floor 150 is horizontally disposed between the upper ends of the elevating members 110a. It is attached in a state of being stretched over.

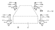
昇降部材110aは、シリンダ本体111と、シリンダ本体111から出没可能なロッド112と、ロッド112の上端部に取り付けられるとともに、上面側の中央部に後述する梁161の端部を支持する凹部113aを有する連結金具113とを備えた油圧シリンダであって、複数の車輪114aによって支持されて床面10上を移動可能な移動台114の上部に垂直に立設され、この移動台114の上方でロッド112が上下方向に進退可能に構成されている。   The elevating member 110a is attached to the cylinder main body 111, a rod 112 that can be projected and retracted from the cylinder main body 111, and an upper end portion of the rod 112, and a concave portion 113a that supports an end portion of a beam 161, which will be described later, in the central portion on the upper surface side. A hydraulic cylinder having a connecting metal fitting 113, which is vertically installed on an upper part of a movable table 114 supported by a plurality of wheels 114a and movable on the floor surface 10. A rod is disposed above the movable table 114. 112 is configured to be movable back and forth in the vertical direction.

駆動源は、油圧供給源、油圧供給源と昇降部材110aのシリンダ本体111とを接続する配管等から構成され、油圧供給源から配管を介してシリンダ本体111に油圧を供給することにより、ロッド112が上下方向に進退し、ロッド112の進退に追従してロッド112に支持される作業床150が上下方向に移動(昇降)する。   The drive source includes a hydraulic pressure supply source, a pipe connecting the hydraulic pressure supply source and the cylinder main body 111 of the elevating member 110a, and the rod 112 by supplying hydraulic pressure from the hydraulic pressure supply source to the cylinder main body 111 via the pipe. Advances and retreats in the up-and-down direction, and the work floor 150 supported by the rod 112 moves up and down (up and down) following the advance and retreat of the rod 112.

作業床150は、長方形状に形成されるものであって、4つの昇降部材110aのロッド112の上端間に水平に架け渡される、複数の鋼材を長方形状に枠組みして構成したフレーム160と、フレーム160の上部にフレーム160の内側の開口を閉塞するように取り付けられる複数の長方形板状の床材170とから構成され、この作業床150の長手方向の両端部の両隅部がそれぞれ一対の昇降部材110aによって昇降可能に支持されている。   The work floor 150 is formed in a rectangular shape, and is a frame 160 configured by horizontally framing a plurality of steel materials between the upper ends of the rods 112 of the four lifting members 110a. A plurality of rectangular plate-like flooring 170 attached to the upper part of the frame 160 so as to close the opening inside the frame 160, and both corners at both ends in the longitudinal direction of the work floor 150 are a pair. It is supported by the elevating member 110a so as to be movable up and down.

フレーム160は、作業床150の長手方向の両端部の両隅部に配置される各一対の昇降部材110a、110a間にそれぞれ着脱自在に水平に架設される梁161、161と、両梁161、161の上面側の長手方向の両端部間、及び中央部間にそれぞれ架設される3つの根太162とから構成され、この3つの根太162の上部に複数の床材170が取り付けられている。各根太162は、ねじ等の取付手段によって梁161の上部に着脱可能に取り付けられ、各床材170は、ねじ等の取付手段によって根太162の上部に着脱可能に取り付けられている。   The frame 160 includes beams 161 and 161 that are detachably mounted horizontally between a pair of elevating members 110a and 110a disposed at both corners of both ends in the longitudinal direction of the work floor 150, and both beams 161, 161 is composed of three joists 162 installed between both ends in the longitudinal direction on the upper surface side of 161 and between the middle parts, and a plurality of flooring materials 170 are attached to the upper parts of the three joists 162. Each joist 162 is detachably attached to the upper part of the beam 161 by attaching means such as screws, and each flooring 170 is detachably attached to the upper part of the joist 162 by attaching means such as screws.

各梁161は、角柱状の梁本体161aと、梁本体161aの長手方向の両端部に一体に設けられるとともに、下端部が梁本体161aの下面よりも下方に突出する棒状の取付部161bとから構成され、この取付部161bの下端部を昇降部材110aのロッド112の上端の連結金具113の凹部113a内に嵌合させることで、各一対の昇降部材110a、110a間に各梁161が着脱自在に取り付けられる。   Each beam 161 includes a prism-shaped beam main body 161a and a rod-shaped attachment portion 161b that is integrally provided at both ends in the longitudinal direction of the beam main body 161a and whose lower end protrudes below the lower surface of the beam main body 161a. The beam 161 is detachable between each pair of lifting members 110a and 110a by fitting the lower end portion of the mounting portion 161b into the recess 113a of the coupling metal 113 at the upper end of the rod 112 of the lifting member 110a. Attached to.

上記のような構成の作業足場100は、以下のような手順に従って組み立てられる。
まず、図2に示すように、昇降部材110a、梁161、作業床150、及び根太162に分解した状態で作業足場100を工事対象箇所の近傍の床面10上に搬入し、次に、図3に示すように、工事対象箇所の天井部の下方の床面10上に配置されている机、椅子等の備品11を避けて、備品11の外側の四隅に備品11を両側から挟むように一対の昇降部材110a、110aをそれぞれ配置し、各昇降部材110aのシリンダ本体111を配管を介して油圧供給源に接続し、備品11を囲むように備品11の外側に昇降手段110を構成する。
The work scaffold 100 configured as described above is assembled according to the following procedure.
First, as shown in FIG. 2, the work scaffold 100 is carried on the floor surface 10 in the vicinity of the construction target site in a state where the work scaffold 100 is disassembled into the elevating member 110a, the beam 161, the work floor 150, and the joist 162. As shown in FIG. 3, the equipment 11 such as desks and chairs arranged on the floor 10 below the ceiling of the construction target site is avoided, and the equipment 11 is sandwiched from both sides at the four corners outside the equipment 11. A pair of elevating members 110a and 110a are arranged, the cylinder main body 111 of each elevating member 110a is connected to a hydraulic pressure supply source via a pipe, and the elevating means 110 is configured outside the equipment 11 so as to surround the equipment 11.

次に、図4に示すように、各一対の昇降部材110aのロッド112の上端の連結金具113の凹部113a内に梁161の両端部の取付部161bを嵌合させ、各一対の昇降部材110aのロッド112の上端間に梁161を水平に架設するとともに、両梁161、161の上面側の長手方向の両端部間、及び中央部間にそれぞれ根太162をねじ等の取付手段によって取り付け、4つの昇降部材110aのロッド112の上端部間で2つの梁161と3つの根太162とからなるフレーム160を支持する。   Next, as shown in FIG. 4, the mounting portions 161b at both ends of the beam 161 are fitted into the recesses 113a of the connecting fitting 113 at the upper end of the rod 112 of each pair of lifting members 110a, and each pair of lifting members 110a. The beam 161 is horizontally installed between the upper ends of the rods 112, and the joists 162 are attached by means of attachment means such as screws, between the longitudinal ends of the upper surfaces of the beams 161 and 161, and between the central portions. A frame 160 composed of two beams 161 and three joists 162 is supported between the upper ends of the rods 112 of the two lifting members 110a.

次に、図1に示すように、フレーム160の根太162の上部にフレーム160の内側の開口を閉塞するように複数の床材170を配置し、各床材170をねじ等の取付手段によって根太162に取り付ける。このようにして、4つの昇降部材110aのロッド112の上端間にフレーム160と複数の床材170とからなる長方形状の作業床150を水平に架設することにより、4つの昇降部材110aのロッド112の上下方向への移動に追従して作業床150を上下方向に移動(昇降)させることが可能な作業足場100を組み立てることができる。   Next, as shown in FIG. 1, a plurality of flooring materials 170 are arranged on the upper part of the joist 162 of the frame 160 so as to close the opening inside the frame 160, and each flooring 170 is attached to the joist by means such as screws. Attach to 162. In this manner, the rectangular work floor 150 including the frame 160 and the plurality of flooring materials 170 is horizontally installed between the upper ends of the rods 112 of the four lifting members 110a, whereby the rods 112 of the four lifting members 110a. The work scaffold 100 capable of moving (moving up and down) the work floor 150 in the up and down direction following the movement in the up and down direction can be assembled.

なお、作業足場100を分解する場合には、上述した逆の手順を経ることにより、図2に示すような昇降部材110a、梁161、根太162、床材170に分解することができる。   When disassembling the work scaffold 100, the elevating member 110a, the beam 161, the joist 162, and the flooring 170 as shown in FIG.

次に、上記のように構成した作業足場100を用いて行う、天井部に対する各種の工事(天井面の改修工事、天井裏の配管、配線等の改修工事、天井面の照明器具の取り替え工事等)の作業方法について説明する。   Next, various work on the ceiling part (ceiling surface repair work, ceiling back piping, wiring repair work, ceiling light fixture replacement work, etc.) performed using the work platform 100 configured as described above ) Will be described.

まず、上記したような手順に従って、工事対象箇所の天井部の下方の床面10上に配置されている机、椅子等の備品11を避けて作業足場100を組み立て、作業足場100の4つの昇降部材110aを机、椅子等の備品11の外側に備品11を囲むように配置し、4つの昇降部材110aのロッド112の上端間に作業床150を水平に架設し、机、椅子等の備品11の上方において作業床150を上下方向に移動可能に構成する。   First, in accordance with the above-described procedure, the work scaffold 100 is assembled by avoiding the fixtures 11 such as desks and chairs disposed on the floor surface 10 below the ceiling of the construction target location, and the four lifts of the work scaffold 100 are performed. The member 110a is arranged outside the fixture 11 such as a desk and a chair so as to surround the fixture 11, and a work floor 150 is horizontally installed between the upper ends of the rods 112 of the four elevating members 110a. The work floor 150 is configured to be movable up and down.

この場合、各昇降部材110aは、床面10上を移動可能な移動台114を備えているので、机、椅子等の備品11の外側の所定の位置に容易に位置決めすることができるとともに、作業床150を取り付けた後においても、作業床150の位置の微調整をすることもできる。   In this case, each of the elevating members 110a includes the movable table 114 that can move on the floor surface 10, so that it can be easily positioned at a predetermined position outside the fixture 11, such as a desk or chair, Even after the floor 150 is attached, the position of the work floor 150 can be finely adjusted.

なお、作業足場100は、机、椅子等の備品11から離れた位置で組み立てた後に、床面10上を移動させて、机、椅子等の備品11の上方に作業床150を配置するように、構成してもよい。   In addition, after assembling the work scaffold 100 at a position distant from the equipment 11 such as a desk and a chair, the work scaffold 100 is moved on the floor surface 10 so that the work floor 150 is disposed above the equipment 11 such as the desk and chair. May be configured.

次に、作業足場100の作業床150の上面側の周縁部に複数本の支柱201を垂直に取り付け、隣接する支柱201、201間にロープ202を架け渡し、作業床150の上面側に複数の支柱201とロープ202とからなる落下防止用の手すり200を設置し、作業者の安全を確保する。   Next, a plurality of struts 201 are vertically attached to the peripheral portion on the upper surface side of the work floor 150 of the work platform 100, the rope 202 is bridged between the adjacent struts 201, 201, and a plurality of struts 201 are disposed on the upper surface side of the work floor 150. A handrail 200 for preventing fall that includes a support 201 and a rope 202 is installed to ensure the safety of the operator.

そして、4つの昇降部材110aの作動によって作業床150を昇降させて、作業床150を上下方向の所定の位置に位置決めすることにより、この位置決めした作業床150を利用して天井部に対して各種の工事を行うことができる。   Then, the work floor 150 is moved up and down by the operation of the four lifting members 110a, and the work floor 150 is positioned at a predetermined position in the vertical direction. Can be done.

例えば、図5に示すように、机、椅子等の備品11の近傍に位置決めした作業床150を利用して、天井面20の改修工事等を行うことができる。また、図6に示すように、天井面20の近傍に位置決めした作業床150を利用して、天井裏21の配管、配線等の改修工事を行うことができる。   For example, as shown in FIG. 5, repair work or the like of the ceiling surface 20 can be performed using a work floor 150 positioned in the vicinity of the fixture 11 such as a desk or a chair. In addition, as shown in FIG. 6, the work floor 150 positioned in the vicinity of the ceiling surface 20 can be used to perform repair work such as piping and wiring of the ceiling back 21.

一方、各種の工事の休止時においては、作業床150の上面側から手すり200を取り外し、4つの昇降部材110aを作動させて作業床150を上昇させ、作業床150の上面を天井面20に密着又は近接した位置に位置決めする。   On the other hand, when various works are suspended, the handrail 200 is removed from the upper surface side of the work floor 150, the four lifting members 110 a are operated to raise the work floor 150, and the upper surface of the work floor 150 is in close contact with the ceiling surface 20. Alternatively, it is positioned in a close position.

この場合、机、椅子等の備品11の上方の天井部の天井面20に作業床150を密着又は近接させてもよいし、図7に示すように、作業足場100を机、椅子等の備品11から離れた位置に移動させて、その位置の上方の天井部の天井面20に密着又は近接させてもよい。   In this case, the work floor 150 may be brought into close contact with or close to the ceiling surface 20 of the ceiling portion above the fixture 11 such as a desk or chair, and as shown in FIG. 7, the work scaffold 100 is equipped with a fixture such as a desk or chair. 11 may be moved to a position away from 11 and may be brought into close contact with or close to the ceiling surface 20 of the ceiling portion above the position.

上記のように構成した本実施の形態の作業方法にあっては、作業足場100の昇降手段110の各昇降部材110a、及び作業床150の両者を机、椅子等の備品11を避けて配置することができるので、机、椅子等の備品11を移動させることなく、机、椅子等の備品11の上方の天井部に対して各種の工事を行うことができ、天井部に対する各種の工事の作業性を高めることができ、各種の工事の作業効率を大幅に高めることができる。 In the work method of the present embodiment configured as described above, both the lift members 110a of the lift means 110 of the work scaffold 100 and the work floor 150 are arranged avoiding the fixtures 11 such as desks and chairs. Therefore, it is possible to perform various constructions on the ceiling above the fixtures 11 such as desks and chairs without moving the fixtures 11 such as desks and chairs. The work efficiency of various constructions can be greatly increased.

また、各種の工事の休止時に、作業床150を机、椅子等の備品11の上方の天井部の天井面20に密着、又は近接した位置に位置決めすることができ、しかも作業床150を昇降させる昇降部材110aは机、椅子等の備品11を避けて配置されているので、各種の工事の休止時に、作業床150が邪魔になるようなことはなく、作業床150の下方の床面10上の机、椅子等の備品11を利用して通常の業務を行うことができる。   Further, when various works are suspended, the work floor 150 can be positioned in close contact with or close to the ceiling surface 20 of the ceiling portion above the fixture 11 such as a desk or chair, and the work floor 150 is raised or lowered. Since the elevating member 110a is arranged avoiding the fixtures 11 such as a desk and a chair, the work floor 150 does not get in the way when various kinds of work are suspended, and on the floor surface 10 below the work floor 150. Ordinary work can be performed using the equipment 11 such as a desk and a chair.

さらに、各昇降部材110aは、床面10上を移動可能な移動台114を備えているので、各昇降部材110aを机、椅子等の備品11を避けた位置に容易に位置決めすることができ、昇降部材110aによって支持される作業床150を机、椅子等の備品11の上方の所定の位置に容易に位置決めすることができ、さらに、工事対象箇所の変更等に応じて、移動台114を介して各昇降部材110a及び作業床150を他の位置に容易に移動させることができる。   Furthermore, since each elevating member 110a includes a movable table 114 that can move on the floor surface 10, each elevating member 110a can be easily positioned at a position avoiding the fixture 11, such as a desk or chair, The work floor 150 supported by the elevating member 110a can be easily positioned at a predetermined position above the fixture 11, such as a desk or a chair, and further, via the movable table 114 in accordance with a change in a construction target location or the like. Thus, the lifting members 110a and the work floor 150 can be easily moved to other positions.

さらに、作業床150の下面側に照明器具を取り付けることにより、天井部に対する各種の工事によって天井面20から照明器具を取り外したような場合に、作業床150の下面側の照明器具を照明として利用することができるので、作業床150の下方の机、椅子等の備品11を利用して行う通常の業務に支障をきたすようなことはない。   Further, by attaching a lighting fixture to the lower surface side of the work floor 150, when the lighting fixture is removed from the ceiling surface 20 by various constructions on the ceiling portion, the lighting fixture on the lower surface side of the work floor 150 is used as illumination. Therefore, there is no possibility of hindering normal work performed using the equipment 11 such as a desk and a chair below the work floor 150.

なお、前記の説明においては、昇降手段110を4つの昇降部材110aで構成したが、3つ以下、又は5つ以上の昇降部材110aによって昇降手段110を構成してもよい。要は、作業床150を安定して上下方向に昇降可能に支持できる数であればよい。   In the above description, the elevating means 110 is constituted by the four elevating members 110a. However, the elevating means 110 may be constituted by three or less or five or more elevating members 110a. In short, any number may be used as long as the work floor 150 can be stably supported so as to be movable up and down.

また、前記の説明においては、昇降部材110aを油圧シリンダで構成したが、油圧シリンダに限らず、空圧シリンダ等の各種のアクチュエータを用いてもよい。要は、作業床150を上下方向に昇降可能、かつ上下方向の所定の位置に位置決め可能なものであればよい。   In the above description, the elevating member 110a is constituted by a hydraulic cylinder. However, the actuator is not limited to a hydraulic cylinder, and various actuators such as a pneumatic cylinder may be used. The point is that the work floor 150 can be moved up and down and positioned at a predetermined position in the vertical direction.

さらに、前記の説明においては、天井部に対する各種の工事として、天井裏21にある配管、配線等の改修工事、天井面20の改修工事を例に挙げて説明したが、天井部に対して行う他の各種の工事に本発明による作業方法及び作業足場を適用してもよいものであり、その場合にも同様の作用効果を奏するのは勿論のことである。   Further, in the above description, as various works for the ceiling part, the repair work for piping, wiring, etc. on the ceiling back 21 and the repair work for the ceiling surface 20 have been described as examples. The working method and the working scaffold according to the present invention may be applied to various other constructions, and it is needless to say that the same effects can be obtained in this case.

さらに、前記の説明においては、既設の建築物を挙げて説明したが、新設の建築物の天井部に対する各種の工事に本発明の作業方法を適用してもよいものであり、その場合にも同様の作用効果を奏するFurthermore, in the above description, the existing building has been described as an example, but the working method of the present invention may be applied to various constructions for the ceiling part of a new building, and even in that case The same effect is obtained .

本発明による作業方法の一実施の形態を示した概略図であって、作業方法に用いる作業足場の全体を示した概略図である。It is the schematic which showed one Embodiment of the working method by this invention, Comprising: It is the schematic which showed the whole working scaffold used for a working method. 図1の作業足場を構成する各部材を示した説明図である。It is explanatory drawing which showed each member which comprises the work scaffold of FIG. 図1の作業足場の昇降手段の組み立て手順を示した説明図である。It is explanatory drawing which showed the assembly procedure of the raising / lowering means of the working scaffold of FIG. 図1の作業足場のフレームの組み立て手順を示した説明図である。It is explanatory drawing which showed the assembly procedure of the flame | frame of the working scaffold of FIG. 天井面の改修工事を示した説明図である。It is explanatory drawing which showed the repair work of the ceiling surface. 天井裏の改修工事を示した説明図である。It is explanatory drawing which showed the repair work of the ceiling back. 工事の休止時の状態を示した説明図である。It is explanatory drawing which showed the state at the time of the stop of construction.

符号の説明Explanation of symbols

10 床面
11 備品
20 天井面
21 天井裏
100 作業足場
110 昇降手段
110a 昇降部材
111 油圧シリンダ
112 ロッド
114 移動台
150 作業床
160 フレーム
161 梁
162 根太
170 床材
DESCRIPTION OF SYMBOLS 10 Floor surface 11 Equipment 20 Ceiling surface 21 Ceiling back 100 Working scaffold 110 Lifting means 110a Lifting member 111 Hydraulic cylinder 112 Rod 114 Moving stand 150 Work floor 160 Frame 161 Beam 162 Floor joist 170 Floor material

Claims (1)

床面の上部に各種の備品が配置される建築物の屋内において、前記各種の備品を避けて前記各種の備品の上方の天井部に対して行う各種の工事の作業方法であって、
前記天井部の一部に対応するように、該天井部の一部の下方の前記床面の上部に、前記床面上を移動可能な移動台と、該移動台の上部に立設されるとともに、上下方向に進退可能なロッドを有するアクチュエータとを備えた複数の昇降部材を有する昇降手段を、前記各種の備品を避けて配置するとともに、
該昇降手段の複数の昇降部材のアクチュエータのロッドの上端部間に、該昇降手段の隣接する昇降部材のアクチュエータのロッドの上端の凹部に両端部を嵌合させることにより、該隣接する昇降部材のアクチュエータのロッドの上端間に着脱自在に水平に取り付けられる梁と、該隣接する梁の上面側の長手方向の両端部間、及び中央部間にそれぞれ着脱自在に取り付けられる根太とからなるフレームと、該フレームの根太の上部に、該フレームの内側の開口を閉塞するように着脱自在に取り付けられる複数の床材とからなる作業床を、前記各種の備品を跨いだ状態架け渡して、該作業床を前記複数の昇降部材のアクチュエータのロッドの進退に追従して上下方向に昇降可能とするとともに、前記作業床の下面に照明器具を取り付け、
前記各種の備品の上方の前記天井部の一部に対して各種の工事を行う際には、前記昇降手段の複数の昇降部材のアクチュエータのロッドの進退に追従して前記作業床を昇降させて、該作業床を前記各種の備品の上方の所定の位置に位置決めして、前記天井部の一部に対して各種の工事を行い、
前記天井部の一部に対する各種の工事の休止時には、前記昇降手段の複数の昇降部材のアクチュエータのロッドの進退に追従して前記作業床を昇降させて、該作業床を前記天井部の下面側に密着又は近接した位置に位置決めすることを特徴とする作業方法。
Inside the building where various fixtures are arranged on the top of the floor, it is a work method of various constructions performed on the ceiling above the various fixtures avoiding the various fixtures,
A moving table that can move on the floor surface, and an upper part of the moving table, are erected on an upper portion of the floor surface below a portion of the ceiling portion so as to correspond to a part of the ceiling portion. Along with arranging the lifting means having a plurality of lifting members provided with an actuator having a rod that can be moved back and forth in the vertical direction, avoiding the various equipment,
By fitting both ends into the recesses of the upper ends of the actuator rods of the lifting members adjacent to the lifting means between the upper ends of the actuator rods of the plurality of lifting members of the lifting means, the adjacent lifting members A frame composed of a beam that is detachably mounted horizontally between the upper ends of the rods of the actuator, and a joist that is detachably mounted between both ends in the longitudinal direction on the upper surface side of the adjacent beam and between the center portions; A work floor composed of a plurality of floor materials removably attached so as to close the opening inside the frame is bridged over the various fixtures on the joist of the frame, The floor can be moved up and down in the vertical direction following the advance and retreat of the rods of the actuators of the plurality of lifting members, and a lighting fixture is attached to the lower surface of the work floor,
When performing various constructions on a part of the ceiling portion above the various fixtures, the working floor is moved up and down following the advance and retreat of the actuator rods of the plurality of lifting members of the lifting means. , Positioning the work floor at a predetermined position above the various fixtures, and performing various constructions on a part of the ceiling,
When various works are suspended for a part of the ceiling part, the work floor is moved up and down following the advance and retreat of the actuator rods of the plurality of lifting members of the lifting means, and the work floor is moved to the lower surface side of the ceiling part. A working method characterized by positioning at a position in close contact with or close to the head.
JP2008133472A 2008-05-21 2008-05-21 Working method Expired - Fee Related JP5532547B2 (en)

Priority Applications (1)

Application Number Priority Date Filing Date Title
JP2008133472A JP5532547B2 (en) 2008-05-21 2008-05-21 Working method

Applications Claiming Priority (1)

Application Number Priority Date Filing Date Title
JP2008133472A JP5532547B2 (en) 2008-05-21 2008-05-21 Working method

Publications (2)

Publication Number Publication Date
JP2009281029A JP2009281029A (en) 2009-12-03
JP5532547B2 true JP5532547B2 (en) 2014-06-25

Family

ID=41451761

Family Applications (1)

Application Number Title Priority Date Filing Date
JP2008133472A Expired - Fee Related JP5532547B2 (en) 2008-05-21 2008-05-21 Working method

Country Status (1)

Country Link
JP (1) JP5532547B2 (en)

Families Citing this family (3)

* Cited by examiner, † Cited by third party
Publication number Priority date Publication date Assignee Title
CA2783539A1 (en) 2009-12-10 2011-06-16 Lixil Corporation Automatic faucet and water discharging device
CN111433424B (en) * 2018-06-26 2022-03-08 日挥环球株式会社 Factory module
CN116464252A (en) * 2023-05-19 2023-07-21 江苏通州二建建设工程集团有限公司 An attached lifting scaffolding fixing device

Family Cites Families (5)

* Cited by examiner, † Cited by third party
Publication number Priority date Publication date Assignee Title
JPH046439U (en) * 1990-05-09 1992-01-21
JPH08296324A (en) * 1995-04-25 1996-11-12 Kandenko Co Ltd Mobile aerial work platform
JPH11125017A (en) * 1997-10-23 1999-05-11 Ohbayashi Corp Remodeling method of equipment inside ceiling and ceiling
JP4456745B2 (en) * 2000-09-29 2010-04-28 義徳 深田 Work floor
JP4971006B2 (en) * 2007-03-30 2012-07-11 安藤建設株式会社 Clean room renovation method and temporary facilities for renovation

Also Published As

Publication number Publication date
JP2009281029A (en) 2009-12-03

Similar Documents

Publication Publication Date Title
JP5169549B2 (en) Large beam block lifting method and jack-up stage used for it
CN201313619Y (en) Prefabricated modularization integrated cabin unit room
JP5532547B2 (en) Working method
JP2012012835A (en) Construction method of work floor for high altitude work
CN204057851U (en) Lifting mechanism for performance stage greenhouse
KR20210056621A (en) Apparatus for drilling on the ceil
JP2008285958A (en) Lift type aerial work floor and work method using a lift type aerial work floor
JP5318448B2 (en) Mobile worktable
CN206706591U (en) A kind of horizontal splicing apparatus for packaged type bridges precast pier template
CN203845689U (en) Indoor assembled large-scale equipment hoisting device
CN105705701A (en) Scaffold
JP2019515166A (en) Perimeter safety screen assembly
CN115030062A (en) A new type of suspension casting construction bracket for the 0# block of the through-core screw half-hoop
CN115650042B (en) Hoisting structure
CN213945445U (en) A kind of automatic welding positioning tool for curtain wall components
JP4071249B2 (en) Thread hanging jig
JP7553348B2 (en) Lifting equipment for building renovation
CN215106462U (en) Super high suspended ceiling conversion layer design structure based on surface layer control
KR20120079369A (en) Supporting apparatus of raised floors
KR20030020073A (en) Bridge lifting device and the engineering method for faith t-shaped armrest numerical value shift of bridge
CN104405119A (en) Width-adjustable decorating scaffold
CN223549009U (en) Convenient zero carbon cabin that removes
JP2649032B2 (en) Ceiling construction method
CN222045021U (en) Building engineering construction floor structure
CN219138312U (en) A construction hanging basket

Legal Events

Date Code Title Description
A621 Written request for application examination

Free format text: JAPANESE INTERMEDIATE CODE: A621

Effective date: 20110420

A977 Report on retrieval

Free format text: JAPANESE INTERMEDIATE CODE: A971007

Effective date: 20120910

A131 Notification of reasons for refusal

Free format text: JAPANESE INTERMEDIATE CODE: A131

Effective date: 20120918

A521 Written amendment

Free format text: JAPANESE INTERMEDIATE CODE: A523

Effective date: 20121116

A131 Notification of reasons for refusal

Free format text: JAPANESE INTERMEDIATE CODE: A131

Effective date: 20130709

A521 Written amendment

Free format text: JAPANESE INTERMEDIATE CODE: A523

Effective date: 20130820

TRDD Decision of grant or rejection written
A01 Written decision to grant a patent or to grant a registration (utility model)

Free format text: JAPANESE INTERMEDIATE CODE: A01

Effective date: 20140401

R150 Certificate of patent or registration of utility model

Ref document number: 5532547

Country of ref document: JP

Free format text: JAPANESE INTERMEDIATE CODE: R150

A61 First payment of annual fees (during grant procedure)

Free format text: JAPANESE INTERMEDIATE CODE: A61

Effective date: 20140414

LAPS Cancellation because of no payment of annual fees