JP5513752B2 - 表示装置 - Google Patents

表示装置 Download PDF

Info

Publication number
JP5513752B2
JP5513752B2 JP2009032699A JP2009032699A JP5513752B2 JP 5513752 B2 JP5513752 B2 JP 5513752B2 JP 2009032699 A JP2009032699 A JP 2009032699A JP 2009032699 A JP2009032699 A JP 2009032699A JP 5513752 B2 JP5513752 B2 JP 5513752B2
Authority
JP
Japan
Prior art keywords
observed
mirror
display device
real
display
Prior art date
Legal status (The legal status is an assumption and is not a legal conclusion. Google has not performed a legal analysis and makes no representation as to the accuracy of the status listed.)
Expired - Fee Related
Application number
JP2009032699A
Other languages
English (en)
Other versions
JP2010188768A (ja
Inventor
貴 杉山
奨 中村
靖 喜多
Current Assignee (The listed assignees may be inaccurate. Google has not performed a legal analysis and makes no representation or warranty as to the accuracy of the list.)
Stanley Electric Co Ltd
Original Assignee
Stanley Electric Co Ltd
Priority date (The priority date is an assumption and is not a legal conclusion. Google has not performed a legal analysis and makes no representation as to the accuracy of the date listed.)
Filing date
Publication date
Application filed by Stanley Electric Co Ltd filed Critical Stanley Electric Co Ltd
Priority to JP2009032699A priority Critical patent/JP5513752B2/ja
Publication of JP2010188768A publication Critical patent/JP2010188768A/ja
Application granted granted Critical
Publication of JP5513752B2 publication Critical patent/JP5513752B2/ja
Expired - Fee Related legal-status Critical Current
Anticipated expiration legal-status Critical

Links

Images

Classifications

    • BPERFORMING OPERATIONS; TRANSPORTING
    • B60VEHICLES IN GENERAL
    • B60QARRANGEMENT OF SIGNALLING OR LIGHTING DEVICES, THE MOUNTING OR SUPPORTING THEREOF OR CIRCUITS THEREFOR, FOR VEHICLES IN GENERAL
    • B60Q1/00Arrangement of optical signalling or lighting devices, the mounting or supporting thereof or circuits therefor
    • B60Q1/26Arrangement of optical signalling or lighting devices, the mounting or supporting thereof or circuits therefor the devices being primarily intended to indicate the vehicle, or parts thereof, or to give signals, to other traffic
    • B60Q1/50Arrangement of optical signalling or lighting devices, the mounting or supporting thereof or circuits therefor the devices being primarily intended to indicate the vehicle, or parts thereof, or to give signals, to other traffic for indicating other intentions or conditions, e.g. request for waiting or overtaking
    • B60Q1/525Arrangement of optical signalling or lighting devices, the mounting or supporting thereof or circuits therefor the devices being primarily intended to indicate the vehicle, or parts thereof, or to give signals, to other traffic for indicating other intentions or conditions, e.g. request for waiting or overtaking automatically indicating risk of collision between vehicles in traffic or with pedestrians, e.g. after risk assessment using the vehicle sensor data
    • B60Q1/535Arrangement of optical signalling or lighting devices, the mounting or supporting thereof or circuits therefor the devices being primarily intended to indicate the vehicle, or parts thereof, or to give signals, to other traffic for indicating other intentions or conditions, e.g. request for waiting or overtaking automatically indicating risk of collision between vehicles in traffic or with pedestrians, e.g. after risk assessment using the vehicle sensor data to prevent rear-end collisions, e.g. by indicating safety distance at the rear of the vehicle
    • FMECHANICAL ENGINEERING; LIGHTING; HEATING; WEAPONS; BLASTING
    • F21LIGHTING
    • F21SNON-PORTABLE LIGHTING DEVICES; SYSTEMS THEREOF; VEHICLE LIGHTING DEVICES SPECIALLY ADAPTED FOR VEHICLE EXTERIORS
    • F21S43/00Signalling devices specially adapted for vehicle exteriors, e.g. brake lamps, direction indicator lights or reversing lights
    • F21S43/30Signalling devices specially adapted for vehicle exteriors, e.g. brake lamps, direction indicator lights or reversing lights characterised by reflectors
    • F21S43/31Optical layout thereof

Landscapes

  • Engineering & Computer Science (AREA)
  • General Engineering & Computer Science (AREA)
  • Mechanical Engineering (AREA)
  • Lighting Device Outwards From Vehicle And Optical Signal (AREA)

Description

本発明は、車輌など乗り物における外装部材に取り付けられる表示装置に関し、特に、車輌に接近する人に対して情報表示を提示する装置、或いは、車輌後続車の接近に対して、当該後続車における運転者または操縦者など搭乗者(以下、単に運転者と称する)に対する危険警告表示を提示するなど、車輌周囲に表示を提示する表示装置に関する。
センサ、制御部、表示器を利用して車間情報などを基にして後続車に危険警告表示を提示するシステムの提案が、例えば下記特許文献1及び2でなされている。
これらの技術を参考にして本発明の目的である、後続車が接近した時に危険警告表示にて警告を発するシステムを実現しようとする時は、後続車との車間距離をセンサで検知し、あらかじめ決められた距離以下になった時に制御部から信号を出し、後方に向けられた表示器に文字や図形などを表示させ後続車に警告を発する方法に当業者であれば極めて容易に到達できるであろう。
特に大型車など運転席が高い位置にある車は前方の車に接近し易く、また、前方の車の運転者にとっては後方から大型車が接近した時の精神的な動揺が激しいなど、事故に至り易い状況になる危険が高いため、このような警告が有効である。
特開平06−278556公報 特開2002−178863公報
背景技術で示したようなシステムを用いれば、後続車が接近した時に危険警告表示にて警告を発することが可能になるが、後続車との距離を測定するセンサや、センサから信号を用いて演算を行い表示器に表示信号を出力する制御回路を有する制御部が必要になる。
そこで本発明は、必ずしも、センサや制御回路を要することなく、簡単かつ低コストで、車輌に接近する人に対して情報を提示でき、或いは、接近する後続車における運転者に対する危険警告表示できる表示装置を提供することを目的とする。
本発明は、乗り物の外装部材に取り付けられる表示装置であって、提示情報を含む被観察物と、当該被観察物を覆うように離間され且つ対称面を含む半透過性の基盤を有し且つ、基盤に対して被観察物の反対側の空間において、対称面に対して被観察物の面対称位置に被観察物の実像を結像させる実鏡映像結像光学系と、を含む表示装置を提供する。
本発明においては、実鏡映像結像光学系は、基盤の対称面において間隙をもって配列された複数の2面コーナーリフレクタからなる2面コーナーリフレクタアレイを含むこと、2面コーナーリフレクタの各々は2つの直交する鏡面からなり、鏡面の交線が対称面に直交すること、被観察物は、被観察物から出た光線の一部が鏡面の交線へ入射し2面コーナーリフレクタの間を通過して、被観察物の反対側の空間に達するように、配置されていること、とすることができる。
また、本発明においては、実鏡映像結像光学系は、基盤に形成され且つ対称面として配置されたハーフミラーと、
被観察物側の空間において被観察物から出た光線のうちハーフミラーで反射した光線を再帰反射する位置に配置された複数のレトロリフレクタと、を有すること、とすることもできる。
本発明によれは、被観察物の実像(実鏡映像)を所定の対称面に対して当該被観察物の面対称位置に結像させる実鏡映像結像光学系を用い、センサや制御回路を用いることなく、後続車が接近した時に危険警告表示にて警告を発するという本発明の目的を達成するものである。より詳しくは、これまで欠点と考えられていた実鏡映像結像光学系が持つ視角(空中像が観察できる範囲)の狭さを利用し、後続車が接近した時のみに警告のための表示が見えるようにしたものである。
具体的には本発明の表示装置は、後続車の運転者から視認できるトランクやルーフなどのボディ面に配置される実鏡映像結像光学系と、前記対称面を挟んで前記実鏡映像と反対側の空間に配置される前記被観察物を具備している。
実鏡映像結像光学系の大きさや、被観察物との位置関係により、実鏡映像が観察できる角度(視角)を設定できるが、本発明では後続車との車間距離が長い時には実鏡映像が観察できずに、車間距離が短くなり所定の距離になった時に実鏡映像が観察できるように設定する。
被観察物としてはネオンサインや表示パネルのような固定表示の他に電子ディスプレイの表示面に表示される画像が利用できる。被観察物を3次元画像を表示し得る電子ディスプレイの表示面に表示される立体画像とすれば実鏡映像も立体像となる。また、被観察物を経時的に動的に変化する画像としてもよい。動画や立体画像を用いれば、運転者にインパクトを与えられるなどの効果も得られさらに好ましい。
実鏡映像結像光学系としては、その基盤とともに対称面を貫通する方向に形成された穴(貫通孔)の内壁や、基盤の厚み方向に突出する透明な筒状体の側面を鏡面として利用する2面コーナーリフレクタアレイが利用できる。さらに、実鏡映像結像光学系として、ハーフミラーとレトロリフレクタアレイとを組み合わせたもの(この場合は対称面とハーフミラー面が一致)が利用できる。
さらに詳しく説明すると、本発明において実鏡映像結像光学系は、基盤(対称面)に対して斜め方向からの視点から、結像された被観察物の実鏡映像を観察することができるものであり、その一つの具体例としては、2面コーナーリフレクタアレイからなる実鏡映像結像光学系を挙げることができる。2面コーナーリフレクタアレイは、2つの直交する鏡面により構成される2面コーナーリフレクタを複数、平面的に集合させたものであり、全ての鏡面に対して垂直となる共通な1つの平面を、被観察物と実鏡映像の間の対称面となるようにしたものである。この2面コーナーリフレクタアレイは、被観察物から発せられる光を各2面コーナーリフレクタの2つの鏡面で1回づつ2回反射させ且つその対称面を透過させることにより、2面コーナーリフレクタアレイの対称面に関して被観察物の面対称位置に、その被観察物の実鏡映像を結像させる作用を有している。
2面コーナーリフレクタアレイの構造は、単純に述べれば、対称面にほぼ垂直な鏡面を、対称面上に多数並べたものである。構造として問題となるのは、この鏡面をどのように対称面に支持固定するかということになる。鏡面形成のより具体的な方法としては、例えば2面コーナーリフレクタアレイを、所定の空間を区画する基盤を具備するものとして、当該基盤を通る1つの平面を対称面としてとして規定し、各2面コーナーリフレクタを、対称面を貫通する方向に想定される光学的な穴として、基盤に形成された穴の内壁を鏡面として利用するものとすることができる。この基盤に形成された穴は、光が透過するように透明でありさえすればよく、例えば内部が真空又は透明な気体又は液体で満たしたものでもよい。また穴の形状についても、その内壁に単位光学素子として働くための1枚又は複数の同一平面に含まれない鏡面を具備し、且つ、鏡面で反射した光が穴を透過できる限り、任意の形状を取ることが可能であり、各穴が連結していたり、一部が欠損している複雑な形状であってもよい。例えば、基盤の表面に個々の独立した鏡面が林立する態様などは、基盤に形成された穴が連結しているものと理解できる。
あるいは2面コーナーリフレクタは、光学的な穴として、透明なガラスや樹脂のような固体によって形成された筒状体を利用するものであってもよい。なお、固体によって個々の筒状体が形成されている場合、これらの筒状体は、相互に密着させて素子の支持部材として働かせてもよく、基盤を具備するものとして当該基盤の表面から突出した態様をとってもよい。また筒状体の形状についても、その内壁に2面コーナーリフレクタとして働くための1枚又は複数の同一平面に含まれない鏡面を具備し、且つ、鏡面で反射した光が筒状体を透過できる限り、任意の形状を取ることが可能であり、筒状体と称してはいるが各筒状体が連結していたり、一部が欠損している複雑な形状であってもよい。
ここで、前記光学的な穴として、立方体又は直方体のように隣接する内壁面が全て直交する形状を考えることができる。この場合、2面コーナーリフレクタ相互の間隔を最小化することができ、高密度な配置が可能となる。
2面コーナーリフレクタ内に複数の鏡面が存在する場合には、想定された回数以上の反射を起こす多重反射の透過光が存在する可能性がある。この多重反射対策として、光学的な穴の内壁に相互に直交する2つの鏡面を形成する場合は、これら2鏡面以外の面を、非鏡面として光が反射しないようにしたり、対称面に対して垂直とならないように角度を付けて設けたり曲面としたりすることで、3回以上の反射を起こす多重反射光を軽減又は除去できる。非鏡面とするには、その面を反射防止用の塗料や薄膜で覆う構成や、面粗さを粗くして乱反射を生じさせる構成を採用することができる。なお、透明で平坦な基盤としても光学素子の働きを阻害するものではないので、基盤を任意に支持部材・保護部材として用いることが可能である。
さらに、映像の実鏡映像の高輝度化を図るには、複数の2面コーナーリフレクタを、対称面上においてできるだけ間隔を空けずに配置することが望ましく、例えば格子状に配置することが有効である。またこの場合、製造も容易になるという利点がある。2面コーナーリフレクタにおける鏡面としては、固体であるか液体であるかに関わらず金属や樹脂などの光沢のある物質によって形成された平坦面で反射するもの、あるいは異なる屈折率を持つ透明媒質同士の平坦な境界面において反射又は全反射するものなどを利用することができる。また、鏡面を全反射によって構成した場合には、複数の鏡面による望まない多重反射は、全反射の臨界角を超える可能性が高くなることから、自然に抑制されることが期待できる。また、鏡面は、機能的に問題ない限り、光学的な穴の内壁のごく一部分に形成されていてもよく、平行に配置される複数の単位鏡面により構成されても構わない。後者の態様を換言すれば、1つの鏡面が複数の単位鏡面に分割されても構わないことを意味する。またこの場合、各単位鏡面は、必ずしも同一平面に存在していなくてもよく、それぞれが平行であればよい。さらに、各単位鏡面は、当接している態様、離れている態様のいずれもが許容される。
さらに、本発明において実鏡映像結像光学系として適用可能な他の具体例としては、光線を再帰反射させるレトロリフレクタアレイと光線を反射及び透過させるハーフミラー面を有するハーフミラーとを具備する光学系である。この実鏡映像結像光学系においては、ハーフミラー面をトランクやルーフの上面部として基盤に露出して設定される表面(対称面)とし、被観察物から出た光線のうちハーフミラーで反射又は透過した光線を再帰反射し得る位置にレトロリフレクタアレイを配置しているものを挙げることができる。なお、レトロリフレクタアレイは、ハーフミラーに対して被観察物と同じ側の空間にのみ配置され、ハーフミラーで反射した光を再帰反射する位置に設けられる。ここでレトロリフレクタの作用である「再帰反射」とは、反射光を入射光が入射してきた方向へ反射(逆反射)する現象をいい、入射光と反射光とは平行であり且つ逆向きとなる。このようなレトロリフレクタの複数をアレイ状に配置したものがレトロリフレクタアレイであり、個々のレトロリフレクタが十分に小さい場合は、入射光と反射光の経路は重なると見なすことができる。このレトロリフレクタアレイにおいてレトロリフレクタは平面上に存在している必要はなく、曲面上にあってもよく、さらには同一面上に存在している必要はなく、各レトロリフレクタは3次元的に散在していても構わない。また、ハーフミラーは、光線を透過させる機能と反射させる機能の両方を備えているものをいい、好ましくは透過率と反射率がほぼ1:1のものが理想的である。
レトロリフレクタには、3つの隣接する鏡面から構成されるもの(広義には「コーナーリフレクタ」と呼ぶことができる)や、キャッツアイレトロリフレクタを利用することができる。コーナーリフレクタには、相互に直交する3つの鏡面から構成されるコーナーリフレクタ、3つの隣接する鏡面がなす角度のうち2つが90度であり、且つ他の1つの角度が90/N度(ただしNは整数)をなすもの、3つの鏡面がなす角度が90度、60度及び45度となる鋭角レトロリフレクタなどを採用することができる。
本発明の構成ではセンサや制御回路が不要なため簡単かつ低コストで、後続車が接近した時に危険警告表示にて警告を発することが可能である。
また、実鏡映像結像光学系を用いると空中像を実像で作り出せ、さらに、被観察物を立体構造若しくは立体表示とすることにより立体像とできるため、非常にインパクトのある表示となる。
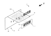
本発明による一実施形態の表示装置を含む自動車車両の外装を当該車両の後続車側から観察した様子を示す概略斜視図である。。 同実施形態の表示装置の要部を側方から見た状態を模式的に示す概略側面図である。 同実施形態の表示装置に適用される2面コーナーリフレクタアレイの結像様式を模式的に示す概略斜視図である。 同実施形態の表示装置に適用される2面コーナーリフレクタレイの具体的構成例を模式的に示す概略平面図及び部分切欠斜視図である。 同実施形態の表示装置に適用される2面コーナーリフレクタアレイによる結像様式を模式的に示す概略平面図である。 同実施形態の表示装置に適用される2面コーナーリフレクタアレイによる結像様式を模式的に示す概略側面図である。 同2面コーナーリフレクタアレイによる実鏡映像を観察できる範囲を説明するための概略側面図である。 本発明による一実施形態の表示装置を含む自動車車両とその後続車の距離と観察角の関係を説明するための概略側面図である。 本発明による他の実施形態の表示装置の要部の実鏡映像結像光学系に適用されるレトロリフレクタアレイ及びレトロリフレクタの一例による光線の再帰反射の態様を模式的に示す概略側面図である。 本発明の他の実施形態を示す実鏡映像結像光学系に適用されるレトロリフレクタアレイ及びレトロリフレクタの他の例による光線の再帰反射の態様を模式的に示す概略斜視図である。 同実鏡映像結像光学系に適用されるレトロリフレクタアレイ及びレトロリフレクタの一例による光線の再帰反射の態様を模式的に示す概略側平図である。 同実鏡映像結像光学系に適用されるレトロリフレクタアレイ及びレトロリフレクタの他の例による光線の再帰反射の態様を模式的に示す概略側平図である。
以下に、本発明による一実施形態の警告などの提示情報を含む画像を表示する表示装置について、図面を用いて説明する。
図1は本発明が適用される表示装置1を含む自動車車両の外装を当該車両の後続車側から観察した様子を示す概略斜視図である。図2は、本発明が適用される表示装置1の一実施形態を示す概略断面図である。この表示装置1は、後続車の運転者から視認できるボディ面に本発明を適用したものである。具体的に表示装置1は車輌のトランク上面部付近に配置されており、後続車の運転者に視認されるための表示などを被観察物としてトランク内に配置し、被観察物と対称面を挟んで反対側の面対称位置の空間、すなわちトランク上部の空間に、実鏡映像として結像させるものである。
本実施形態では、図1(a)に示すように、遠方では視認できないが、図1(b)に示すように、所定距離近づいた後続車の運転者から視認できるボディ面として車輌のトランク上面部3に、実鏡映像結像光学系として2面コーナーリフレクタアレイ6を設け、この2面コーナーリフレクタアレイ6を通じてトランク上部に空中映像を投影するために、トランク上面部3の内部(すなわちトランクルーム内)に観察者である後続車の運転者の視線からは見えないように、図2に示すように、空中映像の元となる被観察物72を配置している。被観察物72としては、本実施形態では液晶ディスプレイ7の表示面71に表示される画像を適用している。図示例では、液晶ディスプレイ7の表示面71に表示される被観察物である画像72を上下逆にした画像72とすることで、トランク上部の空間に、その画像72の実鏡映像Pとして浮かび上がらせるようにしている。表示装置は、液晶ディスプレイ7と、2面コーナーリフレクタアレイ6と、を含む。液晶ディスプレイ7には例えばカラー画像が表示できるカラー液晶表示パネルが用いられる。また、表示装置1は、図示しないが、液晶ディスプレイ7に接続された駆動回路や、これに接続されている計器情報を含む画像のための映像信号を供給する映像信号供給部を備えている。
本実施形態では、液晶ディスプレイ7を用いているが、本発明ではこれに限定されるものではなく、液晶以外の電子ディスプレイやネオンサイン、更には表示パネル(非常灯のように光源と表示パネルを組み合わせたもの)などが使用可能である。電子ディスプレイを用いたものでは表示を時間的に変化させたりすることができる。また、ネオンサインや表示パネルでは表示は固定であっても点滅させるなどの手法で後続車の運転者に効果的に警告を伝えることができる。
ここで、本実施形態に適用される2面コーナーリフレクタアレイ6の構成及び作用について説明する。
2面コーナーリフレクタアレイ6は、図3、図4に模式的に示すように、2つの相互に直交する鏡面61a,61bから構成される2面コーナーリフレクタ61の多数の集合であり、全2面コーナーリフレクタ61を構成するそれぞれ2つの鏡面61a,61bに対してほぼ垂直な平面を対称面6Sとして、その面対称位置に被観察物である画像72の実鏡映像Pを結像させることで、観察者である運転者により空中映像が観察されるようにしたものである。なお、本実施形態において2面コーナーリフレクタ61は2面コーナーリフレクタアレイ6の全体の大きさ(cmオーダ)と比べて非常に微小(μmオーダ)であるので、図3では2面コーナーリフレクタ61の集合全体をグレーで表し、鏡面の開く内角の向きをV字形状で表し2面コーナーリフレクタ61を誇張して表現してある。そして、図4では、2面コーナーリフレクタアレイ6の模式的な平面図を図4(a)に、同(b)に部分的な斜視図を示す。但し、図4では、2面コーナーリフレクタアレイ6の全体に比して、2面コーナーリフレクタ61及び鏡面61a,61bを大きく誇張して表している。
2面コーナーリフレクタアレイ6は、例えば光線を屈曲しつつ透過し得るように、平板状の基盤に、平らな基盤表面に対して垂直に肉厚を貫通する物理的・光学的な穴を多数形成し、各穴の内壁面を2面コーナーリフレクタ61として利用するために、穴の内壁面のうち直交する2つにそれぞれ鏡面61a,61bを形成したものを採用することができる。したがって、基盤が半透過性となるように、図4に示すように、薄い平板状の基盤に平面視ほぼ矩形状(例えば正方形状)の光線が透過する物理的・光学的な穴(例えば一辺が例えば50〜200μm)を多数形成し、各穴のうち隣接して直交する2つの内壁面に平滑鏡面処理を施して鏡面61a,61bとすれば、これら2つの鏡面61a,61bを反射面とする2面コーナーリフレクタ61を得ることができる。なお、穴の内壁面のうち2面コーナーリフレクタ61を構成しない部分には鏡面処理を施さず光が反射不能な面とするか、又は角度をつけるなどして多重反射光を抑制することが好ましい。また、各2面コーナーリフレクタ61は、基盤上において鏡面61a,61bがなす内角が全て同じ向きとなるように、規則的な格子点上に整列させて形成することが好ましい。よって、各2面コーナーリフレクタでは、2つの直交する鏡面の交線CLが対称面6Sに直交することが好ましい。以下、この鏡面61a,61bの内角の向きを、2面コーナーリフレクタ61の向き(方向)と称することがある。
鏡面61a,61bの形成にあたっては、例えば金属製の金型をまず作成し、鏡面61a,61bを形成すべき内壁面をナノスケールの切削加工処理や、金型を用いたプレス工法をナノスケールに応用したナノインプリント工法又は電鋳工法による処理をすることによって鏡面形成を行い、これらの面粗さを10nm以下とし、可視光スペクトル域に対して一様に鏡面となるようにするとよい。なお、電鋳工法によりアルミやニッケルなどの金属で基盤を形成した場合、鏡面61a,61bは、金型の面粗さが十分小さければ、それによって自然に鏡面となるが、ナノインプリント工法を用いて、基盤を樹脂製などとした場合には、鏡面61a,61bを作成するには、スパッタリングなどによって、鏡面コーティングを施す必要がある。また、隣り合う2面コーナーリフレクタ61同士の離間寸法を極力小さく設定することで、透過率を向上させることができる。但し、2面コーナーリフレクタアレイ6の構成は上述のものに限定されず、直交する2つの鏡面61a,61bにより2面コーナーリフレクタ61が多数形成され、且つ各2面コーナーリフレクタ61が光学的な穴として光を透過するものであれば、適宜の構成及び製造方法を採用することができる。
そして、2面コーナーリフレクタアレイ6では、各2面コーナーリフレクタ61は、裏面側から穴に入った光を一方の鏡面61a(又は61b)で反射させ、さらにその反射光を他方の鏡面61b(又は61a)で反射させて表面側へと通過させる機能を有し、この光の進入経路と射出経路とが対称面6Sを挟んで面対称をなすこととなる。すなわち、2面コーナーリフレクタアレイ6の対称面6S(各鏡面の高さ方向中央部を通り且つ各鏡面と直交する面を仮定)は、トランク上面3の内部にある被観察物72の実像を、底壁3の上方空間における面対称位置に鏡像(実鏡映像)として結像させる対称面である。
ここで、2面コーナーリフレクタアレイ6による結像様式について、被観察物として点光源oから発せられた光の経路とともに簡単に説明する。図5に平面的な模式図で、図6に模式的な側面図でそれぞれ示すように、点光源oから発せられる光(一点鎖線矢印で示す。図5において3次元的には紙面奥側から紙面手前側へ進行する)は、2面コーナーリフレクタアレイ6を通過する際に、2面コーナーリフレクタ61を構成する一方の鏡面61a(又は61b)で反射して更に他方の鏡面61b(又は61a)で反射した後に対称面6Sを通過し、2面コーナーリフレクタアレイ6の対称面6Sに対して点光源oの面対称位置を広がりながら通過する。図5では入射光と反射光とが平行をなすように表されているが、これは同図では点光源oに対して2面コーナーリフレクタ61を誇張して大きく記載しているためであり、実際には各2面コーナーリフレクタ61は極めて微小なものであるため、同図のように2面コーナーリフレクタアレイ6を上方から見た場合には、入射光と反射光とは殆ど重なってみえる。すなわち、結局は点光源oの対称面6Sに対する面対称位置に透過光が集まり、図5、図6においてpの位置に実鏡映像として結像することになる。
このように、被観察物72の実像Pを素子面6Sに対して面対称位置に鏡映像として結像させる機能を有する2面コーナーリフレクタアレイ6を車輌のボディの一部を成すトランク上面部3に組み込んでいるため、図1に示したように、トランク上部の空間に、被観察物である画像72(図2)の実鏡映像Pを投影することができる。すなわち、本来は何もないはずの空中に本例のような注意表示が現れるため、後続車の運転者に対する注意喚起を促しやすくなる。
本発明は後続車の存在若しくは接近距離をセンサなどで感知して警告表示を発するものでなく、後続車の運転者から警告表示が見える範囲(角度)を限定して、常に警告を表示しているものの通常の走行時は警告表示が視認できずに、前方の車に接近した時のみに警告表示が視認できるようにするものである。
見える範囲が限定できる原理を図7を用いて説明する。表示装置は実鏡映像結像光学系としての2面コーナーリフレクタアレイ6と被観察物Oより構成されている。図7中の1点鎖線は被観察物より発せられた光が2面コーナーリフレクタアレイ6を通して被観察物と対称面6Sを挟んで反対側の面対称位置の空間に実鏡映像Pを結像するまでの光路のうち2面コーナーリフレクタアレイ6両端面(観察者から見て前後方向の端面)を通るものを示している。実鏡映像Pの背後には2面コーナーリフレクタアレイ6が存在する必要があるため、この2本の1点鎖線で規定された範囲が観察者が実鏡映像を観察できる範囲(角度θ)になる。逆に言うとこの範囲以外からは実鏡映像が視認できないということになる。
ここで後続車の運転者が前車のトランク上の2面コーナーリフレクタアレイ6を覗き込む角度を考える。一般的に後続車の運転者の視点の高さ方が2面コーナーリフレクタアレイ6の設置位置より高いため、図8(a)よりも図8(b)に示に示すように後続車が前車に近付く程、運転者と2面コーナーリフレクタアレイ6を結ぶ線(2点鎖線で記載)と2面コーナーリフレクタアレイ6の素子面との角度(以後「観察角」と記載)は大きくなる。
図7と図8の関係より、後続車と前車の距離が離れている場合には図7の2本の1点鎖線の素子面とのなす角度が小さいものより観察角は小さくなり実鏡映像は観察されない。後続車が前車に近付くと観察角は徐々に大きくなり、該1点鎖線の素子面とのなす角度が小さいものより大きくなると実鏡映像が視認できるようになる。さらに後続車が近付き観察角が大きくなると、いつかは図7の2本の1点鎖線の素子面とのなす角度が大きいものを超えてしまい再び実鏡映像が観察されなくなるが、この状況では後続車が近付き過ぎてしまうことと、本発明の目的である後続車の運転者に警告を与えることから考えると重要な事項ではないと考えられる。
また、運転者の視線の高さは車種(小型車/大型車)や個人の運転姿勢によって異なることになるが、ある程度の範囲の観察角で表示装置1により後続車の運転者に実鏡映像が観察できるようにしておけばよいことが判った。具体的には水平から20度から60度の角度範囲に観察角が入るように2面コーナーリフレクタアレイの大きさや被観察物の設置位置を設計すればよいことが判った。ただし、一般に車輌のトランク上面は水平ではないために、その傾き角を考えた設計が必要になる。
車種によって運転者の視線の高さが異なってしまうことに関してさらに考察する。本発明の原理に照らして考えれば、運転者の視線が高い時ほど前車との距離が遠いうちに危険表示を見ることになる。すなわちこのような運転者には早い段階で警告を発することができるようになる。運転者の視線が高い車種としては一般に大型車が考えられる。
大型車など運転席が高い位置にある車は前方の車に接近し易く、また、前方の車の運転者にとっては後方から大型車が接近した時の精神的な動揺が激しいなど、事故に至り易い状況になる危険が高いため、本発明が前記のような特性を持っていることは、むしろ好ましいことと思われる。
また、観察者が実鏡映像を観察できる範囲(角度)が制限される原因としては、前記の2面コーナーリフレクタアレイの大きさや被観察物の設置位置の関係だけではなく、図4に示すような2面コーナーリフレクタアレイを用いる限り、1つの2面コーナーリフレクタに入射する光線が、隣接する2面コーナーリフレクタにより遮られてしまうため、素子面に対して浅い角度から入射した光を用いての実鏡映像は得られないことになる。この角度は素子面から20度前後であるため、幸いなことに本発明においては障害にはならない。
ここで、観察者が見ることになる実鏡映像Pは、上記のように空中の一箇所に固定して現れるようにしてもよいが、ディスプレイ7を動作させたり、表示面71に表示される画像72を動かすなどして、トランク上方で動くようにすることも、観察者の注意を引きやすくするためには極めて有用である。
なお、図4のように構造で実際に穴を開けて2面コーナーリフレクタアレイを作製した場合は、雨水などのトランク内への浸入防止のために該穴を埋める必要がある。具体的には2面コーナーリフレクタ上面に透明なカバーを付けるか、該穴の部分のみを透明な樹脂などで埋める方法が考えられる。
図9は、本発明が適用される表示装置1’の他の実施形態の要部を示す側方から見た概観図である。表示装置1’を正面から見た概観図は図1の表示装置と同様である。この表示装置1’は、実鏡映像結像光学系のみが上述した図1の実施形態の表示装置1と異なる。したがって、表示装置1と同一の構成については同一の名称及び符号を用いて説明するものとする。
本実施形態で適用される実鏡映像結像光学系9は、図9及び図10に示すように、ハーフミラー91とレトロリフレクタアレイ92とを組み合わせたものである。そして、トランク上面3に、ハーフミラー91を設けるとともに、上記図1の実施形態の表示装置1と同様に、トランク内部に、空中映像の元となる被観察物として画像72を表示するディスプレイ7を配置している。
ハーフミラー91は、例えば透明樹脂やガラスなどの透明薄板の一方の面(下面)側に薄い反射膜をコーティングしたものを利用することができる。この透明薄板の反対側の面(上面)側には、無反射処理(ARコート)を施すことで、観察される実鏡映像Pが2重になるのを防止することができる。
一方、レトロリフレクタアレイ92には、入射光を厳密に逆反射させるものであればあらゆる種類のものを適用することができ、素材表面への再帰反射膜や再帰反射塗料のコーティングなども考えられる。また、その形状も曲面としてもよいし、平面とすることもできる。例えば、図11(a)に正面図の一部を拡大して示すレトロリフレクタアレイ92は、立方体内角の1つの角を利用するコーナーキューブの集合であるコーナーキューブアレイである。個々のレトロリフレクタ92Aは、3つの同形同大の直角二等辺三角形をなす鏡面92Aa,92Ab,92Acを1点に集合させて正面視した場合に正三角形を形成するものであり、これら3つの鏡面92Aa,92Ab,92Acは互いに直交してコーナーキューブを構成している。また、図12(a)に正面図の一部を拡大して示すレトロリフレクタアレイ92も、立方体内角の1つの角を利用するコーナーキューブの集合であるコーナーキューブアレイである。個々のレトロリフレクタ92Bは、3つの同形同大の正方形をなす鏡面92Ba,92Bb,92Bcを1点に集合させて正面視した場合に正六角形を形成するものであり、これら3つの鏡面92Ba,92Bb,92Bcは互いに直交している。このレトロリフレクタアレイ92は、図11(a)のレトロリフレクタアレイ92とは形状が異なるだけで再帰反射の原理は同じである。図11(b)及び図12(b)に、図11(a)及び図12(a)にそれぞれ示したレトロリフレクタアレイ92を例にして説明すると、各レトロリフレクタ92A,92Bの鏡面のうちの一つ(例えば92Aa,92Ba)に入射した光は、他の鏡面(92Ab,92Bb)、さらに他の鏡面(92Ac,92Bc)で順次反射することで、レトロリフレクタ92A,92Bへ光が入射してきた元の方向へ反射する。なおレトロリフレクタアレイ92に対する入射光と出射光の経路は、厳密には重ならず平行であるが、レトロリフレクタ92A,92Bがレトロリフレクタアレイ92と比べて十分小さい場合には、入射光と出射光の経路が重なっているとみなしてもよい。これら2種類のコーナーキューブアレイの違いは、鏡面が二等辺三角形のものは比較的作成しやすいが反射率が若干低くなり、鏡面が正方形のものは二等辺三角形のものと比較して作成がやや難しい反面、反射率が高い、ということである。
なお、レトロリフレクタアレイ92には、上述したコーナーキューブアレイの他にも、3つの鏡面により光線を再帰反射させるもの(広義には「コーナーリフレクタ」)を採用することができる。図示しないが、例えば、単位再帰反射素子として、3つの鏡面のうち2つの鏡面同士が直交し、且つ他の1つの鏡面が他の2つの鏡面に対して90/N度(ただしNは整数とする)をなすものや、3つの鏡面がそれぞれ隣接する鏡面となす角度が90度、60度及び45度となる鋭角レトロリフレクタが、本実施形態に適用される再帰反射素子3として適している。その他にも、キャッツアイレトロリフレクタなども単位再帰反射素子として利用することができる。これらのレトロリフレクタアレイは、平面的なものであっても、屈曲又は湾曲していてもよい。また、レトロリフレクタアレイの配置位置も、画像72から発してハーフミラー91で反射した光を再帰反射することができるのであれば、適宜に設定することができる。
このようなハーフミラー91とレトロリフレクタアレイ92を備えた実鏡映像結像光学系9を適用したこの実施形態の表示装置1’では、図7及び図8に示すように、ディスプレイ7の画像表示面71に表示される画像72は、片面に無反射処理が施されたハーフミラー91のハーフミラー面91Sで反射し、レトロリフレクタアレイ92で再帰反射した後、ハーフミラー91を透過して、ハーフミラー面91に対して面対称位置に結像する。すなわち、ハーフミラー面91が被観察物である画像72と実鏡映像Pの対称面として機能する。したがって、2面コーナーリフレクタアレイ6を適用した表示装置1と同様に、ハーフミラー面91に対して斜め方向から見る観察者(運転者)の視点からは、トランク上部の空間に実鏡映像Pが浮かんで見えることになる。
ハーフミラーとレトロリフレクタアレイを用いた場合も2面コーナーリフレクタアレイを用いた場合と同様、実鏡映像が観察できる範囲がレトロリフレクタアレイ及びハーフミラーの大きさやレトロリフレクタアレイの位置によって制限されることになる。これらの設計は2面コーナーリフレクタアレイの場合と同様であり、水平から20度から60度の角度範囲に観察角が入るようにすればよい。
以上の実施態様ではトランクを有する車輌(セダン)に関して述べてきたが、それ以外の車種、例えばステーションワゴンやワンボックスなどの車種にも本発明は適用可能である。これらの車種の場合は実鏡映像結像光学系をルーフ上に設けることになる。
さらに、上記実施態様では後続車が接近した時に危険警告表示にて警告を発する表示装置に関して述べてきたが、警告表示以外に、車輌に接近する人に対して広告情報を提示できるので、車体広告表示にも適用できる。そして動画や立体画像を用いれば、接近する人にインパクトを与えられるなどの効果も得られさらに好ましい。また、本発明では、車両などの外装内部に一体として本発明の表示装置を装備する他に、当該表示装置を車両とは別体として筐体に納めれば、車両外装に着脱自在に構成できる。
本発明は、後続車が接近した時に危険警告表示にて警告を発する表示装置として利用できる。
1,1’…表示装置
3…トランク上面部
6…2面コーナーリフレクタアレイ(実鏡映像結像光学系)
6S…素子面(対称面)
7…ディスプレイ
9…実鏡映像結像光学系
6S…素子面
61…2面コーナーリフレクタ
61a,61b…鏡面
62…反射面
71…表示面
72…被観察物(画像)
91…ハーフミラー
91S…ハーフミラー面(対称面,反射面)
92…レトロリフレクタアレイ
92A,92B…レトロリフレクタ
92Aa,92Ab,92Ac,92Ba,92Bb,92bc…鏡面
P…実鏡映像
θ…観察者が実鏡映像を観察できる角度範囲

Claims (6)

  1. 乗り物の外装部材に取り付けられる表示装置であって、
    提示情報を含む被観察物と、
    前記被観察物を覆うように前記被観察物から離間され且つ対称面を含む半透過性の基盤を有し且つ、前記基盤に対して前記被観察物の反対側の空間において、前記対称面に対して前記被観察物の面対称位置に前記被観察物の実像を結像させる実鏡映像結像光学系と、を含み、
    前記乗り物の外装部材が車両ボディのトランク上面およびルーフ面の少なくとも一方のボディ面であり、
    前記実鏡映像結像光学系の前記基盤は、前記ボディ面と一体に形成され、且つ、後方に向け前記実像が水平から20度から60度の角度範囲観察角に入るように、配置されていることを特徴とする表示装置。
  2. 前記実鏡映像結像光学系は、前記基盤の前記対称面において間隙をもって配列された複数の2面コーナーリフレクタからなる2面コーナーリフレクタアレイを含むこと、
    前記2面コーナーリフレクタの各々は2つの直交する鏡面からなり、前記鏡面の交線が前記対称面に直交すること、
    前記被観察物は、前記被観察物から出た光線の一部が前記鏡面の交線へ入射し前記2面コーナーリフレクタの間を通過して、前記被観察物の反対側の空間に達するように、配置されていること、を特徴とする請求項1に記載の表示装置。
  3. 前記実鏡映像結像光学系は、前記基盤に形成され且つ前記対称面として配置されたハーフミラーと、
    前記被観察物側の空間において前記被観察物から出た光線のうち前記ハーフミラーで反射した光線を再帰反射する位置に配置された複数のレトロリフレクタと、を有することを特徴とする請求項1に記載の表示装置。
  4. 前記被観察物は、電子ディスプレイの表示面に表示される画像であることを特徴とする請求項1〜3のいずれかに記載の表示装置。
  5. 前記被観察物は、3次元画像を表示し得る電子ディスプレイの表示面に表示される立体画像であることを特徴とする請求項1〜3のいずれかに記載の表示装置。
  6. 前記被観察物は、経時的に動的に変化する画像であることを特徴とする請求項4又5に記載の表示装置。
JP2009032699A 2009-02-16 2009-02-16 表示装置 Expired - Fee Related JP5513752B2 (ja)

Priority Applications (1)

Application Number Priority Date Filing Date Title
JP2009032699A JP5513752B2 (ja) 2009-02-16 2009-02-16 表示装置

Applications Claiming Priority (1)

Application Number Priority Date Filing Date Title
JP2009032699A JP5513752B2 (ja) 2009-02-16 2009-02-16 表示装置

Publications (2)

Publication Number Publication Date
JP2010188768A JP2010188768A (ja) 2010-09-02
JP5513752B2 true JP5513752B2 (ja) 2014-06-04

Family

ID=42815319

Family Applications (1)

Application Number Title Priority Date Filing Date
JP2009032699A Expired - Fee Related JP5513752B2 (ja) 2009-02-16 2009-02-16 表示装置

Country Status (1)

Country Link
JP (1) JP5513752B2 (ja)

Families Citing this family (7)

* Cited by examiner, † Cited by third party
Publication number Priority date Publication date Assignee Title
US10583700B2 (en) 2014-12-26 2020-03-10 The Yokohama Rubber Co., Ltd. Tire state monitoring system
FR3049683A1 (fr) * 2016-03-31 2017-10-06 Valeo Vision Dispositif d'avertissement lumineux, notamment pour vehicule automobile
JP7176687B2 (ja) * 2018-10-22 2022-11-22 豊田合成株式会社 車両用表示装置
JP2020067707A (ja) * 2018-10-22 2020-04-30 豊田合成株式会社 非接触操作検出装置
JP7163556B2 (ja) * 2018-12-11 2022-11-01 豊田合成株式会社 車両用表示装置
JP2021084595A (ja) * 2019-11-29 2021-06-03 日野自動車株式会社 車両
CN114488047A (zh) * 2022-01-27 2022-05-13 中国第一汽车股份有限公司 一种车辆传感器标定系统

Family Cites Families (4)

* Cited by examiner, † Cited by third party
Publication number Priority date Publication date Assignee Title
JPH0322036Y2 (ja) * 1986-11-12 1991-05-14
JP2000225889A (ja) * 1999-02-03 2000-08-15 Asahi Glass Co Ltd 自動車用表示灯
JP2005047494A (ja) * 2004-07-22 2005-02-24 Ipp:Kk 自動車のアクセル、ブレーキ操作等表示システム
KR101136231B1 (ko) * 2007-07-30 2012-04-17 도쿠리츠 교세이 호진 죠호 츠신 켄큐 키코 다시점 공중 영상 표시 장치

Also Published As

Publication number Publication date
JP2010188768A (ja) 2010-09-02

Similar Documents

Publication Publication Date Title
JP5392612B2 (ja) 表示装置
JP5392613B2 (ja) ヘッドアップディスプレイ
JP5063494B2 (ja) 表示装置
JP5498853B2 (ja) 表示装置
JP5365957B2 (ja) 表示装置
JP5408532B2 (ja) 表示装置
JP5410776B2 (ja) 表示装置
JP5513752B2 (ja) 表示装置
JP7437068B2 (ja) 表示装置
JP2010262229A (ja) 表示装置
US10302954B2 (en) Image display device
JP5001888B2 (ja) 表示装置
US10330943B2 (en) Image display device
JP2009025776A (ja) 実鏡映像結像光学系
US11505903B2 (en) Methods and apparatus for ultra wide entrance angle reflective articles for use with autonomous vehicle machine vision systems
JP5817793B2 (ja) 車両用の投射型表示装置
WO2012161073A1 (ja) 表示装置

Legal Events

Date Code Title Description
A621 Written request for application examination

Free format text: JAPANESE INTERMEDIATE CODE: A621

Effective date: 20120203

A977 Report on retrieval

Free format text: JAPANESE INTERMEDIATE CODE: A971007

Effective date: 20130208

A131 Notification of reasons for refusal

Free format text: JAPANESE INTERMEDIATE CODE: A131

Effective date: 20130312

A521 Request for written amendment filed

Free format text: JAPANESE INTERMEDIATE CODE: A523

Effective date: 20130507

A131 Notification of reasons for refusal

Free format text: JAPANESE INTERMEDIATE CODE: A131

Effective date: 20131112

A521 Request for written amendment filed

Free format text: JAPANESE INTERMEDIATE CODE: A523

Effective date: 20131126

TRDD Decision of grant or rejection written
A01 Written decision to grant a patent or to grant a registration (utility model)

Free format text: JAPANESE INTERMEDIATE CODE: A01

Effective date: 20140311

A61 First payment of annual fees (during grant procedure)

Free format text: JAPANESE INTERMEDIATE CODE: A61

Effective date: 20140328

R150 Certificate of patent or registration of utility model

Ref document number: 5513752

Country of ref document: JP

Free format text: JAPANESE INTERMEDIATE CODE: R150

R250 Receipt of annual fees

Free format text: JAPANESE INTERMEDIATE CODE: R250

R250 Receipt of annual fees

Free format text: JAPANESE INTERMEDIATE CODE: R250

R250 Receipt of annual fees

Free format text: JAPANESE INTERMEDIATE CODE: R250

R250 Receipt of annual fees

Free format text: JAPANESE INTERMEDIATE CODE: R250

R250 Receipt of annual fees

Free format text: JAPANESE INTERMEDIATE CODE: R250

LAPS Cancellation because of no payment of annual fees