JP5498317B2 - 光学ユニット - Google Patents

光学ユニット Download PDF

Info

Publication number
JP5498317B2
JP5498317B2 JP2010183589A JP2010183589A JP5498317B2 JP 5498317 B2 JP5498317 B2 JP 5498317B2 JP 2010183589 A JP2010183589 A JP 2010183589A JP 2010183589 A JP2010183589 A JP 2010183589A JP 5498317 B2 JP5498317 B2 JP 5498317B2
Authority
JP
Japan
Prior art keywords
plate
adjustment
optical unit
base
lens
Prior art date
Legal status (The legal status is an assumption and is not a legal conclusion. Google has not performed a legal analysis and makes no representation as to the accuracy of the status listed.)
Active
Application number
JP2010183589A
Other languages
English (en)
Other versions
JP2012042696A (ja
Inventor
真朗 乾
信樹 松井
Current Assignee (The listed assignees may be inaccurate. Google has not performed a legal analysis and makes no representation or warranty as to the accuracy of the list.)
Hitachi Consumer Electronics Co Ltd
Original Assignee
Hitachi Consumer Electronics Co Ltd
Priority date (The priority date is an assumption and is not a legal conclusion. Google has not performed a legal analysis and makes no representation as to the accuracy of the date listed.)
Filing date
Publication date
Application filed by Hitachi Consumer Electronics Co Ltd filed Critical Hitachi Consumer Electronics Co Ltd
Priority to JP2010183589A priority Critical patent/JP5498317B2/ja
Publication of JP2012042696A publication Critical patent/JP2012042696A/ja
Application granted granted Critical
Publication of JP5498317B2 publication Critical patent/JP5498317B2/ja
Active legal-status Critical Current
Anticipated expiration legal-status Critical

Links

Images

Landscapes

  • Projection Apparatus (AREA)
  • Transforming Electric Information Into Light Information (AREA)

Description

本発明は、液晶プロジェクタなどの光学ユニットに関する。
液晶プロジェクタなどの投写型表示装置は、水銀ランプ等の光源から発せられた光を液晶パネルなどの表示素子に照射し、表示素子の像を投写レンズを介してスクリーンへ拡大投写するものである。液晶プロジェクタにおいては、一旦装置を設置した後、投写レンズからスクリーン等に投写される画面位置を水平方向及び垂直方向に調整するために、投写レンズ(レンズ鏡筒)を移動させる機構(以下、レンズシフト機構)が設けられている。このレンズシフト機構は、投写光の光軸に対して直交する2方向、すなわち水平方向と垂直方向に投写レンズを移動させる必要がある。そのためにレンズシフト機構は機構部品が多く、光軸方向の厚みが増大してプロジェクタの小型化を妨げる要因となっている。
特許文献1には、構成が簡単でレンズ鏡筒の移動がスムーズになることを目的としたレンズシフト機構が開示されている。該文献では、レンズ保持部材の第1、第2の案内機構として、長手方向に沿って設けられた軌道部材(アウターレール)と、該軌道部材と相対運動自在に組み込まれた移動部材(インナーレール)と、軌道部材の転動体転走面と移動部材の転動体転走面の間に配置された複数の転動体(ボール)を具備する構成としている。そして、第1、第2の案内機構がそれぞれ具備する軌道部材及び移動部材は、光の光軸方向において略同じ位置に配置することで、レンズシフト機構を光軸方向に薄型に構成でき、小型化が可能になると述べられている。
特開2004−77612号公報
従来のレンズシフト機構は、投写レンズ(レンズ鏡筒)を2軸方向に移動させるための可動部材と、該可動部材を保持して光学ユニットの光源側(照明系)に取り付ける固定部材とから構成されている。特許文献1に記載されるレンズシフト機構においても、軌道部材や移動部材からなる可動部材の他に、第1、第2の案内機構を支える固定側支持部材(固定部材)を有している。このように固定部材が必要とされるのは、従来のレンズシフト機構は照明系とは別体で作製され、レンズシフト機構の固定部材にて照明系に取り付けることを前提としているためである。その結果、レンズシフト機構は固定部材を含むために薄型化には限界があった。
そこで、本発明の目的は、レンズシフト機構から固定部材を除去することで部品点数を削減し、レンズシフト機構のさらなる薄型化と高精度化、光学ユニットの小型化を図ることである。
本発明は、光源から発せられた光を表示素子に生成された画像に照射する照明系と、照明系から出射された映像光を拡大投写する投写レンズを有する光学ユニットであって、照明系を搭載するシャーシと投写レンズを収納するレンズ鏡筒との間に、シャーシに対してレンズ鏡筒を投写光の光軸方向に直交する2軸方向に移動させるレンズシフト機構を備え、レンズシフト機構を構成する可動部材を、シャーシに設けたベースプレートに直接取り付けた構成とする。
本発明によれば、レンズシフト機構を構成する部品点数を削減し、レンズシフト機構のさらなる薄型化と高精度化、光学ユニットの小型化を図ることができる。
光学ユニットの一実施例を示す外観構成図。 図1の光学ユニット1の分解図。 レンズシフト機構7を組み立てた状態を、レンズ鏡筒6側から見た図。 レンズシフト機構7を組み立てた状態を、シャーシ10側から見た図。 スラストネジ14を挿入するために各プレートに設けたスラスト穴の形状を示す図。 シフト量調整部20の拡大図。 X調整カム31を回転させたときのX調整板23の動きを示す図。 Y調整ネジ32におけるトルクリミッタ機構50を示す図。
以下、本発明の実施形態を図面を用いて説明する。
図1は、光学ユニットの一実施例を示す外観構成図であり、液晶プロジェクタに搭載する光学ユニットについて示している。光学ユニット1は光源2と接続され、液晶パネル3を含む照明系4と、複数個のレンズ群からなる投写レンズ5を収納するレンズ鏡筒6と、レンズシフト機構7を備える。
光学ユニット1では、超高圧水銀ランプ等の光源2から発せられた光を、液晶パネル3に生成された画像に照射し、液晶パネル3から出射される映像光を投写レンズ5によりスクリーンなどに拡大投写して画像を表示する。液晶パネル3は、透過型または反射型の光変調作用を有する表示素子で、RGBの各色光ごとに備える。液晶パネル3の近傍には、入射側及び出射側に偏光板やダイクロイックミラー、ダイクロイックプリズムなどの光学部品を備え、RGBの各色光の分離と合成を行う。液晶パネル3からの映像光は、投写レンズ5に入射し、出射側のレンズからスクリーン等に拡大投写される。
液晶パネル3などの照明系4は共通のシャーシ10に搭載され固定されている。照明系4(すなわちシャーシ10)とレンズ鏡筒6の間にはレンズシフト機構7を取り付け、投写レンズ5(レンズ鏡筒6)を光軸(Z方向)に直交する2軸方向に移動させる。その移動方向は、光学ユニット1の設置面に対し水平方向(以下、X方向)と垂直方向(以下、Y方向)とすることで、スクリーン上に投写される画像位置を水平方向と垂直方向に移動調整することができる。レンズシフト機構7の上部には、移動量を調整するシフト量調整部20を設けている。
ここで、レンズシフト機構7は、可動部材として光学ユニットの設置面に対して水平方向に移動するXプレートと垂直方向に移動するYプレートを有し、Xプレートにはレンズ鏡筒6を固定し、Yプレートとベースプレートを介してベースプレートの裏面に配置したナットプレートにスラストネジにて取り付ける構造であって、スラストネジを通すスラスト穴として、YプレートにはXプレートが水平方向に移動する距離に相当する横長の穴を、ベースプレートにはXプレートが水平方向に移動する距離に相当する横辺とYプレートが垂直方向に移動する距離に相当する縦辺を持つ略四角形の穴を設けた構成とする。
またレンズシフト機構7のシフト量調整部20は、ベースプレート、Xプレート、Yプレートの各上辺を投写方向に折り曲げて形成したベース調整板、X調整板、Y調整板を垂直方向に重ねて配置し、X調整板をY調整板に対して水平方向に移動させるX調整カムと、Y調整板をベース調整板に対して垂直方向に移動させるY調整ネジを挿入した構造とし、X調整カムは、X調整板と係合する部分を水平方向の移動量に相当する量だけ偏心させた形状とする。
図2は、図1の光学ユニット1の分解図である。図2では、照明系4から液晶パネル3や光学部品等を取り除いたシャーシ10の形状を示す。シャーシ10の中で、投写レンズ5に向かう側面にはベースプレート11を形成し、これにレンズシフト機構7を取り付ける。レンズシフト機構7は、ベースプレート11に対しY方向に移動可能なYプレート12と、Yプレート12に対してX方向に移動可能なXプレート13で構成し、Xプレート13には投写レンズ5のレンズ鏡筒6が位置決め用凸部16を用いて係合される。これにより、投写レンズ5はベースプレート11(すなわちシャーシ10)に対してX方向とY方向に移動可能となる。レンズ鏡筒6は、Xプレート13とYプレート12を介してベースプレート11に、4本のスラストネジ14とスラストバネ14aを用いて取り付けられる。
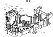
図3は、レンズシフト機構7を組み立てた状態を、レンズ鏡筒6側から見た図である。また図4は、レンズシフト機構7を組み立てた状態を、照明系のシャーシ10側から見た図である。いずれもレンズ鏡筒6を除いて示す。
図5は、スラストネジ14を挿入するために各プレートに設けたスラスト穴の形状を示す図である。Xプレート13に設けるスラスト穴13aはスラストネジ14と同径サイズとして、Xプレート13にはレンズ鏡筒6を固定する。Yプレート12のスラスト穴12aは横長形状とし、Xプレート13がYプレート12に対してX方向に移動可能としている。ベースプレート11のスラスト穴11aは、Yプレート12のスラスト穴12aをさらに縦方向に拡大した略四角形状とし、Yプレート12及びXプレート13がベースプレート11に対してY方向に移動可能としている。スラストネジ14の先端は、ベースプレート11の裏面に配したナットプレート15のネジ穴15aに固定される。ナットプレート15はシャーシ10とは別体であり、スラストネジ14の移動(X、Y位置)に合わせて、ベースプレート11に対してX、Y方向に移動可能となっている。
レンズシフト機構7の上部には、投写レンズ5(レンズ鏡筒6)の移動量を調整するためのシフト量調整部20を有する。すなわちシフト量調整部20は、ベースプレート11、Yプレート12、Xプレート13の上部に設けた調整板21,22,23に、X調整カム31、Y調整ネジ32、及びX方向のロックネジ33を挿入して構成する。これにより、ベースプレート11に対してXプレート13をX方向に、またYプレート12をY方向に所望量だけ移動可能にしている。
このように本実施例におけるレンズシフト機構7は、可動部材であるXプレート13とYプレート12を有するだけであり、従来の構造で必要とされた照明系に取りつけるための固定部材を削除している。そして、可動部材であるYプレート12を照明系のベースプレート11に直接取り付けている。言い換えれば、照明系のベースプレート11がレンズシフト機構の固定部材を兼用する構成としている。その結果、レンズシフト機構の部品点数が削減され、投写レンズ5の姿勢を高精度で保持し、光学ユニットを小型化することができる。
次に、シフト量調整部20の構造について説明する。
図2に示したように、シフト量調整部20の構造は、ベースプレート11、Yプレート12、Xプレート13の各上辺を投写方向(Z方向)に逆L字型に折り曲げて、それぞれベース調整板21、Y調整板22、X調整板23を形成する。そして、ベース調整板21を最下面として、垂直上方向にX調整板23とY調整板22の順に重ねて配置する。各調整板には組み立て調整用の穴(またはネジ穴)を設けて、X調整カム31、Y調整ネジ32、及びX方向のロックネジ33を挿入する。X調整カム31はX調整板23(Xプレート13)をY調整板22(Yプレート12)に対してX方向に移動させるもので、Y調整ネジ32はY調整板22(Yプレート12)をベース調整板21(ベースプレート11)に対してY方向に移動させるものである。ロックネジ33は、X調整カム31で移動したX調整板23のX方向位置をロック(固定)するものである。
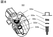
図6は、シフト量調整部20の拡大図である。各調整板は、Y調整板22を最上面、ベース調整板21を最下面、X調整板23を中間に挟んで配置する。
X調整カム31はY調整板22、X調整板23、およびベース調整板21に係合する。X調整カム31の形状は、X調整板23と係合する中央部を、X方向の移動量に相当する量だけ偏心させた偏心カム形状としている。また、X調整カム31の偏心カム部と係合するX調整板23の調整穴23aは、投写方向(Z方向)に偏心量だけ長径とする長円状としている。
図7は、X調整カム31を回転させたときのX調整板23の動きを示す図である。X調整板23は、X調整カム31の偏心量だけX方向に移動可能となっている。なお、調整後のX調整板23に外力が印加された場合にX調整カム31が回転してX方向位置がずれることを防ぐため、調整位置でロックネジ33を回してX調整板23を固定する。X調整カム31の頭部31aはマイナス溝と六角穴を併用し、調整用工具の種類を自在としている。
Y調整ネジ32は、Y調整板22とベース調整板21に係合し、ネジ先はベース調整板21に係止される。Y調整ネジ32を回転することでベース調整板21とY調整板22との間隔が変化し、Y調整板22をY方向に移動可能となっている。Y方向の調整では、調整後のY調整板22に外力が印加されてもY調整ネジ32が回転することはないのでロックネジは不要である。
本実施例のシフト量調整部20における最大シフト量は、X方向に±0.64mm、Y方向に±0.96mmである。これによれば、スクリーン上のシフト量は、水平方向に±10cm、また垂直方向に±15cmとなり(画面サイズ100インチの場合)、実用上十分な調整幅を実現できる。
なお、ベース調整板21にX調整カム31とY調整ネジ32を挿入するとき、ネジ抜け防止用の抜け止め板34を用いる。抜け止め板34は断面が略コ字状の板バネからなり、その開口部をベース調整板21の側面から差し込む。抜け止め板34の開口部下側の先端にはフック部が設けられ、X調整カム31とY調整ネジ32の先端部(ベース調整板21の裏面側に突き出ている)を係止することで、挿入したX調整カム31やY調整ネジ32がベース調整板21から上方に抜けることを防止する。さらに、抜け止め板34のフック部を下方に湾曲させることで、バネ力によりX調整カム31やY調整ネジ32をベース調整板21に密着させ、Y方向調整時のガタを吸収して精度を上げるようにした。
図8は、Y調整ネジ32におけるトルクリミッタ機構50を示す図である。Y調整ネジ32の頭部32aと軸部32b(負荷側)の間に、対向する2枚のギヤ32c,32dを設け、両者をバネ32eを介して押し付けることでトルクを伝達する。調整範囲を超えてなおネジ頭32aを回そうとすると、負荷トルクが過大になりバネ力が負けてギヤ32c,32dの噛み合い部分が滑り、トルク伝達が遮断される。これにより、Y調整ネジ32に過大力が印加されることを防止する。
このように本実施例におけるシフト量調整部20は、簡単な構成として部品点数を少なくし、精度を維持しながら容易に調整できるようにしている。
レンズシフト機構7では、さらにXプレート13とYプレート12のガタを防止するため、図2に示すように2枚の付勢バネ41,42を設けている。X付勢バネ41はYプレート12の側面に取り付けて、Yプレート12のX方向のガタを吸収する。Y付勢バネ42はXプレート13の底面に取り付けて、Xプレート13とYプレート12のY方向のガタを吸収する。このようにして、簡単な構造でありながら調整精度を維持することができる。
本実施例によれば、レンズシフト機構を照明系と一体で作製するため、従来のレンズシフト機構で必要とされた固定部材は必須ではなくなる。レンズシフト機構の固定部材の機能を照明系の一部として実現することで、レンズシフト機構の可動部材を直接照明系に取り付けても、レンズシフト機能の支障にならないからである。すなわち、従来のレンズシフト機構から固定部材を除去することにより、レンズシフト機構の薄型化と高精度化が可能となる。
1…光学ユニット、
2…光源、
3…液晶パネル、
4…照明系、
5…投写レンズ、
6…レンズ鏡筒、
7…レンズシフト機構、
10…シャーシ、
11…ベースプレート、
12…Yプレート、
13…Xプレート、
14…スラストネジ、
11a,12a,13a…スラスト穴、
15…ナットプレート、
20…シフト量調整部、
21…ベース調整板、
22…Y調整板、
23…X調整板、
31…X調整カム、
32…Y調整ネジ、
33…ロックネジ、
34…抜け止め板、
41…X付勢バネ,
42…Y付勢バネ、
50…トルクリミッタ機構。

Claims (3)

  1. 光源から発せられた光を表示素子に生成された画像に照射する照明系と、該照明系を搭載するシャーシと、該照明系から出射された映像光を拡大投写しレンズ鏡筒に収納された投写レンズを有する光学ユニットにおいて、
    前記シャーシと一体に設けられたベースプレートと、
    前記ベースプレートと前記レンズ鏡筒との間に、前記ベースプレートに対して第1の方向に移動可能な第1のプレートと、前記第1のプレートに対して第1の方向と略直交する第2の方向に移動可能な第2のプレートとを配置し、
    さらに、前記ベースプレートの照明系側にナットプレートを配置し、
    前記レンズ鏡筒を前記ナットプレートにスラストネジにて取り付けたことを特徴とする光学ユニット。
  2. 請求項1に記載の光学ユニットにおいて、
    前記スラストネジを通すスラスト穴として、前記第1のプレートには、前記第2のプレートが前記第2の方向に移動する距離に対応する第2の方向に長い穴を設け、
    前記ベースプレートには、前記第2のプレートが前記第2の方向に移動する距離に対応する辺と前記第1のプレートが前記第1の方向に移動する距離に対応する辺を持つ略四角形の穴を設けたことを特徴とする光学ユニット。
  3. 請求項2に記載の光学ユニットにおいて、
    記ベースプレート、前記第2のプレート、前記第1のプレートの各辺を投写方向に折り曲げて形成したベース調整板、第2の調整板、第1の調整板を前記第1の方向に重ねて配置し、
    前記第2の調整板を前記第1の調整板に対して前記第2の方向に移動させる調整カムと、前記第1の調整板を前記ベース調整板に対して前記第1の方向に移動させる調整ネジを挿入した構造とし、
    記調整カムは、前記第2の調整板と係合する部分を前記第2の方向の移動量に相当する量だけ偏心させた形状としたことを特徴とする光学ユニット。
JP2010183589A 2010-08-19 2010-08-19 光学ユニット Active JP5498317B2 (ja)

Priority Applications (1)

Application Number Priority Date Filing Date Title
JP2010183589A JP5498317B2 (ja) 2010-08-19 2010-08-19 光学ユニット

Applications Claiming Priority (1)

Application Number Priority Date Filing Date Title
JP2010183589A JP5498317B2 (ja) 2010-08-19 2010-08-19 光学ユニット

Publications (2)

Publication Number Publication Date
JP2012042696A JP2012042696A (ja) 2012-03-01
JP5498317B2 true JP5498317B2 (ja) 2014-05-21

Family

ID=45899095

Family Applications (1)

Application Number Title Priority Date Filing Date
JP2010183589A Active JP5498317B2 (ja) 2010-08-19 2010-08-19 光学ユニット

Country Status (1)

Country Link
JP (1) JP5498317B2 (ja)

Families Citing this family (3)

* Cited by examiner, † Cited by third party
Publication number Priority date Publication date Assignee Title
JP6070019B2 (ja) * 2012-09-28 2017-02-01 セイコーエプソン株式会社 プロジェクター
US9154755B2 (en) 2012-09-28 2015-10-06 Seiko Epson Corporation Projector with a lens shift mechanism configured to move a projection lens
JP2015179162A (ja) * 2014-03-19 2015-10-08 セイコーエプソン株式会社 プロジェクター

Family Cites Families (4)

* Cited by examiner, † Cited by third party
Publication number Priority date Publication date Assignee Title
JP2003057750A (ja) * 2001-08-15 2003-02-26 Nifco Inc レンズ昇降機構及びそれを用いた光学装置
JP2003315648A (ja) * 2002-04-19 2003-11-06 Canon Inc 光学装置
JP3754392B2 (ja) * 2002-04-24 2006-03-08 三洋電機株式会社 レンズシフト機構及び投写型映像表示装置
JP4433054B2 (ja) * 2008-01-23 2010-03-17 セイコーエプソン株式会社 プロジェクタ

Also Published As

Publication number Publication date
JP2012042696A (ja) 2012-03-01

Similar Documents

Publication Publication Date Title
US9052570B2 (en) Light-adjusting unit and projector
JP5691257B2 (ja) プロジェクター
JP5838850B2 (ja) 調光装置およびプロジェクター
CN204667034U (zh) 投影仪
JP5498317B2 (ja) 光学ユニット
CN110703547B (zh) 投影型影像显示装置
US20110001940A1 (en) Lens barrel shift mechanism and projector
JP4545471B2 (ja) レンズ移動機構
JP6450959B2 (ja) プロジェクター
JP2010039085A (ja) 投写型画像表示装置
JP6746316B2 (ja) レンズ装置及びこれを用いた光学装置及びそれらの製造方法
JP2011043680A (ja) プロジェクタ
US7864436B2 (en) Rear projection type display apparatus
JP2008203539A (ja) プロジェクタ装置
JP2005195702A (ja) 鏡筒支持装置及びプロジェクタ装置
JP2004317986A (ja) 移動装置、鏡筒支持装置および投射型表示装置
JP6079795B2 (ja) プロジェクター
CN211348966U (zh) 可调式固定装置及投影系统
JP6451137B2 (ja) スライド案内装置、およびプロジェクター
JP2015169751A (ja) プロジェクター
JP2018185419A (ja) プロジェクター
US9417423B2 (en) Micro projector and fixing structure thereof
CN204536710U (zh) 投影仪
JP2016218097A (ja) レンズ装置及びこれを用いた投射型表示装置、撮像装置

Legal Events

Date Code Title Description
A621 Written request for application examination

Free format text: JAPANESE INTERMEDIATE CODE: A621

Effective date: 20130123

A977 Report on retrieval

Free format text: JAPANESE INTERMEDIATE CODE: A971007

Effective date: 20131004

A131 Notification of reasons for refusal

Free format text: JAPANESE INTERMEDIATE CODE: A131

Effective date: 20131015

A521 Request for written amendment filed

Free format text: JAPANESE INTERMEDIATE CODE: A523

Effective date: 20131211

TRDD Decision of grant or rejection written
A01 Written decision to grant a patent or to grant a registration (utility model)

Free format text: JAPANESE INTERMEDIATE CODE: A01

Effective date: 20140212

A61 First payment of annual fees (during grant procedure)

Free format text: JAPANESE INTERMEDIATE CODE: A61

Effective date: 20140307

R150 Certificate of patent or registration of utility model

Ref document number: 5498317

Country of ref document: JP

Free format text: JAPANESE INTERMEDIATE CODE: R150

S111 Request for change of ownership or part of ownership

Free format text: JAPANESE INTERMEDIATE CODE: R313111

R350 Written notification of registration of transfer

Free format text: JAPANESE INTERMEDIATE CODE: R350

R250 Receipt of annual fees

Free format text: JAPANESE INTERMEDIATE CODE: R250

R250 Receipt of annual fees

Free format text: JAPANESE INTERMEDIATE CODE: R250

S111 Request for change of ownership or part of ownership

Free format text: JAPANESE INTERMEDIATE CODE: R313111

R350 Written notification of registration of transfer

Free format text: JAPANESE INTERMEDIATE CODE: R350

R250 Receipt of annual fees

Free format text: JAPANESE INTERMEDIATE CODE: R250

R250 Receipt of annual fees

Free format text: JAPANESE INTERMEDIATE CODE: R250

R250 Receipt of annual fees

Free format text: JAPANESE INTERMEDIATE CODE: R250

S111 Request for change of ownership or part of ownership

Free format text: JAPANESE INTERMEDIATE CODE: R313111

R350 Written notification of registration of transfer

Free format text: JAPANESE INTERMEDIATE CODE: R350

R250 Receipt of annual fees

Free format text: JAPANESE INTERMEDIATE CODE: R250

R250 Receipt of annual fees

Free format text: JAPANESE INTERMEDIATE CODE: R250

R250 Receipt of annual fees

Free format text: JAPANESE INTERMEDIATE CODE: R250

R250 Receipt of annual fees

Free format text: JAPANESE INTERMEDIATE CODE: R250