JP5405754B2 - 播種ロール軸遊動型播種機 - Google Patents

播種ロール軸遊動型播種機 Download PDF

Info

Publication number
JP5405754B2
JP5405754B2 JP2008048894A JP2008048894A JP5405754B2 JP 5405754 B2 JP5405754 B2 JP 5405754B2 JP 2008048894 A JP2008048894 A JP 2008048894A JP 2008048894 A JP2008048894 A JP 2008048894A JP 5405754 B2 JP5405754 B2 JP 5405754B2
Authority
JP
Japan
Prior art keywords
gear
seeding
seed
roll
shaft
Prior art date
Legal status (The legal status is an assumption and is not a legal conclusion. Google has not performed a legal analysis and makes no representation as to the accuracy of the status listed.)
Active
Application number
JP2008048894A
Other languages
English (en)
Other versions
JP2009201442A (ja
Inventor
城久 今村
Current Assignee (The listed assignees may be inaccurate. Google has not performed a legal analysis and makes no representation or warranty as to the accuracy of the list.)
Nippon Beet Sugar Manufacturing Co Ltd
Original Assignee
Nippon Beet Sugar Manufacturing Co Ltd
Priority date (The priority date is an assumption and is not a legal conclusion. Google has not performed a legal analysis and makes no representation as to the accuracy of the date listed.)
Filing date
Publication date
Application filed by Nippon Beet Sugar Manufacturing Co Ltd filed Critical Nippon Beet Sugar Manufacturing Co Ltd
Priority to JP2008048894A priority Critical patent/JP5405754B2/ja
Publication of JP2009201442A publication Critical patent/JP2009201442A/ja
Application granted granted Critical
Publication of JP5405754B2 publication Critical patent/JP5405754B2/ja
Active legal-status Critical Current
Anticipated expiration legal-status Critical

Links

Images

Landscapes

  • Sowing (AREA)

Description

本発明は、育苗に使用する個別ポットを多数連結してなるポット集合体あるいはポット育苗箱へ播種する育苗用播種機に関するものである。
セルトレイのような縦横方向に多数のセルが一体成形されたポット育苗箱や、紙又は紙のような薄膜から形成した個別ポットを水溶性接着剤を介して多数連結させたポット集合体(例えば日本甜菜製糖株式会社製ぺーパーポット(R)など)は苗生産に広く用いられている。これらへの播種作業においては、種子を貯留する種子ホッパと外周面の円周方向に種子を繰り出すための種子穴を設けた播種ロールを具備し、コンベヤでポット育苗箱又はポット集合体を搬送して播種ロールの真下を通過させるようにした構成の播種機が能率的である。
特許文献1及び特許文献2に開示の播種機は、上述の構成を有するものである。
これらの播種ロールの軸は、欠歯歯車から伝達を受ける。このような構成では、一定の間隔ごとに搬送されてくる育苗箱の間、すなわち播種を必要としない箇所には播種ロールの回転が停止するので、適切に播種することが可能である。
しかしながら、伝達のタイミングや歯の形状によっては、播種ロール側の歯の先端と欠歯歯車の歯の先端とが突き合うこと(衝合)により動かなくなってしまうことがあり、作業に支障をきたしたり、甚だしい場合には播種機が故障することもある。
また、播種作業は農家の庭先で行われることが多く、土や砂の粒子、その他夾雑物がこの動力伝達部分に噛み込むこともある。
実開平1−66813号 特開2007−129962号
播種機が停止すると、播種作業が遅延する。また、停止した時に播種ロール真下を通過途中であったポット集合体(又はポット育苗箱)については、作業のやり直しをしなければならなくなる。
本発明は上記の事情に鑑みてなされたものであり、動力伝達系に歯車の歯と歯の衝合のようなアクシデントが発生しても播種機が停止することのない簡便な構成を提供することにある。
上記課題を解決するため、本発明のうち請求項1の発明は、外周面の円周方向に種子穴を設けた播種ロールの軸へ歯車により動力を伝達するよう構成された播種機において、前記播種ロールの軸に取り付けられる従動側の歯車と、前記播種ロールの軸へ動力を伝達する軸に取り付けられて前記従動側の歯車にかみ合される原動側の欠歯歯車と、を有し、前記播種ロールの軸は、前記播種機の機体に設けられた切り欠きに載置されるフランジ付軸受を介して前記播種機の機体に挿着され、前記軸受は、固定部材を被せてばねで付勢され、前記播種ロールの軸は、前記従動側の歯車と前記欠歯歯車とが衝合すると前記従動側の歯車が前記欠歯歯車から逃げるように、前記軸受ごと遊動可能であることを特徴とするものである。
また、上記課題を解決するため、本発明のうち請求項2の発明は、外周面の円周方向に種子穴を設けた播種ロールの軸へ歯車により動力を伝達するよう構成された播種機において、前記播種ロールの軸に取り付けられる従動側の歯車と、前記播種ロールの軸へ動力を伝達する軸に取り付けられて前記従動側の歯車にかみ合される原動側の欠歯歯車と、を有し、前記播種ロールの軸は、周囲に嵌め込まれたゴムを介して前記播種機の機体に設けられた軸穴に固定されるフランジ付軸受を介して前記播種機の機体に挿着され、前記播種ロールの軸は、前記従動側の歯車と前記欠歯歯車とが衝合すると前記従動側の歯車が前記欠歯歯車から逃げるように、前記軸受ごと遊動可能であることを特徴とするものである。
請求項の発明は、前記播種ロールの軸は、軸受を介して前記播種機の機体に挿着され、前記軸受ごと遊動可能になっていること特徴とする。
の発明は、前記軸受は、前記播種機の機体に設けられた切り欠きに載置されるフランジ付軸受であって、固定部材を被せてばねで付勢されることを特徴とする。
請求項の発明は、前記軸受は、フランジ付軸受であって、周囲に嵌め込まれたゴムを介して前記播種機の機体に設けられた軸穴に固定されることを特徴とする。
播種作業中の機械の停止を未然に防ぐことができ、能率的な作業に寄与する。また機械の故障なども防止することができる。
以下、本発明の実施形態を添付図面に基づいて説明する。
図1は、本播種機の全体的な構造を示したものである。
播種機の機体は、本体フレーム16、支持脚15、延長コンベヤ45、播種部フレーム36により構成されている。
コンベヤ10は搬送チェーン11及び押動体12により、反転板1に載置されたポット集合体4を矢印A方向へ搬送する。コンベヤ10上には、ポット集合体4内に種子50を供給する播種部Sが配置されている。ポット集合体4が播種部Sを通過することにより播種が行われる。
モータ26からの動力はチェーン25、スプロケット21、チェーン24、スプロケット52、チェーン27と経由してスプロケット43へと伝えられる。
スプロケット43と同軸の軸40に設けられた欠歯歯車39は、コンベヤ10と同期して所定の回転速度で矢印C方向へ回転し、ギヤ32を介して播種ロール30へ動力を伝達する。また、モーター26からの動力はスプロケット21と同軸の軸18に設けられたスプロケット20へも伝えられる。
コンベヤ10は、支持脚15によりフロア51上に立設された左・右一対の本体フレーム16を備えている。本体フレーム16には、複数のローラ13が回動自在に橋架支持され、これらローラ13上に前記ポット集合体4が載置されるようになっている。また、本体フレーム16の前・後端部には、回転軸18、19を用いて各一対のスプロケット20、23が支持され、これら前・後のスプロケット20と23との間には、左右一対の搬送チェーン11が掛け回されている。
搬送チェーン11は、モータ26の回転を下流側(前側)の回転軸18から一対のスプロケット21に伝えることにより、上流側(後側)のスプロケット23が矢印B方向へエンドレスに回転するようになっている。また、搬送チェーン11には、所定のピッチで押動体12が取付けられている。押動体12のピッチは、必要とされるポット集合体4の縦方向(搬送方向)寸法より大きく設定されており、ポット集合体の載置された反転板1の後端に押動体12を当接させて搬送方向Aへ搬送するようになっている。
ポット集合体4は、特公昭38−25715号公報などに記載されたものと同様に、水溶性接着剤などで個別ポット2相互が接着された構成となっている。ポット集合体4は、図2に示すように、ハニカム上に展開された状態で使用され、縦方向(播種機における搬送方向Aと同じ)L、横方向Wにそれぞれ個別ポット2が配列している。両方の短辺にはは、展開金具6を挿入するための間隙を設けてラベル8が貼付してある。
突起板3の構成を図3に示す。図3(a)が平面図、図3(b)が側面図である。突起板3には、円錐台の形をした突起体5がポット集合体4の各個別ポット2の縦方向L及び横方向Wのピッチに対応するように設けられている。また、ポット集合体4を展開する際に、展開金具6を掛けて固定するための固定金具14が、四隅に配置してある。
反転板4の構成を図4に示す。図4(a)が平面図、図4(b)が側面図である。底板7、把手41、側板15により構成されている。底板7はコの字状に折り曲げられ、両短辺に把手41を取り付けてある。また側板15が長辺側の一方に設けられている。図4(c)に断面形状(Z−Z断面)を示す。側板15の設けられていない方から、播種が完了したポット集合体4の取り出しをするようになっている。
播種前の準備作業を図5に示す。図5(a)の平面図に示すように、ポット集合体4とラベル8との間隙に展開金具6を挿入し、縦方向Lへ引っ張り、ハニカム状に展開する。そして、図5(b)の側面図に示すように、突起5のそれぞれに個別ポット2が嵌るように位置合わせをしてポット集合体4を突起板3へ嵌め込み、展開金具6を固定金具へ掛けて位置固定する。ポット集合体4を固定した後、育苗培土49(図示略)を各個別ポット2へ充填し、衝き固める。その後に、図5(c)に示すようにポット集合体4へ反転板1を被せる。このとき、反転板1についてポット集合体4が載置されることになる部分の寸法(内寸)は、ポット集合体4の縦方向Lの寸法とほぼ同じであり、言わば「はめあい」のようになっている。
図示を略する反転手段により反転した後に、図5(d)に示すように展開金具6を取り除き、突起板1も取り除く。すると、ポット集合体4は反転板1に載置された状態になり、またポット集合体4の各個別ポット2にはすり鉢状の播種穴55が出現する。このとき、側板15はポット集合体4の一方の縦方向Lの側面に密着することになる。
そして、ポット集合体4を、反転板1ごと、播種機のコンベヤ10へ載置することにより、播種前の準備作業は完了する。
この一連の作業においては、特公昭55−50647、特公昭53−42688、実公平4−7711などに示されるような土詰反転装置を用いることにより、ポット集合体4へ均一かつ堅固に土を充填することができる。
図6は、ポット集合体4をコンベヤ10に載置した状態を上流側(後側)から見たものである。
図6に示すように、コンベヤ10の本体フレーム16には、搬送チェーン11の上方を覆うよう折り曲げられたガイド面17が形成されている。ガイド面17は、搬送チェーン11を覆うカバーとして機能するものとなっており、またガイド面17aはポット集合体4の載置された反転板1を案内するガイドとして機能するものとなっている。反転板1に載置されたポット集合体4を、反転板1の側板15が前記ガイド面17aに摺接するようコンベヤへ載置することにより、位置決めされることになる。
この状態のもと、コンベヤ10の搬送チェーン11の回転により押動体12の1つが前記反転板1の後端に当接し、該反転板1を搬送方向Aへ搬送する。この時、反転板1の側板15が前記ガイド面17aの表面に沿って摺動する。
本実施形態では押動体12は一対の搬送チェーン11のうち一方に設けられているが、両方に設けてもよい。
図7に播種ロール30の形状及び欠歯歯車39との係合状態を示す。端部にギヤ32が取り付けられている軸31に、播種ロール30を構成する繰出ロール46とスペーサ47が重層して取り付けられている。繰出ロール46の円周方向には種子穴44がギヤ32の歯33と同数設けられている。また、繰出ロール30の円周方向には、種子整列溝63が設けてある。スペーサ47の表面に種子穴はない。軸31は播種ロール30との嵌装部分の断面が六角形となっており、繰出ロール46及びスペーサ47が嵌合する軸穴は、軸31と同期するよう同じ六角形になっている。この軸31の嵌装部分は六角形に限定されず、四角形や八角形など、又はキーやセレーションなどの手段により、播種ロール30を軸31に固着してもよい。
矢印C方向へ回転する欠歯歯車39の歯41とギヤ32の歯33がかみ合い、軸31が矢印D方向へ回転し、これと共に播種ロール30(繰出ロール46及びスペーサ47)も回転する。欠歯歯車39は、播種するポット集合体4の縦方向Lの個別ポット2の数(図2)と同数の歯41を有している。
種子穴44について、播種ロール30の横方向WのピッチMは、ポット集合体4における個別ポット2の横方向Wのピッチと同じである。
ここで、ポット集合体4の縦方向Lの個別ポット2の数及びピッチに合わせた歯数を有する欠歯歯車39と、横方向Wの個別ポット2の数とピッチに合わせた種子穴44を有する播種ロール30とを、組み合わせることによって、ポット集合体4の各種の規格に合わせることができる。
欠歯歯車39は図示を省略する固定手段により、図1におけるスプロケット43との相対角度を変更することが可能である。それにより、欠歯歯車39の歯41とギヤ32の歯33とがかみ合うタイミングを遅速させることができ、その結果個別ポット2に対する播種タイミングの微調整を容易に行うことができる。
なお、欠歯歯車39については、図21に示す所定数のピン73を円周に突接させたピン歯車74などのように、播種ロール側のギヤ32とかみ合わせることにより、すべりが起きないように回転を伝達する手段であれば、これに含まれるものとする。
播種部Sの詳細を図8に示す。播種部Sは播種ロール30、軸31、ギヤ32、種子ホッパ34、ガイド板35、播種部フレーム36、かき取りブラシ38、種子流制御板9により構成されている。播種ロール30は種子ホッパ34内の種子50を取込む複数の種子穴44を円周面に有している。さらに、この図では略してあるが播種ロールの円周方向には種子整列溝63が設けてある。
種子穴44はコーティングされた種子50が入る大きさに設定されている。この播種ロール30を所定の速度で回転させることで、所定の速度で搬送される育苗箱1内の個別ポット2内に必要数(例えば1粒)の種子50が供給されるようになる。
播種ロール30と同軸の軸31に設けられたギヤ32が欠歯歯車39(図1及び図7)より動力伝達され矢印D方向へ回転することにより、種子ホッパ34内の種子50は、播種ロール30の種子穴44に取り込まれる。種子穴44に種子50が取り込まれた播種ロール30については、かき取りブラシ38により余剰な種子50がかき取られ、必要数のみ種子穴44に保持される。種子穴44に取り込まれた種子50は、播種ロール30の形状に合わせて湾曲しているガイド板35により、種子穴44に保持されながら、ガイド板35から外れた播種位置Pに達すると、培土49が充填されている個別ポット2の播種穴55上へ落下する。播種位置Pをポット集合体4が通過することによって、すべての個別ポット2へ種子50が落下し、ポット集合体4への播種が行われる。
図9に示すように、種子ホッパ34における種子流制御板9と種子整列部55との間の種子ゲート60は、図8に示すように種子50を種子整列部56に対して垂直方向に1粒〜2粒の層に整列させるためのものである。図8では1粒の層に整列している。種子ゲート60の間隔Tは、種子50の2粒が同時に通過できないように、種子50の直径よりも若干大きい程度となっているが、種子穴44の直径と同じ程度としてもよい。
このように種子ホッパ34内における播種ロール30への種子50の流れを制御し、種子整列部56上に種子50を整列させるようにすることによって、種子穴44に種子50が1粒入る確度が高くなる。
すなわち、図10(a)に示すような複数の種子の干渉によるブリッジが発生すると、種子穴44に種子50が入らなくなる場合がある。
また、甜菜の種子のように元の種子形状が極端な扁平である場合は、それにコーティングを施した場合でも全ての種子が球状にはならずに、元の形状を反映した扁平球のものが多数混じることがある。同様に、元の種子形状が細長い場合は、コーティングした場合でも楕円球のものが多数混じることがある。そのような場合、図10(b)に示すように種子ホッパ内での種子の偏析が発生し、播種穴に同時に種子が複数入ることがある。粒径の大小のそろいが良くない場合でも同様の事が起こりえる。図8に示すようにホッパ内の種子の流れを制御することにより、上述のような不具合を回避することが可能となる。
種子流制御板9には、図11(a)に示すように、K方向へ移動可能なように長穴58を設け、固定ボルト61にて固定している。これにより、間隔Tを種子の径、播種粒数、作物の種類などにより適宜変更することができる。
また、特別な場合は、種子流制御板9は取り外して使用してもよく、図11(b)に示すように図11(a)とは反対方向に倒して使用してもよい。
図12は種子整列溝63の作用を示す模式図である。図12(a)が進行方向前方から、図12(b)が側面から見た図である。
播種精度を向上させるためには、種子50が確実に種子穴44に取り込まれる必要がある。種子50の一粒一粒が種子穴44の真上に位置するようにするほど、種子穴44に種子50が入りやすくなる。播種ロール30の円周上に種子穴44の中心を通るように設けられた種子整列溝63は、種子ホッパ34内において図12(a)に示すように、種子50について播種ロール30の円周方向以外への転動を妨げるよう作用する。そして、図12(b)に示すように、種子50がホッパ34内で播種ロール30の回転による種子穴44の到着を待ち受ける状態となる。さらには、種子50について複数粒が種子穴44の上で相互に干渉し合うこともなくなる。
このときの種子整列溝63は、種子50が種子整列溝63内に嵌り込まないように種子径よりも幅を狭くする必要があり、使用する種子径の略1/2程度の幅にするのが望ましい。また、種子整列溝63の形状は角型、U字型、V字型などのいずれでもよい。また
図12(c)に示すように、溝の角部に面取り66を施すこともできる。
種子整列溝63は、上述した種子流制御板9による種子の流れ制御と相乗的に作用し播種精度を向上させるものである。
なお、種子ゲート60の部分に図10(a)と同様にブリッジが発生する可能性はある。図13(a)がホッパ34を真上から見た状態であり、図13(b)はQ−Q断面において種子のブリッジが発生した状態を模式したものである。仮にホッパ34の幅方向Wにおいて、ブリッジが数ヶ所発生したとしても図13(a)に示すように種子50はブリッジした部分の脇から下へ順次降りていくので、必要な量は常に流れていくことになり、ホッパ内全体で種子がブリッジを起こし播種ができなくなるということはない。
ここで、ポット集合体4の進行方向Aにおける個別ポット2の1ピッチの移動時間と、播種位置Pにおける播種ロール30の円周上の種子穴44の1ピッチの移動時間とが完全に同期するように、前記欠歯歯車39の径及び回転速度並びに歯41のピッチを定めてある。すなわち、播種位置Pにおける前記押動体12の1ピッチの通過時間と、前記欠歯歯車39の1回転に要する時間は同じである。したがって、ポット集合体4を搬送し、かつ播種ロール30を回転しながら、確実に適正位置に播種できる。
なお、播種部Sには、図示を略する消勢手段が設けられているので、欠歯歯車39とギヤ32とがかみ合うことによる動力の伝達がなければ、播種ロール30が慣性で回転することはない。
図14及び図15に播種ロール30のギヤ32と欠歯歯車39との係合状態を示す。ギヤ32は欠歯歯車39に従動する。このとき、伝達のタイミングなどによっては、ギヤ32の歯の先端と欠歯歯車39の歯の先端とが突き合うこと(衝合)により、ギヤ32と欠歯歯車39が相互に動かなくなってしまうことがある。このとき、播種機は当然停止する。この衝合により動かなくなった場合、原動側である欠歯歯車39は、受動側であるギヤ32を無理にでも動かそうとするので、モーター26にトリップが発生することがある。また、播種機の破損を招くことにもつながる。
図14(a)がギヤ32の歯の先端と欠歯歯車39の歯の先端とが衝合した状態である。矢印Gにて衝合した部分を示す。本実施形態では播種ロール30の軸31を播種部フレーム36に固定する部分の穴を長穴にしてあるため、この衝合が発生する寸前における、欠歯歯車39からの過大な伝達力の垂直方向分力によりギヤ32は軸と共に上(隙間37)に逃げることができる。図14(b)は、播種ロール30の軸31が上に逃げた状態を示すものである。
図14について、見る角度を変えたものが図15であり、搬送方向Aの下流側(前側)から見たものである。図15(a)がギヤ32の歯の先端と欠歯歯車39の歯の先端との衝合が発生した状態で図14(a)に相当し、図15(b)は播種ロールが上に逃げた状態であり図14(b)に相当する。図15に示すように、本実施形態では播種ロール30の軸31にフランジ付軸受25を取り付け、それを長穴にはめ、軸受ごと遊動するようにしている。そのため、回転も円滑になり、ギヤ32の歯の先端と欠歯歯車39の歯の先端との衝合による不具合も回避することができる。
通常は播種ロールは自重により長穴の最下位に位置しており、欠歯歯車39からの通常の伝達力では、上には逃げないようになっている。播種ロール30が一瞬逃げて、この衝合による不具合が回避された後は速やかに自重により元の位置に戻ることになる。なお、播種ロール30に適宜付勢手段を設けて下方向に付勢してもよい。
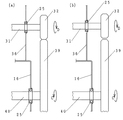
播種ロール軸を遊動させる方法は長穴のほか、図17(a)に示すように、播種部フレーム36に半円型の切り欠き71を設け、そこに軸受25を載置し、固定部材70を上から被せてばね67で付勢してもよい。このとき、図17(b)のように軸31は逃げることができる。また、図17(c)に示すように、軸受25の周囲にゴム68を嵌め込んで軸31を軸穴72に固定しても良い。このときは、図17(d)に示すようにゴム68の変形により軸31は逃げることができる。
本実施形態では、播種ロール30側(従動側)が逃げるようになっているが、欠歯歯車39側(原動側)が逃げるような構成としてもよい。
図18に示すように、フランジ付軸受の使用により、播種部フレーム36に設けた穴に播種ロール軸31を通し、両側から軸受25を嵌め込み、軸31の溝へC型止め輪を嵌め込みすれば、播種ロール軸31の固定は完了である。この構成により、組立を極めて簡単に行うことができる。
また、ここでのフランジ付軸受は、軸受の外輪に薄いリングをはめ込んだタイプ、外輪がフランジ形状となっているもの、さらには転がり軸受のほかすべり軸受などでも構わない。
本実施形態では、播種ロール30の軸31の播種部フレーム36への挿着部分については、図18においてギヤ32の取り付けされている側(矢印J)を遊動可能にしている。これについては、ギヤ32の取り付けされていない側(矢印N)も遊動可能とすることができる。
図16に示すように、本播種機の下流側には延長コンベヤ45が連設され、これに播種が終了して下流に送られたポット集合体4を感知するリミットスイッチ54を配設し、ポット集合体4が延長コンベヤ45のリミットスイッチ用ローラ28に達したときにモータ26の電源を遮断し、コンベヤ10が停止するようになっている。
本実施形態では、播種されたポット集合体4を反転板1ごとコンベヤ10及び延長コンベヤ45から取り出すとともに、順次ポット集合体4を供給することにより播種作業は連続して行われる。
図16において、前述したように押動体12のピッチは、反転板1の縦方向寸法より大きく設定されているため、播種を終えたポット集合体4から後続のポット集合体4へ移行する間の間隔Hが発生する。間隔Hのように、播種が不要な部分では、播種ロール30を回転させる必要がない。図7に示すように、欠歯歯車39における歯41のない円周部分Rは、上述した播種が不要な部分すなわち間隔Hに相当し、円周部分Rでは播種ロール30側のギヤ32の歯33に欠歯歯車39の歯41がかみ合うことがないため播種ロール30は停止し、播種は行われない。円周部分Rの弧長は、図15における間隔Hと完全に同期するように、押動体12のピッチ、コンベヤ10の搬送速度、欠歯歯車39の径及び回転速度に合わせて定めてある。
図19にリミットスイッチの作動を示す。図19(a)のようにポット集合体4(反転板1は図示略)が押動体12に押され移動する。図19(b)に示すようにポット集合体4がリミットスイッチ用ローラ28の上まで移動すると、リミットスイッチ用ローラ28はポット集合体4により搬送面V以下に押し下げられ、リミットスイッチ用ローラ軸48も付随して下がり、一方の軸端に配置されたリミットスイッチ54の回路が開き、モーター26が停止するようになっている。図19(c)は、図19(b)の状態について、搬送方向Aについて前方から見た図である。リミットスイッチ用ローラ軸48は、ポット集合体4が取り除かれたら、図示を略する付勢手段の作用により上に上がり、図19(a)に示す位置に戻ることになる。そして、リミットスイッチ54の回路が閉じ、モータ26は再び動き出す。図16において、ポット集合体4をコンベヤ10のEの位置に載置したのち、延長コンベヤ45のFの位置からポット集合体4を取り除くとコンベヤ10が動き、播種が始まる。そして、Fの位置に達するとコンベヤ10が停止するので、展開・土詰をしたポット集合体4をEの位置に載せる。この一連の作業を繰り返すことにより、播種作業は円滑に進むことになる。
本実施形態では、紙又は紙のような薄膜から形成した個別ポットを水溶性接着剤を介して多数連接させたポット集合体を適用してあるが、これに限定されず、セルトレイなどのポット育苗箱を適用することも可能である。また、特開2003−125654に記載されているようにポット集合体4へ育苗箱及び展開枠を適用する構成としてもよい。
本発明における播種ロールは、種子穴が設けられた円盤の組合せよりなる。本実施形態のように円盤状のスペーサを、必要に応じて、種子穴が設けられた円盤と組み合わることができる。
図20は播種ロール30における種子穴44の配列を模式したものである。図20(a)は本実施形態のようなハニカム状のポット集合体に適用する場合の形態であり種子穴44が千鳥状の配列になるよう、繰出ロール46の種子穴44の位置が交互にずれるように重層している。図20(b)は碁盤目状のポット集合体(又はポット育苗箱)に適用する場合であり、種子穴44が円周方向に対して碁盤目状に配列されている。
また、1つの個別ポット2に3粒播く場合には、図20(c)に示すように、1個分の種子穴44を設けた繰出ロール46と2個分の種子穴44を設けた繰出ロール46とを組合せて、3粒用の種子穴44の配列を形成すればよい。このとき、3個分の種子穴44を1つの繰出ロール46に設けたものを組み合わせて重層してもよい。また、図20(d)のような繰出ロール46のみを重層した構成してもよい。
図20のいずれの形態に種子整列溝を設けることも、もちろん可能である。
本発明の実施の形態を表す側面図である。 ハニカム状に展開されたポット集合体を表す平面図である。 突起板の構成を示す図であり、(a)平面図、(b)側面図である。 展開板の構成を示す図であり、(a)平面図、(b)側面図、(c)断面図である。 ポット集合体を展開・反転する手順を模式する図であり、(a)平面図、(b)〜(d)側面図である。 播種機の搬送部の構造を示す横断面図である。 欠歯歯車と播種ロールの構造を示す斜視図である。 播種部の構造を示す側面図である。 播種部の構造を示す側面図である。 播種部での不具合を模式する側面図である。 種子流制御板の動作を示す側面図である。 播種ロールの種子整列溝の作用を模式する図であり、(a)正面図、(b)側面図、(c)拡大図である。 種子ホッパ内の種子の流れを模式する図であり、(a)平面図、(b)断面図である。 播種ロールと欠歯歯車との衝合・逃げを模式する側面図である。 播種ロールと欠歯歯車との衝合・逃げを模式する正面図である。 播種部とポット集合体との関係を模式する側面図である。 播種ロール軸を遊動可能とする例を示す側面図である。 フランジ付軸受で播種ロールを固定した状態を模式する正面図である。 リミットスイッチの動作を模式する図であり、(a)〜(b)側面図、(c)正面図である。 播種ロールの形態を示す模式図である。 欠歯歯車の例を示す模式図である。
符号の説明
1 反転板、2 個別ポット、3 突起板、4 ポット集合体、
5 突起体、6 展開金具、9 種子流制御板、10 コンベヤ、
11 搬送チェーン、12 押動体、13 ローラ、14 固定金具、
16 本体フレーム、17 ガイド面、25 軸受、28 リミットスイッチ用ローラ、
30 播種ロール、32 ギヤ、33 ギヤの歯、34 種子ホッパ、
35 ガイド板、36 播種部フレーム、38 かき取りブラシ、39 欠歯歯車、
44 種子穴、45 延長コンベヤ、46 繰出ロール、47 スペーサ、
48 リミットスイッチ用ローラ軸、50 種子、55 播種穴、
56 種子整列部、58 長穴、60 種子ゲート、63 種子整列溝、
A 搬送方向、B 搬送チェーン回転方向、C 欠歯歯車回転方向、
D 播種ロール回転方向、E 後方位置、F 前方位置、
H 搬送間隔、L 縦方向、M 種子穴の横方向ピッチ
P 播種位置、R 歯のない円周部分、S 播種部、
T 種子ゲートの間隔、V 搬送面、W 横方向、

Claims (2)

  1. 外周面の円周方向に種子穴を設けた播種ロールの軸へ歯車により動力を伝達するよう構成された播種機において、
    前記播種ロールの軸に取り付けられる従動側の歯車と、前記播種ロールの軸へ動力を伝達する軸に取り付けられて前記従動側の歯車にかみ合される原動側の欠歯歯車と、を有し、
    前記播種ロールの軸は、前記播種機の機体に設けられた切り欠きに載置されるフランジ付軸受を介して前記播種機の機体に挿着され、
    前記軸受は、固定部材を被せてばねで付勢され、
    前記播種ロールの軸は、
    前記従動側の歯車と前記欠歯歯車とが衝合すると前記従動側の歯車が前記欠歯歯車から逃げるように、前記軸受ごと遊動可能であることを特徴とする播種機。
  2. 外周面の円周方向に種子穴を設けた播種ロールの軸へ歯車により動力を伝達するよう構成された播種機において、
    前記播種ロールの軸に取り付けられる従動側の歯車と、前記播種ロールの軸へ動力を伝達する軸に取り付けられて前記従動側の歯車にかみ合される原動側の欠歯歯車と、を有し、
    前記播種ロールの軸は、周囲に嵌め込まれたゴムを介して前記播種機の機体に設けられた軸穴に固定されるフランジ付軸受を介して前記播種機の機体に挿着され、
    前記播種ロールの軸は、
    前記従動側の歯車と前記欠歯歯車とが衝合すると前記従動側の歯車が前記欠歯歯車から逃げるように、前記軸受ごと遊動可能であることを特徴とする播種機。
JP2008048894A 2008-02-28 2008-02-28 播種ロール軸遊動型播種機 Active JP5405754B2 (ja)

Priority Applications (1)

Application Number Priority Date Filing Date Title
JP2008048894A JP5405754B2 (ja) 2008-02-28 2008-02-28 播種ロール軸遊動型播種機

Applications Claiming Priority (1)

Application Number Priority Date Filing Date Title
JP2008048894A JP5405754B2 (ja) 2008-02-28 2008-02-28 播種ロール軸遊動型播種機

Publications (2)

Publication Number Publication Date
JP2009201442A JP2009201442A (ja) 2009-09-10
JP5405754B2 true JP5405754B2 (ja) 2014-02-05

Family

ID=41144324

Family Applications (1)

Application Number Title Priority Date Filing Date
JP2008048894A Active JP5405754B2 (ja) 2008-02-28 2008-02-28 播種ロール軸遊動型播種機

Country Status (1)

Country Link
JP (1) JP5405754B2 (ja)

Families Citing this family (1)

* Cited by examiner, † Cited by third party
Publication number Priority date Publication date Assignee Title
CN111685008B (zh) * 2020-06-29 2021-08-27 湖北团香农业集团股份有限公司 一种紫云英水稻种植设备及方法

Family Cites Families (6)

* Cited by examiner, † Cited by third party
Publication number Priority date Publication date Assignee Title
JPS4840503Y1 (ja) * 1970-03-12 1973-11-28
JPS5451115U (ja) * 1977-09-14 1979-04-09
JPH0534491Y2 (ja) * 1987-02-10 1993-09-01
JPH0166813U (ja) * 1987-10-24 1989-04-28
JPH0351566A (ja) * 1989-07-17 1991-03-05 Hitachi Ltd ギャ噛合せ機構
JP4793559B2 (ja) * 2005-11-11 2011-10-12 日本甜菜製糖株式会社 育苗用播種機

Also Published As

Publication number Publication date
JP2009201442A (ja) 2009-09-10

Similar Documents

Publication Publication Date Title
JP5389363B2 (ja) 種子繰出し式播種機
JP4793559B2 (ja) 育苗用播種機
JP6242165B2 (ja) 麺線切出し装置
JP5405754B2 (ja) 播種ロール軸遊動型播種機
ES2358916T3 (es) Máquina de empanado.
KR101187888B1 (ko) 테이프 피이더
CN114176201B (zh) 一种海苔卷包裹装置及具有该装置的海苔卷成型机
KR101982336B1 (ko) 모종이식기의 모종 횡이송공급장치
CN104229176A (zh) 一种糖果内纸包装机
JP2006129812A (ja) 播種機
CN103935774B (zh) 一种秧盘供给机
JPH09205830A (ja) 土詰播種方法および装置
JP4634126B2 (ja) 播種機
CN220292989U (zh) 一种去皮设备
JPS5952090B2 (ja) 包装機への同調的物体送り込み装置
JP4014614B2 (ja) テープ化電子部品のトップテープ処理装置
JP4197655B2 (ja) 搬送装置用駆動ユニット、搬送装置
CN118832672B (zh) 一种光伏组件eva背板开孔设备
WO2017145428A1 (ja) 育苗箱用播種機
KR200351824Y1 (ko) 커버테이프의배출장치및이를이용한칩마운터의테이프피더
KR20190097517A (ko) 면봉 이송 장치
JP5339076B2 (ja) 育苗箱取出方法
JP7083155B2 (ja) 育苗容器用播種装置
US4224098A (en) Apparatus for producing paper tube assembly for nursing seedlings
CN119422559A (zh) 一种抛秧机

Legal Events

Date Code Title Description
A621 Written request for application examination

Free format text: JAPANESE INTERMEDIATE CODE: A621

Effective date: 20100423

RD03 Notification of appointment of power of attorney

Free format text: JAPANESE INTERMEDIATE CODE: A7423

Effective date: 20110405

A977 Report on retrieval

Free format text: JAPANESE INTERMEDIATE CODE: A971007

Effective date: 20110624

A131 Notification of reasons for refusal

Free format text: JAPANESE INTERMEDIATE CODE: A131

Effective date: 20120307

A521 Request for written amendment filed

Free format text: JAPANESE INTERMEDIATE CODE: A523

Effective date: 20120501

A131 Notification of reasons for refusal

Free format text: JAPANESE INTERMEDIATE CODE: A131

Effective date: 20130116

A521 Request for written amendment filed

Free format text: JAPANESE INTERMEDIATE CODE: A523

Effective date: 20130314

TRDD Decision of grant or rejection written
A01 Written decision to grant a patent or to grant a registration (utility model)

Free format text: JAPANESE INTERMEDIATE CODE: A01

Effective date: 20131023

A61 First payment of annual fees (during grant procedure)

Free format text: JAPANESE INTERMEDIATE CODE: A61

Effective date: 20131031

R150 Certificate of patent or registration of utility model

Ref document number: 5405754

Country of ref document: JP

Free format text: JAPANESE INTERMEDIATE CODE: R150

S531 Written request for registration of change of domicile

Free format text: JAPANESE INTERMEDIATE CODE: R313531