JP5374540B2 - 遊技機 - Google Patents

遊技機 Download PDF

Info

Publication number
JP5374540B2
JP5374540B2 JP2011098613A JP2011098613A JP5374540B2 JP 5374540 B2 JP5374540 B2 JP 5374540B2 JP 2011098613 A JP2011098613 A JP 2011098613A JP 2011098613 A JP2011098613 A JP 2011098613A JP 5374540 B2 JP5374540 B2 JP 5374540B2
Authority
JP
Japan
Prior art keywords
game
board
sound
error
output
Prior art date
Legal status (The legal status is an assumption and is not a legal conclusion. Google has not performed a legal analysis and makes no representation as to the accuracy of the status listed.)
Active
Application number
JP2011098613A
Other languages
English (en)
Other versions
JP2011143289A5 (ja
JP2011143289A (ja
Inventor
和俊 中島
Current Assignee (The listed assignees may be inaccurate. Google has not performed a legal analysis and makes no representation or warranty as to the accuracy of the list.)
Sankyo Co Ltd
Original Assignee
Sankyo Co Ltd
Priority date (The priority date is an assumption and is not a legal conclusion. Google has not performed a legal analysis and makes no representation as to the accuracy of the date listed.)
Filing date
Publication date
Application filed by Sankyo Co Ltd filed Critical Sankyo Co Ltd
Priority to JP2011098613A priority Critical patent/JP5374540B2/ja
Publication of JP2011143289A publication Critical patent/JP2011143289A/ja
Publication of JP2011143289A5 publication Critical patent/JP2011143289A5/ja
Application granted granted Critical
Publication of JP5374540B2 publication Critical patent/JP5374540B2/ja
Active legal-status Critical Current
Anticipated expiration legal-status Critical

Links

Images

Landscapes

  • Slot Machines And Peripheral Devices (AREA)
  • Game Rules And Presentations Of Slot Machines (AREA)

Description

本発明は、スロットマシン、パチンコ遊技機などの遊技用価値を用いて遊技を行う遊技機に関し、特に遊技の進行状況に応じた効果音を出力する遊技機に関する。
スロットマシンやパチンコ遊技機で行われる遊技は、例えば、スロットマシンでのボーナスやパチンコ遊技機での大当たりのように、遊技において所定の事象が生じたときに所定の終了条件の成立まで遊技者に有利な遊技状態に移行させながら行われる。また、スロットマシンにおけるボーナスの発生、パチンコ遊技機における大当たりの発生の前提となるボーナス当選やリーチ状態は、遊技者に有利な遊技状態への移行を期待させる状態である。これらの状態において所定の効果音を出力することで、遊技者の期待感をより効果的に高めさせ、遊技の興趣を向上させることができる。
また、スロットマシンやパチンコ遊技機等における遊技は、一般的には遊技店において複数設置されたものの中から遊技者が任意の台を選んで遊技を行うものとなっている。上記したような効果音の出力は、当該台で遊技を行っている遊技者のみならず、周囲の台で遊技を行っている遊技者にも訴求させることができるものであり、出力される効果音の音量の調整が重要になってくる。さらに、遊技店にしても、例えば、新台のように他の台よりも遊技者への訴求を強めたい台があり、個々の台から出力される効果音の音量の調整が重要になってくる。
効果音のボリューム調整を調整するため、軸を回すことで抵抗値の変わる可変抵抗によるボリューム調整つまみを内部に備えている遊技機が一般的である。また、CPUからの指令によって出力される音声のボリュームを調整することのできる電子ボリュームを備えるパチンコ遊技機も提案されている(例えば、特許文献1参照)。これらによるボリューム調整で、所定の台から出力される効果音のボリュームを他の台より大きくして、遊技者にアピールすることができる。
ところで、スロットマシンやパチンコ遊技機における遊技では、制御コンピュータの暴走、機械的駆動部(リールなど)の駆動不良、或いは遊技者の不正行為などの様々な理由によってエラーが発生することがある。エラーが発生した場合には、遊技がそこで停止されることとなり、遊技店の店員が前面扉を開いて所定の措置(例えば、内部に設けられたリセットスイッチの操作)を行ってエラーから復帰させなければ、遊技を再開させることができないものとなっている。
このようなエラーが発生したままで報知されると、遊技者が自分だけでは遊技を続けることができなくなってしまう。このような状態は、遊技機の稼働率を低下させることとなるので、遊技店にとっても不利益が生じてしまう。そこで、スロットマシンやパチンコ遊技機などの遊技機は、一般的にエラーの発生時にエラー音を再生/出力する機能を備えており、遊技店の店員がエラーの発生を掌握しやすいようにしている。
特開平9−253277号公報(段落0058)
しかしながら、部品点数の削減という観点から通常は上記したような効果音の再生/出力もエラー音の再生/出力も同系統の装置から行われるものとしているため、効果音のボリュームを小さく設定した遊技機からは、エラー音も小さな音でしか出力されなくなってしまう。このような台でエラーが発生したときには、エラー音が小さな音でしか出力されないため、遊技店の店員がエラーの発生に気づきにくいものとなってしまう。
本発明は、遊技店で複数の台が並べて設置されるような場合において、個別の台でのエラーの発生を遊技店の店員が察知しやすくするとともに、特定の台を遊技店がアピールすることを妨げない遊技機を提供することを目的とする。
上記目的を達成するため、本発明にかかる遊技機は、
遊技用価値(メダル)を用いて遊技を行うとともに、遊技の進行状況に応じた効果音を出力する効果音出力手段(スピーカ7L、7R、7U)を備える遊技機(スロットマシン1)であって、
遊技の進行状況に応じて効果音を生成し、前記効果音出力手段から出力させる効果音出力制御手段(サウンド処理部127)と、
所定の操作手段の操作により前記効果音出力手段から出力される効果音の音量のレベルを設定する音量設定手段(ボリューム調整レバー96)と、
前記遊技機における遊技の進行でラーが生したことを検出するエラー検出手段(ステップS107、S108等)と、
所定の解除操作により前記遊技の進行で発生したエラーを解除するエラー解除手段とを備え、
前記効果音出力制御手段は、前記エラー検出手段によりラーの発生が検出されたときに、前記効果音出力手段から所定のエラー音(エラー音)を出力させるエラー音出力制御手段(ステップS618)を含み、
前記エラー音出力制御手段は、
前記音量設定手段により設定されている音量のレベルに関わらずに、音量のレベルを前記遊技機において設定可能な最大レベルとして前記エラー音を出力させ(ステップS618:ボリューム調整レバー96の調整に関わらずに、電子ボリューム127aのボリューム設定を最大レベルに設定する)、
前記エラー解除手段により前記エラーが解除された後の所定の期間の間、遊技の進行に応じた効果音の出力に関わらずに、前記エラー音と同一の音を出力させる
ことを特徴とする。
上記遊技機では、効果音出力制御手段により遊技の進行状況に応じた効果音が生成され、効果音出力手段から出力されるものとなっている。ここで、効果音出力手段から出力される効果音の音量のレベルは、音量設定手段により任意のレベルに設定することができるので、例えば、遊技店において複数台の遊技機が並べて設置されている場合において、特定の遊技機から出力される効果音の音量のレベルを大きくし、他の遊技機から出力される効果音の出力のレベルを小さくするといったこともできる。このため、遊技店に設置されている複数台の遊技機のうち、特定の遊技機を遊技者にアピールすることを容易に行える。
また、遊技機における遊技の進行でエラーの発生は、そのエラーが様々な事象によって発生するものであるため、これを完全に避けることは実質上不可能である。ここで、遊技機における遊技の進行でエラーが発生してしまうと、そのままでは正常に遊技を行えないため、遊技の進行が停止してしまう。このように遊技の進行を停止させてしまうようなエラーが発生しているときには、所定のエラー音が効果音出力手段から出力される。
ここで、通常の効果音が出力される場合の音量のレベルは、音量設定手段により設定されたレベルであるものの、エラー音が出力される場合の音量のレベルは、音量設定手段により設定された音量のレベルに関わらずに、最大レベルとなっている。このため、特定の遊技機を遊技者にアピールするために出力される効果音の音量のレベルが小さく設定された遊技機からでも、エラー音は音量を最大レベルとして出力されるため、遊技店の店員がエラー音を聞き逃しにくいものとなっている。
このように遊技店の店員がエラー音を聞き逃しにくいものとなっていることから、遊技店の店員が店内に設置された各遊技機でのエラーの発生に気づかないというような事態を防ぐことができる。これにより、例えば、遊技店の店員がエラーの発生に気づかないままで長期間放置されてしまうことを防ぐことができ、遊技者にとっては遊技を再開するまでに長期間待たされずに済むというメリットが得られ、また、遊技店にとっても各遊技機の稼働率を低下させずに済むというメリットが得られるものとなる。
上記遊技機において、
前記エラー検出手段は、第1のエラーと第2のエラーとを含む複数種類のエラーがそれぞれ発生したことを検出するものとすることができる。この場合において、
上記遊技機は、
遊技の進行状況に応じた状態信号(ビッグボーナス中信号、レギュラーボーナス中信号、リール制御信号、ストップスイッチ信号、メダルIN信号、メダルOUT信号、当選状況信号、セキュリティ信号)を外部出力端子から外部装置に出力する状態信号出力手段(外部出力基板105)をさらに備え、
前記状態信号出力手段は、前記エラー検出手段により第1のエラーが発生したことが検出されていること、または前記エラー検出手段により第2のエラーが発生したことが検出されていることの何れかを示す信号を、何れのエラーが発生したかを区別することなく前記状態信号として、同一の外部出力端子から出力するものとすることができる。
この場合、前記エラー検出手段により第1のエラーが発生したことが検出されていることを示す信号を出力するための端子と第2のエラーが発生したことが検出されていることを示す信号を出力するための端子とを、状態信号出力手段に別々に設ける必要がなく、例えば、状態信号出力手段を搭載する半導体チップを小型化することができる。
上記遊技機は、
遊技者所有の遊技用価値(クレジット)を記憶する遊技用価値記憶手段(RAM112)と、
遊技を進行させるために、前記遊技用価値記憶手段に記憶されている遊技用価値を使用させる遊技用価値使用手段(1枚BETボタン14、MAXBETボタン15、ステップS302)と、
所定の遊技用価値返却操作手段(精算ボタン16)の操作に応じて前記遊技用価値記憶手段に記憶されている遊技用価値を返却させる返却制御を行う返却制御手段(ステップS448)とをさらに備えるものとすることができる。この場合において、
前記効果音出力制御手段は、前記遊技用価値返却操作手段の操作により前記返却制御が行われるときに、前記効果音出力手段から所定の返却制御音(精算音)を出力させる返却制御音出力制御手段(ステップS609)を含み、
前記返却制御音出力制御手段は、前記音量設定手段により設定されている音量のレベルに関わらずに、音量のレベルを前記遊技機において設定可能な最大レベルとして前記返却制御音を出力させるものとすることができる(ステップS609:ボリューム調整レバー96の調整に関わらずに、電子ボリューム127aのボリューム設定を最大レベルに設定する)。
この場合、遊技の進行に必要な遊技用価値は、遊技用価値記憶手段に記憶させておくことができ、遊技者は、この遊技用価値記憶手段に記憶された遊技用価値を用いて遊技を行うことができる。また、遊技用価値記憶手段に記憶させた遊技用価値は、遊技者が遊技用価値返却操作手段を操作することで返却させることができる。遊技用価値を返却させる返却制御が行われるときには、所定の返却制御音が効果音出力手段から出力される。
ここで、通常の効果音が出力される場合の音量のレベルは、音量設定手段により設定されたレベルであるものの、返却制御音が出力される場合の音量のレベルは、音量設定手段により設定された音量のレベルに関わらずに、最大レベルとなっている。このため、特定の遊技機を遊技者にアピールするために出力される効果音の音量のレベルが小さく設定された遊技機からでも、返却制御音は音量を最大レベルとして出力されるため、遊技店の店員が返却制御音を聞き逃しにくいものとなっている。
このように遊技店の店員が返却制御音を聞き逃しにくいものとなっていることから、遊技店の店員が返却制御が行われていることに気づかないというような事態を防ぐことができる。これにより、例えば、正常に遊技が行われているならあまり行われることのない遊技用価値の返却制御が頻繁に行われるものとなるクレ満ゴトと呼ばれる不正行為が行われているときに、遊技店の店員が容易にこれを察知することができるものとなる。
また、この場合においては、
前記返却制御音出力制御手段は、前記返却制御手段により返却される遊技用価値の量に関わらずに、少なくとも所定の期間以上前記返却制御音を出力させるものとすることができる(ステップS612、S613:メダルの精算が終了しても精算タイマが所定時間を計時するまでは精算音の出力が継続される)。
この場合、返却すべき遊技用価値の数が少なく、返却制御が短時間で終了してしまうような場合でも、返却制御音は所定の期間以上に亘って出力されるため、遊技店の店員が返却制御音を聞き逃してしまうのを防ぐことができる。これにより、例えば、不正行為によって遊技用価値記憶手段に記憶されている遊技用価値の数を少しだけ増加させ、少しずつ遊技用価値の返却制御を行うというように不正行為が行われている場合でも、遊技店の店員が容易にこれを察知することができるものとなる。
上記遊技機は、
遊技者所有の遊技用価値(クレジット)を記憶する遊技用価値記憶手段(RAM112)と、
遊技を進行させるために、前記遊技用価値記憶手段に記憶されている遊技用価値を使用させる遊技用価値使用手段(1枚BETボタン14、MAXBETボタン15、ステップS302)と、
所定の遊技用価値返却操作手段(精算ボタン16)の操作に応じて前記遊技用価値記憶手段に記憶されている遊技用価値を返却させる返却制御を行う返却制御手段(ステップS448)と、
遊技の進行状況に応じた状態信号(ビッグボーナス中信号、レギュラーボーナス中信号、リール制御信号、ストップスイッチ信号、メダルIN信号、メダルOUT信号、当選状況信号、セキュリティ信号)を外部出力端子から外部装置に出力する状態信号出力手段(外部出力基板105)とをさらに備えるものとしてもよい。この場合において、
前記状態信号出力手段は、前記返却制御手段により前記返却制御が行われていることを示す信号(精算信号)と前記エラー検出手段によりエラーが発生したことが検出されていることを示す信号(投入エラー信号、払い出しエラー信号、他のエラー信号)とを前記状態信号として、同一の外部出力端子から出力するものとすることができる(図5:精算信号、投入エラー信号、払い出しエラー信号、他のエラー信号は、セキュリティ信号として時分割で出力される)。
この場合、返却制御が行われていることを示す信号を出力するための端子とエラーが発生したことが検出されていることを示す信号を出力するための端子とを、状態信号出力手段に別々に設ける必要がなく、例えば、状態信号出力手段を搭載する半導体チップを小型化することができる。
なお、前記状態信号出力手段は、前記返却制御手段により前記返却制御が行われていることを示す信号と前記エラー検出手段によりエラーが発生したことが検出されていることを示す信号とを時分割で同一の外部出力端子から出力するものとすることができる。また、前記状態信号出力手段は、前記返却制御手段により前記返却制御が行われていること、または前記エラー検出手段によりエラーが発生したことが検出されていることの何れかを示す信号を同一の外部出力端子から出力するものとすることもできる。
上記遊技機は、
所定の設定値操作期間において、前記遊技の進行のために消費される遊技用価値に対して遊技者に付与する遊技用価値の割合を定める複数種類の設定値(設定値)のうちから、前記遊技機の内部に設けられた設定値操作手段(設定スイッチ91)の操作によって何れかの設定値を選択して設定する設定値設定手段(ステップS122)をさらに備えるものとすることができる。この場合において、
前記効果音出力制御手段は、前記設定値設定手段により設定値が設定されるときに、所定の設定値操作音(設定変更音)を前記効果音出力手段から出力させる設定値操作音出力制御手段(ステップS605)を含み、
前記設定値操作音出力制御手段は、前記音量設定手段により設定されている音量のレベルに関わらずに、音量のレベルを前記遊技機において設定可能な最大レベルとして前記設定値操作音を出力させるものとすることができる(ステップS605:ボリューム調整レバー96の調整に関わらずに、電子ボリューム127aのボリューム設定を最大レベルに設定する)。
この場合、遊技の進行のために消費される遊技用価値に対して遊技者に付与する遊技用価値の割合は、設定値設定手段により設定される設定値に応じて変化することとなる。遊技者に付与する遊技用価値の割合の高い設定値に設定されているほど、遊技者は、多くの遊技用価値を得ることができる。設定値設定手段により設定値が設定されるときには、所定の設定値操作音が効果音出力手段から出力される。
ここで、通常の効果音が出力される場合の音量のレベルは、音量設定手段により設定されたレベルであるものの、設定値操作音が出力される場合の音量のレベルは、音量設定手段により設定された音量のレベルに関わらずに、最大レベルとなっている。このため、特定の遊技機を遊技者にアピールするために出力される効果音の音量のレベルが小さく設定された遊技機からでも、設定値操作音は音量を最大レベルとして出力されるため、遊技店の店員が返却制御音を聞き逃しにくいものとなっている。
このように遊技店の店員が設定値操作音を聞き逃しにくいものとなっていることから、遊技店の店員が設定値の変更操作が行われていることに気づかないというような事態を防ぐことができる。これにより、例えば、遊技店の店員は誰も設定値の変更操作を行っていないのに設定値操作音が出力されているといったことで、遊技者が勝手に設定値を変更してしまう設定変更ゴトと呼ばれる不正行為が行われているときに、遊技店の店員が容易にこれを察知することができるものとなる。
また、この場合においては、
前記設定値操作音出力制御手段は、前記設定値操作期間が終了して遊技が開始された後の所定の期間の間、遊技の進行に応じた効果音の出力に関わらずに、前記設定値操作音を出力させるものとすることができる(ステップS606:設定変更コマンドの受信で設定変更後フラグ設定。ステップS623、S624:遊技状態コマンドの受信時に設定変更コマンドが設定されていると、設定変更音の再生を停止する)。
この場合、設定値操作音は、設定値操作期間が終了した後にも所定の期間の間は出力されるものとなっているため、遊技店の店員が設定値変更音を聞き逃してしまうのを防ぐことができる。このため、遊技者が不正に設定値を設定した後に即座に遊技を開始させたとしても、遊技店の店員が容易に不正な設定値の変更を察知することができるものとなる。
上記遊技機は、
所定の設定値操作期間において、前記遊技の進行のために消費される遊技用価値に対して遊技者に付与する遊技用価値の割合を定める複数種類の設定値のうちから、前記遊技機の内部に設けられた設定値操作手段の操作によって何れかの設定値を選択して設定する設定値設定手段と、
遊技の進行状況に応じた状態信号(ビッグボーナス中信号、レギュラーボーナス中信号、リール制御信号、ストップスイッチ信号、メダルIN信号、メダルOUT信号、当選状況信号、セキュリティ信号)を外部出力端子から外部装置に出力する状態信号出力手段(外部出力基板105)とをさらに備えるものとしてもよい。この場合において、
前記状態信号出力手段は、前記設定値変更手段により前記設定値の設定が行われる前記設定値操作期間であることを示す信号(設定値変更信号)と前記エラー検出手段によりエラーが発生したことが検出されていることを示す信号(投入エラー信号、払い出しエラー信号、他のエラー信号)とを前記状態信号として、同一の外部出力端子から出力するものとすることができる(図5:設定値変更信号、投入エラー信号、払い出しエラー信号、他のエラー信号は、セキュリティ信号として時分割で出力される)。
この場合、設定変更操作期間であることを示す信号を出力するための端子とエラーが発生したことが検出されていることを示す信号を出力するための端子とを、状態信号出力手段に別々に設ける必要がなく、例えば、状態信号出力手段を搭載する半導体チップを小型化することができる。
なお、前記状態信号出力手段は、前記設定値変更手段により前記設定値の設定が行われる前記設定値操作期間であることを示す信号と前記エラー検出手段によりエラーが発生したことが検出されていることを示す信号とを時分割で同一の外部出力端子から出力するものとすることができる。また、前記状態信号出力手段は、前記設定値変更手段により前記設定値の設定が行われる前記設定値操作期間であること、または前記エラー検出手段によりエラーが発生したことが検出されていることの何れかを示す信号を同一の外部出力端子から出力するものとすることもできる。
上記遊技機は、例えば、
前記遊技用価値(メダル)を用いて1ゲームに対して所定数の賭数を設定することによりゲームを開始させることが可能となり、複数種類の識別情報を変動表示させる可変表示装置に表示結果が導出されることにより1ゲームが終了し、該可変表示装置(可変表示装置2)に導出された表示結果に応じて入賞が発生可能であるスロットマシン(スロットマシン1)とすることができる。
前記スロットマシンは、
遊技者所有の遊技用価値(クレジット)を記憶する遊技用価値記憶手段(RAM112)と、
遊技を進行させるために、前記遊技用価値記憶手段に記憶されている遊技用価値を使用させる遊技用価値使用手段(1枚BETボタン14、MAXBETボタン15、ステップS302)と、
所定の遊技用価値返却操作手段(精算ボタン16)の操作に応じて前記遊技用価値記憶手段に記憶されている遊技用価値を返却させる返却制御を行う返却制御手段(ステップS448)とをさらに備えるものとすることができる。
前記スロットマシンは、
前記遊技用価値を用いて前記所定数の賭数を設定する賭数設定手段(メダル投入口13、1枚BETボタン14、MAXBETボタン15、ステップS302)と、
所定の遊技用価値返却操作手段(精算ボタン16)の操作に応じて前記遊技用価値記憶手段に記憶されている遊技用価値を返却させる返却制御を行う返却制御手段(ステップS448)とをさらに備えるものとすることができる。
これらの場合において、
前記効果音出力制御手段は、
遊技の進行状況が所定の状況にあるときに、1ゲームを超えて連続効果音(ボーナス中楽曲)を継続して前記効果音出力手段から出力させる連続効果音出力制御手段(ステップS627〜S630)と、
前記連続効果音出力制御手段により連続効果音が出力されているときにおいて前記遊技用価値返却操作手段が操作されたときに、該連続効果音の音量のレベルを低下させる制御を行う静音制御手段(ステップS608)とをさらに含むものとすることができる。
ここでは、遊技の進行状況が所定の状況にあるときに1ゲームを越えて連続効果音が出力されるが、遊技者による遊技用価値返却操作手段の操作に応じて返却制御が行われると連続効果音の音量のレベルが低下させられる。すなわち、遊技用価値返却操作手段が操作されて返却制御が行われたときには、遊技者の意志により遊技が中断されたと考えられるが、このように遊技が中断されている間に連続効果音が大音量で出力されることがないので、周囲の遊技者に迷惑をかけないで済むようになる。
上記遊技機は、
遊技の進行に関わる信号を出力する第1の電子部品(1枚BETスイッチ45、MAXBETスイッチ46、投入メダルセンサ44、スタートスイッチ41、ストップスイッチ42L、42C、42R、リールセンサ3SL、3SC、3SR、払出センサ81)と遊技の進行に関わる信号が入力される第2の電子部品(リールモータ3ML、3MC、3MR、ホッパーモータ82)とのうち少なくとも一方を含む遊技用電子部品と、
前記遊技用電子部品と電気的に接続され、前記第1の電子部品から信号入力されること及び/または前記第2の電子部品へ信号出力することにより、遊技を進行させる制御を行う遊技制御手段(遊技制御部110)を搭載した遊技制御基板(遊技制御基板101)と、
コネクタ(基板側コネクタ620aとケーブル側コネクタ610a/基板側コネクタ621aとケーブル側コネクタ611a/基板側コネクタ622gとケーブル側コネクタ612g)同士での接続により着脱可能に前記遊技用電子部品と前記遊技制御基板との間に設けられ、前記遊技用電子部品と前記遊技制御基板とを電気的に接続するための少なくとも一の配線(ケーブル601a、601g)と、
少なくとも前記配線とコネクタ同士で接続され、前記遊技用電子部品と前記遊技用制御基板との間で信号の入出力を中継する中継基板(操作部中継基板107)と、
前記遊技用電子部品と前記遊技制御基板との間における前記配線上のコネクタ同士での接続を、該コネクタ同士での接続に関わる解除規制部材を破壊しない限り、解除不能とする接続解除規制状態を形成する接続解除規制手段(コネクタ規制部材500、650)とを備えるものとすることができ、
前記接続解除規制手段は、
前記遊技制御基板と前記中継基板との間における前記配線(ケーブル601a)のコネクタ(基板側コネクタ620aとケーブル側コネクタ610a/基板側コネクタ621aとケーブル側コネクタ611a)同士での接続を解除不能とする第1の接続解除規制手段(コネクタ規制部材500)と、
前記中継基板と前記遊技用電子部品との間における前記配線(ケーブル601g)のコネクタ(基板側コネクタ622gとケーブル側コネクタ612g)同士での接続を解除不能とする第2の接続解除規制手段(コネクタ規制部材650)とを含むものとすることができる。
この場合には、遊技制御基板と中継基板との間における配線のコネクタだけでなく、中継基板と遊技用電子部品との間における配線のコネクタ同士での接続の解除が規制されることで、遊技用電子部品と遊技制御基板との間に設けられる配線の全てのコネクタ同士での接続の解除が規制される。これによりいずれかのコネクタを不正な打ち込み器具等のコネクタに差し替えて接続し、遊技制御基板に遊技の進行に関わる信号を不正に入力させるといった不正行為を行うことが困難となるため、不正営業の実施等を効果的に防止できる。
また、接続解除規制手段により接続解除規制状態が形成されることで、コネクタ同士での接続を解除するためには解除規制部材を破壊しなければならず、これにより接続を解除した後に再度接続解除規制状態を形成することが極めて困難となり、且つ、手間がかかるため、上記不正行為をより効果的に抑制することができる。さらに、接続解除規制手段は、中継基板と遊技用電子部品との間における配線のコネクタ同士での接続を解除不能とする第2の接続解除規制手段を含むので、遊技用電子部品への不正な信号の入出力も防止することができる。
なお、前記中継基板は、一の遊技用電子部品と遊技制御基板との間に1つ、または複数接続されていてもよく、複数の中継基板が接続される場合において、前記接続解除規制手段は、一の中継基板と他の中継基板との間における前記配線のコネクタ同士での接続を解除不能とする第3の解除規制手段を備えることが好ましく、このようにすることで、遊技用電子部品と遊技制御基板との間に設けられる配線の全てのコネクタ同士での接続の解除が規制される。
本発明の実施の形態にかかるスロットマシンの全体構造を示す正面図である。 図1のスロットマシンの制御回路の全体構成を示すブロック図である。 遊技制御基板と、遊技制御基板に接続される遊技用電子部品との配線接続状態を示す概略図である。 遊技制御部に対するバックアップ電源の供給ラインを示す回路図である。 外部出力基板から出力されるセキュリティー信号の出力フォーマットを示す図である。 基板ケース及び基板ケースをスロットマシンの本体をなす筐体に取り付けるための取付ベース、コネクタ規制部材を示す分解斜視図である。 基板ケース及び基板ケースをスロットマシンの本体をなす筐体に取り付けるための取付ベース、コネクタ規制部材を示す分解斜視図である。 基板ケースを取付ベースに組み付けた状態を示す斜視図である。 コネクタ規制部材を構成する取付側部材及びコネクタキャップの要部拡大斜視図である。 (a)は、図9のA−A断面図であり、(b)、(c)は、図9のB−B断面図である。 基板ケースを取付ベースに組み付け、更に取付側部材に対してコネクタキャップを装着した状態を示す斜視図である。 (a)は、図11のC−C断面図であり、(b)は、図11のD−D断面図である。 コネクタ規制部材を構成する載置台及びカバー部分を示す分解斜視図である。 載置台に対してカバー部分を組み付けた状態を示す斜視図である。 (a)は、図14のE−E断面図であり、(b)は、図14のF−F断面図である。 遊技制御基板内の制御部が、リセット信号が入力されたときに実行する起動処理を示すフローチャートである。 図16の設定変更処理を詳細に示すフローチャートである。 遊技制御基板内の制御部が、1ゲーム毎に実行するゲーム制御処理を示すフローチャートである。 図18のBET処理を詳細に示すフローチャートである。 図18のBET処理を詳細に示すフローチャートである。 図19の精算処理を詳細に示すフローチャートである。 演出制御基板内の制御部が実行する処理を示すフローチャートである。 演出制御基板内の制御部が実行する処理を示すフローチャートである。
以下、添付図面を参照して、本発明の実施の形態について説明する。
図1は、この実施の形態にかかるスロットマシンの全体構造を示す正面図である。スロットマシン1の前面扉は、施錠装置19にキーを差し込み、時計回り方向に回動操作することにより開放状態とすることができる。このスロットマシン1の上部前面側には、可変表示装置2が設けられている。可変表示装置2の内部には、3つのリール3L、3C、3Rから構成されるリールユニット3が設けられている。リール3L、3C、3Rは、それぞれリールモータ3ML、3MC、3MR(図2参照)の駆動によって回転/停止させられる。
リール3L、3C、3Rの外周部に描かれた図柄は、リール3L、3C、3Rの駆動がそれぞれ停止したときにおいて、可変表示装置2において上中下三段に表示される。また、リール3L、3C、3Rの外周部には、それぞれ「赤7」、「白7」「BAR」、「スイカ」、「チェリー」、「ベル」、「JAC」といった互いに識別可能な複数種類の図柄が所定の順序で描かれている。少なくとも「JAC」は、リール3L、3C、3Rの何れについても最大でも5コマ以内の間隔で配置されている。一方、「赤7」、「白7」、「BAR」は、リール3L、3C、3Rの少なくとも1つにおいて、配置間隔が5コマよりも大きくなっている箇所がある。
リールユニット3内には、リール3L、3C、3Rのそれぞれに対して、その基準位置を検出するリールセンサ3SL、3SC、3SR(図2参照)と、背面から光を照射するリールランプ3LP(図2参照)とが設けられている。このスロットマシン1では、何れの遊技状態においても賭け数として3が設定されている状態でのみゲームを開始させることができ、上中下段の3本及び対角線の2本の合計5本の入賞ラインが設定される。
また、可変表示装置2の周囲には、各種表示部が設けられている。可変表示装置2の下側には、ゲーム回数表示部21と、クレジット表示部22と、ペイアウト表示部23とが設けられている。ゲーム回数表示部21は、7セグメント表示器によるゲーム回数表示器51(図2参照)によって構成され、後述するレギュラーボーナスにおけるゲーム数及び入賞数をカウントするカウンタの値を表示する。さらに、ゲーム回数表示部21は、エラーが発生したときに、発生したエラーの種類に対応したコード(エラーコード)を表示するためにも用いられる。
クレジット表示部22は、7セグメント表示器によるクレジット表示器52(図2参照)によって構成され、後述するようにメダルの投入枚数及び払い出し枚数に応じてデータとして蓄積されたクレジットの数を表示する。ペイアウト表示部23は、7セグメント表示器によるペイアウト表示器53(図2参照)によって構成され、入賞が成立した場合に払い出されるメダルの枚数を表示する。
可変表示装置2の左側には、1枚賭け表示部24、2枚賭け表示部25、26、及び3枚賭け表示部27、28が設けられている。1枚、2枚、3枚賭け表示部24〜28は、入賞ラインに対応してそれぞれ1枚、2枚、3枚賭けランプ54〜58(図2参照)が点灯状態となることで、現時点で設定されている賭け数を遊技者に示す。1枚、2枚、3枚賭け表示部24〜28は、また、後述する役への入賞があった場合に1枚、2枚、3枚賭けランプ54〜58が点滅状態となることで、後述する役に入賞した入賞ラインを遊技者に示す。
可変表示装置2の右側には、投入指示表示部29と、スタート表示部30と、ウェイト表示部31と、リプレイ表示部32と、ゲームオーバー表示部33とが設けられている。投入指示表示部29は、投入指示ランプ59(図2参照)が点灯状態となることで、メダルが投入可能なことを示す。スタート表示部30は、スタートランプ60(図2参照)が点灯状態となることで、スタート可能、すなわちスタートレバー11の操作受付可能であることを示す。ウェイト表示部31は、ウェイトランプ61(図2参照)が点灯状態となることで、後述するウェイトがかかっていることを示す。リプレイ表示部32は、リプレイランプ62(図2参照)が点灯状態となることで、後述するリプレイ入賞をしたことを示す。ゲームオーバー表示部33は、ゲームオーバーランプ63(図2参照)が点灯状態となることで、スロットマシン1が打ち止めになったことを示す。
可変表示装置2の上側には、演出手段としての液晶表示器4が設けられている。液晶表示器4は、遊技状態、当選フラグの設定状況、または可変表示装置2に導出された図柄の種類、もしくは遊技者の選択に応じて様々な演出用の画像を表示する。また、液晶表示器4には、遊技履歴などの遊技に直接的または間接的に関わる様々な情報を表示することが可能である。
また、可変表示装置2の下方に設けられた台状部分の水平面には、メダル投入口13と、1枚BETボタン14と、MAXBETボタン15と、精算ボタン16とが設けられている。1枚BETボタン14及びMAXBETボタン15には、データとして蓄積されたクレジット(最大50)から賭け数の設定を可能としているときに点灯するBETボタンランプ70a、70b(図2参照)が内部に配されている。
メダル投入口13は、遊技者がここからメダルを投入するものであり、投入指示表示部29が点灯しているときにメダルの投入が投入メダルセンサ44(図2参照)によって検出されると、賭け数が設定され、或いはクレジットがデータとして蓄積される。1枚BETボタン14及びMAXBETボタン15は、データとして蓄積されているクレジットから賭け数(それぞれ1、3)を設定する際に遊技者が操作するボタンであり、遊技者によって操作されたことが1枚BETスイッチ45(図2参照)またはMAXBETスイッチ46(図2参照)によって検出されると、クレジットからの賭け数の設定が行われる。
精算ボタン16は、既に賭け数として設定されたメダル、或いは蓄積されたクレジットに対応したメダルの払い出しを指示するためのボタンである。精算ボタン16の操作が精算スイッチ47(図2参照)によって操作が検出されると、賭け数が設定されていれば、まず設定された賭け数に応じたメダルが払い出され、賭け数が設定されていなければ(精算ボタン16の操作で先に賭け数分のメダルが払い出された場合を含む)、データとして蓄積されたクレジットに応じたメダルが払い出される。
その台状部分の垂直面には、スタートレバー11と、停止ボタン12L、12C、12Rとが設けられている。スタートレバー11は、ゲームを開始する際に遊技者が操作するもので、その操作がスタートスイッチ41(図2参照)によって検出されると、リール駆動モータ3ML、3MC、3MRが駆動開始され、リール3L、3C、3Rが回転開始する。リール3L、3C、3Rが回転開始した後所定の条件が成立することにより停止ボタン12L、12C、12Rの操作が可能となると、その内部に備えられた操作有効ランプ63L、63C、63R(図2参照)が点灯状態となって、その旨が遊技者に示される。
停止ボタン12L、12C、12Rは、それぞれ遊技者が所望のタイミングでリール3L、3C、3Rの回転を停止させるべく操作するボタンであり、その操作がストップスイッチ42L、42C、42R(図2参照)で検出されると、リール3L、3C、3Rの回転が停止される。停止ボタン12L、12C、12Rの操作から対応するリール3L、3C、3Rの回転を停止するまでの最大停止遅延時間は190ミリ秒である。
リール3L、3C、3Rは、1分間に80回転し、80×21(1リール当たりの図柄コマ数)=1680コマ分の図柄を変動させるので、190ミリ秒の間では最大で4コマの図柄を引き込むことができることとなる。つまり、後述する停止制御テーブルにより選択される停止図柄は、停止ボタン12L、12C、12Rが操作されたときに表示されている図柄と、そこから4コマ先までにある図柄、合計5コマ分の図柄である。
さらに、停止ボタン12L、12C、12Rを覆うパネルが、ボーナス告知部36として適用されている。ボーナス告知部36は、ボーナス告知ランプ66(図2参照)が点灯状態となることで、後述するレギュラーボーナス入賞、及びビッグボーナス入賞が可能となっていることを遊技者に告知する。また、停止ボタン12Rの右側には、メダルが詰まったときなどにおいてスロットマシン1に機械的に振動を与えるメダル詰まり解消ボタン18が設けられている。
スロットマシン1の下部前面側には、メダル払い出し口71と、メダル貯留皿72とが設けられている。メダル払い出し口71は、ホッパー80(図2参照)によって払い出しが行われたメダルを外部に排出するものである。メダル貯留皿72は、払い出されたメダルを貯めておくためのものである。メダル貯留皿72の上の前面パネルには、内部に設置された蛍光灯6(図2参照)が発した光が照射される。
スロットマシン1の下部前面側と、上部前面側の左右とには、それぞれ演出手段としてのスピーカ7U、7L、7Rが設けられている。スピーカ7U、7L、7Rは、後述するビッグボーナス、レギュラーボーナスという遊技者に有利な遊技状態において、固有の効果音(楽曲)を継続して出力する。また、スタートレバー11や停止ボタン12L、12C、12Rの操作時、或いは入賞時において所定の効果音を出力する。さらにはエラーの発生時、前面扉の解放時、設定値の変更時、並びに賭け数及びクレジットの精算時おける警報音の出力を行うと共に、遊技状態に応じた様々な演出音の出力を行う。
さらに、スロットマシン1の前面側には、可変表示装置2及び液晶表示器4の周囲を取り囲むように、演出手段としての遊技効果ランプ75A〜75M(図2参照)の発光により光による演出を行う遊技効果表示部5A〜5Mが設けられている。遊技効果表示部5A〜5Mは、遊技の進行状況に応じた様々なパターンで光による演出を行うものである。なお、遊技効果表示部5A〜5Mの発光色は、単色からなるものであっても、複数色からなるものであっても構わない。
図2は、このスロットマシン1の制御回路の構成を示す図である。図示するように、このスロットマシン1の制御回路は、電源基板100、遊技制御基板101、演出制御基板102、リール中継基板103、リールランプ中継基板104、外部出力基板105、及び演出中継基板106に大きく分けて構成される。
電源基板100は、AC100Vの外部電源電圧を変圧し、遊技制御基板101その他のスロットマシン1の各部に動作電力を供給する。図2では、遊技制御基板101、ホッパー80、各スイッチ91〜94にのみ接続されているように示しているが、電源基板100は、他の各部への電力の供給も行っている。電源基板100は、スロットマシン1の内部に設けられ、メダルの払い出し動作を行うホッパーモータ82と、メダルの払い出しを検知する払い出しセンサ81とから構成されるホッパー80に接続されている。
電源基板100は、後述する内部抽選への当選確率を設定し、これに基づいて算出されるメダルの仮想払出率の設定値(設定1〜設定6)を変更するための設定スイッチ91、設定スイッチ91を操作有効とする設定キースイッチ92、内部状態(RAM112)をリセットする第2リセットスイッチ93、及び電源のON/OFF切り替えを行うメインスイッチ94にもそれぞれ接続されてており、これらのスイッチの検出信号を遊技制御基板101へと送る。これらのスイッチ91〜94は、スロットマシン1の内部に設けられている。
遊技制御基板101は、スロットマシン1における遊技の進行全体の流れを制御するメイン側の制御基板であり、CPU111、RAM112、ROM113及びI/Oポート114を含む1チップマイクロコンピュータからなる制御部110を搭載している。また、乱数発生回路115、サンプリング回路116、電源監視回路117、リセット回路118その他の回路を搭載している。
CPU111は、計時機能、タイマ割り込みなどの割り込み機能(割り込み禁止機能を含む)を備え、ROM113に記憶されたプログラム(後述)を実行して、遊技の進行に関する処理を行うと共に、スロットマシン1内の制御回路の各部を直接的または間接的に制御する。ROM113は、CPU111が実行するプログラムや固定的なデータを記憶する。I/Oポート114は、遊技制御基板101に接続された各回路との間で制御信号を入出力する。
RAM112は、CPU111がプログラムを実行する際のワーク領域として使用される。RAM112は、バッテリバックアップされており、スロットマシン1がOFFされても、記憶内容を保持するものとなっている。クレジット数に関するデータは、RAM112に記憶されるものとなっている。
乱数発生回路115は、パルスを発生する度にカウントアップして値を更新するカウンタによって構成され、サンプリング回路116は、乱数発生回路115がカウントしている数値を取得する。乱数発生回路115は、遊技の進行に使用される乱数の種類毎に設けられていて、乱数の種類毎にカウントする数値の範囲が定められている。CPU111は、その処理に応じてサンプリング回路116に指示を送ることで、乱数発生回路115が示している数値を乱数として取得する(以下、この機能をハードウェア乱数機能という)。
電源監視回路117は、電源基板100から供給される電源電圧を監視し、電圧の低下を検出したときに、電圧低下信号を制御部110に対して出力する。制御部110は、特に図示はしないが、電源監視回路117に接続された割込入力端子を備えており、割込入力端子に電圧低下信号が入力されることでCPU111に外部割り込みが発生し、CPU111は、電断割込処理を実行する。
リセット回路118は、電源投入時において制御部110が起動可能なレベルまで電圧が上昇したきにリセット信号を出力して制御部110を起動させると共に、制御部110から定期的に出力される信号に基づいてリセットカウンタの値がクリアされずにカウントアップした場合、すなわち制御部110が一定時間動作を行わなかった場合に、制御部110に対してリセット信号を出力し、制御部110を再起動させる。
CPU111は、また、タイマ割り込み処理により、RAM112の特定アドレスの数値を更新し、こうして更新された数値を乱数として取得する機能も有する(以下、この機能をソフトウェア乱数機能という)。CPU111は、I/Oポート114を介して演出制御基板102に、各種のコマンドを送信する。なお、遊技制御基板101から演出制御基板102へ情報(コマンド)は一方向のみで送られ、演出制御基板102から遊技制御基板101へ向けて情報(コマンド)が送られることはない。
遊技制御基板101には、1枚BETスイッチ45、MAXBETスイッチ46、スタートスイッチ41、ストップスイッチ42L、42C、42R、精算スイッチ47、第1リセットスイッチ48、投入メダルセンサ44が接続されており、これらのスイッチ/センサ類の検出信号が入力される。また、リール中継基板103を介して、リールセンサ3SL、3SC、3SRの検出信号が入力される。I/Oポート114を介して入力されるこれらスイッチ/センサ類の検出信号、或いは前述したように電源基板100を介して入力される各種スイッチの検出信号に従って、遊技制御基板101上のCPU111は、処理を行っている。
遊技制御基板101には、また、流路切り替えソレノイド49、ゲーム回数表示器51、クレジット表示器52、ペイアウト表示器53、投入指示ランプ59、1枚賭けランプ54、2枚賭けランプ55、56、3枚賭けランプ57、58、ゲームオーバーランプ63、スタートランプ60、リプレイランプ62、BETボタンランプ70a、70b、操作有効ランプ63L、63C、63Rが接続されており、CPU111は、遊技の進行状況に従ってこれらの動作を制御している。
また、遊技制御基板101には、リール中継基板103を介してリールモータ3ML、3MC、3MRが接続されている。CPU111は、後述する内部抽選によりRAM112に設定される当選フラグを参照して、リール中継基板103を介してリールモータ3ML、3MC、3MRを制御して、リール3L、3C、3Rを停止させる。遊技制御基板101には、さらに演出中継基板106を介して演出制御基板102が接続されている。
演出中継基板106は、遊技制御基板101から演出制御基板102へ送信される情報の一方向性を担保するために設けられた基板である。演出中継基板106は、この状態を調べることによって遊技制御基板101や演出制御基板102を調べなくても、遊技制御基板101の制御部110に不正な信号(特に演出制御基板102に外部から入力されるようになっている信号)が入力されるような改造がなされていないかどうかをチェックすることができるようにするものである。
演出制御基板102は、スロットマシン1における演出の実行を制御するサブ側の制御基板であり、CPU121、RAM122、ROM123及びI/Oポート124を含む1チップマイクロコンピュータからなる制御部120を搭載している。また、乱数発生回路125及びサンプリング回路126、並びにサウンド処理部(SDP)127を搭載しており、CPU121は、サンプリング回路126により乱数発生回路125がカウントしている値を取得することにより、遊技制御基板101と同様のハードウェア乱数機能を形成している。割り込み処理によるソフトウェア乱数機能も有している。
CPU121は、ROM123に記憶されたプログラム(後述)を実行して、演出の実行に関する処理を行うと共に、演出制御基板102内の各回路及びこれに接続された各回路を制御する。演出の実行は、I/Oポート124を介して遊技制御基板101から受信したコマンドに基づいて行われる。RAM122は、CPU121がプログラムを実行する際のワーク領域として使用される。RAM122も、バッテリバックアップされており、スロットマシン1がOFFされても、記憶内容を保持するものとなっている。ROM123は、CPU121が実行するプログラムや固定的なデータを記憶する。ROM123に格納された演出データについては後述する。I/Oポート124は、演出制御基板102に接続された各回路との間で制御信号を入出力する。
サウンド処理部127は、CPU121からの指示に従ってROM123に格納されている各種音声再生用データを読み出し、後述するボーナス中楽曲等の演出音や各種警報音を再生してスピーカ7L、7R、7Uから出力させる。サウンド処理部127は、電子ボリューム127aを備えており、電子ボリューム127aによるレベルの設定に応じたボリュームで再生した音声をスピーカ7L、7R、7Uから出力させる。
サウンド処理部127には、前面扉を開放状態として操作可能となるボリューム調整レバー96が接続されており、電子ボリューム127aに設定されるレベルは、基本的にはボリューム調整レバー96により設定されているレベルとなる。もっとも、エラーの発生時、前面扉の解放時、設定値の変更時、並びに賭け数及びクレジットの精算時おける警報音を再生してスピーカ7L、7R、7Uから出力させる場合には、電子ボリューム127aに設定されるレベルは、ボリューム調整レバー96に調整されているレベルに関わらずに最大レベルとなる。
演出制御基板102には、スピーカ7L、7R、7U及びボリューム調整レバー96の他に、遊技効果ランプ75A〜75M、液晶表示器4、蛍光灯6、ウェイトランプ61、ボーナス告知ランプ66が接続されている。また、リールランプ中継基板104を介してリールランプ3LPが接続されている。また、演出制御基板102の制御部120は、これら各部をそれぞれ制御して、演出を行っている。
リール中継基板103は、遊技制御基板101と外部出力基板105及びリールユニット3との間を中継している。リール中継基板103には、また、満タンセンサ90が接続されており、その検出信号が入力される。満タンセンサ90は、スロットマシン1の内部に設けられ、ホッパー80からオーバーフローしたメダルを貯留するオーバーフロータンク内のメダルが満タンになったことを検知するものである。リールランプ中継基板104は、演出制御基板102とリールユニット3との間を中継している。
外部出力基板105は、ホールの管理コンピュータなどの外部装置に接続されており、遊技制御基板101からリール中継基板103を介して入力されたビッグボーナス中信号、レギュラーボーナス中信号、リール制御信号、ストップスイッチ信号、メダルIN信号、メダルOUT信号、当選状況信号、及びセキュリティ信号を、当該外部装置に出力する。ビッグボーナス中信号、レギュラーボーナス中信号、リール制御信号、ストップスイッチ信号、メダルIN信号、メダルOUT信号、当選状況信号、及びセキュリティ信号は、個別の出力端子から出力される。もっとも、セキュリティ信号には、後述するようにドア開放信号、設定値変更信号、投入エラー信号、払い出しエラー信号、他のエラー信号、及び精算中信号が含まれるが、これらは、時分割で同一の出力端子から出力される。
外部出力基板105には、前面扉が開放状態にあることを検出する扉開放センサ95が搭載されており、扉開放センサ95の検出信号に基づいてセキュリティ信号のうちのドア開放信号が出力される。外部出力基板105は、スロットマシン1への電力の供給が行われているとき(すなわち、スロットマシン1がONのとき)に蓄電するとともに、電力の供給が遮断されているとき(すなわち、スロットマシン1がOFFのとき)に、該蓄電した電力を外部出力基板105に供給する蓄電池から構成されるバックアップ電源を搭載している。
スロットマシン1の電源がONされているときには、外部出力基板105は、電源基板101からの電力供給で、扉開放センサ95により前面扉が開放状態にあることを検出し、前面扉が開放状態にあることを示すドア開放信号を含むセキュリティ信号を外部装置に出力する。一方、スロットマシン1の電源がOFFされているときには、外部出力基板105は、このバックアップ電源から電力供給で、扉開放センサ95により前面扉が開放状態にあることを検出し、前面扉が開放状態にあることを示すドア開放信号を含むセキュリティ信号を外部装置に出力する。なお、外部出力基板105から出力されるセキュリティ信号の詳細については、後述する。
図3は、遊技制御基板101と、遊技制御基板101に接続される遊技用電子部品との配線接続状態を示す概略図である。図3には、遊技制御基板101と接続される各種スイッチ、センサ等の電子部品のうち、賭数を設定する際に操作される1枚BETスイッチ45、MAXBETスイッチ46、ゲームを開始させる際に操作されるスタートスイッチ41、リール3L、3C、3Rの回転を停止する際に操作されるストップスイッチ42L、43C、42R、賭数を設定するために投入されたメダルを検出する投入メダルセンサ44、リール3L、3C、3Rを回転させるためのリールモータ3ML、3MC、3MR、リール3L、3C、3Rの回転を検出するためのリールセンサ3SL、3SC、3SR、入賞の発生に伴い払い出されるメダルを検出する払出センサ81及び演出制御基板102が示されており、他のスイッチ、センサ等の図示は省略されている。
演出制御基板102を除く上記遊技用電子部品45、46、41、42L、43C、42R、44、3SL、3SC、3SR、3ML、3MC、3MR、82、81は、ゲームの進行に関わる信号を遊技制御基板101に入出力する電子部品である。ゲームの進行に関わる信号とは、例えば、ゲームを開始可能な状態とするための賭数の設定操作、ゲームを開始させるための操作、リール3L、3C、3Rの表示結果を導出させるための操作等、ゲームの進行操作に応じて遊技制御基板101に出力される信号や、投入メダルの検出、リールの基準位置の検出、払出メダルの検出等、ゲームの進行に応じて遊技用電子部品から出力されて遊技制御基板101に入力される信号と、スタート操作の検出に応じてリール3L、3C、3Rを駆動させるための駆動信号や、入賞の発生に伴いメダルを払い出すホッパー80を駆動するための駆動信号等、ゲームの進行に応じて遊技制御基板101から出力されて遊技用電子部品に入力される信号とを含む。
そして、これら遊技用電子部品45、46、41、42L、43C、42R、44、3SL、3SC、3SR、3ML、3MC、3MR、82、81は、ゲームの進行に応じて遊技制御基板101に信号を出力する第1の電子部品と、ゲームの進行に応じて遊技制御基板101からの信号が入力される第2の電子部品と、からなる。
具体的には、賭数を設定する際に操作される1枚BETスイッチ45、MAXBETスイッチ46及び賭数を設定するために投入されたメダルを検出する投入メダルセンサ44は、該操作またはメダルの検出に基づいて遊技制御基板101にBET信号を出力する第1の電子部品である。遊技制御部110は、該BET信号の受信に基づいて賭数の設定処理を行うため、これら電子部品がないと賭数を設定することができない。すなわち、賭数を設定しないとゲームが開始可能な状態とならないため、1枚BETスイッチ45、MAXBETスイッチ46及び投入メダルセンサ44はゲームの進行に必要な遊技用電子部品である。
ゲームを開始させるための操作を検出するスタートスイッチ41は、該操作の検出に基づいて遊技制御基板101にスタート信号を出力する第1の電子部品である。遊技制御部110は、該スタート信号の受信に基づいてゲームを開始する処理(リール回転処理等)を行うため、この電子部品がないとゲームを開始することができない。すなわち、スタートスイッチ41はゲームの進行に必要な遊技用電子部品である。
リール3L、3C、3Rの表示結果を導出させるための操作を検出するストップスイッチ42L、43C、42Rは、該操作の検出に基づいて遊技制御基板101にストップ信号を出力する第1の電子部品である。遊技制御部110は、該ストップ信号の受信に基づいて該当するリール3L、3C、3Rの回転を停止して表示結果を導出する処理を行うため、この電子部品がないとリール3L、3C、3Rの表示結果を導出することができない。すなわち、ストップスイッチ42L、43C、42Rはゲームの進行に必要な遊技用電子部品である。
リール3L、3C、3Rの回転を検出するリールセンサ3SL、3SC、3SRは、リールの基準位置の検出信号を遊技制御基板101に出力する第1の電子部品である。遊技制御部110は、該リールの基準位置の検出信号の受信に基づいて該当するリール3L、3C、3Rの図柄の位置を把握して回転を停止する処理等を行うため、この電子部品がないと各リール3L、3C、3Rの表示結果の導出や入賞の判定等を行うことができない。すなわち、リールセンサ3SL、3SC、3SRはゲームの進行に必要な遊技用電子部品である。
入賞の発生に伴い払い出されるメダルを検出する払出センサ81は、該メダルの検出に基づいて遊技制御基板101にメダル払出信号を出力する第1の電子部品である。遊技制御部110は、該払出メダル検出信号の受信に基づいて、発生した入賞に応じた枚数のメダルを払い出す払出処理を行うため、この電子部品がないと発生した入賞に応じた枚数のメダルを払い出すことができない。すなわち、払出センサ81はゲームの進行に必要な遊技用電子部品である。
また、リール3L、3C、3Rを回転させるリールモータ3ML、3MC、3MRは、遊技制御基板101から出力される駆動信号が入力される第2の電子部品である。このリールモータ3ML、3MC、3MRは、遊技制御基板101から出力される駆動信号の入力に基づいてリール3L、3C、3Rを回転させて図柄の変動表示を開始するものであるが、該信号入力に基づいて実際にリール3L、3C、3Rを回転しなかったとしても、遊技制御部110は、リールの駆動信号を出力した後に上記リールセンサ3SL、3SC、3SRからの信号が入力されることで、リールが回転したとしてゲームを進行する制御を行うことができる。しかし、このリールセンサ3SL、3SC、3SRから信号が遊技制御基板101に入力されるタイミングは、リールの駆動信号の出力後でないとエラーとなるため、打ち込み器具によりゲームを進行させる場合において、リールの回転の検出に基づく信号の出力タイミングを計るためにはリールの駆動信号が必要となる。すなわち、リールモータ3ML、3MC、3MRは、ゲームの進行に必要な遊技用電子部品である。
また、メダルの払い出しを行うホッパータンクを駆動するホッパーモータ82は、入賞の発生に応じて遊技制御基板101から出力される駆動信号が入力される第2の電子部品である。このホッパーモータ82は、遊技制御基板101から出力される駆動信号の入力に基づいてホッパー80を駆動させてメダルを払い出すものであるが、該信号入力に基づいて実際にホッパー80を駆動しなかったとしても、遊技制御部110は、ホッパー80の駆動信号を出力した後に上記払出センサ81からの信号が入力されることで、メダルが払い出されているとしてゲームを進行する制御を行うことができる。しかし、この払出センサ81から信号が遊技制御基板101に入力されるタイミングは、ホッパー80の駆動信号の出力後でないとエラーとなるため、打ち込み器具によりゲームを進行させる場合において、払出メダルの検出に基づく信号の出力タイミングを計るためには該ホッパータンクの駆動信号が必要となる。すなわち、ホッパーモータ82は、ゲームの進行に必要な遊技用電子部品である。
また、これら遊技用電子部品45、46、41、42L、43C、42R、44、3SL、3SC、3SR、3ML、3MC、3MR、82、81は、基本的には複数の機種に共通して継続使用される電子部品であり、故障等が発生しない限り本体から取り外して交換する機会は少ないので、スロットマシンの本体所定箇所に固設されている。これに対して遊技制御基板101や演出制御基板102等は、機種変更の際には交換が必要となるため、その際には本体から取り外される。
つまり、遊技制御基板101を取り外す際には遊技用電子部品45、46、41、42L、43C、42R、44、3SL、3SC、3SR、3ML、3MC、3MR、82、81との接続を解除する必要があるため、遊技用電子部品45、46、41、42L、43C、42R、44、3SL、3SC、3SR、3ML、3MC、3MR、82、81と遊技制御基板101とは中継基板100、103、106、107を経由して接続されているとともに、これら基板同士及び基板と遊技用電子部品とはケーブルを介して接続されている。またケーブルと基板とは、ケーブルの端部に設けられたケーブル側コネクタと基板の配線パターンと電気的に接続された基板側コネクタとの接続により電気的に接続されている。
具体的に説明すると、1枚BETスイッチ45、MAXBETスイッチ46、スタートスイッチ41、ストップスイッチ42L、43C、42R、投入メダルセンサ44は、操作部中継基板107を経由して遊技制御基板101と配線接続され、リールモータ3ML、3MC、3MR及びリールセンサ3SL、3SC、3SRは、リール中継基板103を経由して遊技制御基板101と配線接続され、ホッパーモータ82及び払出センサ81は、電源基板100を経由して遊技制御基板101と配線接続され、演出制御基板102は、演出中継基板106を経由して遊技制御基板101と配線接続されている。
操作部中継基板107、リール中継基板103、電源基板100、演出制御基板102には、遊技制御基板101と各電子部品45、46、41、42L、43C、42R、44、3SL、3SC、3SR、3ML、3MC、3MR、82、81とを接続するための配線パターン(図示略)が設けられており、各電子部品45、46、41、42L、43C、42R、44、3SL、3SC、3SR、3ML、3MC、3MR、82、81から遊技制御基板101に対して出力される検出信号または遊技制御基板101から供給(入力)される電力や信号等を中継可能とされている。
また、このように各種電子部品と遊技制御基板101とを、スロットマシン1の本体所定箇所に取り付けた各中継基板100、103、106、107を経由して配線接続することで、遊技制御基板101からスロットマシン1の本体所定箇所に個々に配設される複数の電子部品との配線の取りまとめが容易になるとともに、コネクタ接続部が常に中継基板または遊技制御基板101に設けられることになり、これにより各電子部品それぞれのコネクタ接続部が固定されるため、配線接続作業時においてコネクタ接続部を探したり、接続する配線の種類を間違うこと等が防止される。
遊技制御基板101と操作部中継基板107とは、ケーブル600aを介して接続され、遊技制御基板101とリール中継基板103とは、ケーブル600bを介して接続され、遊技制御基板101と電源基板100とは、ケーブル600cを介して接続されており、また、演出制御基板102と演出中継基板106とは、ケーブル600dを介して接続されている。
操作部中継基板107と1枚BETスイッチ45とはケーブル601aを介して接続され、操作部中継基板107とMAXBETスイッチ46とはケーブル601bを介して接続され、操作部中継基板107とスタートスイッチ41とはケーブル601cを介して接続され、操作部中継基板107とストップスイッチ42Lとはケーブル601dを介して接続され、操作部中継基板107とストップスイッチ43Cとはケーブル601eを介して接続され、操作部中継基板107とストップスイッチ42Rとはケーブル601fを介して接続され、操作部中継基板107と投入メダルセンサ44とはケーブル601gを介して接続されている。
また、リール中継基板103とリールモータ3MLとはケーブル601hを介して接続され、リール中継基板103とリールモータ3MCとはケーブル601jを介して接続され、リール中継基板103とリールモータ3MRとはケーブル601lを介して接続されている。また、リール中継基板103とリールセンサ3SLとはケーブル601iを介して接続され、リール中継基板103とリールセンサ3SCとはケーブル601kを介して接続され、リール中継基板103とリールセンサ3SRとはケーブル601mを介して接続されている。また、電源基板100とホッパーモータ82とはケーブル601nを介して接続され、電源基板100と払出センサ81とはケーブル601oを介して接続され、演出中継基板106と演出制御基板102とはケーブル601pを介して接続されている。
これら各ケーブル600a〜600c、601a〜601oは、各基板に対してコネクタ接続されており、基板との配線接続を解除可能となっている。具体的には、ケーブル600aの両端には、ケーブル側コネクタ610a、611aが設けられており、一方のケ一ブル側コネクタ610aは、遊技制御基板101に固設された基板側コネクタ620aに接続可能なコネクタであり、他方のケーブル側コネクタ611aは、操作部中継基板107に固設された基板側コネクタ621aに接続可能なコネクタである。ケーブル600bの両端には、ケーブル側コネクタ610b、611bが設けられており、一方のケーブル側コネクタ610bは、遊技制御基板101に固設された基板側コネクタ620bに接続可能なコネクタであり、他方のケーブル側コネクタ611bは、リール中継基板103に固設された基板側コネクタ621bに接続可能なコネクタである。ケーブル600cの両端には、ケーブル側コネクタ610c、611cが設けられており、一方のケーブル側コネクタ610cは、遊技制御基板101に固設された基板側コネクタ620cに接続可能なコネクタであり、他方のケーブル側コネクタ611cは、電源基板100に固設された基板側コネクタ621cに接続可能なコネクタである。ケーブル600dの両端には、ケーブル側コネクタ610d、611dが設けられており、一方のケーブル側コネクタ610dは、遊技制御基板101に固設された基板側コネクタ620dに接続可能なコネクタであり、他方のケーブル側コネクタ611dは、演出中継基板106に固設された基板側コネクタ621dに接続可能なコネクタである。
また、一端が1枚BETスイッチ45に接続されたケーブル601aの他端には、操作部中継基板107に固設された基板側コネクタ622aに接続可能なケーブル側コネクタ612aが設けられている。一端がMAXBETスイッチ46に接続されたケーブル601bの他端には、操作部中継基板107に固設された基板側コネクタ622bに接続可能なケーブル側コネクタ612bが設けられている。一端がスタートスイッチ41に接続されたケーブル601cの他端には、操作部中継基板107に固設された基板側コネクタ622cに接続可能なケーブル側コネクタ612cが設けられている。一端がストップスイッチ42Lに接続されたケーブル601dの他端には、操作部中継基板107に固設された基板側コネクタ622dに接続可能なケーブル側コネクタ612dが設けられている。一端がストップスイッチ43Cに接続されたケーブル601eの他端には、操作部中継基板107に固設された基板側コネクタ622eに接続可能なケーブル側コネクタ612eが設けられている。一端がストップスイッチ42Rに接続されたケーブル601fの他端には、操作部中継基板107に固設された基板側コネクタ622fに接続可能なケーブル側コネクタ612fが設けられている。一端が投入メダルセンサ44に接続されたケーブル601gの他端には、操作部中継基板107に固設された基板側コネクタ622gに接続可能なケーブル側コネクタ612gが設けられている。
また、一端がリールモータ3MLに接続されたケーブル601hの他端及び一端がリールセンサ3SLに接続されたケーブル601iの他端には、リール中継基板103に固設された基板側コネクタ622hに接続可能なケーブル側コネクタ612hが設けられている。一端がリールモータ3MCに接続されたケーブル601jの他端及び一端がリールセンサ3SCに接続されたケーブル601kの他端には、リール中継基板103に固設された基板側コネクタ622iに接続可能なケーブル側コネクタ612iが設けられている。一端がリールモータ3MRに接続されたケーブル601lの他端及び一端がリールセンサ3SRに接続されたケーブル601mの他端には、リール中継基板103に固設された基板側コネクタ622jに接続可能なケーブル側コネクタ612jが設けられている。
また、一端がホッパーモータ82に接続されたケーブル601nの他端及び一端が払出センサ81に接続されたケーブル601oの他端には、電源基板100に固設された基板側コネクタ622kに接続可能なケーブル側コネクタ612kが設けられている。
また、ケーブル601pの両端には、ケーブル側コネクタC2、C3が設けられており、一方のケーブル側コネクタC2は、遊技制御基板101に固設された基板側コネクタC1に接続可能なコネクタであり、他方のケーブル側コネクタC3は、演出制御基板102に固設された基板側コネクタC4に接続可能なコネクタである。
なお、この実施の形態では、各電子部品45、46、41、42L、43C、42R、44、3SL、3SC、3SR、3ML、3MC、3MR、82、81からはコネクタを介すことなく配線が延出されているが、コネクタを介して配線と接続されていても良い。
上述のように、各基板と各ケーブルとは、基板側に設けられる基板側コネクタ620a〜620d、621a〜621d、622a〜622k、C1、C4と、ケーブル側に設けられるケーブル側コネクタ610a〜610d、611a〜611d、612a〜612k、C2、C3とからなる一対のコネクタ(雄コネクタと雌コネクタ)を介して配線接続されており、基板側コネクタからケーブル側コネクタを抜脱することにより配線接続を解除することができるようになっている。特に、遊技制御基板101、操作部中継基板107、リール中継基板103、電源基板100、演出制御基板102は、スロットマシン1の筐体または前面扉の所定箇所に取り付けられていることで、基板側コネクタからケーブル側コネクタを抜脱しやすいので、遊技制御基板101や演出制御基板102の交換が容易に行うことができる。
まず第1の電子部品に関して具体的に説明すると、1枚BETスイッチ45、MAXBETスイッチ46または投入メダルセンサ44と遊技制御基板101との問に設けられるケーブルのコネクタのうちいずれかのコネクタに打ち込み器具のコネクタが接続され、該打ち込み器具から遊技制御基板101にBET信号が不正に出力されると、賭数の設定操作が行われていないのに賭数が設定される虞がある。スタートスイッチ41と遊技制御基板101との問に設けられるケーブルのコネクタのうちいずれかのコネクタに打ち込み器具のコネクタが接続され、該打ち込み器具から遊技制御基板101にスタート信号が不正に出力されると、ゲームの開始操作を行うことなくゲームが開始される虞がある。ストップスイッチ42L、43C、42Rと遊技制御基板101との問に設けられるケーブルのコネクタのうちいずれかのコネクタに打ち込み器具のコネクタが接続され、該打ち込み器具から遊技制御基板101にストップ信号が不正に出力されると、停止操作を行うことなくリールの回転が停止される虞がある。
リールセンサ3SL、3SC、3SRと遊技制御基板101との問に設けられるケーブルのコネクタのうちいずれかのコネクタに打ち込み器具のコネクタが接続され、該打ち込み器具から遊技制御基板101にリール回転信号が不正に出力されると、リールを回転させることなく各リール3L、3C、3Rの表示結果の導出や入賞の判定等が行われる虞がある。払出センサ81と遊技制御基板101との問に設けられるケーブルのコネクタのうちいずれかのコネクタに打ち込み器具のコネクタが接続され、該打ち込み器具から遊技制御基板101にメダル払出信号が不正に出力されると、メダルを払い出すことなくメダルの計数が行われる虞がある。
第2の電子部品に関して具体的に説明すると、リールモータ3ML、3MC、3MRと遊技制御基板101との問に設けられるケーブルのコネクタのうちいずれかのコネクタでの接続が解除されて遊技制御基板101から出力される駆動信号を打ち込み器具等で取得できることになると、リールの駆動信号が遊技制御基板101から出力されたタイミングを打ち込み器具側で特定できるので、本来リールセンサ3SL、3SC、3SRから遊技制御基板101に入力されるリール回転検出信号を、打ち込み器具からリール回転後の適正なタイミングで出力されてしまう虞がある。
また、ホッパーモータ82と遊技制御基板101との問に設けられるケーブルのコネクタのうちいずれかのコネクタでの接続が解除されて遊技制御基板101から出力される駆動信号を打ち込み器具等で取得できることになると、ホッパータンクの駆動信号が遊技制御基板101から出力されたタイミングを打ち込み器具側で特定できるので、本来払出センサ81から遊技制御基板101に入力される払出メダル検出信号を、打ち込み器具からホッパータンクの駆動後の適正なタイミングで出力されてしまう虞がある。
このように、ゲームの進行に応じて第1の電子部品45、46、41、42L、43C、42R、44、3SL、3SC、3SR、81から出力され、本来であれば遊技制御基板101に入力される信号が打ち込み器具から出力された場合、遊技制御部110は該信号の受信に基づいてゲームを進行する制御を行うことができる。一方、ゲームの進行に応じて遊技制御基板101から出力され、本来であれば第2の電子部品3ML、3MC、3MR、82に入力される信号が打ち込み器具に入力された場合、打ち込み器具側では、遊技制御部110がリールモータ3ML、3MC、3MLやホッパーモータ82の駆動後に出力する信号の出力タイミング等を特定可能となり、これに基づいて新たな信号がメイン制御基板101に入力された場合には、遊技制御部110は該信号の受信に基づいてゲームを進行する制御を行うことができるので、ゲームを自動的に進行させるといった不正行為が実施される虞がある。この実施の形態にかかるスロットマシン1では、後述するように打ち込み器具の接続による不正行為を防止する種々の対策が施されている。
次に、遊技制御基板101における遊技制御部110への電源まわりの構成を説明する。図4は、遊技制御部110に対するバックアップ電源の供給ラインを示す回路図である。
遊技制御基板101には、電源基板100の電圧生成回路により生成された+5Vの直流電圧が供給される。電源基板100から供給された+5Vの直流電圧は、遊技制御部110の駆動電源としてVDD入力端子に供給されるとともに、図4に示すように、遊技制御基板101上で分岐して+5V(VBB)の直流電圧の供給ラインを形成する。そして、この+5V(VBB)の直流電圧の供給ラインは、逆流防止用のダイオード312を介して遊技制御部110のメモリバックアップ電源入力端子VBBに接続されているとともに、電源基板100側でグラウンドレベルに接続され、その間には大容量の図示されないコンデンサが設けられている。これにより+5V(VBB)の直流電圧をコンデンサに蓄積可能とされ、スロットマシン1に対する電力供給が遮断されたときに、コンデンサに蓄積された電圧を、遊技制御部110におけるRAM112の記憶状態を保持するためのバックアップ電源として供給できるようになっている。
また、+5V(VBB)の直流電圧の供給ラインは、遊技制御基板101上で直接遊技制御部110のメモリバックアップ電源入力端子VBBに接続されているのではなく、図4に示すように、遊技制御基板101と操作部中継基板107を配線接続するケーブル600a、操作部中継基板107、操作部中継基板107と投入メダルセンサ44を配線接続するケーブル601gを経由し、更に、投入メダルセンサ44で折り返して、ケーブル601g、操作部中継基板107、ケーブル600aを経由して再度遊技制御基板101に接続され、遊技制御部110のメモリバックアップ電源入力端子VBBに接続されている。すなわち、スロットマシン1に対する電力供給が遮断されたときに、コンデンサに蓄積された電圧は、遊技制御基板101からケーブル600a−操作部中継基板107−ケーブル601g−投入メダルセンサ44−ケーブル601g−操作部中継基板107−ケーブル600aを経由した後、遊技制御部110に供給され、遊技制御部110におけるRAM112の記憶状態が保持されるようになっている。
このため、スロットマシン1に対する電力供給が遮断されている状態で、遊技制御基板101の基板側コネクタ620aとケーブル600aのケーブル側コネクタ610aとの接続、ケーブル600aのケーブル側コネクタ611aと操作部中継基板107の基板側コネクタ621aとの接続、操作部中継基板107の基板側コネクタ622gとケーブル601gのケーブル側コネクタ612gとの接続、のいずれかの接続を解除することで、バックアップ電源の供給ラインが切断され、遊技制御部110のRAM112のデータを保持できず、消失することとなる。すなわち遊技制御基板101と投入メダルセンサ44との間のコネクタ同士の接続が1カ所でも解除されると、遊技制御部110のRAM112に保持されているバックアップデータが消失するようになっている。
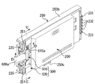
この実施の形態にかかるスロットマシン1では、遊技制御基板101と遊技用電子部品との間のコネクタ接続の解除を規制することで、打ち込み器具の接続を困難としている。具体的には、遊技制御基板101と投入メダルセンサ44との間のコネクタ接続、すなわち遊技制御基板101の基板側コネクタ620aとケーブル600aのケーブル側コネクタ610aとの接続、ケーブル600aのケーブル側コネクタ611aと操作部中継基板107の基板側コネクタ621aとの接続、操作部中継基板107の基板側コネクタ622gとケーブル601gのケーブル側コネクタ612gとの接続についてこれらコネクタ同士の接続の解除を規制している。基板側コネクタ620aとケーブル側コネクタ610aとの接続は、コネクタ規制部材500によってその解除が規制され、ケーブル側コネクタ611aと基板側コネクタ621aとの接続、及び基板側コネクタ622gとケーブル側コネクタ612gとの接続は、コネクタ規制部材650によってその解除が規制されるようになっている。
次に、外部出力基板105の構成、及び外部出力基板105から出力されるセキュリティ信号について詳細に説明する。図5は、外部出力基板105から出力されるセキュリティー信号の出力フォーマットを示す図である。前述したとおり、セキュリティ信号は、複数種類の信号を同一の外部出力端子から出力させるものであるが、図示するように、Xms(Xは任意の数)の時間毎に時分割し、1フレーム期間を14Xmsとして出力されるものである。
1フレーム期間のうちの最初のXmsの期間は、スタートビットを出力する期間となり、最後の6Xmsの期間がブランク期間となり、ブランク期間の直前のXmsの期間がストップビットを出力する期間となる。その間の6Xmsの期間で、Xmsの期間毎に時分割してドア開放信号、設定値変更信号、投入エラー信号、払い出しエラー信号、他のエラー信号、及び精算中信号の6種類の信号を出力するものとなっている。
ドア開放信号は、ON状態のときに前面扉が開放されていることを示す信号であり、設定キースイッチ92や設定スイッチ91、或いは各種基板101〜106及び基板間を接続するケーブルは、スロットマシン1の前面扉を開放した内部に設置されているので、前面扉が開放されているときには不正が行われてる可能性があるために出力されるものである。設定値変更信号は、ON状態のときに設定値の変更が行われていることを示す信号であり、設定値の変更はメダルの払出率に直接的に影響があることで不正が行われている可能性があるために出力されるものである。
投入エラー信号は、ON状態のときにメダルの投入においてエラーが発生し、未だ復帰していないことを示す信号であり、投入エラーが発生したときにはメダル投入口13から不正なメダル投入行為(実際にはメダルを投入せずに不正な器具を用いてクレジットを満杯にしてしまうような行為)が行われている可能性があるために出力されるものである。払い出しエラー信号は、ON状態のときにメダルの払い出しにおいてエラーが発生し、未だ復帰していないことを示す信号であり、払い出しエラーが発生したときにはホッパー80に対してメダルを抜くなどの不正行為が行われている可能性があるために出力されるものである。
他のエラー信号は、ON状態のときに投入エラー及び払い出しエラー以外のエラーが発生し、未だ復帰していないことを示す信号である。投入エラー及び払い出しエラー以外のエラーは、直接的にメダルを増加させようとする行為で発生するものではないが、エラーの発生時には何らかの不正が行われている可能性があるために、このような他のエラー信号を出力するものである。精算中信号は、ON状態のときにメダルの精算中であることを示す信号であり、メダルの精算は必ずしも不正がなくても通常に行われる行為ではあるものの、これが頻繁に行われるようでは不正な行為が行われている可能性があるために出力されるものである。
また、スタートビットは、常にON状態、ストップビット及びブランク期間は、常にOFF状態である。セキュリティ信号として実質的な内容を示す信号は、ドア開放信号、設定値変更信号、投入エラー信号、払い出しエラー信号、他のエラー信号、及び精算中信号の6種類であり、これらが全てOFF状態となってもOFF状態となっている期間は6Xmsしか継続しないので、7Xms以上の期間OFF状態となった後にセキュリティ信号がON状態となったXmsの期間がスタートビットの期間であると判断することができる。
なお、外部出力基板105から出力されるセキュリティ信号は、ドア開放信号、設定値変更信号、投入エラー信号、払い出しエラー信号、他のエラー信号、及び精算中信号をシリアルで出力するものであったが、外部出力基板105とホールの管理コンピュータなどの外部装置との間に所定の出力端子板を設け、シリアルのドア開放信号、設定値変更信号、投入エラー信号、払い出しエラー信号、他のエラー信号、及び精算中信号をパラレルに変換して、外部装置へと出力するものとしてもよい。
次に、遊技制御基板101を収納する基板ケース200及びコネクタ規制部材500の詳細な構造について説明する。
図6及び図7は、基板ケース200及び基板ケース200をスロットマシン1の本体をなす筐体に取り付けるための取付ベース250、コネクタ規制部材500を示す分解斜視図であり、図8は、基板ケース200を取付ベース250に組み付けた状態を示す斜視図であり、図9は、コネクタ規制部材500を構成する取付側部材510及びコネクタキャップ520の要部拡大斜視図であり、図10(a)は、図9のA−A断面図であり、図10(b)(c)は、図9のB−B断面図であり、図11は、基板ケース200を取付ベース250に組み付け、更に取付側部材510に対してコネクタキャップを装着した状態を示す斜視図であり、図12(a)は、図11のC−C断面図であり、図12(b)は、図11のD−D断面図である。
基板ケース200は、図6及び図7に示すように、遊技制御基板101の裏面側を覆うケース本体としての下部ケース201と、遊技制御基板101の実装面側を覆う上部ケース203と、から構成され、遊技制御基板101を挟持するように組み付けられるものである。なお、遊技制御基板101の実装面には、特に詳細な図示はしないが、CPU111、ROM123、RAM112等の電子素子や、他の基板からのケーブルの一端に設けられたケーブル側コネクタ等が接続される基板側コネクタ620a〜620c等が多数実装されている。
下部ケース201は、透明な合成樹脂からなり、略長方形状に形成される底板201aと、該底板の周囲を囲むように形成された側壁と、により上面が開放する直方体状に成形されている。
下部ケース201の一方の短辺の側壁201cには、2つの封止片211、211が外方に突出して設けられているとともに、他方の短辺の側壁201dには、2対の係止部210が外方に突出して設けられている。また、下部ケース201の底板201aの裏面における側壁201dよりの両長辺側端には、後述する取付側部材510の係止片511が係合する係合溝212がそれぞれ形成されている。
上部ケース203は、透明な合成樹脂からなり、図6及び図7に示すように、下面が開放するとともに、上面中央が膨出し、両短辺側に段部203a、203bが形成された凸型の箱状に成形されている。上部ケース203の下面は、下部ケース201と同型であり、下部ケース201と上部ケース203とを組み付けることで、内部に遊技制御基板101を収容する空間が形成されるようになっている。
上部ケース203の一方の短辺の側壁203cには、下部ケース201の一方の短辺の側壁201cに設けられた封止片211、211と対応する箇所にそれぞれ封止片231、231が外方に突出して設けられており、封止片231、231の問には、等間隔に4つの封止片232が外方に突出して設けられている。上部ケース203の他方の短辺の側壁203dには、下部ケース201の他方の短辺の側壁に設けられた2対の係止部210と対応する箇所にそれぞれ1対の係止部210と係合する係合部230がそれぞれ設けられている。また、上部ケース203の他方の短辺の側壁203dには、係合部230よりも外方よりの位置に、後述する取付ベース250の係止孔251a、251aに係合する係止片235、235がそれぞれ設けられている。
また、上部ケース203の両短辺側の段部203a、203bには、それぞれ凹部203e、203fが形成されているとともに、特に、段部203bの凹部203fの底面には、基板ケース200内に収容した遊技制御基板101の基板側コネクタ620aに対応する箇所に基板側コネクタ620aを挿通可能な挿通孔234が形成されている。
取付ベース250は、基板ケース200をスロットマシン1の本体をなす筐体に対して固定するための部材である。取付ベース250は、合成樹脂からなり、図6及び図7に示すように、下部ケース201の底板201aよりも大きい略長方形状に形成される底板250aと、該上板の周縁辺のうち2つの長縁辺に形成された側壁250b、250cとにより上面が開放する直方体状に形成されている。取付ベース250の底板250aには、複数箇所にビス孔252が形成されているとともに、一方の短辺側の縁辺には、中央部に切り欠き250eを有する側壁250dが形成されており、底板250aには、側壁250dの切り欠き250eから中央に向かって1対のガイド254、254が設けられている。ガイド254、254の対向する面には、後述する固着部材255の両端部に形成された係止部257、257が嵌入されるガイド溝254a、254aが形成されている。
固着部材255は、合成樹脂からなり、上面に4カ所の固着孔256が形成された固着片255aの両端から下方(図中後方)に伸びる垂下片255b、255bが延設され、更に垂下片255b、255bの両端部から左右方向(図中上下方向)を向く係止部257、257が形成された略コ字状に成形されている。固着部材255は、その係止部257、257を取付ベース250のガイド254、254に形成されたガイド溝254a、254aに対してそれぞれ嵌入することで、取付ベース250に取り付けられる。
取付ベース250における側壁250dが形成された短辺側には、先端に内方向きの係止爪253aを有する係止柱253が底板250aから立設されているとともに、反対側の短辺側の両端部には、上部ケース203の係合部230が挿入される係止孔251a、251aが底板250aから連設された係止孔部251、251が立設されている。
コネクタ規制部材500は、図6及び図7に示すように、基板ケース200に対して取り付けられる取付側部材510と、取付側部材510に対して装着され、基板側コネクタ620aに接続されたケーブル側コネクタ610aの一部を被覆するコネクタカバー520と、から構成され、取付側部材510を基板ケース200に対して取り付け、コネクタカバー520を装着することで、基板側コネクタ620aからのケーブル側コネクタ610aの抜脱が規制される。
取付側部材510は、透明な合成樹脂からなり、図6及び図7に示すように、基板ケース200を構成する下部ケース201及び上部ケース203の表面形状に沿った形状に成形されている。詳しくは、取付側部材510は、上部ケース203の係合部230が設けられた短辺側に装着されるものであり、その形状は、基板ケース200への取付時に上部ケース203における段部203bの凹部203fの底面に当接するとともに、ケーブル側コネクタ610aを逃がす切り欠き512及び内側に係止孔513aを有する筒状の係止孔部513が形成された基片510aの両端から起立する起立片510b、510bを介して上部ケース203における段部203bの両端部上面に当接する上片510c、510cが延設され、更に上片510c、510cの両端から垂下する側片510d、510dを介して係止部257、257が内向きに延設された形状であり、基板ケース200への取付時に、取付側部材510の基片510a、上片510c、510cの基板ケース200に対する対向面が上部ケース203における段部203bの上面及び凹部203fの底面にそれぞれ当接するようになっている。
係止孔部513における係止孔513aの内面には、図9に示すように、中心を挟んで対向する位置に係止溝514が、係止孔513aの下端から上方に向かって設けられている。係止溝514は、係止孔513aの下端からの深さの浅い浅溝部514aとそれよりも深い深溝部514bとからなる略L字状で、対向する係止溝514、514の浅溝部514a、514a同士、深溝部514b、514b同士が、それぞれ中心を挟んで対向する位置に形成されている。すなわち係止溝514、514は、中心を挟んで点対称に形成されている。
コネクタカバー520は、透明な合成樹脂からなり、図6及び図7に示すように、基板ケース200に取り付けられた取付側部材510に対して取り付けた際に、基板側コネクタ620aに接続されたケーブル側コネクタ610aの一部を被覆する断面視略コ字状の被覆部521が成形されているとともに、被覆部521の長手方向側面の一方の側面521aに取付側部材510における係止孔部513の係止孔513aの内周とほぼ同径の係止筒522が接続片522aを介して設けられている。
被覆部521の一方の側面521aの下端は、取付側部材510に取り付けた際にその基片510aの上面に当接するとともに、側面521aの背面には、リブ521b、521bが設けられ、そのリブ521b、521bの下面も基片510aの上面に当接するようになっている。
係止筒522は、図9に示すように、中心を挟んで対向する位置に、先端に外向きの係止爪523aが形成され、内方に弾性変形可能な係合部523、523が設けられている。係合部523、523は、その係止爪523a、523aが、コネクタカバー520を基板側コネクタ620aにケーブル側コネクタ610aが接続されている状態で取付側部材510に取り付けた際に、係止孔513aに形成された係止溝514、514の浅溝部514a、514aに対して係合する位置に設けられている。
次に、コネクタ規制部材500の基板ケース200への取付状況及び基板ケース200の筐体への取付状況について説明する。
まず、基板ケース200を構成する下部ケース201及び上部ケース203の内部に遊技制御基板101を収容して封止状態とする。下部ケース201及び上部ケース203を封止状態とするには、下部ケース201の2対の係止部210に対して、それぞれ対応する上部ケース203の係合部230を係合させた後、下部ケース201のいずれかの封止片211と上部ケース203の対応する封止片231とをワンウェイネジにて固着する。
ワンウェイネジは、周知のように、一方向の回転によってネジを螺着することができるが、他方向に回転させようとしても回転させることができない、すなわち、そのネジを緩めることができない機能を有するネジである。このため、下部ケース201のいずれかの封止片211と上部ケース203の対応する封止片231とをワンウェイネジにて固着すると、封止片211及び封止片231のいずれか一方を破断させなければ、これらの固着を解除できないようになっている。
そして、封止片211及び封止片231を固着することにより、下部ケース201に対する上部ケース203の長手方向の移動が規制され、その結果、下部ケース201の係止部210に対する上部ケース203の係合部230の係合の解除も規制されることとなり、上部ケース201と下部ケース203は、内部に遊技制御基板101を収容した状態で一体化され、封止片211及び封止片231を破断しなければ、開放することができない状態となる。
次に、遊技制御基板101を封止状態とした基板ケース200に対して取付側部材510を取り付ける。取付側部材510は、その両側片510d、510dを外方に向かって弾性変形させ、上部ケース203の段部203bに装着する。そして弾性変形を解除することで、係止片511、511を下部ケース201の裏面における係合溝212、212に係合させることで取り付けられる。この際、取付側部材510の基片510a、上片510c、510cは、それぞれ上部ケース203の段部203b上面、凹部203fの底面に当接するとともに、基片510aに設けられた切り欠き512が、上部ケース203の凹部203fに設けられた挿通孔234と一致し、これら切り欠き512及び挿通孔234を介して、基板ケース200に収容された遊技制御基板101の基板側コネクタ620aが基板ケース200内から外部に露出するようになっている。
次に、取付ベース250のビス孔252を介して取付ネジ259を筐体側の壁に螺入し、取付ベース250を筐体に対して固定するとともに、固着部材255の係止部257、257を取付ベース250の係合溝254a、254aにそれぞれ嵌入し、固着部材255を取付ベース250に対して装着する。
次に、取付側部材510が取り付けられた基板ケース200を取付ベース250に対して組み付ける。詳しくは、基板ケース200の一端側に突出する係止片235、235をそれぞれ取付ベース250の係止孔部251、251の係止孔251a、251aに挿入した後、図8に示すように、基板ケース200を取付ベース250の側壁250b、250cの問に収容させるとともに、係止柱253の係止爪253aによって基板ケース200の他端側段部203aの上面を係止して基板ケース200を取付ベース250に仮止めする。この状態で上部ケース203の一端に設けられた4つの封止片232と取付ベース250に装着された固着部材255の固着孔256がそれぞれ対応する位置となり、この状態で、いずれかの封止片232の上方から対応する固着孔256に対して前述のワンウェイネジを螺入することで、封止片232と固着部材255とを固着する。
そして、封止片232及び封止片固着部材255を固着することにより、基板ケース200の封止片232側の端部における取付ベース250からの取り外し方向への移動が規制されるとともに、係止柱253によって基板ケース200の封止片232側への水平移動も規制されるので、基板ケース200の一端側に突出する係止片235、235を取付ベース250の係止孔251a、251aから外すことも不可能となる。更に、この状態では、取付ベース250の底板250aのビス孔252は全て基板ケース200に被覆され、取付ネジへの259へのアクセスも不能となり、取付ベース250を筐体から取り外すことも不可能となる。このようにして、取付側部材510が取り付けられた基板ケース200は、取付ベース250を介して筐体に固定され、封止片232または固着部材255を破断しなければ、基板ケース200を筐体から取り外すことができない状態となる。
また、取付側部材510が取り付けられた基板ケース200が取付ベース250(筐体)に対して取り外し不能に固定されると、図12(a)に示すように、取付側部材510の側片510d、510dが取付ベース250の側壁250b、250cの内面に当接し、狭持されて取付側部材510の両側片510d、510dの外方への変形が規制されるため、取付側部材510を基板ケース200から取り外すことが不可能となる。
次に、図8に示すように、基板ケース200の挿通孔234及び取付側部材510における基片510aの切り欠き512を介して露呈する遊技制御基板101の基板側コネクタ620aに対してケーブル600aのケーブル側コネクタ610aを接続した後、これら基板側コネクタ620aとケーブル側コネクタ610aを接続した状態で、図11に示すように、コネクタカバー520の被覆部521でケーブル側コネクタ610aの上方を被覆するとともに、コネクタカバー520の係止筒522を取付側部材510における係止孔部513の係止孔513aに嵌入させる。これにより係止筒522の係合部523、523は、係止孔513aの内周に当接して内方に弾性変形する。この際、係合部523、523は、被覆部521でケーブル側コネクタ610aを被覆する位置とすると、自ずと係止孔513aの内面に形成された係合溝514、514のうち浅溝部514a、514aに位置決めされることとなり、係止筒522を更に嵌入し、係合部523、523の先端の係止爪523a、523aが係合溝514、514の浅溝部514a、514aに到達することで、図10(a)に示すように、係合部523、523の内方への弾性変形が開放され、係止爪523a、523aがそれぞれ浅溝部514a、514aに係合し、係止筒522の上方への移動が規制されるとともに、被覆部521の側面521aと基板側コネクタ620a及びケーブル側コネクタ610aの側面とが当接して、係止筒522の係止孔部513に対する回転が規制されることにより、取付側部材510とコネクタカバー520とが連結し、一体化されたコネクタ規制部材500が形成された状態となる。この状態では、係合部523、523が係止孔部513によって被覆されるため、外部から係合部523、523を内方に弾性変形させることが不可能となり、コネクタカバー520または取付側部材510を破断しなければ、コネクタカバー520を取付側部材510から取り外すことが不可能となる。
コネクタカバー520を取付側部材510に対して取り外し不能に取り付けると、図12(a)(b)に示すように、被覆部521によってケーブル側コネクタ610aの上面の一部が被覆され、ケーブル側コネクタ610aの基板側コネクタ620aからの抜き方向への移動が規制され、ケーブル側コネクタ610aの基板側コネクタ620aからの抜脱が規制されるようになっている。
このように、取付側部材510を基板ケース200に取り付けた状態で、基板ケース200を筐体に対して固着した後、ケーブル側コネクタ610aを基板側コネクタ620aに接続し、その状態で基板側コネクタ620aの一部を上方から被覆するようにして取付側部材510に取り付けることによって、ケーブル側コネクタ610aの基板側コネクタ620aからの抜脱が不能化されるようになっている。
次に、ケーブル側コネクタ610aと基板側コネクタ620aとの接続を解除する際の状況について説明する。
ケーブル側コネクタ610aと基板側コネクタ620aとの接続を解除するには、取付側部材510またはケーブルカバー520を破断してコネクタカバー520を取付側部材510から取り外すか、基板ケース200の封止片232または固着部材255を破断して、基板ケース200を取付ベース250から取り外し、コネクタカバー520が取り付けられた状態のままの取付側部材510を基板ケース200から取り外す必要がある。
例えば、ケーブル600aの故障などによりケーブル側コネクタ610aを基板側コネクタ620aから外す必要がある場合には、前者の方法で取り外し、基板の故障などにより基板ケース200ごと交換する場合には、後者の方法で取り外せば良い。
まず、ケーブル600aを交換するにあたり、ケーブル側コネクタ610aを基板側コネクタ620aから外す必要がある場合に、コネクタカバー520を取付側部材510から取り外す方法について説明すると、最初に、ニッパーなどの工具でコネクタカバー520の被覆部521と係止筒522とを繋ぐ接続片522aを破断する。これにより被覆部521が分離するとともに、係止筒522の係止孔部513に対する回転が可能な状態となる。この状態で、係止筒522を、上面視反時計回りに回転させることで、係合部523、523が係合溝514、514の浅溝部514a、514aから深溝部514b、514bの位置に移動し、図10(a)に示すように、係止爪523a、523aが浅溝部514a、514aに係合している状態から、図10(b)に示すように、係止爪523a、523aと浅溝部514a、514aの係合が解除された状態となる。これにより、係止筒522の上方への移動が可能となり、図10(c)に示すように、係止筒522を上方に引き抜くと、係止爪523a、523aが深溝部514b、514bに係合するが、この状態では、係合部523、523が露呈するため、内方に弾性変形させることが可能となり、係合部523、523を内方に弾性変形させることにより、係止爪523a、523aと深溝部514b、514bとの係合が解除され、係止筒522を取付側部材510から取り外すことができ、これによりコネクタカバー520が取付側部材510から完全に分離し、コネクタカバー520によるケーブル側コネクタ610aの抜き方向の移動の規制も解除されるので、ケーブル側コネクタ610aと基板側コネクタ620aとの接続を解除することができるようになる。
なお、コネクタカバー520を取付側部材510から取り外すと、被覆部521と係止筒522とが破断し、一度破断すると元の状態とはならないため、ケーブル側コネクタ610aと基板側コネクタ620aとの接続を解除した痕跡が残ることとなる。
次に、基板ケース200ごと交換するにあたり、ケーブル側コネクタ610aを基板側コネクタ620aから外す必要がある場合に、取付側部材510をコネクタカバー520ごと基板ケース200から取り外す方法について説明すると、最初に、ニッパーなどの工具で固着部材255と固着されている基板ケース200の封止片232を破断する。これにより、基板ケース200の封止片232側の端部における取付ベース250からの取り外し方向への移動が可能となるので、係止柱253の係止爪253aと基板ケース200の段部203eとの係合を解除する。これに伴って封止片232側への水平方向への移動も可能となるので、基板ケース200の係止片235、235を取付ベース250の係止孔251a、251aから取り外す。これにより、基板ケース200が取付ベース250から取り外され、取付側部材510の側片510d、510dを外方に変形することが可能な状態となり、取付側部材510からコネクタカバー520を取り外すことなく、取付側部材510を基板ケース200から取り外すことが可能となり、これによりコネクタカバー520と一体化された状態で取付側部材510を基板ケース200から取り外すことにより、コネクタカバー520によるケーブル側コネクタ610aの抜き方向の移動の規制も解除されるので、ケーブル側コネクタ610aと基板側コネクタ620aとの接続を解除することができるようになる。
なお、この方法によっても取付側部材510を基板ケース200から取り外すためには、固着部材255と固着されている基板ケース200の封止片232を破断する必要があり、一度破断すると元の状態とはならないため、ケーブル側コネクタ610aと基板側コネクタ620aとの接続を解除した痕跡が残ることとなる。
また、この方法によれば、基板ケース200の封止片232が破断され、固着部材255に残るが、取付側部材510からコネクタカバー520を取り外すことなく、取付側部材510を基板ケース200から取り外せるため、交換用に遊技制御基板101が収容された新たな基板ケース200にコネクタカバー520が組み付けられた状態の取付側部材510を取り付けることで、新たな基板ケース200においてケーブル側コネクタ610aと基板側コネクタ620aとの接続の解除が不能化されるとともに、新しい固着部材255を取付ベース250に装着し、コネクタカバー520が組み付けられた状態の取付側部材510を取り付けた新たな基板ケース200を取付ベース250に取り付けて固着部材255と封止片232とを固着することで、再び取付側部材510の取り外しが不可能な状態となり、ケーブル側コネクタ610aと基板側コネクタ620aとの接続を解除した場合には、その痕跡を残せる状態となる。すなわちこのような場合には、取付側部材510とコネクタカバー520とを再利用することが可能となる。
次に、コネクタ規制部材650の詳細な構造について説明する。
図13は、コネクタ規制部材650を構成する載置台660及びカバー部材680を示す分解斜視図であり、図14は、載置台660に対してカバー部材680を組み付けた状態を示す斜視図であり、図15(a)は、図14のE−E断面図であり、図15(b)は、図14のF−F断面図である。
コネクタ規制部材650は、図13及び図14に示すように、操作部中継基板107を載置する載置台660と、載置台660を上方から被覆するカバー部材680と、から構成され、載置台660に操作部中継基板107を収容した後、操作部中継基板107の基板側コネクタ621a、622gに、それぞれに対応するケーブル600a、601gのケーブル側コネクタ611a、612gを接続した後、カバー部材680をケース体610に取り付けることで、基板側コネクタ621a、622gからのケーブル側コネクタ611a、612gの抜脱が規制される。
載置台660は、透明な合成樹脂からなり、操作部中継基板107よりも大径の略長方形状に成形されている。操作部中継基板107には、図13に示すように、基板側コネクタ621a、622a、622b、622c、622d〜622f、622gが実装されており、載置台660の長辺側の両側面、及び短辺側の一方の側面には、操作部中継基板107を載置した際に、操作部中継基板107において差し込み口が実装面と水平方向に開口する基板側コネクタ622a、622b、622c、622d〜622f、622gが位置する部位を避けて、外方に突出するように、係止孔661bを有する係止孔部661がそれぞれ1つずつ接続片661aを介して設けられている。係止孔661bの内周面には、中心を挟んで対向する位置に中心向きの係止爪661c、661cが1対形成されている。
カバー部材680は、透明な合成樹脂からなり、載置台660とほぼ同形状に成形されており、一方の長辺側には、操作部中継基板107の基板側コネクタ621aに対応する位置に手前に向かって膨出するカバー部681が、他方の長辺側には、作業部中継基板110の基板側コネクタ622a、622bに対応する位置に手前側に向かって膨出するカバー部688、基板側コネクタ622c、622g、622d〜622fに対応する位置に手前に向かって膨出するカバー部689がそれぞれ形成されている。
カバー部681の上面681aには、ケーブル600aのケーブル側コネクタ611aの長辺の長さよりも狭い、基板側コネクタ621aに接続されたケーブル600aを逃がすための切り欠き681bが外側の側面にかけて形成され、これにより、上面681aの両側端には、それぞれ被覆面681c、681が形作られる。
カバー部688には、基板側コネクタ622a、622bに接続されたケーブル612a、612bを逃がすための切り欠き682aが形成されているとともに、カバー部689には、基板側コネクタ622cに接続されたケーブル612cを逃がすための切り欠き682b、基板側コネクタ622gに接続されたケーブル612gを逃がすための切り欠き632c、基板側コネクタ622d〜fに接続されたケーブル612d〜fを逃がすための切り欠き682dがそれぞれ形成されている。特に、基板側コネクタ622gに接続されたケーブル612gを逃がすための切り欠き682cは、ケーブル601gの長辺の長さよりも狭幅に形成されており、その両端には、カバー部689から垂下する被覆片683、683がそれぞれ設けられている。
また、カバー部材680の長辺側の両側面、及び短辺側の一方の側面には、載置台660の係止孔部661と対応する位置に、外方に突出するように、係止孔661bの内周面とほぼ同径の係止筒684が接続片684aを介して設けられている。係止筒684の外周面には、係止孔661bの内周に設けられた1対の係止爪661cと対応する箇所にそれぞれ係止孔684が形成されており、係止爪661cが係合できるようになっている。
次に、載置台660とカバー部材680の取付状況について説明すると、まず、図13に示すように、載置台660に操作部中継基板107を載置し、基板側コネクタ621a、622a、622b、622c、622d〜622f、622gにそれぞれ対応するケーブル側コネクタ611a、612a、612b、612c、612d〜612f、612gを接続する。これらケーブル側コネクタを基板側コネクタに接続した後、カバー部材680を載置台660に対して取り付ける。
詳しくは、カバー部材680の係止筒634を載置台660の対応する係止孔部661の係止孔661bに嵌入する。そして係止筒634を係止孔661bに押し込むことにより、係止孔661b内の係止爪661cが係止筒684の係止孔684に係合する。これにより、外方から係止爪661cと係止孔684との係合を解除することが不可能な状態となり、図14に示すように、載置台660とカバー部材680とが、係止孔部661または係止筒634を破断しなければ取り外し不能に組み付けられた状態となる。
そして、載置台660とカバー部材680とが組み付けられると、図15(a)に示すように、操作部中継基板107の基板側コネクタ621aに接続されたケーブル側コネクタ611aの両端部上面がカバー部材680の被覆部681c、681cに被覆され、ケーブル側コネクタ611aの基板側コネクタ621aからの抜き方向への移動が規制され、ケーブル側コネクタ611aの基板側コネクタ621aからの抜脱が規制されるようになっている。
また、載置台660とカバー部材680とが組み付けられると、図15(b)に示すように、操作部中継基板107の基板側コネクタ622gに接続されたケーブル側コネクタ612gの両端部上面がカバー部材680の被覆片683、683に被覆され、ケーブル側コネクタ621gの基板側コネクタ622gからの抜き方向への移動が規制され、ケーブル側コネクタ621gの基板側コネクタ622gからの抜脱が規制されるようになっている。
次に、ケーブル側コネクタ611aと基板側コネクタ621aとの接続及びケーブル側コネクタ621gと基板側コネクタ622gとの接続を解除する際の状況について説明する。
ケーブル側コネクタ611aと基板側コネクタ621aとの接続及びケーブル側コネクタ621gと基板側コネクタ622gとの接続を解除するには、ニッパーなどの工具でカバー部材680の係止筒684を繋ぐ接続片684aを破断する。これにより、カバー部材680の本体と係止筒684とが分離して、カバー部材680を載置台660から取り外すことが可能となり、カバー部材680を載置台660から取り外すことにより、被覆部681c、681cによるケーブル側コネクタ611aの抜き方向の移動の規制が解除されるとともに、被覆片683、683によるケーブル側コネクタ621gの抜き方向の移動の規制も解除されるので、ケーブル側コネクタ611aと基板側コネクタ621aとの接続及びケーブル側コネクタ621gと基板側コネクタ622gとの接続を解除することができるようになる。
なお、カバー部材680を載置台660から取り外すと、カバー部材680の本体と係止筒684とが破断し、一度破断すると元の状態とはならないうえに、分離した係止筒684が載置台660の係止孔部661の係止孔661b内に残るため、ケーブル側コネクタ611aと基板側コネクタ621aとの接続及びケーブル側コネクタ621gと基板側コネクタ622gとの接続との接続を解除した痕跡が残ることとなる。
上記スロットマシン1においては、可変表示装置2のいずれかの入賞ライン上に役図柄が揃うと、入賞となる。入賞となる役の種類は、遊技状態に応じて定められている。入賞となる役の種類には、大きく分けて、特別遊技状態(レギュラーボーナス、ビッグボーナス)への移行を伴う特別役と、メダルの払い出しを伴う小役と、賭け数の設定を必要とせずに次のゲームを開始可能となる再遊技役とがある。
レギュラーボーナスは、通常の遊技状態においていずれかの入賞ラインに「BAR−BAR−BAR」の組み合わせが揃ったときに入賞となる。レギュラーボーナス入賞すると、遊技状態が通常の遊技状態からレギュラーボーナスに移行する。レギュラーボーナスは、12ゲームを消化したとき、または8ゲーム入賞(役の種類は、いずれでも可)したときのいずれか早いほうで終了する。遊技状態がレギュラーボーナスにある間は、レギュラーボーナス中フラグがRAM112に設定される(次に説明するビッグボーナス中に提供された場合を含む)。
ビッグボーナス(1)は、通常の遊技状態においていずれかの入賞ラインに「赤7−赤7−赤7」の組み合わせが揃ったときに入賞となる。ビッグボーナス(2)は、通常の遊技状態においていずれかの入賞ラインに「白7−白7−白7」の組み合わせが揃ったときに入賞となる。ビッグボーナス(1)またはビッグボーナス(2)入賞すると、遊技状態がビッグボーナスに移行する。
ビッグボーナスにおいては、上記したレギュラーボーナスが終了まで繰り返して提供される。遊技状態がビッグボーナスにある間は、ビッグボーナス中フラグがRAM112に設定される。ビッグボーナスは、遊技者に払い出したメダルの枚数が465枚を越えたときに終了する。ここでは、1ゲーム当たりの最大払出枚数が15枚なので、ビッグボーナスにおける払出メダル枚数の上限は、480枚となる。
後述する内部抽選においてレギュラーボーナス、ビッグボーナス(1)またはビッグボーナス(2)に当選していても、リール3L、3C、3Rの全てについて「赤7」、「白7」、「BAR」が5コマ以内の間隔で配置されている訳ではないので、停止ボタン12L、12C、12Rの操作手順によってはこれらの役に入賞しない場合がある。
スイカは、いずれの遊技状態においてもいずれかの入賞ラインに「スイカ−スイカ−スイカ」の組み合わせが揃ったときに入賞となり、5枚のメダルが払い出される。ベルは、いずれの遊技状態においてもいずれかの入賞ラインに「ベル−ベル−ベル」の組み合わせが揃ったときに入賞となり、10枚のメダルが払い出される。チェリーは、いずれの遊技状態においても左のリール3Lについていずれかの入賞ラインに「チェリー」の図柄が導出されたときに入賞となり、1入賞ラインにつき2枚のメダルが払い出される。左のリール3Lの上段または下段に「チェリー」が停止したときには、2つの入賞ラインでの導出となるので合計4枚のメダルが払い出される。
リプレイは、通常の遊技状態においていずれかの入賞ラインに「JAC−JAC−JAC」の組み合わせが揃ったときに入賞となる。リプレイ入賞したときには、メダルの払い出しはないが次のゲームを改めて賭け数を設定することなく開始できるので、次のゲームで設定不要となった賭け数3に対応した3枚のメダルが払い出されるのと実質的には同じこととなる。リール3L、3C、3Rの全てについて「JAC」が5コマ以内の間隔で配置されているので、リプレイに当選している場合には、停止ボタン12L、12C、12Rの操作手順に関わらずにリプレイ入賞する。
なお、後述するようにレギュラーボーナス、ビッグボーナス(1)またはビッグボーナス(2)の当選が持ち越されている状態で小役(スイカ、ベル、チェリー)やリプレイに当選する場合がある。リプレイは、レギュラーボーナス、ビッグボーナス(1)またはビッグボーナス(2)に優先して導出されるので、取りこぼしは全く生じないが、小役よりもレギュラーボーナス、ビッグボーナス(1)またはビッグボーナス(2)の導出が優先されることとなる。
以下、内部抽選について説明する。内部抽選は、上記した各役への入賞を許容するかどうかを、可変表示装置2の表示結果が導出表示される以前に(実際には、スタートレバー11の操作時)、決定するものである。内部抽選では、乱数発生回路115から内部抽選用の乱数(0〜65535の整数)が取得される。そして、遊技状態に応じて定められた各役について、取得した内部抽選用の乱数と、遊技者が設定した賭け数と、設定スイッチ91により設定された設定値に応じて定められた各役の判定値数に応じて行われる。内部抽選における当選は、排他的なものである。
内部抽選では、各役について遊技状態及び設定値毎に登録されている判定値数を、内部抽選用の乱数に順次加算し、加算の結果がオーバーフローしたときに、その対象となっている役に当選したものと判定される。当選と判定されると、当該役の当選フラグがRAM112に設定される。判定値数は、ROM113に遊技状態別当選役テーブルに登録されており、遊技状態に応じて抽選対象となる役の判定値数が順に読み出され、内部抽選用の乱数に加算されていく。判定値数は、設定値の違いに応じて微妙に異なる値が登録されている。
次に、リール3L、3C、3Rの停止制御について説明する。可変表示装置2を構成するリール3L、3C、3Rは、スタートレバー11が操作され、且つ前回のゲームにおけるリール3L、3C、3Rの回転開始から所定時間を経過していることを条件に、回転開始される。そして、遊技者によって停止ボタン12L、12C、12Rが操作されると、その操作タイミングからそれぞれに対応するリール3L、3C、3Rが190ミリ秒の最大停止遅延時間の範囲内(4コマの引き込み範囲内)で停止されるものとなる。
リール3L、3C、3Rの回転停止は、190ミリ秒の最大停止遅延時間の範囲内で当選フラグの設定されている役の図柄を入賞ライン上に揃えるように、また、190ミリ秒の最大停止遅延時間の範囲内で当選フラグの設定されていない役の図柄を入賞ライン上に揃えないように制御される。
ここで、レギュラーボーナス当選フラグ、ビッグボーナス(1)当選フラグまたはビッグボーナス(2)当選フラグとリプレイ当選フラグが重複して設定されているときには、リプレイの図柄を優先して入賞ライン上に揃えるように制御される。停止ボタン12L、12C、12Rの操作手順に関わらずに、リプレイに入賞するので、この場合においてレギュラーボーナス、ビッグボーナス(1)またはビッグボーナス(2)に入賞することはない。
レギュラーボーナス当選フラグ、ビッグボーナス(1)当選フラグまたはビッグボーナス(2)当選フラグとスイカ当選フラグまたはベル当選フラグが重複して設定されている場合には、レギュラーボーナス、ビッグボーナス(1)またはビッグボーナス(2)の図柄を優先して入賞ライン上に揃えるように制御される。停止ボタン12L、12C、12Rの操作手順によりレギュラーボーナス、ビッグボーナス(1)またはビッグボーナス(2)の図柄をいずれの入賞ライン上にも揃えることができない場合であって、「スイカ」または「ベル」を入賞ライン上に揃えられる場合には、「スイカ」または「ベル」を入賞ライン上に揃えて、スイカまたはベルに入賞させることができる。
レギュラーボーナス当選フラグ、ビッグボーナス(1)当選フラグまたはビッグボーナス(2)当選フラグとチェリー当選フラグが重複して設定されている場合には、レギュラーボーナス、ビッグボーナス(1)当選フラグまたはビッグボーナス(2)当選フラグの図柄を優先して入賞ライン上に揃えるように制御される。停止ボタン12L、12C、12Rの操作手順によりレギュラーボーナス、ビッグボーナス(1)当選フラグまたはビッグボーナス(2)当選フラグの図柄をいずれの入賞ライン上にも揃えることができない場合であって、左のリール3Lの上段または下段に「チェリー」を導出できる場合には、「チェリー」を上段または下段に導出させて、チェリーに入賞させる。
なお、上記のリール3L、3C、3Rの停止制御は、遊技状態及び当選フラグの設定状況(及び既に停止しているリールに導出された図柄)に応じて未だ停止していないリールの停止操作位置と停止位置との関係を定めた停止制御テーブルを未停止のリールについて予め作成し、停止ボタン12L、12C、12Rがそれぞれ操作されたときに、予め作成された停止制御テーブルを参照して、対応するリールの回転を停止させるものとしている。なお、停止制御テーブルでは、停止操作位置に対して停止位置が一意に定められている。
遊技制御基板101の側においては、上記のように内部抽選が行われ、その結果と停止ボタン12L、12C、12Rの操作タイミングとに従ってリール3L、3C、3Rの回転が停止し、入賞が発生するものとなる。入賞の発生により、配当としてメダルの払い出しや遊技状態の移行が与えられるが、このように遊技制御基板101の側における遊技の進行状況に応じて、演出制御基板102の側で独自の演出が行われる。このような演出を行うためには、演出制御基板102のCPU121は、遊技制御基板101の側における遊技の進行状況を認識できなければならないが、このような遊技の進行状況に関する情報は、全てコマンドとして遊技制御基板101から演出制御基板102に送信される。
遊技制御基板101から演出制御基板102に送信されるコマンドには、少なくとも電源投入コマンド、初期化コマンド、設定変更開始コマンド、設定変更終了コマンド、精算開始コマンド、精算終了コマンド、エラーコマンド、エラー復帰コマンド、及び遊技状態コマンドが含まれている。遊技制御基板101から演出制御基板102に送信されるコマンドには、これ以外のコマンドも含まれているが、本発明に直接関わるものではないため、詳細な説明を省略している。
電源投入コマンドは、設定キースイッチ92をONせずにスロットマシン1を起動して、電断までの状態に復帰するときに送信されるもので、復帰後に開始するゲームにおける遊技状態とレギュラーボーナス、ビッグボーナス(1)またはビッグボーナス(2)の当選の有無を示す。初期化コマンドは、設定キースイッチ92をONしてスロットマシン1を起動して、設定値の変更前にRAM112をクリアしたときに送信されるものである。
設定変更開始コマンドは、設定キースイッチ92をONしてスロットマシン1を起動してRAM112がクリアされた後、設定スイッチ91の操作により設定値の変更が可能になる期間の開始時に送信される。設定変更終了コマンドは、設定キースイッチ92がOFFされて、設定スイッチ91の操作により設定した新たな設定値が確定されたときに送信される。設定変更終了コマンドは、新たに設定された設定値を示す情報を含むものであってもよい。
精算開始コマンドは、精算ボタン16の操作により未だ開始されていないゲームに対して設定された賭け数(リプレイ入賞に基づくものと除く)またはクレジットの精算が開始されるときに送信される。精算終了コマンドは、精算された賭け数またはクレジットに応じたメダルの払い出しが終了したときに送信される。
エラーコマンドは、スロットマシン1での遊技において各種のエラーが発生したときに送信される。エラーコマンドは、発生したエラーの種類を示す情報を含むものであってもよい。エラー復帰コマンドは、第1リセットスイッチ48または第2リセットスイッチ93の操作により、或いは新たに設定値の変更を行うことで、エラーから復帰したときに送信される。遊技状態コマンドは、次のゲームで適用される遊技状態を示すものであり、1ゲームの終了時に送信される。
演出制御基板102のCPU121は、このように遊技制御基板101のCPU111から送られてくるコマンドに基づいて各種の演出を行うものとしている。このような演出として、遊技状態がビッグボーナスにある間に行われるビッグボーナス中演出と、レギュラーボーナスにある間に行われるレギュラーボーナス中演出とがある。ビッグボーナス中演出とレギュラーボーナス中演出とを合わせてボーナス中演出と呼ぶ。ボーナス中演出は、遊技状態がビッグボーナスまたはレギュラーボーナスに制御されている間に継続して、ボーナス中楽曲を演出音としてスピーカ7L、7U、7Rから継続して出力する演出を含む。
ところで、レギュラーボーナスまたはビッグボーナスに遊技状態が制御されているときにはボーナス中楽曲が再生され、スピーカ7L、7U、7Rから出力されるものとしているが、このような楽曲が出力されている間に必ずしも遊技者が遊技を行っているとは限らない。遊技の行われていないスロットマシン1から大音量で楽曲が再生出力されていると、その付近に設置された他のスロットマシンなどで遊技を行っている遊技者に迷惑がかかってしまうこととなる。
そこで、ボーナス中楽曲が出力されているときに精算ボタン16が操作され、次のゲームのために設定された賭け数(リプレイ入賞による自動設定を除く)またはクレジットが精算されたときには、ボーナス中楽曲の再生が停止される。エラーが発生したときにも、ボーナス中楽曲の再生が停止される。なお、設定値の変更が行われたときには、RAM122のデータが初期化されることによってボーナス中楽曲の再生が初期化されるものとなる。
また、各種のエラーが発生したときには、エラーから復帰するまで警報音としてエラー音が継続して再生される。また、設定値の変更が行われると、設定値の変更開始からその後の最初のゲームを消化するまで警報音として設定変更音が継続して再生される。さらに、賭け数またはクレジットの精算の開始から終了まで警報音として精算音が継続して再生される。もっとも、精算音は、最低でも一定時間の間は継続して再生されるものとなっており、精算により払い出されるメダルの数が少なく精算に要する時間が短かったときには、精算が終了していても精算の開始から一定時間を経過するまでは再生が停止されない。これらの警報音は、必ず最大レベルで再生され、スピーカ7L、7R、7Uから出力されるものとなっている。
なお、演出制御基板102のRAM122には、遊技制御基板101から受信した遊技状態コマンドが示す遊技状態を保存するための領域も設けられている。ビッグボーナスまたはレギュラーボーナスの開始及び終了については、最新の遊技状態コマンドが示す遊技状態を参照するだけでは判断できず、その前のゲームにおいて受信した遊技状態コマンドが示す遊技状態も参照しなければ判断できないため、遊技状態を保存するための領域は、2ゲーム分設けられている。
また、設定変更音は、設定値の変更操作が行われている間(すなわち、設定変更開始コマンドの受信から設定変更終了コマンドの受信までの間)だけではなく、設定値が変更された後の最初のゲームが終了するまで継続して出力されるため、設定値が変更された後の最初のゲームが終了していないことを示す設定変更後フラグを設定するための領域がRAM122に設けられている。
さらに、精算音の再生/出力は、メダルの精算を開始したとき(すなわち、精算開始コマンドを受信したとき)に開始し、メダルの精算を終了したとき(すなわち、精算終了コマンドを受信したとき)に終了することがあるが、精算の開始から所定時間を経過していなければ、メダルの精算を終了しても所定時間を経過するまでは継続される。このため、メダルの精算を開始したときからの経過時間を計時するための精算タイマがRAM122の所定の領域を利用して設けられるものとなる。
以下、この実施の形態にかかるスロットマシン1における遊技動作について説明する。ここでは、まず、スロットマシン1を起動したときに実行される特別な処理について説明し、その後、スロットマシン1において各ゲームが繰り返して行われるときの処理について説明する。なお、以下の説明において“ゲーム”といった場合には、狭義には、スタートレバー11の操作からリール3L、3C、3Rを停止するまでをいうものとする。もっとも、ゲームを行う際には、スタートレバー11の操作前の賭け数の設定や、リール3L、3C、3Rの停止後にメダルの払い出しや遊技状態の移行も行われるので、これらの付随的な処理も広義には“ゲーム”に含まれるものとする。なお、以下の説明では、本発明に関わらない処理の説明が省略されている場合がある。
図16は、遊技制御基板101内の制御部110がリセット回路118からリセット信号が入力されたときに実行する起動処理を示すフローチャートである。リセット信号は、電源投入時及び遊技制御部110の動作が停滞した場合に出力される信号であるので、起動処理は、電源投入に伴うCPU111の起動時及びCPU111の不具合に伴う再起動時に行われる処理である。
起動処理では、まず、内蔵デバイスや周辺IC、割込モード、スタックポインタ等を初期化した後(ステップS101)、入力ポートから電圧低下信号の検出データを取得し、電圧低下信号が入力されているか否か、すなわち電圧が安定しているか否かを判定し(ステップS102)、電圧低下信号が入力されている場合には、電圧低下信号が入力されているか否かの判定以外は、いずれの処理も行わないループ処理に移行する。
ステップS102において電圧低下信号が入力されていないと判定した場合には、Iレジスタ及びIYレジスタの値を初期化する(ステップS103)。Iレジスタ及びIYレジスタの初期化により、Iレジスタには、割込発生時に参照する割込テーブルのアドレスが設定され、IYレジスタには、RAM112の格納領域を参照する際の基準アドレスが設定される。これらの値は、固定値であり、起動時には常に初期化されることとなる。
次いで、RAM112へのアクセスを許可し(ステップS104)、設定キースイッチ92がONの状態か否かを判定する(ステップS105)。ステップS105において設定キースイッチ92がONの状態でなければ、RAM112の全ての格納領域(未使用領域及び未使用スタック領域を含む)のRAMパリティを計算し(ステップS106)、RAMパリティが0か否かを判定する(ステップS107)。正常に電断割込処理(メイン)が行われていれば、RAMパリティが0になるはずであり、ステップS107においてRAMパリティが0でなければ、RAM112に格納されているデータが正常ではないので、RAM異常を示すエラーコードをレジスタに設定し(ステップS109)、RAM異常エラー処理に移行する。
また、ステップS108においてRAMパリティが0であれば、更に破壊診断用データが正常か否かを判定する(ステップS108)。正常に電断割込処理(メイン)が行われていれば、破壊診断用データが設定されているはずであり、ステップS108において破壊診断用データが正常でない場合にも、RAM112のデータが正常ではないので、RAM異常を示すエラーコードをレジスタに設定する(ステップS109)。また、エラーコマンドを生成して、演出制御基板102に送信する(ステップS110)。そして、RAM異常エラー処理に移行する。
なお、RAM異常エラー以外によるエラー処理であれば、第1リセットスイッチ48または第2リセットスイッチ93が操作されることで、エラー状態を解除してもとの処理に復帰するが、RAM異常エラーによるエラー処理であれば、設定スイッチ91またはリセットスイッチ23が操作されてもエラー状態が解除されることはなく、設定キースイッチ92をON状態として改めてスロットマシン1を起動し、後述する設定変更処理を経なければならない。
ステップS108において破壊診断用データが正常であると判定した場合には、RAM112のデータは正常であるので、RAM112の非保存ワーク、未使用領域及び未使用スタック領域を初期化する初期化3を行った後(ステップS111)、破壊診断用データをクリアする(ステップS112)。次いで、電断前の状態でいずれかの特別役(レギュラーボーナス、ビッグボーナス(1)またはビッグボーナス(2))が当選しているか否かを判定する(ステップS113)。 電断前の状態でいずれかの特別役が当選している場合には、電断前の状態における遊技状態を示すとともに特別役の当選を示す電源投入コマンドを生成して演出制御基板102に送信する(ステップS114)。そして、ステップS116の処理に進む。電断前の状態でいずれの特別役も当選していない場合には、電断前の状態における遊技状態を示すとともに特別役の非当選を示す電源投入コマンドを生成して演出制御基板102に送信する(ステップS115)。そして、ステップS116の処理に進む。
ステップS116では、各レジスタを電断前の状態、すなわちスタックに保存されている状態に復帰する。その後、割込を許可して(ステップS117)、電断前の最後に実行していた処理に戻る。
また、ステップS105において設定キースイッチ92がONの状態であれば、RAM112の格納領域のうち、使用中スタック領域を除く全ての格納領域を初期化する初期化1を実行した後(ステップS118)、設定値ワークに格納されている値(この時点では0)を1に補正する(ステップS119)。ここで、RAM112が初期化されたので、初期化コマンドを生成して演出制御基板102に送信する(ステップS120)。
次いで、割込を許可した後(ステップS121)、設定変更モードに移行して、詳細を後述する設定変更処理を行う(ステップS122)。ステップS122における設定変更処理の終了後、RAM異常エラーからは、この設定変更処理を経ることで初めて復帰するので、エラー復帰コマンドを生成して演出制御基板102に送信する(ステップS123)。そして、図18に示すゲーム制御処理に移行する。
なお、スロットマシン1で遊技を行っている間においてRAM異常エラー以外の各種のエラーが発生したときも、エラーコマンドが演出制御基板102に送信されるものとなる。もっとも、RAM異常エラー以外の各種エラーは、第1リセットスイッチ48または第2リセットスイッチ93の操作によるだけで復帰できるので、第1リセットスイッチ48または第2リセットスイッチ93が操作されたときにもエラー復帰コマンドが演出制御基板102に送信されるものとなる。
次に、ステップS122の設定変更処理について、詳細に説明する。図17は、CPU111がステップS122で実行する設定変更処理を詳細に示すフローチャートである。設定変更処理では、まず、設定変更開始コマンドを生成して、演出制御基板102に送信する(ステップS201)。次に、RAM112の設定値の格納領域に格納されている設定値を読み出し、RAM112の作業領域に一時保存する(ステップS202)。
次に、読み出した設定値が1〜6の正常範囲にあるかどうかを判定する(ステップS203)。設定値が正常範囲にあれば、ステップS205の処理に進む。設定値が正常範囲になければ(例えば、次のステップS206における設定値の加算で正常範囲を越えて7となった場合に生じる)、読み出した設定値を1に補正して(ステップS204)、ステップS205の処理に進む。
ステップS205では、設定スイッチ91の操作が検出されたかどうかを判定する。設定スイッチ91の操作が検出されると、読み出した設定値を1だけ加算する(ステップS206)。そして、ステップS203の処理に戻り、加算の結果で設定値が7になっていると、ステップS204で設定値が1に補正される。設定スイッチ91の操作が検出されていない場合は、ステートスイッチ41の操作が検出されたかどうかを判定する(ステップS207)。スタートスイッチ41の操作も検出されていなければ、ステップS203の処理に戻り、再び設定スイッチ91及びスタートスイッチ41の操作の検出待ちの状態となる。
ステップS207においてスタートスイッチ41の操作が検出されると、その時点で選択されている変更後の設定値をRAM122の設定値の格納領域に格納して設定値を確定する(ステップS208)。その後、設定キースイッチ92がOFFの状態となるまで待機する(ステップS209)。
ステップS209において設定キースイッチ92がOFFの状態になったと判定されると、設定変更終了コマンドを生成して、演出制御基板102に送信する(ステップS210)。そして、設定変更処理を終了して、図16のフローチャートに復帰する。図16のフローチャートに復帰すると、遊技の進行が可能な状態となってゲーム制御処理に移行する。
図18は、遊技制御基板101のCPU111が1ゲーム毎に行うゲーム制御処理を示すフローチャートである。この処理は、電源を投入し、所定のブート処理を行った後、または設定スイッチ91の操作により設定変更を行った直後にも実行される。1ゲームの処理が開始すると、まず、RAM112の所定の領域をクリアする処理を含む初期処理が行われる(ステップS301)。
次に、1枚BETボタン14またはMAXBETボタン15を操作することにより、或いはメダル投入口13からメダルを投入することにより賭け数を設定し、スタートレバー11を操作することにより当該ゲームの実質的な開始を指示するBET処理を行う(ステップS302)。前のゲームでリプレイ入賞していた場合には、リプレイゲーム中フラグにより前のゲームと同じ賭け数(この実施の形態では3)が自動設定される(この段階でリプレイゲーム中フラグが消去される)。なお、BET処理の詳細については後述する。
BET処理により賭け数が設定され、スタートレバー11が操作されると、内部抽選用の乱数を抽出し、抽出した乱数の値に基づいて遊技状態に応じて定められた各役への入賞を許容するかどうかを決定する抽選処理を行う。抽選処理において当選したと判定した役の当選フラグが、RAM112に設定される(ステップS303)。
抽選処理が終了すると、次にリール回転処理が行われる(ステップS304)。リール回転処理では、前回のゲームでのリール3L、3C、3Rの回転開始から1ゲームタイマが計時する時間が所定時間(例えば、4.1秒)が経過していることを条件に、リールモータ3ML、3MC、3MRを駆動させ、左、中、右の全てのリール3L、3C、3Rを回転開始させる。リール3L、3C、3Rの回転開始から所定の条件(回転速度が一定速度に達した後、リールセンサ3SL、3SC、3SRにより基準位置を検出すること)が成立すると、停止ボタン12L、12C、12Rを操作有効とする。その後、停止ボタン12L、12C、12Rが遊技者によって操作されることにより、当選フラグの設定状況に応じてリールモータ3ML、3MC、3MRを駆動停止させ、リール3L、3C、3Rの回転を停止させる。
リール3L、3C、3Rの駆動がそれぞれ停止すると、その停止時における表示態様において、何れかの入賞ライン上に上記したいずれかの役図柄が導出表示されたかどうかを判定する入賞判定処理が行われる(ステップS305)。この入賞判定処理でいずれかの役に入賞したと判定されると、遊技制御基板101において発生した入賞に応じた各種の処理が行われる。
入賞判定処理が終了すると、払出処理が行われる(ステップS306)。払出処理では、入賞判定処理において設定した払い出し予定数だけクレジットを増加させる。但し、データとして蓄積されているクレジットの数が50に達した場合は、ホッパーモータ82を駆動させることにより、超過した枚数のメダルをメダル払い出し口71から払い出させる。また、入賞に関わらない各種の処理(例えば、ビッグボーナスの終了制御に関する処理や、持ち越しのない当選フラグの消去など)も行われる。払出処理の最後、すなわち1ゲームの最後で次のゲームの遊技状態を示す遊技状態コマンドが演出制御基板102に送られる。そして、1ゲーム分の処理が終了し、次の1ゲーム分の処理が開始する。
次に、上記したステップS302のBET処理について詳しく説明する。図19、図20は、CPU111がステップS302で実行するBET処理を詳細に示すフローチャートである。BET処理では、まず、RAM112において賭数の値が格納されるBETカウンタの値をクリアし(ステップS401)、1ゲームを開始させるための賭け数の規定数(3)をRAM112に設定し(ステップS402)、待機用カウンタの初期化、つまり、待機用カウンタのカウンタ値に30秒をセット(カウンタ値のリセット)する(ステップS403)。次に、RAM112にリプレイゲームである旨を示すリプレイゲーム中フラグが設定されているか否かに基づいて当該ゲームがリプレイゲームであるか否かを判定する(ステップS404)。
ステップS404において当該ゲームがリプレイゲームであると判定された場合には、BETカウンタの値を1加算する(ステップS405)。次に、RAM112に設定された賭数の規定数を参照し、BETカウンタの値が規定数であるか否を判定し(ステップS406)、BETカウンタの値が規定数でなければステップS405の処理に戻り、BETカウンタの値が規定数であれば、メダルの投入不可を示す投入不可フラグをRAM112に設定して(ステップS407)、ステップS409の処理に進む。
ステップS403において当該ゲームがリプレイゲームでないと判定されれば、投入待ち前の設定を行い(ステップS408)、ステップS409の処理に進む。投入待ち前の設定では、RAM112に設定されている投入不可フラグをクリアし、1枚BETスイッチ45、MAXBETスイッチ46、スタートスイッチ41、精算スイッチ47による1枚BETボタン14、MAXBETボタン15、スタートレバー11、精算ボタン16の操作の検出を有効化する。
ステップS409においては、待機用カウンタのカウンタ値が0であるか否か、すなわち、計時を開始してから30秒が経過したか否かを判定し(ステップS409)、カウンタ値が0である場合には、待機フラグの設定、待機コマンドの送信、各種LEDの消灯処理等を含む待機状態の設定を行った後(ステップS410)、ステップS411の処理に進む。
ステップS411においては、RAM112に投入不可フラグが設定されているか否かに基づいてメダルの投入が可能な状態か否かを判定する。ステップS411においてメダルの投入が可能な状態であると判定された場合には、流路切り替えソレノイド49をonの状態とし、メダルの流路をホッパー80側の経路としてメダルの投入が可能な状態とし(ステップS412)、ステップS414の処理に進み、メダルの投入が可能な状態でないと判定された場合には、流路切り替えソレノイド49をoffの状態とし、メダルの流路をメダル払出口側の経路として新たなメダルの投入を禁止し(ステップS413)、ステップS414の処理に進む。
ステップS414においては、投入メダルセンサ44により投入メダルの通過が検出されたか否かを判定する。ステップS414において投入メダルの通過が検出されていなければ、ステップS424の処理に進み、投入メダルの通過が検出されていれば、RAM112に投入不可フラグが設定されているか否かに基づいてメダルの投入が可能な状態か否かを判定し(ステップS415)、メダルの投入が可能な状態でなければステップS424の処理に進む。
ステップS415においてメダルの投入が可能な状態であれば、待機フラグの設定の有無に基づき、待機状態であるか否かを判定し(ステップS416)、待機状態であると判定した場合には、待機フラグのクリアを行った後(ステップS417)、待機用カウンタの初期化、つまり、待機用カウンタのカウンタ値に30秒をセット(カウンタ値のリセット)して再度計時を開始し(ステップS418)、ステップS419の処理に進む。
ステップS419においては、RAM112に設定された賭数の規定数を参照し、BETカウンタの値が規定数であるか否を判定し(ステップS419)、BETカウンタの値が規定数でなければ、BETカウンタの値を1加算する(ステップS420)。そして、ステップS409の処理に戻る。
ステップS419においてBETカウンタの値が規定数であれば、RAM112においてクレジットの値が格納されるクレジットカウンタの値を1加算する(ステップS421)。次に、クレジットカウンタの値が上限値である50であるか否かを判定し(ステップS422)、クレジットカウンタの値が50でなければ、ステップS409の処理に戻り、クレジットカウンタの値が50であれば投入不可フラグをRAM112に設定し(ステップS423)、ステップS409の処理に戻る。
ステップS424では、スタートレバー11の操作が検出されているか否かを判定する。ステップS424においてスタートレバー11の操作が検出されていなければステップS428の処理に進み、スタートレバー11の操作が検出されていれば、RAM112に設定された賭数の規定数を参照し、BETカウンタの値が規定数であるか否かを判定する(ステップS425)。
ステップS425においてBETカウンタの値が規定数でなければ、ステップS409の処理に戻り、BETカウンタの値が規定数であれば、投入不可フラグをRAM112に設定するとともに、流路切り替えソレノイド49をoffの状態とし、メダルの流路をメダル払出口側の経路として新たなメダルの投入を禁止し(ステップS426)、ゲーム開始時の設定を行う(ステップS427)。ゲーム開始時の設定では、1枚BETスイッチ45、MAXBETスイッチ46、スタートスイッチ41、精算スイッチ47による1枚BETボタン14、MAXBETボタン15、スタートレバー11、精算ボタン16の操作の検出を無効化する。そして、BET処理を終了して、図18のフローチャートに復帰する。
これに伴い、メダルの投入、1枚BETボタン14及びMAXBETボタン15の操作の検出に基づく賭数の設定が禁止されるとともに、精算ボタン16の操作の検出に基づくクレジットの精算が禁止されることとなる。なお、投入不可フラグは、次回ゲームのBET処理までクリアされることはなく、1枚BETボタン14及びMAXBETボタン15の操作の検出も次回ゲームのBET処理までクリアされることはないので、次回ゲームのBET処理まで賭数の設定が禁止されることとなる。また、精算ボタン16の操作の検出は、次回ゲームのBET処理までクリアされることはないので、次回ゲームのBET処理までクレジットの精算及び賭数の設定に用いられたメダルの精算が禁止されることとなる。
ステップS428においては、1枚BETボタン14の操作が検出されているか否かを判定する。ステップS428において1枚BETボタン14の操作が検出されていなければ、ステップS436の処理に進み、1枚BETボタン14の操作が検出されていれば、待機フラグの設定の有無に基づき、待機状態であるか否かを判定し(ステップS429)、待機状態であると判定した場合には、待機フラグをクリアした後(ステップS430)、待機用カウンタの初期化、つまり、待機用カウンタのカウンタ値に30秒をセット(カウンタ値のリセット)して再度計時を開始する(ステップS431)。そして、ステップS432の処理に進む。
ステップS432においては、RAM112に設定された賭数の規定数を参照し、BETカウンタの値が規定数であるか否かを判定する(ステップS432)。ステップS432においてBETカウンタの値が規定数であればステップS409の処理に戻り、BETカウンタの値が規定数でなければ、クレジットカウンタの値が0であるか否かを判定し(ステップS433)、クレジットカウンタの値が0であればステップS409の処理に戻る。ステップS433においてクレジットカウンタの値が0でなければ、クレジットカウンタの値を1減算し(ステップS434)、BETカウンタの値を1加算する(ステップS435)。そして、ステップS409の処理に戻る。
ステップS436においては、MAXBETボタン15の操作が検出されているか否かを判定する。ステップS436においてMAXBETボタン15の操作が検出されていなければ、ステップS444の処理に進み、MAXBETボタン15の操作が検出されていれば、待機フラグの設定の有無に基づき、待機状態であるか否かを判定し(ステップS437)、待機状態であると判定した場合には、待機フラグをクリアした後(ステップS438)、待機用カウンタの初期化、つまり、待機用カウンタのカウンタ値に30秒をセット(カウンタ値のリセット)して再度計時を開始し(ステップS439)、ステップS440の処理に進む。
ステップS440においては、RAM112に設定された賭数の規定数を参照し、BETカウンタの値が規定数であるか否かを判定する(ステップS440)。ステップS440においてBETカウンタの値が規定数であればステップS409の処理に戻り、BETカウンタの値が規定数でなければ、クレジットカウンタの値が0であるか否かを判定し(ステップS441)、クレジットカウンタの値が0であればステップS409の処理に戻る。ステップS441においてクレジットカウンタの値が0でなければ、クレジットカウンタの値を1減算し(ステップS442)、BETカウンタの値を1加算する(ステップS443)。そして、ステップS440の処理に戻る。
ステップS444においては、精算ボタン16の操作が検出されているか否かを判定する。ステップS444において精算ボタン16の操作が検出されていなければ、ステップS409の処理に戻り、精算ボタン16の操作が検出されていれば、RAM112にリプレイゲーム中フラグが設定されているか否かに基づいて当該ゲームがリプレイゲームであるか否かを判定し(ステップS445)、当該ゲームがリプレイゲームであればステップS409の処理に戻る。
ステップS445において当該ゲームがリプレイゲームでなければ、BETカウンタの値が0か否かを判定し(ステップS446)、BETカウンタの値が0であればステップS448の処理に進み、BETカウンタの値が0でなければ、既に設定済み賭数の精算を行う旨を示す賭数精算フラグをRAM112に設定し(ステップS447)、ステップS448の処理に進む。ステップS448においては、ホッパーモータ82を駆動してクレジットカウンタまたはBETカウンタに格納された値分のメダルを払い出す制御、すなわちクレジットとして記憶されているメダルまたは賭数の設定に用いられたメダルを返却する制御が行われる精算処理を行う。そして、ステップS448における精算処理の後、RAM112に設定されている投入不可フラグをクリアして(ステップS449)、ステップS409の処理に戻る。
次に、ステップS448の精算処理について、詳細に説明する。図21は、CPU111が実行する精算処理を詳細に示すフローチャートである。精算処理では、まず、RAM112に賭数精算フラグが設定されているか否かに基づいて賭数の設定に用いられたメダルを精算するか否かを判定する(ステップS501)。
ステップS501において賭数の設定に用いられたメダルの精算でない場合には、クレジットカウンタの値が0か否かを判定し(ステップS502)、クレジットカウンタの値が0であれば、精算処理を終了し、元の処理に復帰する。
ステップS502においてクレジットカウンタの値が0でなければ、つまりクレジットにメダルが記憶されている場合には、まず、精算開始コマンドを生成して、演出制御基板102に送信する(ステップS503)。次に、投入不可フラグをRAM112に設定するとともに、流路切り替えソレノイド49をoffの状態とし、メダルの流路をメダル払出口側の経路としてメダルの投入を禁止し(ステップS504)、1枚分のメダルの払出制御を行うメダル1枚払出処理を行う(ステップS505)。
ステップS505におけるメダル1枚払出処理では、ホッパーモータ82の駆動状態がonでなければ、ホッパーモータ82の駆動状態をonに設定する。そして、払出センサ35の検出状態を監視し、払出センサ35により1枚分のメダルの払出が検出されると、メダルの払出と判定し、次の処理に移行する。また、払出センサ35により一定時間以上メダルが継続して検出された場合には、メダル詰まりと判定し、ホッパーモータ82の駆動状態をoffに設定し、メダル詰まりエラーを示すエラーコードをレジスタに設定し、エラーコマンドを送信した後、所定のエラー処理に移行する。
また、払出センサ35により一定時間以上メダルが検出されない場合には、一旦ホッパーモータ82の駆動状態をoffとし、数回にわたりホッパーモータ82の駆動を再試行しても払出センサ35によりメダルが検出されない場合には、ホッパーエラー(ホッパー内のメダル不足を示すエラー)を示すエラーコードをレジスタに設定し、エラーコマンドを送信した後、所定のエラー処理に移行する。これらメダル詰まりエラーやホッパーエラーによるエラー処理は、リセットスイッチ23やリセット/設定スイッチ38が操作されることで解除され、解除後、再びメダル1枚払出処理の先頭の処理に戻る。
ステップS505におけるメダル1枚払出処理により1枚分のメダルが払い出されると、クレジットカウンタの値を1減算し(ステップS506)、クレジットカウンタの値が0か否かを判定する(ステップS507)。そして、ステップS507においてクレジットカウンタの値が0でない場合には、ステップS505の処理に戻り、クレジットカウンタの値が0であれば、ステップS514の処理に進む。
ステップS501において賭数の設定に用いられたメダルの精算である場合には、まず、精算開始コマンドを生成して、演出制御基板102に送信する(ステップS508)。次に、投入不可フラグをRAM112に設定するとともに、流路切り替えソレノイド49をoffの状態とし、メダルの流路をメダル払出口側の経路としてメダルの投入を禁止し(ステップS509)、ステップS505と同じメダル1枚払出処理を行う(ステップS510)。
ステップS510におけるメダル1枚払出処理により1枚分のメダルが払い出されると、BETカウンタの値を1減算し(ステップS511)、BETカウンタの値が0か否かを判定する(ステップS512)。そして、ステップS512においてBETカウンタの値が0でない場合には、ステップS510の処理に戻り、BETカウンタの値が0であれば、RAM112に設定されている賭数精算フラグをクリアして(ステップS513)、ステップS514の処理に進む。
ステップS514では、精算終了コマンドを生成して、演出制御基板102に送信する。その後、ホッパーモータ82の駆動状態をoffに設定して駆動を停止させた後(ステップS515)、待機フラグの設定、待機コマンドの送信、各種LEDの消灯処理等を含む待機状態の設定を行った後(ステップS516)、精算処理を終了して、BET処理に復帰する。
以上のようなゲームの繰り返しにおいて、遊技制御基板101のCPU111は、通常の遊技状態、レギュラーボーナス、ビッグボーナスの間で遊技状態の移行を行っており、遊技の進行状況に応じてコマンドを演出制御基板102に送信している。これに対して、演出制御基板102のCPU121は、遊技制御基板101から受信したコマンドに基づいて、ボーナス中演出(楽曲の出力を含む)の実行や、各種警報音の出力の処理を行っている。以下、演出制御基板102側の制御により行われる演出の処理について説明する。
図22、図23は、演出制御基板102のCPU121が実行する処理を示すフローチャートである。演出制御基板102側では、遊技制御基板101から送られてくるコマンドを受信したかどうかを判定している(ステップS601)。遊技制御基板101から何れかのコマンドを受信すると、受信したコマンドの種類が何であるかを判定する(ステップS602)。
受信したコマンドの種類がステップS114またはS115で送信された電源投入コマンドであった場合には、該受信した電源投入コマンドが示す遊技状態と、ビッグボーナスまたはレギュラーボーナスの当選状況とを液晶表示器4に表示して、遊技者に分かるように報知する(ステップS603)。そして、ステップS601の処理に戻る。
受信したコマンドの種類がステップS120で送信された初期化コマンドであった場合には、遊技制御基板101のRAM112が初期化されているので、演出制御基板102のRAM122も初期化する(ステップS604)。そして、ステップS601の処理に戻る。
受信したコマンドの種類がステップS201で送信された設定変更開始コマンドであった場合には、ボリューム調整レバー96の調整に関わらずに、電子ボリューム127aのボリューム設定を最大レベルに設定する。そして、サウンド処理部127に設定変更音の再生開始を指示する。サウンド処理部127は、この指示に基づいて設定変更音の再生を開始させ、以後、後述するステップS624で再生が停止されるまで設定変更音を継続して再生する(ステップS605)。そして、ステップS601の処理に戻る。
受信したコマンドの種類がステップS210で送信された設定変更終了コマンドであった場合には、RAM122に設定変更後フラグを設定する(ステップS606)。そして、この時点で既に設定値の変更は終了しているものの、設定変更音の再生を停止せずに継続したまま、ステップS601の処理に戻る。
受信したコマンドの種類がステップS503またはS508で送信された精算開始コマンドであった場合には、RAM122にボーナス中フラグが設定されているかどうかを判定する(ステップS607)。ボーナス中フラグが設定されていれば、ボーナス中楽曲が再生されているので、その再生を停止させて(ステップS608)、ステップS609の処理に進む。ボーナス中フラグが設定されていなければ、そのままステップS609の処理に進む。
ステップS609では、ボリューム調整レバー96の調整に関わらずに、電子ボリューム127aのボリューム設定を最大レベルに設定する。そして、サウンド処理部127に精算音の再生開始を指示する。サウンド処理部127は、この指示に基づいて精算音の再生を開始させ、以後、後述するステップS614またはS635で再生が停止されるまで精算音を継続して再生する。さらに、RAM122に精算中フラグを設定するとともに、精算タイマによる計時を開始させる(ステップS610)。そして、ステップS601の処理に戻る。
受信したコマンドの種類がステップS514で送信された精算終了コマンドであった場合には、ここで賭け数またはクレジットの精算によるメダルの払い出しが終了しているので、RAM122に設定されている精算中フラグを消去する(ステップS611)。そして、ステップS610で計時開始した精算タイマの計時する時間が所定の時間以上となっているかどうかを判定する(ステップS612)。
精算タイマの計時する時間が所定の時間以上となっていれば、精算タイマをリセットし、計時も停止させる(ステップS613)。そして、ステップS609で開始された精算音の再生を停止させる(ステップS614)。さらに、電子ボリューム127aのボリューム設定をボリューム調整レバー96により調整されているレベルに設定する(ステップS615)。そして、ステップS601の処理に戻る。
精算タイマの計時する時間が所定の時間以上となっていなければ、賭け数またはクレジットの精算によるメダルの払い出しが終了していても精算音の再生はそのまま継続するため、何もせずにステップS601の処理に戻る。ここで精算音の再生が継続された場合には、後続するステップS633で精算タイマの計時する時間が所定の時間になったと判定されたときに、精算音の再生が停止されることとなる。
受信したコマンドの種類がステップS110で送信されたエラーコマンド、或いは各種エラーが発生したときに送信されたエラーコマンドであった場合には、RAM122にボーナス中フラグが設定されているかどうかを判定する(ステップS616)。ボーナス中フラグが設定されていれば、ボーナス中楽曲が再生されているので、その再生を停止させて(ステップS617)、ステップS618の処理に進む。ボーナス中フラグが設定されていなければ、そのままステップS618の処理に進む。
ステップS618では、ボリューム調整レバー96の調整に関わらずに、電子ボリューム127aのボリューム設定を最大レベルに設定する。そして、サウンド処理部127にエラー音の再生開始を指示する。サウンド処理部127は、この指示に基づいてエラー音の再生を開始させ、以後、後述するステップS619で再生が停止されるまでエラー音を継続して再生する。設定変更音または精算音の再生中である場合には、これらとエラー音の両方が並行して再生され、スピーカ7L、7R、7Uから出力されるものとなる。そして、ステップS601の処理に戻る。
受信したコマンドの種類がステップS123で送信されたエラー復帰コマンド、或いは各種エラーから復帰したときに送信されたエラー復帰コマンドであった場合には、ステップS617で開始されたエラー音の再生を停止させる(ステップS619)。次に、RAM122に精算中フラグか設定変更後フラグが設定されているかを判定する(ステップS620)。
精算中フラグも設定変更後フラグも設定されていなければ、電子ボリューム127aのボリューム設定をボリューム調整レバー96により調整されているレベルに設定する(ステップS621)。そして、ステップS601の処理に戻る。精算中フラグか設定変更中フラグが設定されていれば、エラー音の再生は停止されても、未だ設定変更音か精算音は継続して再生されているので、電子ボリューム127aの設定を最大レベルとしたままで、ステップS601の処理に戻る。
受信したコマンドの種類がステップS306で1ゲームの最後において送信された遊技状態コマンドであった場合には、RAM122の2ゲーム分の遊技状態の保存領域に保存されていた遊技状態をシフトし(前々回のゲームで受信した遊技状態コマンドが示す遊技状態は、追い出される)、今回のゲームで受信した遊技状態コマンドが示す遊技状態を保存する(ステップS622)。
次に、RAM122に設定変更後フラグが設定されているかどうかを判定する(ステップS623)。設定変更後フラグが設定されていなければ、そのままステップS627の処理に進む。設定変更後フラグが設定されていれば、このときに初めて、ステップS605で開始された設定変更音の再生を停止させる(ステップS624)。また、RAM122に設定されている設定変更後フラグを消去する(ステップS625)。さらに、電子ボリューム127aのボリューム設定をボリューム調整レバー96により調整されているレベルに設定する(ステップS626)。そして、ステップS627の処理に進む。
ステップS627では、RAM122に保存した2回分の遊技状態を参照して、次のゲームからビッグボーナスまたはレギュラーボーナスが開始するかどうかを判定する。次のゲームからビッグボーナスまたはレギュラーボーナスが開始する場合には、サウンド処理部127にボーナス中楽曲の再生開始を指示する。サウンド処理部127は、この指示に基づいてボーナス中の再生を開始させる。また、RAM122にボーナス中フラグを設定する(ステップS628)。そして、ステップS601の処理に戻る。
次のゲームからビッグボーナスまたはレギュラーボーナスが開始するのでない場合には、さらにRAM122に保存した2回分の遊技状態を参照して、今回のゲーム限りでビッグボーナスまたはレギュラーボーナスが終了するかどうかを判定する(ステップS629)。今回のゲーム限りでビッグボーナスまたはレギュラーボーナスが終了するのでない場合には、そのままステップS601の処理に戻る。
今回のゲーム限りでビッグボーナスまたはレギュラーボーナスが終了する場合には、ステップS628で開始されたボーナス中楽曲の再生を停止させる。また、RAM122に設定されているボーナス中フラグを消去する(ステップS630)。そして、ステップS601の処理に戻る。
また、受信したコマンドの種類が他のコマンドであった場合には、それぞれのコマンドの種類に応じた処理を実行する(ステップS631)。ここでの処理については、本発明と関係がないので、詳細な説明を省略する。その後、ステップS601の処理に戻る。
また、ステップS601において何らのコマンドも受信していないと判定された場合には、RAM122に精算中フラグが設定されているかどうかを判定する(ステップS632)。精算中フラグが設定されていない場合には、ステップS610で計時開始した精算タイマの計時する時間が所定の時間以上となっているかどうかを判定する(ステップS633)。
精算中フラグが設定されている場合、或いは設定されていなくても精算タイマの計時する時間が所定の時間以上となっていない場合には、そもそも精算音が再生されていないか、再生されていても精算音の再生を停止することはないので、そのままステップS601の処理に戻る。
精算タイマの計時する時間が所定の時間以上となっていれば、精算タイマをリセットし、計時も停止させる(ステップS634)。そして、ステップS609で開始された精算音の再生を停止させる(ステップS635)。さらに、電子ボリューム127aのボリューム設定をボリューム調整レバー96により調整されているレベルに設定する(ステップS636)。そして、ステップS601の処理に戻る。
なお、設定変更音、精算音またはエラー音の再生を停止した時点において、RAM122にボーナス中フラグが設定されていた場合には、ボーナス中楽曲の再生は、設定変更音、精算音またはエラー音のボーナス中楽曲の再生を開始させるものとしてもよい。すなわち、ステップS606、S621、S626、S636の処理を終了した後に、RAM122にボーナス中フラグが設定されているかどうかを判定し、ボーナス中フラグが設定されている場合には、ボーナス中楽曲の再生を開始させてから、ステップS601の処理に戻るものとしてもよい。
また、外部出力基板105は、上記のように進行される遊技の進行状況に応じて、ビッグボーナス中信号、レギュラーボーナス中信号、リール制御信号、ストップスイッチ信号、メダルIN信号、メダルOUT信号、当選状況信号、及びセキュリティ信号を生成し、ホールの管理コンピュータなどの外部装置に出力している。セキュリティ信号としては、スタートビット及びストップビット、ブランク期間の他に、ドア開放信号、設定値変更信号、投入エラー信号、払い出しエラー信号、他のエラー信号、及び精算中信号を時分割にして出力するものとしている。
以上説明したように、この実施の形態にかかるスロットマシン1では、演出制御基板102に搭載されたサウンド処理部127によりボーナス中信号などの遊技の進行状況に応じた演出音とエラー音、設定変更音、精算音などの警報音とが再生され、スピーカ7L、7R、7Uから出力されるものとなっている。ここで、スピーカ7L、7R、7Uから出力される音声のボリュームのレベルは、最終的には電子ボリューム127aによって設定されるものとなるが、電子ボリューム127aにより設定されるボリュームのレベルは、ボリューム調整レバー96によって調整される。
ここで、ボーナス中楽曲などの演出音を出力する場合には、ボリューム調整レバー96で設定されたレベル通りに電子ボリューム127aのレベルが設定される。このため、例えば、遊技店において複数のスロットマシン1が並べて設置されている場合において、特定のスロットマシン1から出力される演出音の音量のレベルを大きくし、他のスロットマシン1から出力される演出音の音量のレベルを小さくするといったこともできる。このため、遊技店に設置されている複数台のスロットマシン1のうち、特定のスロットマシン1を遊技者にアピールするといったことが容易に行えるものとなる。
また、遊技者の手持ちのメダルは、クレジットという形でスロットマシン1の内部(RAM112)にデータで蓄積させておくことができ、遊技者は、クレジットとして蓄積されたメダルから賭け数を設定して、各回のゲームを行うことができる。クレジットとしてスロットマシン1の内部に蓄積させたメダルは、遊技者が精算ボタン16を操作することで精算して払い出させることができる。また、賭け数として設定されたメダル(リプレイ入賞後の自動設定を除く)であっても、未だゲームが行われていなければ、遊技者が精算ボタン16を操作することで精算して払い出させることができる。このようにクレジットまたは賭け数に応じたメダルを精算して払い出させるときには、警報音として精算音がサウンド処理部127により再生され、スピーカ7L、7R、7Uから出力される。
また、各ゲームの内部抽選における各役の当選確率は、設定値の違いに応じて変化することになる。例えば、設定値が高いほど、ビッグボーナスやレギュラーボーナスの当選確率が高くなるので、入賞が発生しやすくなり、遊技者が多くのメダルを獲得できることとなる。ここで、設定スイッチ91の操作による設定値の変更は、スロットマシン1の前面扉を開き、設定キースイッチ92をON状態として起動することにより可能となるもので前面扉を開放するための鍵を持っている遊技店の店員でなければ、本来行うことができない。この本来は遊技店の店員しか行うことのできない設定値の変更操作が行われている期間では、警報音として設定変更音がサウンド処理部127により再生され、スピーカ7L、7R、7Uから出力される。
また、スロットマシン1における遊技の進行でのエラーの発生は、そのエラーが様々な事象によって発生するものであるため、これを完全に避けることは事実上不可能であるが、スロットマシン1における遊技の進行でエラーが発生してしまうと、そのままでは正常に遊技を行えないため、遊技の進行を停止させるものとなっている。そして、エラーの発生により遊技の進行が停止された状態は、リセット操作または設定値の変更でしか解除できず、前面扉を開放するための鍵を持っている遊技店の店員でなければ、本来行うことができない。このように遊技店の店員しか解除できないエラーが発生しているときには、警報音としてエラー音がサウンド処理部127により再生され、スピーカ7L、7R、7Uから出力される。
前述したとおり、ボーナス中楽曲などの演出音がスピーカ7L、7R、7Uから出力される場合のボリュームのレベルの設定は、ボリューム調整レバー96により調整されたレベル通りとなるが、このような精算音、設定変更音、エラー音などの警報音が出力される場合のボリュームのレベルの設定は、ボリューム調整レバー96により調整されたレベルに関わらずに、最大レベルとなっている。
このため、例えば、遊技店に複数設置されたうちの特定のスロットマシン1を遊技者にアピールするためにボリューム調整レバー96によるボリュームのレベルの設定を小さいレベルに設定した他のスロットマシン1からでも、精算音、設定変更音、エラー音などの警報音は、ボリュームを最大レベルとしてスピーカ7L、7R、7Uから出力されるものであるため、これらの警報音を遊技店の店員が聞き逃しにくいものとなっている。
このように遊技店の店員が精算音を聞き逃しにくいものとなっていることから、遊技店の店員がメダルの精算が行われていることに気づかないというような事態を防ぐことができる。これにより、例えば、正常に遊技が行われているならあまり行われることのないメダルの精算が頻繁に行われるものとなるクレ満ゴトと呼ばれる不正行為が行われているときには、遊技店の店員が容易にこれを察知することができるものとなる。
また、遊技店の店員が設定変更音を聞き逃しにくいものとなっていることから、遊技店の店員が設定値の変更操作が行われていることに気づかないというような事態を防ぐことができる。これにより、例えば、遊技店の店員は誰一人として設定値の変更操作を行っていないのに設定変更音がスピーカ7L、7R、7Uから出力されているスロットマシン1があるといったことで、遊技者が勝手に設定値を変更してしまう設定変更ゴトと呼ばれる不正行為が行われているときには、遊技店の店員が容易にこれを察知することができるものとなる。
また、遊技店の店員がエラー音を聞き逃しにくいものとなっていることから、遊技店の店員が店内に設置された各スロットマシン1でエラーが発生しているということに気づかないというような事態を防ぐことができる。これにより、例えば、遊技店の店員がエラーの発生に気づかないままで長期間放置されてしまうことを防ぐことができ、遊技者にとっては遊技を再開するまでに長期間待たされずに済むというメリットが得られ、また、遊技店にとっても各スロットマシン1の稼働率を低下させずに済むというメリットが得られるものとなる。
また、警報音としての精算音は、精算すべきメダルの払い出しを終了するまでか、メダルの精算が開始してからの経過時間が所定の時間となるまでの、何れか遅い方まで継続して再生され、スピーカ7L、7R、7Uから出力される。つまり、精算すべきメダルの数が少なければメダルの精算のための処理は短期間で終了してしまうが、このような場合でも精算音の再生/出力が短期間で停止されることはなく、所定の期間以上に亘って継続して精算音がスピーカ7L、7R、7Uから継続して出力される。
このため、クレ満ゴトは一般に不正な投入行為でクレジットを満杯(最大数の50)としてから、精算ボタン16で満杯となったクレジット分のメダルを得るということで行われるものであるが、例えば、不正な投入行為によって少しだけクレジットの数を増加させ、少ない枚数のメダルを精算により得るということを繰り返して行うような一般的なクレ満ゴトの対策の裏をかいたような不正行為が行われている場合でも、遊技店の店員が容易にこれを察知することができるものとなる。
また、クレジットまたは賭け数の精算によるメダルの払い出しは、精算により払い出すべきメダルが複数あっても1枚ずつ順に行われるものであるが、精算音の再生/出力は、個別のメダルの払い出しに従って行われるものではなく、精算の開始時に送信される精算開始コマンドと、精算の終了時に送信される精算終了コマンドまたは精算タイマの計時する時間とに従って行われるものとなっている。このように精算時に多数のメダルが払い出される場合でも、遊技制御基板101から演出制御基板102へのコマンドの送信は精算開始コマンドと2回だけで済むため、遊技制御基板101の制御部110及び演出制御基板102の制御部120にかかる処理負荷を小さくすることができる。
ところで、遊技制御基板101のRAM112はバックアップされており、スロットマシン1の電源がOFFされていても記憶内容を保持するものであるが、設定キースイッチ92をON状態とすることなく(すなわち、改めて設定値を設定することなく)スロットマシン1を起動したときには、RAM112に保持されていたデータに基づいて、直前に電源が遮断されたときの状態から遊技が再開されることになっている。この場合において、RAM112に保持されているデータが精算によるメダルの払い出しの途中であることを示していれば、精算によるメダルの払い出しが再開されることとなる。
これに対して、演出制御基板102のRAM122もバックアップされており、スロットマシン1の電源がOFFされていても記憶内容を保持するものであるので、スロットマシン1の起動時において精算によるメダルの払い出しの途中であったならば、演出制御基板102の側の制御は、精算音の再生/出力の途中であったということであり、RAM122にそれを示すデータが記憶されているものとなる。そして、このデータに基づいて精算音の再生/出力を再開させることができるので、例えば、精算によるメダルの払い出しの途中でスロットマシン1の電源をOFFし、精算音が再生/出力されないようにしようとする行為が行われるのを防ぐことができる。
さらに、設定変更音も、設定値の変更操作が終了して設定変更終了コマンドが送信されると再生/出力が停止されてしまうものではなく、その後の最初の1ゲームが終了するまでは継続して再生/出力される。このため、遊技者が短時間で不正に設定値を設定した後に即座に最初のゲームを行ったとしても、設定変更音の再生/出力される時間を一定程度確保することができるので、遊技店の店員が設定変更音を聞き逃してしまうのを防ぐことができ、不正な設定値の変更を容易に察知することができるものとなる。
また、この実施の形態にかかるスロットマシン1では、遊技状態がビッグボーナスまたはレギュラーボーナスにあるときにはボーナス中楽曲が継続して再生される。これらの楽曲は、ゲームとゲームの間においても途切れることなく再生され、スピーカ7L、7R、7Uから出力されるものとなる。
もっとも、このゲーム間において遊技者により精算ボタン16が操作され、次のゲームのために設定された賭け数またはクレジットが精算されたときには、遊技者が遊技を中断したものと考えられ、ボーナス中楽曲の再生が停止される。これにより、遊技が中断されているのにボーナス中楽曲が大音量でスピーカ7L、7R、7Uから出力されて続けて、周囲の遊技者に迷惑をかけてしまうということがなくなる。
また、外部出力基板105は、ビッグボーナス中信号、レギュラーボーナス中信号、リール制御信号、ストップスイッチ信号、メダルIN信号、メダルOUT信号、当選状況信号、及びセキュリティ信号を、ホールの管理コンピュータなどの外部装置に出力するものとなっている。ここで、セキュリティ信号は、ドア開放信号、設定値変更信号、投入エラー信号、払い出しエラー信号、他のエラー信号、及び精算中信号が含まれるが、これらは、時分割で同一の出力端子からシリアルに出力される。このようにセキュリティ信号を複数種類の信号を時分割で出力するものとしたことで、例えば、各種信号の出力のために外部出力基板105に搭載する半導体チップを小型化することができる。
また、セキュリティ信号には、精算中信号が含まれることから、外部装置でこれを監視することによって、仮に遊技店の店員が精算音に気づかなかった場合でも、クレジットまたは賭け数に応じたメダルの精算が行われていることを掌握でき、クレ満ゴトのような不正行為が行われていることを遊技店の店員が容易に察知することができるようになる。さらに、セキュリティ信号には、投入エラー信号と払い出しエラー信号が含まれることから、仮に遊技店の店員がエラー信号に気づかなかった場合でも、これらを外部装置で監視することによって、遊技を行わずに不正にメダルを得ようとする行為(メダル投入口13からの不正なメダル投入行為やホッパー80からメダルを抜くなどの行為)が行われていることも遊技店の店員が容易に察知することができるようになる。
また、セキュリティ信号には、設定値変更信号が含まれることから、外部装置でこれを監視することによって、仮に遊技店の店員が設定変更音に気づかなかった場合でも、設定値の変更が行われていることを掌握することができ、設定変更ゴトのような不正行為が行われていることを遊技店の店員が察知することができるようになる。さらに、セキュリティ信号には、ドア開放信号が含まれることから、前面扉を開放したことで操作可能となる設定スイッチ91を不正に操作しようとするような行為が行われていることも遊技店の店員が容易に察知することができるようになる。
また、外部出力基板105にはバックアップ電源が搭載されており、スロットマシン1の電源がOFFされているときであっても、このバックアップ電源からの電力供給で、扉開放センサ95により前面扉が開放状態にあることを検出し、ドア開放信号を含むセキュリティ信号を外部装置に出力することができるものとなっている。スロットマシン1の電源がOFFされ、遊技が行われていないときであっても、遊技制御基板101の制御部110や演出制御基板102の制御部120を構成する半導体チップを非正規品に交換したり、本来は外部に出力されない内部信号を外部に取り出すための器具をこれらの半導体チップに取り付けたりするといった不正行為が行われていることを遊技店の店員が容易に察知することができるものとなる。
さらに、セキュリティ信号には、投入エラー及び払い出しエラー以外のエラーが発生したことを示す他のエラー信号も含まれている。投入エラー及び払い出しエラー以外のエラーは、直接的にメダルを増加させようとする行為で発生するものではないが、エラーの発生時には何らかの不正が行われている可能性がある。また、エラーが発生したままで報知されていると、遊技者は遊技を行えない。遊技店の店員は、セキュリティ信号に含まれる他のエラー信号を外部装置で監視することで、仮にエラー音に気づかなかったとしても、エラーの発生を掌握することができ、不正行為の発見や早期の遊技の再開を容易なものとすることができる。
また、この実施の形態にかかるスロットマシン1においては、取付側部材510とコネクタカバー520とからなるコネクタ規制部材500を基板ケース200に取り付けることで、当該基板ケース200に収容された遊技制御基板の基板側コネクタ620aとケーブル側コネクタ610aとの抜脱が規制されるとともに、この状態で基板ケース200を取付ベース250に取り付けて固着部材255と封止片232とを固着することで、基板ケース200からのコネクタ規制部材500の取り外しが規制されることになり、基板ケース200の封止片232を破断して基板ケース200と筐体(取付ベース250)との固着を解除しなければ、基板側コネクタ620aからケーブル側コネクタ610aを抜脱できない状態となる。すなわち封止片232の破断という痕跡を残さなければケーブル側コネクタ610aを抜脱することができない状態となり、痕跡を残さずに打ち込み器具などの不正器具を接続することができなくなるため、不正が行われた可能性があることを確実に発見することができるようになる。
また、故障などにより遊技制御基板101を収容した基板ケース200ごと遊技制御基板101を交換する場合には、封止片232を破断して基板ケース200と筐体(取付ベース250)との固着を解除すれば、コネクタ規制部材500を基板ケース200から取り外してケーブル側コネクタ610aを基板側コネクタ620aから抜脱可能となるため、無駄にコネクタ規制部材500を破壊したり、基板ケース200を破壊して開封することなく基板側コネクタ620aからケーブル側コネクタ610aを分離させることができる。
また、コネクタ規制部材500を取付側部材510とコネクタカバー520とから構成し、取付側部材510を基板ケース200に取り付けた後、ケーブル側コネクタ610aを基板側コネクタ620aに接続し、その状態で基板側コネクタ620aの一部を上方から被覆するようにして取付側部材510に取り付けることによって、ケーブル側コネクタ610aの基板側コネクタ620aからの抜脱が不能化されるようになっており、ケーブル側コネクタ610aを基板側コネクタ620aに接続した後、基板側コネクタ620aの周辺に位置する取付側部材510の係止孔部513の係止孔513aにコネクタカバー520の係止筒522を嵌入し、コネクタカバー520を取付側部材510に取り付けるのみで、コネクタカバー520によりケーブル側コネクタ610aの一部が被服され、ケーブル側コネクタ610aの抜き方向への移動が規制されるので、ケーブル側コネクタ610aの基板側コネクタ620aに対する抜脱を規制するにあたり、その組み付け作業を軽減できる。
また、遊技制御基板101が基板ケース200に収容された状態であっても、そのままの状態でケーブル側コネクタ610aを基板側コネクタ620aに接続し、その後コネクタカバー520を取り付けるのみで良く、このような場合には、ケーブル側コネクタ610aの基板側コネクタ620aに対する抜脱を規制するにあたり、その組み付け作業を一層効果的に軽減できる。
また、コネクタカバー510は、ケーブル側コネクタ610aと基板側コネクタ620aとの接続部分全体を被覆するのではなく、ケーブル側コネクタ610aの抜き方向側の一部のみを被覆する構成であるため、ケーブル側コネクタ610aの基板側コネクタ620aに対する抜脱を確実に規制できるばかりでなく、コネクタカバー510の製造に必要な材料が少なく済む。
また、コネクタカバー520が取付側部材510に対して1カ所の係止筒522のみで取り付けられるが、コネクタカバー520の一方の側壁には、取付側部材510の基片510aの表面に当接するリブ521b、521bが形成されており、コネクタカバー520の移動が規制されるため、ケーブル側コネクタ610aの基板側コネクタ620aに対する抜脱を確実に規制することができる。
また、取付側部材510の基片510aから延設される両端部には、内向きの係止部511、511がそれぞれ形成されており、係止部511、511を外方に弾性変形させた状態で、基板ケース200に組み付けて基板ケース200の裏面に形成された係止溝514、514に係合させることで、取付部材510が基板ケース200に取り付けられるようになっているため、コネクタ規制部材500を基板ケース200に取り付けるにあたり、ネジやピンなどの他の部材を用いることなく取り付けることができるので、部品点数を削減できる。
また、コネクタ規制部材500を構成する取付側部材510を基板ケース200に取り付けた際に、取付側部材510の基片510a、上片510c、510cの基板ケース200に対する対向面が上部ケース203における段部203bの上面及び凹部203fの底面にそれぞれ当接するようになっており、コネクタ規制部材500と基板ケース200の表面との問に不正部品などが取り付けられることを効果的に防止することができる。
また、コネクタ規制部材500を構成する取付側部材510及びコネクタカバー520は、ともに透明な合成樹脂材にて構成されているため、基板ケース200内の視認性がコネクタ規制部材500により損なわれることがないので、遊技制御基板101の監視に支障をきたすことがない。また、コネクタ規制部材500と基板ケース200との隙間に不正部品が取り付けられた場合でも容易に発見することが可能となる。
また、遊技制御基板101と投入メダルセンサ44との間のコネクタ接続、すなわち遊技制御基板101の基板側コネクタ620aとケーブル600aのケーブル側コネクタ610aとの接続、ケーブル600aのケーブル側コネクタ611aと操作部中継基板107の基板側コネクタ621aとの接続、操作部中継基板107の基板側コネクタ622gとケーブル601gのケーブル側コネクタ612gとの接続についてこれらコネクタ同士の接続の解除を、コネクタ規制部材500及びコネクタ規制部材650によって規制するようになっている。これにより、遊技制御基板101と投入メダルセンサ44との間のいずれかのコネクタを不正な打ち込み器具等のコネクタに差し替えて接続し、遊技制御基板101の遊技制御部110にゲームの進行に関わる信号を不正に入出力させるといった不正行為を行うことが困難となるため、不正営業の実施等を効果的に防止できる。
また、遊技制御基板101と投入メダルセンサ44との間のコネクタ接続を解除するためには、基板ケース200の封止片232やコネクタカバー520の接続片522a、カバー部材680の接続片684aを破断しなければならず、これにより、遊技制御基板101と投入メダルセンサ44との間のコネクタ接続が1つでも解除されると、その痕跡が残るとともに、その痕跡を消すことはきわめて困難であるため、上記不正行為をより効果的に抑制することができる。
また、遊技制御基板101と投入メダルセンサ44との問に中継基板が1つのみであるが、複数の中継基板を経由する場合には、その間に存在するコネクタ接続全てについて抜脱を規制することが好ましく、このようにすることで遊技制御基板101と投入メダルセンサ44との間のいずれかのコネクタを不正な打ち込み器具等のコネクタに差し替えて接続し、遊技制御基板101の遊技制御部110にゲームの進行に関わる信号を不正に入出力させるといった不正行為を行うことが困難となるため、不正営業の実施等を効果的に防止できる。
また、ゲームの進行に応じて遊技制御基板101に対して信号を入力する第1の電子部品45、46、41、42L、43C、42R、44、3SL、3SC、3SR、81及びゲームの進行に応じて遊技制御基板101から信号が出力される第2の電子部品3ML、3MC、3MR、82のうち、投入メダルセンサ44と遊技制御基板101との間のコネクタ接続のみコネクタ規制部材を設けてコネクタ同士の接続の解除を規制している。すなわちその信号がなければ遊技を進行させることができない投入メダルセンサ44(投入メダルセンサ44からの信号が入力されなければ賭数を設定できずゲームを開始することが不可能となる)と遊技制御基板101との間のコネクタ接続のみコネクタ規制部材を設けてコネクタ同士の接続の解除を規制しており、他の電子部品と遊技制御基板101との問でコネクタ同士の接続を解除して打ち込み器具のコネクタに差し替えた場合でも、実質的に遊技を自動的にゲームを進行させることができなくなるため、最小限の規制で不正行為を防止することが可能となり、これらコネクタ同士の接続を解除するための部品点数を減らすことができる。
また、遊技制御部110とゲームの進行上必要な信号の入出力が行われる複数の電子部品とを接続する複数の信号線が、遊技制御基板101と操作部中継基板107との問では1本のケーブル600aで接続されているため、遊技制御基板101の基板側コネクタ610aとケーブル側コネクタ620aとのコネクタ接続、すなわち1カ所のコネクタ接続のみ接続の解除を規制することで、複数の信号線同士の接続の解除を規制することが可能となり、これらコネクタ接続の解除を規制するための部品を複数用意する必要がなく、これらの部品点数を削減できる。
遊技制御部110とゲームの進行上必要な信号の入出力が行われる複数の電子部品とを接続する複数の信号線が、複数のケーブルを介して接続される場合でも、基板側コネクタを近接する位置に配置するとともに、1つの部品でこれら複数の基板側コネクタと複数のケーブル側コネクタとの接続の解除を規制することで、これらコネクタ接続の解除を規制するための部品を複数用意する必要がなく、これらの部品点数を削減できる。
また、遊技制御基板101と操作部中継基板107とを接続するケーブル600aのケーブル側コネクタ611aと操作部中継基板107の基板側コネクタ621aとの接続の解除、操作部中継基板107と投入メダルセンサ44とを接続するケーブル601gのケーブル側コネクタ612gと操作部中継基板107の基板側コネクタ622gとの接続の解除が、1つのコネクタ規制部材650によって、同時に規制されるので、これら複数のコネクタ接続の解除を規制するための部品を複数用意する必要がなく、これらの部品点数を削減できる。
また、遊技制御部110のバックアップ電源が、遊技制御基板101からケーブル600a−操作部中継基板107−ケーブル601g−投入メダルセンサ44−ケーブル601g−操作部中継基板107−ケーブル600aを経由した後、遊技制御部110に供給されるようになっており、スロットマシン1に対する電力供給が遮断されている状態で、遊技制御基板101の基板側コネクタ620aとケーブル600aのケーブル側コネクタ610aとの接続、ケーブル600aのケーブル側コネクタ611aと操作部中継基板107の基板側コネクタ621aとの接続、操作部中継基板107の基板側コネクタ622gとケーブル601gのケーブル側コネクタ612gとの接続、のいずれかの接続を解除することで、バックアップ電源の供給ラインが切断され、遊技制御部110のRAM112のデータを保持できず、消失することとなる。すなわち遊技制御基板101と投入メダルセンサ44との間のコネクタ同士の接続が1カ所でも解除されると、遊技制御部110のRAM112に保持されているバックアップデータが消失するようになっている。
一方、打ち込み器具などの不正器具を接続するには、コネクタの抜き差しが必要となるが、打ち込み器具を使用し、不正に特別役の当選や遊技状態を設定しても、正規のコネクタと交換するためにコネクタの接続を解除することでRAM112のデータが初期化されてしまうので、打ち込み器具を使用して特別役が当選した状態や遊技者に有利な遊技状態に設定したスロットマシン1を、遊技店の営業開始時等において遊技客に提供するといった不正営業を防止することができる。
また、遊技制御部110の起動時に電断前の状態に復帰した場合には、CPU111が特別役の当選状況と遊技状態を示す電源投入コマンドを送信し、電源投入コマンドを演出制御部120が受信すると、特別役の当選状況及び遊技状態が液晶表示器4に表示されて報知される。
ここで、打ち込み器具などの不正器具を接続するには、一度電源を切る必要がある(電源を切らずにコネクタを外すと故障の原因となる)が、上記の構成により、無理矢理コネクタの接続を解除して打ち込み器具を使用し、不正に特別役の当選や遊技者に有利な遊技状態を設定しても、遊技制御部110を再起動させた際に、特別役に当選していることや有利な遊技状態に制御されていることが外部から容易に判別できてしまうので、打ち込み器具を使用して特別役が当選した状態や遊技者に有利な遊技状態に設定したスロットマシン1を、遊技店の営業開始時等において遊技客に提供するといった不正営業を効果的に抑止することができる。
本発明は、上記の実施の形態に限られず、種々の変形、応用が可能である。以下、本発明に適用可能な上記の実施の形態の変形態様について説明する。
上記の実施の形態では、取付側部材510の係止部511、511を外方に弾性変形させた状態で、基板ケース200の裏面に形成された係止溝514、514に係合させることで、取付部材510が基板ケース200に取り付けられるとともに、取付側部材510が取り付けられた基板ケース200が取付ベース250(筐体)に対して取り外し不能に固定されると、取付側部材510の側片510d、510dが取付ベース250の側壁250b、250cの内面に当接し、狭持されて取付側部材510の両側片510d、510dの外方への変形が規制されるため、取付側部材510を基板ケース200から取り外すことが不可能となる構成となっていた。
これに対して、例えば、取付側部材の一部を基板ケース200の裏面でネジや取り外し可能な係止ピンで固定するとともに、基板ケース200を筐体(取付ベース)に取り外し不能に取り付けた際に、これらネジや係止ピンが隠蔽される構造とし、基板ケース200を筐体に対して取り付けることで、取付側部材の基板ケース200からの取り外しが規制される構成としてもよい。また、これ以外にも、取付側部材を基板ケース200に取り付けた状態で、基板ケース200を筐体に対して固着した後、取付側部材が基板ケース200から取り外せなくなる構成であれば、どのような構成を採っても良い。
上記の実施の形態では、コネクタカバー520は、取付側部材510に対して1カ所の係止筒522のみで取り付けられていた。この構成は、コネクタカバー520及び取付側部材510の構造を簡素化できるという点では好ましい。これに対して、コネクタカバー520に係止筒522を複数箇所設けるとともに、取付側部材510にもそれぞれ対応する箇所に係止孔513aを設け、コネクタカバー520を複数箇所で取付側部材510に対して取り付けるようにしてもよい。このようにすることで、ケーブル側コネクタ610aの基板側コネクタ620aに対する抜脱をより強固に規制することができる。さらに、この場合には、ケーブル側コネクタ610aと基板側コネクタ620aとの接続部分を跨ぐ複数箇所でコネクタカバー520を複数箇所で取付側部材510に対して取り付けることが好ましく、このようにすれば、ケーブル側コネクタ610aの基板側コネクタ620aに対する抜脱を更に強固に規制することができる。
上記の実施の形態では、投入メダルセンサ44と遊技制御基板101との間のコネクタ接続のみコネクタ規制部材を設けてコネクタ同士の接続の解除を規制していた。これに対して、スタートスイッチ41と遊技制御基板101との間のコネクタ接続のみコネクタ規制部材を設けてコネクタ同士の接続の解除を規制するようにしてもよい。また、リールの回転開始後、リールの停止操作がなされるまでリールが停止する構成でないものであれば、ストップスイッチ42L、42C、42Rのいずれかと遊技制御基板101との間のコネクタ接続のみコネクタ規制部材を設けてコネクタ同士の接続の解除を規制するようにしてもよい。これらの場合も、上記した実施の形態と同様の効果が得られる。
上記の実施の形態では、バックアップ電源が、遊技制御基板101から投入メダルセンサ44を経由して再度遊技制御基板101に戻り、遊技制御部110に対して供給されることで、この間のコネクタ接続が解除された場合にRAM112のデータが消失するようになっていた。これに対して、ゲームの進行上必ず必要な信号の入出力がなされる電子部品(例えば、スタートスイッチ41や、リールの回転開始後、リールの停止操作がなされるまでリールが停止する構成でないものにおけるストップスイッチ42L、42C、42Rなど)を経由するものであっても、上記の実施の形態と同様の効果が得られる。
また、バックアップ電源を蓄積するコンデンサや電池などを、ゲームの進行上必ず必要な信号の入出力がなされる電子部品の取付基板やこれら電子部品の中継基板(操作部中継基板107など)に搭載し、これら取付基板や中継基板に搭載されたコンデンサや電池などからのバックアップ電源の供給ラインが、電子部品の信号線とともにケーブルを介して遊技制御基板に接続され、遊技制御部110に対して供給されるようにしてもよい。この場合でも、これら取付基板や中継基板と遊技制御基板101との間のコネクタ接続が解除された場合にRAM112のデータが消失することとなるため、上記と同様の効果を得られるうえに、遊技制御基板101には取付基板や中継基板に搭載されたコンデンサや電池などからケーブルを介してバックアップ電源が供給されることとなるため、ケーブルを抜いた際に遊技制御部110に対してバックアップ電源を供給し続けるためには、基板問を跨いでバックアップ電源の供給ラインを短絡させる必要があり、バックアップ電源を供給し続けた状態でコネクタ接続を解除することが非常に困難となるため、打ち込み器具の接続を効果的に防止することができる。
また、例えば、停電時においても常に特定の信号を出力する信号出力回路を搭載するとともに、停電時においても常に特定の信号を検出するとともに、特定の信号の検出が途切れた場合には、その旨を記憶する信号監視回路を遊技制御基板101に搭載し、この特定の信号の出力経路が遊技制御基板101からゲームの進行上必ず必要な信号の入出力がなされる電子部品を経由して遊技制御基板101に戻り、信号監視回路に入力される構成とし、遊技制御部110が起動時に、信号監視回路に特定の信号の検出が途切れた旨が記憶されているか否かを確認し、特定の信号の検出が途切れた旨が記憶されている場合に、前述した初期化1を実行し、RAM112に記憶されているデータをクリアするようにしてもよい。このようにした場合でも、打ち込み器具を使用して特別役が当選した状態に設定したスロットマシン1を、遊技店の営業開始時等において遊技客に提供するといった不正営業を防止することができる。
上記の実施の形態では、遊技制御部110の起動時に電断前の状態に復帰した場合には、CPU111が電源投入コマンドを送信し、電源投入コマンドを演出制御部120が受信することで、特別役の当選状況及び遊技状態が液晶表示器4にて報知されるようになっていた。これに対して、遊技制御部110の起動時に電断前の状態に復帰した場合に、遊技制御部110が直接制御するクレジット表示器11、遊技補助表示器12、ペイアウト表示器13にて特別役の当選の有無や遊技状態報知するようにしても、上記の実施の形態と同様の効果が得られる。また、遊技制御部110が直接制御する電子部品として特別役の当選や遊技状態を報知する告知LEDを設け、遊技制御部110の起動時に電断前の状態に復帰した場合に、告知LEDを用いて特別役の当選状況や遊技状態を報知するようにしても良い。
上記の実施の形態では、遊技の進行状況に応じた演出としてスピーカ7L、7R、7Uから出力される音声は、ボーナス中楽曲だけとしていたが、これに限るものではなく、遊技の進行状況が所定の状況にある複数ゲームの間だけ継続して、楽曲などの所定の音声を再生して、スピーカ7L、7R、7Uから出力させるものとすることができる。例えば、内部抽選においてビッグボーナスまたはレギュラーボーナスとチェリーに重複して当選する場合と、チェリーに単独で当選する場合とがあるものとしたときには、チェリーの入賞後に所定ゲーム数(例えば、3ゲーム)を消化するまで継続して連続演出楽曲を再生して、スピーカ7L、7R、7Uから出力させるものとしてもよい。
このような連続演出中楽曲の再生中に精算ボタン16が操作されたとき、或いはエラーが発生したときも、ボーナス中楽曲の場合と同様に連続演出中楽曲の再生を停止させるものとすればよい。なお、この間は、リプレイ当選確率を通常の遊技状態よりも高くするRTに遊技状態を制御するものとして、連続演出楽曲の再生が停止される所定ゲーム数を消化するまでビッグボーナスまたはレギュラーボーナスに入賞しにくくなるようにしてもよい。
上記の実施の形態では、ボーナス中楽曲の再生中に精算ボタン16が操作されたとき、或いはエラーが発生したときに、ボーナス中楽曲の再生を停止していた。もっとも、ボーナス中楽曲のような遊技の進行状況に応じた演出のための音声を再生する再生装置と、エラー音、設定変更音、エラー音などの警報音を再生する再生装置が別系統で設けられている場合には、ボーナス中楽曲の再生中に精算ボタン16が操作されたとき、或いはエラーが発生したときでもボーナス中楽曲の再生を継続するものの、再生されるボーナス中楽曲のレベルを低下させるものとしてもよい。演出のための音声を再生する再生装置がミュート機能を備えるのであれば、ボーナス中楽曲の再生中に精算ボタン16が操作されたとき、或いはエラーが発生したときには、ボーナス中楽曲をミュートするものとしてもよい。これによっても、遊技が中断されているのにボーナス中楽曲が大音量でスピーカ7L、7R、7Uから出力されて続けて、周囲の遊技者に迷惑をかけてしまうということがなくなる。
上記の実施の形態では、設定変更音は、設定値の変更期間の開始(設定キースイッチ92をON状態としてスロットマシン1を起動)してから、設定値の変更後の最初のゲームを終了するまで継続して再生/出力されるものとしていた。しかしながら、設定変更音の再生/出力を継続する期間は、これに限るものではない。設定値の変更操作の終了(設定キースイッチ92をOFF状態)したときに、設定変更音の再生/出力を停止してもよい。
また、設定値の変更操作の終了(設定キースイッチ92をOFF状態)したときに、設定変更音の再生/出力を一旦停止するが、設定値の変更後の最初のゲームが開始されたときに、設定変更音の再生/出力を再開させるものとしてもよい。さらに、設定変更音の再生/出力を終了させるまでの期間も1ゲームの期間に限るものではなく、複数ゲームの期間であってもよい。或いは、ゲーム数によって設定変更音を再生/出力する期間を限るのではなく、時間で限ってもよい。
さらに、エラー音についても、エラーが解除された後も所定期間(1ゲーム以上の所定ゲーム数または所定時間)継続して再生/出力させるものとしてもよい。精算音と同様に設定変更音やエラー音の再生/出力する期間をゲーム数ではなく時間で定めた場合には、これらの警報音の再生/出力される期間を遊技者の操作で短くすることができないので、これらの警報音を該警報音を再生/出力させる事象の終了した後にも継続して再生/出力することの効果を確実に得ることができる。
なお、精算音、設定変更音、エラー音といった警報音を、各々の警報音を再生/出力させる事象の終了した後にも継続して再生/出力させる処理を行うものとしているが、各々の警報音の再生/出力を継続する期間(特に時間)は、当該警報音を再生/出力させる事象の終了したときからの期間で定めるものとしても、当該警報音を再生/出力させる事象の開始したとき(或いは当該事象が現に発生しているときの特定時点(例えば、設定変更音ならば設定スイッチ91が最初に操作されたタイミング、精算音ならば所定数までメダルが払い出されたタイミング))からの期間で定めるものとしてもよい。後者の場合は、警報音を再生/出力させる事象の開始したとき(或いは当該事象が現に発生しているときの特定時点)からの定められた期間を経過するまでか、当該事象が終了するまでかの遅い方まで、警報音を継続して出力させるものとすることができる。
上記の実施の形態では、精算音は、精算によるメダルの払い出しを終了するまでか、精算ボタン16の操作から所定時間を経過するまで継続して再生/出力されるものとしていた。しかしながら、精算音の再生/出力を継続する期間は、これに限るものではなく、例えば、メダルの精算に要した時間の長短に関わらずに、メダルの精算を終了してから所定時間を経過するまで継続して精算音を再生/出力するものとしてもよい。また、メダルの精算が終了してから次のゲームが開始するまで、或いは次のゲームが終了するまで継続して精算音を出力するものとしてもよい。この場合は、時間の経過とともに電子ボリューム127aのボリュームのレベルを暫時低減させるものとしてもよい。
上記の実施の形態では、遊技制御基板101のRAM112はバックアップされており、設定キースイッチ92をON状態とせずにスロットマシン1を起動したときには、RAM112に保持されていたデータに基づいて、電源を遮断する前の状態から遊技を再開するものとしていた。また、メダルの精算中にスロットマシン1の電源が遮断されていた場合であっても、演出制御基板102のRAM122もバックアップされているため、改めてスロットマシン1を起動すると、精算音が再生されてスピーカ7L、7R、7Uから出力されるものとなっていた。
もっとも、遊技制御基板101のRAM112はバックアップされるが、演出制御基板102のRAM122はバックアップされないものとすることもでき、この場合には、起動時において遊技制御基板102のRAM112のデータがメダルの精算途中であることを示していたならば、精算開始コマンドを改めて送信するものとしてもよい。これにより、スロットマシン1の電源をOFFすることで、精算音の出力が途切れさせてしまうことを防ぐことができる。
また、演出制御基板102のRAM122がバックアップされている場合であっても、起動時において遊技制御基板102のRAM112のデータがメダルの精算途中であることを示していたならば、精算開始コマンドを改めて演出制御基板102に送信するものとしてもよい。これにより、電源投入時にメダルの精算が再開されてからメダルの精算を終了するまで、或いは所定時間を経過するまで、精算音を出力させるものとすることができ、精算音の出力が電源のOFFにより一旦途切れてしまっても、その出力の継続する期間が短くならないようにすることができる。
さらに、起動時において遊技制御基板102のRAM122が設定値の変更操作中であることを示していた場合も、設定変更開始コマンドを改めて演出制御基板102に送信するものとしてもよい。これも、演出制御基板102のRAM122がバックアップされていない場合のみならず、バックアップされている場合にも行うことができる。これにより、電源投入時に設定値の変更操作が再開されてから設定値の変更操作が終了した後の最初の1ゲームを消化するまで、設定変更音を出力するものとすることができ、設定変更音の出力が電源のOFFにより一旦途切れてしまっても、その出力の継続する期間が短くならないようにすることができる。
上記の実施の形態では、電子ボリューム127aにより設定されるボリュームのレベルは、設定変更音、精算音またはエラー音以外の音声を再生/出力する場合にはボリューム調整レバー96により設定されたボリュームのレベルとなっていた。また、ボリューム調整レバー96により設定されるボリュームのレベルの範囲と電子ボリューム127aにより設定されるボリュームのレベルの範囲は同じであった。もっとも、電子ボリューム127aは、ボリューム調整レバー96により設定可能な最大レベルよりも高いレベルにボリュームのレベルを設定することができるものであってもよい。この場合、設定変更音、精算音またはエラー音は、ボリューム調整レバー96により設定されているボリュームのレベルが最大レベルのときであっても、電子ボリューム127aのボリュームの設定を該電子ボリューム127aにおいて設定可能な最大レベル(すなわち、ボリューム調整レバー96の最大レベルよりも高いレベル)として、出力されるものとすることができる。
上記の実施の形態では、扉開放センサ95は、前面扉が開放状態にあることを検出するものであり、その検出信号に基づいてセキュリティ信号のうちのドア開放信号が外部出力基板105から出力されるものとなっていた。もっとも、扉開放センサ95は、前面扉を開放するための鍵が解除されていることを検出するものであってもよく、この場合には、実際には前面扉は開放されていなくても当該鍵が解除されていれば、すなわち前面扉が開放可能な状態にあることが扉開放センサ95により検出されれば、セキュリティ信号のうちのドア開放信号を外部出力基板105から出力させるものとすることができる。
上記の実施の形態では、外部出力基板105から出力される信号のうちのセキュリティ信号は、ドア開放信号、設定値変更信号、投入エラー信号、払い出しエラー信号、他のエラー信号、及び精算中信号が時分割で同一の出力端子から出力されるシリアル形式の信号であったが、このような複数種類の信号をシリアル形式で出力するものでなくてもよい。つまり、扉開放センサ95による前面扉の開放、設定値の変更、投入エラー及び払い出しエラーを含む各種エラーの発生、またはメダルの精算のいずれかの事象が生じているときに、どの事象かを区別することなくON状態とされる信号であってもよい。
上記の実施の形態では、3つのリール3L、3C、3Rのうち一部が既に停止されている場合において、各遊技状態のそれぞれについての内部当選状態、停止済みのリールの停止位置に対して一意的に定められた停止制御テーブルを選択し、選択した停止制御テーブルに従ってリールの停止制御が行われるようになっていた。ここで、停止済みのリールの停止位置の代わりに、当該リールを停止させるために停止ボタン12L、12C、12Rが操作されたときの位置(すなわち、当該リールのステップ数)を適用するものとしてもよい。この場合も、上記の実施の形態における停止制御テーブルの選択と同様に、リールを停止させる際の制御が複雑化することがないという効果を得ることができる。
上記の実施の形態では、遊技状態に応じて定められた抽選対象役の判定値数を内部抽選用の乱数に順次加算していき、その加算の結果オーバーフローが生じた時点において抽選対象役として読み出されていた役に当選するものとしていた。これに対して、判定値数を取得した内部抽選用の乱数の値から順次減算して、減算の結果を新たな内部抽選用の乱数の値とするものとしてもよい。判定値数を内部抽選用の乱数の値から減算するときには、減算の結果にオーバーフロー(ここでは、減算結果がマイナスとなること)が生じたかどうかを判定するものとすることができる。また、遊技状態に応じた各役の判定値数に応じて、各役を当選と判定する判定値を定めた当選判定用テーブルをゲーム毎に作成し、取得した内部抽選用の乱数の値を各役の判定値と比較することで、内部抽選を行うものとしてもよい。
上記の実施の形態では、何れの遊技状態においても、賭け数として3を設定することのみによりゲームを開始させることができた。もっとも、ゲームを開始させるために設定できる賭け数は、1〜3の範囲で任意の数を適用することができる。遊技状態毎に設定できる賭け数が異なっていてもよい。ここで、通常の遊技状態で賭け数として1または2が設定されていたときには、賭け数として3が設定されたときよりも内部抽選における小役の当選確率を低下させるともに、小役に入賞したときの払い出しメダル枚数を増加させることができる。
上記の実施の形態では、遊技状態がビッグボーナスにあってRAM112にビッグボーナス中フラグが設定されているゲームではスタートレバー11の操作時にRAM112にレギュラーボーナス中フラグが設定されているかどうかを判定し、レギュラーボーナス中フラグが設定されていなければ、これを設定してレギュラーボーナスに制御するものとしていた。こうしてビッグボーナス(1)またはビッグボーナス(2)の入賞後に最初にレギュラーボーナスに制御する場合も、一回分のレギュラーボーナスが終了して未だビッグボーナスが終了していないときに再びレギュラーボーナスに制御する場合も、同じ処理を行えばよいものとしていた。
これに対して、ビッグボーナス(1)またはビッグボーナス(2)に入賞したときにRAM112にビッグボーナス中フラグとともにレギュラーボーナス中フラグを設定し、ビッグボーナス中でレギュラーボーナスの終了条件が成立したときには該レギュラーボーナス中フラグを消去する。ここで、レギュラーボーナス中フラグが消去されたときにおいて、ビッグボーナスの終了条件が成立していないと判定されてビッグボーナス中フラグがRAM112に設定されている状態となっていれば、再びレギュラーボーナス中フラグをRAM112に設定して、そのまま新たなレギュラーボーナスに制御するものとしてもよい。この場合には、ビッグボーナス(1)またはビッグボーナス(2)の入賞によりビッグボーナスが制御されたときに同時にレギュラーボーナスに制御することができ、また、一回分のレギュラーボーナスが終了して未だビッグボーナスが終了していないときに即座にレギュラーボーナスに復帰できることとなる。
また、ビッグボーナスの遊技状態は、ビッグボーナス(1)またはビッグボーナス(2)の入賞で小役ゲームを提供し、さらに小役ゲームでのJACIN当選に基づいてJACIN(例えば、「ベル−JAC−JAC」で小役ゲーム中において内部抽選の対象役となる)に入賞することで、遊技状態をビッグボーナス中のレギュラーボーナスを提供するものとしてもよい。ビッグボーナス中に1セット分のレギュラーボーナスが終了し、未だ払出メダル枚数が465枚を越えていなければ、再び小役ゲームに制御するものとすることができる。
上記の実施の形態では、当選フラグの設定状況に基づいて停止制御テーブルを予め選択し、リール3L、3C、3Rの停止時において停止制御テーブルを参照して図柄の停止位置を決定し、当該停止位置でリールを停止させるテーブル方式でリール3L、3C、3Rの回転を停止させるスロットマシンを例として説明した。これに対して、停止条件が成立したときの現在の図柄位置と当選フラグの設定状況に基づいて、当選している役の図柄が揃うように引き込み制御を行ったり、当選していない役の図柄が揃わないように外し制御を行うコントロール方式でリール3L、3C、3Rの回転を停止させるスロットマシンにも本発明を適用することができる。
コントロール方式では、停止ボタン12L、12C、12Rの操作が検出されたときに、対応するリール3L、3C、3Rについてその時点で表示されている図柄から190ミリ秒の最大停止遅延時間の範囲内(表示されている図柄と引き込み分を含めて合計5コマの範囲)に、当選フラグの設定されている役の図柄があるかどうかを判定する。
当選フラグの設定されている役の図柄(重複当選時には、導出が優先される役の図柄から判断する)があれば、当該役を入賞させるための図柄を選択して入賞ライン(既に停止しているリールがあるときには、停止しているリール上の図柄とともに入賞の表示態様を構成可能な入賞ライン)上に導出させる。そうでなければ、いずれの役にも入賞させないための図柄を選択して導出させる。すなわち、このコントロール方式によりリール3L、3C、3Rの停止を制御する場合も、停止ボタン12L、12C、12Rの操作が検出されてから最大停止遅延時間の範囲で図柄を停止させることにより導出可能となる表示態様であって当選フラグの設定状況に応じた表示態様が、可変表示装置2の表示結果として導出されるものとなる。
上記の実施の形態では、既に賭け数が設定され、クレジットも残っている状態にあるときには、1回目の精算ボタン16の操作で設定された賭け数に応じたメダルが先に精算され、2回目の精算ボタン16の操作でクレジットに応じたメダルが精算されるものとなっていた。これに対して、1回目の精算ボタン16の操作でクレジットを精算し、2回目の精算ボタン16の操作で設定された賭け数を精算するものとしてもよい。この場合には、1回目の精算ボタン16の操作でクレジットが精算される際にボーナス中楽曲の再生が停止されるものとなる。また、1回の精算ボタン16の操作だけで賭け数とクレジットの両方を精算するものとしてもよい。この場合には、賭け数とクレジットの両方を精算する精算ボタン16の操作によって、ボーナス中楽曲の再生が停止されるものとなる。
上記の実施の形態では、可変表示装置2は、外周部に複数の図柄を所定順に配した3つのリール3L、3C、3Rを備えるものとし、これらのリール3L、3C、3Rの回転駆動によって図柄を可変表示させるものとしていた。しかしながら、液晶表示装置などの表示装置上で仮想的に図柄を可変表示させるものを、上記のような可変表示装置2の代わりに用いてもよい。
上記の実施の形態では、賭け数の設定や入賞に伴う遊技用価値の付与に用いる遊技媒体としてメダルを適用したスロットマシンを例として説明した。しかしながら、本発明を具現化するスロットマシンは、パチンコ遊技機で用いられている遊技球を遊技媒体として適用したスロットマシン(いわゆるパロット)であってもよい。遊技球を遊技媒体として用いる場合は、例えば、メダル1枚分を遊技球5個分に対応させることができる。
いわゆるパロットでは、遊技媒体として用いられる遊技球は、そのままの物理的形態で貯留皿に貯留されており、遊技者がBETボタンを操作すると、貯留皿(上皿)に貯留されていた遊技球のうちのBET操作に応じた数の遊技球が所定の取り込み経路を介してパロットの内部に取り込まれる。この内部に取り込まれた遊技球によって1ゲームを行うための賭け数が設定されるものとなる。
また、パロットにおいて遊技者が精算ボタンを操作した場合には、既に賭け数が設定されていれば(但し、リプレイ入賞後に賭け数が自動設定された場合を除く)、設定された賭け数に応じた数の遊技球がスロットマシンの下部に設けられた下皿に排出される。賭け数が設定されていなければ(先に賭け数の精算を行った場合を含む)、貯留皿に貯留されている遊技球が所定の経路を通って下皿に排出されるものとなる。下皿には、遊技者が所定のレバーを操作することで貯留された遊技球を下部に通過させるための穴が設けられており、遊技球箱(いわゆるドル箱)を下皿の下においてレバー操作すれば、遊技者が所有する遊技球を容易に遊技球箱に移すことができる。
さらに、本発明は、精算音の再生/出力を除いては、貯留皿に貯留された遊技球を順次遊技領域に打ち出して遊技を行うパチンコ遊技機にも適用することができる。パチンコ遊技機であっても、遊技球が内部に取り込まれるタイプのものや、遊技球が外部に排出されることなく磁気カード等に書き込まれた遊技者の手持ちの遊技球のデータに従って内部で遊技球を循環させるタイプのもの(精算する際には、遊技球の数を示すデータが磁気カード等に書き込まれる)であれば、精算音の出力を含めて、本発明を適用することができる。
1 スロットマシン
2 可変表示装置
4 液晶表示器
7L、7R、7U スピーカ
12L、12C、12R 停止ボタン
16 精算ボタン
91 設定スイッチ
92 設定キースイッチ
95 扉開放センサ
96 ボリューム調整レバー
101 遊技制御基板
111 CPU
112 RAM
113 ROM
102 演出制御基板
121 CPU
122 RAM
123 ROM
200 基板ケース
232 封止片
250 取付ベース
500 コネクタ規制部材
600a ケーブル
610a ケーブル側コネクタ
620a 基板側コネクタ

Claims (1)

  1. 遊技用価値を用いて遊技を行うとともに、遊技の進行状況に応じた効果音を出力する効果音出力手段を備える遊技機であって、
    遊技の進行状況に応じて効果音を生成し、前記効果音出力手段から出力させる効果音出力制御手段と、
    所定の操作手段の操作により前記効果音出力手段から出力される効果音の音量のレベルを設定する音量設定手段と、
    前記遊技機における遊技の進行でラーが生したことを検出するエラー検出手段と、
    所定の解除操作により前記遊技の進行で発生したエラーを解除するエラー解除手段とを備え、
    前記効果音出力制御手段は、前記エラー検出手段によりラーの発生が検出されたときに、前記効果音出力手段から所定のエラー音を出力させるエラー音出力制御手段を含み、
    前記エラー音出力制御手段は、
    前記音量設定手段により設定されている音量のレベルに関わらずに、音量のレベルを前記遊技機において設定可能な最大レベルとして前記エラー音を出力させ、
    前記エラー解除手段により前記エラーが解除された後の所定の期間の間、遊技の進行に応じた効果音の出力に関わらずに、前記エラー音と同一の音を出力させる
    ことを特徴とする遊技機。
JP2011098613A 2011-04-26 2011-04-26 遊技機 Active JP5374540B2 (ja)

Priority Applications (1)

Application Number Priority Date Filing Date Title
JP2011098613A JP5374540B2 (ja) 2011-04-26 2011-04-26 遊技機

Applications Claiming Priority (1)

Application Number Priority Date Filing Date Title
JP2011098613A JP5374540B2 (ja) 2011-04-26 2011-04-26 遊技機

Related Parent Applications (1)

Application Number Title Priority Date Filing Date
JP2007201379A Division JP5270874B2 (ja) 2007-08-01 2007-08-01 遊技機

Related Child Applications (1)

Application Number Title Priority Date Filing Date
JP2013193079A Division JP5707459B2 (ja) 2013-09-18 2013-09-18 遊技機

Publications (3)

Publication Number Publication Date
JP2011143289A JP2011143289A (ja) 2011-07-28
JP2011143289A5 JP2011143289A5 (ja) 2012-08-30
JP5374540B2 true JP5374540B2 (ja) 2013-12-25

Family

ID=44458628

Family Applications (1)

Application Number Title Priority Date Filing Date
JP2011098613A Active JP5374540B2 (ja) 2011-04-26 2011-04-26 遊技機

Country Status (1)

Country Link
JP (1) JP5374540B2 (ja)

Families Citing this family (6)

* Cited by examiner, † Cited by third party
Publication number Priority date Publication date Assignee Title
JP6186041B2 (ja) * 2016-05-16 2017-08-23 株式会社平和 遊技機
JP6662555B2 (ja) * 2018-11-01 2020-03-11 株式会社大一商会 遊技機
JP6662554B2 (ja) * 2018-11-01 2020-03-11 株式会社大一商会 遊技機
JP6664143B2 (ja) * 2018-11-01 2020-03-13 株式会社大一商会 遊技機
JP6782523B2 (ja) * 2019-09-11 2020-11-11 株式会社大一商会 遊技機
JP6782522B2 (ja) * 2019-09-11 2020-11-11 株式会社大一商会 遊技機

Family Cites Families (3)

* Cited by examiner, † Cited by third party
Publication number Priority date Publication date Assignee Title
JP3540219B2 (ja) * 1999-10-22 2004-07-07 Kpe株式会社 遊技機、およびその制御方法
JP2001178941A (ja) * 1999-12-27 2001-07-03 Takasago Electric Ind Co Ltd 警報機能付き遊技機
JP4246139B2 (ja) * 2004-11-11 2009-04-02 株式会社三共 遊技機

Also Published As

Publication number Publication date
JP2011143289A (ja) 2011-07-28

Similar Documents

Publication Publication Date Title
JP5270874B2 (ja) 遊技機
JP5174388B2 (ja) 遊技機
JP5174389B2 (ja) 遊技機
JP5687403B2 (ja) スロットマシン
JP5138312B2 (ja) スロットマシン
JP2009100955A (ja) スロットマシン
JP5379357B2 (ja) スロットマシン
JP5374540B2 (ja) 遊技機
JP4843624B2 (ja) スロットマシン
JP2009082161A (ja) スロットマシン
JP2009045294A (ja) スロットマシン
JP4874183B2 (ja) スロットマシン
JP5935157B2 (ja) 遊技機
JP2017099932A (ja) 遊技機
JP2017099933A (ja) 遊技機
JP6467717B2 (ja) 遊技機
JP5661883B2 (ja) 遊技機
JP5707459B2 (ja) 遊技機
JP5937183B2 (ja) 遊技機
JP5492374B2 (ja) スロットマシン
JP6136038B2 (ja) 遊技機
JP5374538B2 (ja) 遊技機
JP5374539B2 (ja) 遊技機
JP5959023B2 (ja) 遊技機
JP5661884B2 (ja) 遊技機

Legal Events

Date Code Title Description
A621 Written request for application examination

Free format text: JAPANESE INTERMEDIATE CODE: A621

Effective date: 20110426

A521 Request for written amendment filed

Free format text: JAPANESE INTERMEDIATE CODE: A523

Effective date: 20120718

A131 Notification of reasons for refusal

Free format text: JAPANESE INTERMEDIATE CODE: A131

Effective date: 20130219

A521 Request for written amendment filed

Free format text: JAPANESE INTERMEDIATE CODE: A523

Effective date: 20130418

TRDD Decision of grant or rejection written
A01 Written decision to grant a patent or to grant a registration (utility model)

Free format text: JAPANESE INTERMEDIATE CODE: A01

Effective date: 20130827

A61 First payment of annual fees (during grant procedure)

Free format text: JAPANESE INTERMEDIATE CODE: A61

Effective date: 20130920

R150 Certificate of patent or registration of utility model

Ref document number: 5374540

Country of ref document: JP

Free format text: JAPANESE INTERMEDIATE CODE: R150

Free format text: JAPANESE INTERMEDIATE CODE: R150

R250 Receipt of annual fees

Free format text: JAPANESE INTERMEDIATE CODE: R250

R250 Receipt of annual fees

Free format text: JAPANESE INTERMEDIATE CODE: R250

R250 Receipt of annual fees

Free format text: JAPANESE INTERMEDIATE CODE: R250

R250 Receipt of annual fees

Free format text: JAPANESE INTERMEDIATE CODE: R250

R250 Receipt of annual fees

Free format text: JAPANESE INTERMEDIATE CODE: R250

R250 Receipt of annual fees

Free format text: JAPANESE INTERMEDIATE CODE: R250

R250 Receipt of annual fees

Free format text: JAPANESE INTERMEDIATE CODE: R250

R250 Receipt of annual fees

Free format text: JAPANESE INTERMEDIATE CODE: R250

R250 Receipt of annual fees

Free format text: JAPANESE INTERMEDIATE CODE: R250

R250 Receipt of annual fees

Free format text: JAPANESE INTERMEDIATE CODE: R250