JP5347602B2 - 血液処理装置 - Google Patents

血液処理装置 Download PDF

Info

Publication number
JP5347602B2
JP5347602B2 JP2009062962A JP2009062962A JP5347602B2 JP 5347602 B2 JP5347602 B2 JP 5347602B2 JP 2009062962 A JP2009062962 A JP 2009062962A JP 2009062962 A JP2009062962 A JP 2009062962A JP 5347602 B2 JP5347602 B2 JP 5347602B2
Authority
JP
Japan
Prior art keywords
blood
hollow fiber
gas exchange
fiber membrane
processing apparatus
Prior art date
Legal status (The legal status is an assumption and is not a legal conclusion. Google has not performed a legal analysis and makes no representation as to the accuracy of the status listed.)
Expired - Fee Related
Application number
JP2009062962A
Other languages
English (en)
Other versions
JP2010213852A (ja
Inventor
茂樹 河原畑
Current Assignee (The listed assignees may be inaccurate. Google has not performed a legal analysis and makes no representation or warranty as to the accuracy of the list.)
JMS Co Ltd
Original Assignee
JMS Co Ltd
Priority date (The priority date is an assumption and is not a legal conclusion. Google has not performed a legal analysis and makes no representation as to the accuracy of the date listed.)
Filing date
Publication date
Application filed by JMS Co Ltd filed Critical JMS Co Ltd
Priority to JP2009062962A priority Critical patent/JP5347602B2/ja
Publication of JP2010213852A publication Critical patent/JP2010213852A/ja
Application granted granted Critical
Publication of JP5347602B2 publication Critical patent/JP5347602B2/ja
Expired - Fee Related legal-status Critical Current
Anticipated expiration legal-status Critical

Links

Images

Landscapes

  • External Artificial Organs (AREA)

Description

本発明は、心臓血管手術における体外循環に用いられ、血液に酸素を供給し二酸化炭素を除去しながら、増加した血液中の水分を除去して正常な水分量の血液にするための血液処理装置に関する。
体外循環を伴う心臓血管手術では、輸血の低減や、抹消循環の改善、血液損傷の低減などを目的として、希釈体外循環法を用いることが、一般的である。しかし、補液や心筋保護液などの体外循環回路内への流入に伴い、高度希釈が発生すると、膠質浸透圧の低下による浮腫の発生や、ヘマトクリットの低下によるガス交換能の低下が発生するため、必要に応じ、血液濃縮器などを用いて、余剰水分を排出(除水)する操作が必要となる。
従って、希釈体外循環法を行なうためには、血液に酸素を供給し二酸化炭素を除去するガス交換を行うための人工肺と、除水を行なうための血液濃縮器を併用する必要があり、従来、両装置をそれぞれ分離配置した体外循環回路が知られていた。しかし、人工肺の回路と並列に血液濃縮器の回路が必要であるため、回路が複雑になり、血液処理操作が煩雑であった。また、並ループ回路の構成であるため、プライミング量(血液充填量)が多くなり、生体負荷が大きくなる欠点があった。
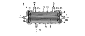
これに対して、特許文献1には、人工肺と血液濃縮器を一体化して共通のハウジング内に収納した構成により、上記のような問題を解決することが記載されている。この血液処理装置について、図4を参照して説明する。この血液処理装置Aは、円筒状のハウジング20内に、人工肺Bと血液濃縮器Cとが直列に配列され収容された構成を有する。
ハウジング20の長手方向の初端側に未処理血液F1の導入口となる血液導入ポート21aが設けられ、終端側に処理済血液F2の排出口となる血液出口ポート21bが設けられている。人工肺Bが収納されている領域には、血液導入ポート21aの近傍の外周位置に二酸化炭素の排出口となるガス出口ポート22aが、人工肺Bの領域の下流側の外周位置には酸素の給気口となるガス入口ポート22bが設けられている。血液濃縮器Cが収納されている領域の外周位置には、濾過液Eの除水口となる排水ポート23が設けられている。
人工肺Bは、シリコーン膜よりなる多数の第1中空糸膜24により構成され、その両端が、ポリウレタン等の硬化性樹脂25により気密に固着されている。血液濃縮器Cは、透水速度が大きくタンパク質阻止率の高いポリスルホン膜よりなる多数の第2中空糸膜26により構成され、その両端が、ポリウレタン等の硬化性樹脂25により気密に固着されている。
上記構成により、人工肺Bの第1中空糸膜24内を軸方向に流通する血液に、ガス入口ポート22bから酸素を供給し、この酸素とガス交換された血液中の二酸化炭素をガス出口ポート22aから排出する。また、血液濃縮器Cの第2中空糸膜26内を軸方向に流通する血液から、水分が径方向へ透過されて、排水ポート23から排出される。
このように、第1中空糸膜24と第2中空糸膜26がハウジング20内に直列に配置されることにより、血液導入ポート21aから流入した未処理血液F1は、人工肺Bの領域で酸素を供給され、二酸化炭素を排出した後、血液濃縮器Cの領域で余分な水分が除水されて、血液出口ポート21bから処理済血液F2として流出する。
また、特許文献2には、人工肺と血液濃縮器を一体化して共通のハウジング内に収納した、他の構成が記載されている。これについて図5を参照して説明する。この血液処理装置Aは、円筒状のハウジング20内に、人工肺Bを構成する多数の第1中空糸膜24と、血液濃縮器Cを構成する多数の第2中空糸膜26とが、互いに並列状に収納された構成を有する。なお、図4の血液処理装置と同様の要素については、同一の参照符号を付して、説明の繰り返しを避ける。
ハウジング20の長手方向の初端側に血液導入ポート21aが、終端側に血液出口ポート21bが設けられている。人工肺Bとして機能させる側の外周面には、二酸化炭素の排出口となるガス出口ポート22aと、酸素の給気口となるガス入口ポート22bが設けられている。血液濃縮器Cとして機能させる側の外周面には、濾過液Eの除水口となる排水ポート23が設けられている。
上記構成により、第1中空糸膜24内を軸方向に流通する血液に、ガス入口ポート22bから酸素を供給し、ガス交換された血液中の二酸化炭素をガス出口ポート22aから排出する。また、第2中空糸膜26内を軸方向に流通する血液から、水分が径方向へ透過されて、排水ポート23から排出される。
特開昭62−47369号公報 特開昭62−47368号公報
上記特許文献1に記載の構成の場合、人工肺と血液濃縮器の中空糸膜の軸方向が直列に配列され、血液が中空糸膜中を通過する経路が長くなる。そのため、血液流の圧力損失が大きい。また、後述するような内部灌流方式を採用しているため、低灌流量(または低灌流下)でしか利用することができず、更に血液濃縮器による除水のためには、排水ポート23から陰圧を付与する必要があり、装置を構成する要素が多くなるとの問題点があった。
また、特許文献2に記載の構成の場合、血液導入ポート21aから流入した血液が、人工肺の領域と血液濃縮器の領域に分流されるため、灌流血液量の一部のみがガス交換され、また、残りの一部のみが除水されることになる。したがって、血液処理装置による処理後の血液中には、処理状態が異なった血液が混ざることになり、好ましくない。また、血液濃縮器側では、血液が濃縮により粘度が上昇して、流れなくなる可能性がある。
また、血液濃縮器は特許文献1及び2に示されるように、効率の面から、血液浄化器と同様、中空糸内部灌流方式を用いるのが一般的である。すなわち、中空糸膜の内腔に血液を流通させ、中空糸膜の外表面側に除水する。これは、低灌流でも膜間圧力(T.M.P.)を高くすることができ、除水効率を向上できるからである。
その反面、圧力損失が高くなるため、高灌流下での使用には適さない(500mL/min以下)。従って、高灌流で使用する人工心肺の場合は、低灌流の別回路中に血液濃縮器を設ける必要があった。
以上の問題を考慮して、本発明は、人工肺と血液濃縮器が共通のハウジング内に収納され、血液流の圧力損失が少ないガス交換及び除水が可能であって、人工肺に適した高灌流下での使用が可能な血液処理装置を提供することを目的とする。
上記課題を解決するために、本発明の血液処理装置は、除水用中空糸膜を平面状に複数本配列し複数層に積層した中空糸束により形成された血液濃縮モジュールと、ガス交換用中空糸膜を平面状に複数本配列し複数層に積層した中空糸束により形成されたガス交換モジュールと、前記血液濃縮モジュール及び前記ガス交換モジュールが積層状態に各々収納された直列に配列された血液濃縮部及びガス交換部を有するハウジングと、前記除水用中空糸膜の一端の開口は露出させ他端の開口は閉鎖し、前記ガス交換用中空糸膜の両端の開口は露出させた状態で前記血液濃縮モジュール及び前記ガス交換モジュールの両端部を封止し、前記両端部の中間の領域に、前記除水用中空糸膜及び前記ガス交換用中空糸膜の軸方向と交差する方向に延在して前記血液濃縮部及び前記ガス交換部を通過する血液流路を形成している封止部材と、前記血液流路の両端に面して前記ハウジングに設けられた血液流入ポート及び血液流出ポートと、前記封止部材から露出した前記除水用中空糸膜の前記一端の開口に面して前記ハウジングに設けられた排水ポートと、前記封止部材から露出した前記ガス交換用中空糸膜の両端の開口に面して前記ハウジングに設けられた給気ポート及び排気ポートとを備え、前記ハウジングの内壁により、前記除水用中空糸膜の前記閉鎖された他端の開口に面する領域の空間を封鎖したことを特徴とする。
上記構成の血液処理装置では、同一ハウジング内に血液濃縮モジュールとガス交換モジュールとが積層状態に収納され、血液流路に対して直列に配列された状態となっており、外部灌流方式を適用できる。
従って、血液流は血液濃縮モジュール及びガス交換モジュールの中空糸膜の外表面側に沿って順次通過して、血液濃縮とガス交換を同一ハウジング内で機能させることができ、しかも、血液は中空糸膜外を流通するので、圧力損失は少ない。そのため、人工肺に適した高灌流下での使用が可能である。
本発明の実施の形態1における血液処理装置の断面図 同血液処理装置の要部を一部断面で示した斜視図 同血液処理装置の要部の他の形態を示す斜視図 本発明の実施の形態2における血液処理装置の断面図 従来例の血液処理装置の断面図 他の従来例の血液処理装置の断面図
本発明の血液処理装置は、上記構成を基本として、以下のような態様をとることができる。
すなわち、前記ガス交換部が、前記血液濃縮部よりも前記血液流入ポートに近い側に配置されることが好ましい。
また、前記血液流路は、その流路方向に直交する断面が円形であることが好ましい。
また前記血液濃縮モジュール及び前記ガス交換モジュールを構成する各中空糸の軸方向が、前記血液流路の流れ方向と直交し、且つそれぞれの中空糸の軸方向が互いに交差するように配置することができる。
また、前記ガス交換用中空糸膜はポリプロプレン膜を用いて形成され、前記除水用中空糸膜は、ポリスチロール膜、ポリエーテルサルフォン膜、ポリメチルメタクリレート膜、またはセルロース・アセテート膜を用いて形成されている構成とすることができる。
また、前記血液濃縮部が前後に複数段設けられて、血液を段階的に濃縮する構造を有することができる。
以下、本発明の実施形態について図面を参照しながら説明する。
(実施の形態1)
本発明の実施の形態1における血液処理装置の断面図を、図1に示す。図2Aは、その要部を一部断面で示した斜視図である。この血液処理装置は、血液濃縮モジュール1と、ガス交換モジュール2とを有する。血液濃縮モジュール1は、水分は透過するがタンパク質は阻止する除水用中空糸膜1aを複数本配列した中空糸束により形成される。ガス交換モジュール2は、ガス交換能に優れたガス交換用中空糸膜2aを複数本配列して形成された中空糸束により形成される。
ハウジング3は、血液濃縮モジュール1を収納した血液濃縮部4、及びガス交換モジュール2を収納したガス交換部5を有する。除水用中空糸膜1aとガス交換用中空糸膜2aとは、互いに積層状態に配置されている。すなわち、図1の例では、除水用中空糸膜1aの軸方向とガス交換用中空糸膜2aの軸方向が平行である。但し、除水用中空糸膜とガス交換用中空糸膜とが積層構造を採っておれば、各中空糸膜の軸方向は、必ずしも互いに平行である必要はない。例えば、図2Bに示すように、除水用中空糸膜及びガス交換用中空糸膜が血液流路の向きと実質的に直交する状態に配置され、且つ除水用中空糸膜がガス交換用中空糸膜に対して交差した態様であっても良い。それにより、各中空糸膜束の間に形成される空間を少なくすることができるので、好ましい。
両モジュール1、2の両端部は、高分子ポッティング材、例えばポリウレタン、シリコーン、エポキシ樹脂等により形成された封止部材6により封止されている。封止部材6により形成された構造が判りやすいように、ハウジング3を取り除いた状態を、一部断面にして図2Aに示す。
この封止構造において、除水用中空糸膜1aの一端の開口は閉鎖されることなく露出しているが、他端の開口は閉鎖されている。また、ガス交換用中空糸膜2aの両端の開口7は、封止部材6により閉鎖されることなく露出している。従って、ガス交換用中空糸膜2aの内部には、中空糸膜の両端に亘る貫通したガス流路が確保されている。さらに、両モジュール1、2の両端部の中間の領域において、封止部材6は、血液流路8を形成する貫通孔を有する。血液流路8は、除水用中空糸膜1a及びガス交換用中空糸膜2aの軸方向と交差する方向に延在して血液濃縮部4及びガス交換部5を通過するように形成され、その流路方向に直交する断面形状が円形である。
ハウジング3は更に、血液流路8の両端に面して血液流入ポート9及び血液流出ポート10を有する。また、封止部材6から露出した除水用中空糸膜1aの一端の開口に面して、血液濃縮部4の側部に排水ポート11が設けられている。また、封止部材6から露出したガス交換用中空糸膜2aの両端の開口に面して、ガス交換部5の側部に給気ポート12及び排気ポート13が設けられている。
更に、血液濃縮部4とガス交換部5の境界部では、ハウジング3の内壁に隔壁14が設けられている。それにより、それにより、血液濃縮部4では、排水ポート11に面した領域に、他から隔離された空間が形成されている。また、ガス交換部5の両端では、給気ポート12及び排気ポート13にそれぞれ面した領域にも、他から隔離された空間が形成されている。従って、排水ポート11、給気ポート12及び排気ポート13は、それぞれ独立して機能する。
また、図に示していないが、血液濃縮部4とガス交換部5の間に、熱交換器を組込むことで、血液濃縮した直後の血液を加温、または冷却することが可能となり、さらに加温/冷却した血液をガス交換できるので、効率良く加温でき、気泡の発生を抑止できる。
以上のとおり、本実施の形態の血液処理装置では、血液濃縮モジュール1とガス交換モジュール2とが積層状態に配置され、血液流路8に対して直列に配列された状態となってる。そして、中空糸膜1a、2aの外表面側を血液が流通し、除水用中空糸膜1aの内部を介して除水され、ガス交換用中空糸膜2aの内部を酸素含有ガスが流通する、いわゆる外部灌流方式が用いられる。
従って、血液濃縮とガス交換を同一ハウジング内で容易に機能させることができ、しかも、血液は中空糸膜中を通過しないので、内部灌流方式に比べ圧力損失は少ない。そのため、人工肺に適した高灌流下で、除水のための別回路を設けること無く、使用することが可能である。なお、外部灌流方式では、内部灌流方式に比べ除水効率が低下する。これに対しては、外部灌流方式では圧力損失が低減されるので、高灌流量で使用すれば、除水効率の低下はさほど問題とならない。
また、本実施の形態のように、血液濃縮部4が、ガス交換部5よりも血液流入ポート9に近い側に配置された構造にすると、次のような利点がある。すなわち、血液流が、最初に血液濃縮部4を通過後に、ガス交換部5を通過することにより、より高いTMPが得られる。しかも、血液が濃縮された後にガス交換されるので、ガス交換性能が向上する。
さらに、外部灌流方式とすることにより、血液濃縮部4における除水のために陰圧を付与することが不要となる。
また、積層型を採用した本実施の形態の構造は、コアに中空糸を巻きつけるワインド型人工肺に比べ、異なる素材の中空糸膜を同一ハウジング内に構成することが容易である。しかも、中空糸膜内部の流路について、独立した区画を設けることが容易であるので、血液濃縮モジュールとガス交換モジュールを併用して、外部灌流方式を適用することが容易である。
ガス交換モジュール2に用いるガス交換用中空糸膜2aの素材としては、例えば、ポリプロピレン膜を用いることができる。
血液濃縮モジュール1に用いる除水用中空糸膜1aの素材としては、例えば、PS(ポリスチロール)樹脂、PES(ポリエーテルサルフォン)樹脂、PMMA(ポリメチルメタクリレート)樹脂、CA(セルロース・アセテート)樹脂などをそのまま利用しても良いし、その他の材料でも良い。
これらの材質による中空糸膜を用いた血液濃縮器は、内部灌流方式に最適な構造、例えば、中空糸内面あるいは中間層側に緻密層を配し、除水効率を長期間維持させる構造が多い。そのため、本実施の形態のように外部灌流方式を用いた場合、従来品を用いると、中空糸外面側に血液成分が入り込み、多少除水効率が低下する可能性がある。
しかし、内部灌流方式に比べ、外部灌流方式では圧力損失を低減することが可能であるので、高灌流量でも使用可能であり、外部灌流方式を用いることに起因する除水効率の低下はさほど問題とならない。例えば、内部灌流方式の場合の灌流量100〜500mL程度に比べ、100mL程度から7〜8L/minと、はるかに高灌流量を得ることができる。もちろん、外部灌流に適した構造、例えば、外部側より緻密層を配する構造とした中空糸膜を用いてもよい。
血液流路の形態は、直線流路で、流路断面形状は四角でもよいが、上述の実施の形態ように円形流路を採用した方が、偏流が抑制され、血液流路の周縁部でも(血流が)停滞せずにガス交換ができるため、高いガス交換効率が得られる。
また、前後に三層以上の構造として、段階的に濃縮する構造としてもよい。
(実施の形態2)
本発明の実施の形態2における血液処理装置の断面図を、図3に示す。この血液処理装置は、構成要素は実施の形態1における装置と同様であり、血液の流動方向に対して上流側にガス交換部5が配置され、下流側に血液濃縮部4が配置された点が、実施の形態1と相違する。従って、実施の形態1の場合と同様の要素については同一の参照符号を付して、説明の繰り返しを省略する。
図3に示すとおり、ガス交換部5が、血液濃縮部4よりも血液流入ポート9に近い側に配置され、実施の形態1と同様、ガス交換モジュール2と血液濃縮モジュール1とが積層状態に配置されている。従って、ガス交換モジュール2と血液濃縮モジュール1とが、血液流路8に対して直列に配列された状態となってる。そして、中空糸膜1a、1bの外表面側を血液が流通し、ガス交換用中空糸膜2aの内部を酸素含有ガスが流通し、除水用中空糸膜1aの内部を介して除水される外部灌流方式を用いる構造となっている。
本実施の形態のように血液流が、まずガス交換部5を通過後に、血液濃縮部4を通過することにより、人工肺内の圧力損失は、実施の形態1の場合より低減される利点がある。但し、血液濃縮部4において、水引効果と同時に、若干のガス排出が発生する可能性がある。ガス交換により血液中に取り込まれた酸素ガスが放出されると、実質的にガス交換効率が低減する。
本発明の血液処理装置によれば、血液濃縮とガス交換を同一ハウジング内で機能させることができ、しかも、血液流の圧力損失は少ないので高灌流下での使用が可能であり、また現行行っているような除水のための別回路の形成無しに体外循環が行えるため、有用である。
1 血液濃縮モジュール
1a 除水用中空糸膜
2 ガス交換モジュール
2a ガス交換用中空糸膜
3 ハウジング
4 血液濃縮部
5 ガス交換部
6 封止部材
7 開口
8 血液流路
9 血液流入ポート
10 血液流出ポート
11 排水ポート
12 給気ポート
13 排気ポート
14 隔壁
20 ハウジング
21a 血液導入ポート
21b 血液出口ポート
22a ガス出口ポート
22b ガス入口ポート
23 排水ポート
24 第1中空糸膜
25 硬化性樹脂
26 第2中空糸膜
A 血液処理装置
B 人工肺
C 血液濃縮器
E 濾過液
F1 未処理血液
F2 処理済血液

Claims (6)

  1. 除水用中空糸膜を平面状に複数本配列し複数層に積層した中空糸束により形成された血液濃縮モジュールと、
    ガス交換用中空糸膜を平面状に複数本配列し複数層に積層した中空糸束により形成されたガス交換モジュールと、
    前記血液濃縮モジュール及び前記ガス交換モジュールが積層状態に各々収納され直列に配列された血液濃縮部及びガス交換部を有するハウジングと、
    前記除水用中空糸膜の一端の開口は露出させ他端の開口は閉鎖し、前記ガス交換用中空糸膜の両端の開口は露出させた状態で前記血液濃縮モジュール及び前記ガス交換モジュールの両端部を封止し、前記両端部の中間の領域に、前記除水用中空糸膜及び前記ガス交換用中空糸膜の軸方向と交差する方向に延在して前記血液濃縮部及び前記ガス交換部を通過する血液流路を形成している封止部材と、
    前記血液流路の両端に面して前記ハウジングに設けられた血液流入ポート及び血液流出ポートと、
    前記封止部材から露出した前記除水用中空糸膜の前記一端の開口に面して前記ハウジングに設けられた排水ポートと、
    前記封止部材から露出した前記ガス交換用中空糸膜の両端の開口に面して前記ハウジングに設けられた給気ポート及び排気ポートとを備え
    前記ハウジングの内壁により、前記除水用中空糸膜の前記閉鎖された他端の開口に面する領域の空間を封鎖したことを特徴とする血液処理装置。
  2. 前記ガス交換部が、前記血液濃縮部よりも前記血液流入ポートに近い側に配置された請求項1に記載の血液処理装置。
  3. 前記血液流路は、その流路方向に直交する断面が円形である請求項1または2に記載の血液処理装置。
  4. 前記血液濃縮モジュール及び前記ガス交換モジュールを構成する各中空糸の軸方向が、前記血液流路の流れ方向と直交し、且つそれぞれの中空糸の軸方向が互いに交差するように配置された請求項1〜3のいずれか1項に記載の血液処理装置。
  5. 前記ガス交換用中空糸膜はポリプロプレン膜を用いて形成され、前記除水用中空糸膜は、ポリスチロール膜、ポリエーテルサルフォン膜、ポリメチルメタクリレート膜、またはセルロース・アセテート膜を用いて形成されている請求項1〜4のいずれか1項に記載の血液処理装置。
  6. 前記血液濃縮部が前後に複数段設けられて、血液を段階的に濃縮する構造を有する請求項1〜5のいずれか1項に記載の血液処理装置。
JP2009062962A 2009-03-16 2009-03-16 血液処理装置 Expired - Fee Related JP5347602B2 (ja)

Priority Applications (1)

Application Number Priority Date Filing Date Title
JP2009062962A JP5347602B2 (ja) 2009-03-16 2009-03-16 血液処理装置

Applications Claiming Priority (1)

Application Number Priority Date Filing Date Title
JP2009062962A JP5347602B2 (ja) 2009-03-16 2009-03-16 血液処理装置

Publications (2)

Publication Number Publication Date
JP2010213852A JP2010213852A (ja) 2010-09-30
JP5347602B2 true JP5347602B2 (ja) 2013-11-20

Family

ID=42973352

Family Applications (1)

Application Number Title Priority Date Filing Date
JP2009062962A Expired - Fee Related JP5347602B2 (ja) 2009-03-16 2009-03-16 血液処理装置

Country Status (1)

Country Link
JP (1) JP5347602B2 (ja)

Cited By (1)

* Cited by examiner, † Cited by third party
Publication number Priority date Publication date Assignee Title
JP2912464B2 (ja) 1991-03-12 1999-06-28 ライト工業株式会社 地盤安定工法

Families Citing this family (2)

* Cited by examiner, † Cited by third party
Publication number Priority date Publication date Assignee Title
EP3668556B1 (en) * 2017-08-15 2026-01-07 University of Maryland, Baltimore Dual chamber gas exchanger
CN113350596B (zh) * 2021-07-19 2025-12-30 北京航空航天大学 氧合器和体外膜肺氧合装置

Family Cites Families (7)

* Cited by examiner, † Cited by third party
Publication number Priority date Publication date Assignee Title
JPS6247368A (ja) * 1985-08-26 1987-03-02 株式会社 日本メデイカル・サプライ 血液処理装置
JPS6247369A (ja) * 1985-08-26 1987-03-02 株式会社 日本メデイカル・サプライ 血液処理装置
JPH04193178A (ja) * 1990-11-27 1992-07-13 Mitsubishi Rayon Co Ltd 中空糸膜型人工肺モジュール
JPH06245997A (ja) * 1993-02-24 1994-09-06 Hikari Nakanishi 血液濃縮器内蔵人工肺
JPH09220282A (ja) * 1996-02-20 1997-08-26 Senko Ika Kogyo Kk 人工肺
JP5168777B2 (ja) * 2005-11-24 2013-03-27 株式会社ジェイ・エム・エス 中空糸膜型人工肺
DE102009008601A1 (de) * 2009-02-12 2010-08-19 Novalung Gmbh Vorrichtung zur Behandlung einer biologischen Flüssigkeit

Cited By (1)

* Cited by examiner, † Cited by third party
Publication number Priority date Publication date Assignee Title
JP2912464B2 (ja) 1991-03-12 1999-06-28 ライト工業株式会社 地盤安定工法

Also Published As

Publication number Publication date
JP2010213852A (ja) 2010-09-30

Similar Documents

Publication Publication Date Title
JP4795536B2 (ja) チューブ状バンドルのハウジングへのポッティング
ES2458140T3 (es) Dializador MECS
CN107666921B (zh) 用于处理生物液体的具有入口部分的装置
US20160095969A1 (en) Oxygenator module, oxygenator and production method
JPH0286817A (ja) 中空糸型流体処理装置
JP4026037B2 (ja) 中空糸膜型気液ガス交換装置及びそのガス交換方法
WO2013094533A1 (ja) 中空糸膜モジュールおよびこれに用いられるケーシング筒
US20220409797A1 (en) Extracorporeal blood conditioning devices and methods
JP5347602B2 (ja) 血液処理装置
EP1557185B1 (en) Device for treating blood for extracorporeal circulation
JP5347601B2 (ja) 血液処理装置
CN108697987B (zh) 用于过滤流体的系统和方法
JP4328902B2 (ja) オンライン型大量液置換型血液透析器
JP6382005B2 (ja) 体外循環回路
US11707559B2 (en) Extracorporeal oxygenator with integrated air removal system
WO2016006041A1 (ja) 血液浄化器
CN114053504A (zh) 一种方形医疗血液透析器
JP2000070360A (ja) 中空糸膜型透析器
JP2022103007A (ja) 溶液処理方法および溶液処理装置
JPS6129360A (ja) 透析機能を有した人工肺
CN114053505A (zh) 一种方形血液透析器制作方法以及透析方法
JP4237534B2 (ja) 血液浄化器
JP6184154B2 (ja) 血液浄化器
CN115998975A (zh) 一种透析液流动通路的壳体装置
WO2019077543A1 (en) FLUID TREATMENT DEVICE

Legal Events

Date Code Title Description
A621 Written request for application examination

Free format text: JAPANESE INTERMEDIATE CODE: A621

Effective date: 20120126

A977 Report on retrieval

Free format text: JAPANESE INTERMEDIATE CODE: A971007

Effective date: 20130322

A131 Notification of reasons for refusal

Free format text: JAPANESE INTERMEDIATE CODE: A131

Effective date: 20130328

A521 Request for written amendment filed

Free format text: JAPANESE INTERMEDIATE CODE: A523

Effective date: 20130522

TRDD Decision of grant or rejection written
A01 Written decision to grant a patent or to grant a registration (utility model)

Free format text: JAPANESE INTERMEDIATE CODE: A01

Effective date: 20130723

A61 First payment of annual fees (during grant procedure)

Free format text: JAPANESE INTERMEDIATE CODE: A61

Effective date: 20130805

R150 Certificate of patent or registration of utility model

Ref document number: 5347602

Country of ref document: JP

Free format text: JAPANESE INTERMEDIATE CODE: R150

Free format text: JAPANESE INTERMEDIATE CODE: R150

R250 Receipt of annual fees

Free format text: JAPANESE INTERMEDIATE CODE: R250

R250 Receipt of annual fees

Free format text: JAPANESE INTERMEDIATE CODE: R250

R250 Receipt of annual fees

Free format text: JAPANESE INTERMEDIATE CODE: R250

R250 Receipt of annual fees

Free format text: JAPANESE INTERMEDIATE CODE: R250

R250 Receipt of annual fees

Free format text: JAPANESE INTERMEDIATE CODE: R250

R250 Receipt of annual fees

Free format text: JAPANESE INTERMEDIATE CODE: R250

R250 Receipt of annual fees

Free format text: JAPANESE INTERMEDIATE CODE: R250

R250 Receipt of annual fees

Free format text: JAPANESE INTERMEDIATE CODE: R250

LAPS Cancellation because of no payment of annual fees