JP5340708B2 - 固体電解コンデンサ - Google Patents
固体電解コンデンサ Download PDFInfo
- Publication number
- JP5340708B2 JP5340708B2 JP2008304514A JP2008304514A JP5340708B2 JP 5340708 B2 JP5340708 B2 JP 5340708B2 JP 2008304514 A JP2008304514 A JP 2008304514A JP 2008304514 A JP2008304514 A JP 2008304514A JP 5340708 B2 JP5340708 B2 JP 5340708B2
- Authority
- JP
- Japan
- Prior art keywords
- conductive polymer
- layer
- polymer layer
- solid electrolytic
- polyethylene glycol
- Prior art date
- Legal status (The legal status is an assumption and is not a legal conclusion. Google has not performed a legal analysis and makes no representation as to the accuracy of the status listed.)
- Active
Links
- 239000003990 capacitor Substances 0.000 title claims description 75
- 239000007787 solid Substances 0.000 title claims description 75
- 229920001940 conductive polymer Polymers 0.000 claims description 138
- 239000002202 Polyethylene glycol Substances 0.000 claims description 83
- 229920001223 polyethylene glycol Polymers 0.000 claims description 83
- 239000003792 electrolyte Substances 0.000 claims description 20
- 229910052751 metal Inorganic materials 0.000 claims description 16
- 239000002184 metal Substances 0.000 claims description 16
- 239000000956 alloy Substances 0.000 claims description 8
- 229910045601 alloy Inorganic materials 0.000 claims description 8
- 229920000223 polyglycerol Polymers 0.000 claims description 4
- 239000010410 layer Substances 0.000 description 264
- 239000000243 solution Substances 0.000 description 49
- KAESVJOAVNADME-UHFFFAOYSA-N Pyrrole Chemical compound C=1C=CNC=1 KAESVJOAVNADME-UHFFFAOYSA-N 0.000 description 28
- 229920000128 polypyrrole Polymers 0.000 description 21
- WEVYAHXRMPXWCK-UHFFFAOYSA-N Acetonitrile Chemical compound CC#N WEVYAHXRMPXWCK-UHFFFAOYSA-N 0.000 description 20
- OKTJSMMVPCPJKN-UHFFFAOYSA-N Carbon Chemical compound [C] OKTJSMMVPCPJKN-UHFFFAOYSA-N 0.000 description 20
- 229910052799 carbon Inorganic materials 0.000 description 20
- 239000002736 nonionic surfactant Substances 0.000 description 18
- 239000000178 monomer Substances 0.000 description 17
- BQCADISMDOOEFD-UHFFFAOYSA-N Silver Chemical compound [Ag] BQCADISMDOOEFD-UHFFFAOYSA-N 0.000 description 15
- 229910052709 silver Inorganic materials 0.000 description 15
- 239000004332 silver Substances 0.000 description 15
- 229920001609 Poly(3,4-ethylenedioxythiophene) Polymers 0.000 description 13
- 239000007864 aqueous solution Substances 0.000 description 13
- YMMGRPLNZPTZBS-UHFFFAOYSA-N 2,3-dihydrothieno[2,3-b][1,4]dioxine Chemical compound O1CCOC2=C1C=CS2 YMMGRPLNZPTZBS-UHFFFAOYSA-N 0.000 description 12
- 230000007774 longterm Effects 0.000 description 12
- 238000012360 testing method Methods 0.000 description 12
- 238000006116 polymerization reaction Methods 0.000 description 11
- 238000000034 method Methods 0.000 description 10
- 230000000052 comparative effect Effects 0.000 description 9
- GUCVJGMIXFAOAE-UHFFFAOYSA-N niobium atom Chemical compound [Nb] GUCVJGMIXFAOAE-UHFFFAOYSA-N 0.000 description 9
- 238000002474 experimental method Methods 0.000 description 7
- 229910052758 niobium Inorganic materials 0.000 description 7
- 239000010955 niobium Substances 0.000 description 7
- 238000005259 measurement Methods 0.000 description 6
- BASFCYQUMIYNBI-UHFFFAOYSA-N platinum Chemical compound [Pt] BASFCYQUMIYNBI-UHFFFAOYSA-N 0.000 description 6
- 239000004372 Polyvinyl alcohol Substances 0.000 description 5
- 238000012423 maintenance Methods 0.000 description 5
- 229920002451 polyvinyl alcohol Polymers 0.000 description 5
- RTZKZFJDLAIYFH-UHFFFAOYSA-N Diethyl ether Chemical compound CCOCC RTZKZFJDLAIYFH-UHFFFAOYSA-N 0.000 description 4
- NBIIXXVUZAFLBC-UHFFFAOYSA-N Phosphoric acid Chemical compound OP(O)(O)=O NBIIXXVUZAFLBC-UHFFFAOYSA-N 0.000 description 4
- 150000007960 acetonitrile Chemical class 0.000 description 4
- 239000012790 adhesive layer Substances 0.000 description 4
- ROOXNKNUYICQNP-UHFFFAOYSA-N ammonium persulfate Chemical compound [NH4+].[NH4+].[O-]S(=O)(=O)OOS([O-])(=O)=O ROOXNKNUYICQNP-UHFFFAOYSA-N 0.000 description 4
- PSZYNBSKGUBXEH-UHFFFAOYSA-N naphthalene-1-sulfonic acid Chemical compound C1=CC=C2C(S(=O)(=O)O)=CC=CC2=C1 PSZYNBSKGUBXEH-UHFFFAOYSA-N 0.000 description 4
- 239000011347 resin Substances 0.000 description 4
- 229920005989 resin Polymers 0.000 description 4
- 239000000126 substance Substances 0.000 description 4
- 229910052715 tantalum Inorganic materials 0.000 description 4
- GUVRBAGPIYLISA-UHFFFAOYSA-N tantalum atom Chemical compound [Ta] GUVRBAGPIYLISA-UHFFFAOYSA-N 0.000 description 4
- WABPQHHGFIMREM-UHFFFAOYSA-N lead(0) Chemical compound [Pb] WABPQHHGFIMREM-UHFFFAOYSA-N 0.000 description 3
- 229910052697 platinum Inorganic materials 0.000 description 3
- 238000005033 Fourier transform infrared spectroscopy Methods 0.000 description 2
- RTAQQCXQSZGOHL-UHFFFAOYSA-N Titanium Chemical compound [Ti] RTAQQCXQSZGOHL-UHFFFAOYSA-N 0.000 description 2
- 229910052782 aluminium Inorganic materials 0.000 description 2
- XAGFODPZIPBFFR-UHFFFAOYSA-N aluminium Chemical compound [Al] XAGFODPZIPBFFR-UHFFFAOYSA-N 0.000 description 2
- 229910000147 aluminium phosphate Inorganic materials 0.000 description 2
- 229910001870 ammonium persulfate Inorganic materials 0.000 description 2
- 238000001035 drying Methods 0.000 description 2
- 125000003827 glycol group Chemical group 0.000 description 2
- 229910000484 niobium oxide Inorganic materials 0.000 description 2
- URLJKFSTXLNXLG-UHFFFAOYSA-N niobium(5+);oxygen(2-) Chemical compound [O-2].[O-2].[O-2].[O-2].[O-2].[Nb+5].[Nb+5] URLJKFSTXLNXLG-UHFFFAOYSA-N 0.000 description 2
- 239000007800 oxidant agent Substances 0.000 description 2
- 239000002245 particle Substances 0.000 description 2
- 229920000642 polymer Polymers 0.000 description 2
- 229910052719 titanium Inorganic materials 0.000 description 2
- 239000010936 titanium Substances 0.000 description 2
- FFJCNSLCJOQHKM-CLFAGFIQSA-N (z)-1-[(z)-octadec-9-enoxy]octadec-9-ene Chemical compound CCCCCCCC\C=C/CCCCCCCCOCCCCCCCC\C=C/CCCCCCCC FFJCNSLCJOQHKM-CLFAGFIQSA-N 0.000 description 1
- CMCBDXRRFKYBDG-UHFFFAOYSA-N 1-dodecoxydodecane Chemical compound CCCCCCCCCCCCOCCCCCCCCCCCC CMCBDXRRFKYBDG-UHFFFAOYSA-N 0.000 description 1
- RFVNOJDQRGSOEL-UHFFFAOYSA-N 2-hydroxyethyl octadecanoate Chemical compound CCCCCCCCCCCCCCCCCC(=O)OCCO RFVNOJDQRGSOEL-UHFFFAOYSA-N 0.000 description 1
- QCWXUUIWCKQGHC-UHFFFAOYSA-N Zirconium Chemical compound [Zr] QCWXUUIWCKQGHC-UHFFFAOYSA-N 0.000 description 1
- 238000010521 absorption reaction Methods 0.000 description 1
- 239000012190 activator Substances 0.000 description 1
- 238000004458 analytical method Methods 0.000 description 1
- 239000003989 dielectric material Substances 0.000 description 1
- 238000004817 gas chromatography Methods 0.000 description 1
- 229910052735 hafnium Inorganic materials 0.000 description 1
- VBJZVLUMGGDVMO-UHFFFAOYSA-N hafnium atom Chemical compound [Hf] VBJZVLUMGGDVMO-UHFFFAOYSA-N 0.000 description 1
- 238000010030 laminating Methods 0.000 description 1
- 230000014759 maintenance of location Effects 0.000 description 1
- 239000000463 material Substances 0.000 description 1
- 150000002739 metals Chemical class 0.000 description 1
- 238000000465 moulding Methods 0.000 description 1
- 230000002093 peripheral effect Effects 0.000 description 1
- 229920000123 polythiophene Polymers 0.000 description 1
- 239000000843 powder Substances 0.000 description 1
- 238000001028 reflection method Methods 0.000 description 1
- 238000005245 sintering Methods 0.000 description 1
- 229910052726 zirconium Inorganic materials 0.000 description 1
Images
Landscapes
- Compositions Of Macromolecular Compounds (AREA)
Description
陰極層に接する導電性高分子層がポリエチレングリコールを含有していないことが好ましい。
ピロールを2モル/リットル、ナフタレンスルホン酸を0.1モル/リットル、ポリエチレングリコール(PEG:平均分子量400)を、モノマーであるピロールに対し約0.02重量%となるように含有させたアセトニトリル溶液を調製した。このアセトニトリル溶液中に白金板を浸漬し、この白金板に約1mAの電流を5時間通電し、電解重合法により白金板上にポリピロール(PPy)からなる導電性高分子層を形成した。得られた導電性高分子層のポリピロール中におけるポリエチレングリコールの含有量を、ガスクロマトグラフィー法により定量分析した。その結果、約0.02重量%のポリエチレングリコールがポリピロールからなる導電性高分子層に含有されていた。
(参考例1)
<ステップ1>
平均粒子径約2μmのニオブ粉末を用い、ニオブからなるリード線を埋設させた成形体を作製し、この成形体を約1400℃で焼結させることにより、ニオブからなる陽極リードを埋設させた多孔質焼結体からなる陽極を作製した。この陽極を、約60℃に保持した約0.1重量%のリン酸水溶液中で、約20Vの定電圧で、約10時間陽極酸化して、陽極の表面に主に酸化ニオブからなる誘電体層を形成した。
ステップ1で作製したものを約2モル/リットルのエチレンジオキシチオフェン水溶液中に約10分間浸漬した。その後、酸化剤として約0.5モル/リットルの過硫酸アンモニウムを含む水溶液に約10分間浸漬し、化学重合法によりエチレンジオキシチオフェンを重合させて、ポリエチレンジオキシチオフェン(PEDOT)からなる第1の導電性高分子層を誘電体層上に形成した。
次に、ピロールを約2モル/リットル、ナフタレンスルホン酸を約0.1モル/リットル、ポリエチレングリコール(PEG:平均分子量400)をモノマーであるピロールに対し約0.02重量%含有したアセトニトリル溶液を調製し、このアセトニトリル溶液中にステップ2で作製した陽極を浸漬し、陽極に約1mAの電流を約5時間通電して、電解重合法によりポリエチレングリコールを含むポリピロール(PPy)からなる第2の導電性高分子層を、ポリエチレンジオキシチオフェン(PEDOT)からなる第1の導電性高分子層の上に形成した。
次に、ステップ3で形成したポリピロールからなる第2の導電性高分子層の上に、カーボンペーストを塗布した後乾燥してカーボン層を形成した。またカーボン層の上に銀ペースト層を塗布した後乾燥し、銀ペースト層を形成した。銀ペースト層の上に導電性接着剤層を介して陰極端子を接続すると共に、陽極リード線に陽極端子を接続し、その後モールド樹脂を被覆して、固体電解コンデンサA1を作製した。
参考例1のステップ2において、エチレンジオキシチオフェン水溶液の代わりにピロール水溶液を用いる以外は、参考例1と同様にして、固体電解コンデンサA2を作製した。
参考例1のステップ2において、約2モル/リットルのエチレンジオキシチオフェン及びモノマーであるエチレンジオキシチオフェンに対し約0.02重量%のポリエチレングリコール(PEG:平均分子量400)を用い、ポリエチレングリコールを含有するポリエチレンジオキシチオフェンからなる第1の導電性高分子層を形成する以外は、参考例1と同様にして固体電解コンデンサA3を作製した。
<ステップ1>
平均粒子径約2μmのニオブ粉末を用い、ニオブからなるリード線を埋設した成形体を作製し、この成形体を約1400℃で焼結することにより、陽極リードを埋設させた多孔質焼結体からなる陽極を作製した。この陽極を、約60℃に保持した約0.1重量%のリン酸水溶液中で、約20Vの定電圧で約10時間陽極酸化して、陽極の表面に、主に酸化ニオブからなる誘電体層を形成した。
ステップ1で作製した陽極を、約2モル/リットルのエチレンジオキシチオフェン、及びモノマーであるエチレンジオキシチオフェンに対し約0.02重量%のポリエチレングリコール(PEG:平均分子量400)を含有させた水溶液中に約10分間浸漬した。その後、酸化剤として、約0.5モル/リットルの過硫酸アンモニウムを含む水溶液に約10分間浸漬し、化学重合法によりエチレンジオキシチオフェンを重合させて、ポリエチレングリコール(PEG)を含むポリエチレンジオキシチオフェン(PEDOT)からなる第1の導電性高分子層を誘電体層の上に形成した。
次に、ピロールを約2モル/リットル、ナフタレンスルホン酸を約0.1モル/リットル含むアセトニトリル溶液を調製した。このアセトニトリル溶液に、ステップ2の後の陽極を浸漬し、陽極に約1mAの電流を約5時間通電し、電解重合法により、ポリピロール(PPy)からなる第3の導電性高分子層を、ステップ2で形成したポリエチレンジオキシチオフェン(PEDOT)からなる第1の導電性高分子層の上に形成した。
ピロールを約2モル/リットル、ナフタレンスルホン酸を約0.1モル/リットル、及びモノマーであるピロールに対し約0.02重量%のポリエチレングリコール(PEG:平均分子量400)を含有したアセトニトリル溶液を調製した。このアセトニトリル溶液に、ステップ3の後の陽極を浸漬し、陽極に約1mAの電流を約5時間通電し、電解重合法によりポリエチレングリコールを含むポリピロール(PPy)からなる第2の導電性高分子層を、ステップ3で形成したポリピロール(PPy)からなる第3の導電性高分子層の上に形成した。
次に、ステップ4で形成したポリエチレングリコールを含むポリピロール(PPy)からなる第2の導電性高分子層の上に、カーボンペーストを塗布した後乾燥し、カーボン層を形成した。次に、カーボン層の上に、銀ペーストを塗布した後乾燥し、銀ペースト層を形成した。銀ペースト層に導電性接着剤層を介して陽極端子を接続するとともに、陽極リードに陽極端子を接続し、その後モールド樹脂を被覆して、固体電解コンデンサA4を作製した。
実施例4のステップ2において、ポリエチレングリコールを含まないエチレンジオキシチオフェン溶液を用いてポリエチレンジオキシチオフェン(PEDOT)からなる第1の導電性高分子層を形成する以外は、実施例4と同様にして、固体電解コンデンサA5を作製した。
実施例4のステップ2において、エチレンジオキシチオフェン水溶液の代わりに、ピロール水溶液を用い、ポリエチレングリコールを含むポリピロールからなる第1の導電性高分子層を形成する以外は、実施例4と同様にして、固体電解コンデンサA6を作製した。
実施例4のステップ3において、モノマー水溶液に、モノマーに対し、約0.02重量%のポリエチレングリコール(PEG:平均分子量400)を含有させることにより、ポリエチレングリコールを含有したポリピロール(PPy)からなる第3の導電性高分子層を形成する以外は、実施例4と同様にして、固体電解コンデンサA7を作製した。
参考例1のステップ3において、ポリエチレングリコールを含まないピロール溶液を用いて第2の導電性高分子層を形成する以外は、参考例1と同様にして、固体電解コンデンサX1を作製した。
参考例1のステップ2において、エチレンジオキシチオフェン水溶液の代わりにピロール水溶液を用い、ステップ3においてポリエチレングリコールを含まないピロール溶液を用いた以外は、参考例1と同様にして固体電解コンデンサX2を作製した。
実施例4のステップ2及びステップ4において、ポリエチレングリコールを添加していないエチレンジオキシチオフェン溶液またはピロール水溶液を用い、ポリエチレングリコールを含有していない第1及び第2の導電性高分子層をステップ2及びステップ4において形成する以外は、実施例4と同様にして固体電解コンデンサX3を作製した。
実施例4のステップ4において、ピロールのモノマーにポリエチレングリコールを添加せず、ポリエチレングリコールを含まないポリピロール(PPy)からなる第2の導電性高分子層を形成する以外は、実施例4と同様にして固体電解コンデンサX4を作製した。
導電性高分子層中にポリエチレングリコールが含有されていることについては、フーリエ変換型赤外分光光度計(FT−IR)を用いた反射法による赤外吸収測定により確認した。また、各導電性高分子層中のポリエチレングリコールの含有量は、予備実験からの推定値である。
各実施例、各参考例及び各比較例で作製した固体電解コンデンサを、約105℃中に約500時間保存する試験を行った。固体電解コンデンサのESRの初期値を100%とし、ESRの増大率を以下のようにして算出した。なお、ESRは、周波数約100kHzでLCRメーターを用いて測定した。
また、静電容量の初期の値を100%とし、静電容量維持率を以下のようにして算出した。なお、静電容量は、周波数約120HzでLCRメーターを用いて測定した。
測定結果を表1に示す。
(実施例8〜23)
ここでは、非イオン性界面活性剤の含有量について検討した。実施例4のステップ4において、ポリエチレングリコールの含有量を、約0.005重量%、約0.01重量%、約0.05重量%、約0.10重量%、約0.50重量%、約1.00重量%、約1.20重量%、及び約1.50重量%にそれぞれ変化させた以外には、実施例4と同様にして、固体電解コンデンサB1〜B8を作製した。
(実施例24〜35)
ここでは、非イオン性界面活性剤の種類について検討した。
実施例4のステップ2において、誘電体層上の第1の導電性高分子層を形成する溶液として、ポリエチレングリコールを含む溶液の代わりに、モノマーに対し約0.02重量%のポリグリセリン(PG:平均分子量400)を含む溶液を用いて誘電体層上の第1の導電性高分子層を形成する以外は、実施例4と同様にして固体電解コンデンサC1を作製した。
実施例4のステップ2において、誘電体層上の第1の導電性高分子層を形成する溶液として、ポリエチレングリコールを含む溶液の代わりに、モノマーに対し約0.02重量%のポリビニルアルコール(PVA:平均分子量400)を含む溶液を用いて誘電体層上の第1の導電性高分子層を形成する以外は、実施例4と同様にして、固体電解コンデンサC2を作製した。
実施例4のステップ2において、誘電体層上の第1の導電性高分子層を形成する溶液として、ポリエチレングリコールを含む溶液の代わりに、モノマーに対し約0.02重量%のポリエチレングリコールモノオレイルエーテル(PEGMOE:平均分子量400)を含む溶液を用いて誘電体層上の第1の導電性高分子層を形成する以外は、実施例4と同様にして、固体電解コンデンサC3を作製した。
実施例4のステップ2において、誘電体層上の第1の導電性高分子層を形成する溶液として、ポリエチレングリコールを含む溶液の代わりに、モノマーに対し約0.02重量%のポリエチレングリコールモノラウリルエーテル(PEGMLE:平均分子量400)を含む溶液を用いて誘電体層上の第1の導電性高分子層を形成する以外は、実施例4と同様にして、固体電解コンデンサC4を作製した。
実施例4のステップ2において、誘電体層上の第1の導電性高分子層を形成する溶液として、ポリエチレングリコールを含む溶液の代わりに、モノマーに対し約0.02重量%のポリエチレングリコールモノステアレート(PEGMS:平均分子量400)を含む溶液を用いて誘電体層上の第1の導電性高分子層を形成する以外は、実施例4と同様にして、固体電解コンデンサC5を作製した。
実施例4のステップ2において、誘電体層上の第1の導電性高分子層を形成する溶液として、ポリエチレングリコールを含む溶液の代わりに、モノマーに対し約0.01重量%のポリエチレングリコール(PEG:平均分子量400)及び約0.01重量%のポリグリセリン(PG:平均分子量400)を含む溶液を用いて誘電体層上の第1の導電性高分子層を形成する以外は、実施例4と同様にして、固体電解コンデンサC6を作製した。
実施例4のステップ4において、陰極層側の第2の導電性高分子層を形成する溶液として、ポリエチレングリコールを含む溶液の代わりに、モノマーに対し約0.02重量%のポリグリセリン(PG:平均分子量400)を含む溶液を用いて陰極層側の第2の導電性高分子層を形成する以外は、実施例4と同様にして、固体電解コンデンサC7を作製した。
実施例4のステップ4において、陰極層側の第2の導電性高分子層を形成する溶液として、ポリエチレングリコールを含む溶液の代わりに、モノマーに対し約0.02重量%のポリビニルアルコール(PVA:平均分子量400)を含む溶液を用いて陰極層側の第2の導電性高分子層を形成する以外は、実施例4と同様にして、固体電解コンデンサC8を作製した。
実施例4のステップ4において、陰極層側の第2の導電性高分子層を形成する溶液として、ポリエチレングリコールを含む溶液の代わりに、モノマーに対し約0.02重量%のポリエチレングリコールモノオレイルエーテル(PEGMOE:平均分子量400)を含む溶液を用いて陰極層側の第2の導電性高分子層を形成する以外は、実施例4と同様にして、固体電解コンデンサC9を作製した。
実施例4のステップ4において、陰極層側の第2の導電性高分子層を形成する溶液として、ポリエチレングリコールを含む溶液の代わりに、モノマーに対し約0.02重量%のポリエチレングリコールモノラウリルエーテル(PEGMLE:平均分子量400)を含む溶液を用いて陰極層側の第2の導電性高分子層を形成する以外は、実施例4と同様にして、固体電解コンデンサC10を作製した。
実施例4のステップ4において、陰極層側の第2の導電性高分子層を形成する溶液として、ポリエチレングリコールを含む溶液の代わりに、モノマーに対し約0.02重量%のポリエチレングリコールモノステアレート(PEGMS:平均分子量400)を含む溶液を用いて陰極層側の第2の導電性高分子層を形成する以外は、実施例4と同様にして、固体電解コンデンサC11を作製した。
実施例4のステップ4において、陰極層側の第2の導電性高分子層を形成する溶液として、ポリエチレングリコールを含む溶液の代わりに、モノマーに対し約0.01重量%のポリエチレングリコール(PEG:平均分子量400)及び約0.01重量%のポリグリセリン(PG:平均分子量400)を含む溶液を用いて陰極層側の第2の導電性高分子層を形成する以外は、実施例4と同様にして、固体電解コンデンサC12を作製した。
(実施例36〜53)
ここでは、非イオン性界面活性剤の分子量について検討した。
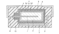
2…陽極
3…誘電体層
4…電解質層
4a…第1の導電性高分子層
4b…第2の導電性高分子層
4c…第3の導電性高分子層
5…カーボン層
6…銀ペースト層
7…導電性接着剤層
8…陽極端子
9…陰極端子
10…モールド外装樹脂
Claims (6)
- 弁作用金属または弁作用金属を主成分とした合金からなる陽極と、
前記陽極の表面上に形成される誘電体層と、
前記誘電体層の上に設けられる3層の導電性高分子層からなる電解質層と、
前記電解質層の上に設けられる陰極層とを備える固体電解コンデンサであって、
前記誘電体層に接する第1の導電性高分子層にポリエチレングリコールが含有されており、前記陰極層に接する第2の導電性高分子層にポリエチレングリコールが含有されており、前記第1の導電性高分子層と第2の導電性高分子層の間に設けた第3の導電性高分子層にはポリエチレングリコールが含有されていないことを特徴とする固体電解コンデンサ。 - 前記第1の導電性高分子層及び/又は前記第2の導電性高分子層における前記ポリエチレングリコールの平均分子量が、100以上1000未満の範囲内であることを特徴とする請求項1に記載の固体電解コンデンサ。
- 前記第2の導電性高分子層中の前記ポリエチレングリコールの含有量が、0.01〜1.0重量%の範囲内であることを特徴とする請求項1又は2に記載の固体電解コンデンサ。
- 前記第1の導電性高分子層中の前記ポリエチレングリコールの含有量が、0.001〜0.05重量%の範囲内であることを特徴とする請求項1〜3のいずれか1項に記載の固体電解コンデンサ。
- 弁作用金属または弁作用金属を主成分とした合金からなる陽極と、
前記陽極の表面上に形成される誘電体層と、
前記誘電体層の上に設けられる少なくとも2層以上の導電性高分子層からなる電解質層と、
前記電解質層の上に設けられる陰極層とを備える固体電解コンデンサであって、
前記陰極層に接する前記導電性高分子層がポリグリセリンを含有していることを特徴とする固体電解コンデンサ。 - 前記陰極層に接する前記導電性高分子層がポリエチレングリコールを含有していないことを特徴とする請求項5に記載の固体電解コンデンサ。
Priority Applications (1)
| Application Number | Priority Date | Filing Date | Title |
|---|---|---|---|
| JP2008304514A JP5340708B2 (ja) | 2008-11-28 | 2008-11-28 | 固体電解コンデンサ |
Applications Claiming Priority (1)
| Application Number | Priority Date | Filing Date | Title |
|---|---|---|---|
| JP2008304514A JP5340708B2 (ja) | 2008-11-28 | 2008-11-28 | 固体電解コンデンサ |
Publications (2)
| Publication Number | Publication Date |
|---|---|
| JP2010129864A JP2010129864A (ja) | 2010-06-10 |
| JP5340708B2 true JP5340708B2 (ja) | 2013-11-13 |
Family
ID=42330041
Family Applications (1)
| Application Number | Title | Priority Date | Filing Date |
|---|---|---|---|
| JP2008304514A Active JP5340708B2 (ja) | 2008-11-28 | 2008-11-28 | 固体電解コンデンサ |
Country Status (1)
| Country | Link |
|---|---|
| JP (1) | JP5340708B2 (ja) |
Families Citing this family (9)
| Publication number | Priority date | Publication date | Assignee | Title |
|---|---|---|---|---|
| JP5273726B2 (ja) * | 2009-04-07 | 2013-08-28 | Necトーキン株式会社 | 固体電解コンデンサおよびその製造方法 |
| DE102011013068A1 (de) | 2011-03-06 | 2012-09-06 | Heraeus Precious Metals Gmbh & Co. Kg | Verfahren zur Verbesserung der elektrischen Kenngrößen in Kondensatoren enthaltend PEDOT/PSS als Feststoffelektrolyt durch Polyglycerin |
| JP5995262B2 (ja) | 2011-03-06 | 2016-09-21 | ヘレウス ドイチェラント ゲーエムベーハー ウント カンパニー カーゲー | Pedot/pssを固体電解質として含有するコンデンサにおける電気パラメータをポリグリセロールによって改善するための方法 |
| DE102013213723A1 (de) * | 2012-07-19 | 2014-01-23 | Avx Corporation | Festelektrolytkondensator mit erhöhter Feucht-zu-Trocken-Kapazität |
| US9548163B2 (en) | 2012-07-19 | 2017-01-17 | Avx Corporation | Solid electrolytic capacitor with improved performance at high voltages |
| DE102013213720A1 (de) | 2012-07-19 | 2014-01-23 | Avx Corporation | Temperaturstabiler Festelektrolytkondensator |
| CN103578768B (zh) * | 2012-07-19 | 2017-10-31 | Avx公司 | 用在电解电容器固体电解质中的非离子表面活性剂 |
| GB2512480B (en) | 2013-03-13 | 2018-05-30 | Avx Corp | Solid electrolytic capacitor for use in extreme conditions |
| JP6967702B2 (ja) * | 2015-12-04 | 2021-11-17 | パナソニックIpマネジメント株式会社 | 電解コンデンサ |
Family Cites Families (6)
| Publication number | Priority date | Publication date | Assignee | Title |
|---|---|---|---|---|
| JP2733618B2 (ja) * | 1989-03-09 | 1998-03-30 | 旭硝子株式会社 | 固体電解コンデンサとその製造方法 |
| JPH0364014A (ja) * | 1989-08-02 | 1991-03-19 | Marcon Electron Co Ltd | 固体電解コンデンサ及びその製造方法 |
| JPH0794367A (ja) * | 1993-09-27 | 1995-04-07 | Nippon Chibagaigii Kk | 固体電解コンデンサーの製造方法 |
| JP3202668B2 (ja) * | 1997-10-21 | 2001-08-27 | 富山日本電気株式会社 | 固体電解コンデンサの製造方法 |
| JP2000012393A (ja) * | 1998-06-25 | 2000-01-14 | Nichicon Corp | 固体電解コンデンサおよびその製造方法 |
| JP2008182098A (ja) * | 2007-01-25 | 2008-08-07 | Sanyo Electric Co Ltd | 固体電解コンデンサ及びその製造方法 |
-
2008
- 2008-11-28 JP JP2008304514A patent/JP5340708B2/ja active Active
Also Published As
| Publication number | Publication date |
|---|---|
| JP2010129864A (ja) | 2010-06-10 |
Similar Documents
| Publication | Publication Date | Title |
|---|---|---|
| JP5340708B2 (ja) | 固体電解コンデンサ | |
| JP4931778B2 (ja) | 固体電解コンデンサ | |
| KR101554049B1 (ko) | 고체 전해 콘덴서 및 그 제조방법 | |
| US8206467B2 (en) | Method for manufacturing a solid electrolytic capacitor | |
| US8771381B2 (en) | Process for producing electrolytic capacitors and capacitors made thereby | |
| US8310815B2 (en) | High voltage and high efficiency polymer electrolytic capacitors | |
| KR101770859B1 (ko) | 고체 전해 컨덴서 | |
| JP5388811B2 (ja) | 固体電解コンデンサおよびその製造方法 | |
| KR102104424B1 (ko) | 고체전해콘덴서의 제조방법 및 고체전해콘덴서 | |
| CN106471592A (zh) | 电解电容器的制造方法 | |
| JP5788282B2 (ja) | 固体電解コンデンサおよびその製造方法 | |
| JP2009505413A (ja) | 固体コンデンサおよびその製造方法 | |
| KR102680000B1 (ko) | 고체 전해 커패시터 및 이의 제조방법 | |
| JP5321964B2 (ja) | 固体電解コンデンサおよびその製造方法 | |
| JP5623214B2 (ja) | 固体電解コンデンサ | |
| JP2010192831A (ja) | 固体電解コンデンサ | |
| JP5020052B2 (ja) | 固体電解コンデンサ | |
| JP6493963B2 (ja) | 固体電解コンデンサ及びその製造方法 | |
| US20160217933A1 (en) | Electrolytic capacitor and manufacturing method for same | |
| JP2006024691A (ja) | 固体電解コンデンサおよびその製造方法 | |
| JP5850658B2 (ja) | 固体電解コンデンサおよびその製造方法 | |
| JP2007173454A (ja) | 固体電解コンデンサ | |
| JP2007281268A (ja) | 固体電解コンデンサおよびその製造方法 | |
| JP4637700B2 (ja) | 固体電解コンデンサおよびその製造方法 | |
| JP2007042732A (ja) | 固体電解コンデンサ |
Legal Events
| Date | Code | Title | Description |
|---|---|---|---|
| A621 | Written request for application examination |
Free format text: JAPANESE INTERMEDIATE CODE: A621 Effective date: 20111027 |
|
| A977 | Report on retrieval |
Free format text: JAPANESE INTERMEDIATE CODE: A971007 Effective date: 20121004 |
|
| A131 | Notification of reasons for refusal |
Free format text: JAPANESE INTERMEDIATE CODE: A131 Effective date: 20121023 |
|
| A521 | Written amendment |
Free format text: JAPANESE INTERMEDIATE CODE: A523 Effective date: 20121213 |
|
| A131 | Notification of reasons for refusal |
Free format text: JAPANESE INTERMEDIATE CODE: A131 Effective date: 20130507 |
|
| A521 | Written amendment |
Free format text: JAPANESE INTERMEDIATE CODE: A523 Effective date: 20130626 |
|
| TRDD | Decision of grant or rejection written | ||
| A01 | Written decision to grant a patent or to grant a registration (utility model) |
Free format text: JAPANESE INTERMEDIATE CODE: A01 Effective date: 20130716 |
|
| A61 | First payment of annual fees (during grant procedure) |
Free format text: JAPANESE INTERMEDIATE CODE: A61 Effective date: 20130807 |
|
| R151 | Written notification of patent or utility model registration |
Ref document number: 5340708 Country of ref document: JP Free format text: JAPANESE INTERMEDIATE CODE: R151 |
