JP5321069B2 - 触媒化学気相成長装置の触媒体支持構造 - Google Patents

触媒化学気相成長装置の触媒体支持構造 Download PDF

Info

Publication number
JP5321069B2
JP5321069B2 JP2009001520A JP2009001520A JP5321069B2 JP 5321069 B2 JP5321069 B2 JP 5321069B2 JP 2009001520 A JP2009001520 A JP 2009001520A JP 2009001520 A JP2009001520 A JP 2009001520A JP 5321069 B2 JP5321069 B2 JP 5321069B2
Authority
JP
Japan
Prior art keywords
catalyst body
catalyst
frame
chemical vapor
vapor deposition
Prior art date
Legal status (The legal status is an assumption and is not a legal conclusion. Google has not performed a legal analysis and makes no representation as to the accuracy of the status listed.)
Expired - Fee Related
Application number
JP2009001520A
Other languages
English (en)
Other versions
JP2010159450A (ja
Inventor
敏一 仁木
Original Assignee
株式会社石川製作所
Priority date (The priority date is an assumption and is not a legal conclusion. Google has not performed a legal analysis and makes no representation as to the accuracy of the date listed.)
Filing date
Publication date
Application filed by 株式会社石川製作所 filed Critical 株式会社石川製作所
Priority to JP2009001520A priority Critical patent/JP5321069B2/ja
Publication of JP2010159450A publication Critical patent/JP2010159450A/ja
Application granted granted Critical
Publication of JP5321069B2 publication Critical patent/JP5321069B2/ja
Expired - Fee Related legal-status Critical Current
Anticipated expiration legal-status Critical

Links

Images

Landscapes

  • Chemical Vapour Deposition (AREA)
  • Drying Of Semiconductors (AREA)

Description

本発明は、触媒化学気相成長装置に使用される触媒体を把持する触媒化学気相成長装置の触媒体支持構造に関する。
触媒化学気相成長法(Catalytic Chemical Vapor Deposition Technique)による触媒化学気相成長装置は、真空容器内に配された所定形状の触媒体を加熱させ、真空容器内に注入した原料ガスを加熱された触媒体に接触させて、加熱された触媒体の表面での接触分解反応によって原料ガスを分解し、分解種を真空容器内で低温に保持された基板に輸送して(堆積させて)薄膜を形成する装置であり、半導体薄膜や高分子薄膜の作製等に広く用いられている(特許文献1)。金属製の触媒体は、通電加熱され高温になり、基板に所定量の薄膜が形成された後に常温に戻されるという冷熱サイクルを繰り返す。
触媒化学気相成長装置の真空容器内では、原料ガスの分解種が低温に保持された基板に輸送されて薄膜が形成されるが、真空容器の内壁や触媒体を把持する把持部材(枠体)にも原料ガスの分解種が付着して付着膜が形成され易く、厚く堆積すると剥離して塵埃となり、基板に付着する不具合となる。このため、真空容器の内壁や触媒体を把持する把持部材に付着した付着膜を定期的に除去(クリーニング)しなければならない。
真空容器内の付着膜除去の方法としては、真空容器内にクリーニングガスを注入して、クリーニングガスと付着膜を反応させて生成された気体状物質を排気することにより付着膜を除去する方法が知られている(特許文献1)。また、半導体加工装置では、真空容器の内壁に予め防着板を取り付けておき、定期的にこれらの防着板を交換することで、真空容器内の清浄度を一定範囲内に保つ方法が知られている(特許文献2)。一方、触媒体を把持する把持部材(枠体)への膜付着防止としては、触媒線を通す通し穴が形成された箱形状の防着カバーを対向配置させて枠体に取り付けることが文献公知となっている(特許文献3)。
特許第3780364号公報 特開2000−164564号公報 特開2002−93723号公報
しかしながら、上記特許文献1記載のクリーニングガスによる付着膜除去方法は、クリーニングガスと付着膜との化学反応を利用しているので、装置内部が複雑な形状をしている連続式触媒化学気相成長装置では、クリーニングガスが隅々まで行き渡らず、装置内壁や把持部材(枠体)に付着した膜を十分に除去することができない。また特許文献2記載の防着板は、単純な形状の真空容器内壁についてのみ適用可能な板状部材である。
特許文献3記載の防着カバーは、図13に示すように、触媒線(発熱体3と記載されている)を通す通し穴が形成された箱形状の防着カバー301と302を対向配置させて触媒線を把持する長方形状の枠体31の短辺側に取り付けるものであり、防着カバー301と302が保護する箇所は触媒線の端部周辺に限定され、枠体31の触媒線端部周辺以外の場所(長辺側)は露出している。このため、枠体31の触媒線端部周辺以外の場所(長辺側)には付着膜が形成されてしまう。しかも、ジグザグ状や狭間隔で複数配線された触媒線に振動や衝撃を加えずに防着カバーを四角形状の枠体31に取り付けたり、四角形状の枠体31から取り外したりすることは容易ではない。例えば、触媒線として、一般に、タングステンワイヤが使用されているが、通電加熱され高温で赤熱したタングステンワイヤはいったん柔らかくなり、使用後に常温に戻されると、熱処理されることで脆くなってしまう。したがって、加熱されて常温に戻されたタングステンワイヤに振動や衝撃が加わると、容易に破断する場合があり、破断すると再使用できなくなってしまう。
上述のように、触媒体を把持する把持部材(枠体)への付着膜の除去に対しては、従来、有効な対策がなく、基板又は基材フィルムへの膜形成を1〜数ロット処理する毎に、把持部材を分解洗浄しなければならず、分解の過程で振動や衝撃により破断した触媒体(触媒線)を破棄しているのが実情である。しかし、触媒体を把持する把持部材(枠体)を分解・洗浄して、再組み立てするため、多大な労力が費やされる。
そこで本発明の目的は、脱着が容易な防着ユニットを備えることで、触媒体を把持する把持部材への膜付着を防止し、装置洗浄前後の脱着の際に触媒体を破断させることなく、触媒体の長期的繰り返し使用を可能とする触媒化学気相成長装置の触媒体支持構造を提供することにある。
本発明の触媒化学気相成長装置の触媒体支持構造は、所定間隔で配される触媒体を介して向かい合う一対の枠構成部材と、前記触媒体の両側をそれぞれ把持しつつ前記枠構成部材とは電気絶縁された状態で前記触媒体に通電する電気回路を構成する複数の導電金具と、向かい合う導電金具のうち一方の導電金具を他方の導電金具から離す方向に押す圧縮コイルばねと、前記導電金具と電気絶縁された状態で前記枠構成部材を覆う防着ユニットを備え、前記圧縮コイルばねが前記枠構成部材に内蔵されており、前記圧縮コイルばねを通電することなく前記触媒体に通電する構成とされ、前記防着ユニットは、前記触媒体の軸付近を境目として前記触媒体の軸と略垂直方向に上下に分割する上側部材と下側部材からなり、これら上側部材と下側部材とが前記触媒体に非接触の状態で組み合わさっていることを特徴とする。
本発明によれば、前記防着ユニットが前記触媒体の軸付近を境目として前記触媒体の軸と略垂直方向に上下に分割する上側部材と下側部材からなることで、前記防着ユニットの上側部材又は下側部材を前記触媒体に非接触の状態で触媒化学気相成長装置に着脱自在に取り付けることができる。そして、ケース状の前記防着ユニットの上側部材と下側部材を互いに嵌め合う嵌め合い構造とすれば、前記触媒体の軸付近を除く前記把持部材の周囲を、隙間無く覆うことが容易である。したがって、堆積する薄膜から枠体の一部を構成する把持部材の防着が図られる。
本発明は、例えば、触媒化学気相成長装置の真空容器内の原料ガスの流路を形成するため所定間隔で形成された2つの支柱(側壁)に各前記防着ユニットの下側部材を取り付けておき、着脱自在に前記枠構成部材同士の間隔を固定する橋渡し部材を取り付けた状態で各前記防着ユニットの下側部材に前記枠構成部材を取り付け、そして、前記橋渡し部材を取り外し、その後、前記防着ユニットの上側部材を取り付けて前記枠構成部材を覆
本発明によれば、前記橋渡し部材を取り外した場合、成膜時において所定のスペースが確保されるため、真空容器内に注入した原料ガスの流路を拡げることが可能となり、原料ガスの前記触媒体への接触反応を良好に保つとともに、前記触媒体で発生した堆積種が前記橋渡し部材に付着して失活することがなく、堆積種が確実に基板へ到達し、材料効率や堆積速度を向上させることが可能となる。従来、流路を確保するために、大きなサイズの触媒体支持枠体が必要であったが、本発明によれば、前記触媒体及び前記枠構成部材の脱着が、小さいサイズの触媒体支持枠体でも可能となり、軽量で交換容易であるとともに、装置設計の自由度が増える。また、従来の四角形状の枠体とは異なり、本発明では前記橋渡し部材を取り外して使用することから、前記橋渡し部材に薄膜が堆積することがない。
本発明によれば、向かい合う導電金具のうち一方の導電金具を他方の導電金具から離す方向に押す圧縮コイルばねによって、前記触媒体の垂下を防止する張力が前記触媒体に付与されるため、前記触媒体の通電加熱時においても、前記触媒体の変形(ダレ)がない。このため、前記触媒体が、前記触媒体を通す前記把持部材の窪み部と接触して断線することもなく、前記把持部材の窪み部のサイズを小さくすることができる。したがって、前記把持部材の窪み部からの原料ガスの侵入を最小限に抑えることができ、前記把持部材への膜付着が最小限に抑えられる。
本発明は、前記触媒体が棒材からなることが好ましい。
従来、前記触媒体としては、線材からなる触媒線がスプール状(リール状)で市販されており、このスプール状の線材からなる触媒線を、真っ直ぐになるように引っ張って使用している。スプール状の線材からなる触媒線は、メーカーの製造工程にてスプール状(リール状)に曲げており、使用時点では既に弓なりに曲っているため、高温で撓みやすく形状安定性(ノンサグ性)に劣る。また、スプール状の線材からなる触媒線の軸方向に張力を与えるためには、弓なりに曲った触媒線を真っ直ぐになるよう引っ張らなければならず、余分に張力を与えて引っ張ることになる。本発明によれば、前記触媒体が棒材からなることで、スプール状の線材からなる触媒体に比べて小さな張力で真っ直ぐに引っ張ることができる。また、棒材からなる触媒体は形状安定性に優れており、真っ直ぐな状態を維持することが容易である。なお本明細書では、材料面から見た棒材のみならず、スプール状(リール状)に曲げ加工する工程を有しない触媒体を棒材と表現している。
本発明は、前記触媒体が真っ直ぐな棒状又は真っ直ぐな線状の触媒体であることが好ましい。前記触媒体の形状としては、棒状又は線状、コイル状、板状又は箔状、メッシュ状が挙げられる。前記触媒体が真っ直ぐな棒状又は真っ直ぐな線状の触媒体であることで、前記導電金具で前記触媒体をピンと張ることが容易である。
本発明によれば、前記防着ユニットが前記触媒体の軸付近を境目として前記触媒体の軸と略垂直方向に上下に分割する上側部材と下側部材からなることで、前記防着ユニットの上側部材又は下側部材を前記触媒体に非接触の状態で触媒化学気相成長装置に着脱自在に取り付けることができる。そして、ケース状の前記防着ユニットの上側部材と下側部材を互いに嵌め合う嵌め合い構造とすれば、前記触媒体の軸付近を除く前記把持部材の周囲を、隙間無く覆うことが容易である。したがって、堆積する薄膜から枠体の一部を構成する把持部材の防着が図られる。
本発明によれば、前記橋渡し部材を取り外した場合、成膜時において所定のスペースが確保されるため、真空容器内に注入した原料ガスの流路を拡げることが可能となり、原料ガスの前記触媒体への接触反応を良好に保つとともに、前記触媒体で発生した堆積種が前記橋渡し部材に付着して失活することがなく、堆積種が確実に基板へ到達し、材料効率や堆積速度を向上させることが可能となる。従来、流路を確保するために、大きなサイズの触媒体支持枠体が必要であったが、本発明によれば、前記触媒体及び前記枠構成部材の脱着が、小さいサイズの触媒体支持枠体でも可能となり、軽量で交換容易であるとともに、装置設計の自由度が増える。また、従来の四角形状の枠体とは異なり、本発明では前記橋渡し部材を取り外して使用することから、前記橋渡し部材に薄膜が堆積することがない。
本発明によれば、向かい合う導電金具のうち一方の導電金具を他方の導電金具から離す方向に押す圧縮コイルばねによって、前記触媒体の垂下を防止する張力が前記触媒体に付与されるため、前記触媒体の通電加熱時においても、前記触媒体の変形(ダレ)がない。このため、前記触媒体が、前記触媒体を通す前記把持部材の窪み部と接触して断線することもなく、前記把持部材の窪み部のサイズを小さくすることができる。したがって、前記把持部材の窪み部からの原料ガスの侵入を最小限に抑えることができ、前記把持部材への膜付着が最小限に抑えられる。
したがって、脱着が容易な防着ユニットを備えることで、触媒体を把持する把持部材への膜付着を防止し、装置洗浄前後の脱着の際に触媒体を破断させることなく、触媒体の長期的繰り返し使用を可能とする触媒化学気相成長装置の触媒体支持構造が実現する。
本発明を適用した実施形態の防着ユニットを取り付けた触媒体支持構造を示す斜視図である。 上記実施形態の防着ユニットの取り付け過程を示す斜視図である。 上記実施形態の防着ユニットの取り付け過程を示す斜視図である。 上記実施形態の防着ユニットの取り付け過程を示す斜視図である。 上記実施形態の防着ユニットの取り付け過程を示す斜視図である。 上記実施形態の防着ユニットの取り付け過程を示す斜視図である。 本発明を適用した他の実施形態の防着ユニットを取り付けた触媒体支持構造を示す斜視図である。 上記実施形態の防着ユニットの取り付け過程を示す斜視図である。 上記実施形態の防着ユニットの取り付け過程を示す斜視図である。 本発明の触媒体支持構造が適用される触媒化学気相成長装置の一例を示す断面図である。 本発明の触媒体支持構造が適用される触媒体支持枠の一例を示す構造図である。 上記触媒体支持枠の触媒体支持構造部分を抜き出して示す構造図である。 従来の触媒体支持枠と防着カバーを示す斜視図である。
以下、本発明を実施するための最良の形態を図面を引用しながら説明する。
(触媒化学気相成長装置)
最初に、本発明の触媒体支持構造が適用される触媒化学気相成長装置の概要について説明する。図10は、連続式の触媒化学気相成長装置を示す断面図である。触媒化学気相成長装置100は、筐体(真空容器)103と、筐体103の下方から原料ガスを供給する原料ガス供給手段102と、電力線111を介して電力供給手段101に接続して通電加熱する触媒体4と、触媒体4を張架する把持部材と、把持部材を防着する防着ユニット1と、成膜する基材フィルム107を成膜エリアに引き出して、成膜した基材フィルム117を巻き取るローラ機構105と、筐体103の下方に接続され使用済みの原料ガスを排気する排気手段(真空ポンプ)104を備える。矢印aは、原料ガスの流れを示す。原料ガス供給手段102から供給された原料ガスは、多数のガス吹き出し孔122を有するガス供給器112から真空容器103内に放出される。ローラ機構105は、3つのローラ105A,105B,105Cと複数のテンションローラ115(図5では2つのテンションローラ)からなる。巻装ローラ105Aに予め巻装された基材フィルム107は、触媒体4近傍の成膜エリアに引き出されて冷却ローラ105Bに密着され、基材フィルム107の始端部が巻取りローラ105Cに巻き取られる。冷却ローラ105Bには冷却手段が備わり、基材フィルム107を低温に保持することで、分解された高温ガスを基材フィルム107上に成膜させる。そして、成膜済みの基材フィルム117が巻取りローラ105Cに巻き取られる。テンションローラ115は、基材フィルム107(及び117)に所定のテンションをかけることで、基材フィルム107(及び117)に皺が寄らないようにする。基材フィルム107は、フィルム状の基板を使用したり、板状の基板を搬送フィルムに貼り付けて使用する。
次に、本発明の触媒体支持構造が適用される触媒化学気相成長装置による成膜手順を以下に説明する(図10を参照)。先ず、巻装ローラ105Aに予め巻装された基材フィルム107を触媒体4近傍の成膜エリアに引き出して冷却ローラ105Bに密着させ、基材フィルム107の始端部を巻取りローラ105Cに巻き取らせる。次にダクト114を介して真空容器103に接続された真空ポンプ104にて真空容器103を所定の真空度に真空引きする。そして張架された触媒体4を通電加熱する。例えば触媒体4としてタングステンワイヤを使用する場合、通電により1800℃に加熱して、ガス供給器112から原料ガスを真空容器103内に放出させ、加熱した触媒体4に原料ガスを接触させて、触媒体4の表面での接触分解反応によって原料ガスを分解し、分解種を低温に保持した冷却ローラ105B上の基材フィルム107の露出面に輸送して(堆積させて)薄膜を形成して、成膜した基材フィルム117を巻取りローラ105Cにて連続的に巻き取らせる。残ったガスは、真空ポンプ104にて機外に排出される(矢印aを参照)。規定量の成膜が終了すると、原料ガス供給手段102から真空容器103への原料ガスの供給を停止し、電力供給手段101から触媒体4への電力供給を停止する。そして真空ポンプ104を停止して、所定の気体(空気や窒素等)を真空容器103に注入して大気圧とし、巻取りローラ105Cに巻き取らせた成膜済みの基材フィルム117を機外に取り出す。
次に、本発明の触媒体支持構造が適用される触媒化学気相成長装置のクリーニング手順を以下に説明する(図10を参照)。成膜が完了した後、装置内のクリーニング作業を行う。先ず、電力線111と触媒体4に電気接続する電力プレートの結線を切り離し、触媒体4及び触媒支持枠2とその防着ユニット1を、後述する取り外し方法で取り外して機外に取り出す。次に、真空容器103の内壁やローラ機構105に取り付けられた防着板(図示せず)を取り外して機外に取り出す。掃除機、ブロア、手拭等の清掃手段を用いて防着板から落ちた塵を装置内より除去する。次に装置内壁やローラ機構105に新しい防着板を取り付け、前回まで使用していた触媒体4及び触媒体支持枠を引き続き使用して、新しい防着ユニット1を後述する所定の方法で装置内部に取り付け、電力線111と電極プレートを結線する。そして、巻装ローラ105Aに基材フィルム107を装填する。以下、成膜手順と洗浄手順を繰り返す。そして、取り外された防着板や、防着ユニット1は、ブラスト処理や酸洗浄によって、表面に付着した膜を取り除き、純水洗浄と乾燥を行い、塵のない状態に再生する。
(触媒体支持枠)
次に、本発明の触媒体支持構造に使用される触媒体支持枠2の構造について説明する。図11(a)は、本実施形態の触媒体支持枠を示す正面図であり、図11(b)は、その側面図である。本実施形態の触媒体支持枠2は、断面四角形状で棒状の橋渡し部材80と断面四角形状で棒状の枠体21(20)をそれぞれ2つずつ対向配置させて、ネジ、ボルト等の固定手段により固定して組み合わせた四角形状の枠である(図11(a))。触媒体4は、断面円形状で軸方向に真っ直ぐな棒形状の単線であり、図11(a)では触媒体4がそれぞれ平行となる位置で、隣り合う触媒体4同士の中心間隔だけずらした位置で向かい合って配された同一形状の1対の導電金具50(51と52)にて触媒体4がそれぞれ2本ずつ把持されている。そして橋渡し部材80に近接した導電金具53に触媒体4がそれぞれ1本ずつ把持されている。本実施形態では合計6本の触媒体4が触媒体支持枠2に張架されている。そして、一方側の枠体21には、触媒体4を張架する方向に張力を与える複数のスプリング6が内蔵されている(図11(a))。
スプリング6は、耐熱性金属又はセラミックスからなる圧縮コイルばねであり、図11(a)ではスプリング6が2本それぞれ平行となる位置で枠体21に内蔵され、スプリング6に近い側の導電金具51をスプリング6に遠い側の導電金具52、53から離す方向に押す配置構成となっている。一方の導電金具53は、電力線111を介して電力供給手段101の負電位側に接続され、他方の導電金具53は、電力線111を介して電力供給手段101の正電位側に接続され、触媒体4を通電する電気回路を構成する。枠体21はアルミナなどのセラミックス、又はステンレスなどの金属製であり、少なくとも導電金具50(51、52、53)との接触面は、電気絶縁される。橋渡し部材80は寸法安定性のよいセラミックスや金属、或いはプラスチックからなる。
導電金具50はステンレスやモリブデン等の、高融点で低電気抵抗の金属材料からなる。図11では、触媒体4は直列に電気接続されている。本実施形態は、枠体21に内蔵され触媒体4を張架する方向に張力を与えるスプリング6が、枠体21を挟んで向かい合って配されて触媒体4を把持すると共に触媒体4を通電する電気回路を構成する複数の導電金具50のうちの少なくとも一方の導電金具51を他方の導電金具52、53から離す方向に押すことで、触媒体4を張架する方向にのみ張力を与える。なお、図11では、スプリング6が導電金具51側の枠体21にのみ内蔵されているが、スプリング6が導電金具52、53側の枠体21にのみ内蔵されていてもよく、両側の枠体21,21にそれぞれ内蔵されていてもよい。本実施形態では、触媒体4が直列に電気接続されているが、触媒体4が並列に電気接続されていてもよい。
図12は、本実施形態の触媒体支持枠2から触媒体支持構造部分を抜き出し拡大して示す構造図である。図12(a)は触媒体支持構造部分を上方側から見た正面図であり、図12(b)は触媒体支持構造部分を上方側からその内部を示す断面図であり、図12(c)は触媒体支持構造部分を分解して上方側から見た正面図である。導電金具51(50)は、本体511と、本体511とで触媒体4を挟んで把持する板状部材516からなり、ボルト7で本体511と板状部材516を締め付けて触媒体4を把持する(図12(c))。導電金具51の本体511には所定間隔で枠体21の方向に突出した1対の管状部分512が形成され、枠体21の当該管状部分512に対応する位置には、管状部分512の外周よりも大きい内周の貫通穴212が形成され、この1対の貫通穴212に管状部分512が非接触で挿入される(図12)。そして導電金具51の管状部分512の先端から位置決めガイド部514の側面(管状部分512の反対側の面)までは、触媒体4を挿通するための挿通穴5121が形成されている。挿通穴5121の内径は、触媒体4の外径よりも若干大きく、触媒体4は、非接触で挿通穴5121に挿入される(図12)。板状部材516が取り付けられる本体511の所定箇所には、上記挿通穴5121と連続して、断面が半円形の溝形状部5122が形成される(図12(c))。管状部分512の先端の挿通穴5121に触媒体4の端部を挿通し、位置決めガイド部514を突き抜けて溝形状部5122をほぼ横断させると、溝形状部5122にて触媒体4の上半分が上方に突出した形となり、導電金具51の本体511と板状部材516とで、触媒体4を挟持する。そして板状部材516は、板状部材516の厚みに応じた高さだけ本体511から上方に突出した位置決めガイド部514にて位置決めされ、ボルト7により締め付けられて固定される(図12(a))。導電金具52は導電金具51と同一であり、触媒体4を2本把持する。導電金具53は触媒体4を1本把持する以外は、導電金具51と同様の構造である。
従来、触媒体4の一種であるタングステンワイヤが、原料ガスの一種であるシランガスと反応してシリコン化合物を生成する現象(シリサイド化)が知られており、このシリサイド化によって触媒体4の抵抗値が下がり発熱量が減少して、成膜速度が低下する不具合が確認されている。このシリサイド化は、触媒体温度の低い触媒体4の端部から進行する。本実施形態によれば、触媒体4が非接触で導電金具51の管状部分512に形成された管状部分512より若干径の大きい貫通穴5121に挿入されることで、導電金具の凸状部分が触媒体の端部への原料ガスの侵入を抑制し、仮に原料ガスが侵入してきたとしても、触媒体4の端部に到達する前に分解されてしまうので、触媒体温度の低い触媒体4の端部のシリサイド化を防止することができる。また、触媒体4の端部付近が挿通された導電金具51(50)の本体511の管状部分512が枠体21に形成された貫通穴212に非接触で挿入されるため、通電加熱され発熱した触媒体4から枠体21への熱伝導が抑えられる。導電金具51(50)は、所定間隔で枠体21の方向に突出した1対の円柱状部分(凸状部分)513が備わり、当該円柱状部分513の外周には、円柱状部分513の外周よりも大きい内周を有する圧縮コイルばね6が挿入される(図12)。枠体21の当該円柱状部分513に対応する位置には、圧縮コイルばね6の外周よりも大きい内周であって圧縮コイルばね6の全長よりも浅い位置に窪み部分213が形成され、かつ、圧縮コイルばね6の内周よりも小さい内周であって円柱状部分513の全長よりも深い位置に窪み部分214が形成され、これら窪み部分213と214の中心軸は同一であり、これら窪み部分213と214とに円柱状部分513が挿入される(図12)。本実施形態によれば、所定間隔で配された2つの触媒体4の一方が導電金具50の一方に把持され、所定間隔で配された2つの圧縮コイルばね6が導電金具50の少なくとも一方を押す構成となる。圧縮コイルばね6は、部品の加工ばらつきや熱履歴等によって必ずしも軸方向のみに伸縮せずに軸方向以外の方向にも若干伸縮することがあり、いわゆる捩れが生じることがある。本実施形態によれば、圧縮コイルばね6が捩れた場合でも、導電金具50の一方に所定間隔で把持された2つの触媒体4がそれぞれ均等な張力で平行になるように引っ張られ、触媒体4同士が接触してショートすることがない。
また、本実施形態の触媒体4は、棒材からなり、従来のスプール状の線材からなる触媒体に比べて小さな張力で真っ直ぐに引っ張ることができる。また、棒材からなる触媒体4は形状安定性に優れており、真っ直ぐな状態を維持することが容易である。
(本発明の第1の実施形態)
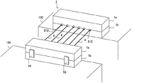
本発明の第1の実施形態の触媒化学気相成長装置の防着ユニット、並びに防着ユニットを備えた触媒体支持構造、及び防着ユニットの取り付け方法について、以下に説明する。図1は、本実施形態の防着ユニットを取り付けた触媒体支持構造を示す斜視図である。図2から図4は、防着ユニットの取り付け過程を示す斜視図である。
本実施形態の防着ユニット1は、触媒化学気相成長装置100の真空容器内の原料ガスの流路を形成するために、所定間隔で形成された2つの支柱(側壁)130,130に、それぞれ取り付けられ、所定形状の触媒体4の端部を把持する把持部材20を覆うものである(図1)。触媒体4は、断面円形状で軸方向に真っ直ぐな棒形状の単線であり、それぞれ平行となる位置で把持部材20によって把持されている。触媒体4の端部と把持部材20との境目の箇所には、シリサイド化防止の筒状体512が付加されており、片側に配置された防着ユニット1の触媒体4の反対側には、触媒体4に通電するための1組の電極プレート55が付加されている(図1)。防着ユニット1は、上側部材1aと下側部材1bからなり、上側部材1aと下側部材1bとは、触媒体4の軸付近を境目として触媒体4の軸と略垂直方向に分割する(図1)。上側部材1aと下側部材1bは、アルミナ、ジルコニアなどの耐熱性の絶縁性セラミックス、又は電気回路と接触する部分が絶縁加工されたステンレス、モリブデンなどの耐熱性の金属からなる。
本実施形態の防着ユニット1の取り付け手順について、以下に説明する。まず、所定間隔で形成された2つの支柱(側壁)130,130に、下側部材1bを支柱130に固定するためのブラケットを取り付ける等して、2つの下側部材1bを、半円形状の窪み部11を向かい合わせに配置して、それぞれ支柱130に固定する(図1)。その一方で、1組の把持部材20に、把持部材20同士の間隔を保つための橋渡し部材80を、ネジ、六角ボルト等の固定金具9によって取り付けて、触媒体4を張架させる(図2)。そして、予め設置された2つの防着ユニット1の下側部材1bに把持部材20の下側半分をそれぞれ収納する(図3)。防着ユニット1の下側部材1bの内側サイズは、把持部材20が丁度収まるサイズとなっている。所定間隔で配された触媒体4と把持部材20との境目には、下側部材1bに形成された半円形状の窪み部11が形成されており、防着ユニット1が触媒体4に非接触となる窓となる。
そして、防着ユニット1の下側部材1bに把持部材20の下側半分を収納した後、1組の電極プレート55をネジ、六角ボルト等の固定金具19によって取り付ける。電極プレート55はL字形状を呈しており、L字形状の一辺を固定金具19にて把持部材20に取り付けて、導電金具50を介して触媒体4と電気接続させ、L字形状の他辺を下側部材1bの外側に突出させ、引き出し電極とする(図3)。電極プレート55は、ステンレスやモリブデン等の、高融点で低電気抵抗の金属材料からなる。次に、橋渡し部材80の固定金具9を緩めて橋渡し部材80を取り外し、2つの防着ユニット1の上側部材1aを把持部材20の上側半分に取り付ける(図4)。ここで電極プレート55が取り付けられている側の上側部材1aには、電極プレート55を逃がすための四角形状の溝(切り欠き)12が形成されている(図4)。本実施形態の防着ユニット1によれば、防着ユニット1には筒状体512を突出させるための窪み部11と電極プレートを引き出すための溝12が形成されるのみであり、防着ユニット1を把持部材20に取り付けることで把持部材20を完全に覆うことができる。
図5と図6は、上記実施形態の他の例による防着ユニットの取り付け過程を示す斜視図である。本実施形態の防着ユニット1の上側部材1aは、半円形状の窪み部11のある面以外の面を下方に延長させる延長部材13を備え(図5,図6)、上側部材1aの内側寸法は、下側部材1bの外側寸法よりも僅かに大きい寸法に設定される。本実施形態によれば、防着ユニット1の上側部材1aが下側部材1bに嵌め合わされ、上側部材1aの延長部材13が下側部材1bの外周の約3/4を覆う構造となり、上側部材1aと下側部材1bとの隙間をほとんどなくすことができる。
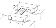
(本発明の第2の実施形態)
本発明の第2の実施形態の触媒化学気相成長装置の防着ユニット、並びに防着ユニットを備えた触媒体支持構造、及び防着ユニットの取り付け方法について、以下に説明する。図7は、本実施形態の防着ユニットを取り付けた触媒体支持構造を示す斜視図である。図8と図9は、上記防着ユニットの取り付け過程を示す斜視図である。
本実施形態の防着ユニット1は、所定形状の触媒体4の端部を把持する触媒体支持枠2から橋渡し部材80を取り外すことなく、そのままの形で、触媒体支持枠2を覆うものである(図7)。防着ユニット1は、その中央部が開放された窓枠形状の上側部材1aと下側部材1bからなり、上側部材1aと下側部材1bとは、触媒体4の軸付近を境目として触媒体4の軸と略垂直方向に分割する(図7)。
本実施形態の防着ユニット1の取り付け手順について、以下に説明する。まず、所定間隔で形成された2つの支柱(側壁)130,130に、下側部材1bを支柱130に固定するためのブラケットを取り付ける等して、固定する(図8)。そして、触媒体支持枠2の下側半分を防着ユニット1の下側部材1bに収納する(図9)。防着ユニット1の下側部材1bの内側サイズは、把持部材20が丁度収まるサイズとなっている。所定間隔で配された触媒体4と把持部材20との境目には、下側部材1bに形成された半円形状の窪み部11が形成されており、防着ユニット1は、触媒体4に非接触である。
そして、1組の電極プレート55をネジ、六角ボルト等の固定金具19によって取り付ける。電極プレート55はL字形状を呈しており、L字形状の一辺を固定金具19にて把持部材20に取り付けて、導電金具50を介して触媒体4と電気接続させ、L字形状の他辺を下側部材1bの外側に突出させ、引き出し電極とする(図9)。電極プレート55は、ステンレスやモリブデン等の、高融点で低電気抵抗の金属材料からなる。次に、防着ユニット1の上側部材1aを触媒体支持枠2の上側半分に取り付ける(図9)。本実施形態の防着ユニット1によれば、触媒体支持枠2から橋渡し部材80を取り外すことなく、そのままの形で、触媒体支持枠2を覆うことができるので、取り付や取り外しが容易である。
以上、本発明は、上述した実施の形態に限定されるものではない。例えば円環状の触媒体支持枠にも本発明が適用できる。また、取り付け方法においても例示しているものであり、例えば防着ユニットの装置内での交換が難しい場合には、あらかじめ装置の外部で支柱と同じ間隔で取り付ける冶具或いはガス放出板の一部を準備しておき、この上で上述した実施の形態と同様に防着ユニット内に把持部材を収納してから、装置内へ設置しても良い。設置後、冶具を取り外すか、ガス流路の妨げにならない場合には、冶具を付けたままでも良い。装置内部の作業スペースが狭い場合には、把持部材を防着ユニットから取り外すとき、作業中に触媒体が装置内壁等に接触して破断する危険があるため、機外で防着ユニットを交換するほうが作業し易い。このように、本発明は、その趣旨を逸脱しない範囲で適宜変更が可能であることは言うまでもない。
1 防着ユニット、
1a 防着ユニットの上側部材、
1b 防着ユニットの下側部材、
2 触媒体支持枠、
20 枠構成部材(把持部材、枠体)、
4 触媒体、
50、51、52、53 導電金具、
55 電極プレート、
圧縮コイルばね(スプリング)、
80 橋渡し部材、
100 触媒化学気相成長装置、
130 支柱(側壁)

Claims (1)

  1. 所定間隔で配される触媒体を介して向かい合う一対の枠構成部材と、前記触媒体の両側をそれぞれ把持しつつ前記枠構成部材とは電気絶縁された状態で前記触媒体に通電する電気回路を構成する複数の導電金具と、向かい合う導電金具のうち一方の導電金具を他方の導電金具から離す方向に押す圧縮コイルばねと、前記導電金具と電気絶縁された状態で前記枠構成部材を覆う防着ユニットを備え、前記圧縮コイルばねが前記枠構成部材に内蔵されており、前記圧縮コイルばねを通電することなく前記触媒体に通電する構成とされ、前記防着ユニットは、前記触媒体の軸付近を境目として前記触媒体の軸と略垂直方向に上下に分割する上側部材と下側部材からなり、これら上側部材と下側部材とが前記触媒体に非接触の状態で組み合わさっていることを特徴とする触媒化学気相成長装置の触媒体支持構造。
JP2009001520A 2009-01-07 2009-01-07 触媒化学気相成長装置の触媒体支持構造 Expired - Fee Related JP5321069B2 (ja)

Priority Applications (1)

Application Number Priority Date Filing Date Title
JP2009001520A JP5321069B2 (ja) 2009-01-07 2009-01-07 触媒化学気相成長装置の触媒体支持構造

Applications Claiming Priority (1)

Application Number Priority Date Filing Date Title
JP2009001520A JP5321069B2 (ja) 2009-01-07 2009-01-07 触媒化学気相成長装置の触媒体支持構造

Publications (2)

Publication Number Publication Date
JP2010159450A JP2010159450A (ja) 2010-07-22
JP5321069B2 true JP5321069B2 (ja) 2013-10-23

Family

ID=42576832

Family Applications (1)

Application Number Title Priority Date Filing Date
JP2009001520A Expired - Fee Related JP5321069B2 (ja) 2009-01-07 2009-01-07 触媒化学気相成長装置の触媒体支持構造

Country Status (1)

Country Link
JP (1) JP5321069B2 (ja)

Families Citing this family (1)

* Cited by examiner, † Cited by third party
Publication number Priority date Publication date Assignee Title
DE102011018324A1 (de) * 2011-04-20 2012-10-25 Forschungszentrum Jülich GmbH Heißdrahtverfahren zur Abscheidung von Halbleiter-Material auf einem Substrat und Vorrichtung zur Durchführung des Verfahrens

Family Cites Families (4)

* Cited by examiner, † Cited by third party
Publication number Priority date Publication date Assignee Title
JPH0620963A (ja) * 1991-12-17 1994-01-28 Matsushita Electric Ind Co Ltd 真空薄膜堆積装置
JP4435395B2 (ja) * 2000-09-14 2010-03-17 キヤノンアネルバ株式会社 発熱体cvd装置
JP4373723B2 (ja) * 2003-06-27 2009-11-25 信越半導体株式会社 シリンダ型気相成長装置
JP4004510B2 (ja) * 2005-03-23 2007-11-07 有限会社マテリアルデザインファクトリ− 触媒cvd装置

Also Published As

Publication number Publication date
JP2010159450A (ja) 2010-07-22

Similar Documents

Publication Publication Date Title
JP3780364B2 (ja) 発熱体cvd装置
CN102308675B (zh) 用于等离子体工艺的接地回流路径
KR100817644B1 (ko) 기판 처리 장치
KR100688838B1 (ko) 촉매 화학기상증착장치 및 촉매 화학기상증착방법
JP3787816B2 (ja) 発熱体cvd装置
CN101246835A (zh) 基片支架组件
JP5321069B2 (ja) 触媒化学気相成長装置の触媒体支持構造
JP2000303182A (ja) 化学蒸着装置
JP2005129318A (ja) プラズマディスプレイ装置の解体方法および解体装置
JP4435395B2 (ja) 発熱体cvd装置
KR20060103341A (ko) 플라즈마 처리 장치
KR101323360B1 (ko) 히터 유닛 및 이를 포함하는 기판 처리 장치
KR101587793B1 (ko) 히터 보호용 프로세스 키트 및 이를 이용한 챔버 세정방법
JP3887690B2 (ja) 発熱体cvd装置における発熱体と電力供給機構との間の接続構造
JP2010059468A (ja) 触媒化学気相成長装置の触媒体支持構造
JP2009038398A (ja) シリコン膜及びシリコン窒化膜の製造法
KR20230094042A (ko) 기판 거치 장치
TW571336B (en) Heat treatment equipment
JP2008113014A (ja) 発熱体cvd装置及び成膜方法
JP4913947B2 (ja) 保護ガスシールド装置
JP2003086512A (ja) 真空処理装置
JP2000306844A (ja) 処理装置
JP6099508B2 (ja) ガス捕捉体およびそれを備えた半導体製造装置
JP2005352018A (ja) 真空処理装置
JP5453985B2 (ja) 支持台

Legal Events

Date Code Title Description
A621 Written request for application examination

Free format text: JAPANESE INTERMEDIATE CODE: A621

Effective date: 20111130

A977 Report on retrieval

Free format text: JAPANESE INTERMEDIATE CODE: A971007

Effective date: 20130426

A131 Notification of reasons for refusal

Free format text: JAPANESE INTERMEDIATE CODE: A131

Effective date: 20130502

A521 Written amendment

Free format text: JAPANESE INTERMEDIATE CODE: A523

Effective date: 20130515

TRDD Decision of grant or rejection written
A01 Written decision to grant a patent or to grant a registration (utility model)

Free format text: JAPANESE INTERMEDIATE CODE: A01

Effective date: 20130604

A61 First payment of annual fees (during grant procedure)

Free format text: JAPANESE INTERMEDIATE CODE: A61

Effective date: 20130701

R150 Certificate of patent or registration of utility model

Ref document number: 5321069

Country of ref document: JP

Free format text: JAPANESE INTERMEDIATE CODE: R150

Free format text: JAPANESE INTERMEDIATE CODE: R150

R250 Receipt of annual fees

Free format text: JAPANESE INTERMEDIATE CODE: R250

R250 Receipt of annual fees

Free format text: JAPANESE INTERMEDIATE CODE: R250

R250 Receipt of annual fees

Free format text: JAPANESE INTERMEDIATE CODE: R250

LAPS Cancellation because of no payment of annual fees