JP5287397B2 - アルミニウム含有感光性樹脂組成物およびパターン形成方法 - Google Patents
アルミニウム含有感光性樹脂組成物およびパターン形成方法 Download PDFInfo
- Publication number
- JP5287397B2 JP5287397B2 JP2009066102A JP2009066102A JP5287397B2 JP 5287397 B2 JP5287397 B2 JP 5287397B2 JP 2009066102 A JP2009066102 A JP 2009066102A JP 2009066102 A JP2009066102 A JP 2009066102A JP 5287397 B2 JP5287397 B2 JP 5287397B2
- Authority
- JP
- Japan
- Prior art keywords
- photosensitive resin
- resin composition
- oxide
- aluminum
- acid
- Prior art date
- Legal status (The legal status is an assumption and is not a legal conclusion. Google has not performed a legal analysis and makes no representation as to the accuracy of the status listed.)
- Expired - Fee Related
Links
Images
Landscapes
- Gas-Filled Discharge Tubes (AREA)
- Hybrid Cells (AREA)
- Materials For Photolithography (AREA)
- Parts Printed On Printed Circuit Boards (AREA)
- Polymerisation Methods In General (AREA)
Description
すなわち、本発明およびその好ましい態様は、以下の[1]〜[7]に関する。
本発明の感光性樹脂組成物は、無機粒子と感光性樹脂成分とからなる。前記無機粒子は、(A)アルミニウム粉末、(B)ガラス粉末および(C)フレーク状シリカを含み、前記感光性樹脂成分は、(D)アルカリ可溶性樹脂、(E)多官能(メタ)アクリレートおよび(F)光重合開始剤を含む。また、前記感光性樹脂成分は、前記各成分以外に、他の添加剤を含んでいてもよい。
無機粒子には、(A)アルミニウム粉末、(B)ガラス粉末および(C)フレーク状シリカが含まれる。また、無機粒子には、他の金属系粉末や無機系顔料などが含まれていてもよい。
アルミニウム粉末(A)としては、アルミニウム粉末およびアルミニウム合金粉末から選択される少なくとも1種の金属粉末が挙げられる。また、前記金属粉末は、脂肪酸により包接されていてもよい。このような金属粉末または脂肪酸により包接された金属粉末は、例えばFPDなどのディスプレイパネルを構成する電極を形成する場合に好適である。
アルミニウム粉末(A)は1種単独で用いてもよく、2種以上を併用してもよい。
ガラス粉末(B)は、本発明の感光性樹脂組成物を用いて形成されるパターンの用途(例:FPDの部材、電子部品の高度実装材料の部材)に応じて、適宜選択することができる。
1.酸化鉛、酸化ホウ素、酸化ケイ素の混合物(PbO−B2O3−SiO2系);
2.酸化亜鉛、酸化ホウ素、酸化ケイ素の混合物(ZnO−B2O3−SiO2系);
3.酸化鉛、酸化ホウ素、酸化ケイ素、酸化アルミニウムの混合物
(PbO−B2O3−SiO2−Al2O3系);
4.酸化鉛、酸化亜鉛、酸化ホウ素、酸化ケイ素の混合物
(PbO−ZnO−B2O3−SiO2系);
5.酸化ビスマス、酸化ホウ素、酸化ケイ素の混合物
(Bi2O3−B2O3−SiO2系);
6.酸化亜鉛、酸化リン、酸化ケイ素の混合物(ZnO−P2O5−SiO2系);
7.酸化亜鉛、酸化ホウ素、酸化カリウムの混合物(ZnO−B2O3−K2O系);
8.酸化リン、酸化ホウ素、酸化アルミニウムの混合物
(P2O5−B2O3−Al2O3系);
9.酸化亜鉛、酸化リン、酸化ケイ素、酸化アルミニウムの混合物
(ZnO−P2O5−SiO2−Al2O3系);
10.酸化亜鉛、酸化リン、酸化チタンの混合物(ZnO−P2O5−TiO2系);
11.酸化亜鉛、酸化ホウ素、酸化ケイ素、酸化カリウムの混合物
(ZnO−B2O3−SiO2−K2O系);
12.酸化亜鉛、酸化ホウ素、酸化ケイ素、酸化カリウム、酸化カルシウムの混合物
(ZnO−B2O3−SiO2−K2O−CaO系);
13.酸化亜鉛、酸化ホウ素、酸化ケイ素、酸化カリウム、酸化カルシウム、酸化アルミニウムの混合物(ZnO−B2O3−SiO2−K2O−CaO−Al2O3系);
14.酸化ホウ素、酸化ケイ素、酸化アルミニウムの混合物
(B2O3−SiO2−Al2O3系);
15.酸化ホウ素、酸化ケイ素、酸化ナトリウムの混合物
(B2O3−SiO2−Na2O系);
16.酸化ホウ素、酸化ケイ素の混合物(B2O3−SiO2系);などが挙げられる。
これらの中では、環境に配慮した無鉛ガラスが特に好ましい。
本発明の感光性樹脂組成物において、ガラス粉末(B)は、上記無機粒子全体に対して、通常は0.5〜80重量%、好ましくは0.5〜75重量%、より好ましくは1.0〜70重量%の範囲で含まれる。
本発明では、フレーク状シリカ(C)(以下「シリカフレーク(C)」ともいう。)が用いられる。シリカフレーク(C)はアスペクト比が1ではない薄片状(例えば、りん片状)の形状を有し、これをアルミニウム粉末(A)とガラス粉末(B)とともに用いることで、抵抗値が低くかつ化学耐性(耐酸性、耐アルカリ性)に優れたパターンを形成することができる。
本発明の感光性樹脂組成物において、シリカフレーク(C)は、上記無機粒子全体に対して、通常は0.5〜40重量%、好ましくは0.5〜35重量%、より好ましくは1.0〜30重量%の範囲で含まれる。シリカフレーク(C)の含有量が前記範囲にあると、低抵抗でかつ化学耐性(耐酸性、耐アルカリ性)に優れたパターンを得ることができる。
アルミニウム粉末(A)とともに、本発明の目的を損なわない範囲で、他の金属系粉末(例:Pt、Au、Ag、Cu、Sn、Ni、Fe、Zn、W、Mo、およびこれらの化合物)を用いてもよい。例えば、前記他の金属系粉末は、アルミニウム粉末(A)100重量部に対して、25重量部以下の量で用いることができる。
感光性樹脂成分には、(D)アルカリ可溶性樹脂、(E)多官能(メタ)アクリレートおよび(F)光重合開始剤が含まれる。また、感光性樹脂成分には、前記各成分以外に、他の添加剤が含まれていてもよい。
アルカリ可溶性樹脂(D)は、アルカリ可溶性を有すれば特に限定されない。なお、本発明において「アルカリ可溶性」とは、目的とする現像処理が可能な程度に、アルカリ現像液に溶解する性質をいう。
アルカリ可溶性樹脂(D)としては、以下のアルカリ可溶性官能基含有モノマー(D1)と(メタ)アクリル酸誘導体(D2)との共重合体が好ましい。
アルカリ可溶性官能基含有モノマー(D1)としては、(メタ)アクリル酸、マレイン酸、フマル酸、クロトン酸、イタコン酸、シトラコン酸、メサコン酸、ケイ皮酸、コハク酸モノ(2−(メタ)アクリロイロキシエチル)、2−メタクリロイロキシエチルフタル酸、2−アクリロイルオキシエチルハイドロゲンフタレート、2−アクリロイルオキシプロピルハイドロゲンフタレート、2−アクリロイルオキシプロピルヘキサヒドロハイドロゲンフタレート、2−アクリロイルオキシプロピルテトラヒドロハイドロゲンフタレート、ω−カルボキシ−ポリカプロラクトンモノ(メタ)アクリレートなどのカルボキシル基含有モノマー類;
(メタ)アクリル酸2−ヒドロキシエチル、(メタ)アクリル酸2−ヒドロキシプロピル、(メタ)アクリル酸3−ヒドロキシプロピル、(α−ヒドロキシメチル)アクリレートなどの水酸基含有モノマー類;
o−ヒドロキシスチレン、m−ヒドロキシスチレン、p−ヒドロキシスチレンなどのフェノール性水酸基含有モノマー類;などのアルカリ可溶性官能基と不飽和結合とを有するモノマーなどが挙げられる。
(メタ)アクリル酸誘導体(D2)としては、アルカリ可溶性官能基含有モノマー(D1)と共重合可能な(メタ)アクリル酸誘導体であれば特に限定されないが、メチル(メタ)アクリレート、エチル(メタ)アクリレート、n−ブチル(メタ)アクリレート、ラウリル(メタ)アクリレート、ベンジル(メタ)アクリレート、2−メトキシエチル(メタ)アクリレート、2−エトキシエチル(メタ)アクリレート、2−エチルヘキシル(メタ)アクリレート、フェノキシエチル(メタ)アクリレート、トリチル(メタ)アクリレート、シクロヘキシル(メタ)アクリレート、イソボロニル(メタ)アクリレート、グリシジル(メタ)アクリレート、ジシクロペンタニル(メタ)アクリレートなどの、上記モノマー(D1)以外の(メタ)アクリレート類などが挙げられる。(メタ)アクリル酸誘導体(D2)は1種単独で用いてもよく、2種以上を併用してもよい。
上記共重合の際、重合開始剤を使用することが好ましい。重合開始剤としては、ビニル単量体の重合に用いられるラジカル重合開始剤を使用できる。ラジカル重合開始剤としては、2,2'−アゾビスイソブチロニトリル、2,2'−アゾビス(2−メチルブチルニトリル)、2,2'−アゾビス(2,4−ジメチルバレロニトリル)、1,1'−アゾビス(1−シクロヘキサンカルボニトリル)、ジメチル−2,2'−アゾビスイソブチレート、4,4'−アゾビス(4−シアノバレリック酸)などのアゾ化合物;t−ブチルパーオキシビバレート、t−ブチルパーオキシ2−エチルヘキサノエート、クミルパーオキシ2−エチルヘキサノエートなどのパーオキシエステル類などの有機過酸化物などが挙げられる。これらのラジカル重合開始剤は1種単独で用いてもよく、2種以上を併用してもよい。
上記ラジカル重合開始剤の使用量は、上記共重合に使用する全モノマー(マクロモノマーを含む。)100重量部に対して、0.1〜10重量部程度である。
上記共重合の際、連鎖移動剤を使用してもよい。連鎖移動剤としては、α−メチレンスチレンダイマー、t−ドデシルメルカプタン、ペンタエリスリトールテトラキス(3−メルカプトプロピオン酸)、ペンタエリスリトールテトラキス(3−メルカプトブチレート)、1,4−ビス(3−メルカプトブチリルオキシ)ブタンなどが挙げられる。これらの連鎖移動剤は1種単独で用いてもよく、2種以上を併用してもよい。
上記連鎖移動剤の使用量は、上記共重合に使用する全モノマー(マクロモノマーを含む。)100重量部に対して、通常は0.1〜10重量部程度である。
アルカリ可溶性樹脂(D)の重量平均分子量(以下「Mw」ともいう。)は、ゲルパーミエーションクロマトグラフィー(GPC)により測定したポリスチレン換算値で、好ましくは5000〜100000、より好ましくは10000〜80000である。Mwは、上記モノマーの共重合割合、連鎖移動剤、重合温度などの条件を適宜選択することにより制御することができる。Mwが前記範囲を下回ると、現像後の膜荒れが発生しやすくなり、また、Mwが前記範囲を上回ると、未露光部分の現像液に対する溶解性が低下し、解像度が低下する場合がある。また、アルカリ可溶性樹脂(D)の重量平均分子量(Mw)/数平均分子量(Mn)(以下「Mw/Mn」ともいう。)は、好ましくは1.1〜4.0、より好ましくは1.3〜3.0である。
本発明の感光性樹脂組成物において、アルカリ可溶性樹脂(D)は、上記感光性樹脂成分全体に対して、好ましくは15〜85重量%、より好ましくは20〜80重量%の範囲で含まれる。アルカリ可溶性樹脂(D)の含有量が前記範囲にあると、無機粒子の分散性、およびパターンの現像性の観点から好ましい。
多官能(メタ)アクリレート(E)としては、アリル化シクロヘキシルジ(メタ)アクリレート、2,5−ヘキサンジ(メタ)アクリレート、1,4−ブタンジオールジ(メタ)アクリレート、1,3−ブチレングリコールジ(メタ)アクリレート、エチレングリコールジ(メタ)アクリレート、ジエチレングリコールジ(メタ)アクリレート、トリエチレングリコールジ(メタ)アクリレート、ポリエチレングリコールジ(メタ)アクリレート、グリセロールジ(メタ)アクリレート、メトキシ化シクロヘキシルジ(メタ)アクリレート、ネオペンチルグリコールジ(メタ)アクリレート、プロピレングリコールジ(メタ)アクリレート、ポリプロピレングリコールジ(メタ)アクリレート、トリグリセロールジ(メタ)アクリレートなどのジ(メタ)タクリレート類;
ペンタエリスリトールトリ(メタ)アクリレート、トリメチロールプロパントリ(メタ)アクリレート、トリメチロールプロパン(プロピレンオキサイド変性)トリ(メタ)アクリレート、トリメチロールプロパン(エチレンオキサイド変性)トリ(メタ)アクリレート、ジペンタエリスリトールヘキサ(メタ)アクリレート、ジペンタエリスリトールモノヒドロキシペンタ(メタ)アクリレート、ジトリメチロールプロパンテトラ(メタ)アクリレート、ベンジルメルカプタントリ(メタ)アクリレートなどの3官能以上の(メタ)アクリレート類;
上記化合物が有する芳香環に結合した水素原子のうち、1〜5個を塩素原子または臭素原子に置換したモノマーなどが挙げられる。これらの多官能(メタ)アクリレート(E)は1種単独で用いてもよく、2種以上を併用してもよい。
光重合開始剤(F)としては、ベンゾフェノン、o−ベンゾイル安息香酸メチル、4,4−ビス(ジメチルアミン)ベンゾフェノン、4,4−ビス(ジエチルアミノ)ベンゾフェノン、4,4−ジクロロベンゾフェノン、4−ベンゾイル−4−メチルジフェニルケトン、ジベンジルケトン、フルオレノン、2,2−ジエトキシアセトフェノン、2,2−ジメトキシ−2−フェニル−2−フェニルアセトフェノン、2−ヒドロキシ−2−メチルプロピオフェノン、p−t−ブチルジクロロアセトフェノン、4−アジドベンザルアセトフェノン、チオキサントン、2−メチルチオキサントン、2−クロロチオキサントン、2−イソプロピルチオキサントン、4−イソプロピルチオキサントン、1−クロロ−4−プロピルチオキサントン、2,4−ジエチルチオキサントン、ベンゾイン、ベンゾインメチルエーテル、ベンゾインブチルエーテル、アントラキノン、2−t−ブチルアントラキノン、2−アミルアントラキノン、β−クロルアントラキノン、アントロン、ベンズアントロン、メチレンアントロン、ジベンゾスベロン、2,6−ビス(p−アジドベンジリデン)シクロヘキサノン、2,6−ビス(p−アジドベンジリデン)−4−メチルシクロヘキサノン、ミヒラーケトン、2−メチル−1−[4−(メチルチオ)フェニル]−2−モルフォリノ−1−プロパン−1−オン、2−ベンジル−2−ジメチルアミノ−1−(4−モルフォリノフェニル)ブタノン−1,2−ヒドロキシ−2−メチル−1−フェニルプロパン−1−オン、2,2'−ジメトキシ−1,2−ジフェニルエタン−1−オン、カンファーキノン、2−フェニル−1,2−ブタジオン−2−(o−メトキシカルボニル)オキシム、1−フェニル−プロパンジオン−2−(o−エトキシカルボニル)オキシム、1,3−ジフェニル−プロパントリオン−2−(o−エトキシカルボニル)オキシム、1−フェニル−3−エトキシ−プロパントリオン−2−(o−ベンゾイル)オキシムなどのカルボニル化合物;
ビス(2,6−ジメトキシベンゾイル)−2,4,4−トリメチル−ペンチルフォスフィンオキサイド、2,4,6−トリメチルベンゾイル−ジフェニルフォスフィンオキサイド、ビス(2,4,6−トリメチルベンゾイル)−フェニルフォスフィンオキサイドなどのアシルフォスフィンオキサイド系化合物;
ベンジルジメチルケタノール、ベンジルメトキシエチルアセタール、ナフタレンスルホニルクロライド、キノリンスルホニルクロライド、N−フェニルチオアクリドン、4,4−アゾビスイソブチロニトリル、ジフェニルジスルフィド、ベンズチアゾールジスルフィド、トリフェニルホスフィン、四臭素化炭素、トリブロモフェニルスルホン、過酸化ベンゾイン、および、エオシンやメチレンブルーなどの光還元性の色素とアスコルビン酸やトリエタノールアミンなどの還元剤との組み合せが挙げられる。
また、光重合開始剤(F)とともに、感光性樹脂層の露光感度を向上させるために、増感剤を用いてよい。前記増感剤としては、2−メチルチオキサントン、2−クロロチオキサントン、2−イソプロピルチオキサントン、4−イソプロピルチオキサントン、1−クロロ−4−プロピルチオキサントン、2,4−ジエチルチオキサントン、2,3−ビス(4−ジエチルアミノベンザル)シクロペンタノン、2,6−ビス(4−ジメチルアミニベンザル)シクロヘキサノン、2,6−ビス(4−ジメチルアミノベンザル)−4−メチルシクロヘキサノン、ミヒラーケトン、4,4−ビス(ジエチルアミノ)−ベンゾフェノン、4,4−ビス(ジメチルアミノ)カルコン、4,4−ビス(ジエチルアミノ)カルコン、p−ジメチルアミノシンナミリデンインダノン、p−ジメチルアミノベンジリデンインダノン、2−(p−ジメチルアミノフェニルビニレン)−イソナフトチアゾール、1,3−ビス(4−ジメチルアミノベンザル)アセトン、1,3−カルボニル−ビス(4−ジエチルアミノベンザル)アセトン、3,3−カルボニル−ビス(7−ジエチルアミノクマリン)、N−フェニル−N−エチルエタノールアミン、N−フェニルエタノールアミン、N−トリルジエタノールアミン、N−フェニルエタノールアミン、ジメチルアミノ安息香酸イソアミル、ジエチルアミノ安息香酸イソアミル、3−フェニル−5−ベンゾイルチオテトラゾール、1−フェニル−5−エトキシカルボニルチオテトラゾールなどが挙げられる。なお、前記増感剤の中には光重合開始剤としても作用するものがある。
本発明の感光性樹脂組成物において、光重合開始剤(F)(増感剤も用いる場合は、光重合開始剤(F)および増感剤の合計)は、多官能(メタ)アクリレート(E)100重量部に対して、好ましくは1〜200重量部、より好ましくは2〜100重量部の範囲で含まれる。光重合開始剤(F)の含有量が前記範囲を上回ると、焼成パターンの形状が劣化することがある。
本発明の感光性樹脂組成物は、感光性樹脂成分として、上記各成分以外に、有機系染料からなる紫外線吸収剤、重合禁止剤、酸化防止剤、有機溶剤、密着助剤、溶解促進剤、増感助剤、分散剤、増粘剤、可塑剤、レベリング剤および沈殿防止剤などの他の添加剤を含有してもよい。
本発明の感光性樹脂組成物には、有機系染料からなる紫外線吸収剤を配合してもよい。紫外線吸収効果の高い有機系染料を配合することによって、高アスペクト比、高精細、高解像度なパターンが得られる。
本発明の感光性樹脂組成物には、その粘度を調整するために、有機溶剤を配合してもよい。有機溶剤としては、ターピネオール、ジヒドロターピネオール、ジヒドロターピネニルアセテート、リモネン、カルベオール、カルビニルアセテート、シトロネロール、ジエチレングリコールモノエチルエーテルアセテート、ジエチレングリコールモノブチルエーテルアセテート、プロピレングリコールモノメチルエーテルアセテート、プロピレングリコールモノメチルエーテル、メチルセロソルブ、エチルセロソルブ、ブチルセロソルブ、メトキシプロピルアセテート、メチルエチルケトン、ジオキサン、アセトン、シクロヘキサノン、シクロペンタノン、イソブチルアルコール、イソプロピルアルコール、テトラヒドロフラン、ジメチルスルフォキシド、γ−ブチロラクトン、ブロモベンゼン、クロロベンゼン、ジブロモベンゼン、ジクロロベンゼン、ブロモ安息香酸、クロロ安息香酸などが挙げられる。有機溶剤は1種単独で用いてもよく、2種以上を併用してもよい。有機溶剤は、感光性樹脂組成物全体に対して、好ましくは1〜60重量%、より好ましくは1〜50重量%の範囲で含まれる。
本発明の感光性樹脂組成物には、保存時の熱安定性を向上させるために、重合禁止剤を配合してもよい。重合禁止剤としては、ヒドロキノン、ヒドロキノンのモノエステル化物、N−ニトロソジフェニルアミン、フェノチアジン、p−t−ブチルカテコール、N−フェニルナフチルアミン、2,6−ジ−t−ブチル−p−メチルフェノール、クロラニール、ピロガロールなどが挙げられる。重合禁止剤は、感光性樹脂組成物全体に対して、好ましくは0.001〜20重量%の範囲で含まれる。
本発明の感光性樹脂組成物には、保存時におけるアルカリ可溶性樹脂(D)の酸化を防ぐために、酸化防止剤を配合してもよい。酸化防止剤としては、2,6−ジ−t−ブチル−p−クレゾール、ブチル化ヒドロキシアニソール、2,6−ジ−t−4−エチルフェノール、2,2−メチレン−ビス−(4−メチル−6−t−ブチルフェノール)、2,2−メチレン−ビス−(4−エチル−6−t−ブチルフェノール)、4,4−ビス−(3−メチル−6−t−ブチルフェノール)、1,1,3−トリス−(2−メチル−6−t−ブチルフェノール)、1,1,3−トリス−(2−メチル−4−ヒドロキシ−t−ブチルフェニル)ブタン、ビス[3,3−ビス−(4−ヒドロキシ−3−t−ブチルフェニル)ブチリックアシッド]グリコールエステル、ジラウリルチオジプロピオナート、トリフェニルホスファイトなどが挙げられる。酸化防止剤は、感光性樹脂組成物全体に対して、好ましくは0.001〜20重量%の範囲で含まれる。
本発明の感光性樹脂組成物には、感光性樹脂層とガラス基板などの支持体との密着性を向上させるために、密着助剤を配合してもよい。密着助剤としては、シラン化合物が好適に用いられる。
本発明の感光性樹脂組成物には、後述する現像液への充分な溶解性を発現させる目的で、溶解促進剤を配合してもよい。溶解促進剤としては、界面活性剤が好ましく用いられる。このような界面活性剤としては、フッ素系界面活性剤、シリコーン系界面活性剤、ノニオン系界面活性剤、脂肪酸などが挙げられる。
本発明の感光性樹脂組成物は、95〜10重量%の無機粒子と5〜90重量%の感光性樹脂成分とからなることが好ましく、70〜10重量%の無機粒子と30〜90重量%の感光性樹脂成分とからなることが好ましい。
本発明の感光性樹脂組成物は、ペースト状、固体状、液体状など何れの形状の組成物でも構わないが、成形性などの観点から、ペースト状組成物であることが好ましい。例えば、上記のようにして調製される感光性樹脂組成物の粘度は、100〜500000cps(センチ・ポイズ)であることが好ましい。なお、粘度は、無機粒子、増粘剤、有機溶剤、可塑剤および沈殿防止剤などの配合量によって適宜調整することができる。
本発明のパターン形成方法は、(1)上記感光性樹脂組成物からなる感光性樹脂層を基板上に形成する工程(感光性樹脂層形成工程)、(2)前記樹脂層を露光処理してパターンの潜像を形成する工程(露光工程)、(3)前記樹脂層を現像処理してパターンを形成する工程(現像工程)、および(4)前記パターンを焼成処理する工程(焼成工程)を含むことを特徴とする。
この工程では、上記感光性樹脂組成物からなる感光性樹脂層を基板上に形成する。感光性樹脂層の形成方法としては、上記感光性樹脂組成物を基板上に塗布して塗膜を形成し、該塗膜を乾燥させて形成する方法などが挙げられる。
上記感光性樹脂層形成工程により基板上に感光性樹脂層を形成した後、露光装置を用いて露光を行う。露光は通常のフォトリソグラフィーで行われるように、露光用マスクを用いてマスク露光する方法を採用することができる。露光用マスクの露光パターンは、目的によって異なるが、例えば、10〜500μm幅のストライプまたは格子である。
感光性樹脂層の表面に、露光用マスクを介して、紫外線などの露光光を選択的に照射(露光)して、該樹脂層にパターンの潜像を形成する。露光装置としては、平行光露光機、散乱光露光機、ステッパー露光機、プロキシミティ露光機などを用いることができる。また、大面積の露光を行う場合は、ガラス基板などの基板上に感光性樹脂組成物を塗布した後に、該基板を搬送しながら露光を行うことによって、小さな露光面積の露光機で、大きな面積を露光することができる。
上記露光後、感光部分と非感光部分との現像液に対する溶解度差を利用して、感光性樹脂層を現像してパターンを形成する。現像方法(例:浸漬法、揺動法、シャワー法、スプレー法、パドル法、ブラシ法)および現像処理条件(例:現像液の種類・組成・濃度、現像時間、現像温度)などは、感光性樹脂層の種類に応じて適宜選択、設定すればよい。
焼成雰囲気は、感光性樹脂組成物や基板の種類によって異なる。例えば、空気、オゾン、窒素、水素などの雰囲気中で本工程は実施される。焼成炉としては、バッチ式の焼成炉やベルト式の連続型焼成炉を用いることができる。
本発明のパターン形成方法は、FPDの電極、特にPDPの電極の製造に適している。
〔50重量%平均粒子径(D50)の測定方法〕
アルミニウム粉末、ガラス粉末およびフレーク状シリカの50重量%平均粒子径(D50)は、レーザー回折式粒度分布測定装置(島津製作所(株)製「SALD−2000J」)を用いて測定された。
重量平均分子量(Mw)および重量平均分子量(Mw)/数平均分子量(Mn)(以下「Mw/Mn」ともいう。)は、ゲルパーミエーションクロマトグラフィー(GPC)(東ソー(株)製「HLC−8220GPC」)により測定したポリスチレン換算の値である。なお、GPC測定は、GPCカラムとして東ソー(株)製「TSKguardcolumn SuperHZM−M」を用い、テトラヒドロフラン(THF)溶媒、測定温度40℃の条件で行った。
ガラス粉末(B)を試料ホルダーに封入し、示差走査熱量計(TA Instruments社製 2920NDSC)を用い、窒素雰囲気下に10℃/分で30℃から700℃まで昇温して、得られた吸熱ピークトップの温度をガラス粉末(B)の軟化点とした。
電極パターンおよび焼成膜の評価は、以下のようにして行った。
(1)電極パターンの評価方法
焼成後のパネルを切断してパネルの試験片(10mm×10mm×1.8mm)を作製し、パターン切断面を走査型電子顕微鏡(日立製作所製「S4200」)で観察して、電極パターンの高さ(膜厚)を測定した。
NPS社製の「Resistivity Proccessor ModelΣ−5」を用いて、測定温度25℃・測定湿度50%の条件下で、焼成膜の体積抵抗(μΩ・cm)を測定した。
焼成後のパネルを切断してパネルの試験片(100mm×50mm×1.8mm)を作製し、該試験片を45℃の3%硝酸水溶液中に3分間浸漬した。浸漬後、前記試験片を超純水で洗浄して乾燥し、(1)電極パターンの評価方法に従い、電極パターンの高さ(膜厚)を測定し、(2)体積抵抗の測定方法に従い、焼成膜の体積抵抗を測定した。
焼成後のパネルを切断してパネルの試験片(100mm×50mm×1.8mm)を作製し、該試験片を45℃の7%水酸化ナトリウム水溶液中に3分間浸漬した。浸漬後、前記試験片を超純水で洗浄して乾燥し、(1)電極パターンの評価方法に従い、電極パターンの高さ(膜厚)を測定し、(2)体積抵抗の測定方法に従い、焼成膜の体積抵抗を測定した。
n−ブチルメタクリレート40部、2−エチルヘキシルメタクリレート30部、2−ヒドロキシエチルメタクリレート15部、メタクリル酸15部、アゾビスイソブチロニトリル(AIBN)1部、ペンタエリスリトールテトラキス(3−メルカプトプロピオン酸)(堺化学工業(株)製)5部を攪拌機付きオートクレーブに仕込み、窒素雰囲気下において、ターピネオール150部中で均一になるまで攪拌した。
アルカリ可溶性樹脂(D)としてアルカリ可溶性樹脂(D1)75部、多官能(メタ)アクリレート(E)としてトリメチロールプロパン(プロピレンオキサイド変性)トリアクリレート15部、光重合開始剤(F)として2−メチル−1−[4−(メチルチオ)フェニル]−2−モルフォリノ−1−プロパン−1−オン3部、増感剤として2,4−ジエチルチオキサントン1.5部、紫外線吸収剤として1,7−ビス(4−ヒドロキシフェノール)−1,6−ヘプタジエン−3,5−ジオン0.05部、および有機溶剤としてターピネオール5.5部を混合して、感光性樹脂成分(1)を調製した。
表1に示すアルミニウム粉末A1(25g)、表2に示すガラス粉末B1(1g)、表3に示すフレーク状シリカC1(10g)、および表4に示す感光性樹脂成分(1)(40g)を混練機で混練してペースト状組成物(以下「感光性ペースト」ともいう。)を調製した。
参考例1において、表5に示す組成で感光性ペーストを調製したこと以外は参考例1と同様に行い、上記評価を行った。評価結果を表6に示す。
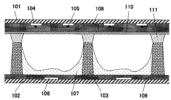
102 ガラス基板
103 背面隔壁
104 透明電極
105 バス電極
106 アドレス電極
107 蛍光体
108 誘電体層
109 誘電体層
110 保護層
111 前面隔壁
201 ガラス基板
202 ガラス基板
203 絶縁層
204 透明電極
205 エミッタ
206 カソード電極
207 蛍光体
208 ゲート
209 スペーサ
Claims (7)
- 無機粒子と感光性樹脂成分とからなる感光性樹脂組成物であって、
前記無機粒子が、(A)アルミニウム粉末、(B)ガラス粉末および(C)フレーク状シリカを含み、前記感光性樹脂成分が、(D)アルカリ可溶性樹脂、(E)多官能(メタ)アクリレートおよび(F)光重合開始剤を含み、
前記フレーク状シリカ(C)が、二酸化チタン、酸化亜鉛、酸化鉄、酸化コバルト、酸
化クロム、酸化インジウム、酸化スズおよび酸化アンチモンから選択される少なくとも1
種の金属酸化物を含む
ことを特徴とするアルミニウム含有感光性樹脂組成物。 - 前記フレーク状シリカ(C)が、50重量%平均粒子径(D50)が2.0〜20.0μm、かつ平均厚みが1.5μm以下のフレーク状シリカであることを特徴とする請求項1に記載のアルミニウム含有感光性樹脂組成物。
- 前記フレーク状シリカ(C)が、前記無機粒子全体に対して0.5〜40重量%の範囲で含まれることを特徴とする請求項1または2に記載のアルミニウム含有感光性樹脂組成物。
- 前記金属酸化物が、前記フレーク状シリカ(C)全体に対して、0.1〜50重量%の範囲で含まれることを特徴とする請求項1〜3の何れかに記載のアルミニウム含有感光性樹脂組成物。
- 前記ガラス粉末(B)の50重量%平均粒子径(D50)が、0.2〜4.0μmであることを特徴とする請求項1〜4の何れかに記載のアルミニウム含有感光性樹脂組成物。
- 前記ガラス粉末(B)の軟化点が350〜700℃であり、かつ前記ガラス粉末(B)が前記無機粒子全体に対して0.5〜80重量%の範囲で含まれることを特徴とする請求項1〜5の何れかに記載のアルミニウム含有感光性樹脂組成物。
- (1)請求項1〜6の何れかに記載のアルミニウム含有感光性樹脂組成物からなる感光性樹脂層を基板上に形成する工程、
(2)前記樹脂層を露光処理してパターンの潜像を形成する工程、
(3)前記樹脂層を現像処理してパターンを形成する工程、および
(4)前記パターンを焼成処理する工程
を含むことを特徴とするパターン形成方法。
Priority Applications (1)
| Application Number | Priority Date | Filing Date | Title |
|---|---|---|---|
| JP2009066102A JP5287397B2 (ja) | 2009-03-18 | 2009-03-18 | アルミニウム含有感光性樹脂組成物およびパターン形成方法 |
Applications Claiming Priority (1)
| Application Number | Priority Date | Filing Date | Title |
|---|---|---|---|
| JP2009066102A JP5287397B2 (ja) | 2009-03-18 | 2009-03-18 | アルミニウム含有感光性樹脂組成物およびパターン形成方法 |
Publications (2)
| Publication Number | Publication Date |
|---|---|
| JP2010217683A JP2010217683A (ja) | 2010-09-30 |
| JP5287397B2 true JP5287397B2 (ja) | 2013-09-11 |
Family
ID=42976587
Family Applications (1)
| Application Number | Title | Priority Date | Filing Date |
|---|---|---|---|
| JP2009066102A Expired - Fee Related JP5287397B2 (ja) | 2009-03-18 | 2009-03-18 | アルミニウム含有感光性樹脂組成物およびパターン形成方法 |
Country Status (1)
| Country | Link |
|---|---|
| JP (1) | JP5287397B2 (ja) |
Families Citing this family (5)
| Publication number | Priority date | Publication date | Assignee | Title |
|---|---|---|---|---|
| JP2011197666A (ja) * | 2010-02-26 | 2011-10-06 | Toray Ind Inc | 感光性導電ペースト、電極付基板の製造方法およびプラズマディスプレイ用基板の製造方法 |
| JP5810625B2 (ja) * | 2010-05-20 | 2015-11-11 | 日立化成株式会社 | 蓋材又はリブ材 |
| JP6234065B2 (ja) * | 2012-05-25 | 2017-11-22 | 新日鉄住金化学株式会社 | タッチパネル絶縁膜形成用の感光性樹脂組成物、及びこれを用いて得られたタッチパネル |
| WO2016076024A1 (ja) * | 2014-11-13 | 2016-05-19 | 株式会社村田製作所 | 感光性導電ペースト、それを用いた積層型電子部品の製造方法、および積層型電子部品 |
| MY206335A (en) * | 2018-08-09 | 2024-12-12 | Asahi Chemical Ind | Photosensitive resin composition and method for forming resist pattern |
Family Cites Families (6)
| Publication number | Priority date | Publication date | Assignee | Title |
|---|---|---|---|---|
| JPH02292362A (ja) * | 1989-05-02 | 1990-12-03 | Dainippon Ink & Chem Inc | 樹脂組成物及び電子部品 |
| JP3520720B2 (ja) * | 1997-05-27 | 2004-04-19 | 東レ株式会社 | 感光性導電ペーストおよびプラズマディスプレイ用電極の製造方法 |
| JP4063464B2 (ja) * | 1999-12-10 | 2008-03-19 | Agcエスアイテック株式会社 | 鱗片状シリカ粒子、硬化性組成物、それからなる硬化体及びその製造方法 |
| JP4174275B2 (ja) * | 2002-09-09 | 2008-10-29 | 住友ベークライト株式会社 | 感光性有機無機複合材料およびそれを用いた半導体装置 |
| KR100669725B1 (ko) * | 2004-09-09 | 2007-01-16 | 삼성에스디아이 주식회사 | 감광성 페이스트 조성물 |
| JP4640460B2 (ja) * | 2007-07-09 | 2011-03-02 | Jsr株式会社 | 感光性ペースト組成物およびパターン形成方法 |
-
2009
- 2009-03-18 JP JP2009066102A patent/JP5287397B2/ja not_active Expired - Fee Related
Also Published As
| Publication number | Publication date |
|---|---|
| JP2010217683A (ja) | 2010-09-30 |
Similar Documents
| Publication | Publication Date | Title |
|---|---|---|
| JP4645774B1 (ja) | 感光性ペースト組成物およびパターン形成方法 | |
| JP5056757B2 (ja) | 感光性樹脂組成物、感光性フィルムおよびパターン形成方法 | |
| CN101059656B (zh) | 含无机颗粒的光敏性树脂组合物、光敏性薄膜和无机图案的形成方法 | |
| JP5446704B2 (ja) | 感光性ペースト組成物およびパターン形成方法 | |
| JP5287397B2 (ja) | アルミニウム含有感光性樹脂組成物およびパターン形成方法 | |
| JP2011064864A (ja) | 感光性組成物、パターン形成方法およびfpd用電極の製造方法 | |
| JP2012093586A (ja) | 感光性ペースト組成物およびパターン形成方法 | |
| JP5120093B2 (ja) | 感光性組成物および電極の製造方法 | |
| JP2009294648A (ja) | 感光性ペースト組成物およびパターン形成方法 | |
| JP5239612B2 (ja) | 感光性ペースト組成物およびパターン形成方法 | |
| JP5347665B2 (ja) | アルミニウム含有感光性組成物および電極の製造方法 | |
| KR20080055682A (ko) | 무기 입자 함유 감광성 수지 조성물, 감광성 필름, 패턴형성 방법, 및 평판 디스플레이의 제조 방법 | |
| JP2010181475A (ja) | アルミニウム含有感光性組成物および電極の製造方法 | |
| JP5120120B2 (ja) | 感光性ペースト組成物およびパターン形成方法 | |
| JP5120119B2 (ja) | 感光性ペースト組成物およびパターン形成方法 | |
| JP2011007864A (ja) | 感光性ペースト組成物およびパターン形成方法 | |
| JP2010276703A (ja) | 感光性ペースト組成物およびパターン形成方法 | |
| JP2010210864A (ja) | アルミニウム含有感光性樹脂組成物およびパターン形成方法 | |
| JP5533456B2 (ja) | 導電部材形成用ペーストおよび導電部材の形成方法 | |
| JP2009016320A (ja) | 電極部材の製造方法 | |
| JP2011013588A (ja) | 感光性ペースト組成物およびパターン形成方法 | |
| JP2011007865A (ja) | 感光性ペースト組成物およびパターン形成方法 | |
| JP2010102200A (ja) | 感光性ペースト組成物およびパターン形成方法 | |
| JP2010145545A (ja) | 感光性ペースト組成物およびパターン形成方法 | |
| JP2010044313A (ja) | 感光性ペースト組成物 |
Legal Events
| Date | Code | Title | Description |
|---|---|---|---|
| A621 | Written request for application examination |
Free format text: JAPANESE INTERMEDIATE CODE: A621 Effective date: 20110913 |
|
| RD02 | Notification of acceptance of power of attorney |
Free format text: JAPANESE INTERMEDIATE CODE: A7422 Effective date: 20120228 |
|
| A977 | Report on retrieval |
Free format text: JAPANESE INTERMEDIATE CODE: A971007 Effective date: 20130123 |
|
| A131 | Notification of reasons for refusal |
Free format text: JAPANESE INTERMEDIATE CODE: A131 Effective date: 20130129 |
|
| A521 | Written amendment |
Free format text: JAPANESE INTERMEDIATE CODE: A523 Effective date: 20130318 |
|
| TRDD | Decision of grant or rejection written | ||
| A01 | Written decision to grant a patent or to grant a registration (utility model) |
Free format text: JAPANESE INTERMEDIATE CODE: A01 Effective date: 20130507 |
|
| A61 | First payment of annual fees (during grant procedure) |
Free format text: JAPANESE INTERMEDIATE CODE: A61 Effective date: 20130520 |
|
| R150 | Certificate of patent or registration of utility model |
Ref document number: 5287397 Country of ref document: JP Free format text: JAPANESE INTERMEDIATE CODE: R150 Free format text: JAPANESE INTERMEDIATE CODE: R150 |
|
| R250 | Receipt of annual fees |
Free format text: JAPANESE INTERMEDIATE CODE: R250 |
|
| R250 | Receipt of annual fees |
Free format text: JAPANESE INTERMEDIATE CODE: R250 |
|
| R250 | Receipt of annual fees |
Free format text: JAPANESE INTERMEDIATE CODE: R250 |
|
| R250 | Receipt of annual fees |
Free format text: JAPANESE INTERMEDIATE CODE: R250 |
|
| R250 | Receipt of annual fees |
Free format text: JAPANESE INTERMEDIATE CODE: R250 |
|
| LAPS | Cancellation because of no payment of annual fees |
