JP5275885B2 - 光ファイバコイル用ボビン - Google Patents

光ファイバコイル用ボビン Download PDF

Info

Publication number
JP5275885B2
JP5275885B2 JP2009096697A JP2009096697A JP5275885B2 JP 5275885 B2 JP5275885 B2 JP 5275885B2 JP 2009096697 A JP2009096697 A JP 2009096697A JP 2009096697 A JP2009096697 A JP 2009096697A JP 5275885 B2 JP5275885 B2 JP 5275885B2
Authority
JP
Japan
Prior art keywords
optical fiber
bobbin
winding
winding groove
fiber coil
Prior art date
Legal status (The legal status is an assumption and is not a legal conclusion. Google has not performed a legal analysis and makes no representation as to the accuracy of the status listed.)
Expired - Fee Related
Application number
JP2009096697A
Other languages
English (en)
Japanese (ja)
Other versions
JP2010249557A5 (enExample
JP2010249557A (ja
Inventor
美樹 菅原
Current Assignee (The listed assignees may be inaccurate. Google has not performed a legal analysis and makes no representation or warranty as to the accuracy of the list.)
Minebea Co Ltd
Original Assignee
Minebea Co Ltd
Priority date (The priority date is an assumption and is not a legal conclusion. Google has not performed a legal analysis and makes no representation as to the accuracy of the date listed.)
Filing date
Publication date
Application filed by Minebea Co Ltd filed Critical Minebea Co Ltd
Priority to JP2009096697A priority Critical patent/JP5275885B2/ja
Publication of JP2010249557A publication Critical patent/JP2010249557A/ja
Publication of JP2010249557A5 publication Critical patent/JP2010249557A5/ja
Application granted granted Critical
Publication of JP5275885B2 publication Critical patent/JP5275885B2/ja
Expired - Fee Related legal-status Critical Current
Anticipated expiration legal-status Critical

Links

Images

Landscapes

  • Gyroscopes (AREA)
JP2009096697A 2009-04-13 2009-04-13 光ファイバコイル用ボビン Expired - Fee Related JP5275885B2 (ja)

Priority Applications (1)

Application Number Priority Date Filing Date Title
JP2009096697A JP5275885B2 (ja) 2009-04-13 2009-04-13 光ファイバコイル用ボビン

Applications Claiming Priority (1)

Application Number Priority Date Filing Date Title
JP2009096697A JP5275885B2 (ja) 2009-04-13 2009-04-13 光ファイバコイル用ボビン

Publications (3)

Publication Number Publication Date
JP2010249557A JP2010249557A (ja) 2010-11-04
JP2010249557A5 JP2010249557A5 (enExample) 2012-03-22
JP5275885B2 true JP5275885B2 (ja) 2013-08-28

Family

ID=43312071

Family Applications (1)

Application Number Title Priority Date Filing Date
JP2009096697A Expired - Fee Related JP5275885B2 (ja) 2009-04-13 2009-04-13 光ファイバコイル用ボビン

Country Status (1)

Country Link
JP (1) JP5275885B2 (enExample)

Families Citing this family (2)

* Cited by examiner, † Cited by third party
Publication number Priority date Publication date Assignee Title
CN102645215B (zh) * 2012-05-16 2015-10-28 江苏立万信息科技有限公司 一种光纤陀螺的光纤敏感环的制作方法
US11047687B2 (en) 2017-01-13 2021-06-29 The Charles Stark Draper Laboratory, Inc. Fiber management assembly for multi-axis fiber optic gyroscope

Family Cites Families (6)

* Cited by examiner, † Cited by third party
Publication number Priority date Publication date Assignee Title
GB8432402D0 (en) * 1984-12-21 1985-02-06 Birch R D Optical fibres
JPH06100470B2 (ja) * 1985-04-04 1994-12-12 住友電気工業株式会社 光フアイバセンサ
JPS61266911A (ja) * 1985-05-22 1986-11-26 Nippon Kogaku Kk <Nikon> 光フアイバジヤイロを用いた測量装置
JPH0317510A (ja) * 1989-06-15 1991-01-25 Tamagawa Seiki Co Ltd 三軸検出用光ファイバコイル
JP4186147B2 (ja) * 1999-11-19 2008-11-26 株式会社エフ・イー・シー 立体アンテナ
JP5013592B2 (ja) * 2006-12-24 2012-08-29 オーエム機器株式会社 床パネルの支持構造

Also Published As

Publication number Publication date
JP2010249557A (ja) 2010-11-04

Similar Documents

Publication Publication Date Title
US7684659B1 (en) Bifilar optical fiber stowage for fiber-optic gyroscope
US4410236A (en) Optical directional coupler and method of manufacture
US11047687B2 (en) Fiber management assembly for multi-axis fiber optic gyroscope
CN110579204B (zh) 一种用于三轴一体光纤陀螺的光纤耦合器阵列
JP5103633B2 (ja) 周回光路装置およびリングレーザジャイロ
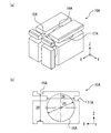
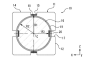
JP5275885B2 (ja) 光ファイバコイル用ボビン
RU2507482C2 (ru) Лазерный гироскоп
US5357339A (en) Multi-axis fiber-optic gyroscope assembly in which each gyroscope comprises 1/3 of a specific shape
EP3470785B1 (en) Flange-bonded loopback for fiber-optic gyroscope (fog)
EP2230484A1 (en) Depolarizer for a fiber optic gyroscope (fog) using high birefringence photonic crystal fiber
US20080074673A1 (en) Photonic crystal based rotation sensor
JP7216951B2 (ja) 干渉型光ファイバジャイロ及びセンシングコイル機構
CN110285798B (zh) 微型化可折叠核磁共振陀螺仪表头
US11774245B1 (en) Vehicle hull with interferometric fiber-optic gyroscope
CN106959107B (zh) 一种截面为梯形的高稳定性光纤环的绕法
CN216925602U (zh) 惯性测量单元、导航系统及移动装置
CN114413899B (zh) 惯性测量单元、导航系统及移动装置
Heimann et al. Optical system components for navigation grade fiber optic gyroscopes
JP2010230476A (ja) リングレーザジャイロ
CN214470905U (zh) 一种干涉型光纤陀螺仪嵌套式多层多匝光纤环
JPH04148823A (ja) 光ファイバジャイロ
EP3736533B1 (en) Fiber-optic gyroscope (fog) assembly
RU2488773C2 (ru) Лазерный гироскоп
CN210108373U (zh) 双轴光纤陀螺仪
JP2021081349A (ja) ファイバコイル及び光ファイバジャイロ

Legal Events

Date Code Title Description
A521 Request for written amendment filed

Free format text: JAPANESE INTERMEDIATE CODE: A523

Effective date: 20120207

A621 Written request for application examination

Free format text: JAPANESE INTERMEDIATE CODE: A621

Effective date: 20120207

A977 Report on retrieval

Free format text: JAPANESE INTERMEDIATE CODE: A971007

Effective date: 20130104

A131 Notification of reasons for refusal

Free format text: JAPANESE INTERMEDIATE CODE: A131

Effective date: 20130115

A521 Request for written amendment filed

Free format text: JAPANESE INTERMEDIATE CODE: A523

Effective date: 20130313

TRDD Decision of grant or rejection written
A01 Written decision to grant a patent or to grant a registration (utility model)

Free format text: JAPANESE INTERMEDIATE CODE: A01

Effective date: 20130423

A61 First payment of annual fees (during grant procedure)

Free format text: JAPANESE INTERMEDIATE CODE: A61

Effective date: 20130516

R150 Certificate of patent or registration of utility model

Free format text: JAPANESE INTERMEDIATE CODE: R150

Ref document number: 5275885

Country of ref document: JP

Free format text: JAPANESE INTERMEDIATE CODE: R150

R250 Receipt of annual fees

Free format text: JAPANESE INTERMEDIATE CODE: R250

R250 Receipt of annual fees

Free format text: JAPANESE INTERMEDIATE CODE: R250

R250 Receipt of annual fees

Free format text: JAPANESE INTERMEDIATE CODE: R250

R250 Receipt of annual fees

Free format text: JAPANESE INTERMEDIATE CODE: R250

S533 Written request for registration of change of name

Free format text: JAPANESE INTERMEDIATE CODE: R313533

R350 Written notification of registration of transfer

Free format text: JAPANESE INTERMEDIATE CODE: R350

R250 Receipt of annual fees

Free format text: JAPANESE INTERMEDIATE CODE: R250

LAPS Cancellation because of no payment of annual fees