JP5271908B2 - 検査システム、ブロー形成システム、プラスチック容器を検査する方法、及び、プラスチック容器を製造する方法 - Google Patents

検査システム、ブロー形成システム、プラスチック容器を検査する方法、及び、プラスチック容器を製造する方法 Download PDF

Info

Publication number
JP5271908B2
JP5271908B2 JP2009526750A JP2009526750A JP5271908B2 JP 5271908 B2 JP5271908 B2 JP 5271908B2 JP 2009526750 A JP2009526750 A JP 2009526750A JP 2009526750 A JP2009526750 A JP 2009526750A JP 5271908 B2 JP5271908 B2 JP 5271908B2
Authority
JP
Japan
Prior art keywords
emitter assembly
light source
emitter
light
container
Prior art date
Legal status (The legal status is an assumption and is not a legal conclusion. Google has not performed a legal analysis and makes no representation as to the accuracy of the status listed.)
Active
Application number
JP2009526750A
Other languages
English (en)
Other versions
JP2010502952A (ja
Inventor
イー. シュミット,ウィリアム
ブィ. ウルフ,ジョージ
Current Assignee (The listed assignees may be inaccurate. Google has not performed a legal analysis and makes no representation or warranty as to the accuracy of the list.)
AGR International Inc
Original Assignee
AGR International Inc
Priority date (The priority date is an assumption and is not a legal conclusion. Google has not performed a legal analysis and makes no representation as to the accuracy of the date listed.)
Filing date
Publication date
Application filed by AGR International Inc filed Critical AGR International Inc
Publication of JP2010502952A publication Critical patent/JP2010502952A/ja
Application granted granted Critical
Publication of JP5271908B2 publication Critical patent/JP5271908B2/ja
Active legal-status Critical Current
Anticipated expiration legal-status Critical

Links

Images

Classifications

    • GPHYSICS
    • G01MEASURING; TESTING
    • G01JMEASUREMENT OF INTENSITY, VELOCITY, SPECTRAL CONTENT, POLARISATION, PHASE OR PULSE CHARACTERISTICS OF INFRARED, VISIBLE OR ULTRAVIOLET LIGHT; COLORIMETRY; RADIATION PYROMETRY
    • G01J3/00Spectrometry; Spectrophotometry; Monochromators; Measuring colours
    • G01J3/02Details
    • GPHYSICS
    • G01MEASURING; TESTING
    • G01BMEASURING LENGTH, THICKNESS OR SIMILAR LINEAR DIMENSIONS; MEASURING ANGLES; MEASURING AREAS; MEASURING IRREGULARITIES OF SURFACES OR CONTOURS
    • G01B11/00Measuring arrangements characterised by the use of optical techniques
    • G01B11/24Measuring arrangements characterised by the use of optical techniques for measuring contours or curvatures
    • G01B11/245Measuring arrangements characterised by the use of optical techniques for measuring contours or curvatures using a plurality of fixed, simultaneously operating transducers
    • GPHYSICS
    • G01MEASURING; TESTING
    • G01BMEASURING LENGTH, THICKNESS OR SIMILAR LINEAR DIMENSIONS; MEASURING ANGLES; MEASURING AREAS; MEASURING IRREGULARITIES OF SURFACES OR CONTOURS
    • G01B11/00Measuring arrangements characterised by the use of optical techniques
    • G01B11/02Measuring arrangements characterised by the use of optical techniques for measuring length, width or thickness
    • G01B11/06Measuring arrangements characterised by the use of optical techniques for measuring length, width or thickness for measuring thickness ; e.g. of sheet material
    • GPHYSICS
    • G01MEASURING; TESTING
    • G01BMEASURING LENGTH, THICKNESS OR SIMILAR LINEAR DIMENSIONS; MEASURING ANGLES; MEASURING AREAS; MEASURING IRREGULARITIES OF SURFACES OR CONTOURS
    • G01B11/00Measuring arrangements characterised by the use of optical techniques
    • G01B11/02Measuring arrangements characterised by the use of optical techniques for measuring length, width or thickness
    • G01B11/06Measuring arrangements characterised by the use of optical techniques for measuring length, width or thickness for measuring thickness ; e.g. of sheet material
    • G01B11/0616Measuring arrangements characterised by the use of optical techniques for measuring length, width or thickness for measuring thickness ; e.g. of sheet material of coating
    • G01B11/0625Measuring arrangements characterised by the use of optical techniques for measuring length, width or thickness for measuring thickness ; e.g. of sheet material of coating with measurement of absorption or reflection
    • G01B11/0633Measuring arrangements characterised by the use of optical techniques for measuring length, width or thickness for measuring thickness ; e.g. of sheet material of coating with measurement of absorption or reflection using one or more discrete wavelengths
    • GPHYSICS
    • G01MEASURING; TESTING
    • G01NINVESTIGATING OR ANALYSING MATERIALS BY DETERMINING THEIR CHEMICAL OR PHYSICAL PROPERTIES
    • G01N21/00Investigating or analysing materials by the use of optical means, i.e. using sub-millimetre waves, infrared, visible or ultraviolet light
    • G01N21/84Systems specially adapted for particular applications
    • G01N21/88Investigating the presence of flaws or contamination
    • G01N21/90Investigating the presence of flaws or contamination in a container or its contents
    • G01N21/9081Inspection especially designed for plastic containers, e.g. preforms
    • GPHYSICS
    • G01MEASURING; TESTING
    • G01NINVESTIGATING OR ANALYSING MATERIALS BY DETERMINING THEIR CHEMICAL OR PHYSICAL PROPERTIES
    • G01N21/00Investigating or analysing materials by the use of optical means, i.e. using sub-millimetre waves, infrared, visible or ultraviolet light
    • G01N21/17Systems in which incident light is modified in accordance with the properties of the material investigated
    • G01N21/25Colour; Spectral properties, i.e. comparison of effect of material on the light at two or more different wavelengths or wavelength bands
    • G01N21/31Investigating relative effect of material at wavelengths characteristic of specific elements or molecules, e.g. atomic absorption spectrometry
    • G01N21/314Investigating relative effect of material at wavelengths characteristic of specific elements or molecules, e.g. atomic absorption spectrometry with comparison of measurements at specific and non-specific wavelengths
    • G01N2021/3181Investigating relative effect of material at wavelengths characteristic of specific elements or molecules, e.g. atomic absorption spectrometry with comparison of measurements at specific and non-specific wavelengths using LEDs
    • GPHYSICS
    • G01MEASURING; TESTING
    • G01NINVESTIGATING OR ANALYSING MATERIALS BY DETERMINING THEIR CHEMICAL OR PHYSICAL PROPERTIES
    • G01N21/00Investigating or analysing materials by the use of optical means, i.e. using sub-millimetre waves, infrared, visible or ultraviolet light
    • G01N21/17Systems in which incident light is modified in accordance with the properties of the material investigated
    • G01N21/25Colour; Spectral properties, i.e. comparison of effect of material on the light at two or more different wavelengths or wavelength bands
    • G01N21/31Investigating relative effect of material at wavelengths characteristic of specific elements or molecules, e.g. atomic absorption spectrometry
    • G01N21/314Investigating relative effect of material at wavelengths characteristic of specific elements or molecules, e.g. atomic absorption spectrometry with comparison of measurements at specific and non-specific wavelengths

Landscapes

  • Physics & Mathematics (AREA)
  • General Physics & Mathematics (AREA)
  • Biochemistry (AREA)
  • Life Sciences & Earth Sciences (AREA)
  • Chemical & Material Sciences (AREA)
  • Analytical Chemistry (AREA)
  • Health & Medical Sciences (AREA)
  • General Health & Medical Sciences (AREA)
  • Immunology (AREA)
  • Pathology (AREA)
  • Spectroscopy & Molecular Physics (AREA)
  • Investigating Or Analysing Materials By Optical Means (AREA)
  • Length Measuring Devices By Optical Means (AREA)
  • Blow-Moulding Or Thermoforming Of Plastics Or The Like (AREA)
  • Investigating Materials By The Use Of Optical Means Adapted For Particular Applications (AREA)

Description

優先権の主張
本願は、ウイリアム イー,シュミットによって2006年9月1日に出願された、発明の名称が「多数の波長がディスクリートなスペクトルの光源及び広帯域検査器を用いた容器の特性の測定」である米国仮特許出願第60/841,954号に基づく優先権を主張し、この内容は引用を以って本願への記載加入とする。
発明の背景
プラスチック瓶の特性を測定することは周知であり、そのような測定の標準化されたテスト方法は業界内に存在している。例えば、広帯域光源、チョッパホイール、スペクトルメータを有するシステムを用いてプラスチック瓶の壁厚を測定することは公知であり、該システムは瓶がブロー成形にて形成された後に光源とスペクトルメータ間を通過する際にプラスチック瓶の壁厚を測定する。
そのようなシステムの広帯域光源は、プラスチック容器の表面を照射して、容器の両壁を通過し、スペクトルメータによって感知されて、ディスクリートな波長でのプラスチックの吸収レベルを決定するチョッパ型IR光エネルギを有する。
この情報は、壁厚のようなプラスチック瓶の特性を決定するのに用いられる。他の機械が、世界中の幾つかの製造業者から入手可能である。そのような機械の例は、AGRトップウェーブペットウォールプラスビジョンシステムである。この機械は、PETに吸収される波長と吸収されない基準波長の差を測定することにより、プラスチック容器の厚みを測定する。
実際には、そのようなシステムでは、白熱電球を使用して、対象となる可視及び赤外線スペクトルの範囲で広帯域の光を生成している。広帯域の光は、チョップされ(chopped)、平行にされて、プラスチック容器の2つの壁を通って送信され、最終的に分光器によって対象とする波長に分光される。このサンプリング工程は、速度及び応答時間の両方の点で制約を受ける。
ブロー成形技術の最新技術では、サンプリング速度を増加させることが求められ続けている。これにより、そのうちに容器の特性を測定するのに用いられる現在の技術は使用できなくなるだろう。
発明の要約
1つの一般的な実施例では、本発明はブロー成形されたプラスチック、或いはPET(ポリエチレンテレフタレート)容器を検査する検査システムに関する。
様々な実施例によれば、検査システムは、エミッタアセンブリの縦並びを含む列型(in-line)システムであって、該エミッタアセンブリは容器が検査領域を通ると、ブロー成形容器に向かって、少なくとも2つの異なる狭い波長帯域(narrow wavelength band)で光エネルギを周期的に放射する。例えば、各エミッタアセンブリは2つの狭い帯域の光源を具え、1つの光源は、容器の材料により吸収される狭い帯域にて光エネルギを発し、該吸収は材料の厚みに大きく依存する。他の光源は、別の波長であって、容器の材料を殆ど透過する別の狭い波長帯域にて光を発する。光源は例えば、LED、或いはレーザーダイオードであってもよい。
検査システムはまた、エミッタアセンブリに1対1関係のように対向した広帯域の光検出器の縦配列を含んもよい。容器に吸収されない光エネルギは容器の2つの側壁を素通りし、光エネルギは光検出器によって感知される。各広帯域光検出器は、エミッタアセンブリの異なる光源からの光エネルギを検知するのに十分に広範な応答範囲を有するのが好ましい。検査システムはまた、光検出器と通信するプロセッサを具え、該プロセッサは、光検出器からの出力信号に基づいて、容器の平均的な2つの壁厚又は幾つかの他の特性のような検査された容器の特性を決定すべくプログラムされる。
この情報は、容器を排除すべきか(rejected)を決定する際に用いられる。プロセッサはまた、リアルタイムの較正調整を演算するようにプログラムされて、エミッタ及びセンサが較正を維持してもよい。更に、プロセッサはブロー成形システムへ制御信号を送るようにプログラムされ、加熱温度又は他のパラメータのようなブロー成形のパラメータを調整し、ブロー成形システムのフィードバック制御ループを閉じてもよい。
種々の実施例によれば、エミッタアセンブリの光源は周期的に制御されて、各サイクル中、光源の中で1つだけがオン、他の光源だけがオン、両方の光源がオフの時間がある。そのようなタイミングアーキテクチャは、プロセッサが容器の特性を決定し、及び較正調整を演算することを支援し得る。
様々な実施例によれば、エミッター及びセンサの複数ペアは、検査領域内の容器の縦長さに沿って比較的密に間隔を置かれてもよい。このように、検査された容器の比較的完全な厚み形状(profile)が得られ得る。
本発明のこれら及び他の利益は、以下の記載から明白であろう。
本発明の種々の実施例が、以下の図面に関連した実施例によって、ここに記載される。
本発明の各種実施例に於けるブロー成形システムを簡略化したブロック図である。 本発明の各種実施例に於ける検査システムの一部の図である。 本発明の各種実施例に於ける検査システムの一部の図である。 本発明の各種実施例に於ける検査システムのエミッタアセンブリを示す図である。 本発明の各種実施例に於ける検査システムのエミッタアセンブリを示す図である。 本発明の各種実施例に於ける検査システムのエミッタアセンブリを示す図である。 本発明の各種実施例に於ける検査システムのエミッタアセンブリを示す図である。 本発明の各種実施例に於ける検査システムのエミッタアセンブリを示す図である。 本発明の各種実施例に於ける検査システムのセンサを示す図である。 本発明の各種実施例に於ける検査システムのセンサ回路基板を簡略化したブロック図である。 本発明の各種実施例に於ける検査システムの一部の図である。 本発明の各種実施例に於ける検査システムのエミッタアセンブリ(60)用の駆動基板を簡略化したブロック図である。 本発明の各種実施例に於けるタイミング図である。 本発明の各種実施例に於ける検査システムを簡略化したブロック図である。 本発明の各種実施例に於けるエミッタアセンブリの千鳥状の縦配列を示す。
発明の詳細な記載
本発明の1つの一般的な態様に於いて、本発明はプラスチック、PET、又は他のタイプのポリオレフィン容器のような容器の特性を測定する検査システムを対象とする。以下に記載の如く、検査システムは(1)高いエネルギ出力を有する多数の波長がディスクリートした光源、及び(2)感度の高い帯域検知器(或いは、センサ)を具える。検査システムはまた、センサによって検知された光源からの光エネルギに基づいて容器の特性(又は複数の特性)を決定するプロセッサを具える。そのような検査システムは、高速のブロー成形にて作動するプラスチック、或いはPET容器製造作業にて用いられ得る。
波長がディスクリートしたスペクトル光源は例えば、異なる狭い帯域放出スペクトルを有する複数の発光ダイオード(LED)又はレーザダイオードである。選択された波長範囲にて容器に吸収された光エネルギの比に基づいたシステムによって測定される特性は例えば、壁厚(例えば、2つの壁の平均厚み)又は質量、容積のような壁厚に関する特性、及び/又は容器の壁の材料分布を含む。更に下記するように、測定された特性は、仕様を満たさずに製造された容器を排除するのに用いられ、及び/又はブロー成形システムのパラメータを修正するのに用いられる。
検査システムを更に詳細に記載する前に、検査システムが用いられるブロー成形システムの概略を提供する。図1は、本発明の各種実施例に於けるブロー成形システム(4)のブロック図である。
ブロー成形システム(4)は、予備成形品オーブン(2)を含み、該予備成形品オーブン(2)は、通常は、容器が製造される元であるプラスチック予備成形品をオーブン部を通ってスピンドル上に運び、容器のブロー成形前に予備成形品を予備加熱する。
予備成形品オーブン(2)は、例えば赤外線加熱ランプ又は他の加熱装置を具えて、予備成形品をそれらのガラス転移温度を越える温度に加熱する。
予備成形品オーブン(2)を出た予備成形品は例えば、従来からの移送システム(7)(一点鎖線で示す)によって、ブロー成形機(6)に入る。
ブロー成形機(6)は、例えば環状に配置された10から24のオーダーの成形品を有し、矢印Cで示される向きに回転する。予備成形品は空気及び/又はコアロッドを用いて、ブロー成形機内で延ばされ、予備成形品を型で定められる形状に合わせる。容器(8)のようなブロー成形機(6)から出てくる容器は、矢印Dで示す方向に回転する移送アセンブリ(12)の移送アーム(10)から吊される。
同様に、移送アセンブリ(12)が回転すると、移送アーム(14)(16)は、容器(8)を持ち上げ、該容器を検査領域(20)を通って移送し、該検査領域で容器は下記の検査システムによって検査される。
排除領域(24)には、移送アセンブリ(12)から排除すべきと判断されるあらゆる容器を取り除く排除機構(26)がある。
図1の例に於いて、容器(30)は排除領域(24)を越えて通過し、スターホィール機構(34)に持ち上げられ、該スターホィール機構はE方向に回転し、例えばポケット(36)(38)(40)のような複数のポケットを有する。
容器(46)はスターホィール機構のポケットにある様子が図1に示される。容器は次にシステムの所望の輸送経路及び性質に従って、当業者に公知の方法でコンベア手段に移送される。種々の実施例によればブロー成形システム(4)は1時間当たり20000個から100000個の速度で容器を製造する。
図2及び図3は、本発明の種々の実施例による検査システム(50)を示す。以下に更に記載するように、検査システム(50)は列型検査システムであって、容器が形成されるとき、容器が形成されるのと同じ速度で(例えば、1時間当たり10000個まで)、検査用の工程ラインから検査の為に、容器を取り出す必要なく、且つ検査用に容器を破壊する必要なく、容器を検査する。検査システム(50)はブロー成形の後に、容器が移送アセンブリ(12)によって検査領域(20)を通って回転する際に、ブロー成形システム(4)によって形成される各容器の特性(例えば、2つの壁の平均厚み、質量、容積、及び/又は材料分布)を決定する。
図2は、検査システム(50)の斜視図であり、図3は、検査システム(50)の正面図である。これらの図に示すように、検査システム(50)は2つの縦アーム(52)(54)を具え、該アーム(52)(54)の下端部間にクロスバー部(56)を具えている。一方のアーム(52)は多数の光エネルギエミッタアセンブリ(60)を含み、他方のアーム(54)はエミッタアセンブリ(60)からの光エネルギを検知する多数の広帯域センサ(62)を含み、該光エネルギはアーム(52)(54)間を通過するプラスチック容器を通る。このようにして、容器に吸収されないエミッタアセンブリ(60)からの光エネルギは、容器(66)の両側壁を通過し、センサ(62)によって感知される。容器(66)は、移送アセンブリ(12)によってアーム(52)(54)間の検査領域(20)を通って回転する(図1参照)。他の実施例に於いて、コンベアが検査領域(20)を通って容器を輸送するのに用いられる。
各種の実施例では、エミッタアセンブリ(60)は異なるディスクリートな狭波長帯域の光エネルギを放出する一対の発光ダイオード(LED)を具える。例えば、各エミッタアセンブリ(60)の1つのLEDは、容器材料での吸収特性が、プラスチック容器(66)の材料厚さに大きく影響される狭波長帯域(吸収波長)の光エネルギを放出する。他方のLEDは、プラスチック容器(66)の材料をほぼ透過する狭波長帯域(基準波長)の光エネルギを放出する。
各種の実施例では、アーム(52)内の各エミッタ(60)に対応して1つの広帯域センサ(62)がアーム(54)内にある。吸収波長及び基準波長に於ける感知エネルギに基づいて、容器(66)の2つの壁を通る厚みは、エミッタとセンサのペアの高さレベルに於いて決定される。この情報は、壁が仕様を満たしていない(例えば、壁が薄すぎるか、厚すぎるの何れか)故に、容器を不良とすべきかを決定するのに用いられる。この情報はまた、以下に詳細に記載するように、種々の実施例に基づいて、予備成型品オーブン(2)及び/又はブロー成形機(6)のパラメータを調整するフィードバックにも用いられる。
エミッタ−センサのペアが縦方向へ一層接近して位置すると、より詳細な厚さ情報が容器(66)に関して得られる。各種の実施例では、3個から50個のそのようなエミッタセンサのペアが容器(66)の頂部から底部の高さに亘って存在する。32までのエミッタセンサのペアが0.5インチ又はそれ以下の間隔で存在するのが好ましい。そのような密接に間隔を開けて配備されたエミッタ−センサのペアは、これまで以上に、容器(66)の縦壁厚みの全体概略を効果的に提供する。
各種の実施例では、検査システム(50)がプラスチック、或いはPET容器(66)を検査するのに用いられるとき、吸収波長の狭い帯域は、約2350nmを中心とし、基準波長帯域は約1835nmを中心とする。勿論、他の実施例では、別の波長帯域が用いられ得る。ここで使用される「狭い帯域」又は「狭波長帯域」の語は、最大振幅の半分値間の全幅(半値全幅)(FWHM)が200nm未満又はこれに等しい波長帯域を意味する。即ち、光源の1つについて、発射光強度が最大強度の半分である波長間の差は、200nm未満又はそれに等しい。光源は100nm又はそれより小さいFWHMの狭い帯域を有するのが好ましく、50nm又はそれより小さいFWHMであるのが好ましい。
アーム(52)(54)は、エミッタアセンブリ(60)及びセンサ(62)が取り付けられるフレーム(68)を有する。フレーム(68)は例えばアルミニウムのようなあらゆる適切な材料から形成され得る。エミッタ(60)及びセンサ(62)を制御し/給電する回路基板上のコントローラ(図示せず)がまた、フレーム(68)に形成された開空間に配備される。クロスバー部(56)は、アーム(52)(54)用のフレーム(68)と同じ材質で形成されている。
フレーム(68)は、検査領域(20)に向けて複数の開口(69)を形成している。図2に示すように、各センサ(62)用の開口がある。各エミッタアセンブリ(60)に対応した開口もある。エミッタアセンブリからの光エネルギは、検査領域(20)内の対応する開口に向けられ、各開口(69)の背後にあるセンサ(62)に向けられる。
図4は、本発明の各種実施例に於けるエミッタアセンブリ(60)の平面図である。エミッタアセンブリ(60)は、第1のLEDスリーブ(80)に含まれる第1のLED、及び第2のLEDスリーブ(82)に含まれる第2のLED(簡略化の目的から、しばしば、「第1のLED(80)」及び「第2のLED(82)」と言及する)を含む。LED(80)(82)の一方は、基準波長にて光エネルギを発し、他方は吸収波長にて光エネルギを発する。
一実施例に従って、第1のLEDスリーブ(80)は、吸収波長にて発光するLEDを含み、第2のLEDスリーブ(82)は、基準波長にて発光するLEDを含む。
図4に示すように、エミッタアセンブリ(60)はビームスプリッタ(84)を含む。ビームスプリッタ(84)は、第1のLED(80)からの光エネルギが、透過可能なダイクロイックビームスプリッタであり、第1のLED(80)からの光エネルギは、開口(69)に向かって伝搬し、第2のLED(82)からの光エネルギは略反射して、第2のLED(82)からの光エネルギもまた、開口(69)に向けられる。
アセンブリ(60)はまた、各開口(69)用のカバー(86)を有する。カバー(86)は第1及び第2のLEDから発光する波長帯域が略通過する。
ネジ開口(88)(89)を通るネジ(図示せず)は、アセンブリ(60)をフレーム(68)に取り付けるのに用いられる。ピン開口(90)(91)内のピン(図示せず)は、光学性能を改善すべくアセンブリ(60)を並べるのに用いられる。第2のLED(82)用の電気的ワイヤを含むように、導管(92)が用いられ、両第1及び第2のLED(80)(82)用のワイヤ(図示せず)がアセンブリ(60)の後端部(94)にて、アセンブリ(60)に取り付けられる。
図5は、エミッタアセンブリ(60)の他の図である。この図は、第1のLED(100)及び第2のLED(102)を示している。各LED(100)(102)からの光エネルギは、夫々LED及びレンズを囲んでいるシリンダケース(110)(112)の高反射率の内壁(108)によって、夫々1又は一連の集光及び平行化レンズ(104)(106)を通って方向づけられる。各LED(100)(102)は、関係する回路基板(114)(116)又は他のタイプの基板を有して、該基板にLED(100)(102)が取り付けられ、LED(100)(102)と電気的に接続する(図示せず)インターフェイスを付与する。
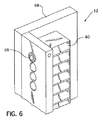
図6−図8は、本発明の各種実施例に於けるエミッタアセンブリ(60)の別の図である。図7と図8に於いて、エミッタアセンブリ(60)の半分だけが、図示の目的から示される。
図9は、本発明の各種実施例に於けるセンサ(62)の図である。示された実施例に於いて、センサ(62)はエミッタアセンブリ(60)からの光エネルギを感知する広帯域の光検出器(120)を有する。各種実施例に於ける、光検出器(120)は性能が向上したInGaAs光検出器である。そのような光検出器は、エミッタアセンブリ(60)によって発せられる波長帯域を含む広範囲の波長を感知することができる。センサ(62)は更に光検出器(120)に入る光を合焦させる1又は2以上のレンズ(122)を含む。検出器はまた、散乱光の邪魔板(124)を具える。また、光検出器(120)は関係する回路基板(126)又は他のタイプの基板を有して、該基板に光検出器(120)が取り付けられ、光検出器(120)と電気的に接続する(図示せず)インターフェイスを付与する。
図10は、センサ(62)及び関係するセンサコントローラ回路基板(134)の簡略化したブロック図である。図10に示すように、センサ(62)は更に、光検出器(120)からの信号を増幅する第1の増幅器(130)を具える。第1の増幅器(130)は、光検出器(120)と一体化され、又はコントローラ回路基板(126)上に位置する(図9参照)。第1の増幅器(130)からの出力は次に、センサコントローラ回路基板(134)上の他の増幅器(132)に入力される。センサコントローラ回路基板(134)は、図11に示すように、アーム(54)内の開空間のようなセンサ(62)の近傍に位置する。各種実施例に於いて、各回路基板(134)は8つのセンサ(62)と接続しており、従って32個のエミッタ−センサペアを有する実施例については、32個センサ用に4つのセンサ回路基板(134)がある。
図10に示すように、回路基板(134)は、光検出器(120)からの信号を増幅されたアナログ信号を、デジタル形式に変換するアナログ−デジタル(A/D)コンバータ(136)を具える。各種実施例に於ける、A/Dコンバータ(136)は、16ビットA/Dコンバータである。A/Dコンバータ(136)からの出力は、フィールドプログラマブルゲートアレイ(FPGA)(140)又はASICのような他の適切な幾つかの回路に入力される。回路基板(134)は例えばLVDS(低電位差信号化)、又はシリアル又はパラレルのデータ通信の何れかを用いる他の適切な幾つかの接続(例えば、RS−232)を介して、プロセッサ(142)と繋がる。 プロセッサ(142)は、デジタル信号プロセッサ、又はここに記載したように、センサ(62)からの信号を処理する他の適切な幾つかのプロセッサである。プロセッサ(142)は、1又は多数のコアを有する。1つのプロセッサ(142)で各回路基板(134)からのデータを処理し、又は多数のプロセッサがあってもよい。プロセッサ(142)は例えば、図11に示すように、検査システム(50)のクロスバー部(56)の下に取り付けられた電気的囲み(144)に収納される。
図12は、各種実施例に於けるエミッタLED用のコントローラ(148)を簡略化した概略図である。各LED(100)(102)はLEDがオンかオフ制御関係するスイッチ(150)を有する。スイッチ(150)は例えば、電界効果トランジスタ(FET)として実施される。調整可能な定電流源(154)がLED(100)(102)を駆動する。電流源(154)からの電流は、例えば較正の目的からLED(100)(102)の発光強度を制御するように調整される。トランジスタ電流源、又はカレントミラー回路(current mirror)のようなあらゆる適切な電流源が用いられ得る。電流源(154)は、デジタル−アナログ(D/A)コンバータ(160)を介して、FPGA(158)(又は他の適切なプログラマブル回路)からの信号によって制御される。FPGA(158)はプロセッサ(142)からのフィードバックに基づいて、LED(100)(102)の強度レベルを適切に補償する値を格納することができる。
各種実施例では、FPGA(158)は多数のエミッタアセンブリ(60)についてのLEDを制御することができる。例えば、1つのFPGA(158)は、上記の如く、各々が2つのLEDを有する8つのエミッタアセンブリ(60)を制御することができる。FPGA(158)はD/Aコンバータ(160)、電流源(154)、及び各8つのチャンネルについてのスイッチ(150)とともに、図11に示すように、アーム(52)のフレーム(68)内に形成される空間のようなエミッタアセンブリ(60)の近傍の回路基板上に含まれる。従って、32のエミッタアセンブリ(60)を有する実施例について、4つのそのようなコントローラ回路基板(148)がある。FPGA(158)は、LVDS接続又は他の適切な幾つかのシリアル又はパラレル通信リンクを用いて、囲み(図11参照)内のプロセッサ(142)と通信する。
各種実施例に於ける、LED(100)(102)は周期的にスイッチがオン、オフされる。LED(100)(102)がオフの時間中は、LED(100)(102)の駆動が調整され、及び/又はセンサ側の増幅器(130)(132)のゲインは、性能のドリフトを補償し、及び/又はそうでなければエミッタ−センサのペアの較正を保つように調整される。
図13は、本発明の各種実施例に於ける、サイクルをサンプリングするシステムタイミングのアーキテクチャを示すタイミング図である。示された実施例に於いて、スイッチングサイクルは50kHzのサンプリングレートに対応して、20マイクロ秒の期間を有する。勿論、他の実施例に於いて、別の期間を有するスイッチングサイクルが用いられ得る。
エミッタアセンブリ(60)のLED(100)(102)が点灯する時間は、500ナノ秒未満を要するのが好ましく、センサの光検出器(120)は500ナノ秒又はそれ未満の応答時間を有するのが好ましい。更に、消灯後に光検出器(120)が復帰する時間は、500ナノ秒又はそれ未満である。図13の例に示すように、サイクルの開始時にて(t=0)、1つおきのエミッタアセンブリ(60)(例えば、「奇数番」)の吸収LEDが点灯する。センサ(62)は1以上のエミッタアセンブリ(60)からの光エネルギを検知するから、エミッタアセンブリ(60)はその様な有様の群となって(in banks)オン及びオフする。示された実施例に於いては、エミッタアセンブリ(60)は2群(奇数及び偶数)作動するが、他の実施例では、エミッタアセンブリは2群よりも多い数で作動してもよい。
t=2から3マイクロ秒の適切な時間間隔中、各センサ(62)についてのA/Dコンバータ(136)(図10参照)は、この条件(奇数番の吸収LEDがオン)に対して、光検出器(120)からの信号をラッチし(latch)及び変換する。t=3マイクロ秒にて、奇数番のLEDが消灯し、t=4マイクロ秒にて、奇数番のLEDが点灯する。t=6から7マイクロ秒の適切な時間間隔中、各センサ(62)についてのA/Dコンバータ(136)は、奇数のLEDがオンの条件について、光検出器(120)からの信号をラッチし変換する。t=7マイクロ秒にて、奇数のLEDが消灯する。
t=7マイクロ秒から12マイクロ秒にて、エミッタアセンブリの全てのLEDが消灯する。t=10から11マイクロ秒の適切な時間間隔中、各センサ(62)についてのA/Dコンバータ(136)は、全てのLEDがオフの条件について、光検出器(120)からの信号をラッチし変換する。t=12マイクロ秒にて、「偶数番の」吸収LED(或いは、t=0マイクロ秒にて点灯しなかったLED)が点灯する。
t=14から15マイクロ秒の適切な時間間隔中、各センサ(62)についてのA/Dコンバータ(136)は、偶数の吸収LEDがオンの条件について、光検出器(120)からの信号をラッチし変換する。t=15マイクロ秒にて、偶数の吸収LEDが消灯し、t=16マイクロ秒にて、偶数の基準LEDが点灯する。t=18から19マイクロ秒の適切な時間間隔中、各センサ(62)についてのA/Dコンバータ(136)は、偶数の基準LEDがオンの条件について、光検出器(120)からの信号をラッチし変換する。
t=19マイクロ秒にて、偶数の基準LEDが消灯する。次にサイクルはt=20マイクロ秒から繰り返され、以下同様である。
ブロー成形システム(図1のブロー成形システム(4)のような)がプラスチック容器を製造するのに用いられる各種実施例に於ける、ブロー成形システム内、又はブロー成形システムと作動可能に繋がった多数のセンサがプロセッサ(プロセッサ(142)のような)に情報を付与して、ブロー成形機内の特定の成形品とスピンドルの同期を可能にして、容器を検査されるようにして、それによって価値のあるフィードバック情報を付与する。
指定されたブロー成形機のステップセンサである1つのセンサは、成形品及びスピンドルを対応する開始位置から数えることに関する情報を含む信号を発する。成形品及びスピンドルの総数は、ブロー成形機の型及びモデルによって変化するが、この情報は予め知られている。この情報は、システム内にプログラムされ得る。ブロー成形機同期センサからの第2の信号は、成形品アセンブリを回転させる新たなサイクルの開始に関する情報を付与する。
ブロー成形機スピンドルの同期センサは、スピンドルアセンブリを回転させる新たなサイクルに関する出力を付与する。成形同期及びスピンドル同期の機械加工工程を監視するのに用いられるセンサは、ブロー成形機内のあらゆる適切な位置にあり、当業者に周知の誘導センサのようなあらゆる適切なセンサであり得る。
パートインプレイス(part-in-place)センサは、容器が検査システム(20)に到着し、検査に基づく光エネルギが開始したことを示す信号をプロセッサ(142)に付与する。この点に於いて、多数の別個の波長を有するスペクトル光源(60)からの発光ビームが容器を横断する。プロセッサ(142)は、広帯域センサ(62)と通信して、上記の如く、センサ(62)から電気的信号を受信して電気的信号に含まれる厚さ情報と、所望の厚みに関する格納された情報とを比較する。そのようなセンサの更なる詳細な内容は、米国特許第6,863,860号に記載されており、この内容は引用を以って本願への記載加入とする。
各種実施例に於ける、厚さが所望の範囲内でないときは、プロセッサ(142)はブロー成形機の排除機構(26)に信号又は命令を発して、排除機構は排除信号を起こして容器排除システムを作動させて、コンベアからの容器を廃棄する。
図14は、プロセッサに基づく制御システムを示す図であり、該システムは各種実施例に於ける、検査システム(50)を用いて実現される。吸収LEDのみがオン、基準LEDのみがオン、全てのLEDがオフの状況を表す信号を含んだ信号を含めて、光検出器(120)/センサ回路基板(134)からの信号が、プロセッサ(142)に入力される。
この情報に基づいて、プロセッサ(142)は各エミッタ−センサペアの高さ位置に於ける容器(66)の2つの側壁を通る平均厚みを演算し決定することができる。このようにして例えば、32個のエミッタ−センサペアがあれば、プロセッサ(142)は底から32の異なった高さ位置にて、容器(66)の2つの側壁を通る平均厚みを演算することができる。この情報は、容器が排除されるべきかを決定するのに用いられる。容器が排除されるべきならば、プロセッサ(142)は排除機構に排除信号を送るようにプログラムされ、容器を排除させる。
プロセッサ(142)はまた、容器の質量、容積及び/又は材分布を計算し、これらの特質(又は特性)が厚さに関係するようにする。例えば、エミッタ−センサペアの種々の高さレベルに対応した部分である、検査された容器の種々の部分の質量又は容積はまた、プロセッサによって計算される。容器の進行前縁の検知と、容器の進行後縁の検知の間の時間を測定することにより、プロセッサはまた、容器の直径を演算することができる。この時間間隔は容器の速度情報と組み合わされると、多数の高さに於ける容器の直径を表示し、これは成形不良の容器の識別に十分である。
プロセッサ(142)は、最後のX個の容器及び/又は最後のY秒についての各高さレベルに於ける平均厚みのような最新の情報を計算するようにプログラムされ得る。また、他の関連のある、関係する統計上の情報(例えば、標準偏差等)も演算され得る。この情報に基づいて、プロセッサ(142)は例えば、予備成形品オーブン(2)に制御信号を送って、そのヒータの温度を修正する(例えば、温度を上げ又は下げる)ようにプログラムされ得る。
プロセッサ(142)はまた、センサ回路基板(134)からの信号に基づいて、エミッタアセンブリ(60)及びセンサ(62)の更新された較正データを計算するようにプログラムされ得る。例えば、プロセッサ(142)は、電流源(154)からのエミッタアセンブリ(60)用の駆動信号が調整されなければならないか、及び/又はセンサ回路基板(134)の何れかの増幅段階(130)(132)のゲインが調整されなければならないかを演算するようにプログラムされ得る。プロセッサ(142)は、較正調整信号をエミッタアセンブリ(60)用の駆動回路(148)の1又は2以上のFPGA(158)に送信するようにプログラムされ得て、FPGA(158)に符号化される較正値に基づいて、FPGA(158)は電流源(154)からの駆動信号を制御する。同様に、プロセッサはセンサ回路基板(134)のFPGA(140)に較正調整信号を送信し、FPGA(140)に符号化される較正値に基づいて、FPGA(140)は増幅段階(130)(132)のゲインを制御して、較正を維持する。
また、上記の如く、ブロー成形機(6)からの成形−スピンドルタイミングセンサ情報に基づいて、プロセッサ(142)は、特定の成形、スピンドル及び/又は成形−スピンドルの結合について、最新のX容器の各高さレベルに於ける平均厚みを演算する。プロセッサ(142)はまた、関連する他の統計情報を演算する。この情報は、欠陥のある成形品又はスピンドルを検知し、又はブロー成形機(6)のパラメータを調整するのに用いられ得る。
幾つかの実施例に於いて、システムはまた、形成された容器を検査する画像システム(200)を含む。画像システム(200)は、形成された容器の頂部、底部及び/又は側部の何れかの画像を捉える1又は2以上のカメラを具える。これらの画像は、プロセッサ(142)に送られ得て、形成された容器内の欠陥を検知すべく分析される。欠陥を有する容器が検知されれば、プロセッサ(142)は排除機構に信号を送って、容器を排除するようにプログラムされ得る。画像システムは、AGRトップウェーブペットウォールプラス厚さ監視システム、或いは米国特許第6,967,716号に記載されたのと同様の画像システムであり、この内容は引用を以って本願への記載加入とする。
プロセッサ(142)からの厚さの出力情報は、システムの画像システム(200)を含む画像に基づく情報と同様に、タッチスクリーンディスプレイのようなグラフィカルユーザインターフェイス(202)に搬送される。GUI(202)は、ブロー成形機の特定の成形品とスピンドルの組み合わせによって生成される特定の容器に関する情報を、作業者に供給し得る。秒又は分のような期間に亘って、値が平均化されるのが好ましい。
時間測定に加え、又は時間測定に代えて、この平均化は2から2500のオーダーである一定数の容器について得られる。GUI(202)はまた、ブロー成形機及び個々の成形品及びスピンドルに傾向情報を提供する。迅速な注意を要求する重大な問題の場合は、視覚的及び/又は聴覚的な警報が出される。更に、作業者はGUI(202)を介して、プロセッサ(142)に一定の情報を入力し、プロセッサの動作を制御すべく較正を変更する。また、作業者は処理限界及び排除限界をプロセッサ(142)に入力して、容器の各厚さ測定領域が検査されるようにする。排除限界とは、容器の排除を引き起こす厚みの上限値及び下限値である。処理限界とは、工程警報表示器を作動させる平均時間又は容器の平均厚み数の上限値及び下限値である。
各種実施例に於ける、LEDに加え、又はLEDに代えて、光エミッタアセンブリ(60)は、1又は2以上のレーザダイオードを用いて、別個の波長帯域にて光エネルギを発する。また、別個の狭い帯域を有する光源を組みあわせるべく、エミッタアセンブリ(60)内にダイクロイックビームスプリッタ(84)を設けるのに代えて、同じ効果を得るのに、他の光学技術が用いられ得る。例えば、二股のファイバ光学カプラが用いられて、2つの別個の光源からの光エネルギを混合させる。
好ましい実施例は、性能が向上したInGaAs光検出器(120)を用いるが、他の実施例に於いて、他のタイプの検出器が同じ効果の為に用いられ得る。例えば、PbS検出器が用いられて、関連する波長範囲に於いて、光の広範囲を測定する。更に、上記の実施例は、縦並びに配列されたLED及びセンサを用いるが、他の構成は隣り合うLED/センサのペアの取付けを交互にずらして、丁度エミッタアセンブリ(60)の縦並びを互いにずらす図15の例に示すように、積み重なるセンサの縦並びをより密接にする。種々の実施例に於いて、光検出器も同様に交互にずらされる。
ここで提示される例は、実施例に可能性があり、特定の実施を示すことを意図している。当業者には、代表的な実施例は主に説明の目的を意図していることが理解され得るであろう。実施例の特定の態様は、記載された実施例の範囲に限定することを意図していない。
他に特に注意しなければ、請求の範囲に用いられるように、「プラスチック容器」の語は、ポリ塩化ビニル、ポリエチレン、ポリメタクリル酸、ポリウレタン、加熱可塑性物、エラストマー、PET又はポリオレフィンを含む任意のタイプのプラスチック材料から作られた任意のタイプの容器を意味する。
実施例の図面及び記載は、実施例を明瞭に理解するために関連する要素を簡略化して示され、明瞭化の目的から他の要素は削除していることが理解されるだろう。例えば、或る作動システムの詳細及び電源供給に関する要素はここでは記載されていない。しかし、当業者には、これら及び他の要素が上記された検査システムに於いて、望ましいことが理解されるだろう。しかし、そのような要素が技術分野に於いて有名であり、それらが実施例をより一層理解することを助長しないので、そのような要素はここには記載されない。
一般に、少なくともここに記述された実施例の少なくとも幾つかが、ソフトウェア、ファームウェア及び/又はハードウェアの様々な実施例中で実施されてもよいことは当業者にとって明白であろう。
ソフトウェアコード及びファームウェアコードは、プロセッサ(プロセッサ(142)のような)又は他の同様計算装置によって実行されてもよい。実施例を実行するのに使用され得るソフトウェアコード又は専門の制御ハードウェアは限定されない。
ここに開示されたプロセッサ及び他のプログラム可能な要素は、情報を得て、処理し、通信するのに使用される或る種のソフトウェアアプリケーションを格納するメモリを含み得る。そのようなメモリは、開示された実施例の動作について内部であっても外部であってもよいことが理解されるだろう。
メモリは、さらに、ハードディスク、光ディスク、フロッピディスク、ROM(読み出し専用メモリ)、RAM(ランダム・アクセス・メモリ)、PROM(プログラム可能なROM)、EEPROM(電気的に消去可能なPROM)、及び/又は他のコンピュータが読める媒体を含むソフトウェアを格納するあらゆる手段も含んでもよい。
ここに開示された種々の実施例にて、1つの要素は多数の要素に置換され、多数の要素は1つの要素に置換され得て、所定の機能を実行する。そのような代替品が有効でない場合を除き、そのような代替品は実施例の意図する範囲内である。例えば、プロセッサ(142)は多数のプロセッサに置換され得る。
種々の実施例がここでは記載されてきたが、当業者には、それら実施例への種々の修正、変更及び順応品が少なくとも幾つかの利点を達成しつつ生じ得ることが明らかであろう。
従って、開示された実施例は、ここで記載した実施例の範囲を離れることなく、そのような全ての種々の修正、変更及び応用品を含むことを意図している。

Claims (31)

  1. ブロー成形されたプラスチック容器を検査する検査システムであって、
    縦並びに配列され、容器が検査領域を通過する際に、ブロー成形されたプラスチック容器に向けて、少なくとも2つの異なる狭い波長帯域にて光エネルギを周期的に発する複数のエミッタアセンブリと、
    縦並びに配列された複数の広帯域光検出器であって、該広帯域光検出器の各々は少なくとも1つのエミッタアセンブリと対向して、容器が検査領域にあるときに、容器を通る光エネルギを感知することができる複数の広帯域光検出器と、
    該広帯域光検出器と繋がって、該広帯域光検出器からの信号に基づいて、容器の特性を決定するプロセッサを具える検査システム。
  2. 広帯域光検出器からの信号は、少なくとも2つの異なる狭い波長帯域の両方にて、容器に吸収される光量を表わす、請求項1に記載の検査システム。
  3. 前記特性は、複数の広帯域光検出器の各高さレベルにて、容器の2つの壁の平均厚みを含む、請求項2に記載の検査システム。
  4. 前記特性は、質量及び容積から構成されるグループから選択される特性を含む、請求項2に記載の検査システム。
  5. 更に、複数のエミッタアセンブリが取り付けられる第1のアームと、複数の広帯域光検出器が取り付けられる第2のアームとを具える、請求項1に記載の検査システム。
  6. エミッタアセンブリの数は、広帯域光検出器の数に等しい、請求項5に記載の検査システム。
  7. エミッタアセンブリは縦に並べられて、広帯域光検出器は縦に並べられる、請求項6に記載の検査システム。
  8. 各エミッタアセンブリは、
    第1の狭波長帯域にて光エネルギを発する第1の光源と、
    第1の狭波長帯域とは別の第2の狭波長帯域にて、光エネルギを発する第2の光源とを具える、請求項1に記載の検査システム。
  9. 検査システムは更に、少なくとも第1エミッタアセンブリに繋がったコントローラを具え、該コントローラは、第1エミッタアセンブリを制御することにより、
    サイクルの第1部分では、第1エミッタアセンブリの第1光源はオン、第1エミッタアセンブリの第2光源はオフであり、
    サイクルの第2部分では、第1エミッタアセンブリの第1光源はオフ、第2光源はオンであり、
    サイクルの第3部分では、第1エミッタアセンブリの第1光源はオフ、第2光源はオフ、
    である、請求項8に記載の検査システム。
  10. 更に、少なくとも第1及び第2エミッタアセンブリに繋がったコントローラを具え、該コントローラは、第1及び第2エミッタアセンブリを制御することにより、
    サイクルの第1部分では、第1エミッタアセンブリの第1光源はオン、第1エミッタアセンブリの第2光源はオフ、第2エミッタアセンブリの第1及び第2光源はオフ、
    サイクルの第2部分では、第1エミッタアセンブリの第1光源はオフ、第1エミッタアセンブリの第2光源はオン、第2エミッタアセンブリの第1及び第2光源はオフ、
    サイクルの第3部分では、第1エミッタアセンブリの第1及び第2光源はオフ、第2エミッタアセンブリの第1光源はオン、第2エミッタアセンブリの第2光源はオフ、
    サイクルの第4部分では、第1エミッタアセンブリの第1及び第2光源はオフ、第2エミッタアセンブリの第1光源はオフで、第2エミッタアセンブリの第2光源はオン、
    サイクルの第5部分では、第1エミッタアセンブリの第1及び第2光源はオフ、第2エミッタアセンブリの第1及び第2光源はオフ、
    である、請求項8に記載の検査システム。
  11. 第1の光源はLEDを含み、第2の光源はLEDを含む、請求項8に記載の検査システム。
  12. 第1の光源はレーザーダイオードを含み、第2の光源はレーザーダイオードを含む、請求項8に記載の検査システム。
  13. 更に、プロセッサに繋がって、少なくとも1つのエミッタアセンブリを制御する第1のコントローラと、
    プロセッサに繋がって、少なくとも1つの広帯域光検出器を制御する第2のコントローラを具え、
    プロセッサは、第1及び第2のコントローラに較正調整を伝えるようにプログラムされている、請求項8に記載の検査システム。
  14. 複数の広帯域光検出器の少なくとも1つは、InGaAs光検出器を含む、請求項1に記載の検査システム。
  15. エミッタアセンブリの各々は、ビームスプリッタを含む、請求項8に記載の検査システム。
  16. 予備成形品からプラスチック容器をブロー成形するブロー成形システムであって、
    予備成形品を加熱するオーブンと、
    加熱された予備成形品をプラスチック容器に成形するブロー成形機と、
    プラスチック容器がブロー成形機によって形成される際に、プラスチック容器を検査する列型検査システムとを具え、該列型検査システムは、
    容器が検査領域を通過する際に、容器に向けて、少なくとも2つの異なる狭い波長帯域にて光エネルギを周期的に発する複数のエミッタアセンブリと、
    複数の広帯域光検出器であって、各広帯域光検出器は少なくとも1つのエミッタアセンブリと対向して、容器が検査領域にあるときに、容器を通る光エネルギを感知することができる複数の広帯域光検出器と、
    広帯域光検出器と繋がって、該広帯域光検出器からの信号に基づいて、容器の特性を決定するプロセッサを具えるブロー成形システム。
  17. 広帯域光検出器からの信号は、少なくとも2つの異なる狭い波長帯域の両方にて、容器に吸収される光量を表わす、請求項16に記載のブロー成形システム。
  18. 検査システムは更に、
    複数のエミッタアセンブリが縦に並べられた第1のアームと、
    複数の広帯域光検出器が縦に並べられた第2のアームとを具える、請求項16に記載のブロー成形システム。
  19. 各エミッタアセンブリは、
    第1の狭波長帯域にて光エネルギを発する第1の光源と、
    第1の狭波長帯域とは別の第2の狭波長帯域にて、光エネルギを発する第2の光源とを具える、請求項16に記載のブロー成形システム。
  20. 検査システムは更に、少なくとも第1エミッタアセンブリに繋がったコントローラを具え、該コントローラは第1エミッタアセンブリを制御することにより、
    サイクルの第1部分では、第1エミッタアセンブリの第1光源はオン、第1エミッタアセンブリの第2光源はオフであり、
    サイクルの第2部分では、第1エミッタアセンブリの第1光源はオフ、第2光源はオンであり、
    サイクルの第3部分では、第1エミッタアセンブリの第1光源はオフ、第2光源はオフ、
    である、請求項19に記載のブロー成形システム。
  21. 検査システムは更に、少なくとも第1及び第2エミッタアセンブリに繋がったコントローラを具え、該コントローラは、第1及び第2エミッタアセンブリを制御することにより、
    サイクルの第1部分では、第1エミッタアセンブリの第1光源はオン、第1エミッタアセンブリの第2光源はオフ、第2エミッタアセンブリの第1及び第2光源はオフ、
    サイクルの第2部分では、第1エミッタアセンブリの第1光源はオフ、第1エミッタアセンブリの第2光源はオン、第2エミッタアセンブリの第1及び第2光源はオフ、
    サイクルの第3部分では、第1エミッタアセンブリの第1及び第2光源はオフ、第2エミッタアセンブリの第1光源はオン、第2エミッタアセンブリの第2光源はオフ、
    サイクルの第4部分では、第1エミッタアセンブリの第1及び第2光源はオフ、第2エミッタアセンブリの第1光源はオフで、第2エミッタアセンブリの第2光源はオン、
    サイクルの第5部分では、第1エミッタアセンブリの第1及び第2光源はオフ、第2エミッタアセンブリの第1及び第2光源はオフ、
    である、請求項19に記載のブロー成形システム。
  22. 更に、プロセッサに繋がって、少なくとも1つのエミッタアセンブリを制御する第1のコントローラと、
    プロセッサに繋がって、少なくとも1つの広帯域光検出器を制御する第2のコントローラを具え、
    プロセッサは、第1及び第2のコントローラに較正調整を伝えるようにプログラムされている、請求項19に記載のブロー成形システム。
  23. プロセッサは更に、オーブンに制御信号を送って、プロセッサによって決定された特性に基づいて、オーブンのパラメータを変更するようにプログラムされている、請求項19に記載のブロー成形システム。
  24. プロセッサは更に、ブロー成形機に制御信号を送って、プロセッサによって決定された特性に基づいて、ブロー成形機のパラメータを変更するようにプログラムされている、請求項19に記載のブロー成形システム。
  25. ブロー成形されたプラスチック容器を検査する方法であって、
    縦並びに配列された複数のエミッタアセンブリから、ブロー成形されたプラスチック容器に向けて、プラスチック容器の外側から、2つの異なる狭い波長帯域にて光エネルギを周期的に向ける工程と、
    縦並びに配列された複数の広帯域光検出器を用いて、プラスチック容器がエミッタアセンブリと該広帯域光検出器間の検査領域にあるときに、プラスチック容器を通るエミッタアセンブリからの2つの異なる狭い波長帯域の各々にて光エネルギを感知する工程と、
    感知された光エネルギに基づいて、プラスチック容器の特性を決定する工程とを有する方法。
  26. エミッタアセンブリは、
    第1の狭い波長帯域にて光エネルギを発する第1の光源と、
    第1の狭い波長帯域とは別の第2の狭い波長帯域にて、光エネルギを発する第2の光源とを具える、請求項25に記載の方法。
  27. 光エネルギを周期的に向ける工程は、
    サイクルの第1部分では、エミッタアセンブリの第1部分の第1光源からの光エネルギを向ける工程であって、エミッタアセンブリの第1部分の第2光源がオフ、エミッタアセンブリの第2部分の第1及び第2光源がオフである工程、
    サイクルの第2部分では、エミッタアセンブリの第1部分の第2光源からの光エネルギを向ける工程であって、エミッタアセンブリの第1部分の第1光源がオフで、エミッタアセンブリの第2部分の第1及び第2光源がオフである工程、
    サイクルの第3部分では、エミッタアセンブリの第2部分の第1光源からの光エネルギを向ける工程であって、エミッタアセンブリの第2部分の第2光源がオフで、エミッタアセンブリの第1部分の第1及び第2光源がオフである工程、
    サイクルの第4部分では、エミッタアセンブリの第2部分の第2光源からの光エネルギを向ける工程であって、エミッタアセンブリの第2部分の第1光源がオフで、エミッタアセンブリの第1部分の第1及び第2光源がオフである工程、
    サイクルの第5部分では、エミッタアセンブリの第1部分の第1及び第2光源がオフで、エミッタアセンブリの第2部分の第1及び第2光源がオフである工程を有する、請求項25に記載の方法。
  28. 更にサイクル中は、少なくとも1つのエミッタアセンブリ、又は少なくとも1つの光検知器に較正調整を行う工程を有する、請求項25に記載の方法。
  29. プラスチック容器を製造する方法であって、
    予備成形品オーブンを用いて予備成形品を加熱する工程と、
    ブロー成形機にて加熱された予備成形品からプラスチック容器を形成する工程と、
    ブロー成形機による形成後に、プラスチック容器を検査する工程を具え、
    プラスチック容器を検査する工程は、
    縦並びに配列された複数のエミッタアセンブリから、プラスチック容器に向けて、プラスチック容器の外側から、2つの異なる狭い波長帯域にて光エネルギを周期的に向ける工程と、
    縦並びに配列された複数の広帯域光検出器を用いて、プラスチック容器がエミッタアセンブリと該広帯域光検出器間の検査領域にあるときに、プラスチック容器を通るエミッタアセンブリからの2つの異なる狭い波長帯域の各々にて光エネルギを感知する工程と、
    感知された光エネルギに基づいて、プラスチック容器の特性を決定する工程とを有する方法。
  30. 更に決定された特性に基づいて、予備成形品オーブンのパラメータを調整する工程を含む、請求項29に記載の方法。
  31. 更に決定された特性に基づいて、ブロー成形機のパラメータを調整する工程を含む、請求項29に記載の方法。
JP2009526750A 2006-09-01 2007-08-31 検査システム、ブロー形成システム、プラスチック容器を検査する方法、及び、プラスチック容器を製造する方法 Active JP5271908B2 (ja)

Applications Claiming Priority (3)

Application Number Priority Date Filing Date Title
US84195406P 2006-09-01 2006-09-01
US60/841,954 2006-09-01
PCT/US2007/019230 WO2008027569A2 (en) 2006-09-01 2007-08-31 In-line inspection system for vertically profiling plastic containers using multiple wavelength discrete spectral light sources

Publications (2)

Publication Number Publication Date
JP2010502952A JP2010502952A (ja) 2010-01-28
JP5271908B2 true JP5271908B2 (ja) 2013-08-21

Family

ID=39136639

Family Applications (1)

Application Number Title Priority Date Filing Date
JP2009526750A Active JP5271908B2 (ja) 2006-09-01 2007-08-31 検査システム、ブロー形成システム、プラスチック容器を検査する方法、及び、プラスチック容器を製造する方法

Country Status (7)

Country Link
US (2) US7924421B2 (ja)
EP (1) EP2067003B1 (ja)
JP (1) JP5271908B2 (ja)
KR (1) KR101389582B1 (ja)
CN (1) CN101578495B (ja)
MX (1) MX2009001912A (ja)
WO (1) WO2008027569A2 (ja)

Families Citing this family (46)

* Cited by examiner, † Cited by third party
Publication number Priority date Publication date Assignee Title
DE102008029855A1 (de) 2008-06-25 2010-01-07 Khs Ag Verfahren sowie Vorrichtung zur Erfassung des Kantenprofils von Flaschen oder dergleichen Behältern
US8358829B2 (en) * 2008-11-26 2013-01-22 Camtek Ltd. System and a method for inspecting an object
JP5088307B2 (ja) * 2008-12-03 2012-12-05 富士通モバイルコミュニケーションズ株式会社 入力装置
US8734709B2 (en) 2009-04-07 2014-05-27 Graham Packaging Company, L.P. Apparatus for reforming a portion of a plastic container
KR101129043B1 (ko) * 2009-06-09 2012-03-27 한이진 휴대용 물질 분석 시스템
DE102009040626A1 (de) 2009-09-08 2011-03-10 Krones Ag Verfahren und Vorrichtung zur Bestimmung der Masse und/oder eines Massenanteils eines Wandabschnitts einer Kunststoffflasche
CA2772494A1 (en) * 2009-09-18 2011-03-24 Sanofi-Aventis Deutschland Gmbh Arrangement for determining a longitudinal position of a stopper
WO2011047226A1 (en) * 2009-10-15 2011-04-21 Plastic Technologies, Inc. Method and apparatus for closed loop blow molding
US8416428B2 (en) * 2009-11-05 2013-04-09 Toyota Motor Engineering & Manufacturing North America, Inc. Detection Methods and Systems
US8565508B2 (en) * 2009-11-26 2013-10-22 Camtek Ltd. System and a method for insepcting an object using a hybrid sensor
US9146099B2 (en) 2010-07-07 2015-09-29 Graham Packaging Company, L.P. Method and system for thermally monitoring process for forming plastic blow-molded containers
DE102010032166B4 (de) * 2010-07-23 2016-03-10 Khs Gmbh Erfassungssystem und Inspektionsverfahren zur Flaschennaht- und Embossingausrichtung
WO2012090795A1 (ja) * 2010-12-28 2012-07-05 株式会社日立ハイテクノロジーズ 遠心分離装置,遠心分離装置を備えた前処理システムおよび当該システムの制御方法
FR2971847B1 (fr) * 2011-02-18 2013-07-19 Tiama Procede et dispositif pour detecter des defauts de repartition de matiere dans des recipients transparents
RU2601268C2 (ru) * 2011-09-06 2016-10-27 Кохер-Пластик Машиненбау Гмбх Способ определения наличия заданных свойств контейнерного изделия и устройство для осуществления указанного способа
DE102012002016B4 (de) 2012-02-03 2017-10-05 Heye International Gmbh Verfahren zur Regelung der Prozessparameter einer Glasformmaschine und Verwendung des Verfahrens
WO2013119999A1 (en) 2012-02-08 2013-08-15 Agr International, Inc. Inspection system for plastic containers
FR2988846B1 (fr) * 2012-03-27 2014-04-11 Msc & Sgcc Procede et installation de mesure de la repartition de verre dans des recipients
DE102012209083A1 (de) 2012-05-30 2013-12-05 Krones Ag Vorrichtung und Verfahren zur Wanddickenmessung von Kunststoffbehältern
US20140028801A1 (en) * 2012-07-30 2014-01-30 Canon Kabushiki Kaisha Multispectral Binary Coded Projection
NL2009980C2 (en) * 2012-12-13 2014-06-16 Ct Voor Tech Informatica B V A method of producing glass products from glass product material and an assembly for performing said method.
DE102013011495A1 (de) * 2013-07-02 2015-01-08 Laser- Und Medizin-Technologie Gmbh, Berlin Verfahren zur Ermittlung der Konzentration eines Stoffes in einem verformbaren Behälter
MX376596B (es) 2013-08-12 2025-03-07 Agr int inc Sistemas y metodos de control de moldeadores por soplado.
US9819436B2 (en) * 2013-08-26 2017-11-14 Coriant Operations, Inc. Intranodal ROADM fiber management apparatuses, systems, and methods
WO2015057506A1 (en) * 2013-10-14 2015-04-23 Verrana, Llc Taggant use for policy enforcement
CA2987968A1 (en) * 2015-06-03 2016-12-08 Industrial Dynamics Company, Ltd. System and method for inspecting containers using multiple radiation sources
CN106442534B (zh) * 2015-08-04 2019-09-03 泰科电子(上海)有限公司 自动检查平台
US10612909B2 (en) 2016-05-03 2020-04-07 Niagara Bottling, Llc Systems and methods for optical measurement of container wall thickness
WO2018195509A1 (en) * 2017-04-20 2018-10-25 Biomerieux, Inc. Optical density instrument and systems and methods using the same
EP3413014B1 (de) * 2017-06-08 2023-07-19 Stephan Brauss Verfahren und vorrichtung zum erfassen und vermessen von objekten
CH713863A1 (de) * 2017-06-08 2018-12-14 Brauss Stephan Verfahren und Vorrichtung zum Erfassen und Vermessen von Objekten.
DE102017120863A1 (de) 2017-09-10 2019-03-14 Khs Corpoplast Gmbh Verfahren und Vorrichtung zur Herstellung von Behältern aus thermoplastischem Material
CH714486A1 (de) 2017-12-21 2019-06-28 Integra Biosciences Ag Probenverteilsystem und Verfahren zum Verteilen von Proben.
US10495445B2 (en) * 2017-12-27 2019-12-03 Applied Vision Corporation Glass container inspection system
US11065804B2 (en) 2018-02-01 2021-07-20 Agr International, Inc. Energy efficient blow molder control
FR3090456B1 (fr) 2018-12-19 2020-11-27 Sidel Participations Ligne de production de récipients controlée par un dispositif de détermination de position
CN109677121B (zh) * 2018-12-19 2022-10-21 森大(深圳)技术有限公司 应用于pcb板的喷印高度控制方法、装置、设备及介质
EP3911493B1 (en) 2019-01-14 2024-12-04 AGR International, Inc. Method and apparatus for inspecting liquid filled hollow transparent articles
EP3741630B1 (en) * 2019-05-21 2024-04-10 TE Connectivity Sensors France Real-time, fine adjustment of driver current of a light emitting device of an optical rain sensor
DE102019128503A1 (de) * 2019-10-22 2021-04-22 Krones Aktiengesellschaft Verfahren und Vorrichtung zur optischen Inspektion von Behältern
DE102019129726B4 (de) * 2019-11-05 2021-06-24 Sick Ag Prüfsystem zur prüfung von behältern und abfüllanlage mit einem derartigen prüfsystem
FR3109820B1 (fr) * 2020-04-30 2024-01-19 Tiama Installation et procédé pour assurer la mise au point simultanée de systèmes optiques en fonction du diamètre des récipients
DE102021121305A1 (de) 2021-08-17 2023-02-23 Krones Aktiengesellschaft Produktionsanlage zur Herstellung, Behandlung und/oder Abfüllung von Behältern und Verfahren zu dessen Produktionssteuerung und/oder Anlagenspezifikation
FR3131556B1 (fr) * 2021-12-30 2025-07-18 Sidel Participations Procédé de régulation d’une installation de production de récipients
FR3131555B1 (fr) * 2021-12-30 2024-09-06 Sidel Participations Procédé de régulation d’une installation de production de récipients
DE102022122969A1 (de) * 2022-09-09 2024-03-14 Krones Aktiengesellschaft Vorrichtung und Verfahren zur Herstellung von Behältern

Family Cites Families (38)

* Cited by examiner, † Cited by third party
Publication number Priority date Publication date Assignee Title
US3439178A (en) * 1965-02-08 1969-04-15 Owens Illinois Inc Radiation-sensitive apparatus for inspecting wall thickness of hollow containers
US3456788A (en) * 1967-07-10 1969-07-22 Barry Wehmiller Co Light transparent container inspecting apparatus
US3729632A (en) * 1970-12-21 1973-04-24 Industrial Nucleonics Corp Penetrating radiation gauge
GB1388803A (en) * 1972-02-09 1975-03-26 Wickueler Kuepper Brauerei Kg Method of and apparatus for testing the condition of bottles as regards contents
US3923158A (en) * 1973-06-20 1975-12-02 Platmanufaktur Ab On-line multistation inspection device for machine moulded products
US3980890A (en) * 1975-03-19 1976-09-14 Presto Products, Incorporated Optical thickness detecting and comparing method and apparatus
FI782773A7 (fi) * 1978-09-11 1980-03-12 G W Sohlberg Oy Foerfarande och anordning foer maetning av vaeggtjockleken hos ett plastfoeremaol
JPS6042401B2 (ja) * 1979-09-26 1985-09-21 富士電機株式会社 管状材の管壁厚み測定方法
GB2077426B (en) 1980-05-30 1983-12-14 Fuji Electric Co Ltd Apparatus for measuring film thickness
US4332606A (en) * 1980-10-27 1982-06-01 Emhart Industries, Inc. Ware identifying apparatus for glassware machines and the like
US4476533A (en) * 1981-07-08 1984-10-09 Ball Corporation Glassware gauging system
FI69370C (fi) * 1981-08-18 1986-01-10 Topwave Instr Oy Foerfarande foer maetning av egenskaperna hos ett plastskikt med hjaelp av infraroed straolning
US4639263A (en) * 1985-07-16 1987-01-27 Emhart Industries, Inc. Glassware forming production monitor
US4691830A (en) * 1985-08-26 1987-09-08 Owens-Illinois, Inc. Inspection and sorting of molded containers as a function of mold of origin
DE3611536A1 (de) 1986-04-05 1987-10-15 Battelle Institut E V Vorrichtung zur automatischen ueberpruefung von transparenten objekten, insbesondere von glasflaschen
US4762544A (en) * 1987-01-02 1988-08-09 Owens-Illinois Glass Container Inc. Automated control of glass container manufacture
US5139406A (en) * 1987-12-16 1992-08-18 Dai Nippon Insatsu Kabushiki Kaisha Apparatus and system for inspecting wall thickness of synthetic resin containers
DE3854045T2 (de) 1987-12-16 1996-03-28 Dainippon Printing Co Ltd Anordnung zur kontrolle der dicke eines kunststoffbehälters sowie kontrollsystem dafür.
US4919534A (en) * 1988-09-30 1990-04-24 Environmental Products Corp. Sensing of material of construction and color of containers
US5323229A (en) * 1992-08-31 1994-06-21 Science Applications International Corporation Measurement system using optical coherence shifting interferometry
US5437702A (en) * 1993-08-24 1995-08-01 Coors Brewing Company Hot bottle inspection apparatus and method
US5591462A (en) * 1994-11-21 1997-01-07 Pressco Technology, Inc. Bottle inspection along molder transport path
US5784157A (en) * 1995-11-21 1998-07-21 The Research Foundation Of State University Of New York Method and apparatus for identifying fluorophores
US6382515B1 (en) * 1995-12-18 2002-05-07 Metrologic Instruments, Inc. Automated system and method for identifying and measuring packages transported through a laser scanning tunnel
JP3232269B2 (ja) * 1997-12-26 2001-11-26 東洋ガラス株式会社 ガラス容器の肉厚測定装置
JP3249779B2 (ja) * 1998-06-15 2002-01-21 インテグレイテッド リサイクリング システムズ リミテッド プラスチック容器を搬送する装置及びプラスチック容器を選別する装置
US6188079B1 (en) * 1999-01-12 2001-02-13 Owens-Brockway Glass Container Inc. Measurement of hot container wall thickness
US6967716B1 (en) * 1999-04-23 2005-11-22 Pressco Technology Inc. Apparatus and method for inspecting multi-layer plastic containers
CN2379778Y (zh) * 1999-06-28 2000-05-24 牛金澜 β射线透(反)射式智能厚度仪探头
US7245647B2 (en) * 1999-10-28 2007-07-17 Ricoh Company, Ltd. Surface-emission laser diode operable in the wavelength band of 1.1-1.7mum and optical telecommunication system using such a laser diode
JP2001221747A (ja) * 2000-02-03 2001-08-17 Suntory Ltd 液体充填用容器の撮像方法および装置
PT1279002E (pt) * 2000-03-01 2006-05-31 Plastic Techn Inc Medicao da espessura de parede media de um recipiente de plastico
DE10017126C1 (de) * 2000-04-06 2001-06-13 Krones Ag Verfahren und Vorrichtung zum optischen Überprüfen transparenter Behälter
US6962670B1 (en) * 2000-08-16 2005-11-08 Eastman Chemical Company Determination of layer thickness or non-uniformity of layer thickness based on fluorophore additives
US6872895B2 (en) * 2002-02-12 2005-03-29 Pressco Technology Inc. Apparatus and method for providing spatially-selective on-line mass or volume measurements of manufactured articles
US6863860B1 (en) 2002-03-26 2005-03-08 Agr International, Inc. Method and apparatus for monitoring wall thickness of blow-molded plastic containers
FR2846424B1 (fr) * 2002-10-25 2006-02-03 Bsn Glasspack Procede et dispositif d'eclairage pour detecter des defaut et/ou de manque de matiere sur la bague d'un recipient transparent ou translucide
WO2004047631A2 (en) * 2002-11-22 2004-06-10 Masimo Laboratories, Inc. Blood parameter measurement system

Also Published As

Publication number Publication date
MX2009001912A (es) 2009-05-28
WO2008027569A3 (en) 2008-07-10
EP2067003A4 (en) 2015-12-30
CN101578495A (zh) 2009-11-11
KR101389582B1 (ko) 2014-04-25
US7924421B2 (en) 2011-04-12
US8208141B2 (en) 2012-06-26
KR20090043522A (ko) 2009-05-06
US20090278286A1 (en) 2009-11-12
EP2067003A2 (en) 2009-06-10
EP2067003B1 (en) 2020-04-29
US20120018925A1 (en) 2012-01-26
CN101578495B (zh) 2011-11-09
JP2010502952A (ja) 2010-01-28
WO2008027569A2 (en) 2008-03-06

Similar Documents

Publication Publication Date Title
JP5271908B2 (ja) 検査システム、ブロー形成システム、プラスチック容器を検査する方法、及び、プラスチック容器を製造する方法
EP1279002B1 (en) Measuring average wall thickness of a plastic container
US7374713B2 (en) Method for manufacturing and inspecting blow-molded plastic containers
US7354538B2 (en) Container manufacturing inspection and control system
HU227083B1 (en) Measurement of hot hollow glass container wall thickness
NL9301568A (nl) Analyse-systeem voor het analyseren, bewaken, diagnostiseren en/of sturen van een produktieproces waarin produkten worden gevormd die een temperatuurbehandeling ondergaan, produktieproces met een analysesysteem en een werkwijze daarvoor.
US20120130677A1 (en) Inspection system for plastic containers
WO2013119999A1 (en) Inspection system for plastic containers
KR20210147009A (ko) 비접촉 온도 센서
EP1719970A2 (en) Method and apparatus for measuring wall thickness of a plastic container
JP3243039B2 (ja) 同軸反射型計測装置の校正方法及び同軸反射型計測装置
US20250362224A1 (en) Spectroscopic measurement device and article inspection device including the same
JP2025168828A (ja) 分光測定装置及びこれを備えた物品検査装置
JPH09152400A (ja) 含水分測定装置
JP2025176956A (ja) 分光測定装置及びこれを備えた物品検査装置
JP2025172465A (ja) 物品検査装置

Legal Events

Date Code Title Description
A621 Written request for application examination

Free format text: JAPANESE INTERMEDIATE CODE: A621

Effective date: 20100804

A131 Notification of reasons for refusal

Free format text: JAPANESE INTERMEDIATE CODE: A131

Effective date: 20120410

A601 Written request for extension of time

Free format text: JAPANESE INTERMEDIATE CODE: A601

Effective date: 20120709

A602 Written permission of extension of time

Free format text: JAPANESE INTERMEDIATE CODE: A602

Effective date: 20120717

A601 Written request for extension of time

Free format text: JAPANESE INTERMEDIATE CODE: A601

Effective date: 20120808

A602 Written permission of extension of time

Free format text: JAPANESE INTERMEDIATE CODE: A602

Effective date: 20120815

A521 Request for written amendment filed

Free format text: JAPANESE INTERMEDIATE CODE: A523

Effective date: 20120910

A131 Notification of reasons for refusal

Free format text: JAPANESE INTERMEDIATE CODE: A131

Effective date: 20121218

A521 Request for written amendment filed

Free format text: JAPANESE INTERMEDIATE CODE: A523

Effective date: 20130312

TRDD Decision of grant or rejection written
A01 Written decision to grant a patent or to grant a registration (utility model)

Free format text: JAPANESE INTERMEDIATE CODE: A01

Effective date: 20130416

A61 First payment of annual fees (during grant procedure)

Free format text: JAPANESE INTERMEDIATE CODE: A61

Effective date: 20130513

R150 Certificate of patent or registration of utility model

Free format text: JAPANESE INTERMEDIATE CODE: R150

Ref document number: 5271908

Country of ref document: JP

Free format text: JAPANESE INTERMEDIATE CODE: R150

R250 Receipt of annual fees

Free format text: JAPANESE INTERMEDIATE CODE: R250

R250 Receipt of annual fees

Free format text: JAPANESE INTERMEDIATE CODE: R250

R250 Receipt of annual fees

Free format text: JAPANESE INTERMEDIATE CODE: R250

R250 Receipt of annual fees

Free format text: JAPANESE INTERMEDIATE CODE: R250

R250 Receipt of annual fees

Free format text: JAPANESE INTERMEDIATE CODE: R250

R250 Receipt of annual fees

Free format text: JAPANESE INTERMEDIATE CODE: R250

R250 Receipt of annual fees

Free format text: JAPANESE INTERMEDIATE CODE: R250

R250 Receipt of annual fees

Free format text: JAPANESE INTERMEDIATE CODE: R250

R250 Receipt of annual fees

Free format text: JAPANESE INTERMEDIATE CODE: R250

R250 Receipt of annual fees

Free format text: JAPANESE INTERMEDIATE CODE: R250