JP5259695B2 - オフセット弁軸による膜ポンプの位置制御 - Google Patents

オフセット弁軸による膜ポンプの位置制御 Download PDF

Info

Publication number
JP5259695B2
JP5259695B2 JP2010506632A JP2010506632A JP5259695B2 JP 5259695 B2 JP5259695 B2 JP 5259695B2 JP 2010506632 A JP2010506632 A JP 2010506632A JP 2010506632 A JP2010506632 A JP 2010506632A JP 5259695 B2 JP5259695 B2 JP 5259695B2
Authority
JP
Japan
Prior art keywords
membrane
valve
valve spool
transport chamber
pump
Prior art date
Legal status (The legal status is an assumption and is not a legal conclusion. Google has not performed a legal analysis and makes no representation as to the accuracy of the status listed.)
Active
Application number
JP2010506632A
Other languages
English (en)
Other versions
JP2010526239A (ja
Inventor
リチャード・ディ・ヘンブリー
Original Assignee
ワナー・エンジニアリング・インコーポレイテッド
Priority date (The priority date is an assumption and is not a legal conclusion. Google has not performed a legal analysis and makes no representation as to the accuracy of the date listed.)
Filing date
Publication date
Application filed by ワナー・エンジニアリング・インコーポレイテッド filed Critical ワナー・エンジニアリング・インコーポレイテッド
Publication of JP2010526239A publication Critical patent/JP2010526239A/ja
Application granted granted Critical
Publication of JP5259695B2 publication Critical patent/JP5259695B2/ja
Active legal-status Critical Current
Anticipated expiration legal-status Critical

Links

Images

Classifications

    • FMECHANICAL ENGINEERING; LIGHTING; HEATING; WEAPONS; BLASTING
    • F04POSITIVE - DISPLACEMENT MACHINES FOR LIQUIDS; PUMPS FOR LIQUIDS OR ELASTIC FLUIDS
    • F04BPOSITIVE-DISPLACEMENT MACHINES FOR LIQUIDS; PUMPS
    • F04B43/00Machines, pumps, or pumping installations having flexible working members
    • F04B43/02Machines, pumps, or pumping installations having flexible working members having plate-like flexible members, e.g. diaphragms
    • F04B43/06Pumps having fluid drive
    • F04B43/067Pumps having fluid drive the fluid being actuated directly by a piston
    • FMECHANICAL ENGINEERING; LIGHTING; HEATING; WEAPONS; BLASTING
    • F04POSITIVE - DISPLACEMENT MACHINES FOR LIQUIDS; PUMPS FOR LIQUIDS OR ELASTIC FLUIDS
    • F04BPOSITIVE-DISPLACEMENT MACHINES FOR LIQUIDS; PUMPS
    • F04B43/00Machines, pumps, or pumping installations having flexible working members
    • F04B43/0009Special features
    • F04B43/0081Special features systems, control, safety measures
    • FMECHANICAL ENGINEERING; LIGHTING; HEATING; WEAPONS; BLASTING
    • F04POSITIVE - DISPLACEMENT MACHINES FOR LIQUIDS; PUMPS FOR LIQUIDS OR ELASTIC FLUIDS
    • F04BPOSITIVE-DISPLACEMENT MACHINES FOR LIQUIDS; PUMPS
    • F04B43/00Machines, pumps, or pumping installations having flexible working members
    • F04B43/02Machines, pumps, or pumping installations having flexible working members having plate-like flexible members, e.g. diaphragms
    • F04B43/06Pumps having fluid drive
    • F04B43/073Pumps having fluid drive the actuating fluid being controlled by at least one valve
    • FMECHANICAL ENGINEERING; LIGHTING; HEATING; WEAPONS; BLASTING
    • F05INDEXING SCHEMES RELATING TO ENGINES OR PUMPS IN VARIOUS SUBCLASSES OF CLASSES F01-F04
    • F05BINDEXING SCHEME RELATING TO WIND, SPRING, WEIGHT, INERTIA OR LIKE MOTORS, TO MACHINES OR ENGINES FOR LIQUIDS COVERED BY SUBCLASSES F03B, F03D AND F03G
    • F05B2210/00Working fluid
    • F05B2210/10Kind or type
    • F05B2210/11Kind or type liquid, i.e. incompressible

Landscapes

  • Engineering & Computer Science (AREA)
  • Mechanical Engineering (AREA)
  • General Engineering & Computer Science (AREA)
  • Reciprocating Pumps (AREA)
  • Compressors, Vaccum Pumps And Other Relevant Systems (AREA)

Description

本願は、2007年5月2日にされた米国特許出願第11/743,505号に基づく優先権を主張して2008年5月1日にされ、米国を除く全指定国に対する出願人が米国法人であるワナー・エンジニアリング・インコーポレイテッド、米国に対する出願人が米国民であるリチャード・ディ・ヘンブリーであるPCT国際出願である。
本発明は、流体ポンプ、より詳しくは油圧で駆動される膜ポンプに関する。
油圧で駆動される膜ポンプは、少なくとも2群に分類される。第1群は、油圧ピストンまたは油圧プランジャの行程と膜の行程が異なるポンプである。このポンプは、非同期ポンプと呼ばれる。非同期ポンプは、通常、撓みが少量(「短行程」)で直径が大きい膜を持つのが好ましい大径膜ポンプの計量(metering)に用いられる。短行程の膜は、一般により長い行程の油圧プランジャまたはピストンによって駆動される。長い行程のピストンは、小径のピストンの使用を可能にし、その結果、ピストンをその行程に亘って動かせるクランク軸およびクランクケースに加わる荷重が小さくなる。
第2群は、膜の中心が油圧ピストンと同じ距離動くポンプである。このポンプは、同期ポンプと呼ばれる。同期ポンプにおける膜の位置は、ピストン内に設けられ、ピストンと膜中心の距離を一定に保つ弁によって制御される。
同期ポンプにおいて膜位置を制御する弁システムの例は、この言及により本願に包含される米国特許第3,884,598号(ワナー)に開示されている。ワナーは、ピストンに対する膜の位置を検知して、膜の位置を一定に保つように働くシステムを開示する。このシステムは、行程端にあるストップ面に接触しなくて済むエラストマの膜を用いることができるので、高速動作しなければならないポンプや摩耗性の材料をポンピングするポンプに有用である。しかし、このシステムは、ピストンが膜の行程距離以上に移動すると、膜の背後にある作動油の量を適切に維持できず、ポンプが適切に動かなくなる。
非同期ポンプの幾つかの例は、米国特許第5,246,351号(ホーン)、米国特許第5,667,368号(オーガスチン)、米国特許第4,883,412号(マリザード)に記載されている。これらのポンプは、総て膜位置の制御に類似の手法を用いている。各ポンプは、各行程の上端と下端で作動油の量を一時的に調整する。オーバーフィル状態は、膜が前方に移動しすぎて移動限に達したとき検出される。これは、作動油に通常圧力以上の高い圧力を生じさせ、弁を一時的に開かせ、過剰な作動油の幾らかを放出させる。この過剰圧力は、膜がストップに達したとき、または、膜を更に移動させるためにより高い圧力が必要な撓みの終点に膜が単に達したときに生じる。この圧力は、ポンピングされる流体には伝わらないので、膜を横切って不均衡な圧力降下が生じる。オーバーフィルによって生じる圧力を処理するこの方法は、膜が、損傷なく不均衡な圧力を処理できるに十分な材料と形状を持つことを要求する。膜の材料と形状に関するこの制限は、直径が非常に大きく撓みが少ない膜を使用する結果をもたらし、ポンプの寸法と費用を著しく増加させる。
公知の油圧で駆動される非同期ポンプは、少なくとも上述の理由から、比較的小さく,大きな撓みを受けることができる非常に柔軟なエラストマ膜を使用することができなかった。その結果、この種の膜の使用は、同期ポンプに限定されていた。同期ポンプのピストン行程は、膜の行程が制限されているため、比較的小さくなければならない。このことは、クランク軸とクランクケースに、大径のピストンの大きな荷重を担わせて、ポンプの駆動側をより高価にする。
油圧で駆動されるポンプの他の例は、米国特許第3,769,879号(ロフクウィスト)に記載されている。ロフクウィストは、膜の行程毎に動いて、油タンクと膜の背後の作動油室(輸送室)との間のポートをピストンの行程端で一時的に開くスプールを開示する。このポートと動くスプールは、オーバーフィルまたはアンダーフィル状態を修正するため、行程毎に小パルスの作動油を通過させうるにすぎない。
ロフクウィストは、極端なアンダーフィルまたはオーバーフィル状態(例えば、ポンピングされる流体の非常に低いまたは非常に高い入口圧力によって生じる状態)で重大な欠点を有する。極端なオーバーフィル状態では、各行程で通過できる小パルスの作動油は、オーバーフィルを直ちに修正するに不十分で、その結果、オーバーフィル状態を修正するに十分な行程が繰り返されるまで、膜に応力が加わる。ロフクウィストの他の欠点は、膜が付勢される方向に関係する。極端な状態(例えば、ポンプの入口側の閉塞などに起因するポンピングされる流体の低い入口圧力および出口圧力)で、ロフクウィストのシステムは、そうでなければ過剰充填された作動油を放出するのであるが、膜に付勢力が加わっていなくても輸送室に作動油を追加しようとする。その結果、オーバーフィルを解消できず、膜が損傷することになる。
米国特許第3,884,598号明細書 米国特許第5,246,351号明細書 米国特許第5,667,368号明細書 米国特許第4,883,412号明細書 米国特許第3,769,879号明細書
膜ポンプにおいて、膜位置の制御を改善する必要がある。
本開示の一態様は、ピストン,膜,ポンプ室,輸送室,第1弁,第2弁,油タンクおよび弁スプールを備えた膜ポンプに関する。上記ピストンは、第1位置と第2位置の間で往復動するようになっている。上記膜は、上記ピストンの第1位置および第2位置に夫々関連する第1位置および第2位置の間で移動できる。上記輸送室は、膜の一方側に位置し、膜とピストンの相対位置によって部分的に区画され、作動油で充填される。上記ポンプ室は、膜の輸送室と反対側に位置する。上記油タンクは、上記第1弁および第2弁を介して上記輸送室に連通する。上記弁スプールは、輸送室内に位置し、第1位置にあるとき、第1弁および第2弁の開口を閉じ、第2位置にあるとき、第1弁の開口を閉じ、第2弁の開口を開き、第3位置にあるとき、第1弁の開口を開き、第2弁の開口を閉じるようになっている。弁スプールは、弁スプールを第2位置へ動かす充填過剰状態が輸送室に生じるまで、あるいは、弁スプールを第3位置へ動かす充填不足状態が輸送室に生じるまで、一般に第1位置を維持する。膜ポンプは、膜の移動部分に取り付けられ,弁スプールに係合してこの弁スプールを第1,第2,第3位置の間で動かす作動部材を更に備える。作動部材は、ロッドおよび膜に付勢力を与えるために用いられるばねの軸とは異なる軸に弁スプールを配置することを可能にする。弁スプールは、膜,膜ロッド,ばねおよびポンプの主ピストンから分離した軸に配置することができる。
このような膜ポンプを膜ポンプ内の作動油圧力を制御するために操作する方法も、本開示の重要な態様である。
以上の概括は、本明細書に開示された発明の態様の総ての実施形態または実行例を記述することを意図しない。次の詳細な説明の図は、発明の特定の態様が如何に実施されるかを例示する。一方、特定の実施形態が図示され説明されるが、開示がこのような実施形態に限定されないものと理解されなければならない。
図1は、正常充填状態下でポンプピストンが下死点にある本開示の原理によるポンプの例を示す側断面図である。 図2は、正常充填状態下でポンプピストンが上死点にある図1のポンプの側断面図である。 図2Aは、図2に示す弁位置の拡大図である。 図3は、充填不足状態下でポンプピストンが下死点にある図1のポンプの側断面図である。 図3Aは、図3に示す弁の拡大図である。 図4は、充填過剰状態下でポンプピストンが上死点にある図2のポンプの側断面図である。 図4Aは、図4に示す弁の拡大図である。 図5は、充填不足状態下でポンプピストンが下死点にある代替のレバー式作動アームを例示する断面図である。 図5Aは、図5に示す弁の拡大図である。 図6は、正常充填状態下でポンプピストンが上死点にある図5の弁を示す図である。 図6Aは、図6に示す弁の拡大図である。
種々の実施形態を図を参照して説明するが、幾つかの図を通じて同じ部材およびアセンブリには、同じ参照番号を用いる。種々の実施形態への言及は、添付の請求項の範囲を制限するものではない。また、本明細書で述べる実施形態は、添付の請求項を限定する意図ではなく、多くの可能な実施形態の幾つかを述べているにすぎない。
次の記載は、本発明を実施するのに適した環境を簡潔かつ一般的に述べるものである。要求されないが、本発明を膜ポンプの一般的背景において記述する。以下、膜位置を制御する装置およびシステムの構造,製造,使用の幾つかの例ならびに関連する使用法を述べる。
本開示は、概ね、油圧で駆動される膜ポンプなどの流体ポンプに関する。本開示の原理は、非同期ポンプにも同期ポンプにも等しく適用できる。非同期ポンプは、油圧ピストンの行程と膜の行程が相違する。膜は、一般に直径が比較的大きく、撓みが比較的少量になるように設定されている。この膜の短い行程は、遙かに長い行程の油圧プランジャまたはピストンで駆動される。油圧プランジャまたはピストンの行程が長ければ長いほど、ピストンの直径はより小さくて済み、ポンプのクランク軸やクランクケースに加わる荷重はより小さくなる。
同期ポンプは、膜の中心が油圧ピストンの移動距離と同じ距離移動するように構成されている。このようなポンプは、比較的小径のピストンを用いることに起因するクランクケースやクランク軸の荷重を最小化するために、膜が、ピストン行程に対応する長い距離だけ撓まなければならない。比較的小径のピストンを確保するために必要な程度に撓む膜が不可能な場合、ピストン直径を大きくしなければならず、その結果、クランク軸やクランクケースに大きな荷重が加わることになる。本開示は、膜の破損をもたらす予め定められた距離を超えて膜が伸張または後退しないことを保証するように膜位置の制御を助けるように、非同期ポンプおよび同期ポンプの双方に用いることができる。
公知の膜位置制御システムの多くは、膜のポンピングされる流体と反対側の輸送室内の作動油の圧力状態に基づいて機能する。このような圧力に基づくシステムは、一般に、所定の圧力レベルに応動して開閉するリリーフ弁を用いている。リリーフ弁は、一般に、輸送室と油タンクの間に配置される。過剰圧力を軽減すべく設計されたシステムでは、最大圧力を超えると、リリーフ弁が一時的に開いて、作動油の幾らかを油タンクに逃がす。不足圧力を緩和すべく設計されたシステムでは、圧力が最低圧力以下に低下すると、別のリリーフ弁が一時的に開いて、幾らかの作動油を油タンクから輸送室に吸い込む。
このようなシステムにおいて過剰圧力は、一般に、撓み端などにあるストップに膜が達して、膜を更に撓ませるのに高い圧力を要する時点で生じる。過剰圧力状態に対処するため、膜は、高圧と低圧の繰り返しサイクルの後でも損傷に耐え得る比較的強くて柔軟でない材料から作られなければならない。直径を増加し,膜の撓み量を減少させた膜は、高圧状態に対処できるが、ポンプの寸法と価格を大きく増大させる。
圧力に基づくシステムの他の問題は、キャビテーションである。輸送室内の過剰圧力は、ポンピングされる流体に通常は伝わらず、従って、膜を横切って圧力の不均衡状態(即ち、圧力降下)が生じる。この圧力降下は、ピストン行程の或る部分で真空状態をもたらす可能性があり、作動油にキャビテーションを起こし得る。キャビテーションは、作動油に曝される部材の摩耗(孔食)を増大させる。
本開示は、輸送室内の圧力ではなく、輸送室の体積に基づいて機能する。輸送室内の充填過剰または充填不足の体積状態に依存して、移動可能な弁スプールが、油タンクと輸送室の間にあるチェック弁の開口を開閉する位置の間で輸送室内において変位する。弁スプールを動かすのは、作動油によって生じる圧力状態ではなく、作動油そのものである。充填不足および充填過剰の体積状態は、ピストン行程の上死点または下死点で概ね最も良く評価される。本開示は、弁スプールがピストン行程の上死点または下死点のみで移動して、充填不足および充填過剰の状態を修正するように構成される。
この言及により本願に包含される本出願人による米国出願(US 2006/0239840 A1)は、油圧で駆動される膜ポンプの膜位置を制御するためのシステムであって、膜が行程の安全範囲内で動くシステムを開示する。このシステムは、作動油で満たされる輸送室が充填過剰または充填不足になったときに動く弁スプールを用いている。輸送室が充填過剰になると、ピストンが上死点にあるとき、膜は前方へ遠くまで移動する。この充填過剰位置は、弁スプールを動かして、輸送室から第1チェック弁を経て作動油を流出させるポートを開かせる。輸送室が充填不足になると、膜は後方へ遠くまで移動して、弁スプールをして、第2チェック弁を経て作動油を輸送室に流入させるポートを開かしめる。
上記米国出願(US 2006/0239840 A1)は、膜の中心に取り付けられたロッドと同軸の膜の軸に沿って配置された弁スプールを開示する。この膜のロッドは、輸送室内の作動油に、膜の反対側のポンピングされる流体よりも僅かに高い圧力を付加するバイアスばねの力に対抗して用いられる。ロッドは、また、充填過剰または充填不足状態が生じると、弁スプールに接触し、第1,第2チェック弁を上述のように動かすようになっている。同軸の弁スプールは、ロッドと接触するように設計されなければならず、同時に、膜のロッドの内部または外部にある同軸のばねを許容しなければならない。米国出願(US 2006/0239840 A1)に記載された膜ポンプの全体の構造および形状は、比較的複雑で、組み立てが難しくなる傾向があり、その結果、弁スプールや他の構成要素が好ましくない寸法になる。
本開示は、例えば米国出願(US 2006/0239840 A1)で用いられているよりも構成要素および構造が簡素な弁制御システムを提供する。このような構成要素として、膜の移動部分に取り付けられた作動部材がある。この作動部材は、充填過剰または充填不足状態の際、輸送室と油タンク間の作動油の流れを制御する弁スプールに係合する。上記作動部材は、膜のロッドおよび膜にバイアス圧力を加えるためのばねの軸と異なる軸に、弁スプールを配置することを可能にする。弁スプールを別の軸に配置することは、膜ポンプを種々の観点で簡素化できる。例えば、膜のロッドとバイアス圧力用のばねは、バイアス圧力を加えるという限られた機能のみを果たせば済む。このことは、通常、ばねの寸法を小さくでき、(膜のロッド内にばねを配置する場合)ばねを嵌め込む穴を小さくできることを意味する。さらに、弁スプール部材は、弁スプール用の穴に要求される高度に円滑な仕上げを必要としない。
弁スプールを別の軸に配置することの他の利点は、弁スプールの直径を遙かに小さくできることである。弁スプールは、その軸に沿って膜バイアス用のばねを収容するための穴が不要になるので、直径を遙かに小さくでき、弁スプールを収容する対応する穴も、遙かに小さくできる。膜バイアス用のばねおよび弁スプールのための穴が小さいので、ポンプハウジング内において輸送室に生じる高圧に曝される部分の面積が減少し、その結果、ポンプ内に掛かるストレスが減少する。また、上記穴が小さいので、輸送室に必要とされる作動油の体積が減少し、システムのためのモジュールが小体積になり、体積効率が上昇する。
弁スプールを別の軸に配置することの更なる利点は、弁スプールを円筒形にする必要が最早ないことである。弁スプールは、セラミックの盤部材などの平坦な構造にできる。弁スプールの平坦な構造は、比較的低度の隙間シールインターフェイスを作る選択肢を提供でき、場合によって低価格の設計を提供できる。
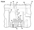
図1〜4Aに示す膜ポンプの実施形態
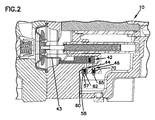
本開示の原理を図解した非同期膜ポンプ10の例を、図1〜4Aを参照して記述する。図1は、正常充填状態下で下死点(BDC)にあるポンプピストンを、図2は、正常充填状態下で上死点(TDC)にあるポンプピストンを、図3は、充填不足状態下で下死点にあるポンプピストンを、図4は、充填過剰状態下で上死点にあるポンプピストンを夫々示す。
ポンプ10は、クランクケース12、ピストンハウジング14およびマニホールド16を有する。ピストンハウジング14は、油タンク18、輸送室20または作動油室およびプランジャ室22を区画する。マニホールド16は、ポンプ室24を区画し、入口弁72と出口弁74を有する。
クランクケース12内に、クランク軸26と連接棒28とスライダ30が配置されている。スライダ30は、プランジャ室22内に配置されたプランジャ32に連結される。輸送室20とプランジャ室22は、互いに連通しており、プランジャ室22に吸い込まれあるいはプランジャ室22から押し出された作動油が、膜を図1に示すように後退位置に引き込みあるいは図2に示すように伸張位置に押し出すようになっている。
膜のロッド34は、輸送室20を通って延在する。ばね36は、ロッド34と同軸に配置され、輸送室20内をポンプ室24内よりも高い圧力状態に維持することを助けるべく、膜に後方へ向かう付勢力を加える。輸送室20をより高い圧力状態に維持すれば、入口吸い込み状態下でポンプ10の性能を改善できる。
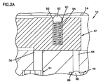
弁スプール用の穴54は、膜のロッド34の近傍のピストンハウジング14に設けられている。この穴は、弁スプール42を収容する寸法である。スプール穴52は、膜のロッド34の動きに平行な方向に弁スプール42が動けるような寸法になっている。弁スプール42は、アンダーフィル弁44の開口56を開くとともに、オーバーフィル弁46の開口64を閉ざす第1位置(図3,3Aに示すアンダーフィルの位置付け参照)と、開口56,64を実質的に閉ざす第2位置(図2,2Aに示す定常状態の位置付け参照)と、開口56を閉ざし、開口64を開く第3位置(図4,4Aに示すオーバーフィルの位置付け参照)の間で動くことができる。図2A,3A,4Aの拡大図は、定常状態,アンダーフィル状態(充填不足),オーバーフィル状態(充填過剰)の夫々における開口56,64の開閉状態をより明瞭に示している。
膜ポンプ10は、開口56に連繋するアンダーフィル弁44と、開口64に連繋するオーバーフィル弁46を有する。アンダーフィル弁44は、油タンク18の近傍に位置する他の開口57を有する。アンダーフィル弁44は、また、座58,ばね60およびプラグ62を有する。ばね60は、弁スプール42が移動して開口56を開くまで、プラグ62を座58に当接するように付勢する。開口56が開かれると、作動油はアンダーフィル弁44を経て輸送室20に吸い込まれる。オーバーフィル弁46は、座66,ボール68およびばね70を有する。ばね70は、弁スプール42が移動して開口64を開くまで、ボール68を座66に当接するように付勢する。開口64が開かれると、作動油は輸送室20からオーバーフィル弁46を経て押し出される。アンダーフィル弁44とオーバーフィル弁46は、作動油の一方向のみへの流れを許容するチェック弁である。
弁スプール42は、輸送室20内が充填不足,充填過剰および定常の状態であるとき、輸送室20と油タンク18の間の作動油の流れを制御する重要な機能を果たす。弁スプール42は、膜33の位置に応じて移動する。弁アーム43は、一端が膜33に固定され、他端が弁スプール42のスプール穴52内に位置する。スプール穴52は、定常状態における操作条件下での膜33の移動量よりも大きい長さを持つ。スプール穴52は、輸送室20内で充填過剰または充填不足の状態が生じるまで、弁アーム43が弁スプール42を動かすことなく自由に移動できる「滞留(ドウェル)域」を提供する。
ポンプ10の通常の高圧力動作において、プランジャピストン32とプランジャピストン32が内側を移動する穴31との間の隙間を経て、少量の作動油がプランジャ室22から油タンク18へ流れる。この作動油の損失は、ポンプ10の吸入行程中にアンダーフィル弁44を経て輸送室20に吸い込まれる作動油によって補われる。この通常動作では、弁スプール42は、アンダーフィル弁の開口56を図1,2,2Aに示すように開くような位置にある。この通常の釣合い位置は、膜33が下死点(BDC)に達して、開口56を経て輸送室20に流入する流れが、プランジャピストン32と穴31の間の隙間を経て流出する流れに等しくなるに十分なだけ開口56が開くように、膜に取り付いた弁アーム43が弁スプール42を後方へ動かしたとき達成される。この釣り合わせの過程は、輸送室20から流出する作動油の損失に伴って膜33が漸次後方へ移動するとき、ポンプ10の数行程に亘って起こる。輸送室20から流出する作動油の量とアンダーフィル弁44を経て輸送室20に流入する作動油の量が一旦均衡すると、弁スプール42は、作動油の損失率を変化させる何らかの変化がポンプの条件に生じない限り、静止状態を維持する。
弁スプール42の図3,3A,4,4Aに示す他の位置への移動は、ポンプ10のポンピング条件に依存する。第1の一般的な条件は、ポンプ10の起動時に生じる。ポンプ10が停止中は、輸送室の作動油が、ばね36から膜33に加わる圧力またはポンプ10内の残留圧力によって、プランジャピストン32と穴31の間の隙間から洩れ出す。ポンプ10が起動されるとき、輸送室20には僅かな作動油しかないので、膜33は輸送室20内の遙かに後方へ移動し、プランジャピストン32は下死点に達している(例えば図3,3A参照。この状態は上述の充填不足状態である。充填不足状態が生じると、膜33と共に動く弁アーム43は、弁スプール42がオーバーフィル弁の開口64を完全に閉ざし、アンダーフィル弁の開口56を開くように弁スプール42を移動させる。)。弁スプール42がこの位置にあると、ポンプ10の吸入行程において、油タンク18の作動油がアンダーフィル弁44を経て輸送室20に吸い込まれる。ポンプの連続する各行程によって輸送室20の充填不足が緩和されると、弁アーム43は弁スプール42の前方に係合して、図1,2,2Aを参照して先に述べた定常状態の均衡位置に実質的に到達する。
第2の一般的な条件は、ポンプ10への入口ラインに制限があって、低圧入口状態および出口圧力の損失が起こる場合に生じる。低圧入口状態は、膜33を通常よりも遙かに前方へ移動させ、プランジャは上死点(TDC)に達している。この状態は、充填過剰状態と呼ばれ、図4,4Aに示される。充填過剰状態になると、弁アーム43は、弁スプール42がアンダーフィル弁の開口56を完全に閉ざし、オーバーフィル弁の開口64を開くように弁スプール42を前方へ移動させる。すると、過剰な作動油は、輸送室20から開口56およびオーバーフィル弁46を経て油タンク18に流出する。
上述のように、弁スプールは、輸送室20に対して流入および流出する流れを釣り合わす均衡位置を探し求めて移動する。弁スプール42の位置は、ポンプの条件が変化して弁アーム43が弁スプール42を移動させるまで、変わることなく維持される。弁アーム42が振動や重力で自ら動くことを防ぐため、ポンプ10には、弁アーム43に係合するまでの弁スプール42の動きを阻止する装置が設けられる。ボール92とばね94を有するスプールリテーナ90が、弁スプール42のスプールリテーナ穴96に配置される。スプールリテーナ90は、スプール穴54に当接して摩擦力を生じさせ、弁スプール42が自ら動かないようにしている。
特定のポンピング条件に対する均衡定常状態点の達成について、図1,2,2Aを参照して更に述べる。均衡定常状態下では、ポンピング条件に変化がない限り、弁スプール42は動かない。輸送室20に出入りする作動油の流れの微調整は、膜の上死点または下死点における極僅かな変化によってもたらされる。この変化は、1行程当たりの輸送室からの洩れ率をプランジャの変位で除した値に比例する。例えば、シリンダ変位が略200立方センチメートル(cc)のシールレスポンプを最大圧力で作動させた場合、輸送室からの洩れ率は、1行程当たり略1ccである。弁スプールがオーバーフィル弁およびアンダーフィル弁の開口56,64を、輸送室20の作動油がプランジャピストン32の外周のみから洩れ出すように閉ざしている場合、膜の行程位置は、膜の行程の略1/200だけ移動する。シリンダ変位が200ccの例では、膜33の移動は略38.1mmになるので、1行程当たりの下死点の減少は、略0.191mmである。膜の行程位置は、弁スプール42がアンダーフィル弁の開口56を開き始めるまで、各行程毎に0.191mmずつ後退する。アンダーフィル弁の開口56が一旦僅かに開くと、少量の作動油が吸入行程毎に輸送室20に流入する。つまり、流入する作動油が、輸送室20からプランジャピストン32の外周を経て流出する作動油率から減じられるので、行程毎の正味の損失は、次の行程でより少なくなる。
例えば、弁スプール42が、最初に移動するときに弁アーム43の係合によって開口を0.178mm開いているとすると、吸入行程で輸送室20に流入する作動油は0.5ccであり、輸送室20から流出する正味の作動油は、今や0.5ccになる。次の行程では、弁スプール42は、前回の移動量の半分だけ移動するだけで、各行程毎に調整量は減少し続ける。実際、この調整過程は、ポンプ10の数行程に亘って、ポンプの動作設定に応じて数秒以下の時間行われる。ポンプの条件が充填過剰を生じたときも、同様の過程が行われる。ポンプ10への入口に制限があって、ポンプ10の出口が低圧であると、充填過剰が生じる。充填過剰状態では、輸送室20は、各行程毎に徐々に少量ずつ(例えば、1行程につき1cc)作動油体積を増加させる。オーバーフィル弁の開口64を徐々に開くという同様の過程が、プランジャピストンの隙間から輸送室20に流入する作動油の量が,オーバーフィル弁46を経て輸送室20から流出する作動油の量に等しくなるまで行われる。
図1は、輸送室20から(例えばポンプ起動時に)空気を逃がすが、正常動作中は流体(作動油または油)の著しい洩れを防ぐ抽気弁98を示している。作動油を油タンク18に収容するため、プランジャ32にワイパーシール99を設けている。このワイパーシールは、輸送室20の高圧を維持するようにはなっていない。輸送室20の高圧は、プランジャ32と穴31の密な嵌合によって維持される。プランジャ32と穴31の間の高圧隙間を通る作動油は、油タンク18と同じ圧力に維持され、ワイパーシール99は、油タンク18内の作動油をクランクケース12内に収容された油から分離しておくことを助ける。
図5〜6Aに示す膜ポンプの実施形態
図5〜6Aは、本開示の原理を一体化したポンプ100の他の例を示している。ポンプ100は、図1〜4Aを参照して上に述べた実施形態と同じ多くの特徴を有する。ポンプ100は、レバー80で操作される異なった弁スプール142を有する。弁スプール142は、膜のロッド34から離隔したスプール穴154に配置されている。弁スプール142は、膜のロッド34および膜33の移動方向に平行な方向に移動できる。レバー80は、弁スプール142を操作できるように膜のロッド34に連結する。レバー80は、支点81,第1接続83および第2接続84を有する。レバー80は、支点81の周りに回動する。第1接続83は、膜のロッド34に連結され、第2接続84は、弁スプール142に連結される。第1接続83は、膜のロッド34上でレバー80のスライド係合を提供する。膜のロッド34に沿うレバー80の行程距離を制御するために、一対の第1ストッパ85と第2ストッパ86が膜のロッド34に沿って設けられている。
第1,第2ストッパ85,86の間の空間は、ポンプ10の定常状態動作の間、輸送室20内に充填過剰または充填不足の状態が生じるまで、弁スプール142を静止状態に維持する「滞留」を定義する。充填不足状態では、膜33は、輸送室20内の遙か後方へ移動し、第2ストッパ86がレバー80を支点81の周りに回動させて、アンダーフィル弁の開口56を開くように弁スプール142を前方へ移動させる。充填過剰状態では、膜33は、正常状態よりも前方へ移動し、第1ストッパ85がレバー80を支点81の周りに回動させて、オーバーフィル弁の開口64を開くように弁スプール142を後方へ移動させる。
図1〜6Aに示した弁スプールは、多くの変更が可能である。一例として、弁スプールと関連するオーバーフィル弁およびアンダーフィル弁は、ポンプ内に単一片として載置される予組立品として一体化できる。他の例として、弁スプールは、膜および膜のロッドの移動方向に対して垂直な方向(または平行でない任意の方向)に移動するよう配置できる。さらに、弁スプールは、膜のロッドの側部に横方向に、あるいは図1〜6Aに示す膜のロッドの鉛直下方と異なり膜のロッドの鉛直上方に配置することができる。
更なる考察
上記実施形態を参照して述べた弁スプールは、膜の背後の輸送室に適正な量の作動油がある限り、静止位置を維持する。弁スプールは、膜が完全に伸張した位置と完全に後退した位置との間であれば膜の位置に拘わらずこの静止位置を維持する。静止位置にある弁スプールは、輸送室と油タンクの間にあるチェック弁の開口を閉ざす。従って、充填過剰または充填不足が生じた場合だけ、弁スプールが一方または他方のチェック弁の開口を開くように移動して、チェック弁が働くのである。リリーフ弁の制限された動作は、各ピストン行程の上死点または下死点で作動するので、圧力に基づく制御システムに幾らかの利点を提供する。しかし、チェック弁が作動すればするほど、チェック弁の摩耗感受性は増大する。
上記実施形態のポンプの他の利点は、ポンプの充填過剰と充填不足を共に修正するに必要な部材数に関する。圧力に基づくシステムは、一般に、充填過剰と充填不足に対して別々の構成部材を必要とする。これに対して、上記実施形態のポンプは、充填過剰と充填不足を修正するため単一のスプール部材(弁スプール)を用いている。さらに、この弁スプールは、充填過剰状態または充填不足状態が生じた場合だけ作動するので,使用頻度および摩耗を受けることが少ない比較的簡素な一対のチェック弁と相俟って機能する。弁スプールの限定された動きが、摩耗を制限し、起こり得るメインテナンスを低減するのである。
結論
本開示の一態様は、膜,ポンプ室,輸送室,第1弁と第2弁,油タンクおよび弁スプールを備えた膜ポンプに関する。膜は、第1軸に沿って第1位置と第2位置の間を移動できる。ポンプ室は、膜の一方側に区画されてポンピングすべき流体を収容する。輸送室は、膜の他方側に区画されて作動油で満たされる。第1弁と第2弁は、チェック弁で構成される。油タンクは第1弁および第2弁を介して輸送室と連通する。弁スプールは、輸送室内に配置され、第1弁および第2弁を通る作動油の流れを制御する。弁スプールは、第1軸と異なる第2軸に沿って第1弁および第2弁の開口に対して複数の位置の間で移動できる。
本開示の他の態様は、膜,ピストン,輸送室,油タンクおよびスプール部材を備えた作動油で駆動されるポンプに関する。膜は、第1軸の周りに移動できる。輸送室は、膜とピストンの間に区画されて作動油で満たされる。油タンクは、少なくとも1つの弁を介して輸送室と連通する。スプール部材は、輸送室と油タンクの間の作動油の流れを制御する。スプール部材は、輸送室に充填過剰または充填不足状態が生じたとき、上記少なくとも1つの弁に対して動くことができる。スプール部材は、第1軸に対して同軸には配置されていない。
本開示の更なる態様は、作動油で駆動される膜ポンプ内の作動油の圧力を均衡させる方法に関する。膜ポンプは、膜,ピストン,膜とピストンの間に設けられた輸送室,油タンク,弁スプールおよび油タンクと輸送室の間を連通する少なくとも1つの弁を備える。この方法は、第1軸に沿って膜を移動させるべくピストンを動かすステップと、油タンクと輸送室の間の作動油の流れを制御すべく上記少なくとも1つの弁に対して弁スプールを動かすステップを有する。弁スプールは、第1軸とは同軸でない第2軸に沿って移動する。
上述の詳細な説明では、開示を能率化するため、種々の特徴を折々一緒に組にして単一の実施形態とした。本開示の方法は、発明の主題のクレームされた実施形態が各請求項に明白に記載された以上の特徴を要求するという意図を反映していると解釈されてはならない。むしろ、次の請求項は、開示された単一の実施形態の総ての特徴よりも少ない事項に発明の主題が存することを反映していると解釈されるべきである。従って、次の請求項は発明の詳細な説明に統合されていて、各請求項は、別々の好ましい実施形態として独立している。従って、請求項の神髄と範囲は、ここに述べた好ましい実施形態に限定されてはならない。

Claims (12)

  1. 第1位置と第2位置の間で第1軸に沿って移動できる膜と、
    この膜の第1の側にあって、ポンピングされる流体を収容するようになっているポンプ室と、
    ピストンと、
    上記膜の第2の側にあって、この膜と上記ピストンの間に区画され、作動油で満たされる輸送室を備えた膜ポンプにおいて、
    第1および第2の一方向弁と、
    上記第1の一方向弁と油タンクに直接導く第1の流路および上記第2の一方向弁と油タンクから輸送室へ直接延びる第2の流路を介して上記輸送室に連通する油タンクと、
    上記第1および第2の一方向弁を通る作動油の流れを制御すべく上記輸送室内に設けられ、上記第1および第2の一方向弁の開口に対して複数の位置の間を上記第1軸とは異なる第2軸に沿って移動できる弁スプールを備えた膜ポンプ。
  2. 請求項1に記載の膜ポンプにおいて、上記弁スプールは、第1の一方向弁の開口および第2の一方向弁の開口を閉ざす第1位置と、第1の一方向弁の開口を閉ざし,第2の一方向弁の開口を開く第2位置と、第2の一方向弁の開口を閉ざし、第1の一方向弁の開口を開く第3位置との間で移動できる膜ポンプ。
  3. 請求項2に記載の膜ポンプにおいて、上記弁スプールは、上記弁スプールを動かす充填過剰または充填不足の状態が上記輸送室内に生じるまで、上記第1位置を維持するようになっている膜ポンプ。
  4. 請求項1乃至3のいずれか1つに記載の膜ポンプにおいて、上記膜に連結され、上記輸送室内に充填過剰または充填不足の状態が生じたとき、上記弁スプールを動かすようにこの弁スプールに係合するようになっている弁アームを更に備え、上記弁スプールは、凹部を有し、充填不足または充填過剰の状態が生じるまで、上記弁アームの一部が、弁スプールを動かすことなく上記弁スプールの凹部内で自由に移動できる膜ポンプ。
  5. 請求項1乃至4のいずれか1つに記載の膜ポンプにおいて、膜ロッドアセンブリを更に備え、この膜ロッドアセンブリは、膜のロッドと付勢部材を備え、この膜のロッドは上記膜に固定され、上記膜ロッドアセンブリは、上記膜に上記第1軸に沿う方向の付勢力を加える膜ポンプ。
  6. 請求項5に記載の膜ポンプにおいて、ポンプ内に往復動するように設けられたプランジャピストンを更に備え、このプランジャピストンと膜のロッドは、このプランジャピストンと膜の非同期移動を与えるべく互いに2軸をなす膜ポンプ。
  7. 請求項5または6に記載の膜ポンプにおいて、上記膜ロッドアセンブリは、上記輸送室内に、上記ポンプ室内の圧力状態よりも大きい圧力状態を作る膜ポンプ。
  8. 請求項1乃至7のいずれか1つに記載の膜ポンプにおいて、上記弁スプールは、上記輸送室と第1および第2の一方向弁の間に作動油を流すべく、弁スプールの長手の少なくとも一部に沿って区画された流路を有する膜ポンプ。
  9. 請求項1乃至8のいずれか1つに記載の膜ポンプにおいて、膜ポンプ内で往復動するようになっているプランジャピストンを更に備え、このプランジャピストンおよび上記弁スプールは、略平行な方向に延在する膜ポンプ。
  10. 作動油で駆動される膜ポンプ内の作動油の圧力を均衡させる方法において、上記膜ポンプは、膜と、ピストンと、上記膜とピストンの間に設けられた輸送室と、油タンクと、弁スプールと、第1の一方向弁と、上記輸送室から油タンクに直接作動油を流す第1の流路と、第2の一方向弁と、上記油タンクから輸送室へ直接作動油を流す第2の流路を備え、
    上記方法は、
    上記膜を第1軸に沿って動かすべく上記ピストンを移動させるステップと、
    上記油タンクと輸送室の間の作動油の流れを制御すべく上記第1の一方向弁と第2の一方向弁に対して上記弁スプールを移動させるステップとを備え、上記弁スプールは、上記第1軸と同軸でない第2軸に沿って移動する方法。
  11. 請求項10に記載の方法において、上記弁スプールを移動させるステップは、上記膜が動いても、上記輸送室内に充填過剰状態が生じるまでは、上記弁スプールを上記第1の一方向弁を通る作動油の流れを制限する第1位置に維持し、上記輸送室内に充填過剰状態が生じるまでは、上記第2の一方向弁を通る作動油の流れを制限する第1位置に上記弁スプールを維持することを含む方法。
  12. 請求項10または11に記載の方法において、上記弁スプールを移動させるステップは、上記膜に連結された弁アームを、上記弁スプールに係合させることを含む方法。
JP2010506632A 2007-05-02 2008-05-01 オフセット弁軸による膜ポンプの位置制御 Active JP5259695B2 (ja)

Applications Claiming Priority (3)

Application Number Priority Date Filing Date Title
US11/743,505 2007-05-02
US11/743,505 US7665974B2 (en) 2007-05-02 2007-05-02 Diaphragm pump position control with offset valve axis
PCT/US2008/062169 WO2008137515A1 (en) 2007-05-02 2008-05-01 Diaphragm pump position control with offset valve axis

Publications (2)

Publication Number Publication Date
JP2010526239A JP2010526239A (ja) 2010-07-29
JP5259695B2 true JP5259695B2 (ja) 2013-08-07

Family

ID=39619136

Family Applications (1)

Application Number Title Priority Date Filing Date
JP2010506632A Active JP5259695B2 (ja) 2007-05-02 2008-05-01 オフセット弁軸による膜ポンプの位置制御

Country Status (11)

Country Link
US (1) US7665974B2 (ja)
EP (1) EP2145109B1 (ja)
JP (1) JP5259695B2 (ja)
KR (1) KR101401213B1 (ja)
CN (1) CN101743403B (ja)
BR (1) BRPI0811471B1 (ja)
DK (1) DK2145109T3 (ja)
EA (1) EA016439B1 (ja)
ES (1) ES2632131T3 (ja)
PL (1) PL2145109T3 (ja)
WO (1) WO2008137515A1 (ja)

Families Citing this family (29)

* Cited by examiner, † Cited by third party
Publication number Priority date Publication date Assignee Title
TW201024526A (en) * 2008-12-23 2010-07-01 Cheng-Chin Kung Cooling and circulating system for engine oil
CN102713294A (zh) * 2009-06-23 2012-10-03 S·P·M·流量控制股份有限公司 易于拆卸的泵十字头
US20100325888A1 (en) * 2009-06-30 2010-12-30 Weir Spm, Inc. Carrier for plunger during disassembly
US9157468B2 (en) 2010-06-04 2015-10-13 S.P.M. Flow Control, Inc. Packing nut lock and method of use
DE102010039831B4 (de) * 2010-08-26 2022-02-03 Prominent Gmbh Membranpumpe sowie Verfahren zum Einstellen einer solchen
US9249797B2 (en) 2010-12-16 2016-02-02 S.P.M. Flow Control, Inc. Plunger packing with wedge seal having extrusion recess
USD748228S1 (en) 2013-01-31 2016-01-26 S.P.M. Flow Control, Inc. Valve seat
CN104204524A (zh) 2012-02-03 2014-12-10 S.P.M.流量控制股份有限公司 包括流体气缸和渐缩阀座的泵组件
DE102012106848A1 (de) * 2012-07-27 2014-01-30 Prominent Dosiertechnik Gmbh Dosieranlage sowie Dosierpumpe hierfür
USD726224S1 (en) 2013-03-15 2015-04-07 S.P.M. Flow Control, Inc. Plunger pump thru rod
US8707853B1 (en) 2013-03-15 2014-04-29 S.P.M. Flow Control, Inc. Reciprocating pump assembly
DE102013105072A1 (de) 2013-05-16 2014-11-20 Prominent Gmbh Membranpumpe mit Lagensteuerung
US9845794B2 (en) * 2013-10-08 2017-12-19 Ingersoll-Rand Company Hydraulically actuated diaphragm pumps
FR3021713B1 (fr) * 2014-05-27 2019-04-05 Milton Roy Europe Pompe a membrane a commande hydraulique comprenant un chemin de degazage dedie
AU2015279647A1 (en) 2014-06-27 2017-01-19 S.P.M. Flow Control, Inc. Pump drivetrain damper system and control systems and methods for same
MX391411B (es) 2014-07-25 2025-03-21 Spm Oil & Gas Inc Soporte para bomba de vaiven.
US9964106B2 (en) 2014-11-04 2018-05-08 Wanner Engineering, Inc. Diaphragm pump with dual spring overfill limiter
US10352321B2 (en) 2014-12-22 2019-07-16 S.P.M. Flow Control, Inc. Reciprocating pump with dual circuit power end lubrication system
US10221848B2 (en) 2015-07-02 2019-03-05 S.P.M. Flow Control, Inc. Valve for reciprocating pump assembly
US11448210B2 (en) 2015-07-02 2022-09-20 Spm Oil & Gas Inc. Valve for reciprocating pump assembly
ITUB20151971A1 (it) * 2015-07-06 2017-01-06 Seko Spa Pompa a membrana
USD759728S1 (en) 2015-07-24 2016-06-21 S.P.M. Flow Control, Inc. Power end frame segment
US10436766B1 (en) 2015-10-12 2019-10-08 S.P.M. Flow Control, Inc. Monitoring lubricant in hydraulic fracturing pump system
DE102016114680A1 (de) * 2016-08-08 2018-02-08 Prominent Gmbh Vorrichtung zum Erzeugen eines pulsierenden Hydraulikfluiddruckes
RU175658U1 (ru) * 2017-08-10 2017-12-13 Общество с ограниченной ответственностью "Купер" Плунжерно-диафрагменный насос
DE102018111601B4 (de) * 2018-05-15 2020-09-24 Prominent Gmbh Membrananlagensteuerung mit magnetisch gehaltenem Verschlusselement
US12025120B2 (en) 2018-07-17 2024-07-02 Autoquip, Inc. Dual bias regulator assembly for operating diaphragm pump systems
CA3247170A1 (en) 2022-03-28 2023-10-05 Richard D. Hembree MEMBRANE POSITION CONTROL SYSTEM
US20250116270A1 (en) * 2023-10-05 2025-04-10 Wanner Engineering, Inc. Balanced pressure seal for high pressure pumps

Family Cites Families (24)

* Cited by examiner, † Cited by third party
Publication number Priority date Publication date Assignee Title
US1920014A (en) * 1931-06-26 1933-07-25 Trico Products Corp Multiple diaphragm pump
US2679209A (en) * 1949-09-01 1954-05-25 Arthur Bachert Pumping apparatus
US2919650A (en) * 1955-09-22 1960-01-05 Reiners Walter Diaphragm pump for non-lubricating and chemically aggressive liquids
US3769879A (en) * 1971-12-09 1973-11-06 A Lofquist Self-compensating diaphragm pump
US3884598A (en) * 1973-10-05 1975-05-20 Wanner Engineering Piston assembly for diaphragm pump
USRE31932E (en) * 1975-06-30 1985-07-02 Diaphragm assembly for the demand regulator of a breathing apparatus
US4050859A (en) 1976-07-01 1977-09-27 Graco Inc. Diaphragm pump having a reed valve barrier to hydraulic shock in the pressurizing fluid
FR2492473B1 (fr) * 1980-10-17 1985-06-28 Milton Roy Dosapro Pompe a membrane a compensation dans la chambre hydraulique de commande
US4381180A (en) * 1981-07-13 1983-04-26 Sell John R Double diaphragm pump with controlling slide valve and adjustable stroke
US4474540A (en) * 1982-09-10 1984-10-02 Pennwalt Corporation Tubular diaphragm pump
FR2557928B1 (fr) 1984-01-11 1988-04-22 Milton Roy Dosapro Perfectionnement aux pompes a membrane a debit variable.
DE3446914A1 (de) * 1984-12-21 1986-07-03 Ott Kg Lewa Membranpumpe mit hydaulisch angetriebener rollmembran
DE3708868A1 (de) 1987-03-18 1988-10-06 Ott Kg Lewa Verfahren und vorrichtung zum anfahren einer hydraulischen membranpumpe gegen last
WO1991011616A1 (en) 1990-02-01 1991-08-08 Wanner Engineering, Inc. Improved system for pumping fluid
JP2509746Y2 (ja) * 1990-10-31 1996-09-04 トリニティ工業株式会社 ダイアフラムポンプ
DE4141670C2 (de) 1991-12-17 1994-09-29 Ott Kg Lewa Hydraulisch angetriebene Membranpumpe mit Membranhubbegrenzung
US5326234A (en) * 1993-02-17 1994-07-05 Versa-Matic Tool, Inc. Fluid driven pump
US5647733A (en) 1995-12-01 1997-07-15 Pulsafeeder Inc. Diaphragm metering pump having modular construction
US6071089A (en) 1998-02-20 2000-06-06 General Motors Corporation Hydraulic diaphragm pump
US6722256B2 (en) 2002-09-12 2004-04-20 Ingersoll-Rand Company Reduced icing valves and gas-driven motor and diaphragm pump incorporating same
US6899530B2 (en) * 2002-10-31 2005-05-31 Wanner Engineering, Inc. Diaphragm pump with a transfer chamber vent with a longitudinal notch on the piston cylinder
US7090474B2 (en) 2003-05-16 2006-08-15 Wanner Engineering, Inc. Diaphragm pump with overfill limiter
US7063517B2 (en) * 2004-06-16 2006-06-20 Ingersoll-Rand Company Valve apparatus and pneumatically driven diaphragm pump incorporating same
US7425120B2 (en) 2005-04-26 2008-09-16 Wanner Engineering, Inc. Diaphragm position control for hydraulically driven pumps

Also Published As

Publication number Publication date
CN101743403B (zh) 2012-08-29
DK2145109T3 (en) 2017-06-19
ES2632131T3 (es) 2017-09-11
PL2145109T3 (pl) 2017-11-30
CN101743403A (zh) 2010-06-16
US7665974B2 (en) 2010-02-23
US20080273997A1 (en) 2008-11-06
KR20100022966A (ko) 2010-03-03
BRPI0811471A2 (pt) 2014-11-18
EA200901475A1 (ru) 2010-04-30
JP2010526239A (ja) 2010-07-29
BRPI0811471B1 (pt) 2019-10-01
EP2145109A1 (en) 2010-01-20
EP2145109B1 (en) 2017-04-05
KR101401213B1 (ko) 2014-05-28
EA016439B1 (ru) 2012-05-30
WO2008137515A1 (en) 2008-11-13

Similar Documents

Publication Publication Date Title
JP5259695B2 (ja) オフセット弁軸による膜ポンプの位置制御
US7425120B2 (en) Diaphragm position control for hydraulically driven pumps
KR101945556B1 (ko) 열 경감을 사용하는 왕복 운동식 펌프 밸브 조립체
JP7398457B2 (ja) 高圧燃料ポンプ用入口制御バルブ
CN118234949A (zh) 隔膜活塞泵
CN107407271A (zh) 具有双弹簧过满限制器的隔膜泵
JP2015522736A (ja) 往復容量型ポンプ用の直接容積制御装置(dvcd)
CN114127409B (zh) 电磁吸入阀及高压燃料供给泵
KR100874205B1 (ko) 다이어프램형 왕복동펌프
US9964105B2 (en) Diaphragm pump having position control
CN111042967B (zh) 高压泵和压缩流体的方法
US11085581B2 (en) Lubricating-grease pump and method for recovery of leakage grease of a lubricating-grease pump
CN100538314C (zh) 隔膜泵
WO2018237147A1 (en) Hydraulic diaphragm control using a solenoid valve
CN105370562A (zh) 带有用于膜片弹簧的机械行程止挡的活塞泵
CN105492756A (zh) 泵,尤其燃料高压泵
SA08290607B1 (ar) التحكم في موضع مضخة غشائية بواسطة محور صمامي موازن
JP2016148293A (ja) 高圧ポンプ

Legal Events

Date Code Title Description
A621 Written request for application examination

Free format text: JAPANESE INTERMEDIATE CODE: A621

Effective date: 20110425

A977 Report on retrieval

Free format text: JAPANESE INTERMEDIATE CODE: A971007

Effective date: 20121116

A131 Notification of reasons for refusal

Free format text: JAPANESE INTERMEDIATE CODE: A131

Effective date: 20121127

A521 Request for written amendment filed

Free format text: JAPANESE INTERMEDIATE CODE: A523

Effective date: 20130226

TRDD Decision of grant or rejection written
A01 Written decision to grant a patent or to grant a registration (utility model)

Free format text: JAPANESE INTERMEDIATE CODE: A01

Effective date: 20130326

A61 First payment of annual fees (during grant procedure)

Free format text: JAPANESE INTERMEDIATE CODE: A61

Effective date: 20130424

FPAY Renewal fee payment (event date is renewal date of database)

Free format text: PAYMENT UNTIL: 20160502

Year of fee payment: 3

R150 Certificate of patent or registration of utility model

Ref document number: 5259695

Country of ref document: JP

Free format text: JAPANESE INTERMEDIATE CODE: R150

Free format text: JAPANESE INTERMEDIATE CODE: R150

R250 Receipt of annual fees

Free format text: JAPANESE INTERMEDIATE CODE: R250

R250 Receipt of annual fees

Free format text: JAPANESE INTERMEDIATE CODE: R250

R250 Receipt of annual fees

Free format text: JAPANESE INTERMEDIATE CODE: R250

R250 Receipt of annual fees

Free format text: JAPANESE INTERMEDIATE CODE: R250

R250 Receipt of annual fees

Free format text: JAPANESE INTERMEDIATE CODE: R250

R250 Receipt of annual fees

Free format text: JAPANESE INTERMEDIATE CODE: R250

R250 Receipt of annual fees

Free format text: JAPANESE INTERMEDIATE CODE: R250

R250 Receipt of annual fees

Free format text: JAPANESE INTERMEDIATE CODE: R250

R250 Receipt of annual fees

Free format text: JAPANESE INTERMEDIATE CODE: R250

R250 Receipt of annual fees

Free format text: JAPANESE INTERMEDIATE CODE: R250