JP5225767B2 - ゴルフクラブ - Google Patents
ゴルフクラブ Download PDFInfo
- Publication number
- JP5225767B2 JP5225767B2 JP2008167628A JP2008167628A JP5225767B2 JP 5225767 B2 JP5225767 B2 JP 5225767B2 JP 2008167628 A JP2008167628 A JP 2008167628A JP 2008167628 A JP2008167628 A JP 2008167628A JP 5225767 B2 JP5225767 B2 JP 5225767B2
- Authority
- JP
- Japan
- Prior art keywords
- shaft
- diameter portion
- ferrule
- golf club
- adhesive
- Prior art date
- Legal status (The legal status is an assumption and is not a legal conclusion. Google has not performed a legal analysis and makes no representation as to the accuracy of the status listed.)
- Active
Links
- 239000000853 adhesive Substances 0.000 claims description 104
- 230000001070 adhesive effect Effects 0.000 claims description 103
- 230000004323 axial length Effects 0.000 claims description 39
- 230000002093 peripheral effect Effects 0.000 claims description 33
- 238000012360 testing method Methods 0.000 description 30
- 238000000034 method Methods 0.000 description 21
- 230000001965 increasing effect Effects 0.000 description 19
- 238000003780 insertion Methods 0.000 description 18
- 230000037431 insertion Effects 0.000 description 18
- 238000004519 manufacturing process Methods 0.000 description 10
- 230000005484 gravity Effects 0.000 description 8
- 239000000463 material Substances 0.000 description 8
- 230000007423 decrease Effects 0.000 description 7
- 238000011156 evaluation Methods 0.000 description 7
- RYGMFSIKBFXOCR-UHFFFAOYSA-N Copper Chemical compound [Cu] RYGMFSIKBFXOCR-UHFFFAOYSA-N 0.000 description 6
- 239000012790 adhesive layer Substances 0.000 description 6
- 229910052802 copper Inorganic materials 0.000 description 6
- 239000010949 copper Substances 0.000 description 6
- XEEYBQQBJWHFJM-UHFFFAOYSA-N Iron Chemical compound [Fe] XEEYBQQBJWHFJM-UHFFFAOYSA-N 0.000 description 4
- 229920002301 cellulose acetate Polymers 0.000 description 4
- 238000010586 diagram Methods 0.000 description 4
- 230000000694 effects Effects 0.000 description 4
- 239000010410 layer Substances 0.000 description 4
- 239000002023 wood Substances 0.000 description 4
- 239000000020 Nitrocellulose Substances 0.000 description 3
- FJWGYAHXMCUOOM-QHOUIDNNSA-N [(2s,3r,4s,5r,6r)-2-[(2r,3r,4s,5r,6s)-4,5-dinitrooxy-2-(nitrooxymethyl)-6-[(2r,3r,4s,5r,6s)-4,5,6-trinitrooxy-2-(nitrooxymethyl)oxan-3-yl]oxyoxan-3-yl]oxy-3,5-dinitrooxy-6-(nitrooxymethyl)oxan-4-yl] nitrate Chemical compound O([C@@H]1O[C@@H]([C@H]([C@H](O[N+]([O-])=O)[C@H]1O[N+]([O-])=O)O[C@H]1[C@@H]([C@@H](O[N+]([O-])=O)[C@H](O[N+]([O-])=O)[C@@H](CO[N+]([O-])=O)O1)O[N+]([O-])=O)CO[N+](=O)[O-])[C@@H]1[C@@H](CO[N+]([O-])=O)O[C@@H](O[N+]([O-])=O)[C@H](O[N+]([O-])=O)[C@H]1O[N+]([O-])=O FJWGYAHXMCUOOM-QHOUIDNNSA-N 0.000 description 3
- 238000005266 casting Methods 0.000 description 3
- 238000005553 drilling Methods 0.000 description 3
- 229920006332 epoxy adhesive Polymers 0.000 description 3
- 238000002347 injection Methods 0.000 description 3
- 239000007924 injection Substances 0.000 description 3
- 238000012986 modification Methods 0.000 description 3
- 230000004048 modification Effects 0.000 description 3
- 229920001220 nitrocellulos Polymers 0.000 description 3
- 229920005989 resin Polymers 0.000 description 3
- 239000011347 resin Substances 0.000 description 3
- 238000007718 adhesive strength test Methods 0.000 description 2
- 230000005489 elastic deformation Effects 0.000 description 2
- 230000014509 gene expression Effects 0.000 description 2
- 229910052742 iron Inorganic materials 0.000 description 2
- 238000010998 test method Methods 0.000 description 2
- 229910000838 Al alloy Inorganic materials 0.000 description 1
- 229910000881 Cu alloy Inorganic materials 0.000 description 1
- JOYRKODLDBILNP-UHFFFAOYSA-N Ethyl urethane Chemical compound CCOC(N)=O JOYRKODLDBILNP-UHFFFAOYSA-N 0.000 description 1
- 229910000978 Pb alloy Inorganic materials 0.000 description 1
- 239000004743 Polypropylene Substances 0.000 description 1
- NIXOWILDQLNWCW-UHFFFAOYSA-N acrylic acid group Chemical group C(C=C)(=O)O NIXOWILDQLNWCW-UHFFFAOYSA-N 0.000 description 1
- 229920000122 acrylonitrile butadiene styrene Polymers 0.000 description 1
- 229910052782 aluminium Inorganic materials 0.000 description 1
- XAGFODPZIPBFFR-UHFFFAOYSA-N aluminium Chemical compound [Al] XAGFODPZIPBFFR-UHFFFAOYSA-N 0.000 description 1
- 238000005452 bending Methods 0.000 description 1
- 238000007599 discharging Methods 0.000 description 1
- 230000002708 enhancing effect Effects 0.000 description 1
- 238000010438 heat treatment Methods 0.000 description 1
- 229910052751 metal Inorganic materials 0.000 description 1
- 239000002184 metal Substances 0.000 description 1
- 239000002923 metal particle Substances 0.000 description 1
- 239000002245 particle Substances 0.000 description 1
- -1 polypropylene Polymers 0.000 description 1
- 229920001155 polypropylene Polymers 0.000 description 1
- 230000003014 reinforcing effect Effects 0.000 description 1
- 239000004576 sand Substances 0.000 description 1
- 239000012815 thermoplastic material Substances 0.000 description 1
Images
Classifications
-
- A—HUMAN NECESSITIES
- A63—SPORTS; GAMES; AMUSEMENTS
- A63B—APPARATUS FOR PHYSICAL TRAINING, GYMNASTICS, SWIMMING, CLIMBING, OR FENCING; BALL GAMES; TRAINING EQUIPMENT
- A63B53/00—Golf clubs
- A63B53/02—Joint structures between the head and the shaft
-
- A—HUMAN NECESSITIES
- A63—SPORTS; GAMES; AMUSEMENTS
- A63B—APPARATUS FOR PHYSICAL TRAINING, GYMNASTICS, SWIMMING, CLIMBING, OR FENCING; BALL GAMES; TRAINING EQUIPMENT
- A63B53/00—Golf clubs
- A63B53/04—Heads
- A63B53/0408—Heads characterised by specific dimensions, e.g. thickness
-
- A—HUMAN NECESSITIES
- A63—SPORTS; GAMES; AMUSEMENTS
- A63B—APPARATUS FOR PHYSICAL TRAINING, GYMNASTICS, SWIMMING, CLIMBING, OR FENCING; BALL GAMES; TRAINING EQUIPMENT
- A63B53/00—Golf clubs
- A63B53/04—Heads
- A63B53/0466—Heads wood-type
-
- A—HUMAN NECESSITIES
- A63—SPORTS; GAMES; AMUSEMENTS
- A63B—APPARATUS FOR PHYSICAL TRAINING, GYMNASTICS, SWIMMING, CLIMBING, OR FENCING; BALL GAMES; TRAINING EQUIPMENT
- A63B60/00—Details or accessories of golf clubs, bats, rackets or the like
-
- A—HUMAN NECESSITIES
- A63—SPORTS; GAMES; AMUSEMENTS
- A63B—APPARATUS FOR PHYSICAL TRAINING, GYMNASTICS, SWIMMING, CLIMBING, OR FENCING; BALL GAMES; TRAINING EQUIPMENT
- A63B53/00—Golf clubs
- A63B53/04—Heads
- A63B2053/0491—Heads with added weights, e.g. changeable, replaceable
-
- A—HUMAN NECESSITIES
- A63—SPORTS; GAMES; AMUSEMENTS
- A63B—APPARATUS FOR PHYSICAL TRAINING, GYMNASTICS, SWIMMING, CLIMBING, OR FENCING; BALL GAMES; TRAINING EQUIPMENT
- A63B53/00—Golf clubs
- A63B53/04—Heads
- A63B53/047—Heads iron-type
-
- A—HUMAN NECESSITIES
- A63—SPORTS; GAMES; AMUSEMENTS
- A63B—APPARATUS FOR PHYSICAL TRAINING, GYMNASTICS, SWIMMING, CLIMBING, OR FENCING; BALL GAMES; TRAINING EQUIPMENT
- A63B53/00—Golf clubs
- A63B53/04—Heads
- A63B53/0487—Heads for putters
Landscapes
- Health & Medical Sciences (AREA)
- General Health & Medical Sciences (AREA)
- Physical Education & Sports Medicine (AREA)
- Life Sciences & Earth Sciences (AREA)
- Engineering & Computer Science (AREA)
- Wood Science & Technology (AREA)
- Golf Clubs (AREA)
Description
S1=(d3−d1)/2
(1a)ゴルフクラブXを用意する工程、
(1b)ホーゼル孔の大径部内に挿入されうる基部を有するフェラルを用意する工程、
(1c)上記大径部に接着されたシャフトAを抜く工程、
(1d)上記シャフトAよりも先端径の小さなシャフトBを上記フェラルに挿通する工程、
及び、
(1e)上記基部を上記シャフトBと上記大径部との間に介在させつつ、上記小径部と上記シャフトBとを接着させる工程、
を含むゴルフクラブの製造方法である。ただし、上記ゴルフクラブXはゴルフクラブヘッド及びシャフトAを有し、このヘッドがホーゼル孔を有し、このホーゼル孔が、その開口側に位置する大径部と、この大径部の下方に設けられた小径部とを有し、このゴルフクラブXにおいて、上記大径部と上記シャフトAとが接着されている。
(2a)ゴルフクラブYを用意する工程、
(2b)ホーゼル孔の大径部とシャフトBとの間に介在する基部を備えたフェラルを取り外す工程、
(2c)ホーゼル孔の小径部に接着されたシャフトBを抜く工程、
及び、
(2d)上記大径部と上記シャフトAとを接着させる工程、
を含むゴルフクラブの製造方法である。ただし、上記ゴルフクラブYはフェラル、ゴルフクラブヘッド及びシャフトBを有し、このヘッドがホーゼル孔を有し、このホーゼル孔が、その開口側に位置する大径部と、この大径部の下方に設けられた小径部とを有し、このゴルフクラブYにおいて、上記小径部に上記シャフトBが挿入されており且つ上記フェラルの基部が上記大径部と上記シャフトBとの間に介在している。
(3a)上記大径部内に挿入されうる基部を有するフェラルを用意する工程、
(3b)上記大径部に接着されたシャフトAを抜く工程、
(3c)上記シャフトBを上記フェラルに挿通する工程、
(3d)上記基部を上記シャフトBと上記大径部との間に介在させる工程、
及び
(3e)上記小径部に上記シャフトBを挿入する工程、
を含むゴルフクラブのシャフト交換方法である。
(4a)上記フェラルを取り外す工程、
(4b)上記小径部に接着されたシャフトBを抜く工程、
及び、
(4c)上記大径部と上記シャフトAとを接着させる工程、
を含むゴルフクラブのシャフト交換方法である。
図10及び図11は、接着強度試験の方法を説明するための図である。この試験では、直径9.05mmの孔100を備えた治具102と、フェラル104と、先端部近傍のみが切り取られたシャフト106とが用いられた。図10及び図11が示すように、孔100へのシャフト106の挿入長さは、40mmとされた。この挿入長さは、実際のヘッドにおいては、大径部の軸方向長さL1に相当する。このため、下記の表1では、長さL1が40mmと記載されている。シャフトの外径及びフェラルの仕様は、各例における仕様に一致させた。そして、フェラル104を配置しつつ、シャフト106と孔100とを接着した。即ち、図10及び図11が示すように、ゴルフクラブのホーゼル部における構成が、治具102を用いて略再現された。なお、図10及び図11は、フェラル104が基部105を有している場合を示しているが、以下の表1が示すように、フェラルが基部を有していない例もある。両矢印L5が示すのは、基部よりも下方に存在する接着剤層の軸方向長さである。孔100の軸線が鉛直方向に向いた状態で、治具102を水平面h1上に静置した。シャフト106の先端面107と水平面h1との間には空間が確保される。接着後、図10及び図11が示すように、シャフト106の上端に鉛直方向下向きの荷重Fを加えた。試験装置として、インテスコ社製の「インテスコ(ロードセル2トン)」が用いられた。荷重Fを徐々に大きくして、接着剤が外れた瞬間における荷重F1を測定した。この荷重F1が、「接着強度」として下記の表1に示される。
基部を有さないフェラルを用意し、このフェラルの内周面に接着剤を塗布した。次に、直径が9.00mmのシャフトをフェラルに圧入した。シャフトの孔への挿入長さが40mm(図10参照)となるように、フェラルの位置が設定された。次に、シャフトの表面に接着剤を塗布した。次に、シャフトを治具の孔に挿入し、シャフトと孔とを接着した。接着剤を硬化させ、シャフト先端面よりも下方に接着剤が存在しないことを確認して、試験体を得た。この試験体の評価結果が下記の表1で示される。
基部を有するフェラルを用意し、このフェラルの内周面に接着剤を塗布した。次に、直径が8.50mmのシャフトをフェラルに圧入した。基部の軸方向長さL2は、5mmとされた。シャフトの孔への挿入長さが40mm(図11参照)となるように、フェラルの位置が設定された。次に、シャフトの表面及びフェラル基部の表面に接着剤を塗布した。次に、銅板をシャフトの表面に巻き付けた。銅板の仕様は、上記の通りである。次に、銅板の外面に接着剤を塗布した。次に、銅板が巻き付けられたシャフトと基部とを治具の孔に挿入し、図11が示す状態とした。接着剤を硬化させ、シャフト先端面よりも下方に接着剤が存在しないことを確認して、試験体を得た。この試験体の評価結果が下記の表1で示される。
基部を有するフェラルを用意し、このフェラルの内周面に接着剤を塗布した。基部の軸方向長さL2は、5mmとされた。次に、直径が8.50mmのシャフトをフェラルに圧入した。シャフトの孔への挿入長さが40mm(図10参照)となるように、フェラルの位置が設定された。次に、シャフトの表面及びフェラル基部の表面に接着剤を塗布した。次に、シャフト及び基部を治具の孔に挿入し、図10が示すように、シャフト及び基部を孔に接着した。接着剤を硬化させ、シャフト先端面よりも下方に接着剤が存在しないことを確認して、試験体を得た。この試験体の評価結果が下記の表1で示される。
基部の軸方向長さL2が39mmとされた他は試験例3と同様にして、試験例4に係る試験体を得た。この試験体の評価結果が下記の表1で示される。
基部を有するフェラルを用意し、このフェラルの内周面に接着剤を塗布した。基部の軸方向長さL2は、5mmとされた。次に、直径が8.50mmのシャフトをフェラルに圧入した。シャフトの孔への挿入長さが40mm(図10参照)となるように、フェラルの位置が設定された。次に、フェラル基部の表面のみに接着剤を塗布した。シャフトの表面には、接着剤が塗布されなかった。更に、シャフトの表面に付着している接着剤を拭き取った。次に、シャフト及び基部を治具の孔に挿入し、基部を孔に接着した。接着剤を硬化させ、基部の端面よりも下方に接着剤が存在しないことを確認して、試験体を得た。この試験例5では、基部と孔とが接着されているが、シャフトと孔とは接着されていない。試験例5は、図10の実施形態から、散点模様で示された接着剤v1が除かれた形態である。この試験体の評価結果が下記の表1で示される。
基部の軸方向長さL2が表1で示されている通りとされた他は試験例3と同様にして、試験例6から8に係る試験体を得た。これらの試験体の評価結果が下記の表1で示される。
4・・・ヘッド
6・・・シャフト
8・・・フェラル
10・・・クラウン
12・・・サイド
14・・・フェース
16・・・ホーゼル
18・・・ソール
20・・・フェースライン
22・・・ホーゼル孔
24・・・大径部
26・・・小径部
28・・・貫通孔
30・・・フェラルの基部
32・・・フェラルの露出部
36・・・ホーゼルの端面
62・・・包囲部
64・・・シャフト
68・・・フェラル
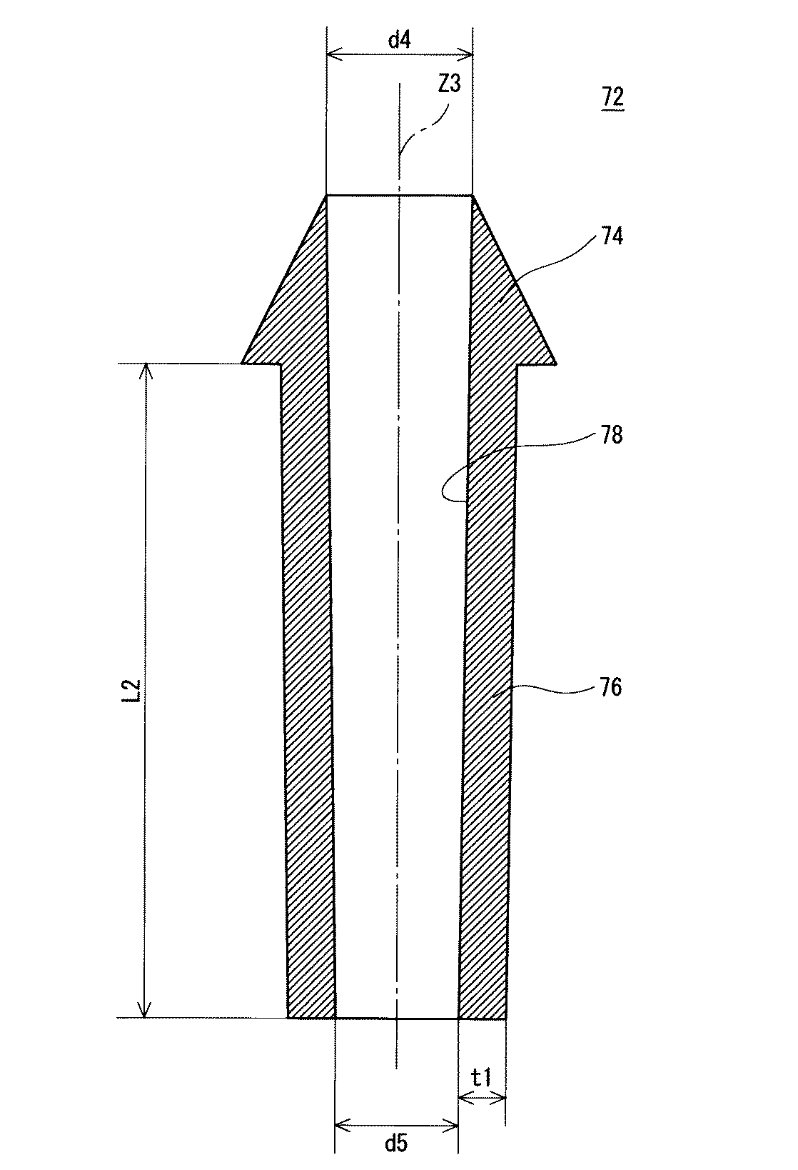
72・・・フェラル
74・・・フェラルの露出部
76・・・フェラルの基部
80・・・介在部材
v1・・・接着剤
Claims (4)
- ゴルフクラブヘッドとシャフトとフェラルとを備え、
上記ヘッドがホーゼル孔を有し、
上記ホーゼル孔が、その開口側に位置する大径部と、この大径部の下方に設けられた小径部とを有し、
上記フェラルが、上記大径部と上記シャフトとの間に介在する基部を有し、
上記大径部と上記小径部とは同軸で配置されており、
上記シャフトの先端面が上記小径部の内部に配置されており、
上記大径部の軸方向長さが、上記小径部の軸方向長さよりも長く、
上記基部の端面と上記大径部の底面とが離間しており、
上記基部の端面、上記大径部の底面、上記シャフトの外周面及び上記大径部の内周面で囲まれた包囲部に接着剤が配置され、この接着剤により、上記シャフトと上記大径部とが接着されており、
上記包囲部に、上記接着剤及び介在部材が配置されているゴルフクラブ。 - 上記基部の軸方向長さが、上記大径部の軸方向長さの半分以下である請求項1に記載のゴルフクラブ。
- 上記大径部の軸方向長さが20mm以上である請求項1又は2に記載のゴルフクラブ。
- 上記大径部の内径d3(mm)と上記シャフトの先端径d1(mm)とに基づき下記式(1)により計算される値がS1であるとき、上記介在部材の厚みt2が、上記S1の50%以上90%以下である請求項1から3のいずれかに記載のゴルフクラブ。
S1=(d3−d1)/2 ・・・ (1)
Priority Applications (2)
| Application Number | Priority Date | Filing Date | Title |
|---|---|---|---|
| JP2008167628A JP5225767B2 (ja) | 2008-06-26 | 2008-06-26 | ゴルフクラブ |
| US12/372,473 US8133132B2 (en) | 2008-06-26 | 2009-02-17 | Golf club |
Applications Claiming Priority (1)
| Application Number | Priority Date | Filing Date | Title |
|---|---|---|---|
| JP2008167628A JP5225767B2 (ja) | 2008-06-26 | 2008-06-26 | ゴルフクラブ |
Publications (2)
| Publication Number | Publication Date |
|---|---|
| JP2010005113A JP2010005113A (ja) | 2010-01-14 |
| JP5225767B2 true JP5225767B2 (ja) | 2013-07-03 |
Family
ID=41448143
Family Applications (1)
| Application Number | Title | Priority Date | Filing Date |
|---|---|---|---|
| JP2008167628A Active JP5225767B2 (ja) | 2008-06-26 | 2008-06-26 | ゴルフクラブ |
Country Status (2)
| Country | Link |
|---|---|
| US (1) | US8133132B2 (ja) |
| JP (1) | JP5225767B2 (ja) |
Cited By (1)
| Publication number | Priority date | Publication date | Assignee | Title |
|---|---|---|---|---|
| JPH0798111B2 (ja) | 1986-06-14 | 1995-10-25 | 岩瀬プリンス株式会社 | 布団等のミシン装置 |
Families Citing this family (12)
| Publication number | Priority date | Publication date | Assignee | Title |
|---|---|---|---|---|
| US20110165960A1 (en) * | 2010-01-04 | 2011-07-07 | Sports Leisure - Ben Parks, Joint Venture | Weighting Ferrule for Golf Club |
| US8535172B2 (en) * | 2011-07-28 | 2013-09-17 | Cobra Golf Incorporated | Golf club with universal hosel and/or spacer |
| JP5974464B2 (ja) * | 2011-11-30 | 2016-08-23 | ブリヂストンスポーツ株式会社 | フェルール及びゴルフクラブ |
| JP5997622B2 (ja) * | 2013-01-30 | 2016-09-28 | ダンロップスポーツ株式会社 | ゴルフクラブ |
| JP6134936B2 (ja) * | 2013-03-06 | 2017-05-31 | ブリヂストンスポーツ株式会社 | ゴルフクラブヘッドとシャフトとの接合方法およびゴルフクラブ |
| US9216325B2 (en) | 2013-03-14 | 2015-12-22 | Karsten Manufacturing Corporation | Shaft plugs for golf clubs and methods to manufacture golf clubs |
| JP6449570B2 (ja) * | 2014-06-30 | 2019-01-09 | 住友ゴム工業株式会社 | ゴルフクラブヘッド |
| KR102582705B1 (ko) * | 2015-01-23 | 2023-09-22 | 카스턴 매뉴팩츄어링 코오포레이숀 | 호젤 인서트를 구비한 골프 클럽 및 관련 방법 |
| US10632348B2 (en) * | 2016-03-02 | 2020-04-28 | Karsten Manufacturing Corporation | Golf club shaft assembly |
| US10449422B2 (en) * | 2017-06-16 | 2019-10-22 | Sumitomo Rubber Industries, Ltd. | Couplings for securing golf shaft to golf club head |
| JP6891737B2 (ja) | 2017-08-31 | 2021-06-18 | 住友ゴム工業株式会社 | ゴルフクラブ |
| JP2019010585A (ja) * | 2018-10-29 | 2019-01-24 | 住友ゴム工業株式会社 | ゴルフクラブ |
Family Cites Families (14)
| Publication number | Priority date | Publication date | Assignee | Title |
|---|---|---|---|---|
| US3625513A (en) * | 1968-08-02 | 1971-12-07 | Brunswick Corp | Head-to-shaft connection for golf club |
| JPS5337745Y2 (ja) * | 1974-06-28 | 1978-09-12 | ||
| JPS5182128A (ja) * | 1975-01-11 | 1976-07-19 | Shimonzu Patsuto | |
| GB8618300D0 (en) * | 1986-07-26 | 1986-09-03 | Align Eng Ltd | Golf clubs |
| JP2515800Y2 (ja) * | 1990-07-05 | 1996-10-30 | 美津濃株式会社 | ゴルフクラブ |
| JPH07185048A (ja) * | 1993-11-18 | 1995-07-25 | Tailor Made Golf Co Inc | ゴルフクラブ |
| JPH0966123A (ja) * | 1995-08-30 | 1997-03-11 | Bridgestone Sports Co Ltd | ゴルフクラブ |
| US5688188A (en) * | 1996-08-29 | 1997-11-18 | Dunlop Maxfli Sports, Corp. | Golf club |
| JPH10151228A (ja) * | 1996-11-21 | 1998-06-09 | Bridgestone Sports Co Ltd | ゴルフクラブ |
| JP4154507B2 (ja) * | 1998-11-17 | 2008-09-24 | ブリヂストンスポーツ株式会社 | ゴルフクラブ及びこのゴルフクラブのシャフト固着方法 |
| JP2003093552A (ja) * | 2001-09-21 | 2003-04-02 | Graphite Design Inc | ゴルフクラブ |
| US7211005B2 (en) * | 2002-04-20 | 2007-05-01 | Norman Matheson Lindsay | Golf clubs |
| JP2006158496A (ja) | 2004-12-03 | 2006-06-22 | Yokohama Rubber Co Ltd:The | ゴルフクラブ |
| JP2006158477A (ja) * | 2004-12-03 | 2006-06-22 | Yokohama Rubber Co Ltd:The | ソケットおよびこれを用いたゴルフクラブ |
-
2008
- 2008-06-26 JP JP2008167628A patent/JP5225767B2/ja active Active
-
2009
- 2009-02-17 US US12/372,473 patent/US8133132B2/en not_active Expired - Fee Related
Cited By (1)
| Publication number | Priority date | Publication date | Assignee | Title |
|---|---|---|---|---|
| JPH0798111B2 (ja) | 1986-06-14 | 1995-10-25 | 岩瀬プリンス株式会社 | 布団等のミシン装置 |
Also Published As
| Publication number | Publication date |
|---|---|
| US8133132B2 (en) | 2012-03-13 |
| US20090325727A1 (en) | 2009-12-31 |
| JP2010005113A (ja) | 2010-01-14 |
Similar Documents
| Publication | Publication Date | Title |
|---|---|---|
| JP5225767B2 (ja) | ゴルフクラブ | |
| JP4326540B2 (ja) | ゴルフクラブヘッド | |
| JP2011224365A (ja) | フェースインサートを有するゴルフクラブヘッド | |
| JP5241350B2 (ja) | ゴルフクラブ | |
| JP2006325711A (ja) | ゴルフクラブ用グリップ及びこれを用いたゴルフクラブ | |
| JP2002177417A (ja) | ゴルフクラブ | |
| CN108025764A (zh) | 汽车用转向节的制造方法及汽车用转向节 | |
| JP5974464B2 (ja) | フェルール及びゴルフクラブ | |
| JP5029120B2 (ja) | ゴルフクラブ | |
| KR102524168B1 (ko) | 골프 클럽 | |
| CN206644604U (zh) | 用于汽车悬架的下摆臂及汽车 | |
| JP5334735B2 (ja) | ゴルフクラブのシャフト取付部材と、同取付部材を使ったゴルフクラブの製造方法 | |
| JP2007143904A (ja) | ゴルフクラブ及びゴルフクラブ用のフェラル。 | |
| JP2010246595A (ja) | ゴルフクラブ | |
| CN206136262U (zh) | 一种防变形的弹波 | |
| JP2006158477A (ja) | ソケットおよびこれを用いたゴルフクラブ | |
| JP2010125139A (ja) | ゴルフクラブ | |
| JPH0928842A (ja) | ゴルフクラブヘッドとその製造方法 | |
| CN108367650B (zh) | 用于通过将横向构件收缩配合在臂中来生产机动车辆后桥的方法 | |
| JP2006158498A (ja) | ゴルフクラブ | |
| JP4699294B2 (ja) | 防振装置 | |
| JP4805030B2 (ja) | ゴルフクラブ | |
| JP2002000771A (ja) | ゴルフクラブヘッド | |
| JP6004532B2 (ja) | サイジング用コア金型 | |
| JP2002119623A (ja) | ゴルフクラブ |
Legal Events
| Date | Code | Title | Description |
|---|---|---|---|
| A621 | Written request for application examination |
Free format text: JAPANESE INTERMEDIATE CODE: A621 Effective date: 20100819 |
|
| A977 | Report on retrieval |
Free format text: JAPANESE INTERMEDIATE CODE: A971007 Effective date: 20120418 |
|
| A131 | Notification of reasons for refusal |
Free format text: JAPANESE INTERMEDIATE CODE: A131 Effective date: 20120508 |
|
| A521 | Request for written amendment filed |
Free format text: JAPANESE INTERMEDIATE CODE: A523 Effective date: 20120628 |
|
| TRDD | Decision of grant or rejection written | ||
| A01 | Written decision to grant a patent or to grant a registration (utility model) |
Free format text: JAPANESE INTERMEDIATE CODE: A01 Effective date: 20130219 |
|
| A61 | First payment of annual fees (during grant procedure) |
Free format text: JAPANESE INTERMEDIATE CODE: A61 Effective date: 20130313 |
|
| R150 | Certificate of patent or registration of utility model |
Ref document number: 5225767 Country of ref document: JP Free format text: JAPANESE INTERMEDIATE CODE: R150 Free format text: JAPANESE INTERMEDIATE CODE: R150 |
|
| FPAY | Renewal fee payment (event date is renewal date of database) |
Free format text: PAYMENT UNTIL: 20160322 Year of fee payment: 3 |
|
| R250 | Receipt of annual fees |
Free format text: JAPANESE INTERMEDIATE CODE: R250 |
|
| R250 | Receipt of annual fees |
Free format text: JAPANESE INTERMEDIATE CODE: R250 |
|
| R250 | Receipt of annual fees |
Free format text: JAPANESE INTERMEDIATE CODE: R250 |
|
| R250 | Receipt of annual fees |
Free format text: JAPANESE INTERMEDIATE CODE: R250 |
|
| R250 | Receipt of annual fees |
Free format text: JAPANESE INTERMEDIATE CODE: R250 |
|
| R250 | Receipt of annual fees |
Free format text: JAPANESE INTERMEDIATE CODE: R250 |
|
| R250 | Receipt of annual fees |
Free format text: JAPANESE INTERMEDIATE CODE: R250 |
|
| R250 | Receipt of annual fees |
Free format text: JAPANESE INTERMEDIATE CODE: R250 |
|
| R250 | Receipt of annual fees |
Free format text: JAPANESE INTERMEDIATE CODE: R250 |
